US10852228B2 - Calibration apparatus, calibration curve creation method, and independent component analysis method - Google Patents

Calibration apparatus, calibration curve creation method, and independent component analysis method Download PDF

Info

Publication number
US10852228B2
US10852228B2 US15/708,516 US201715708516A US10852228B2 US 10852228 B2 US10852228 B2 US 10852228B2 US 201715708516 A US201715708516 A US 201715708516A US 10852228 B2 US10852228 B2 US 10852228B2
Authority
US
United States
Prior art keywords
component
calibration
spectra
spectrum
components
Prior art date
Legal status (The legal status is an assumption and is not a legal conclusion. Google has not performed a legal analysis and makes no representation as to the accuracy of the status listed.)
Active, expires
Application number
US15/708,516
Other versions
US20180088032A1 (en
Inventor
Hikaru KURASAWA
Current Assignee (The listed assignees may be inaccurate. Google has not performed a legal analysis and makes no representation or warranty as to the accuracy of the list.)
Seiko Epson Corp
Original Assignee
Seiko Epson Corp
Priority date (The priority date is an assumption and is not a legal conclusion. Google has not performed a legal analysis and makes no representation as to the accuracy of the date listed.)
Filing date
Publication date
Application filed by Seiko Epson Corp filed Critical Seiko Epson Corp
Assigned to SEIKO EPSON CORPORATION reassignment SEIKO EPSON CORPORATION ASSIGNMENT OF ASSIGNORS INTEREST (SEE DOCUMENT FOR DETAILS). Assignors: KURASAWA, HIKARU
Publication of US20180088032A1 publication Critical patent/US20180088032A1/en
Application granted granted Critical
Publication of US10852228B2 publication Critical patent/US10852228B2/en
Active legal-status Critical Current
Adjusted expiration legal-status Critical

Links

Images

Classifications

    • GPHYSICS
    • G01MEASURING; TESTING
    • G01NINVESTIGATING OR ANALYSING MATERIALS BY DETERMINING THEIR CHEMICAL OR PHYSICAL PROPERTIES
    • G01N21/00Investigating or analysing materials by the use of optical means, i.e. using sub-millimetre waves, infrared, visible or ultraviolet light
    • G01N21/17Systems in which incident light is modified in accordance with the properties of the material investigated
    • G01N21/25Colour; Spectral properties, i.e. comparison of effect of material on the light at two or more different wavelengths or wavelength bands
    • G01N21/27Colour; Spectral properties, i.e. comparison of effect of material on the light at two or more different wavelengths or wavelength bands using photo-electric detection ; circuits for computing concentration
    • G01N21/274Calibration, base line adjustment, drift correction
    • GPHYSICS
    • G01MEASURING; TESTING
    • G01NINVESTIGATING OR ANALYSING MATERIALS BY DETERMINING THEIR CHEMICAL OR PHYSICAL PROPERTIES
    • G01N21/00Investigating or analysing materials by the use of optical means, i.e. using sub-millimetre waves, infrared, visible or ultraviolet light
    • G01N21/17Systems in which incident light is modified in accordance with the properties of the material investigated
    • G01N21/25Colour; Spectral properties, i.e. comparison of effect of material on the light at two or more different wavelengths or wavelength bands
    • G01N21/31Investigating relative effect of material at wavelengths characteristic of specific elements or molecules, e.g. atomic absorption spectrometry
    • G01N21/35Investigating relative effect of material at wavelengths characteristic of specific elements or molecules, e.g. atomic absorption spectrometry using infrared light
    • GPHYSICS
    • G01MEASURING; TESTING
    • G01NINVESTIGATING OR ANALYSING MATERIALS BY DETERMINING THEIR CHEMICAL OR PHYSICAL PROPERTIES
    • G01N2201/00Features of devices classified in G01N21/00
    • G01N2201/12Circuits of general importance; Signal processing
    • G01N2201/127Calibration; base line adjustment; drift compensation
    • G01N2201/12746Calibration values determination
    • GPHYSICS
    • G01MEASURING; TESTING
    • G01NINVESTIGATING OR ANALYSING MATERIALS BY DETERMINING THEIR CHEMICAL OR PHYSICAL PROPERTIES
    • G01N2201/00Features of devices classified in G01N21/00
    • G01N2201/12Circuits of general importance; Signal processing
    • G01N2201/129Using chemometrical methods
    • G01N2201/1293Using chemometrical methods resolving multicomponent spectra

Definitions

  • the present invention relates to a calibration technique of obtaining a component amount of a target component from measured data of a test object, and an independent component analysis technique of determining an independent component on the basis of measured data such as an optical spectrum.
  • JP-A-2013-36973 discloses a calibration technique in which an optical spectrum is acquired by performing spectrometry on a green vegetable, a spectrum derived from chlorophyll is estimated as an independent component by performing independent component analysis on the optical spectrum, and a chlorophyll amount in a new green vegetable sample is determined by using the estimated spectrum.
  • An advantage of some aspects of the invention is to solve at least a part of the problems described above, and the invention can be implemented as the following forms or application examples.
  • a calibration apparatus obtaining a component amount for a target component in a test object.
  • the calibration apparatus includes an optical spectrum acquisition unit that acquires an optical spectrum obtained through spectrometry on the test object; a calibration data acquisition unit that acquires calibration data including a target component calibration spectrum corresponding to the target component, and a single regression formula indicating a calibration curve; an inner product value calculation unit that computes an inner product value between the optical spectrum acquired for the test object and the target component calibration spectrum; and a component amount calculation unit that calculates a component amount for the target component corresponding to an inner product value obtained by the inner product value calculation unit by using the single regression formula indicating a relationship between the inner product value and a component amount for the target component.
  • the calibration data acquisition unit performs (a) a process of acquiring Q optical spectra obtained through spectrometry on Q (where Q is an integer of 3 or more) first samples each containing N (where N is an integer of 1 or more) components including the target component, S evaluation spectra obtained through spectrometry on S (where S is an integer of 3 or more) second samples in which a component amount for the target component is known; (b) a process of extracting R (where R is an integer of 2 or more) subsets from a set of the Q optical spectra; (c) a process of determining N component calibration spectra corresponding to the N components by performing independent component analysis in which component amounts for the N components are treated as independent components in each sample on each of the R subsets, and acquiring a total of R ⁇ N component calibration spectra; (d) a process of obtaining S inner product values by performing an inner product between each of the R ⁇ N component calibration spectra and the S evaluation spectra; (e) a process of obtaining a
  • the independent component analysis since independent component analysis in which component amounts for N components in each sample are treated as independent components is performed, the independent component analysis can be performed with high accuracy, and thus calibration of a target component can be performed with high accuracy, even in a case where optical spectra derived from a plurality of components are not independent from each other.
  • plurality of subsets are extracted from a set of Q optical spectra, and independent component analysis in which a component amount is treated as an independent component is performed on each of the subsets, even in a case where a component amount distribution in the whole set of the Q optical spectra is a Gaussian distribution, and thus there is a subset in which independency is deficient, independency is improved since a component amount distribution is a more non-Gaussian distribution in several subsets, and thus it is possible to obtain a target component calibration spectrum with high accuracy. As a result, it is possible to perform calibration with higher accuracy.
  • the calibration method in the same manner as in the first aspect, it is possible to obtain target component calibration spectrum with high accuracy, and to perform calibration with high accuracy.
  • an independent component analysis method in which component calibration spectra corresponding to a plurality of components contained in each sample are determined on the basis of a plurality of optical spectra obtained through spectrometry on a plurality of samples is provided.
  • the independent component analysis method includes (1) extracting a plurality of subsets each including two or more optical spectra from a set of optical spectra obtained through spectrometry on the plurality of samples; and (2) determining a plurality of component calibration spectra respectively corresponding to the plurality of components by performing independent component analysis in which component amounts for the plurality of components in each sample are treated as independent components on each of the plurality of subsets.
  • plurality of subsets are extracted from a set of a plurality of optical spectra, and independent component analysis in which a component amount is treated as an independent component is performed on each of the subsets, even in a case where a component amount distribution in the whole set of the plurality of optical spectra is a Gaussian distribution, and thus there is a subset in which independency is deficient, independency is improved since a component amount distribution is a more non-Gaussian distribution in several subsets, and thus it is possible to obtain a target component calibration spectrum with high accuracy.
  • the invention may be realized in aspects such as an electronic apparatus including the above-described apparatus, a computer program for realizing functions of the respective units of the apparatus, and a non-transitory storage medium which stores the computer program thereon.
  • FIG. 1 is a diagram illustrating an overview of independent component analysis in which component amounts are treated as independent components.
  • FIG. 2 is a diagram illustrating an overview of a calibration curve creation process using independent component analysis.
  • FIG. 3 is a diagram illustrating an overview of a target component calibration process.
  • FIG. 4 is a block diagram illustrating a configuration of a calibration apparatus in an embodiment.
  • FIG. 5 is a flowchart illustrating procedures of a calibration process.
  • FIG. 6 is a flowchart illustrating a calibration data acquisition process.
  • FIG. 7 is a diagram illustrating the content of the calibration data acquisition process.
  • FIG. 8 is a graph illustrating a concentration distribution of components in all samples.
  • FIG. 9 is a graph illustrating calibration accuracy in a comparative example using all samples.
  • FIG. 10 is a graph illustrating a relationship between calibration accuracy and a correlation coefficient in an Example.
  • FIG. 11 is a graph illustrating a concentration distribution of components in an optimal subset in the Example.
  • FIG. 12 is a graph illustrating calibration accuracy obtained with an optimal subset in the Example.
  • Independent component analysis used in an embodiment described below is greatly different from typical independent component analysis in which component-derived measured data (for example, an optical spectrum) is treated as an independent component in that a component amount for a component is treated as an independent component. Therefore, first, a description will be made of a difference between the typical independent component analysis and the independent component analysis in which a component amount is treated as an independent component. Hereinafter, for convenience of description, a description will be made of a case of using an optical spectrum of a test object (also referred to as a “sa “sa “sa “sa “sa “sa “sa “sa “sa “sa “sa “sa “sa “sa “sa “sa “sa “sa “sa “sa “sa “sa “sa “sa “sa “sa “sa “sa “sa “sa “sa “sa “sa “sa “sample”) as measured data, but the independent component analysis in which a component amount is treated
  • optical spectra x 1 ( ⁇ ), x 2 ( ⁇ ), and x 3 ( ⁇ ) obtained through spectrometry on a plurality of samples are expressed as in the following Equation (1) as a linear combination of component natural spectra s 1 ( ⁇ ), s 2 ( ⁇ ), and s 3 ( ⁇ ) derived from a plurality of components contained in each sample.
  • a 11 , a 12 , . . . , and a 33 are weighting factors indicating component amounts for the respective components.
  • the number of samples and the number of components in optical spectra are assumed to be all three.
  • Equation (1) is expressed as in the following Equation (2) in terms of a matrix.
  • unknown component natural spectra s 1 ( ⁇ ), s 2 ( ⁇ ), and s 3 ( ⁇ ) derived from a plurality of components are treated as components which are independent from each other, and are subjected to independent component analysis by using the above Equation (2).
  • the condition that a plurality of component natural spectra s 1 ( ⁇ ), s 2 ( ⁇ ), and s 3 ( ⁇ ) are statistically independent from each other is required to be established.
  • the condition for performing accurate independent component analysis may not be established depending on property of measured data.
  • optical spectra derived from a plurality of components may not satisfy the condition of being “statistically independent from each other”.
  • the component natural spectra s 1 ( ⁇ ), s 2 ( ⁇ ), and s 3 ( ⁇ ) or the component amount matrix A cannot be accurately estimated.
  • the present inventor of the invention has found that the component natural spectra s 1 ( ⁇ ), s 2 ( ⁇ ), and s 3 ( ⁇ ) or the component amount matrix A can be accurately estimated or determined by employing the independent component analysis in which a component amount is treated as an independent component instead of the above-described typical independent component analysis.
  • Equation (3) is obtained by transposing both of the sides in the above Equation (2).
  • the column vectors [a 11 a 12 a 13 ] T , [a 21 a 22 a 23 ] T , and [a 31 a 32 a 33 ] T of the component amount matrix A T are respectively treated as independent components, and independent component analysis is performed.
  • These column vectors indicate component amounts for a plurality of components in each sample.
  • the independent component analysis in which a component amount is treated as an independent component is an analysis method employed through the following examination. As described above, there is a case where component natural spectra derived from a plurality of components do not satisfy the condition of being statistically independent from each other.
  • component natural spectra derived from a plurality of components are not statistically independent from each other, if the condition that component amounts (for example, concentrations) for the plurality of components have no relation to each other and are statistically independent from each other is established, in a case where component amounts (that is, the respective column vectors forming the component amount matrix A T in the above Equation (3)) for a plurality of components in each sample are treated as independent components, and independent component analysis is performed, it is possible to accurately estimate or determine the component amount matrix A T , and also to accurately estimate or determine the component natural spectra s 1 ( ⁇ ), s 2 ( ⁇ ), and s 3 ( ⁇ ).
  • Equation (3) is generalized, the following Equation (4) is obtained.
  • K indicates the number of measurement points of the wavelength ⁇ in a spectrum
  • M indicates the number of samples
  • N indicates the number of components.
  • a component amount a mn (where m is 1 to M, and n is 1 to N) is a component amount (for example, a concentration) for an n-th component in an m-th sample.
  • Y [ y 1 ⁇ ( ⁇ 1 ) ... y N ⁇ ( ⁇ 1 ) ⁇ ⁇ ⁇ y 1 ⁇ ( ⁇ K ) ... y N ⁇ ( ⁇ K ) ]
  • W [ w 11 ... w M ⁇ ⁇ 1 ⁇ ⁇ ⁇ w 1 ⁇ N ... w MN ] ( 5 )
  • x m ( ⁇ k ) indicates a spectral intensity at a wavelength ⁇ k in an m-th sample
  • y n ( ⁇ k ) indicates a spectral intensity at the wavelength ⁇ k derived from an n-th component
  • w mn indicates a component amount for the n-th component in the m-th sample.
  • K indicates the number of measurement points of the wavelength ⁇ in a spectrum
  • M indicates the number of samples
  • N indicates the number of components.
  • K and M are all integers of 2 or more.
  • N is an integer of 1 or more, and may be an integer of 2 or more.
  • Equation (5) corresponds to an equation in which an optical spectrum matrix X having optical spectra obtained through spectrometry on each sample as column vectors [x m ( ⁇ 1 ) . . . x m ( ⁇ K )] T is the same as a product between a component natural spectrum matrix Y having unknown component natural spectra derived from a plurality of respective components as column vectors [y n ( ⁇ 1 ) . . . y n ( ⁇ K )] T and a component amount matrix W having unknown component amounts indicating component amounts for a plurality of components in each sample as column vectors [w m1 . . . w mN ] T .
  • FIG. 1 is a diagram illustrating an overview of independent component analysis in which a component amount is treated as an independent component.
  • FIG. 1 illustrates an example of a case where an aqueous solution containing glucose or albumin is used as a sample, and optical spectra obtained through spectrometry on a plurality of samples are used as independent component analysis objects.
  • a measured spectrum Xd is an absorbance spectrum obtained through spectrometry.
  • a plurality of actual measured spectra Xd show considerably approximate curves, but, in FIG. 1 , for convenience of illustration, differences among the plurality of measured spectra Xd are illustrated to be exaggerated.
  • the measured spectra Xd for a plurality of samples have values approximate to each other, and, thus, if these values are used as they are, there is a probability that the accuracy of a result obtained through independent component analysis may not be sufficiently high.
  • the influence of a solvent on a measured spectrum may change depending on the concentration of a solute (contained component), and thus the accuracy of independent component analysis may deteriorate. Therefore, as preprocessing, a subtraction calculation is performed so that an average spectrum Xave of a plurality of measured spectra Xd is subtracted from each measured spectrum Xd, and thus a difference spectrum X is obtained.
  • the difference spectrum X is used as the optical spectrum X in the above Equation (5). If independent component analysis is performed on the difference spectrum X, the accuracy of the independent component analysis can be improved. However, preprocessing may be omitted.
  • the lower part in FIG. 1 illustrates a state in which the optical spectrum X is expressed by a product between the unknown component natural spectrum y n ( ⁇ ) and the unknown component amount w mn , according to the above Equation (5).
  • the component amount matrix W is determined by treating each column vector [w m1 . . . w mN ] T of the component amount matrix W in the above Equation (5) as an independent component and performing the independent component analysis, and, as a result, the component natural spectrum matrix Y is also determined.
  • An independent component analysis method may employ the typical independent component analysis. For example, an independent component analysis method disclosed in JP-A-2013-160574 or JP-A-2016-65803 filed by the applicant of the present application may be used, or other independent component analysis methods may be used.
  • a component amount w* for a plurality of components in a new sample may be obtained by integrating an optical spectrum x* obtained through spectrometry on the new sample with a general inverse matrix Y ⁇ of the component natural spectrum matrix Y obtained through the independent component analysis.
  • the component amount w* for the components of the new sample may be obtained by using the following Equation (6).
  • Y ⁇ is a general inverse matrix of the component natural spectrum matrix Y obtained through independent component analysis
  • y n ( ⁇ k ) ⁇ is a k-th element of a row vector of an n-th row in the general inverse matrix Y ⁇
  • the above Equation (6) may be derived by multiplying the lefts of both sides in the above Equation (5) by the general inverse matrix Y ⁇ of the component natural spectrum matrix Y.
  • a value of a component amount w n * for any n-th component of the new sample is obtained according to the following Equation (7) derived from the above Equation (6).
  • y n ⁇ is a row vector of an n-th row in the general inverse matrix Y ⁇ of the component natural spectrum matrix Y.
  • the row vector y n ⁇ is also referred to as an “inverse matrix row vector y n ⁇ ” or a “component calibration spectrum y n ⁇ ”.
  • the general inverse matrix Y ⁇ of the component natural spectrum matrix Y is referred to as a “component calibration spectrum matrix Y ⁇ ”.
  • the general inverse matrix Y ⁇ may be obtained on the basis of the component natural spectrum matrix Y obtained through independent component analysis, and the component amount w n * for the n-th component may be obtained by taking an inner product between the inverse matrix row vector y n ⁇ (that is, the n-th component calibration spectrum y n ⁇ ) corresponding to the n-th component in the general inverse matrix Y ⁇ and the optical spectrum x* for the new sample.
  • the component natural spectrum matrix Y obtained through independent component analysis is meaningless in a value of an element thereof, and has property in which a waveform thereof is proportional to a true component natural spectrum.
  • the component amount w n * obtained through the inner product in the above Equation (7) is a value which is proportional to an actual component amount.
  • An actual component amount may be obtained by applying the inner product value w n * obtained through the inner product in the above Equation (7) to a calibration curve (described later).
  • the component amount matrix W and the component natural spectrum matrix Y can be accurately estimated or determined.
  • FIG. 2 is a diagram illustrating an overview of a component analysis (ICA) in which a component amount is treated as an independent component.
  • An upper left part in FIG. 2 illustrates examples of measured spectra MS obtained through spectrometry on a plurality of samples.
  • the measured spectra MS correspond to the measured spectra Xd in FIG. 1 , and may be obtained through spectrometry on a sample containing a plurality of components (for example, glucose and albumin).
  • a component amount for example, a concentration
  • a target component for example, glucose
  • samples (first samples) in which a component amount for a target component is unknown may be used as a plurality of samples for acquiring optical spectra as independent component analysis objects.
  • preprocessing is performed on the measured spectra MS, and thus optical spectra OS (the optical spectra X having undergone preprocessing in FIG. 1 ) having undergone the preprocessing are created.
  • preprocessing for example, preprocessing including normalization of the measured spectra MS is performed.
  • a subtraction calculation described in FIG. 1 is also preferably performed in addition to normalization.
  • project on null space (PNS) may be performed in order to remove a baseline variation in the measured spectra MS.
  • preprocessing may be omitted, and the measured spectra MS may be used as the optical spectra OS without being changed.
  • independent component analysis in which a component amount is treated as an independent component is performed on a plurality of optical spectra OS, and thus a plurality of component calibration spectra CS 1 to CS N are obtained.
  • the number in the parenthesis indicates a component number.
  • the plurality of component calibration spectra CS 1 to CS N correspond to the above-described component calibration spectra y n ⁇ .
  • FIG. 2 illustrates a method of creating a calibration curve by using the plurality of component calibration spectra CS 1 to CS N obtained in the above-described way.
  • optical spectra EDS regarding a plurality of known samples (second samples) in which a component amount for a target component is known are acquired.
  • the optical spectra EDS are obtained by performing, as necessary, the above-described preprocessing on measured spectra which are obtained through spectrometry on the known samples.
  • the optical spectra EDS are referred to as “evaluation spectra EDS”.
  • an inner product value between the individual evaluation spectra EDS and the component calibration spectrum CS n is computed.
  • the computation of the inner product value is a calculation in which each of the evaluation spectra EDS and the component calibration spectrum CS n are treated as a single vector, and an inner product between the two vectors is taken, and, as a result, a single inner product value is obtained. Therefore, if inner products between the same component calibration spectrum CS n and a plurality of evaluation spectra EDS are computed, a plurality of inner product values corresponding to a plurality of known samples are obtained with respect to the same component calibration spectrum CS n .
  • FIG. 2 shows diagrams in which inner product values P regarding a plurality of known samples are taken on a transverse axis, a known component amount C for a target component contained in the plurality of known samples is taken on a longitudinal axis, and the values are plotted.
  • the n-th component calibration spectrum CS n used for an inner product is a spectrum corresponding to a target component, as in the example illustrated in FIG. 2
  • the inner product value P and the component amount C for the target component of each known sample have a strong correlation. Therefore, from among the plurality of component calibration spectra CS 1 to CS N obtained through the independent component analysis, the component calibration spectrum CS n having the strongest correlation (the greatest correlation degree) may be selected as a target component calibration spectrum corresponding to the target component.
  • the first component calibration spectrum CS 1 is a target component calibration spectrum corresponding to the target component (for example, glucose).
  • FIG. 3 is a diagram illustrating an overview of a target component calibration process using a calibration curve.
  • the calibration process is performed by using the target component calibration spectrum CS 1 and the calibration curve CC obtained through the calibration curve creation process illustrated in FIG. 2 .
  • a measure spectrum TOS of a test object in which a component amount for a target component is unknown is acquired.
  • preprocessing is performed on the measure spectrum TOS as necessary, and thus an optical spectrum TOS having undergone the preprocessing is created.
  • This preprocessing is the same processing as the preprocessing used for creation of the calibration curve.
  • the preprocessing during creation of the calibration curve in a case where a subtraction calculation described in FIG.
  • the average spectrum Xave used during creation of the calibration curve may be subtracted from the measure spectrum TOS.
  • An inner product between the optical spectrum TOS obtained in the above-described way and the target component calibration spectrum CS 1 is taken, and thus an inner product value P regarding the optical spectrum TOS is calculated. If the inner product value P is applied to the calibration curve CC, a component amount C for the target component contained in the test object can be determined.
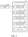
  • FIG. 4 is a block diagram illustrating a configuration of a calibration apparatus 100 in an embodiment.
  • the calibration apparatus 100 includes a calibration data acquisition unit 110 , an optical spectrum acquisition unit 120 , an inner product value calculation unit 130 , a component amount calculation unit 140 , and a display unit 150 .
  • a measurement device 200 for acquiring measured data is connected to the calibration apparatus 100 .
  • the measurement device 200 is, for example, a spectrometer measuring spectral absorbance of a sample.
  • the measurement device 200 is not limited to a spectrometer, and various measurement devices suitable for characteristics of target components can be used.
  • the calibration apparatus 100 may be implemented by, for example, an electronic apparatus for use in calibration only, and may be implemented by a general purpose computer. Functions of the respective units 110 to 150 of the calibration apparatus 100 may be implemented by any computer programs or hardware circuits.
  • FIG. 5 is a flowchart illustrating procedures of a calibration process performed by the calibration apparatus 100 .
  • the calibration data acquisition unit 110 acquires calibration data including a target component calibration spectrum (CS 1 in the example illustrated in FIG. 2 ) and the calibration curve CC. Details of the calibration data acquisition process in the present embodiment will be described later.
  • step S 120 the optical spectrum acquisition unit 120 acquires the optical spectrum.
  • TOS FIG. 3
  • the optical spectrum TOS is obtained by performing preprocessing on a measure spectrum obtained through spectrometry, as necessary. Therefore, the optical spectrum acquisition unit 120 preferably has a function of performing the preprocessing.
  • the inner product value calculation unit 130 calculates the inner product value P ( FIG. 3 ) between the optical spectrum TOS and the target component calibration spectrum CS 1 .
  • the component amount calculation unit 140 calculates the component amount C corresponding to the inner product value P obtained in step S 130 by using the calibration curve CC.
  • the component amount C is a component amount (for example, a glucose concentration) for the target component in the test object.
  • the component amount C is displayed on the display unit 150 .
  • the component amount C may be transmitted to another electronic apparatus, and other desired processes (for example, a notification sent to a test object using an electronic mail) may be performed.
  • FIGS. 6 and 7 are flowchart illustrating the calibration data acquisition process in the present embodiment and diagrams illustrating the content thereof, and illustrate detailed steps of step S 110 in FIG. 5 .
  • step S 210 measurement is performed on Q (where Q is an integer of 3 or more) first samples containing a plurality of components including a target component (for example, glucose) so that a set of Q optical spectra OS ( FIG. 7 ) is acquired, and measurement is performed on S (where S is an integer of 3 or more) second samples in which a component amount for the target component is known so that S pieces of evaluation data ED ( FIG. 7 ) are acquired.
  • the set of the Q optical spectra OS is learning sample data for determining a component calibration spectrum by performing independent component analysis.
  • the evaluation data ED includes the evaluation spectra EDS which are optical spectra for the S samples and a known component amount for the target component in each sample.
  • a component amount for the target component may be known, but samples in which a component amount for the target component is unknown may be used. This is because, in the calibration data acquisition process of the present embodiment, a component amount of the target component in the Q first samples is not used.
  • the number Q of first samples may be any integer of 3 or more, but, if Q is a great value of 100 or more, an effect achieved by the process in FIG. 6 is large. This is because, if the number Q of first samples increases, a component amount distribution is similar to a Gaussian distribution, thus it is difficult to perform independent component analysis in which a component amount is treated as an independent component with high accuracy, and, as a result, it is notably meaningful to create a subset which will be described later. The reason will be supplementarily described below.
  • a plurality of pieces of sample data are required, and a set of the sample data preferably satisfies the following conditions.
  • a plurality of optical spectra are data obtained by performing measurement on a sample in which various components which can be present during actual measurement on a test object except for a specific target component are mixed with each other.
  • a component amount distribution of a plurality of components including a target component are statistically independent from each other according to a non-Gaussian distribution.
  • the above condition C1 may be satisfied by performing measurement under various measurement conditions.
  • the condition C2 is not ensured to be satisfied in a set of sample data which is prepared at random.
  • a component amount distribution may be similar to a normal distribution (Gaussian distribution).
  • a normal distribution Gaussian distribution
  • step S 220 which will be described later, a subset is extracted from a set of optical spectra OS of all prepared samples, and thus independent component analysis in which a component amount is treated as an independent component is improved.
  • the number S of second samples in which a component amount is known may be any integer of 3 or more, and a larger number S is preferable in that calibration accuracy is improved. Typically, the number S of second samples is smaller than the number Q of first samples. Some or all of the second samples may be used as parts of the first samples.
  • step S 220 R (where R is an integer of 2 or more) subsets PA 1 to PA R ( FIG. 7 ) are extracted from the set of the Q optical spectra OS.
  • Each of the R subsets PA 1 to PA R is extracted to include M (where M is an integer of 2 or more and below Q) optical spectra OS.
  • the number M of optical spectra OS forming each subset PA r (where r is 1 to R) is set to a value which is equal to or more than the number of component calibration spectra obtained through the independent component analysis performed in step S 230 .
  • the numbers M of optical spectra OS forming the respective subsets PA r (where r is 1 to R) may be values which are different from or the same as each other.
  • Extraction of the subsets PA 1 to PA R is preferably performed at random by using random numbers.
  • sampling without replacement is used so that the same optical spectrum is not extracted twice or more in the same subset PA r .
  • the number of combinations of selecting M different optical spectra from among the Q optical spectra OS is the same as Q C M .
  • the number R of subsets PA r may be set to be equal to or less than the number Q C M of combinations, or may be set to any integer of 2 or more.
  • the R subsets PA 1 to PA R are extracted from the Q optical spectra OS prepared in step S 210 , one or more subsets PA r satisfying the above condition C2 are expected to be generated.
  • step S 230 the above-described independent component analysis in which a component amount is treated as an independent component is performed on each of the R subsets PA 1 to PA R so that N component calibration spectra CS r1 to CS rN are obtained with respect to each subset PA r (where r is 1 to R) ( FIG. 7 ).
  • N component calibration spectra CS rn (where r is 1 to R, and n is 1 to N) can be acquired.
  • the number N of components is not required to match the number of actually contained components, and is empirically or experimentally determined so that the accuracy of independent component analysis is improved.
  • a value of N may be set to an integer of 1 or more, but may be an integer of 2 or more.
  • Steps S 240 to S 260 are processes of selecting an optimal target component calibration spectrum corresponding to the target component from among the R ⁇ N component calibration spectra CS rn (where r is 1 to R, and n is 1 to N) obtained in step S 230 .
  • step S 240 an inner product is performed between each of the R ⁇ N component calibration spectra CS rn and the S evaluation spectra EDS so that S inner product values P are obtained.
  • the S inner product values P are calculated for a single component calibration spectrum CS rn .
  • step S 250 a correlation degree CD rn between the known component amount C for the target component in the S second samples and the S inner product values P calculated for the component calibration spectra CS rn are obtained with respect to each of the R ⁇ N component calibration spectra CS rn .
  • Graphs in which a relationship between the inner product value P and the component amount C of the target component is plotted with respect to each of the component calibration spectra CS rn are drawn on the right end in FIG. 7 .
  • the correlation degree CD rn for example, a correlation coefficient may be used.
  • step S 260 from among the R ⁇ N component calibration spectra CS rn , a single component calibration spectrum CS rn causing the correlation degree CD rn to be greatest is selected as a target component calibration spectrum corresponding to the target component.
  • the component calibration spectrum CS 11 is selected as a target component calibration spectrum.
  • the S inner product values P regarding the target component calibration spectrum CS 11 are already obtained in step S 240 , and thus the S inner product values P may be used without being changed in step S 270 .
  • the independent component analysis can be performed with high accuracy, and thus calibration of a target component can be performed with high accuracy, even in a case where optical spectra derived from a plurality of components are not independent from each other.
  • a plurality of subsets PA r are extracted from a set of Q optical spectra OS, and independent component analysis in which a component amount is treated as an independent component is performed on each of the subsets PA r .
  • an aqueous solution which is a mixture of glucose as a target component, albumin as another component, and water was used as a first sample and a second sample.
  • the first sample for acquiring the optical spectra OS is an aqueous solution in which the glucose and the albumin are respectively mixed with pure water in concentration ranges of 50 to 400 mg/dL and 4000 to 5000 mg/dL.
  • component amounts (concentrations) of the glucose and the albumin were set to concentrations determined as random values following a normal distribution in which the set range is included in 3 ⁇ with the center of the set range as an average value. In other words, independent component analysis with high accuracy was expected not to be performed on the entire first sample.
  • the number Q of first samples was 5000.
  • the second sample for acquiring the evaluation data ED is also an aqueous solution in which the glucose and the albumin are respectively mixed with pure water in concentration ranges of 50 to 400 mg/dL and 4000 to 5000 mg/dL.
  • the second sample is an aqueous solution in which a true value of the glucose concentration is measured and is known through chemical analysis.
  • the number S of second samples was 10.
  • the optical spectra OS were acquired from the first samples according to the procedures in FIGS. 6 and 7 , and the evaluation data ED was acquired from the second samples.
  • spectrometry including a near-infrared wavelength region of 1100 to 1300 nm was performed on the 5000 first samples so that 5000 measure spectra were acquired, and preprocessing was performed thereon so that the optical spectra OS were acquired.
  • the evaluation spectra EDS were acquired for the ten second samples in which the concentration of the glucose which is a target component is known.
  • the number R of subsets PA r was set to 10000
  • the number M of optical spectra OS forming each subset PA r was set to 500.
  • the 10000 subsets PA r are extremely small parts thereof.
  • Inner products with the 10 evaluation spectra EDS were calculated with respect to each of the component calibration spectra CS, so that ten inner product values P were obtained.
  • the correlation degree CD rn (correlation coefficient) between the inner product value P and the component amount C was computed as an evaluation index of the component calibration spectra CS rn on the basis of the ten inner product values P regarding each of the component calibration spectra CS rn and the known component amount C (glucose concentration) of the glucose of the second samples.
  • the single regression formula C uP+v indicating a relationship between the ten inner product values P obtained through the inner product between the ten evaluation spectra EDS and the target component calibration spectrum, and the known component amount C for the target component in the ten second samples is created as a calibration curve by using the selected target component calibration spectrum.
  • step S 220 in FIG. 6 the process (extraction of subsets) in step S 220 in FIG. 6 is not performed, independent component analysis in which a component amount was treated as an independent component was performed on the whole set of 5000 optical spectra OS in step S 230 , and three component calibration spectra CS were determined.
  • the processes in step S 240 and the subsequent steps were performed in the same manner as in the above-described Example.
  • FIG. 8 is a graph illustrating concentration distributions of glucose and albumin for the 5000 first sample.
  • FIG. 9 is a graph illustrating calibration accuracy in the comparative example, in which a transverse axis expresses a true value of a glucose concentration, and a longitudinal axis expresses a calibration value.
  • calibration accuracy SEP of the glucose concentration was 51.5 mg/dL
  • a correlation coefficient Corr between the calibration value and the true value of the glucose concentration was 0.744.
  • distributions of the calibration value and the true value are greatly spread, and thus the calibration accuracy is low.
  • FIG. 10 is a graph illustrating a relationship between the calibration accuracy obtained for the 30000 component calibration spectra CS rn obtained in the Example and a correlation coefficient between the calibration value and the true value. According to this result, it can be seen that, as a correlation coefficient between the calibration value and the true value becomes larger, the calibration accuracy becomes more favorable.
  • FIG. 11 is a graph illustrating concentration distributions of the glucose and the albumin with respect to 500 samples corresponding to the optimal subsets PA r in the Example.
  • FIG. 12 is a graph illustrating calibration accuracy obtained with the optimal subsets PA r in the Example.
  • the calibration accuracy SEP of the glucose concentration was 0.58 mg/dL
  • the correlation coefficient Corr between the calibration value and the true value of the glucose concentration was 1.000
  • both of the two results were more favorable than in the comparative example. Therefore, it was confirmed that the independent component analysis could be performed with high accuracy, and calibration of glucose as a target component could also be performed with high accuracy, according to the embodiment of the embodiment.
  • the invention is applicable to a case where a liquid containing a salt or liquid containing a protein such as a lipid or albumin or an alcohol is used as a sample.
  • the invention is also applicable to independent component analysis in which other objects such as a human body (human), a voice, and an image are used as samples.
  • a human body is an object
  • the invention is applicable to a case with neutral fat or alcohol in the human body, or glucose in blood as a target component.
  • the word “spectrum” may be replaced with other words such as “measured data” or “object data”.
  • the invention is also applicable to an apparatus in which a component concentration is estimated on the basis of spectrometric data of an optically mid-infrared spectroscopic type, near-infrared spectroscopic type, or Raman spectroscopic type.
  • the invention is also applicable to any one of an optical protein concentration meter, an optical neutral fat concentration meter, an optical blood glucose meter, an optical salt concentration meter, and an optical alcohol concentration meter.

Landscapes

  • Physics & Mathematics (AREA)
  • Spectroscopy & Molecular Physics (AREA)
  • Health & Medical Sciences (AREA)
  • Life Sciences & Earth Sciences (AREA)
  • Chemical & Material Sciences (AREA)
  • Analytical Chemistry (AREA)
  • Biochemistry (AREA)
  • General Health & Medical Sciences (AREA)
  • General Physics & Mathematics (AREA)
  • Immunology (AREA)
  • Pathology (AREA)
  • Engineering & Computer Science (AREA)
  • Mathematical Physics (AREA)
  • Theoretical Computer Science (AREA)
  • Investigating Or Analysing Materials By Optical Means (AREA)

Abstract

A calibration data acquisition unit (a) acquires Q optical spectra and S evaluation spectra, (b) extracts R subsets from a set of the Q optical spectra, (c) performs independent component analysis in which component amounts in each sample treated as independent components on each of R subsets so as to acquire R×N component calibration spectra, (d) obtains an inner product value between the R×N component calibration spectrum and an evaluation spectrum, (e) selects a component calibration spectrum for which a correlation degree between a component amount for the target component and the inner product value is the maximum as the target component calibration spectrum from among the R×N component calibration spectra, and (f) creates a calibration curve by using the target component calibration spectrum.

Description

BACKGROUND 1. Technical Field
The present invention relates to a calibration technique of obtaining a component amount of a target component from measured data of a test object, and an independent component analysis technique of determining an independent component on the basis of measured data such as an optical spectrum.
2. Related Art
In the related art, there is a calibration method of obtaining a component amount of a target component by using independent component analysis (ICA). The independent component analysis of the related art is a method of estimating signal sources as independent components on the premise that the signal sources (for example, an optical spectra) derived from a plurality of components are independent components. For example, JP-A-2013-36973 discloses a calibration technique in which an optical spectrum is acquired by performing spectrometry on a green vegetable, a spectrum derived from chlorophyll is estimated as an independent component by performing independent component analysis on the optical spectrum, and a chlorophyll amount in a new green vegetable sample is determined by using the estimated spectrum.
Meanwhile, in order to sufficiently accurately perform independent component analysis, the condition that a plurality of independent components to be estimated are statistically independent from each other is required to be established. However, in a certain kind of measured data, such a condition for performing accurate independent component analysis may not be established.
In this case, there is a probability that optical spectra cannot be accurately estimated even if normal independent component analysis in which optical spectra derived from a plurality of components are treated as independent components is performed. Therefore, a technique of performing independent component analysis with high accuracy or a technique of calibrating a target component with high accuracy is desirable even in a case where the condition that optical spectra derived from a plurality of components are “statistically independent from each other” is not satisfied. This problem is not limited to calibration of a target component using an optical spectrum including a near-infrared region, and is common to other techniques of performing independent component analysis on other measured data or measured signals.
SUMMARY
An advantage of some aspects of the invention is to solve at least a part of the problems described above, and the invention can be implemented as the following forms or application examples.
(1) According to a first aspect of the invention, a calibration apparatus obtaining a component amount for a target component in a test object is provided. The calibration apparatus includes an optical spectrum acquisition unit that acquires an optical spectrum obtained through spectrometry on the test object; a calibration data acquisition unit that acquires calibration data including a target component calibration spectrum corresponding to the target component, and a single regression formula indicating a calibration curve; an inner product value calculation unit that computes an inner product value between the optical spectrum acquired for the test object and the target component calibration spectrum; and a component amount calculation unit that calculates a component amount for the target component corresponding to an inner product value obtained by the inner product value calculation unit by using the single regression formula indicating a relationship between the inner product value and a component amount for the target component. The calibration data acquisition unit performs (a) a process of acquiring Q optical spectra obtained through spectrometry on Q (where Q is an integer of 3 or more) first samples each containing N (where N is an integer of 1 or more) components including the target component, S evaluation spectra obtained through spectrometry on S (where S is an integer of 3 or more) second samples in which a component amount for the target component is known; (b) a process of extracting R (where R is an integer of 2 or more) subsets from a set of the Q optical spectra; (c) a process of determining N component calibration spectra corresponding to the N components by performing independent component analysis in which component amounts for the N components are treated as independent components in each sample on each of the R subsets, and acquiring a total of R×N component calibration spectra; (d) a process of obtaining S inner product values by performing an inner product between each of the R×N component calibration spectra and the S evaluation spectra; (e) a process of obtaining a correlation degree between a component amount for the target component in the S second samples and the S inner product values with respect to each of the R×N component calibration spectra, and, from among the R×N component calibration spectra, selecting a component calibration spectrum causing the correlation degree to be the maximum as the target component calibration spectrum; and (f) a process of creating, as the calibration curve, a single regression formula indicating a relationship between an inner product value obtained through an inner product between the S evaluation spectra and the target component calibration spectrum, and a component amount for the target component contained in the S second samples.
According to the calibration apparatus, since independent component analysis in which component amounts for N components in each sample are treated as independent components is performed, the independent component analysis can be performed with high accuracy, and thus calibration of a target component can be performed with high accuracy, even in a case where optical spectra derived from a plurality of components are not independent from each other. Since plurality of subsets are extracted from a set of Q optical spectra, and independent component analysis in which a component amount is treated as an independent component is performed on each of the subsets, even in a case where a component amount distribution in the whole set of the Q optical spectra is a Gaussian distribution, and thus there is a subset in which independency is deficient, independency is improved since a component amount distribution is a more non-Gaussian distribution in several subsets, and thus it is possible to obtain a target component calibration spectrum with high accuracy. As a result, it is possible to perform calibration with higher accuracy.
(2) In the process (c), the calibration data acquisition unit may (1) use an equation X=YW in which an optical spectrum matrix X having optical spectra obtained through spectrometry on each sample as column vectors is the same as a product between a component natural spectrum matrix Y having unknown component natural spectra derived from the respective components among the N components contained in each of the samples as column vectors and a component amount matrix W having unknown component amounts for the N components in each of the samples as column vectors, and perform independent component analysis in which the respective column vectors forming the component amount matrix W are treated as independent components, so as to determine the component amount matrix W and the component natural spectrum matrix Y, and (2) employ inverse matrix row vectors respectively corresponding to the N components in a general inverse matrix Y of the component natural spectrum matrix Y determined through the independent component analysis, as the component calibration spectra corresponding to the respective components.
According to this configuration, it is possible to determine a component calibration spectrum corresponding to each component with high accuracy.
(3) According to a second aspect of the invention, a calibration curve creation method performed by the calibration data acquisition unit in the first aspect is provided.
According to the calibration method, in the same manner as in the first aspect, it is possible to obtain target component calibration spectrum with high accuracy, and to perform calibration with high accuracy.
(4) According to a third aspect of the invention, an independent component analysis method in which component calibration spectra corresponding to a plurality of components contained in each sample are determined on the basis of a plurality of optical spectra obtained through spectrometry on a plurality of samples is provided. The independent component analysis method includes (1) extracting a plurality of subsets each including two or more optical spectra from a set of optical spectra obtained through spectrometry on the plurality of samples; and (2) determining a plurality of component calibration spectra respectively corresponding to the plurality of components by performing independent component analysis in which component amounts for the plurality of components in each sample are treated as independent components on each of the plurality of subsets.
Since plurality of subsets are extracted from a set of a plurality of optical spectra, and independent component analysis in which a component amount is treated as an independent component is performed on each of the subsets, even in a case where a component amount distribution in the whole set of the plurality of optical spectra is a Gaussian distribution, and thus there is a subset in which independency is deficient, independency is improved since a component amount distribution is a more non-Gaussian distribution in several subsets, and thus it is possible to obtain a target component calibration spectrum with high accuracy.
The invention may be realized in aspects such as an electronic apparatus including the above-described apparatus, a computer program for realizing functions of the respective units of the apparatus, and a non-transitory storage medium which stores the computer program thereon.
BRIEF DESCRIPTION OF THE DRAWINGS
The invention will be described with reference to the accompanying drawings, wherein like numbers reference like elements.
FIG. 1 is a diagram illustrating an overview of independent component analysis in which component amounts are treated as independent components.
FIG. 2 is a diagram illustrating an overview of a calibration curve creation process using independent component analysis.
FIG. 3 is a diagram illustrating an overview of a target component calibration process.
FIG. 4 is a block diagram illustrating a configuration of a calibration apparatus in an embodiment.
FIG. 5 is a flowchart illustrating procedures of a calibration process.
FIG. 6 is a flowchart illustrating a calibration data acquisition process.
FIG. 7 is a diagram illustrating the content of the calibration data acquisition process.
FIG. 8 is a graph illustrating a concentration distribution of components in all samples.
FIG. 9 is a graph illustrating calibration accuracy in a comparative example using all samples.
FIG. 10 is a graph illustrating a relationship between calibration accuracy and a correlation coefficient in an Example.
FIG. 11 is a graph illustrating a concentration distribution of components in an optimal subset in the Example.
FIG. 12 is a graph illustrating calibration accuracy obtained with an optimal subset in the Example.
DESCRIPTION OF EXEMPLARY EMBODIMENTS
Hereinafter, an embodiment of the invention will be described in the following order.
A. Overview of independent component analysis in which component amounts are treated as independent components
B. Overview of calibration curve creation process and calibration process
C. Configuration of calibration apparatus and process content thereof in embodiment
D. Content of calibration data acquisition process
E. Example
F. Modification examples
A. OVERVIEW OF INDEPENDENT COMPONENT ANALYSIS IN WHICH COMPONENT AMOUNTS ARE TREATED AS INDEPENDENT COMPONENTS
Independent component analysis used in an embodiment described below is greatly different from typical independent component analysis in which component-derived measured data (for example, an optical spectrum) is treated as an independent component in that a component amount for a component is treated as an independent component. Therefore, first, a description will be made of a difference between the typical independent component analysis and the independent component analysis in which a component amount is treated as an independent component. Hereinafter, for convenience of description, a description will be made of a case of using an optical spectrum of a test object (also referred to as a “sample”) as measured data, but the independent component analysis in which a component amount is treated as an independent component is applicable to different kinds of signals or data such as a sound signal or an image.
In the typical independent component analysis, for example, optical spectra x1(λ), x2(λ), and x3(λ) obtained through spectrometry on a plurality of samples are expressed as in the following Equation (1) as a linear combination of component natural spectra s1(λ), s2(λ), and s3(λ) derived from a plurality of components contained in each sample.
x 1 ( λ ) = a 11 s 1 ( λ ) + a 12 s 2 ( λ ) + a 13 s 3 ( λ ) x 2 ( λ ) = a 21 s 1 ( λ ) + a 22 s 2 ( λ ) + a 23 s 3 ( λ ) x 3 ( λ ) = a 31 s 1 ( λ ) + a 32 s 2 ( λ ) + a 33 s 3 ( λ ) ( 1 )
Here, a11, a12, . . . , and a33 are weighting factors indicating component amounts for the respective components. Herein, for convenience of description, the number of samples and the number of components in optical spectra are assumed to be all three.
The above Equation (1) is expressed as in the following Equation (2) in terms of a matrix.
[ x 1 ( λ ) x 2 ( λ ) x 3 ( λ ) ] = A [ s 1 ( λ ) s 2 ( λ ) s 3 ( λ ) ] A = [ a 11 a 12 a 13 a 21 a 22 a 23 a 31 a 32 a 33 ] ( 2 )
In the typical independent component analysis, unknown component natural spectra s1(λ), s2(λ), and s3(λ) derived from a plurality of components are treated as components which are independent from each other, and are subjected to independent component analysis by using the above Equation (2). In this case, in order to sufficiently accurately perform independent component analysis, the condition that a plurality of component natural spectra s1 (λ), s2 (λ), and s3 (λ) are statistically independent from each other is required to be established.
However, the condition for performing accurate independent component analysis may not be established depending on property of measured data. In this case, optical spectra derived from a plurality of components may not satisfy the condition of being “statistically independent from each other”. In this case, even if the typical independent component analysis is performed by using the above Equation (2), the component natural spectra s1(λ), s2(λ), and s3(λ) or the component amount matrix A cannot be accurately estimated.
The present inventor of the invention has found that the component natural spectra s1(λ), s2(λ), and s3(λ) or the component amount matrix A can be accurately estimated or determined by employing the independent component analysis in which a component amount is treated as an independent component instead of the above-described typical independent component analysis.
In the independent component analysis in which a component amount is treated as an independent component, the following equation is used instead of the above Equation (2).
[ x 1 ( λ ) T x 2 ( λ ) T x 3 ( λ ) T ] = [ s 1 ( λ ) T s 2 ( λ ) T s 3 ( λ ) T ] A T A T = [ a 11 a 21 a 31 a 12 a 22 a 32 a 13 a 23 a 33 ] ( 3 )
Here, the superscript “T” added to the matrix symbol indicates a transposed matrix. Equation (3) is obtained by transposing both of the sides in the above Equation (2).
In the independent component analysis in which a component amount is treated as an independent component, in the above Equation (3), the column vectors [a11 a12 a13]T, [a21 a22 a23]T, and [a31 a32 a33]T of the component amount matrix AT are respectively treated as independent components, and independent component analysis is performed. These column vectors indicate component amounts for a plurality of components in each sample.
The independent component analysis in which a component amount is treated as an independent component is an analysis method employed through the following examination. As described above, there is a case where component natural spectra derived from a plurality of components do not satisfy the condition of being statistically independent from each other. However, although component natural spectra derived from a plurality of components are not statistically independent from each other, if the condition that component amounts (for example, concentrations) for the plurality of components have no relation to each other and are statistically independent from each other is established, in a case where component amounts (that is, the respective column vectors forming the component amount matrix AT in the above Equation (3)) for a plurality of components in each sample are treated as independent components, and independent component analysis is performed, it is possible to accurately estimate or determine the component amount matrix AT, and also to accurately estimate or determine the component natural spectra s1(λ), s2(λ), and s3(λ).
If the above Equation (3) is generalized, the following Equation (4) is obtained.
X T = S T A T X T = [ x 1 ( λ 1 ) x M ( λ 1 ) x 1 ( λ K ) x M ( λ K ) ] S T = [ s 1 ( λ 1 ) s N ( λ 1 ) s 1 ( λ K ) s N ( λ K ) ] A T = [ a 11 a M 1 a 1 N a MN ] ( 4 )
Here, K indicates the number of measurement points of the wavelength λ in a spectrum, M indicates the number of samples, and N indicates the number of components. A component amount amn (where m is 1 to M, and n is 1 to N) is a component amount (for example, a concentration) for an n-th component in an m-th sample.
Since it is inconvenient to use matrices XT, ST, and AT as in the above Equation (4) with the transposition symbol, X=XT, Y=ST, ynk)=snk), W=AT, and wmn=amn are set, and the above Equation (4) is rewritten into the following Equation (5) which is used in independent component analysis in which a component amount is treated as an independent component.
Equations used in independent component analysis in which component amount is treated as independent component
X = YW X = [ x 1 ( λ 1 ) x M ( λ 1 ) x 1 ( λ K ) x M ( λ K ) ] Y = [ y 1 ( λ 1 ) y N ( λ 1 ) y 1 ( λ K ) y N ( λ K ) ] W = [ w 11 w M 1 w 1 N w MN ] ( 5 )
Here, xmk) indicates a spectral intensity at a wavelength λk in an m-th sample, ynk) indicates a spectral intensity at the wavelength λk derived from an n-th component, and wmn indicates a component amount for the n-th component in the m-th sample. K indicates the number of measurement points of the wavelength λ in a spectrum, M indicates the number of samples, and N indicates the number of components. K and M are all integers of 2 or more. N is an integer of 1 or more, and may be an integer of 2 or more.
The above Equation (5) corresponds to an equation in which an optical spectrum matrix X having optical spectra obtained through spectrometry on each sample as column vectors [xm1) . . . xmK)]T is the same as a product between a component natural spectrum matrix Y having unknown component natural spectra derived from a plurality of respective components as column vectors [yn1) . . . ynK)]T and a component amount matrix W having unknown component amounts indicating component amounts for a plurality of components in each sample as column vectors [wm1 . . . wmN]T.
FIG. 1 is a diagram illustrating an overview of independent component analysis in which a component amount is treated as an independent component. FIG. 1 illustrates an example of a case where an aqueous solution containing glucose or albumin is used as a sample, and optical spectra obtained through spectrometry on a plurality of samples are used as independent component analysis objects. A measured spectrum Xd is an absorbance spectrum obtained through spectrometry. A plurality of actual measured spectra Xd show considerably approximate curves, but, in FIG. 1, for convenience of illustration, differences among the plurality of measured spectra Xd are illustrated to be exaggerated. The measured spectra Xd for a plurality of samples have values approximate to each other, and, thus, if these values are used as they are, there is a probability that the accuracy of a result obtained through independent component analysis may not be sufficiently high. For example, the influence of a solvent on a measured spectrum may change depending on the concentration of a solute (contained component), and thus the accuracy of independent component analysis may deteriorate. Therefore, as preprocessing, a subtraction calculation is performed so that an average spectrum Xave of a plurality of measured spectra Xd is subtracted from each measured spectrum Xd, and thus a difference spectrum X is obtained. In the above-described way, even in a case where the influence of a solvent on a measured spectrum changes depending on the concentration of a solute (contained component), the influence can be removed through the preprocessing, and thus it is possible to increase the accuracy of independent component analysis. The difference spectrum X is used as the optical spectrum X in the above Equation (5). If independent component analysis is performed on the difference spectrum X, the accuracy of the independent component analysis can be improved. However, preprocessing may be omitted.
The lower part in FIG. 1 illustrates a state in which the optical spectrum X is expressed by a product between the unknown component natural spectrum yn(λ) and the unknown component amount wmn, according to the above Equation (5).
In the independent component analysis, the component amount matrix W is determined by treating each column vector [wm1 . . . wmN]T of the component amount matrix W in the above Equation (5) as an independent component and performing the independent component analysis, and, as a result, the component natural spectrum matrix Y is also determined. An independent component analysis method may employ the typical independent component analysis. For example, an independent component analysis method disclosed in JP-A-2013-160574 or JP-A-2016-65803 filed by the applicant of the present application may be used, or other independent component analysis methods may be used.
If the component natural spectrum matrix Y in the above Equation (5) is determined, a component amount w* for a plurality of components in a new sample may be obtained by integrating an optical spectrum x* obtained through spectrometry on the new sample with a general inverse matrix Y of the component natural spectrum matrix Y obtained through the independent component analysis. Specifically, the component amount w* for the components of the new sample may be obtained by using the following Equation (6).
w * = Y x * w * = [ w 1 * w N * ] Y = [ y 1 ( λ 1 ) y 1 ( λ K ) y N ( λ 1 ) y N ( λ K ) ] x * = [ x * ( λ 1 ) w * ( λ K ) ] ( 6 )
Here, w*=[w1* . . . wN*]T is a component amount for N components included in a new sample, Y is a general inverse matrix of the component natural spectrum matrix Y obtained through independent component analysis, ynk) is a k-th element of a row vector of an n-th row in the general inverse matrix Y, and x*=[x*(λ1) . . . x*(λK)]T is an optical spectrum obtained through spectrometry on the new sample. The above Equation (6) may be derived by multiplying the lefts of both sides in the above Equation (5) by the general inverse matrix Y of the component natural spectrum matrix Y.
A value of a component amount wn* for any n-th component of the new sample is obtained according to the following Equation (7) derived from the above Equation (6).
w n *=y n x*
y n ‡=[y n 1) . . . y n K)]  (7)
Here, yn is a row vector of an n-th row in the general inverse matrix Y of the component natural spectrum matrix Y. The row vector yn is also referred to as an “inverse matrix row vector yn ” or a “component calibration spectrum yn ”. The general inverse matrix Y of the component natural spectrum matrix Y is referred to as a “component calibration spectrum matrix Y”. As mentioned above, the general inverse matrix Y may be obtained on the basis of the component natural spectrum matrix Y obtained through independent component analysis, and the component amount wn* for the n-th component may be obtained by taking an inner product between the inverse matrix row vector yn (that is, the n-th component calibration spectrum yn ) corresponding to the n-th component in the general inverse matrix Y and the optical spectrum x* for the new sample. However, the component natural spectrum matrix Y obtained through independent component analysis is meaningless in a value of an element thereof, and has property in which a waveform thereof is proportional to a true component natural spectrum. Therefore, the component amount wn* obtained through the inner product in the above Equation (7) is a value which is proportional to an actual component amount. An actual component amount may be obtained by applying the inner product value wn* obtained through the inner product in the above Equation (7) to a calibration curve (described later).
As mentioned above, according to the independent component analysis in which a component amount is treated as an independent component, even in a case where component natural spectra derived from a plurality of components are not statistically independent from each other, the component amount matrix W and the component natural spectrum matrix Y (and the component calibration spectrum matrix Y which is a general inverse matrix) can be accurately estimated or determined.
B. OVERVIEW OF CALIBRATION CURVE CREATION PROCESS AND CALIBRATION PROCESS
FIG. 2 is a diagram illustrating an overview of a component analysis (ICA) in which a component amount is treated as an independent component. An upper left part in FIG. 2 illustrates examples of measured spectra MS obtained through spectrometry on a plurality of samples. The measured spectra MS correspond to the measured spectra Xd in FIG. 1, and may be obtained through spectrometry on a sample containing a plurality of components (for example, glucose and albumin). In a typical calibration curve creation process, as a plurality of samples, known samples in which a component amount (for example, a concentration) for a target component (for example, glucose) is known are used. However, in an embodiment which will be described later, there is a difference from the typical calibration curve creation process in that samples (first samples) in which a component amount for a target component is unknown may be used as a plurality of samples for acquiring optical spectra as independent component analysis objects.
In creation of a calibration curve, first, preprocessing is performed on the measured spectra MS, and thus optical spectra OS (the optical spectra X having undergone preprocessing in FIG. 1) having undergone the preprocessing are created. As the preprocessing, for example, preprocessing including normalization of the measured spectra MS is performed. In the preprocessing, a subtraction calculation described in FIG. 1 is also preferably performed in addition to normalization. In the preprocessing, project on null space (PNS) may be performed in order to remove a baseline variation in the measured spectra MS. However, in a case where initial measured spectra MS have characteristics of not requiring preprocessing (for example, in a case where the measured spectra MS do not vary due to normalization), preprocessing may be omitted, and the measured spectra MS may be used as the optical spectra OS without being changed.
Next, independent component analysis in which a component amount is treated as an independent component is performed on a plurality of optical spectra OS, and thus a plurality of component calibration spectra CS1 to CSN are obtained. The number in the parenthesis indicates a component number. The plurality of component calibration spectra CS1 to CSN correspond to the above-described component calibration spectra yn .
A lower part in FIG. 2 illustrates a method of creating a calibration curve by using the plurality of component calibration spectra CS1 to CSN obtained in the above-described way. Herein, first, optical spectra EDS regarding a plurality of known samples (second samples) in which a component amount for a target component is known are acquired. The optical spectra EDS are obtained by performing, as necessary, the above-described preprocessing on measured spectra which are obtained through spectrometry on the known samples. The optical spectra EDS are referred to as “evaluation spectra EDS”. Next, an inner product value between the individual evaluation spectra EDS and the component calibration spectrum CSn is computed. The computation of the inner product value is a calculation in which each of the evaluation spectra EDS and the component calibration spectrum CSn are treated as a single vector, and an inner product between the two vectors is taken, and, as a result, a single inner product value is obtained. Therefore, if inner products between the same component calibration spectrum CSn and a plurality of evaluation spectra EDS are computed, a plurality of inner product values corresponding to a plurality of known samples are obtained with respect to the same component calibration spectrum CSn. A lower right part in FIG. 2 shows diagrams in which inner product values P regarding a plurality of known samples are taken on a transverse axis, a known component amount C for a target component contained in the plurality of known samples is taken on a longitudinal axis, and the values are plotted. If the n-th component calibration spectrum CSn used for an inner product is a spectrum corresponding to a target component, as in the example illustrated in FIG. 2, the inner product value P and the component amount C for the target component of each known sample have a strong correlation. Therefore, from among the plurality of component calibration spectra CS1 to CSN obtained through the independent component analysis, the component calibration spectrum CSn having the strongest correlation (the greatest correlation degree) may be selected as a target component calibration spectrum corresponding to the target component. As an evaluation value for such selection, evaluation values other than the correlation degree may be used. In the example illustrated in FIG. 2, the first component calibration spectrum CS1 is a target component calibration spectrum corresponding to the target component (for example, glucose). A calibration curve CC is represented as a straight line given by a single regression formula C=uP+v for plotting the inner product value P and the component amount C.
FIG. 3 is a diagram illustrating an overview of a target component calibration process using a calibration curve. The calibration process is performed by using the target component calibration spectrum CS1 and the calibration curve CC obtained through the calibration curve creation process illustrated in FIG. 2. In the calibration process, first, a measure spectrum TOS of a test object in which a component amount for a target component is unknown is acquired. Next, preprocessing is performed on the measure spectrum TOS as necessary, and thus an optical spectrum TOS having undergone the preprocessing is created. This preprocessing is the same processing as the preprocessing used for creation of the calibration curve. In the preprocessing during creation of the calibration curve, in a case where a subtraction calculation described in FIG. 1 is performed, the average spectrum Xave used during creation of the calibration curve may be subtracted from the measure spectrum TOS. An inner product between the optical spectrum TOS obtained in the above-described way and the target component calibration spectrum CS1 is taken, and thus an inner product value P regarding the optical spectrum TOS is calculated. If the inner product value P is applied to the calibration curve CC, a component amount C for the target component contained in the test object can be determined.
C. CONFIGURATION OF CALIBRATION APPARATUS AND PROCESS CONTENT THEREOF IN EMBODIMENT
FIG. 4 is a block diagram illustrating a configuration of a calibration apparatus 100 in an embodiment. The calibration apparatus 100 includes a calibration data acquisition unit 110, an optical spectrum acquisition unit 120, an inner product value calculation unit 130, a component amount calculation unit 140, and a display unit 150. A measurement device 200 for acquiring measured data is connected to the calibration apparatus 100. The measurement device 200 is, for example, a spectrometer measuring spectral absorbance of a sample. The measurement device 200 is not limited to a spectrometer, and various measurement devices suitable for characteristics of target components can be used.
The calibration apparatus 100 may be implemented by, for example, an electronic apparatus for use in calibration only, and may be implemented by a general purpose computer. Functions of the respective units 110 to 150 of the calibration apparatus 100 may be implemented by any computer programs or hardware circuits.
FIG. 5 is a flowchart illustrating procedures of a calibration process performed by the calibration apparatus 100. In step S110, the calibration data acquisition unit 110 (FIG. 4) acquires calibration data including a target component calibration spectrum (CS1 in the example illustrated in FIG. 2) and the calibration curve CC. Details of the calibration data acquisition process in the present embodiment will be described later.
In step S120, the optical spectrum acquisition unit 120 acquires the optical spectrum. TOS (FIG. 3) of a test object by using the measurement device 200. As described in FIG. 3, the optical spectrum TOS is obtained by performing preprocessing on a measure spectrum obtained through spectrometry, as necessary. Therefore, the optical spectrum acquisition unit 120 preferably has a function of performing the preprocessing. In step S130, the inner product value calculation unit 130 calculates the inner product value P (FIG. 3) between the optical spectrum TOS and the target component calibration spectrum CS1. In step S140, the component amount calculation unit 140 calculates the component amount C corresponding to the inner product value P obtained in step S130 by using the calibration curve CC. The component amount C is a component amount (for example, a glucose concentration) for the target component in the test object. In step S150, the component amount C is displayed on the display unit 150. Instead of the component amount C being displayed, the component amount C may be transmitted to another electronic apparatus, and other desired processes (for example, a notification sent to a test object using an electronic mail) may be performed.
D. CONTENT OF CALIBRATION DATA ACQUISITION PROCESS
FIGS. 6 and 7 are flowchart illustrating the calibration data acquisition process in the present embodiment and diagrams illustrating the content thereof, and illustrate detailed steps of step S110 in FIG. 5.
In step S210, measurement is performed on Q (where Q is an integer of 3 or more) first samples containing a plurality of components including a target component (for example, glucose) so that a set of Q optical spectra OS (FIG. 7) is acquired, and measurement is performed on S (where S is an integer of 3 or more) second samples in which a component amount for the target component is known so that S pieces of evaluation data ED (FIG. 7) are acquired. The set of the Q optical spectra OS is learning sample data for determining a component calibration spectrum by performing independent component analysis. The evaluation data ED includes the evaluation spectra EDS which are optical spectra for the S samples and a known component amount for the target component in each sample. In the Q first samples, a component amount for the target component may be known, but samples in which a component amount for the target component is unknown may be used. This is because, in the calibration data acquisition process of the present embodiment, a component amount of the target component in the Q first samples is not used. The number Q of first samples may be any integer of 3 or more, but, if Q is a great value of 100 or more, an effect achieved by the process in FIG. 6 is large. This is because, if the number Q of first samples increases, a component amount distribution is similar to a Gaussian distribution, thus it is difficult to perform independent component analysis in which a component amount is treated as an independent component with high accuracy, and, as a result, it is notably meaningful to create a subset which will be described later. The reason will be supplementarily described below.
In order to perform the above-described independent component analysis in which a component amount is treated as an independent component with high accuracy, a plurality of pieces of sample data (optical spectra) are required, and a set of the sample data preferably satisfies the following conditions.
Condition C1
A plurality of optical spectra are data obtained by performing measurement on a sample in which various components which can be present during actual measurement on a test object except for a specific target component are mixed with each other.
Condition C2
A component amount distribution of a plurality of components including a target component are statistically independent from each other according to a non-Gaussian distribution.
The above condition C1 may be satisfied by performing measurement under various measurement conditions. However, the condition C2 is not ensured to be satisfied in a set of sample data which is prepared at random. Particularly, with respect to data collected from a plurality of different samples, a component amount distribution may be similar to a normal distribution (Gaussian distribution). On the other hand, not with respect to the whole set of samples but with respect to a subset thereof, it is expected that a component amount distribution deviated from a normal distribution can be obtained. Therefore, in the present embodiment, in step S220 which will be described later, a subset is extracted from a set of optical spectra OS of all prepared samples, and thus independent component analysis in which a component amount is treated as an independent component is improved.
The number S of second samples in which a component amount is known may be any integer of 3 or more, and a larger number S is preferable in that calibration accuracy is improved. Typically, the number S of second samples is smaller than the number Q of first samples. Some or all of the second samples may be used as parts of the first samples.
In step S220, R (where R is an integer of 2 or more) subsets PA1 to PAR (FIG. 7) are extracted from the set of the Q optical spectra OS. Each of the R subsets PA1 to PAR is extracted to include M (where M is an integer of 2 or more and below Q) optical spectra OS. The number M of optical spectra OS forming each subset PAr (where r is 1 to R) is set to a value which is equal to or more than the number of component calibration spectra obtained through the independent component analysis performed in step S230. The numbers M of optical spectra OS forming the respective subsets PAr (where r is 1 to R) may be values which are different from or the same as each other. Extraction of the subsets PA1 to PAR is preferably performed at random by using random numbers. In extraction of each subset PAr (where r is 1 to R), sampling without replacement is used so that the same optical spectrum is not extracted twice or more in the same subset PAr. The number of combinations of selecting M different optical spectra from among the Q optical spectra OS is the same as QCM. The number R of subsets PAr may be set to be equal to or less than the number QCM of combinations, or may be set to any integer of 2 or more. As mentioned above, if the R subsets PA1 to PAR are extracted from the Q optical spectra OS prepared in step S210, one or more subsets PAr satisfying the above condition C2 are expected to be generated.
In step S230, the above-described independent component analysis in which a component amount is treated as an independent component is performed on each of the R subsets PA1 to PAR so that N component calibration spectra CSr1 to CSrN are obtained with respect to each subset PAr (where r is 1 to R) (FIG. 7). As a result, a total of R×N component calibration spectra CSrn (where r is 1 to R, and n is 1 to N) can be acquired. The number N of components is not required to match the number of actually contained components, and is empirically or experimentally determined so that the accuracy of independent component analysis is improved. A value of N may be set to an integer of 1 or more, but may be an integer of 2 or more.
Steps S240 to S260 are processes of selecting an optimal target component calibration spectrum corresponding to the target component from among the R×N component calibration spectra CSrn (where r is 1 to R, and n is 1 to N) obtained in step S230. First, in step S240, an inner product is performed between each of the R×N component calibration spectra CSrn and the S evaluation spectra EDS so that S inner product values P are obtained. In other words, the S inner product values P are calculated for a single component calibration spectrum CSrn.
In step S250, a correlation degree CDrn between the known component amount C for the target component in the S second samples and the S inner product values P calculated for the component calibration spectra CSrn are obtained with respect to each of the R×N component calibration spectra CSrn. Graphs in which a relationship between the inner product value P and the component amount C of the target component is plotted with respect to each of the component calibration spectra CSrn are drawn on the right end in FIG. 7. As the correlation degree CDrn, for example, a correlation coefficient may be used.
In step S260, from among the R×N component calibration spectra CSrn, a single component calibration spectrum CSrn causing the correlation degree CDrn to be greatest is selected as a target component calibration spectrum corresponding to the target component. In the example illustrated in FIG. 7, since the correlation degree CD11 of the component calibration spectrum CS11 is greatest, the component calibration spectrum CS11 is selected as a target component calibration spectrum.
In step S270, the single regression formula C=uP+v (refer to FIG. 2) indicating a relationship between the S inner product values P obtained through an inner product between the S evaluation spectra EDS and the target component calibration spectrum CS11, and the known component amount C for the target component in the S second samples is created as the calibration curve CC by using the target component calibration spectrum CS11 selected in the above-described way. The S inner product values P regarding the target component calibration spectrum CS11 are already obtained in step S240, and thus the S inner product values P may be used without being changed in step S270.
As mentioned above, in the present embodiment, since independent component analysis in which component amounts for N components are treated as independent components is performed, the independent component analysis can be performed with high accuracy, and thus calibration of a target component can be performed with high accuracy, even in a case where optical spectra derived from a plurality of components are not independent from each other. In the present embodiment, a plurality of subsets PAr are extracted from a set of Q optical spectra OS, and independent component analysis in which a component amount is treated as an independent component is performed on each of the subsets PAr. In the above-described way, even in a case where a component amount distribution in the whole set of the Q optical spectra OS is a Gaussian distribution, and thus there is a subset in which independency is deficient, independency is improved since a component amount distribution is a more non-Gaussian distribution in several subsets PAr, and thus it is possible to obtain a target component calibration spectrum with high accuracy. As a result, it is possible to perform calibration with higher accuracy.
E. EXAMPLE
Creation of Sample
In an Example, an aqueous solution which is a mixture of glucose as a target component, albumin as another component, and water was used as a first sample and a second sample. Specifically, the first sample for acquiring the optical spectra OS is an aqueous solution in which the glucose and the albumin are respectively mixed with pure water in concentration ranges of 50 to 400 mg/dL and 4000 to 5000 mg/dL. Here, component amounts (concentrations) of the glucose and the albumin were set to concentrations determined as random values following a normal distribution in which the set range is included in 3σ with the center of the set range as an average value. In other words, independent component analysis with high accuracy was expected not to be performed on the entire first sample. The number Q of first samples was 5000.
In the same manner as the first sample, the second sample for acquiring the evaluation data ED is also an aqueous solution in which the glucose and the albumin are respectively mixed with pure water in concentration ranges of 50 to 400 mg/dL and 4000 to 5000 mg/dL. However, the second sample is an aqueous solution in which a true value of the glucose concentration is measured and is known through chemical analysis. In the Example, the number S of second samples was 10.
Acquisition of Optical Spectra OS or the Like (Step S210 in FIG. 6)
The optical spectra OS were acquired from the first samples according to the procedures in FIGS. 6 and 7, and the evaluation data ED was acquired from the second samples. First, spectrometry including a near-infrared wavelength region of 1100 to 1300 nm was performed on the 5000 first samples so that 5000 measure spectra were acquired, and preprocessing was performed thereon so that the optical spectra OS were acquired. Similarly, the evaluation spectra EDS were acquired for the ten second samples in which the concentration of the glucose which is a target component is known.
Extraction of Subset (Step S220)
Next, 500 different optical spectra OS were selected from a set of the 5000 optical spectra OS at random, and 10000 subsets PAr were created. In other words, the number R of subsets PAr was set to 10000, and the number M of optical spectra OS forming each subset PAr was set to 500. Here, the number of combinations of selecting 500 from 5000 is 5000C500=1.52×10704, and the 10000 subsets PAr are extremely small parts thereof.
Independent Component Analysis on Subsets (Step S230)
Next, independent component analysis in which a component amount is treated as an independent component was performed on the 10000 subsets PAr so that three component calibration spectra CSrn (where r is 1 to 10000, and n is 1 to 3) corresponding to the three components were obtained. In other words, 30000 component calibration spectra CSrn were obtained as a whole.
Calculation of Inner Product Value (Step S240)
Inner products with the 10 evaluation spectra EDS were calculated with respect to each of the component calibration spectra CS, so that ten inner product values P were obtained.
Calculation of Correlation Degree and Selection of Target Component Calibration Spectrum (steps S250 and S260)
The correlation degree CDrn (correlation coefficient) between the inner product value P and the component amount C was computed as an evaluation index of the component calibration spectra CSrn on the basis of the ten inner product values P regarding each of the component calibration spectra CSrn and the known component amount C (glucose concentration) of the glucose of the second samples. The component calibration spectrum CSrn for which the correlation degree CDrn was the maximum was selected as an optimal target component calibration spectrum corresponding to the glucose (target component).
Creation of Calibration Data (step S270)
The single regression formula C=uP+v indicating a relationship between the ten inner product values P obtained through the inner product between the ten evaluation spectra EDS and the target component calibration spectrum, and the known component amount C for the target component in the ten second samples is created as a calibration curve by using the selected target component calibration spectrum.
In a comparative example, the process (extraction of subsets) in step S220 in FIG. 6 is not performed, independent component analysis in which a component amount was treated as an independent component was performed on the whole set of 5000 optical spectra OS in step S230, and three component calibration spectra CS were determined. The processes in step S240 and the subsequent steps were performed in the same manner as in the above-described Example.
FIG. 8 is a graph illustrating concentration distributions of glucose and albumin for the 5000 first sample. FIG. 9 is a graph illustrating calibration accuracy in the comparative example, in which a transverse axis expresses a true value of a glucose concentration, and a longitudinal axis expresses a calibration value. In the comparative example, calibration accuracy SEP of the glucose concentration was 51.5 mg/dL, and a correlation coefficient Corr between the calibration value and the true value of the glucose concentration was 0.744. As can be understood from FIG. 9, distributions of the calibration value and the true value are greatly spread, and thus the calibration accuracy is low.
FIG. 10 is a graph illustrating a relationship between the calibration accuracy obtained for the 30000 component calibration spectra CSrn obtained in the Example and a correlation coefficient between the calibration value and the true value. According to this result, it can be seen that, as a correlation coefficient between the calibration value and the true value becomes larger, the calibration accuracy becomes more favorable.
FIG. 11 is a graph illustrating concentration distributions of the glucose and the albumin with respect to 500 samples corresponding to the optimal subsets PAr in the Example. FIG. 12 is a graph illustrating calibration accuracy obtained with the optimal subsets PAr in the Example. In the Example, the calibration accuracy SEP of the glucose concentration was 0.58 mg/dL, the correlation coefficient Corr between the calibration value and the true value of the glucose concentration was 1.000, and both of the two results were more favorable than in the comparative example. Therefore, it was confirmed that the independent component analysis could be performed with high accuracy, and calibration of glucose as a target component could also be performed with high accuracy, according to the embodiment of the embodiment.
F. MODIFICATION EXAMPLES
The invention is not limited to the above-described embodiment or alternations thereof, and can be implemented in various aspects within the scope without departing from the spirit of the invention and may be modified as follows, for example.
Modification Example 1
In the above-described embodiment and Example, a description has been made of a case where an aqueous solution containing glucose is used as a sample, but the invention is applicable to other samples. For example, the invention is applicable to a case where a liquid containing a salt or liquid containing a protein such as a lipid or albumin or an alcohol is used as a sample. The invention is also applicable to independent component analysis in which other objects such as a human body (human), a voice, and an image are used as samples. In a case where a human body is an object, the invention is applicable to a case with neutral fat or alcohol in the human body, or glucose in blood as a target component. In a case where data or a signal other than a spectrum is an independent component analysis object, the word “spectrum” may be replaced with other words such as “measured data” or “object data”.
Modification Example 2
Regarding apparatuses to which the invention is applicable, the invention is also applicable to an apparatus in which a component concentration is estimated on the basis of spectrometric data of an optically mid-infrared spectroscopic type, near-infrared spectroscopic type, or Raman spectroscopic type. The invention is also applicable to any one of an optical protein concentration meter, an optical neutral fat concentration meter, an optical blood glucose meter, an optical salt concentration meter, and an optical alcohol concentration meter.
This application claims priority to Japanese Patent Application No. 2016-186728 filed Sep. 26, 2016, which is hereby expressly incorporated by reference herein in its entirety.

Claims (3)

What is claimed is:
1. A method of obtaining a component amount for a target component in a test object, the method comprising:
acquiring an optical spectrum obtained through spectrometry using a measurement device on the test object;
acquiring, by executing a computer program being implemented on a computer or a hardware circuit, calibration data including a target component calibration spectrum corresponding to the target component, and a single regression formula indicating a calibration curve;
computing, by executing the computer program, an inner product value between the optical spectrum acquired for the test object and the target component calibration spectrum;
computing, by executing the computer program, a component amount for the target component corresponding to the inner product value by using the single regression formula indicating a relationship between the inner product value and a component amount for the target component; and
displaying the component amount for the target component in the test object on a display,
wherein the acquiring of the calibration data includes:
(a) a process of acquiring Q optical spectra obtained through spectrometry using the measurement device or another first measurement device on Q first samples each containing N components including the target component, and S evaluation spectra obtained through spectrometry using the measurement device or another second measurement device on S second samples in which a component amount for the target component is known, where the Q is an integer of 3 or more, the N is an integer of 1 or more, and the S is an integer of 3 or more;
(b) a process of extracting R subsets from a set of the Q optical spectra, each of the R subsets containing a corresponding subset of the optical spectra of the Q optical spectra, a number of the optical spectra in the respective R subsets being equal to 2 and less than the Q, where the R is an integer of 2 or more;
(c) a process of determining N component calibration spectra corresponding to the N components by performing independent component analysis in which component amounts for the N components are treated as independent components in each sample on each of the R subsets, and acquiring a total of R×N component calibration spectra;
(d) a process of obtaining S inner product values by performing an inner product between each of the R×N component calibration spectra and the S evaluation spectra;
(e) a process of obtaining a correlation degree between a component amount for the target component in the S second samples and the S inner product values with respect to each of the R×N component calibration spectra, and, from among the R×N component calibration spectra, selecting a component calibration spectrum causing the correlation degree to be greatest as the target component calibration spectrum; and
(f) a process of creating, as the calibration curve, a single regression formula indicating a relationship between an inner product value obtained through an inner product between the S evaluation spectra and the target component calibration spectrum, and a component amount for the target component contained in the S second samples.
2. The method according to claim 1,
wherein the process (c) further includes:
(1) using an equation X=YW in which an optical spectrum matrix X having optical spectra obtained through the spectrometry on each sample as column vectors is the same as a product between a component natural spectrum matrix Y having unknown component natural spectra derived from respective components among the N components contained in each of the samples as column vectors and a component amount matrix W having unknown component amounts for the N components in each of the samples as column vectors, and performing the independent component analysis in which the respective column vectors forming the component amount matrix W are treated as independent components, so as to determine the component amount matrix W and the component natural spectrum matrix Y; and
(2) employing inverse matrix row vectors respectively corresponding to the N components in a general inverse matrix Y† of the component natural spectrum matrix Y determined through the independent component analysis, as the component calibration spectra corresponding to the respective components.
3. A calibration curve creation method of creating a calibration curve used to obtain a component amount for a target component contained in a test object, the method comprising:
(a) acquiring, by executing a computer program being implemented on a computer or a hardware circuit, Q optical spectra obtained through spectrometry using a measurement device on Q first samples each containing N components including the target component, and S evaluation spectra obtained through spectrometry using the measurement device or another measurement device on S second samples in which a component amount for the target component is known, where the Q is an integer of 3 or more, the N is an integer of 1 or more, and the S is an integer of 3 or more;
(b) extracting, by executing the computer program R subsets from a set of the Q optical spectra, each of the R subsets containing a corresponding subset of the optical spectra of the Q optical spectra, a number of the optical spectra in the respective R subsets being equal to 2 and less than the Q, where the R is an integer of 2 or more;
(c) determining, by executing the computer program, N component calibration spectra corresponding to the N components by performing independent component analysis in which component amounts for the N components are treated as independent components in each sample on each of the R subsets, and acquiring a total of R×N component calibration spectra;
(d) obtaining, by executing the computer program, S inner product values by performing an inner product between each of the R×N component calibration spectra and the S evaluation spectra;
(e) obtaining, by executing the computer program, a correlation degree between a component amount for the target component in the S second samples and the S inner product values with respect to each of the R×N component calibration spectra, and, from among the R×N component calibration spectra, selecting a component calibration spectrum causing the correlation degree to be greatest as a target component calibration spectrum;
(f) creating, by executing the computer program, as the calibration curve, a single regression formula indicating a relationship between an inner product value obtained through an inner product between the S evaluation spectra and the target component calibration spectrum, and a component amount for the target component contained in the S second samples; and
(g) displaying the component amount for the target component in the test object on a display.
US15/708,516 2016-09-26 2017-09-19 Calibration apparatus, calibration curve creation method, and independent component analysis method Active 2038-11-26 US10852228B2 (en)

Applications Claiming Priority (2)

Application Number Priority Date Filing Date Title
JP2016186728A JP2018054306A (en) 2016-09-26 2016-09-26 Calibration apparatus, calibration curve creation method, and independent component analysis method
JP2016-186728 2016-09-26

Publications (2)

Publication Number Publication Date
US20180088032A1 US20180088032A1 (en) 2018-03-29
US10852228B2 true US10852228B2 (en) 2020-12-01

Family

ID=61686080

Family Applications (1)

Application Number Title Priority Date Filing Date
US15/708,516 Active 2038-11-26 US10852228B2 (en) 2016-09-26 2017-09-19 Calibration apparatus, calibration curve creation method, and independent component analysis method

Country Status (2)

Country Link
US (1) US10852228B2 (en)
JP (1) JP2018054306A (en)

Families Citing this family (2)

* Cited by examiner, † Cited by third party
Publication number Priority date Publication date Assignee Title
JP2018054304A (en) * 2016-09-26 2018-04-05 セイコーエプソン株式会社 Calibration apparatus and calibration curve creation method
CN119334902B (en) * 2024-12-20 2025-03-18 东北农业大学 Modeling method for rapid detection of alfalfa hay DOM content by near infrared spectrum

Citations (25)

* Cited by examiner, † Cited by third party
Publication number Priority date Publication date Assignee Title
WO1992007275A1 (en) 1990-10-12 1992-04-30 Exxon Research And Engineering Company Spectral data measurement and correction
US20040207625A1 (en) 2003-04-18 2004-10-21 Medispectra, Inc. Methods and apparatus for displaying diagnostic data
US20060013454A1 (en) 2003-04-18 2006-01-19 Medispectra, Inc. Systems for identifying, displaying, marking, and treating suspect regions of tissue
JP2006271815A (en) 2005-03-30 2006-10-12 Kao Corp Skin oxygen saturation measurement method and measurement system
US20070061091A1 (en) * 2004-03-29 2007-03-15 Robert Schweitzer Method for identifying components of a mixture via spectral analysis
US7438855B2 (en) 2001-08-03 2008-10-21 Waseda University Apparatus for measuring glucose concentration
JP2013036973A (en) 2011-07-12 2013-02-21 Seiko Epson Corp Method and device for generating calibration curve, and target component measurement device
JP2013160576A (en) 2012-02-03 2013-08-19 Seiko Epson Corp Method for creating calibration curve and apparatus for the same, and apparatus for calibrating target component
JP2013160575A (en) 2012-02-03 2013-08-19 Seiko Epson Corp Method for creating calibration curve and apparatus for the same, and apparatus for calibrating target component
JP2013160574A (en) 2012-02-03 2013-08-19 Seiko Epson Corp Method for creating calibration curve and apparatus for the same, and apparatus for calibrating target component
EP2784484A1 (en) 2013-03-27 2014-10-01 Seiko Epson Corporation Optimized calibration method for determining the content of chlorophyll using pre-processing and independent component analysis
US20150025851A1 (en) * 2013-07-18 2015-01-22 Seiko Epson Corporation Calibration curve creating method and calibration curve creation apparatus
US20150025340A1 (en) 2013-07-18 2015-01-22 Seiko Epson Corporation Calibration curve creating method and apparatus for the same, and blood component calibration apparatus
US20160054343A1 (en) 2013-02-18 2016-02-25 Theranos, Inc. Systems and methods for multi-analysis
US20160078317A1 (en) * 2013-05-03 2016-03-17 National Ict Australia Limited Image clustering for estimation of illumination spectra
US20160091417A1 (en) 2014-09-25 2016-03-31 Seiko Epson Corporation Calibration curve creation method and device, target component calibration method and device, and electronic apparatus
US20160097676A1 (en) 2014-10-03 2016-04-07 Seiko Epson Corporation Target component calibration device, electronic device, and target component calibration method
US20160103063A1 (en) 2014-10-08 2016-04-14 Seiko Epson Corporation Calibration curve generation device, target component calibration device, electronic device, and glucose concentration calibration device
US20160103018A1 (en) 2014-10-08 2016-04-14 Seiko Epson Corporation Calibration curve generation method, calibration curve generation device, target component calibration method, target component calibration device, electronic device, glucose concentration calibration method, and glucose concentration calibration device
JP2016075588A (en) 2014-10-07 2016-05-12 セイコーエプソン株式会社 Method for detecting signal, method for creating calibration curve, method for measuring concentration, and signal detector
US20160370396A1 (en) 2011-09-25 2016-12-22 Theranos, Inc. Systems and methods for multi-analysis
US20170045356A1 (en) * 2015-08-14 2017-02-16 Kla-Tencor Corporation System, method and computer program product for calibration of metrology tools
US20180088034A1 (en) 2016-09-26 2018-03-29 Seiko Epson Corporation Calibration apparatus, calibration curve creation method, and independent component analysis method
US20180088033A1 (en) 2016-09-26 2018-03-29 Seiko Epson Corporation Calibration apparatus and calibration curve creation method
US20180088035A1 (en) 2016-09-26 2018-03-29 Seiko Epson Corporation Calibration apparatus and calibration curve creation method

Patent Citations (29)

* Cited by examiner, † Cited by third party
Publication number Priority date Publication date Assignee Title
WO1992007275A1 (en) 1990-10-12 1992-04-30 Exxon Research And Engineering Company Spectral data measurement and correction
US7438855B2 (en) 2001-08-03 2008-10-21 Waseda University Apparatus for measuring glucose concentration
US20040207625A1 (en) 2003-04-18 2004-10-21 Medispectra, Inc. Methods and apparatus for displaying diagnostic data
US20060013454A1 (en) 2003-04-18 2006-01-19 Medispectra, Inc. Systems for identifying, displaying, marking, and treating suspect regions of tissue
US20070061091A1 (en) * 2004-03-29 2007-03-15 Robert Schweitzer Method for identifying components of a mixture via spectral analysis
JP2006271815A (en) 2005-03-30 2006-10-12 Kao Corp Skin oxygen saturation measurement method and measurement system
JP2013036973A (en) 2011-07-12 2013-02-21 Seiko Epson Corp Method and device for generating calibration curve, and target component measurement device
US20130197816A1 (en) 2011-07-12 2013-08-01 Seiko Epson Corporation Calibration curve creation method, calibration curve creation device and target component determination device
US20160370396A1 (en) 2011-09-25 2016-12-22 Theranos, Inc. Systems and methods for multi-analysis
JP2013160576A (en) 2012-02-03 2013-08-19 Seiko Epson Corp Method for creating calibration curve and apparatus for the same, and apparatus for calibrating target component
JP2013160574A (en) 2012-02-03 2013-08-19 Seiko Epson Corp Method for creating calibration curve and apparatus for the same, and apparatus for calibrating target component
JP2013160575A (en) 2012-02-03 2013-08-19 Seiko Epson Corp Method for creating calibration curve and apparatus for the same, and apparatus for calibrating target component
US20160054343A1 (en) 2013-02-18 2016-02-25 Theranos, Inc. Systems and methods for multi-analysis
EP2784484A1 (en) 2013-03-27 2014-10-01 Seiko Epson Corporation Optimized calibration method for determining the content of chlorophyll using pre-processing and independent component analysis
US20140297197A1 (en) 2013-03-27 2014-10-02 Seiko Epson Corporation Calibration curve creation method, calibration curve creation apparatus, and target component gauging apparatus
US20160078317A1 (en) * 2013-05-03 2016-03-17 National Ict Australia Limited Image clustering for estimation of illumination spectra
US20150025340A1 (en) 2013-07-18 2015-01-22 Seiko Epson Corporation Calibration curve creating method and apparatus for the same, and blood component calibration apparatus
US20150025851A1 (en) * 2013-07-18 2015-01-22 Seiko Epson Corporation Calibration curve creating method and calibration curve creation apparatus
US9921201B2 (en) 2013-07-18 2018-03-20 Seiko Epson Corporation Calibration curve creating method and calibration curve creation apparatus
US20160091417A1 (en) 2014-09-25 2016-03-31 Seiko Epson Corporation Calibration curve creation method and device, target component calibration method and device, and electronic apparatus
JP2016065803A (en) 2014-09-25 2016-04-28 セイコーエプソン株式会社 Calibration curve creation method and device, target component calibration method and device and electronic apparatus
US20160097676A1 (en) 2014-10-03 2016-04-07 Seiko Epson Corporation Target component calibration device, electronic device, and target component calibration method
JP2016075588A (en) 2014-10-07 2016-05-12 セイコーエプソン株式会社 Method for detecting signal, method for creating calibration curve, method for measuring concentration, and signal detector
US20160103063A1 (en) 2014-10-08 2016-04-14 Seiko Epson Corporation Calibration curve generation device, target component calibration device, electronic device, and glucose concentration calibration device
US20160103018A1 (en) 2014-10-08 2016-04-14 Seiko Epson Corporation Calibration curve generation method, calibration curve generation device, target component calibration method, target component calibration device, electronic device, glucose concentration calibration method, and glucose concentration calibration device
US20170045356A1 (en) * 2015-08-14 2017-02-16 Kla-Tencor Corporation System, method and computer program product for calibration of metrology tools
US20180088034A1 (en) 2016-09-26 2018-03-29 Seiko Epson Corporation Calibration apparatus, calibration curve creation method, and independent component analysis method
US20180088033A1 (en) 2016-09-26 2018-03-29 Seiko Epson Corporation Calibration apparatus and calibration curve creation method
US20180088035A1 (en) 2016-09-26 2018-03-29 Seiko Epson Corporation Calibration apparatus and calibration curve creation method

Non-Patent Citations (2)

* Cited by examiner, † Cited by third party
Title
K. Uetsuki et al., "Prediction of Facial Color Variation by Using Independent Component Analysis and Evaluation on Facial Images", Journal of the Society of Photographic Science and Technology of Japan, vol. 64, No. 4, pp. 255-263 (2001).
Keiji Uetsuki et al., "Prediction of Facial Color Variation by Using Independent Component Analysis and Evaluation on Facial Images", 2001, Journal of the Society of Photographic Science and Technology of Japan, 4th Issue of vol. 64, pp. 255-263 with English translation.

Also Published As

Publication number Publication date
JP2018054306A (en) 2018-04-05
US20180088032A1 (en) 2018-03-29

Similar Documents

Publication Publication Date Title
EP2784484B1 (en) Optimized calibration method for determining the content of chlorophyll using pre-processing and independent component analysis
Cruz et al. Nir-chemical imaging study of acetylsalicylic acid in commercial tablets
JP5887961B2 (en) Calibration curve creation method, calibration curve creation device, target component calibration device, and computer program
US20180088035A1 (en) Calibration apparatus and calibration curve creation method
US20180052144A1 (en) Method And Technique For Verification Of Olive Oil Composition
US10557792B2 (en) Spectral modeling for complex absorption spectrum interpretation
US20050143943A1 (en) Adaptive compensation for measurement distortions in spectroscopy
CN104990895B (en) A kind of near infrared spectrum signal standards normal state bearing calibration based on regional area
Hara et al. Effect of Raman exposure time on the quantitative and discriminant analyses of carotenoid concentrations in intact tomatoes
Allegrini et al. Generalized error-dependent prediction uncertainty in multivariate calibration
US10852228B2 (en) Calibration apparatus, calibration curve creation method, and independent component analysis method
DE102017112612A1 (en) A liquid chromatograph and method for correcting variations in a detector output of the liquid chromatograph
Brouckaert et al. Calibration transfer of a Raman spectroscopic quantification method from at-line to in-line assessment of liquid detergent compositions
US20160097712A1 (en) Signal detection method, calibration curve creation method, quantification method, signal detection device, measuring device, and glucose concentration measuring device
JP2022527850A (en) Methods for configuring a spectroscopic measuring device
US10488329B2 (en) Calibration apparatus, calibration curve creation method, and independent component analysis method
Herrero-Langreo et al. Using spatial information for evaluating the quality of prediction maps from hyperspectral images: A geostatistical approach
US11204314B2 (en) Calibration apparatus and calibration curve creation method
Schenone et al. Second-order advantage achieved by modeling excitation–emission fluorescence matrices affected by inner filter effects using a strategy which combines standardization and calibration: Reducing experimental and increasing analytical sensitivity
Arroyo-Manzanares et al. A non-targeted metabolomic strategy for characterization of the botanical origin of honey samples using headspace gas chromatography—ion mobility spectrometry
Šašić et al. Comparison of principal component analysis and generalized two-dimensional correlation spectroscopy: spectral analysis of synthetic model system and near-infrared spectra of milk
JP6572169B2 (en) Component concentration measuring apparatus and component concentration measuring method
Engelsen et al. Quantitative analysis of time domain NMR relaxation data
CN115248198B (en) A rapid method for determining the storage time of edible vegetable oils based on multispectral information fusion
JP2018132463A (en) Calibration device and calibration curve creation method

Legal Events

Date Code Title Description
AS Assignment

Owner name: SEIKO EPSON CORPORATION, JAPAN

Free format text: ASSIGNMENT OF ASSIGNORS INTEREST;ASSIGNOR:KURASAWA, HIKARU;REEL/FRAME:043624/0867

Effective date: 20170731

FEPP Fee payment procedure

Free format text: ENTITY STATUS SET TO UNDISCOUNTED (ORIGINAL EVENT CODE: BIG.); ENTITY STATUS OF PATENT OWNER: LARGE ENTITY

STPP Information on status: patent application and granting procedure in general

Free format text: DOCKETED NEW CASE - READY FOR EXAMINATION

STPP Information on status: patent application and granting procedure in general

Free format text: NON FINAL ACTION MAILED

STPP Information on status: patent application and granting procedure in general

Free format text: NOTICE OF ALLOWANCE MAILED -- APPLICATION RECEIVED IN OFFICE OF PUBLICATIONS

STPP Information on status: patent application and granting procedure in general

Free format text: AWAITING TC RESP., ISSUE FEE NOT PAID

STPP Information on status: patent application and granting procedure in general

Free format text: PUBLICATIONS -- ISSUE FEE PAYMENT RECEIVED

STCF Information on status: patent grant

Free format text: PATENTED CASE

MAFP Maintenance fee payment

Free format text: PAYMENT OF MAINTENANCE FEE, 4TH YEAR, LARGE ENTITY (ORIGINAL EVENT CODE: M1551); ENTITY STATUS OF PATENT OWNER: LARGE ENTITY

Year of fee payment: 4