RU96150U1 - Панель - Google Patents
Панель Download PDFInfo
- Publication number
- RU96150U1 RU96150U1 RU2010101139/03U RU2010101139U RU96150U1 RU 96150 U1 RU96150 U1 RU 96150U1 RU 2010101139/03 U RU2010101139/03 U RU 2010101139/03U RU 2010101139 U RU2010101139 U RU 2010101139U RU 96150 U1 RU96150 U1 RU 96150U1
- Authority
- RU
- Russia
- Prior art keywords
- panel according
- parts
- layers
- wooden
- dowels
- Prior art date
Links
- 229920002522 Wood fibre Polymers 0.000 claims abstract description 19
- 239000002025 wood fiber Substances 0.000 claims abstract description 19
- 239000002023 wood Substances 0.000 claims abstract description 17
- 235000010099 Fagus sylvatica Nutrition 0.000 claims description 4
- 239000000835 fiber Substances 0.000 claims description 4
- 238000007731 hot pressing Methods 0.000 claims description 3
- 235000018185 Betula X alpestris Nutrition 0.000 claims description 2
- 235000018212 Betula X uliginosa Nutrition 0.000 claims description 2
- 240000000731 Fagus sylvatica Species 0.000 claims 1
- 230000032798 delamination Effects 0.000 description 6
- 241001070947 Fagus Species 0.000 description 3
- 238000010521 absorption reaction Methods 0.000 description 3
- 239000000853 adhesive Substances 0.000 description 3
- 230000001070 adhesive effect Effects 0.000 description 3
- 238000005452 bending Methods 0.000 description 3
- 238000010276 construction Methods 0.000 description 3
- 238000005304 joining Methods 0.000 description 3
- 238000005520 cutting process Methods 0.000 description 2
- 238000010586 diagram Methods 0.000 description 2
- 238000004519 manufacturing process Methods 0.000 description 2
- 229910052751 metal Inorganic materials 0.000 description 2
- 239000002184 metal Substances 0.000 description 2
- 238000000034 method Methods 0.000 description 2
- 230000003068 static effect Effects 0.000 description 2
- 229910052782 aluminium Inorganic materials 0.000 description 1
- XAGFODPZIPBFFR-UHFFFAOYSA-N aluminium Chemical compound [Al] XAGFODPZIPBFFR-UHFFFAOYSA-N 0.000 description 1
- 230000004888 barrier function Effects 0.000 description 1
- 239000000470 constituent Substances 0.000 description 1
- 238000009792 diffusion process Methods 0.000 description 1
- 238000006073 displacement reaction Methods 0.000 description 1
- 230000000694 effects Effects 0.000 description 1
- 238000005516 engineering process Methods 0.000 description 1
- 239000011152 fibreglass Substances 0.000 description 1
- 230000014509 gene expression Effects 0.000 description 1
- 239000003292 glue Substances 0.000 description 1
- 231100001261 hazardous Toxicity 0.000 description 1
- 238000009434 installation Methods 0.000 description 1
- 238000009413 insulation Methods 0.000 description 1
- 239000000463 material Substances 0.000 description 1
- 238000003801 milling Methods 0.000 description 1
- 239000004033 plastic Substances 0.000 description 1
- 239000011120 plywood Substances 0.000 description 1
- 230000036316 preload Effects 0.000 description 1
- 239000000126 substance Substances 0.000 description 1
- 238000006467 substitution reaction Methods 0.000 description 1
- 231100000331 toxic Toxicity 0.000 description 1
- 230000002588 toxic effect Effects 0.000 description 1
Abstract
1. Панель, армированная деревянными нагелями по всей своей толщине, содержащая в себе слои деревянных деталей, в которой направления волокон древесины, по меньшей мере, в двух из упомянутых слоев скрещиваются, отличающаяся тем, что в ней боковые торцы упомянутых деталей, по меньшей мере, в одном из упомянутых слоев скреплены между собой деревянными шкантами и/или шпонками «ласточкин хвост», а упомянутые нагели расположены под наклоном и ориентированы, по меньшей мере, в двух несовпадающих направлениях. ! 2. Панель по п.1, отличающаяся тем, что в ней упомянутые деревянные детали представляют собой погонажные пиломатериалы, по существу, тангенциального распила. ! 3. Панель по п.1, отличающаяся тем, что она содержит в себе, по меньшей мере, один слой деревянных деталей с высотой поперечного сечения меньше толщины, состыкованных между собой широкими торцами. ! 4. Панель по п.1, отличающаяся тем, что она содержит в себе, по меньшей мере. один слой деревянных деталей с высотой поперечного сечения меньше толщины, состыкованных между собой узкими торцами. ! 5. Панель по п.1, отличающаяся тем, что она содержит в себе, по меньшей мере, один слой деревянных деталей с, по существу, одинаковой высотой и шириной поперечного сечения. ! 6. Панель по п.5, отличающаяся тем, что в ней древесные волокна в упомянутых, по меньшей мере, двух слоях деревянных деталей с, по существу, одинаковой высотой и шириной поперечного сечения, ориентированы, по существу, в одном направлении. ! 7. Панель по п.6, отличающаяся тем, что в ней между упомянутыми двумя слоями деревянных деталей с, по существу, одинаковой высотой и шириной поперечного сечения размещен, по мен
Description
Изобретение относится к строительным конструкциям, а точнее, к слоистым строительным панелям из деревянных деталей.
УРОВЕНЬ ТЕХНИКИ
В строительстве из сборных элементов широко применяются предварительно изготовленные деревянные элементы, выполненные в виде стенных и/или потолочных элементов, монтируемых непосредственно на стройплощадке.
Известны клееные многослойные древесные панели, состоящие из нескольких слоев склеенных между собой деревянных деталей, в частности, фанера, столярные плиты и (AU 80770/82 B, авторское свидетельство СССР №1377352, европейский патент №0194238). Эти панели преимущественно используют в качестве отделочных материалов и для изготовления ненагруженных или слабонагруженных деталей мебельных изделий.
Известны многослойные древесные панели со скрещивающимися древесными волокнами (патент РФ №2198271 C2, опубликованная патентная заявка США №2004/0101649 A1, европейская заявка№1321598 А2, европейская заявка№0564675 A1, публикация международной заявки WO 2008/028925 A1, немецкая заявка №3517449 A1, немецкая заявка №3517449 A1, немецкая заявка №3840093 А1, немецкая полезная модель №29721848 U1, патент США №6106655, патент Швейцарии №664185 А5, канадская заявка №2463192 A1, заявка Великобритании №292734А, патент США №7384675 B2).
В вышеупомянутой европейской заявки №0564675 A1, заявке Великобритании №292734А и патенте США №7384675 B2 древесные слои соединены между собой на клей.
Из упомянутого патента США №6106655 известны клееные многослойные древесные панели, содержащие слои деревянных досок, состыкованных боковыми торцами и наложенных пластями друг на друга, в которых направления волокон древесины в соседних слоях скрещиваются, в пластях выполнены продольные пазы для клея.
Недостаток клееных многослойных древесных панелей состоит в том, что летучие компоненты клеящих составов неизбежно загрязняют воздух помещений, обладают запахом и могут быть токсичными, а при сжигании таких изделий могут выделяться опасные и вредные вещества, что затрудняет их переработку и снижает пожаробезопасность. Кроме того, клеящие составы образуют диффузионный барьер, препятствующий нормальному влагообмену.
Из вышеупомянутой немецкой заявки №3517449 известно соединение древесных слоев со скрещивающейся ориентацией древесных волокон горячим прессованием. Недостаток такого соединения состоит в низкой прочности и сложности технологии.
Из упомянутого немецкого патента на полезную модель DE 29721848 U1 известно соединение досок в смежных слоях со скрещивающимися древесными волокнами посредством металлических штифтов.
Из упомянутой европейской заявки 1321598 A2 известны многослойные древесные панели со скрещивающимися древесными волокнами в соседних слоях в которых слои досок соединены между собой недеревянными штифтами (из металла, алюминия, пластика, элементов, армированных стекловолокном), а их торцы состыкованы на шпунт-гребень.
Многослойные древесные панели с недеревянными шкантами характеризуются высокой стоимостью и трудны в утилизации.
Из вышеупомянутых публикаций международных заявок WO 2007/028187 A1, WO 2008/028925 A1 и из немецкой заявки №3840093 A1 известно соединение досок деревянными шкантами.
Известна панель, армированная деревянными нагелями по всей своей толщине, содержащая в себе слои деревянных деталей, в которой направления волокон древесины, по меньшей мере, в двух из упомянутых слоев скрещиваются, а нагели ориентированы по нормали (патент на изобретение РФ №2198251, выбранный в качестве прототипа).
Недостаток известной панели, препятствующий достижению нижеупомянутого технического результата, состоит в том, что под действием изгибающих усилий и усилий, ориентированных в одном направлении с нагелями происходит расхождение боковых стыков деталей в слоях и расслаивание за счет тангенциального смещения слоев друг относительно друга и плоско-параллельного скольжения деревянных деталей вдоль нагелей.
РАСКРЫТИЕ СУЩНОСТИ ПОЛЕЗНОЙ МОДЕЛИ
Для определенности терминам и выражения, используемым в настоящем тексте придают следующее значение и объем.
Термин «доска» означает пиломатериал толщиной до 100 мм и шириной более двойной толщины.
Термин «пласть» означает любую из двух противоположных более широких продольных поверхностей пиломатериала, а также любая продольная поверхность пиломатериала с квадратным сечением.
Термин «концевой торец» означает передний или задний торец деревянного изделия.
Термин «боковой торец» или «кромка» означает любой из двух торцов деревянных изделий, образующих слой, расположенных между поверхностями слоя.
Термин «нагель» означает стержневой крепежный элемент, устанавляваемый с натягом, для скрепления слоев деревянных деталей.
Термин «шкант» означает стержневой крепежный элемент, устанавляваемый с натягом, для скрепления деревянных деталей между собой внутри слоев.
Первая задача настоящей полезной модели состоит в расширении арсенала строительных панелей. Вторая задача настоящей полезной модели состоит в повышении стойкости панелей к расслаиванию. Третья задача настоящей полезной модели состоит в повышении прочности боковых стыков деревянных деталей в слоях панелей.
Техническим эффектом настоящей полезной модели является повышение стойкости панелей к расслаиванию и повышение прочности боковых стыков деревянных деталей в панелях по сравнению с прототипом.
Указанные задачи решены благодаря тому, что в панели, армированной деревянными нагелями по всей своей толщине, содержащей в себе слои деревянных деталей, в которой направления волокон древесины, по меньшей мере, в двух из упомянутых слоев скрещиваются, боковые торцы упомянутых деталей, по меньшей мере, в одном из упомянутых слоев, состыкованы между собой деревянными шкантами и/или шпонками «ласточкин хвост», а упомянутые нагели расположены под наклоном и ориентированы, по меньшей мере, в двух несовпадающих направлениях.
Как указано выше детали панели соединены между собой деревянными шкантами, нагелями и/или шпонками (крепежными элементами) с натягом. Натяг обеспечивают за счет увеличения объема крепежных элементов в результате выравнивания влажности между ними и деревянными деталями. Используют крепежные элементы с пониженным влагосодержанием относительно деталей, для чего элементы обычно высушивают в большей степени, чем детали, размещают сухие элементы в отверстиях внутри деталей, причем размеры поперечных сечений элементов и отверстий выбирают таким образом, чтобы при расширении элементов возникал натяг.
На прочность соединения влияют первоначальная влажность деталей и крепежных элементов, а также коэффициенты их объемного расширения при впитывании влаги. Впитывание влаги крепежными элементами приводит к их объемному расширению, а впитывание влаги деталями - к уменьшению диаметра отверстий, поэтому сила соединения тем выше, чем выше разность влагосодержания крепежных элементов и деталей и чем выше их коэффициенты объемного расширения.
Расположение нагелей под наклоном к главной плоскости панели и ориентация нагелей в нескольких непараллельных направлениях, то есть скрещивание нагелей, позволяет исключить расслаивание панели при действии усилий, направленных под любым углом к нормали панели.
В частности, нагели могут быть расположены под наклоном 45 градусов к плоскости панели и могут быть ориентированы в двух различных направлениях таким образом, что нагели, имеющие одинаковую ориентацию расположены во взаимно параллельных плоскостях, а между ними также во взаимно параллельных плоскостях расположены нагели в другой ориентации, при этом нагели в соседних плоскостях скрещиваются под углом 90 градусов.
В частном варианте выполнения панели, упомянутые деревянные детали представляют собой погонажные пиломатериалы по существу тангенциального распила.
Конкретную толщину слоев выбирают в зависимости от требований по нагрузке, шумо-, тепло- и влагоизоляции.
Предпочтительно ширина отдельных деревянных деталей может составлять от 8 до 120 мм, особенно предпочтительно от 40 до 400 мм.
В одном частном варианте выполнения панель содержит в себе, по меньшей мере, один слой деревянных деталей с высотой поперечного сечения меньше толщины, состыкованных между собой широкими торцами. Такие слои наиболее подходят для создания силовых слоев, работающих на продольный изгиб, в частности, для создания балочных конструкций и горизонтальных перекрытий.
В еще одном частном варианте выполнения панель содержит в себе, по меньшей мере, один слой деревянных деталей с высотой поперечного сечения меньше толщины, состыкованных между собой узкими торцами. Такие слои наиболее подходят для соединения силовых слоев, выполненных из деталей с большой площадью поперечного сечения и для создания наружных слоев.
Предпочтительными деталями с высотой поперечного сечения меньше толщины являются доски с соотношением высоты к ширине поперечного сечения от 1:30 до 1:2.
В другом частном варианте выполнения панель содержит в себе, по меньшей мере, один слой деревянных деталей с по существу одинаковой высотой и шириной поперечного сечения.
Предпочтительными деталями с по существу одинаковой высотой и шириной поперечного сечения являются брусья с коэффициентом неравноосности поперечного сечения от 0,7 до 1,3.
В частном варианте выполнения в панели древесные волокна в упомянутых, по меньшей мере, двух слоях деревянных деталей с по существу одинаковой высотой и шириной поперечного сечения, ориентированы по существу в одном направлении. Это позволяет формировать панели, содержащие несколько силовых слоев, соединенных между собой слоями с перекрещивающимися волокнами.
В одном частном варианте выполнения панели между упомянутыми двумя слоями деревянных деталей с по существу одинаковой высотой и шириной поперечного сечения размещен, по меньшей мере, один из упомянутых слоев деталей со скрещивающимися волокнами древесины.
В еще одном частном варианте выполнения панели, упомянутые деревянные детали, по меньшей мере, из двух смежных слоев размещены в шахматном порядке. Такое размещение слоев наиболее предпочтительно, так как при изгибах, панель расходится не на всю толщину, а только на толщину отдельных слоев, что позволяет повысить ее влаго- и шумонепроницаемость.
В другом частном варианте выполнения панели, поверхности слоев снабжены рядами теплоизолирующих бороздок. Это позволяет дополнительно повысить влаго-, и шумонепроницаемость и снизить теплопроводность панелей.
В одном частном варианте выполнения панели боковые торцы упомянутых деревянных деталей состыкованы между собой внахлестку.
В другом частном варианте выполнения панели боковые торцы упомянутых деревянных деталей снабжены продольными фиксирующими выступами и впадинами ответной формы.
Соединение внахлестку и замковые узлы типа выступ-впадина позволяют дополнительно упрочнить боковые стыки деталей.
В частном варианте выполнения панели, упомянутые деревянные детали состыкованы концевыми торцами посредством деревянных шкантов.
В одном частном варианте выполнения панели, упомянутые деревянные детали состыкованы концевыми торцами внахлест и/или посредством соединения «ласточкин хвост».
Соединение концевых торцов позволяет получать деревянные детали нужной длины без потери прочности панелей.
В еще одном частном варианте выполнения панели упомянутые нагели расположены по существу в шахматном порядке.
В другом частном варианте выполнения панели через каждую деревянную деталь проходит в среднем два нагеля.
В одном из предпочтительных вариантов осуществления крепежные элементы устанавливают на расстоянии от 20 до 200 мм друг от друга.
В другом предпочтительном варианте крепежные элементы, ориентированные в одном направлении расположены рядами во взаимно параллельных плоскостях.
В частном варианте выполнения панели упомянутые нагели имеют наклон под углом от 10 до 70 градусов относительно нормали. С увеличением угла наклона нагелей к нормали повышается стойкость панелей к расслаиванию при незначительном уменьшении прочности нагелей на излом.
В одном частном варианте выполнения панели упомянутые нагели и/или упомянутые шканты выполнены из бука.
В еще одном частном варианте выполнения панели упомянутые нагели снабжены продольным рифлением. Рифление упрощает установку нагелей в отверстия.
В другом частном варианте выполнения панели упомянутые нагели и/или упомянутые шканты выполнены из березы.
В частном варианте выполнения панели упомянутые шканты, соединяющие боковые торцы упомянутых деталей, ориентированы по существу в плоскости слоя по существу по нормали к направлению волокон древесины.
В одном частном варианте выполнения панели упомянутые шканты, соединяющие боковые торцы упомянутых деталей, ориентированы по существу в плоскости слоя под углом к направлению волокон древесины.
В еще одном частном варианте выполнения панели упомянутые шканты соединяют, по меньшей мере, три упомянутые детали.
В другом частном варианте выполнения панели упомянутые шканты снабжены продольным рифлением.
В одном из предпочтительных вариантов осуществления крепежные элементы дополнительно фиксируют путем вбивания клиньев в их торцы.
В частном варианте выполнения панели соединение упомянутых слоев упрочнено горячим прессованием.
Следует понимать, что панели могут быть присущи любой один или несколько признаков вышеописанных частных и предпочтительных вариантов воплощения, при условии, что они не исключают друг друга; такие комбинации признаков также включены в объем настоящей полезной модели в качестве возможных частных вариантов воплощения.
Панели могут быть использованы для изготовления стенных, потолочных и кровельных элементов, деревянных стоек и балок. Количество, очередность расположения слоев, форма и размеры деталей в слоях, ориентация волокон древесины в слоях, количество крепежных элементов и др. могут быть подобраны средним специалистом на основе общих знаний и известных принципов расчета статической нагрузки.
Сборные элементы из панелей могут быть созданы путем соединения нескольких панелей между собой торцами или под углом друг к другу, любыми пригодными способами соединения деревянных деталей, известными в строительстве, предпочтительно посредством соединения в шпунт и гребень, врубкой внакладку, на ласточкин хвост и/или болтами.
Для лучшего понимания идей настоящей полезной модели ниже приводятся чертежи, показывающие частные варианты выполнения, наличие, расположение и связи составляющих ее элементов. Однако, несмотря на то, что в настоящем документе полезную модель могут описывать со ссылкой на позиции элементов, показанных на чертежах, не следует отождествлять элементы полезной модели с конкретными ссылочными элементами чертежей.
КРАТКОЕ ОПИСАНИЕ ЧЕРТЕЖЕЙ
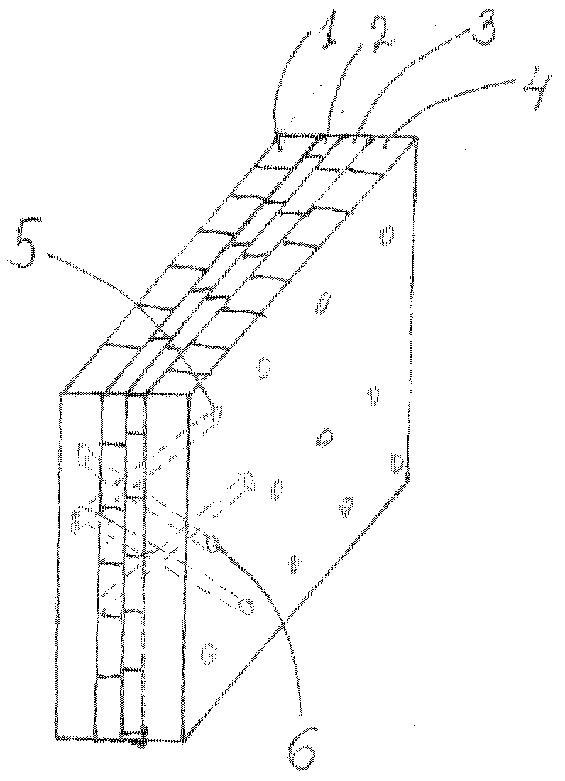
На фигуре 1 схематично показана сборочная схема в перспективе для стеновой панели, согласно одному из частных вариантов воплощения настоящей полезной модели. Позициями 1, 2, 3 и 4 обозначены слои деревянных деталей.
На фигуре 2 схематично показан вид в перспективе панели, армированной деревянными нагелями по всей толщине, согласно одному из частных вариантов осуществления настоящей полезной модели. Позициями 5 и 6 обозначены нагели, проходящие через всю толщу панели, а пунктирными линиями - соответствующие отверстия.
На фигуре 3 схематично показано сечение вышеупомянутой стеновой панели вдоль длинной оси деревянных деталей в слоях 1 и 4, Позициями 5 и 6 обозначены нагели, проходящие через всю толщу панели, а пунктирными линиями - соответствующие отверстия.
На фигуре 4 схематично показана сборочная схема панели перекрытия согласно одному из частных вариантов воплощения настоящей полезной модели. Позициями 8, 9, 10, 11 и 12 обозначены слои деревянных деталей.
ОСУЩЕСТВЛЕНИЕ ПОЛЕЗНОЙ МОДЕЛИ
Нижеследующие примеры даются только для иллюстрации общей концепции полезной модели. Ничто в настоящем разделе описания не должно быть истолковано как ограничение объема притязаний.
Как показано на фиг.1-3 стеновая панель состоит из внешних слоев деревянных деталей 1 и 4 с отношением ширины к толщине примерно 1 (брусья) и внутренних слоев деревянных деталей 2 и 3 с отношением ширины к толщине, по меньшей мере, 2 (доски). Толщины деталей слоев 1 и 4 больше толщин деталей слоев 2 и 3. Волокна во внутренних слоях 2 и 3 скрещиваются под прямым углом, а внешних слоев 1 и 4 - параллельны. Панель используют таким образом, что детали в слоях 1 и 4 ориентированы вертикально (стойки), а детали слоев 2 и 3 - под наклоном 45 градусов к горизонтали. Буковые нагели 5 и 6 размещены раппортно на всю толщину и имеют наклон 45 градусов к плоскости панели. Детали в слоях 1-4 соединены между собой посредством деревянных шкантов 7 (не показаны), установленных по существу нормально к их боковым торцам. Нагели 5 расположены во взаимно параллельных плоскостях, а между ними также во взаимно параллельных плоскостях расположены нагели 6 с другой ориентацией, при этом нагели 5 и 6 скрещиваются под углом 90 градусов (см. фиг.3). Стеновая панель обладает более высокой стойкостью к расслаиванию и повышенную прочность стыков деталей в слоях по сравнению с прототипом.
Как показано на фиг.4, панель перекрытия состоит из слоев деревянных деталей 8-12. Ширина деревянных деталей в слоях 8 и 9, а также в слоях 11 и 12 более чем в два раза больше их толщины (доски); деревянные волокна в слоях 8 и 9, а также в слоях 11 и 112 скрещиваются под прямым углом; широкие торцы (пласти) деталей слоев 8, 9, 11 и 12 ориентированы в плоскости панели. Детали слоя 10 состыкованы между собой широкими торцами (по пласти) и имеют отношение ширины к толщине, по меньшей мере, 2. Толщина деталей слоев 10 больше толщин деталей слоев 8, 9, 11 и 12. Детали в слоях 8-12 соединены между собой посредством деревянных шкантов 15 (не показаны), установленных по существу нормально относительно боковых торцов. Буковые нагели 13 и 14 (не показаны) размещены раппортно на всю толщину и имеют наклон 45 градусов к плоскости панели. Нагели 13 расположены во взаимно параллельных плоскостях, а между ними также во взаимно параллельных плоскостях расположены нагели 14, имеющие другую ориентацию, при этом нагели 13 и 14 скрещиваются под углом 90 градусов. Панель перекрытия обладает более высокой стойкостью к расслаиванию и повышенной прочностью стыков деталей в слоях по сравнению с прототипом.
Толщина деталей вышеописанных стеновых панелей и панелей перекрытий может варьировать от 8 мм до 120 мм в зависимости от статических нагрузок, а диаметр нагелей и шкантов - в диапазоне от 8 до 40 мм в зависимости от толщины соединяемых элементов.
Несколько панелей можно соединять друг с другом по длине и углом в шпунт и гребень, фрезерованием для врубки внакладку или посредством соединения «ласточкин хвост».
Должно быть понятно, что средний специалист может использовать главные отличительные особенности настоящей полезной модели и внести эквивалентные замены с достижением поставленной технической задачи; такие замены включены в объем охраны согласно нижеприведенной формуле полезной модели.
Claims (25)
1. Панель, армированная деревянными нагелями по всей своей толщине, содержащая в себе слои деревянных деталей, в которой направления волокон древесины, по меньшей мере, в двух из упомянутых слоев скрещиваются, отличающаяся тем, что в ней боковые торцы упомянутых деталей, по меньшей мере, в одном из упомянутых слоев скреплены между собой деревянными шкантами и/или шпонками «ласточкин хвост», а упомянутые нагели расположены под наклоном и ориентированы, по меньшей мере, в двух несовпадающих направлениях.
2. Панель по п.1, отличающаяся тем, что в ней упомянутые деревянные детали представляют собой погонажные пиломатериалы, по существу, тангенциального распила.
3. Панель по п.1, отличающаяся тем, что она содержит в себе, по меньшей мере, один слой деревянных деталей с высотой поперечного сечения меньше толщины, состыкованных между собой широкими торцами.
4. Панель по п.1, отличающаяся тем, что она содержит в себе, по меньшей мере. один слой деревянных деталей с высотой поперечного сечения меньше толщины, состыкованных между собой узкими торцами.
5. Панель по п.1, отличающаяся тем, что она содержит в себе, по меньшей мере, один слой деревянных деталей с, по существу, одинаковой высотой и шириной поперечного сечения.
6. Панель по п.5, отличающаяся тем, что в ней древесные волокна в упомянутых, по меньшей мере, двух слоях деревянных деталей с, по существу, одинаковой высотой и шириной поперечного сечения, ориентированы, по существу, в одном направлении.
7. Панель по п.6, отличающаяся тем, что в ней между упомянутыми двумя слоями деревянных деталей с, по существу, одинаковой высотой и шириной поперечного сечения размещен, по меньшей мере, один из упомянутых слоев деталей со скрещивающимися волокнами древесины.
8. Панель по любому из пп.1-7, отличающаяся тем, что в ней упомянутые деревянные детали, по меньшей мере, из двух смежных слоев размещены в шахматном порядке.
9. Панель по любому из пп.1-7, отличающаяся тем, что в ней поверхности слоев снабжены рядами теплоизолирующих бороздок.
10. Панель по любому из пп.1-7, отличающаяся тем, что в ней боковые торцы упомянутых деревянных деталей состыкованы между собой внахлестку.
11. Панель по любому из пп.1-7, отличающаяся тем, что в ней боковые торцы упомянутых деревянных деталей снабжены продольными фиксирующими выступами и впадинами ответной формы.
12. Панель по любому из пп.1-7, отличающаяся тем, что в ней концевые торцы упомянутых деревянных деталей скреплены посредством деревянных шкантов.
13. Панель по любому из пп.1-7, отличающаяся тем, что в ней концевые торцы упомянутых деревянных деталей состыкованы внахлест и/или скреплены между собой посредством соединения «ласточкин хвост».
14. Панель по любому из пп.1-7, отличающаяся тем, что в ней упомянутые нагели расположены, по существу, в шахматном порядке.
15. Панель по любому из пп.1-7, отличающаяся тем, что в ней через каждую деревянную деталь проходит в среднем два нагеля.
16. Панель по любому из пп.1-7, отличающаяся тем, что в ней упомянутые нагели имеют наклон под углом от 10 до 70º относительно нормали.
17. Панель по любому из пп.1-7, отличающаяся тем, что в ней упомянутые нагели и/или упомянутые шканты выполнены из бука.
18. Панель по любому из пп.1-7, отличающаяся тем, что в ней упомянутые нагели снабжены продольным рифлением.
19. Панель по любому из пп.1-7, отличающаяся тем, что в ней упомянутые нагели и/или упомянутые шканты выполнены из березы.
20. Панель по любому из пп.1-7, отличающаяся тем, что в ней упомянутые шканты, соединяющие боковые торцы упомянутых деталей, ориентированы по существу в плоскости слоя, по существу, по нормали к направлению волокон древесины.
21. Панель по любому из пп.1-7, отличающаяся тем, что в ней упомянутые шканты, соединяющие боковые торцы упомянутых деталей, ориентированы, по существу, в плоскости слоя под углом к направлению волокон древесины.
22. Панель по любому из пп.1-7, отличающаяся тем, что в ней упомянутые шканты соединяют, по меньшей мере, три упомянутые детали.
23. Панель по любому из пп.1-7, отличающаяся тем, что в ней упомянутые шканты снабжены продольным рифлением.
24. Панель по любому из пп.1-7, отличающаяся тем, что в ней соединение упомянутых слоев упрочнено горячим прессованием.
Priority Applications (1)
| Application Number | Priority Date | Filing Date | Title |
|---|---|---|---|
| RU2010101139/03U RU96150U1 (ru) | 2010-01-15 | 2010-01-15 | Панель |
Applications Claiming Priority (1)
| Application Number | Priority Date | Filing Date | Title |
|---|---|---|---|
| RU2010101139/03U RU96150U1 (ru) | 2010-01-15 | 2010-01-15 | Панель |
Publications (1)
| Publication Number | Publication Date |
|---|---|
| RU96150U1 true RU96150U1 (ru) | 2010-07-20 |
Family
ID=42686322
Family Applications (1)
| Application Number | Title | Priority Date | Filing Date |
|---|---|---|---|
| RU2010101139/03U RU96150U1 (ru) | 2010-01-15 | 2010-01-15 | Панель |
Country Status (1)
| Country | Link |
|---|---|
| RU (1) | RU96150U1 (ru) |
Cited By (2)
| Publication number | Priority date | Publication date | Assignee | Title |
|---|---|---|---|---|
| RU2742531C1 (ru) * | 2020-07-15 | 2021-02-08 | Алексей Евгеньевич Додонов | Способ формирования деревянной многослойной панели или многослойного бруса |
| RU236867U1 (ru) * | 2025-03-31 | 2025-08-26 | Николай Александрович Щеглов | Панель для напольного и настенного покрытий |
-
2010
- 2010-01-15 RU RU2010101139/03U patent/RU96150U1/ru not_active IP Right Cessation
Cited By (2)
| Publication number | Priority date | Publication date | Assignee | Title |
|---|---|---|---|---|
| RU2742531C1 (ru) * | 2020-07-15 | 2021-02-08 | Алексей Евгеньевич Додонов | Способ формирования деревянной многослойной панели или многослойного бруса |
| RU236867U1 (ru) * | 2025-03-31 | 2025-08-26 | Николай Александрович Щеглов | Панель для напольного и настенного покрытий |
Similar Documents
| Publication | Publication Date | Title |
|---|---|---|
| US20170321418A1 (en) | Fire-resistant construction panel | |
| EA012073B1 (ru) | Строительная плита, строительный элемент и т.п. | |
| EP2316624A2 (en) | Multi-layer wood panel | |
| US20160332411A1 (en) | Panel element made of wood | |
| KR20080069662A (ko) | 건축용 패널 또는 그와 유사한 재료, 그의 제조 및 용도 | |
| CZ20032569A3 (en) | Pre-fabricated laminated wood element | |
| RU96150U1 (ru) | Панель | |
| JP7308136B2 (ja) | 耐火木製構造材 | |
| RU74404U1 (ru) | Сборная строительная конструкция из продольных элементов и продольный элемент (варианты) для сборки этой конструкции | |
| RU147252U1 (ru) | Деревянная строительная конструкция (варианты) | |
| CZ29272U1 (cs) | Konstrukční nosník s dřevěnými pásnicemi a vyztuženou kompozitní stojinou | |
| WO2011087397A1 (ru) | Панель | |
| RU147337U1 (ru) | Решетчатая деревянная строительная панель (варианты) | |
| CA2706104C (en) | Top-chord bearing joist | |
| RU143311U1 (ru) | Брус композитный строительный (варианты) | |
| RU117849U1 (ru) | Фанера (варианты) и балка | |
| JP4070789B2 (ja) | 無垢木材合成パネル及びこのパネルに使用する小幅板 | |
| RU114982U1 (ru) | Комбинированный клееный брус с поперечным креплением | |
| RU2417288C1 (ru) | Устройство для возведения стеновых панелей | |
| EP1811097B1 (en) | Building element | |
| DE202016102450U1 (de) | Leimfreie Vollholzkonstruktion und Schichtholzplatte | |
| RU168168U1 (ru) | Деревянная двутавровая клееная балка | |
| CN206189756U (zh) | 条形隔热降噪型木楼板 | |
| RU170536U1 (ru) | Стена деревянного строения | |
| CN223176986U (zh) | 一种钢木组合楼板 |
Legal Events
| Date | Code | Title | Description |
|---|---|---|---|
| MM1K | Utility model has become invalid (non-payment of fees) |
Effective date: 20160116 |
|
| NF1K | Reinstatement of utility model |
Effective date: 20170210 |
|
| MM9K | Utility model has become invalid (non-payment of fees) |
Effective date: 20180116 |
