RU36734U1 - Гидравлическая испытательная машина - Google Patents
Гидравлическая испытательная машинаInfo
- Publication number
- RU36734U1 RU36734U1 RU2003135360/20U RU2003135360U RU36734U1 RU 36734 U1 RU36734 U1 RU 36734U1 RU 2003135360/20 U RU2003135360/20 U RU 2003135360/20U RU 2003135360 U RU2003135360 U RU 2003135360U RU 36734 U1 RU36734 U1 RU 36734U1
- Authority
- RU
- Russia
- Prior art keywords
- hydraulic
- testing machine
- lifting
- installation
- power
- Prior art date
Links
- 238000012360 testing method Methods 0.000 title claims description 14
- 238000009434 installation Methods 0.000 claims description 7
- 238000013461 design Methods 0.000 description 4
- 238000007906 compression Methods 0.000 description 2
- 230000007246 mechanism Effects 0.000 description 2
- 230000002159 abnormal effect Effects 0.000 description 1
- 230000006835 compression Effects 0.000 description 1
- 238000004519 manufacturing process Methods 0.000 description 1
- 238000005259 measurement Methods 0.000 description 1
- 239000002184 metal Substances 0.000 description 1
- 238000011160 research Methods 0.000 description 1
- 239000011343 solid material Substances 0.000 description 1
- 238000010998 test method Methods 0.000 description 1
Landscapes
- Investigating Strength Of Materials By Application Of Mechanical Stress (AREA)
Description
Заявляемая полезная модель относится к области исследования прочностных свойств твердых материалов нутем приложения к ним механических усилий, более конкретно, к гидравлическим машинам для испытания образцов металлов на растяжение, сжатие, растяжение-сжатие.
Известны гидравлические испытательные машины, содержащие силовую раму, силовой гидроцилиндр, насосную установку, пневмогидроаккумулятор, приспособления для установки образцов (захваты, серьги, опоры и т.д.), систему управления и измерения.
Силовые рамы гидравлических испытательных машин состоят из основания, колонн и траверсы, перемеш;аемой по колоннам при помоши гидроцилиндров подъема. Отличаются силовые рамы способом установки гидроцилиндров подъема.
Например, на машине универсальной серии 810.16 (MTS, США) корпуса гидроцилиндров подъема жестко закреплены на основании, а штоки - жестко на траверсе.
Недостатками этой конструкции являются:
-сложность технологического процесса изготовления и монтажа основания, колонн и траверсы;
-возможность отклонения от параллельности осей колонн в общей плоскости или их перекоса, что затрудняет, а иногда и делает невозможным перемещение траверсы.
Наиболее близким по технической сущности к предлагаемой полезной модели является машина PIK-2000.01 (СКБИМ, Россия).
Основным недостатком аналога является невозможность монтажа штатных приспособлений, а также установки испытуемых образцов и конструкций, вес которых достигает 120 кг и более, без специальных подъемных механизмов (кран-балки, автопогрузчика и др.).
Целью заявляемой полезной модели является устранение этих недостатков и повышение автономности работы машины.
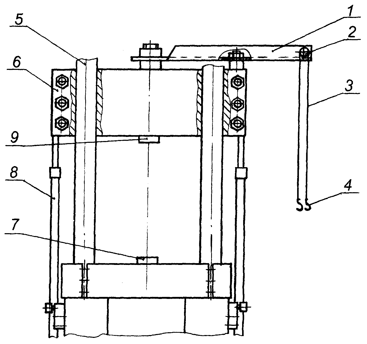
Указанная цель достигается тем, что на подвижной траверсе установлено подъемное устройство (см. иллюстрацию), состояш.ее из балки 1 с блоком 2, через который перекинут трос 3, в концы которого заделаны крюки 4.
Конструкция предлагаемой полезной модели включает в себя балку 1 с блоком 2, трос 3, крюки 4, колонны 5, траверсу 6, силовой гидроцилиндр 7, гидроцилиндры подъема 8, датчик силы 9, захваты испытуемого образца, установку насосную, усилитель электрогидравлический, блок распределительной и регулируюш;ей гидроаппаратуры, систему управления (на рисунке не показаны).
При необходимости установить на силовую раму машины испытуемый объект или приспособление гидроцилиндры подъема 8 опускают траверсу 6 вместе с установленным на ней подъемным устройством. Крюками 4 зацепляется испытуемый объект. Блок 2 необходим на тот случай, когда испытуемая натурная конструкция имеет точки зацепления на разной высоте.
Траверса 6 перемещается вверх, поднимая на тросе 3 испытываемый объект (приспособление) на уровень рабочей зоны машины, образуемой колоннами 5, плунжером силового гидроцилиндра 7 и датчиком силы 9.
Установка объекта (приспособления) и нагружение его .производится согласно методикам испытаний.
-доступность при ремонте;
-мобильность (может быть установлен с четырех сторон траверсы);
-замена части ручного труда;
-отсутствие потребности при работе машины в нештатных грузоподъемных механизмах;
-автономность при установке - съеме испытуемых объектов.
Заявляемую полезную модель предполагается использовать в конструкции испытательной универсальной машины ИК 2000.01 и в испытательных машинах подобного типа.
ИСПОЛЬЗОВАННЫЕ ИСТОЧНИКИ:
1.Машина универсальная серии 810.16 (каталог фирмы «MTS, США.
2.Машина универсальная ИК-2000.01 (конструкторская документация СКБИМ, Россия).
Авторы:
Арутюнян А.Р. . Бессарабенко В.П. Кастанов А.С.
Claims (1)
- Гидравлическая испытательная машина, включающая силовую раму с подвижной траверсой, гидроцилиндры подъема, силовой гидроцилиндр, датчик силы, захваты испытуемого образца, установку насосную, усилитель электрогидравлический, блок распределительной и регулирующей гидроаппаратуры, систему управления, отличающаяся тем, что на подвижной траверсе смонтировано подъемное устройство для установки приспособлений и объектов испытаний.
Priority Applications (1)
| Application Number | Priority Date | Filing Date | Title |
|---|---|---|---|
| RU2003135360/20U RU36734U1 (ru) | 2003-12-09 | 2003-12-09 | Гидравлическая испытательная машина |
Applications Claiming Priority (1)
| Application Number | Priority Date | Filing Date | Title |
|---|---|---|---|
| RU2003135360/20U RU36734U1 (ru) | 2003-12-09 | 2003-12-09 | Гидравлическая испытательная машина |
Publications (1)
| Publication Number | Publication Date |
|---|---|
| RU36734U1 true RU36734U1 (ru) | 2004-03-20 |
Family
ID=36296969
Family Applications (1)
| Application Number | Title | Priority Date | Filing Date |
|---|---|---|---|
| RU2003135360/20U RU36734U1 (ru) | 2003-12-09 | 2003-12-09 | Гидравлическая испытательная машина |
Country Status (1)
| Country | Link |
|---|---|
| RU (1) | RU36734U1 (ru) |
Cited By (2)
| Publication number | Priority date | Publication date | Assignee | Title |
|---|---|---|---|---|
| RU2393453C1 (ru) * | 2008-10-16 | 2010-06-27 | Открытое акционерное общество "Специальное конструкторское бюро испытательных машин" (ОАО "СКБИМ") | Силовая рама универсальной испытательной машины |
| RU2517939C1 (ru) * | 2012-10-19 | 2014-06-10 | Федеральное государственное унитарное предприятие "Центральный аэрогидродинамический институт имени профессора Н.Е. Жуковского" (ФГУП "ЦАГИ") | Способ поверки датчика силы и устройство для его осуществления |
-
2003
- 2003-12-09 RU RU2003135360/20U patent/RU36734U1/ru not_active IP Right Cessation
Cited By (2)
| Publication number | Priority date | Publication date | Assignee | Title |
|---|---|---|---|---|
| RU2393453C1 (ru) * | 2008-10-16 | 2010-06-27 | Открытое акционерное общество "Специальное конструкторское бюро испытательных машин" (ОАО "СКБИМ") | Силовая рама универсальной испытательной машины |
| RU2517939C1 (ru) * | 2012-10-19 | 2014-06-10 | Федеральное государственное унитарное предприятие "Центральный аэрогидродинамический институт имени профессора Н.Е. Жуковского" (ФГУП "ЦАГИ") | Способ поверки датчика силы и устройство для его осуществления |
Similar Documents
| Publication | Publication Date | Title |
|---|---|---|
| US9588029B2 (en) | Dynamics performance testing system | |
| CN206906142U (zh) | 机械设备横梁弯曲检测装置 | |
| RU2678935C1 (ru) | Машина испытательная универсальная сервогидравлическая для механических испытаний образцов материалов на растяжение, сжатие, изгиб и малоцикловую усталость при растяжении-сжатии | |
| RU135416U1 (ru) | Автоматизированный стенд для испытаний железобетонных элементов на совместное действие изгибающих моментов, продольных и поперечных сил при кратковременном динамическом нагружении | |
| CN104748959A (zh) | 三轴多维度加载力学性能测试试验台 | |
| KR101313181B1 (ko) | 시험편 다축 시험장치 | |
| CN109443736A (zh) | 一种实验室自动钻进易移动多功能仿真锚杆锚固试验台 | |
| CN113340747A (zh) | 锚杆剪切测试装置及方法 | |
| RU36734U1 (ru) | Гидравлическая испытательная машина | |
| CN105509683B (zh) | 一种用于自平衡试桩法的位移测量装置 | |
| CN207051116U (zh) | 一种矿山支护材料力学性能综合测试装置 | |
| CN210269445U (zh) | 多维加载综合试验系统 | |
| RU2315969C1 (ru) | Стенд для испытания бетонных и железобетонных элементов на продольное центральное и внецентренное кратковременное динамическое сжатие | |
| RU152733U1 (ru) | Стенд для испытания железобетонных элементов на изгиб при статическом нагружении | |
| RU104718U1 (ru) | Машина испытательная для механических испытаний строительных материалов | |
| CN108414365A (zh) | 混凝土受自然力作用下破坏应力-应变全曲线测试装置 | |
| RU2393453C1 (ru) | Силовая рама универсальной испытательной машины | |
| RU137119U1 (ru) | Электромеханическая установка для статических и динамических испытаний строительных конструкций | |
| RU2753981C1 (ru) | Машина испытательная сервогидравлическая горизонтальная для испытаний тросов, канатов, строп и образцов материалов длиной до десяти метров | |
| RU210700U1 (ru) | Испытательный стенд для строительных конструкций | |
| RU48225U1 (ru) | Стенд для испытания железобетонных элементов на косое внецентренное кратковременное динамическое растяжение | |
| CN216144622U (zh) | 一种电脑控制型拉压力试验机 | |
| RU185718U1 (ru) | Испытательный стенд для строительных конструкций | |
| RU2464545C1 (ru) | Устройство для создания силовых полей при прочностных испытаниях грузозахватных средств | |
| RU100255U1 (ru) | Стенд для испытания железобетонных элементов на поперечный изгиб при статическом нагружении |
Legal Events
| Date | Code | Title | Description |
|---|---|---|---|
| MM1K | Utility model has become invalid (non-payment of fees) |
Effective date: 20091210 |
