RU2574373C2 - Спинальный имплантат, инструмент для него и способ дистракции спинального имплантата - Google Patents
Спинальный имплантат, инструмент для него и способ дистракции спинального имплантата Download PDFInfo
- Publication number
- RU2574373C2 RU2574373C2 RU2013152379/14A RU2013152379A RU2574373C2 RU 2574373 C2 RU2574373 C2 RU 2574373C2 RU 2013152379/14 A RU2013152379/14 A RU 2013152379/14A RU 2013152379 A RU2013152379 A RU 2013152379A RU 2574373 C2 RU2574373 C2 RU 2574373C2
- Authority
- RU
- Russia
- Prior art keywords
- rotator
- teeth
- spinal implant
- lever
- internal
- Prior art date
Links
- 239000007943 implant Substances 0.000 title claims abstract description 50
- 238000000034 method Methods 0.000 title claims abstract description 10
- 239000003814 drug Substances 0.000 abstract 2
- 230000000694 effects Effects 0.000 abstract 1
- 230000000717 retained effect Effects 0.000 abstract 1
- 239000000126 substance Substances 0.000 abstract 1
- 238000002513 implantation Methods 0.000 description 1
- 238000004519 manufacturing process Methods 0.000 description 1
- 238000001356 surgical procedure Methods 0.000 description 1
Images
Abstract
Группа изобретений относится к медицине. Спинальный имплантат с наружным корпусом и с удерживаемым в нем и перемещаемым в осевом направлении внутренним корпусом, в котором на наружном корпусе предусмотрена первая рычажная скважина, а на внутреннем корпусе предусмотрена вторая рычажная скважина. Обе рычажные скважины выполнены в виде продолговатых отверстий, заподлицо по отношению друг к другу, зубья в стенках расположены вдоль продольной оси соответственно первой и второй рычажных скважин. Зубья в стенках расположены на противоположных боковых сторонах в их соответствующих рычажных скважинах. Дополнительно предусмотрены направляющие средства на внутреннем и на наружном корпусе, которые обеспечивают осевое перемещение внутреннего корпуса относительно наружного корпуса, но которые предотвращают поворот внутреннего корпуса относительно наружного корпуса. Инструмент для вышеуказанного спинального имплантата с поворотным рычагом стержневого типа и ручкой, прикрепленной к нему. Поворотный рычаг состоит из двух частей, при этом поворотный рычаг включает в свой состав внутренний ротатор и внешний ротатор. На дистальном конце внутреннего ротатора выполнены внутренние зубья. На дистальном конце внешнего ротатора выполнены наружные зубья, так что внутренний ротатор может использоваться независимо от наружного ротатора. Способ дистракции вышеуказанного спинального имплантата с помощью вышеуказанного инструмента. Инструмент сначала вставляется с помощью поворотного рычага в две рычажные скважины на внутреннем корпусе и наружном корпусе спинального имплантата таким образом, что поворотный рычаг входит в зацепление своими внутренними зубьями с зубьями в стенке рычажной скважины наружного корпуса. Внешний ротатор входит в зацепление своими наружными зубьями с зубьями в стенке рычажной скважины внутреннего корпуса до того, как спинальный имплантат будет подвергнут дистракции при вращении либо внутреннего ротатора, либо внешнего ротатора, или и того и другого. Изобретения предотвращают заклинивание спинального имплантата. 3 н. и 4 з.п. ф-лы, 6 ил.
Description
Настоящее изобретение относится к спинальному имплантату в соответствии с преамбулой пункта 1 формулы изобретения, а также к инструменту для этой цели в соответствии с преамбулой пункта 4 или 5 формулы изобретения и к способу дистракции спинального имплантата в соответствии с преамбулой пункта 8 или пункта 9 формулы изобретения.
Из заявки США 7029498 B2 известен дистракционный спинальный имплантат, состоящий из двух U-образных частей, в котором две части удерживаются таким образом, что они перемещаются в осевом направлении относительно друг друга в виде телескопа. На свободных поверхностях U-образной наружной части предусмотрен специальный проход, в который вставляется лапчатый пинцет. Лечащий врач может захватить спинальный имплантат этим лапчатым пинцетом и переместить его в нужное место.
После установки спинального имплантата пинцет удаляется. Для дистракции спинального имплантата до нужного размера через отверстие U-образной части внутрь спинального имплантата вставляется продолговатый направляющий стержень и ввинчивается в резьбу на наружной части до того, как начнется проталкивание полого зубчатого инструмента по направляющему стержню. Таким образом, зубчатый инструмент проталкивается в спинальный имплантат до тех пор, пока внешние зубья, выполненные на зубчатом инструменте, не начнут взаимодействовать с соответствующими зубьями на внутренней части спинального имплантата. Если теперь вращать зубчатый инструмент вокруг его продольной оси, внутренняя часть спинального имплантата начнет смещаться относительно наружной части.
Весь этот процесс очень труден и требует большой ловкости со стороны хирурга. Поскольку зубчатый инструмент сидит очень свободно на направляющем стержне, может случиться так, что во время дистракции он случайно выскользнет из зацепления с зубьями, поэтому его нужно будет вставлять снова.
Из заявки США 2006/0241770 A1 известен спинальный имплантат, в состав которого входит наружный элемент и внутренний элемент, который может перемещаться в осевом направлении, при этом поворотное зубчатое колесо с внутренней резьбой располагается на передней стороне наружного элемента, и эта резьба взаимодействует с наружной резьбой внутреннего элемента. Для того чтобы регулировать в осевом направлении внутренний элемент с помощью наружного элемента, через первое отверстие в наружном и внутреннем элементе в рычажную скважину на внутренней стороне внутреннего элемента вводится соответствующий инструмент с длинным штифтом, при этом зубья, выполненные на инструменте, взаимодействуют с соответствующими зубьями на зубчатом колесе. Если инструмент поворачивается вокруг своей продольной оси, зубчатое колесо перемещается вокруг вертикальной оси спинального имплантата. Внутренний элемент перемещается по резьбе зубчатого колеса в соответствии с шагом резьбы. Такой спинальный имплантат состоит из множества отдельных компонентов, что приводит к удорожанию производства. Многие отдельные компоненты, которые перемещаются относительно друг друга, также вызывают сильное трение и риск заедания. Кроме того, для того, чтобы эффективно использовать инструмент, лечащий врач должен обладать большой ловкостью и вводить инструмент с его штифтами сначала через первое отверстие во внутреннем и наружном элементе, а затем в рычажную скважину на противоположной стороне, где зубья и штифт должны одновременно взаимодействовать с рычажной скважиной или зубьями на зубчатом колесе.
Из ранее опубликованной заявки WO 2011/134457 A1 известен спинальный имплантат с наружным корпусом и с внутренним корпусом, который расположен так, что обеспечивается его осевое перемещение, и в котором выполнена резьба для приема соответствующего инструмента. Инструмент прочно вворачивается в наружный корпус, и его штифт вставляется в продолговатое отверстие в наружном корпусе. По окружности штифта выполнены зубья, которые входят в зацепление с зубьями в продолговатом отверстии. Таким образом, когда штифт вращается, внутренний корпус перемещается в осевом направлении.
Исходя из этого, целью настоящего изобретения является разработка спинального имплантата и инструмента, как это упомянуто во введении, чтобы спинальный имплантат мог быть легко и точно имплантирован и чтобы могла быть выполнена его дистракция.
В качестве технического решения для осуществления этой цели предлагается спинальный имплантат типа имплантата, упомянутого во введении, с признаками по пункту 1, инструмент с признаками по пункту 4, и инструмент с признаками по пункту 5, а также способ дистракции спинального имплантата в соответствии с признаками по пункту 8 или 9. Предпочтительные варианты осуществления этого спинального имплантата, этого инструмента и этого способа могут быть получены из соответствующих пунктов формулы изобретения.
Преимущество спинального имплантата по настоящему изобретению состоит в том, что при перемещении в разные стороны внутреннего и наружного корпусов обеспечивается быстрая дистракция, поскольку оба корпуса можно перемещать одновременно одним движением руки.
Еще одним преимуществом является то, что точная регулировка спинального имплантата достигается за счет сравнительно большого диапазона.
Еще одним преимуществом является то, что благодаря зацеплению с положительной посадкой инструмента с зубьями в стенке также можно выполнить дистракцию внутренним корпусом или внешним корпусом с небольшим усилием, даже уже после имплантации и даже под нагрузкой.
Такое двухчастное применение инструмента имеет то преимущество, что внутренний корпус и/или наружный корпус могут перемещаться с большой точностью. Это дает возможность лечащему врачу перемещать только внутренний корпус или только наружный корпус в зависимости от каждой конкретной ситуации.
В соответствии с предпочтительным примером осуществления настоящего изобретения на внутреннем и на наружном корпусе предусмотрены направляющие средства, которые предотвращают поворот внутреннего корпуса относительно наружного корпуса и одновременно создают осевое направление. Это обеспечивает то преимущество, что окружные силы, возникающие в процессе дистракции, не приводят к повороту внутреннего корпуса.
Преимущество было получено при создании направляющих средств в соответствии с принципом шпунта и паза. Таким образом, например, во внутреннем корпусе вдоль продольной оси выполняется паз, который взаимодействует со шпунтом, выполненным на внутренней стенке наружного корпуса. Благодаря конструкции, включающей паз и шпунт, осуществляется направление внутреннего корпуса на определенную длину спинального имплантата, что надежно предотвращает заклинивание.
Другие преимущества спинального имплантата по настоящему изобретению, инструмента по настоящему изобретению и способа по настоящему изобретению могут быть получены из прилагаемых чертежей и вариантов осуществления, описанных ниже. Согласно настоящему изобретению упомянутые выше и получившие объяснения особенности также могут быть использованы по отдельности или в любой комбинации друг с другом. Упомянутые варианты осуществления настоящего изобретения не следует рассматривать как исчерпывающий перечень, а лишь в качестве примеров. Ниже дается описание чертежей.
На фиг. 1 показан перспективный вид спинального имплантата по настоящему изобретению и первого варианта осуществления инструмента по настоящему изобретению.
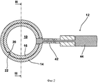
На фиг. 2 показан в разрезе вид сверху на спинальный имплантат и инструмент в соответствии с фиг. 1, разрез по линии II-II на фиг. 1.
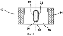
На фиг. 3 показан в разрезе вид сбоку на спинальный имплантат в соответствии с фиг. 1, разрез по линии III-III на фиг. 2.
На фиг. 4 показан перспективный вид спинального имплантата в соответствии с фиг. 1 и второго варианта осуществления инструмента по настоящему изобретению.
На фиг. 5 показан в разрезе вид сверху на спинальный имплантат в соответствии с фиг. 1 и на инструмент в соответствии с фиг. 4.
На фиг. 6 показан в разрезе вид сверху на спинальный имплантат в соответствии с фиг. 1, разрез по линии VI-VI на фиг. 5.
На фигурах 1-3 представлен спинальный имплантат 10 по настоящему изобретению и первый вариант осуществления инструмента 12 по настоящему изобретению.
В состав спинального имплантата входит внешний корпус 14 и внутренний корпус 16, удерживаемый внутри наружного таким образом, чтобы обеспечить его перемещение в осевом направлении, причем в соответствии с представленным здесь вариантом осуществления настоящего изобретения оба корпуса имеют цилиндрическую конструкцию. Направляющие средства 18, которые задают направление при осевом перемещении обоих корпусов 14, 16 и предотвращают поворот корпусов относительно друг друга, выполнены на обоих корпусах 14, 16. Направляющие средства 18 состоят из ориентированного вдоль продольной оси паза 20, выполненного на наружной стороне внутреннего корпуса 16, и шпунта 22, выполненного на внутренней стороне наружного корпуса 14, соответствующего пазу 20.
Во внутреннем корпусе 16 выполнена первая рычажная скважина 26 в виде ориентированного вдоль продольной оси удлиненного отверстия, на вертикальном боку которого образованы зубья в стенке 28. В наружном корпусе 14 выполнена вторая рычажная скважина 30 также в виде ориентированного вдоль продольной оси удлиненного отверстия, на вертикальном боку которого выполнены зубья в стенке 32. Зубья в стенке 28, 32 первой и второй рычажных скважин 26, 30 должны быть предусмотрены на противоположных боковых сторонах рычажных скважин 26, 30.
Паз 20, шпунт 22, внутренний корпус 16 и наружный корпус 14 расположены таким образом, что первая рычажная скважина 26 в виде продолговатого отверстия выполнена, по крайней мере, частично заподлицо со второй рычажной скважиной 30 в виде продолговатого отверстия, так что инструмент 12 может быть вставлен через вторую рычажную скважину 30 в первую рычажную скважину 26.
Первый вариант инструмента 12 по настоящему изобретению состоит из стержневого поворотного рычага 42 и ручки 44, прикрепленной к нему. На дистальном конце поворотного рычага 42 выполнены радиально выступающие зубья 46, которые образованы на его поверхности вдоль продольной оси поворотного рычага 42. Зубья 46 образуют зубчатое кольцо. Кроме того, длина каждого зуба 46 позволяет ему входить в зацепление одновременно с соответствующими зубьями в стенке 28 первой рычажной скважины 26 и с соответствующими зубьями в стенке 32 второй рычажной скважины 30 спинального имплантата 10.
На фигурах 4-6 представлен второй вариант инструмента 112 по настоящему изобретению, который отличается от первого варианта, представленного на фигурах 1-3, тем, что согласно фигурам 4-6 поворотный рычаг 142 инструмента состоит из двух частей, включая внутренний ротатор 150 и внешний ротатор 152. Ручка 144 также разделена на две части и состоит из внутренней ручки 154 и внешней ручки 156.
Внутренний ротатор 150 активно соединен с внутренней ручкой 154, а внешняя ручка 156 активно соединена с внешним ротатором 152, так что внутренний ротатор 150 может быть приведен в действие с помощью внутренней ручкой 154, а внешний ротатор 152 может быть приведен в действие с помощью внешней ручки 156. Таким образом, они могут быть использованы независимо друг от друга. С этой целью внутренний ротатор 150 и внутренняя ручка 154 выполнены полыми, так что внешний ротатор 152 находится в этой полости.
Внутренние зубья 158 и наружные зубья 160, выполненные одинаковой длины, расположены на дистальном конце внутреннего ротатора 150 и на дистальном конце наружного ротатора 152 так, чтобы они выступали в радиальном направлении.
Во время хирургической операции лечащий врач определяет размер спинального имплантата 10, который будет использоваться. Затем спинальный имплантат вставляют в тело больного в нужном месте. Для дистракции инструмент 12 по первому варианту осуществления настоящего изобретения (фигуры 1-3) вводят в спинальный имплантат таким образом, что зубья 46 проходят в первую рычажную скважину 26, а также во вторую рычажную скважину 30 и входят в зацепление с зубьями в стенке 28, 32. Затем лечащий врач поворачивает ручку 44 инструмента 12 вокруг ее продольной оси. Таким образом, поворотный рычаг 42 вызывает перемещение внутреннего корпуса 16 в одном направлении и смещение наружного корпуса 14 в другом направлении. Так как оба корпуса 14 и 16 могут быть перемещены одним движением руки, дистракция может быть реализована очень быстро и очень точно.
При использовании инструмента 112, представленного на фигурах 4-6, наружные зубья 160 входят в зацепление с первой рычажной скважиной 26 во внутреннем корпусе 16, а внутренние зубья 158 со второй рычажной скважиной 30 во внешнем корпусе 14. При повороте внутренней ручки 154 внешний корпус 14 перемещается в осевом направлении, или путем поворота внешней ручки 156 внутренний корпус 16 перемещается в осевом направлении.
Claims (7)
1. Спинальный имплантат с наружным корпусом (14) и с удерживаемым в нем и перемещаемым в осевом направлении внутренним корпусом (16),
в котором на наружном корпусе (14) предусмотрена первая рычажная скважина (26), а на внутреннем корпусе (16) предусмотрена вторая рычажная скважина (30), отличающийся тем, что обе рычажные скважины (26, 30) выполнены в виде продолговатых отверстий, заподлицо по отношению друг к другу, зубья в стенках (28, 32) расположены вдоль продольной оси соответственно первой и второй рычажных скважин (26, 30), при этом зубья в стенках (28, 32) расположены на противоположных боковых сторонах в их соответствующих рычажных скважинах (26, 30), дополнительно предусмотрены направляющие средства (18) на внутреннем (16) и на наружном корпусе (14), которые обеспечивают осевое перемещение внутреннего корпуса (16) относительно наружного корпуса (14), но которые предотвращают поворот внутреннего корпуса (16) относительно наружного корпуса (14).
в котором на наружном корпусе (14) предусмотрена первая рычажная скважина (26), а на внутреннем корпусе (16) предусмотрена вторая рычажная скважина (30), отличающийся тем, что обе рычажные скважины (26, 30) выполнены в виде продолговатых отверстий, заподлицо по отношению друг к другу, зубья в стенках (28, 32) расположены вдоль продольной оси соответственно первой и второй рычажных скважин (26, 30), при этом зубья в стенках (28, 32) расположены на противоположных боковых сторонах в их соответствующих рычажных скважинах (26, 30), дополнительно предусмотрены направляющие средства (18) на внутреннем (16) и на наружном корпусе (14), которые обеспечивают осевое перемещение внутреннего корпуса (16) относительно наружного корпуса (14), но которые предотвращают поворот внутреннего корпуса (16) относительно наружного корпуса (14).
2. Спинальный имплантат по п. 1, отличающийся тем, что направляющие средства (18) выполняются в соответствии с принципом шпунта и паза.
3. Инструмент для спинального имплантата по одному из пп. 1-2, с поворотным рычагом (142) стержневого типа и ручкой (144), прикрепленной к нему, отличающийся тем, что поворотный рычаг (142) состоит из двух частей, при этом поворотный рычаг (142) включает в свой состав внутренний ротатор (150) и внешний ротатор (152), и что на дистальном конце внутреннего ротатора (150) выполнены внутренние зубья (158), а на дистальном конце внешнего ротатора (152) выполнены наружные зубья (160), так что внутренний ротатор (150) может использоваться независимо от наружного ротатора (152).
4. Инструмент по п. 3, отличающийся тем, что ручка (144) состоит из двух частей, и в ее состав входит внутренняя ручка (154) и внешняя ручка (156), и что внутренний ротатор (150) активно соединен с внутренней ручкой (154), а внешний ротатор (152) активно соединен с внешней ручкой (156).
5. Инструмент по одному из пп. 3 или 4, отличающийся тем, что внутренние зубья (158) и наружные зубья (160) выполнены одинаковой длины.
6. Способ дистракции спинального имплантата по одному из пп. 1-2 с помощью инструмента по одному из пп. 3-5, отличающийся тем, что инструмент (112) сначала вставляется с помощью поворотного рычага (142) в две рычажные скважины (26, 30) на внутреннем корпусе (16) и наружном корпусе (14) спинального имплантата (10) таким образом, что поворотный рычаг (150) входит в зацепление своими внутренними зубьями (158) с зубьями в стенке (32) рычажной скважины (30) наружного корпуса (14), и что внешний ротатор (152) входит в зацепление своими наружными зубьями (160) с зубьями в стенке (28, 32) рычажной скважины (26, 30) внутреннего корпуса (16) до того, как спинальный имплантат (10) будет подвергнут дистракции при вращении либо внутреннего ротатора (150), либо внешнего ротатора (152), или и того и другого.
7. Способ по п. 6, отличающийся тем, что внутренний ротатор (150) приводится в действие вращением внутренней ручки (154) вокруг ее продольной оси и/или что внешний ротатор (152) приводится в действие вращением внешней ручки (156) вокруг ее продольной оси.
Applications Claiming Priority (3)
| Application Number | Priority Date | Filing Date | Title |
|---|---|---|---|
| DE102011018692.1 | 2011-04-26 | ||
| DE102011018692.1A DE102011018692B4 (de) | 2011-04-26 | 2011-04-26 | Wirbelsäulenimplantat, Werkzeug hierfür und Verfahren zur Distraktion des Wirbelsäulenimplantats |
| PCT/DE2012/000392 WO2012146231A1 (de) | 2011-04-26 | 2012-04-13 | Wirbelsäulenimplantat, werkzeug hierfür und verfahren zur distraktion des wirbelsäulenimplantates |
Publications (2)
| Publication Number | Publication Date |
|---|---|
| RU2013152379A RU2013152379A (ru) | 2015-06-10 |
| RU2574373C2 true RU2574373C2 (ru) | 2016-02-10 |
Family
ID=
Citations (3)
| Publication number | Priority date | Publication date | Assignee | Title |
|---|---|---|---|---|
| RU2063187C1 (ru) * | 1992-12-25 | 1996-07-10 | Российский научно-исследовательский нейрохирургический институт им.проф.А.Л.Поленова | Эндопротез-дистрактор |
| RU2225183C2 (ru) * | 2001-09-12 | 2004-03-10 | Галикеев Марат Фаритович | Расклинивающий межтеловой дистрактор позвонков |
| RU2307625C1 (ru) * | 2006-01-10 | 2007-10-10 | Государственное образовательное учреждение дополнительного профессионального образования "Новокузнецкий государственный институт усовершенствования врачей Федерального агентства по здравоохранению и социальному развитию" | Устройство для спондилодеза |
Patent Citations (3)
| Publication number | Priority date | Publication date | Assignee | Title |
|---|---|---|---|---|
| RU2063187C1 (ru) * | 1992-12-25 | 1996-07-10 | Российский научно-исследовательский нейрохирургический институт им.проф.А.Л.Поленова | Эндопротез-дистрактор |
| RU2225183C2 (ru) * | 2001-09-12 | 2004-03-10 | Галикеев Марат Фаритович | Расклинивающий межтеловой дистрактор позвонков |
| RU2307625C1 (ru) * | 2006-01-10 | 2007-10-10 | Государственное образовательное учреждение дополнительного профессионального образования "Новокузнецкий государственный институт усовершенствования врачей Федерального агентства по здравоохранению и социальному развитию" | Устройство для спондилодеза |
Similar Documents
| Publication | Publication Date | Title |
|---|---|---|
| CA2834167C (en) | Spinal implant, tool therefor and method for distracting the spinal implant | |
| US10327918B2 (en) | Height adjustable medical implant | |
| US9149380B2 (en) | Release device for disengaging a medical implant from a catheter and catheter having a release device | |
| US12440350B2 (en) | Spinal cage devices, systems, and methods of assembly and use | |
| US9572678B2 (en) | Tissue spacer implants, insertion and adjustment tools, and method of use | |
| JP2002238929A (ja) | 脊柱の椎体間に装入する生体埋め込み部材、及び、これを取り扱う手術具 | |
| US10166111B2 (en) | Spinal implants and related apparatus and methods | |
| ES2395298T3 (es) | Separador para inserción entre dos vértebras | |
| US9955959B2 (en) | Rotating retractor arm | |
| AU2017293923B2 (en) | Reamer and guide for glenoid augment preparation | |
| IL214489A (en) | Intra-spinal process implants with deployable connecting arms | |
| ES2830177T3 (es) | Aplicadores de implantes | |
| US20150265321A1 (en) | Instrument for implanting implant device | |
| EP2604231A2 (de) | Freigabevorrichtung zum Lösen eines medizinischen Implantats von einen Katheter sowie Katheter mit einer Freigabevorrichtung | |
| RU2574373C2 (ru) | Спинальный имплантат, инструмент для него и способ дистракции спинального имплантата | |
| KR102118034B1 (ko) | 외과적 큐렛 | |
| JP6389687B2 (ja) | 人工膝関節置換術用手術器具 | |
| AU2007284136B2 (en) | Insertion system for implanting a medical device and surgical methods | |
| EP3493761B1 (en) | Centering device for inserting of a dental implant |