RU2531733C2 - Pallet and method of its fabrication - Google Patents

Pallet and method of its fabrication Download PDF

Info

Publication number
RU2531733C2
RU2531733C2 RU2012142868/12A RU2012142868A RU2531733C2 RU 2531733 C2 RU2531733 C2 RU 2531733C2 RU 2012142868/12 A RU2012142868/12 A RU 2012142868/12A RU 2012142868 A RU2012142868 A RU 2012142868A RU 2531733 C2 RU2531733 C2 RU 2531733C2
Authority
RU
Russia
Prior art keywords
supporting elements
pallet
flooring
wood
elements
Prior art date
Application number
RU2012142868/12A
Other languages
Russian (ru)
Other versions
RU2012142868A (en
Inventor
Сергей Владимирович Воронцов
Original Assignee
Сергей Владимирович Воронцов
Priority date (The priority date is an assumption and is not a legal conclusion. Google has not performed a legal analysis and makes no representation as to the accuracy of the date listed.)
Filing date
Publication date
Application filed by Сергей Владимирович Воронцов filed Critical Сергей Владимирович Воронцов
Priority to RU2012142868/12A priority Critical patent/RU2531733C2/en
Priority to PCT/RU2013/000826 priority patent/WO2014058348A1/en
Publication of RU2012142868A publication Critical patent/RU2012142868A/en
Application granted granted Critical
Publication of RU2531733C2 publication Critical patent/RU2531733C2/en

Links

Images

Classifications

    • BPERFORMING OPERATIONS; TRANSPORTING
    • B65CONVEYING; PACKING; STORING; HANDLING THIN OR FILAMENTARY MATERIAL
    • B65DCONTAINERS FOR STORAGE OR TRANSPORT OF ARTICLES OR MATERIALS, e.g. BAGS, BARRELS, BOTTLES, BOXES, CANS, CARTONS, CRATES, DRUMS, JARS, TANKS, HOPPERS, FORWARDING CONTAINERS; ACCESSORIES, CLOSURES, OR FITTINGS THEREFOR; PACKAGING ELEMENTS; PACKAGES
    • B65D19/00Pallets or like platforms, with or without side walls, for supporting loads to be lifted or lowered
    • B65D19/0004Rigid pallets without side walls
    • B65D19/0006Rigid pallets without side walls the load supporting surface being made of a single element
    • B65D19/0008Rigid pallets without side walls the load supporting surface being made of a single element forming a continuous plane contact surface
    • B65D19/002Rigid pallets without side walls the load supporting surface being made of a single element forming a continuous plane contact surface the base surface being made of more than one element
    • B65D19/0024Rigid pallets without side walls the load supporting surface being made of a single element forming a continuous plane contact surface the base surface being made of more than one element forming discontinuous or non-planar contact surfaces
    • B65D19/0028Rigid pallets without side walls the load supporting surface being made of a single element forming a continuous plane contact surface the base surface being made of more than one element forming discontinuous or non-planar contact surfaces and each contact surface having a discrete foot-like shape
    • BPERFORMING OPERATIONS; TRANSPORTING
    • B65CONVEYING; PACKING; STORING; HANDLING THIN OR FILAMENTARY MATERIAL
    • B65DCONTAINERS FOR STORAGE OR TRANSPORT OF ARTICLES OR MATERIALS, e.g. BAGS, BARRELS, BOTTLES, BOXES, CANS, CARTONS, CRATES, DRUMS, JARS, TANKS, HOPPERS, FORWARDING CONTAINERS; ACCESSORIES, CLOSURES, OR FITTINGS THEREFOR; PACKAGING ELEMENTS; PACKAGES
    • B65D2519/00Pallets or like platforms, with or without side walls, for supporting loads to be lifted or lowered
    • B65D2519/00004Details relating to pallets
    • B65D2519/00009Materials
    • B65D2519/00014Materials for the load supporting surface
    • B65D2519/00029Wood
    • BPERFORMING OPERATIONS; TRANSPORTING
    • B65CONVEYING; PACKING; STORING; HANDLING THIN OR FILAMENTARY MATERIAL
    • B65DCONTAINERS FOR STORAGE OR TRANSPORT OF ARTICLES OR MATERIALS, e.g. BAGS, BARRELS, BOTTLES, BOXES, CANS, CARTONS, CRATES, DRUMS, JARS, TANKS, HOPPERS, FORWARDING CONTAINERS; ACCESSORIES, CLOSURES, OR FITTINGS THEREFOR; PACKAGING ELEMENTS; PACKAGES
    • B65D2519/00Pallets or like platforms, with or without side walls, for supporting loads to be lifted or lowered
    • B65D2519/00004Details relating to pallets
    • B65D2519/00009Materials
    • B65D2519/00049Materials for the base surface
    • B65D2519/00064Wood
    • BPERFORMING OPERATIONS; TRANSPORTING
    • B65CONVEYING; PACKING; STORING; HANDLING THIN OR FILAMENTARY MATERIAL
    • B65DCONTAINERS FOR STORAGE OR TRANSPORT OF ARTICLES OR MATERIALS, e.g. BAGS, BARRELS, BOTTLES, BOXES, CANS, CARTONS, CRATES, DRUMS, JARS, TANKS, HOPPERS, FORWARDING CONTAINERS; ACCESSORIES, CLOSURES, OR FITTINGS THEREFOR; PACKAGING ELEMENTS; PACKAGES
    • B65D2519/00Pallets or like platforms, with or without side walls, for supporting loads to be lifted or lowered
    • B65D2519/00004Details relating to pallets
    • B65D2519/00258Overall construction
    • B65D2519/00263Overall construction of the pallet
    • B65D2519/00273Overall construction of the pallet made of more than one piece
    • BPERFORMING OPERATIONS; TRANSPORTING
    • B65CONVEYING; PACKING; STORING; HANDLING THIN OR FILAMENTARY MATERIAL
    • B65DCONTAINERS FOR STORAGE OR TRANSPORT OF ARTICLES OR MATERIALS, e.g. BAGS, BARRELS, BOTTLES, BOXES, CANS, CARTONS, CRATES, DRUMS, JARS, TANKS, HOPPERS, FORWARDING CONTAINERS; ACCESSORIES, CLOSURES, OR FITTINGS THEREFOR; PACKAGING ELEMENTS; PACKAGES
    • B65D2519/00Pallets or like platforms, with or without side walls, for supporting loads to be lifted or lowered
    • B65D2519/00004Details relating to pallets
    • B65D2519/00258Overall construction
    • B65D2519/00283Overall construction of the load supporting surface
    • B65D2519/00288Overall construction of the load supporting surface made of one piece
    • BPERFORMING OPERATIONS; TRANSPORTING
    • B65CONVEYING; PACKING; STORING; HANDLING THIN OR FILAMENTARY MATERIAL
    • B65DCONTAINERS FOR STORAGE OR TRANSPORT OF ARTICLES OR MATERIALS, e.g. BAGS, BARRELS, BOTTLES, BOXES, CANS, CARTONS, CRATES, DRUMS, JARS, TANKS, HOPPERS, FORWARDING CONTAINERS; ACCESSORIES, CLOSURES, OR FITTINGS THEREFOR; PACKAGING ELEMENTS; PACKAGES
    • B65D2519/00Pallets or like platforms, with or without side walls, for supporting loads to be lifted or lowered
    • B65D2519/00004Details relating to pallets
    • B65D2519/00258Overall construction
    • B65D2519/00313Overall construction of the base surface
    • B65D2519/00323Overall construction of the base surface made of more than one piece
    • BPERFORMING OPERATIONS; TRANSPORTING
    • B65CONVEYING; PACKING; STORING; HANDLING THIN OR FILAMENTARY MATERIAL
    • B65DCONTAINERS FOR STORAGE OR TRANSPORT OF ARTICLES OR MATERIALS, e.g. BAGS, BARRELS, BOTTLES, BOXES, CANS, CARTONS, CRATES, DRUMS, JARS, TANKS, HOPPERS, FORWARDING CONTAINERS; ACCESSORIES, CLOSURES, OR FITTINGS THEREFOR; PACKAGING ELEMENTS; PACKAGES
    • B65D2519/00Pallets or like platforms, with or without side walls, for supporting loads to be lifted or lowered
    • B65D2519/00004Details relating to pallets
    • B65D2519/00258Overall construction
    • B65D2519/00313Overall construction of the base surface
    • B65D2519/00328Overall construction of the base surface shape of the contact surface of the base
    • B65D2519/00338Overall construction of the base surface shape of the contact surface of the base contact surface having a discrete foot-like shape
    • BPERFORMING OPERATIONS; TRANSPORTING
    • B65CONVEYING; PACKING; STORING; HANDLING THIN OR FILAMENTARY MATERIAL
    • B65DCONTAINERS FOR STORAGE OR TRANSPORT OF ARTICLES OR MATERIALS, e.g. BAGS, BARRELS, BOTTLES, BOXES, CANS, CARTONS, CRATES, DRUMS, JARS, TANKS, HOPPERS, FORWARDING CONTAINERS; ACCESSORIES, CLOSURES, OR FITTINGS THEREFOR; PACKAGING ELEMENTS; PACKAGES
    • B65D2519/00Pallets or like platforms, with or without side walls, for supporting loads to be lifted or lowered
    • B65D2519/00004Details relating to pallets
    • B65D2519/00547Connections
    • B65D2519/00552Structures connecting the constitutive elements of the pallet to each other, i.e. load supporting surface, base surface and/or separate spacer
    • B65D2519/00572Structures connecting the constitutive elements of the pallet to each other, i.e. load supporting surface, base surface and/or separate spacer with separate auxiliary element, e.g. screws, nails, bayonets
    • YGENERAL TAGGING OF NEW TECHNOLOGICAL DEVELOPMENTS; GENERAL TAGGING OF CROSS-SECTIONAL TECHNOLOGIES SPANNING OVER SEVERAL SECTIONS OF THE IPC; TECHNICAL SUBJECTS COVERED BY FORMER USPC CROSS-REFERENCE ART COLLECTIONS [XRACs] AND DIGESTS
    • Y02TECHNOLOGIES OR APPLICATIONS FOR MITIGATION OR ADAPTATION AGAINST CLIMATE CHANGE
    • Y02WCLIMATE CHANGE MITIGATION TECHNOLOGIES RELATED TO WASTEWATER TREATMENT OR WASTE MANAGEMENT
    • Y02W30/00Technologies for solid waste management
    • Y02W30/50Reuse, recycling or recovery technologies
    • Y02W30/80Packaging reuse or recycling, e.g. of multilayer packaging
    • YGENERAL TAGGING OF NEW TECHNOLOGICAL DEVELOPMENTS; GENERAL TAGGING OF CROSS-SECTIONAL TECHNOLOGIES SPANNING OVER SEVERAL SECTIONS OF THE IPC; TECHNICAL SUBJECTS COVERED BY FORMER USPC CROSS-REFERENCE ART COLLECTIONS [XRACs] AND DIGESTS
    • Y02TECHNOLOGIES OR APPLICATIONS FOR MITIGATION OR ADAPTATION AGAINST CLIMATE CHANGE
    • Y02WCLIMATE CHANGE MITIGATION TECHNOLOGIES RELATED TO WASTEWATER TREATMENT OR WASTE MANAGEMENT
    • Y02W90/00Enabling technologies or technologies with a potential or indirect contribution to greenhouse gas [GHG] emissions mitigation
    • Y02W90/10Bio-packaging, e.g. packing containers made from renewable resources or bio-plastics

Landscapes

  • Engineering & Computer Science (AREA)
  • Mechanical Engineering (AREA)
  • Pallets (AREA)

Abstract

FIELD: transport.
SUBSTANCE: set of inventions relates to devices intended for warehousing, storage handing or cargoes and goods, particularly, to pallets and to method of their production. Proposed pallet consists of deck 1, bearing elements 2, 3 secured to said deck by fasteners 3. Said deck and said elements are made of sandwiched glued wood. Note here that said deck is made solid of flatly glued wood (plywood) composed of several plies of peeled veneer with mutually perpendicular wood fibres in adjacent plies. Bearing elements feature preset curvilinear shape and are made of bent wood. The latter consists of several layer of peeled veneer with mutually perpendicular wood fibres in adjacent plies.
EFFECT: perfected design.
3 cl, 6 dwg

Description

Заявленная группа изобретений относится к устройствам, предназначенным для складирования, хранения и перемещения погрузчиком штучных грузов, а также перевозки их различными видами транспорта, в частности к поддонам многоразового использования, и к способам изготовления поддонов из древесного материала.The claimed group of inventions relates to devices designed for warehousing, storage and movement by the loader of piece goods, as well as their transportation by various means of transport, in particular to refillable pallets, and to methods for manufacturing pallets from wood material.

Известен поддон для укладки на него грузов, содержащий настил и опорные элементы, выполненные как единое целое методом прессования из волокнистой композиции, содержащей скоп и макулатуру из гофрированного картона [1]. Опорные элементы в данном поддоне выполнены полыми конической формы. Недостатком такого поддона является то, что верхняя часть поддона содержит отверстия-ячейки, что снижает возможность использования такого поддона для погрузки мелких деталей. Метод изготовления и формования волокнистой композиции из скопа и макулатуры из гофрированного картона является сложным, трудоемким и затратным. Подобный поддон обладает невысокой прочностью и долговечностью.Known pallet for laying goods on it, containing flooring and supporting elements, made as a whole by pressing from a fibrous composition containing osprey and waste paper from corrugated cardboard [1]. The supporting elements in this pallet are made hollow conical shape. The disadvantage of this pallet is that the upper part of the pallet contains openings-cells, which reduces the possibility of using such a pallet for loading small parts. The method of manufacturing and molding a fibrous composition from osprey and waste paper from corrugated cardboard is complex, time-consuming and expensive. Such a pallet has low strength and durability.

Известен пластиковый поддон (паллет) для многократного использования, содержащий настил и опорные элементы, выполненные методом литья в пресс-форму как единое целое, где настил выполнен цельным, а опорные элементы полыми, прямоугольной или конической формы [2]. Недостатком такого поддона является трудоемкий и затратный техпроцесс изготовления поддона, материал поддона - полиэтилен или полипропилен имеет склонность к деформации при длительном воздействии статических нагрузок, паллеты из полиэтилена, находящиеся длительное время в напряженном состоянии, могут растрескиваться.Known plastic pallet (pallet) for multiple use, containing flooring and supporting elements made by molding in a mold as a whole, where the flooring is made integral, and the supporting elements are hollow, rectangular or conical shape [2]. The disadvantage of such a pallet is the laborious and costly manufacturing process of the pallet, the material of the pallet - polyethylene or polypropylene, tends to deform under prolonged exposure to static loads, pallets made of polyethylene that are in a state of stress for a long time can crack.

Известны деревянные плоские многооборотные поддоны, предназначенные для формирования транспортных пакетов при осуществлении механизированных погрузочно-разгрузочных, транспортных и складских операций [3], из которых наиболее близким техническим решением к заявленному является однонастильный четырехзаходный поддон П4, изготовленный из древесины, включающий настил для размещения груза, выполненный из нескольких параллельных друг другу досок, и девять симметрично расположенных шашек, формирующих пространство для захвата поддона вилами погрузчика, соединенных с настилом с помощью трех поперечных опорных досок и гвоздей. Поддон выполнен из обрезных пиломатериалов. Используется древесина транспортной или естественной влажности (влажность менее 24%), произвольной породы (ель, сосна, осина, ольха), соответствующая требованиям 2, 3 сорта ГОСТ 8486-86 или 2, 3 сорт ГОСТ 2695-83.Known wooden flat multi-turn pallets intended for the formation of transport packages during the implementation of mechanized loading, unloading, transport and storage operations [3], of which the closest technical solution to the declared one is a single-deck four-way pallet P4 made of wood, including flooring for cargo, made of several boards parallel to each other, and nine symmetrically arranged checkers, forming a space for gripping the fork pallet mi loader connected to the deck using three transverse support boards and nails. The pallet is made of edged lumber. We use wood of transport or natural humidity (humidity less than 24%), arbitrary species (spruce, pine, aspen, alder), which meets the requirements of grades 2, 3 of GOST 8486-86 or 2, 3 grade of GOST 2695-83.

Настил поддона, имеющий толщину 20 мм, состоит из шести досок размером 20×100×1200 мм.The flooring of the pallet, having a thickness of 20 mm, consists of six boards with a size of 20 × 100 × 1200 mm.

Три поперечные доски размером 22×100×800 мм. Поддон стоит на девяти шашках размером 78×100×100 мм. Размер трех нижних досок 20×100×1200 мм.Three transverse planks measuring 22 × 100 × 800 mm. The pallet stands on nine pieces with a size of 78 × 100 × 100 mm. The size of the three lower boards is 20 × 100 × 1200 mm.

На всех трех нижних досках выполнены заходные фаски, облегчающие заезд полозьев гидравлической тележки, а также фаски выполнены на углах поддона. Для сборки поддона используются винтовые либо ершеные (с поперечной насечкой) гвозди 3,5×70 (для крепления нижних досок и шашек, по 3 шт. на шашку), 3,5×90 (для крепления настила и шашек, по 3 шт. на шашку) и строительные гвозди 2,5×55 (для крепления досок настила к доскам несущим, 2 шт. на соединение).Entrance chamfers are made on all three lower boards, facilitating the entry of runners of the hydraulic trolley, as well as chamfers made at the corners of the pallet. For the assembly of the pallet, screw or rugged (with a transverse notch) nails are used 3.5 × 70 (for fastening the lower boards and checkers, 3 pieces per checker), 3.5 × 90 (for fastening the flooring and checkers, 3 pieces each). on a checker) and construction nails 2.5 × 55 (for attaching floorboards to bearing boards, 2 pcs. per connection).

Недостатком данного поддона является то, что все элементы поддона выполнены из обрезного пиломатериала хвойных и лиственных пород, что приводит к удорожанию стоимости поддона; настил выполнен из отдельных досок с промежутками до 65 мм, что не дает возможности перемещать и складировать мелкие детали, а также может подвергнуться короблению; толщина досок настила 20 мм, толщина опорных досок 22 мм, шашки выполнены цельными 78×100×100 мм, что приводит к увеличению собственного веса поддона до 40 кг; влажность древесины может достигать 24%, возможны пороки древесины (сучки, отверстия от сучков, трещины). Все элементы поддона соединяются между собой с помощью гвоздей, что увеличивает время изготовления поддона и снижает прочность и долговечность конструкции. Деревянный поддон требует обработки древесины от вредителей и грибков. Три нижних доски (лыжи) затрудняют заход вил погрузчика с двух сторон поддона. Для транспортной грузоперевозки формируют комплект из 9 штук готовых поддонов.The disadvantage of this pallet is that all elements of the pallet are made of edged sawn softwood and hardwood, which leads to an increase in the cost of the pallet; the flooring is made of separate boards with gaps of up to 65 mm, which makes it impossible to move and store small parts, and can also be warped; the thickness of the flooring boards is 20 mm, the thickness of the supporting boards is 22 mm, the checkers are made solid 78 × 100 × 100 mm, which leads to an increase in the dead weight of the pallet up to 40 kg; wood moisture can reach 24%, wood defects are possible (knots, knot holes, cracks). All elements of the pallet are interconnected using nails, which increases the manufacturing time of the pallet and reduces the strength and durability of the structure. A wooden pallet requires processing wood from pests and fungi. The three lower boards (skis) make it difficult for the forklift to enter on both sides of the pallet. For transportation, a set of 9 pieces of ready-made pallets is formed.

Задача, решаемая группой изобретений - расширение технологических и функциональных характеристик поддона, а именно:The problem solved by the group of inventions is the expansion of technological and functional characteristics of the pallet, namely:

1. Уменьшение собственного веса поддона, с сохранением характеристик прочности и грузоподъемности,1. Reducing the dead weight of the pallet, while maintaining the characteristics of strength and load capacity,

2. Возможность изготовления поддонов большими объемами при минимальных затратах;2. The ability to manufacture pallets in large volumes at minimal cost;

3. Повышение качества и срока службы поддона;3. Improving the quality and durability of the pallet;

4. Возможность транспортирования поддонов крупными партиями в разобранном виде.4. The ability to transport pallets in large quantities in unassembled form.

Поставленная задача достигается тем, что в группе изобретений заявленный поддон содержит настил для укладки грузов и опорные элементы, прикрепленные к настилу с образованием проемов для захода грузозахватных органов транспортного средства, настил и опорные элементы выполнены из слоистой клеенной древесины, причем настил выполнен цельным из плоскоклеенной древесины (фанеры), состоящей из нескольких слоев лущеного шпона с взаимно-перпендикулярным расположением волокон древесины в смежных слоях шпона, а опорные элементы выполнены заданной криволинейной формы, из гнутоклеенной древесины, состоящей из нескольких слоев лущеного шпона с продольным и взаимно-перпендикулярным расположением волокон древесины в смежных слоях шпона; опорный элемент выполнен скобообразным с полукруглым или прямолинейным основанием, причем математическая модель формообразования опорного элемента имеет в основе геометрическую фигуру - ромб, усеченный по длинной диагонали D1 полуокружностью радиусом R (фиг.5), причем значение угла наклона стенок опорного элемента а выбрано из диапазона 25°-60°, и определяется по формуламThis object is achieved by the fact that in the group of inventions the claimed pallet contains a floor for stacking goods and supporting elements attached to the floor with the formation of openings for entry of the load-gripping organs of the vehicle, the floor and supporting elements are made of laminated glued wood, and the floor is made of solid wood (plywood), consisting of several layers of peeled veneer with a mutually perpendicular arrangement of wood fibers in adjacent layers of veneer, and the supporting elements hydrochloric curved shape of curved timber, consisting of several layers of veneer sheets with longitudinal and mutually perpendicular arrangement of the wood fibers in the adjacent layers of veneer; the support element is made stapled with a semicircular or rectilinear base, and the mathematical model of the formation of the support element is based on a geometric figure - a rhombus, truncated along the long diagonal D1 with a semicircle of radius R (figure 5), and the value of the angle of inclination of the walls of the support element a is selected from a range of 25 ° -60 °, and is determined by the formulas

sinα/2=cosα/2=D2/2a и tgα/2=D2/D1sinα / 2 = cosα / 2 = D2 / 2a and tgα / 2 = D2 / D1

где a сторона ромба,where is the side of the rhombus,

D1 и D2 - диагонали ромба,D1 and D2 - diagonals of a rhombus,

α и β - углы при вершине ромба, по меньшей мере, два опорных элемента имеют в концевой части с одной из сторон ответный криволинейный паз для соединения с третьим опорным элементом внахлест с образованием в месте сопряжения с настилом толщины H, размер которой определяется по формуле H=h1+2h2, опорные элементы могут быть выполнены с плоскими концевыми частями с возможностью соединения друг с другом встык с образованием в месте сопряжения с настилом толщины H1, размер которой определяется по формуле H1=h1+h2,α and β are the angles at the rhombus apex, at least two support elements have a curved groove in the end part on one of the sides for overlapping with the third support element to form a thickness H at the interface with the flooring, the size of which is determined by the formula H = h 1 + 2h 2 , the supporting elements can be made with flat end parts with the possibility of connecting with each other end-to-end with the formation of a thickness H1 at the interface with the flooring, the size of which is determined by the formula H1 = h 1 + h 2 ,

где h1 - толщина настила, h2 - толщина опорного элемента; толщина настила выбрана из диапазона 8-24 мм, причем для настила толщиной 8 мм и 10 мм набор пакета производится как из четного числа листов, так и не четного числа листов шпона; толщина опорного элемента выбрана из диапазона 8-18 мм; собственная масса поддона не превышает 15 кг, при грузоподъемности поддона 1000 кг; влажность поддона составляет по меньшей мере 8% и не превышает 10%; чистота обработки поверхности настила по ГОСТ 7016 не превышает 200 мкм; высота штабелирования по меньшей мере двух поддонов не превышает 270 мм; в качестве материала настила и опорных элементов применяют шпон лущеный произвольных пород по ГОСТ 99-96 толщиной 0,5-2 мм, влажностью 6±2%; который не требует фумигации.where h 1 is the thickness of the flooring, h 2 is the thickness of the supporting element; the thickness of the flooring is selected from the range of 8-24 mm, and for the flooring with a thickness of 8 mm and 10 mm, a set of packages is made from an even number of sheets and an even number of sheets of veneer; the thickness of the support element is selected from a range of 8-18 mm; own weight of the pallet does not exceed 15 kg, with a load capacity of the pallet 1000 kg; the moisture content of the pallet is at least 8% and does not exceed 10%; the cleanliness of the surface treatment according to GOST 7016 does not exceed 200 microns; the stacking height of at least two pallets does not exceed 270 mm; peeled veneer of arbitrary species according to GOST 99-96 with a thickness of 0.5-2 mm, humidity 6 ± 2% is used as the material of the flooring and supporting elements; which does not require fumigation.

Поддон выполнен разборным, с возможностью формирования отдельных комплектов для транспортной перевозки из настилов и опорных элементов, причем, опорные элементы в комплекте складываются друг в друга основаниями вниз или вверх с образованием стоп таким образом, чтобы криволинейные пазы концевых частей опорных элементов соседних стоп плавно сопрягались друг с другом.    The pallet is made collapsible, with the possibility of forming separate sets for transportation from decking and supporting elements, moreover, the supporting elements in the set are folded into each other with their bases up or down to form stops so that the curved grooves of the end parts of the supporting elements of adjacent feet smoothly mate each other with a friend.

Способ изготовления поддона включает в себя следующие шаги: изготавливают плоскоклеенный материал из нескольких слоев лущеного шпона и клея методом прессования, и вырезают заготовку для настила; изготавливают гнутоклеенные заготовки для опорных элементов методом гнутья с одновременным склеиванием в пресс-формах заданного профиля; соединяют по три опорных элемента с плоскими концевыми частями встык друг другу, либо соединяют по три опорных элемента внахлест друг с другом и с настилом таким образом, чтобы плоские концевые части одного из опорных элементов оказались в криволинейных пазах концевых частей двух других опорных элементов и плотно прижатыми к настилу; затем прикрепляют опорные элементы к настилу параллельно длинной стороне настила в 3 ряда, с образованием равных по ширине проемов для захода грузозахватных органов транспортного средства с любой из сторон; в качестве клея применяют синтетические или природные клеи; опорные элементы прикрепляют к настилу посредством крепежных изделий.A method of manufacturing a pallet includes the following steps: make a flat-glued material from several layers of peeled veneer and glue by pressing, and cut the blank for flooring; bent glued blanks for supporting elements are made by bending with simultaneous gluing in the molds of a given profile; connect three support elements with flat end parts end-to-end to each other, or connect three support elements overlap with each other and with the flooring so that the flat end parts of one of the support elements are curved in the grooves of the end parts of two other support elements and tightly pressed to the flooring; then attach the supporting elements to the deck parallel to the long side of the deck in 3 rows, with the formation of equally wide openings for the entry of the load-gripping organs of the vehicle from either side; synthetic or natural adhesives are used as glue; supporting elements are attached to the floor by means of fasteners.

Таким образом, приведенная совокупность существенных признаков заявленной группы предлагаемых изобретений позволяет обеспечить достижение следующих технических результатов за счет применяемого для изготовления поддона материала - слоистой клеенной древесины.Thus, the above set of essential features of the claimed group of inventions allows to achieve the following technical results due to the material used for the manufacture of the pallet - laminated glued wood.

5. Уменьшение собственной массы поддона с сохранением прочностных и грузоподъемных характеристик;5. Decrease in own weight of the pallet with preservation of strength and load-lifting characteristics;

6. Обеспечение прочностных и грузоподъемных характеристики за счет гнутого профиля опорных элементов, за счет взаимного расположения слоев шпона в настиле и опорных элементах, за счет применения крепежных изделий;6. Providing strength and lifting characteristics due to the bent profile of the supporting elements, due to the mutual arrangement of the veneer layers in the flooring and supporting elements, due to the use of fasteners;

7. Сокращение затрат на изготовление поддона, за счет экономии натуральной древесины и возможности получения за короткое время большого объема плоских и гнутых клеенных заготовок из лущеного шпона - как отходов мебельного производства;7. Reducing the cost of manufacturing a pallet, due to the savings in natural wood and the possibility of obtaining in a short time a large amount of flat and bent glued blanks from peeled veneer - as furniture waste;

8. Снижение параметра влажности до 8-10%, что позволяет хранить и транспортировать сухие материалы;8. Reducing the moisture parameter to 8-10%, which allows you to store and transport dry materials;

9. Повышение качества поверхности настила, за счет выполнения его ровным и гладким (шероховатость не более 200 мкм, нет пороков древесины), что позволяет исключить возможность коробления и порчи грузов при хранении и транспортировке;9. Improving the quality of the surface of the flooring, by making it even and smooth (roughness not more than 200 microns, no wood defects), which eliminates the possibility of warping and damage to goods during storage and transportation;

10. Обеспечение возможности перемещения и складирования мелких деталей за счет выполнения настила цельным;10. Providing the ability to move and store small parts due to the implementation of the whole flooring;

11. Повышение удобства захода вил погрузчика при погрузке с любой стороны поддона за счет одинаковой ширины заходных проемов; 11. Improving the convenience of approaching the forks of the loader when loading from either side of the pallet due to the same width of the entry openings;

12. Сокращение затрат и времени на грузоперевозку комплектов поддонов за счет увеличения количества транспортировочной партии поддонов отдельными упаковками: настил - опорные элементы, с возможностью их последующей сборки;12. Reducing the cost and time for the transportation of sets of pallets by increasing the number of shipping lots of pallets in individual packages: flooring - supporting elements, with the possibility of their subsequent assembly;

13. Сокращение времени и затрат на фумигацию (не требует фумигации).13. Reducing the time and cost of fumigation (does not require fumigation).

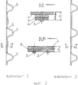
Предлагаемая группа изобретений представлена чертежами, где на фиг.1 изображен общий вид поддона, на фиг.2 - вид опорных элементов, на фиг.3 - разрез A-A; фиг.4 - этапы сборки поддона (варианты), фиг.5 - разрез B-B, на фиг.6 - схема транспортировочных комплектов поддона.The proposed group of inventions is represented by drawings, in which Fig. 1 shows a general view of a pallet, in Fig. 2 is a view of supporting elements, in Fig. 3 is a section A-A; figure 4 - stages of assembly of the pallet (options), figure 5 is a section B-B, figure 6 is a diagram of the transportation sets of the pallet.

Поддон содержит настил 1, опорные элементы 2 и 3, которые прикрепляют к настилу с помощью крепежных изделий 4 (фиг.1). Опорный элемент 2 выполнен с криволинейным пазом 8 в одной из концевых частей, а опорный элемент 3 с плоскими концевыми частями (фиг.2.) На фиг.3 показаны варианты соединения опорных элементов с настилом: соединяют либо по три опорных элемента 3 с плоскими концевыми частями встык друг другу, либо соединяют по три два опорных элемента 2 и один опорный элемент 3 внахлест друг с другом и с настилом 1 таким образом, чтобы плоские концевые части опорного элемента 3 оказались в криволинейных пазах 8 концевых частей опорных элементов 2 и плотно прижатыми к настилу 1; затем опорные элементы прикрепляют к настилу параллельно длинной стороне настила в три ряда с помощью крепежа 4 с образованием проемов 6 и 7 одинаковой ширины S для захода вил погрузчика (фиг.4). Настил 1 изготавливается цельным и плоским, путем склеивания нескольких слоев лущеного шпона с помощью синтетического или природного клея. Опорные элементы 2, 3 изготавливают из лущеного шпона методом гнутья с одновременным склеиванием в пресс-формах заданного профиля, который может быть скобообразным как с полукруглым основанием, так и с плоским основанием (фиг.2); математическая модель процесса формообразования имеет в основе ромб, усеченный по длинной диагонали D1 полуокружностью радиусом R, с рассчитываемыми величинами углов наклона стенок опорного элемента α и β (фиг.5).The pallet contains a deck 1, supporting elements 2 and 3, which are attached to the deck using fasteners 4 (figure 1). The supporting element 2 is made with a curved groove 8 in one of the end parts, and the supporting element 3 with flat end parts (Fig. 2.) Figure 3 shows the connection options of the supporting elements with the flooring: either three supporting elements 3 are connected with a flat end end-to-end to each other, or to connect three two support elements 2 and one support element 3 overlap with each other and with the floor 1 so that the flat end parts of the support element 3 are in the curved grooves 8 of the end parts of the support elements 2 and are tightly pressed flooring 1; then the supporting elements are attached to the deck parallel to the long side of the deck in three rows with fasteners 4 with the formation of openings 6 and 7 of the same width S for the fork forks to enter (Fig. 4). Flooring 1 is made whole and flat by gluing several layers of peeled veneer using synthetic or natural glue. The supporting elements 2, 3 are made of peeled veneer by bending with simultaneous gluing in the molds of a given profile, which can be staple with both a semicircular base and a flat base (figure 2); the mathematical model of the shaping process is based on a rhombus, truncated along the long diagonal D1 with a semicircle of radius R, with calculated values of the angle of inclination of the walls of the support element α and β (Fig. 5).

Поддон упаковывается для транспортировки в разобранном виде отдельными комплектами: комплект настилов 5, комплект опорных элементов 9 (фиг.6). Собирается на месте достаточно быстро без специальных приспособлений, в последовательности, указанной на фиг.4. В собранном виде поддон может транспортироваться упаковками 10 по 9 штук в упаковке, а в разобранном виде комплектами упаковок с аналогичными габаритами: настилы - по 41 шт., опорные элементы - по 51 шт. в одном слое, в упаковке семь слоев, итого - 357 штук (фиг.6), причем опорные элементы 2 складываются друг в друга в стопы 9 основаниями вниз или вверх таким образом, чтобы криволинейные пазы 8 концевых частей опорных элементов соседних стоп сопрягались друг с другом.The pallet is packaged for transportation in disassembled form in separate sets: a set of decks 5, a set of supporting elements 9 (Fig.6). Assembled on the spot quickly enough without special devices, in the sequence indicated in figure 4. When assembled, the pallet can be transported in packages of 10 to 9 pieces per pack, and unassembled in sets of packages with similar dimensions: flooring - 41 pcs., Supporting elements - 51 pcs. in one layer, the package has seven layers, totaling 357 pieces (Fig.6), and the supporting elements 2 are folded into each other in the feet 9 bases up or down so that the curved grooves 8 of the end parts of the supporting elements of adjacent feet mate with friend.

Основные преимущества поддона из клеенных заготовокThe main advantages of a pallet of glued blanks

1. Собственная масса поддона - не более 15 кг (поддон деревянный - не более 40 кг).1. Own mass of the pallet - not more than 15 kg (wooden pallet - not more than 40 kg).

2. Настил поддона имеет ровную гладкую поверхность, что исключает возможность коробления, порчи груза.2. The flooring of the pallet has a smooth smooth surface, which eliminates the possibility of warping, damage to the cargo.

3. Настил поддона имеет сплошную ровную поверхность, что дает возможность складировать мелкие детали и т.д.3. The flooring of the pallet has a continuous flat surface, which makes it possible to store small parts, etc.

4. Поддон удобен для складирования, т.е. при складировании друг в друга двух поддонов высота будет не более 270 мм.4. The pallet is convenient for storage, ie when storing two pallets into each other, the height will be no more than 270 mm.

5. Поддон соединен саморезами, что придает ему, в отличие от соединения гвоздями, прочность.5. The pallet is connected by self-tapping screws, which gives it, unlike the connection with nails, strength.

6. Поддон не имеет пороков древесины (сучков, отверстий от сучков, трещин, червоточин).6. The pallet has no wood defects (knots, knot holes, cracks, wormholes).

7. Чистота обработки поверхности настила по ГОСТ 7016 не более 200 мкм (поддон деревянный - 500 мкм).7. The cleanliness of the surface treatment according to GOST 7016 is not more than 200 microns (wooden pallet - 500 microns).

8. Влажность поддона 8-10%, что дает возможность складировать на него сухой материал.8. The moisture content of the pallet is 8-10%, which makes it possible to store dry material on it.

9. Не требует фумигации.9. Does not require fumigation.

10. Поддон в разобранном виде удобен для транспортных грузоперевозок.10. The disassembled pallet is convenient for transportation of goods.

Источники информацииInformation sources

[1] (Свидетельство на ПМ №5790).[1] (Certificate for PM No. 5790).

[2] Каталог продукции. Пластиковый паллет арт. MV евро 01-ОА., арт PE 865 B.[2] Product catalog. Plastic pallet art. MV Euro 01-OA., Art PE 865 B.

[3] (ГОСТ 9078-84(СТ СЭВ 317-76))[3] (GOST 9078-84 (ST SEV 317-76))

Claims (3)

1. Поддон, включающий настил для укладки грузов, выполненный цельным из плоскоклеенной древесины, состоящей из нескольких слоев лущеного шпона с взаимно-перпендикулярным расположением волокон древесины в смежных слоях шпона, и опорные элементы, скобообразной формы, с полукруглым или прямолинейным основанием, выполненные из гнутоклеенной древесины, состоящей из нескольких слоев лущеного шпона с продольным и взаимно-перпендикулярным расположением волокон древесины в смежных слоях шпона; прикрепленные к настилу, с образованием проемов для захода грузозахватных органов транспортного средства; поддон выполнен разборным с возможностью складывания опорных элементов друг в друга для транспортировки, отличающийся тем, что по меньшей мере два опорных элемента имеют в концевой части с одной из сторон ответный криволинейный паз для соединения с третьим опорным элементом внахлест с образованием в месте сопряжения с настилом толщины H, размер которой определяется по формуле H=h1+2h2,
где h1 - толщина настила, h2 - толщина опорного элемента
1. A pallet including a stacking floor made of solid wood glued wood, consisting of several layers of peeled veneer with mutually perpendicular arrangement of wood fibers in adjacent veneer layers, and supporting elements, stapled in shape, with a semicircular or rectilinear base made of bent glued wood, consisting of several layers of peeled veneer with a longitudinal and mutually perpendicular arrangement of wood fibers in adjacent layers of veneer; attached to the floor, with the formation of openings for entry of the load-gripping organs of the vehicle; the pallet is made collapsible with the possibility of folding the supporting elements into each other for transportation, characterized in that at least two supporting elements have a counter-curved groove in the end part of one of the sides for connecting with the third supporting element with an overlap with the formation of a thickness in the place of mating with the flooring H, the size of which is determined by the formula H = h 1 + 2h 2 ,
where h 1 is the thickness of the flooring, h 2 is the thickness of the supporting element
2. Поддон по п.1, отличающийся тем, что опорные элементы выполнены с возможностью складывания их друг в друга в три стопы, таким образом, что основания опорных элементов крайних стоп направлены противоположно основаниям опорных элементов средней стопы, при этом криволинейные концевые части опорных элементов, по меньшей мере одной из крайних стоп, сопрягаются с аналогичными концевыми частями опорных элементов средней стопы.2. The pallet according to claim 1, characterized in that the supporting elements are arranged to fold them into each other in three feet, so that the bases of the supporting elements of the extreme feet are directed opposite to the bases of the supporting elements of the middle foot, while the curved end parts of the supporting elements , at least one of the extreme feet, mate with the same end parts of the supporting elements of the middle foot. 3. Способ изготовления поддона по пп.1 и 2, включающий изготовление плоскоклеенной заготовки для настила из нескольких слоев лущеного шпона и клея методом прессования; изготовление гнутоклеенных заготовок для опорных элементов методом гнутья с одновременным склеиванием в пресс-формах заданного профиля; соединение опорных элементов встык друг с другом и с настилом посредством крепежных изделий в определенном порядке: по три опорных элемента параллельно длинной стороне настила в три ряда с образованием равных по ширине проемов для захода грузозахватных органов транспортного средства с любой из сторон; отличающийся тем, что три опорных элемента соединяют внахлест друг с другом и с настилом таким образом, чтобы плоские концевые части одного из опорных элементов оказались в криволинейных пазах концевых частей двух других опорных элементов и плотно прижатыми к настилу. 3. A method of manufacturing a pallet according to claims 1 and 2, including the manufacture of flat-glued blanks for flooring from several layers of peeled veneer and glue by pressing; the manufacture of bent glued blanks for supporting elements by bending with simultaneous bonding in the molds of a given profile; the connection of the supporting elements end-to-end with each other and with the flooring by means of fasteners in a certain order: three supporting elements parallel to the long side of the flooring in three rows with the formation of equally wide openings for the entry of the load-lifting organs of the vehicle from either side; characterized in that the three support elements overlap with each other and with the floor so that the flat end parts of one of the support elements are in the curved grooves of the end parts of the other two support elements and are tightly pressed to the floor.
RU2012142868/12A 2012-10-08 2012-10-08 Pallet and method of its fabrication RU2531733C2 (en)

Priority Applications (2)

Application Number Priority Date Filing Date Title
RU2012142868/12A RU2531733C2 (en) 2012-10-08 2012-10-08 Pallet and method of its fabrication
PCT/RU2013/000826 WO2014058348A1 (en) 2012-10-08 2013-09-23 Pallet and method for manufacturing same (variants)

Applications Claiming Priority (1)

Application Number Priority Date Filing Date Title
RU2012142868/12A RU2531733C2 (en) 2012-10-08 2012-10-08 Pallet and method of its fabrication

Publications (2)

Publication Number Publication Date
RU2012142868A RU2012142868A (en) 2014-04-20
RU2531733C2 true RU2531733C2 (en) 2014-10-27

Family

ID=50477684

Family Applications (1)

Application Number Title Priority Date Filing Date
RU2012142868/12A RU2531733C2 (en) 2012-10-08 2012-10-08 Pallet and method of its fabrication

Country Status (2)

Country Link
RU (1) RU2531733C2 (en)
WO (1) WO2014058348A1 (en)

Cited By (3)

* Cited by examiner, † Cited by third party
Publication number Priority date Publication date Assignee Title
RU2707107C1 (en) * 2019-02-15 2019-11-22 Общество с ограниченной ответственностью "ТЕХНОДЭК" Vibrocompression tray
RU2741161C1 (en) * 2020-08-24 2021-01-22 Геннадий Васильевич Юрин Cargo tray
RU204355U1 (en) * 2020-08-28 2021-05-21 Сергей Владимирович Воронцов Pallet

Citations (5)

* Cited by examiner, † Cited by third party
Publication number Priority date Publication date Assignee Title
US3187688A (en) * 1963-12-30 1965-06-08 Woodkor Corp Pallet
US4507162A (en) * 1983-05-16 1985-03-26 Meinan Machinery Works, Inc. Glued laminated wood and method of manufacturing the same
SU1659191A1 (en) * 1988-07-20 1991-06-30 Латвийское Научно-Производственное Объединение "Гауя" Method of making bent and glued components
RU2352466C2 (en) * 2003-12-04 2009-04-20 Армстронг Уорлд Индастриз, Инк. Product made of plywood with increased stability of dimensions and resistance to buckling and flaking
US20120204767A1 (en) * 2011-02-16 2012-08-16 Bo-Xin Jian Paper pallet structure

Patent Citations (5)

* Cited by examiner, † Cited by third party
Publication number Priority date Publication date Assignee Title
US3187688A (en) * 1963-12-30 1965-06-08 Woodkor Corp Pallet
US4507162A (en) * 1983-05-16 1985-03-26 Meinan Machinery Works, Inc. Glued laminated wood and method of manufacturing the same
SU1659191A1 (en) * 1988-07-20 1991-06-30 Латвийское Научно-Производственное Объединение "Гауя" Method of making bent and glued components
RU2352466C2 (en) * 2003-12-04 2009-04-20 Армстронг Уорлд Индастриз, Инк. Product made of plywood with increased stability of dimensions and resistance to buckling and flaking
US20120204767A1 (en) * 2011-02-16 2012-08-16 Bo-Xin Jian Paper pallet structure

Cited By (3)

* Cited by examiner, † Cited by third party
Publication number Priority date Publication date Assignee Title
RU2707107C1 (en) * 2019-02-15 2019-11-22 Общество с ограниченной ответственностью "ТЕХНОДЭК" Vibrocompression tray
RU2741161C1 (en) * 2020-08-24 2021-01-22 Геннадий Васильевич Юрин Cargo tray
RU204355U1 (en) * 2020-08-28 2021-05-21 Сергей Владимирович Воронцов Pallet

Also Published As

Publication number Publication date
RU2012142868A (en) 2014-04-20
WO2014058348A4 (en) 2014-06-19
WO2014058348A1 (en) 2014-04-17

Similar Documents

Publication Publication Date Title
CN100404382C (en) Corrugated shipping pallets and supports
US8397916B1 (en) High durability feet for corrugated shipping containers
US2709559A (en) Disposable pallet
US5327839A (en) Corrugated fiberboard pallet
US5601035A (en) Corrugated fiberboard pallet
JP7271701B2 (en) hybrid pallet
US20060005746A1 (en) Pallet with laminate blocks
JP6789948B2 (en) Paper platform
RU2531733C2 (en) Pallet and method of its fabrication
US20060207481A1 (en) Paper Honeycomb and Tube Pallet
EP3573894B1 (en) Pallet comprising folded wooden composite and method for manufacturing a pallet
RU204355U1 (en) Pallet
US3435784A (en) Pallet molding
CN201284042Y (en) Pallet and packaging box made of laminated material
CN202464313U (en) cardboard
CN208915688U (en) The Wooden tray convenient for loading and unloading moved
RU206041U1 (en) Supporting element for packing sheet materials
CN202765430U (en) Environment-friendly pallet
CA2497063C (en) Corrugated shipping pallet and support member
KR200476631Y1 (en) 4-Way Pallet
KR200451759Y1 (en) Pallet with corrugated paper and corrugated cardboard
CN201484764U (en) Card board
TWM524829U (en) Pallet structure
CZ38438U1 (en) A wooden pallet for the transport of loads, particularly rolls of paper, with the weight exceeding 1300 kg
CZ32173U1 (en) Transport pallet