RU2492430C2 - Вибрационный измерительный преобразователь, а также поточный контрольно-измерительный прибор с указанным преобразователем - Google Patents
Вибрационный измерительный преобразователь, а также поточный контрольно-измерительный прибор с указанным преобразователем Download PDFInfo
- Publication number
- RU2492430C2 RU2492430C2 RU2011141118/28A RU2011141118A RU2492430C2 RU 2492430 C2 RU2492430 C2 RU 2492430C2 RU 2011141118/28 A RU2011141118/28 A RU 2011141118/28A RU 2011141118 A RU2011141118 A RU 2011141118A RU 2492430 C2 RU2492430 C2 RU 2492430C2
- Authority
- RU
- Russia
- Prior art keywords
- measuring
- measuring tube
- tube
- type
- tubes
- Prior art date
Links
- 238000012544 monitoring process Methods 0.000 title 1
- 238000005452 bending Methods 0.000 claims abstract description 123
- 238000005259 measurement Methods 0.000 claims abstract description 37
- 239000012530 fluid Substances 0.000 claims abstract description 18
- 230000010355 oscillation Effects 0.000 claims description 140
- 238000003032 molecular docking Methods 0.000 claims description 62
- 230000005484 gravity Effects 0.000 claims description 43
- 239000003351 stiffener Substances 0.000 claims description 41
- 239000000463 material Substances 0.000 claims description 39
- 230000005284 excitation Effects 0.000 claims description 34
- 230000005520 electrodynamics Effects 0.000 claims description 30
- 244000052769 pathogen Species 0.000 claims description 17
- 229910000831 Steel Inorganic materials 0.000 claims description 12
- 239000010959 steel Substances 0.000 claims description 12
- 239000007789 gas Substances 0.000 claims description 11
- 239000007788 liquid Substances 0.000 claims description 11
- 230000001717 pathogenic effect Effects 0.000 claims description 10
- 239000000843 powder Substances 0.000 claims description 10
- 238000007789 sealing Methods 0.000 claims description 9
- 238000004519 manufacturing process Methods 0.000 claims description 8
- 238000009434 installation Methods 0.000 claims description 7
- 230000008878 coupling Effects 0.000 claims description 6
- 238000010168 coupling process Methods 0.000 claims description 6
- 238000005859 coupling reaction Methods 0.000 claims description 6
- RTAQQCXQSZGOHL-UHFFFAOYSA-N Titanium Chemical compound [Ti] RTAQQCXQSZGOHL-UHFFFAOYSA-N 0.000 claims description 4
- 230000004069 differentiation Effects 0.000 claims description 4
- 229910001220 stainless steel Inorganic materials 0.000 claims description 4
- 239000010935 stainless steel Substances 0.000 claims description 4
- 229910052719 titanium Inorganic materials 0.000 claims description 4
- 239000010936 titanium Substances 0.000 claims description 4
- QCWXUUIWCKQGHC-UHFFFAOYSA-N Zirconium Chemical compound [Zr] QCWXUUIWCKQGHC-UHFFFAOYSA-N 0.000 claims description 3
- 229910052726 zirconium Inorganic materials 0.000 claims description 3
- 238000000053 physical method Methods 0.000 claims description 2
- 239000008267 milk Substances 0.000 claims 1
- 210000004080 milk Anatomy 0.000 claims 1
- 235000013336 milk Nutrition 0.000 claims 1
- 230000000694 effects Effects 0.000 abstract description 2
- 239000000126 substance Substances 0.000 abstract description 2
- 230000000875 corresponding effect Effects 0.000 description 56
- 230000008901 benefit Effects 0.000 description 10
- 230000035945 sensitivity Effects 0.000 description 10
- VNWKTOKETHGBQD-UHFFFAOYSA-N methane Chemical compound C VNWKTOKETHGBQD-UHFFFAOYSA-N 0.000 description 6
- 238000012545 processing Methods 0.000 description 5
- 238000013461 design Methods 0.000 description 4
- 239000003921 oil Substances 0.000 description 4
- 239000000969 carrier Substances 0.000 description 3
- 238000005516 engineering process Methods 0.000 description 3
- 239000003345 natural gas Substances 0.000 description 3
- 230000001360 synchronised effect Effects 0.000 description 3
- 230000015572 biosynthetic process Effects 0.000 description 2
- 230000008859 change Effects 0.000 description 2
- 231100000676 disease causative agent Toxicity 0.000 description 2
- 238000009826 distribution Methods 0.000 description 2
- 230000002964 excitative effect Effects 0.000 description 2
- 238000005304 joining Methods 0.000 description 2
- 230000003534 oscillatory effect Effects 0.000 description 2
- 230000010363 phase shift Effects 0.000 description 2
- 238000005476 soldering Methods 0.000 description 2
- XLYOFNOQVPJJNP-UHFFFAOYSA-N water Substances O XLYOFNOQVPJJNP-UHFFFAOYSA-N 0.000 description 2
- 238000003466 welding Methods 0.000 description 2
- 229910001208 Crucible steel Inorganic materials 0.000 description 1
- 229910000746 Structural steel Inorganic materials 0.000 description 1
- 230000001133 acceleration Effects 0.000 description 1
- 230000009471 action Effects 0.000 description 1
- 230000005540 biological transmission Effects 0.000 description 1
- 230000002596 correlated effect Effects 0.000 description 1
- 238000001739 density measurement Methods 0.000 description 1
- 230000001419 dependent effect Effects 0.000 description 1
- 238000011161 development Methods 0.000 description 1
- 238000006073 displacement reaction Methods 0.000 description 1
- 239000000428 dust Substances 0.000 description 1
- 238000011156 evaluation Methods 0.000 description 1
- -1 for example Substances 0.000 description 1
- 239000000446 fuel Substances 0.000 description 1
- 239000011521 glass Substances 0.000 description 1
- 229910052751 metal Inorganic materials 0.000 description 1
- 239000002184 metal Substances 0.000 description 1
- 238000000034 method Methods 0.000 description 1
- 238000000465 moulding Methods 0.000 description 1
- 230000005693 optoelectronics Effects 0.000 description 1
- 230000008569 process Effects 0.000 description 1
- 238000004886 process control Methods 0.000 description 1
- 238000010791 quenching Methods 0.000 description 1
- 238000007670 refining Methods 0.000 description 1
- 230000001105 regulatory effect Effects 0.000 description 1
- 230000000717 retained effect Effects 0.000 description 1
- 230000002441 reversible effect Effects 0.000 description 1
- 230000001953 sensory effect Effects 0.000 description 1
- 239000007787 solid Substances 0.000 description 1
- 229910052715 tantalum Inorganic materials 0.000 description 1
- GUVRBAGPIYLISA-UHFFFAOYSA-N tantalum atom Chemical compound [Ta] GUVRBAGPIYLISA-UHFFFAOYSA-N 0.000 description 1
- 230000007306 turnover Effects 0.000 description 1
- 238000011144 upstream manufacturing Methods 0.000 description 1
Images
Classifications
-
- G—PHYSICS
- G01—MEASURING; TESTING
- G01F—MEASURING VOLUME, VOLUME FLOW, MASS FLOW OR LIQUID LEVEL; METERING BY VOLUME
- G01F1/00—Measuring the volume flow or mass flow of fluid or fluent solid material wherein the fluid passes through a meter in a continuous flow
- G01F1/76—Devices for measuring mass flow of a fluid or a fluent solid material
- G01F1/78—Direct mass flowmeters
- G01F1/80—Direct mass flowmeters operating by measuring pressure, force, momentum, or frequency of a fluid flow to which a rotational movement has been imparted
- G01F1/84—Coriolis or gyroscopic mass flowmeters
- G01F1/845—Coriolis or gyroscopic mass flowmeters arrangements of measuring means, e.g., of measuring conduits
- G01F1/8468—Coriolis or gyroscopic mass flowmeters arrangements of measuring means, e.g., of measuring conduits vibrating measuring conduits
- G01F1/849—Coriolis or gyroscopic mass flowmeters arrangements of measuring means, e.g., of measuring conduits vibrating measuring conduits having straight measuring conduits
- G01F1/8495—Coriolis or gyroscopic mass flowmeters arrangements of measuring means, e.g., of measuring conduits vibrating measuring conduits having straight measuring conduits with multiple measuring conduits
-
- G—PHYSICS
- G01—MEASURING; TESTING
- G01F—MEASURING VOLUME, VOLUME FLOW, MASS FLOW OR LIQUID LEVEL; METERING BY VOLUME
- G01F1/00—Measuring the volume flow or mass flow of fluid or fluent solid material wherein the fluid passes through a meter in a continuous flow
- G01F1/76—Devices for measuring mass flow of a fluid or a fluent solid material
- G01F1/78—Direct mass flowmeters
- G01F1/80—Direct mass flowmeters operating by measuring pressure, force, momentum, or frequency of a fluid flow to which a rotational movement has been imparted
- G01F1/84—Coriolis or gyroscopic mass flowmeters
- G01F1/8409—Coriolis or gyroscopic mass flowmeters constructional details
-
- G—PHYSICS
- G01—MEASURING; TESTING
- G01F—MEASURING VOLUME, VOLUME FLOW, MASS FLOW OR LIQUID LEVEL; METERING BY VOLUME
- G01F1/00—Measuring the volume flow or mass flow of fluid or fluent solid material wherein the fluid passes through a meter in a continuous flow
- G01F1/76—Devices for measuring mass flow of a fluid or a fluent solid material
- G01F1/78—Direct mass flowmeters
- G01F1/80—Direct mass flowmeters operating by measuring pressure, force, momentum, or frequency of a fluid flow to which a rotational movement has been imparted
- G01F1/84—Coriolis or gyroscopic mass flowmeters
- G01F1/8409—Coriolis or gyroscopic mass flowmeters constructional details
- G01F1/8413—Coriolis or gyroscopic mass flowmeters constructional details means for influencing the flowmeter's motional or vibrational behaviour, e.g., conduit support or fixing means, or conduit attachments
-
- G—PHYSICS
- G01—MEASURING; TESTING
- G01F—MEASURING VOLUME, VOLUME FLOW, MASS FLOW OR LIQUID LEVEL; METERING BY VOLUME
- G01F1/00—Measuring the volume flow or mass flow of fluid or fluent solid material wherein the fluid passes through a meter in a continuous flow
- G01F1/76—Devices for measuring mass flow of a fluid or a fluent solid material
- G01F1/78—Direct mass flowmeters
- G01F1/80—Direct mass flowmeters operating by measuring pressure, force, momentum, or frequency of a fluid flow to which a rotational movement has been imparted
- G01F1/84—Coriolis or gyroscopic mass flowmeters
- G01F1/8409—Coriolis or gyroscopic mass flowmeters constructional details
- G01F1/8431—Coriolis or gyroscopic mass flowmeters constructional details electronic circuits
-
- G—PHYSICS
- G01—MEASURING; TESTING
- G01F—MEASURING VOLUME, VOLUME FLOW, MASS FLOW OR LIQUID LEVEL; METERING BY VOLUME
- G01F1/00—Measuring the volume flow or mass flow of fluid or fluent solid material wherein the fluid passes through a meter in a continuous flow
- G01F1/76—Devices for measuring mass flow of a fluid or a fluent solid material
- G01F1/78—Direct mass flowmeters
- G01F1/80—Direct mass flowmeters operating by measuring pressure, force, momentum, or frequency of a fluid flow to which a rotational movement has been imparted
- G01F1/84—Coriolis or gyroscopic mass flowmeters
- G01F1/8409—Coriolis or gyroscopic mass flowmeters constructional details
- G01F1/8436—Coriolis or gyroscopic mass flowmeters constructional details signal processing
-
- G—PHYSICS
- G01—MEASURING; TESTING
- G01F—MEASURING VOLUME, VOLUME FLOW, MASS FLOW OR LIQUID LEVEL; METERING BY VOLUME
- G01F15/00—Details of, or accessories for, apparatus of groups G01F1/00 - G01F13/00 insofar as such details or appliances are not adapted to particular types of such apparatus
- G01F15/02—Compensating or correcting for variations in pressure, density or temperature
- G01F15/022—Compensating or correcting for variations in pressure, density or temperature using electrical means
- G01F15/024—Compensating or correcting for variations in pressure, density or temperature using electrical means involving digital counting
-
- G—PHYSICS
- G01—MEASURING; TESTING
- G01N—INVESTIGATING OR ANALYSING MATERIALS BY DETERMINING THEIR CHEMICAL OR PHYSICAL PROPERTIES
- G01N11/00—Investigating flow properties of materials, e.g. viscosity, plasticity; Analysing materials by determining flow properties
- G01N11/10—Investigating flow properties of materials, e.g. viscosity, plasticity; Analysing materials by determining flow properties by moving a body within the material
- G01N11/16—Investigating flow properties of materials, e.g. viscosity, plasticity; Analysing materials by determining flow properties by moving a body within the material by measuring damping effect upon oscillatory body
Landscapes
- Physics & Mathematics (AREA)
- General Physics & Mathematics (AREA)
- Fluid Mechanics (AREA)
- Analytical Chemistry (AREA)
- Life Sciences & Earth Sciences (AREA)
- Chemical & Material Sciences (AREA)
- Health & Medical Sciences (AREA)
- Biochemistry (AREA)
- General Health & Medical Sciences (AREA)
- Immunology (AREA)
- Pathology (AREA)
- Engineering & Computer Science (AREA)
- Signal Processing (AREA)
- Measuring Volume Flow (AREA)
Abstract
Измерительный преобразователь включает корпус преобразователя (7), у которого первый торец корпуса со стороны входа образован первым делителем потока (20), имеющим строго четыре, каждый на расстоянии друг от друга, порта потока (20, 20, 20, 20), а второй торец корпуса со стороны выхода образован вторым делителем потока (20), имеющим строго четыре, каждый на расстоянии друг от друга, порта потока (20, 20, 20, 20); а также строго четыре, образующие гидравлически параллельно подключенные тракты потока, подключенные к делителям потока (20, 20) прямые измерительные трубки (18, 18, 18, 18) для прохождения текучего носителя. Каждая из четырех измерительных трубок входит со стороны входа соответствующим торцом измерительной трубки в один из портов потока (20, 20, 20, 20) первого делителя потока (20) со стороны входа и соответствующим торцом измерительной трубки со стороны выхода в один из портов потока (20, 20, 20, 20) второго делителя потока (20) со стороны выхода. Кроме этого, измерительный преобразователь включает электромеханический возбудительный контур (5) для производства и/или поддержания механических колебаний четырех измерительных трубок (18, 18, 18, 18), причем выполненный таким образом, что измерительные трубки попарно приводятся в противофазные изгибные колебания в общей виртуальной плоскости колебаний (X, XZ). Технический результат - обеспечение приемлемой потери давления в широком диапазоне, особенно при очень высоких долях массового расхода свыше 2200 т/ч. 3 н. и 48 з.п. ф-лы, 8 ил.
Description
Изобретение относится к вибрационному измерительному преобразователю для измерения проходящей по трубопроводу текучей среды, в частности газа, жидкости, порошка или других текучих материалов, в частности, для измерения плотности и/или массового расхода, а также, в частности, суммарного за интервал времени массового расхода носителя, протекающей в трубопроводе, по меньшей мере, временно, с интенсивностью расхода более 2200 т/ч, в частности, более 2500 т/ч. Кроме того, изобретение относится к поточному контрольно-измерительному прибору с таким преобразователем.
В технологии процесса измерений и автоматизации для измерения физических параметров, таких как массовый расход, плотность и/или вязкость, текущих в трубопроводах носителя часто используются такие поточные контрольно-измерительные приборы, которые посредством вибрационного преобразователя, сквозь который протекает носитель, и подключенной к нему измерительной и операционной схемы вызывают в носителе реактивные силы, такие как связанные с массовым расходом Кориолисовые силы, связанные с плотностью среды силы инерции и/или связанные с вязкостью среды силы трения и т.д., и генерируют производный от них измерительный сигнал, характеризующий соответствующий массовый расход, соответствующую вязкость и/или соответствующую плотность носителя. Подобные преобразователи, в частности, выполненные как Кориолисов преобразователь массового расхода или Кориолисов преобразователь массового расхода и плотности подробно и в деталях описаны, например, в ЕР-А 1001254, ЕР-А 553939, US-A 4793191, US-A 2002/0157479, US-A 2006/0150750, US-A 2007/0151368, US-A 5370002, US-A 5796011, US-B 6308580, US-B 6415668, US-B 6711958, US-B 6920798, US-B 7134347, US-B 7392709, или в WO-A 03/027616.
Каждый преобразователь имеет корпус преобразователя, в котором на стороне входа расположен первый торец корпуса, сформированный, по меньшей мере, частично, имеющим ровно два расположенных с интервалом друг от друга круговые цилиндрические или конические порты потока первым делителем потока, и на стороне выхода второй торец корпуса, сформированный вторым делителем потока, имеющим, по крайней мере, частично ровно два расположенных с интервалом друг от друга порта потока. У некоторых, раскрытых в US-A 5796011, US-B 7350421, или US-A 2007/0151368 преобразователей корпус датчика имеет толстостенный трубчатый сегмент круговой цилиндрической формы, образующий, по меньшей мере, один средний сегмент корпуса преобразователя.
Кроме этого, для, по меньшей мере, временно текущего носителя каждый преобразователь включает ровно по две гидродинамические параллельно подключенные измерительные трубки из металла, в частности, из стали или титана, которые размещаются внутри корпуса преобразователя и закреплены в нем, с возможностью вибрировать за счет вышеупомянутых делителей потока. Первая из двух, как правило, конструктивно идентичных и проходящих параллельно друг к другу измерительных трубок вставлена на стороне входа первым торцом измерительной трубки в первый порт потока первого делителя потока на стороне входа и на стороне выхода вторым торцом измерительной трубки в первый порт потока второго делителя потока на стороне выхода, а вторая измерительная трубка вставлена на стороне входа первым торцом измерительной трубки во второй порт потока первого делителя потока и на стороне выхода вторым торцом измерительной трубки во второй порт потока второго делителя потока на стороне выхода. Каждый делитель потока имеет, кроме этого, по одному фланцу с уплотнительной поверхностью для герметичного подключения преобразователя к подводящему среду к преобразователю или к отводящему среду от преобразователя трубчатому сегменту трубопровода.
Измерительные трубки для создания указанных реактивных сил приводятся в вибрацию посредством предназначенной для производства или поддержания механических колебаний, в частности, изгибных колебаний измерительных трубок в так называемом приводном или рабочем режиме конфигурацией возбудителей. Колебания в рабочем режиме, как правило, в частности, при использовании измерительного преобразователя в виде Кориолисового преобразователя массового расхода и/или плотности, по меньшей мере, частично, выполняются как продольные изгибные колебания, на которые в случае протекания среды в измерительных трубках и, как следствие, индуцированных в среде сил Кориолиса накладываются дополнительные колебания такой же частоты в так называемом Кориолисовом режиме. Конфигурация возбудителей, как правило, электродинамическая, в случае использования прямых измерительных трубок выполняется таким образом, что обе измерительные трубки в рабочем режиме, по меньшей мере, частично, в частности, также главным образом, приводятся в противофазные изгибные колебания в общей плоскости колебаний дифференцировано, т.е. путем воздействия возбудительных сил одновременно вдоль одной общей линии, но в противоположных направлениях.
Для фиксации вибраций измерительных трубок, в частности вызванных конфигурацией возбудителей изгибных колебаний, и для генерирования характеризующих вибрации сигналов измерения колебаний измерительные преобразователи имеют по одному сенсорному контуру, как правило, также электродинамическому, реагирующему на относительные движения измерительных трубок. Как правило, сенсорный контур состоит из одного датчика колебаний на стороне входа, фиксирующего колебания измерительных трубок дифференцировано, т.е. только относительные колебания измерительных трубок, и одного фиксирующего колебания измерительных трубок дифференцировано датчика колебаний на стороне выхода. Каждый из, как правило, конструктивно идентичных, датчиков колебаний состоит из одного закрепленного на первой измерительной трубке постоянного магнита и одной цилиндрической катушки, закрепленной на второй измерительной трубке и пропускающей через себя его магнитное поле.
Во время работы указанная внутренняя часть измерительного преобразователя, включающая две измерительные трубки и закрепленные на них возбудительный и сенсорный контуры, приводится с помощью электромеханического возбудительного контура в механические колебания, по меньшей мере, временно в рабочем режиме, по меньшей мере, на одной доминирующей рабочей частоте колебаний. В качестве частоты колебаний в рабочем режиме выбирается, как правило, естественная текущая резонансная частота внутренней части, которая, в свою очередь, зависит, по сути, как от размеров, формы и материала измерительных трубок, так и от текущей плотности носителя; при известных обстоятельствах эта рабочая частота колебаний может существенным образом зависеть от текущей вязкости носителя. Вследствие изменяющейся плотности измеряемого носителя и/или вследствие произведенной во время работы замены носителя рабочая частота колебаний измерительного преобразователя может естественным образом меняться в пределах тарированного и, тем самым, заданного диапазона рабочих частот, имеющего, соответственно, заданную нижнюю и заданную верхнюю пограничную частоту.
Для определения свободной колебательной длины измерительных трубок и вытекающей из этого юстировки диапазона рабочих частот измерительные преобразователи вышеописанного типа часто включают также, по меньшей мере, один стыковочный элемент на стороне входа для создания на стороне входа колебательных узлов противофазных вибраций, в частности, изгибных колебаний, в обеих измерительных трубках, закрепленный с интервалом между двумя делителями потока на обеих измерительных трубках, а также, по меньшей мере, один стыковочный элемент на стороне выхода для создания на стороне выхода колебательных узлов противофазных вибраций, в частности, изгибных колебаний, измерительных трубок, закрепленный с интервалом между двумя делителями потока и стыковочным элементом со стороны входа на обеих измерительных трубках. В случае прямых измерительных трубок минимальное расстояние между стыковочными элементами на стороне входа и на стороне выхода - насколько они относятся к внутренней части - соответствует свободной длине колебания измерительных трубок. С помощью стыковочных элементов можно кроме этого, воздействовать на качество колебаний внутренней части, а также на чувствительность измерительного преобразователя путем предоставления минимальной свободной длины колебаний для минимально необходимой чувствительности измерительного преобразователя.
Развитие в области вибрационных измерительных преобразователей достигло сейчас такого уровня, что современные измерительные преобразователи указанного типа могут удовлетворять наивысшим требованиям по точности и воспроизводимости результатов измерений в широчайшем спектре применения измерительной техники для объемного расхода. Такие измерительные преобразователи используются на практике для измерения интенсивности массового расхода в пределах от нескольких г/ч (грамм в час) до нескольких т/ч (тонн в час) при давлении до 100 бар для жидкостей или даже свыше 300 бар для газов. Достигаемая при этом точность измерений составляет, как правило, 99,9% от фактического значения или выше, т.е. с погрешностью 0,1%, причем нижняя граница гарантированного диапазона измерения может составлять примерно 1% конечного значения диапазона измерения. Вследствие широкой сферы возможностей применения промышленные измерительные преобразователи вибрационного типа предлагаются с номинальными диаметрами (соответствует калибру подключаемого к измерительному преобразователю трубопровода или калибру измерительного преобразователя, замеренного на фланце подключения) в диапазоне от 1 мм до 250 мм и специфицированными при максимальной номинальной интенсивности массового расхода 2200 т/ч на соответствующие потери давления менее 1 бар. Калибр измерительных трубок в этом случае находится в диапазоне от 80 мм до 100 мм.
Несмотря на то что в настоящее время измерительные преобразователи предлагаются для применения в трубопроводах с очень высокой интенсивностью массового расхода и связанным с этим очень большим калибром намного более 100 мм, значительный интерес представляет применение измерительных преобразователей высокой точности и с малыми потерями давления для трубопроводов с еще большим калибром, примерно 300 мм и более, или с интенсивностью массового расхода 2500 т/ч и более, например, для применения в нефтехимической промышленности или в транспортировки и грузооборота нефти, природного газа, топлива и т.д. Это обуславливает наряду с масштабным расширение известной из уровня техники, в частности из EP-A 1 001 254, EP-A 553939, US-A 4793191, US-A 2002/0157479, US-A 2007/0151368, US-A 5370002, US-A 5796011, US-B 6308580, US-B 6711958, US-B 7134347, US-B 7350421 или WO-A 03/027616, и хорошо зарекомендовавшей себя концепции измерительных преобразователей также и то, что связанные, в частности, с необходимыми свойствами колебаний, необходимой допустимой нагрузкой и с максимально разрешенными потерями давления геометрические размеры, в частности, соответствующая расстоянию между уплотнительными плоскостями монтажная длина и, в случае изогнутых измерительных трубок, максимальный поперечный размер измерительного преобразователя, чрезвычайно увеличатся. При этом неизбежно увеличится и собственная масса измерительного преобразователя, причем обычные измерительные преобразователи большого диаметра уже имеют собственный вес примерно 400 кг. Исследования, проведенные для измерительных преобразователей с двумя изогнутыми измерительными трубками, как например в US-B 7350421 или US-A 5796011, в отношении подгонки их размеров к еще более крупным диаметрам, выявили, например, то, что при номинальном диаметре более 300 мм собственный вес увеличенного в размерах обычного измерительного преобразователя составит намного более 500 кг, соответственно монтажная длина составит более 3000 мм, а максимальный поперечный размер более 1000 мм.
Таким образом, промышленные, серийно производимые измерительные преобразователи обычного типа и из обычных материалов с номинальным диаметром более 300 мм в обозримом будущем вряд ли будут технически возможны и экономически оправданы.
Исходя из вышеуказанного уровня техники, задачей изобретения является измерительный преобразователь с высокой чувствительностью и доброкачественностью колебаний, который и при высокой интенсивности массового расхода более 2200 т/ч имеет малую потерю давления менее 1 бар и максимально возможную компактность при большом номинальном диаметре более 250 мм.
Для решения задачи изобретение включает измерительный преобразователь вибрационного типа для фиксации, по меньшей мере, одного физического параметра измерения содержащейся в трубопроводе текучего носителя, в частности, газа, жидкости, порошка или другого текучего материала, и/или для образования Кориолисовых сил, служащих для фиксации интенсивности массового расхода находящейся в трубопроводе текучей среды, в частности, газа, жидкости, порошка или другого текучего материала. Измерительный преобразователь включает согласно формуле изобретения корпус преобразователя, например, по сути, трубообразный и/или с внешней стороны круглоцилиндрический, образующий со стороны входа первый торец корпуса, образованный первым делителем потока со стороны входа, имеющим строго четыре расположенных на расстоянии друг от друга, например, круглоцилиндрических, конусообразных или конических порта потока, и со стороны выхода второй торец корпуса, образованный вторым делителем потока со стороны выхода, имеющим строго четыре расположенных на расстоянии друг от друга, например, круглоцилиндрических, конусообразных или конических порта потока. Кроме этого, измерительный преобразователь согласно формуле изобретения включает точно четыре прямых измерительных трубки для провода текучей среды, подключенные к, например, конструктивно идентичным делителям потока при условии образования гидротехнически параллельно включенных контуров потока, в частности, закрепленных с возможностью колебания с помощью указанных делителей потока в корпусе преобразователя и/или конструктивно идентичных и/или, по меньшей мере, попарно параллельных друг другу. Из четырех измерительных трубок первая, в частности, кругдоцилиндрическая измерительная трубка первым концом со стороны входа вставлена в первый порт потока первого делителя потока и со стороны выхода вторым концом - в первый порт потока второго делителя потока, вторая, в частности, круглоцилиндрическая измерительная трубка первым концом со стороны входа вставлена во второй порт потока первого делителя потока и со стороны выхода вторым концом - во второй порт потока второго делителя потока, третья измерительная трубка первым концом со стороны входа вставлена в третий порт потока первого делителя потока и со стороны выхода вторым концом - в третий порт потока второго делителя потока, а четвертая, в частности, круглоцилиндрическая измерительная трубка первым концом со стороны входа вставлена в четвертый порт потока первого делителя потока и со стороны выхода вторым концом - в четвертый порт потока второго делителя потока. Далее измерительный преобразователь включает согласно формуле изобретения электромеханический возбудительный контур, образованный, например, электродинамическими возбудителями колебаний, для производства и/или поддержания механических колебаний, например, изгибных колебаний, четырех измерительных трубок, причем возбудительный контур выполнена таким образом, что первая и вторая измерительные трубки приводятся в рабочем режиме в противофазные изгибные колебания в совместно предназначенной для этого первой плоскости колебаний, а третья и четвертая измерительные трубки в рабочем режиме приводятся в противофазные изгибные колебания в совместно предназначенной для этого второй плоскости колебаний, по сути, в частности, параллельной первой.
Согласно первому усовершенствованному варианту изобретения измерительный преобразователь включает также, в частности, пластинчатый, первый стыковочный элемент первого типа, закрепленный на стороне входа, по меньшей мере, на первой и на второй измерительной трубке с интервалом, как от первого, так и от второго делителя потока и предназначенный для создания колебательных узлов на стороне входе, по меньшей мере, для вибраций, в частности, изгибных колебаний, первой измерительной трубки и для противофазных вибраций, в частности, изгибных колебаний второй измерительной трубки, а также, в частности, пластинчатый и/или конструктивно идентичный и/или параллельный первому второй стыковочный элемент первого типа, предназначенный для создания колебательных узлов на стороне выхода, по меньшей мере, для вибраций, в частности, изгибных колебаний первой измерительной трубки и противофазных вибраций, в частности, изгибных колебаний второй измерительной трубки, закрепленный на стороне выхода, по меньшей мере, на первой и на второй измерительной трубке с интервалом, как от первого, так и от второго делителя потока, а также от первого стыковочного элемента.
Согласно первому варианту выполнения первого усовершенствованного варианта изобретения предусмотрено также, что все четыре измерительных трубки механически соединены друг с другом посредством первого стыковочного элемента первого типа и второго стыковочного элемента первого типа.
Согласно второму варианту выполнения первого усовершенствованного варианта изобретения предусмотрено также, что первый стыковочный элемент первого типа выполнен пластинчатым, в частности, таким образом, что он имеет прямоугольную, квадратную, круглую, крестообразную или Н-образную основную поверхность.
Согласно третьему варианту выполнения первого усовершенствованного варианта изобретения предусмотрено также, что второй стыковочный элемент первого типа выполнен пластинчатым, в частности, таким образом, что он имеет прямоугольную, квадратную, круглую, крестообразную или Н-образную основную поверхность.
Согласно четвертому варианту выполнения первого усовершенствованного варианта изобретения предусмотрено также, что первый стыковочный элемент первого типа закреплен также на третьей и на четвертой измерительных трубках и второй стыковочный элемент первого типа закреплен также на третьей и на четвертой измерительных трубках.
Согласно пятому варианту выполнения первого усовершенствованного варианта изобретения предусмотрено также, что центр тяжести первого стыковочного элемента первого типа расположен на расстоянии от центра тяжести измерительного преобразователя, равном, по сути, расстоянию центра тяжести второго стыковочного элемента первого типа от указанного центра тяжести измерительного преобразователя.
Согласно шестому варианту выполнения первого усовершенствованного варианта изобретения измерительный преобразователь выполнен таким образом, что свободная длина колебаний L18x первой измерительной трубки, в частности, каждой из измерительных трубок, соответствует минимальному расстоянию между первым стыковочным элементом первого типа и вторым стыковочным элементом первого типа и составляет менее 2500 мм, в частности, менее 2000 мм и/или более 800 мм. Измерительный преобразователь выполнен, в частности, таким образом, что каждая из четырех измерительных трубок, в частности, равнокалиберных и/или равнодлинных, имеет калибр более 60 мм, в частности, более 80 мм, в частности, таким образом, что соотношение калибра и длины колебаний измерительного преобразователя, определяемое отношением калибра первой измерительной трубки к свободной длине колебаний первой измерительной трубки, составляет более 0.07, в частности, более 0.09 и/или менее 0.15.
В дополнение к первому усовершенствованному варианту выполнения изобретения предусмотрено также, что измерительный преобразователь включает также, например, пластинчатый, третий стыковочный элемент первого типа, закрепленный на стороне входа, по меньшей мере, на третьей и на четвертой измерительной трубке с интервалом, как от первого, так и от второго делителя потока и предназначенный для создания колебательных узлов на стороне входа, по меньшей мере, для вибраций, в частности, изгибных колебаний, третьей измерительной трубки и для противофазных вибраций, в частности, изгибных колебаний четвертой измерительной трубки, а также, в частности, пластинчатый четвертый стыковочный элемент первого типа, предназначенный для создания колебательных узлов на стороне выхода, по меньшей мере, для вибраций, в частности, изгибных колебаний третьей измерительной трубки и противофазных вибраций, в частности, изгибных колебаний четвертой измерительной трубки, закрепленный на стороне выхода, по меньшей мере, на третьей и на четвертой измерительной трубке с интервалом, как от первого, так и от второго делителя потока, а также от третьего стыковочного элемента первого типа. Для этого все четыре измерительных трубки могут быть механически соединены друг с другом посредством третьего стыковочного элемента первого типа и четвертого стыковочного элемента первого типа.
Согласно второму усовершенствованному варианту выполнения изобретения измерительный преобразователь включает также, например, пластинчатый или прямолинейный первый стыковочный элемент второго типа, предназначенный для синхронизации вибраций, в частности, изгибных колебаний первой измерительной трубки и равных по частоте вибраций, в частности, изгибных колебаний третьей измерительной трубки и закрепленный с интервалом от первого стыковочного элемента первого типа и второго стыковочного элемента первого типа на первой и на третьей измерительной трубках, но не на какой другой из измерительных трубок, а также, например, пластинчатый или прямолинейный второй стыковочный элемент второго типа, предназначенный для синхронизации вибраций, в частности, изгибных колебаний второй измерительной трубки и равных по частоте вибраций, в частности, изгибных колебаний четвертой измерительной трубки и закрепленный с интервалом от первого стыковочного элемента первого типа и второго стыковочного элемента первого типа, а также от первого стыковочного элемента второго типа на второй и на четвертой измерительной трубках, но не на какой другой из измерительных трубок, в частности, таким образом, что первый и второй стыковочные элементы второго типа расположены в измерительном преобразователе напротив друг друга. В дополнение к этому измерительный преобразователь может также включать, например, пластинчатый или прямолинейный третий стыковочный элемент второго типа, предназначенный для синхронизации вибраций, в частности, изгибных колебаний первой измерительной трубки и равных по частоте вибраций, в частности, изгибных колебаний третьей измерительной трубки и закрепленный с интервалом от первого стыковочного элемента второго типа на первой и на третьей измерительной трубках, но не на какой другой из измерительных трубок, а также, например, пластинчатый или прямолинейный четвертый стыковочный элемент второго типа, предназначенный для синхронизации вибраций, в частности, изгибных колебаний второй измерительной трубки и равных по частоте вибраций, в частности, изгибных колебаний четвертой измерительной трубки и закрепленный с интервалом от второго стыковочного элемента второго типа и третьего стыковочного элемента второго типа на второй и на четвертой измерительной трубках, но не на какой другой из измерительных трубок, в частности, таким образом, что третий и четвертый стыковочные элементы второго типа расположены в измерительном преобразователе напротив друг друга.
Кроме этого, измерительный преобразователь может также включать, например, пластинчатый или прямолинейный пятый стыковочный элемент второго типа, предназначенный для синхронизации вибраций, в частности, изгибных колебаний первой измерительной трубки и равных по частоте вибраций, в частности, изгибных колебаний третьей измерительной трубки и закрепленный с интервалом от первого и третьего стыковочного элемента второго типа на первой и на третьей измерительной трубках, но не на какой другой из измерительных трубок, а также, например, пластинчатый или прямолинейный шестой стыковочный элемент второго типа, предназначенный для синхронизации вибраций, в частности, изгибных колебаний второй измерительной трубки и равных по частоте вибраций, в частности, изгибных второго, четвертого и пятого стыковочного элемента второго типа на второй и на четвертой измерительной трубках, но не на какой другой из измерительных трубок, в частности, таким образом, что пятый и шестой стыковочные элементы второго типа расположены в измерительном преобразователе напротив друг друга.
Согласно первому варианту выполнения изобретения также предусмотрено, что каждая из четырех измерительных трубок, в частности, равнокалиберных и/или равнодлинных, имеет калибр более 60 мм, в частности, более 80 мм.
Согласно второму варианту выполнения изобретения также предусмотрено, что первый делитель потока имеет фланец с массой, в частности, более 50 кг для подключения измерительного преобразователя к трубчатому сегменту трубопровода, предназначенного для подвода носителя к измерительному преобразователю, а второй делитель потока имеет фланец с массой, в частности, более 50 кг для подключения измерительного преобразователя к трубчатому сегменту трубопровода, предназначенного для отвода носителя из измерительного преобразователя. Для усовершенствования этого варианта выполнения изобретения каждый фланец имеет по одной уплотнительной поверхности для герметичного соединения измерительного преобразователя с соответствующим трубчатым сегментом трубопровода, причем расстояние между уплотнительными поверхностями обоих фланцев зависит от монтажной длины измерительного преобразователя и составляет, в частности, более 1200 мм и/или менее 3000 мм. Измерительный преобразователь выполнен кроме этого,, в частности, таким образом, что длина первой измерительной трубки, соответствующая минимальному расстоянию между первым портом потока первого делителя потока и первым портом потока второго делителя потока, выбрана таким образом, что соотношение длины измерительной трубки и монтажной длины измерительного преобразователя, определяемое отношением длины первой измерительной трубки к монтажной длине измерительного преобразователя составляет более 0.7, в частности, более 0.8 и/или менее 0.95, и/или что соотношение калибра и монтажной длины измерительного преобразователя, определяемое отношением калибра первой измерительной трубки к монтажной длине измерительного преобразователя, составляет более 0.02, в частности, более 0.05 и/или менее 0.09.
Альтернативно или в дополнение к этому измерительный преобразователь выполнен таким образом, что соотношение номинального диаметра и монтажной длины измерительного преобразователя, определяемое отношением номинального диаметра измерительного преобразователя к монтажной длине измерительного преобразователя составляет менее 0.3, в частности, менее 0.2 и/или более 0.1, причем номинальный диаметр соответствует калибру трубопровода, в который должен встраиваться измерительный преобразователь.
Согласно третьему варианту выполнения изобретения также предусмотрено, что длина первой измерительной трубки, соответствующая минимальному расстоянию между первым портом потока первого делителя потока и первым портом потока второго делителя потока, составляет более 1000 мм, в частности, более 1200 мм и/или менее 2000 мм.
Согласно четвертому варианту выполнения изобретения также предусмотрено, что каждая из четырех, в частности, равнокалиберных измерительных трубок расположена таким образом, что минимальный боковой зазор между каждой из четырех, в частности, равонодлинных измерительных трубок и боковой стенкой корпуса измерительного преобразователя больше нуля, в частности, больше 3 мм и/или больше чем двойная толщина соответствующей стенки трубки, и/или что каждый минимальный боковой зазор между двумя соседними измерительными трубками больше чем сумма соответствующих толщин стенок трубок.
Согласно пятому варианту выполнения изобретения также предусмотрено, что каждый из портов потока расположен таким образом, что минимальный боковой зазор между каждым портом потока и боковой стенкой корпуса измерительного преобразователя больше нуля, в частности, больше 3 мм и/или больше двойной минимальной толщины стенок измерительных трубок, и/или что минимальный боковой зазор между портами потока больше 3 мм и/или больше чем двойная толщина стенок измерительных трубок.
Согласно третьему усовершенствованному варианту выполнения изобретения измерительный преобразователь включает также множество кольцеобразных, в частности, конструктивно идентичных ребер жесткости для повышения доброкачественности колебаний измерительных трубок, каждое из которых расположено точно на одной из измерительных трубок таким образом, что оно обхватывает ее вдоль одной из линий окружности. Согласно третьему усовершенствованному варианту выполнения изобретения на каждой измерительной трубке в измерительном преобразователе расположены, по меньшей мере, четыре кольцеобразные, например, конструктивно идентичные, ребра жесткости, в частности, таким образом, что два соседних ребра на одной и той же измерительной трубке имеют интервал, который составляет, по меньшей мере, 70% внешнего диаметра соответствующей измерительной трубки, но не более 150% того же диаметра, например, в пределах от 80 до 120% указанного диаметра трубки.
Согласно четвертому усовершенствованному варианту выполнения изобретения измерительный преобразователь включает также сенсорный контур, например, электродинамический и/или состоящий из конструктивно идентичных датчиков колебаний, реагирующую на вибрации, в частности на изгибные колебания измерительных трубок, вызванные возбудительным контуром, для производства сигналов измерения колебаний, определяющих вибрации, в частности изгибные колебания измерительных трубок. Согласно первому варианту выполнения четвертого усовершенствованного варианта выполнения изобретения также предусмотрено, что сенсорный контур состоит из первого датчика колебаний со стороны входа, в частности, электродинамического и/или выборочно фиксирующего колебания первой измерительной трубки относительно второй измерительной трубки, а также из второго датчика колебаний со стороны выхода, в частности, электродинамического и/или выборочно фиксирующего колебания первой измерительной трубки относительно второй измерительной трубки, в частности, таким образом, что измерительная длина измерительного преобразователя, соответствующая минимальному зазору между первым и вторым датчиком колебаний, составляет более 500 мм, в частности, более 600 мм и/или менее 1200 мм, и/или что соотношение калибра и измерительной длины измерительного преобразователя, определяемое отношением калибра первой измерительной трубки к измерительной длине измерительного преобразователя составляет более 0.05, в частности, более 0.09. Кроме этого, первый датчик колебаний может состоять из закрепленного на первой измерительной трубке постоянного магнита и цилиндрической катушки, закрепленной на второй измерительной трубке и пропускающей через себя его магнитное поле, а второй датчик колебаний из закрепленного на первой измерительной трубке постоянного магнита и цилиндрической катушки, закрепленной на второй измерительной трубке и пропускающей через себя его магнитное поле.
Согласно второму варианту выполнения четвертого усовершенствованного варианта выполнения изобретения также предусмотрено, что сенсорный контур состоит из первого датчика колебаний со стороны входа, в частности, электродинамического и/или выборочно фиксирующего колебания первой измерительной трубки относительно второй измерительной трубки, из второго датчика колебаний со стороны выхода, в частности, электродинамического и/или выборочно фиксирующего колебания первой измерительной трубки относительно второй измерительной трубки, из третьего датчика колебаний со стороны входа, в частности, электродинамического и/или выборочно фиксирующего колебания третьей измерительной трубки относительно четвертой измерительной трубки, в частности, таким образом, что измерительная длина измерительного преобразователя, соответствующая минимальному зазору между первым и вторым датчиком колебаний, составляет более 500 мм, в частности, более 600 мм и/или менее 1200 мм, и/или что соотношение калибра и измерительной длины измерительного преобразователя, определяемое отношением калибра первой измерительной трубки к измерительной длине измерительного преобразователя составляет более 0.05, в частности, более 0.09. Для этого предпочтительно первый и третий датчик колебаний могут быть последовательно электрически подключены таким образом, что общий сигнал измерения колебаний будет отображать общие колебания со стороны входа первой и третьей измерительной трубки относительно второй и четвертой измерительной трубки, и/или второй и четвертый датчик колебаний могут быть последовательно электрически подключены таким образом, что общий сигнал измерения колебаний будет отображать общие колебания со стороны выхода первой и третьей измерительной трубки относительно второй и четвертой измерительной трубки. Альтернативно или в дополнение к этому первый датчик колебаний может состоять из закрепленного на первой измерительной трубке постоянного магнита и цилиндрической катушки, закрепленной на второй измерительной трубке и пропускающей через себя его магнитное поле, а второй датчик колебаний из закрепленного на первой измерительной трубке постоянного магнита и цилиндрической катушки, закрепленной на второй измерительной трубке и пропускающей через себя его магнитное поле, и/или третий датчик колебаний может состоять из закрепленного на третьей измерительной трубке постоянного магнита и цилиндрической катушки, закрепленной на четвертой измерительной трубке и пропускающей через себя его магнитное поле, а четвертый датчик колебаний из закрепленного на третьей измерительной трубке постоянного магнита и цилиндрической катушки, закрепленной на четвертой измерительной трубке и пропускающей через себя его магнитное поле.
Согласно шестому варианту выполнения изобретения также предусмотрено, что соотношение массы собственного веса всего измерительного преобразователя к собственному весу первой измерительной трубки больше 10, в частности, больше 15 и меньше 25.
Согласно седьмому варианту выполнения изобретения также предусмотрено, что собственный вес M18 первой измерительной трубки, в частности, каждой измерительной трубки больше 20 кг, в частности, больше 30 кг и/или меньше 50 кг.
Согласно восьмому варианту выполнения изобретения также предусмотрено, что собственный вес измерительного преобразователя больше 200 кг, в частности, больше 300 кг.
Согласно девятому варианту выполнения изобретения также предусмотрено, что номинальный расчетный диаметр измерительного преобразователя, соответствующий калибру трубопровода, в который должен быть вмонтирован измерительный преобразователь, составляет более 100 мм, в частности, более 300 мм. Предпочтительно измерительный преобразователь выполнен таким образом, что соотношение массы и расчетного диаметра измерительного преобразователя, определяемое отношением собственного веса измерительного преобразователя к номинальному расчетному диаметру измерительного преобразователя меньше чем 2 кг/мм, в частности, меньше чем 1 кг/мм и/или больше 0.5 кг/мм.
Согласно десятому варианту выполнения изобретения также предусмотрено, что первая и вторая измерительные трубки, по меньшей мере, относительно материала, из которого состоит стенка каждой трубки, и/или относительно геометрических размеров трубки, в частности, длины трубки, толщины стенки трубки, внешнего диаметра трубки и/или калибра трубки конструктивно идентичны.
Согласно одиннадцатому варианту выполнения изобретения также предусмотрено, что третья и четвертая измерительные трубки, по меньшей мере, относительно материала, из которого состоит стенка каждой трубки, и/или относительно геометрических размеров трубки, в частности, длины трубки, толщины стенки трубки, внешнего диаметра трубки и/или калибра трубки конструктивно идентичны.
Согласно двенадцатому варианту выполнения изобретения также предусмотрено, что четыре измерительных трубки относительно материала, из которого состоит стенка каждой трубки, и/или относительно геометрических размеров трубки, в частности, длины трубки, толщины стенки трубки, внешнего диаметра трубки и/или калибра трубки конструктивно идентичны. Преимуществом может являться то, что альтернативно этому как третья, так и четвертая измерительная трубка относительно геометрических размеров трубки, в частности, длины трубки, толщины стенки трубки, внешнего диаметра трубки и/или калибра трубки будут отличаться от первой и от второй измерительных трубок.
Согласно тринадцатому варианту выполнения изобретения также предусмотрено, что материал, из которого, по меньшей мере, частично состоят стенки четырех измерительных трубок, является титаном и/или цирконием, и/или дуплексной сталью, и/или супердуплексной сталью.
Согласно четырнадцатому варианту выполнения изобретения также предусмотрено, что корпус измерительного преобразователя, делители потока, стенки измерительных трубок соответственно состоят, например, из нержавеющей стали.
Согласно пятнадцатому варианту выполнения изобретения также предусмотрено, что минимальная резонансная частота изгибных колебаний, по меньшей мере, первой и второй измерительной рубки, по сути, одинакова и минимальная резонансная частота изгибных колебаний третьей и четвертой измерительной трубки, по сути, одинакова. При этом минимальные резонансные частоты изгибных колебаний всех четырех измерительных трубок могут быть, по сути, одинаковыми или же только попарно одинаковыми.
Согласно шестнадцатому варианту выполнения изобретения также предусмотрено, что четыре порта потока первого делителя потока расположены таким образом, что центры тяжести плоскостей поперечного сечения, в частности, круглой формы портов потока первого делителя потока образуют углы мнимого квадрата, причем названные плоскости поперечного сечения находятся в общей мнимой, расположенной вертикально относительно продольной оси, в частности, параллельной главной оси потока измерительного преобразователя плоскости сечения.
Согласно семнадцатому варианту выполнения изобретения также предусмотрено, что четыре порта потока второго делителя потока расположены таким образом, что центры тяжести плоскостей поперечного сечения, в частности, круглой формы портов потока первого делителя потока образуют углы мнимого квадрата, причем названные плоскости поперечного сечения находятся в общей мнимой, расположенной вертикально относительно продольной оси, в частности, параллельной главной оси потока измерительного преобразователя плоскости сечения второго делителя потока.
Согласно восемнадцатому варианту выполнения изобретения также предусмотрено, что конфигурация возбудителей образована первого возбудителя колебаний, в частности, электродинамического и\или выборочно возбуждающего колебания первой измерительной трубки относительно второй измерительной трубки. В частности, согласно первому усовершенствованному варианту выполнения восемнадцатого варианта выполнения изобретения конфигурация возбудителей образована вторым возбудителем колебаний, например, электродинамическим и/или выборочно возбуждающим колебания третьей измерительной трубки относительно четвертой измерительной трубки. При этом далее предусмотрено, что первый и второй возбудители колебаний подключены электрически последовательно таким образом, что общий пусковой сигнал возбуждает общие колебания первой и третьей измерительной трубки относительно второй и четвертой измерительных трубок. Возбудители колебаний конфигурации возбудителей могут состоять, например, из закрепленного на первой измерительной трубке постоянного магнита и цилиндрической катушки, закрепленной на второй измерительной трубке и пропускающей через себя его магнитное поле, причем второй возбудитель колебаний может состоять из закрепленного на третьей измерительной трубке постоянного магнита и цилиндрической катушки, закрепленной на четвертой измерительной трубке и пропускающей через себя его магнитное поле.
Согласно второму усовершенствованному варианту выполнения восемнадцатого варианта выполнения изобретения измерительный преобразователь включает далее первое пластинчатое ребро жесткости, закрепленное на первой и третьей измерительной трубке, причем на сегментах между первым возбудителем колебаний и первым делителем потока первой или третьей измерительной трубки, и предназначенное для настройки резонансной частоты изгибных колебаний первой и третьей измерительной трубки в третьей плоскости колебаний, лежащей, по сути, перпендикулярно первой и/или второй плоскости колебаний; второе пластинчатое ребро жесткости, закрепленное на второй и четвертой измерительной трубке, причем на сегментах между первым возбудителем колебаний и первым делителем потока второй или четвертой измерительной трубки, и предназначенное для настройки резонансной частоты изгибных колебаний второй и четвертой измерительной трубки в четвертой плоскости колебаний, лежащей, по сути, перпендикулярно первой и/или второй плоскости колебаний; третье пластинчатое ребро жесткости, закрепленное на первой и третьей измерительной трубке, причем на сегментах между первым возбудителем колебаний и вторым делителем потока первой или третьей измерительной трубки, и предназначенное для настройки резонансной частоты изгибных колебаний первой и третьей измерительной трубки в третьей плоскости колебаний; а также четвертой пластинчатое ребро жесткости, закрепленное на второй и четвертой измерительной трубке, причем на сегментах между первым возбудителем колебаний и вторым делителем потока первой или третьей измерительной трубки, и предназначенное для настройки резонансной частоты изгибных колебаний второй и четвертой измерительной трубки в четвертой плоскости колебаний.
Пластинчатые ребра жесткости при конфигурации датчиков, состоящей из первого датчика колебаний со стороны входа и второго датчика колебаний со стороны выхода, могут, например, располагаться в измерительном преобразователе таким образом, что первое пластинчатое ребро жесткости закреплено на сегменте первой измерительной трубки между первым датчиком колебаний и первым делителем потока вдоль одной из ее прямых боковых сторон, ближайшей к третьей измерительной трубке, а также на сегменте третьей измерительной трубки между первым датчиком колебаний и первым делителем потока вдоль одной из ее прямых боковых сторон, ближайшей к первой измерительной трубке; второе пластинчатое ребро жесткости закреплено на сегменте второй измерительной трубки между первым датчиком колебаний и первым делителем потока вдоль одной из ее прямых боковых сторон, ближайшей к четвертой измерительной трубке, а также на сегменте четвертой измерительной трубки между первым датчиком колебаний и первым делителем потока вдоль одной из ее прямых боковых сторон, ближайшей ко второй измерительной трубке; третье пластинчатое ребро жесткости закреплено на сегменте первой измерительной трубки между вторым датчиком колебаний и вторым делителем потока вдоль одной из ее прямых боковых сторон, ближайшей к третьей измерительной трубке, а также на сегменте третьей измерительной трубки между вторым датчиком колебаний и вторым делителем потока вдоль одной из ее прямых боковых сторон, ближайшей к первой измерительной трубке; четвертое пластинчатое ребро жесткости закреплено на сегменте второй измерительной трубки между вторым датчиком колебаний и вторым делителем потока вдоль одной из ее прямых боковых сторон, ближайшей к четвертой измерительной трубке, а также на сегменте четвертой измерительной трубки между вторым датчиком колебаний и вторым делителем потока вдоль одной из ее прямых боковых сторон, ближайшей ко второй измерительной трубке. Следует учесть, что каждое из четырех, например, конструктивно идентичных друг другу пластинчатых ребер жесткости выполнено и размещено в измерительном преобразователе таким образом, что оно имеет высоту, соответствующую минимальному расстоянию между боковыми линиями двух измерительных трубок, вдоль которых оно закреплено, и которая более чем вполовину меньше измеренной по указанным боковым линиям указанного пластинчатого ребра жесткости. Дополнительно каждое из четырех пластинчатых ребер жесткости выполнено таким образом, что длина каждого пластинчатого ребра жесткости больше, в частности более чем в два раза, ширины указанного пластинчатого ребра жесткости.
Согласно девятнадцатому варианту выполнения изобретения также предусмотрено, что средний сегмент корпуса преобразователя выполнен из прямой, например круглоцилиндрической, трубы.
Согласно двадцатому варианту выполнения изобретения также предусмотрено, что корпус преобразователя выполнен в основном трубообразным, например круглоцилиндрическим. Для этого также предусмотрено, что корпус преобразователя имеет максимальный внутренний диаметр больше 150 мм, в частности больше 250 мм, в частности таким образом, что соотношение внутреннего диаметра корпуса к внутреннему диаметру измерительной трубки у измерительного преобразователя, определяемое соотношением максимального внутреннего диаметра корпуса к калибру первой измерительной трубки, выдерживается больше 3, в частности больше 4 и/или меньше 5 и/или соотношение внутреннего диаметра корпуса к номинальному диаметру у измерительного преобразователя, определяемое соотношением максимального внутреннего диаметра корпуса к номинальной ширине измерительного преобразователя, меньше 1,5, в частности меньше 1,2 и/или больше 0,9, причем номинальный диаметр соответствует калибру трубопровода, в котором необходимо установить измерительный преобразователь. Соотношение внутреннего диаметра корпуса к номинальной ширине у измерительного преобразователя может при этом быть преимущественно равным, например, одному.
Кроме этого, изобретение включает поточный контрольно-измерительный прибор (КИП) для измерения плотности и/или массового расхода, в частности суммарного за определенный промежуток времени общего массового расхода протекающего по трубопроводу, по меньшей мере, временно, носителя с массовым расходом более 2200 т/ч, в частности газа, жидкости, порошка или другого текучего материала, который (поточный контрольно-измерительный прибор) выполнен в частности как компактный прибор, включает так называемый измерительный преобразователь, а также соединенный с измерительным преобразователем электрически, в частности и неподвижно механически, измерительный электронный блок КИП.
Основная идея изобретения состоит в замене применения в обычных измерительных преобразователях большого номинального диаметра двух параллельных проточных измерительных трубок на четыре параллельно-проточных прямых измерительные трубки, и таким образом, с одной стороны, оптимально использовать ограниченное пространство, с другой стороны, обеспечить приемлемую потерю давления в широком диапазоне, особенно при очень высоких долях массового расхода свыше 2200 т/ч. Кроме этого,, определяемое общим поперечным сечением четырех измерительных трубок действительное поперечное проточное сечение внутренней части по сравнению с обычными измерительными преобразователями только с двумя измерительными трубками с аналогичными номинальным диаметром и собственной массой можно легко увеличить более чем на 20%.
Преимущество измерительного преобразователя согласно изобретению состоит кроме этого, в том, что могут применяться или незначительно усовершенствоваться преимущественно основные концепции конструкции, касающиеся применяемых материалов, технологии соединения, производственных процессов и т.д., тем самым производственные издержки в основном сравнимы с такими же у обычных измерительных преобразователей. Таким образом, еще одно преимущество изобретения состоит в том, что появляется возможность создания на только сравнительно компактных измерительных преобразователей вибрационного типа с большим номинальным диаметром более 150 мм, в частности более 250 мм, с удобными в пользовании геометрическими размерами и собственной массой, но и их экономически целесообразного применения.
Измерительный преобразователь согласно изобретению предназначен в первую очередь для измерения текучих носителей в трубопроводе калибра более 150 мм, в частности 300 мм и более. Кроме этого, измерительный преобразователь пригоден и для измерения массовых расходов потока более, по меньшей мере, временно, 2200 т/ч, в частности, по меньшей мере, временно более 2400 т/ч, как это встречается, например, в случаях с нефтью, природным газом и другими нефтехимическими материалами.
Изобретение и предпочтительные варианты его выполнения подробно представлены на примере фигур чертежей. Одни и те же детали обозначены на всех фигурах одинаковыми ссылочными позициями для наглядности в последующих фигурах уже указанные ссылки не обозначаются. Другие предпочтительные варианты выполнения или усовершенствования, в частности комбинации раскрытых по отдельности аспектов изобретения, следуют из фигур чертежей и из зависимых пунктов формулы.
На чертежах представлено следующее:
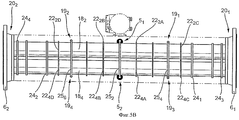
фиг.1, 2 - вид сбоку поточного КИП, например Кориолисового измерительного преобразователя расхода/плотности/вязкости;
фиг.3a, b - две различных боковых проекции поточного КИП по фиг.1;
фиг.4 - вид сбоку измерительного преобразователя вибрационного типа, встроенного в поточный КИП по фиг.1;
фиг.5a, b - два различных вида сбоку измерительного преобразователя вибрационного типа по фиг.4;
фиг.6a, b - два различных вида сбоку внутренней части измерительного преобразователя по фиг.4;
фиг.7 - вид сбоку усовершенствованного измерительного преобразователя по фиг.4, встроенного в поточный КИП по фиг.1;
фиг.8а, b - два вида сбоку измерительного преобразователя по фиг.7.
На фиг.1, 2 схематично показан поточный КИП, например Кориолисовый измерительный преобразователь массового расхода и/или плотности, служащий для регистрации массового расхода и индикации отображающего его фактического показателя массового расхода носителя в трубопроводе, не изображенном по причине наглядности. Носителем может быть практически любой текучий материал, например порошок, жидкость, газ, пар или т.п. Альтернативно или дополнительно поточный КИП 1 может при необходимости применяться и для измерения плотности p и/или вязкости η носителя. В частности, поточный КИП предусмотрен для измерения таких носителей, как нефть, природный газ или другие нефтехимические материалы, в трубопроводе калибра более 250 мм, в частности 300 мм и более. В первую очередь поточный КИП предназначен для измерения текучих носителей в.н. типа с долей массового расхода более 2200 т/ч, в частности более 2500 т/ч.
Для этих целей поточный КИП 1 включает измерительный преобразователь вибрационного типа 11, в котором протекает измеряемый носитель, а также электронный измерительный блок КИП 12, электрически соединенный с измерительным преобразователем 11 и изображенный не детально, а только схематично как блок коммутации. Электронный блок КИП выполнен преимущественно таким образом, что он может в рабочем режиме КИП обмениваться измерительными и/или другими рабочими параметрами с главным блоком обработки данных, например с программируемым контроллером управления, ПК и/или рабочей станцией, т.е. с системой передачи данных, например по проводам, с системой полевых шин, и/или без проводов по радио. Кроме этого, электронный блок КИП 12 выполнен таким образом, что он может запитываться от внешнего источника энергии, например через систему полевых шин. Если предусмотрено соединение поточного КИП 1 с системой полевых шин или другой коммутационной системой, то электронный блок КИП 12, в частности программируемый, имеет для этого соответствующий коммутационный интерфейс для передачи данных, например для передачи измерительных данных на программируемый контроллер управления или главную систему управления процессом.
На фиг.4, 5a, 5b, 6a, 6b, 7, 8a, 8b показаны в различных видах варианты выполнения поточного КИП 1, в частности измерительного преобразователя 11 вибрационного типа в виде кориолисового измерительного преобразователя массового расхода, плотности и/или вязкости, установленного в не изображенном по причине наглядности трубопроводе с подлежащим измерению носителем, например порошком, жидкостью, газом или паром. Измерительный преобразователь 11 предназначен для производства в протекающем носителе механических реактивных сил, в частности зависящих от массового расхода Кориолисовых сил, зависящих от плотности носителя инерционных сил и/или зависящих от вязкости носителя сил трения, которые можно измерить, в частности зафиксировать через датчики, и которые действуют с обратной силой на измерительный преобразователь. На основе этих, характерных для носителя реактивных сил посредством электронного блока КИП можно замерять в соответствии с применяемыми методами оценки известным для специалиста способом, например массовый расход, плотность и/или вязкость носителя.
Измерительный преобразователь 11 включает служащий, в том числе как несущая конструкция главным образом трубообразный, снаружи круглоцилиндрический корпус преобразователя 71, в котором расположены и защищены от внешних воздействий другие компоненты измерительного преобразователя 11. В изображенном варианте выполнения изобретения, по меньшей мере, средний сегмент корпуса преобразователя 71 сформирован из прямой, в частности круглоцилиндрической, трубы, таким образом, для изготовления корпуса преобразователя можно использовать, например, экономичные сварные или литые стандартные трубы, например из стального литья или кованой стали.
Первый торец корпуса преобразователя 71 со стороны входа образован первым делителем потока 201 со стороны входа, а второй торец корпуса преобразователя 71 со стороны выхода образован вторым делителем потока 202 со стороны выхода. Каждый из двух делителей потока 201, 202, выполненных как встроенные составные части корпуса, имеет точно четыре расположенных на расстоянии друг от друга порта потока 201A, 201B, 201C, 201D или 202A, 202B, 202C, 202D, например круглоцилиндрических или конусообразных, или в виде внутреннего конуса.
Кроме этого, каждый делитель потока 201, 202, выполненный, например из стали, имеет по одному выполненному, например, из стали фланцу 61 или 62 для подключения измерительного преобразователя 11 к сегменту подводящего носитель трубопровода или к сегменту отводящего носитель трубопровода соответственно. Каждый из двух фланцев 61, 62 имеет согласно варианту выполнения изобретения массу более 50 кг, в частности более 60 кг и/или менее 100 кг. Для плотного, в частности герметичного соединения измерительного преобразователя с соответствующим сегментом трубы трубопровода каждый фланец имеет также по одной соответствующей, по возможности плоской уплотнительной поверхности 61A или 62A. Расстояние между обеими уплотнительными поверхностями 61A, 62A обоих фланцев определяет практически тем самым монтажную длину измерительного преобразователя 11. Фланцы выполнены, в частности относительно внутреннего диаметра, соответствующей уплотнительной поверхности и размещения соответствующих соединительных болтов в отверстиях фланцев согласно предусмотренному для измерительного преобразователя 11 номинальному диаметру D11, соответствующему калибру трубопровода, в котором применяется измерительный преобразователь, а также, при необходимости, действующим промышленным стандартам.
Из-за необходимого для измерительного преобразователя большого номинального диаметра эта монтажная длина L11 согласно варианту выполнения изобретения составляет более 1200 мм. Также предусмотрено, что монтажная длина измерительного преобразователя 11 должна быть максимально короткой, в частности меньше 3000 мм. Фланцы 61, 62 могут быть расположены, как показано на фиг.4 и как это принято для подобных измерительных преобразователей, максимально близко к портам потока делителей потока 201, 202 для создания максимально короткого приточно-отточного промежутка в делителях потока и, тем самым, для обеспечения максимально малой монтажной длины L11 измерительного преобразователя, в частности менее 3000 мм. Для максимально компактного измерительного преобразователя с необходимой высокой долей массового расхода более 2200 т/ч согласно другому варианту выполнения изобретения монтажная длина и номинальный диаметр рассчитаны соответственно таким образом, что соотношение номинального диаметра к монтажной длине D11/ L11 измерительного преобразователя, определяемое соотношением номинального диаметра D11 измерительного преобразователя к монтажной длине L11 измерительного преобразователя, меньше 0,3, в частности меньше 0,2 и/или больше 0,1.
В другом варианте выполнения измерительного преобразователя корпус преобразователя включает средний сегмент, выполненный, главным образом, в форме трубы. Далее предусмотрено, что корпус преобразователя рассчитан таким образом, что соотношение внутреннего диаметра корпуса к номинальному диаметру измерительного преобразователя, определяемое соотношением максимального внутреннего диаметра корпуса к номинальному диаметру преобразователя, хотя и больше 0,9, но меньше чем 1,5, по возможности меньше 1,2.
В показанном варианте выполнения изобретения со стороны входа или со стороны выхода к среднему сегменту также присоединены оконечные сегменты в форме трубы. В показанном варианте выполнения, при котором средний сегмент и оба оконечных сегмента, а также соединенные с соответствующим фланцем делители потока в приточной или отточной зоне имеют одинаковый внутренний диаметр, корпус измерительного преобразователя преимущественно может быть выполнен из цельной, например литой или кованой трубы, на торцах которой заформованы или приварены фланцы и делители потока образованы пластинами, приваренными орбитально и/или посредством лазера к внутренним стенкам, в частности на определенном расстоянии от фланцев, и имеющими порты потока. В частности, когда соотношение внутреннего диаметра корпуса к номинальному диаметру измерительного преобразователя выбрано равным единице, корпус преобразователя может быть выполнен, например, из соответствующей подключаемому трубопроводу по калибру, толщине стенок и материалу, а также по допустимому рабочему давлению соответственно подобранной трубы, соответствующей по длине выбранной длине измерительных трубок. Для упрощения транспортировки измерительного преобразователя или всего, образованного им поточного КИП может быть предусмотрена транспортная проушина, закрепленная снаружи со стороны входа и со стороны выхода на корпусе преобразователя, например, как это предложено в документе US-B 07350421.
Для прохождения, по меньшей мере, временно, по трубопроводу и измерительному преобразователю текучего носителя измерительный преобразователь согласно изобретению включает строго четыре измерительных трубки 181, 182, 183, 184, закрепленные в корпусе преобразователя 10 с возможность колебания, в частности параллельных друг другу и/или с одинаковой длиной, каждая из которых в рабочем режиме коммуницирует с трубопроводом и может вибрировать, по меньшей мере, временно, по меньшей мере, в одном колебательном режиме, необходимом для фиксации физических измерительных параметров, в эффективном режиме. В частности, в качестве эффективного режима для каждой измерительной трубки 181, 182, 183, 184 подходит естественный основной режим изгибных колебаний, который при минимальной резонансной частоте изгибных колебаний f181, f182, f183 или f184 имеет строго одну пучность колебаний.
Из четырех измерительных трубок, в данном случае, в основном круглоцилиндрических, равных по длине и параллельных друг другу, а также среднему сегменту трубы корпуса измерительного преобразователя, первая измерительная трубка 181 первым торцом со стороны входа заходит в первый порт потока 201A первого делителя потока 201, а вторым торцом измерительной трубки со стороны выхода заходит в первый порт потока 202A второго делителя потока 202; вторая измерительная трубка 182 первым торцом со стороны входа заходит во второй порт потока 201B первого делителя потока 201, а вторым торцом измерительной трубки со стороны выхода заходит во второй порт потока 202B второго делителя потока 202; третья измерительная трубка 183 первым торцом со стороны входа заходит в первый порт потока 201C первого делителя потока 201, а вторым торцом измерительной трубки со стороны выхода заходит в третий порт потока 202C второго делителя потока 202; четвертая измерительная трубка 184 первым торцом со стороны входа заходит в четвертый порт потока 201D первого делителя потока 201, а вторым торцом измерительной трубки со стороны выхода заходит в четвертый порт потока 202D второго делителя потока 202. Четыре измерительные трубки 181, 182, 183, 184 подключены тем самым к, в частности конструктивно одинаковым, делителям потока 201, 202, образуя гидравлически параллельно подключенные контуры с возможностью вибрирования, в частности совершения изгибных колебаний, измерительных трубок относительно друг друга и относительно корпуса преобразователя. Также предусмотрено закрепление четырех измерительных трубок 181, 182, 183, 184 строго посредством в.н. делителей потока 201, 202 в корпусе преобразователя 71.
Измерительные трубки 181, 182, 183, 184 или образованная ими внутренняя часть измерительного преобразователя 11, как это показано на фиг.1, 2 и 4 и является нормой для подобных измерительных преобразователей, практически полностью защищены корпусом преобразователя 71 Корпус преобразователя 71 является, таким образом, не только несущей конструкцией или креплением для измерительных трубок 181, 182, 183, 184, но и защитой трубок и других компонентов, размещенных в измерительном преобразователе, от внешних воздействий, например, пыли или водяных брызг. Корпус преобразователя 71 может быть также выполнен и иметь такие габариты, что при возможных повреждениях одной или нескольких измерительных трубок, например, при образовании трещин или разрывов, вытекающий носитель может полностью задерживаться внутри корпуса преобразователя 71 максимально долго до достижения необходимого максимального превышения давления, причем такое критическое положение, как это указано и в документе US-B 7392709, может быть зафиксировано и сигнализировано посредством соответствующих датчиков давления и/или выдаваемых электронным блоком КИП в рабочем режиме рабочих параметров. В качестве материала для корпуса преобразователя 71 могут применяться специальные сорта стали, например строительная сталь или н/ж сталь, или же другие подходящие или, как правило, подходящие для этого высокопрочные материалы.
Согласно одному из вариантов выполнения изобретения четыре измерительные трубки 181, 182, 183, 184 могут быть выполнены и смонтированы в измерительном преобразователе 11 таким образом, что, по меньшей мере, минимальные резонансные частоты изгибных колебаний f181 f182 первой и второй измерительных трубок 181, 182 являются в основном равными и, по меньшей мере, минимальные резонансные частоты изгибных колебаний f183 f184 являются по существу равными.
Согласно другому варианту выполнения изобретения, по меньшей мере, первая и вторая измерительные трубки 181, 182 выполнены конструктивно идентично относительно материала стенок трубок и/или геометрических размеров трубок, в частности, длины трубок, толщины стенок, наружного диаметра и/или калибра. Также, по меньшей мере, третья и четвертая измерительные трубки 183, 184 выполнены конструктивно идентично относительно материала стенок трубок и/или геометрических размеров трубок, в частности, длины трубок, толщины стенок, наружного диаметра и/или калибра, т.е. четыре измерительные трубки 181, 182, 183, 184, по меньшей мере, попарно выполнены конструктивно идентично. Согласно другому варианту выполнения изобретения также предусмотрено, что третья и четвертая измерительные трубки выполнены таким образом, что обе трубки относительно соответствующих геометрических размеров, в частности длины, толщины стенок, наружного диаметра и/или калибра трубок, отличаются от первой и от второй измерительной трубки, в частности тем, что минимальные резонансные частоты изгибных колебаний четырех измерительных трубок попарно идентичны. Образованное таким образом нарушение симметрии четырех измерительных трубок 181, 182, 183, 184 может целенаправленно согласовать, кроме прочего, чувствительность, характер колебаний, в частности собственные механические частоты и/или поперечную чувствительность к определяющим первичное измерение параметров помех, в частности распределение температуры или давления, наполнение носителя посторонними материалами и т.д., двух отличных друг от друга пар измерительных трубок 181, 182 или 183, 184 и тем самым обеспечить улучшение показателей диагностики измерительного преобразователя в рабочем режиме. Конечно, четыре измерительные трубки 181, 182, 183, 184, могут быть, при необходимости, выполнены конструктивно идентично относительно материала стенок трубок и/или геометрических размеров трубок, в частности, длины трубок, толщины стенок, наружного диаметра и/или калибра, в частности таким образом, что в результате минимальные резонансные частоты изгибных колебаний всех четырех измерительных трубок 181, 182, 183, 184 по существу равны.
В качестве материала для стенок трубок в первую очередь годится титан, цирконий и тантал. Кроме этого, материалом для четырех измерительных трубок 181, 182, 183, 184 может служить практически любой другой, используемый, как правило, для этих целей или, по меньшей мере, подходящий материал, в частности, материал с максимально малым термическим коэффициентом растяжения и максимально высоким пределом текучести. Поэтому для основного применения в промышленной измерительной технике, в частности в нефтехимической промышленности, подходят измерительные трубки из н/ж стали, например их дуплексной или супердуплексной стали, отвечающие требованиям механической прочности, химической устойчивости, а также термического воздействия. Таким образом, корпус преобразователя 71, делители потока 201, 202 и измерительные трубки 181, 182, 183, 184 изготовлены в первую очередь из стали с соответствующими высокими характеристиками, что является преимуществом относительно материальных и производственных затрат, а также повышает тепловые расширительные характеристики измерительного преобразователя 11 в рабочем режиме.
Согласно другому предпочтительному варианту выполнения изобретения порты потока первого делителя потока 201 расположены таким образом, что виртуальные плоскостные центры тяжести находятся относительно общей, виртуальной, перпендикулярной продольной оси преобразователя, в частности параллельной главной оси потока преобразователя, плоскости - в данном случае круглой - сечения первого делителя потока, в плоскостях поперечного сечения портов потока первого делителя потока и образуют вершинами своих углов виртуальный квадрат. Порты потока второго делителя потока 202 также расположены таким образом, что относящиеся к плоскостям - в данном случае также круглым - поперечного сечения портов потока второго делителя потока 203 виртуальные плоскостные центры тяжести образуют виртуальный квадрат, причем в.н. плоскости поперечного сечения находятся в общей, виртуальной, перпендикулярной продольной оси преобразователя, в частности параллельной главной оси потока преобразователя, плоскости сечение второго делителя потока. В результате этого огибающая четырех измерительных трубок 181, 182, 183, 184 образует практически прямое квадратоподобное тело с квадратной основной плоскостью, обладающей четырехзначной симметрией, что может минимизировать необходимым для компактности измерительного преобразователя 11 образом необходимое внутреннее пространство преобразователя, образованного четырьмя измерительными трубками.
Согласно другому варианту выполнения изобретения каждая измерительная трубка расположена в измерительном преобразователе таким образом, что минимальное боковое расстояние между каждой из четырех, в частности равных по длине, измерительных трубок и боковой стенкой корпуса преобразователя больше нуля, в частности больше 3 мм и/или больше двойной толщины стенки каждой трубки или, что минимальное боковое расстояние между двумя соседними измерительными трубками больше 3 мм и/или больше суммы толщин их стенок. Соответственно каждый порт потока расположен таким образом, что минимально боковое расстояние между каждым портом потока и стенкой корпуса преобразователя 71 больше нуля, в частности больше 3 мм и/или больше двойной наименьшей толщины стенок измерительных трубок 181, 182, 183, 184 или, что минимальное боковое расстояние между портами потока больше 3 мм и/или больше двойной наименьшей толщины стенок измерительных трубок 181, 182, 183, 184. Для этого по другому варианту выполнения изобретения четыре измерительные трубки 181, 182, 183, 184 и корпус измерительного преобразователя 71 рассчитаны по своим взаимно соотнесенным габаритам таким образом, что соотношение внутреннего диаметра корпуса преобразователя к внутреннему диаметру измерительной трубки, определяемое соотношением максимального внутреннего диаметра корпуса к калибру, по меньшей мере, первой измерительной трубки больше 3, в частности больше 4 и/или меньше 5.
Как указывалось выше, необходимые для измерения реактивные силы в измеряемом носителе возникают в измерительном преобразователе за счет колебаний измерительных трубок 181, 182, 183, 184 в сигнальном режиме. Для этого измерительный преобразователь включает конфигурацию возбудителей, воздействующую, по меньшей мере, одним электромеханическим, например, электродинамическим, возбудителем колебаний на измерительные трубки 181, 182, 183, 184, которая предназначена для того, чтобы возбуждать или поддерживать, по меньшей мере, временно, рабочие сигнальные колебания в каждой измерительной трубке, необходимые для конкретных измерений, в частности, изгибные колебания, в так называемом сигнальном режиме с достаточно высокой амплитудой колебаний, необходимой для возникновения и фиксации в.н. реактивных сил в носителе. Возбудитель колебаний, по меньшей мере, один, предназначен в первую очередь для преобразования электрической мощности возбудителя Рехс, питаемой соответствующим блоком измерения и управления, например, кориолисового счетчика массового расхода, в, например, пульсирующие или гармонические силы возбуждения Fexc, воздействующие на измерительные трубки максимально одновременно, равномерно, но с обратной последовательностью. Силы возбуждения Fexc могут известным для специалиста способом, например посредством предусмотренного в электронном блоке измерения и управления схемы регулировки электрического напряжения юстироваться в отношении амплитуды и, например, посредством также предусмотренного в электронном блоке измерения и управления фазовой автоматической подстройки частоты (ФАПЧ), см., например, US-A 4801897 или US-B 6311136.
Возбуждаемые в сигнальном режиме в измерительных трубках колебания индуцируют в протекающем по ним носителе Кориолисовые силы, которые вызывают дополнительные деформации измерительных трубок, соответствующие более высокому колебательному режиму, так называемому Кориолисовому режиму. Например, в измерительных трубках 181, 182, 183, 184 в рабочем режиме могут возбуждаться закрепленной на них электромеханической конфигурацией возбудителей колебаний изгибные колебания, в частности на фактической механической собственной частоте образованной четырьмя измерительными трубками XZ2 внутренней части, при которых трубки, по меньшей мере, большей частью колеблются в соответствующей плоскости колебаний в горизонтальной направлении и, как показано на фиг.3а, 3b или 6а, 6b, попарно в общей плоскости колебаний XZ1 или XZ2 по сущности противофазно друг другу. Это происходит, в частности, таким образом, что одновременные вибрации каждой измерительной трубки 181, 182, 183, 184 в рабочем режиме, по меньшей мере, временно и/или, по меньшей мере, частично выполняются в виде изгибных колебаний вокруг виртуальной продольной оси измерительных трубок, соединяющей первый и соответствующий второй торец соответствующей измерительной трубки, причем четыре продольных оси измерительных трубок 181, 182, 183, 184 согласно данному варианту выполнения изобретения проходят в равной степени параллельно друг другу аналогично измерительным трубкам 181, 182, в одной плоскости и по сущности параллельно виртуальной продольной оси измерительного преобразователя, виртуально соединяющей оба делителя потока и проходящей через центр тяжести массы измерительного преобразователя. Другими словами измерительные трубки измерительного преобразователя вибрационного типа могут соответственно, по меньшей мере, частично совершать в режиме изгибных колебаний колебания по типу двусторонне закрепленной струны. В соответствии с этим по другому варианту выполнения изобретения в первой и второй измерительной трубке 181, 182 вызываются соответственно изгибные колебания, лежащие в общей первой плоскости колебаний XZ1 и соответственно образующиеся в одной плоскости. Также предусмотрены противофазные колебания третьей и четвертой измерительной трубки 183, 184 в равной степени в одной общей плоскости колебаний XZ2, в частности, по сущности параллельной первой плоскости колебаний XZ1, см. фиг.6а, 6b.
Согласно одному из вариантов выполнения изобретения в измерительных трубках 181, 182, 183, 184 посредством возбудительного контура 5 в рабочем режиме, по меньшей мере, частично, в частности, большей частью, вызываются изгибные колебания с частотой изгибных колебаний, равной мгновенной механической резонансной частоте окружающей четыре измерительные трубки 181, 182, 183, 184 внутренней части или, по меньшей мере, примерно равной такой собственной или резонансной частоте. Мгновенные механические резонансные частоты изгибных колебаний зависят, как известно, в первую очередь от размеров, формы и материала измерительных трубок 181, 182, 183, 184 и от мгновенной плотности протекающего по ним носителя и могут изменяться в рабочем режиме измерительного преобразователя в пределах диапазона частот, равного почти нескольким килогерцам. При возбуждении в измерительных трубках резонансной частоты изгибных колебаний можно, с одной стороны, определить по мгновенно возбужденной частоте колебаний среднюю плотность протекающего по четырем измерительным трубкам носителя, а с другой стороны, таким образом можно минимизировать мгновенно необходимую для поддержания колебаний в сигнальном режиме электрическую мощность. В частности, четыре измерительные трубки 181, 182, 183, 184 при возбуждении от возбудительного контура также, по меньшей мере, временно, колеблются с в сущности одинаковой частотой колебаний, в частности, с общей естественной механической собственной частотой внутренней части. Кроме этого, предусмотрено возбуждение колеблющихся с в сущности равной частотой измерительных трубок 181, 182, 183, 184 таким образом, что, по меньшей мере, при непротекании носителя первая и третья измерительные трубки 181, 183 совершают колебания, в сущности, синхронно друг другу, т.е. в сущности одинаковые по форме колебания, с в сущности одинаковой фазой и примерно равной амплитудой. Аналогично этому в данном варианте выполнения изобретения втора и четвертая измерительные трубки 182, 184 также совершают колебания, в сущности, синхронно друг с другом.
Возбудительный контур по одному из вариантов выполнения изобретения выполнен таким образом, что первая 181 и вторая 182 измерительные трубки в рабочем режиме приводятся в противофазные изгибные колебания в общей первой плоскости колебаний XZ1, а третья 183 и четвертая 184 измерительные трубки в рабочем режиме приводятся в противофазные изгибные колебания в общей, в частности параллельной первой XZ1 плоскости колебаний, второй XZ2 плоскости колебаний. Согласно другому варианту выполнения изобретения возбудительный контур 5 образован первым возбудителем колебаний 51, в частности, электродинамическим и/или дифференцированно возбуждающим колебания первой измерительной трубки 181 относительно второй измерительной трубки 182.
Также предусмотрено, что первый возбудитель колебаний 51 является возбудителем колебаний электродинамического типа и воздействует, по меньшей мере, на две из измерительных трубок 181, 182, 183, 184 одновременно, в частности дифференцированно. Для этого первый возбудитель колебаний 51 образован закрепленным на первой измерительной трубке постоянным магнитом и закрепленной на второй измерительной трубке цилиндрической катушкой, через которую проходит его магнитное поле, в частности по типу плунжерного катушечного контура, в котором цилиндрическая катушка размещена соосно с постоянным магнитом, выполненным как подвижный втяжной якорь внутри катушки. По усовершенствованному варианту выполнения изобретения возбудительный контур включает также второй возбудитель колебаний 52, в частности, электродинамический и/или идентичный первому возбудителю колебаний 51 и/или дифференцированно возбуждающий колебания третьей измерительной трубки 183 относительно четвертой измерительной трубки 184. Оба возбудителя колебаний могут подключаться преимущественно электрически последовательно, в частности, таким образом, что общий пусковой сигнал возбуждает общие колебания первой и третьей измерительных трубок 181, 183 относительно второй и четвертой измерительных трубок 182, 184. По другому варианту выполнения изобретения второй возбудитель колебаний образован закрепленным на третьей измерительной трубке постоянным магнитом и закрепленной на четвертой измерительной трубке цилиндрической катушкой, через которую проходит его магнитное поле.
Как показано на фиг.4 первый возбудитель колебаний 51 расположен над первой и второй измерительными трубками 181, 182, и, тем самым, над общим центром тяжести всех четырех измерительных трубок 181, 182, 183, 184, находящимся в виртуальной плоскости поперечного сечения образованной четырьмя измерительными трубками внутренней части. Вследствие расположения, по меньшей мере, одного возбудителя колебаний возбудительного контура 5 за пределами в.н. общего центра тяжести четырех измерительных трубок можно дополнительно к изгибным колебаниям преимущественным способом, в частности, одновременно или прерывисто возбуждать торсионные колебания. Это может вызвать в находящемся в данный момент в соответствующей измерительной трубке 181, 182, 183 или 184 носителе в значительной мере зависящие в первую очередь от вязкости силы трения или тангенциальные силы, которые, в свою очередь, воздействуют обратно на колебания измерительных трубок 181, 182, 183 или 184, гасят их и могут быть измерены. На основе этого можно по поступающему в возбудительный контур 5 пусковому сигналу, в частности, по его силе тока, определить вязкость носителя в измерительном преобразователе.
Необходимо также отметить, что независимо от соосного воздействия возбудителей колебаний приведенного в этом варианте выполнения изобретения возбудительного контура на измерительные трубки могут применяться альтернативно или в дополнение, чаще как на входе, так и на выходе, возбудители колебаний для воздействия на соответствующие измерительные трубки, как в предложенных в US-A 4823614, US-A 4831885 или US-A 2003/0070495 возбудительных контурах.
Как показано на фиг.2 и 4 и в соответствии с типом рассматриваемых измерительных преобразователей, в измерительном преобразователе 11 предусмотрен реагирующий, в частности на входе и выходе, на вибрации, в частности на вызванные возбудительным контуром 5 изгибные колебания, измерительных трубок 181, 182, 183 или 184, например электродинамические, сенсорный контур 19 для производства вибраций, в частности изгибных колебаний, представляющих сигналы измерения колебаний измерительных трубок, на которые относительно, например, частоты, амплитуды сигнала и/или длины фазы по отношению друг к другу и/или к пусковому сигналу воздействуют фиксируемые измерительные параметры, например доля массового расхода и/или плотность или вязкость носителя.
Согласно одному из вариантов выполнения изобретения контур сенсоров образован на стороне выхода первым датчиком колебаний 191, в частности электродинамическим и/или фиксирующим дифференцированно, по меньшей мере, колебания первой измерительной трубки 181 относительно второй измерительной трубки 182, а также вторым датчиком колебаний 192, в частности электродинамическим и/или фиксирующим дифференцирование, по меньшей мере, колебания первой измерительной трубки 181 относительно второй измерительной трубки 182, которые, реагируя на движения соответственно измерительных трубок 181, 182, 183, 184, в частности на их горизонтальные смещения и/или деформации, выдают первый или второй сигнал измерения колебаний, в частности, таким образом, что, по меньшей мере, два сигнала измерения колебаний от сенсорного контура 19 имеют противонаправленный сдвиг по фазе, соответствующий или зависящий от мгновенной доли массового расхода протекающего носителя, а также имеющие частоту сигнала, зависящую от мгновенной плотности носителя в измерительных трубках. Оба, например идентичных, датчика колебаний 191, 192 могут быть размещены в соответствии с типом рассматриваемых измерительных преобразователей в сущности равноудалено от первого возбудителя колебаний 51 в измерительном преобразователе 11. Кроме этого, датчики колебаний сенсорного контура 19 могут выполняться, по меньшей мере, по принципу действия идентично, по меньшей мере, одному возбудителю колебаний возбудительного контура 5, например являться также электродинамическими, по одному из вариантов выполнения изобретения контур сенсоров 19 образован на стороне выхода третьим датчиком колебаний 193, в частности электродинамическим и/или фиксирующим дифференцированно, по меньшей мере, колебания третьей измерительной трубки 183 относительно четвертой измерительной трубки 184, а также четвертым датчиком колебаний 194, в частности электродинамическим и/или фиксирующим дифференцированно, по меньшей мере, колебания третьей измерительной трубки 183 относительно четвертой измерительной трубки 184. Для дальнейшего улучшения качества сигнала и для упрощения принимающего сигналы измерения электронного блока КИП 12 первый и третий датчики колебаний 191, 193 могут подключаться электрически последовательно, например таким образом, что общий сигнал измерения колебаний характеризует общие колебания со стороны входа первой и третьей измерительных трубок 181, 183 относительно второй и четвертой измерительной трубки 182, 184. Альтернативно или в дополнение второй и четвертый датчики колебаний 192, 194 могут подключаться электрически последовательно таким образом, что общий сигнал измерения колебаний обоих датчиков колебаний 192, 194 характеризуют общие колебания со стороны выхода первой и третьей измерительных трубок 181, 183 относительно второй и четвертой измерительной трубки 182, 184.
В вышеуказанном случае, когда, в частности идентичные, датчики колебаний сенсорного контура 19 должны дифференицально и электродинамически фиксировать колебания измерительных трубок, первый датчик колебаний 191 предназначен для фиксации колебаний на входе закрепленным на первой измерительной трубке постоянным магнитом и закрепленной на второй измерительной трубке также для фиксации колебаний на входе цилиндрической катушкой, через которую проходит его магнитное поле, а второй датчик колебаний 192 предназначен для фиксации колебаний на выходе закрепленным на первой измерительной трубке постоянным магнитом и закрепленной на второй измерительной трубке также для фиксации колебаний на выходе цилиндрической катушкой, через которую проходит его магнитное поле. В той же мере при необходимости может быть сформирован предусмотренный третий датчик колебаний 193 закрепленным на третьей измерительной трубке постоянным магнитом и закрепленной на третьей измерительной трубке цилиндрической катушкой, через которую проходит его магнитное поле, а при необходимости и четвертый датчик колебаний 194 может быть образован закрепленным на третьей измерительной трубке постоянным магнитом и закрепленной на четвертой измерительной трубке цилиндрической катушкой, через которую проходит его магнитное поле.
Также необходимо отметить, что несмотря на то что в варианте выполнения изобретения речь идет о датчиках колебаний сенсорного контура 19 электродинамического типа, т.е. образованных закрепленной на одной из измерительных трубок цилиндрической магнитной катушкой и закрепленным на противоположной измерительной трубке соответственно постоянным магнитом, погружаемым в эту катушку, могут применяться и другие известные для специалиста, например оптоэлектронные, датчики колебаний для образования сенсорного контура. Кроме этого, по стандарту рассматриваемых измерительных преобразователей в них в дополнение к датчикам колебаний могут применяться другие, в частности, фиксирующие вспомогательные параметры или величины возмущения, датчики, например датчики ускорения, давления и/или температурные, посредством которых можно путем чувствительности к поперечным колебаниям или внешних возмущений контролировать и при необходимости компенсировать эффективность работы измерительного преобразователя и/или изменения чувствительности преобразователя относительно основных фиксируемых параметров измерения, в частности, доли массового расхода и/или плотности.
Для обеспечение максимальной чувствительности измерительного преобразователя к массовому расходу по другому варианту выполнения изобретения измерительные трубки расположены в преобразователе таким образом, что расчетная длина L19 измерительного преобразователя, соответствующая минимальному расстоянию между первым датчиком колебаний 191 и вторым датчиком колебаний 192 составляет более 500 мм, в частности, более 600 мм.
Контур возбудителей 5 и сенсорный контур 19 по стандарту подобных измерительных преобразователей соответствующим способом соединены с предусмотренной в электронном блоке КИП измерительной и эксплуатационной схемой, например соответствующими кабельными соединениями. Измерительная и эксплуатационная схема, с одной стороны, производит, регулируемый, например, по току возбуждения и/или напряжению возбуждения, сигнал пуска контура возбудителей 5, а с другой стороны принимает сигналы измерения колебаний от контура датчиков 19 и генерирует необходимые параметры измерения, характеризующие, например, суммарную долю массового расхода, плотность и/или вязкость измеряемого носителя, и которые, при необходимости, могут индицироваться на месте и/или передаваться и соответственно затем обрабатываться на главную для потокового измерительного преобразователя систему обработки данных в форме цифровых измерительных параметров. Применение дифференциально действующих возбудителей колебаний или датчиков колебаний в указанной внутренней части имеет также то преимущество, что для функционирования измерительного преобразователя согласно изобретению могут применяться и широкораспространенные электронные измерительные и эксплуатационные системы, которые, например, широко применяются в обычных Кориолисовых измерительных приборах для измерения массового расхода и плотности.
Электронный блок КИП 12, включая измерительную и эксплуатационную схему, можно легко разместить в отдельном корпусе электронного блока 72, удаленного от измерительного преобразователя, или (см. фиг.1) закрепить для создания целого компактного прибора непосредственно на измерительном преобразователе 1, например, снаружи корпуса преобразователя 71. Согласно указанному варианту выполнения изобретения на корпусе преобразователя установлен гильзообразный переходник для крепежа корпуса электронного блока 72. В переходнике может быть также установлен выполненный, например, литьем из стекла и/или пластика герметичный и/или несжимающийся проходной изолятор для электрической соединительной проводки между измерительным преобразователем 11, в частности, размещенным в нем возбудителями колебаний и датчиками, и электронным блоком КИП 12.
Как это неоднократно указывалось выше, потоковый КИП и, тем самым, измерительный преобразователь 11 предусмотрены в первую очередь для измерения и высоких массовых расходов более 2200 т/ч в трубопроводе большого калибра, т.е. более 250 мм. В этой связи по одному из вариантов выполнения изобретения номинальный диметр измерительного преобразователя 11, соответствующий, как указывалось выше, калибру трубопровода, в котором устанавливается измерительный преобразователь 11, должен составлять более 100 мм, но быть, в частности, более 300 мм. Также по одному из вариантов выполнения изобретения предусмотрено, что каждая из измерительных трубок 181, 182, 183, 184 имеет соответствующий их внутреннему диаметру калибр D18, составляющий более 60 мм. В частности, измерительные трубки 181, 182, 183, 184 выполнены таким образом, что каждая из них имеет калибр D18 более 80 мм. Альтернативно или в дополнение к этому измерительные трубки 181, 182, 183, 184 по одному из вариантов выполнения изобретения рассчитаны таким образом, что каждая имеет расчетную длину трубки L18 не менее 1000 мм. Расчетная длина трубки L18 соответствует в этом варианте выполнения изобретения минимальному расстоянию между первым портом потока 201A первого делителя потока 201 и первым портом потока 202А второго делителя потока 201. В частности, измерительные трубки 181, 182, 183, 184 рассчитаны при этом таким образом, что их расчетная длина L18 больше 1200 мм.
В соответствии с этим, по меньшей мере, в указанном варианте измерительные трубки 181, 182, 183, 184 выполнены из стали, имеют обычно толщину стенок более 1 мм и массу не менее 20 кг, в частности более 30 кг. Также соблюдается тенденция удержания собственной массы каждой отдельной из измерительных трубок 181, 182, 183, 184 менее 50 кг.
В связи с тем, что каждая из измерительных трубок 181, 182, 183, 184 в измерительном преобразователе согласно изобретению весит намного больше 20 кг и может иметь среднюю вместительность 10 л и более, включающая измерительные трубки 181, 182, 183, 184 внутренняя часть, по меньшей мере с протекающим в ней носителе с высокой плотностью, может достигать общей массы более 80 кг. В первую очередь при применении измерительных трубок с большими калибром D18, толщиной стенок и расчетной длиной L18 масса образованной измерительными трубками 181, 182, 183, 184 внутренней части может легко достигать более 100 кг или, по меньшей мере, с носителем, например нефтью или водой, более 120 кг. Поэтому собственная масса Мц измерительного преобразователя суммарно составляет намного больше 200 кг, при номинальном диаметре D11 намного более 250 мм даже более 300 кг. Поэтому в измерительном преобразователе согласно изобретению массовое соотношение М11/M18, т.е. отношении собственной массы М11 всего измерительного преобразователя к собственной массе M18 первой измерительной трубки может в среднем больше 10, в частности, больше 15.
Чтобы при названных больших собственных массах М11 измерительного преобразователя максимально оптимально использовать применяемые для них материалы и максимально эффективно применять, в частности, часто очень дорогие материалы, по одному из вариантов выполнения изобретения необходимо рассчитывать номинальный диаметр D11 измерительного преобразователя 11 в соответствии с его собственной массой М11 таким образом, чтобы соотношение массы к номинальному диаметру М11/D11 измерительного преобразователя 11, определяемое отношением собственной массы М11 измерительного преобразователя 11 к номинальному диаметру D11 измерительного преобразователя было ниже 2 кг/мм, в частности, максимально ниже 1 кг/мм. Для обеспечения достаточно высокой стабильности работы измерительного преобразователя 11 соотношение массы к номинальному диаметру М11/D11 измерительного преобразователя 11, по меньшей мере, при применении обычных материалов должно быть максимально выше 0, 5 кг/мм. Кроме этого, по одному из вариантов выполнения изобретения необходимо, чтобы соотношение масс М11/M18 было меньше 25.
Для создания максимально компактного измерительного преобразователя с достаточно высоким качеством колебаний и максимально низкой потерей давления согласно одному из вариантов выполнения изобретения измерительные трубки в соответствии с монтажной длиной L11 измерительного преобразователя 11 должны иметь такие параметры, чтобы соотношение калибра к монтажной длине D18/L11 измерительного преобразователя, определяемое отношением калибра D18, по меньшей мере, первой измерительной трубки к монтажной длине L11 измерительного преобразователя 11 составляло более 0,02, в частности более 0,05 и/или менее 0,09. Альтернативно или в дополнение к этому измерительные трубки 181, 182, 183, 184 относительно монтажной длины L11 измерительного преобразователя должны иметь такие размеры, чтобы соотношение длины измерительной трубки к монтажной длине L18/L11 измерительного преобразователя, определяемое отношением длины, по меньшей мере, первой, измерительной трубки к монтажной длине L11 измерительного преобразователя было больше 0,7, в частности, более 0,8 и/или менее 0,95.
При необходимости возможно или, по меньшей мере, потенциально возможно снизить производимые в корпусе преобразователя вибрирующими, в частности, сделанными способом крупноразмерными измерительными трубками со стороны входа или со стороны выхода механические напряжения и/или вибрации, например, соединением друг с другом четырех измерительных трубок 181, 182, 183, 184, по меньшей мере, попарно, по меньшей мере, попарно со стороны входа и выхода т.н. служащими узловыми фасонками стыковочными элементами (далее стыковочные элементы первого типа). Кроме этого, такими стыковочными элементами первого типа можно за счет их размеров и/или мест размещения на измерительных трубках суммарно целенаправленно воздействовать на механические собственные частоты колебаний измерительных трубок и, тем самым, на механические собственные частоты внутренней части, образованной четырьмя измерительными трубками и закрепленными на них компонентами измерительного преобразователя, а также на характер ее колебаний.
Служащие узловыми фасонками стыковочные элементы первого типа могут быть, например, тонкими, в частности, выполненными из того же материала, как и измерительные трубки, пластинами или дисками, которые имеют в соответствии с числом и размерами стыкуемых между собой измерительных трубок отверстия, при необходимости расшлицованные внутри, зажимаются на соответствующих измерительных трубках 181, 182, 183, 184 и, при необходимости, затем неразъемно соединяются с соответствующими измерительными трубками жесткой пайкой или сваркой.
В соответствии с этим измерительный преобразователь по одному из вариантов выполнения изобретения включает первый стыковочный элемент первого типа 241 для образования колебательных узлов со стороны входа, по меньшей мере, вибраций, в частности, изгибных колебаний первой измерительной трубки и для противофазных им вибраций, в частности изгибных колебаний, второй измерительной трубки, закреплен на расстоянии, как от первого делителя потока, так и от второго делителя потока со стороны входа, по меньшей мере, на первой измерительной трубке и на второй измерительной трубке, а также идентичный первому стыковочному элементу второй стыковочный элемент первого типа 242 для образования колебательных узлов со стороны входа, по меньшей мере, вибраций, в частности, изгибных колебаний первой измерительной трубки 181 и для противофазных им вибраций, в частности изгибных колебаний, второй измерительной трубки 182, закреплен на расстоянии как от первого делителя потока 201, так и от второго делителя потока 202, а также от первого стыковочного элемента 241 со стороны входа, по меньшей мере, на первой измерительной трубке 181 и на второй измерительной трубке 182. Как ясно показано на фиг.4 или 5а, 5b, первый стыковочный элемент первого типа 241 для образования колебательных узлов со стороны входа, по меньшей мере, вибраций, в частности, изгибных колебаний третьей измерительной трубки 183 и для противофазных им вибраций, в частности изгибных колебаний, четвертой измерительной трубки 184, закреплен на расстоянии как от первого делителя потока 201, так и от второго делителя потока 202 со стороны входа также на третьей измерительной трубке 183 и на четвертой измерительной трубке 184, а второй стыковочный элемент первого типа 242 для образования колебательных узлов со стороны входа, по меньшей мере, вибраций, в частности, изгибных колебаний третьей измерительной трубки 183 и для противофазных им вибраций, в частности изгибных колебаний, четвертой измерительной трубки 184, закреплен на расстоянии как от первого делителя потока 201, так и от второго делителя потока 202 со стороны входа также на третьей измерительной трубке 183 и на четвертой измерительной трубке 184, так что все четыре измерительные трубки 181, 182, 183, 184 механически соединены между собой первым стыковочным элементом первого типа 241 и вторым стыковочным элементом первого типа 242. Каждый из указанных, в частности идентичных, стыковочных элементов 241, 242 первого типа по одному из вариантов выполнения изобретения выполнен в виде пластины, в частности таким образом, что, как это изображено на всех фигурах, имеет скорее прямоугольную или квадратную форму основной поверхности или же круглую, овальную, крестовидную форму, или, как предложено, например, в US-A 2006/0283264, Н-образную основную поверхность. Кроме этого, оба стыковочных элемента 241, 242 ориентированы, в сущности, параллельны друг другу.
Как показано на фиг.4 или 5а, 5b, оба стыковочных элемента выполнены и размещены в измерительном преобразователе таким образом, что центр тяжести массы первого стыковочного элемента 241 первого типа находится на расстоянии от центра тяжести массы измерительного преобразователя 11, равном, в сущности, расстоянию центра тяжести массы второго стыковочного элемента 242 первого типа от названного центра тяжести массы измерительного преобразователя 11, в частности, оба стыковочных элемента 241, 242 в итоге расположены симметрично одной из измерительных трубок 181, 182, 183, 184 в центре общей виртуальной плоскости поперечного сечения.
Для дальнейшего повышения степени свободы при оптимизации характера колебаний образованной четырьмя измерительными трубками 181, 182, 183, 184 внутренней части измерительный преобразователь 11 также включает согласно усовершенствованному варианту выполнения изобретения третий стыковочный элемент 243 первого типа, который, закреплен для образования колебательных узлов со стороны входа, по меньшей мере, вибраций, в частности, изгибных колебаний третьей измерительной трубки 183 и для противофазных им вибраций, в частности изгибных колебаний, четвертой измерительной трубки 184 на расстоянии как от первого делителя потока 201, так и от второго делителя потока 202 со стороны входа на третьей измерительной трубке 183 и на четвертой измерительной трубке 184. Кроме этого, измерительный преобразователь 11 включает в данном усовершенствованном варианте выполнения изобретения, в частности, идентичный третьему стыковочному элементу 243 первого типа четвертый стыковочный элемент 244 первого типа, который закреплен для образования колебательных узлов со стороны входа, по меньшей мере, вибраций, в частности, изгибных колебаний третьей измерительной трубки 183 и для противофазных им вибраций, в частности изгибных колебаний, четвертой измерительной трубки 184 на расстоянии как от первого делителя потока 201, так и от второго делителя потока 202, а также от третьего стыковочного элемента 243 первого типа со стороны входа на третьей измерительной трубке 183 и на четвертой измерительной трубке 184.
Каждый из указанных, в частности идентичных, стыковочных элементов 243, 244 первого типа согласно одному из вариантов выполнения изобретения выполнен также в форме пластины, в частности, таким образом, что имеет скорее прямоугольную или квадратную форму основной поверхности или же круглую, овальную, крестовидную форму, или Н-образную основную поверхность. Кроме этого, оба стыковочных элемента 243, 244 ориентированы, в сущности, параллельны друг другу.
Как показано на фиг.4, 5а, 5b, третий стыковочный элемент первого типа 243 закреплен на расстоянии как от первого делителя потока 201, так и от второго делителя потока 202, а также от первого стыковочного элемента 241 первого типа со стороны входа также на первой измерительной трубке 181 и на второй измерительной трубке 182, а четвертый стыковочный элемент первого типа 244 закреплен на расстоянии как от первого делителя потока, так и от второго делителя потока, а также от второго стыковочного элемента со стороны выхода на первой измерительной трубке и на второй измерительной трубке, так что все четыре измерительные трубки 181, 182, 183, 184 механически соединены между собой третьим стыковочным элементом 243 первого типа и четвертым стыковочном элементом 244 первого типа.
Как показано на фиг.4, 5а, 5b, третий и четвертый стыковочные элементы 243, 244 выполнены и размещены в измерительном преобразователе таким образом, что центр тяжести массы третьего стыковочного элемента 243 первого типа находится на расстоянии от центра тяжести массы измерительного преобразователя, равном, в сущности, расстоянию центра тяжести массы четвертого стыковочного элемента 244 первого типа от названного центра тяжести массы измерительного преобразователя, в частности, оба стыковочных элемента 243, 244 в итоге расположены симметрично одной из измерительных трубок 181, 182, 183, 184 в центре общей виртуальной плоскости поперечного сечения. Кроме этого, согласно одному из вариантов выполнения изобретения, четыре стыковочных элемента 241, 242, 243, 244 первого типа размещены в измерительном преобразователе таким образом, что расстояние между центром тяжести массы третьего стыковочного элемента 243 первого типа и центром тяжести массы измерительного преобразователя больше расстояния между центром тяжести массы первого стыковочного элемента 241 первого типа и названным центром тяжести массы измерительного преобразователя и больше расстояния между центром тяжести второго стыковочного элемента 242 первого типа и названным центром тяжести массы измерительного преобразователя.
Как показано на фиг.4, 5а и 5b, минимальное расстояние между ближайшим к центру тяжести массы измерительного преобразователя 11 со стороны входа, закрепленном на соответствующей измерительной трубке стыковочным элементом первого типа, в частности первым стыковочным элементом 241 первого типа, и ближайшим к центру тяжести массы измерительного преобразователя со стороны выхода, закрепленном на соответствующей измерительной трубке стыковочным элементом первого типа, в частности вторым стыковочным элементом 242 первого типа, определяет соответственно свободную длину колебаний L18x этой измерительной трубки, причем согласно другому варианту выполнения изобретения стыковочные элементы первого типа расположены в измерительном преобразователе таким образом, что в итоге свободная длина колебаний каждой из измерительных трубок 181, 182, 183, 184 меньше 2500 мм, в частности меньше 2000 мм и/или больше 800 мм. Альтернативно или в дополнение к этому также предусмотрено, что все четыре измерительные трубки 181, 182, 183, 184 имеют одинаковую свободную длину колебаний L18x.
Кроме этого, для дальнейшего упрощения и повышения точности юстировки характера колебаний измерительного преобразователя явным преимуществом является то, что измерительный преобразователь включает, как предложено, например, в US-A 2006/0150750, кроме этого, другие стыковочные элементы вышеуказанного типа для создания колебательных узлов вибраций со стороны входа или выхода, в частности изгибных колебаний, первой измерительной трубки и противофазных им вибраций, в частности изгибных колебаний, второй измерительной трубки или вибраций, в частности изгибных колебаний, третьей измерительной трубки и противофазных им вибраций, в частности изгибных колебаний, четвертой измерительной трубки, т.е., например, в сумме 6 или 8 таких стыковочных элементов первого типа.
Для создания максимально компактного измерительного преобразователя с достаточно высокими качеством колебаний и чувствительностью при максимально низкой потере давления согласно одному из вариантов выполнения изобретения измерительные трубки 181, 182, 183, 184 в соответствии с указанной свободной длиной колебаний должны иметь такие параметры, чтобы соотношение калибра к свободной длине колебаний D18/L18x измерительного преобразователя, определяемое отношением калибра D18 первой измерительной трубки к свободной длине колебаний L18x первой измерительной трубки составляло более 0,07, в частности более 0,09 и/или менее 0,15. Альтернативно или в дополнение к этому по одному из вариантов выполнения изобретения измерительные трубки 181, 182, 183, 184 относительно монтажной длины L11 измерительного преобразователя должны иметь такие размеры, чтобы соотношение длины колебаний к монтажной длине L18/L11 измерительного преобразователя, определяемое отношением свободной дли колебаний первой измерительной трубки к монтажной длине L11 измерительного преобразователя было больше 0,55, в частности, более 0,6 и/или менее 0,9.
Согласно одному из вариантов выполнения изобретения датчики колебаний размещены в измерительном преобразователе в соответствии со свободной длиной колебаний таким образом, что соотношение расчетной длины и длины колебаний измерительного преобразователя, определяемое отношением указанной расчетной длины измерительного преобразователя к свободной длине колебаний первой измерительной трубки составляет более 0,6, в частности более 0,65 и/или менее 0,95.
Для создания максимально компактного измерительного преобразователя с максимальной чувствительностью к массовому расходу согласно одному из вариантов выполнения изобретения датчики колебаний в соответствии с монтажной длиной измерительного преобразователя размещены в нем таким образом, чтобы соотношение расчетной длины и монтажной длины измерительного преобразователя, определяемое отношением расчетной длины к монтажной длине измерительного преобразователя составляло более 0,3, в частности более 0,4. Альтернативно или в дополнение к этому датчики колебаний размещены в измерительном преобразователе относительно измерительных трубок таким образом, чтобы соотношение длины калибра и расчетной длины D18/L19 измерительного преобразователя, определяемое отношением калибра D18 первой измерительной трубки к расчетной длине L19 измерительного преобразователя было больше 0,05, в частности, более 0,09. Кроме этого, по одному из вариантов выполнения изобретения расчетная длина L19 составляет менее 1200 мм.
Согласно одному из вариантов выполнения изобретения кроме этого, предусмотрена соответствующая взаимная попарная синхронизация по длине фаз измерительных трубок 181, 182, 183, 184 в рабочем режиме, т.е. синхронизация колебаний всех четырех измерительных трубок 181, 182, 183, 184 таким образом, чтобы измерительные трубки колебались строго попарно не в фазах. Преимущественно характер колебаний образованной четырьмя измерительными трубками 181, 182, 183, 184 и контурами возбудителей и датчиков колебаний внутренней части и управляющие контуром возбудителей пусковые сигналы согласовываются взаимно таким образом, что, по меньшей мере, возбуждаемые в рабочем режиме колебания четырех измерительных трубок 181, 182, 183, 184 образованы таким образом, что первая и вторая измерительные трубки 181, 182 совершают колебания, в сущности, противофазно друг другу, т.е. с противонаправленным сдвигом по фазе примерно на 180° и также третья и четвертая измерительные трубки 183, 184 совершают колебания, в сущности, противофазно друг другу, а первая и третья измерительные трубки 181, 183 совершают колебания, в сущности, равнофазно друг другу и вторая и четвертая измерительные трубки 182, 184 совершают колебания, в сущности, равнофазно друг другу.
В этой связи измерительный преобразователь по одному из вариантов выполнения изобретения включает кроме этого,, в частности пластинчатый или стержневой, первый стыковочный элемент второго типа 251, закрепленный для синхронизации равночастотных вибраций, в частности изгибных колебаний, первой измерительной трубки 181 и равночастотных им вибраций, в частности изгибных колебаний, третей измерительной трубки 183 на расстоянии как от первого стыковочного элемента 241 первого типа, так и от второго стыковочного элемента 242 первого типа на первой измерительной трубке 181 и на третьей измерительной трубке 183, но не на какой другой из измерительных трубок, т.е. строго только на первой измерительной трубке 181 и на третьей измерительной трубке 183. Кроме этого, измерительный преобразователь, по меньшей мере в этом варианте выполнения изобретения, включает, по меньшей мере один, в частности пластинчатый или стержневой второй стыковочный элемент второго типа 252, закрепленный для синхронизации равночастотных вибраций, в частности изгибных колебаний, второй измерительной трубки 182 и равночастотных им вибраций, в частности изгибных колебаний, четвертой измерительной трубки 184 на расстоянии как от первого стыковочного элемента 241 первого типа, так и от второго стыковочного элемента 242 первого типа, а также от первого стыковочного элемента 251 второго типа на второй измерительной трубке 182 и на четвертой измерительной трубке 184, но не на какой другой из измерительных трубок, т.е. строго только на второй измерительной трубке 182 и на четвертой измерительной трубке 184. Как изображено на фиг.4, 5а и 5b, первый и второй стыковочные элементы 251, 252 второго типа расположены в измерительном преобразователе 11 по возможности друг против друга.
Преимущество механической состыковки измерительных трубок вышеуказанным способом состоит в том числе в том, что четыре измерительные трубки 181, 182, 183, 184 сокращаются до двух комбинаций измерительных трубок, каждая из которых эффективна в качестве колебательной системы и работает практически как одна единая измерительная трубка, так как производимые возбудительным контуром 5 возбудительные силы вследствие механической состыковки действуют как между первой и второй измерительными трубками 181, 182, так и в равной степени между третьей и четвертой измерительными трубками 183, 184, а также вызываемые для измерения протекающего носителя реактивные силы могут предаваться обратно, соответственно совместно, на датчики колебаний сенсорного контура 5. Кроме этого, возможные различия между отдельными измерительными трубками 181, 182, 183, 184 по их номинальному характеру колебаний, например вследствие неравномерности потока, различного распределения температуры и/или плотности и т.д. можно компенсировать простым способом. Применение стыковочных элементов второго типа имеет также преимущество, состоящее в том, что каждая из двух образованных очень простым способом комбинаций измерительных трубок действует практически как одна измерительная трубка не только на возбудительный контур, но и в равной степени на сенсорный контур 19 и, тем самым, на измерительную и эксплуатационную схему электронного блока КИП 12, а измерительный преобразователь 11 имеет тем самым с точки зрения измерительной и эксплуатационной схемы только две измерительных трубки, совершающих колебания друг против друга. Вследствие этого можно использовать для первичной обработки и возможной оцифровки сигналов измерения колебаний надежные технологии обработки сигналов и надежные, в частности двухканальные, т.е. обрабатывающие сигналы измерения колебаний только от двух датчиков колебаний измерительные схемы из области измерения Кориолисовых массового расхода или плотности. В равной степени можно использовать для известной специалисту запускающей возбудительный контур эксплуатационной схемы, в частности одноканальные, т.е. поставляющие строго один пусковой сигнал на возбудительный контур, пусковые схемы. При необходимости сигналы измерения колебаний, поступающие от двух или более датчиков колебаний, могут предварительно обрабатываться и соответственно оцифровываться и по отдельности в каждом из самостоятельных измерительных каналов; в равной степени при необходимости можно управлять имеющимися двумя или более датчиками колебаний по отдельности.
Согласно одному из вариантов выполнения изобретения измерительные трубки 181, 182, 183, 184 и соединяющие их между собой стыковочные элементы могут быть поэтому также сформированы и механически состыкованы друг с другом стыковочными элементами двух типов, при необходимости дополнительно и стыковочными элементами первого типа таким образом, что образованная первой и третьей измерительными трубками комбинация измерительных трубок и образованная второй и четвертой измерительными трубками комбинация измерительных трубок имеют, в сущности, одинаковые механические собственные частоты.
В указанном варианте выполнения изобретения первый стыковочный элемент 251 второго типа закреплен на первой или третьей измерительной трубке 181, 183 на расстоянии, равным 50% минимального расстояния между первым стыковочным элементом 241 первого типа и вторым стыковочным элементом 242 первого типа, т.е. равным половине свободной длины колебаний первой или третьей измерительной трубки 181, 183. Кроме этого,, и второй стыковочный элемент 252 второго типа закреплен соответствующим способом на второй и четвертой измерительной трубке 182, 184 на расстоянии, равном 50% минимального расстояния между первым стыковочным элементом 241 первого типа и вторым стыковочным элементом 242 первого типа, т.е. равным половине свободной длины колебаний второй или четвертой измерительной трубки 182, 184.
Преимущественным способом стыковочные элементы второго типа могут дополнительно служить и креплением компонентов возбудительного контура 5. Поэтому согласно одному из вариантов выполнения изобретения предусмотрено, что каждый из, в частности идентичных, возбудителей колебаний 51, 52 частично закреплен на каждом из двух стыковочных элементах второго типа, в частности на первом и втором стыковочном элементе 251, 252. Таким образом, очень эффективным и одновременно очень простым способом можно обеспечить то, что генерируемая возбудителем колебаний 51 сила возбуждения, по меньшей мере преимущественно синхронная, действует на, в частности и равнофазные друг другу, изгибные колебания первой и третьей измерительных трубок 181, 183 или второй и четвертой измерительных трубок 181, 184. Например, в случае электродинамических возбудителей колебаний соответствующая цилиндрическая катушка может быть закреплена на первом стыковочном элементе и соответствующий постоянный магнит на противоположном втором стыковочном элементе второго типа. В указанном варианте с имеющим два возбудителя колебаний 51, 52 возбудительным контуром 5 как первый 51, так и второй возбудитель колебаний 52 могут быть закреплены каждый на первом и втором стыковочном элементе второго типа 251, 252, например и таким образом, что, как показано на фиг.4 или 5а, минимальное расстояние между первым и вторым возбудителями колебаний 51, 52 более чем в два раза превосходит наружный диаметр измерительных трубок 181, 182, 183, 184, по меньшей мере первой измерительной трубки 181. Это обеспечивает как оптимальное использование внутреннего пространства корпуса преобразователя 71, так и простой монтаж возбудителей колебаний 51, 52.
Предпочтительно, измерительный преобразователь включает также пластинчатый или стержневой третий стыковочный элемент 253 второго типа, закрепленный для синхронизации равночастотных вибраций, в частности изгибных колебаний, первой измерительной трубки 181 и равночастотных им вибраций, в частности изгибных колебаний, третьей измерительной трубки 183 на расстоянии как от первого стыковочного элемента 241 первого типа, так и от первого стыковочного элемента 251 второго типа на первой измерительной трубке 181 и на третьей измерительной трубке 183, но не на какой другой из измерительных трубок, т.е. строго только на первой измерительной трубке 181 и на третьей измерительной трубке 183, а также, в частности пластинчатый или стержневой четвертый стыковочный элемент 254 второго типа, закрепленный для синхронизации равночастотных вибраций, в частности изгибных колебаний, второй измерительной трубки 182 и равночастотных им вибраций, в частности изгибных колебаний, четвертой измерительной трубки 184 на расстоянии как от первого стыковочного элемента первого типа, так и от второго и третьего стыковочного элемента второго типа на второй измерительной трубке 182 и на четвертой измерительной трубке 184, но не на какой другой из измерительных трубок, т.е. строго только на второй измерительной трубке 182 и на четвертой измерительной трубке 184. Третий и четвертый стыковочные элементы второго типа, как изображено на фиг.4, 5а и 5b, расположены преимущественно друг против друга в измерительном преобразователе 11.
Кроме этого, измерительный преобразователь 11 включает согласно одному из вариантов выполнения изобретения пластинчатый или стержневой пятый стыковочный элемент 255 второго типа, закрепленный для синхронизации равночастотных вибраций, в частности изгибных колебаний, первой измерительной трубки 181 и равночастотных им вибраций, в частности изгибных колебаний, третьей измерительной трубки 183 на расстоянии как от первого и второго стыковочного элемента первого типа, так и от первого и третьего стыковочного элемента второго типа на первой измерительной трубке 181 и на третьей измерительной трубке 183, но не на какой другой из измерительных трубок, т.е. строго только на первой измерительной трубке 181 и на третьей измерительной трубке 183, а также, в частности пластинчатый или стержневой шестой стыковочный элемент 256 второго типа, закрепленный для синхронизации равночастотных вибраций, в частности изгибных колебаний, второй измерительной трубки и равночастотных им вибраций, в частности изгибных колебаний, четвертой измерительной трубки на расстоянии как от первого и второго стыковочного элемента первого типа, так и от второго, четвертого и пятого стыковочного элемента второго типа на второй измерительной трубке 182 и на четвертой измерительной трубке 184, но не на какой другой из измерительных трубок, т.е. строго только на второй измерительной трубке 182 и на четвертой измерительной трубке 184. Пятый и шестой стыковочные элементы 255, 256 второго типа также расположены преимущественно друг против друга в измерительном преобразователе 11.
Кроме этого, преимуществом может быть использование стыковочных элементов второго типа дополнительно также для крепления компонентов возбудительного контура. Поэтому согласно одному из вариантов выполнения изобретения предусмотрено, что со стороны входа первый возбудитель колебаний 191 частично закреплен на третьем и четвертом стыковочном элементе 253, 254. второго типа. Кроме этого, второй возбудитель колебаний 192 соответствующим образом закреплен на пятом и шестом стыковочном элементе 255, 256 второго типа. Таким образом, очень эффективным и одновременно очень простым способом можно обеспечить то, что генерируемый первым возбудителем колебаний 51 сигнал измерения колебаний, по меньшей мере, преимущественно синхронный, определяет, в частности и равнофазные друг другу, изгибные колебания первой и третьей измерительных трубок 181, 183 со стороны входа относительно, в частности и равнофазных друг другу, изгибных колебаний второй и четвертой измерительных трубок 182, 184 или что генерируемый вторым датчиком колебаний 192 в рабочем режиме сигнал измерения колебаний определяет, по меньшей мере, преимущественно синхронный, определяет, в частности и равнофазные друг другу, изгибные колебания первой и третьей измерительных трубок 181, 183 со стороны входа относительно, в частности и равнофазных друг другу, изгибных колебаний второй и четвертой измерительных трубок 182, 184. Например, в случае электродинамических датчиков колебаний цилиндрическая катушка первого датчика колебаний 191 может быть закреплена на третьем стыковочном элементе второго типа, а соответствующий постоянный магнит или на противоположном четвертом стыковочном элементе второго типа или что цилиндрическая катушка второго датчика колебаний 192 может быть закреплена на пятом стыковочном элементе второго типа, а соответствующий постоянный магнит на противоположном шестом стыковочном элементе второго типа. В указанном случае с образованным четырьмя датчиками колебаний 191, 192, 193, 194 сенсорным контуром 19 согласно одному из вариантов выполнения изобретения как первый 191, так и третий датчик колебаний 193 могут быть закреплены каждый частично на третьем и четвертом стыковочном элементе второго типа, в частности таким образом, что, как изображено на фиг.4, 5 и 5b, минимальное расстояние между первым и третьим датчиками колебаний 191, 193 более чем в два раза превосходит наружный диаметр первой измерительной трубки 181. Соответствующим образом второй датчик колебаний 192 и четвертый датчик колебаний 194 могут быть также закреплены каждый на пятом и шестом стыковочном элементе второго типа, в частности таким образом, что, как показано на фиг.4, 5 и 5b, минимальное расстояние между вторым и четвертым датчиками колебаний 192, 194 более чем в два раза превосходит наружный диаметр первой измерительной трубки 181, что обеспечивает как оптимальное использование внутреннего пространства корпуса преобразователя 71, так и простой монтаж датчиков колебаний сенсорного контура 19. Поэтому согласно одному из вариантов выполнения изобретения каждый из, в частности идентичных, датчиков колебаний сенсорного контура 19 закреплен на двух противоположных друг другу стыковочных элементах второго типа.
Для дальнейшего повышения качества колебаний внутренней части при минимальной монтажной длине L11 измерительного преобразователя 11 или минимальной свободной длине колебаний L18x измерительных трубок 181, 182, 183 или 184 измерительный преобразователь предпочтительно включает несколько кольцеобразных, в частности идентичных, элементов жесткости 221A,..222А,..223A,..224A, каждый из которых закреплен строго на одной из измерительных трубок 181, 182, 183, 184 таким образом, что он охватывает ее вдоль одной, в частности проходящей циркулярно, виртуальной линии окружности, для сравнения см. US-B 6920798. В первую очередь для этого также предусмотрено, что на каждой из измерительных трубок 181, 182, 183 или 184, размещены, по меньшей мере, четыре, в частности идентичные элементы жесткости 221A, 221B, 221C, 221D или 222A, 222B, 222C, 222D, или 223A, 223B, 223C, 223D, или 224А, 224B, 224C, 224D. Элементы жесткости 221A, 222A, 223A, 224А размещены в измерительном преобразователе 11 преимущественно таким образом, что два соседних элемента жесткости размещены на одной и той же измерительной трубке на расстоянии друг от друга, которое составляет минимум 70%, но максимум 150% наружного диаметра указанной измерительной трубки.
Особенно выгодным оказался интервал между соседними элементами жесткости, составляющий от 80% до 120% наружного диаметра одной из соответствующих измерительных трубок 181, 182, 183 или 184. Альтернативно или в дополнение к этому для повышения характеристик колебаний внутренней части и, тем самым, для повышения точности измерений измерительного преобразователя предусмотрено, как это схематично показано на фиг.7, 8а, 8b, что измерительный преобразователь включает также пластинчатые элементы жесткости 261, 262, 263, 264 для юстировки естественных собственных частот изгибных колебаний измерительных трубок 181, 182, 183 или 184 и в плоскостях колебаний YZ1, Y2, которые в сущности, как показано на фиг.3а, 3b, перпендикулярны плоскостям колебаний XZ1, XZ2. Например, идентичные друг другу элементы жесткости выполнены при этом и соединены каждый с измерительными трубками, в частности таким образом, что в результате этого, по меньшей мере, резонансные частоты изгибных колебаний измерительных трубок 181, 182, 183 или 184 в возбуждаемом в плоскостях колебаний XZ1, XZ2 рабочем режиме постоянно ниже естественных собственных частот изгибных колебаний измерительных трубок, совершаемых в том же рабочем режиме, но в, в частности вторичных, плоскостях колебаний YZ1, YZ2. Таким простым и одновременно очень эффективным способом можно добиться в отношении соответствующих резонансных частот измерительных трубок существенной калибровки режимов изгибных колебаний измерительных трубок в перпендикулярных друг другу, в частности первичной и вторичной, плоскостях колебаний внутренней части или измерительных трубок.
Для этого согласно одному из вариантов выполнения изобретения измерительный преобразователь включает, как показано на фиг.7, 8а, 8b, первый пластинчатый элемент жесткости 261, закрепленный на первой 181 и на третьей измерительной трубке 183 для калибровки одной или нескольких резонансных частот изгибных колебаний первой 181 и третьей измерительной трубки 183 в третьей плоскости колебаний YZ1 в частности вторичной, в сущности перпендикулярной каждой из плоскостей колебаний XZ1 или XZ2, в частности первичных, а именно на каждом из сегментов 18'1, 18'3 первой или третьей измерительной трубки 181, 183 между первым возбудителем колебаний 51 и первым делителем потока 201.
Измерительный преобразователь, предпочтительно, включает второй пластинчатый элемент жесткости 262, закрепленный на второй 182 и на четвертой измерительной трубке 184 для калибровки одной или нескольких резонансных частот изгибных колебаний второй 182 и четвертой измерительной трубки 184 в четвертой плоскости колебаний YZ2 в частности вторичной, в сущности перпендикулярной плоскостям колебаний XZ1 или XZ2, в частности первичным, а также, в частности параллельной и третьей плоскости колебаний YZi, в частности вторичной, а именно на каждом из сегментов 18'2, 18'4 второй или четвертой измерительной трубки 182, 184 между первым возбудителем колебаний 51 и первым делителем потока 201. Кроме этого, измерительный преобразователь включает третий пластинчатый элемент жесткости 263, закрепленный на первой 181 и на третьей измерительной трубке 183 для калибровки резонансных частот первой 181 и третьей измерительной трубки 183 в третьей плоскости колебаний YZ1, а именно на каждом из сегментов 18"1, 18"3 первой или третьей измерительной трубки 181, 183 между первым возбудителем колебаний 51 и вторым делителем потока 202, а также четвертый пластинчатый элемент жесткости 264, закрепленный на второй 182 и на четвертой измерительной трубке 184 для калибровки резонансных частот второй 182 и четвертой измерительной трубки 184 в четвертой плоскости колебаний YZ2, также именно на каждом из сегментов 18"2, 18"4 второй или четвертой измерительной трубки 182, 184 между первым возбудителем колебаний 51 и вторым делителем потока 202. При этом первый и второй пластинчатые элементы жесткости 261, 262 могут, например, находиться каждый между первым датчиком колебаний 191 и первым делителем потока 201, в частности между первым и третьим стыковочными элементами 241, 243 первого типа, а третий и четвертый пластинчатые элементы жесткости 263, 264 каждый между вторым датчиком колебаний 193 и вторым делителем потока 202, в частности, между вторым и четвертым стыковочными элементами 243, 244 первого типа. Пластинчатые элементы жесткости могут, например, располагаться в измерительном преобразователе и таким образом, что, как показано на фиг.7, 8а, 8b, первый и второй пластинчатые элементы жесткости 261, 263 расположены каждый между первым стыковочным элементом 241 первого типа и первым датчиком колебаний 191, а третий и четвертый пластинчатые элементы жесткости 263, 264 - каждый между вторым стыковочным элементом 242 первого типа и вторым датчиком колебаний 192.
Пластинчатые элементы жесткости могут соединяться с соответствующими измерительными трубками пайкой или сваркой. При этом элементы жесткости могут, например, соединяться с измерительными трубками таким образом, что, как это показано на фиг.7, 8а, 8b, первый пластинчатый элемент жесткости 261 закреплен на расположенном между первым датчиком колебаний 191 и первым делителем потока 201 сегменте 18'1 первой измерительной трубки вдоль одной из ее прямых боковых линий, в частности ближайшей к третьей измерительной трубке 183, а также на расположенном между первым датчиком колебаний 191 и первым делителем потока 201 сегменте 18'3 третьей измерительной трубки 183 вдоль одной из ее прямых боковых линий, в частности ближайшей к первой измерительной трубке. Аналогичным образом второй пластинчатый элемент жесткости 262 закреплен на соответственно расположенных между первым датчиком колебаний 191 и первым делителем потока 201 сегментах 18'2 или 184 второй и четвертой измерительных трубок 182, 184, третий пластинчатый элемент жесткости 263 закреплен на соответственно расположенных между вторым датчиком колебаний 192 и вторым делителем потока 202 сегментах 18"1, 18"3 первой и третьей измерительных трубок 181, 183, а четвертый пластинчатый элемент жесткости 264 закреплен на соответственно расположенных между вторым датчиком колебаний 192 и вторым делителем потока 202 сегментах 18"2, 18"4 второй и четвертой измерительных трубок 182, 184, а именно вдоль одной из прямых боковых линий соответствующей измерительной трубки. Кроме этого, для достижения достаточной калибровки резонансных частот каждый из четырех пластинчатых элементов жесткости 261, 262, 263, 264 согласно одному из вариантов выполнения изобретения выполнен и размещен в измерительном преобразователе таким образом, что его высота соответствует минимальному расстоянию между боковыми линиями соответствующей пары измерительных трубок 181, 183 или 182, 184, на которых он закреплен, и что эта высота меньше измеренной в направлении боковых линий длины соответствующего элемента жесткости 261, 262, 263, 264, например, таким образом, что эта высота меньше 50%, в частности меньше 30% указанной длины. Кроме этого, преимущество состоит в том, что каждый из четырех пластинчатых элементов жесткости 261, 262, 263, 264 выполнен также таким образом, что длина каждого пластинчатого элемента больше, например, в два раза, в частности в 5 раз, чем замеренная перпендикулярно длине и высоте соответствующая ширина пластинчатых элементов 261, 262, 263, 264. Альтернативно для крепления на соответственно ближайших боковых линиях элементы жесткости могут быть выполнены и соединены с измерительными трубками, например, в частности, с сохранением указанного соотношения высоты-ширины-длины таким образом, что каждый из элементов жесткости контактирует с соответствующей парой измерительных трубок в сущности по касательной, например, вдоль самой дольней снаружи или вдоль самой дальней внутри боковой линии каждой измерительной трубки.
Применение четырех, а не как это было ранее двух параллельно протекаемых измерительных трубок обеспечивает возможность экономически выгодного производства измерительных преобразователей указанного типа и для высоких долей массового расхода или с большими номинальными диаметрами более 250 мм, с одной стороны, с точностью измерений выше 99,8% при приемлемой потере давления около 1 бар или менее и, с другой стороны, с ограничением монтажной массы и собственной массы таких измерительных преобразователей в пределах, делающих экономически целесообразными их производство, транспортировку, монтаж и эксплуатацию. В частности, при реализации раскрытых выше, усовершенствующих изобретение мероприятий - по отдельности или в комбинации - измерительные преобразователи указанного типа могут быть выполнены и рассчитаны таким образом, что массовая характеристика измерительного преобразователя, определяемая соотношением собственной массы преобразователя и общей массы образованной четырьмя измерительными трубками и закрепленными на них возбудительными и сенсорными контурами, а также другими, закрепленными на них при необходимости и определяющими характер их колебаний компонентами преобразователя внутренней части, может быть просто меньше 3, в частности меньше 2,5.
Claims (51)
1. Измерительный преобразователь вибрационного типа для фиксации, по меньшей мере, одного физического параметра измерения проходящего по трубопроводу текучего носителя, в частности газа, жидкости, порошка или другого текучего материала и/или для фиксации служащих для определения доли массового расхода проходящего по трубопроводу текучего носителя, в частности газа, жидкости, порошка или другого текучего носителя Кориолисовых сил, содержащий:
- корпус преобразователя (71) в виде трубки и/или круглоцилиндрический снаружи, у которого первый торец корпуса со стороны входа образован первым делителем потока (201), имеющим четыре, каждый на расстоянии друг от друга, в частности круглоцилиндрические, конусообразные или конические, порты потока (201A, 201B, 201C, 201D), а второй торец корпуса со стороны выхода образован вторым делителем потока (202), имеющим четыре, каждый на расстоянии друг от друга, в частности круглоцилиндрические, конусообразные или конические, порты потока (202А, 202B, 202C, 202D), причем максимальный внутренний диаметр D7 корпуса преобразователя (71) больше 150 мм, в частности больше 250 мм;
- четыре образующие гидравлически параллельно подключенные тракты потока, подключенные к, в частности идентичным, делителям потока (201, 202), в частности закрепленные указанными делителями потока (201, 202) в корпусе преобразователя с возможностью колебаний и/или идентичные и/или попарно параллельные друг другу, прямые измерительные трубки (181, 182, 183, 184), предназначенные для прохождения текучего носителя;
- первую измерительную трубку (181), в частности круглоцилиндрическую, первый торец которой со стороны входа входит в первый порт потока (201A) первого делителя потока (201), а второй торец измерительной трубки в первый порт потока (202A) второго делителя потока (202);
- вторую измерительную трубку (182), в частности круглоцилиндрическую, первый торец которой со стороны входа входит во второй порт потока (201B) первого делителя потока (201), а второй торец измерительной трубки во второй порт потока (202B) второго делителя потока (202);
- третью измерительную трубку (183), в частности круглоцилиндрическую, первый торец которой со стороны входа входит в третий порт потока (201C) первого делителя потока (201), а второй торец измерительной трубки в третий порт потока (202C) второго делителя потока (202);
четвертую измерительную трубку (184), в частности круглоцилиндрическую, первый торец которой со стороны входа входит в четвертый порт потока (201D) первого делителя потока (201), а второй торец измерительной трубки в четвертый порт потока (202A) второго делителя потока (202);
- электромеханический возбудительный контур (5), образованный, в частности электродинамическими возбудителями колебаний (51, 52), для производства и/или поддержания механических колебаний, в частности изгибных колебаний, четырех измерительных трубок (181, 182, 183, 184), причем выполненный таким образом, что первая измерительная трубка (181) и вторая измерительная трубка (182) в рабочем режиме приводятся в противофазные изгибные колебания в общей виртуальной первой плоскости колебаний (XZ1), а третья измерительная трубка (183) и четвертая измерительная трубка (184) в рабочем режиме приводятся в противофазные изгибные колебания в общей виртуальной второй плоскости колебаний (XZ2), в частности в сущности параллельной первой плоскости колебаний (XZ1).
- корпус преобразователя (71) в виде трубки и/или круглоцилиндрический снаружи, у которого первый торец корпуса со стороны входа образован первым делителем потока (201), имеющим четыре, каждый на расстоянии друг от друга, в частности круглоцилиндрические, конусообразные или конические, порты потока (201A, 201B, 201C, 201D), а второй торец корпуса со стороны выхода образован вторым делителем потока (202), имеющим четыре, каждый на расстоянии друг от друга, в частности круглоцилиндрические, конусообразные или конические, порты потока (202А, 202B, 202C, 202D), причем максимальный внутренний диаметр D7 корпуса преобразователя (71) больше 150 мм, в частности больше 250 мм;
- четыре образующие гидравлически параллельно подключенные тракты потока, подключенные к, в частности идентичным, делителям потока (201, 202), в частности закрепленные указанными делителями потока (201, 202) в корпусе преобразователя с возможностью колебаний и/или идентичные и/или попарно параллельные друг другу, прямые измерительные трубки (181, 182, 183, 184), предназначенные для прохождения текучего носителя;
- первую измерительную трубку (181), в частности круглоцилиндрическую, первый торец которой со стороны входа входит в первый порт потока (201A) первого делителя потока (201), а второй торец измерительной трубки в первый порт потока (202A) второго делителя потока (202);
- вторую измерительную трубку (182), в частности круглоцилиндрическую, первый торец которой со стороны входа входит во второй порт потока (201B) первого делителя потока (201), а второй торец измерительной трубки во второй порт потока (202B) второго делителя потока (202);
- третью измерительную трубку (183), в частности круглоцилиндрическую, первый торец которой со стороны входа входит в третий порт потока (201C) первого делителя потока (201), а второй торец измерительной трубки в третий порт потока (202C) второго делителя потока (202);
четвертую измерительную трубку (184), в частности круглоцилиндрическую, первый торец которой со стороны входа входит в четвертый порт потока (201D) первого делителя потока (201), а второй торец измерительной трубки в четвертый порт потока (202A) второго делителя потока (202);
- электромеханический возбудительный контур (5), образованный, в частности электродинамическими возбудителями колебаний (51, 52), для производства и/или поддержания механических колебаний, в частности изгибных колебаний, четырех измерительных трубок (181, 182, 183, 184), причем выполненный таким образом, что первая измерительная трубка (181) и вторая измерительная трубка (182) в рабочем режиме приводятся в противофазные изгибные колебания в общей виртуальной первой плоскости колебаний (XZ1), а третья измерительная трубка (183) и четвертая измерительная трубка (184) в рабочем режиме приводятся в противофазные изгибные колебания в общей виртуальной второй плоскости колебаний (XZ2), в частности в сущности параллельной первой плоскости колебаний (XZ1).
2. Измерительный преобразователь по п.1, в котором соотношение внутреннего диаметра корпуса и внутреннего диаметра измерительных трубок (D7/D18) измерительного преобразователя, определяемое отношением максимального внутреннего диаметра корпуса (D7) к калибру (D18) первой измерительной трубки больше 3, в частности больше 4 и/или меньше 5.
3. Измерительный преобразователь по п.2, в котором собственная масса измерительного преобразователя больше 200 кг, в частности больше 300 кг.
4. Измерительный преобразователь по любому из пп.1-3, в котором номинальный диаметр (D11) измерительного преобразователя, соответствующий калибру трубопровода, в который он установлен, больше 100 мм, в частности больше 300 мм.
5. Измерительный преобразователь по п.3, в котором соотношение массы и номинального диаметра (M11/D11) измерительного преобразователя, определяемое отношением собственной массы (M11) измерительного преобразователя к номинальному диаметру (D11) измерительного преобразователя, меньше 2 кг/мм, в частности меньше 1 кг/мм и/или больше 0,5 кг/мм.
6. Измерительный преобразователь по любому из пп.1-3, в котором первый делитель потока (201) имеет фланец (61) для подключения измерительного преобразователя к сегменту трубопровода, подводящего носитель, а второй делитель потока (202) имеет фланец (62) для подключения измерительного преобразователя к сегменту трубопровода, отводящего носитель.
7. Измерительный преобразователь по п.6, в котором каждый из фланцев (61, 62) имеет по одной уплотнительной плоскости (61A, 62A) для герметичного соединения измерительного преобразователя с соответствующим сегментом трубопровода и расстояние между уплотнительными плоскостями (61A, 62A) обоих фланцев определяет монтажную длину (L11) измерительного преобразователя, составляющую более 1200 мм, в частности менее 3000 мм.
8. Измерительный преобразователь по п.4, в котором соотношение номинального диаметра и монтажной длины (D11/L11) измерительного преобразователя, определяемое отношением номинального диаметра измерительного преобразователя к монтажной длине измерительного преобразователя, меньше 0,3, в частности меньше 0,2 и/или больше 0,1.
9. Измерительный преобразователь по п.4, в котором соотношение внутреннего диаметра корпуса и номинального диаметра (D7/D11) измерительного преобразователя, определяемое отношением максимального внутреннего диаметра корпуса (D7) к номинальному диаметру (D11) измерительного преобразователя, меньше 1,5, в частности меньше 1,2 и/или больше 0,9, в частности соотношение внутреннего диаметра корпуса и номинального диаметра (D7/D11) измерительного преобразователя равно единице.
10. Измерительный преобразователь по любому из пп.1-3, содержащий
- первый стыковочный элемент (241) первого типа, в частности пластинчатый, для создания со стороны входа колебательных узлов, по меньшей вибраций, в частности изгибных колебаний, первой измерительной трубки и противофазных им вибраций, в частности изгибных колебаний, второй измерительной трубки, размещенный на расстоянии как от первого делителя потока, так и от второго делителя потока со стороны входа, по меньшей мере, на первой измерительной трубке и на второй измерительной трубке таким образом, что все четыре измерительные трубки (181, 182, 183, 184) механически соединены между собой первым стыковочным элементом (241) первого типа, а также
- второй стыковочный элемент (242) первого типа, в частности пластинчатый и/или идентичный первому стыковочному элементу (241) и/или параллельный ему, для создания со стороны выхода колебательных узлов, по меньшей вибраций, в частности изгибных колебаний, первой измерительной трубки и противофазных им вибраций, в частности изгибных колебаний, второй измерительной трубки, размещенный на расстоянии как от первого делителя потока, так и от второго делителя потока со стороны выхода, по меньшей мере, на первой измерительной трубке и на второй измерительной трубке таким образом, что все четыре измерительные трубки (181, 182, 183, 184) механически соединены между собой вторым стыковочным элементом (242) первого типа.
- первый стыковочный элемент (241) первого типа, в частности пластинчатый, для создания со стороны входа колебательных узлов, по меньшей вибраций, в частности изгибных колебаний, первой измерительной трубки и противофазных им вибраций, в частности изгибных колебаний, второй измерительной трубки, размещенный на расстоянии как от первого делителя потока, так и от второго делителя потока со стороны входа, по меньшей мере, на первой измерительной трубке и на второй измерительной трубке таким образом, что все четыре измерительные трубки (181, 182, 183, 184) механически соединены между собой первым стыковочным элементом (241) первого типа, а также
- второй стыковочный элемент (242) первого типа, в частности пластинчатый и/или идентичный первому стыковочному элементу (241) и/или параллельный ему, для создания со стороны выхода колебательных узлов, по меньшей вибраций, в частности изгибных колебаний, первой измерительной трубки и противофазных им вибраций, в частности изгибных колебаний, второй измерительной трубки, размещенный на расстоянии как от первого делителя потока, так и от второго делителя потока со стороны выхода, по меньшей мере, на первой измерительной трубке и на второй измерительной трубке таким образом, что все четыре измерительные трубки (181, 182, 183, 184) механически соединены между собой вторым стыковочным элементом (242) первого типа.
11. Измерительный преобразователь по п.10, в котором
- первый стыковочный элемент (241) первого типа закреплен на третьей измерительной трубке (183) и на четвертой измерительной трубке (184), a второй стыковочный элемент первого типа закреплен на третьей и на четвертой измерительной трубке и/или
- центр тяжести массы первого стыковочного элемента первого типа расположен на расстоянии от центра тяжести массы измерительного преобразователя, по существу, равном расстоянию между центром тяжести массы второго стыковочного элемента первого типа и центром тяжести массы измерительного преобразователя.
- первый стыковочный элемент (241) первого типа закреплен на третьей измерительной трубке (183) и на четвертой измерительной трубке (184), a второй стыковочный элемент первого типа закреплен на третьей и на четвертой измерительной трубке и/или
- центр тяжести массы первого стыковочного элемента первого типа расположен на расстоянии от центра тяжести массы измерительного преобразователя, по существу, равном расстоянию между центром тяжести массы второго стыковочного элемента первого типа и центром тяжести массы измерительного преобразователя.
12. Измерительный преобразователь по п.10, содержащий
- третий стыковочный элемент (243) первого типа, в частности пластинчатый, для создания со стороны входа колебательных узлов, по меньшей мере вибраций, в частности изгибных колебаний, третьей измерительной трубки (183) и противофазных им вибраций, в частности изгибных колебаний, четвертой измерительной трубки (184), размещенный на расстоянии как от первого делителя потока, так и от второго делителя потока со стороны входа, по меньшей мере, на третьей измерительной трубке (183) и на четвертой измерительной трубке (184), при этом все четыре измерительные трубки (181, 182, 183, 184) механически соединены между собой третьим стыковочным элементом (243) первого типа, а также
- четвертый стыковочный элемент (244) первого типа, в частности пластинчатый, для создания со стороны входа колебательных узлов, по меньшей вибраций, в частности изгибных колебаний, третьей измерительной трубки (183) и противофазных им вибраций, в частности изгибных колебаний, четвертой измерительной трубки (184), размещенный на расстоянии как от первого делителя потока, так и от второго делителя потока со стороны выхода, по меньшей мере, на третьей измерительной трубке (183) и на четвертой измерительной трубке (184), причем все четыре измерительные трубки (181, 182, 183, 184) механически соединены между собой четвертым стыковочным элементом (244) первого типа.
- третий стыковочный элемент (243) первого типа, в частности пластинчатый, для создания со стороны входа колебательных узлов, по меньшей мере вибраций, в частности изгибных колебаний, третьей измерительной трубки (183) и противофазных им вибраций, в частности изгибных колебаний, четвертой измерительной трубки (184), размещенный на расстоянии как от первого делителя потока, так и от второго делителя потока со стороны входа, по меньшей мере, на третьей измерительной трубке (183) и на четвертой измерительной трубке (184), при этом все четыре измерительные трубки (181, 182, 183, 184) механически соединены между собой третьим стыковочным элементом (243) первого типа, а также
- четвертый стыковочный элемент (244) первого типа, в частности пластинчатый, для создания со стороны входа колебательных узлов, по меньшей вибраций, в частности изгибных колебаний, третьей измерительной трубки (183) и противофазных им вибраций, в частности изгибных колебаний, четвертой измерительной трубки (184), размещенный на расстоянии как от первого делителя потока, так и от второго делителя потока со стороны выхода, по меньшей мере, на третьей измерительной трубке (183) и на четвертой измерительной трубке (184), причем все четыре измерительные трубки (181, 182, 183, 184) механически соединены между собой четвертым стыковочным элементом (244) первого типа.
13. Измерительный преобразователь по п.12, в котором
- третий стыковочный элемент первого типа закреплен на расстоянии от первого и от второго стыковочного элемента первого типа как на первой измерительной трубке, так и на второй измерительной трубке, а четвертый стыковочный элемент первого типа закреплен на расстоянии как от первого так и от второго стыковочного элемента первого типа; и/или
- центр тяжести массы третьего стыковочного элемента первого типа расположен на расстоянии от центра тяжести массы измерительного преобразователя, в сущности равном расстоянию между центром тяжести массы четвертого стыковочного элемента первого типа и указанным центром тяжести массы измерительного преобразователя, в частности таким образом, что расстояние между центром тяжести массы третьего стыковочного элемента первого типа и центром тяжести массы измерительного преобразователя больше, чем расстояние между центром тяжести массы первого стыковочного элемента первого типа и указанным центром тяжести массы измерительного преобразователя и больше расстояния между центром тяжести второго стыковочного элемента первого типа и указанным центром тяжести массы измерительного преобразователя.
- третий стыковочный элемент первого типа закреплен на расстоянии от первого и от второго стыковочного элемента первого типа как на первой измерительной трубке, так и на второй измерительной трубке, а четвертый стыковочный элемент первого типа закреплен на расстоянии как от первого так и от второго стыковочного элемента первого типа; и/или
- центр тяжести массы третьего стыковочного элемента первого типа расположен на расстоянии от центра тяжести массы измерительного преобразователя, в сущности равном расстоянию между центром тяжести массы четвертого стыковочного элемента первого типа и указанным центром тяжести массы измерительного преобразователя, в частности таким образом, что расстояние между центром тяжести массы третьего стыковочного элемента первого типа и центром тяжести массы измерительного преобразователя больше, чем расстояние между центром тяжести массы первого стыковочного элемента первого типа и указанным центром тяжести массы измерительного преобразователя и больше расстояния между центром тяжести второго стыковочного элемента первого типа и указанным центром тяжести массы измерительного преобразователя.
14. Измерительный преобразователь по п.10, в котором свободная длина колебаний первой измерительной трубки, в частности каждой из измерительных трубок, соответствующая минимальному расстоянию между первым стыковочным элементом первого типа и вторым стыковочным элементом первого типа, меньше 2500 мм, в частности меньше 2000 мм и/или больше 800 мм.
15. Измерительный преобразователь по любому из пп.1-3, содержащий:
- первый стыковочный элемент (251) второго типа, в частности пластинчатый или стержневой для синхронизации вибраций, в частности изгибных колебаний, первой измерительной трубки (181) и одночастотных с ними вибраций, в частности изгибных колебаний, третьей измерительной трубки (183), размещенный на расстоянии как от первого стыковочного элемента (241) первого типа, так и от второго стыковочного элемента (242) первого типа на первой измерительной трубке (181) и на третьей измерительной трубке (183), но ни на какой другой из измерительных трубок, а также
- второй стыковочный элемент (252) второго типа для синхронизации вибраций, в частности изгибных колебаний, второй измерительной трубки (182) и одночастотных с ними вибраций, в частности изгибных колебаний, четвертой измерительной трубки (184), размещенный на расстоянии как от первого стыковочного элемента (241) первого типа, так и от первого стыковочного элемента (251) второго типа на второй измерительной трубке (182) и на четвертой измерительной трубке (184), но ни на какой другой из измерительных трубок, в частности таким образом, что первый и второй стыковочные элементы (251, 252) второго типа расположены в измерительном преобразователе друг против друга.
- первый стыковочный элемент (251) второго типа, в частности пластинчатый или стержневой для синхронизации вибраций, в частности изгибных колебаний, первой измерительной трубки (181) и одночастотных с ними вибраций, в частности изгибных колебаний, третьей измерительной трубки (183), размещенный на расстоянии как от первого стыковочного элемента (241) первого типа, так и от второго стыковочного элемента (242) первого типа на первой измерительной трубке (181) и на третьей измерительной трубке (183), но ни на какой другой из измерительных трубок, а также
- второй стыковочный элемент (252) второго типа для синхронизации вибраций, в частности изгибных колебаний, второй измерительной трубки (182) и одночастотных с ними вибраций, в частности изгибных колебаний, четвертой измерительной трубки (184), размещенный на расстоянии как от первого стыковочного элемента (241) первого типа, так и от первого стыковочного элемента (251) второго типа на второй измерительной трубке (182) и на четвертой измерительной трубке (184), но ни на какой другой из измерительных трубок, в частности таким образом, что первый и второй стыковочные элементы (251, 252) второго типа расположены в измерительном преобразователе друг против друга.
16. Измерительный преобразователь по п.15, в котором
- первый стыковочный элемент второго типа закреплен первой измерительной трубке и на третьей измерительной трубке на расстоянии, равном 50% расстояния между первым стыковочным элементом первого типа и вторым стыковочным элементом первого типа, а
- второй стыковочный элемент второго типа закреплен второй измерительной трубке и на четвертой измерительной трубке на расстоянии, равном 50% расстояния между первым стыковочным элементом первого типа и вторым стыковочным элементом первого типа.
- первый стыковочный элемент второго типа закреплен первой измерительной трубке и на третьей измерительной трубке на расстоянии, равном 50% расстояния между первым стыковочным элементом первого типа и вторым стыковочным элементом первого типа, а
- второй стыковочный элемент второго типа закреплен второй измерительной трубке и на четвертой измерительной трубке на расстоянии, равном 50% расстояния между первым стыковочным элементом первого типа и вторым стыковочным элементом первого типа.
17. Измерительный преобразователь по п.15, содержащий:
- третий стыковочный элемент (253) второго типа, в частности пластинчатый или стержневой для синхронизации вибраций, в частности изгибных колебаний, первой измерительной трубки (181) и одночастотных с ними вибраций, в частности изгибных колебаний, третьей измерительной трубки (183), размещенный на расстоянии как от первого стыковочного элемента (241) первого типа, так и от первого стыковочного элемента (251) второго типа на первой измерительной трубке (181) и на третьей измерительной трубке (183), но ни на какой другой из измерительных трубок, а также
- четвертый стыковочный элемент (254) второго типа для синхронизации вибраций, в частности изгибных колебаний, второй измерительной трубки (182) и одночастотных с ними вибраций, в частности изгибных колебаний, четвертой измерительной трубки (184), размещенный на расстоянии как от первого и второго стыковочных элементов (241, 242) первого типа, так и от второго и третьего стыковочных элементов (252, 253) второго типа на второй измерительной трубке (182) и на четвертой измерительной трубке (184), но ни на какой другой из измерительных трубок, в частности таким образом, что третий и четвертый стыковочные элементы (253, 254) второго типа расположены в измерительном преобразователе друг против друга.
- третий стыковочный элемент (253) второго типа, в частности пластинчатый или стержневой для синхронизации вибраций, в частности изгибных колебаний, первой измерительной трубки (181) и одночастотных с ними вибраций, в частности изгибных колебаний, третьей измерительной трубки (183), размещенный на расстоянии как от первого стыковочного элемента (241) первого типа, так и от первого стыковочного элемента (251) второго типа на первой измерительной трубке (181) и на третьей измерительной трубке (183), но ни на какой другой из измерительных трубок, а также
- четвертый стыковочный элемент (254) второго типа для синхронизации вибраций, в частности изгибных колебаний, второй измерительной трубки (182) и одночастотных с ними вибраций, в частности изгибных колебаний, четвертой измерительной трубки (184), размещенный на расстоянии как от первого и второго стыковочных элементов (241, 242) первого типа, так и от второго и третьего стыковочных элементов (252, 253) второго типа на второй измерительной трубке (182) и на четвертой измерительной трубке (184), но ни на какой другой из измерительных трубок, в частности таким образом, что третий и четвертый стыковочные элементы (253, 254) второго типа расположены в измерительном преобразователе друг против друга.
18. Измерительный преобразователь по п.17, содержащий:
- пятый стыковочный элемент (255) второго типа, в частности пластинчатый или стержневой, для синхронизации вибраций, в частности изгибных колебаний, первой измерительной трубки (181) и одночастотных с ними вибраций, в частности изгибных колебаний, третьей измерительной трубки (183), размещенный на расстоянии как от первого и второго стыковочных элементов (241, 242) первого типа, так и от первого и третьего стыковочных элементов (251, 253) второго типа на первой измерительной трубке (181) и на третьей измерительной трубке (183), но ни на какой другой из измерительных трубок, а также
- шестой стыковочный элемент (256) второго типа для синхронизации вибраций, в частности изгибных колебаний, второй измерительной трубки и одночастотных с ними вибраций, в частности изгибных колебаний, четвертой измерительной трубки, размещенный на расстоянии как от первого и второго стыковочных элементов (241, 242) первого типа, так и от второго, четвертого и пятого стыковочных элементов (252, 254, 255) второго типа на второй измерительной трубке (182) и на четвертой измерительной трубке (184), но ни на какой другой из измерительных трубок, в частности таким образом, что пятый и шестой стыковочные элементы (255, 256) второго типа расположены в измерительном преобразователе друг против друга.
- пятый стыковочный элемент (255) второго типа, в частности пластинчатый или стержневой, для синхронизации вибраций, в частности изгибных колебаний, первой измерительной трубки (181) и одночастотных с ними вибраций, в частности изгибных колебаний, третьей измерительной трубки (183), размещенный на расстоянии как от первого и второго стыковочных элементов (241, 242) первого типа, так и от первого и третьего стыковочных элементов (251, 253) второго типа на первой измерительной трубке (181) и на третьей измерительной трубке (183), но ни на какой другой из измерительных трубок, а также
- шестой стыковочный элемент (256) второго типа для синхронизации вибраций, в частности изгибных колебаний, второй измерительной трубки и одночастотных с ними вибраций, в частности изгибных колебаний, четвертой измерительной трубки, размещенный на расстоянии как от первого и второго стыковочных элементов (241, 242) первого типа, так и от второго, четвертого и пятого стыковочных элементов (252, 254, 255) второго типа на второй измерительной трубке (182) и на четвертой измерительной трубке (184), но ни на какой другой из измерительных трубок, в частности таким образом, что пятый и шестой стыковочные элементы (255, 256) второго типа расположены в измерительном преобразователе друг против друга.
19. Измерительный преобразователь по любому из пп.1-3, в котором каждая из четырех, в частности равнокалиберных и/или равно длинных, измерительных трубок (181, 182, 183, 184) имеет калибр более 60 мм, в частности более 80 мм.
20. Измерительный преобразователь по п.14, в котором соотношение калибра и длины колебаний (D18/L18x) измерительного преобразователя, определяемое отношением калибра (D18) первой измерительной трубки (L18) к свободной длине колебаний (L18x) первой измерительной трубки (181), больше 0,07, в частности больше 0,09 и/или меньше 0,15.
21. Измерительный преобразователь по любому из пп.1-3, в котором установочная длина (L18) первой измерительной трубки (L18), соответствующая минимальному расстоянию между первым портом потока (201A) первого делителя потока (201) и первым портом потока (202A) второго делителя потока (202) больше 1000 мм, в частности больше 1200 мм и/или меньше 2000 мм.
22. Измерительный преобразователь по п.7, в котором соотношение длины измерительной трубки и монтажной длины (L18/L11) измерительного преобразователя, определяемой отношением длины (L18) первой измерительной трубки к монтажной длине (L11) измерительного преобразователя, больше 0,7, в частности больше 0,8 и/или меньше 0,95.
23. Измерительный преобразователь по п.7, в котором соотношение калибра и монтажной длины (D18/L11) измерительного преобразователя, определяемой отношением калибра (D18) первой измерительной трубки к монтажной длине (L11) измерительного преобразователя, больше 0,02, в частности больше 0,05 и/или меньше 0,09.
24. Измерительный преобразователь по п.7 или 14, в котором соотношение длины колебаний и монтажной длины (L18x/L11) измерительного преобразователя, определяемой отношением свободной длины колебаний (L18x) первой измерительной трубки к монтажной длине (L11) измерительного преобразователя, больше 0,55, в частности больше 0,6 и/или меньше 0,9.
25. Измерительный преобразователь по любому из пп.1-3, содержащий сенсорный контур (19), реагирующий на вибрации, в частности изгибные колебания от возбудительного контура, измерительных трубок (181, 182, 183, 184), в частности электродинамический и/или образованный идентичными друг другу датчиками колебаний (191, 192, 193, 194) и предназначенный для производства сигналов измерения колебаний, характеризующих вибрации, в частности изгибные колебаний измерительных трубок (181, 182, 183, 184).
26. Измерительный преобразователь по п.25, в котором сенсорный контур (19) образован на стороне входа первым датчиком колебаний (191), в частности электродинамическим и/или фиксирующим дифференцированно, по меньшей мере, колебания первой измерительной трубки (181) относительно второй измерительной трубки (182), а также со стороны выхода вторым датчиком колебаний (192), в частности электродинамическим и/или фиксирующим дифференцирование колебания первой измерительной трубки (181) относительно второй измерительной трубки (182).
27. Измерительный преобразователь по п.26, в котором сенсорный контур (19) образован на стороне входа третьим датчиком колебаний (193), в частности электродинамическим и/или фиксирующим дифференцированно колебания третьей измерительной трубки (183) относительно четвертой измерительной трубки (184), а также со стороны выхода четвертым датчиком колебаний (194), в частности электродинамическим и/или фиксирующим дифференцированно колебания третьей измерительной трубки (183) относительно четвертой измерительной трубки (184).
28. Измерительный преобразователь по п.27, в котором
- первый и третий датчики колебаний (191, 193) подключены электрически последовательно таким образом, что общий сигнал измерений колебаний характеризует общие колебания со стороны входа первой и третьей измерительных трубок (181, 183) относительно второй и четвертой измерительных трубок (182, 184),
- второй и четвертый датчики колебаний (192, 194) подключены электрически последовательно таким образом, что общий сигнал измерений колебаний характеризует общие колебания со стороны выхода первой и третьей измерительных трубок (181, 183) относительно второй и четвертой измерительных трубок (182, 184).
- первый и третий датчики колебаний (191, 193) подключены электрически последовательно таким образом, что общий сигнал измерений колебаний характеризует общие колебания со стороны входа первой и третьей измерительных трубок (181, 183) относительно второй и четвертой измерительных трубок (182, 184),
- второй и четвертый датчики колебаний (192, 194) подключены электрически последовательно таким образом, что общий сигнал измерений колебаний характеризует общие колебания со стороны выхода первой и третьей измерительных трубок (181, 183) относительно второй и четвертой измерительных трубок (182, 184).
29. Измерительный преобразователь по п.27 или 28, в котором третий датчик колебаний (193) образован закрепленным на третьей измерительной трубке (183) постоянным магнитом и закрепленной на четвертой измерительной трубке (184) цилиндрической катушкой, через которую проходит его магнитное поле, а четвертый датчик колебаний (194) образован закрепленным на третьей измерительной трубке (183) постоянным магнитом и закрепленной на четвертой измерительной трубке (184) цилиндрической катушкой, через которую проходит его магнитное поле.
30. Измерительный преобразователь по любому из пп.26-28, в котором соответствующая минимальному расстоянию между первым датчиком колебаний (191) и вторым датчиком колебаний (192) расчетная длина (L19) измерительного преобразователя больше 500 мм, в частности больше 600 мм и/или меньше 1200 мм.
31. Измерительный преобразователь по п.7, в котором соотношение расчетной длины и монтажной длины измерительного преобразователя (L19/L11), определяемое отношением расчетной длины (L19) к монтажной длине (L11) измерительного преобразователя, больше 0,3, в частности больше 0,4 и/или меньше 0,7.
32. Измерительный преобразователь по п.19, в котором соотношение калибра и расчетной длины (D18/L19) измерительного преобразователя, определяемое отношением калибра (D18) к расчетной длине (L19) измерительного преобразователя, больше 0,05, в частности больше 0,09.
33. Измерительный преобразователь по п.14, в котором соотношение расчетной длины и длины колебаний (L19/L18x) измерительного преобразователя, определяемое отношением расчетной длины (L19) к длине колебаний (L18x) первой измерительной трубки, больше 0,6, в частности больше 0,65 и/или меньше 0,95.
34. Измерительный преобразователь по любому из пп.1-3, в котором четыре измерительные трубки (181, 182, 183, 184) идентичны друг другу в отношении материала их стенок и/или в отношении их геометрических размеров, в частности длины, толщины стенок, наружного диаметра и/или калибра.
35. Измерительный преобразователь по любому из пп.1-3, в котором как третья, так и четвертая измерительные трубки (183, 184) в отношении их геометрических размеров, в частности длины, толщины стенок, наружного диаметра и/или калибра отличаются от первой измерительной трубки и от второй измерительной трубки (181, 182).
36. Измерительный преобразователь по любому из пп.1-3, в котором каждая измерительная трубка (181, 182, 183, 184) обладает основным режимом изгибных колебаний с минимальной резонансной частотой (f181; f182; f183; f184), а минимальные резонансные частоты изгибных колебаний (f181, f182), по меньшей мере, первой и второй измерительных трубок (181, 182), по существу, равны и минимальные резонансные частоты изгибных колебаний (f183; f184), по меньшей мере, третьей и четвертой измерительных трубок (183, 184), по существу, равны.
37. Измерительный преобразователь по п.36, в котором минимальные резонансные частоты (f181; f182; f183; f184) изгибных колебаний всех четырех измерительных трубок (181, 182, 183, 184), по существу, равны.
38. Измерительный преобразователь по п.36, в котором минимальные резонансные частоты (f181; f182; f183; f184) изгибных колебаний всех четырех измерительных трубок (181, 182, 183, 184) равны попарно.
39. Измерительный преобразователь по любому из пп.1-3, в котором возбудительный контур (5) образован первым возбудителем колебаний (51), в частности электродинамическим, и/или дифференцирование вызывающим колебания первой измерительной трубки (181) относительно второй измерительной трубки (182).
40. Измерительный преобразователь по п.39, в котором:
- возбудительный контур образован вторым возбудителем колебаний (52), в частности электродинамическим и/или дифференцирование вызывающим колебания третьей измерительной трубки (183) относительно четвертой измерительной трубки (184), в частности таким образом, что первый и второй возбудители колебаний (51, 52) подключены электрически последовательно, при этом общий пусковой сигнал инициирует общие колебания первой и третьей измерительных трубок (181, 183) относительно второй и четвертой измерительных трубок (182, 184) и/или
- первый возбудитель колебаний (51) образован закрепленным на первой измерительной трубке (181) постоянным магнитом и закрепленной на второй измерительной трубке (182) цилиндрической катушкой, через которую проходит его магнитное поле, а второй возбудитель колебаний (52) образован закрепленным на третьей измерительной трубке (183) постоянным магнитом и закрепленной на четвертой измерительной трубке (184) цилиндрической катушкой, через которую проходит его магнитное поле.
- возбудительный контур образован вторым возбудителем колебаний (52), в частности электродинамическим и/или дифференцирование вызывающим колебания третьей измерительной трубки (183) относительно четвертой измерительной трубки (184), в частности таким образом, что первый и второй возбудители колебаний (51, 52) подключены электрически последовательно, при этом общий пусковой сигнал инициирует общие колебания первой и третьей измерительных трубок (181, 183) относительно второй и четвертой измерительных трубок (182, 184) и/или
- первый возбудитель колебаний (51) образован закрепленным на первой измерительной трубке (181) постоянным магнитом и закрепленной на второй измерительной трубке (182) цилиндрической катушкой, через которую проходит его магнитное поле, а второй возбудитель колебаний (52) образован закрепленным на третьей измерительной трубке (183) постоянным магнитом и закрепленной на четвертой измерительной трубке (184) цилиндрической катушкой, через которую проходит его магнитное поле.
41. Измерительный преобразователь по п.39, в котором каждый из, в частности идентичных, возбудителей колебаний (51, 52) закреплен на двух противолежащих стыковочных элементах (251, 252) второго типа.
42. Измерительный преобразователь по п.41, в котором как первый (51), так и второй возбудитель колебаний (52) закреплены каждый на первом и втором стыковочных элементах (251, 252) второго типа, в частности таким образом, что минимальное расстояние между первым и вторым возбудителями колебаний (51, 52) более чем в два раза больше наружного диаметра первой измерительной трубки (181).
43. Измерительный преобразователь по п.42, в котором как первый (191), так и третий датчик колебаний (193) закреплены каждый на третьем и четвертом стыковочных элементах (253, 254) второго типа, в частности таким образом, что минимальное расстояние между первым и третьим датчиками колебаний (191, 193) более чем в два раза больше наружного диаметра первой измерительной трубки (181).
44. Измерительный преобразователь по п.43, в котором как второй (192), так и четвертый датчик колебаний (194) закреплены каждый на пятом и шестом стыковочных элементах (255, 256) второго типа, в частности таким образом, что минимальное расстояние между вторым и четвертым датчиками колебаний (192, 194) более чем в два раза больше наружного диаметра первой измерительной трубки (181).
45. Измерительный преобразователь по п.39, содержащий:
- первый пластинчатый элемент жесткости (261), закрепленный на первой (181) и на третьей измерительной трубке (183) для калибровки резонансных частот изгибных колебаний первой (181) и третьей измерительной трубки (183) в третьей плоскости колебаний (YZ1), по существу перпендикулярной первой и/или второй плоскостям колебаний (XZ1, XZ2), а именно на каждом из сегментов (18'1, 18'2) первой или третьей измерительной трубки между первым возбудителем колебаний (51) и первым делителем потока (201);
- второй пластинчатый элемент жесткости (262), закрепленный на второй (182) и на четвертой измерительной трубке (184) для калибровки резонансных частот изгибных колебаний второй (182) и четвертой измерительной трубки (184) в четвертой плоскости колебаний (YZ2), по существу перпендикулярной первой и/или второй плоскостям колебаний (XZ1, XZ2), а именно на каждом из сегментов (18'2, 18'4) первой или третьей измерительной трубки между первым возбудителем колебаний (51) и первым делителем потока (201);
- третий пластинчатый элемент жесткости (263), закрепленный на первой (181) и на третьей измерительной трубке (183) для калибровки резонансных частот изгибных колебаний первой (181) и третьей измерительной трубки (183), а именно на каждом из сегментов (18''1, 18''3) первой или третьей измерительной трубки между первым возбудителем колебаний (51) и вторым делителем потока (202),
- четвертый пластинчатый элемент жесткости (264), закрепленный на второй (182) и на четвертой измерительной трубке (184) для калибровки резонансных частот изгибных колебаний второй (182) и четвертой измерительной трубки (184) в четвертой плоскости колебаний (YZ2), a именно на каждом из сегментов (18''2, 18''4) второй или четвертой измерительной трубки между первым возбудителем колебаний (51) и вторым делителем потока (202).
- первый пластинчатый элемент жесткости (261), закрепленный на первой (181) и на третьей измерительной трубке (183) для калибровки резонансных частот изгибных колебаний первой (181) и третьей измерительной трубки (183) в третьей плоскости колебаний (YZ1), по существу перпендикулярной первой и/или второй плоскостям колебаний (XZ1, XZ2), а именно на каждом из сегментов (18'1, 18'2) первой или третьей измерительной трубки между первым возбудителем колебаний (51) и первым делителем потока (201);
- второй пластинчатый элемент жесткости (262), закрепленный на второй (182) и на четвертой измерительной трубке (184) для калибровки резонансных частот изгибных колебаний второй (182) и четвертой измерительной трубки (184) в четвертой плоскости колебаний (YZ2), по существу перпендикулярной первой и/или второй плоскостям колебаний (XZ1, XZ2), а именно на каждом из сегментов (18'2, 18'4) первой или третьей измерительной трубки между первым возбудителем колебаний (51) и первым делителем потока (201);
- третий пластинчатый элемент жесткости (263), закрепленный на первой (181) и на третьей измерительной трубке (183) для калибровки резонансных частот изгибных колебаний первой (181) и третьей измерительной трубки (183), а именно на каждом из сегментов (18''1, 18''3) первой или третьей измерительной трубки между первым возбудителем колебаний (51) и вторым делителем потока (202),
- четвертый пластинчатый элемент жесткости (264), закрепленный на второй (182) и на четвертой измерительной трубке (184) для калибровки резонансных частот изгибных колебаний второй (182) и четвертой измерительной трубки (184) в четвертой плоскости колебаний (YZ2), a именно на каждом из сегментов (18''2, 18''4) второй или четвертой измерительной трубки между первым возбудителем колебаний (51) и вторым делителем потока (202).
46. Измерительный преобразователь по любому из пп.1-3, в котором
- каждая из четырех, в частности равнокалиберных, измерительных трубок (181, 182, 183, 184) расположены так,
- что минимальное боковое расстояние между каждой из четырех, в частности имеющих одинаковую длину, измерительных трубок и боковой стенкой корпуса преобразователя больше нуля, в частности больше 3 мм и/или больше чем двойная толщина стенки соответствующей трубки, и/или
- что минимальное боковое расстояние между двумя соседними измерительными трубками соответственно больше 3 мм и/или больше чем сумма толщин стенок соответствующих трубок, и/или
- каждый порт потока расположен так,
- что минимальное боковое расстояние между каждым портом потока и боковой стенкой корпуса преобразователя больше нуля, в частности больше 3 мм и/или больше чем минимальная двойная толщина стенки трубки и/или
- что минимальное боковое расстояние между портами потока больше 3 мм и/или больше чем минимальная двойная толщина стенки трубки.
- каждая из четырех, в частности равнокалиберных, измерительных трубок (181, 182, 183, 184) расположены так,
- что минимальное боковое расстояние между каждой из четырех, в частности имеющих одинаковую длину, измерительных трубок и боковой стенкой корпуса преобразователя больше нуля, в частности больше 3 мм и/или больше чем двойная толщина стенки соответствующей трубки, и/или
- что минимальное боковое расстояние между двумя соседними измерительными трубками соответственно больше 3 мм и/или больше чем сумма толщин стенок соответствующих трубок, и/или
- каждый порт потока расположен так,
- что минимальное боковое расстояние между каждым портом потока и боковой стенкой корпуса преобразователя больше нуля, в частности больше 3 мм и/или больше чем минимальная двойная толщина стенки трубки и/или
- что минимальное боковое расстояние между портами потока больше 3 мм и/или больше чем минимальная двойная толщина стенки трубки.
47. Измерительный преобразователь по любому из пп.1-3, в котором для дальнейшего повышения качества колебаний измерительных трубок (181, 182, 183 184) установлено несколько кольцеобразных, в частности идентичных, элементов жесткости (221A, 221B, 221C, 221D, 222A, 22B, 222C, 222D, 223A, 223B, 223C, 223D, 224A, 224B, 224C, 224D), каждый из которых закреплен на одной из измерительных трубок (181, 182, 183, 184) таким образом, что он охватывает ее вдоль одной линии окружности.
48. Измерительный преобразователь по п.47, в котором
- на каждой из измерительных трубок (181, 182, 183, 184) размещены, по меньшей мере, четыре кольцеобразных, в частности идентичных, элемента жесткости (221A, 221B, 221C, 221D, 222A, 222B, 222C, 222D, 223A, 223B, 223C, 223D, 224A, 224B, 224C, 224D) и/или
- элементы жесткости размещены в измерительном преобразователе таким образом, что два соседних элемента жесткости размещены на одной и той же измерительной трубке на расстоянии друг от друга, которое составляет минимум 70%, но максимум 150% наружного диаметра (D18a) указанных измерительных трубок (181, 182, 183, 184), в частности от 80% до 120% указанного диаметра.
- на каждой из измерительных трубок (181, 182, 183, 184) размещены, по меньшей мере, четыре кольцеобразных, в частности идентичных, элемента жесткости (221A, 221B, 221C, 221D, 222A, 222B, 222C, 222D, 223A, 223B, 223C, 223D, 224A, 224B, 224C, 224D) и/или
- элементы жесткости размещены в измерительном преобразователе таким образом, что два соседних элемента жесткости размещены на одной и той же измерительной трубке на расстоянии друг от друга, которое составляет минимум 70%, но максимум 150% наружного диаметра (D18a) указанных измерительных трубок (181, 182, 183, 184), в частности от 80% до 120% указанного диаметра.
49. Измерительный преобразователь по любому из пп.1-3, в котором
- соотношение масс (M11/M18), т.е. собственной массы (M11) всего измерительного преобразователя и собственной массы (M18) первой измерительной трубки больше 10, в частности больше 15 и меньше 25, и/или
- каждый из двух делителей потока (201, 202) обладает массой более 20 кг, в частности более 40 кг, и/или
- собственная масса первой измерительной трубки, в частности каждой из измерительных трубок, больше 20 кг, в частности больше 30 кг и/или меньше 50 кг, и/или
- первая и вторая измерительные трубки (181, 182) идентичны, по меньшей мере, в отношении материала стенок трубок и/или в отношении их геометрических размеров, в частности длины, толщины стенок, наружного диаметра и/или калибра, и/или
- третья и четвертая измерительные трубки (183, 184) идентичны, по меньшей мере, в отношении материала стенок трубок и/или в отношении их геометрических размеров, в частности длины, толщины стенок, наружного диаметра и/или калибра, и/или
- материал стенок четырех измерительных трубок (181, 182, 183, 184), по меньшей мере, частично, является титаном, и/или цирконием, и/или дуплексной сталью, и/или супердуплексной сталью, и/или
- корпус преобразователя (71), делители потока (201, 202) и стенки измерительных трубок (181, 182, 183, 184) состоят из, в частности нержавеющей, стали, и/или
- четыре порта потока (201A, 201B, 201C, 201D) первого делителя потока (201) размещены таким образом, что виртуальные центры тяжести плоскостей поперечных сечений портов потока (201A, 201B, 201C, 201D) первого делителя потока (201) образуют вершинами своих углов виртуальный квадрат, причем указанные плоскости поперечного сечения находятся в общей, виртуальной, перпендикулярной, в частности параллельной главной оси потока преобразователя, плоскости сечение первого делителя потока (201), и/или
- четыре порта потока (202A, 202B, 202C, 202D) второго делителя потока (202) размещены таким образом, что виртуальные центры тяжести плоскостей поперечных сечений портов потока (201A, 201B, 201C, 201D) второго делителя потока (202) образуют вершинами своих углов виртуальный квадрат, причем плоскости поперечного сечения находятся в общей, виртуальной, перпендикулярной, в частности параллельной главной оси потока преобразователя, плоскости сечение второго делителя потока (202), и/или
- средний сегмент (71A) корпуса преобразователя (71) образован прямой, в частности круглоцилиндрической, трубой.
- соотношение масс (M11/M18), т.е. собственной массы (M11) всего измерительного преобразователя и собственной массы (M18) первой измерительной трубки больше 10, в частности больше 15 и меньше 25, и/или
- каждый из двух делителей потока (201, 202) обладает массой более 20 кг, в частности более 40 кг, и/или
- собственная масса первой измерительной трубки, в частности каждой из измерительных трубок, больше 20 кг, в частности больше 30 кг и/или меньше 50 кг, и/или
- первая и вторая измерительные трубки (181, 182) идентичны, по меньшей мере, в отношении материала стенок трубок и/или в отношении их геометрических размеров, в частности длины, толщины стенок, наружного диаметра и/или калибра, и/или
- третья и четвертая измерительные трубки (183, 184) идентичны, по меньшей мере, в отношении материала стенок трубок и/или в отношении их геометрических размеров, в частности длины, толщины стенок, наружного диаметра и/или калибра, и/или
- материал стенок четырех измерительных трубок (181, 182, 183, 184), по меньшей мере, частично, является титаном, и/или цирконием, и/или дуплексной сталью, и/или супердуплексной сталью, и/или
- корпус преобразователя (71), делители потока (201, 202) и стенки измерительных трубок (181, 182, 183, 184) состоят из, в частности нержавеющей, стали, и/или
- четыре порта потока (201A, 201B, 201C, 201D) первого делителя потока (201) размещены таким образом, что виртуальные центры тяжести плоскостей поперечных сечений портов потока (201A, 201B, 201C, 201D) первого делителя потока (201) образуют вершинами своих углов виртуальный квадрат, причем указанные плоскости поперечного сечения находятся в общей, виртуальной, перпендикулярной, в частности параллельной главной оси потока преобразователя, плоскости сечение первого делителя потока (201), и/или
- четыре порта потока (202A, 202B, 202C, 202D) второго делителя потока (202) размещены таким образом, что виртуальные центры тяжести плоскостей поперечных сечений портов потока (201A, 201B, 201C, 201D) второго делителя потока (202) образуют вершинами своих углов виртуальный квадрат, причем плоскости поперечного сечения находятся в общей, виртуальной, перпендикулярной, в частности параллельной главной оси потока преобразователя, плоскости сечение второго делителя потока (202), и/или
- средний сегмент (71A) корпуса преобразователя (71) образован прямой, в частности круглоцилиндрической, трубой.
50. Поточный контрольно-измерительный прибор для измерения плотности и/или доли массового расхода, в частности суммарного за интервал времени общего массового расхода, протекающего в трубопроводе, по меньшей мере временно, носителя с долей массового расхода более 2200 т/ч, в частности газа, жидкости, порошка или другого текучего материала, выполненный, в частности в виде компактного контрольно-измерительного прибора, и содержащий измерительный преобразователь по любому из пп.1-49, а также неподвижно соединенный электрически с измерительным преобразователем, в частности механически, электронный блок контрольно-измерительного прибора.
51. Применение измерительного преобразователя по любому из пп.1-49 для измерения плотности и/или доли массового расхода, в частности суммарного за интервал времени общего массового расхода, протекающего в трубопроводе, по меньшей мере временно, носителя с долей массового расхода более 2200 т/ч, в частности более 2500 т/ч, в частности газа, жидкости, порошка или другого текучего материала.
Applications Claiming Priority (5)
| Application Number | Priority Date | Filing Date | Title |
|---|---|---|---|
| DE102009001472.1 | 2009-03-11 | ||
| DE102009001472A DE102009001472A1 (de) | 2009-03-11 | 2009-03-11 | Meßaufnehmer vom Vibrationstyp sowie In-line-Meßgerät mit einem solchen Meßaufnehmer |
| DE102009027580.0 | 2009-07-09 | ||
| DE102009027580A DE102009027580A1 (de) | 2009-07-09 | 2009-07-09 | Meßaufnehmer vom Vibrationstyp sowie In-line-Meßgerät mit einem solchen Meßaufnehmer |
| PCT/EP2010/053124 WO2010103077A1 (de) | 2009-03-11 | 2010-03-11 | MEßAUFNEHMER VOM VIBRATIONSTYP SOWIE IN-IINE-MEßGERÄT MIT EINEM SOLCHEN MEßAUFNEHMER |
Publications (2)
| Publication Number | Publication Date |
|---|---|
| RU2011141118A RU2011141118A (ru) | 2013-04-20 |
| RU2492430C2 true RU2492430C2 (ru) | 2013-09-10 |
Family
ID=42102485
Family Applications (1)
| Application Number | Title | Priority Date | Filing Date |
|---|---|---|---|
| RU2011141118/28A RU2492430C2 (ru) | 2009-03-11 | 2010-03-11 | Вибрационный измерительный преобразователь, а также поточный контрольно-измерительный прибор с указанным преобразователем |
Country Status (6)
| Country | Link |
|---|---|
| US (7) | US8347736B2 (ru) |
| EP (6) | EP2406591A1 (ru) |
| CN (3) | CN102348963B (ru) |
| CA (3) | CA2754682C (ru) |
| RU (1) | RU2492430C2 (ru) |
| WO (6) | WO2010103080A1 (ru) |
Cited By (2)
| Publication number | Priority date | Publication date | Assignee | Title |
|---|---|---|---|---|
| RU198459U1 (ru) * | 2019-12-09 | 2020-07-10 | Александра Валерьевна Паршина | Устройство управления и контроля процедур слива и налива жидких продуктов в емкости резервуарных парков |
| RU2755777C1 (ru) * | 2020-08-24 | 2021-09-21 | Закрытое акционерное общество "Электронные и механические измерительные системы" | Делитель потока для массового расходомера |
Families Citing this family (83)
| Publication number | Priority date | Publication date | Assignee | Title |
|---|---|---|---|---|
| FR2920544B1 (fr) * | 2007-09-05 | 2011-04-08 | Mer Agitee | Dispositif et procede de determination du regime et/ou de la direction d'un ecoulement de fluide |
| US8312307B2 (en) | 2007-11-07 | 2012-11-13 | Intel Corporation | Systems and methods for reducing power consumption during communication between link partners |
| WO2009120223A1 (en) * | 2008-03-25 | 2009-10-01 | Micro Motion, Inc. | Dual pick-off vibratory flowmeter |
| WO2010103080A1 (de) * | 2009-03-11 | 2010-09-16 | Endress+Hauser Flowtec Ag | MEßSYSTEM FÜR IN EINER ROHRLEITUNG STRÖMENDE MEDIEN |
| US8327719B2 (en) * | 2009-03-11 | 2012-12-11 | Endress + Hauser Flowtec Ag | Measuring transducer of vibration-type, as well as an in-line measuring device having such a measuring transducer |
| EP2516971B1 (de) * | 2009-12-21 | 2020-03-04 | Endress+Hauser Flowtec AG | Messaufnehmer vom vibrationstyp sowie damit gebildetes messsystem |
| RU2534718C2 (ru) * | 2009-12-31 | 2014-12-10 | Эндресс + Хаузер Флоутек Аг | Измерительная система для среды, протекающей в трубопроводах, и способ измерения разности давлений внутри протекающей среды |
| KR101470717B1 (ko) * | 2010-02-12 | 2014-12-08 | 말레마 엔지니어링 코퍼레이션 | 코리올리 유량계, 코리올리 유량계의 제조방법 및 조정방법 |
| DE102010018223A1 (de) * | 2010-04-23 | 2011-10-27 | Krohne Messtechnik Gmbh | Coriolis-Massedurchflussmessgerät |
| DE102010035341B4 (de) * | 2010-08-24 | 2013-07-04 | Krohne Ag | Verfahren zur Bestimmung der Viskosität eines Mediums mit einem Coriolis-Massedurchflussmessgerät |
| DE102010047241B4 (de) * | 2010-10-04 | 2015-08-06 | Krohne Ag | Coriolis-Massedurchflussmessgerät |
| DE102010044179A1 (de) | 2010-11-11 | 2012-05-16 | Endress + Hauser Flowtec Ag | Meßsystem mit einem Meßwandler von Vibrationstyp |
| DE102010056418B4 (de) * | 2010-12-23 | 2015-12-17 | Volkswagen Ag | Verfahren und Vorrichtung zur Aufbereitung ölhaltiger Abwässer |
| US8931346B2 (en) * | 2010-12-30 | 2015-01-13 | Endress + Hauser Flowtec Ag | Vibration type measuring transducer and measuring system formed therewith |
| DE102011010178B4 (de) * | 2011-02-02 | 2017-11-02 | Krohne Ag | Coriolis-Massedurchflussmessgerät |
| DE102011006997A1 (de) | 2011-04-07 | 2012-10-11 | Endress + Hauser Flowtec Ag | Frequenzabgleichsverfahren für eine Rohranordnung |
| DE102011006919A1 (de) | 2011-04-07 | 2012-10-11 | Endress + Hauser Flowtec Ag | Verfahren zum Trimmen eines Rohrs |
| DE102011006971A1 (de) | 2011-04-07 | 2012-10-11 | Endress + Hauser Flowtec Ag | Meßwandler vom Vibrationstyp sowie Verfahren zu dessen Herstellung |
| DE102011076838A1 (de) | 2011-05-31 | 2012-12-06 | Endress + Hauser Flowtec Ag | Meßgerät-Elektronik für ein Meßgerät-Gerät sowie damit gebildetes Meßgerät-Gerät |
| DE102011089808A1 (de) | 2011-12-23 | 2013-06-27 | Endress + Hauser Flowtec Ag | Verfahren bzw. Meßsystem zum Ermitteln einer Dichte eines Fluids |
| WO2013149817A1 (de) | 2012-04-03 | 2013-10-10 | Endress+Hauser Flowtec Ag | MEßWANDLER VOM VIBRATIONSTYP |
| DE102012102947B4 (de) | 2012-04-03 | 2023-12-21 | Endress + Hauser Flowtec Ag | Meßwandler vom Vibrationstyp |
| EP2906915B1 (de) | 2012-10-11 | 2022-04-20 | Endress+Hauser Flowtec AG | Messsystem zum ermitteln eines volumendurchflusses und/oder einer volumendurchflussrate eines in einer rohrleitung strömenden mediums |
| DE102012109729A1 (de) | 2012-10-12 | 2014-05-15 | Endress + Hauser Flowtec Ag | Meßsystem zum Ermitteln eines Volumendruchflusses und/oder einer Volumendurchflußrate eines in einer Rohrleitung strömenden Mediums |
| DE102014002392A1 (de) * | 2013-08-21 | 2015-02-26 | Krohne Ag | Kernmagnetisches Durchflussmessgerät und Verfahren zum Betreiben von kernmagnetischen Durchflussmessgeräten |
| CN103646340B (zh) * | 2013-12-02 | 2015-08-19 | 合一网络技术(北京)有限公司 | 视频前贴广告跨屏浏览方法及使用该方法的视频系统 |
| CN103674140A (zh) * | 2013-12-12 | 2014-03-26 | 重庆川仪自动化股份有限公司 | 科氏质量流量计传感器及其分流器装置 |
| DE102013114742A1 (de) | 2013-12-20 | 2015-06-25 | Endress + Hauser Flowtec Ag | Verfahren zum Fixieren eines Metallrohres an einem Metallkörper |
| DE102014103430A1 (de) | 2014-03-13 | 2015-09-17 | Endress + Hauser Flowtec Ag | Wandlervorrichtung sowie damit gebildetes Meßsystem |
| DE102014103427A1 (de) | 2014-03-13 | 2015-09-17 | Endress + Hauser Flowtec Ag | Wandlervorrichtung sowie damit gebildetes Meßsystem |
| DE102014105580A1 (de) * | 2014-04-17 | 2015-10-22 | Krohne Ag | Coriolis-Massedurchflussmessgerät |
| DE102014118367A1 (de) * | 2014-12-10 | 2016-06-16 | Endress+Hauser Flowtec Ag | Meßaufnehmer vom Vibrationstyp sowie damit gebildetes Meßsystem |
| US10466151B2 (en) | 2014-12-30 | 2019-11-05 | Endress + Hauser Flowtec Ag | Method for measuring density of a fluid |
| DE102014019396A1 (de) | 2014-12-30 | 2016-06-30 | Endress+Hauser Flowtec Ag | Verfahren zum Messen einer Dichte eines Fluids |
| AT517486B1 (de) * | 2015-07-29 | 2022-11-15 | Anton Paar Gmbh | Verfahren zur Bestimmung der Dichte von Flüssigkeiten |
| DE102015118347A1 (de) * | 2015-10-27 | 2017-04-27 | Endress+Hauser Flowtec Ag | Messaufnehmer mit einer zu Schwingungen anregbaren Messleitung |
| DE102015118864A1 (de) | 2015-11-04 | 2017-05-04 | Endress + Hauser Flowtec Ag | Adapter zum Verbinden von Fluidleitungen sowie damit gebildetes Fluidleitungssystem |
| DE102015122225A1 (de) * | 2015-12-18 | 2017-06-22 | Endress + Hauser Flowtec Ag | Verfahren zur Reynoldszahl-Korrektur einer Durchflussmessung eines Coriolis-Durchflussmessgeräts |
| DE102016109058A1 (de) * | 2016-05-17 | 2017-11-23 | Endress+Hauser Flowtec Ag | Fluidleitungssystem |
| DE102016112600A1 (de) | 2016-07-08 | 2018-01-11 | Endress + Hauser Flowtec Ag | Meßsystem |
| DE102016112599A1 (de) | 2016-07-08 | 2018-01-11 | Endress + Hauser Flowtec Ag | Meßsystem |
| WO2018068097A1 (en) * | 2016-10-13 | 2018-04-19 | South East Water Corporation | Water meter and systems and networks comprising the same |
| DE102016125616A1 (de) * | 2016-12-23 | 2018-06-28 | Endress+Hauser Flowtec Ag | Messaufnehmer vom Vibrationstyp |
| DE102017106211A1 (de) | 2016-12-29 | 2018-07-05 | Endress+Hauser Flowtec Ag | Vibronisches Meßsystem zum Messen einer Massendurchflußrate |
| CN110114642B (zh) | 2016-12-29 | 2021-06-08 | 恩德斯+豪斯流量技术股份有限公司 | 用于测量质量流率的电子振动测量系统 |
| WO2018121930A1 (de) | 2016-12-29 | 2018-07-05 | Endress+Hauser Flowtec Ag | VIBRONISCHES MEßSYSTEM ZUM MESSEN EINER MASSENDURCHFLUßRATE |
| JP6178033B1 (ja) * | 2017-04-03 | 2017-08-09 | 株式会社アツデン | コリオリ式質量流量計 |
| WO2019017891A1 (en) * | 2017-07-18 | 2019-01-24 | Micro Motion, Inc. | INTERCHANGEABLE FLOW METER FLOWMETER SENSOR AND CORRESPONDING METHOD |
| DE102017118109A1 (de) * | 2017-08-09 | 2019-02-14 | Endress + Hauser Flowtec Ag | Sensorbaugruppe |
| EP3673241B1 (en) * | 2017-08-23 | 2022-12-14 | Micro Motion, Inc. | Vibratory flow meter with multichannel flow tube |
| DE102017126733A1 (de) | 2017-11-14 | 2019-05-16 | Endress+Hauser Flowtec Ag | Messgerät mit mindestens einem gebogenen Messrohr zum Ermitteln eines Massedurchflussmesswerts eines Mediums nach dem Coriolis-Prinzip |
| CN107817026B (zh) * | 2017-11-29 | 2023-10-10 | 吉林大学 | 基于同步共振的高分辨率差压式流量传感器及检测方法 |
| DE102017129036A1 (de) * | 2017-12-06 | 2019-06-06 | Endress+Hauser Flowtec Ag | Verfahren zum Bestimmen der Viskosität eines Mediums mittels eines Coriolis-Massedurchflussmessers und Coriolis- Massedurchflussmesser zur Durchführung des Verfahrens |
| DE102017131199A1 (de) | 2017-12-22 | 2019-06-27 | Endress + Hauser Flowtec Ag | Coriolis-Massendurchfluß-Meßgerät |
| RU2680107C1 (ru) * | 2018-01-30 | 2019-02-15 | Общество с ограниченной ответственностью "Компания Штрай" | Расходомер |
| DE102018110495B4 (de) * | 2018-05-02 | 2021-02-18 | Endress+Hauser Flowtec Ag | Coriolis-Messaufnehmer mit einer messrohrtorsionskompensierenden Sensorgruppe und ein Coriolis-Messgerät mit einem solchen Messaufnehmer |
| CN108871480B (zh) * | 2018-07-04 | 2021-03-19 | 韩泽方 | 动密封铰链管式科里奥利质量流量计 |
| DE102018119332A1 (de) * | 2018-08-08 | 2020-02-13 | Endress+Hauser Flowtec Ag | Messaufnehmer und Messgerät |
| DE102018119330B3 (de) * | 2018-08-08 | 2019-12-05 | Endress+Hauser Flowtec Ag | Spulenvorrichtung eines Schwingungssensors oder Schwingungserregers und Messaufnehmer bzw. Messgerät |
| DE102018009199B4 (de) * | 2018-11-22 | 2022-11-03 | Diehl Metering Gmbh | Verfahren zum Betrieb einer Messeinrichtung und Messeinrichtung |
| US12174212B2 (en) | 2018-12-20 | 2024-12-24 | Endress+Hauser Flowtec Ag | Coriolis mass flow meter |
| DE102018133117A1 (de) | 2018-12-20 | 2020-06-25 | Endress+Hauser Flowtec Ag | Coriolis-Massendurchfluß-Meßgerät |
| EP3899447B1 (de) | 2018-12-20 | 2023-09-20 | Endress + Hauser Flowtec AG | Coriolis-massendurchfluss-messgerät |
| DE102018133318A1 (de) * | 2018-12-21 | 2020-06-25 | Endress+Hauser Flowtec Ag | Vibronisches Meßsystem |
| EP3899448B1 (de) | 2018-12-21 | 2024-03-27 | Endress + Hauser Flowtec AG | Coriolis-massendurchfluss-messer mit magnetfelddetektor |
| DE102019106244B4 (de) * | 2019-03-12 | 2020-10-01 | Endress+Hauser Flowtec Ag | Feldgerät der Prozessmesstechnik, Messaufnehmer und Verfahren zur Herstellung eines Messaufnehmers |
| DE102019118156A1 (de) * | 2019-07-04 | 2021-01-07 | Endress+Hauser Conducta Gmbh+Co. Kg | Wechselarmatur, System und Verfahren zur Erkennung einer Bewegung in einer solchen |
| CN110346242B (zh) * | 2019-07-20 | 2021-10-15 | 深圳市实瑞建筑技术有限公司 | 一种灌砂法压实度检测系统及其检测方法 |
| DE102019133610A1 (de) | 2019-12-09 | 2021-06-10 | Endress + Hauser Flowtec Ag | Vibronisches Meßsystem zum Messen eines Massestroms eines fluiden Meßstoff |
| DE102019009024A1 (de) * | 2019-12-30 | 2021-07-01 | Endress+Hauser Flowtec Ag | Vibronisches Meßsystem |
| US11300435B2 (en) | 2020-04-10 | 2022-04-12 | Malema Engineering Corporation | Coriolis mass flow sensors having different resonant frequencies |
| US11619532B2 (en) | 2020-04-10 | 2023-04-04 | Malema Engineering Corporation | Replaceable, gamma sterilizable Coriolis flow sensors |
| WO2021255034A1 (de) | 2020-06-18 | 2021-12-23 | Endress+Hauser Flowtec Ag | VIBRONISCHES MEßSYSTEM |
| DE102020131649A1 (de) | 2020-09-03 | 2022-03-03 | Endress + Hauser Flowtec Ag | Vibronisches Meßsystem |
| DE102020127382A1 (de) | 2020-10-16 | 2022-04-21 | Endress+Hauser Flowtec Ag | Verfahren zum Überprüfen eines vibronischen Meßsystems |
| DE102021113360A1 (de) * | 2021-05-21 | 2022-11-24 | Endress + Hauser Flowtec Ag | Vibronisches Meßsystem |
| CN114136243B (zh) * | 2021-10-18 | 2024-08-02 | 广州国显科技有限公司 | 一种应用于测量显示面板展平度的装置 |
| DE102022112523A1 (de) | 2022-05-18 | 2023-11-23 | Endress+Hauser Flowtec Ag | Vibronisches Meßsystem |
| DE102022116111A1 (de) | 2022-06-28 | 2023-12-28 | Endress+Hauser Flowtec Ag | Vibronisches Meßsystem |
| CN116481967A (zh) * | 2023-04-19 | 2023-07-25 | 国家石油天然气管网集团有限公司 | 一种悬臂梁式流体密度计及其检测方法 |
| US12372390B2 (en) | 2023-05-08 | 2025-07-29 | Malema Engineering Corporation | Coriolis mass flow rate sensor |
| DE102023112374A1 (de) | 2023-05-10 | 2024-11-14 | Endress+Hauser Flowtec Ag | Meßsystem |
| DE102024126528A1 (de) | 2024-09-13 | 2026-03-19 | Endress+Hauser Flowtec Ag | Vibronisches Meßsystem |
Citations (3)
| Publication number | Priority date | Publication date | Assignee | Title |
|---|---|---|---|---|
| EP0119638A1 (en) * | 1983-02-21 | 1984-09-26 | Shell Internationale Researchmaatschappij B.V. | Coriolis-type mass flow meter comprising at least two straight parallel vibrating tubes |
| US5090253A (en) * | 1990-05-14 | 1992-02-25 | Atlantic Richfield Company | Coriolis type fluid flowmeter |
| RU2222782C2 (ru) * | 1999-03-19 | 2004-01-27 | Майкро Моушн, Инк. | Расходомер кориолиса уменьшенных размеров |
Family Cites Families (56)
| Publication number | Priority date | Publication date | Assignee | Title |
|---|---|---|---|---|
| US793191A (en) | 1905-03-06 | 1905-06-27 | Mollie Hancock | Bonnet. |
| DE3503841A1 (de) | 1985-02-05 | 1986-08-07 | Karl Dipl.-Ing. 8060 Dachau Küppers | Massedurchflussmesser |
| WO1987001444A1 (en) | 1985-08-29 | 1987-03-12 | Micro Motion, Inc. | Sensor mounting for vibrating structures |
| US4823614A (en) | 1986-04-28 | 1989-04-25 | Dahlin Erik B | Coriolis-type mass flowmeter |
| US4831885A (en) | 1986-04-28 | 1989-05-23 | Dahlin Erik B | Acoustic wave supressor for Coriolis flow meter |
| DE3632851A1 (de) | 1986-09-26 | 1988-04-07 | Flowtec Ag | Nach dem coriolisprinzip arbeitendes massendurchflussmessgeraet |
| DE8712331U1 (de) | 1986-09-26 | 1988-01-28 | Flowtec AG, Reinach, Basel | Corioliskraft-Massendurchflussmesser |
| US4879910A (en) * | 1987-07-10 | 1989-11-14 | Lew Hyok S | Torsional vibration convective inertia force flowmeter |
| ES2049454T3 (es) * | 1990-03-30 | 1994-04-16 | Flowtec Ag | Aparato de medida de caudal de masa que trabaja segun el principio de coriolis. |
| US5230254A (en) | 1992-01-22 | 1993-07-27 | Ametek Aerospace Products Inc. | Coriolis mass flowmeter with multiple vibrating tubes |
| US5796011A (en) | 1993-07-20 | 1998-08-18 | Endress + Hauser Flowtech Ag | Coriolis-type mass flow sensor |
| US5370002A (en) | 1993-07-23 | 1994-12-06 | Micro Motion, Inc. | Apparatus and method for reducing stress in the brace bar of a Coriolis effect mass flow meter |
| US5349872A (en) | 1993-08-20 | 1994-09-27 | Micro Motion, Inc. | Stationary coils for a coriolis effect mass flowmeter |
| DK0685712T3 (da) | 1994-05-26 | 2000-10-02 | Flowtec Ag | Massegennemstrømningsdetektor ifølge Coriolis-princippet |
| WO1996008697A2 (en) | 1994-09-08 | 1996-03-21 | Smith Meter Inc. | Mass flowmeter and conduit assembly |
| US5661232A (en) * | 1996-03-06 | 1997-08-26 | Micro Motion, Inc. | Coriolis viscometer using parallel connected Coriolis mass flowmeters |
| US6415666B1 (en) | 1997-10-07 | 2002-07-09 | Stevens Institute Of Technology | Method and apparatus for acoustic detection of mines and other buried man-made objects |
| US6311136B1 (en) | 1997-11-26 | 2001-10-30 | Invensys Systems, Inc. | Digital flowmeter |
| EP0986739A1 (de) * | 1998-04-03 | 2000-03-22 | Endress + Hauser Flowtec AG | Verfahren zum massedurchfluss-messen und entsprechende aufnehmer |
| TW399146B (en) | 1998-05-29 | 2000-07-21 | Oval Corp | Coliolis mass flowmeter |
| US5969264A (en) | 1998-11-06 | 1999-10-19 | Technology Commercialization Corp. | Method and apparatus for total and individual flow measurement of a single-or multi-phase medium |
| US6776052B2 (en) | 1999-10-29 | 2004-08-17 | Micro Motion, Inc. | Coriolis flowmeter having a reduced flag dimension for handling large mass flows |
| DE10002635C2 (de) | 2000-01-21 | 2003-02-20 | Krohne Ag Basel | Verfahren zur Bestimmung wenigstens einer charakteristischen Größe eines Massendurchflußmeßgeräts |
| US6711958B2 (en) | 2000-05-12 | 2004-03-30 | Endress + Hauser Flowtec Ag | Coriolis mass flow rate/density/viscoy sensor with two bent measuring tubes |
| HU225071B1 (en) | 2000-12-21 | 2006-06-28 | Sandor Kun | Combined mass flow meter device and method for measuring mass flow of a non solid medium |
| US6666098B2 (en) | 2001-05-23 | 2003-12-23 | Endress + Hauser Flowtec Ag | Vibratory transducer |
| US6415668B1 (en) | 2001-07-23 | 2002-07-09 | Fmc Technologies, Inc. | De-coupling extraneous modes of vibration in a coriolis mass flowmeter |
| DK1448956T3 (en) | 2001-08-29 | 2016-01-04 | Flowtec Ag | VIBRATION TYPE MEASUREMENT SENSOR |
| EP1296119A1 (de) | 2001-09-21 | 2003-03-26 | Endress + Hauser Flowtec AG | Messaufnehmer vom Vibrationstyp |
| US6920798B2 (en) | 2001-09-21 | 2005-07-26 | Endress + Hauser Flowtec Ag | Vibratory transducer |
| AU2003257402A1 (en) | 2003-08-26 | 2005-03-10 | Siemens Flow Instruments A/S | A coupling between loops of a coriolis mass flow meter |
| US6920796B2 (en) | 2003-11-13 | 2005-07-26 | Nan Ya Technology Corporation | Device used for detecting clamping force of processed object and method thereof |
| WO2005095901A2 (de) * | 2004-03-19 | 2005-10-13 | Endress+Hauser Flowtec Ag | Coriolis-massedurchfluss-messgerät |
| US7077014B2 (en) * | 2004-06-23 | 2006-07-18 | Endress + Hauser Flowtec Ag | Vibration-type measuring transducer |
| DE102004030392A1 (de) * | 2004-06-23 | 2006-01-19 | Endress + Hauser Flowtec Ag, Reinach | Meßwandler vom Vibrationstyp |
| US7127952B2 (en) * | 2004-07-23 | 2006-10-31 | Endress + Hauser Flowtec Ag | Vibration-type measurement pickup for measuring media flowing in two medium-lines, and inline measuring device having such a pickup |
| DE102004035971A1 (de) | 2004-07-23 | 2006-02-16 | Endress + Hauser Flowtec Ag | Meßaufnehmer vom Vibrationstyp zum Messen von in zwei Mediumsleitungen strömenden Medien sowie In-Line-Meßgerät mit einem solchen Meßaufnehmer |
| WO2006056518A2 (de) * | 2004-11-04 | 2006-06-01 | Endress+Hauser Flowtec Ag | Messaufnehmer vom vibrationstyp |
| US7350421B2 (en) | 2004-12-13 | 2008-04-01 | Endress + Hauser Flowtec Ag | Vibratory measurement transducer |
| DE102004060115A1 (de) * | 2004-12-13 | 2006-06-14 | Endress + Hauser Flowtec Ag | Meßaufnehmer vom Vibrationstyp |
| US7392709B2 (en) | 2005-05-16 | 2008-07-01 | Endress + Hauser Flowtec Ag | Inline measuring device with a vibration-type measurement pickup |
| US7325461B2 (en) * | 2005-12-08 | 2008-02-05 | Endress + Hauser Flowtec Ag | Measurement transducer of vibration-type |
| DE102005060495B3 (de) | 2005-12-15 | 2007-04-26 | Krohne Ag | Massendurchflußmeßgerät |
| DE102005062004A1 (de) * | 2005-12-22 | 2007-06-28 | Endress + Hauser Flowtec Ag | Meßwandler vom Vibrationstyp |
| BRPI0621956B1 (pt) * | 2006-08-24 | 2017-12-12 | Micro Motion, Inc. | Flow meter in multiple flow conduct, methods of measurement, and, of calibration for a flow meter in multiple flow conducts |
| US7549319B2 (en) | 2006-11-16 | 2009-06-23 | Halliburton Energy Services, Inc. | High pressure resonant vibrating-tube densitometer |
| CN101828097B (zh) | 2007-10-08 | 2012-08-15 | 微动公司 | 流量装置及其操作方法 |
| WO2009120223A1 (en) | 2008-03-25 | 2009-10-01 | Micro Motion, Inc. | Dual pick-off vibratory flowmeter |
| WO2009120222A1 (en) | 2008-03-25 | 2009-10-01 | Micro Motion, Inc. | Dual-driver vibratory flowmeter |
| DE102008039867B4 (de) | 2008-08-27 | 2015-09-10 | Krohne Ag | Massedurchflußmeßgerät |
| WO2010103080A1 (de) * | 2009-03-11 | 2010-09-16 | Endress+Hauser Flowtec Ag | MEßSYSTEM FÜR IN EINER ROHRLEITUNG STRÖMENDE MEDIEN |
| US8327719B2 (en) * | 2009-03-11 | 2012-12-11 | Endress + Hauser Flowtec Ag | Measuring transducer of vibration-type, as well as an in-line measuring device having such a measuring transducer |
| DE102009012474A1 (de) * | 2009-03-12 | 2010-09-16 | Endress + Hauser Flowtec Ag | Meßsystem mit einem Messwandler vom Vibrationstyp |
| EP2516971B1 (de) * | 2009-12-21 | 2020-03-04 | Endress+Hauser Flowtec AG | Messaufnehmer vom vibrationstyp sowie damit gebildetes messsystem |
| DE102010035341B4 (de) * | 2010-08-24 | 2013-07-04 | Krohne Ag | Verfahren zur Bestimmung der Viskosität eines Mediums mit einem Coriolis-Massedurchflussmessgerät |
| CN103180695B (zh) * | 2010-09-02 | 2016-01-20 | 恩德斯+豪斯流量技术股份有限公司 | 具有振动类型的测量变换器的测量系统 |
-
2010
- 2010-03-11 WO PCT/EP2010/053127 patent/WO2010103080A1/de not_active Ceased
- 2010-03-11 US US12/659,532 patent/US8347736B2/en active Active
- 2010-03-11 US US12/659,535 patent/US8316722B2/en active Active
- 2010-03-11 CA CA2754682A patent/CA2754682C/en active Active
- 2010-03-11 WO PCT/EP2010/053122 patent/WO2010103075A1/de not_active Ceased
- 2010-03-11 WO PCT/EP2010/053125 patent/WO2010103078A1/de not_active Ceased
- 2010-03-11 EP EP10710822A patent/EP2406591A1/de not_active Ceased
- 2010-03-11 WO PCT/EP2010/053123 patent/WO2010103076A1/de not_active Ceased
- 2010-03-11 EP EP10713150A patent/EP2406594A1/de not_active Ceased
- 2010-03-11 US US12/659,533 patent/US8336396B2/en active Active
- 2010-03-11 US US12/659,530 patent/US8333119B2/en active Active
- 2010-03-11 EP EP10707917.0A patent/EP2406589B1/de active Active
- 2010-03-11 US US12/659,534 patent/US8333121B2/en active Active
- 2010-03-11 EP EP10709478.1A patent/EP2417425B1/de active Active
- 2010-03-11 EP EP10711032A patent/EP2406593A1/de not_active Ceased
- 2010-03-11 CN CN201080011859.2A patent/CN102348963B/zh active Active
- 2010-03-11 CA CA2754597A patent/CA2754597C/en not_active Expired - Fee Related
- 2010-03-11 CA CA2754889A patent/CA2754889C/en active Active
- 2010-03-11 RU RU2011141118/28A patent/RU2492430C2/ru active
- 2010-03-11 CN CN201080011637.0A patent/CN102348962B/zh active Active
- 2010-03-11 WO PCT/EP2010/053126 patent/WO2010103079A1/de not_active Ceased
- 2010-03-11 US US12/659,531 patent/US8333120B2/en active Active
- 2010-03-11 CN CN201080011575.3A patent/CN102348961B/zh active Active
- 2010-03-11 WO PCT/EP2010/053124 patent/WO2010103077A1/de not_active Ceased
- 2010-03-11 EP EP10708530.0A patent/EP2406590B1/de active Active
-
2012
- 2012-11-21 US US13/682,844 patent/US9052225B2/en active Active
Patent Citations (3)
| Publication number | Priority date | Publication date | Assignee | Title |
|---|---|---|---|---|
| EP0119638A1 (en) * | 1983-02-21 | 1984-09-26 | Shell Internationale Researchmaatschappij B.V. | Coriolis-type mass flow meter comprising at least two straight parallel vibrating tubes |
| US5090253A (en) * | 1990-05-14 | 1992-02-25 | Atlantic Richfield Company | Coriolis type fluid flowmeter |
| RU2222782C2 (ru) * | 1999-03-19 | 2004-01-27 | Майкро Моушн, Инк. | Расходомер кориолиса уменьшенных размеров |
Cited By (2)
| Publication number | Priority date | Publication date | Assignee | Title |
|---|---|---|---|---|
| RU198459U1 (ru) * | 2019-12-09 | 2020-07-10 | Александра Валерьевна Паршина | Устройство управления и контроля процедур слива и налива жидких продуктов в емкости резервуарных парков |
| RU2755777C1 (ru) * | 2020-08-24 | 2021-09-21 | Закрытое акционерное общество "Электронные и механические измерительные системы" | Делитель потока для массового расходомера |
Also Published As
Similar Documents
| Publication | Publication Date | Title |
|---|---|---|
| RU2492430C2 (ru) | Вибрационный измерительный преобразователь, а также поточный контрольно-измерительный прибор с указанным преобразователем | |
| RU2551481C2 (ru) | Измерительная система для измерения плотности и/или нормы массового расхода и/или вязкости протекающей в трубопроводе текучей среды и применение измерительной системы | |
| RU2589506C2 (ru) | Измерительный датчик вибрационного типа и измерительная система для измерения плотности и/или процента массового расхода | |
| RU2557409C2 (ru) | Измерительная система для измерения плотности или весовой пропускной способности протекающей в трубопроводе среды | |
| RU2538422C2 (ru) | Первичный измерительный преобразователь вибрационного типа | |
| CN103562689B (zh) | 振动型测量传感器以及用其形成的测量系统 | |
| US8327719B2 (en) | Measuring transducer of vibration-type, as well as an in-line measuring device having such a measuring transducer | |
| CA2754788C (en) | Measuring transducer of vibration-type, as well as an in-line measuring device having such a measuring transducer | |
| RU2369841C2 (ru) | Измерительный преобразователь вибрационного типа и применение измерительного преобразователя |