RU2492429C2 - Измерительное устройство для определения параметра текучей среды - Google Patents
Измерительное устройство для определения параметра текучей среды Download PDFInfo
- Publication number
- RU2492429C2 RU2492429C2 RU2010124614/28A RU2010124614A RU2492429C2 RU 2492429 C2 RU2492429 C2 RU 2492429C2 RU 2010124614/28 A RU2010124614/28 A RU 2010124614/28A RU 2010124614 A RU2010124614 A RU 2010124614A RU 2492429 C2 RU2492429 C2 RU 2492429C2
- Authority
- RU
- Russia
- Prior art keywords
- lattice
- flow
- measuring device
- partitions
- forming
- Prior art date
Links
- 239000012530 fluid Substances 0.000 title claims abstract description 53
- 238000005192 partition Methods 0.000 claims abstract description 69
- 238000002485 combustion reaction Methods 0.000 claims description 6
- 230000000694 effects Effects 0.000 abstract description 6
- 239000000126 substance Substances 0.000 abstract description 2
- 238000013461 design Methods 0.000 description 7
- 238000000034 method Methods 0.000 description 5
- 238000002156 mixing Methods 0.000 description 5
- 230000008569 process Effects 0.000 description 5
- 239000007789 gas Substances 0.000 description 3
- 230000001788 irregular Effects 0.000 description 3
- 239000012528 membrane Substances 0.000 description 3
- 230000001413 cellular effect Effects 0.000 description 2
- 239000013078 crystal Substances 0.000 description 2
- 239000012634 fragment Substances 0.000 description 2
- 230000007704 transition Effects 0.000 description 2
- XUIMIQQOPSSXEZ-UHFFFAOYSA-N Silicon Chemical compound [Si] XUIMIQQOPSSXEZ-UHFFFAOYSA-N 0.000 description 1
- 230000009471 action Effects 0.000 description 1
- 230000003197 catalytic effect Effects 0.000 description 1
- 238000001311 chemical methods and process Methods 0.000 description 1
- 238000005516 engineering process Methods 0.000 description 1
- 239000000446 fuel Substances 0.000 description 1
- 238000010438 heat treatment Methods 0.000 description 1
- 230000006872 improvement Effects 0.000 description 1
- 230000004941 influx Effects 0.000 description 1
- 230000002401 inhibitory effect Effects 0.000 description 1
- 238000003780 insertion Methods 0.000 description 1
- 230000037431 insertion Effects 0.000 description 1
- 239000007788 liquid Substances 0.000 description 1
- 238000004519 manufacturing process Methods 0.000 description 1
- 238000005259 measurement Methods 0.000 description 1
- 238000011089 mechanical engineering Methods 0.000 description 1
- 238000006386 neutralization reaction Methods 0.000 description 1
- 238000012545 processing Methods 0.000 description 1
- 229910052710 silicon Inorganic materials 0.000 description 1
- 239000010703 silicon Substances 0.000 description 1
- 230000006641 stabilisation Effects 0.000 description 1
- 238000011105 stabilization Methods 0.000 description 1
Images
Classifications
-
- G—PHYSICS
- G01—MEASURING; TESTING
- G01F—MEASURING VOLUME, VOLUME FLOW, MASS FLOW OR LIQUID LEVEL; METERING BY VOLUME
- G01F15/00—Details of, or accessories for, apparatus of groups G01F1/00 - G01F13/00 insofar as such details or appliances are not adapted to particular types of such apparatus
-
- G—PHYSICS
- G01—MEASURING; TESTING
- G01F—MEASURING VOLUME, VOLUME FLOW, MASS FLOW OR LIQUID LEVEL; METERING BY VOLUME
- G01F1/00—Measuring the volume flow or mass flow of fluid or fluent solid material wherein the fluid passes through a meter in a continuous flow
- G01F1/68—Measuring the volume flow or mass flow of fluid or fluent solid material wherein the fluid passes through a meter in a continuous flow by using thermal effects
- G01F1/684—Structural arrangements; Mounting of elements, e.g. in relation to fluid flow
- G01F1/6842—Structural arrangements; Mounting of elements, e.g. in relation to fluid flow with means for influencing the fluid flow
Landscapes
- Physics & Mathematics (AREA)
- Fluid Mechanics (AREA)
- General Physics & Mathematics (AREA)
- Measuring Volume Flow (AREA)
- Indicating Or Recording The Presence, Absence, Or Direction Of Movement (AREA)
Abstract
Измерительное устройство имеет, по меньшей мере, один расположенный в потоке текучей среды датчик для определения параметра потока текучей среды. Измерительное устройство имеет, по меньшей мере, одну расположенную поперечно основному направлению потока перед датчиком решетку (134) с образующими ее перегородками (136). Решетка (134) имеет, по меньшей мере, одну первую часть (144) и, по меньшей мере, одну вторую часть (146). Образующие решетку перегородки (136) в первой части (144) решетки проходят в основном направлении радиально и имеют поверхности (150) с ориентацией, сообщающей потоку текучей среды составляющую скорости, перпендикулярную основному направлению (112) потока. Образующие решетку перегородки (136) во второй части (146) решетки проходят в основном по секущим и имеют поверхности, ориентированные в основном параллельно основному направлению (112) потока. Технический результат - выравнивание профиля скорости потока и обеспечение равномерного создания турбулентностей вплоть до краевых зон проточной трубы. 2 н. и 9 з.п. ф-лы, 5 ил.
Description
Уровень техники
Настоящее изобретение относится к устройствам для измерения по меньшей мере одного параметра потока текучей среды, прежде всего движущегося по проточной трубе потока текучей среды, типа тех, которые известны из различных областей техники. Так, в частности, при проведении многих процессов, например, различных технологических процессов, химических процессов или процессов в машиностроении, требуется подача текучих сред, прежде всего газов (например, воздуха), с определенными свойствами (например, температурой, давлением, скоростью потока, массовым расходом, объемным расходом и т.д.). К числу таких процессов относятся прежде всего процессы сгорания, протекающие при регулируемых условиях.
Важным примером практического применения являются процессы сгорания топлива в двигателях внутреннего сгорания (ДВС), которые устанавливаются на автомобили, прежде всего с последующей каталитической нейтрализацией отработавших газов, для чего требуется регулируемая подача определенной массы воздуха в единицу времени (массовый расход воздуха). Для измерения массового расхода воздуха при этом используются датчики различных типов. Одним из известных из уровня техники типов датчиков является пленочный термоанемометрический массовый расходомер воздуха (ПТМРВ), один из вариантов конструктивного исполнения которого описан, например, в DE 19601791 А1. В таких пленочных термоанемометрических массовых расходомерах воздуха обычно используется кристалл с датчиком, имеющий тонкую мембрану, например, кремниевый кристалл с датчиком. На мембране обычно расположен по меньшей мере один нагревательный резистор, который окружен двумя или более термометрами сопротивления (температурными датчиками). В воздушном потоке, проходящем через мембрану, изменяется распределение температур, что в свою очередь может регистрироваться термометрами сопротивления и обрабатываться схемой управления и обработки результатов измерения. Так, например, на основании разности сопротивлений термометров сопротивлений можно определять массовый расход воздуха. Различные другие варианты датчиков этого типа известны из уровня техники. Настоящее изобретение, кроме того, не ограничено датчиками описанного типа, к которому относятся пленочные термоанемометрические массовые расходомеры воздуха, а в принципе может использоваться применительно к датчикам большинства типов, которые используются в виде стационарно смонтированных датчиков или в виде вставных датчиков в потоке текучей среды.
Однако недостаток описанных в уровне техники конструкций вставных датчиков состоит в том, что известные вставные датчики из-за их аэродинамически неблагоприятной конфигурации во многих случаях создают проблемы во впускном тракте касательно обусловленного аэрогидродинамическим сопротивлением падения давления. Сказанное означает, в частности, что воспроизводимость сигналов подобных датчиков не оптимальна. Многие датчики и прежде всего пленочные термоанемометрические массовые расходомеры воздуха на практике оснащают решеткой или комбинацией решеток. Такие решетки, которые могут быть встроены, например, в проточную трубу, обычно расположены в потоке текучей среды в нескольких сантиметрах перед вставным измерительным преобразователем, соответственно перед датчиком и служат для выравнивания профиля скорости потока в проточной трубе. Назначение подобных решеток состоит далее в устранении возможно возникшего завихрения потока текучей среды. Выравнивающее поток действие решетки достигается благодаря ее тормозящему воздействию на поток. Одновременно с этим возникает турбулентность, в результате которой происходит перемешивание быстро и медленно движущихся частичных потоков текучей среды и которая тем самым способствует выравниванию скорости всего потока текучей среды по всему поперечному сечению трубы. Достигаемый благодаря этому эффект состоит в том, что характеристика датчика (например, взаимосвязь между массой воздуха и выходной частотой или выходным напряжением) становится практически не зависящей от профиля скорости входящего потока воздуха.
Пример подобного устройства с решеткой известен из DE 19647081 А1. В отличие от известных решеток с равновеликими и равноотстоящими проточными отверстиями или ячейками эту известную из указанной публикации решетку предлагается выполнять с проточными отверстиями разного проходного сечения. Проходные сечения проточных отверстий решетки при этом согласованы с притоком текучей среды с целью создать по ходу потока после решетки поток с в основном равномерным распределением скорости.
Однако у многих датчиков, используемых в сочетании с обычными решетками, таких, например, как массовые расходомеры воздуха с обычными пластмассовыми решетками с размером ячеек от 4 до 7 мм и глубиной ячеек от 5 до 10 мм, в некоторых диапазонах значений массового расхода воздуха следует ожидать сравнительно неудовлетворительной воспроизводимости характеристик. Возможная причина этого заключается в неконтролируемом переходе одной формы течения в другую, т.е. в переходе ламинарного движения в турбулентное, в пределах пограничного слоя у стенки трубы. Пограничный слой у стенки трубы при своем прохождении через решетку типа той, которая используется в большинстве датчиков, обычно становится недостаточно турбулентным, поскольку такая решетка, как правило, по технологическим причинам имеет вблизи стенки более крупные ячейки, чем в центре трубы. Решетка известной из DE 19647081 А1 конструкции с меньшим размером ячеек в краевой зоне предполагает возможность ее дальнейшего усовершенствования, прежде всего усовершенствования, позволяющего улучшить воспроизводимость характеристик датчиков.
Краткое изложение сущности изобретения
В соответствии с этим в изобретении предлагается измерительное устройство для определения по меньшей мере одного параметра движущегося в основном направлении потока текучей среды, прежде всего движущегося по проточной трубе потока впускаемого в двигатель внутреннего сгорания воздуха. В изобретении предлагается далее проточно-трубчатый модуль для применения в подобном измерительном устройстве. Конструктивное исполнение предлагаемых в изобретении измерительного устройства и проточно-трубчатого модуля позволяет по меньшей мере практически полностью устранить описанные выше недостатки, присущие известным измерительным устройствам, соответственно проточно-трубчатым модулям.
Предлагаемое в изобретении измерительное устройство может быть рассчитано на определение одного или нескольких физических и/или химических параметров текучей среды. В качестве примера таких параметров можно назвать указанные в начале описания параметры. Однако возможно измерение и иных параметров текучей среды. Предлагаемое в изобретении измерительное устройство имеет по меньшей мере один расположенный в потоке текучей среды датчик, способный измерять эти параметры. Без ограничения возможных иных вариантов осуществления изобретения в последующем предполагается, что датчик представляет собой пленочный термоанемометрический массовый расходомер воздуха, такой, например, как известный из указанного выше уровня техники.
Текучая среда может представлять собой, например, газ и/или жидкость. Под "основным направлением потока" при этом подразумевается локальное направление потока текучей среды по месту расположения датчика, соответственно всего измерительного устройства, при этом наличие локальных неравномерностей потока (например, наличие турбулентностей) может не учитываться. Тем самым под основным направлением потока текучей среды прежде всего может подразумеваться локальное усредненное направление перемещения потока текучей среды.
Предлагаемое в изобретении измерительное устройство имеет далее по меньшей мере одну расположенную поперечно основному направлению потока перед датчиком решетку с образующими ее перегородками. Такие образующие решетку перегородки могут быть выполнены, например, в виде стержней с круглым, овальным или многоугольным поперечным сечением. Особенно предпочтительно, однако, придавать образующим решетку перегородкам уплощенную форму с узкой стороной, обращенной навстречу основному направлению потока, и с продольной протяженностью по существу в основном направлении потока, при этом образующие решетку перегородки можно также (см. ниже) располагать наклонно под углом к основному направлению потока. Указанной продольной протяженностью образующих решетку перегородок вдоль основного направления потока может определяться, например, толщина решетки.
Основная идея настоящего изобретения заключается в том, что для достижения эффективного действия решетки по выравниванию профиля скорости потока важное значение имеет равномерное создание турбулентностей вплоть до краевых зон проточной трубы с целью положительного влияния на поток и в этих зонах. Для этого решетку предлагается выполнять состоящей из по меньшей мере двух частей и предусматривать по меньшей мере одну первую часть решетки и по меньшей мере одну ее вторую часть. В отличие, например, от DE 19647081 А1 в первой части решетки образующие ее перегородки должны проходить в основном радиально. Выражение "в основном радиально" в данном контексте означает, что образующие решетку перегородки в основном направлении своей протяженности должны располагаться в основном на воображаемой оси, проходящей через ось проточной трубы (которая может иметь, например, круглое или многоугольное поперечное сечение). При этом, однако, в расположении образующих решетку перегородок возможны также отклонения от такой их строго радиальной ориентации, которые должны рассматриваться как подпадающие под понятие "в основном радиально" и которые составляют, например, до 50°, предпочтительно не более 45°, особенно предпочтительно не более 20°.
Во второй же части решетки образующие ее перегородки должны проходить в основном по секущим. Выражение "в основном по секущим" при этом означает, что образующие решетку перегородки в этой части решетки должны располагаться на секущих к воображаемым окружностям с центрами, лежащими на оси проточной трубы.
Подобное измерительное устройство с решеткой вышеописанного типа, подразделенной на две части, позволяет целенаправленно в определенных зонах, которые на практике зарекомендовали себя как проблематичные касательно характера движения в них потока текучей среды, улучшить перемешивание частичных потоков текучей среды. Благодаря этому можно, например, в зоне пограничного слоя у стенки проточной трубы обеспечить постоянно надежное перемешивание, что, например, позволяет во всех рабочих условиях поддерживать турбулентный характер потока. В результате поток за решеткой приобретает более стабильный характер, вследствие чего повышается и воспроизводимость характеристик измерительного устройства. Тем самым появляется возможность отказаться от применения необходимой в противном случае при определенных условиях дополнительной проволочной сетки, снизив благодаря этому стоимость изготовления измерительного устройства. Помимо этого благодаря стабилизации потока удается значительно уменьшить уровень шума в сигнале измерительного устройства.
Особенно предпочтительно при этом, чтобы первая часть решетки кольцом охватывала ее вторую часть. Этот вариант осуществления изобретения позволяет целенаправленно в краевой зоне решетки, которая, например, в целом может быть выполнена круглой, достичь описанного выше эффекта перемешивания, обеспечив возможность надежного перемешивания пограничного слоя у стенки проточной трубы. Вторая часть решетки может иметь, например, в основном круглую форму при выполнении первой части решетки, например, в основном в форме кругового кольца. Однако обе части решетки можно также выполнять отличной от круглой формы, например, овальной или многоугольной формы.
Как уже указывалось выше, особенно предпочтительной формой образующих решетку перегородок является уплощенная или плоская форма. Так, образующим решеткам перегородкам придана форма, при которой они во второй части решетки аналогично, например, описанной в DE 19647081 А1 решетке имеют поверхности, ориентированные в основном параллельно основному направлению потока. Под выражением "в основном параллельно" при этом может подразумеваться ориентация параллельно основному направлению потока. Однако возможны также небольшие отклонения от такой параллельности, например, отклонения, не превышающие 20°, предпочтительно не превышающие 5°. В отличие от второй части решетки, в ее первой части наряду с образующими решетку перегородками, поверхности которых ориентированы в основном параллельно основному направлению потока, также используются образующие решетку перегородки, которые имеют поверхности с ориентацией, сообщающей потоку текучей среды составляющую скорости, перпендикулярную основному направлению потока. Для этого, например, образующие решетку перегородки по меньшей мере в первой части решетки можно расположить, если смотреть в сечении плоскостью, параллельной основному направлению потока, под углом наклона к основному направлению потока. Благодаря подобному наклонному расположению образующих решетку перегородок потоку текучей среды при его набегании на решетку сообщается составляющая скорости, перпендикулярная основному направлению потока. Указанный угол наклона образующих решетку перегородок может, например, составлять от 5 до 60°, особенно предпочтительно от 10 до 40°. Однако возможны и другие значения угла наклона образующих решетку перегородок. Благодаря обеспечиваемой таким путем закрутке или завихрению потока текучей среды в его радиально внешней зоне за первой частью решетки, например, между радиально внутренней и внешней зонами потока текучей среды может образовываться крайне нестабильный промежуточный слой, который обычно сразу же приводит к возникновению турбулентностей. В результате этого пограничный слой у стенки трубы становится турбулентным, и между медленным потоком текучей среды, движущимся вблизи стенки, и быстрым потоком текучей средой, движущимся в центре проточной трубы, происходит более интенсивный обмен импульсами. Направление, в котором решетка закручивает поток текучей среды, исходно может быть любым, поскольку требуемый эффект может создаваться право - либо левовращающей решеткой.
Угол наклона образующих решетку перегородок может варьироваться в пределах первой части решетки. Особенно предпочтительно, однако, чтобы угол наклона всех образующих решетку перегородок в этой первой части решетки был в основном одинаков (при этом и в данном случае возможны отклонения, например, отклонения в пределах не более 5°). Благодаря подобному однообразному углу наклона всех образующих решетку перегородок в первой части решетки вследствие их радиального расположения потоку текучей среды в зоне за первой частью решетки сообщается завихрение. При расположении первой части решетки кольцом охватывающей ее вторую часть, например, первая часть решетки может обладать в основном однообразным правовращающим или левовращающим свойством для сообщения потоку текучей среды завихрения вправо (т.е. завихрения по часовой стрелке при движении в основном направлении потока) либо завихрения влево (т.е. завихрения против часовой стрелки при движении в основном направлении потока). Благодаря такому целенаправленному завихрению потока в краевой зоне у стенки проточной трубы, но не в ее центральной зоне, дополнительно повышается эффективность перемешивания в этой краевой зоне.
Образующие решетку перегородки во второй части решетки могут представлять собой перегородки одного или нескольких типов. Так, например, все образующие решетку перегородки в этой части решетки могут быть ориентированы параллельно. Особенно предпочтительно, однако, чтобы аналогично известной из DE 19647081 А1 решетке образующие решетку перегородки в этой второй части решетки образовывали несколько типов взаимно пересекающихся образующих решетку перегородок. Так, например, образующие решетку перегородки первого типа могут быть ориентированы в первом направлении, а образующие решетку перегородки второго типа - во втором направлении, отличном от первого направления. В результате образующие решетку перегородки обоих типов пересекаются между собой, образуя ячеистую решетку. Особенно предпочтительно при этом, поскольку таким путем удается избежать преимущественных направлений, чтобы ячеистая решетка представляла собой решетку с квадратными ячейками, например, ячеистую решетку с размером ячеек (соответствующем длине кромки отверстий или ячеек) от 3 до 7 мм и с глубиной ячеек, например, от 5 до 10 мм.
Датчик может быть постоянно или стационарно установлен в измерительном устройстве и может иметь, например, консольную измерительную головку, выступающую в поток текучей среды. Однако альтернативно этому или дополнительно к этому датчик может быть также выполнен сменным, например, в виде вставного датчика, помещаемого в поток текучей среды. В соответствии с этим измерительное устройство можно также изготавливать и/или поставлять в виде узла без датчика. Подобный узел ниже обозначается как проточно-трубчатый модуль. Такой проточно-трубчатый модуль, предназначенный для применения в измерительном устройстве, выполненном по одному или нескольким рассмотренным выше вариантам, может иметь прежде всего по меньшей мере один корпус с по меньшей мере одним креплением для размещения датчика, предназначенного для определения по меньшей мере одного параметра движущегося по этому проточно-трубчатому модулю потока текучей среды. Указанное крепление может, например, представлять собой отверстие в корпусе, через которое в поток текучей среды можно вставить консольную измерительную головку датчика. Для крепления датчика могут быть предусмотрены также штуцер, фланец или крепежные элементы иных аналогичных типов.
Проточно-трубчатый модуль имеет далее по меньшей мере одну решетку, выполненную по одному из рассмотренных выше вариантов, т.е. решетку с по меньшей мере одной первой частью с радиальным расположением образующих решетку перегородок и с по меньшей мере одной второй частью с расположением образующих решетку перегородок на секущих.
Краткое описание чертежей
Ниже изобретение более подробно рассмотрено на примере некоторых вариантов его осуществления со ссылкой на прилагаемые к описанию чертежи, на которых показано:
на фиг.1 и 2 - различные виды в аксонометрии выполненного по одному из вариантов измерительного устройства, известного из уровня техники,
на фиг.3 - вид в плане решетки, выполненной по одному из предлагаемых в изобретении вариантов,
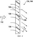
на фиг.4 - вид в разрезе фрагмента решетки с наклонным расположением образующих ее перегородок, и
на фиг.5 - вид в плане решетки с наклонным расположением образующих ее перегородок.
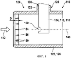
На фиг.1 и 2 в разных видах показано выполненное по одному из вариантов измерительное устройство 110, известное из уровня техники. При этом на фиг.1 измерительное устройство 110 показано в разрезе плоскостью, параллельной основному направлению 112 потока текучей среды, а на фиг.2 - в виде в плане с направления, соответствующего основному направлению 112 потока.
Измерительное устройство 110 имеет датчик 114, который в данном варианте выполнен в виде пленочного термоанемометрического массового расходомера 116 воздуха. Такой пленочный термоанемометрический массовый расходомер 116 воздуха имеет консольную измерительную головку 118 с впускным отверстием 120, которое расположено примерно по центру в проточной трубе 122 измерительного устройства 110. Конструктивное исполнение пленочного термоанемометрического массового расходомера 116 воздуха может соответствовать, например, одному из известных из уровня техники вариантов его конструктивного исполнения, в частности описанному в DE 19647981 А1 устройству.
Наряду с датчиком 114 измерительное устройство 110 имеет проточно-трубчатый модуль 124. Такой проточно-трубчатый модуль 124 имеет корпус 126, который в зоне измерительного устройства 110 образует проточную трубу 122. С этой целью корпус 126 может быть снабжен, например, соответствующими соединительными патрубками для применения, например, во впускном тракте ДВС. Помимо этого могут быть предусмотрены крепежные элементы, такие, например, как фланцы, канавки, выступы и т.д., известные специалистам в данной области из уровня техники.
Корпус 126 имеет далее крепление 128 для датчика 114. Такое крепление 128 имеет отверстие 130, а также надставку 132. Отверстие 130 и надставка 132 имеют такие размеры, что консольную измерительную головку 118 датчика 114 можно вставить в отверстие 130 в основном по точно пригнанной посадке и зафиксировать в надставке 132.
Проточно-трубчатый модуль 124 измерительного устройства 110 имеет далее расположенную в основном направлении 112 потока перед впускным отверстием 120 решетку 134. Такая решетка 134 расположена в основном поперечно основному направлению 112 потока, предпочтительно перпендикулярно основному направлению 112 потока, при этом, однако, возможны также отклонения от подобной ортогональности. Решетка 134 имеет толщину D, измеряемую в основном направлении 112 потока и составляющую обычно от 5 до 10 мм. Решетка 134 имеет далее множество образующих ее перегородок 136, которые в поперечном сечении имеют плоскую форму и узкая сторона которых тем самым обращена навстречу основному направлению 112 потока. Как показано на фиг.1, образующие решетку перегородки 136 могут иметь в поперечном сечении, например, слегка клиновидную форму. Помимо этого образующие решетку перегородки могут иметь и иной профиль в поперечном сечении, например, форму крыла (несущей поверхности), прямоугольную форму, овальную форму или аналогичную форму.
Как показано в виде в плане на фиг.2, решетка в данном варианте, которая соответствует, например, имеющемуся в продаже пленочному термоанемометрическому массовому расходомеру воздуха типа "HFM7" фирмы Robert Bosch GmbH, выполнена в виде решетки с квадратными ячейками. Сказанное означает, что образующие решетку перегородки 136 первого типа 138 расположены в основном параллельно друг другу и перпендикулярно образующим решетку перегородкам 136 второго типа 140, которые между собой в свою очередь также расположены параллельно друг другу. У образующейся в результате решетки ее ячейки имеют размер (соответствующей длине стороны квадратов), который обычно составляет от 4 до 7 мм. Согласно изобретению было установлено, что искажения проточных свойств измерительного устройства 110, показанного на фиг.1 и 2, возникают прежде всего из-за наличия нерегулярной структуры решетки 134 в ее краевой зоне. Такая нерегулярная структура решетки обозначена на фиг.2 позицией 142 и обусловлена главным образом тем, что ячейки в этой зоне по технологическим причинам имеют большую ширину, чем в центре проточной трубы 122.
На фиг.3-5 показана решетка 134, выполненная по предлагаемым в изобретении вариантам, позволяющим согласно изобретению модифицировать показанное, например, на фиг.1 и 2 измерительное устройство 110.
На фиг.3 в виде в плане с направления, соответствующего основному направлению 112 потока, показана выполненная по первому варианту предлагаемая в изобретении решетка 134. Как показано на чертеже, решетка 134, как и у показанного на фиг.2 измерительного устройства, выполнена в виде круглой решетки, что, однако, не является строго обязательным. Решетка 134 имеет первую часть 144, которая в виде кругового кольца охватывает вторую часть 146 решетки, представляющую собой ее центральную часть, расположенную вокруг оси 148 измерительного устройства (см. фиг.1).
Вторая часть 146 решетки при этом также выполнена в виде ячеистой решетки, например, аналогично решетке 134, показанной на фиг.2. Речь при этом также идет о решетке с квадратными ячейками.
Вокруг этой второй части 146 решетки расположена имеющая форму кругового кольца ее первая часть 144, в которой образующие решетку перегородки 136 расположены радиально. Такие образующие решетку перегородки 136 с радиальным их расположением могут быть равномерно распределены по окружности. В другом варианте радиальные образующие решетку перегородки 136 могут также располагаться в первой части 144 решетки, гранича непосредственно с нерегулярной структурой 142 решетки в краевой зоне ее второй части 146. Возможны и иные схемы расположения образующих решетку радиальных перегородок 136 в первой части 144 решетки.
Образующие решетку перегородки 136 в ее первой части 144 могут быть выполнены такой же толщины, что и образующие решетку перегородки 136 в ее второй части 146. В другом варианте, однако, эти образующие решетку перегородки 136 могут также иметь иное исполнение касательно их размеров и/или их формы и/или их прочих характеристик. В общем случае во второй части 146 решетки 134 ее ячейки предпочтительно выполнять размером от 3 до 7 мм при толщине D решетки (см. фиг.1) примерно от 5 до 10 мм. Однако решетку можно выполнять и с другими размерами.
В показанных на фиг.1 и 3 вариантах выполнения решеток 134 образующие их перегородки 136 своими поверхностями 159 проходят в основном параллельно основному направлению 112 потока. Однако такое расположение образующих решетку перегородок не является строго обязательным. Тем не менее предпочтительно, чтобы поверхности 150 образующих решетку перегородок во второй части 146 решетки проходили, как и ранее, параллельно основному направлению 112 потока. В первой же части 144 решетки возможна также ориентация поверхностей 150 образующих решетку перегородок наклонно к основному направлению 112 потока под углом а. Вариант выполнения решетки 134 с подобным наклонным расположением образующих ее перегородок схематично показан на фиг.4 и 5. При этом на фиг.4 в разрезе показан фрагмент первой части 144 решетки, а на фиг.5 решетка показана в виде в плане аналогично виду, приведенному на фиг.3.
Как показано на фиг.4, благодаря наклонному расположению поверхностей 150 образующих решетку перегородок к основному направлению 112 потока под углом а поток текучей среды, условно показанные на фиг.4 линии которого обозначены позицией 152, приобретает составляющую скорости, перпендикулярную основному направлению 112 потока. В этом отношении образующие решетку перегородки в первой части 144 решетки создают эффект, аналогичный эффекту пропеллера.
При расположении всех образующих решетку перегородок 136 в первой части 144 решетки с одинаковым углом наклона а поток текучей среды за первой частью 144 решетки, т.е. в краевой зоне проточной трубы 122, завихряется или закручивается. В зависимости от того, движется ли текучая среда, если смотреть с направления, соответствующего основному направлению 112 потока, против часовой стрелки или по часовой стрелке, можно говорить о наличии у первой части 144 решетки "левовращающего" или "правовращающего" свойства. В результате завихрения или закрутки потока текучей среды в радиально внешней зоне между радиально внутренней и радиально внешней зонами потока текучей среды образуется крайне нестабильный промежуточный (сдвиговый) слой, который непосредственно приводит к возникновению турбулентности. Сказанное проиллюстрировано на фиг.5 на примере левовращающей решетки 134. Образующие решетку перегородки 136 ориентированы при этом наклонно к основному направлению 112 потока под углом а, например, аналогично показанному на фиг.4 варианту. Углы наклона при этом одинаковы для всех образующих решетку перегородок 136, и поэтому, например, образующая решетку перегородка, находящаяся на фиг.5 в положении на 9 часов, при ее рассматривании с направления, соответствующего основному направлению 112 потока, наклонена вниз, тогда как образующая решетку перегородка, находящаяся на фиг.5 в положении на 3 часа, наклонена вверх. Соответственно в показанном на фиг.5 варианте речь идет о левовращающей решетке. Такая левовращающая решетка сообщает пограничному слою у стенки вращательный импульс.
Промежуточный слой между радиально внутренней и радиально внешней зонами потока текучей среды за первой частью 144 решетки и ее второй частью 146 условно показан на фиг.5 и обозначен позицией 154. Такой промежуточный слой 154, который сразу же приводит к возникновению турбулентности, приводит к тому, что пограничный слой у стенки также становится турбулентным и что между потоком текучей среды, движущимся вблизи стенки, и быстрым потоком текучей средой, движущимся в центре трубы, происходит более интенсивный обмен импульсами. Очевидно, однако, что решетку 134 можно также выполнить закручивающей или завихряющей поток текучей среды в противоположном направлении.
Claims (11)
1. Измерительное устройство (110) для определения по меньшей мере одного параметра движущегося в основном направлении (112) потока текучей среды, прежде всего движущегося по проточной трубе (122) потока впускаемого в двигатель внутреннего сгорания воздуха, имеющее по меньшей мере один расположенный в потоке текучей среды датчик (114) для определения параметра потока текучей среды и по меньшей мере одну расположенную поперечно основному направлению (112) потока перед датчиком (114) решетку (134) с образующими ее перегородками (136), имеющую по меньшей мере одну первую часть (144) и по меньшей мере одну вторую часть (146), отличающееся тем, что образующие решетку перегородки (136) в первой части (144) решетки проходят в основном радиально и имеют поверхности (150) с ориентацией, сообщающей потоку текучей среды составляющую скорости, перпендикулярную основному направлению (112) потока, а образующие решетку перегородки (136) во второй части (146) решетки проходят в основном по секущим и имеют поверхности, ориентированные в основном параллельно основному направлению (112) потока.
2. Измерительное устройство (110) по п.1, у которого первая часть (144) решетки кольцом охватывает ее вторую часть (146).
3. Измерительное устройство (110) по п.2, у которого вторая часть (146) решетки имеет в основном круглую форму, а первая часть (144) решетки имеет в основном форму кругового кольца.
4. Измерительное устройство (110) по п.1, у которого образующие решетку перегородки (136) во второй части (146) решетки образуют ячеистую решетку со взаимно пересекающимися образующими решетку перегородками (136).
5. Измерительное устройство (110) по п.4, у которого ячеистая решетка представляет собой решетку с квадратными ячейками.
6. Измерительное устройство (110) по п.4 или 5, у которого размер ячеек ячеистой решетки составляет от 3 до 7 мм.
7. Измерительное устройство (110) по п.1, у которого решетка (134) имеет измеряемую в основном направлении (112) потока толщину (D) от 5 до 10 мм.
8. Измерительное устройство (110) по п.1, у которого образующие решетку перегородки (136) по меньшей мере в первой части (144) решетки расположены, если смотреть в сечении плоскостью, параллельной основному направлению (112) потока, под углом наклона (α) к основному направлению (112) потока.
9. Измерительное устройство (110) по п.8, у которого указанный угол наклона (α) составляет от 5 до 60°, особенно предпочтительном от 10 до 40°.
10. Измерительное устройство (110) по п.8 или 9, у которого угол наклона (α) всех образующих решетку перегородок (136) в первой части (144) решетки в основном одинаков, и поэтому решетка (134) в своей первой части (144) обладает в основном однообразно правовращающим или левовращающим свойством.
11. Проточно-трубчатый модуль (124) для применения в измерительном устройстве (110) по одному из пп.1-10, имеющий по меньшей мере один корпус (126) с по меньшей мере одним креплением (128) для размещения датчика (114), предназначенного для определения по меньшей мере одного параметра движущегося по этому проточно-трубчатому модулю (124) в основном направлении (112) потока текучей среды, а также имеющий по меньшей мере одну расположенную поперечно основному направлению (112) потока перед датчиком (114) решетку (134) с образующими ее перегородками (136), имеющую по меньшей мере одну первую часть (144) и по меньшей мере одну вторую часть (146), причем образующие решетку перегородки (136) в первой части (144) решетки проходят в основном радиально и имеют поверхности (150) с ориентацией, сообщающей потоку текучей среды составляющую скорости, перпендикулярную основному направлению (112) потока, а образующие решетку перегородки (136) во второй части (146) решетки проходят в основном по секущим и имеют поверхности, ориентированные в основном параллельно основному направлению (112) потока.
Applications Claiming Priority (3)
| Application Number | Priority Date | Filing Date | Title |
|---|---|---|---|
| DE102007055193.4 | 2007-11-19 | ||
| DE102007055193A DE102007055193A1 (de) | 2007-11-19 | 2007-11-19 | Sensoranordnung zur Bestimmung eines Parameters eines fluiden Mediums |
| PCT/EP2008/064090 WO2009065680A1 (de) | 2007-11-19 | 2008-10-20 | Sensoranordnung zur bestimmung eines parameters eines fluiden mediums |
Publications (2)
| Publication Number | Publication Date |
|---|---|
| RU2010124614A RU2010124614A (ru) | 2011-12-27 |
| RU2492429C2 true RU2492429C2 (ru) | 2013-09-10 |
Family
ID=40419015
Family Applications (1)
| Application Number | Title | Priority Date | Filing Date |
|---|---|---|---|
| RU2010124614/28A RU2492429C2 (ru) | 2007-11-19 | 2008-10-20 | Измерительное устройство для определения параметра текучей среды |
Country Status (5)
| Country | Link |
|---|---|
| EP (1) | EP2215433B1 (ru) |
| CN (1) | CN101868697B (ru) |
| DE (1) | DE102007055193A1 (ru) |
| RU (1) | RU2492429C2 (ru) |
| WO (1) | WO2009065680A1 (ru) |
Families Citing this family (10)
| Publication number | Priority date | Publication date | Assignee | Title |
|---|---|---|---|---|
| DE102009054622A1 (de) | 2009-12-14 | 2015-08-06 | Robert Bosch Gmbh | Strömungsgitter |
| DE102010062891A1 (de) | 2010-12-13 | 2012-06-14 | Robert Bosch Gmbh | Stömungsgitter zum Einsatz in einer Sensoranordnung |
| DE102010062892B4 (de) | 2010-12-13 | 2023-07-06 | Robert Bosch Gmbh | Strömungsgitter zum Einsatz in einem Strömungsrohr eines strömenden fluiden Mediums |
| DE102011105441B3 (de) * | 2011-06-20 | 2012-07-26 | Mann + Hummel Gmbh | Strömungsgitter und Verfahren zur Herstellung eines Strömungsgitters |
| DE102011078992A1 (de) | 2011-07-12 | 2013-01-17 | Robert Bosch Gmbh | Sensoranordnung zur Bestimmung wenigstens einer Strömungseigenschaft eines mit einer Hauptströmungsrichtung strömenden fluiden Mediums |
| DE102011086088A1 (de) * | 2011-11-10 | 2013-05-16 | Mahle International Gmbh | Luftparametermesseinrichtung |
| DE102012211126A1 (de) | 2012-06-28 | 2014-01-02 | Robert Bosch Gmbh | Sensoranordnung zur Bestimmung wenigstens einer Strömungseigenschaft eines mit einer Hauptströmungsrichtung strömenden fluiden Mediums |
| DE102013200344A1 (de) * | 2013-01-11 | 2014-07-17 | Robert Bosch Gmbh | Sensoranordnung zur Bestimmung wenigstens einer Strömungseigenschaft eines mit einer Hauptströmungsrichtung strömenden fluiden Mediums |
| CN109505829B (zh) * | 2018-11-28 | 2021-12-03 | 中国核电工程有限公司 | 一种非能动模块化流体阻力元件 |
| US20240379986A1 (en) * | 2023-05-10 | 2024-11-14 | GM Global Technology Operations LLC | Flow straightener for a fuel cell cathode subsystem |
Citations (3)
| Publication number | Priority date | Publication date | Assignee | Title |
|---|---|---|---|---|
| DE19705660A1 (de) * | 1997-02-14 | 1998-08-20 | Elster Produktion Gmbh | Meßeinsatz für Gaszähler |
| DE19942502A1 (de) * | 1999-09-07 | 2001-03-08 | Bosch Gmbh Robert | Vorrichtung zur Messung von zumindest einem Parameter eines in einer Leitung strömenden Mediums |
| RU2257549C2 (ru) * | 1999-09-07 | 2005-07-27 | Роберт Бош Гмбх | Устройство для измерения по меньшей мере одного параметра потока текучей среды |
Family Cites Families (5)
| Publication number | Priority date | Publication date | Assignee | Title |
|---|---|---|---|---|
| DE19647981A1 (de) | 1995-11-23 | 1997-05-28 | Basf Ag | Frostschutzdämmplatten |
| DE19601791A1 (de) | 1996-01-19 | 1997-07-24 | Bosch Gmbh Robert | Sensor mit einer Membran und Verfahren zur Herstellung eines Sensors mit einer Membran |
| DE19647081A1 (de) | 1996-11-14 | 1998-05-28 | Bosch Gmbh Robert | Vorrichtung zur Messung der Masse eines strömenden Mediums |
| US6899081B2 (en) * | 2002-09-20 | 2005-05-31 | Visteon Global Technologies, Inc. | Flow conditioning device |
| JP4341645B2 (ja) * | 2006-06-06 | 2009-10-07 | 株式会社日立製作所 | 流量測定装置,流量測定通路及び空気流量測定装置 |
-
2007
- 2007-11-19 DE DE102007055193A patent/DE102007055193A1/de not_active Withdrawn
-
2008
- 2008-10-20 WO PCT/EP2008/064090 patent/WO2009065680A1/de not_active Ceased
- 2008-10-20 EP EP08851621.6A patent/EP2215433B1/de not_active Not-in-force
- 2008-10-20 CN CN2008801168888A patent/CN101868697B/zh not_active Expired - Fee Related
- 2008-10-20 RU RU2010124614/28A patent/RU2492429C2/ru not_active IP Right Cessation
Patent Citations (3)
| Publication number | Priority date | Publication date | Assignee | Title |
|---|---|---|---|---|
| DE19705660A1 (de) * | 1997-02-14 | 1998-08-20 | Elster Produktion Gmbh | Meßeinsatz für Gaszähler |
| DE19942502A1 (de) * | 1999-09-07 | 2001-03-08 | Bosch Gmbh Robert | Vorrichtung zur Messung von zumindest einem Parameter eines in einer Leitung strömenden Mediums |
| RU2257549C2 (ru) * | 1999-09-07 | 2005-07-27 | Роберт Бош Гмбх | Устройство для измерения по меньшей мере одного параметра потока текучей среды |
Also Published As
| Publication number | Publication date |
|---|---|
| RU2010124614A (ru) | 2011-12-27 |
| EP2215433B1 (de) | 2017-06-07 |
| DE102007055193A1 (de) | 2009-05-20 |
| EP2215433A1 (de) | 2010-08-11 |
| CN101868697B (zh) | 2013-03-27 |
| WO2009065680A1 (de) | 2009-05-28 |
| CN101868697A (zh) | 2010-10-20 |
Similar Documents
| Publication | Publication Date | Title |
|---|---|---|
| RU2492429C2 (ru) | Измерительное устройство для определения параметра текучей среды | |
| US8752420B2 (en) | Sensor system for determining a parameter of a fluid medium | |
| RU2257550C2 (ru) | Устройство для измерения по меньшей мере одного параметра потока текучей среды, движущегося по трубопроводу | |
| US9222811B2 (en) | Flowmeter | |
| US6928884B1 (en) | Method and apparatus for measurement of flow rate | |
| JP4904024B2 (ja) | 導管内を流動する媒体の少なくとも1つのパラメータを測定するための装置 | |
| CN1119626C (zh) | 测量流动介质的质量的装置 | |
| JP2000241222A (ja) | 流量測定装置 | |
| JPS6165053A (ja) | 空気流量計 | |
| KR101957680B1 (ko) | 유동 유체 매체의 유동관 내에서 사용하기 위한 유동 격자 | |
| KR20060039904A (ko) | 관 내에 흐르는 매체의 적어도 하나의 파라미터를 결정하기위한 장치 | |
| JP4073324B2 (ja) | 熱式流量測定装置 | |
| JP2011530707A5 (ru) | ||
| RU2482452C2 (ru) | Измерительное устройство для определения параметра текучей среды | |
| JP3245362B2 (ja) | 空気流量測定装置用整流格子 | |
| KR100702817B1 (ko) | 도관 내에서 유동하는 매질의 하나 이상의 파라미터를 측정하기 위한 측정 장치 | |
| CN207850462U (zh) | 一种超宽量程工业超声波燃气表 | |
| ES2534704B1 (es) | Dispositivo detector para la medida de flujo de un medio fluido | |
| CN110476041B (zh) | 用于感测流体介质的至少一个特性的传感器元件 | |
| CN114323174A (zh) | 一种超声波流量计 | |
| JP4820032B2 (ja) | フルイディック素子の製造方法、フルイディック素子、フルイディック型流量計、並びに複合型流量計 | |
| CN223623660U (zh) | 整流结构、超声波计量模组及燃气表 | |
| CN205192551U (zh) | 一种超宽量程的超声波燃气表气体流路装置 | |
| US11215486B2 (en) | Pressure based flow sensor element having a pressure sensor and ribs positioned in the flow passage | |
| JP2007085724A (ja) | 熱交換器 |
Legal Events
| Date | Code | Title | Description |
|---|---|---|---|
| MM4A | The patent is invalid due to non-payment of fees |
Effective date: 20191021 |