RU2423017C2 - Способ обработки движущегося изображения, носитель записи, на котором записана программа способа обработки движущегося изображения, и устройство обработки движущегося изображения - Google Patents
Способ обработки движущегося изображения, носитель записи, на котором записана программа способа обработки движущегося изображения, и устройство обработки движущегося изображения Download PDFInfo
- Publication number
- RU2423017C2 RU2423017C2 RU2008143302A RU2008143302A RU2423017C2 RU 2423017 C2 RU2423017 C2 RU 2423017C2 RU 2008143302 A RU2008143302 A RU 2008143302A RU 2008143302 A RU2008143302 A RU 2008143302A RU 2423017 C2 RU2423017 C2 RU 2423017C2
- Authority
- RU
- Russia
- Prior art keywords
- processing
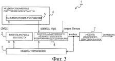
- probability state
- state variables
- context
- storage device
- Prior art date
Links
Images
Classifications
-
- H—ELECTRICITY
- H04—ELECTRIC COMMUNICATION TECHNIQUE
- H04N—PICTORIAL COMMUNICATION, e.g. TELEVISION
- H04N19/00—Methods or arrangements for coding, decoding, compressing or decompressing digital video signals
- H04N19/42—Methods or arrangements for coding, decoding, compressing or decompressing digital video signals characterised by implementation details or hardware specially adapted for video compression or decompression, e.g. dedicated software implementation
- H04N19/423—Methods or arrangements for coding, decoding, compressing or decompressing digital video signals characterised by implementation details or hardware specially adapted for video compression or decompression, e.g. dedicated software implementation characterised by memory arrangements
-
- H—ELECTRICITY
- H04—ELECTRIC COMMUNICATION TECHNIQUE
- H04N—PICTORIAL COMMUNICATION, e.g. TELEVISION
- H04N19/00—Methods or arrangements for coding, decoding, compressing or decompressing digital video signals
- H04N19/10—Methods or arrangements for coding, decoding, compressing or decompressing digital video signals using adaptive coding
- H04N19/102—Methods or arrangements for coding, decoding, compressing or decompressing digital video signals using adaptive coding characterised by the element, parameter or selection affected or controlled by the adaptive coding
- H04N19/13—Adaptive entropy coding, e.g. adaptive variable length coding [AVLC] or context adaptive binary arithmetic coding [CABAC]
-
- H—ELECTRICITY
- H04—ELECTRIC COMMUNICATION TECHNIQUE
- H04N—PICTORIAL COMMUNICATION, e.g. TELEVISION
- H04N19/00—Methods or arrangements for coding, decoding, compressing or decompressing digital video signals
- H04N19/42—Methods or arrangements for coding, decoding, compressing or decompressing digital video signals characterised by implementation details or hardware specially adapted for video compression or decompression, e.g. dedicated software implementation
-
- H—ELECTRICITY
- H04—ELECTRIC COMMUNICATION TECHNIQUE
- H04N—PICTORIAL COMMUNICATION, e.g. TELEVISION
- H04N19/00—Methods or arrangements for coding, decoding, compressing or decompressing digital video signals
- H04N19/60—Methods or arrangements for coding, decoding, compressing or decompressing digital video signals using transform coding
- H04N19/61—Methods or arrangements for coding, decoding, compressing or decompressing digital video signals using transform coding in combination with predictive coding
-
- H—ELECTRICITY
- H04—ELECTRIC COMMUNICATION TECHNIQUE
- H04N—PICTORIAL COMMUNICATION, e.g. TELEVISION
- H04N19/00—Methods or arrangements for coding, decoding, compressing or decompressing digital video signals
- H04N19/70—Methods or arrangements for coding, decoding, compressing or decompressing digital video signals characterised by syntax aspects related to video coding, e.g. related to compression standards
-
- H—ELECTRICITY
- H04—ELECTRIC COMMUNICATION TECHNIQUE
- H04N—PICTORIAL COMMUNICATION, e.g. TELEVISION
- H04N19/00—Methods or arrangements for coding, decoding, compressing or decompressing digital video signals
- H04N19/90—Methods or arrangements for coding, decoding, compressing or decompressing digital video signals using coding techniques not provided for in groups H04N19/10-H04N19/85, e.g. fractals
- H04N19/91—Entropy coding, e.g. variable length coding [VLC] or arithmetic coding
Landscapes
- Engineering & Computer Science (AREA)
- Multimedia (AREA)
- Signal Processing (AREA)
- Compression Or Coding Systems Of Tv Signals (AREA)
- Compression, Expansion, Code Conversion, And Decoders (AREA)
Applications Claiming Priority (2)
| Application Number | Priority Date | Filing Date | Title |
|---|---|---|---|
| JP2006128093A JP2007300517A (ja) | 2006-05-02 | 2006-05-02 | 動画像処理方法、動画像処理方法のプログラム、動画像処理方法のプログラムを記録した記録媒体及び動画像処理装置 |
| JP2006-128093 | 2006-05-02 |
Publications (2)
| Publication Number | Publication Date |
|---|---|
| RU2008143302A RU2008143302A (ru) | 2010-05-10 |
| RU2423017C2 true RU2423017C2 (ru) | 2011-06-27 |
Family
ID=38667618
Family Applications (1)
| Application Number | Title | Priority Date | Filing Date |
|---|---|---|---|
| RU2008143302A RU2423017C2 (ru) | 2006-05-02 | 2007-03-14 | Способ обработки движущегося изображения, носитель записи, на котором записана программа способа обработки движущегося изображения, и устройство обработки движущегося изображения |
Country Status (9)
| Country | Link |
|---|---|
| US (1) | US20090304075A1 (enExample) |
| EP (1) | EP2015581A4 (enExample) |
| JP (1) | JP2007300517A (enExample) |
| KR (1) | KR20090008304A (enExample) |
| CN (1) | CN101438595B (enExample) |
| BR (1) | BRPI0711268A2 (enExample) |
| RU (1) | RU2423017C2 (enExample) |
| TW (1) | TW200810560A (enExample) |
| WO (1) | WO2007129508A1 (enExample) |
Cited By (13)
| Publication number | Priority date | Publication date | Assignee | Title |
|---|---|---|---|---|
| RU2573210C2 (ru) * | 2013-04-10 | 2016-01-20 | Корпорация "САМСУНГ ЭЛЕКТРОНИКС Ко., Лтд." | Контекстно-адаптивное энтропийное кодирование с использованием кодирования серий высоковероятных символов |
| RU2595891C2 (ru) * | 2012-03-26 | 2016-08-27 | ДжейВиСи КЕНВУД КОРПОРЕЙШН | Устройство кодирования изображения, способ кодирования изображения, программа кодирования изображения, устройство передачи, способ передачи и программа передачи, а также устройство декодирования изображения, способ декодирования изображения, программа декодирования изображения, устройство приема, способ приема и программа приема |
| US9462282B2 (en) | 2011-07-11 | 2016-10-04 | Sun Patent Trust | Image decoding method, image coding method, image decoding apparatus, image coding apparatus, and image coding and decoding apparatus |
| US9525881B2 (en) | 2011-06-30 | 2016-12-20 | Sun Patent Trust | Image decoding method, image coding method, image decoding apparatus, image coding apparatus, and image coding and decoding apparatus |
| US9591311B2 (en) | 2011-06-27 | 2017-03-07 | Sun Patent Trust | Image decoding method, image coding method, image decoding apparatus, image coding apparatus, and image coding and decoding apparatus |
| US9635361B2 (en) | 2011-06-24 | 2017-04-25 | Sun Patent Trust | Decoding method and decoding apparatus |
| RU2633175C2 (ru) * | 2012-04-13 | 2017-10-11 | ДжейВиСи КЕНВУД КОРПОРЕЙШН | Устройство кодирования изображения, способ кодирования изображения и программа кодирования изображения, а также устройство декодирования изображения, способ декодирования изображения и программа декодирования изображения |
| US9794578B2 (en) | 2011-06-24 | 2017-10-17 | Sun Patent Trust | Coding method and coding apparatus |
| US10154264B2 (en) | 2011-06-28 | 2018-12-11 | Sun Patent Trust | Image decoding method, image coding method, image decoding apparatus, image coding apparatus, and image coding and decoding apparatus |
| US10237579B2 (en) | 2011-06-29 | 2019-03-19 | Sun Patent Trust | Image decoding method including determining a context for a current block according to a signal type under which a control parameter for the current block is classified |
| USRE47366E1 (en) | 2011-06-23 | 2019-04-23 | Sun Patent Trust | Image decoding method and apparatus based on a signal type of the control parameter of the current block |
| USRE47537E1 (en) | 2011-06-23 | 2019-07-23 | Sun Patent Trust | Image decoding method and apparatus based on a signal type of the control parameter of the current block |
| US10439637B2 (en) | 2011-06-30 | 2019-10-08 | Sun Patent Trust | Image decoding method, image coding method, image decoding apparatus, image coding apparatus, and image coding and decoding apparatus |
Families Citing this family (14)
| Publication number | Priority date | Publication date | Assignee | Title |
|---|---|---|---|---|
| JP4865662B2 (ja) * | 2007-09-26 | 2012-02-01 | キヤノン株式会社 | エントロピー符号化装置、エントロピー符号化方法およびコンピュータプログラム |
| JP4962400B2 (ja) | 2008-04-30 | 2012-06-27 | ソニー株式会社 | 算術復号装置 |
| US7932843B2 (en) * | 2008-10-17 | 2011-04-26 | Texas Instruments Incorporated | Parallel CABAC decoding for video decompression |
| JP5206960B2 (ja) * | 2008-10-29 | 2013-06-12 | 株式会社メガチップス | 画像圧縮装置 |
| US9973768B2 (en) | 2010-03-16 | 2018-05-15 | Texas Instruments Incorporated | CABAC decoder with decoupled arithmetic decoding and inverse binarization |
| WO2011135829A1 (ja) * | 2010-04-29 | 2011-11-03 | パナソニック株式会社 | 符号化方法及び復号方法 |
| US20120014433A1 (en) * | 2010-07-15 | 2012-01-19 | Qualcomm Incorporated | Entropy coding of bins across bin groups using variable length codewords |
| WO2012067412A2 (ko) * | 2010-11-15 | 2012-05-24 | 한국전자통신연구원 | 병렬 엔트로피 부호화/복호화 방법 및 장치 |
| US8378861B2 (en) * | 2010-11-29 | 2013-02-19 | Arm Limited | Storage of probability values for contexts used in arithmetic coding |
| US9319675B2 (en) * | 2011-02-24 | 2016-04-19 | Panasonic Intellectual Property Corporation Of America | Arithmetic decoding method and arithmetic coding method |
| TWI583182B (zh) | 2012-05-31 | 2017-05-11 | Jvc Kenwood Corp | Image decoding apparatus, image decoding method, image decoding program, receiving apparatus, receiving method and receiving program |
| US9773536B1 (en) * | 2013-07-09 | 2017-09-26 | Ambarella, Inc. | Context-adaptive binary arithmetic decoder with low latency |
| HK1218820A1 (zh) * | 2013-09-27 | 2017-03-10 | 高通股份有限公司 | 用於深度幀內預測模式的殘餘譯碼 |
| US11039143B2 (en) * | 2017-11-20 | 2021-06-15 | Qualcomm Incorporated | Memory reduction for context initialization with temporal prediction |
Citations (4)
| Publication number | Priority date | Publication date | Assignee | Title |
|---|---|---|---|---|
| RU2119727C1 (ru) * | 1993-03-01 | 1998-09-27 | Сони Корпорейшн | Способы и устройства обработки набора коэффициентов преобразования, способы и устройства обратного ортогонального преобразования набора коэффициентов преобразования, способы и устройства для уплотнения и расширения сигнала движущегося изображения, носитель записи уплотненного сигнала, представляющего движущееся изображение |
| RU2125765C1 (ru) * | 1994-02-23 | 1999-01-27 | Рикох Компани, ЛТД, | Способ и устройство сжатия символов, стохастический кодер (варианты) |
| JP2005223533A (ja) * | 2004-02-04 | 2005-08-18 | Victor Co Of Japan Ltd | 算術復号化装置、および算術復号化プログラム |
| EP1624579A2 (en) * | 2004-08-02 | 2006-02-08 | Samsung Electronics Co., Ltd. | Apparatus and methods for binary arithmetic decoding using a pipelined structure |
Family Cites Families (4)
| Publication number | Priority date | Publication date | Assignee | Title |
|---|---|---|---|---|
| JP2002218474A (ja) * | 2001-01-24 | 2002-08-02 | Mitsubishi Electric Corp | 画像データ符号化装置 |
| JP3753678B2 (ja) * | 2002-06-28 | 2006-03-08 | Necマイクロシステム株式会社 | 多値画像符号化・復号化装置 |
| JP2005130099A (ja) | 2003-10-22 | 2005-05-19 | Matsushita Electric Ind Co Ltd | 算術復号装置、算術符号化装置、算術符号化・復号装置、携帯端末装置、動画像撮影装置、及び、動画像記録・再生装置 |
| JP2005217871A (ja) | 2004-01-30 | 2005-08-11 | Victor Co Of Japan Ltd | 算術復号化装置および算術復号化プログラム |
-
2006
- 2006-05-02 JP JP2006128093A patent/JP2007300517A/ja active Pending
-
2007
- 2007-03-02 TW TW96107286A patent/TW200810560A/zh not_active IP Right Cessation
- 2007-03-14 RU RU2008143302A patent/RU2423017C2/ru not_active IP Right Cessation
- 2007-03-14 KR KR20087026633A patent/KR20090008304A/ko not_active Withdrawn
- 2007-03-14 US US12/226,929 patent/US20090304075A1/en not_active Abandoned
- 2007-03-14 BR BRPI0711268-8A patent/BRPI0711268A2/pt not_active IP Right Cessation
- 2007-03-14 WO PCT/JP2007/055784 patent/WO2007129508A1/ja not_active Ceased
- 2007-03-14 EP EP07739227A patent/EP2015581A4/en not_active Withdrawn
- 2007-03-14 CN CN2007800160460A patent/CN101438595B/zh not_active Expired - Fee Related
Patent Citations (4)
| Publication number | Priority date | Publication date | Assignee | Title |
|---|---|---|---|---|
| RU2119727C1 (ru) * | 1993-03-01 | 1998-09-27 | Сони Корпорейшн | Способы и устройства обработки набора коэффициентов преобразования, способы и устройства обратного ортогонального преобразования набора коэффициентов преобразования, способы и устройства для уплотнения и расширения сигнала движущегося изображения, носитель записи уплотненного сигнала, представляющего движущееся изображение |
| RU2125765C1 (ru) * | 1994-02-23 | 1999-01-27 | Рикох Компани, ЛТД, | Способ и устройство сжатия символов, стохастический кодер (варианты) |
| JP2005223533A (ja) * | 2004-02-04 | 2005-08-18 | Victor Co Of Japan Ltd | 算術復号化装置、および算術復号化プログラム |
| EP1624579A2 (en) * | 2004-08-02 | 2006-02-08 | Samsung Electronics Co., Ltd. | Apparatus and methods for binary arithmetic decoding using a pipelined structure |
Non-Patent Citations (1)
| Title |
|---|
| ЯН РИЧАРДСОН, Видеокодирование Н.264 и MPEG-4 - стандарты нового поколения. - М.: * |
Cited By (58)
| Publication number | Priority date | Publication date | Assignee | Title |
|---|---|---|---|---|
| USRE48810E1 (en) | 2011-06-23 | 2021-11-02 | Sun Patent Trust | Image decoding method and apparatus based on a signal type of the control parameter of the current block |
| USRE47366E1 (en) | 2011-06-23 | 2019-04-23 | Sun Patent Trust | Image decoding method and apparatus based on a signal type of the control parameter of the current block |
| USRE49906E1 (en) | 2011-06-23 | 2024-04-02 | Sun Patent Trust | Image decoding method and apparatus based on a signal type of the control parameter of the current block |
| USRE47537E1 (en) | 2011-06-23 | 2019-07-23 | Sun Patent Trust | Image decoding method and apparatus based on a signal type of the control parameter of the current block |
| USRE47547E1 (en) | 2011-06-23 | 2019-07-30 | Sun Patent Trust | Image decoding method and apparatus based on a signal type of the control parameter of the current block |
| US11457225B2 (en) | 2011-06-24 | 2022-09-27 | Sun Patent Trust | Coding method and coding apparatus |
| US9635361B2 (en) | 2011-06-24 | 2017-04-25 | Sun Patent Trust | Decoding method and decoding apparatus |
| US9794578B2 (en) | 2011-06-24 | 2017-10-17 | Sun Patent Trust | Coding method and coding apparatus |
| US11109043B2 (en) | 2011-06-24 | 2021-08-31 | Sun Patent Trust | Coding method and coding apparatus |
| US10638164B2 (en) | 2011-06-24 | 2020-04-28 | Sun Patent Trust | Image decoding method, image coding method, image decoding apparatus, image coding apparatus, and image coding and decoding apparatus |
| US10182246B2 (en) | 2011-06-24 | 2019-01-15 | Sun Patent Trust | Image decoding method, image coding method, image decoding apparatus, image coding apparatus, and image coding and decoding apparatus |
| US11758158B2 (en) | 2011-06-24 | 2023-09-12 | Sun Patent Trust | Coding method and coding apparatus |
| US12231656B2 (en) | 2011-06-24 | 2025-02-18 | Sun Patent Trust | Coding method and coding apparatus |
| US10200696B2 (en) | 2011-06-24 | 2019-02-05 | Sun Patent Trust | Coding method and coding apparatus |
| US9591311B2 (en) | 2011-06-27 | 2017-03-07 | Sun Patent Trust | Image decoding method, image coding method, image decoding apparatus, image coding apparatus, and image coding and decoding apparatus |
| US10687074B2 (en) | 2011-06-27 | 2020-06-16 | Sun Patent Trust | Image decoding method, image coding method, image decoding apparatus, image coding apparatus, and image coding and decoding apparatus |
| US10750184B2 (en) | 2011-06-28 | 2020-08-18 | Sun Patent Trust | Image decoding method, image coding method, image decoding apparatus, image coding apparatus, and image coding and decoding apparatus |
| US10154264B2 (en) | 2011-06-28 | 2018-12-11 | Sun Patent Trust | Image decoding method, image coding method, image decoding apparatus, image coding apparatus, and image coding and decoding apparatus |
| US10652584B2 (en) | 2011-06-29 | 2020-05-12 | Sun Patent Trust | Image decoding method including determining a context for a current block according to a signal type under which a control parameter for the current block is classified |
| US10237579B2 (en) | 2011-06-29 | 2019-03-19 | Sun Patent Trust | Image decoding method including determining a context for a current block according to a signal type under which a control parameter for the current block is classified |
| US10165277B2 (en) | 2011-06-30 | 2018-12-25 | Sun Patent Trust | Image decoding method, image coding method, image decoding apparatus, image coding apparatus, and image coding and decoding apparatus |
| US11356666B2 (en) | 2011-06-30 | 2022-06-07 | Sun Patent Trust | Image decoding method, image coding method, image decoding apparatus, image coding apparatus, and image coding and decoding apparatus |
| US9794571B2 (en) | 2011-06-30 | 2017-10-17 | Sun Patent Trust | Image decoding method, image coding method, image decoding apparatus, image coding apparatus, and image coding and decoding apparatus |
| US10903848B2 (en) | 2011-06-30 | 2021-01-26 | Sun Patent Trust | Image decoding method, image coding method, image decoding apparatus, image coding apparatus, and image coding and decoding apparatus |
| US9525881B2 (en) | 2011-06-30 | 2016-12-20 | Sun Patent Trust | Image decoding method, image coding method, image decoding apparatus, image coding apparatus, and image coding and decoding apparatus |
| US12212753B2 (en) | 2011-06-30 | 2025-01-28 | Sun Patent Trust | Image decoding method, image coding method, image decoding apparatus, image coding apparatus, and image coding and decoding apparatus |
| US10382760B2 (en) | 2011-06-30 | 2019-08-13 | Sun Patent Trust | Image decoding method, image coding method, image decoding apparatus, image coding apparatus, and image coding and decoding apparatus |
| US10595022B2 (en) | 2011-06-30 | 2020-03-17 | Sun Patent Trust | Image decoding method, image coding method, image decoding apparatus, image coding apparatus, and image coding and decoding apparatus |
| US11792400B2 (en) | 2011-06-30 | 2023-10-17 | Sun Patent Trust | Image decoding method, image coding method, image decoding apparatus, image coding apparatus, and image coding and decoding apparatus |
| US10439637B2 (en) | 2011-06-30 | 2019-10-08 | Sun Patent Trust | Image decoding method, image coding method, image decoding apparatus, image coding apparatus, and image coding and decoding apparatus |
| US10575003B2 (en) | 2011-07-11 | 2020-02-25 | Sun Patent Trust | Image decoding method, image coding method, image decoding apparatus, image coding apparatus, and image coding and decoding apparatus |
| RU2604680C2 (ru) * | 2011-07-11 | 2016-12-10 | Сан Пэтент Траст | Способ декодирования изображений, способ кодирования изображений, устройство декодирования изображений, устройство кодирования изображений и устройство кодирования и декодирования изображений |
| US9854257B2 (en) | 2011-07-11 | 2017-12-26 | Sun Patent Trust | Image decoding method, image coding method, image decoding apparatus, image coding apparatus, and image coding and decoding apparatus |
| US12108059B2 (en) | 2011-07-11 | 2024-10-01 | Sun Patent Trust | Image decoding method, image coding method, image decoding apparatus, image coding apparatus, and image coding and decoding apparatus |
| US9462282B2 (en) | 2011-07-11 | 2016-10-04 | Sun Patent Trust | Image decoding method, image coding method, image decoding apparatus, image coding apparatus, and image coding and decoding apparatus |
| US10154270B2 (en) | 2011-07-11 | 2018-12-11 | Sun Patent Trust | Image decoding method, image coding method, image decoding apparatus, image coding apparatus, and image coding and decoding apparatus |
| US11770544B2 (en) | 2011-07-11 | 2023-09-26 | Sun Patent Trust | Image decoding method, image coding method, image decoding apparatus, image coding apparatus, and image coding and decoding apparatus |
| RU2714371C2 (ru) * | 2011-07-11 | 2020-02-14 | Сан Пэтент Траст | Способ декодирования изображений, способ кодирования изображений, устройство декодирования изображений, устройство кодирования изображений и устройство кодирования и декодирования изображений |
| US11343518B2 (en) | 2011-07-11 | 2022-05-24 | Sun Patent Trust | Image decoding method, image coding method, image decoding apparatus, image coding apparatus, and image coding and decoding apparatus |
| RU2639266C9 (ru) * | 2012-03-26 | 2018-05-14 | ДжейВиСи КЕНВУД КОРПОРЕЙШН | Устройство декодирования изображения, способ декодирования изображения и долговременный носитель записи |
| RU2679215C9 (ru) * | 2012-03-26 | 2019-08-21 | ДжейВиСи КЕНВУД КОРПОРЕЙШН | Устройство кодирования изображения, способ кодирования изображения и долговременный считываемый компьютером носитель записи |
| RU2668390C9 (ru) * | 2012-03-26 | 2019-06-03 | ДжейВиСи КЕНВУД КОРПОРЕЙШН | Устройство декодирования изображения, способ декодирования изображения и долговременный считываемый компьютером носитель записи |
| RU2639266C1 (ru) * | 2012-03-26 | 2017-12-20 | ДжейВиСи КЕНВУД КОРПОРЕЙШН | Устройство декодирования изображения, способ декодирования изображения и долговременный носитель записи |
| RU2679216C9 (ru) * | 2012-03-26 | 2019-08-08 | ДжейВиСи КЕНВУД КОРПОРЕЙШН | Устройство декодирования изображения, способ декодирования изображения и долговременный считываемый компьютером носитель записи |
| RU2668390C1 (ru) * | 2012-03-26 | 2018-09-28 | ДжейВиСи КЕНВУД КОРПОРЕЙШН | Устройство декодирования изображения, способ декодирования изображения и долговременный считываемый компьютером носитель записи |
| RU2679215C1 (ru) * | 2012-03-26 | 2019-02-06 | ДжейВиСи КЕНВУД КОРПОРЕЙШН | Устройство кодирования изображения, способ кодирования изображения и долговременный считываемый компьютером носитель записи |
| RU2679216C1 (ru) * | 2012-03-26 | 2019-02-06 | ДжейВиСи КЕНВУД КОРПОРЕЙШН | Устройство декодирования изображения, способ декодирования изображения и долговременный считываемый компьютером носитель записи |
| RU2595891C2 (ru) * | 2012-03-26 | 2016-08-27 | ДжейВиСи КЕНВУД КОРПОРЕЙШН | Устройство кодирования изображения, способ кодирования изображения, программа кодирования изображения, устройство передачи, способ передачи и программа передачи, а также устройство декодирования изображения, способ декодирования изображения, программа декодирования изображения, устройство приема, способ приема и программа приема |
| RU2668399C9 (ru) * | 2012-04-13 | 2019-06-19 | ДжейВиСи КЕНВУД КОРПОРЕЙШН | Устройство декодирования изображения, способ декодирования изображения и устройство приема |
| RU2633175C2 (ru) * | 2012-04-13 | 2017-10-11 | ДжейВиСи КЕНВУД КОРПОРЕЙШН | Устройство кодирования изображения, способ кодирования изображения и программа кодирования изображения, а также устройство декодирования изображения, способ декодирования изображения и программа декодирования изображения |
| RU2705650C9 (ru) * | 2012-04-13 | 2020-12-07 | ДжейВиСи КЕНВУД КОРПОРЕЙШН | Устройство декодирования изображения, способ декодирования изображения и устройство приема |
| RU2713848C1 (ru) * | 2012-04-13 | 2020-02-07 | ДжейВиСи КЕНВУД КОРПОРЕЙШН | Устройство кодирования изображения, способ кодирования изображения и устройство передачи |
| RU2705650C1 (ru) * | 2012-04-13 | 2019-11-11 | ДжейВиСи КЕНВУД КОРПОРЕЙШН | Устройство декодирования изображения, способ декодирования изображения и устройство приема |
| RU2689808C9 (ru) * | 2012-04-13 | 2019-11-05 | ДжейВиСи КЕНВУД КОРПОРЕЙШН | Устройство декодирования изображения, способ декодирования изображения и устройство приема |
| RU2633175C9 (ru) * | 2012-04-13 | 2018-03-19 | ДжейВиСи КЕНВУД КОРПОРЕЙШН | Устройство кодирования изображения, способ кодирования изображения и программа кодирования изображения, а также устройство декодирования изображения, способ декодирования изображения и программа декодирования изображения |
| RU2689808C1 (ru) * | 2012-04-13 | 2019-05-29 | ДжейВиСи КЕНВУД КОРПОРЕЙШН | Устройство декодирования изображения, способ декодирования изображения и устройство приема |
| RU2668399C1 (ru) * | 2012-04-13 | 2018-09-28 | ДжейВиСи КЕНВУД КОРПОРЕЙШН | Устройство декодирования изображения, способ декодирования изображения и устройство приема |
| RU2573210C2 (ru) * | 2013-04-10 | 2016-01-20 | Корпорация "САМСУНГ ЭЛЕКТРОНИКС Ко., Лтд." | Контекстно-адаптивное энтропийное кодирование с использованием кодирования серий высоковероятных символов |
Also Published As
| Publication number | Publication date |
|---|---|
| CN101438595B (zh) | 2011-05-25 |
| TW200810560A (en) | 2008-02-16 |
| KR20090008304A (ko) | 2009-01-21 |
| BRPI0711268A2 (pt) | 2011-08-23 |
| EP2015581A4 (en) | 2011-06-29 |
| EP2015581A1 (en) | 2009-01-14 |
| RU2008143302A (ru) | 2010-05-10 |
| TWI330042B (enExample) | 2010-09-01 |
| US20090304075A1 (en) | 2009-12-10 |
| JP2007300517A (ja) | 2007-11-15 |
| WO2007129508A1 (ja) | 2007-11-15 |
| CN101438595A (zh) | 2009-05-20 |
Similar Documents
| Publication | Publication Date | Title |
|---|---|---|
| RU2423017C2 (ru) | Способ обработки движущегося изображения, носитель записи, на котором записана программа способа обработки движущегося изображения, и устройство обработки движущегося изображения | |
| US8036517B2 (en) | Parallel decoding of intra-encoded video | |
| JP4182442B2 (ja) | 画像データの処理装置、画像データの処理方法、画像データの処理方法のプログラム及び画像データの処理方法のプログラムを記録した記録媒体 | |
| CN102369522A (zh) | 计算引擎的并行流水线式集成电路实现 | |
| US20110310958A1 (en) | System for entropy decoding of h.264 video for real time hdtv applications | |
| CN116803078A (zh) | 编解码方法、码流、编码器、解码器以及存储介质 | |
| CN117461315A (zh) | 编解码方法、码流、编码器、解码器以及存储介质 | |
| US6987811B2 (en) | Image processor and image processing method | |
| JPH09200741A (ja) | 画像データ圧縮システムおよび方法 | |
| WO2022227082A1 (zh) | 块划分方法、编码器、解码器以及计算机存储介质 | |
| US6097843A (en) | Compression encoding apparatus, encoding method, decoding apparatus, and decoding method | |
| JP4644290B2 (ja) | 高域係数用符号化ブロックパターン生成方法及び装置 | |
| JP2002112268A (ja) | 圧縮画像データ復号装置 | |
| CN117157979A (zh) | 编解码方法、编码器、解码器以及存储介质 | |
| JP3861317B2 (ja) | 可変長復号装置 | |
| US10225568B2 (en) | Apparatus and method of restoring image | |
| CN116998149A (zh) | 系数的编解码方法、编码器、解码器及计算机存储介质 | |
| RU2853107C1 (ru) | Способ кодирования и декодирования, кодер и декодер | |
| RU2845936C1 (ru) | Способ кодирования и декодирования, кодер и декодер | |
| RU2853099C1 (ru) | Способ кодирования и декодирования, кодер и декодер | |
| RU2853100C1 (ru) | Способ кодирования и декодирования, кодер и декодер | |
| US7412101B2 (en) | Semiconductor device and an image processor | |
| RU2836841C2 (ru) | Способ кодирования и декодирования, кодер и декодер | |
| CN120512537A (zh) | 像素自适应补偿方法、系统、电子设备、介质及程序产品 | |
| WO2024077573A1 (zh) | 编解码方法、编码器、解码器、码流以及存储介质 |
Legal Events
| Date | Code | Title | Description |
|---|---|---|---|
| MM4A | The patent is invalid due to non-payment of fees |
Effective date: 20140315 |