RU2390503C1 - Установка для биохимической очистки сточных вод - Google Patents

Установка для биохимической очистки сточных вод Download PDF

Info

Publication number
RU2390503C1
RU2390503C1 RU2009103724A RU2009103724A RU2390503C1 RU 2390503 C1 RU2390503 C1 RU 2390503C1 RU 2009103724 A RU2009103724 A RU 2009103724A RU 2009103724 A RU2009103724 A RU 2009103724A RU 2390503 C1 RU2390503 C1 RU 2390503C1
Authority
RU
Russia
Prior art keywords
aeration
trays
sludge
pipes
installation according
Prior art date
Application number
RU2009103724A
Other languages
English (en)
Inventor
Владимир Петрович Колесников (RU)
Владимир Петрович Колесников
Дмитрий Владимирович Колесников (RU)
Дмитрий Владимирович Колесников
Original Assignee
Владимир Петрович Колесников
Дмитрий Владимирович Колесников
Priority date (The priority date is an assumption and is not a legal conclusion. Google has not performed a legal analysis and makes no representation as to the accuracy of the date listed.)
Filing date
Publication date
Application filed by Владимир Петрович Колесников, Дмитрий Владимирович Колесников filed Critical Владимир Петрович Колесников
Priority to RU2009103724A priority Critical patent/RU2390503C1/ru
Priority to PCT/RU2010/000026 priority patent/WO2010090551A1/ru
Application granted granted Critical
Publication of RU2390503C1 publication Critical patent/RU2390503C1/ru
Priority to US13/065,089 priority patent/US8685235B2/en

Links

Images

Classifications

    • YGENERAL TAGGING OF NEW TECHNOLOGICAL DEVELOPMENTS; GENERAL TAGGING OF CROSS-SECTIONAL TECHNOLOGIES SPANNING OVER SEVERAL SECTIONS OF THE IPC; TECHNICAL SUBJECTS COVERED BY FORMER USPC CROSS-REFERENCE ART COLLECTIONS [XRACs] AND DIGESTS
    • Y02TECHNOLOGIES OR APPLICATIONS FOR MITIGATION OR ADAPTATION AGAINST CLIMATE CHANGE
    • Y02WCLIMATE CHANGE MITIGATION TECHNOLOGIES RELATED TO WASTEWATER TREATMENT OR WASTE MANAGEMENT
    • Y02W10/00Technologies for wastewater treatment
    • Y02W10/10Biological treatment of water, waste water, or sewage

Landscapes

  • Biological Treatment Of Waste Water (AREA)

Abstract

Изобретение может быть использовано для очистки хозяйственно-бытовых и производственных сточных вод с содержанием органических загрязнений по БПКп от 50 до 50000 мг/дм3, взвешенных веществ от 50 до 5000 мг/дм3. Установка состоит из устройства тонкой механической очистки 2, вертикальной песколовки 3, камеры смешения 4 сточных вод с илом, циркуляционного насоса 18, двух-четырех устройств комбинированной биологической очистки 5, биореакторов 21 с искусственной загрузкой 27, 28 и циркуляционными насосами 24, устройства обработки использованного воздуха 30, устройства обработки избыточного ила 20. Устройства комбинированной биологической очистки 5 включают биофильтр 6 с плоскостной загрузкой 7, систему орошения 8, сборные поддоны 9 и стокосборники 10, к которым подсоединены аэрационные колонны 11, заглубленные в аэрационные зоны 12. Камера смешения 4 соединена с устройствами комбинированной биологической очистки 5 трубопроводом отвода ила 16 из аэротенков-отстойников 13, напорный трубопровод 19 циркуляционного насоса 18 камеры смешения 4 соединен с системой орошения 8 биофильтров 6. Длина сливных патрубков с отражательными дисками системы орошения биофильтров в начале лотков находится в пределах от четырех до шести диаметров патрубков, в конце лотков от двух до четырех диаметров. На трубопроводах подачи смеси сточных вод и ила в лотки орошения биофильтра установлены задвижки. В начале лотков смонтированы шиберы, а перед начальными сливными патрубками установлены струенаправляющие пластинки. Изобретение позволяет повысить эффективность и стабильность работы установки, сократить санитарно-защитную зону вокруг нее, утилизировать �

Description

Изобретение относится к очистке хозяйственно-бытовых и производственных сточных вод с содержанием органических загрязнений по БПКп от 50 до 50000 мг/дм3, а взвешенных веществ от 50 до 5000 мг/дм3 и может быть использовано при очистке сточных вод, например жилых домов, поселков, городов, консервных заводов, мясокомбинатов, рыбозаводов, молокозаводов, животноводческих ферм, предприятий химической и микробиологической промышленности и т.п.
Известно устройство для биохимической очистки сточных вод, содержащее биофильтр, размещенный над аэротенком-отстойником с подающими трубами для струйной аэрации жидкости, прикрепленными к сборному поддону биофильтра, камеру смешения и циркуляционный насос (Авторское свидетельство СССР №1020379, МКИ C02F 3/02, опубл. 30.05.1983 г.). Работа устройства заключается в следующем: сточные воды после предварительной обработки (удаление грубодисперсных примесей) направляются в камеру смешения, куда поступает также под гидростатическим напором иловая смесь из аэротенка-отстойника. Далее смесь сточных вод и ила циркулирует с помощью насоса через биофильтр, подающие трубы (аэрационные колонны) и аэротенк-отстойник. Биохимическое окисление загрязнений осуществляется биоценозом, прикрепленным к загрузке биофильтра, и микроорганизмами активного ила в аэротенке-отстойнике. При орошении и прохождении через биофильтр иловая смесь насыщается кислородом воздуха. Дополнительное насыщение жидкости кислородом в аэротенке и перемешивание его содержимого осуществляются за счет процесса воздухововлечения в подающих трубах, движения газожидкостных потоков и при подъеме пузырьков воздуха. Достоинством данного устройства являются: высокая степень очистки сточных вод за счет сочетания окислительных и сорбционных свойств биоценоза биофильтра и микрофлоры активного ила аэротенка; использование в качестве основного оборудования простого низконапорного насоса и низкие энергетические затраты (до 0,5 кВт/ на кг снятого БПК). Вместе с тем, применение одного комбинированного устройства в виде единого блока нерационально при очистке сточных вод для диапазонов производительностей 100-50000 м3/сут, так как усложняется процесс регулировки гидродинамического режима работы сооружения и невозможно отключение отдельных элементов на время ремонта.
Известна также установка для биохимической очистки высококонцентрированных сточных вод по патенту РФ №2139257, МКИ C02F 3/02, опубл. 10.10.1999 г., в которой применен биореактор для доочистки сточных вод с искусственной загрузкой, обеспечивающей дальнейшую трансформацию азотсодержащих загрязнений и задержание всплывающих хлопьев ила. Однако предлагаемая конструкция загрузки сложна в изготовлении.
Наиболее близким по совокупности существенных признаков к заявляемому изобретению (прототипом) является установка для биохимической очистки сточных вод, данная в описании к патенту РФ №2220915, МКИ C02F 3/02, опубл. 10.01.2004 г. Равномерность орошения биофильтра комбинированного устройства зависит не только от запорной арматуры на линиях подачи смеси сточных вод и ила в лотки, но и от наличия устройств для гашения напора при подаче жидкости в лотки, так как при поступлении жидкости на начальных участках возникает резкое волновое движение. Равномерность орошения загрузки биофильтра при минимальных энергетических затратах на подачу жидкости в систему орошения зависит как от высоты от верхних обрезов сливных патрубков до отражательных дисков 1-1,5 м и выправляющих выступов в патрубках, но также от расстояний между лотками и расстояний между сливными патрубками. Указанные в данном патенте размеры сливных патрубков 4-10 диаметров обеспечивают компактность падающих струй жидкости и разнообразие траекторий отражения капель жидкости. Вместе с тем, при появлении на внутренней поверхности патрубков слоя прикрепленной микрофлоры (β≈1,5 мм) при диаметре патрубков 20-35 мм и их длине свыше шести диаметров, а также из-за выправляющих выступов резко снижается пропускная способность патрубков и повышается вероятность их засорения, что требует частой прочистки.
Эффективность окисления органических загрязнений в биофильтрах комбинированных устройств зависит от конструктивного устройства загрузки. Плоскостная загрузка выполнена в виде блоков из гофрированных листов с шестью зонами различной шероховатости, что создает оптимальные условия для наращивания биомассы в верхней части загрузки и исключает заиление в средней и нижней части. Вместе с тем использование искусственных материалов (стеклопластика, керамопласта и т.п.) для изготовления плоскостных загрузок не обеспечивает нарастания достаточного слоя биомассы на поверхности материала из-за низкого электрокинетического потенциала, т.е. притяжения за счет межмолекулярных сил. Узел водоструйной аэрации в комбинированном устройстве обеспечивает эффективное насыщение жидкости кислородом и перемешивание содержимого аэротенка только при определенных диаметрах аэрационных колонн и определенных соотношениях между высотами колонн над поверхностью и высотами заглубленных частей колонн. Правильный выбор параметров минимизирует энергетические затраты на очистку сточных вод. На эффективность процесса воздухововлечения в колонны влияют условия поступления смеси сточных вод и ила в стокосборники, горизонтальные расстояния между верхними обрезами аэрационных колонн и точность установки верхних обрезов аэрационных колонн по уровню воды. Наличие выправляющих выступов в виде спиралей в верхней части колонн повышает засоряемость колонн при наличии длинноволокнистых загрязнений. В установке-прототипе биохимической очистки сточных вод указано, что нижние концы труб равномерно расставлены над плоской частью днища аэротенка с высотой 0,2-0,3 м над ним. Вместе с тем, при минимальных энергетических затратах на циркуляцию иловой смеси, поддержание активной биомассы в аэрационной зоне во взвешенном состоянии, исключение возможности залегания и загнивания ила зависят как от принятого диаметра аэрационных колонн и соотношения высот аэрационных колонн, так и от расстояний между нижними обрезами колонн, расстояний от концов колонн до угла сочленения плоской и конической части днища и равномерного отвода ила.
В осадке сточных вод в оптимальном соотношении находятся углерод, азот, фосфор и микроэлементы. Но возможность использования осадка в качестве удобрения сдерживается жизнестойкостью гельминтов и появлением неприятных запахов при внесении его в почву. Применение установок СВЧ обеспечивает полную дегельминтизацию осадка. Избыточный ил, удаляемый из комбинированных устройств, имеет оптимальное соотношение биогенных элементов, хорошую влагоотдачу и высокую степень минерализации. Отсутствие первичного отстаивания в комбинированном устройстве, блокирование аэротенка и вторичного отстойника исключают возможность дальнейшего появления неприятных запахов, в отличие от традиционных сооружений, в осадке которых остаются гнилостные ферменты. Основными факторами, оказывающими влияние на биологическую очистку сточных вод, являются температура исходных сточных вод и наружного воздуха. Средняя температура сточных вод в городах России в холодное время колеблется в пределах 15-17°С, температура вод в средних и небольших поселках 9-14°С. В аэротенках с обычным режимом аэрации при температуре воздуха минус 10-20°С температура жидкости за время обработки падает на 1-3°С, в аэротенках с продленным режимом аэрации - на 4-9°С, что приводит к замедлению или полному прекращению процесса биологической очистки. В странах с жарким климатом высокие температуры сточных вод и воздуха и прямые солнечные лучи способствуют повышению обрабатываемой жидкости до 35°С и выше, что также отрицательно сказывается на растворимости воздуха и скорости процесса очистки. Выполнение очистных сооружений канализации в закрытом исполнении частично решает проблемы охлаждения или нагрева жидкости, но основным направлением оптимизации температурного режима работы сооружений и снижения энергозатрат на обработку воздуха является повышение коэффициента использования кислорода воздуха. В процессе очистки сточных вод в аэротенках образуется огромное количество газовых пузырей, разрыв которых сопровождается образованием капель, которые уносятся в атмосферу, захватывая и патогенную микрофлору. Таким образом, происходит загрязнение воздуха возбудителями инфекционных и инвазионных заболеваний. Для дезинфекции и дезодорации использованного в технологических процессах воздуха установки должны быть снабжены устройствами для обработки воздуха. В трех-четырехступенчатых схемах обработки воздуха на очистных сооружениях канализации г.Монако, Ницца, Антиб используется мокрая очистка с помощью гипохлорита, каустической соды, а устранение дурнопахнущих запахов осуществляется с помощью озона, в связи с чем процесс очистки воздуха является дорогостоящим в эксплуатации.
Задача, которую поставили перед собой разработчики новой установки для биохимической очистки сточных вод, состояла в создании такой установки, которая позволила бы повысить экологическую безопасность и которая включала бы в себя, в частности, сокращение санитарно-защитной зоны вокруг установки.
Техническим результатом, достигнутым в процессе решения поставленной перед разработчиками задачи, явилось повышение эффективности и стабильности ее работы. Повышение эффективности и стабильности работы установки предопределило снижение энергетических затрат на очистку сточных вод, дезинфекцию и дезодорацию использованного воздуха. Вместе с тем, установка позволила также утилизировать отходы с получением гранулированных удобрений.
Сущность изобретения состоит в том, что установка для биохимической очистки сточных вод, содержащая устройство тонкой механической очистки, вертикальную песколовку, камеру смешения сточных вод с илом с циркуляционным насосом, биореактор с искусственной загрузкой и циркуляционными насосами, устройство для обработки использованного воздуха, устройство обработки избыточного ила, устройство комбинированной биологической очистки, включающее биофильтр с плоскостной загрузкой, систему орошения, сборные поддоны и стокосборники, к которым подсоединены аэрационные колонны, заглубленные в аэрационные зоны, причем камера смешения соединена с устройством комбинированной биологической очистки трубопроводом отвода ила из аэротенка-отстойника, а напорный трубопровод циркуляционного насоса камеры смешения соединен с системой орошения биофильтра устройства комбинированной биологической очистки состоит из двух-четырех устройств комбинированной биологической очистки, длина сливных патрубков с отражательными дисками системы орошения биофильтров которых в начале лотков находится в пределах от четырех до шести диаметров патрубков, а в конце лотков от двух до четырех диаметров, при этом на трубопроводах подачи смеси сточных вод и ила в лотки орошения биофильтра установлены задвижки и дополнительно в начале лотков смонтированы шибера, причем перед начальными сливными патрубками установлены струенаправляющие пластинки.
Кроме того, сущность изобретения состоит и в том, что в установке для биохимической очистки сточных вод расстояние от верхних торцов сливных патрубков лотков системы орошения до дисковых отражателей составляет 0,8-1,5 м, а расстояние между центрами лотков и расстояние между осями патрубков в лотках составляет 0,6-1,4 м.
Вместе с тем, сущность изобретения состоит и в том, что в установке для биохимической очистки сточных вод диаметр отражательных дисков, установленных на конце патрубков сливных лотков системы орошения биофильтров устройств комбинированной очистки, составляет 80-200 мм.
Кроме того, сущность изобретения состоит и в том, что в установке для биохимической очистки сточных вод на лотках системы орошения биофильтра установлены гелий-неоновые лазеры для стимуляции роста микрофлоры, процессов нитрификации и денитрификации.
Вместе с тем, сущность изобретения состоит и в том, что в установке для биохимической очистки сточных вод плоскостная загрузка выполнена из стеклопластика и/или керамопласта с включением в их состав металлических сплавов и минеральных частиц или нанесения на поверхность загрузки слоя соединений металла с помощью электроакустического метода напыления.
Кроме того, сущность изобретения состоит и в том, что в установке для биохимической очистки сточных вод стокосборник поддона биофильтра оборудован струенаправляющим отражателем, верхняя часть аэрационных колонн выполнена в виде патрубков, вкручиваемых в муфты, прикрепленными к днищу стокосборника, а стокосборник снабжен лючком для монтажа патрубков и прочистки колонн.
Вместе с тем, сущность изобретения состоит и в том, что в установке для биохимической очистки сточных вод при диаметрах аэрационных колон от 25 до 50 мм расстояние между центрами верхней их части составляет 50-100 мм, а расстояния между нижними их обрезами в аэрационной зоне составляют 0,5-1,4 м.
Вместе с тем, сущность изобретения состоит и в том, что в установке для биохимической очистки сточных вод при диаметрах аэрационных колон от 50 до 100 мм расстояние между центрами верхней их части составляет 100-200 мм, а расстояния между нижними их обрезами в аэрационной зоне составляют 1-2 м.
Вместе с тем, сущность изобретения состоит и в том, что в установке для биохимической очистки сточных вод для ее производительности от 5 до 50 м3/сут при диаметре аэрационных колонн от 25 до 50 мм их высота над уровнем жидкости в аэротенках-отстойниках составляет 1,2-1,8 м, их высота заглубления под уровень жидкости 1,5-2 м, а высота нижних обрезов колонн над днищем 0,05-0,2 м.
Вместе с тем, сущность изобретения состоит и в том, что в установке для биохимической очистки сточных вод для ее производительности от 100 до 15000 м3/сут при диаметре аэрационных колонн 50-100 мм их высота над уровнем жидкости составляет 2-3,5 м, высота заглубления колонн под уровень жидкости 2,5-4 м, а высота нижних обрезов колонн над днищем 0,15-0,4 м.
Вместе с тем, сущность изобретения состоит и в том, что в установке для биохимической очистки сточных вод в сливных патрубках систем орошения биофильтров и в патрубках верхних частей аэрационных колонн выполнены выемки в виде спиралей длиной от 1 до 1,5 оборота, а высотой, не превышающей 0,7 диаметра патрубка.
Вместе с тем, сущность изобретения состоит и в том, что в установке для биохимической очистки сточных вод длина нижнего катета конической части аэротенка-отстойника составляет половину ширины отстойной зоны плюс 0,1-1,0 м, расстояние от низа конической части перегородки, разделяющей аэрационную и отстойную зоны до днища - 0,5-1,5 м, а расстояние от нижних концов патрубков трубопровода отвода ила до угла сочленения днища аэрационной и отстойной зоны составляет 0,05-0,3 м.
Вместе с тем, сущность изобретения состоит и в том, что в установке для биохимической очистки сточных вод для диаметров аэрационных колонн от 25 до 50 мм расстояние от низа крайних аэрационных колонн до угла сочленения плоской и конической частей днища аэротенка-отстойника составляет 0,5-0,8 м, а для диаметров от 50 до 100 мм составляет 0,7-1,2 м.
Вместе с тем, сущность изобретения состоит и в том, что в установке для биохимической очистки сточных вод по внешнему периметру перегородки, отделяющей помещение биофильтра от помещения аэротенка-отстойника, на расстоянии 0,5-1,5 м друг от друга выполнены отверстия или установлены клапаны для перепуска воздуха.
Вместе с тем, сущность изобретения состоит и в том, что в установке для биохимической очистки сточных вод в биореакторе нижний слой загрузки состоит из плоскостных загрузок различной конфигурации, пластмассовых картриджей или жестких засыпных элементов, а загрузка верхнего слоя выполнена из блоков, состоящих из пластмассовых стержней с расстояниями между ними от 1 до 3 мм и собранными в блоки с помощью плоских листов.
Вместе с тем, сущность изобретения состоит и в том, что в установке для биохимической очистки сточных вод высота расположения циркуляционного насоса от нижней части днища биореактора выполнена с возможностью варьирования в зависимости от выполняемых функций: подача жидкости на циркуляцию в водоструйный аэратор, на промывку загрузки или отвода ила.
Вместе с тем, сущность изобретения состоит и в том, что в установке для биохимической очистки сточных вод трубопроводы отвода избыточного ила от устройств комбинированной биологической очистки подсоединены к сгустителю, который, в свою очередь, соединен трубопроводом отвода уплотненного ила с ленточным фильтр-прессом, устройство отвода обезвоженного кека с фильтр-пресса подключено к ленте конвейера, с размещенными над ней последовательно СВЧ-излучателями, а линия отвода осадка с конвейера подключена к гранулятору, куда подведена также линия подачи органических и минеральных добавок.
Кроме того, сущность изобретения состоит и в том, что в установке для биохимической очистки сточных вод для ее производительности до 10000 м3/сут воздуховоды от устройств комбинированной биологической очистки, устройства обработки избыточного ила, биореакторов, помещений устройств тонкой механической очистки и песколовок последовательно соединены с фильтром ячейковым карманным, фильтром ячейковым складчатым и УФ-установкой с безозоновыми и озонообразующими лампами.
И наконец, сущность изобретения состоит и в том, что в установке для биохимической очистки сточных вод для ее производительности свыше 10000 м3/сут воздуховоды подсоединены к всасывающему патрубку вентилятора высокого давления, напорный воздуховод которого, в свою очередь, подключен к камере орошения устройства обработки воздуха, снабженного системой орошения, которая соединена с циркуляционным насосом, всасывающий патрубок которого подсоединен к барботажной части устройства, над которой размещена насадочная часть устройства, заполненная искусственной загрузкой, сборный поддон, в который вмонтированы трубы прямой подачи воздуха, заполненные в нижней части трубами малого диаметра, с высотой над поверхностью жидкости 0,7-1,3 м и заглубленные на 0,4-0,7 м в жидкость барботажной части, и стокосборник с трубами водоструйной эжекции воздуха, установленными на высоте 0,6-1,2 м над жидкостью и заглубленные в жидкость на 1-2 м, к устройству обработки воздуха подсоединены бак с раствором гипохлорита натрия, бак с раствором одоранта и воздуховод, соединенный, в свою очередь, с каплеотделителем, который последовательно подключен к фильтру с активированным углем и установке УФ-обеззараживания.
Доказательства возможности осуществления заявляемой установки для биохимической очистки сточных вод с реализацией указанного назначения приводятся ниже на конкретном примере. Этот характерный пример ни в коей мере не ограничивает другие различные варианты исполнения изобретения, а только лишь поясняет его сущность.
Приведенная в качестве конкретного примера изобретения установка для биохимической очистки сточных вод поясняется графически, где:
на фиг.1 схематично изображена установка для биохимической очистки сточных вод;
на фиг.2 - в увеличенном масштабе дан разрез биофильтра, показанного на фиг.1;
на фиг.3 - разрез А-А на фиг.2;
на фиг.4 - в увеличенном масштабе приведен разрез сборного поддона биофильтра и стокосборника, показанных на фиг.1;
на фиг.5 - разрез Б-Б на фиг.4;
на фиг.6 - в увеличенном масштабе расстановка аэрационных колонн и устройство аэротенка-отстойника;
на фиг.7 - загрузка биореактора (аксонометрия);
на фиг.8 - технологическая схема устройства обработки избыточного ила;
на фиг.9 - технологическая схема устройства обработки использованного воздуха для сооружений производительностью до 10000 м3/сут;
на фиг.10 - технологическая схема устройства обработки использованного воздуха для сооружений производительностью свыше 10000 м3/сут;
на фиг.11 - в увеличенном масштабе показан разрез труб прямой подачи воздуха.
Заявленная установка состоит из трубопровода подачи сточных вод 1, подсоединенного к устройству тонкой механической очистки 2, которое, в свою очередь, подсоединено трубопроводом к вертикальной песколовке 3. Сборный лоток вертикальной песколовки 3 соединен отводным трубопроводом с камерой смешения 4 устройств комбинированной биологической очистки 5. Устройства комбинированной биологической очистки 5 состоят из биофильтров 6 с плоскостной загрузкой 7, снабженных системами орошения 8, сборными поддонами 9 и стокосборниками 10. К стокосборникам 10 подсоединены аэрационные колонны 11, которые заглублены в аэрационные зоны 12 аэротенков-отстойников 13. На перегородке, отделяющей помещение биофильтра от помещения аэротенка-отстойника, предусмотрена установка клапанов или отверстий для перепуска воздуха 14. В аэротенках-отстойниках 13 аэрационные зоны 12 сблокированы с отстойными зонами 15. По периметру плоской части днища аэрационных зон 12 установлены трубопроводы отвода ила 16 с равномерно расставленными патрубками 17. Трубопроводы отвода ила 16 соединены с камерой смешения 4, в которой установлен циркуляционный насос 18. Напорный трубопровод 19 одновременно подключен к системам орошения 8 устройств комбинированной биологической очистки 5 и к устройству обработки избыточного ила 20.
Размещенные в отстойных зонах 15 сборные лотки соединены самотечным трубопроводом с биореакторами 21. Биореакторы включают камеру аэрации 22 с водоструйным аэратором 23 и насосом 24. В свою очередь, насос 24 соединен напорным трубопроводом 25 с водоструйным аэратором 23, камерой смешения 4 и системой орошения 26 биореактора. Камера аэрации 22 отделена перегородкой от затопленного фильтра с двухслойной загрузкой 27, 28. Устройства комбинированной биологической очистки 5 и биореакторы 21 подсоединены воздуховодами 29 к устройству для обработки использованного воздуха 30.
В конструкцию системы орошения биофильтра 6 входят напорный трубопровод с задвижкой 31, распределительные лотки 32 с шиберами 33, сливными патрубками 34 и отражательными дисками 35. Длина сливных патрубков уменьшается от начала до конца распределительных лотков и изменяется от шести до двух их диаметров. Перед начальными сливными патрубками 34 установлены струенаправляющие пластинки 36. На лотках 32 смонтированы гелий-неоновые лазеры 37.
Ко дну стокосборника 10 приварены муфты 38, в которые снизу вкручены аэрационные колонны 11, а сверху патрубки 39. В период проведения гидравлических испытаний на чистой воде на патрубки наносят отметку уровня воды, затем их выкручивают и снимают с них фаску, а затем их снова вкручивают в муфты 38. В патрубках 39 выполнены выемки в форме спиралей. Стокосборник снабжен струенаправляющим отражателем 40 и лючком 41.
Загрузка биореактора 21 выполнена из блоков с элементами в виде стержней 42, расстояния между которыми находятся в пределах 1-3 мм. Элементы 42 соединяются и фиксируются с помощью плоских листов 43.
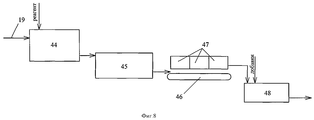
Устройство обработки избыточного ила 20 состоит из сгустителя 44, который соединен трубопроводом отвода уплотненного ила с ленточным фильтр-прессом 45. Устройство отвода обезвоженного кека подключено к ленте конвейера 46, над которой размещены СВЧ-излучатели 47. Линия отвода осадка с конвейера подключена к гранулятору 48, куда подведена также линия подачи органических и минеральных добавок.
Устройство обработки использованного воздуха 30 для сооружений производительностью до 10000 м3/сут состоит из фильтра ячейкового карманного 49, фильтра ячейкового складчатого 50 и УФ-установки с безозоновыми и озонообразующими лампами 51.
Устройство обработки использованного воздуха 30 для сооружений производительностью свыше 10000 м3/сут включает воздуховоды 29, которые подсоединены к всасывающему патрубку вентилятора высокого давления (ВВД) 52. Напорный воздуховод ВВД 52, в свою очередь, подключен к камере орошения 53 устройства обработки воздуха 30. Устройство 30 снабжено системой орошения 54, которая соединена с циркуляционным насосом 55, всасывающий патрубок которого подсоединен к его барботажной части 56. Над барботажной частью 56 размещены насадочная часть 57, заполненная искусственной загрузкой, а также сборный поддон 58, в который вмонтированы трубы прямой подачи воздуха 59. Трубы прямой подачи воздуха 59 в нижней их части заполнены трубами малого диаметра 60. Трубы 60 расположены над поверхностью жидкости на высоте 0,7-1,3 м и заглублены на 0,4-0,7 м в жидкость барботажной части. Трубы водоструйной эжекции воздуха 61 стокосборника 62 установлены на высоте 0,6-1,2 м над жидкостью и заглублены в жидкость на 1-2 м. К устройству обработки воздуха 30 подсоединены бак 63 с раствором гипохлорита натрия, бак с раствором одоранта 64 и воздуховод 65. Воздуховод 65 соединен, в свою очередь, с каплеотделителем 66, который последовательно подключен к фильтру с активированным углем 67 и установке УФ-обеззараживания 68.
Работает описанная установка биохимической очистки сточных вод следующим образом.
Сточные воды по трубопроводу 1 подают в устройство 2 тонкой механической очистки с прозорами 2-4 мм, где происходит задержание грубодисперсных взвесей. Затем сточные воды поступают в вертикальную песколовку 3, где осуществляется осаждение песка. Далее сточные воды поступают в камеру смешения 4, а затем в устройства комбинированной биологической очистки 5. В камеру смешения 4 под гидростатическим давлением поступает по самотечным трубопроводам 16 ил из аэрационных зон 12. В случае, если в описываемой установке биохимической очистки сточных вод применено от двух до четырех устройств комбинированной биологической очистки, то ее выполняют с одним циркуляционным насосом 18. Это условие исходит из конструктивных соображений строительства очистных сооружений, управления гидродинамическими потоками жидкости в биофильтрах и аэротенках-отстойниках, а также временного отключения отдельных элементов. При большем количестве устройств комбинированной биологической очистки, имея один циркуляционный насос 18, крайне сложно регулировать гидродинамический режим работы биофильтров и аэротенков-отстойников. Полупроизводственные исследования показали, что при количестве устройств комбинированной биологической очистки от четырех до шести целесообразно выполнять камеру смешения блока очистных сооружений с двумя одновременно работающими насосами и разделять их перегородками с щитовыми затворами.
Из камеры смешения 4 сточные воды по напорному трубопроводу 19 с помощью циркуляционного насоса 18 перекачивают в системы орошения 8 биофильтров 6 и устройство обработки избыточного ила 20. С помощью задвижек 31, установленных на напорных трубопроводах, производят регулировку расхода сточных вод в каждый распределительный лоток 32. При поступлении иловой смеси в узкие распределительные лотки 32 на начальных участках, особенно в период включения циркуляционного насоса 18, возникает резкое волнообразное движение в лотках, и возможен перелив жидкости через кромки. Гашение напора и выравнивание потока жидкости в лотках осуществляют с помощью шиберов 33. Из-за высоких скоростей жидкости в начале лотков затруднен слив жидкости в первые сливные патрубки 34. Для снижения турбулентности потоков перед начальными патрубками установлены струенаправляющие пластинки 36, которые способствуют сливу жидкости в отверстия патрубков.
Регулировка равномерного излива жидкости через патрубки производится путем изменения высоты патрубков над днищами лотков. При этом необходимо стремиться к уменьшению длины патрубков, так как это сокращает количество прикрепленной биомассы на пути слива жидкости, и, соответственно, повышает пропускную способность патрубков. Рекомендуемая длина патрубков, устанавливаемых в начале лотков 6-4 диаметров, в конце - 4-2 диаметра. Повышению компактности падающих струй жидкости способствуют выемки 40 в сливных патрубках 34, выполненных в форме спиралей 1-1,5 оборота с высотой менее 0,7 диаметра.
Оптимальное соотношение между энергетическими затратами на работу системы орошения и равномерностью орошения определяет следующие параметры системы: при расстоянии от верхних торцов сливных патрубков лотков системы орошения до отражательных дисков 0,8-1,5 м расстояния между центрами лотков и расстояния между осями патрубков принимаются в пределах 0,6-1,4 м. В биофильтрах 6 при использовании плоскостной загрузки 7 с изменяющейся шероховатостью (эквивалентная шероховатость в верхней зоне листов 1,6-2; в нижней - 0,02-0,1) образуется слой прикрепленной биомассы толщиной до 10 мм, в которой помимо микрофлоры, осуществляющей сорбцию и окисление органического субстрата (60-80% растворенной органики), развиваются нитрифицирующие и денитрифицирующие микроорганизмы. Одновременное протекание процессов нитри-денитрификации обеспечивает высокую степень деградации азотсодержащих загрязнений в установке.
Включение в состав материала загрузки 7 металлических и минеральных частиц повышает электрокинетический эффект, который заключается в увеличении потенциала адсорбционного слоя загрузки. В процессе проведения полупроизводственных испытаний экспериментальных образцов модулей загрузки было установлено, что слой иммобилизованной микрофлоры (2-3 мм) на листах из стеклопластика с нанесенным слоем металлической стружки и керамзита, тогда как на листах без покрытия он практически отсутствовал. Более плотное скопление биомассы (толщиной до 5-7 мм) наблюдалось на листах с электроакустическим напылением (ЭЛАН) соединений металла вследствие имплантации в поверхностный слой загрузки различных соединений, таких как карбиды, карбонитриды, интерметаллиды и т.д. На обрастание загрузки биомассой оказало влияние увеличение степени шероховатости по Ra. Нанесенные на поверхность плоскостной загрузки металлические вкрапления являются также катализаторами, повышающими динамическую активность микроорганизмов. На активных центрах загрузки сорбируются молекулы реагирующих веществ, их концентрация становится выше, что положительно сказывается на адгезионном сцеплении поверхностного слоя. Сочетание структурно-механического, кинетического и электрического факторов стабилизирует процессы нитри-денитрификации, что повышает степень деградации азотсодержащих загрязнений в установке.
Обработка лазерным излучением циркулирующей смеси сточных вод и активного ила в лотках системы орошения биофильтров с помощью ГНЛ 37 в сканирующем режиме оказывает стимулирующее действие на рост бактерий активной биомассы и, особенно, на рост нитрифицирующих и денитрифицирующих микроорганизмов. Экспериментальное облучение ила ГНЛ с длиной волны 632,8 нм в течение 3-х минут выявило увеличение числа бактерий через 1 час после обработки в 5,9 раз. Повышение биологической активности микроорганизмов снижает негативное влияние перегрузки микрофлоры при резком увеличении органических и гидравлических нагрузок на установку.
Смесь сточных вод и ила, прошедшая через загрузку 7 биофильтров 6, собирают с помощью сборных поддонов 9 и направляют в стокосборники 10. Неорганизованный слив жидкости, недостаточное расстояние между центрами верхних обрезов аэрационных колонн 11, отклонения в высотах патрубков над днищами стокосборников вызывают хаотичное движение жидкости, в результате чего снижается эффективность процесса воздухововлечения в аэрационных колоннах. Поэтому в верхней части стокосборников необходимо устанавливать струенаправляющие отражатели 40, о которые ударяются и сливаются вниз потоки жидкости. Гашение напора способствует равномерному поступлению жидкости к верхним обрезам аэрационных колонн. В дальнейшем при эксплуатации обеспечивается равномерный слив жидкости через все патрубки. Рекомендуемое расстояние между центрами верхней части колонн диаметром 25-100 мм в пределах 50-200 мм способствует снижению турбулентности потоков в жидкости и равномерному распределению ее между колоннами. Точную установку верхних обрезов колонн по уровню воды производят путем ввинчивания и вывинчивания патрубков 39 и снятием при этом фасок. Образованию хорошо развитых вихревых воронок для засасывания воздуха в аэрационные колонны 11 способствуют внутренние выемки в патрубках 39, имеющие форму спиралей, так как они стабилизируют процесс образования круговых вращений (по часовой стрелке) при сливе жидкости в трубы. Как показали полупроизводственные исследования, оптимальная высота нанесения нарезок колеблется в пределах 0,5 диаметра. Установку патрубков 39 и прочистку аэрационных колонн 11 осуществляют через лючки 41.
Эффективность процесса массопередачи кислорода воздуха в жидкость и перемешивания содержимого аэрационной зоны зависит от следующих основных факторов: диаметра аэрационных колонн, пропускного расхода жидкости (м3/ч), соотношения между высотой аэрационных колонн над жидкостью к высоте заглубленной части колонн, глубины аэрационной зоны, параметров расстановки колонн в аэрационной зоне и конфигурации аэротенка-отстойника.
Внутренние диаметры аэрационных колонн рекомендуется принимать в пределах 40-70 мм. Возможно использование диаметров 25-40 мм для малых диапазонов производительностей установок, но в этом случае на величину пропускного расхода м3/ч и количество вовлекаемого воздуха негативно сказывается на появление на внутренней части труб биоценоза обрастания β≈1,5 мм, в связи с чем необходимо периодически производить прочистку колонн. Применение диаметров 70-100 мм (т.е. пропуск через колонны больших расходов) обеспечивает также высокий коэффициент массопередачи (Ks) в пределах пропускной способности труб (например, при dy 70 мм q=9-19 м3/ч), но снижает эффективность перемешивания всего объема аэрационной зоны. Для обеспечения достаточного ударного воздействия водовоздушных факелов о днище рекомендуемый расчетный пропускной расход (м3/ч) жидкости через колонны должен быть не менее половины сумм величин минимальных и максимальных пропускных расходов, при которых образуются вихревые воронки.
Исходя из оптимальных величин: энергетических затрат на циркуляцию жидкости через биофильтр - аэрационные колонны - аэротенк - камеру смешения; строительной высоты очистных сооружений и условий обслуживания аэрационных колонн рекомендуемая высота колонн над уровнем жидкости в аэротенке для диапазона производительностей устройств комбинированной биологической очистки 5-50 м3/сут составляет 1,2-1,8 м, при этом высоту заглубленной части колонн рекомендуется принимать в пределах 1,5-2 м, а высоту нижних обрезов колонн над днищем в пределах 0,05-0,2 м; для диапазона производительностей устройств 100-15000 м3/сут высоту верхней части колонн рекомендуется принимать в пределах 2-3,5 м, высоту заглубленной части колонн - 2,5-4 м, а высоту нижних обрезов колонн над днищем 0,15-0,4 м. При выполнении указанных параметров расстановки колонн ударное воздействие водовоздушных факелов, выходящих из нижних концов аэрационных колонн, о днище аэрационной зоны гидродинамическое движение потоков жидкостей и всплытие пузырьков воздуха исключают возможность залегания и загнивания активного ила.
При седиментации хлопков ила в отстойной зоне 15 аэротенка-отстойника 13 возможно возникновение застойных зон по периметру сочленения конической и плоской части днища аэротенка с дальнейшим загниванием и всплытием отмершего ила. Поэтому рекомендуется, чтобы минимальное расстояние от нижних концов крайних колонн диаметром 25-50 мм до угла не превышало 0,5-0,7 м, а для диаметров 50-100 мм не превышало 0,7-1,3 м. Длина нижнего катета конической части отстойной зоны 15 должна составлять половину ширины отстойной зоны плюс 0,1-1,0 м. При этом расстояние от низа конической части перегородки, разделяющей аэрационную и отстойную зоны, до днища должно составлять 0,5-1,5 м. При указанных параметрах обеспечивается эффективное перемешивание содержимого аэрационной зоны 12. Равномерный отвод ила на циркуляцию по трубопроводу 16 через патрубки 17, нижние концы которых расположены на расстоянии 0,05-0,3 м от угла сочленения днища аэрационной и отстойной зоны, препятствует застаиванию и залеганию ила по периметру аэрационной зоны 12.
В реакционном объеме аэротенка-отстойника осуществляются окисление остальной части органических загрязнений (20-40%) при низких нагрузках на ил ≈ 0,1 г·БПК/гила·сут, минерализация отработанной биомассы с загрузки биофильтра. Зольность ила при развитых процессах нитрификации и денитрификации составляет 33-42%, среднее удельное сопротивление влагоотдачи 38-45·10-10 см/г. Избыточный ил содержит углерод, азот, фосфор и микроэлементы, имеет высокую степень минерализации, хорошую влагоотдачу, не подвержен загниванию и поэтому после дополнительной обработки может быть использован в качестве удобрения.
Выводимый из 5 избыточный ил направляется по напорному трубопроводу 19 в устройство обработки избыточного ила 20. Подача ила осуществляется автоматически в периоды прекращения поступления исходной сточной жидкости на устройства комбинированной биологической очистки. Отвод избыточного ила в 20 может осуществляться также непосредственно из аэрационной зоны 12.
Очищенная вода из отстойной зоны 15 поступает в сборные лотки и отводится в биоректоры глубокой доочистки сточных вод 21, где в камере аэрации 22 осуществляется дополнительное насыщение воды растворенным кислородом с помощью водоструйных аэраторов 23 и циркуляционных насосов 24. Насосы 24 снабжены гибкими шлангами, позволяющими регулировать глубину погружения. Далее вода движется через слои 27, 28 затопленных фильтров. В качестве загрузки 27 биореактора 21 могут быть использованы плоскостные загрузки различной конфигурации, применяемые в существующих биологических фильтрах, элементы жестких засыпных загрузок, обладающие высокой удельной поверхностью (≈100-150 м23) и исключающие возможность возникновения зон заиливания. Образующаяся на поверхности 27 прикрепленная микрофлора осуществляет сорбцию и окисление остаточных органических загрязнений и дальнейшую трансформацию азотсодержащих соединений. Обеспечение биохимических процессов необходимым кислородом воздуха производится с помощью насоса 24 и водоструйного аэратора 23. В поступающей в биореактор 21 жидкости содержатся взвешенные вещества (хлопки отмершего ила). При движении воды через загрузку 27 количество взвешенных веществ увеличивается за счет отрыва от поверхности загрузки минерализованной микрофлоры. Задержание всплывающих веществ осуществляется за счет фильтрации жидкости через биоценоз обрастаний, формирующийся на поверхности загрузки 27. При толщине слоя прикрепленной биомассы β≈1-1,5 мм расстояния между стержнями 42 в пределах 2-3 мм перекрываются иммобилизованной микрофлорой. Элементы 42 формируются в блоки загрузки 29 с помощью плоских листов 43. Вода, прошедшая через загрузку 29, направляется в сборные лотки биореактора 21.
По мере накопления взвешенных веществ производятся частичное опорожнение биореакторов 21 и регенерация загрузки с помощью системы орошения 26 и насоса 24. Затем насос опускается в приямок биореактора и производится откачка жидкости по трубопроводу 25 в камеру смешения 4.
Избыточная биомасса из устройств комбинированной биологической очистки 5 и осадок из биореакторов 21 направляются по трубопроводу 19 в устройство обработки избыточного ила 20. В сгустителе 44 влажность избыточного ила снижается до 96-98%. Далее осадок направляется в ленточный фильтр-пресс 45, где влажность снижается до 75-80%, а затем кек подается на конвейер 46 под СВЧ-излучатели 47. При движении и рыхлении осадка по конвейеру под двумя - тремя последовательно установленными СВЧ излучение воздействует на ил, в результате чего погибает находящаяся в обрабатываемом осадке патогенная микрофлора, а оставшиеся в живых микроорганизмы теряют возможность репродукции. Далее конвейер производит выгрузку осадка в гранулятор 48, где осуществляется смешение осадка с органическими и минеральными добавками, которые обеспечивают необходимые агрохимические свойства и придают конечному продукту товарный вид. Гранулы представляют собой цилиндры, готовые к применению в качестве органического удобрения.
Особенности устройства комбинированной биологической очистки позволяют довести коэффициент использования кислорода воздуха до 20% за счет его многократной циркуляции совместно с обрабатываемой жидкостью. Это достигается следующим образом: наружный воздух и воздух от вспомогательных сооружений поступает естественным путем в помещение биофильтра, за счет воздухововлечения в аэрационных колоннах движется сверху вниз через биофильтр 6 колонны 11 и всплывает над аэрационной зоной 12. Далее используемый воздух частично удаляется на дальнейшую обработку в 20, частично перепускается через клапаны или отверстия 14 в помещение биофильтра для дальнейшего участия в процессе массопередачи кислорода. Организованное движение всплывающих пузырьков воздуха препятствует конденсации влаги на стенах и потолке помещений биофильтров в устройствах комбинированной биологической очистки.
Воздух от помещений с устройствами тонкой механической очистки и песколовок, а также воздух из помещений над аэротенками-отстойниками устройств комбинированной биологической очистки для диапазона производительностей очистных сооружений канализации до 10000 м3/сут направляется вентилятором 52 в фильтр ячейковый карманный 49, в котором осуществляется задержание основной массы капель жидкости (около 66%), откуда поступает в фильтр ячейковый складчатый 50, задерживающий микроорганизмы размером до 0,3 мкм (эффективность 99,97%), и затем в УФ-установку с безозоновыми и озонообразующими лампами 51. Озонообразующие лампы 51 включаются при аварийных ситуациях.
Воздух от помещений с устройствами тонкой механической очистки и песколовок, а также воздух из помещений над аэротенками-отстойниками устройств комбинированной биологической очистки для диапазона производительностей очистных сооружений канализации свыше 10000 м3/сут забирается вентилятором высокого давления 52 и направляется в устройство обработки воздуха 30. Вначале воздух подается в насадочную часть 57 устройства, где осуществляется в режиме газопромывателя его контакт с раствором гипохлорита натрия, подаваемого через систему орошения 54. При орошении и движении воздуха и капель раствора гипохлорита натрия через искусственную загрузку насадочной части 57 происходит межфазный контакт. Далее воздух через трубы прямой подачи 59 продавливается в барботажную часть 56 устройства 30, где осуществляется вторичный контакт пузырьков воздуха с раствором. Наличие в нижней части труб 59, вмонтированных труб малого диаметра 60, обеспечивает разделение выходящего потока воздуха на мелкие пузырьки, что способствует повышению эффекта межфазного контакта. Всплывший воздух по воздуховоду 65 направляется в каплеотделитель 66. Циркуляция раствора производится с помощью насоса 55. При сливе жидкости по сборному поддону 58 в стокосборник 62 и далее в трубы водоструйной эжекции воздуха 61 происходит засасывание в трубах части поступившего в 30 воздуха (0,5-0,7 м23). Последующее всплывание пузырьков воздуха обеспечивает перемешивание содержимого барботажной части 56 и интенсивное обновление поверхности контакта фаз газ - жидкость всего объема. Подпитка новым раствором производится из бака с гипохлоритом 63. На аварийный случай предусматривается подача одоранта из бака 64. Воздух после мокрой очистки по воздуховоду 65 поступает в каплеотделитель 66. Далее воздух направляется для окончательной обработки в установки УФ-обеззараживания 68.
При неполадках в процессах биохимической очистки сточных вод возможны нарушения технологического режима и, как следствие, возникновение неприятных запахов. Поэтому для аварийного периода работы очистных сооружений в технологическую схему обработки воздуха дополнительно включены фильтры с активированным углем 67, которые в сочетании с одорантом полностью исключат появление неприятных запахов. Вынос незначительного количества мелких капель гипохлорита из каплеотделителя 66 предотвратит образование в порах активированной загрузки микрофлоры. В послеаварийный период производится прогревание (регенерация загрузки). Воздух после фильтров с углем также направляется в установки УФ-обеззараживания 68.
Как показали полупроизводственные испытания заявляемое устройство биохимической очистки обеспечивает 97-99% эффекта очистки хозяйственно-бытовых сточных вод при содержании органических веществ по БПКп до 1000 мг О2/дм3 и взвешенных веществ до 400 мг/дм3. Эффективно использование установки для очистки низкоконцентрированных сточных вод (менее 100 мг/л по БПКп), так как за счет пополнения отработанной биомассы с биофильтров поддерживается слой взвешенного ила в отстойной зоне. Целесообразно использовать устройства комбинированной биологической очистки в многоступенчатых схемах при очистке сточных вод консервных заводов, мясокомбинатов, молокозаводов, рыбозаводов, животноводческих ферм, предприятий химической и микробиологической промышленности. В технологических схемах очистки концентрированных сточных вод с содержанием органических загрязнений по БПКп до 5000 мгO2/дм3 и взвешенных веществ до 1000 мг/дм3 рекомендуется применять биокоагуляторы и 2- 3-ступенчатую очистку на последовательно соединенных устройствах комбинированной биологической очистки. При концентрации органических загрязнений по БПКп от 3000 до 50000 мгO2/дм3 и взвешенных веществ до 5000 мг/дм3 в технологическую схему очистки дополнительно включают анаэробные биореакторы с гранулированным илом.
Применение в установке биохимической очистки положительных свойств биологических фильтров с плоскостной загрузкой, работающих в оптимальном режиме, - получение 60-80% эффекта очистки, высокий КПД (до 0,85), комбинированного способа аэрации (пленочное насыщение жидкости кислородом воздуха в загрузке биофильтра в сочетании с водоструйной аэрацией), необходимого для обеспечения 40-20% эффекта очистки активным илом в реакционном объеме аэротенка-отстойника, позволяет снизить энергетические затраты на биохимический процесс очистки в 3 раза в сравнении с традиционными аэрационными сооружениями. Длительное сохранение жизнедеятельности микрофлоры в биофильтре при перерывах в работе более 3-х часов позволяет восстановить активный ил в течение 1-1,5 суток. Вертикальное размещение биофильтров, блокировка аэротенков и отстойников обеспечивают сокращение площади застройки в 2-3 раза.
Получаемое в устройстве обработки избыточного ила готовое гранулированное удобрение является ценным продуктом, так как содержит в своем составе азот (до 3%), фосфор (до 2%), калий (до 2%), углерод (до 30%) и микроэлементы. Более высокий коэффициент использования кислорода воздуха в устройстве комбинированной биологической очистки позволяет уменьшить в 3-5 раз количество наружного, холодного или горячего воздуха, для биологических процессов очистки, в связи с чем оптимизируется температурный режим очистки и уменьшаются энергозатраты на дальнейшую обработку воздуха. При этом размер санитарно-защитной зоны в зависимости от производительности сооружений уменьшен до 30-70 м.

Claims (19)

1. Установка для биохимической очистки сточных вод, содержащая устройство тонкой механической очистки, вертикальную песколовку, камеру смешения сточных вод с илом с циркуляционным насосом, биореактор с искусственной загрузкой и циркуляционными насосами, устройство для обработки использованного воздуха, устройство обработки избыточного ила, устройство комбинированной биологической очистки, включающее биофильтр с плоскостной загрузкой, систему орошения, сборные поддоны и стокосборники, к которым подсоединены аэрационные колонны, заглубленные в аэрационные зоны, причем камера смешения соединена с устройством комбинированной биологической очистки трубопроводом отвода ила из аэротенка-отстойника, а напорный трубопровод циркуляционного насоса камеры смешения соединен с системой орошения биофильтра устройства комбинированной биологической очистки, отличающаяся тем, что она состоит из двух-четырех устройств комбинированной биологической очистки, длина сливных патрубков с отражательными дисками системы орошения биофильтров которых в начале лотков находится в пределах от четырех до шести диаметров патрубков, а в конце лотков - от двух до четырех диаметров, при этом на трубопроводах подачи смеси сточных вод и ила в лотки орошения биофильтра установлены задвижки и дополнительно в начале лотков смонтированы шиберы, причем перед начальными сливными патрубками установлены струенаправляющие пластинки.
2. Установка по п.1, отличающаяся тем, что в устройствах комбинированной биологической очистки расстояние от верхних торцов сливных патрубков лотков системы орошения биофильтров до дисковых отражателей составляет 0,8-1,5 м, а расстояние между центрами лотков и расстояние между осями патрубков в лотках составляет 0,6-1,4 м.
3. Установка по п.1, отличающаяся тем, что диаметр отражательных дисков составляет 80-200 мм.
4. Установка по п.1, отличающаяся тем, что на лотках системы орошения биофильтра установлены гелий-неоновые лазеры для стимуляции роста микрофлоры, процессов нитрификации и денитрификации.
5. Установка по п.1, отличающаяся тем, что плоскостная загрузка выполнена из стеклопластика и/или керамопласта с включением в их состав металлических и минеральных частиц или нанесения на поверхность загрузки слоя соединений металла с помощью электроакустического метода напыления.
6. Установка по п.1, отличающаяся тем, что стокосборник поддона биофильтра оборудован струенаправляющим отражателем, верхняя часть аэрационных колонн выполнена в виде патрубков, вкручиваемых в муфты, прикрепленные к днищу стокосборника, а стокосборник снабжен лючком для монтажа патрубков и прочистки труб.
7. Установка по п.1, отличающаяся тем, что при диаметрах аэрационных колон от 25 до 50 мм расстояние между центрами верхней их части составляет 50-100 мм, а расстояния между нижними их обрезами в аэрационной зоне составляют 0,5-1,4 м.
8. Установка по п.1, отличающаяся тем, что при диаметрах аэрационных колон от 50 до 100 мм расстояние между центрами верхней их части составляет 100-200 мм, а расстояния между нижними их обрезами в аэрационной зоне составляют 1-2 м.
9. Установка по п.1, отличающаяся тем, что для ее производительности от 5 до 50 м3/сут при диаметре аэрационных колонн от 25 до 50 мм их высота над уровнем жидкости в аэротенках-отстойниках составляет 1,2-1,8 м, их высота заглубления под уровень жидкости 1,5-2 м и высота нижних обрезов колонн над днищем 0,05-0,2 м.
10. Установка по п.1, отличающаяся тем, что для ее производительности от 100 до 15000 м3/сут при диаметре аэрационных колонн 50-100 мм их высота над уровнем жидкости составляет 2-3,5 м, высота заглубления колонн под уровень жидкости 2,5-4 м и высота нижних обрезов колонн над днищем 0,15-0,4 м.
11. Установка по п.1, отличающаяся тем, что в сливных патрубках систем орошения биофильтров и в патрубках верхних частей аэрационных колонн выполнены выемки в виде спиралей длиной от 1 до 1,5 оборота и высотой, не превышающей 0,7 диаметра патрубка.
12. Установка по п.1, отличающаяся тем, что длина нижнего катета конической части аэротенка-отстойника составляет половину ширины отстойной зоны плюс 0,1-1,0 м, высота от низа конической части перегородки, разделяющей аэрационную и отстойную зону до днища 0,5-1,5 м, а расстояние от нижних концов патрубков трубопровода отвода ила до угла сочленения днища аэрационной и отстойной зоны составляет 0,05-0,3 м.
13. Установка по п.1, отличающаяся тем, что для диаметров аэрационных колонн от 25 до 50 мм расстояние от низа крайних аэрационных колонн до угла сочленения плоской и конической частей днища аэротенка-отстойника составляет 0,5-0,8 м, а для диаметров от 50 до 100 мм составляет 0,7-1,2 м.
14. Установка по п.1, отличающаяся тем, что по внешнему периметру перегородки, отделяющей помещение биофильтра от помещения аэротенка-отстойника, на расстоянии 0,5-1,5 м друг от друга выполнены отверстия или установлены клапаны для перепуска воздуха.
15. Установка по п.1, отличающаяся тем, что в биореакторе нижний слой загрузки состоит из плоскостных загрузок различной конфигурации, пластмассовых картриджей или жестких засыпных элементов, а загрузка верхнего слоя выполнена из блоков, состоящих из пластмассовых стержней с расстояниями между ними от 1 до 3 мм и собранных в блоки с помощью плоских листов.
16. Установка по п.1, отличающаяся тем, что высота расположения циркуляционного насоса от нижней части днища биореактора выполнена с возможностью варьирования в зависимости от выполняемых функций: подачи жидкости на циркуляцию в водоструйный аэратор, на промывку загрузки или отвод ила.
17. Установка по п.1, отличающаяся тем, что трубопроводы отвода избыточного ила от устройств комбинированной биологической очистки подсоединены к сгустителю, который, в свою очередь, соединен трубопроводом отвода уплотненного ила с ленточным фильтр-прессом, устройство отвода обезвоженного кека с фильтр-пресса подключено к ленте конвейера с размещенными над ней последовательно СВЧ-излучателями, а линия отвода осадка с конвейера подключена к гранулятору, куда подведена также линия подачи органических и минеральных добавок.
18. Установка по п.1, отличающаяся тем, что для ее производительности до 10000 м3/сут воздуховоды от устройств комбинированной биологической очистки, устройства обработки избыточного ила, биореакторов, помещений устройств тонкой механической очистки и песколовок последовательно соединены с фильтром ячейковым карманным, фильтром ячейковым складчатым и УФ-установкой с безозоновыми и озонообразующими лампами.
19. Установка по п.1, отличающаяся тем, что для ее производительности свыше 10000 м3/сут воздуховоды подсоединены к всасывающему патрубку вентилятора высокого давления, напорный воздуховод которого, в свою очередь, подключен к камере орошения устройства обработки воздуха, снабженного системой орошения, которая соединена с циркуляционным насосом, всасывающий патрубок которого подсоединен к барботажной части устройства, над которой размещена насадочная часть устройства, заполненная искусственной загрузкой, сборный поддон, в который вмонтированы трубы прямой подачи воздуха, заполненные в нижней части трубами малого диаметра, с высотой над поверхностью жидкости 0,7-1,3 м и заглубленные на 0,4-0,7 м в жидкость барботажной части, и стокосборник с трубами водоструйной эжекции воздуха, установленными на высоте 0,6-1,2 м над жидкостью и заглубленными в жидкость на 1-2 м, к устройству обработки воздуха подсоединены бак с раствором гипохлорита натрия, бак с раствором одоранта и воздуховод, соединенный, в свою очередь, с каплеотделителем, который последовательно подключен к фильтру с активированным углем и установке УФ-обеззараживания.
RU2009103724A 2009-02-04 2009-02-04 Установка для биохимической очистки сточных вод RU2390503C1 (ru)

Priority Applications (3)

Application Number Priority Date Filing Date Title
RU2009103724A RU2390503C1 (ru) 2009-02-04 2009-02-04 Установка для биохимической очистки сточных вод
PCT/RU2010/000026 WO2010090551A1 (ru) 2009-02-04 2010-01-20 Установка для биохимической очистки сточных вод
US13/065,089 US8685235B2 (en) 2009-02-04 2011-03-14 Integrated sewage treatment plant

Applications Claiming Priority (1)

Application Number Priority Date Filing Date Title
RU2009103724A RU2390503C1 (ru) 2009-02-04 2009-02-04 Установка для биохимической очистки сточных вод

Related Child Applications (1)

Application Number Title Priority Date Filing Date
RU2009143268A Division RU2422379C1 (ru) 2009-02-04 2009-11-23 Установка для биохимической очистки сточных вод

Publications (1)

Publication Number Publication Date
RU2390503C1 true RU2390503C1 (ru) 2010-05-27

Family

ID=42680406

Family Applications (1)

Application Number Title Priority Date Filing Date
RU2009103724A RU2390503C1 (ru) 2009-02-04 2009-02-04 Установка для биохимической очистки сточных вод

Country Status (1)

Country Link
RU (1) RU2390503C1 (ru)

Cited By (4)

* Cited by examiner, † Cited by third party
Publication number Priority date Publication date Assignee Title
WO2012033423A1 (ru) * 2010-09-09 2012-03-15 Kolesnikov Vladimir Petrovich Установка для глубокой биохимической очистки сточных вод
US8685235B2 (en) 2009-02-04 2014-04-01 Vladimir Petrovich Kolesnjkov Integrated sewage treatment plant
RU216750U1 (ru) * 2022-12-07 2023-02-28 Общество с ограниченной ответственностью "Лиматех" Аэратор-адсорбер
WO2024123212A1 (ru) * 2022-12-07 2024-06-13 Общество с ограниченной ответственностью "Лиматех" Аэратор-адсорбер

Citations (7)

* Cited by examiner, † Cited by third party
Publication number Priority date Publication date Assignee Title
SU1742225A1 (ru) * 1989-06-29 1992-06-23 Московский Инженерно-Строительный Институт Им.В.В.Куйбышева Устройство дл биологической очистки сточных вод
RU2040482C1 (ru) * 1991-01-09 1995-07-25 Ростовский научно-исследовательский институт Академии коммунального хозяйства им.К.Д.Памфилова Устройство для биохимической очистки сточных вод
WO1997005070A1 (fr) * 1995-07-26 1997-02-13 Russian Association For Water Supply And Water Disposal Installation pour la purification biochimique d'eaux usees
RU2139257C1 (ru) * 1997-10-03 1999-10-10 Колесников Владимир Петрович Установка для биохимической очистки высококонцентрированных сточных вод
RU2163573C1 (ru) * 2000-07-19 2001-02-27 Вершинин Николай Петрович Установка для ликвидации и утилизации ила из отстойников городов и промышленных предприятий
RU2220915C2 (ru) * 2001-01-17 2004-01-10 Колесникова Надежда Владимировна Установка для биохимической очистки сточных вод
RU2294899C1 (ru) * 2005-09-13 2007-03-10 Государственное Унитарное Предприятие "Водоканал Санкт-Петербурга" Способ биологической очистки бытовых, городских и производственных сточных вод

Patent Citations (7)

* Cited by examiner, † Cited by third party
Publication number Priority date Publication date Assignee Title
SU1742225A1 (ru) * 1989-06-29 1992-06-23 Московский Инженерно-Строительный Институт Им.В.В.Куйбышева Устройство дл биологической очистки сточных вод
RU2040482C1 (ru) * 1991-01-09 1995-07-25 Ростовский научно-исследовательский институт Академии коммунального хозяйства им.К.Д.Памфилова Устройство для биохимической очистки сточных вод
WO1997005070A1 (fr) * 1995-07-26 1997-02-13 Russian Association For Water Supply And Water Disposal Installation pour la purification biochimique d'eaux usees
RU2139257C1 (ru) * 1997-10-03 1999-10-10 Колесников Владимир Петрович Установка для биохимической очистки высококонцентрированных сточных вод
RU2163573C1 (ru) * 2000-07-19 2001-02-27 Вершинин Николай Петрович Установка для ликвидации и утилизации ила из отстойников городов и промышленных предприятий
RU2220915C2 (ru) * 2001-01-17 2004-01-10 Колесникова Надежда Владимировна Установка для биохимической очистки сточных вод
RU2294899C1 (ru) * 2005-09-13 2007-03-10 Государственное Унитарное Предприятие "Водоканал Санкт-Петербурга" Способ биологической очистки бытовых, городских и производственных сточных вод

Cited By (4)

* Cited by examiner, † Cited by third party
Publication number Priority date Publication date Assignee Title
US8685235B2 (en) 2009-02-04 2014-04-01 Vladimir Petrovich Kolesnjkov Integrated sewage treatment plant
WO2012033423A1 (ru) * 2010-09-09 2012-03-15 Kolesnikov Vladimir Petrovich Установка для глубокой биохимической очистки сточных вод
RU216750U1 (ru) * 2022-12-07 2023-02-28 Общество с ограниченной ответственностью "Лиматех" Аэратор-адсорбер
WO2024123212A1 (ru) * 2022-12-07 2024-06-13 Общество с ограниченной ответственностью "Лиматех" Аэратор-адсорбер

Similar Documents

Publication Publication Date Title
US8685235B2 (en) Integrated sewage treatment plant
WO2010090551A1 (ru) Установка для биохимической очистки сточных вод
CN101076498B (zh) 一种通气式生物过滤系统及其废水处理方法
RU2139257C1 (ru) Установка для биохимической очистки высококонцентрированных сточных вод
EA023425B1 (ru) Установка для глубокой биохимической очистки сточных вод
AU2010224357A1 (en) Integrated sewage treatment plant
EP2468686A1 (de) Integriete Abwasseraufbereitungsanlage
CN106927638A (zh) 一种多级导流式mbbr污水处理系统及处理方法
CN108483805B (zh) 一种一体化多功能人工湿地处理装置
CA2771997A1 (en) Integrated sewage treatment plant
RU2390503C1 (ru) Установка для биохимической очистки сточных вод
RU2422379C1 (ru) Установка для биохимической очистки сточных вод
KR101167599B1 (ko) 다공성여재를 충진한 자연 생태적 여과 및 흡착에 의한 질소, 인 고도처리장치
RU2057085C1 (ru) Компактная установка для очистки сточных вод
CN210438573U (zh) 一种抑堵增氧型人工湿地系统
BRPI1103172A2 (pt) estaÇço de tratamento de esgoto integrado
RU2220915C2 (ru) Установка для биохимической очистки сточных вод
KR100237041B1 (ko) 미생물 담체를 다공성 상자에 충전한 살수여상식 오폐수 처리장치
RU2085515C1 (ru) Установка для биологической очистки и удаления соединений азота и фосфора сточных вод
CN111320340B (zh) 一种用于处理垃圾中转站压沥液的生物反应器
RU2220918C1 (ru) Установка для глубокой биологической очистки сточных вод
RU94569U1 (ru) Блочно-модульная канализационная очистная станция башенного типа с процессом anammox
CN201722260U (zh) 生态一体化好氧-潜流型湿地组合污水处理系统
RU2260568C1 (ru) Очистная установка для сточных вод коттеджей
CN216427016U (zh) 农村一体化污水深度处理设备

Legal Events

Date Code Title Description
MM4A The patent is invalid due to non-payment of fees

Effective date: 20170205