RU2285358C2 - Устройство для генерации плазменного потока - Google Patents
Устройство для генерации плазменного потока Download PDFInfo
- Publication number
- RU2285358C2 RU2285358C2 RU2004131067/06A RU2004131067A RU2285358C2 RU 2285358 C2 RU2285358 C2 RU 2285358C2 RU 2004131067/06 A RU2004131067/06 A RU 2004131067/06A RU 2004131067 A RU2004131067 A RU 2004131067A RU 2285358 C2 RU2285358 C2 RU 2285358C2
- Authority
- RU
- Russia
- Prior art keywords
- nozzle
- plasma
- channel
- electrode
- output
- Prior art date
Links
- 239000000126 substance Substances 0.000 claims abstract description 10
- 230000005684 electric field Effects 0.000 claims abstract description 4
- 239000007789 gas Substances 0.000 abstract description 7
- 238000005516 engineering process Methods 0.000 abstract description 4
- 230000005495 cold plasma Effects 0.000 abstract description 3
- 230000005855 radiation Effects 0.000 abstract description 3
- 230000003247 decreasing effect Effects 0.000 abstract 1
- 230000000694 effects Effects 0.000 abstract 1
- 238000000034 method Methods 0.000 description 4
- 230000015572 biosynthetic process Effects 0.000 description 2
- 239000003814 drug Substances 0.000 description 2
- 230000000149 penetrating effect Effects 0.000 description 2
- RYGMFSIKBFXOCR-UHFFFAOYSA-N Copper Chemical compound [Cu] RYGMFSIKBFXOCR-UHFFFAOYSA-N 0.000 description 1
- 241001538234 Nala Species 0.000 description 1
- 230000015556 catabolic process Effects 0.000 description 1
- 238000010835 comparative analysis Methods 0.000 description 1
- 229910052802 copper Inorganic materials 0.000 description 1
- 239000010949 copper Substances 0.000 description 1
- 238000010586 diagram Methods 0.000 description 1
- 239000004744 fabric Substances 0.000 description 1
- 239000000463 material Substances 0.000 description 1
- 238000005259 measurement Methods 0.000 description 1
- 238000004157 plasmatron Methods 0.000 description 1
- WFKWXMTUELFFGS-UHFFFAOYSA-N tungsten Chemical compound [W] WFKWXMTUELFFGS-UHFFFAOYSA-N 0.000 description 1
Images
Landscapes
- Plasma Technology (AREA)
Abstract
Изобретение относится к электронной промышленности, а именно к ионной и плазменной технологии, технике электрических разрядов в газах и источниках излучения и холодной плазмы. Устройство для генерации плазменного потока содержит сопло со вставленным заостренным на конце стержневым электродом, соединенное с источником плазмообразующего вещества, выходной электрод со сквозным каналом для создания электрического поля со стороны выходного канала сопла. Конец стержневого электрода сопла выступает за пределы сопла на расстояние, превышающее два диаметра отверстия выходного канала сопла, а расстояние между выходным отверстием сопла и выходным электродом составляет от трех до пяти диаметров отверстия канала сопла. Техническим результатом является уменьшение температуры плазменного потока и увеличение объема плазмы при атмосферном давлении и малой мощности, вкладываемой в разряд. 3 ил.
Description
Предлагаемое изобретение относится к технике электрических разрядов в газах, в частности к устройствам генерации плазменных потоков, и может быть использовано в плазменных технологиях, атомизаторах вещества, плазмохимических реакторах, медицине - источниках излучения и холодной плазмы.
Известно устройство для генерации плазмы - плазмотрон (Бадьянов Б.Н., Давыдов В.А. Сварочные процессы в электронной технике. М. ВШ. 1988), содержащий заостренный катод, анод - сопло, позволяющий получать высокотемпературный плазменный поток при атмосферном давлении.
Наиболее близким техническим решением, выбранным в качестве прототипа, является устройство для генерации плазменного потока (свидетельство на полезную модель РФ №8199), содержащее сопло со вставленным заостренным на конце электродом, имеющее приспособление для присоединения с источником плазмообразующего вещества, выходной электрод для создания электрического поля со стороны выходного конца сопла.
Однако это устройство имеет недостатки, заключающиеся в том, что в данной конструкции высокая средне-массовая температура и малый объем плазменного потока, что не позволяет его использовать в плазменных устройствах, позволяющих получать плазменные потоки с низкими средне-массовыми температурами, например при работе с биологическими тканями, с термолабильными и легковоспламеняющимися (горючими) материалами.
Задача, решаемая предлагаемым изобретением, заключается в снижении средне - массовой температуры плазмы и увеличении объема плазменного потока.
Авторам неизвестно, чтобы поставленная цель достигалась при атмосферном давлении и малой мощности, вкладываемой в разряд.
Указанный технический результат при осуществлении изобретения достигается тем, что в отличие от известного устройства для генерации плазменного потока, содержащего сопло со вставленным заостренным на конце стержневым электродом, имеющего приспособление для присоединения с источником плазмообразующего вещества, выходной электрод со сквозным каналом для создания электрического поля со стороны выходного канала сопла, конец стержневого электрода выступает за пределы сопла на расстояние, превышающее два диаметра отверстия выходного канала сопла, а расстояние между выходным отверстием сопла и выходным электродом составляет от трех до пяти диаметров отверстия канала сопла.
Решение поставленной задачи становится возможным на основе явления, связанного с тем, что при выполнении указанных условий происходит образование плотной плазмы на конце заостренного электрода, которая расширяется в направлении движения потока в виде плазменного образования, проникающего за пределы выходного электрода в атмосферный воздух на расстояние 6-8 миллиметров при поперечном размере потока 5-6 миллиметров.
Проведенный сопоставимый анализ аналога, прототипа и заявленного устройства выявил следующие общие признаки:
- сопло для подачи плазмообразующего вещества;
- заостренный на конце стержневой электрод;
- выходной электрод со сквозным каналом.
Проведенный анализ выявил следующие отличительные признаки:
- стержневой электрод выступает за пределы сопла на расстояние, превышающее два диаметра отверстия выходного канала сопла;
- расстояние между выходным отверстием сопла и выходным электродом составляет от трех до пяти диаметров отверстия канала сопла.
Данные отличительные признаки составляют критерий " технический результат ", так как благодаря им удается существенно уменьшить температуру и увеличить объем плазменного потока.
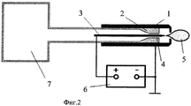
Сущность изобретения поясняется чертежами, где на (Фиг.1) представлено устройство для генерации плазменного потока, на Фиг.2 - электрическая схема, на Фиг.3 - результаты измерения средне-массовой температуры плазменного потока.
Устройство состоит из выходного электрода 1, сопла 2, заостренного на конце стержневого электрода 3, введенного в канал 4, конец стержневого электрода выступает за пределы сопла на расстояние (d), превышающее два диаметра отверстия канала сопла (D), расстояние между выходным отверстием сопла и выходным электродом (s) составляет от трех до пяти диаметров отверстия канала сопла (Фиг.1).
Устройство работает следующим образом.
Устройство подключают к системе газообеспечения 7 и источнику постоянного напряжения 6. При давлении рабочего газа больше атмосферного на электроды устройства (стержневой электрод 3 и выходной электрод 1) подают напряжение, достаточное для пробоя межэлектродного промежутка. На выходе сопла 4 зажигается разряд, происходит образование плотной плазмы на конце заостренного электрода, которая расширяется в направлении движения потока в виде плазменного образования 5, проникающего за пределы выходного электрода в атмосферный воздух на расстояние 6-8 миллиметров при поперечном размере потока 5-6 миллиметров (Фиг.2).
Пример. Выходной электрод 1 выполнен из меди. Диаметр выходного отверстия 2 миллиметра. Стержневой электрод 3 выполнен из вольфрамовой проволоки диаметром 0.5 миллиметров, заострен на конце, введен в канал 4 сопла 2. Диаметр канала сопла 1 миллиметр. Конец заостренного электрода выступает за торец сопла на расстояние 2.5 миллиметра. Расстояние между выходным отверстием сопла и выходным электродом 4 миллиметра. Из системы газообеспечения 7 подавался рабочий газ - воздух. При давлении выше атмосферного на электроды (стержневой электрод 3 и выходной электрод 1) подавали постоянное напряжение. Между электродами зажигался разряд, плазма которого поникала через отверстие в выходном электроде за пределы выходного электрода в атмосферный воздух. При токе разряда 20 мА напряжении на электродах 500 В, мощности разряда 10 Вт длина плазменного потока составила 6 миллиметров при диаметре потока 5 миллиметров. Температура плазменного потока у выходного электрода - 60°С, на границе плазмы 40°С (Фиг.3).
Таким образом, вышеизложенные сведения свидетельствуют о выполнении при использования заявленного изобретения следующей совокупности условий:
- средство, воплощающее заявленное изобретение при его осуществлении, предназначено для использования в плазменных технологиях, атомизаторах вещества, плазмохимических реакторах, в технике электрических разрядов в газах, в медицине - источники излучения и холодной плазмы;
- для заявленного изобретения в том виде, как оно охарактеризовано в независимом пункте нижеизложенной формулы изобретения, подтверждена возможность его осуществления с помощью вышеописанных в заявке или известных до даты приоритета средств и методов;
- средство, воплощающее заявленное изобретение при его осуществлении, способно обеспечить достижение усматриваемого технического результата.
Следовательно, заявленное изобретение соответствует требованию "промышленная применимость" по действующему законодательству.
Claims (1)
- Устройство для генерации плазменного потока, содержащее сопло со вставленным заостренным на конце стержневым электродом, соединенное с источником плазмообразующего вещества, выходной электрод со сквозным каналом для создания электрического поля со стороны выходного канала сопла, отличающееся тем, что конец стержневого электрода выступает за пределы сопла на расстояние, превышающее два диаметра отверстия выходного канала сопла, а расстояние между выходным отверстием сопла и выходным электродом составляет от трех до пяти диаметров отверстия канала сопла.
Priority Applications (1)
| Application Number | Priority Date | Filing Date | Title |
|---|---|---|---|
| RU2004131067/06A RU2285358C2 (ru) | 2004-10-26 | 2004-10-26 | Устройство для генерации плазменного потока |
Applications Claiming Priority (1)
| Application Number | Priority Date | Filing Date | Title |
|---|---|---|---|
| RU2004131067/06A RU2285358C2 (ru) | 2004-10-26 | 2004-10-26 | Устройство для генерации плазменного потока |
Publications (2)
| Publication Number | Publication Date |
|---|---|
| RU2004131067A RU2004131067A (ru) | 2006-04-10 |
| RU2285358C2 true RU2285358C2 (ru) | 2006-10-10 |
Family
ID=36458532
Family Applications (1)
| Application Number | Title | Priority Date | Filing Date |
|---|---|---|---|
| RU2004131067/06A RU2285358C2 (ru) | 2004-10-26 | 2004-10-26 | Устройство для генерации плазменного потока |
Country Status (1)
| Country | Link |
|---|---|
| RU (1) | RU2285358C2 (ru) |
Cited By (5)
| Publication number | Priority date | Publication date | Assignee | Title |
|---|---|---|---|---|
| RU2342810C1 (ru) * | 2007-05-17 | 2008-12-27 | Федеральное государственное унитарное предприятие "Всероссийский научно-исследовательский институт автоматики им. Н.Л. Духова" (ФГУП "ВНИИА") | Плазменный источник проникающего излучения |
| RU2396369C2 (ru) * | 2007-10-26 | 2010-08-10 | Федеральное государственное унитарное предприятие "Государственный научный центр Российской Федерации Троицкий институт инновационных и термоядерных исследований" (ФГУП "ГНЦ РФ ТРИНИТИ") | Способ обработки термически нестойких материалов холодной плазменной струей |
| RU2455798C1 (ru) * | 2010-12-08 | 2012-07-10 | Валерий Анатольевич Гостев | Жидкостной микроплазмотрон |
| US9511240B2 (en) | 2009-03-16 | 2016-12-06 | Drexel University | Apparatus for atmospheric pressure pin-to-hole spark discharge and uses thereof |
| RU2606396C2 (ru) * | 2011-10-03 | 2017-01-10 | Борислав Стефанов БОРИСОВ | Способ и устройство для получения плазмы |
Citations (5)
| Publication number | Priority date | Publication date | Assignee | Title |
|---|---|---|---|---|
| SU667031A1 (ru) * | 1977-12-19 | 1980-02-25 | Институт Ядерных Исследований | Способ получени плазменных потоков |
| US4318028A (en) * | 1979-07-20 | 1982-03-02 | Phrasor Scientific, Inc. | Ion generator |
| RU2092982C1 (ru) * | 1995-05-23 | 1997-10-10 | Саратовский государственный университет им.Н.Г.Чернышевского | Способ получения быстрых потоков плазмы |
| RU8199U1 (ru) * | 1997-09-04 | 1998-10-16 | В.А. Гостев | Устройство для генерации плазменного потока |
| RU2187216C1 (ru) * | 2001-07-05 | 2002-08-10 | Физико-технический институт им. А.Ф.Иоффе РАН | Способ получения потока плазмы и устройство для его осуществления |
-
2004
- 2004-10-26 RU RU2004131067/06A patent/RU2285358C2/ru not_active IP Right Cessation
Patent Citations (5)
| Publication number | Priority date | Publication date | Assignee | Title |
|---|---|---|---|---|
| SU667031A1 (ru) * | 1977-12-19 | 1980-02-25 | Институт Ядерных Исследований | Способ получени плазменных потоков |
| US4318028A (en) * | 1979-07-20 | 1982-03-02 | Phrasor Scientific, Inc. | Ion generator |
| RU2092982C1 (ru) * | 1995-05-23 | 1997-10-10 | Саратовский государственный университет им.Н.Г.Чернышевского | Способ получения быстрых потоков плазмы |
| RU8199U1 (ru) * | 1997-09-04 | 1998-10-16 | В.А. Гостев | Устройство для генерации плазменного потока |
| RU2187216C1 (ru) * | 2001-07-05 | 2002-08-10 | Физико-технический институт им. А.Ф.Иоффе РАН | Способ получения потока плазмы и устройство для его осуществления |
Cited By (6)
| Publication number | Priority date | Publication date | Assignee | Title |
|---|---|---|---|---|
| RU2342810C1 (ru) * | 2007-05-17 | 2008-12-27 | Федеральное государственное унитарное предприятие "Всероссийский научно-исследовательский институт автоматики им. Н.Л. Духова" (ФГУП "ВНИИА") | Плазменный источник проникающего излучения |
| RU2396369C2 (ru) * | 2007-10-26 | 2010-08-10 | Федеральное государственное унитарное предприятие "Государственный научный центр Российской Федерации Троицкий институт инновационных и термоядерных исследований" (ФГУП "ГНЦ РФ ТРИНИТИ") | Способ обработки термически нестойких материалов холодной плазменной струей |
| US9511240B2 (en) | 2009-03-16 | 2016-12-06 | Drexel University | Apparatus for atmospheric pressure pin-to-hole spark discharge and uses thereof |
| US10500407B2 (en) | 2009-03-16 | 2019-12-10 | Drexel University | Apparatus for atmospheric pressure pin-to-hole spark discharge and uses thereof |
| RU2455798C1 (ru) * | 2010-12-08 | 2012-07-10 | Валерий Анатольевич Гостев | Жидкостной микроплазмотрон |
| RU2606396C2 (ru) * | 2011-10-03 | 2017-01-10 | Борислав Стефанов БОРИСОВ | Способ и устройство для получения плазмы |
Also Published As
| Publication number | Publication date |
|---|---|
| RU2004131067A (ru) | 2006-04-10 |
Similar Documents
| Publication | Publication Date | Title |
|---|---|---|
| KR100946434B1 (ko) | 플룸 안전성과 가열 효율이 향상된 마이크로파 플라즈마 노즐, 플라즈마 생성시스템 및 플라즈마 생성방법 | |
| Iza et al. | Microplasmas: sources, particle kinetics, and biomedical applications | |
| EP0002623B1 (en) | Electric arc apparatus and method for treating a flow of material by an electric arc | |
| Deng et al. | Direct current plasma jet at atmospheric pressure operating in nitrogen and air | |
| Seo et al. | Comparative studies of atmospheric pressure plasma characteristics between He and Ar working gases for sterilization | |
| US8502108B2 (en) | Method and device for creating a micro plasma jet | |
| RU2013139165A (ru) | Плазменная горелка | |
| US9378933B2 (en) | Apparatus for generating reactive gas with glow discharges and methods of use | |
| Joh et al. | Electrical and optical characterization of atmospheric-pressure helium plasma jets generated with a pin electrode: Effects of the electrode material, ground ring electrode, and nozzle shape | |
| CN104411083B (zh) | 一种产生连续低温大截面大气压等离子体羽的装置及方法 | |
| JP4817407B2 (ja) | プラズマ発生装置及びプラズマ発生方法 | |
| RU2285358C2 (ru) | Устройство для генерации плазменного потока | |
| JP2012084396A (ja) | パルスパワー方式低温プラズマジェット発生装置 | |
| Cho et al. | Cold plasma jets made of a syringe needle covered with a glass tube | |
| WO2004094795A3 (en) | Plasmatron fuel converter having decoupled air flow control | |
| Sagas et al. | Basic characteristics of gliding-arc discharges in air and natural gas | |
| Matra et al. | Non-thermal dielectric barrier discharge generator | |
| CN109587921A (zh) | 一种耦合高能电子的等离子体射流发生装置 | |
| US3448333A (en) | Process for initiating an arc between electrodes in a plasma gun | |
| RU2455798C1 (ru) | Жидкостной микроплазмотрон | |
| RU8199U1 (ru) | Устройство для генерации плазменного потока | |
| RU132295U1 (ru) | Жидкостной плазмотрон | |
| EP3474635A1 (en) | Modular plasma jet treatment system | |
| US3192427A (en) | Plasma flame generator | |
| Veeraiah et al. | Characterization of plasma based on the electrode size of atmospheric pressure plasma jet (APPJ) |
Legal Events
| Date | Code | Title | Description |
|---|---|---|---|
| QB4A | Licence on use of patent |
Effective date: 20070709 |
|
| MM4A | The patent is invalid due to non-payment of fees |
Effective date: 20151027 |