RU2268373C1 - Механизм газораспределения - Google Patents

Механизм газораспределения Download PDF

Info

Publication number
RU2268373C1
RU2268373C1 RU2004119104/06A RU2004119104A RU2268373C1 RU 2268373 C1 RU2268373 C1 RU 2268373C1 RU 2004119104/06 A RU2004119104/06 A RU 2004119104/06A RU 2004119104 A RU2004119104 A RU 2004119104A RU 2268373 C1 RU2268373 C1 RU 2268373C1
Authority
RU
Russia
Prior art keywords
heads
valve
intake
working surfaces
passages
Prior art date
Application number
RU2004119104/06A
Other languages
English (en)
Inventor
Евгений Васильевич Сливинский (RU)
Евгений Васильевич Сливинский
Олег Андреевич Пивоваров (RU)
Олег Андреевич Пивоваров
Original Assignee
Елецкий государственный университет им. И.А. Бунина
Priority date (The priority date is an assumption and is not a legal conclusion. Google has not performed a legal analysis and makes no representation as to the accuracy of the date listed.)
Filing date
Publication date
Application filed by Елецкий государственный университет им. И.А. Бунина filed Critical Елецкий государственный университет им. И.А. Бунина
Priority to RU2004119104/06A priority Critical patent/RU2268373C1/ru
Application granted granted Critical
Publication of RU2268373C1 publication Critical patent/RU2268373C1/ru

Links

Images

Landscapes

  • Cylinder Crankcases Of Internal Combustion Engines (AREA)

Abstract

Изобретение относится к области двигателей внутреннего сгорания. Изобретение позволяет повысить эффективность наполнения цилиндров ДВС горючей смесью и удаления из них отработанных газов. Механизм газораспределения состоит из клапанов впускных и выпускных, включающих в себя стержни и головки, взаимодействующие с седлами. Головки клапанов по своей образующей рабочей поверхности снабжены каналами, наклонными в вертикальной плоскости, причем начало каналов находится на торцевых частях головок и имеет больший диаметр, а конец - на рабочих поверхностях (взаимодействующих с седлом клапана) и имеет меньший диаметр. 5 ил.

Description

Изобретение относится к области двигателей внутреннего сгорания и может быть использовано как в конструкциях четырехтактных карбюраторных двигателей, так и дизелей.
Известен механизм газораспределения, используемый в конструкции карбюраторного двигателя, описанный и показанный на стр.42-43, рис.43 в книге Стеблева Н.М. "Современный автомобиль". Издательство ДОСААФ. - М., 1955 г. Такой механизм состоит из впускного и выпускного клапанов, каждый из которых выполнен в виде стержня, плавно переходящего в головку, и последняя по своей образующей снабжена рабочей поверхностью, взаимодействующей с седлом клапана, запрессованным в блок цилиндров двигателя внутреннего сгорания. Каждый из клапанов подпружинен относительно блока цилиндров и управляется с помощью толкателей, взаимодействующих с распределительным валом ДВС. С помощью клапанов за четыре хода движения поршня происходят заполнение цилиндров горючей смесью, ее сжатие, горение и расширение и выпуск отработанных газов. Заполнение горючей смесью происходит из всасывающего коллектора, расположенного в блоке цилиндров, а выпуск отработанных газов - в выхлопной коллектор. Несмотря на свою эффективность использования такой механизм газораспределения обладает существенным недостатком, заключающимся в том, что всасывание горючей смеси и удаление из цилиндров отработанных газов происходит через узкие щели, расположенные между седлами клапанов и внешними образующими поверхностями клапанных головок. Такое явление снижает эффективность заполнения горючей смесью полости цилиндра при всасывании и "очистку" этого же объема от отработанных газов, а также способствует неравномерному распределению температуры по всему объему головки клапана.
Известен также механизм газораспределения ДВС, описанный в книге Корягина А.В. и Соловьева Г.М. Устройство, обслуживание и правила движения автомобилей. Военное издательство МО СССР. - М., 1960 г., стр.56-57 и показанный на рис.29. Конструкция такого механизма газораспределения аналогична вышеописанной и поэтому недостатки их подобны.
Поэтому задачей изобретения является повышение эффективности работы механизма газораспределения ДВС за счет увеличения проходных сечений впускного и выпускного клапанов, через которые в цилиндры поступает горючая смесь и удаляются из него отработанные газы, а также равномерного распределения теплового поля по всему объему головок клапанов.
Поставленная задача достигается тем, что впускной и выпускной клапаны каждого из цилиндров блока в своих головках снабжены наклонными в вертикальной их плоскости каналами, начало которых находится на торцевой части головок, а концы - на их рабочей поверхности, причем начала и концы упомянутых каналов выполнены различного диаметра и большие из них расположены на внешних торцевых частях головок клапанов, а меньшие - на их рабочих поверхностях.
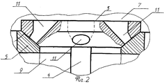
На фиг.1 показан общий вид механизма газораспределения с разрезом сбоку, на фиг.2 - часть одного из его клапанов с вырывами, на фиг.3 - вид клапана сверху, на фиг.4 - вид клапана снизу и на фиг.5 - один из моментов открытия клапана.
Механизм газораспределения состоит из впускного клапана, выполненного за одно целое с головкой 1 и стержнем 2, и выпускного клапана, содержащего головку 3 и стержень 4. Головки 1 и 3 клапанов контактируют с седлами 5, запрессованными в блок цилиндров 6, включающий в себя камеру сгорания 7, впускной коллектор 8 и выхлопной коллектор 9. Головки 1 и 3 клапанов имеют сквозные каналы соответственно 10 и 11. Головки 1 и 3 клапана имеют рабочую поверхность 12.
Работает механизм газораспределения следующим образом. Для заполнения камеры сгорания 7 горючей смесью, находящейся в впускном коллекторе 8, широко известными в технике способами впускной клапан с головками 1 и стержнем 2 перемещается по стрелке А и горючая смесь за счет разрежения, создаваемого поршнем, находящимся в цилиндре блока 6 (цилиндр и поршень на чертеже не показаны, но работа ДВС подробно описана в книге Стеблева Н.М., которая выбрана в качестве аналога, где в ней представлены четыре такта его работы и использующего в качестве топлива бензин), через щели, образованные между головкой 1 и седлом 5, по стрелке В (см. фиг.5) поступает в камеру сгорания 7. В то же время как только головка клапана приподнимется по стрелке А над седлом 5, сквозные каналы 10 окажутся открытыми (как это показано на фиг.5) и через них так же, как и в предыдущем случае, по стрелке В горючая смесь поступит в камеру сгорания 7. После этого, как только поршень достигнет нижней мертвой точки, всасывающий клапан с головкой 1 и стержнем 2 перемещается в направлении, обратном стрелке А, и занимает положение, показанное на фиг.1, тем самым плотно примыкая своей рабочей поверхностью 12 к седлу 5 прикрывает каналы 10. Далее осуществляется процесс сжатия и поршень доходит до своей верхней мертвой точки. Как это произойдет, широко известным способом горючая смесь воспламеняется, а так как оба клапана закрыты, то поршень под действием создавшегося давления газов перемещается в сторону нижней мертвой точки, то есть происходит его рабочий ход. Перейдя вновь нижнюю мертвую точку, поршень в последующем перемещается вверх и выпускной клапан с головкой 3 и стержнем 4, подобно тому, как это показано, например, на фиг.5, открывается по стрелке С и газы проходят из камеры сгорания 7 в щели, образованные им с седлом 5, а также через каналы 11, но только в направлении, обратном стрелкам В, поступая в выхлопной коллектор 9, выбрасываются в атмосферу. Как только поршень перейдет верхнюю мертвую точку, выпускной клапан своей головкой 3 поджимается к седлу 5, в этот момент времени по стрелке А впускной клапан вновь открывается и происходит процесс, аналогичный описанному выше.
Технико-экономическое преимущество предложенного технического решения в сравнении с известными очевидно, так как, во-первых, за счет наличия отверстий выполненных в головках 1 и 3 и рабочих поверхностях 12 впускного и выпускного клапанов увеличивается производительность подачи горючей смеси или удаления отработанных газов в камеру сгорания двигателя или из нее и, во-вторых, высокие температуры, характерные для этого механизма, возникающие в процессе сжигания рабочей смеси, равномерно распределяются по всему объему головок клапанов, что в итоге позволяет повысить долговечность последних особенно в зонах сопряжения их рабочих поверхностей с гнездами. Все это в итоге позволит получить соответствующий экономический эффект при эксплуатации ДВС.

Claims (1)

  1. Механизм газораспределения, преимущественно двигателя внутреннего сгорания, состоящий из впускного и выпускного клапанов, выполненных в виде стержней с головками и рабочими поверхностями и подпружиненных относительно блока цилиндров, снабженного всасывающим и выхлопным коллекторами, отличающийся тем, что впускной и выпускной клапаны каждого из цилиндров блока в своих головках снабжены наклонными в вертикальной их плоскости каналами, начало которых находится на торцевой части головок, а концы на их рабочих поверхностях, причем начало и концы упомянутых каналов выполнены различного диаметра и большие из них расположены на внешних торцевых частях головок клапанов, а меньшие - на их рабочих поверхностях.
RU2004119104/06A 2004-06-23 2004-06-23 Механизм газораспределения RU2268373C1 (ru)

Priority Applications (1)

Application Number Priority Date Filing Date Title
RU2004119104/06A RU2268373C1 (ru) 2004-06-23 2004-06-23 Механизм газораспределения

Applications Claiming Priority (1)

Application Number Priority Date Filing Date Title
RU2004119104/06A RU2268373C1 (ru) 2004-06-23 2004-06-23 Механизм газораспределения

Publications (1)

Publication Number Publication Date
RU2268373C1 true RU2268373C1 (ru) 2006-01-20

Family

ID=35873492

Family Applications (1)

Application Number Title Priority Date Filing Date
RU2004119104/06A RU2268373C1 (ru) 2004-06-23 2004-06-23 Механизм газораспределения

Country Status (1)

Country Link
RU (1) RU2268373C1 (ru)

Cited By (1)

* Cited by examiner, † Cited by third party
Publication number Priority date Publication date Assignee Title
RU2502881C1 (ru) * 2012-04-11 2013-12-27 Федеральное государственное бюджетное образовательное учреждение высшего профессионального образования "Елецкий государственный университет им. И.А. Бунина" Клапан механизма газораспределения двс

Citations (4)

* Cited by examiner, † Cited by third party
Publication number Priority date Publication date Assignee Title
US1342419A (en) * 1918-02-08 1920-06-08 Brenner Lupu William Puppet-valve
US3881459A (en) * 1974-02-28 1975-05-06 Werner Gaetcke Inlet valve for internal combustion engine and method for supplying fuel thereto
DE3425690A1 (de) * 1984-07-12 1986-01-23 Klöckner-Humboldt-Deutz AG, 5000 Köln Ventilkoerper fuer eine brennkraftmaschine
US4836154A (en) * 1987-08-18 1989-06-06 Bergeron Charles W Poppet valve assembly with apertures

Patent Citations (4)

* Cited by examiner, † Cited by third party
Publication number Priority date Publication date Assignee Title
US1342419A (en) * 1918-02-08 1920-06-08 Brenner Lupu William Puppet-valve
US3881459A (en) * 1974-02-28 1975-05-06 Werner Gaetcke Inlet valve for internal combustion engine and method for supplying fuel thereto
DE3425690A1 (de) * 1984-07-12 1986-01-23 Klöckner-Humboldt-Deutz AG, 5000 Köln Ventilkoerper fuer eine brennkraftmaschine
US4836154A (en) * 1987-08-18 1989-06-06 Bergeron Charles W Poppet valve assembly with apertures

Non-Patent Citations (1)

* Cited by examiner, † Cited by third party
Title
GB 201608.4 А 19.09.1979. *

Cited By (1)

* Cited by examiner, † Cited by third party
Publication number Priority date Publication date Assignee Title
RU2502881C1 (ru) * 2012-04-11 2013-12-27 Федеральное государственное бюджетное образовательное учреждение высшего профессионального образования "Елецкий государственный университет им. И.А. Бунина" Клапан механизма газораспределения двс

Similar Documents

Publication Publication Date Title
US3577729A (en) Reciprocating internal combustion engine with constant pressure combustion
US5778849A (en) Insulated precombustion chamber
EP0476010B1 (en) Reciprocating piston engine with pumping and power cylinders
US3987769A (en) Jet ignition engine with valve-carried ignition chamber
US20100058751A1 (en) Reciprocating pneumatic piston gravity engine
RU2268373C1 (ru) Механизм газораспределения
JP2820793B2 (ja) ポンプシリンダと動力シリンダを備えたレシプロエンジン
US4442809A (en) Combustion chamber of an internal combustion engine with an accumulation chamber
RU2316655C1 (ru) Механизм газораспределения
US5603291A (en) Internal combustion engine with valve built into piston head
RU2167315C2 (ru) Термодинамический цикл для двигателя внутреннего сгорания и устройство для его осуществления
US2110248A (en) Synchro-cross-expansion engine
WO2013003287A1 (en) System and method of improving efficiency of an internal combustion engine
RU99109646A (ru) Термодинамический цикл для двигателя внутреннего сгорания и устройство для его осуществления
GB2183730A (en) Charging internal combustion reciprocating piston engine
RU2562328C1 (ru) Механизм газораспределения
RU2070974C1 (ru) Двигатель внутреннего сгорания
RU2502881C1 (ru) Клапан механизма газораспределения двс
KR20110017364A (ko) 개선된 연소 엔진
RU2246014C2 (ru) Двигатель внутреннего сгорания с сообщающимися цилиндрами
RU31405U1 (ru) Двигатель внутреннего сгорания (варианты)
RU2163301C2 (ru) Каскадный двигатель внутреннего сгорания
RU49125U1 (ru) Цилиндр двухтактного двигателя внутреннего сгорания
RU2008461C1 (ru) Двухтактный двигатель внутреннего сгорания
RU2166652C1 (ru) Способ работы двигателя внутреннего сгорания и двигатель внутреннего сгорания

Legal Events

Date Code Title Description
MM4A The patent is invalid due to non-payment of fees

Effective date: 20100624