RU2244792C2 - Способ монтажа ручки дверной к опорной поверхности и ручка дверная - Google Patents

Способ монтажа ручки дверной к опорной поверхности и ручка дверная Download PDF

Info

Publication number
RU2244792C2
RU2244792C2 RU2003108338/12A RU2003108338A RU2244792C2 RU 2244792 C2 RU2244792 C2 RU 2244792C2 RU 2003108338/12 A RU2003108338/12 A RU 2003108338/12A RU 2003108338 A RU2003108338 A RU 2003108338A RU 2244792 C2 RU2244792 C2 RU 2244792C2
Authority
RU
Russia
Prior art keywords
door handle
handle
mesh
supporting surface
hooks
Prior art date
Application number
RU2003108338/12A
Other languages
English (en)
Other versions
RU2003108338A (ru
Inventor
А.И. Максимов (RU)
А.И. Максимов
Original Assignee
Максимов Александр Иванович
Priority date (The priority date is an assumption and is not a legal conclusion. Google has not performed a legal analysis and makes no representation as to the accuracy of the date listed.)
Filing date
Publication date
Application filed by Максимов Александр Иванович filed Critical Максимов Александр Иванович
Priority to RU2003108338/12A priority Critical patent/RU2244792C2/ru
Publication of RU2003108338A publication Critical patent/RU2003108338A/ru
Application granted granted Critical
Publication of RU2244792C2 publication Critical patent/RU2244792C2/ru

Links

Images

Landscapes

  • Details Of Rigid Or Semi-Rigid Containers (AREA)

Abstract

Изобретение относится к области скобяных изделий и касается способа монтажа ручки дверной к опорной поверхности, включающего ее закрепление к опорной поверхности, причем ручка изготовлена из сетки. Ручку снабжают крючками и закрепляют путем предварительного обхвата элементов сетки крючками и последующего закрепления крючков к опорной поверхности. Также предложена ручка дверная. Данный способ позволяет расширить арсенал технических средств для изготовления ручек дверных. 2 с.п. ф-лы, 9 ил.

Description

Изобретение относится к скобяной промышленности, в частности к ручкам дверным, и может быть использовано при изготовлении дверей, окон, сейфов и т.д.
Известен способ монтажа ручки дверной и ручка дверная из сетки из патента США 4782556, 1988.
Задача, на решение которой направлены заявленные технические решения, состоит в расширении арсенала технических средств для ручек дверных.
Технический результат достигается тем, что в способе монтажа ручки дверной к опорной поверхности, включающего ее закрепление к опорной поверхности, причем ручка изготовлена из сетки, по изобретению ручку снабжают крючками и закрепляют путем предварительного обхвата элементов сетки крючками и последующего закрепления крючков к опорной поверхности, а также тем, что в ручке дверной, содержащей рукоятку из сетки с ячейками, сетка выполнена жесткой, а в ее, по меньшей мере, одной ячейке размещено геометрическое тело.
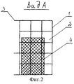
На фиг.1, 3 и 5 показан способ изготовления ручки дверной, ручка дверная и способ рекламирования изделия; на фиг.2 - вид А на фиг.1; на фиг.4 - вид Б на фиг.3; на фиг.6-8 - вид В на фиг.5 (варианты); на фиг.9 - показан способ монтажа ручки дверной к опорной поверхности.
На фиг.1-9 позициями обозначены следующие детали: рукоятка 1, замкнутый объем 2, средство крепежа 3, геометрическое тело или/и рекламируемое изделие 4, ячейки 5 и крючки 6.
Рукоятка 1 (см. фиг.1-8) изготовлена или выполнена из сетки, а сетку изготавливают из гибких или/и жестких нитей, а в качестве материала нитей используют металл или кожу или волокна. При изготовлении сетки из металлической проволоки или металлических прутков их соединяют между собой посредством точечной электрической сварки с плетением проволоки между собой или без таковой. При использовании в качестве нитей кожи их связывают в узлы в местах образования узлов ячеек. При использовании нитей из волокна используют нити: хлопчатобумажные, льняные, хлопковые, конопляные, искусственные нити и т.д. Рукоятка 1 образована сеткой и может иметь плоскую форму и не плоскую форму, может иметь замкнутый объем или частично замкнутый объем (в качестве одной из поверхностей рукоятки может использоваться опорная поверхность, где нет сетки, а может и не использоваться, это необходимо для размещения и удаления геометрического тела в замкнутом объеме). Рукоятка 1 может быть выполнена в виде шара или части шара, в виде цилиндра или части цилиндра, в виде трубы или части трубы, в виде куба или части куба, в виде призмы или части призмы и т.д. Замкнутый объем 2 может иметь соответствующие формы и его размеры больше геометрического тела, который размещают в замкнутом объеме 2. Ручка дверная имеет средство ее крепежа 3, которое выполнено в виде выступающих в сторону опорной поверхности частей сетки (решетки) с резьбовыми участками или без таковых (ручка дверная может крепиться к опорной поверхности посредством крепежных изделий или посредством сварных швов). Геометрическое тело или рекламируемое изделие 4 могут быть размещены в замкнутом объеме или размещены в ячейке или ячейках сетки или могут быть подвешены к элементам сетки, т.е. рукоятки 1. Сетка или решетка имеет ячейки 5, которые могут иметь любую геометрическую форму (прямоугольник, квадрат, ромб, круг, сектор, сегмент, треугольник (равносторонний, равнобедренный, прямоугольный) и т. д.). Размер ячеек 5 выбирается таким, чтобы в ячейки 5 могли быть размещены пальцы человеческой руки и то же время ручка дверная должна иметь достаточные прочностные свойства и жесткость, обеспечивающие ее эксплуатацию. В связи с этим размер ячеек 5 должен быть выбран из диапазона 23-40 мм. Закрепление ручки дверной к опорной поверхности может производиться посредством крючков 6 (см. фиг.9) с резьбовыми участками. Ручка дверная выступает в роли средства или подставки для рекламируемого изделий. Ручка дверная используется в качестве подставки или в качестве дополнительного корпуса или упаковки для пачки сигарет, пачки сигар, трубки курительной, бутылки, банки, освежителя воздуха, средства против насекомых и т.д.
Способ изготовления ручки дверной (вариант 1) реализуется следующим образом.
Взяли сетку, изготовленную из проволоки диаметром 4 мм. Изготовили рукоятку 1 с замкнутым объемом 2 из сетки (см. фиг.1 и 2), причем рукоятку 1 изготовили в виде объемного изделия с пятью поверхностями, образованными сеткой (на месте шестой поверхности сетка отсутствует, т.к. этот участок выполнен в виде входа - выхода в замкнутый объем, очерченный сеткой или решеткой). Грани поверхностей рукоятки 1, контактирующие с опорной поверхностью, образуют контактную поверхность ручки дверной. При закреплении ручки дверной к опорной поверхности осуществляют закрывание входа-выхода в замкнутый объем 2 посредством самой опорной поверхности. На контактной поверхности ручки дверной изготовили средство крепежа 3 в виде отдельных выступающих частей элементов сетки - проволоки, причем на выступающих частях изготовили резьбовые участки (M4×6G). Изготовили на опорной поверхности дверного полотна и оконною полотна отверстия. Разместили в замкнутом объеме 2 ручки дверной (в порядке очередности) геометрическое тело в виде пачки с сигаретами, пачки с сигарами, трубки курительной, бутылки с водой или соком, или напитком, или пивом, или водкой, или с иными ликероводочными изделиями, средство для освежения воздуха, средство против насекомых и т.д., причем ручка дверная использовалась в качестве подставки для перечисленных геометрических тел или в качестве подставки для рекламируемых изделий или в качестве корпуса или упаковки для изделий или в качестве корпуса для изделий, указанных выше. Ввели крепежные средства 3 в изготовленные отверстия и закрепили их посредством гаек и шайб. Опорную поверхность дополнительно использовали в качестве средства для закрывания входа-выхода в замкнутый объем 2 ручки дверной. В качестве материала сетки или решетки использовали и иные материалы, перечисленные выше. При данном исполнении ручки дверной геометрическое тело может быть размещено в замкнутом объеме 2 или/и в ячейке сетки или решетки.
Способ изготовления ручки дверной (вариант 2) реализуется следующим образом.
Изготовили ручку дверную с замкнутым объемом 2, но без размещения геометрического тела в замкнутом объеме (см. фиг.1 и 2, но без геометрических тел 4). Все операции проделали, как и при реализации способа по варианту 1.
Изготовили ручку дверную из сетки 1 или решетки без замкнутого объеме (см. фиг.3 и 4), т.е. использовали сетку без элементов формообразования из ее геометрических фигур (условно не считается объем ячейки, очерченный элементами сетки, в качестве объемного элемента, т.к. его геометрические размеры вписываются в геометрические размеры сетки). В данном исполнении ручки дверной в качестве элемента для размещения геометрического тела на ручке дверной использовали ячейку или ячейки 5, или часть или части ячеек 5 сетки, или решетки. В качестве геометрических тел использовали те же геометрические тела, указанные выше.
Изготовили ручки дверные из сетки или решетки с формированием объемной пространственной фигуры с частично замкнутым объемом (см. фиг.5-8), т.e. вход-выход в замкнутый объем 2 не закрыт или частично закрыт, причем опорная поверхность используется в качестве одной из поверхностей объемной пространственной фигуры. При данном исполнении ручки дверной геометрическое тело 4 (условно не показано) может быть размещено в частично замкнутом объеме или/и в ячейке 5 сетки. Закрепили ручку дверную к опорной поверхности способом, описанным выше или ниже.
Осуществили монтаж ручки дверной к опорной поверхности с использованием крючков 6 (см. фиг.9) путем предварительного обхвата элементов сетки или решетки крючками 6 и последующего закрепления крючков 6 к опорной поверхности.
Указанные выше отдельные способы реализуют собой способы рекламирования изделий.
Способ рекламирования изделия (вариант 1) реализуется следующим образом.
Изготовили ручку дверную из сетки или решетки с замкнутым объемом 2, а рекламируемые изделия (геометрические тела) 4 разместили в замкнутом объеме 2 ручки дверной (рукоятки) 1, причем в качестве опорной поверхности использовали части поверхности элементов, формирующих ручку дверную, обращенные в сторону замкнутого объема. Ручку дверную (рукоятку) также изготовили из светопрозрачного материала с внутренней полостью (условно не показано). В качестве рекламируемых изделий может быть использовано изделие, указанное выше или любое другое изделие.
Способ рекламирования изделия (вариант 2) реализуется следующим образом.
Изготовили ручку дверную известными способами или в виде объемного тела любой известной или неизвестной конструкции или в виде сетки или решетки. В качестве опорной поверхности для рекламируемого изделия, использовали ручку дверную. Рекламируемое изделие может быть закреплено к опорной поверхности известными или неизвестными средствами.
Ручка дверная или ручка оконная или ручка работает следующим образом.
Если ручка изготовлена из сетки или решетки.
Вводят пальцы кисти руки в ячейки сетки или решетки, частично обхватывают элементы сетки, а затем перемещают ручку дверную совместно с опорной поверхностью в требуемом направлении.
Если ручка изготовлена не из сетки. Берутся за рукоятку и перемещают рукоятку совместно с опорной поверхностью в требуемом направлении.
Таким образом, заявляемые технические решения “Способ изготовления ручки дверной (варианты)”, “Ручка дверная (варианты)”, “Способ монтажа ручки дверной к опорной поверхности” и “Способ рекламирования изделия (варианты)” обеспечивают достижение поставленной задачи и получение нового технического результата.

Claims (2)

1. Способ монтажа ручки дверной к опорной поверхности, включающий ее закрепление к опорной поверхности, причем ручка изготовлена из сетки, отличающийся тем, что ручку снабжают крючками и закрепляют путем предварительного обхвата элементов сетки крючками и последующего закрепления крючков к опорной поверхности.
2. Ручка дверная, содержащая рукоятку из сетки с ячейками, отличающаяся тем, что сетка выполнена жесткой.
RU2003108338/12A 2003-03-27 2003-03-27 Способ монтажа ручки дверной к опорной поверхности и ручка дверная RU2244792C2 (ru)

Priority Applications (1)

Application Number Priority Date Filing Date Title
RU2003108338/12A RU2244792C2 (ru) 2003-03-27 2003-03-27 Способ монтажа ручки дверной к опорной поверхности и ручка дверная

Applications Claiming Priority (1)

Application Number Priority Date Filing Date Title
RU2003108338/12A RU2244792C2 (ru) 2003-03-27 2003-03-27 Способ монтажа ручки дверной к опорной поверхности и ручка дверная

Publications (2)

Publication Number Publication Date
RU2003108338A RU2003108338A (ru) 2005-01-10
RU2244792C2 true RU2244792C2 (ru) 2005-01-20

Family

ID=34880995

Family Applications (1)

Application Number Title Priority Date Filing Date
RU2003108338/12A RU2244792C2 (ru) 2003-03-27 2003-03-27 Способ монтажа ручки дверной к опорной поверхности и ручка дверная

Country Status (1)

Country Link
RU (1) RU2244792C2 (ru)

Citations (4)

* Cited by examiner, † Cited by third party
Publication number Priority date Publication date Assignee Title
US4782556A (en) * 1987-06-29 1988-11-08 Airway Industries, Inc. Handle for luggage case
US5699587A (en) * 1995-01-16 1997-12-23 American Standard, Inc. Handle for a sanitary fitting
RU2104378C1 (ru) * 1996-05-24 1998-02-10 Акционерное общество открытого типа "Машиностроительный завод" Ручка
US6351873B1 (en) * 1996-10-31 2002-03-05 Daniel Donck Decorative equipment piece used as a handle

Patent Citations (4)

* Cited by examiner, † Cited by third party
Publication number Priority date Publication date Assignee Title
US4782556A (en) * 1987-06-29 1988-11-08 Airway Industries, Inc. Handle for luggage case
US5699587A (en) * 1995-01-16 1997-12-23 American Standard, Inc. Handle for a sanitary fitting
RU2104378C1 (ru) * 1996-05-24 1998-02-10 Акционерное общество открытого типа "Машиностроительный завод" Ручка
US6351873B1 (en) * 1996-10-31 2002-03-05 Daniel Donck Decorative equipment piece used as a handle

Also Published As

Publication number Publication date
RU2003108338A (ru) 2005-01-10

Similar Documents

Publication Publication Date Title
US8240081B2 (en) Prism traps for fruit and vegetable insects-pests
DE60232828D1 (de) Chirurgisches gerät zur entnahme eines fremdkörpers und verfahren zu dessen herstellung
CN202857585U (zh) 一种用于养殖桔小实蝇的养虫笼
US6381902B1 (en) Pot holder for use with posts
US20040035351A1 (en) Bird deterring apparatus
RU2244792C2 (ru) Способ монтажа ручки дверной к опорной поверхности и ручка дверная
WO2014040961A3 (en) Shaking device for harvesting small fruit
EP1130955A1 (de) Pflanzenarrangement mit halter für gegenstände darin
US1443508A (en) Kitchen fork
DE102018212543B4 (de) Magnethaltevorrichtung, Spülgutaufnahme und Haushaltsgeschirrspülmaschine
CN217742843U (zh) 一种果蝇捕杀器
Kumar et al. Pyramids and their shapes effect
JPS621994Y2 (ru)
JPS5923503Y2 (ja) ピンセツト付き虫かご
JPH10179990A (ja) 物干しハンガー
UA132915U (uk) Пристрій для надання декоративної форми плодам
CN2321218Y (zh) 诱蚊捕蚊装置
CN212937442U (zh) 一种桔小实蝇产卵引诱装置
JPH0523536Y2 (ru)
CN201422340Y (zh) 一种小型蟑螂诱捕器
CN2751536Y (zh) 竹材成型装置
JP3754442B1 (ja) 面状支持体とこれを用いた陳列展示装置、表示装置、花台、及び育苗装置
JP3158146U (ja) 食材干し具
ES2224858B2 (es) Elemento colgante.
CN105981707A (zh) 伸长杆电击式蚊蝇拍