RU2200373C1 - Hilling working tool - Google Patents

Hilling working tool Download PDF

Info

Publication number
RU2200373C1
RU2200373C1 RU2002102541/13A RU2002102541A RU2200373C1 RU 2200373 C1 RU2200373 C1 RU 2200373C1 RU 2002102541/13 A RU2002102541/13 A RU 2002102541/13A RU 2002102541 A RU2002102541 A RU 2002102541A RU 2200373 C1 RU2200373 C1 RU 2200373C1
Authority
RU
Russia
Prior art keywords
rods
working tool
tine
hilling
rack
Prior art date
Application number
RU2002102541/13A
Other languages
Russian (ru)
Inventor
Х.К. Албегов
С.М. Джибилов
А.Н. Щербинин
Л.Р. Гулуева
П.М. Шорин
Original Assignee
Северо-Кавказский научно-исследовательский институт горного и предгорного сельского хозяйства
Priority date (The priority date is an assumption and is not a legal conclusion. Google has not performed a legal analysis and makes no representation as to the accuracy of the date listed.)
Filing date
Publication date
Application filed by Северо-Кавказский научно-исследовательский институт горного и предгорного сельского хозяйства filed Critical Северо-Кавказский научно-исследовательский институт горного и предгорного сельского хозяйства
Priority to RU2002102541/13A priority Critical patent/RU2200373C1/en
Application granted granted Critical
Publication of RU2200373C1 publication Critical patent/RU2200373C1/en

Links

Images

Landscapes

  • Soil Working Implements (AREA)

Abstract

FIELD: agricultural engineering. SUBSTANCE: working tool has curvilinear tine with hoe and moldboards made in the form of tiered rods. Rods are arranged in fan-like manner on moldboards from tine to free ends. Rod pitch on tine is equal to doubled diameter of rods. Working tool of such construction may be used for interrow tillage and hilling of plants planted on ridges. EFFECT: improved quality of cultivation on average and heavy loamy and stony soils. 2 dwg

Description

Изобретение относится к сельскохозяйственному машиностроению, в частности к рабочим органам для междурядной обработки почвы. The invention relates to agricultural machinery, in particular to working bodies for inter-row tillage.

Известен рабочий орган окучника, содержащий криволинейную стойку со стрельчатой лапой и отвалы, выполненные в виде поярусно расположенных прутков, которые на стойке размещены с шагом, равным удвоенному диаметру прутка (Авт. свид. СССР 1605939, А 01 В 13/02, 39/14, 1990). Known working body hiller, containing a curved rack with a lancet paw and dumps, made in the form of tiered bars, which are placed on the rack with a step equal to twice the diameter of the bar (Auth. Certificate. USSR 1605939, A 01 B 13/02, 39/14 , 1990).

Недостатком этого рабочего органа является то, что при работе на тяжелосуглинистых и закамененных почвах происходит забивание промежутков между прутками комками почвы, камнями и сорняками, что ведет к ухудшению качества обработки почвы, увеличению тягового сопротивления, снижению производительности агрегата. The disadvantage of this working body is that when working on heavily loamy and fossilized soils, the gaps between the rods of the soil clods, stones and weeds become clogged, which leads to a deterioration in the quality of soil treatment, an increase in traction resistance, and a decrease in aggregate productivity.

Цель изобретения - повышение качества обработки почвы, снижение тягового сопротивления, повышение производительности агрегата. The purpose of the invention is to improve the quality of tillage, reduce traction resistance, increase productivity of the unit.

Поставленная цель достигается тем, что отвалы рабочего органа выполнены в виде прутков, расположенных веером, концы которых к стойке прикреплены с шагом, равным диаметру прутка, а шаг между их свободными концами равен двум диаметрам прутка, что способствует более эффективному рыхлению почвы и самоочищению отвалов. This goal is achieved by the fact that the dumps of the working body are made in the form of rods arranged in a fan, the ends of which are attached to the rack with a step equal to the diameter of the rod, and the step between their free ends is equal to two diameters of the rod, which contributes to more efficient loosening of the soil and self-cleaning of the dumps.

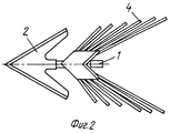
На фиг. 1 показан рабочий орган окучника, вид сбоку, на фиг.2 - то же, вид сверху. In FIG. 1 shows the working body of the hiller, side view, figure 2 is the same, top view.

Рабочий орган окучника состоит из криволинейной стойки 1, стрельчатой лапы 2 и отвалов 3, состоящих из прутков 4, расположенных веером. The working body of the hiller consists of a curved rack 1, lancet paws 2 and dumps 3, consisting of rods 4, fan-shaped.

Прутки 4 посредством уголка 5 закреплены на стойке 1 с шагом, равным диаметру прутка 4, а свободные концы их между собой размещаются с шагом, равным двум диаметрам прутка 4. рабочий орган с помощью стойки 1 устанавливают на секции культиватора 6. The rods 4 by means of the angle 5 are mounted on the rack 1 with a step equal to the diameter of the rod 4, and their free ends are placed with each other in increments of two diameters of the rod 4. The working body with the help of the rack 1 is installed on the cultivator section 6.

Рабочий орган окучника работает следующим образом. The working body okuchnik works as follows.

В процессе движения рабочего органа в почве стрельчатая лапа 2 подрезает слой почвы, который поднимается и поступает к прутковым отвалам 3, где прутки 4 крошат почву и отводят в сторону для образования гребней. При этом крошение почвы происходит не только свободными концами прутков 4 на сходе с отвала, но и на всей его поверхности, так как прутки на отвалах размещены веером с увеличением зазора между ними от стойки до их свободных концов. In the process of movement of the working body in the soil, the lancet paw 2 cuts the soil layer, which rises and enters the rod dumps 3, where the rods 4 crumble the soil and set aside to form ridges. Moreover, the crumbling of the soil occurs not only by the free ends of the rods 4 at the exit from the dump, but also on its entire surface, since the rods on the dumps are fan-shaped with an increase in the gap between them from the rack to their free ends.

Предлагаемый рабочий орган окучника позволит повысить качество обработки почвы при возделывания пропашных сельскохозяйственных культур на тяжелых по механическому составу и закамененных почвах. The proposed working body hiller will improve the quality of tillage when cultivating row crops on heavy mechanical composition and hardened soils.

Claims (1)

Рабочий орган окучника, содержащий криволинейную стойку с лапой и отвалы, выполненные в виде поярусно расположенных прутков, отличающийся тем, что прутки на отвалах расположены веером от стойки до свободных концов, при этом прутки на стойке размещены с шагом, равным диаметру прутка, а их свободные концы - с шагом, равным двум диаметрам прутка. The working body of the hiller, containing a curved rack with a paw and dumps, made in the form of tiered bars, characterized in that the bars on the dumps are fan-shaped from the rack to the free ends, while the bars on the rack are placed in increments equal to the diameter of the bar, and their free ends - in increments equal to two bar diameters.
RU2002102541/13A 2002-01-28 2002-01-28 Hilling working tool RU2200373C1 (en)

Priority Applications (1)

Application Number Priority Date Filing Date Title
RU2002102541/13A RU2200373C1 (en) 2002-01-28 2002-01-28 Hilling working tool

Applications Claiming Priority (1)

Application Number Priority Date Filing Date Title
RU2002102541/13A RU2200373C1 (en) 2002-01-28 2002-01-28 Hilling working tool

Publications (1)

Publication Number Publication Date
RU2200373C1 true RU2200373C1 (en) 2003-03-20

Family

ID=20255202

Family Applications (1)

Application Number Title Priority Date Filing Date
RU2002102541/13A RU2200373C1 (en) 2002-01-28 2002-01-28 Hilling working tool

Country Status (1)

Country Link
RU (1) RU2200373C1 (en)

Cited By (3)

* Cited by examiner, † Cited by third party
Publication number Priority date Publication date Assignee Title
RU2250580C1 (en) * 2004-02-04 2005-04-27 Горский государственный аграрный университет (ГГАУ) Coverer working tool
RU2275774C2 (en) * 2003-10-01 2006-05-10 Горский государственный аграрный университет (ГГАУ) Working tool for hiller
RU212655U1 (en) * 2022-04-12 2022-08-02 Федеральное государственное бюджетное образовательное учреждение высшего образования "Брянский государственный аграрный университет" WORKING BODY OF OKUCHNIK

Citations (2)

* Cited by examiner, † Cited by third party
Publication number Priority date Publication date Assignee Title
SU1695939A1 (en) * 1989-08-16 1991-12-07 Svistonyuk Ivan U Bougie
RU2048712C1 (en) * 1992-03-24 1995-11-27 Николай Ефимович Руденко Mouldboard tine

Patent Citations (2)

* Cited by examiner, † Cited by third party
Publication number Priority date Publication date Assignee Title
SU1695939A1 (en) * 1989-08-16 1991-12-07 Svistonyuk Ivan U Bougie
RU2048712C1 (en) * 1992-03-24 1995-11-27 Николай Ефимович Руденко Mouldboard tine

Cited By (6)

* Cited by examiner, † Cited by third party
Publication number Priority date Publication date Assignee Title
RU2275774C2 (en) * 2003-10-01 2006-05-10 Горский государственный аграрный университет (ГГАУ) Working tool for hiller
RU2250580C1 (en) * 2004-02-04 2005-04-27 Горский государственный аграрный университет (ГГАУ) Coverer working tool
RU212655U1 (en) * 2022-04-12 2022-08-02 Федеральное государственное бюджетное образовательное учреждение высшего образования "Брянский государственный аграрный университет" WORKING BODY OF OKUCHNIK
RU215900U1 (en) * 2022-05-04 2023-01-09 Федеральное государственное бюджетное образовательное учреждение высшего образования "Брянский государственный аграрный университет" WORKING BODY OF OKUCHNIK
RU216988U1 (en) * 2022-10-27 2023-03-13 Федеральное государственное бюджетное образовательное учреждение высшего образования "Брянский государственный аграрный университет" WORKING BODY OF THE OKUCHNIK
RU219501U1 (en) * 2023-03-13 2023-07-20 Федеральное государственное бюджетное образовательное учреждение высшего образования "Брянский государственный аграрный университет" WORKING BODY OF OKUCHNIK

Similar Documents

Publication Publication Date Title
CA2705616C (en) Soil shaping agricultural implement
UA46096C2 (en) TOOTH FOR AGRICULTURAL MILLING EQUIPMENT AND AGRICULTURAL MACHINE
HUP0800477A2 (en) Rotary hoe with adjustable depth
US20210059093A1 (en) Rotary ground engaging tool with double loop barbed links
RU2200373C1 (en) Hilling working tool
RU2075272C1 (en) Soil tillage tool
RU2192722C2 (en) Toothed harrow
RU2101892C1 (en) Cultivating implement
US2726592A (en) Cultivator
RU2275774C2 (en) Working tool for hiller
RU221856U1 (en) Loosening working body for processing the row spacing of row crops
RU2250580C1 (en) Coverer working tool
RU2097952C1 (en) Manual soil tillage tool
US10194571B2 (en) Indexed seedbed tillage arrangement
RU2116711C1 (en) Cultivator harrow
RU2038715C1 (en) Soil-tilling implement
RU2278485C2 (en) Harrow
JP2556086Y2 (en) Stock weeder
RU2197796C2 (en) Working tool of hand-held tillage unit
RU215900U1 (en) WORKING BODY OF OKUCHNIK
SU1683511A1 (en) Working member of furrow plough cultivator
RU238736U1 (en) Cultivator working body
RU2148302C1 (en) Apparatus for cultivating soil in spacings in the process of growing tilled and other farm crops
Verma et al. Tillage Concept and its Impact on Crop Production
SU990099A1 (en) Soil tilling implement

Legal Events

Date Code Title Description
MM4A The patent is invalid due to non-payment of fees

Effective date: 20040129