RU2171908C2 - Система подачи топлива в дизель - Google Patents

Система подачи топлива в дизель

Info

Publication number
RU2171908C2
RU2171908C2 RU99111414/06A RU99111414A RU2171908C2 RU 2171908 C2 RU2171908 C2 RU 2171908C2 RU 99111414/06 A RU99111414/06 A RU 99111414/06A RU 99111414 A RU99111414 A RU 99111414A RU 2171908 C2 RU2171908 C2 RU 2171908C2
Authority
RU
Russia
Prior art keywords
return valve
pressure
main line
valve
make
Prior art date
Application number
RU99111414/06A
Other languages
English (en)
Other versions
RU99111414A (ru
Inventor
А.М. Абелян
Original Assignee
Военный автомобильный институт
Filing date
Publication date
Application filed by Военный автомобильный институт filed Critical Военный автомобильный институт
Publication of RU99111414A publication Critical patent/RU99111414A/ru
Application granted granted Critical
Publication of RU2171908C2 publication Critical patent/RU2171908C2/ru

Links

Images

Abstract

Изобретение относится к двигателестроению, а именно к системам подачи топлива в дизели. Техническим результатом является повышение эффективности впрыска топлива путем увеличения начального давления впрыска и уменьшения вредного объема в нагнетательной магистрали. Сущность изобретения заключается в том, что система подачи топлива содержит насос высокого давления, нагнетательный клапан, подпитывающую магистраль, дополнительный канал и невозвратный клапан с разгрузочным пояском. Насос связан с подпитывающей магистралью и соединен через нагнетательный клапан и трубопровод высокого давления с форсункой. Невозвратный клапан размещен в дополнительном канале, который одним концом связан с трубопроводом высокого давления, а другим концом - с подпитывающей магистралью. Дополнительный канал другим концом постоянно связан с подпитывающей магистралью и содержит дроссель, при этом дроссель выполнен в виде радиального и осевого отверстий в теле невозвратного клапана. 2 ил.

Description

Изобретение относится к двигателестроению, а точнее к конструкции топливоподающей аппаратуры дизелей.
Известна система подачи топлива в дизель /авторское свидетельство СССР N 842210, кл. F 02 М 55/00, 1978/, содержащая насос высокого давления, нагнетательный клапан, подпитывающую магистраль, дополнительный канал и невозвратный клапан, причем насос связан с подпитывающей магистралью и соединен через нагнетательный клапан и трубопровод высокого давления с форсункой, а невозвратный клапан размещен в дополнительном канале, который одним концом связан с трубопроводом высокого давления, а другим концом - с подпитывающей магистралью, причем дополнительный канал другим концом постоянно связан с подпитывающей магистралью и содержит дроссель.
В известном решении обеспечено повышение эффективности работы системы благодаря увеличению начального давления. Однако это решение позволяет увеличить начальное давление лишь до ограниченного значения. Это связано с тем, что создание начального давления происходит как при волнах разряжения в нагнетательном трубопроводе, так и при повышенных значениях импульсов отсечки в подпитывающей магистрали.
В последнем случае, возможно, суммирование импульсов давления отсечки и импульсов волн давления в нагнетательном трубопроводе. Сложение этих импульсов может привести к подъему иглы форсунки и подвпрыскиванию. Для устранения такого явления приходится снижать верхний предел возможного повышения начального давления. Это снижение достигается ограничением расхода топлива из подпитывающей магистрали в нагнетательный трубопровод с помощью дросселя. Но недостатком дросселя является то, что он уменьшает энергию импульса, открывающего невозвратный клапан, в том числе на режимах малых нагрузок и малых частот вращения. В результате чего на ряде таких режимов при данном дросселе прекращается открытие невозвратного клапана, а следовательно, и создание начального давления. Кроме того, известное решение требует применения дополнительного штуцера на нагнетательном трубопроводе для связи его с подпитывающей магистралью, как это делается, например, в системах с разветвленными трубопроводами. Однако такие решения приводят к увеличению объема нагнетательной магистрали, что снижает эффективность повышения начального давления.
Изобретение направлено на повышение эффективности двигателя и топливной аппаратуры путем увеличения начального давления, а также путем уменьшения нежелательного приращения объема нагнетательной магистрали.
Решение поставленной задачи достигается тем, что в теле невозвратного клапана выполнены осевое и радиальное отверстия.
Отличительным признаком от прототипа является то, что невозвратный клапан выполнен с разгрузочным пояском, в теле невозвратного клапана выполнены осевое и радиальное отверстия, выполняющие функцию дросселя, а дроссель - исключен из системы.
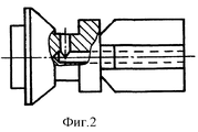
На фиг. 1 приведена схема варианта выполнения системы; на фиг. 2 - невозвратный клапан.
Система содержит насос высокого давления 1 с втулкой 2 и плунжером 3, нагнетательным клапаном 4 в седле 5, отсечным и всасывающим отверстием 6 во втулке 2, связанным с подпитывающим каналом 7 и через штуцер 8 - с подпитывающей магистралью 9. Штуцер 10 нагнетательного клапана 4 с помощью переходника 11 связан с конусным ниппелем 13 трубопровода 14 высокого давления накидной гайкой 15 и сухариками 16. Гайка 15 выполнена с отверстием большим, чем наружный диаметр ниппеля 13, что совместно с сухариками 16 позволяет вести монтаж элементов без демонтажа деталей основной системы топливоподачи. Трубопровод высокого давления связан с магистралью подачи альтернативного топлива посредством держателя 12. Держатель 12 выходит в окно 17 переходника 11 и имеет канал 18, выходящий в полость 19 над невозвратным клапаном 20. Невозвратный клапан 20 выполнен с разгрузочным пояском, в теле которого имеются осевое и радиальное отверстия. Невозвратный клапан 20 размещен в седле 21 и поджат проставкой 22 и штуцером 23 к держателю 12. Трубопровод 24 со штуцером 25 завершает дополнительный канал связи подпитывающей магистрали 9 с трубопроводом 14 высокого давления.
Система работает следующим образом. При отсечке подачи топлива и разгрузке трубопровода 14 высокого давления с помощью нагнетательного клапана 4 в трубопроводе 14 появляются волны давления и разряжения. Волна разряжения, подходя к невозвратному клапану 20, открывает его и топливо из дополнительного канала, включающего полость держателя 12, полость за невозвратным клапаном 20 и полость трубопровода 24, подсасывается в трубопровод 14. При этом в трубопроводе 14 растет давление, являющееся начальным для очередного цикла впрыскивания топлива. Открытие невозвратного клапана 20 также происходит благодаря наличию импульса давления отсечки в подпитывающей магистрали 9 (при отсечке в магистрали подпитки формируются интенсивные волны давления и разряжения). Такое выполнение позволяет снизить величину остаточного давления сразу после впрыскивания топлива, но в то же время повысить давление перед очередным впрыскиванием.
Подпитка нагнетательного трубопровода устраняет возможность появления паровых пробок, которые возникают при интенсивных волнах разряжения. Волны разряжения в магистрали подпитки приводят к появлению паровых пробок и нарушениям в работе двигателя, а волны давления заряжают трубопровод 14 даже при повышенном давлении в нем. Сложение импульсов давления в трубопроводе 14 и подпитывающей магистрали 9 может привести к подвпрыскиванию топлива. Благодаря наличию невозвратного клапана 20 при его открытии происходит демпфирование волн давления и разряжения в магистрали 9, что уменьшает вероятность появления паровых пробок в линии низкого давления. Еще сильнее волны демпфируются с помощью разгрузочного пояска, выполненного на запорном элементе невозвратного клапана 20. Причем осевое и радиальное отверстия в теле клапана, выполняющие функцию дросселя, позволяют снизить интенсивность наполнения трубопровода 14 на режимах высоких частот вращения и больших подач, тем самым уменьшая вероятность чрезмерного повышения начального давления, способного привести к подвпрыскиванию.
В то же время простое дросселирование импульсов отсечки снижает интенсивность открытия невозвратного клапана 20 на режимах малых частот вращения и малых подач топлива либо открытие вообще прекращается. Наличие разгрузочного пояска на невозвратном клапане 20 позволяет существенно сохранить импульс давления, открывающий невозвратный клапан 20. В результате на режимах малых подач и частот вращения невозвратный клапан 20 открывается достаточно интенсивно, заполнение трубопровода 14 происходит, т.е. начальное давление создается.
Таким образом, предложенное решение позволяет повысить эффективность работы дизеля благодаря повышению начального давления, повышению стабильности топливоподачи по циклам и равномерности по цилиндрам, что достигается, в частности, благодаря стабилизации условий наполнения надплунжерного пространства, особенно при работе на легких топливах.
Выполнение системы с держателем 12 также повышает эффективность работы вследствие минимального приращения объема полости нагнетательного трубопровода за счет дополнительных соединений. Увеличение объема нагнетательного трубопровода снижает эффективность применения метода повышения начального давления.

Claims (1)

  1. Система подачи топлива в дизель, содержащая насос высокого давления, нагнетательный клапан, подпитывающую магистраль, дополнительный канал и невозвратный клапан с разгрузочным пояском, причем насос связан с подпитывающей магистралью и соединен через нагнетательный клапан и трубопровод высокого давления с форсункой, а невозвратный клапан размещен в дополнительном канале, который одним концом связан с трубопроводом высокого давления, а другим концом - с подпитывающей магистралью, причем дополнительный канал другим концом постоянно связан с подпитывающей магистралью и содержит дроссель, отличающаяся тем, что дроссель выполнен в виде радиального и осевого отверстий в теле невозвратного клапана.
RU99111414/06A 1999-06-01 Система подачи топлива в дизель RU2171908C2 (ru)

Publications (2)

Publication Number Publication Date
RU99111414A RU99111414A (ru) 2001-04-10
RU2171908C2 true RU2171908C2 (ru) 2001-08-10

Family

ID=

Citations (3)

* Cited by examiner, † Cited by third party
Publication number Priority date Publication date Assignee Title
US3550617A (en) * 1968-09-30 1970-12-29 Caterpillar Tractor Co Relief valve with controlled stability and variable setting
SU1229412A1 (ru) * 1984-03-11 1986-05-07 Хабаровский политехнический институт Топливовпрыскивающий насос высокого давлени
DE3843819A1 (de) * 1988-09-09 1990-03-22 Bosch Gmbh Robert Druckventil

Patent Citations (3)

* Cited by examiner, † Cited by third party
Publication number Priority date Publication date Assignee Title
US3550617A (en) * 1968-09-30 1970-12-29 Caterpillar Tractor Co Relief valve with controlled stability and variable setting
SU1229412A1 (ru) * 1984-03-11 1986-05-07 Хабаровский политехнический институт Топливовпрыскивающий насос высокого давлени
DE3843819A1 (de) * 1988-09-09 1990-03-22 Bosch Gmbh Robert Druckventil

Similar Documents

Publication Publication Date Title
USRE43864E1 (en) Method and apparatus for attenuating fuel pump noise in a direct injection internal combustion chamber
JP4152493B2 (ja) 燃料システム
JP2506488B2 (ja) 燃料噴射ポンプ
US20140041635A1 (en) Fuel rail connector
EP2378109B1 (en) A fuel valve for large stroke diesel engines
RU2171908C2 (ru) Система подачи топлива в дизель
JPH0237166A (ja) 内燃機関用の噴射ポンプ
RU2132478C1 (ru) Система подачи топлива в дизель
RU2151903C1 (ru) Система подачи топлива в дизель
US11105305B2 (en) Fuel injector cup with flow restriction passage
CN105840373B (zh) 一种控制喷油“水击”压力波的装置
SU958684A2 (ru) Система подачи топлива в дизель
RU2151904C1 (ru) Система подачи топлива в дизель
RU2372516C2 (ru) Система подачи топлива в дизель
KR101713341B1 (ko) 내연기관의 연료 공급 장치의 흡입 밸브
CN104214026B (zh) 内燃机与用于在内燃机中构建和喷射wif的wif构建和喷射泵
CN214837362U (zh) 一种可定时开关节流花园泵
WO2000060242A1 (en) Electric-pulse pump-injector
KR102002232B1 (ko) 연료레일용 맥동 감쇄 구조
RU2841U1 (ru) Топливовпрыскивающая система двигателей внутреннего сгорания
RU2287077C1 (ru) Топливная система дизеля для работы на диметиловом эфире
KR19980045606U (ko) 디젤엔진의 연료 공급장치
KR20210117116A (ko) 고압 연료 분사 레일, 연료 공급 시스템 및 고압 물-연료-유제를 인젝터에 공급하는 방법
SU1413259A1 (ru) Система впрыска спиртового и запального дизельного топлива
RU93006288A (ru) Система подачи топлива для двигателя внутреннего сгорания