RU2139587C1 - Способ изготовления конденсатора с двойным электрическим слоем - Google Patents
Способ изготовления конденсатора с двойным электрическим слоем Download PDFInfo
- Publication number
- RU2139587C1 RU2139587C1 RU98107686/09A RU98107686A RU2139587C1 RU 2139587 C1 RU2139587 C1 RU 2139587C1 RU 98107686/09 A RU98107686/09 A RU 98107686/09A RU 98107686 A RU98107686 A RU 98107686A RU 2139587 C1 RU2139587 C1 RU 2139587C1
- Authority
- RU
- Russia
- Prior art keywords
- capacitor
- carbon material
- welding
- porous fibrous
- fibrous carbon
- Prior art date
Links
- 239000003990 capacitor Substances 0.000 title claims abstract description 19
- 238000004519 manufacturing process Methods 0.000 title claims abstract description 8
- 238000000034 method Methods 0.000 title abstract description 9
- 238000003466 welding Methods 0.000 claims abstract description 20
- 229910052751 metal Inorganic materials 0.000 claims abstract description 18
- 239000002184 metal Substances 0.000 claims abstract description 18
- 239000003575 carbonaceous material Substances 0.000 claims abstract description 17
- 229910052782 aluminium Inorganic materials 0.000 claims abstract description 12
- XAGFODPZIPBFFR-UHFFFAOYSA-N aluminium Chemical compound [Al] XAGFODPZIPBFFR-UHFFFAOYSA-N 0.000 claims abstract description 12
- 238000010438 heat treatment Methods 0.000 claims abstract description 5
- 230000006835 compression Effects 0.000 claims abstract description 4
- 238000007906 compression Methods 0.000 claims abstract description 4
- 238000007750 plasma spraying Methods 0.000 claims description 3
- 239000003245 coal Substances 0.000 claims description 2
- 239000000463 material Substances 0.000 claims description 2
- 238000004870 electrical engineering Methods 0.000 abstract description 2
- 230000000694 effects Effects 0.000 abstract 1
- 239000000126 substance Substances 0.000 abstract 1
- 239000010410 layer Substances 0.000 description 6
- 230000015572 biosynthetic process Effects 0.000 description 2
- 230000006378 damage Effects 0.000 description 2
- 229920000049 Carbon (fiber) Polymers 0.000 description 1
- 238000009835 boiling Methods 0.000 description 1
- 239000004917 carbon fiber Substances 0.000 description 1
- 150000001875 compounds Chemical class 0.000 description 1
- 238000001816 cooling Methods 0.000 description 1
- 230000032798 delamination Effects 0.000 description 1
- 230000006866 deterioration Effects 0.000 description 1
- 238000009792 diffusion process Methods 0.000 description 1
- 239000003792 electrolyte Substances 0.000 description 1
- 239000007789 gas Substances 0.000 description 1
- VNWKTOKETHGBQD-UHFFFAOYSA-N methane Chemical compound C VNWKTOKETHGBQD-UHFFFAOYSA-N 0.000 description 1
- 239000000843 powder Substances 0.000 description 1
- 238000003825 pressing Methods 0.000 description 1
- 238000005096 rolling process Methods 0.000 description 1
- 238000007789 sealing Methods 0.000 description 1
- 229910001220 stainless steel Inorganic materials 0.000 description 1
- 239000010935 stainless steel Substances 0.000 description 1
- 239000002344 surface layer Substances 0.000 description 1
Images
Landscapes
- Electric Double-Layer Capacitors Or The Like (AREA)
- Pressure Welding/Diffusion-Bonding (AREA)
- Fixed Capacitors And Capacitor Manufacturing Machines (AREA)
Abstract
Изобретение относится к электротехнике, в частности к конденсаторостроению, и может быть использовано для изготовления конденсаторов с двойным электрическим слоем (ДЭС). В способе изготовления конденсатора с ДЭС обеспечивается электрический контакт между пористым волокнистым угольным материалом и металлическим корпусом способом приварки пористого волокнистого угольного материала с напыленным плазменным методом слоем алюминия толщиной 200-250 мкм к металлическому корпусу, а также увеличение производительности процесса приварки. Приварка достигается путем нагревания пористого волокнистого угольного материала с напыленным слоем алюминия в соприкосновении с металлическим корпусом при механическом сжатии не менее 0,2 кг/см2 в вакууме при давлении в камере в диапазоне 10-3-10-1Па при температуре 670-690°С в течение 5-7 мин, что обеспечивает приварку угольного материала по всей площади соприкосновения в отличие от прототипа, повышение стабильности внутреннего сопротивления конденсатора с ДЭС и производительности процесса изготовления. Изобретение позволяет уменьшить внутреннее сопротивление конденсатора с ДЭС, повысить его стабильность и производительность процесса сварки. 3 ил. , 1 табл.
Description
Изобретение относится к электротехнике, в частности к конденсаторостроению и может быть использовано для изготовления конденсаторов с двойным электрическим слоем (ДЭС).
Известен способ изготовления конденсатора с ДЭС [1], в котором (фиг. 1) электроды из пористого волокнистого угольного материала или угольного порошка 1, пропитанные электролитом и разделенные ионопроводящим сепаратором 2, помещены в металлический корпус 3 и загерметизированы через прокладку 4. Электрический контакт между пористым волокнистым угольным материалом и металлическим корпусом обеспечивается механическим прижатием.
Недостатком данного способа является нестабильность электрического контакта между пористым волокнистым угольным материалом и металлическим корпусом вследствие чего наблюдается значительный разброс и увеличение внутреннего сопротивления конденсатора с ДЭС.
Известен способ обеспечения электрического контакта между пористым волокнистым угольным материалом 1 (фиг.2) и металлическим корпусом 3 конденсатора с ДЭС путем плазменного напыления алюминиевого слоя 2 толщиной 200-250 мкм на пористый волокнистый угольный материал с последующей приваркой его к металлическому корпусу методом контактной сварки [2].
Однако данный способ имеет недостаток, который связан с тем, что соединение обеспечивается только в месте сварки, а не по всей площади соприкосновения, что может привести к отслоению пористого волокнистого угольного материала из-за недостаточной прочности соединения при механических нагрузках на конденсатор с ДЭС и увеличению его внутреннего сопротивления при дальнейшей работе прибора вследствие ухудшения электрического контакта металл корпуса - напыленный алюминий. В месте сварки металл корпуса теряет пластичные свойства, что может также привести к разрушению корпуса в месте сварки при механических нагрузках, возникающих в процессе изготовления конденсатора (завальцовка при герметизации). Кроме того, из-за разброса контактного сопротивления в месте сварки возможно разрушение корпуса в момент сварки, что приводит к уменьшению технологического выхода годных изделий.
Целью изобретения является уменьшение внутреннего сопротивления конденсатора с ДЭС, повышения его стабильности и производительности процесса приварки.
Указанная цель достигается тем, что в способе изготовления конденсатора с двойным электрическим слоем, включающий плазменное напыление алюминиевого слоя толщиной 200-250 мкм на пористый волокнистый угольный материал с последующей приваркой напыленного пористого волокнистого угольного материала к металлическому корпусу конденсатора с двойным электрическим слоем, приварку осуществляют по всей площади соприкосновения напыленного пористого волокнистого угольного материала и металлического корпуса за счет нагревания напыленного пористого угольного волокнистого материала в соприкосновении с металлическим корпусом при механическом сжатии не менее 0,2 кг/см2 в вакууме при давлении в камере в диапазоне 10-3 - 10-1 Па при температуре 670-690oC в течение 5-7 мин.
Механическое сжатие предотвращает образование капли расплавленного алюминия на поверхности пористого волокнистого угольного материала.
При большем, чем 10-1 Па давлении и температуре в камере нагрева возможно взаимодействие алюминия с остаточными газами с образованием побочных соединений. При уменьшении давления более чем 10-3 Па возможно распыление алюминия.
Время приварки обеспечивает достаточную диффузию расплавленного алюминия в поверхностный слой металлического корпуса. При увеличении времени возможно выкипание алюминия.
Предлагаемая по настоящему способу приварка осуществлялась в конденсаторах с ДЭС К58-3.
Пример.
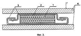
Электроды 1 конденсаторов с ДЭС с напыленным алюминиевым слоем 2 толщиной 200-250 мкм вкладывались в корпус 3 из нержавеющей стали, который помещался между двумя металлическими плитами 4 (фиг. 3). Плиты сжимались с таким усилием F, чтобы на каждый электрод приходилось не менее 0,2 кг/см2, и помещались в камеру вакуумной печи PZ-810 фирмы "Тесла". Далее производился нагрев корпусов с электродами при давлении в камере не более 10-1 Па до температуры 680oC и выдержка при данной температуре в течение 5 мин, после чего нагрев отключался и происходило остывание в вакууме.
Была изготовлена партия конденсаторов с ДЭС типа К58-3 с приваркой электродов методом контактной сварки и по предлагаемому способу.
Claims (1)
- Способ изготовления конденсатора с двойным электрическим слоем, включающий плазменное напыление алюминиевого слоя толщиной 200 - 250 мкм на пористый волокнистый угольный материал с последующей приваркой напыленного пористого волокнистого угольного материала к металлическому корпусу конденсатора с двойным электрическим слоем, отличающийся тем, что приварку осуществляют по всей площади соприкосновения напыленного пористого волокнистого угольного материала и металлического корпуса за счет нагревания напыленного пористого волокнистого угольного материала в соприкосновении с металлическим корпусом при механическом сжатии не менее 0,2 кг/см2 в вакууме, при давлении в камере в диапазоне 10-3 - 10-1 Па, при температуре 670 - 690oC в течение 5 - 7 мин.
Priority Applications (1)
| Application Number | Priority Date | Filing Date | Title |
|---|---|---|---|
| RU98107686/09A RU2139587C1 (ru) | 1998-04-17 | 1998-04-17 | Способ изготовления конденсатора с двойным электрическим слоем |
Applications Claiming Priority (1)
| Application Number | Priority Date | Filing Date | Title |
|---|---|---|---|
| RU98107686/09A RU2139587C1 (ru) | 1998-04-17 | 1998-04-17 | Способ изготовления конденсатора с двойным электрическим слоем |
Publications (1)
| Publication Number | Publication Date |
|---|---|
| RU2139587C1 true RU2139587C1 (ru) | 1999-10-10 |
Family
ID=20205161
Family Applications (1)
| Application Number | Title | Priority Date | Filing Date |
|---|---|---|---|
| RU98107686/09A RU2139587C1 (ru) | 1998-04-17 | 1998-04-17 | Способ изготовления конденсатора с двойным электрическим слоем |
Country Status (1)
| Country | Link |
|---|---|
| RU (1) | RU2139587C1 (ru) |
Citations (5)
| Publication number | Priority date | Publication date | Assignee | Title |
|---|---|---|---|---|
| WO1984000246A1 (en) * | 1982-06-30 | 1984-01-19 | Matsushita Electric Industrial Co Ltd | Double electric layer capacitor |
| WO1986000750A1 (en) * | 1984-07-17 | 1986-01-30 | Matsushita Electric Industrial Co., Ltd. | Polarizable electrode and production method thereof |
| WO1986003884A1 (fr) * | 1984-12-25 | 1986-07-03 | Matsushita Electric Industrial Co., Ltd. | Condensateur electrique a double couche |
| RU2041517C1 (ru) * | 1993-02-23 | 1995-08-09 | Многопрофильное научно-техническое производственно-коммерческое общество с ограниченной ответственностью "Эконд" | Конденсатор с двойным электрическим слоем |
| RU95101090A (ru) * | 1995-01-26 | 1997-05-27 | Акционерное общество открытого типа "Завод МЕЗОН" | Способ изготовления ионистора |
-
1998
- 1998-04-17 RU RU98107686/09A patent/RU2139587C1/ru not_active IP Right Cessation
Patent Citations (5)
| Publication number | Priority date | Publication date | Assignee | Title |
|---|---|---|---|---|
| WO1984000246A1 (en) * | 1982-06-30 | 1984-01-19 | Matsushita Electric Industrial Co Ltd | Double electric layer capacitor |
| WO1986000750A1 (en) * | 1984-07-17 | 1986-01-30 | Matsushita Electric Industrial Co., Ltd. | Polarizable electrode and production method thereof |
| WO1986003884A1 (fr) * | 1984-12-25 | 1986-07-03 | Matsushita Electric Industrial Co., Ltd. | Condensateur electrique a double couche |
| RU2041517C1 (ru) * | 1993-02-23 | 1995-08-09 | Многопрофильное научно-техническое производственно-коммерческое общество с ограниченной ответственностью "Эконд" | Конденсатор с двойным электрическим слоем |
| RU95101090A (ru) * | 1995-01-26 | 1997-05-27 | Акционерное общество открытого типа "Завод МЕЗОН" | Способ изготовления ионистора |
Similar Documents
| Publication | Publication Date | Title |
|---|---|---|
| US4619753A (en) | Bipolar plate for an apparatus with a stacked configuration, said apparatus comprised of a plurality of electrochemical cells with solid electrolyte; and method of manufacturing said plate | |
| WO2001013388A9 (en) | Multi-electrode double layer capacitor having hermetic electrolyte seal | |
| WO2003021697A3 (de) | Elektrischer separator, verfahren zu dessen herstellung und verwendung | |
| CN1322157A (zh) | 粉末冶金用的低氧难熔金属粉末 | |
| JPS59214218A (ja) | 電解コンデンサ−用バルブメタル陽極の製造方法 | |
| EP0984471A3 (en) | Electric double layer capacitor and method for producing the same | |
| KR101305792B1 (ko) | 금속 분말을 열 처리하는 방법 및 이 방법으로 제조된 제품 | |
| RU2139587C1 (ru) | Способ изготовления конденсатора с двойным электрическим слоем | |
| CN102825378A (zh) | 金属陶瓷复合板的制造方法及电路板的制备方法 | |
| JPS62227097A (ja) | チタン電極 | |
| ES2050737T3 (es) | Electrodo compuesto de metal valvula/platino. | |
| WO2002043905A3 (en) | A method and apparatus for the production of metal powder granules by electric discharge | |
| SG163437A1 (en) | Production method of metal product, metal product, connection method of metal component and connection structure | |
| US2322613A (en) | Apparatus for deposition of metals by thermal evaporation in vacuum | |
| CN113594541A (zh) | 一种等离子体磁过滤技术制备lagp基固体电解质的方法 | |
| US2865083A (en) | Method of clearing electrical capacitors | |
| EP1167299A4 (en) | DEVICE AND METHOD FOR HYDROTHERMIC ELECTROLYSIS | |
| JP4515040B2 (ja) | 炭素体を黒鉛化するためのシステム | |
| US4562094A (en) | Method of manufacturing porous carbon structures | |
| RU2076369C1 (ru) | Способ изготовления ионистора | |
| WO2005101972A3 (en) | Integral separator for electrolytic capacitors | |
| JPS56130466A (en) | Film forming method | |
| CN115301948B (zh) | 一种避免产品粘连的热等静压方法 | |
| SU1680445A1 (ru) | Способ изготовлени металлокерамических фрикционных изделий | |
| KR102793804B1 (ko) | 고신뢰성의 전해동박, 그것을 포함하는 전극, 그것을 포함하는 이차전지, 및 그것의 제조방법 |
Legal Events
| Date | Code | Title | Description |
|---|---|---|---|
| MM4A | The patent is invalid due to non-payment of fees |
Effective date: 20060418 |