RU2080503C1 - Уплотнение вала - Google Patents
Уплотнение вала Download PDFInfo
- Publication number
- RU2080503C1 RU2080503C1 RU95114134A RU95114134A RU2080503C1 RU 2080503 C1 RU2080503 C1 RU 2080503C1 RU 95114134 A RU95114134 A RU 95114134A RU 95114134 A RU95114134 A RU 95114134A RU 2080503 C1 RU2080503 C1 RU 2080503C1
- Authority
- RU
- Russia
- Prior art keywords
- pressure
- grooves
- axially movable
- ring
- seal
- Prior art date
Links
- 238000007789 sealing Methods 0.000 claims abstract description 88
- 239000003381 stabilizer Substances 0.000 claims abstract description 27
- 230000006835 compression Effects 0.000 claims description 5
- 238000007906 compression Methods 0.000 claims description 5
- 230000002093 peripheral effect Effects 0.000 claims description 3
- 230000013011 mating Effects 0.000 abstract description 6
- 238000005192 partition Methods 0.000 abstract description 3
- 230000000694 effects Effects 0.000 abstract description 2
- 238000012856 packing Methods 0.000 abstract 2
- 238000005553 drilling Methods 0.000 abstract 1
- 239000000126 substance Substances 0.000 abstract 1
- 238000001816 cooling Methods 0.000 description 4
- 238000009826 distribution Methods 0.000 description 4
- 230000002441 reversible effect Effects 0.000 description 4
- 230000007423 decrease Effects 0.000 description 2
- 238000010586 diagram Methods 0.000 description 2
- 238000009434 installation Methods 0.000 description 2
- 239000000463 material Substances 0.000 description 2
- 238000000034 method Methods 0.000 description 2
- OKTJSMMVPCPJKN-UHFFFAOYSA-N Carbon Chemical compound [C] OKTJSMMVPCPJKN-UHFFFAOYSA-N 0.000 description 1
- 229910052581 Si3N4 Inorganic materials 0.000 description 1
- 229910045601 alloy Inorganic materials 0.000 description 1
- 239000000956 alloy Substances 0.000 description 1
- 238000005452 bending Methods 0.000 description 1
- 230000015572 biosynthetic process Effects 0.000 description 1
- 239000012141 concentrate Substances 0.000 description 1
- 238000013016 damping Methods 0.000 description 1
- 229910002804 graphite Inorganic materials 0.000 description 1
- 239000010439 graphite Substances 0.000 description 1
- 238000000227 grinding Methods 0.000 description 1
- 230000017525 heat dissipation Effects 0.000 description 1
- 230000002706 hydrostatic effect Effects 0.000 description 1
- 230000007774 longterm Effects 0.000 description 1
- 238000004519 manufacturing process Methods 0.000 description 1
- 238000005555 metalworking Methods 0.000 description 1
- 238000003801 milling Methods 0.000 description 1
- 230000000737 periodic effect Effects 0.000 description 1
- 238000004321 preservation Methods 0.000 description 1
- HBMJWWWQQXIZIP-UHFFFAOYSA-N silicon carbide Chemical compound [Si+]#[C-] HBMJWWWQQXIZIP-UHFFFAOYSA-N 0.000 description 1
- 229910010271 silicon carbide Inorganic materials 0.000 description 1
- HQVNEWCFYHHQES-UHFFFAOYSA-N silicon nitride Chemical compound N12[Si]34N5[Si]62N3[Si]51N64 HQVNEWCFYHHQES-UHFFFAOYSA-N 0.000 description 1
- 238000000992 sputter etching Methods 0.000 description 1
- 238000004227 thermal cracking Methods 0.000 description 1
- UONOETXJSWQNOL-UHFFFAOYSA-N tungsten carbide Chemical compound [W+]#[C-] UONOETXJSWQNOL-UHFFFAOYSA-N 0.000 description 1
Images
Landscapes
- Sealing Devices (AREA)
Abstract
Использование: предназначено для уплотнения вращающихся валов турбомашин. Сущность изобретения: уплотнение содержит установленные в корпусе аксиально-подвижное кольцо с нажимной пружиной и вторичным уплотнением и на валу вращающееся кольцо с уплотнительной перегородкой и спиральными канавками. Аксиально-подвижное кольцо снабжено фасками, а ответная поверхность вращающегося кольца снабжена концентраторами и/или стабилизаторами давления в виде выступов в спиральных канавках, или в виде углублений на уплотнительной перегородке, или в виде наклонных каналов, соединяющих спиральные канавки с полостью низкого давления, связанных между собой одной или двумя кольцевыми канавками в виде совмещенных с основными канавками дополнительных спиральных канавок, расположенных под равным углом с направлением основных канавок, но направленных в противоположную сторону. Донные части основных и дополнительных канавок выполнены с наложением друг на друга. Концентраторы давления выполнены в виде наклонных каналов, входная часть которых расположена со стороны полости низкого давления. Аксиально-подвижное кольцо снабжено центрирующим пояском в виде цилиндрического выступа на кольце с наружной центрирующей поверхностью в виде части сферы, снабженного пазами в виде части цилиндра, а в корпусе установлены штифты, для которых меньше диаметра образующих пазов. Кольцевая проточка в корпусе под вторичное уплотнение аксиально-подвижного кольца выполнена конической или по сфере. 12 з.п. ф-лы, 17 ил.
Description
Изобретение относится к уплотнительной технике и может быть использовано в турбокомпрессорах различного назначения для уплотнения вращающихся валов.
В известных конструкциях уплотнений вращающихся валов [1, 2] уплотнение вала содержит установленное герметично в корпусе и разделяющее полости высокого и низкого давления аксиально-подвижное уплотнительное кольцо с нажимной пружиной и вторичным уплотнением, размещенным в кольцевой проточке корпуса, и закрепленное на валу вращающееся уплотнительное кольцо, на торцовой поверхности которого выполнены уплотнительная перегородка и расположенные на периферии против направления вращения спиральные канавки. Однако такие конструкции уплотнений вала имеют низкую надежность, поскольку обеспечивают лишь однонаправленное вращение вала, не обеспечивают хорошую ремонтопригодность и высокую долговечность трущейся пары, не позволяют осуществить эффективное охлаждение контактных поверхностей, то есть общая надежность конструкции уплотнения очень низкая.
Наиболее близким к заявляемому изобретению по технической сущности и достигаемому положительному технико-экономическому эффекту является конструкция уплотнения вала принятая в качестве прототипа, содержащая установленное герметично в корпусе и разделяющее полости высокого и низкого давления аксиально-подвижное уплотнительное кольцо с нажимной пружиной и вторичным уплотнением, размещенным в кольцевой проточке корпуса, и закрепленное на валу вращающееся уплотнительное кольцо, на торцовой поверхности которого выполнены уплотнительная перегородка и расположенные на периферии против направления вращения спиральные канавки [3] Однако такая конструкция уплотнения вала имеет низкую надежность, т.к. не позволяют осуществлять реверсивное направление вращения вала, не обеспечивают хорошее охлаждение сопрягаемых уплотнительных поверхностей аксиально-подвижного и вращающегося уплотнительных колец.
Целью изобретения является повышение надежности работы уплотнения вала при длительной эксплуатации и оптимизации его характеристик путем оптимизации распределения давления в уплотнительном зазоре за счет выбора оптимальной формы спиральных канавок, реализации возможности реверсивного вращения вала, снижения термонагруженности колец трущейся пары.
Это достигается тем, что уплотнение вала содержит установленные герметично в корпусе и разделяющее полости высокого и низкого давления аксиально-подвижное уплотнительное кольцо с нажимной пружиной и вторичным уплотнением, размещенным в кольцевой проточке корпуса, и закрепленное на валу вращающееся уплотнительное кольцо, на торцовой поверхности которого выполнены уплотнительная перегородка и расположенные на периферии против направления вращения спиральные канавки, согласно изобретению торцовая поверхность аксиально-подвижного уплотнительного кольца выполнена по крайней мере с фасками на одной из ограничивающих цилиндрических поверхностей, а ответная торцовая поверхность вращающегося уплотнительного кольца дополнительно снабжена концентраторами и/или стабилизаторами давления, при этом концентраторы давления могут быть выполнены в виде выступов, размещенных в спиральных канавках, выпуклой стороной обращенных к противоположной (задней) стороне канавок. Стабилизаторы давления, кроме того, могут быть выполнены в виде углублений, расположенный на уплотнительной перегородке вдоль продольных образующих задних стенок спиральных канавок, или стабилизаторы давления могут быть выполнены в виде наклонных проточных каналов, соединяющих донные части спиральных канавок с полостью низкого давления. Наклонные проточные каналы могут быть также связаны между собой кольцевой уравнительной канавкой. Стабилизаторы давления могут быть также выполнены в виде по крайней мере двух уравнительных канавок, связанных между собой и донными частями спиральных канавок радиальными перепускными каналами. стабилизаторы и концентраторы давления могут быть также выполнены в виде совмещенных с основными спиральными канавками дополнительны спиральных канавок, расположенных на торцовой поверхности вращающегося уплотнительного кольца под равным углом с направлением основных спиральных канавок, но направленных в противоположную сторону, причем наружные и донные части основных и дополнительных канавок выполнены с наложением друг на друга. Концентраторы давления также могут быть выполнены в виде наклонных каналов, входная часть которых расположена со стороны внутренней уплотнительной поверхности вращающегося уплотнительного кольца или полости низкого давления. Аксиально-подвижное уплотнительное кольцо снабжено, кроме того, дополнительным центрирующим пояском, выполненным в виде цилиндрического выступа на наружной периферийной поверхности аксиально-подвижного уплотнительного кольца. При этом наружная центрирующая поверхность цилиндрического выступа может быть выполнена в виде части сферы. Цилиндрические выступы, кроме того, могут быть снабжены пазами в виде части цилиндра, а в корпусе установлены штифты, диаметр которых меньше диаметра образующих пазов. Кольцевая проточка в корпусе под вторичное уплотнение аксиально-подвижного уплотнительного кольца может быть выполнена конической или по сфере.
Таким образом, предлагаемая конструкция уплотнения вала обладает следующими существенными отличительными признаками.
Торцовая поверхность аксиально-подвижного кольца выполнена по крайней мере на одной из ограничивающих цилиндрических поверхностей с фасками, что позволяет обеспечить сохранение постоянного уплотнительного зазора по всей части радиуса вне зависимости от того, какая форма уплотнительного зазора ожидается (конфузорная или диффузорная). Это объясняется тем, что конфигурация уплотнительного элемента при нормальных условиях работы (без перекосов) обеспечивает отсутствие осесимметричных деформаций на рабочем режиме. То есть момент относительно центра сечения Со равен нулю, однако в процессе эксплуатации в результате износа или периодической притирки торцовой уплотнительной поверхности осевой размер уплотнительного элемента уменьшается на величину S. При этом центр сечения смещается в точку С1, относительно которой возникает момент М1 (его составляющие F1 и F2), приводящий к осесимметричной деформации уплотнительного элемента, перекосу, образованию конфузорного (фиг. 3, 4), уплотняющего зазора, что, в свою очередь, приводит к интенсивному износу уплотняющего элемента. Выполнение фаски изменяет эпюру давления в зазоре и таким образом обеспечивает появление момента М2, смещенного относительно центра сечения С1, противоположного и равного М1. Равенство противоположно направленных моментов обеспечивает их уравновешивание, и в результате торцовые уравнительные поверхности остаются параллельными между собой, устраняются перекосы и исключается износ, при этом необходимая величина фаски определяется расчетным путем. В результате происходит увеличение надежности из-за сохранения параллельности сопрягаемых поверхностей в зазоре и отсутствия контакта поверхностей за счет автоматического уравновешивания изгибающих моментов, возникающих в процессе эксплуатации из-за износа уплотнительных колец.
Ответная торцовая поверхность вращающегося уплотнительного кольца дополнительно снабжена концентраторами и/или стабилизаторами давления, что позволяет усилить демпфирующую роль уплотнительного зазора за счет повышения жесткости газового слоя и позволяет осуществить самоустановку вращающегося уплотнительного кольца в процессе эксплуатации и повысить надежность работы уплотнения при возможных скачках уплотняемого давления и вибрациях вала за счет повышения несущей способности газового слоя.
Концентраторы давления выполнены в виде выступов, размещенных в спиральных канавках, выпуклой стороной обращенных к противоположной (задней) стороне канавок, что позволяет сконцентрировать нагнетаемый спиральными канавками газовой поток в узкой части окончания канавок и повысить, тем самым, генерируемое давление.
Стабилизаторы давления выполнены в виде углублений, расположенных на уплотнительной перегородке вдоль продольной образующей задней стенки канавок, что позволяет развить зону давления на область уплотнительной перегородки, улучшить условия перетекания газа и охлаждение сопрягаемых поверхностей. При этом повышается надежность работы уплотнения за счет некоторого увеличения протока компримируемого газа и, соответственно, улучшения отвода тепла от уплотнительных колец и предотвращения, тем самым, терморастрескивания и термодеформаций колец.
Стабилизаторы давления выполнены в виде проточных каналов, соединяющих полость наклонных каналов с полостью низкого давления, что позволяет за счет небольшого перетекания газа улучшить условия охлаждения сопрягаемых поверхностей.
Проточные каналы связаны между собой кольцевой уравнительной канавкой, что позволяет сконцентрировать поток газа высокого давления в радиально-кольцевой зоне расчетного диаметра и повысить надежность работы уплотнения за счет создания сплошной зоны давления, имеющего стабильную величину, независимо от угла расположения канавок.
Стабилизаторы давления выполнены в виде по крайней мере двух уравнительных каналов, связанных между собой радиальными перепускными каналами и донной поверхностью спиральных канавок, что позволяет расширить зону концентрации давления.
Стабилизаторы и концентраторы давления выполнены в виде совмещенных с основными спиральными канавками дополнительных спиральных канавок, расположенных на торцовой поверхности вращающегося уплотнительного кольца под равными углами с направлением основных спиральных канавок, но направленными в противоположную сторону, причем наружные и донные части основных и дополнительных спиральных канавок выполнены с наложением друг на друга, что позволяет обеспечить работоспособность уплотнения независимо от направления вращения вала (реверсивное вращение) и увеличение надежности за счет исключения повреждений уплотнительных колец при возможном противовращении вала, а также исключение ошибок при неправильной сборке (ремонте) уплотнений, т.к. вращающиеся уплотнительные кольца могут быть установлены как на правый, так и на левый конец вала независимо от направления вращения.
Концентраторы давления выполнены в виде наклонных каналов, входная часть которых расположена со стороны внутренней уплотнительной поверхности вращающегося уплотнительного кольца или полости низкого давления, что позволяет с помощью создания противоположно направленных генерируемых потоков газа повысить жесткость газового слоя и уменьшить протечку газа в сторону зоны низкого давления и обеспечить оптимизацию расходных характеристик уплотнения.
Уплотнение снабжено дополнительным центрирующим пояском, выполненным в виде цилиндрического выступа на наружной поверхности аксиально-подвижного кольца, что позволяет ограничить радиальное перемещение кольца в пределах расчетных значений и обеспечить осевую концентричность расположения аксиально-подвижного и вращающегося уплотнительных колец, необходимую для стабилизации распределения давления в угловых сечениях.
Центрирующая поверхность выполнена в виде части сферы, что позволяет аксиально-подвижному кольцу свободно совершать угловые перемещения относительно центра его поперечного сечения и, тем самым, повысить надежность данного конструктивного решения за счет устранения возможности закусывания по центрирующим поверхностям.
Цилиндрические выступы снабжены пазами в виде части цилиндра, а в корпусе установлены штифты, диаметр которых меньше диаметра образующих пазов, что позволяет ограничить радиальные перемещения и вращательное движение кольца относительно центральной оси вращения вала, при этом повышается надежность работы уплотнения за счет уменьшения ударных нагрузок на детали уплотнения в начале вращения вала при запуске машины или резком изменении скорости вращения, а также за счет дополнительного центрирования колец относительно друг друга.
Кольцевая проточка в корпусе под вторичное уплотнение аксиально-подвижного уплотнительного кольца выполнена конической, что позволяет уменьшить протечку уплотняемой среды.
Кольцевая проточка в корпусе под вторичное уплотнение аксиально-подвижного уплотнительного кольца выполнена по сфере, что позволяет уменьшить протечки перекачиваемого газа.
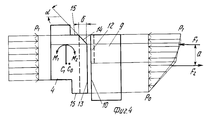
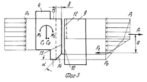
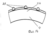
Сущность изобретения поясняется чертежами, где на фиг. 1 представлен продольный разрез уплотнения; на фиг. 2 разрез А-А на фиг. 1; на фиг. 3 - эпюра распределения сил в уплотнительном зазоре при выполнении фаски на внутреннем диаметре уплотнительного элемента; на фиг. 4 эпюра распределения сил в уплотнительном зазоре при выполнении фаски на наружном диаметре уплотнительного элемента; на фиг. 5 конструкция уплотнения со стабилизаторами давления в виде углублений, размещенных на уплотнительной перегородке; на фиг. 6 то же, что и на фиг. 5 (вариант исполнения); на фиг. 7 конструкция уплотнения со стабилизаторами давления в виде наклонных проточных каналов; на фиг. 8 конструкция уплотнения со стабилизаторами давления, связанными между собой кольцевой уравнительной канавкой; на фиг. 9 - конструкция уплотнения со стабилизаторами давления в виде двух уравнительных канавок; на фиг. 10 конструкция уплотнения с реверсивными парами стабилизаторов и концентраторов давления; на фиг. 11 конструкция уплотнения со стабилизаторами давления в виде наклонных каналов, входной частью связанных с полостью низкого давления; на фиг. 12 аксиально-подвижное кольцо с дополнительной центрирующей поверхностью; на фиг. 13 аксиально-подвижное кольцо с дополнительной центрирующей поверхностью в виде части сферы; на фиг. 14 узел стопорения аксиально-подвижного уплотнительного кольца; на фиг. 15 - сечение Б-Б на фиг. 14; на фиг. 16 узел установки вторичного уплотнения со стороны аксиально-подвижного кольца; на фиг. 17 то же, что и на фиг. 16 (вариант исполнения).
Уплотнение вала содержит установленное герметично в корпусе 1 и разделяющее полости высокого 2 и низкого 3 давления аксиально-подвижное уплотнительное кольцо 4 с нажимной пружиной 5 и вторичным уплотнением 6, размещенным в кольцевой проточке 7 корпуса 1 и закрепленное на валу 8 вращающееся уплотнительное кольцо 9, на торцовой поверхности 10 которого выполнены уплотнительная перегородка 11 и расположенные на периферии против направления вращения вала 8 спиральные канавки 12, при этом торцовая поверхность 13 аксиально-подвижного уплотнительного кольца 4 выполнена по крайней мере с фасками 14 на одной из ограничивающих цилиндрических поверхностей 15, а ответная торцовая поверхность 10 вращающегося уплотнительного кольца 9 дополнительно снабжена концентраторами 16 и/или стабилизаторами 17 давления. Концентраторы давления 16 могут быть выполнены в виде выступов 18 размещенных в спиральных канавках 12, выпуклой стороной обращенных к задней стенке канавки 12. Стабилизаторы давления 17 могут быть выполнены в виде углублений 19, расположенных на уплотнительной перегородке 11 вдоль продольных образующих задних стенок спиральных канавок 12.
Кроме того, стабилизаторы давления 17 могут быть выполнены в виде наклонных проточных каналов 20, соединяющих донные части спиральных канавок 12 с полостью низкого давления 3, при этом наклонные проточные каналы 20 могут быть связаны между собой кольцевой уравнительной канавкой 21. Стабилизаторы давления 17 могут быть также выполнены в виде по крайней мере двух уравнительных канавок 21, связанных между собой и с донными частями спиральных канавок 12 радиальными перепускными каналами 22. Стабилизаторы 17 и концентраторы 16 давления могут быть также выполнены в виде совмещенных с основными спиральными канавками 12 дополнительных спиральных канавок 23, расположенных на торцовой поверхности 10 вращающегося уплотнительного кольца 9 под равным углом с направлением основных спиральных канавок 12, но направленных в противоположную сторону, причем наружные и донные части основных 12 и дополнительных 23 канавок выполнены с наложением друг на друга.
Концентраторы давления 16 могут быть выполнены в виде наклонных каналов 24, входная часть которых расположена со стороны внутренней уплотнительной поверхности вращающегося уплотнительного кольца 9 или полости 3 низкого давления. Аксиально-подвижное уплотнительное кольцо 4 может быть снабжено дополнительным центрирующим пояском 25, выполненным в виде цилиндрического выступа 26 на наружной периферийной поверхности аксиально-подвижного кольца 4. Наружная центрирующая поверхность 27 цилиндрического выступа 26 может быть выполнена в виде части сферы. Цилиндрический выступ 26 может быть снабжены пазами 28 в виде части цилиндра, а в корпусе 1 могут быть установлены штифты 29, диаметр которых меньше диаметра образующих пазов 28. Кольцевая проточка 30 в корпусе 1 под вторичное уплотнение 6 аксиально-подвижного уплотнительного кольца 4 может быть выполнена конической. Кольцевая проточка 30 в корпусе 1 под вторичное уплотнение 6 аксиально-подвижного уплотнительного кольца 4 может также быть выполнена по сфере.
Уплотнение вала работает следующим образом.
При работе турбомашины, например центробежного компрессора высокого давления, перекачиваемый газ, находящийся в полости 2 высокого давления, поступает в спиральные канавки 12, выполненные на торцовой поверхности 10 вращающегося уплотнительного кольца 9. При вращении вала 8 спиральные канавки 12 воздействуют на газовую среду и повышают ее давление, что приводит к созданию уплотнительного слоя газовой среды с большей плотностью, чем ее параметры в полости 3 корпуса 1 под уплотнительными кольцами 4 и 9. Кроме того, компримируемый газ при движении к центру встречает сопротивление донной части спиральные канавок 12, вернее сопротивление уплотнительной перегородки 11. Указанные силовые факторы позволяют установить и поддерживать стабильную величину торцового уплотнительного зазора порядка 3 мкм или близкую к ней на основе равенства гидростатических сил, действующих на наружные поверхности уплотнительных колец 4 и 9, усилия от нажимной пружины 5 и гидродинамической уравновешивающей силы, возникающей за счет воздействия спиральных канавок 12 на газовую среду. Газовая среда при этом разделяет между собой уплотнительные поверхности 10 и 13 колец 4 и 9 и при минимальной утечке исключает их контакт между собой. При изменении режимов эксплуатации возможно изменение величины уплотнительного зазора в сторону его уменьшения или увеличения. В этом случае соответственно изменяются силы в уплотнительное слоем газовой среды. В обоих случаях результатирующая сил остается постоянной или близкой к ней и, таким образом, независимо от условий эксплуатации равновесие сил быстро восстанавливается, восстанавливая тем самым расчетную величину уплотнительного зазора. То есть сравнительно небольшое изменение уплотнительного зазора приводит к появлению значительных неуравновешенных сил, стремящихся вернуть аксиально-подвижное кольцо 4 в первоначальное положение и восстановить первоначальную величину уплотнительного зазора. При этом уплотнение становится нечувствительным к колебаниям давления и другим механическим воздействиям, таким как осевое перемещение, поскольку между уплотнительными кольцами 4 и 5 нет прямого контакта.
Уплотнение обладает самоцентрирующей способностью, так как при условии отклонения уплотнительного кольца 4 относительно вращающегося кольца 9 на кольцо 4 действует крутящий момент, восстанавливающий параллельность ответных поверхностей 10 и 13 уплотнительных колец 4 и 9.
В предпочтительном варианте вращающееся уплотнительное кольцо 9 изготовляется из твердых сплавов, например из карбида вольфрама или металлокерамики, т.е. из материала с минимальными деформациями в процессе работы. Аксиально-подвижное кольцо 4 изготовляется из материалов менее стойких, например из силицированного графита. Возможен вариант изготовления пары уплотнительных колец 4 и 9, одно из которых выполнено из карбида кремния, а второе из нитрида кремния.
Выполнение спиральных канавок 12 на торцовой поверхности 10 вращающегося уплотнительного кольца 9 может быть осуществлено несколькими способами, например ионным травлением с использованием масок, наносимых на торцовую поверхность 10 вращающегося уплотнительного кольца 9, лазерной обработкой поверхности 10, или спиральные канавки 12 могут быть выполнены механическим путем, например, с использованием традиционных методов металлообработки, в частности фрезерования.
Claims (13)
1. Уплотнение вала, содержащее установленное герметично в корпусе и разделяющее между собой полости высокого и низкого давления аксиально-подвижное уплотнительное кольцо с нажимной пружиной и вторичным уплотнением, размещенным в кольцевой проточке корпуса, и закрепленное на валу вращающееся уплотнительное кольцо, на торцовой поверхности которого выполнена уплотнительная перегородка и расположенные на периферии против направления вращения спиральные канавки, отличающееся тем, что торцовая поверхность аксиально-подвижного уплотнительного кольца выполнена по меньшей мере с фасками на одной из ограничивающих цилиндрических поверхностей, а ответная торцовая поверхность вращающегося уплотнительного кольца дополнительно снабжена концентраторами и/или стабилизаторами давления.
2. Уплотнение по п. 1, отличающееся том, что концентраторы давления выполнены в виде выступов, размещенных в спиральных канавках, выпуклой стороной обращенных к противоположной стороне канавки.
3. Уплотнение по пп. 1 и 2, отличающееся тем, что стабилизаторы давления выполнены в виде углублений, расположенных на уплотнительной перегородке вдоль продольных образующих задних стенок спиральных канавок.
4. Уплотнение по пп. 1 и 2, отличающееся тем, что стабилизаторы давления выполнены в виде наклонных проточных каналов, соединяющих донные части спиральных канавок с полостью низкого давления.
5. Уплотнение по пп. 1, 2 и 4, отличающееся тем, что наклонные проточные каналы связаны между собой кольцевой уравнительной канавкой.
6. Уплотнение по пп. 1 и 2, отличающееся тем, что стабилизаторы давления выполнены в виде по меньшей мере двух уравнительных канавок, связанных между собой и донными частями спиральных канавок радиальными перепускными каналами.
7. Уплотнение по п. 1, отличающееся тем, что стабилизаторы и концентраторы давления выполнены в виде совмещенных с основными спиральными канавками дополнительных спиральных канавок, расположенных на торцовой поверхности вращающегося уплотнительного кольца под равным углом с направлением основных спиральных канавок, но направленных в противоположную сторону, причем наружные и донные части основных и дополнительных канавок выполнены с наложением друг на друга.
8. Уплотнение по пп. 1, 3 7, отличающееся тем, что концентраторы давления выполнены в виде наклонных каналов, входная часть которых расположена со стороны внутренней уплотнительной поверхности вращающегося уплотнительного кольца или полости низкого давления.
9. Уплотнение по пп. 1 8, отличающееся тем, что аксиально подвижное уплотнительное кольцо снабжено дополнительным центрирующим пояском, выполненным в виде цилиндрического выступа на наружной периферийной поверхности аксиально-подвижного кольца.
10. Уплотнение по п. 9, отличающееся тем, что наружная центрирующая поверхность цилиндрического выступа выполнена в виде части сферы.
11. Уплотнение по пп. 9 и 10, отличающееся тем, что цилиндрические выступы выполнены с пазами в виде части цилиндра, а в корпусе установлены штифты, диаметр которых меньше диаметра образующих пазов.
12. Уплотнение по любому из пп. 1 11, отличающееся тем, что кольцевая проточка в корпусе под вторичное уплотнение аксиально-подвижного уплотнительного кольца выполнена конической.
13. Уплотнение по любому из пп. 1 11, отличающееся тем, что кольцевая проточка в корпусе под вторичное уплотнение аксиально-подвижного уплотнительного кольца выполнена по сфере.
Applications Claiming Priority (2)
| Application Number | Priority Date | Filing Date | Title |
|---|---|---|---|
| UA95020958 | 1995-02-28 | ||
| UA95020958A UA21905C2 (ru) | 1995-02-28 | 1995-02-28 | Уплотнение вала |
Publications (2)
| Publication Number | Publication Date |
|---|---|
| RU2080503C1 true RU2080503C1 (ru) | 1997-05-27 |
| RU95114134A RU95114134A (ru) | 1997-08-10 |
Family
ID=21689045
Family Applications (1)
| Application Number | Title | Priority Date | Filing Date |
|---|---|---|---|
| RU95114134A RU2080503C1 (ru) | 1995-02-28 | 1995-08-09 | Уплотнение вала |
Country Status (2)
| Country | Link |
|---|---|
| RU (1) | RU2080503C1 (ru) |
| UA (1) | UA21905C2 (ru) |
-
1995
- 1995-02-28 UA UA95020958A patent/UA21905C2/ru unknown
- 1995-08-09 RU RU95114134A patent/RU2080503C1/ru active
Non-Patent Citations (1)
| Title |
|---|
| 1. Лок К.Р.В., Фон С. Дж. Сухие механические уплотнения для газовых компрессоров и аналогичного оборудования. Техническая информация фирмы "Grane packing Ltd", 1986, с.2-3, рис.1-3. 2. Апанасенко Ф.И., Зиневич Г.Н., Марцинковский В.С., Черепов Л.В., Хорев В.А. Тенденции развития турбокомпрессоров для нефтяной и газовой промышленности. Цинтихимнефтемаш, 1988, обз. информация, "Компрессорное машиностроение". Серия ХМ-5, с.29-33, рис.9. 3. Авторское свидетельство СССР N 1535122, кл. F 16 J 15/34, 1988. * |
Also Published As
| Publication number | Publication date |
|---|---|
| UA21905C2 (ru) | 1998-04-30 |
Similar Documents
| Publication | Publication Date | Title |
|---|---|---|
| EP0623768B1 (en) | Labyrinth gas-seal | |
| EP2324209B1 (en) | Intershaft seal system | |
| US6145843A (en) | Hydrodynamic lift seal for use with compressible fluids | |
| US20160097457A1 (en) | Self-pumping hydrodynamic mechanical seal | |
| US4972986A (en) | Circumferential inter-seal for sealing between relatively rotatable concentric shafts | |
| US2908516A (en) | Circumferential shaft seal | |
| CN1117231C (zh) | 轴的密封装置 | |
| JPS5936081B2 (ja) | 容積式流体装置 | |
| CA2204885A1 (en) | A shaft seal | |
| US5609342A (en) | Gas shaft seal with flexible converging sealing faces | |
| JP2015187442A (ja) | 分割リング流体力学的面シールの個別に応従性のある分割片 | |
| US4554985A (en) | Rotary drill bit | |
| JP2582940B2 (ja) | ガスを遮断する軸用非接触パッキン装置 | |
| CN108591473A (zh) | 机械密封装置 | |
| CA2218516C (en) | A gas seal with locking arrangement | |
| RU2080503C1 (ru) | Уплотнение вала | |
| US5006043A (en) | Floating annular seal with thermal compensation | |
| RU2053371C1 (ru) | Радиальное лабиринтное уплотнение турбомашины | |
| SU1760214A1 (ru) | Уплотнение вала | |
| RU2187727C2 (ru) | Торцовое импульсное уплотнение | |
| EP0629799A1 (en) | Pressure balanced compliant seal device having a flexible annular member | |
| EP4426951B1 (en) | Conical sealing assembly for a rotary equipment and rotary equipment comprising the sealing assembly | |
| Ettles et al. | The application of double conical journal bearings in high speed centrifugal pumps—parts 1 and 2 | |
| JPS60227011A (ja) | スラスト軸受 | |
| RU1822914C (ru) | Уплотнение вала |