RU2027503C1 - Пульсационный реактор - Google Patents
Пульсационный реактор Download PDFInfo
- Publication number
- RU2027503C1 RU2027503C1 RU92008314A RU92008314A RU2027503C1 RU 2027503 C1 RU2027503 C1 RU 2027503C1 RU 92008314 A RU92008314 A RU 92008314A RU 92008314 A RU92008314 A RU 92008314A RU 2027503 C1 RU2027503 C1 RU 2027503C1
- Authority
- RU
- Russia
- Prior art keywords
- reactor
- housing
- liquid
- discharge chamber
- source
- Prior art date
Links
- 230000010349 pulsation Effects 0.000 claims description 13
- 239000007788 liquid Substances 0.000 abstract description 25
- 238000000034 method Methods 0.000 abstract description 6
- 239000000126 substance Substances 0.000 abstract description 2
- 230000005284 excitation Effects 0.000 abstract 1
- 239000003990 capacitor Substances 0.000 description 4
- 239000003153 chemical reaction reagent Substances 0.000 description 3
- 238000004891 communication Methods 0.000 description 3
- 238000005265 energy consumption Methods 0.000 description 3
- 230000035939 shock Effects 0.000 description 3
- 238000012546 transfer Methods 0.000 description 3
- 230000015572 biosynthetic process Effects 0.000 description 2
- 238000013461 design Methods 0.000 description 2
- 230000010355 oscillation Effects 0.000 description 2
- 229910000831 Steel Inorganic materials 0.000 description 1
- 239000007795 chemical reaction product Substances 0.000 description 1
- 239000011521 glass Substances 0.000 description 1
- 230000003993 interaction Effects 0.000 description 1
- 238000012544 monitoring process Methods 0.000 description 1
- 230000003534 oscillatory effect Effects 0.000 description 1
- 230000000737 periodic effect Effects 0.000 description 1
- 239000000047 product Substances 0.000 description 1
- 230000001902 propagating effect Effects 0.000 description 1
- 239000011541 reaction mixture Substances 0.000 description 1
- 239000010959 steel Substances 0.000 description 1
Images
Landscapes
- Physical Or Chemical Processes And Apparatus (AREA)
Abstract
Изобретение относится к устройствам для проведения тепломассообменных процессов в жидких средах. Реактор содержит вертикальный цилиндрический корпус с технологическими патрубками, жидкостную разрядную камеру с электродами, подключенными к источнику электрических импульсов, установленную под днищем корпуса и сообщенную с полостью корпуса через вертикальный пульсопровод, и импульсный дозатор, всасывающая сторона которого соединена с верхней, а нагнетательная с нижней частью корпуса. С помощью импульсного дозатора осуществляется импульсный ввод газа из верхней части корпуса в нижнюю, что вызывает образование нелинейной колебательной системы и значительную интенсификацию процессов в реакторе за счет возбуждения режима вибротурбулизации. 1 ил.
Description
Изобретение относится к устройствам для интенсификации массо- и теплообменных процессов в жидких средах, особенно в вязких и плохо смешиваемых жидкостях, и может быть использовано в химической, пищевой и других отраслях промышленности.
Известен пульсационный реактор, содержащий вертикальный цилиндрический корпус с технологическими патрубками, расположенную внутри корпуса пульсационную камеру, соединенную с ней распределительную камеру и пульсопровод. Распределительная камера выполнена в виде стакана с клапанным лепестковым устройством и центральным отверстием в днище, над которым размещена пульсационная камера с закрепленным в нижней части упругим сильфонным элементом, торцовая часть которого выполнена конической, причем клапанное лепестковое устройство размещено в верхней части корпуса с перекрытием кольцевой зоны, а в нижней части корпуса установлено кольцо с отбортовкой вниз.
Недостатком этого устройства является сложность конструкции и низкая интенсивность процесса массообмена между компонентами реакционной смеси.
Целью изобретения является снижение энергозатрат и повышение эксплуатационных свойств реактора.
Цель достигается за счет того, что пульсационный реактор, содержащий вертикальный цилиндрический корпус с технологическими патрубками и установленный по центру корпуса пульсопровод, сообщенный с источником пульсаций давления, снабжен импульсным дозатором, всасывающая сторона которого соединена с верхней, а нагнетательная с нижней частью корпуса. Пульсопровод размещен под днищем корпуса и подключен верхним концом к днищу, при этом источник пульсаций давления выполнен в виде полусферической камеры с установленными в ней двумя электродами, сообщенными с источником электрических импульсов.
При заполнении реактора жидкостью на 80-90% всасывающая сторона дозатора связана с газовой частью корпуса, что позволяет импульсно вводить газ в нижнюю (жидкостную) часть реактора. Подаваемые на электроды электрические импульсы вызывают электрические разряды в жидкости и образование ударных волн, возбуждающих гидроакустические волны давления. Эти волны, отражаясь от сферической поверхности разрядной камеры, поступают по вертикальному патрубку в нижнюю часть корпуса и распространяются в жидкости в направлении его верхней части. При этом ≈80% выделяемой при разряде энергии преобразуются в волновую энергию, что определяет высокий КПД процесса. Размещение разрядной камеры под днищем корпуса и подключение ее к днищу через вертикальный патрубок обуславливает минимальные потери при подводе волновой энергии к реакционной массе.
Все это существенно снижает энергозатраты и усиливает возбуждаемые в жидкости волны давления. Более сильные, чем в прототипе, волны давления позволяют за счет возрастающей вибрационной силы и силы межфазного взаимодействия Бьеркнесса удерживать в жидкости вводимый импульсно газ, образовав газожидкостную систему, и обеспечивать режим ее резонансных колебаний. При этом повышаются эксплуатационные свойства и надежность работы аппарата.
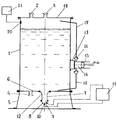
На чертеже показан пульсационный реактор.
Реактор содержит вертикальный цилиндрический корпус 1 с патрубками 2 и 3 ввода реагентов и патрубком 4 отвода продуктов реакции, установленный на опорах 5. В днище 6 корпуса 1 выполнено центральное отверстие, к которому подсоединена верхняя часть вертикального патрубка (пульсопровода) 7, герметично подстыкованного снаружи к корпусу. На нижнем торце патрубка 7 закреплена разрядная камера 8, выполненная в виде полусферы 9 с двумя электродами 10, установленными с межэлектродным зазором в фокусе полусферы 9. Электроды 10 выполнены в виде стержней из тугоплавкой стали, изолированных по боковой поверхности, и соединены с полюсами высоковольтного источника электрических импульсов 11.
Источник электрических импульсов 11 содержит повышающий трансформатор, соединенный через выпрямитель тока с высоковольтным конденсатором, и магнитный переключатель цепи, обеспечивающий заданную частоту подключений электродов 10 к обкладкам конденсатора. Верхняя часть патрубка 7 может иметь коническое расширение 12. Снаружи корпуса 1 на раме 13 установлен импульсный дозатор 14, выполненный, например, в виде поршневого цилиндра 15 с двумя обратными клапанами 16. Всасывающая сторона дозатора 14 с помощью трубопровода 17 соединена с верхней (газовой) частью корпуса 1 вблизи крышки 18, а нагнетательная сторона дозатора с помощью трубопровода 19 соединена с нижней частью корпуса вблизи днища 6. В газовой части корпуса 1 установлен датчик гидродинамического давления 20, подключенный к системе контроля 21.
Пульсационный реактор работает следующим образом.
Корпус 1 заполняется жидкими реагентами до уровня, составляющего 0,8-0,9 его высоты. При этом всасывающая сторона импульсного дозатора 14 оказывается сообщенной с газовой полостью корпуса 1, а нагнетательная - с жидкостной полостью. Полость патрубка 7 и разрядной камеры 8 также заполняется жидкостью. Затем включается источник электрических импульсов 11, обеспечивающий подключение с заданной частотой электродов 10 разрядной камеры 8 к обкладкам высоковольтного конденсатора. При каждом подключении электродов 10 происходит искровой разряд конденсатора в межэлектродном зазоре камеры 8 с выделением энергии, около 80% которой преобразуется в механическую энергию ударной волны в жидкости. Ударная волна, отражаясь от сферической поверхности разрядной камеры 8, в виде пучка гидроакустических волн по патрубку 7 поступает в нижнюю часть корпуса 1 реактора и далее распространяется в направлении его верхней части. Интенсивные периодические волны давления, распространяясь вертикально вверх, турбулизируют жидкость в реакторе. Далее с помощью дозатора 14 производят импульсный ввод газа из верхней части корпуса 1 в жидкость у днища 6 корпуса. Газ, введенный под столб жидкости, где пульсации давления наиболее интенсивны, мгновенно вступает с ней в динамический контакт, что приводит к образованию в корпусе колебательной системы жидкость-газ и усилению турбулизации. Собственная частота колебаний fc этой системы в зависимости от размеров, количества и высоты столба жидкости составляет 20-50 Гц. Количество вводимого импульсно газа легко устанавливается экспериментально. Ориентировочно это количество может быть определено по формуле
Qmin = 0,8 , см3, где n - показатель адиабаты для газа;
p - давление над поверхностью жидкости, дин/см2;
S - площадь поперечного сечения корпуса, см2;
H - высота столба жидкости в корпусе, см;
S- усредненная плотность жидкости, г/см3;
fс - собственная частота колебаний системы, Гц.
Qmin = 0,8 , см3, где n - показатель адиабаты для газа;
p - давление над поверхностью жидкости, дин/см2;
S - площадь поперечного сечения корпуса, см2;
H - высота столба жидкости в корпусе, см;
S- усредненная плотность жидкости, г/см3;
fс - собственная частота колебаний системы, Гц.
Частоту подачи электрических импульсов на электроды 10 от источника 11 устанавливают равной собственной частоте системы fc, которую определяют заранее. Поэтому при импульсном введении газа через трубопровод в количестве Q ≥ Qmin в реакторе сразу же устанавливается резонансный режим колебаний системы жидкость-газ и резко возрастают направленная вниз (против силы Архимеда) вибрационная сила и сила Бьеркнесса, удерживающие газ в нижней части корпуса. В аппарате устанавливается высокоинтенсивный режим вибротурбулизации с резким увеличением динамического давления в жидкости, которая превращается в гидрозоль, и выравниванием давления по высоте корпуса 1. Этот режим фиксируется с помощью системы контроля 21 по показаниям датчика гидродинамического давления 20. Полученный резонансный режим обеспечивает высокую интенсивность массообмена между реагентами одинаково по всему объему реактора, что позволяет получить высокое качество получаемого продукта.
Выполнение источника пульсаций давления в виде жидкостной разрядной камеры, подключенной непосредственно к жидкостной части корпуса через его днище, позволяет за счет значительного снижения потерь на 30-40% сократить энергозатраты при работе реактора, а также упростить его конструкцию, повысить надежность работы предлагаемого пульсационного реактора и расширить возможности его использования.
Claims (1)
- ПУЛЬСАЦИОННЫЙ РЕАКТОР, содержащий вертикальный цилиндрический корпус с технологическими патрубками и установленный по центру корпуса пульсопровод, сообщенный с источником пульсаций давления, отличающийся тем, что он снабжен импульсным дозатором, всасывающая сторона которого соединена с верхней, а нагнетательная - с нижней частями корпуса, пульсопровод размещен под днищем корпуса и подключен верхним концом к днищу, при этом источник пульсаций давления выполнен в виде полусферической камеры с установленными в ней двумя электродами, сообщенными с источником электрических импульсов.
Priority Applications (1)
| Application Number | Priority Date | Filing Date | Title |
|---|---|---|---|
| RU92008314A RU2027503C1 (ru) | 1992-11-25 | 1992-11-25 | Пульсационный реактор |
Applications Claiming Priority (1)
| Application Number | Priority Date | Filing Date | Title |
|---|---|---|---|
| RU92008314A RU2027503C1 (ru) | 1992-11-25 | 1992-11-25 | Пульсационный реактор |
Publications (2)
| Publication Number | Publication Date |
|---|---|
| RU2027503C1 true RU2027503C1 (ru) | 1995-01-27 |
| RU92008314A RU92008314A (ru) | 1996-01-20 |
Family
ID=20132619
Family Applications (1)
| Application Number | Title | Priority Date | Filing Date |
|---|---|---|---|
| RU92008314A RU2027503C1 (ru) | 1992-11-25 | 1992-11-25 | Пульсационный реактор |
Country Status (1)
| Country | Link |
|---|---|
| RU (1) | RU2027503C1 (ru) |
Cited By (1)
| Publication number | Priority date | Publication date | Assignee | Title |
|---|---|---|---|---|
| RU2796956C1 (ru) * | 2022-12-28 | 2023-05-29 | Федеральное государственное бюджетное образовательное учреждение высшего образования "Московский государственный университет имени М.В.Ломоносова" (МГУ) | Устройство для подачи газа в жидкость |
-
1992
- 1992-11-25 RU RU92008314A patent/RU2027503C1/ru active
Non-Patent Citations (1)
| Title |
|---|
| Авторское свидетельство СССР N 1161175, кл. B 01J 10/00, 1983. * |
Cited By (1)
| Publication number | Priority date | Publication date | Assignee | Title |
|---|---|---|---|---|
| RU2796956C1 (ru) * | 2022-12-28 | 2023-05-29 | Федеральное государственное бюджетное образовательное учреждение высшего образования "Московский государственный университет имени М.В.Ломоносова" (МГУ) | Устройство для подачи газа в жидкость |
Similar Documents
| Publication | Publication Date | Title |
|---|---|---|
| RU2027503C1 (ru) | Пульсационный реактор | |
| RU2033855C1 (ru) | Резонансный аппарат | |
| SU1047700A1 (ru) | Активатор цементной суспензии | |
| RU2063562C1 (ru) | Гидродинамический излучатель | |
| RU2029612C1 (ru) | Вибрационный смеситель | |
| RU2003111912A (ru) | Реактор для обработки жидкостей | |
| SU1414439A1 (ru) | Пульсационный смеситель | |
| SU1707063A1 (ru) | Устройство дл ультразвуковой обработки суспензий | |
| RU2041170C1 (ru) | Устройство для импульсной аэрации жидкости | |
| RU2006279C1 (ru) | Устройство для насыщения жидкости газом | |
| SU1664359A1 (ru) | Способ дегазации жидкости и устройство дл его осуществлени | |
| US8187545B2 (en) | Hourglass-shaped cavitation chamber with spherical lobes | |
| SU1762962A1 (ru) | Устройство дл дегазации жидкости | |
| SU881084A1 (ru) | Устройство дл ультразвуковой активации строительных растворов | |
| SU1516148A1 (ru) | Гидродинамический источник колебаний | |
| RU2029714C1 (ru) | Способ транспортирования порошкообразных материалов по трубопроводу | |
| US20060269458A1 (en) | Hourglass-shaped cavitation chamber with spherical lobes | |
| US20060269429A1 (en) | Hourglass-shaped cavitation chamber | |
| SU1039544A1 (ru) | Кавитационно-ультразвуковой диспергатор | |
| RU25429U1 (ru) | Реактор для ультразвуковой обработки жидкости | |
| SU602696A1 (ru) | Вибрационна насосна установка | |
| SU1011216A1 (ru) | Устройство дл тонкого диспергировани | |
| RU167702U1 (ru) | Лабораторное устройство для интенсификации технологических процессов | |
| SU867410A1 (ru) | Устройство дл обработки деталей из диэлектрических материалов в электропроводной жидкости | |
| US20060269460A1 (en) | Hourglass-shaped cavitation chamber with spherical lobes |