RU17536U1 - Печь для плавки металла - Google Patents
Печь для плавки металла Download PDFInfo
- Publication number
- RU17536U1 RU17536U1 RU2000128282/20U RU2000128282U RU17536U1 RU 17536 U1 RU17536 U1 RU 17536U1 RU 2000128282/20 U RU2000128282/20 U RU 2000128282/20U RU 2000128282 U RU2000128282 U RU 2000128282U RU 17536 U1 RU17536 U1 RU 17536U1
- Authority
- RU
- Russia
- Prior art keywords
- pipe
- chamber
- melting chamber
- furnace
- furnace according
- Prior art date
Links
- 239000002184 metal Substances 0.000 title claims abstract description 20
- 229910052751 metal Inorganic materials 0.000 title claims abstract description 20
- 238000002844 melting Methods 0.000 claims abstract description 29
- 230000008018 melting Effects 0.000 claims abstract description 29
- 239000002893 slag Substances 0.000 claims abstract description 13
- 239000010425 asbestos Substances 0.000 claims description 2
- 229910052895 riebeckite Inorganic materials 0.000 claims description 2
- 206010022000 influenza Diseases 0.000 claims 1
- RYGMFSIKBFXOCR-UHFFFAOYSA-N Copper Chemical compound [Cu] RYGMFSIKBFXOCR-UHFFFAOYSA-N 0.000 abstract description 5
- 238000003723 Smelting Methods 0.000 abstract description 4
- 229910052802 copper Inorganic materials 0.000 abstract description 3
- 239000010949 copper Substances 0.000 abstract description 3
- -1 ferrous metals Chemical class 0.000 abstract description 2
- 238000009856 non-ferrous metallurgy Methods 0.000 abstract description 2
- 238000005868 electrolysis reaction Methods 0.000 abstract 1
- 238000004519 manufacturing process Methods 0.000 abstract 1
- 239000007789 gas Substances 0.000 description 23
- 230000006378 damage Effects 0.000 description 3
- 238000000034 method Methods 0.000 description 3
- 150000002739 metals Chemical class 0.000 description 2
- VNWKTOKETHGBQD-UHFFFAOYSA-N methane Chemical compound C VNWKTOKETHGBQD-UHFFFAOYSA-N 0.000 description 2
- 238000004140 cleaning Methods 0.000 description 1
- 239000011248 coating agent Substances 0.000 description 1
- 238000000576 coating method Methods 0.000 description 1
- 238000002485 combustion reaction Methods 0.000 description 1
- 238000001816 cooling Methods 0.000 description 1
- 239000003792 electrolyte Substances 0.000 description 1
- 238000010438 heat treatment Methods 0.000 description 1
- 238000009434 installation Methods 0.000 description 1
- 239000000155 melt Substances 0.000 description 1
- 239000003345 natural gas Substances 0.000 description 1
- 238000005096 rolling process Methods 0.000 description 1
- 238000009423 ventilation Methods 0.000 description 1
Landscapes
- Waste-Gas Treatment And Other Accessory Devices For Furnaces (AREA)
- Manufacture And Refinement Of Metals (AREA)
Abstract
РЕФЕРАТ
к свидетельству РФ на полезную модель №под названием «Печь для плавки
металла.
Данное предложение относится к области цветной металлургии и может быть использовано в печах для плавки и изготовления анодов из черновой меди для чистой меди путем электролиза
Технической задачей предлагаемого решения является увеличение стойкости узла соединения газоотводящего тракта плавильной камеры и сокращение затрат в процессе эксплуатации.
Указанная техническая задача достигается тем, что газоотводящая магистраль снабжена дополнительно шарнирным узлом, расположенным между камерой и шлаковой емкостью и выполненным в виде двух жестких коробов, установленных на жесткой трубе с вырезами.
Использование дашюго технического решения позволяет увеличить стойкость узла соединения в 3-5 раз, упростить конструкцию газоходного тракта и снизить эксплуатщионные затраты на 20-30% по сравнению с известными конструкциями плавильных печей, преимущественно для цветных металлов.
Description
Печь для плавкш металлов.
Предлагаемое техническое решение относится к области цветной металлургии и может быть использовано в печах для получения черновой меди методом плавки с использованием природного газа.
Известны печи для плавки металла, преимущественно меди, содержащие поворотную плавильную камеру с загрузочными и разгрузочными окнами, неподвижную щлаковую камеру, соединенную с поворотной
плавильной камерой газоходом, установленный в центре поворота плавильной камеры На боковой поверхности плавильной камеры над загрузочными окнами закреплена газоотводящая магистраль , которая соединяется с газовым трактом шлаковой камеры. Узел соединения магистрали с трактом выполнен в виде гибкого шланга , жестко закрепленного на кошдах последних. Нагрев и плавление металла осуществляется с помощью газовых горелок, установленных внутри плавильной камеры ( см. нагфимер чертеж № 258-0409-ТМ-1 на поворотную печь для плавки металла, разр отанную Уралэлектромедь для Кьшпымского медеэлектролитного завода за 1992г.)
Недостатком этого вида печей является быстрое разрушение узла соединения магистрали с трактом под воздействием высоких температур и агрессивной среды в отходящих газах В результате требуется частая замена всего узла в целом, что снижает производительность печи, т.к. на замену уходит значительное количество времени и требуется охлаждение всего тракта перед заменой
Как же известны поворотные печи, у которых газоотводящий тракт выполнен в виде поворотных зонтов, установленных на дополнительных
;--: :f ,,-l.i f .. . Ji. ,„, .. - 1„ ,,.,., .....
МКИ C22B15/02
опорах возле окон загрузки и поворачиваются к печи только при вертикальном расположении печи и открытых окнах. Выходы всех зонтов соединены с
газоотводшцим трактом в виде вентиляционных труб ( см. « - исРАГ Г ло . /. .
Недостатком этих печей яамется то, что опоры занимают значительное пространство и мешают загрузочным машинам производить завалку шихты . Это требует от оператора машины особых осторожных действий , чтобы не разрушить стойки и не повредить саму систему газоотвода в процессе загрузки, что делает их неудобными в процессе эксплуатации.
Технической задачей предлагаемого решения - является исключение разрушения узла соединения поворотной части газоотводяшей магастрали с неподвижным трактом с одновременным сокрашением эксплуатационных затрат и повышением производительности плавильных агрегатов в процессе эксплуатации.
Указанная техническая задача достигается тем, что в устройстве для плавки металла, содержащем поворотную плавильную камеру и неподвижную шлаковую емкость соединенные между собой газоходом, центральная продольная ось которого совпадает с центром вращения плавильной камеры, а на боковой поверхности над загрузочными окнами плавильной камеры и шлаковой емкости установлена газоотводящая магистраль при этом , газоотводящая малистраль снабжена дополнительно шарнирным узлом, размешенным между плавильной камерой и шлаковой емкостью, выполненным из жесткой трубы с радиальными вырезами, на которой с возможностью поворота установлены два жестких короба, каждый из которых противоположным своим концом соединен соответственно с газоходом шлаковой емкости и газоотводящей магистрали плавильной камеры.
Еще одним отличием является то, что на каждом коробе жестко закреплены боковые фланхщ с центральным сквозным отверстием, а сами короба установлены параллелыю друг другу с гарантированным зазором между ними. Ось в ш фнире между коробами может быть выполнена из нескольких частей и установленных с осевым зазором между ними, а между фланцами , трубой и коробами установлено термостойкое покрытие, например, в виде асбестовых колец.
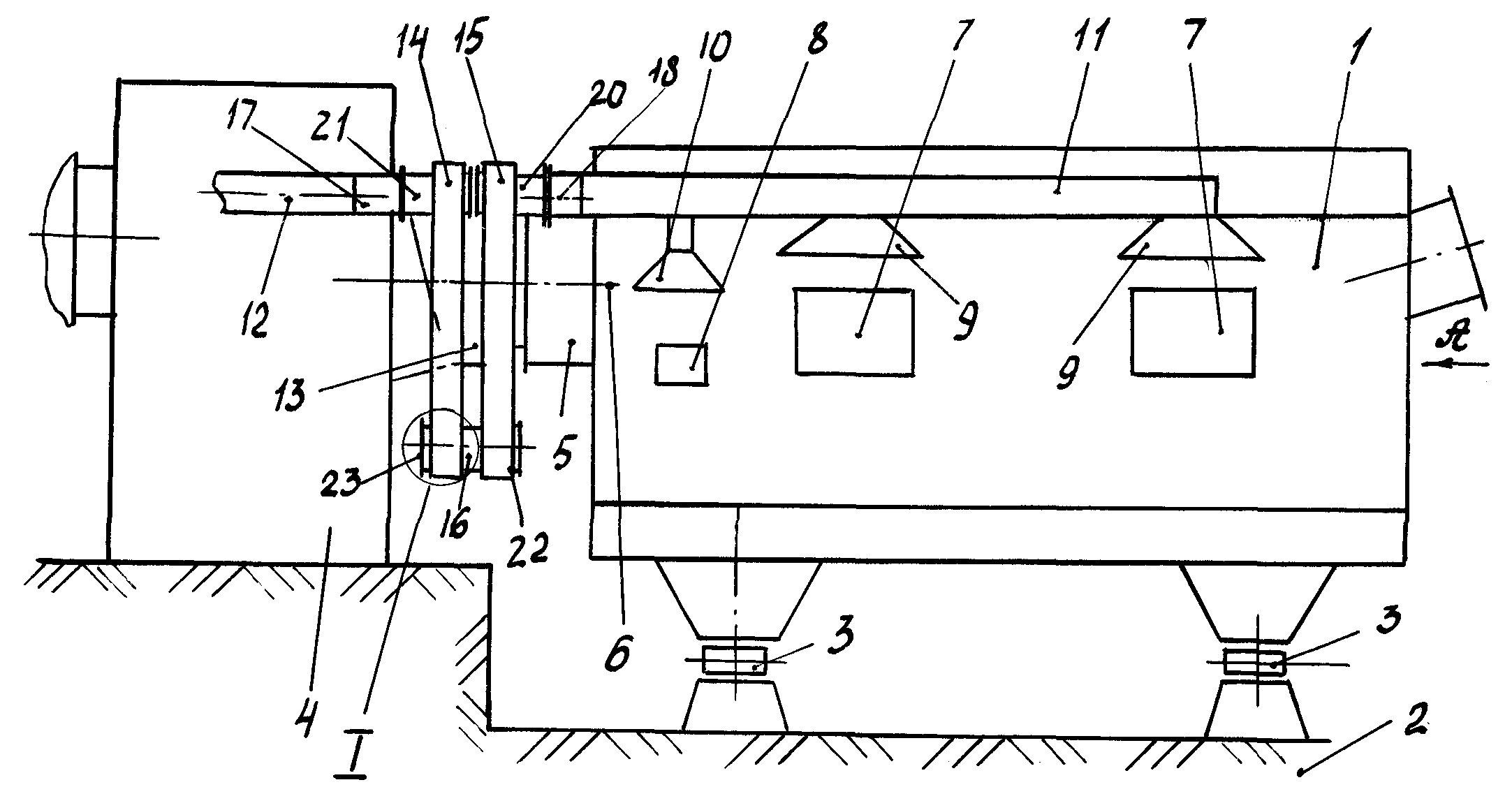
На фиг. 1 - изображен общий вид предлагаемого устройство для плавки металла.
На фиг. 2 - вид. А фиг. 1,
На фиг.З - сечение узла 1 фиг. 1.
На фиг. 4 - сечение узла 1, выполненного в соответствии с п. 5 формулы изобретения.
Предлагаемое устройство для плавки металлов содержит плавильную камеру 1 , установленную на опоре 2 с возможностью поворота на ней за счет тел качения 3. Отдельно от камеры 1 размещена пигаковая емкость 4 и соединенная с камерой газоходом 5 для удаления продуктов горения .Продольная ось газохода 5 совпадает с центром вращения 6 камеры l.Ha боковых стенках камеры 1 выполнены загрузочные окна 7 и 8 , а над ними жестко закреплены уловители 9 и 10, для сбора и удаления газов во время загрузки камеры 1. Все уловители 9 и 10 соединены газоотводящей магистралью И , которая тоже жесгко закреплена на боковой поверхности камеры 1. Магистраль 11 соединена с неподвижным отводом 12, установленным на пшаковой емкости 4 , причем их продольные оси преимущественно расположены на одной линии. Между камерой 1 и емкостью 4 выполнен зазор 13 , в котором размещен дополнительный щарнир. Шарнир состоит из двух полых жестких коробов 15 и 14, закрепленных одним концом
на тру 16, а другой конец соединен с фланцами 18 и 17 мапистрали 11 и отвода 12. В трубе 16 выполнены сквозные радиальные вырезы 19. На каждом коробе 15 и 14 в зонах соединения с трубой 16 и фланцами 18 и 17 закреплены фланцы 21 и 20 с боковыми заглушками 23 и 22. Каждый из фланцев 21 и 20 снабжен уплотнением 24, установленный между коробом 15 или 14 и заглушками 23 и 22.
Работа предлагаемого устройства осуществляется следующим образом. Внутрь плавильной камеры 1 через загрузочные окна 7 загружается шихта и под воздействием температуры осуществляют ее плавление. Одновременно образующиеся газы отводятся из нее через газоход 5 в шлаковую емкость 4. После плавления металла его выпускают из камеры и производят розлив металла , затем загружают новую шихту и процесс повторяется. В процессе загрузки металла через окна 7 и 8 вырывается наружу большое количество раскаленного газа, который улавливается уловителями 9 и 10. После улавливания газы черта магистраль 11 и короба 14и 15 попадают в отвод 12, а затем направляются на очистку и выбрасываются в атмосферу. Загрузка шихты в камеру 1 производится при ее вертикальном расположении и открытых окнах 7 и 8. После загрузки окна закрываются и производится плавка металла. После расплава для розлива металла вся камера наклоняется в сторону, противоположную относительно окон 7 и 8. В процессе поворота магистраль 11 вместе уловителями 9 и 10 наклоняются вместе с камерой 1. В результате этого короб 15 смещается относительно короба 14 и поворачивается на трубе 16 не увлекая за собой отвод 12, который вместе с емкостью 4 остается в неизменном положении. После окончания розлива металла камера 1 возвращается в исходное положение. При этом короба 14 и 15 возвращаются в исходное положение, поворачиваясь на трубе 16 и смещаясь в пространстве 13 между камерой 1 и емкостью 4
Выполнение меж;цу плавильной камерой и шлаковой емкостью поворотного шарнира в виде двух металлических коробов и трубы позволяет разместить стационарно на поворотной печи систему отвода газов от загрузочных окон и получить надежное и долговечное подвижное соединение подвижной части с неподвижной частью отвода газов, имеющих высокую температуру. Кроме того, за счет выполнения подвижного шарнира металлическим снижается простой самой печи , увеличивается срок службы газохода и снижаются эксплуатационные затраты при использовании предложенного решения Вместе с тем отпадает необходимость введения дополнительных опор для размещения на них газоотводящих трактов, которые мешают при загрузке меггалла и занимают немалую площадь при их установки.
Использование предлагаемого технического решения позволяет увеличить стойкость шарнирного узла в 3-5 раз , упростить конструкцию газоходного тракта и снизить эксплуатационные затраты на 20-30% по сравнению с известными конструкциями плавильных печей , преимущественно для плавления цветных металлов.
Инженер патентовед ////J// И.Д.Плеханов.
Claims (6)
1. Печь для плавки металла, содержащая поворотную плавильную камеру и неподвижную шлаковую емкость, соединенные между собой газоходом, центральная продольная ось которого совпадает с центром вращения плавильной камеры, а на боковой поверхности над загрузочными окнами плавильной камеры установлена газоотводящая магистраль, соединенная с магистралью отвода газов от шлаковой камеры, отличающаяся тем, что газоотводящая магистраль снабжена дополнительно шарнирным узлом, размещенным между плавильной камерой и шлаковой емкостью, выполненным из жесткой трубы с радиальными вырезами, на которой, с возможностью поворота, установлены два жестких короба, противоположный конец каждого из которых соединен соответственно с газоходами плавильной камеры и шлаковой емкости.
2. Печь по п.1, отличающаяся тем, что на каждом коробе жестко закреплены боковые фланцы с центральным сквозным отверстием.
3. Печь по п. 1, отличающаяся тем, что короба установлены параллельно друг другу с гарантированным зазором между ними.
4. Печь по п.2, отличающаяся тем, что между фланцами и трубой шарнира размещено термостойкое уплотнение, а торы закрыты заглушками.
5. Печь по п.2, отличающаяся тем, что труба в шарнирах выполнена из нескольких отдельных частей, установленных с осевым зазором между ними.
Priority Applications (1)
| Application Number | Priority Date | Filing Date | Title |
|---|---|---|---|
| RU2000128282/20U RU17536U1 (ru) | 2000-11-14 | 2000-11-14 | Печь для плавки металла |
Applications Claiming Priority (1)
| Application Number | Priority Date | Filing Date | Title |
|---|---|---|---|
| RU2000128282/20U RU17536U1 (ru) | 2000-11-14 | 2000-11-14 | Печь для плавки металла |
Publications (1)
| Publication Number | Publication Date |
|---|---|
| RU17536U1 true RU17536U1 (ru) | 2001-04-10 |
Family
ID=35870539
Family Applications (1)
| Application Number | Title | Priority Date | Filing Date |
|---|---|---|---|
| RU2000128282/20U RU17536U1 (ru) | 2000-11-14 | 2000-11-14 | Печь для плавки металла |
Country Status (1)
| Country | Link |
|---|---|
| RU (1) | RU17536U1 (ru) |
-
2000
- 2000-11-14 RU RU2000128282/20U patent/RU17536U1/ru not_active IP Right Cessation
Similar Documents
| Publication | Publication Date | Title |
|---|---|---|
| RU2688067C1 (ru) | Вращающаяся плавильная печь для переработки отходов цветных металлов | |
| BR112014024482B1 (pt) | incinerador de refugo mecânico e hidráulico multiestágio | |
| CN1545606A (zh) | 冶金炉和用于冶金炉的料筐 | |
| US4452434A (en) | Combination of a smelting-furnace pouring lip and casting gutter | |
| RU17536U1 (ru) | Печь для плавки металла | |
| BRPI0414704B1 (pt) | Procedimento para recolher e tratar os gases de reação de uma instalação para produzir metais fundidos, bem como uma instalação correspondente para remover o pó | |
| US5416792A (en) | Preheat system | |
| US6201826B1 (en) | Loading system for electric arc furnaces | |
| CN207849383U (zh) | 一种环保的医疗废物焚烧炉 | |
| US4383678A (en) | Electric furnace scrap handling mill layout | |
| RU2732257C1 (ru) | Роторная наклонная печь | |
| US3138648A (en) | Exhaust hood for oxygen furnaces | |
| US6163561A (en) | Cooled basket for steel plants | |
| RU27199U1 (ru) | Устройство для удаления шлака | |
| CN100465565C (zh) | 具有筛选及回收炉渣功能的用于熔化无盐铝的回转炉设备 | |
| SU1447565A1 (ru) | Устройство дл нагрева футеровки металлургических емкостей | |
| JP6949650B2 (ja) | 焼却灰の溶融処理装置 | |
| KR200382735Y1 (ko) | 집진후드 | |
| GB2095804A (en) | Discharging molten metal | |
| JP2006057974A (ja) | 廃棄物の熱分解設備に於ける加熱ガス中のダスト除去方法 | |
| FR2610000A1 (fr) | Tambour rotatif pour la carbonisation a basse temperature de dechets en l'absence d'air | |
| JP7141109B2 (ja) | 熱および灰分の回収装置、ならびに、回収方法 | |
| CN112197585A (zh) | 一种燃气坩埚炉 | |
| RU49529U1 (ru) | Устройство для отвода газов из печи | |
| US1757644A (en) | Retort furnace |
Legal Events
| Date | Code | Title | Description |
|---|---|---|---|
| ND1K | Extending utility model patent duration | ||
| MM1K | Utility model has become invalid (non-payment of fees) |
Effective date: 20081115 |
