RU106295U1 - Рулонная система - Google Patents
Рулонная система Download PDFInfo
- Publication number
- RU106295U1 RU106295U1 RU2010144880/03U RU2010144880U RU106295U1 RU 106295 U1 RU106295 U1 RU 106295U1 RU 2010144880/03 U RU2010144880/03 U RU 2010144880/03U RU 2010144880 U RU2010144880 U RU 2010144880U RU 106295 U1 RU106295 U1 RU 106295U1
- Authority
- RU
- Russia
- Prior art keywords
- slider
- mesh
- curtains
- profiles
- function
- Prior art date
Links
Landscapes
- Operating, Guiding And Securing Of Roll- Type Closing Members (AREA)
Abstract
1. Рулонная система, состоящая из левого и правого направляющих профилей, прикрепленных верхней частью к кассете с храповиком, состоящим из корпуса, храпового колеса и пружины, пружиной натяжения/скручивания сетки, которая выполнена с возможностью открытия/закрытия проема между направляющих профилей с помощью ползуна со шнурком и колпачком, или шторы в рулоне с осью, втулкой пружины, и торцевыми крышками: крышкой храповика и крышкой-осью кассеты, а нижней частью - к поперечине с помощью правого и левого уголков, отличающаяся тем, что направляющие профили выполнены с полостями с установленными в них резиновыми уплотнителями, функцией которых является обеспечение перемещения ползуна вдоль направляющих профилей с упором на уплотнители. ! 2. Рулонная система по п.1, отличающаяся тем, что ползун выполнен в виде незамкнутого профиля, в верхней части которого расположена полость для закрепления сетки или шторы с помощью уплотнителя и планки, функцией которых является плотный обжим и закрепление сетки или шторы, а в нижней части - полость для установки магнитной вставки ползуна, выполненной с возможностью дополнительного герметичного уплотнения при закрытом положении системы между ползуном и поперечиной с помощью магнитной вставки поперечины, а в боковых частях - незамкнутая полость для установки двух ручек, выполненных с возможностью перемещения вдоль ползуна с зубцами, функцией которых является взаимодействие со специальными полостями, образованными уголками и боковыми профилями, и фиксация сетки или шторы в закрытом положении, при этом с торцевых сторон ползуна закреплены правый и левый обтекатели, выполнен
Description
Область применения
Полезная модель относится к устройствам установки и перемещения антимоскитной сетки, штор или иной ткани, и может быть использована при установке на оконные, дверные или иные проемы.
Уровень техники
В настоящее время использование рулонных штор находит широкое применение при оформлении интерьера не только офисных помещений, но и квартир. Рулонные шторы для окон офиса являются удобным решением для полного закрывания окон и исключения проникновения в помещение светового потока, удобны и надежны в эксплуатации. Ввиду этого разработано и производится большое количество различных рулонных штор и защитных противомоскитных систем различных конструкций, предназначенных для установки в оконные, дверные и/или иные проемы. Из уровня техники известны различные устройства, реализованные на данной основе. Например, известна оконная штора [1], содержащая две планки, горизонтально ориентированные, между которыми натянут гофрированный материал, закрепленный между планками, при этом управление шторами осуществляется с помощью шнура с кольцом. Если потянуть за шнур, то произойдет вытягивание шнура и складывание гофрированного полотна по типу жалюзи.
Недостаток данного устройства с конструктивной точки зрения заключается в том, что при простоте изготовления в такой шторе при ее подъеме не происходит выравнивание горизонтального положения полотна. Полотно перекашивается из-за того, что подъем осуществляется одним пропущенным по обоим краям полотна шнуром: с одной стороны, ближней к месту вывода наружу шнура полотно собирается быстрее, чем с другой стороны, эта же картина повторяется и при распрямлении полотна. Такое положение создает неудобства пользования шторой. Отсутствие элементов пространственной фиксации распрямленного полотна приводит к тому, что оно деформируется винтообразно или нижний край заворачивается. В результате полотно шторы не плотно прилегает к окну, пропуская свет, что может создать дискомфорт или не обеспечить полной световой герметизации в дневное время. Известны так же противомоскитные системы [2, 3] роллетного типа, представляющие собой устанавливаемую в оконном(ой) и/или дверном(ой) проеме и/или раме систему, в основном, содержащую сетку, закрепленную на валу с возможность сворачивания-разворачивания вдоль направляющих, элементы фиксации сетки в развернутом положении, элементы пружинного типа для возврата сетки в свернутое положение и корпусные элементы для установки в них вала и крепления в проеме/или раме. К основному недостатку данных конструкций можно отнести сложность в регулировке сворачивания-разворачивания и фиксации сетки (сетки). Так, в частности, для того, чтобы изменить натяжение элементов пружинного типа, необходимо снять корпусные элементы, произвести регулировку и снова установить элементы корпусного типа. Кроме того, процесс фиксации также не достаточно удобен, т.к. элементы фиксации расположены в зоне противолежащих рамных элементов. Так же известна противомоскитная штора [4] для закрывания оконного или дверного проема, которая содержит разматываемое с намоточного вала и наматываемое на него полотно, например противомоскитную ткань, расположенные с боков оконного или дверного проема и открытые в направлении полотна шторные направляющие, а также, по меньшей мере, один входящий в соответствующую шторную направляющую поворотный ригель для бесступенчатой фиксации полотна, который может быть переведен против усилия пружины из положения блокировки в положение отпускания. Намоточный вал окружен пружиной кручения, связанной с полотном. Намоточный вал с пружиной и другими элементами конструкции, включая элементы фиксации осевого положения пружины и устройство регулирования натяжения пружины, установлены в закрытом коробе.
Недостатком данной конструкции является так же сложность регулировки сворачивания-разворачивания и фиксации сетки.
Наиболее близким аналогом является противомоскитная система роллетного типа [5], содержащая раму, выполненную из рамных профилей, на одной из сторон которой установлен закрытый короб, в котором размещен вал с закрепленной на нем с возможностью сворачивания и разворачивания противомоскитной сеткой и механизм подъема и регулирования натяжения сетки, содержащий, по меньшей мере связанную с валом пружину, снабженную с обоих торцов элементами фиксации ее осевого положения, и устройство регулирования натяжения пружины, при этом сетка на своей противолежащей валу стороне снабжена оконечной планкой, которая установлена с возможностью возвратно-поступательного перемещения вдоль перпендикулярных коробу рамных профилей, выполненных в виде направляющих, а система снабжена, по меньшей мере, одним механизмом фиксации сетки в развернутом положении. Основным общим недостатком данного устройства и устройств, описанных выше, является возможность выдувания закрытой сетки в случае сильного ветра, невозможность плавного самооткрывания системы под действием пружины кручения
Технический результат данной полезной модели заключается в уменьшении вероятности выдувания закрытой сетки в случае сильного ветра, в обеспечении возможности плавного самооткрывания системы.
Реализация полезной модели
Заявленный технический результат достигается тем, что автоматическая система, состоящая из левого и правого направляющих профилей, прикрепленных верхней частью к кассете с храповиком, состоящим из корпуса, храпового колеса и пружины, пружиной натяжения/скручивания сетки, которая выполнена с возможностью открытия/закрытия проема между направляющих профилей с помощью ползуна со шнурком и колпачком, или шторы в рулоне с осью, втулкой пружины, и торцевыми крышками: крышкой храповика и крышкой-осью кассеты, а нижней частью - к поперечине с помощью правого и левого уголков, отличающаяся тем, что направляющие профили выполнены с полостями с установленными в них резиновыми уплотнителями, функцией которых является обеспечения перемещения ползуна вдоль направляющих профилей с упором на уплотнители.
Кроме того, ползун выполнен в виде незамкнутого профиля, в верхней части которого расположена полость для закрепления сетки или шторы с помощью уплотнителя и планки, функцией которых является плотный обжим и закрепление сетки или шторы, а в нижней части - полость для установки магнитной вставки ползуна, выполненной с возможностью дополнительного герметичного уплотнения при закрытом положении системы между ползуном и поперечиной с помощью магнитной вставки поперечины, а в боковых частях - незамкнутая полость для установки двух ручек, выполненных с возможностью перемещения вдоль ползуна с зубцами, функцией которых является взаимодействие со специальными полостями, образованными уголками и боковыми профилями, и фиксация сетки или шторы в закрытом положении, при этом с торцевых сторон ползуна закреплены правый и левый обтекатели, выполненные в виде двух зеркальных деталей, с поверхностью для контакта с резиновыми уплотнителями, с выступами для закрепления в незамкнутой полости для установки ручек профиля ползуна.
Кроме того, на ползуне закреплен держатель шнурка, выполненный в виде профиля сложного сечения, с отверстием для закрепления шнурка, прикрепленного к колпачку с выступом, функцией которого является возможное закрепление в одном из боковых профилей и исключение его «болтания» в случае сильного ветра.
Осуществление полезной модели
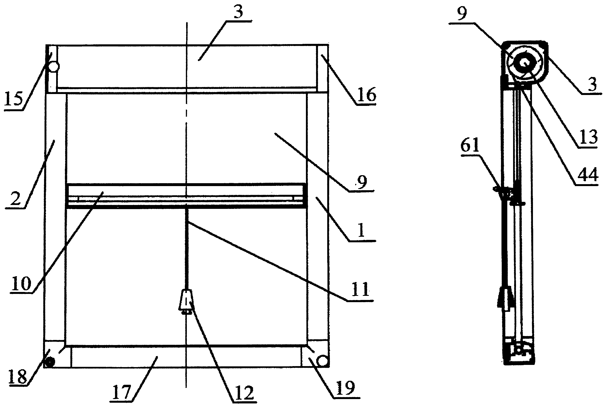
Сущность полезной модели поясняется чертежами: на фиг.1 изображен главный вид и вид слева в разрезе рулонной системы; на фиг.2 - сечение на виде сверху по центру кассеты; на фиг.3 - сечение на месте установки храповика; на фиг.4 - левый боковой профиль в разрезе с правым и левым резиновыми уплотнителями; на фиг.5 - сечение системы справа на месте установки ползуна; на фиг.6 - профиль кассеты; на фиг.7 - левый боковой профиль с резиновыми уплотнителями и уголок для соединения поперечины с боковыми профилями; на фиг.8 - задний вид системы с велкровыми лентами; на фиг.9 - сечение системы со стороны правого бокового профиля; на фиг.10 - корпус храповика, пружина храповика и храповое колесо; на фиг.11 - профиль ползуна, правый обтекатель ползуна, уплотнитель ползуна и ручка ползуна; на фиг.12 - держатель шнурка и колпачок.
Устройство состоит из левого 1 и правого 2 направляющих профилей, прикрепленных верхней частью к кассете 3 с храповиком 4, состоящим из корпуса 5, храпового колеса 6 и пружины 7, пружиной 8 натяжения/скручивания сетки 9, которая выполнена с возможностью открытия/закрытия проема между направляющих профилей 1, 2 с помощью ползуна 10 со шнурком 11 и колпачком 12, или шторы в рулоне с осью 13, втулкой 14 пружины 8, и торцевыми крышками: крышкой 15 храповика 4 и крышкой-осью 16 кассеты 3, а нижней частью - к поперечине 17 с помощью правого 18 и левого 19 уголков, отличающаяся тем, что направляющие профили 1, 2, кассета 3 и поперечина 17 выполнены в виде незамкнутых профилей сложных конфигураций, функция которых заключается в оптимизации взаимодействия всех элементов системы в целом. При этом с задней стороны кассеты 3 расположены Г-образные 20, а с задней стороны направляющих профилей 1, 2 и поперечины 17 П-образные 21 углубления для установки системы велкровых лент 22 на липких основах, функцией которых является установка системы на оконный, дверной или иной проем. Причем, система велкровых лент 22 состоит из велкровой ленты 23 профилей сцепления, выполненной с возможностью приклеивания к системе с помощью липкой основы 24, и велкровой ленты 25 окна сцепления, функцией которой является приклеивание при помощи липкой основы 26 к раме окна, дверного или иного проемов, а сама система велкровых лент 22 выполнена с возможностью сцепления/расцепления велкровых лент окна сцепления 25 и профилей сцепления 23. Кроме этого направляющие профили 1, 2 выполнены с полостями 27 для установки правого 28 и левого 29 резиновых уплотнителей соответственно, функцией которых является перемещение ползуна 10 вдоль направляющих профилей 1, 2, гарантированное исключение возможности проникновения насекомых через систему, защиты внутренних полостей системы от попадания влаги, пыли и других загрязнений, уменьшение вероятности выдувания закрытой сетки 9 при сильном ветре, а так же плавное открывание сетки 9 в непреднамеренных случаях, таких, например, как случайное или намеренное отпускание ползуна 10 из рук пользователя. Причем, внутри направляющих профилей 1, 2 расположен паз 30, выполненный с возможностью установки уголков 18, 19 с отверстиями 31 под винты, функцией которых является возможность дополнительного крепежа системы под раму окна, дверного или иного проемов, и закрепления торцевых крышек 15, 16 кассеты 3, и сквозной с выступами паз 32, функцией которого является направление движения ползуна 10 вдоль направляющих профилей 1, 2. Помимо этого в корпусе 5 храповика 4 расположено цилиндрическое отверстие с посадочным местом 33, выполненным с возможностью крепления и вращения храпового колеса 6, и четыре скругленных выступа 35, центральные точки расположения каждого из которых образуют правильный прямоугольник, совпадающий по центру осевых линий с центром цилиндрического отверстия с посадочным местом 33. Четыре скругленных выступа 35 выполнены с возможностью установки по периметру образующего правильного прямоугольника пружины 7 храповика 4, которая выполнена в виде замкнутого скругленного по углам правильного прямоугольника, и функцией которой является преобразование возвратно-вращательного движения в прерывистое вращательное движение в одном направлении и создание статичного момента, с рабочими телами заклинивания, выполненными в виде двух односторонних зубьев 36, расположенных с внутренней стороны длинных сторон прямоугольника пружины 7 храповика 4, с возможностью взаимодействия с зубьями 37 храпового колеса 6. При этом храповое колесо 6 выполнено в виде трехступенчатого валика, с одной стороны которого образующая ступень выполнена в виде одностороннего зубчатого колеса 38, с другой стороны - в виде цилиндрического выступа 39 с функцией закрепления скручивающей пружины 8, а центральная часть валика выполнена в виде цилиндрической образующей ступени 40, функцией которой является возможность крепления и вращения храпового колеса 6 в корпусе храповика 5. Причем, со стороны образующей ступени валика в виде одностороннего зубчатого колеса 38 по осевой линии выполнено многогранное отверстие 41 правильной формы, функцией которого является вставка ключа для натяжения скручивающей пружины 8. Кроме этого в кассете выполнены полости 42 для крепления торцевых крышек: крышки 15 храповика 4 и крышки-оси 16 кассеты 3, выступ 43 для направления сетки 9 в пазы 32 боковых профилей 1, 2 и незамкнутое углубление 44 для вставки щеточки, функцией которой является защита внутренней полости кассеты от проникновения насекомых и очистка сетки при открывании системы. Помимо этого ползун 10 выполнен в виде незамкнутого профиля 45, в верхней части которого расположена полость 46 для закрепления сетки 9 или шторы с помощью уплотнителя 47 и планки 48, функцией которых является плотный обжим сетки 9 или шторы, непосредственно крепление в ползуне 10 и защита от влаги и грязи его внутренней полости, в нижней части - полость 49 для установки магнитной вставки 50, выполненной с возможностью дополнительного герметичного уплотнения при закрытом положении системы между ползуном 10 и поперечиной 17 с помощью магнитной вставки поперечины 17, а в боковых частях - замкнутая прямоугольная полость 51 и незамкнутая полость 52 для установки с помощью ножек 53 двух ручек 54, выполненных с возможностью перемещения вдоль ползуна 10, с зубцами 55, функцией которых является взаимодействие со специальными полостями, образованными уголками 18, 19 и боковыми профилями 1, 2, и фиксация сетки 9 или шторы в закрытом положении. При этом с торцевых сторон ползуна 10 закреплены правый и левый обтекатели 56,выполненные в виде двух зеркальных деталей, с поверхностью 57 для контакта с резиновыми уплотнителями 28, 29, выступами 58 для закрепления в замкнутой прямоугольной полости 51 и полости 52 для установки ручек 54 профиля 45 ползуна 10, и отверстием 59 для установки уплотнителя 47 и планки 48. Причем, на ползуне 10 при помощи ножек 60, функцией которых является фиксация в незамкнутой полости 52 профиля 45 ползуна 10, закреплен держатель 61 шнурка 11, выполненный в виде профиля сложного сечения, с отверстием 62 для закрепления шнурка 11, прикрепленного к колпачку 12 с выступом 63, функцией которого является возможное закрепление в одном из боковых профилей 1, 2 и исключение его «болтания» в случае сильного ветра. Устройство работает следующим образом: вначале система устанавливается на оконный, дверной или иной проем с наружной стороны, с помощью системы 22 велкровых лент 23, 25 на липких основах 24, 26 и(или) саморезов через отверстия 31 уголков 18, 19. В начальном (не рабочем) положении свернутая в рулон сетка 9 не закрывает проем. При возникновении необходимости, пользователь тянет за ручки 54 ползун 10 до соприкосновения магнитных вставок 50 ползуна 10 и поперечины 17, закрывая, тем самым, проем сеткой 9. Для повышения надежности фиксации сетки 9 в рабочем положении (например, в случае сильного ветра), пользователю желательно раздвинуть две ручки 54 с зубцами 55, до вхождения их зубцов 55 в соответствующие полости 32 в боковых профилях 1 ,2. При необходимости открыть систему, пользователю необходимо немного сдвинуть ручки 54 с зубцами 55, сняв дополнительную фиксацию сетки 9 и приложив небольшое усилие разлепить магнитные вставки 50 ползуна 10 и поперечины 17. Затем отпустить ручки 54. Далее, под действием пружины 8, сетка 9 замотается в рулон, и проем освободится от сетки 9.
В целом устройство обеспечивает реализацию возможности уменьшения вероятности выдувания закрытой сетки в случае сильного ветра, в обеспечении возможности плавного открывания системы в непреднамеренных случаях, а так же существенного удобства установки, монтажа и демонтажа системы. Во-первых, объясняется это тем, что совокупность конструктивного решения боковых профилей с полостями для установки резиновых уплотнителей и паза, направляющего движение ползуна, вместе с технологической системой «резина-сетка-резина» позволяют добиться не выдувания закрытой сетки в случае сильных ветровых нагрузок, вследствие оптимальной плотности и герметичности данного конструктивного решения. Во-вторых, та же система «резина-сетка-резина» позволяет обеспечить возможную плавность открывания сетки в непреднамеренных случаях, вследствие возникновения при резком «отпускании» ползуна трения, препятствующего разгону ползуна и исключению возникновения ударной нагрузки при соприкосновении ползуна с кассетой.
Источники информации:
1. Патент РФ на промышленный образец №38179, 25-02, опубл. 1994.01.25.
2. Патент GR 1002784, опубл. 10.10.1997.
3. Патент №6508292 US, опубл. 21.01.2003.
4. Патент на изобретение №2228419 RU, опубл. 10.05.2004.
5. Патент на полезную модель №58589, опубл. 27.11.2006.
Claims (3)
1. Рулонная система, состоящая из левого и правого направляющих профилей, прикрепленных верхней частью к кассете с храповиком, состоящим из корпуса, храпового колеса и пружины, пружиной натяжения/скручивания сетки, которая выполнена с возможностью открытия/закрытия проема между направляющих профилей с помощью ползуна со шнурком и колпачком, или шторы в рулоне с осью, втулкой пружины, и торцевыми крышками: крышкой храповика и крышкой-осью кассеты, а нижней частью - к поперечине с помощью правого и левого уголков, отличающаяся тем, что направляющие профили выполнены с полостями с установленными в них резиновыми уплотнителями, функцией которых является обеспечение перемещения ползуна вдоль направляющих профилей с упором на уплотнители.
2. Рулонная система по п.1, отличающаяся тем, что ползун выполнен в виде незамкнутого профиля, в верхней части которого расположена полость для закрепления сетки или шторы с помощью уплотнителя и планки, функцией которых является плотный обжим и закрепление сетки или шторы, а в нижней части - полость для установки магнитной вставки ползуна, выполненной с возможностью дополнительного герметичного уплотнения при закрытом положении системы между ползуном и поперечиной с помощью магнитной вставки поперечины, а в боковых частях - незамкнутая полость для установки двух ручек, выполненных с возможностью перемещения вдоль ползуна с зубцами, функцией которых является взаимодействие со специальными полостями, образованными уголками и боковыми профилями, и фиксация сетки или шторы в закрытом положении, при этом с торцевых сторон ползуна закреплены правый и левый обтекатели, выполненные в виде двух зеркальных деталей, с поверхностью для контакта с резиновыми уплотнителями, с выступами для закрепления в незамкнутой полости для установки ручек профиля ползуна.
3. Рулонная система по п.2, отличающаяся тем, что на ползуне закреплен держатель шнурка, выполненный в виде профиля сложного сечения, с отверстием для закрепления шнурка, прикрепленного к колпачку с выступом, функцией которого является возможное закрепление в одном из боковых профилей и исключение его «болтания» в случае сильного ветра.
Priority Applications (1)
| Application Number | Priority Date | Filing Date | Title |
|---|---|---|---|
| RU2010144880/03U RU106295U1 (ru) | 2010-11-03 | 2010-11-03 | Рулонная система |
Applications Claiming Priority (1)
| Application Number | Priority Date | Filing Date | Title |
|---|---|---|---|
| RU2010144880/03U RU106295U1 (ru) | 2010-11-03 | 2010-11-03 | Рулонная система |
Publications (1)
| Publication Number | Publication Date |
|---|---|
| RU106295U1 true RU106295U1 (ru) | 2011-07-10 |
Family
ID=44740736
Family Applications (1)
| Application Number | Title | Priority Date | Filing Date |
|---|---|---|---|
| RU2010144880/03U RU106295U1 (ru) | 2010-11-03 | 2010-11-03 | Рулонная система |
Country Status (1)
| Country | Link |
|---|---|
| RU (1) | RU106295U1 (ru) |
Cited By (2)
| Publication number | Priority date | Publication date | Assignee | Title |
|---|---|---|---|---|
| RU2563764C2 (ru) * | 2012-11-12 | 2015-09-20 | Лок Антрибстехник Гмбх | Намоточное устройство для закрывания отверстий в частях стены |
| RU237658U1 (ru) * | 2025-05-03 | 2025-09-30 | Соколова Ирина Владимировна | Автоматические оконные рольставни с датчиками формальдегида |
-
2010
- 2010-11-03 RU RU2010144880/03U patent/RU106295U1/ru not_active IP Right Cessation
Cited By (15)
| Publication number | Priority date | Publication date | Assignee | Title |
|---|---|---|---|---|
| RU2563764C2 (ru) * | 2012-11-12 | 2015-09-20 | Лок Антрибстехник Гмбх | Намоточное устройство для закрывания отверстий в частях стены |
| RU237658U1 (ru) * | 2025-05-03 | 2025-09-30 | Соколова Ирина Владимировна | Автоматические оконные рольставни с датчиками формальдегида |
| RU237657U1 (ru) * | 2025-05-03 | 2025-09-30 | Соколова Ирина Владимировна | Автоматические оконные рольставни с датчиками сероводорода |
| RU240559U1 (ru) * | 2025-05-03 | 2026-01-19 | Соколова Ирина Владимировна | Автоматические оконные рольставни с датчиками хлора |
| RU237659U1 (ru) * | 2025-05-05 | 2025-09-30 | Соколова Ирина Владимировна | Автоматические оконные рольставни с датчиками фосфина |
| RU240512U1 (ru) * | 2025-05-07 | 2026-01-16 | Соколова Ирина Владимировна | Автоматические оконные рольставни с датчиками сероводорода и фтора |
| RU240440U1 (ru) * | 2025-05-12 | 2026-01-15 | Соколова Ирина Владимировна | Автоматические оконные рольставни с датчиками сероводорода и озона |
| RU240465U1 (ru) * | 2025-05-13 | 2026-01-15 | Соколова Ирина Владимировна | Автоматические оконные рольставни с датчиками формальдегида и водорода |
| RU240444U1 (ru) * | 2025-05-20 | 2026-01-15 | Соколова Ирина Владимировна | Автоматические оконные рольставни с датчиками формальдегида и хлора |
| RU240595U1 (ru) * | 2025-05-21 | 2026-01-20 | Соколова Ирина Владимировна | Автоматические оконные рольставни с датчиками метана, сероводорода и хлора |
| RU240605U1 (ru) * | 2025-05-21 | 2026-01-20 | Соколова Ирина Владимировна | Автоматические оконные рольставни с датчиками сероводорода, фтора и водорода |
| RU240622U1 (ru) * | 2025-05-28 | 2026-01-21 | Соколова Ирина Владимировна | Автоматические оконные рольставни с датчиками метана, формальдегида и фосфина |
| RU240611U1 (ru) * | 2025-05-30 | 2026-01-20 | Соколова Ирина Владимировна | Автоматические оконные рольставни с датчиками формальдегида, фтора и водорода |
| RU240909U1 (ru) * | 2025-06-03 | 2026-01-30 | Соколова Ирина Владимировна | Автоматические оконные рольставни с датчиками метана, сероводорода и фтора |
| RU240930U1 (ru) * | 2025-06-04 | 2026-01-30 | Соколова Ирина Владимировна | Автоматические оконные рольставни с датчиками метана, озона и фтора |
Similar Documents
| Publication | Publication Date | Title |
|---|---|---|
| US8087445B2 (en) | Spring motor and window covering | |
| CN107075903A (zh) | 可改造的可伸缩纱窗系统 | |
| CA2955005C (en) | Roll-up shade having adjustable clips for height adjustment | |
| US20120012260A1 (en) | Retractable shade assembly with adjustable side guides | |
| JPH09279967A (ja) | ロールスクリーン | |
| CA2776987C (en) | Screen device | |
| US9970232B2 (en) | Mountable cover, blind and / or shade for a window or skylight | |
| EP2236731A2 (en) | Covering arrangement for architectural openings | |
| CA2601483C (en) | Method and apparatus for window covering with a cord safety device | |
| RU106295U1 (ru) | Рулонная система | |
| EP2982827B1 (en) | Roller awning | |
| KR20080029057A (ko) | 햇빛가리개가 구비된 절첩식 방충망 | |
| KR200491073Y1 (ko) | 블라인드 장치 | |
| KR0178759B1 (ko) | 커텐 겸 방충망을 구비한 슬라이딩 샤시창 | |
| RU91366U1 (ru) | Рулонная штора | |
| CN101874144B (zh) | 包括便于遮蔽体的展示的配件的遮蔽装置和遮蔽装置与改善遮蔽装置的展示的包装的组合体 | |
| JPH0128236Y2 (ru) | ||
| JPH044466Y2 (ru) | ||
| KR102361344B1 (ko) | 잔여롤 회수가 가능한 롤 방충망 | |
| TWI436751B (zh) | 捲簾 | |
| DE102022130428B3 (de) | Sonnenschutzvorrichtung | |
| EP3296503B1 (en) | Fabric roller blind provided with a device for adjusting the tension | |
| RU103061U1 (ru) | Антимоскитная рулонная система | |
| CN217863649U (zh) | 遮阳帘总成及汽车 | |
| AT11824U1 (de) | Vertikal sowie horizontal verbaubares rollosystem, insbesondere insektenschutzgitter-rollosystem, mit geringer bautiefe |
Legal Events
| Date | Code | Title | Description |
|---|---|---|---|
| MM1K | Utility model has become invalid (non-payment of fees) |
Effective date: 20121104 |
