KR20180128245A - Bridge using temporary bridge and construction method - Google Patents

Bridge using temporary bridge and construction method Download PDF

Info

Publication number
KR20180128245A
KR20180128245A KR1020170063558A KR20170063558A KR20180128245A KR 20180128245 A KR20180128245 A KR 20180128245A KR 1020170063558 A KR1020170063558 A KR 1020170063558A KR 20170063558 A KR20170063558 A KR 20170063558A KR 20180128245 A KR20180128245 A KR 20180128245A
Authority
KR
South Korea
Prior art keywords
bridge
steel pipe
girder
precast
pocket portion
Prior art date
Legal status (The legal status is an assumption and is not a legal conclusion. Google has not performed a legal analysis and makes no representation as to the accuracy of the status listed.)
Granted
Application number
KR1020170063558A
Other languages
Korean (ko)
Other versions
KR102012367B1 (en
Inventor
김선곤
Original Assignee
김선곤
Priority date (The priority date is an assumption and is not a legal conclusion. Google has not performed a legal analysis and makes no representation as to the accuracy of the date listed.)
Filing date
Publication date
Application filed by 김선곤 filed Critical 김선곤
Priority to KR1020170063558A priority Critical patent/KR102012367B1/en
Publication of KR20180128245A publication Critical patent/KR20180128245A/en
Application granted granted Critical
Publication of KR102012367B1 publication Critical patent/KR102012367B1/en
Active legal-status Critical Current
Anticipated expiration legal-status Critical

Links

Images

Classifications

    • EFIXED CONSTRUCTIONS
    • E01CONSTRUCTION OF ROADS, RAILWAYS, OR BRIDGES
    • E01DCONSTRUCTION OF BRIDGES, ELEVATED ROADWAYS OR VIADUCTS; ASSEMBLY OF BRIDGES
    • E01D21/00Methods or apparatus specially adapted for erecting or assembling bridges
    • EFIXED CONSTRUCTIONS
    • E01CONSTRUCTION OF ROADS, RAILWAYS, OR BRIDGES
    • E01DCONSTRUCTION OF BRIDGES, ELEVATED ROADWAYS OR VIADUCTS; ASSEMBLY OF BRIDGES
    • E01D15/00Movable or portable bridges; Floating bridges
    • E01D15/12Portable or sectional bridges
    • EFIXED CONSTRUCTIONS
    • E01CONSTRUCTION OF ROADS, RAILWAYS, OR BRIDGES
    • E01DCONSTRUCTION OF BRIDGES, ELEVATED ROADWAYS OR VIADUCTS; ASSEMBLY OF BRIDGES
    • E01D19/00Structural or constructional details of bridges
    • E01D19/005Piers, trestles, bearings, expansion joints or parapets specially adapted for portable or sectional bridges
    • EFIXED CONSTRUCTIONS
    • E01CONSTRUCTION OF ROADS, RAILWAYS, OR BRIDGES
    • E01DCONSTRUCTION OF BRIDGES, ELEVATED ROADWAYS OR VIADUCTS; ASSEMBLY OF BRIDGES
    • E01D2/00Bridges characterised by the cross-section of their bearing spanning structure
    • EFIXED CONSTRUCTIONS
    • E02HYDRAULIC ENGINEERING; FOUNDATIONS; SOIL SHIFTING
    • E02DFOUNDATIONS; EXCAVATIONS; EMBANKMENTS; UNDERGROUND OR UNDERWATER STRUCTURES
    • E02D13/00Accessories for placing or removing piles or bulkheads, e.g. noise attenuating chambers
    • E02D13/04Guide devices; Guide frames
    • EFIXED CONSTRUCTIONS
    • E02HYDRAULIC ENGINEERING; FOUNDATIONS; SOIL SHIFTING
    • E02DFOUNDATIONS; EXCAVATIONS; EMBANKMENTS; UNDERGROUND OR UNDERWATER STRUCTURES
    • E02D7/00Methods or apparatus for placing sheet pile bulkheads, piles, mouldpipes, or other moulds
    • E02D7/02Placing by driving

Landscapes

  • Engineering & Computer Science (AREA)
  • Civil Engineering (AREA)
  • Structural Engineering (AREA)
  • Architecture (AREA)
  • Life Sciences & Earth Sciences (AREA)
  • General Life Sciences & Earth Sciences (AREA)
  • Mining & Mineral Resources (AREA)
  • Paleontology (AREA)
  • General Engineering & Computer Science (AREA)
  • Bridges Or Land Bridges (AREA)

Abstract

임시교량을 사용한 교량 및 이의 시공방법이 개시된다. 본 발명은 강관파일이 삽입될 수 있는 다수개의 통공이 구비된 가이드프레임과 상기 가이드프레임의 일측에 결합되어 있는 다수개의 가이드파일이 일체형으로 구비된 임시교량과, 상기 상기 교량의 측면의 강관파일에 결합되며, 상기 임시교량의 통공에 끼워져 임시교량을 거치시키는 거치대를 구비하여 상기 임시교량을 제거한 후 교량의 측면 거치대에 거치함으로써, 인양 횟수를 줄일 수 있고, 시공비용과 시간을 줄일 수 있는 임시교량을 사용한 교량 및 이의 시공방법을 제공한다.A bridge using a temporary bridge and a method of constructing the bridge are disclosed. The present invention relates to a temporary bridge in which a guide frame having a plurality of through holes through which a steel pipe file can be inserted and a plurality of guide piles coupled to one side of the guide frame are integrally formed, A temporary bridge which is inserted into the through hole of the temporary bridge and is provided with a stand for mounting the temporary bridge to remove the temporary bridge and mount the same on the side stand of the bridge, And a method of constructing the bridge.

Description

임시교량을 사용한 교량 및 이의 시공방법{BRIDGE USING TEMPORARY BRIDGE AND CONSTRUCTION METHOD}[0001] BRIDGE USING TEMPORARY BRIDGE AND CONSTRUCTION METHOD [0002]

본 발명은 교량에 관한 것으로, 보다 상세하게는 임시교량을 교량의 측면 거치대에 거치함으로써, 인양 횟수를 줄일 수 있고, 시공비용과 시간을 줄일 수 있는 임시교량을 사용한 교량 및 이의 시공방법에 관한 것이다.The present invention relates to a bridge, more particularly, to a bridge using temporary bridges capable of reducing the number of times of lifting and lowering the construction cost and time by mounting a temporary bridge on a side stand of the bridge, and a construction method thereof .

일반적으로, 교량(bridge)이라 함은 물이나 어떤 곳의 위로 건너다니도록 만든 시설물을 의미하는 것으로서, 설치하고자 하는 환경이나 특성 및 용도에 따라 다양한 공법에 의해 시공된다.In general, a bridge means a facility that is made to cross over water or a certain place. The bridge is constructed by various methods depending on the environment, characteristics and purpose of installation.

이러한 교량을 설치하기 위해서 현장에서 직접 거푸집 및 배근 공사 후 콘크리트를 타설하는 방식에 의해 구조물을 시공하는 것이 전통적이라 할 수 있으나, 이는 기본적으로 현장 상황에 의해 시공되는 구조물의 품질이 지나치게 많은 영향을 받는다는 문제점을 안고 있었다.In order to install these bridges, it is traditionally to construct the structures by placing the concrete directly after the formwork and the laying work on site, but this is basically because the quality of the structures to be installed by the on-site situation is excessively influenced I had a problem.

따라서, 최근에는 프리캐스트(Precast)에 의해 구조물을 구성하는 부재를 미리 제조하고, 이를 현장에서 조립하는 방식에 의한 공법의 연구가 활발히 진행되고 있으며, 이는 당연히 현장 상황과 관계없이 구조물의 품질을 확보할 수 있다는 장점을 갖는다.Therefore, in recent years, there has been actively studied a method of manufacturing a member constituting the structure by precast and assembling it in the field, and it is natural that the quality of the structure is secured .

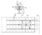
우선 도 1 및 도 2와 같이, 프리캐스트 구조물로 교량를 시공하기 앞서 교량의 강관파일(110)을 측정된 정위치에 항타하기 위해 임시교량(10)이 설치되는데, 상기 임시교량(10)은 강관파일(110)을 배치하기 위해 통공(21)이 형성된 가이드프레임(20)과 상기 가이드프레임(20)을 지지하는 가이드파일(11)로 구성된다.First, as shown in FIGS. 1 and 2, a temporary bridge 10 is installed before the bridges are installed in the pre-cast structure in order to move the steel pipe files 110 of the bridges to the measured correct positions. The temporary bridges 10, A guide frame 20 in which a through hole 21 is formed to dispose the file 110 and a guide file 11 for supporting the guide frame 20.

상기 가이드프레임(20)의 설치장소가 물이 있는 하천이나 바다인 경우에는 먼저 가도를 축조하거나 바지선(30)을 시공하여 다수개의 가이드파일(11)을 바이브로햄마(40)로 항타한 후 상기 가이드파일(11)에 가이드프레임(20)을 설치한 후 통공(21)에 강관파일(30)을 삽입한 후 항타하게 된다. 이 후 다시 역순으로 가이드프레임(20) 및 가이드 파일(11)을 해체한다.When the installation place of the guide frame 20 is a river or sea where water is present, first a road is constructed or a barge line 30 is installed to mount a plurality of guide piles 11 to a vibrohammer 40, After the guide frame 20 is installed in the guide file 11, the steel pipe file 30 is inserted into the through hole 21, and then the vehicle is driven. Thereafter, the guide frame 20 and the guide file 11 are disassembled again in the reverse order.

상술한 프리캐스트 구조물인 프리캐스트 바닥판(40)을 사용하려면, 정확한 위치와 높이로 강관파일(30)이 설치해야 되는데, 상기 강관파일(30)의 위치를 정확하게 항타하기 위해서는 임시교량(10)의 설치가 필수이다.In order to use the precast deck 40 as a precast structure, the steel pipe 30 must be installed at an accurate position and height. In order to accurately position the steel pipe 30, Is required.

그러나, 상기한 바와 같은 임시교량(10)은 가이드파일(11) 및 가이드프레임(20)의 번거로운 설치 및 해체작업의 반복적으로 시행함으로 필요 이상으로 전체적인 교량 설치기간과 설치비용이 소요되어 교량 시공에 소요되는 시공비가 증가되는 문제점이 있었다. 또한 그러나 이러한 임시교량(10)의 설치와 해체작업에 많은 대형장비가 투입되어 시공기간이 더욱 늘어난다는 문제점이 있었다.However, since the provisional bridge 10 as described above is repeatedly installed and disassembled for troublesome installation and dismantling of the guide file 11 and the guide frame 20, the entire bridge installation period and installation cost are required more than necessary, There is a problem that the required construction cost is increased. However, there is a problem in that a large number of large equipment is inserted into the installation and demolition work of the temporary bridge 10, and the construction period is further increased.

따라서 이러한 문제점을 해결하기 위한 본 발명의 목적은 강관파일이 삽입될 수 있는 다수개의 통공이 구비된 가이드프레임과 상기 가이드프레임의 일측에 결합되어 있는 다수개의 가이드파일이 일체형으로 구비된 임시교량과, 상기 상기 교량의 측면의 강관파일에 결합되며, 상기 임시교량의 통공에 끼워져 임시교량을 거치시키는 거치대를 구비하여 상기 임시교량을 제거한 후 교량의 측면 거치대에 거치함으로써, 인양 횟수를 줄일 수 있고, 시공비용과 시간을 줄일 수 있는 임시교량을 사용한 교량 및 이의 시공방법을 제공하는 것이다.SUMMARY OF THE INVENTION Accordingly, the present invention has been made keeping in mind the above problems occurring in the prior art, and an object of the present invention is to provide a temporary bridge including a guide frame having a plurality of holes through which a steel pipe file can be inserted and a plurality of guide piles coupled to one side of the guide frame, The bridge is coupled to a steel pipe file on the side of the bridge and has a cradle that is inserted in the through hole of the temporary bridge to receive the temporary bridge and removes the temporary bridge and then mounts the bridge on the side cradle of the bridge, A bridge using temporary bridges capable of reducing cost and time, and a method of constructing the bridge.

상기 목적을 달성하기 위하여 본 발명은 강관파일이 삽입될 수 있는 다수개의 통공이 구비된 가이드프레임과, 상기 가이드프레임의 일측에 결합되어 있는 다수개의 가이드파일이 일체형으로 구비된 임시교량을 준비하는 단계; 상기 가이드프레임의 통공에 강관파일을 삽입 후 항타작업을 수행하는 단계; 상기 가이드프레임의 통공에 삽입되어 항타된 강관파일의 상측을 기 측정된 높이로 커팅하는 단계; 상기 임시교량을 강관파일에서 제거하여 교량의 측면 일측에 거치하는 작업을 수행하는 단계를 포함하는 임시교량을 사용한 교량의 시공방법을 제공한다.According to an aspect of the present invention, there is provided a method of preparing a temporary bridge comprising a guide frame having a plurality of through holes into which a steel pipe file can be inserted, and a plurality of guide piles coupled to one side of the guide frame, ; Inserting a steel pipe file into the through hole of the guide frame, and performing a hitching operation; Cutting the upper side of the pierced steel pipe file inserted into the through hole of the guide frame to a predetermined height; And a step of removing the temporary bridge from the steel pipe file to place the temporary bridge on one side of the bridge, thereby providing a method of constructing the bridge using the temporary bridge.

또한 상기 강관파일을 항타하는 단계 전, 강관파일를 정확한 위치로 항타하기 위하여 상기 가이드프레임의 통공에 강관파일을 삽입한 후 상기 강관파일의 외주면의 형상에 대응되는 내주면을 갖는 삽입공이 형성된 가이드플레이트가 결합되는 단계를 더 포함하고, 상기 임시교량을 제거하는 단계는 상기 강관파일에서 가이드플레이트를 제거하는 것을 더 포함할 수 있다.And a guide plate having an insertion hole having an inner circumferential surface corresponding to the shape of the outer circumferential surface of the steel pipe file after inserting the steel pipe file into the through hole of the guide frame for driving the steel pipe file to the correct position, The step of removing the temporary bridge may further include removing the guide plate from the steel pipe file.

또한 상기 임시교량을 거치하는 단계에서 상기 거치대는, 상기 교량의 측면의 강관파일에 결합되며, 상기 임시교량의 통공에 끼워져 임시교량을 거치시키는 거치돌출부가 구비될 수 있다.Also, in the step of mounting the temporary bridge, the cradle may be provided with a cradle protrusion coupled to a steel pipe file on a side surface of the bridge and inserted into the through hole of the temporary bridge to mount the temporary bridge.

또한 상기 교량의 전방에 항타된 강관파일에 가로보를 용접 또는 볼트체결로 결합하고, 상측에 캡을 씌우는 단계를 더 포함할 수 있다.Further, the method may further include the step of joining the beam to the steel pipe filed in front of the bridge by welding or bolting, and capping the upper side.

또한 상기 강관파일 위에 복수개의 거더를 설치하는 단계; 상기 복수개 거더의 상측에 포켓부가 형성된 프리캐스트 복공판을 설치하는 프리캐스트 복공판 설치단계; 상기 프리캐스트 복공판 설치단계 후에, 상기 포켓부의 내측으로 연결재를 삽입한 상태에서 상기 포켓부의 중심 위치에 대응하는 상기 거더 상측면에 연결재를 용접하는 연결재 설치단계; 상기 포켓부를 통해 채움재를 일정량 타설하는 채움재 타설단계 및 상기 프리캐스트 복공판을 고정하도록 상기 연결재의 상단에 연결판을 설치하는 연결판 설치단계를 포함하며, 상기 거더 설치단계와 상기 프리캐스트 복공판 설치단계의 사이에는, 상기 포켓부를 통해 타설되는 채움재의 누설 방지를 위해 상기 포켓부 위치의 거더 상측면에 포켓부의 둘레를 감싸도록 실링테이프를 설치하는 단계를 더 포함할 수 있다.Installing a plurality of girders on the steel pipe file; A precast laminating plate installation step of installing a precast laminating plate on which a plurality of girders are formed with pockets; A connecting member mounting step of welding the connecting member to the upper surface of the girder corresponding to the center position of the pocket portion in a state where the connecting member is inserted into the pocket portion after the precast stitching step; A filling material placing step of placing a filler material in a predetermined amount through the pocket part, and a connecting plate mounting step of installing a connecting plate at an upper end of the connecting material so as to fix the precast flat plate. In the girder mounting step and the precast flat plate mounting step The method may further include the step of installing a sealing tape on the upper surface of the girder at the position of the pocket so as to surround the periphery of the pocket portion to prevent leakage of the filler pierced through the pocket portion.

또한 상기 강관파일 위에 복수개의 거더를 설치하는 단계; 상기 복수개 거더의 상측에 포켓부가 형성된 프리캐스트 복공판을 설치하는 프리캐스트 복공판 설치단계; 상기 프리캐스트 복공판 설치단계 후에, 상기 포켓부의 내측으로 연결재를 삽입한 상태에서 상기 포켓부의 중심 위치에 대응하는 상기 거더 상측면에 연결재를 용접하는 연결재 설치단계; 상기 연결재의 외측에 쉬스를 삽입 설치하는 쉬스 설치단계 및 상기 포켓부를 통해 채움재를 타설하는 채움재 타설단계를 포함하며, 상기 거더 설치단계와 상기 프리캐스트 복공판 설치단계의 사이에는, 상기 포켓부를 통해 타설되는 채움재의 누설 방지를 위해 상기 포켓부 위치의 거더 상측면에 포켓부의 둘레를 감싸도록 실링테이프를 설치하는 단계를 포함할 수 있다.Installing a plurality of girders on the steel pipe file; A precast laminating plate installation step of installing a precast laminating plate on which a plurality of girders are formed with pockets; A connecting member mounting step of welding the connecting member to the upper surface of the girder corresponding to the center position of the pocket portion in a state where the connecting member is inserted into the pocket portion after the precast stitching step; A sheathing step of inserting a sheath on the outer side of the connecting member and a filling material placing step of placing the filling material through the pocket part, wherein the step of installing the girder and the step of installing the pre- And installing a sealing tape around the pocket portion on the upper surface of the girder at the position of the pocket to prevent leakage of the filler.

상기 두 번째 목적을 달성하기 위하여 본 발명은 해양 또는 지반에 항타되는 강관파일; 상기 강관파일의 상측에 구비된 거더; 상기 거더의 상측에 설치되는 프리캐스트 바닥판; 상기 강관파일이 삽입될 수 있는 다수개의 통공이 구비된 가이드프레임과, 상기 가이드프레임의 일측에 결합되어 있는 다수개의 가이드파일이 일체형으로 구비된 임시교량 및 상기 교량의 측면에 결합되어 상기 임시교량이 거치되는 거치대를 포함하는 임시교량을 사용한 교량을 제공한다.In order to accomplish the above second object, the present invention provides a steel pipe file for marine or geotechnical purposes; A girder provided on the upper side of the steel pipe file; A precast bottom plate provided on the upper side of the girder; A temporary bridge including a plurality of guide piles coupled to one side of the guide frame and having a plurality of holes through which the steel pipe file can be inserted; Provides bridges using temporary bridges that include a mounted stand.

또한 상기 거치대는, 상기 임시교량의 통공에 끼워져 거치시키는 거치돌출부가 마련될 수 있다.Further, the cradle may be provided with a cradle protrusion which is inserted into the through hole of the temporary bridge to be mounted thereon.

상기에서 설명한 본 발명의 임시교량을 사용한 교량 및 이의 시공방법에 의하면, 상기 임시교량을 제거한 후 분해하여 교량의 외부로 옮겨놓았던 번거로운 종래의 작업을 탈피하여 상기 임시교량을 교량의 측면 거치대에 거치함으로써, 인양 횟수를 줄일 수 있고, 별도의 바지선 구매도 불필요하여 시공비용과 시간을 줄일 수 있는 효과가 있다.According to the bridge using the temporary bridge of the present invention and the method of applying the bridge of the present invention described above, the temporary bridge is removed and then disassembled and transferred to the outside of the bridge to avoid the troublesome conventional work and the temporary bridge is mounted on the side stand of the bridge , The number of lifting can be reduced, and a separate barge line is not required to be purchased, thereby reducing construction costs and time.

도 1은 종래의 교량의 시공방법을 도시한 사시도이다.
도 2는 도 1의 가이드프레임을 도시한 사시도이다.
도 3은 본 발명에 의한 임시교량을 사용한 교량의 시공방법을 도시한 사시도이고, 도 4는 도 3의 정면도이다.
도 5는 본 발명에 의한 임시교량을 사용한 교량의 시공방법을 도시한 사시도이다.
도 6은 본 발명에 의한 임시교량에서 임시교량 및 강관파일을 도시한 사시도이다.
도 7은 도 6의 임시교량의 가이드프레임과 강관파일의 결합된 모습을 도시한 사시도이다.
도 8은 도 6에서 강관파일을 커팅하는 모습을 도시한 사시도이다.
도 9는 도 3에서 임시교량을 교량의 거치대에 옮겨놓은 모습을 도시한 사시도이다.
도 10은 도 9를 다른 각에서 바라본 모습을 도시한 사시도이다.
도 11은 도 9의 강관파일에 캡과 가로보가 구비된 모습을 도시한 사시도이다.
도 12는 본 발명에 의한 거더를 도시한 사시도이다.
도 13은 도 12의 거더가 결합된 모습을 도시한 사시도이다.
도 14는 본 발명에 따른 가교를 나타내는 사시도이다.
도 15는 본 발명에 따른 가교의 다양한 실시예를 나타내는 단면도이다.
도 16은 본 발명에 따른 가교의 시공방법에서 거더 설치단계를 나타내는 도면이다.
도 17은 본 발명에 따른 가교의 시공방법에서 프리캐스트 바닥팍 설치단계를 나타내는 도면이다.
도 18는 본 발명에 따른 가교의 시공방법에서 연결재 설치단계를 나타내는 도면이다.
도 19은 본 발명에 따른 가교의 시공방법에서 채움재 설치단계를 나타내는 도면이다.
도 20은 본 발명에 따른 가교의 시공방법에서 연결판 설치단계를 나타내는 도면이다.
도 21는 본 발명에 따른 가교의 시공이 완료된 상태를 나타내는 도면이다.
도 22은 본 발명에 따른 가교의 해체방법을 나타내는 도면이다.
1 is a perspective view showing a conventional method of constructing a bridge.
Fig. 2 is a perspective view showing the guide frame of Fig. 1. Fig.
FIG. 3 is a perspective view showing a construction method of a bridge using a temporary bridge according to the present invention, and FIG. 4 is a front view of FIG.
5 is a perspective view showing a construction method of a bridge using a temporary bridge according to the present invention.
6 is a perspective view showing a temporary bridge and a steel pipe file in the temporary bridge according to the present invention.
FIG. 7 is a perspective view showing a combined state of the guide frame and the steel pipe file of the temporary bridge of FIG. 6. FIG.
8 is a perspective view showing a state in which a steel pipe file is cut in FIG.
Fig. 9 is a perspective view showing a state in which a temporary bridge is transferred to a cradle of a bridge in Fig. 3;
10 is a perspective view showing a state in which FIG. 9 is viewed from another angle.
FIG. 11 is a perspective view showing a state in which a cap and a beam are provided in the steel pipe file of FIG. 9. FIG.
12 is a perspective view showing a girder according to the present invention.
13 is a perspective view showing a state in which the girders of FIG. 12 are combined.
14 is a perspective view showing crosslinking according to the present invention.
15 is a cross-sectional view showing various embodiments of crosslinking according to the present invention.
16 is a view showing a step of installing a girder in a method of cross-linking according to the present invention.
17 is a view showing a step of installing a precast floor in a method of constructing a bridge according to the present invention.
FIG. 18 is a view showing a step of installing a connecting material in the crosslinking method according to the present invention.
19 is a view showing a step of installing a filler in the method of crosslinking according to the present invention.
20 is a view showing the step of installing a connecting plate in the method of crosslinking according to the present invention.
21 is a view showing a state in which the construction of the crosslinking according to the present invention is completed.
22 is a view showing a method of disassembling a bridge according to the present invention.

본 발명을 충분히 이해하기 위해서 본 발명의 바람직한 실시예를 첨부 도면을 참조하여 설명한다. 본 발명의 실시예는 여러 가지 형태로 변형될 수 있으며, 본 발명의 범위가 아래에서 상세히 설명하는 실시예로 한정되는 것으로 해석되어서는 안 된다. 본 실시예는 당업계에서 평균적인 지식을 가진 자에게 본 발명을 보다 완전하게 설명하기 위하여 제공 되는 것이다. 따라서 도면에서의 요소의 형상 등은 보다 명확한 설명을 강조하기 위해서 과장되어 표현될 수 있다. 각 도면에서 동일한 부재는 동일한 참조부호로 도시한 경우가 있음을 유의하여야 한다. 또한, 본 발명의 요지를 불필요하게 흐릴 수 있다고 판단되는 공지 기능 및 구성에 대한 상세한 기술은 생략된다.For a better understanding of the present invention, a preferred embodiment of the present invention will be described with reference to the accompanying drawings. The embodiments of the present invention may be modified into various forms, and the scope of the present invention should not be construed as being limited to the embodiments described in detail below. The present embodiments are provided to enable those skilled in the art to more fully understand the present invention. Therefore, the shapes and the like of the elements in the drawings can be exaggeratedly expressed to emphasize a clearer description. It should be noted that in the drawings, the same members are denoted by the same reference numerals. Further, detailed descriptions of well-known functions and configurations that may be unnecessarily obscured by the gist of the present invention are omitted.

도 3 내지 도 14는 본 발명에 의한 교량(100)의 시공방법을 설명하기 위한 사시도이다. 도 3은 본 발명에 의한 임시교량을 사용한 교량의 시공방법을 도시한 사시도이고, 도 4는 도 3의 정면도이다.3 to 14 are perspective views for explaining a method of constructing the bridge 100 according to the present invention. FIG. 3 is a perspective view showing a construction method of a bridge using a temporary bridge according to the present invention, and FIG. 4 is a front view of FIG.

도 3 및 도 4에 도시된 바와 같이, 상기 교량(100)은 전진 시공 방식을 택하며, 하천 또는 지반에 항타된 강관파일(110)과, 상기 교량(100)의 상측에 구비된 거더(200)와, 상기 거더(200)의 상측에 설치되는 프리캐스트 바닥판(300)을 포함한다.As shown in FIGS. 3 and 4, the bridge 100 adopts a forward operation type and includes a steel pipe file 110 pushed into a river or a ground, a girder 200 provided above the bridge 100, And a precast bottom plate 300 installed on the upper side of the girder 200.

우선 본 발명에 의한 교량(100)은 상기 강관파일(110)이 삽입될 수 있는 다수개의 통공(21)이 구비된 가이드프레임(20)과, 상기 가이드프레임(20)의 일측에 결합되어 있는 다수개의 가이드파일(11)이 일체형으로 구비된다. 상기 임시교량(10)은 현장에서 미리 제작되어 교량(100)의 전방향으로 크레인(5)에 의하여 인양되고, 상기 가이드파일(11)은 바이브로 햄머에 의하여 항타되어 임시교량(10)이 고정된다.The bridge 100 according to the present invention includes a guide frame 20 having a plurality of through holes 21 into which the steel pipe 110 can be inserted and a plurality of Guide pawls 11 are integrally provided. The temporary bridge 10 is preliminarily manufactured in the field and lifted by the crane 5 in all directions of the bridge 100. The guide pile 11 is moved by the vibrohammer to fix the temporary bridge 10 do.

즉 본 발명은 강관파일(110)이 삽입될 수 있는 다수개의 통공(21)이 구비된 가이드프레임(20)과, 상기 가이드프레임(20)의 일측에 결합되어 있는 다수개의 가이드파일(11)이 일체형으로 구비된 임시교량(10)을 준비하는 단계(S1)를 포함한다.That is, the present invention is characterized in that a guide frame 20 having a plurality of through holes 21 into which a steel pipe file 110 can be inserted, and a plurality of guide piles 11 coupled to one side of the guide frame 20 (S1) of preparing a provisional bridge 10 integrally provided.

도 5는 본 발명에 의한 임시교량을 사용한 교량의 시공방법을 도시한 사시도이고, 도 6은 본 발명에 의한 임시교량에서 임시교량 및 강관파일을 도시한 사시도이다.FIG. 5 is a perspective view showing a construction method of a bridge using a temporary bridge according to the present invention, and FIG. 6 is a perspective view showing a temporary bridge and a steel pipe file in a temporary bridge according to the present invention.

도 5 및 도 6과 같이, 상기 가이드프레임(20)의 통공(21)에 강관파일(110)이 삽입된 후 바이브로 햄머 및/또는 오가드릴에 의한 항타작업이 수행된다. 이 경우 상술한 바와 같이, 상기 강관파일(110)은 가이드프레임(20)의 통공(21)에 끼워져 항타되므로 그 항타위치를 정확하게 맞출 수 있다. 특히 상기 교량(100)에는 프리캐스트 바닥판(300)이 설치되므로, 항타위치를 정확하게 맞추지 못하면, 프리캐스트 바닥판(300)이 파손될 수 있는 우려가 있다.5 and 6, after the steel pipe file 110 is inserted into the through hole 21 of the guide frame 20, a vibro hammer and / or a drill bit is drilled. In this case, as described above, since the steel pipe pile 110 is inserted into the through hole 21 of the guide frame 20, it can be accurately positioned. Particularly, since the precast deck 300 is installed in the bridge 100, precast deck 300 may be damaged if the hammering position is not precisely adjusted.

이에 본 발명은 상기 가이드프레임(20)의 통공(21)에 강관파일(110)을 삽입 후 항타작업을 수행하는 단계(S2)를 포함한다.Accordingly, the present invention includes a step S2 of inserting a steel pipe file 110 into the through hole 21 of the guide frame 20 and carrying out a hitching operation.

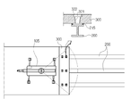
도 7은 도 6의 임시교량의 가이드프레임과 강관파일의 결합된 모습을 도시한 사시도이다.FIG. 7 is a perspective view showing a combined state of the guide frame and the steel pipe file of the temporary bridge of FIG. 6. FIG.

도 7과 같이, 상기 강관파일(110)을 가이드프레임(20)의 통공(21)에 끼워져 항타하는 단계(S2) 전에 강관파일(110)를 정확한 위치로 항타하기 위하여 상기 가이드프레임(20)의 통공(21)에 강관파일(110)을 삽입한 후 상기 강관파일(110)의 외주면의 형상에 대응되는 내주면을 갖는 삽입공이 형성된 가이드플레이트(22)가 결합되는 단계(S1-1)를 더 포함할 수 있다.7, in order to mount the steel pipe file 110 to the correct position before the step S2 of inserting the steel pipe file 110 into the through hole 21 of the guide frame 20, The method further includes a step (S1-1) of inserting a steel pipe file (110) into the through hole (21) and then inserting a guide plate (22) having an insert hole having an inner circumferential surface corresponding to the shape of the outer circumferential surface of the steel pipe can do.

도 8은 도 6에서 강관파일을 커팅하는 모습을 도시한 사시도이다.8 is a perspective view showing a state in which a steel pipe file is cut in FIG.

도 8과 같이, 가이드프레임(20)의 통공(21)에 삽입되어 항타된 다수개의 강관파일(110)의 상측을 기 측정된 높이로 정확하게 커팅하는 단계(S3)를 포함한다.8, cutting the upper side of the plurality of steel tube piles 110 inserted into the through holes 21 of the guide frame 20 to the pre-measured height to accurately measure the height (S3).

도 9는 도 3에서 임시교량을 교량의 거치대에 옮겨놓은 모습을 도시한 사시도이고, 도 10은 도 9를 다른 각에서 바라본 모습을 도시한 사시도이다.FIG. 9 is a perspective view showing a state in which a temporary bridge is transferred to a cradle of a bridge in FIG. 3, and FIG. 10 is a perspective view showing a state where FIG. 9 is viewed from another angle.

도 9 및 도 10과 같이, 본 발명은 강관파일(110)에서 필요에 따라 가이드플레이트(22)를 제거하고, 임시교량(10)을 강관파일(110)에서 제거하여 교량(100)의 측면 일측에 거치하는 작업을 수행하는 단계(S4)를 포함한다.9 and 10, according to the present invention, the guide plate 22 is removed as necessary from the steel pipe file 110, the temporary bridge 10 is removed from the steel pipe pile 110, (S4). ≪ / RTI >

종래에는 상기 임시교량(10)을 제거한 후 분해하여 교량(100)의 외부로 옮겨놓았으나, 추후 가이드파일(11)의 항타 작업 시 임시교량(10)을 다시 가지고 와서 특정 위치에 다시 인양해야 하는 문제가 있었다. 특히 교량(100)이 해양에 건설되는 경우에는 마땅히 놓을 장소가 없어 바지선을 별도로 구비해야 하는 문제가 있었다.The temporary bridge 10 is removed and then disassembled and transferred to the outside of the bridge 100. However, the temporary bridge 10 must be brought back to the specific position at the time of hitching operation of the guide file 11, There was a problem. Particularly, when the bridge 100 is constructed in the ocean, there is no place to place it, and there is a problem that a barge is required separately.

본 발명에서는 상기 임시교량(10)의 사용 후 가이드플레이트(22)를 제거하고 크레인(5)을 이용하여 임시교량(10)을 강관파일(110)로부터 들어올려 교량(100)의 측면에 마련된 거치대(400)에 거치함으로써 상술한 문제점을 해결할 수 있다.The guide plate 22 of the temporary bridge 10 is removed and the temporary bridge 10 is lifted from the steel pipe pile 110 by using the crane 5 to form a cradle It is possible to solve the above-described problem by placing it in the housing 400.

자세하게는 상기 거치대(400)는 교량(100)의 측면의 강관파일(110)에 결합되며, 상기 임시교량(10)의 통공(21)에 끼워져 거치시키는 거치돌출부(410)가 마련된다. 이에 상기 임시교량(10)을 인양하여 통공(21)이 거치돌출부(410)에 끼워질 수 있도록 임시교량(10)을 거치시키게 된다. 추후 임시교량(10)의 재사용을 위해 임시교량(10)을 다시 인양하여 교량(100)의 전방으로 배치할 수 있다.In detail, the cradle 400 is coupled to a steel pipe file 110 on the side of the bridge 100 and is provided with a mounting protrusion 410 which is inserted into the through hole 21 of the temporary bridge 10 for mounting. The temporary bridge 10 is lifted and the temporary bridge 10 is mounted so that the through hole 21 can be fitted in the fixing projection 410. [ The temporary bridge 10 can be lifted again to be placed forward of the bridge 100 for reuse of the temporary bridge 10 later.

도 11은 도 9의 강관파일에 캡과 가로보가 구비된 모습을 도시한 사시도이다.FIG. 11 is a perspective view showing a state in which a cap and a beam are provided in the steel pipe file of FIG. 9. FIG.

도 11와 같이, 상기 교량(100)의 전방에 항타된 강관파일(110)의 내구성을 높이기 위해서 상기 강관파일(110)에 가로보(111)를 용접 또는 볼트체결로 결합하고, 상측에 캡(112)을 씌우는 단계(S4-1)를 더 포함할 수 있다.As shown in FIG. 11, a cross beam 111 is welded or bolted to the steel pipe 110 to increase the durability of the steel pipe 110 pushed in front of the bridge 100, and a cap 112 (Step S4-1).

도 12는 본 발명에 의한 거더를 도시한 사시도이고, 도 13은 도 12의 거더가 결합된 모습을 도시한 사시도이다.FIG. 12 is a perspective view showing a girder according to the present invention, and FIG. 13 is a perspective view showing a combined state of the girder of FIG.

도 12 및 도 13과 같이, 거더(200)를 준비하는 단계로, 상기 거더(200)는 현장에서 미리 제작되어 강관파일(110)의 캡(112)의 상측으로 인양되어 상기 캡(112)에 결합된다. 이 후 상기 거더(200)의 상측에는 프리캐스트 바닥판(300)이 결합된다.12 and 13, the girder 200 is preliminarily manufactured in the field and lifted to the upper side of the cap 112 of the steel pipe pile 110, . Thereafter, the precast deck 300 is coupled to the upper side of the girder 200.

도 14 내지 도 22 는 본 발명의 다른 실시예에 의한 임시교량을 사용한 교량 및 이의 시공방법을 설명하기 위한 도면으로, 도 3 내지 도 13의 실시예에 연장하여 적용될 수 있다.FIGS. 14 to 22 are views for explaining a bridge using a temporary bridge according to another embodiment of the present invention and a method of constructing the same, and may be extended to the embodiments of FIGS. 3 to 13.

도 14는 본 발명에 따른 가교를 나타내는 사시도이다.14 is a perspective view showing crosslinking according to the present invention.

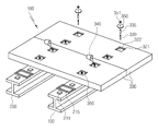
도 14와 같이, 본 발명의 다른 실시예에 따른 교량(100) 구조는, 거더(200), 프리캐스트 바닥판(300), 연결재(330), 채움재(340) 및 연결판(350)을 포함한다.14, the structure of a bridge 100 according to another embodiment of the present invention includes a girder 200, a precast bottom plate 300, a connecting material 330, a filler material 340, and a connecting plate 350 do.

상기 거더(200)는, "H"형태의 강재 거더(200)이며, 하부구조물(미도시) 위에 복수개 설치되는데, 상기 하부구조물은, 본 발명이 적용되는 구조물에 따라 다른데, 일예로 교각이나 교대가 될 수도 있고, 또는 통상 H빔 등의 철골을 이용해 지반에 정착되어 세워지는 기둥이 될 수도 있으며, 본 실시예에서는 캡(112)이 구비된 강관파일(110)의 상측 횡방향으로 서로 일정간격 이격되어 복수개 설치되는 것으로 설명하기로 한다.The girder 200 is an H-shaped steel girder 200, and a plurality of girders 200 are installed on a lower structure (not shown). The lower structure depends on the structure to which the present invention is applied. For example, Or may be a column that is fixed and fixed on the ground by using a steel frame such as an H beam. In this embodiment, the steel pipe 110 having the cap 112 is provided at a predetermined interval It is assumed that a plurality of units are spaced apart from each other.

상기 프리캐스트 바닥판(300)은, 콘크리트로 형성되는 것으로서, 상기 복수개 거더(200)의 상측에 안착 설치된다. 즉, 상기 프리캐스트 바닥판(300)은 복수개의 거더(200) 위에 직교하는 방향으로 배치되어 상기 복수개의 거더(200)를 연결하게 되는데, 이때 상기 프리캐스트 바닥판(300)의 양단부는 상기 거더(200)를 벗어나 외측방향으로 더 길게 형성되기 때문에, 상기 프리캐스트 바닥판(300)의 하측에 배치되는 거더(200)의 개수를 감소할 수 있어 경제성을 향상시킬 수 있다.The precast deck 300 is formed of concrete and is mounted on the upper side of the plurality of girders 200. That is, the precast deck 300 is disposed in a direction orthogonal to the plurality of girders 200 to connect the plurality of girders 200. At this time, both ends of the precast deck 300 are connected to the girders 200, The number of the girders 200 arranged below the precast deck 300 can be reduced and the economical efficiency can be improved.

한편, 상기 거더(200)는, 단일 프리캐스트 바닥판(300)의 길이에 따라 도 2와 같이 2개가 설치되거나, 또는 도 6와 같이 3개나 그 이상이 설치될 수 있다.2, the girders 200 may be installed as shown in FIG. 2, or three or more as shown in FIG. 6, depending on the length of the single precast deck 300.

또한, 프리캐스트 바닥판(300)은, 장기사용으로 인한 내구성 저하가 없고, 강재 미사용으로 인해 소음 감소와 미끄럼 방지 성능이 우수하고, 상부 코팅이 필요없으므로 유지보수가 불필요한 장점이 있다.In addition, the precast deck 300 has no durability due to long-term use, has excellent noise reduction and anti-slip performance due to the non-use of steel, and has no need for maintenance because it does not need an upper coating.

그리고, 상기 프리캐스트 바닥판(300)에는, 복수개의 포켓부(321)가 관통 형성되는데, 상기 포켓부(321)는 상기 프리캐스트 바닥판(300)이 안착되는 거더(200)와 대응하는 위치에 형성된다. 도면에서는 하나의 프리캐스트 바닥판(300)에 4개의 포켓부(321)를 형성하였다. 상기 포켓부(321)는 4각 형상으로 형성되는 것이 바람직하지만, 4각 형상 외에도 원형 등 다른 형상도 가능하다.The precast deck 300 is formed with a plurality of pockets 321 through which the pockets 321 are positioned so as to correspond to the positions of the girders 200 on which the precast deck 300 is seated As shown in FIG. In the drawing, four pocket portions 321 are formed on one precast bottom plate 300. The pocket portion 321 is preferably formed in a quadrangular shape, but may have a circular shape or the like other than a quadrangular shape.

한편, 상기 거더(200) 상측에 설치되는 프리캐스트 바닥판(300) 위에 크레인(5)을 직접 진입시켜 상기 크레인(5)을 이동시켜 가면서 상기 프리캐스트 바닥판(300)을 설치(전진 가설)하게 된다.The precast deck 300 is installed on the precast deck 300 located above the girder 200 while the crane 5 is directly moved to move the crane 5, .

그리고, 상기 거더(200)의 상측면에는, 상기 프리캐스트 바닥판(300)과 상기 거더(200)의 사이를 일정간격 이격시키는 복수개의 스페이스 블럭(211)이 설치된다.The upper surface of the girder 200 is provided with a plurality of space blocks 211 spaced apart from each other by a predetermined distance between the precast deck 300 and the girder 200.

상기 복수개의 스페이스 블럭(211)의 두께에 따라 상기 프리캐스트 바닥판(300)의 수평을 조절할 수 있다.And the horizontal of the precast deck 300 can be adjusted according to the thickness of the plurality of space blocks 211.

한편, 상기 거더(200)의 상측면에 상기 스페이스 블럭(211)을 먼저 설치한 후, 상기 프리캐스트 바닥판(300)을 안착 설치하게 된다.Meanwhile, the space block 211 is first installed on the upper side of the girder 200, and then the precast bottom plate 300 is seated.

그리고, 상기 포켓부(321) 위치의 거더(200) 상측면에는, 상기 포켓부(321)를 통해 타설되는 채움재(340)의 누설 방지를 위해 실링테이프(215)가 설치된다.A sealing tape 215 is installed on the side of the girder 200 at the position of the pocket portion 321 to prevent leakage of the filler material 340 inserted through the pocket portion 321.

즉, 상기 프리캐스트 바닥판(300)이 상기 스페이스 블럭(211)에 의해 상기 거더(200)의 상측면으로부터 일정간격 이격되어 있기 때문에 상기 포켓부(321)를 통해 채움재(340)를 타설하게 되면 상기 이격된 공간으로 누설되므로, 상기 거더(200)의 상측면에 상기 포켓부(321)의 둘레를 감싸도록 실링테이프(215)를 부착함으로써 채움재(340)의 누설을 방지할 수 있다. 상기 실링테이프(215)는 상기 포켓부(321) 처럼 4각 형태로 형성되지만, 상기 포켓부(321) 보다 크게 형성 형성된다.That is, since the precast bottom plate 300 is spaced apart from the upper surface of the girder 200 by the space block 211, when the filler material 340 is poured through the pocket portion 321 The leakage of the filling material 340 can be prevented by attaching the sealing tape 215 to the upper side of the girder 200 so as to surround the periphery of the pocket portion 321. [ The sealing tape 215 is formed in a square shape like the pocket portion 321, but is formed larger than the pocket portion 321.

그리고, 상기 연결재(330)는, 상기 포켓부(321) 위치에 대응하는 상기 거더(200) 상측면에 연결 설치된다. 즉, 상기 연결재(330)은 상기 포켓부(321)의 내측에 위치하면서 상기 거더(200)의 상측면에 용접되어 연결된다. 상기 연결재(330)는, 상기 프리캐스트 바닥판(300)을 거더(200)에 설치한 후에 설치하게 된다.The connecting member 330 is connected to the side surface of the girder 200 corresponding to the position of the pocket portion 321. That is, the coupling member 330 is welded to the upper surface of the girder 200 while being positioned inside the pocket portion 321. The connecting member 330 is installed after the precast deck 300 is installed on the girder 200.

한편, 상기 연결재(330)을 프리캐스트 바닥판(300) 보다 나중에 설치할 경우에는, 상기 거더(200)의 상측에 상기 프리캐스트 바닥판(300)을 설치한 후, 상기 프리캐스트 바닥판(300)의 포켓부(321) 내측으로 상기 연결재(330)을 삽입하여 상기 거더(200)의 상측면과 용접하게 되며, 이처럼 상기 연결재(330)을 프리캐스트 바닥판(300) 보다 나중에 설치할 수도 있어 상기 프리캐스트 바닥판(300)의 설치 위치나 수평을 조절하기가 용이하다.When the connecting member 330 is installed later than the precast deck 300, the precast deck 300 is installed on the upper side of the girder 200, The connecting member 330 may be inserted into the pocket portion 321 of the girder 200 and welded to the upper surface of the girder 200. The connecting member 330 may be installed later than the precast bottom plate 300, It is easy to adjust the mounting position and the horizontal position of the cast bottom plate 300.

그리고, 상기 채움재(340)는, 상기 포켓부(321)를 통해 타설되어 상기 거더(200)와 프리캐스트 바닥판(300)을 합성하게 된다.The filler material 340 is inserted through the pocket portion 321 to synthesize the girder 200 and the precast bottom plate 300.

상기 채움재(340)로는, 무수축 모르타르를 사용하는 것이 바람직하지만 여기에 한정되지 않고 목적에 따라 변경 가능하다.As the filler material 340, it is preferable to use a non-shrinkable mortar, but the present invention is not limited thereto and can be changed depending on the purpose.

도 15는 본 발명에 따른 가교의 다양한 실시예를 나타내는 단면도이다.15 is a cross-sectional view showing various embodiments of crosslinking according to the present invention.

상기 채움재(340)는, 도 15의 (b)(c)(d)와 같이 상기 거더(200)와 프리캐스트 바닥판(300) 사이의 상기 실링테이프(215) 내측 공간에만 타설할 수도 있고, 또는 도 15의 (a)(e)(f)와 같이 상기 거더(200)와 프리캐스트 바닥판(300) 사이의 상기 실링테이프(215) 내측 공간 및 상기 포켓부(321)의 내측 공간까지 모두 타설할 수도 있다.The filling material 340 may be laid only in the space inside the sealing tape 215 between the girder 200 and the precast bottom plate 300 as shown in FIGS. 15 (b), (c) and (d) Or the inner space of the sealing tape 215 between the girder 200 and the precast bottom plate 300 and the inner space of the pocket portion 321 as shown in FIGS. 15A, 15B, It can be put in place.

한편, 도 15의 (a)(e)(f)와 같이 상기 포켓부(321)의 내측 공간까지 채움재(340)를 타설하는 경우에는, 채움재(340) 타설전에 상기 연결재(330)의 외측에 쉬스(335)를 삽입 설치하는 것이 바람직하다.15 (a), (e) and (f), when the filling material 340 is poured to the inner space of the pocket portion 321, the filling material 340 is poured on the outer side of the connecting material 330 It is preferable that the sheath 335 is inserted and installed.

상기 쉬스(335)는 상기 연결재(330)과 채움재(340)의 사이를 이격시킴으로써, 상기 프리캐스트 바닥판(300)의 해체가 용이하도록 하게 된다.The sheath 335 separates the connecting member 330 from the filler material 340 to facilitate disassembly of the precast bottom plate 300.

그리고, 상기 연결판(350)은, 상기 연결재(330)의 상단에 결합되어 상기 프리캐스트 바닥판(300)을 상기 거더(200)측에 고정시키게 된다.The connecting plate 350 is coupled to the upper end of the connecting member 330 to fix the precast bottom plate 300 to the side of the girder 200.

이때, 프리캐스트 바닥판(300)의 포켓부(321) 상단에는 상기 연결판(350)이 수용되는 수용홈(322)이 형성된다. 물론, 상기 수용홈(322) 없이 상기 연결판(350)을 프리캐스트 바닥판(300)의 상측면에 안착할 수도 있다.At this time, a receiving groove 322 for receiving the connecting plate 350 is formed on the upper end of the pocket portion 321 of the precast bottom plate 300. Of course, it is also possible to mount the connecting plate 350 on the upper surface of the precast bottom plate 300 without the receiving groove 322.

또한, 상기 연결재(330)의 상단에 설치된 연결판(350)은, 도 15의 (a)(b)와 같이 상기 포켓부(321)의 수용홈(322)에 안착된 상태에서 너트(51)로 고정될 수도 있고, 또는 도 15의 (c)(d)와 같이 상기 너트 없이 상기 연결판(350)을 직접 연결재(330)의 상단에 나사결합 할 수도 있다.The connection plate 350 provided at the upper end of the coupling member 330 is inserted into the receiving groove 322 of the pocket 321 as shown in FIGS. 15A and 15B, Or the coupling plate 350 may be screwed to the upper end of the coupling member 330 without the nut as shown in FIGS. 15 (c) and 15 (d).

이처럼, 상기 연결재(330)의 상단에 연결판(350)을 설치하게 되면, 상기 프리캐스트 바닥판(300)이 상기 연결판(350)에 걸리게 되면서 상기 거더(200)측에 고정되게 되며 이로인해 프리캐스트 바닥판(300)의 들뜸이나 유동이 방지된다.When the connecting plate 350 is installed on the upper end of the connecting member 330, the precast bottom plate 300 is fastened to the connecting plate 350 and fixed to the side of the girder 200, Lifting or flow of the precast deck 300 is prevented.

상기에서는 상기 연결재(330)의 상단에 연결판(350)이 설치된 구조에서 대해서 설명하였지만, 다른 실시예로서, 도 15의 (e)(f)와 같이 상기 연결판(350)을 생략한 구조도 가능하다.15 (e) and FIG. 15 (f) illustrate a structure in which the connecting plate 350 is omitted, but the connecting plate 350 is not illustrated in FIG. 15 It is possible.

상기 연결판(350)을 생략한 교량(100) 구조는, 도 15의 (e)(f)와 같이 거더(200)와, 프리캐스트 바닥판(300)과, 연결재(330)와, 쉬스(335)와, 채움재(340)로 구성되며, 연결판(350)을 생략한 것을 제외하면 앞서 설명한 교량(100) 구조와 동일한 구성이다.The structure of the bridge 100 in which the connecting plate 350 is omitted has a structure in which the girder 200, the precast bottom plate 300, the connecting member 330, the sheath 335 and a filling material 340 and has the same structure as the bridge 100 described above except that the connecting plate 350 is omitted.

다만, 상기 연결판(350)을 생략한 구조에서는, 상기 포켓부(321)는 상측이 넓고 하측이 좁은 사다리꼴 단면으로 형성되고, 상기 연결재(330)은 상측이 좁고 하측이 넓은 사다리꼴 단면으로 형성된다.However, in the structure in which the connecting plate 350 is omitted, the pocket portion 321 is formed to have a trapezoidal cross section with a wide upper side and a narrower lower side, and the connecting member 330 has a trapezoidal cross- .

이때, 상기 연결재(330)의 외측에 삽입되는 쉬스(335) 역시 연결재(330)과 동일한 사다리꼴 형태로 형성된다.At this time, the sheath 335 inserted into the outer side of the coupling member 330 is also formed in the same trapezoidal shape as the coupling member 330.

또한, 상기 채움재(340)는, 상기 거더(200)와 프리캐스트 바닥판(300) 사이의 상기 실링테이프(215) 내측 공간 및 상기 포켓부(321)의 내측 공간까지 모두 타설되어 상기 프리캐스트 바닥판(300)과 거더(200)를 합성하게 된다.The filler material 340 may be poured into the inner space of the sealing tape 215 between the girder 200 and the precast bottom plate 300 and the inner space of the pocket portion 321, The plate 300 and the girder 200 are combined.

한편, 상기 연결재(330) 및 쉬스(335)를 사다리꼴 형태로 형성함으로써, 프리캐스트 바닥판(300)의 해체시 용이하게 할 수 있다. 물론 해체시에는 상기 채움재(340)를 파쇄하게 된다.Meanwhile, by forming the connecting member 330 and the sheath 335 in a trapezoidal shape, the precast deck 300 can be easily disassembled. Of course, the filler material 340 is broken at the time of disassembly.

아울러, 상기와 같이 연결판(350)을 생략한 구조에서는 상기 채움재(340)에 의한 합성 및 상기 프리캐스트 바닥판(300)의 자중에 의해 상기 프리캐스트 바닥판(300)의 들뜸 현상을 방지하게 된다.In addition, in the structure in which the connecting plate 350 is omitted as described above, it is possible to prevent lifting of the precast bottom plate 300 due to the combination of the filling material 340 and the weight of the precast bottom plate 300 do.

그리고, 상기 연결재(330)을 사다리꼴 형태로 형성하지 않고 원기둥 형태로 형성할 수도 있다. 이 경우에는 해체가 용이하도록 연결재(330)의 높이를 낮게 형성하는 것이 바람직하다.The connection member 330 may be formed in a columnar shape without being formed in a trapezoidal shape. In this case, it is preferable that the height of the connecting member 330 is reduced to facilitate disassembly.

이와 같이, 본 발명은, 도 15에 도시된 바와 같이, 연결재(330) 및 연결판(350)의 간편한 연결 구조와, 상기 프리캐스트 바닥판(300) 위에 크레인(5)을 진입시켜 설치 및 해체하도록 함으로써, 교량(100)의 설치 및 해체가 용이하고 이로인해 재활용 및 유지보수가 용이하며 공사기간도 단축할 수 있다.15, the present invention provides a simple connection structure of the connecting member 330 and the connecting plate 350, and a simple connection structure of the connecting plate 330 and the precast bottom plate 300, It is easy to install and dismantle the bridge 100, thereby facilitating recycling and maintenance and shortening the construction period.

이에 이어서 본 발명에 따른 교량(100)의 시공방법은, 거더 설치단계(S5)와, 프리캐스트 바닥판 설치단계(S6)와, 연결재 설치단계(S7)와, 채움재 타설단계(S8)와, 연결판 설치단계(S9)를 더 포함하여 이루어진다.The method of constructing the bridge 100 according to the present invention may further comprise the steps of installing a girder (S5), a precast deck installation step (S6), a connecting material installation step (S7), a filling material placing step (S8) And a connection plate installation step (S9).

도 16은 본 발명에 따른 가교의 시공방법에서 거더 설치단계를 나타내는 도면이다.16 is a view showing a step of installing a girder in a method of cross-linking according to the present invention.

상기 거더 설치단계(S1)는, 도 16과 같이 상기 하부구조물 위에 복수개의 거더(200)를 설치하는 단계이다. 즉, 상기 하부구조물인 교각이나 교대 또는 지반에 정착되어 세워지는 기둥 위에 상기 거더(200)를 설치하게 된다.The girder installation step S1 is a step of installing a plurality of girders 200 on the lower structure as shown in FIG. That is, the girder 200 is installed on a pillar fixed and fixed to a pier, a bridge, or the ground, which is the lower structure.

그리고, 상기 거더 설치단계(S5)와 상기 프리캐스트 바닥판 설치단계(S6)의 사이에는, 상기 프리캐스트 바닥판(300)이 안착될 상기 거더(200)의 상측면에 복수개의 스페이스 블럭(211)을 설치하는 단계와, 상기 포켓부(321) 위치의 거더(200) 상측면에 상기 포켓부(321)를 통해 타설되는 채움재(340)의 누설 방지를 위해 실링테이프(215)를 설치하는 단계를 진행하게 된다.Between the girder installation step S5 and the precast deck installation step S6, a plurality of space blocks 211 are formed on the upper side of the girder 200 on which the precast deck 300 is to be mounted Installing a sealing tape 215 on the side of the girder 200 at the position of the pocket portion 321 to prevent leakage of the filler material 340 placed through the pocket portion 321; .

상기 스페이스 블럭(211)은, 상기 프리캐스트 바닥판(300)과 상기 거더(200)의 사이를 일정간격 이격시키게 되며, 스페이스 블럭(211)의 두께에 따라 상기 프리캐스트 바닥판(300)의 수평을 조절할 수 있다.The space block 211 is spaced a predetermined distance between the precast bottom plate 300 and the girder 200 and is spaced apart from the horizontal plate 211 by a predetermined distance Can be adjusted.

또한, 상기 실링테이프(215)는 상기 포켓부(321)의 둘레를 감싸도록 부착함으로써, 상기 포켓부(321)를 통해 타설되는 채움재(340)의 누설을 방지할 수 있다. 한편, 상기 실링테이프(215)는 상기 포켓부(321) 보다 크게 형성 형성된다.In addition, the sealing tape 215 is attached so as to surround the periphery of the pocket portion 321, thereby preventing leakage of the filler material 340 placed through the pocket portion 321. On the other hand, the sealing tape 215 is formed to be larger than the pocket portion 321.

도 17은 본 발명에 따른 가교의 시공방법에서 프리캐스트 바닥팍 설치단계를 나타내는 도면이다.17 is a view showing a step of installing a precast floor in a method of constructing a bridge according to the present invention.

상기 프리캐스트 바닥판 설치단계(S6)는, 도 17와 같이, 상기 복수개 거더(200)의 상측에 포켓부(321)가 형성된 프리캐스트 바닥판(300)을 설치하는 단계이다.The precast deck installation step S6 is a step of installing a precast deck 300 having a pocket portion 321 formed on the upper side of the plurality of girders 200 as shown in Fig.

상기 프리캐스트 바닥판(300)은, 상기 거더(200)의 상측에서 상기 스페이스 블럭(211) 및 실링테이프(215) 위에 안착되게 된다. 또한, 상기 프리캐스트 바닥판(300)의 설치시에는, 상기 거더(200) 위에 아직 연결재(330)이 없기 때문에 프리캐스트 바닥판(300)의 설치 위치나 수평 조절을 간편하게 할 수 있다. 상기 포켓부(321)는, 도면과 같은 사각 형태 뿐만 아니라 다른 형태로 가능하다.The precast deck 300 is seated on the space block 211 and the sealing tape 215 on the upper side of the girder 200. In addition, at the time of installing the precast deck 300, since the connecting material 330 is not present on the girder 200, the installation position and the horizontal adjustment of the precast deck 300 can be simplified. The pocket portion 321 can be formed in a different shape as well as a rectangular shape as shown in the drawing.

상기 포켓부(321)의 상단에는 상기 연결판(350)이 수용되는 수용홈(322)이 형성된다.At the upper end of the pocket portion 321, a receiving groove 322 for receiving the connecting plate 350 is formed.

상기 프리캐스트 바닥판 설치단계(S6)에서는, 상기 거더(200) 상측에 설치되는 상기 프리캐스트 바닥판(300) 위에 크레인(5)을 직접 진입시켜 상기 크레인(5)을 이동시켜 가면서 상기 프리캐스트 바닥판(300)을 설치(전진가설)하게 되고, 상기 크레인(5)이 지나간 후의 프리캐스트 바닥판(300)에서는 후술하는 연결재 설치단계(S7)를 진행하게 된다.In the precast deck installation step S6, the crane 5 is directly entered into the precast deck 300 installed on the upper side of the girder 200 to move the crane 5, The bottom plate 300 is installed and the precast bottom plate 300 after the crane 5 passes the connecting member mounting step S7 to be described later.

상기 프리캐스트 바닥판(300) 위에서 크레인(5)을 이용하여 프리캐스트 바닥판(300)을 전진가설하는 경우에는, 상기 프리캐스트 바닥판(300) 위로 작업차량을 진입시켜 상기 크레인(5)에 프리캐스트 바닥판(300)을 공급할 수 있다.When the precast deck 300 is advanced by using the crane 5 on the precast deck 300, the work vehicle is advanced onto the precast deck 300, The precast deck 300 can be supplied.

이처럼, 교량(100)를 시공하는데 있어서, 종래기술과 같이 크레인을 교량 아래의 바닥에 배치하여 시공하는 것이 통상적인 기술이었으나, 본 발명에서는 교량(100)의 프리캐스트 바닥판(300) 위에 크레인(5)을 진입시켜 전진 가설하도록 함으로써, 프리캐스트 바닥판(300)의 설치가 용이하고 공사기간도 단축할 수 있는 것이다.In this way, it is a conventional technique to place the crane on the floor below the bridge as in the conventional technique in the construction of the bridge 100. However, in the present invention, the crane 5 to advance and set up, the precast deck 300 can be easily installed and the construction period can be shortened.

한편, 상기 프리캐스트 바닥판 설치단계(S6)를 진행한 후 상기 연결재 설치단계(S7)를 진행할 수도 있지만, 반대로 상기 연결재 설치단계(S7)를 진행한 후 상기 프리캐스트 바닥판 설치단계(S2)를 진행할 수도 있다.However, it is also possible to proceed with the connecting material mounting step S7 after the precast bottom plate mounting step S6. However, in the precast deck installing step S2 after the connecting material mounting step S7, .

도 18는 본 발명에 따른 가교의 시공방법에서 연결재 설치단계를 나타내는 도면이다.FIG. 18 is a view showing a step of installing a connecting material in the crosslinking method according to the present invention.

상기 연결재 설치단계(S7)는, 도 18와 같이, 상기 프리캐스트 바닥판 설치단계(S6) 후에, 상기 포켓부(321)의 내측으로 연결재(330)을 삽입한 상태에서 상기 포켓부(321)의 중심 위치에 대응하는 상기 거더(200) 상측면에 연결재(330)을 용접하는 단계이다.18, after the precast bottom plate mounting step S6, the connecting part 330 is inserted into the pocket part 321 and the pocket part 321 is inserted into the pocket part 321, And welding the connecting member 330 to the side surface of the girder 200 corresponding to the center position of the girder 200.

상기 연결재(330)을 프리캐스트 바닥판(300) 설치 후에 설치하는 경우에는 상기 포켓부(321)의 내측으로 상기 연결재(330)을 삽입한 상태에서 상기 거더(200)의 상측면에 용접하면 된다.When the connecting member 330 is installed after the precast deck 300 is installed, the connecting member 330 may be welded to the upper side of the girder 200 while the connecting member 330 is inserted into the pocket portion 321 .

한편, 상기 연결재(330)을 프리캐스트 바닥판(300) 설치 후에 설치하게 되면, 프리캐스트 바닥판(300)의 설치 위치나 수평 조절이 용이하고, 상기 프리캐스트 바닥판(300)과 연결재(330) 간에 제조오차 및 조립오차 등을 신경쓸 필요가 없어 시공이 편리하다.If the connecting member 330 is installed after the precast deck 300 is installed, the precast deck 300 can be easily installed and horizontally adjusted, and the precast deck 300 and the connecting members 330 ), There is no need to worry about manufacturing error and assembly error, so that the construction is convenient.

그리고, 상기 포켓부(321)의 내측 공간까지 채움재(340)가 타설되는 구조일 경우에는, 채움재(340) 타설전에 상기 연결재(330)의 외측에 쉬스(335)를 삽입 설치하게 된다.When the filler material 340 is poured to the inner space of the pocket portion 321, the sheath 335 is inserted outside the filler material 340 before the filler material 340 is inserted.

도 19은 본 발명에 따른 가교의 시공방법에서 채움재 설치단계를 나타내는 도면이다.19 is a view showing a step of installing a filler in the method of crosslinking according to the present invention.

상기 채움재 타설단계(S8)는, 도 19과 같이, 상기 포켓부(321)를 통해 채움재(340)를 일정량 타설하여 상기 거더(200)와 프리캐스트 바닥판(300)을 합성하는 단계이다.The filling material placing step S8 is a step of combining the girder 200 and the precast bottom plate 300 by pouring the filling material 340 through the pocket portion 321 by a predetermined amount as shown in FIG.

상기 채움재(340)로는, 무수축 모르타르를 사용하는 것이 바람직하지만 여기에 한정되지 않고 목적에 따라 변경 가능하다.As the filler material 340, it is preferable to use a non-shrinkable mortar, but the present invention is not limited thereto and can be changed depending on the purpose.

상기 채움재 타설단계(S8)는, 도 15의 (b)(c)(d) 와 같이 상기 거더(200)와 프리캐스트 바닥판(300) 사이의 상기 실링테이프(215) 내측 공간에만 타설할 수도 있고, 또는 도 3의 (a)(e)(f)와 같이 상기 거더(200)와 프리캐스트 바닥판(300) 사이의 상기 실링테이프(215) 내측 공간 및 상기 포켓부(321)의 내측 공간까지 모두 타설할 수도 있다.The filling material placing step S8 may be performed only in the space inside the sealing tape 215 between the girder 200 and the precast bottom plate 300 as shown in FIGS. 15 (b), 15 (c) Or the inner space of the sealing tape 215 between the girder 200 and the precast bottom plate 300 and the inner space of the pocket portion 321 as shown in FIGS. 3 (a), 3 (e) May be installed.

도 20은 본 발명에 따른 가교의 시공방법에서 연결판 설치단계를 나타내는 도면이다.20 is a view showing the step of installing a connecting plate in the method of crosslinking according to the present invention.

상기 연결판 설치단계(S9)는, 도 20과 같이, 상기 프리캐스트 바닥판(300)을 고정하도록 상기 연결재(330)의 상단에 연결판(350)을 설치하는 단계이다.The connection plate installation step S9 is a step of installing the connection plate 350 at the upper end of the connection member 330 to fix the precast bottom plate 300 as shown in FIG.

즉, 상기 연결재(330)의 상단에 연결판(350)을 설치함으로써 상기 프리캐스트 바닥판(300)을 상기 거더(200)측에 고정시키는 것이다.That is, the connecting plate 350 is installed on the upper end of the connecting member 330 to fix the precast bottom plate 300 to the side of the girder 200.

이때, 상기 연결판(350)은, 상기 포켓부(321)의 수용홈(322)에 안착된 상태에서 너트(51)로 고정하거나, 또는 상기 너트 없이 상기 연결판(350)을 직접 연결재(330)의 상단에 나사결합하여 설치할 수 있다.The connecting plate 350 may be fixed to the receiving groove 322 of the pocket 321 with the nut 51 or may be fixed to the connecting plate 330 without the nut ) Can be installed by screwing on the top.

이처럼, 상기 연결재(330)의 상단에 연결판(350)을 설치하게 되면, 상기 프리캐스트 바닥판(300)이 상기 연결판(350)에 걸리게 되면서 상기 거더(200)측에 고정되게 되며 이로인해 프리캐스트 바닥판(300)의 들뜸이나 유동이 방지된다.When the connecting plate 350 is installed on the upper end of the connecting member 330, the precast bottom plate 300 is fastened to the connecting plate 350 and fixed to the side of the girder 200, Lifting or flow of the precast deck 300 is prevented.

도 21는 본 발명에 따른 가교의 시공이 완료된 상태를 나타내는 도면이다.21 is a view showing a state in which the construction of the crosslinking according to the present invention is completed.

한편, 상기 연결판(350)을 설치한 후에는 도 21와 같이 상기 포켓부(321)의 수용홈(322)에 채움재(45)를 타설하여 마감하거나 별도의 캡(미도시)으로 마감하여 시공을 완료하게 된다.After the connection plate 350 is installed, as shown in FIG. 21, the filling material 45 may be poured into the receiving groove 322 of the pocket portion 321 or closed with a separate cap (not shown) .

그리고, 다른 실시예로서, 상기 연결판(350)을 생략하는 시공방법에서는, 거더 설치단계(S5)와, 프리캐스트 바닥판 설치단계(S2)와, 연결재 설치단계(S8)까지는 상기와 동일하고, 상기 연결재 설치단계(S7) 이후에는 상기 연결재(330)의 외측에 쉬스(335)를 삽입 설치하는 쉬스 설치단계와, 상기 포켓부(321)를 통해 채움재(340)를 타설하는 채움재 타설단계(S8)를 진행하고 마무리 된다.In another embodiment, in the construction method of omitting the connecting plate 350, the steps up to the step of installing the girder (S5), the step of installing the precast deck (S2) and the step of installing the connecting material (S8) A sheathing step of inserting a sheath 335 on the outer side of the connecting material 330 after the connecting material mounting step S7 and a filling material placing step of placing the filling material 340 through the pocket part 321 S8) and finishes.

상기 연결판(350)을 생략한 경우에는, 도 15의 (e)(f)와 같이, 상기 포켓부(321)는 상측이 넓고 하측이 좁은 사다리꼴 단면으로 형성되고, 상기 연결재(330)은 상측이 좁고 하측이 넓은 사다리꼴 단면으로 형성된다.15 (e) and 15 (f), the pocket portion 321 is formed to have a trapezoidal cross section having a wide upper side and a narrower lower side, And a narrow trapezoidal section with a lower side is formed.

이때, 상기 연결재(330)의 외측에 삽입되는 쉬스(335) 역시 연결재(330)과 동일한 사다리꼴 형태로 형성된다.At this time, the sheath 335 inserted into the outer side of the coupling member 330 is also formed in the same trapezoidal shape as the coupling member 330.

또한, 상기 채움재 타설단계(S8)에서는, 도 3의 (e)(f)와 같이, 상기 거더(200)와 프리캐스트 바닥판(300) 사이의 상기 실링테이프(215) 내측 공간 및 상기 포켓부(321)의 내측 공간까지 모두 타설되어 상기 프리캐스트 바닥판(300)과 거더(200)를 합성하게 된다.3 (e) and 3 (f), the inner space of the sealing tape 215 between the girder 200 and the precast bottom plate 300 and the inner space of the pocket portion 300 between the pre- So that the precast deck 300 and the girder 200 are combined with each other.

한편, 상기 연결재(330)을 사다리꼴 형태로 형성하지 않고 원기둥 형태로 형성할 경우에는 연결재(330)의 높이를 낮게 형성하는 것이 바람직하다.If the connecting member 330 is formed in a columnar shape without forming a trapezoidal shape, the height of the connecting member 330 may be reduced.

도 22은 본 발명에 따른 가교의 해체방법을 나타내는 도면이다.22 is a view showing a method of disassembling a bridge according to the present invention.

그리고, 본 발명에 따른 교량(100)의 해체방법은, 도 22 및 도 22와 같이, 연결판 해체 및 채움재 파쇄 단계(S10)과, 프리캐스트 바닥판 해체 단계(S20)와, 연결재 제거 단계(S30)와, 거더 해체 단계(S40)로 이루어진다.The method of disassembling the bridge 100 according to the present invention may include a step of disassembling a connection plate and a filling material crushing step S10, a precast bottom plate disassembling step S20, S30), and a girder disassembling step (S40).

상기 연결판 해체 및 채움재 파쇄 단계(S10)는, 상기 연결재(330)의 상단에 결합된 연결판(350)을 먼저 분리한 후, 채움재(340)를 파쇄하는 단계이다.The step of disassembling the connection plate and the step of crushing the filler material may be performed by first separating the coupling plate 350 coupled to the upper end of the coupling material 330 and then crushing the filler material 340.

이때, 상기 연결판(350)의 상측에 캡이 설치된 경우에는 캡을 먼저 제거하게 되며, 상기 연결판(350)의 상측에 채움재(45)가 타설된 경우에는 상기 채움재(45)를 먼저 파쇄한 후, 연결판(350) 해체 및 연결판(350) 하측의 채움재(340)를 파쇄하게 된다.In this case, when the cap is installed on the connecting plate 350, the cap is first removed. When the filling material 45 is placed on the connecting plate 350, the filling material 45 is first broken The disassembly of the connection plate 350 and the filler 340 under the connection plate 350 are broken.

상기 프리캐스트 바닥판 해체 단계(S20)는, 크레인(5)을 이용하여 프리캐스트 바닥판(300)을 인상하여 해체하는 단계이다.The pre-cast bottom plate disassembling step S20 is a step of pulling up the precast bottom plate 300 by using the crane 5 and disassembling it.

즉, 도 22와 같이 상기 프리캐스트 바닥판(300) 위에 크레인(5)을 진입시켜 상기 크레인(5)을 이동시켜 가면서 상기 프리캐스트 바닥판(300)을 인상하여 해체하는 것이다.That is, as shown in FIG. 22, the crane 5 is moved on the precast deck 300 to move the crane 5, and the precast deck 300 is pulled up and disassembled.

이때, 상기 프리캐스트 바닥판(300) 위에 작업차량을 진입시켜 상기 크레인(5)에 의해 해체되고 있는 프리캐스트 바닥판(300)을 운반하게 된다.At this time, the work vehicle enters the precast deck 300, and the precast deck 300, which is disassembled by the crane 5, is transported.

상기 포켓부(321)내의 채움재(340)가 파쇄된 상태이므로 프리캐스트 바닥판(300)을 쉽게 인상하여 해체할 수 있다.Since the filling material 340 in the pocket portion 321 is in a broken state, the precast bottom plate 300 can be easily lifted and disassembled.

상기 연결재 제거 단계(S30)는, 상기 거더(200)의 상측면에 용접된 상태의 연결재(330)을 제거하는 단계이다. 이때, 상기 연결재(330)의 외측에 쉬스(335)가 설치된 경우에는 쉬스(335)를 먼저 제거하게 된다.The connecting material removing step S30 is a step of removing the connecting material 330 welded to the upper surface of the girder 200. [ At this time, when the sheath 335 is provided outside the connecting member 330, the sheath 335 is removed first.

상기 거더 해체 단계(S40)는, 하부구조물 위에 설치된 거더(200)를 크레인(5)을 이용하여 해체하는 단계이다. 상기 거더(200)가 해체된 이후에는 하부구조물을 해체하면 교량(100)의 해체가 완료된다.The girder dismantling step S40 is a step of dismantling the girder 200 installed on the lower structure using the crane 5. After the girder 200 is disassembled, the lower structure is disassembled and the disassembly of the bridge 100 is completed.

이상에서 설명된 본 발명의 임시교량을 사용한 교량 및 이의 시공방법의 실시예는 예시적인 것에 불과하며, 본 발명이 속한 기술분야의 통상의 지식을 가진 자라면 이로부터 다양한 변형 및 균등한 타 실시예가 가능하다는 점을 잘 알 수 있을 것이다. 그러므로 본 발명은 상기의 상세한 설명에서 언급되는 형태로만 한정되는 것은 아님을 잘 이해할 수 있을 것이다. 따라서 본 발명의 진정한 기술적 보호 범위는 첨부된 특허청구범위의 기술적 사상에 의해 정해져야 할 것이다. 또한, 본 발명은 첨부된 청구범위에 의해 정의되는 본 발명의 정신과 그 범위 내에 있는 모든 변형물과 균등물 및 대체물을 포함하는 것으로 이해되어야 한다.It will be apparent to those skilled in the art that various modifications and equivalent arrangements may be made without departing from the scope of the present invention as set forth in the appended claims. You can see that it is possible. Therefore, it is to be understood that the present invention is not limited to the above-described embodiments. Accordingly, the true scope of the present invention should be determined by the technical idea of the appended claims. It is also to be understood that the invention includes all modifications, equivalents, and alternatives falling within the spirit and scope of the invention as defined by the appended claims.

10 : 임시교량 11 : 가이드파일
20 : 가이드프레임 22 : 가이드플레이트
21 : 통공 40 : 바이브로햄마
100 : 교량 110 : 강관파일
111 : 가로보 112 : 캡
200 : 거더 300 : 프리캐스트 바닥판
330 : 연결재 340 : 채움재
350 : 연결판 400 : 거치대
410 : 거치돌출부
10: temporary bridge 11: guide file
20: guide frame 22: guide plate
21: Void 40: Vibro hammer
100: Bridge 110: Steel pipe file
111: crossbar 112: cap
200: girder 300: precast deck
330: connecting material 340: filler
350: connecting plate 400: cradle
410:

Claims (8)

강관파일(110)이 삽입될 수 있는 다수개의 통공(21)이 구비된 가이드프레임(20)과, 상기 가이드프레임(20)의 일측에 결합되어 있는 다수개의 가이드파일(11)이 일체형으로 구비된 임시교량(10)을 준비하는 단계(S1);
상기 가이드프레임(20)의 통공(21)에 강관파일(110)을 삽입 후 항타작업을 수행하는 단계(S2);
상기 가이드프레임(20)의 통공(21)에 삽입되어 항타된 강관파일(110)의 상측을 기 측정된 높이로 커팅하는 단계(S3);
상기 임시교량(10)을 강관파일(110)에서 제거하여 교량(100)의 측면 일측에 거치하는 작업을 수행하는 단계(S4)를 포함하는 임시교량을 사용한 교량의 시공방법.
A guide frame 20 having a plurality of through holes 21 into which a steel pipe 110 can be inserted and a plurality of guide pawls 11 coupled to one side of the guide frame 20, Preparing a temporary bridge 10 (S1);
(S2) of inserting a steel pipe file (110) into the through hole (21) of the guide frame (20) and carrying out a paving operation;
(S3) cutting the upper side of the bulged steel pipe pile (110) inserted into the through hole (21) of the guide frame (20) to a measured height;
A step (S4) of removing the temporary bridge (10) from the steel pipe pile (110) and mounting it on one lateral side of the bridge (100).
청구항 1에 있어서,
상기 강관파일(110)을 항타하는 단계(S2) 전,
강관파일(110)를 정확한 위치로 항타하기 위하여 상기 가이드프레임(20)의 통공(21)에 강관파일(110)을 삽입한 후 상기 강관파일(110)의 외주면의 형상에 대응되는 내주면을 갖는 삽입공이 형성된 가이드플레이트(22)가 결합되는 단계(S1-1)를 더 포함하고,
상기 임시교량(10)을 제거 및 거치하는 단계(S4)는 상기 강관파일(110)에서 가이드플레이트(22)를 제거하는 것을 더 포함하는 임시교량을 사용한 교량의 시공방법.
The method according to claim 1,
Before step S2 of hitting the steel pipe file 110,
After inserting the steel pipe file 110 into the through hole 21 of the guide frame 20 in order to move the steel pipe file 110 to the correct position and then inserting the steel pipe file 110 having an inner circumferential surface corresponding to the shape of the outer circumferential surface of the steel pipe file 110, Further comprising a step (S1-1) of joining the ball guide plate (22)
The step (S4) of removing and mounting the temporary bridge (10) further comprises removing the guide plate (22) from the steel pipe pile (110).
청구항 1에 있어서,
상기 임시교량(10)을 제거 및 거치하는 단계에서 상기 거치대(400)는,
상기 교량(100)의 측면의 강관파일(110)에 결합되며, 상기 임시교량(10)의 통공(21)에 끼워져 임시교량(10)을 거치시키는 거치돌출부(410)가 구비되는 임시교량을 사용한 교량의 시공방법.
The method according to claim 1,
In the step of removing and mounting the temporary bridge 10,
A temporary bridge which is coupled to the steel pipe pile 110 on the side of the bridge 100 and is provided with a mounting protrusion 410 fitted in the through hole 21 of the temporary bridge 10 to mount the temporary bridge 10 Construction method of bridges.
청구항 1에 있어서,
상기 교량(100)의 전방에 항타된 강관파일(110)에 가로보(111)를 용접 또는 볼트체결로 결합하고, 상측에 캡(112)을 씌우는 단계(S4-1)를 더 포함하는 임시교량을 사용한 교량의 시공방법.
The method according to claim 1,
Further comprising the step (S4-1) of joining the beam 111 to the steel pipe pile 110 stuck to the front of the bridge 100 by welding or bolting and covering the cap 112 on the upper side, Construction method of used bridges.
청구항 1에 있어서,
상기 강관파일(110) 위에 복수개의 거더(10)를 설치하는 단계(S5);
상기 복수개 거더(10)의 상측에 포켓부(21)가 형성된 프리캐스트 복공판(20)을 설치하는 프리캐스트 복공판 설치단계(S6);
상기 프리캐스트 복공판 설치단계(S6) 후에, 상기 포켓부(21)의 내측으로 연결재(30)를 삽입한 상태에서 상기 포켓부(21)의 중심 위치에 대응하는 상기 거더(10) 상측면에 연결재(30)를 용접하는 연결재 설치단계(S7);
상기 포켓부(21)를 통해 채움재(40)를 일정량 타설하는 채움재 타설단계(S8) 및
상기 프리캐스트 복공판(20)을 고정하도록 상기 연결재(30)의 상단에 연결판(50)을 설치하는 연결판 설치단계(S9)를 포함하며,
상기 거더 설치단계(S5)와 상기 프리캐스트 복공판 설치단계(S6)의 사이에는, 상기 포켓부(21)를 통해 타설되는 채움재(40)의 누설 방지를 위해 상기 포켓부(21) 위치의 거더(10) 상측면에 포켓부(21)의 둘레를 감싸도록 실링테이프(15)를 설치하는 단계를 더 포함하는 임시교량을 사용한 교량의 시공방법
The method according to claim 1,
Installing (S5) a plurality of girders (10) on the steel pipe pile (110);
A step (S6) of installing a precast laminating plate (20) in which a precast laminating plate (20) having pockets (21) formed on the upper side of the plurality of girders (10) is installed;
The connecting member 30 is inserted into the pocket portion 21 and the connecting member 30 is inserted into the side surface of the girder 10 corresponding to the center position of the pocket portion 21 in the state where the connecting member 30 is inserted into the pocket portion 21 after the pre- (S7) of welding a joint member (30);
A filling material placing step (S8) of placing a filler material (40) in a predetermined amount through the pocket portion (21)
And a connection plate installation step (S9) of installing a connection plate (50) at an upper end of the connection member (30) so as to fix the precast laminating board (20)
Between the girder installation step S5 and the precast stitched plate installation step S6 there is provided a girder at the position of the pocket 21 for preventing leakage of the filler material 40 placed through the pocket 21 10. A method of constructing a bridge using temporary bridges, further comprising the step of providing a sealing tape (15) on the upper side surface so as to surround the periphery of the pocket portion (21)
청구항 1에 있어서,
상기 강관파일(110) 위에 복수개의 거더(10)를 설치하는 단계(S5);
상기 복수개 거더(10)의 상측에 포켓부(21)가 형성된 프리캐스트 복공판(20)을 설치하는 프리캐스트 복공판 설치단계(S6);
상기 프리캐스트 복공판 설치단계(S6) 후에, 상기 포켓부(21)의 내측으로 연결재(30)를 삽입한 상태에서 상기 포켓부(21)의 중심 위치에 대응하는 상기 거더(10) 상측면에 연결재(30)를 용접하는 연결재 설치단계(S7);
상기 연결재(30)의 외측에 쉬스(35)를 삽입 설치하는 쉬스 설치단계 및
상기 포켓부(21)를 통해 채움재(40)를 타설하는 채움재 타설단계(S8)를 포함하며,
상기 거더 설치단계(S6)와 상기 프리캐스트 복공판 설치단계(S6)의 사이에는, 상기 포켓부(21)를 통해 타설되는 채움재(40)의 누설 방지를 위해 상기 포켓부(21) 위치의 거더(10) 상측면에 포켓부(21)의 둘레를 감싸도록 실링테이프(15)를 설치하는 단계를 포함하는 임시교량을 사용한 교량의 시공방법.
The method according to claim 1,
Installing (S5) a plurality of girders (10) on the steel pipe pile (110);
A step (S6) of installing a precast laminating plate (20) in which a precast laminating plate (20) having pockets (21) formed on the upper side of the plurality of girders (10) is installed;
The connecting member 30 is inserted into the pocket portion 21 and the connecting member 30 is inserted into the side surface of the girder 10 corresponding to the center position of the pocket portion 21 in the state where the connecting member 30 is inserted into the pocket portion 21 after the pre- (S7) of welding a joint member (30);
A sheathing step of inserting a sheath 35 into the outside of the connecting member 30;
And a filling material placing step (S8) for pouring the filling material (40) through the pocket portion (21)
Between the girder installation step S6 and the precast stitching step installation step S6 a girder at the position of the pocket portion 21 for preventing leakage of the filler material 40 pushed through the pocket portion 21 10. A method of constructing a bridge using a temporary bridge, comprising the steps of: providing a sealing tape (15) on the upper side of the pocket (21) to surround the periphery of the pocket (21).
해양 또는 지반에 항타되는 강관파일(110);
상기 강관파일(110)의 상측에 구비된 거더(200);
상기 거더(200)의 상측에 설치되는 프리캐스트 바닥판(300);
상기 강관파일(110)이 삽입될 수 있는 다수개의 통공(21)이 구비된 가이드프레임(20)과, 상기 가이드프레임(20)의 일측에 결합되어 있는 다수개의 가이드파일(11)이 일체형으로 구비된 임시교량(10) 및
상기 교량(100)의 측면에 결합되어 상기 임시교량(10)이 거치되는 거치대(400)를 포함하는 임시교량을 사용한 교량.
A steel pipe file 110 that is hulled in the ocean or on the ground;
A girder 200 provided on the upper side of the steel pipe 110;
A precast bottom plate 300 installed on the upper side of the girder 200;
A guide frame 20 having a plurality of through holes 21 into which the steel pipe 110 can be inserted and a plurality of guide pawls 11 coupled to one side of the guide frame 20, The temporary bridge 10 and
And a cradle (400) coupled to a side surface of the bridge (100) and on which the temporary bridge (10) is mounted.
청구항 7에 있어서,
상기 거치대(400)는,
상기 임시교량(10)의 통공(21)에 끼워져 거치시키는 거치돌출부(410)가 마련되는 임시교량을 사용한 교량.
The method of claim 7,
The cradle (400)
A temporary protruding portion (410) fitted to the through hole (21) of the temporary bridge (10) is provided.
KR1020170063558A 2017-05-23 2017-05-23 Bridge using temporary bridge and construction method Active KR102012367B1 (en)

Priority Applications (1)

Application Number Priority Date Filing Date Title
KR1020170063558A KR102012367B1 (en) 2017-05-23 2017-05-23 Bridge using temporary bridge and construction method

Applications Claiming Priority (1)

Application Number Priority Date Filing Date Title
KR1020170063558A KR102012367B1 (en) 2017-05-23 2017-05-23 Bridge using temporary bridge and construction method

Publications (2)

Publication Number Publication Date
KR20180128245A true KR20180128245A (en) 2018-12-03
KR102012367B1 KR102012367B1 (en) 2019-10-21

Family

ID=64743303

Family Applications (1)

Application Number Title Priority Date Filing Date
KR1020170063558A Active KR102012367B1 (en) 2017-05-23 2017-05-23 Bridge using temporary bridge and construction method

Country Status (1)

Country Link
KR (1) KR102012367B1 (en)

Cited By (6)

* Cited by examiner, † Cited by third party
Publication number Priority date Publication date Assignee Title
CN109914440A (en) * 2019-03-14 2019-06-21 中铁二院工程集团有限责任公司 The anti-skid structure of the big ability of w type and construction method
CN110468721A (en) * 2019-08-29 2019-11-19 中铁大桥局集团有限公司 A kind of large span trestle Cantilever Construction Method
CN110847223A (en) * 2019-12-10 2020-02-28 安徽开源路桥有限责任公司 Positioning construction ship capable of completing overwater steel pipe pile sinking operation
CN116254776A (en) * 2023-03-10 2023-06-13 中国建筑第六工程局有限公司 Full-assembled bridge non-falling integrated construction method
WO2024021426A1 (en) * 2022-07-26 2024-02-01 中国港湾工程有限责任公司 Fully staged steel trestle and construction method therefor
CN119352546A (en) * 2024-10-21 2025-01-24 中交二公局第一工程有限公司 A cofferdam structure and construction method for deep-water lock steel pipe piles

Citations (2)

* Cited by examiner, † Cited by third party
Publication number Priority date Publication date Assignee Title
KR101542192B1 (en) * 2014-12-02 2015-08-05 우경기술주식회사 The structure of steel bridge system and method for constructing bridge using the same
KR101588593B1 (en) * 2015-03-25 2016-01-26 김근택 Temporary bridge construction method

Patent Citations (2)

* Cited by examiner, † Cited by third party
Publication number Priority date Publication date Assignee Title
KR101542192B1 (en) * 2014-12-02 2015-08-05 우경기술주식회사 The structure of steel bridge system and method for constructing bridge using the same
KR101588593B1 (en) * 2015-03-25 2016-01-26 김근택 Temporary bridge construction method

Cited By (7)

* Cited by examiner, † Cited by third party
Publication number Priority date Publication date Assignee Title
CN109914440A (en) * 2019-03-14 2019-06-21 中铁二院工程集团有限责任公司 The anti-skid structure of the big ability of w type and construction method
CN109914440B (en) * 2019-03-14 2023-09-22 中铁二院工程集团有限责任公司 Construction method of w-type high-capacity anti-slip structure
CN110468721A (en) * 2019-08-29 2019-11-19 中铁大桥局集团有限公司 A kind of large span trestle Cantilever Construction Method
CN110847223A (en) * 2019-12-10 2020-02-28 安徽开源路桥有限责任公司 Positioning construction ship capable of completing overwater steel pipe pile sinking operation
WO2024021426A1 (en) * 2022-07-26 2024-02-01 中国港湾工程有限责任公司 Fully staged steel trestle and construction method therefor
CN116254776A (en) * 2023-03-10 2023-06-13 中国建筑第六工程局有限公司 Full-assembled bridge non-falling integrated construction method
CN119352546A (en) * 2024-10-21 2025-01-24 中交二公局第一工程有限公司 A cofferdam structure and construction method for deep-water lock steel pipe piles

Also Published As

Publication number Publication date
KR102012367B1 (en) 2019-10-21

Similar Documents

Publication Publication Date Title
KR20180128245A (en) Bridge using temporary bridge and construction method
US8056299B2 (en) Foundation construction for superstructures
KR100884289B1 (en) Complex riverside facility and construction method
KR101588593B1 (en) Temporary bridge construction method
KR101263557B1 (en) Prefabricated hollow-segment type pier
KR101687495B1 (en) Partial top-down construction method for building underground structures
KR100933660B1 (en) Masonry support structure and construction method
JP2007205077A (en) Temporary deadline construction method
KR101440566B1 (en) Housing bracket for constructing foundation of pier in the water and construction method of foundation of pier using the same
KR101401057B1 (en) Method to build underground structures using the pillars and the stigma and steel beam and slab structures are formed
KR101858407B1 (en) Method of connection of Pre-cast structure with pile foundation
JP4698491B2 (en) Temporary closing method and structure of underwater structure
US20080019779A1 (en) Steel-Cased Concrete Piers
KR20200124949A (en) Anchor Tension way sheathing structure and sheathing method of construction
KR102084829B1 (en) Top-down method using precast-concrete colum
KR102743490B1 (en) A Flood Wall And Construction Method Thereof
KR101210368B1 (en) Uniting Method of Temporary earth wall with basement exterior Wall using Couplers and Bolts.
KR20160000702A (en) Fastening member used in concrete filled steel tube and its using concrete filled steel tube mounting structure and method and its includes build underground structure and method
KR101013778B1 (en) How to build support structures on pile
JP6658616B2 (en) Construction method of pile type structure
KR102392517B1 (en) Top-down method using by double beam system
JP2004285735A (en) Method of constructing temporary landing bridge by using truss frame
CN117779757A (en) Anti-floating anchor rod structure and construction method
KR101415867B1 (en) Precast concrete structure construction method for downward construction of underground structures
JPH08158341A (en) Joint structure of pile and beam and construction method of structure using it

Legal Events

Date Code Title Description
A201 Request for examination
PA0109 Patent application

St.27 status event code: A-0-1-A10-A12-nap-PA0109

PA0201 Request for examination

St.27 status event code: A-1-2-D10-D11-exm-PA0201

D13-X000 Search requested

St.27 status event code: A-1-2-D10-D13-srh-X000

D14-X000 Search report completed

St.27 status event code: A-1-2-D10-D14-srh-X000

PG1501 Laying open of application

St.27 status event code: A-1-1-Q10-Q12-nap-PG1501

E902 Notification of reason for refusal
PE0902 Notice of grounds for rejection

St.27 status event code: A-1-2-D10-D21-exm-PE0902

T11-X000 Administrative time limit extension requested

St.27 status event code: U-3-3-T10-T11-oth-X000

E13-X000 Pre-grant limitation requested

St.27 status event code: A-2-3-E10-E13-lim-X000

P11-X000 Amendment of application requested

St.27 status event code: A-2-2-P10-P11-nap-X000

P13-X000 Application amended

St.27 status event code: A-2-2-P10-P13-nap-X000

E701 Decision to grant or registration of patent right
PE0701 Decision of registration

St.27 status event code: A-1-2-D10-D22-exm-PE0701

GRNT Written decision to grant
PR0701 Registration of establishment

St.27 status event code: A-2-4-F10-F11-exm-PR0701

PR1002 Payment of registration fee

St.27 status event code: A-2-2-U10-U11-oth-PR1002

Fee payment year number: 1

PG1601 Publication of registration

St.27 status event code: A-4-4-Q10-Q13-nap-PG1601

P14-X000 Amendment of ip right document requested

St.27 status event code: A-5-5-P10-P14-nap-X000

R18-X000 Changes to party contact information recorded

St.27 status event code: A-5-5-R10-R18-oth-X000

PR1001 Payment of annual fee

St.27 status event code: A-4-4-U10-U11-oth-PR1001

Fee payment year number: 4

PR1001 Payment of annual fee

St.27 status event code: A-4-4-U10-U11-oth-PR1001

Fee payment year number: 5

PR1001 Payment of annual fee

St.27 status event code: A-4-4-U10-U11-oth-PR1001

Fee payment year number: 6

R18-X000 Changes to party contact information recorded

St.27 status event code: A-5-5-R10-R18-oth-X000

R18-X000 Changes to party contact information recorded

St.27 status event code: A-5-5-R10-R18-oth-X000

PR1001 Payment of annual fee

St.27 status event code: A-4-4-U10-U11-oth-PR1001

Fee payment year number: 7

U11 Full renewal or maintenance fee paid

Free format text: ST27 STATUS EVENT CODE: A-4-4-U10-U11-OTH-PR1001 (AS PROVIDED BY THE NATIONAL OFFICE)

Year of fee payment: 7