KR20180098019A - 투명 전극 및 그 제조 방법 - Google Patents

투명 전극 및 그 제조 방법 Download PDF

Info

Publication number
KR20180098019A
KR20180098019A KR1020170024937A KR20170024937A KR20180098019A KR 20180098019 A KR20180098019 A KR 20180098019A KR 1020170024937 A KR1020170024937 A KR 1020170024937A KR 20170024937 A KR20170024937 A KR 20170024937A KR 20180098019 A KR20180098019 A KR 20180098019A
Authority
KR
South Korea
Prior art keywords
transparent conductive
conductive layer
layer
transparent electrode
transparent
Prior art date
Legal status (The legal status is an assumption and is not a legal conclusion. Google has not performed a legal analysis and makes no representation as to the accuracy of the status listed.)
Withdrawn
Application number
KR1020170024937A
Other languages
English (en)
Inventor
조수호
김승국
윤주인
Original Assignee
동우 화인켐 주식회사
Priority date (The priority date is an assumption and is not a legal conclusion. Google has not performed a legal analysis and makes no representation as to the accuracy of the date listed.)
Filing date
Publication date
Application filed by 동우 화인켐 주식회사 filed Critical 동우 화인켐 주식회사
Priority to KR1020170024937A priority Critical patent/KR20180098019A/ko
Publication of KR20180098019A publication Critical patent/KR20180098019A/ko
Withdrawn legal-status Critical Current

Links

Images

Classifications

    • HELECTRICITY
    • H01ELECTRIC ELEMENTS
    • H01BCABLES; CONDUCTORS; INSULATORS; SELECTION OF MATERIALS FOR THEIR CONDUCTIVE, INSULATING OR DIELECTRIC PROPERTIES
    • H01B5/00Non-insulated conductors or conductive bodies characterised by their form
    • H01B5/14Non-insulated conductors or conductive bodies characterised by their form comprising conductive layers or films on insulating-supports
    • HELECTRICITY
    • H01ELECTRIC ELEMENTS
    • H01BCABLES; CONDUCTORS; INSULATORS; SELECTION OF MATERIALS FOR THEIR CONDUCTIVE, INSULATING OR DIELECTRIC PROPERTIES
    • H01B1/00Conductors or conductive bodies characterised by the conductive materials; Selection of materials as conductors
    • H01B1/02Conductors or conductive bodies characterised by the conductive materials; Selection of materials as conductors mainly consisting of metals or alloys
    • HELECTRICITY
    • H01ELECTRIC ELEMENTS
    • H01BCABLES; CONDUCTORS; INSULATORS; SELECTION OF MATERIALS FOR THEIR CONDUCTIVE, INSULATING OR DIELECTRIC PROPERTIES
    • H01B13/00Apparatus or processes specially adapted for manufacturing conductors or cables
    • H01L51/5215
    • HELECTRICITY
    • H10SEMICONDUCTOR DEVICES; ELECTRIC SOLID-STATE DEVICES NOT OTHERWISE PROVIDED FOR
    • H10KORGANIC ELECTRIC SOLID-STATE DEVICES
    • H10K50/00Organic light-emitting devices
    • H10K50/80Constructional details
    • H10K50/805Electrodes
    • H10K50/81Anodes
    • H10K50/816Multilayers, e.g. transparent multilayers

Landscapes

  • Engineering & Computer Science (AREA)
  • Manufacturing & Machinery (AREA)
  • Physics & Mathematics (AREA)
  • Optics & Photonics (AREA)
  • Non-Insulated Conductors (AREA)

Abstract

본 발명은 투명 전극 및 그 제조 방법에 관한 것으로, 보다 상세하게는 기판, 상기 기판 상에 배치되는 다결정 구조의 제1 투명 전도성 층, 상기 제1 투명 전도성 층 상에 배치되는 금속 나노와이어 층, 상기 금속 나노와이어 층상에 배치되는 비정질 구조의 제2 투명 전도성 층으로 이루어진 투명 전도성 패턴을 포함하여, 미세 패턴 형성이 가능한 투명 전극 및 그 제조 방법에 관한 것이다.

Description

투명 전극 및 그 제조 방법{Transparent Electrode and Method of Preparing the Same}
본 발명은 투명 전극 및 그 제조 방법에 관한 것으로, 보다 상세하게는 미세 패턴 형성이 가능한 투명 전극 및 그 제조 방법에 관한 것이다.
투명 전극은 LCD(liquid crystal display), PDP(plasma display panel), OLED(organic light emitting diode) 등과 같은 평판 디스플레이와 터치 패널, 전자파 차폐막, 정전기 방지막, 열 반사막, 면 발열체, 광전변환 소자 등 다양한 분야에서 응용된다.
투명 전극 소재로는 투명 전도성 산화물, 금속 나노와이어, 탄소나노튜브, 그래핀, 고분자 전도체, 금속 메시 등이 있으며, 원하는 특성을 얻기 위하여 이 중 2 이상의 층을 포함하는 다층 구조를 사용하기도 한다.
예를 들면, 대한민국 등록특허 제10-1391510호에서는 투명 유연 기판; 및 상기 투명 유연 기판의 상면에 스퍼터링 방식으로 증착 형성되는 하부 투명 전극층과, 상기 하부 투명 전극층의 상면에 코팅 방식으로 코팅 형성되는 금속 나노와이어 층과, 상기 금속 나노와이어 층의 상면에 스퍼터링 방식으로 증착 형성되는 상부 투명 전극층을 구비하여 형성된 다층 투명 전극층을 포함하는 투명 전극 소자를 개시하고 있다.
그러나, 종래의 다층 투명 전극층의 경우, 식각 공정을 통해 패턴을 형성할 때 금속 나노와이어 층의 잔사가 패턴 사이에 잔류하게 되어 패턴 사이의 폭을 넓게 형성하여야 하며, 이에 따라 미세 패턴의 구현이 어려운 문제가 있다.
대한민국 등록특허 제10-1391510호
본 발명의 한 목적은 미세 패턴 형성이 가능한 투명 전극 및 그 제조 방법을 제공하는 것이다.
본 발명의 다른 목적은 상기 투명 전극을 사용한 미세 패턴 형성 방법을 제공하는 것이다.
이와 같은 과제를 해결하기 위하여 본 발명에서는, 기판과, 기판 상에 배치되는 다결정 구조의 제1 투명 전도성 층, 제1 투명 전도성 층 상에 배치되는 금속 나노와이어 층, 금속 나노와이어 층 상에 배치되는 비정질 구조의 제2 투명 전도성 층으로 이루어진 투명 전도성 패턴을 포함하는 투명 전극을 제공한다.
여기에서, 상기 제1 투명 전도성 층은 XRD 분석에 따른 결정화 개수가 6000 이상인 다결정 인듐주석산화물로 이루어질 수 있다.
상기 제2 투명 전도성 층은 비정질 인듐주석산화물 또는 비정질 인듐아연산화물로 이루어질 수 있으며, 상기 금속 나노와이어 층은 은 나노와이어 층일 수 있다.
상기 투명 전도성 패턴의 패턴 간 간격은 10μm 이하일 수 있다.
본 발명의 다른 양상에 따르면 투명 전극의 제조 방법이 제공되며, 이 방법은 기판 상에 제1 투명 전도성 층을 성막하는 단계, 상기 제1 투명 전도성 층을 결정화하는 단계, 상기 제1 투명 전도성 층 상에 금속 나노와이어 층을 형성하는 단계, 상기 금속 나노와이어 층 상에 제2 투명 전도성 층을 성막하는 단계를 포함한다.
여기에서, 상기 제1 투명 전도성 층을 결정화하는 단계는 상기 제1 투명 전도성 층의 어닐링을 포함할 수 있다.
상기 제1 투명 전도성 층은 인듐주석산화물로 이루어질 수 있으며, 이때 상기 제1 투명 전도성 층을 결정화하는 단계 이후에, 상기 제1 투명 전도성 층은 XRD 분석에 따른 결정화 개수가 6000 이상인 다결정 인듐주석산화물로 될 수 있다.
본 발명의 제조 방법은 또한 상기 제2 투명 전도성 층을 성막하는 단계 이후에, 금속막 식각액을 사용하여 상기 제2 투명 전도성 층 및 상기 금속 나노와이어 층을 식각하는 단계와 금속 산화물 막 식각액을 사용하여 상기 제1 투명 전도성 층을 식각하는 단계를 포함할 수 있다.
또한, 상기 제1 투명 전도성 층을 식각하는 단계 이후에 형성되는 상기 제1 투명 전도성 층, 상기 금속 나노와이어 층 및 상기 제2 투명 전도성 층의 패턴의 패턴 간 간격은 10μm 이하일 수 있다.
본 발명에 따른 투명 전극은 하부의 금속 산화막 층을 결정화하고 그 위에 금속 나노와이어 층과 상부 금속 산화막 층의 삼층막 구조를 형성한 다음, 이를 2차에 걸쳐 나누어 식각함으로써 미세 패턴의 형성이 가능하다.
도 1은 본 발명의 일 실시예에 따른 투명 전극을 개략적으로 도시한 단면도이다.
도 2는 본 발명의 다른 실시예에 따른 투명 전극을 개략적으로 도시한 단면도이다.
도 3a 내지 3g는 본 발명의 일 실시예에 따른 투명 전극의 제조 방법을 개략적으로 도시한 공정 단면도이다.
도 4a 및 4b는 각각 비교예와 실험예의 사진이다.
이하, 본 발명을 보다 상세히 설명한다. 다만 본 발명을 설명함에 있어서 본 명세서에 첨부된 도면들을 참조할 때, 도면들은 단지 본 발명을 설명하기 위한 예시일 뿐, 본 발명이 도면에 의해 한정되는 것은 아니다. 또한, 설명 상의 편의를 위해 일부 구성요소들은 도면 상에서 과장되게 표현되거나, 축소 또는 생략되어 있을 수 있다.
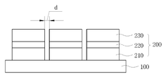
도 1은 본 발명의 일 실시예에 따른 투명 전극을 개략적으로 도시한 단면도이다.
도 1에 나타난 바와 같이, 본 발명의 일 실시예에 따른 투명 전극은 기판(100) 위에 다결정 구조의 제1 투명 전도성 층(210), 금속 나노와이어 층(220) 및 비정질 구조의 제2 투명 전도성 층(230)이 차례로 적층된 삼층막(200)으로 이루어진다.
다결정 구조의 제1 투명 전도성 층(210)은 다결정 인듐주석산화물(ITO)일 수 있다. 이때, 다결정 ITO의 결정화 정도는 엑스선 회절(X-ray diffraction, XRD) 분석에 따른 ITO의 주요 결정화 방향인 (222) 방향의 결정화 정도가 6000개 이상이다. ITO의 경우 IZO나 다른 금속 산화물에 비하여 결정화가 잘 이루어질 수 있어 다결정 구조의 제1 투명 전도성 층(210)을 형성하기에 유리하다.
금속 나노와이어 층(220)은 은 나노와이어, 구리 나노와이어, 지르코늄 나노와이어, 금 나노와이어 중 어느 하나가 될 수 있으며, 특히 은 나노와이어로 이루어질 수 있다.
비정질 구조의 제2 투명 전도성 층(230)은 인듐주석산화물(ITO), 인듐아연산화물(IZO), 인듐아연주석산화물(IZTO), 알루미늄아연산화물(AZO), 갈륨아연산화물(GZO), 불소주석산화물(FTO), 아연산화물(ZnO) 중 어느 하나의 금속 산화물로 형성될 수 있으며, 특히 ITO 또는 IZO로 이루어질 수 있다.
기판(100)은 유리 기판이거나, 투명 전극이 유연성 전자 장치를 위한 것인 경우 유연성 필름 기재일 수 있다. 특히 투명 전극이 표시장치에 사용될 경우, 기판(100)은 투명필름이나 편광판일 수 있다.
투명필름은 투명성, 기계적 강도, 열안정성이 우수한 필름이 사용될 수 있으며, 구체적인 예로는, 폴리에틸렌테레프탈레이트, 폴리에틸렌이소프탈레이트, 폴리에틸렌나프탈레이트, 폴리부틸렌테레프탈레이트 등의 폴리에스테르계 수지; 디아세틸셀룰로오스, 트리아세틸셀룰로오스 등의 셀룰로오스계 수지; 폴리카보네이트계 수지; 폴리메틸(메타)아크릴레이트, 폴리에틸(메타)아크릴레이트 등의 아크릴계 수지; 폴리스티렌, 아크릴로니트릴-스티렌 공중합체 등의 스티렌계 수지; 폴리에틸렌, 폴리프로필렌, 시클로계 또는 노보넨 구조를 갖는 폴리올레핀, 에틸렌-프로필렌 공중합체 등의 폴리올레핀계 수지; 염화비닐계 수지; 나일론, 방향족 폴리아미드 등의 아미드계 수지; 이미드계 수지; 폴리에테르술폰계 수지; 술폰계 수지; 폴리에테르에테르케톤계 수지; 황화 폴리페닐렌계 수지; 비닐알코올계 수지; 염화비닐리덴계 수지; 비닐부티랄계 수지; 알릴레이트계 수지; 폴리옥시메틸렌계 수지; 에폭시계 수지 등과 같은 열가소성 수지로 구성된 필름을 들 수 있으며, 상기 열가소성 수지의 블렌드물로 구성된 필름도 사용할 수 있다. 또한, (메타)아크릴계, 우레탄계, 아크릴우레탄계, 에폭시계, 실리콘계 등의 열경화형 수지 또는 자외선 경화형 수지로 된 필름을 이용할 수도 있다.
이와 같은 투명필름의 두께는 적절히 결정할 수 있지만, 일반적으로는 강도나 취급성 등의 작업성, 박층성 등의 점에서 1~500㎛ 정도이며, 1~300㎛가 바람직하고, 5~200㎛가 보다 바람직하다.
이러한 투명필름은 적절한 1종 이상의 첨가제가 함유된 것일 수도 있다. 첨가제로는, 예컨대 자외선흡수제, 산화방지제, 윤활제, 가소제, 이형제, 착색방지제, 난연제, 대전방지제, 안료, 착색제 등을 들 수 있다. 상기 투명 필름은 필름의 일면 또는 양면에 하드코팅층, 반사방지층, 가스배리어층과 같은 다양한 기능성층을 포함하는 구조일 수 있으며, 기능성층은 전술한 것으로 한정되는 것은 아니며, 용도에 따라 다양한 기능성층을 포함할 수 있다.
또한, 필요에 따라 투명필름은 표면 처리된 것일 수 있다. 이러한 표면 처리로는 플라즈마 처리, 코로나 처리, 프라이머 처리 등의 건식 처리, 검화 처리를 포함하는 알칼리 처리 등의 화학 처리 등을 들 수 있다.
또한, 투명필름은 등방성필름, 위상차필름 또는 보호필름(Protective Film)일 수 있다.
등방성필름일 경우 면내 위상차(Ro, Ro=[(nx-ny)ⅹd], nx, ny는 필름 평면 내의 주굴절률, nz는 필름 두께 방향의 굴절률, d는 필름 두께이다)가 40nm 이하이고, 15nm 이하가 바람직하며, 두께방향 위상차(Rth, Rth=[(nx+ny)/2-nz]ⅹd)가 -90nm~+75nm 이며, 바람직하게는 -80nm~+60nm, 특히 -70nm~+45nm 가 바람직하다.
위상차필름은 고분자필름의 일축 연신, 이축 연신, 고분자코팅, 액정코팅의 방법으로 제조된 필름이며, 일반적으로 디스플레이의 시야각보상, 색감개선, 빛샘개선, 색미조절 등의 광학특성 향상 및 조절을 위하여 사용된다.
위상차필름의 종류에는 1/2 이나 1/4 등의 파장판, 양의 C플레이트, 음의 C플레이트, 양의 A플레이트, 음의 A플레이트, 이축성 파장판을 포함한다.
보호필름은 고분자수지로 이루어진 필름의 적어도 일면에 점착층을 포함하는 필름이거나 폴리프로필렌 등의 자가점착성을 가진 필름일 수 있으며, 투명 전극을 포함하는 전자 장치의 표면 보호, 공정성 개선을 위하여 사용될 수 있다.
본 발명에 따르면, 도 1에 나타난 바와 같은 3층막 구조로 이루어진 투명 전극을 사용하여 패턴 간 간격이 10μm 이하인 미세 패턴을 갖는 투명 전극을 얻을 수 있다.
도 2는 본 발명의 다른 실시예에 따른 투명 전극을 개략적으로 도시한 단면도이다.
도 2를 참조하면, 본 발명에서는 도 1을 참조하여 설명한 본 발명의 일 실시예에서와 마찬가지로 기판(100) 상에서 다결정 구조의 제1 투명 전도성 층(210), 금속 나노와이어 층(220) 및 비정질 구조의 제2 투명 전도성 층(230)의 3층막 구조(200)를 이루며 패턴 사이의 간격 d가 10μm 이하로 형성된 투명 전극을 제공한다.
기판(100), 제1 투명 전도성 층(210), 금속 나노와이어 층(220) 및 제2 투명 전도성 층(230)에 관한 자세한 사항은 도 1을 참조하여 설명한 본 발명의 실시예와 유사하므로 설명을 생략한다.
이제, 본 발명의 실시예에 따른 투명 전극의 제조 방법에 대해 자세히 설명한다.
본 발명에 의하면, 투명 전극 최하부의 투명 전도성 층을 어닐링하여 결정화한 후 상부층을 형성하여 3층 구조를 완성하고, 최종 형성된 3층막을 2단계에 걸쳐 식각함으로써 미세한 패턴을 구현할 수 있다.
또한, 본 발명의 투명 전극은 사용하고자 하는 기판 상에 직접 형성하거나, 캐리어 기판을 이용하여 공정을 진행하여 투명 전극을 형성한 후 캐리어 기판을 분리하고 기재 필름을 부착할 수 있다.
이하에서는, 기판 상에 직접 투명 전극을 형성하는 방법에 대해 설명한다. 도 3a 내지 3g는 본 발명의 일 실시예에 따른 투명 전극의 제조 방법을 개략적으로 도시한 공정 단면도이다.
도 3a에 나타난 바와 같이, 먼저 기판(100) 상에 투명 전도성 층(211)을 성막한다.
상기 투명 전도성 층은 CVD(Chemical Vapor Deposition), PVD(Physical Vapor Deposition), PECVD(Plasma Enhanced Chemical Vapor Deposition) 등의 스퍼터링(Sputtering) 공정, 스크린인쇄, 그라비아(Gravure) 인쇄, 리버스오프셋(Reverse Offset), 잉크젯(Ink Jet) 등의 인쇄공정, 건식 또는 습식의 도금 공정을 이용하여 성막할 수 있다.
성막된 투명 전도성 층(211)은 비정질 상태이다.
다음, 도 3b에 나타난 바와 같이, 어닐링을 실시하여 투명 전도성 층(211)을 결정화한다.
어닐링은 필요에 따라 다양한 조건으로 실시할 수 있다. 예를 들면, 200℃에서 20분간 어닐링을 실시할 수 있다.
사용되는 기판(100)의 종류에 따라 어닐링 조건이 달라질 수 있다. 예를 들어, 유연성 필름기재 상에 직접 투명 전극을 제조하는 경우, 유연성 필름기재가 고온에서 손상될 수 있어 더 낮은 온도에서 어닐링하여야 할 수 있으며, 유리 기판을 사용하는 경우 고온에서 어닐링할 수 있다.
어닐링을 실시한 후에는, 도 3c에 나타난 바와 같이, 투명 전도성 층이 결정화되어 다결정 투명 전도성 층(210)이 형성된다. 이 때, 투명 전도성 층(210)의 결정화 정도는 XRD 분석에 따른 결정화 개수가 6000개 이상이다.
이제, 도 3d 및 도 3e에 각각 나타난 바와 같이, 투명 전도성 층(210) 위에 금속 나노와이어 층(220)과 제2 투명 전도성 층(230)을 차례로 형성하면, 본 발명의 일 실시예에 따른 3층 구조의 투명 전극을 형성할 수 있다.
금속 나노와이어 층(220)과 제2 투명 전도성 층(230)의 재료 등 자세한 사항은 앞서 도 1을 참조하여 설명한 것과 유사하며, 그 형성 방법은 일반적으로 투명 전극을 형성하는 데 사용되는 공정을 제한 없이 사용할 수 있다.
이제, 도 3e에 나타난 바와 같은 투명 전극을 식각하여 미세 패턴을 갖는 투명 전극을 형성하는 방법을 이어서 설명한다.
도 3f에 나타난 바와 같이, 먼저 금속막 식각액을 사용하여 제2 투명 전도성 층(230)과 금속 나노와이어 층(220)을 식각한다.
다음, 도 3g에 나타난 바와 같이, 금속 산화물 막 식각액을 사용하여 제1 투명 전도성 층(210)을 식각한다.
제1 투명 전도성 층을 결정화하지 않는 통상의 3중막 구조에서는, 금속막 식각액을 사용하여 투명 전극을 패터닝할 경우 금속 나노와이어 층으로부터의 잔사가 발생하게 되고, 금속 산화물 막 식각액을 사용하여 투명 전극을 패터닝할 경우 빠른 식각속도로 인하여 금속 나노와이어 층이 심하게 식각되어 패턴 형성이 어렵다.
본 발명에 따르면, 금속막 식각액을 사용하여 제2 투명 전도성 층(230)과 금속 나노와이어 층(220)을 1차 식각하고, 금속 산화물 막 식각액을 사용하여 결정성인 제1 투명 전도성 층(210)을 빠르게 식각하면서 금속 나노와이어 층(220)의 잔사를 함께 제거할 수 있다.
이상에서, 기판 상에 직접 투명 전극을 형성하는 방법에 대해 설명하였으나, 유연성 필름기재 상에 투명 전극을 배치하고자 할 경우 캐리어 기판 상에 투명 전극을 형성하고 캐리어 기판을 분리한 뒤 유연성 필름 기재를 부착할 수도 있다. 통상 유연성 필름기재의 경우 고온을 견딜 수 없어 제1 투명 전도성 층의 어닐링이 어려울 수 있으므로, 캐리어 기판을 사용하는 전사 공정이 유리할 수 있다.
이하에서 실험예와 비교예에 의해 본 발명을 더욱 구체적으로 설명하고자 한다. 그러나, 이하의 실험예와 비교예는 본 발명을 설명하기 위한 것으로, 본 발명의 범위가 어떤 의미로든 이에 의해 제한되지 않는다.
실험예 및 비교예
30μm의 패턴 폭과 8μm의 패턴 사이 간격을 갖는 두 가지 샘플을 제작하였다. 제1 투명 전도성 층과 제2 투명 전도성 층으로는 ITO를 사용하였고, 금속 나노와이어 층은 은 나노와이어로 형성하였다.
실험예는 앞서 설명한 본 발명의 실시예에 따른 방법에 의하여 제1 ITO 층을 200도에서 30분간 어닐링하여 결정화시킨 후 두 단계로 나누어 식각하였다. 제2 ITO 층 및 은 나노와이어 층의 1차 식각은 금속막 식각액 PSW01을 사용하고, 제1 ITO 층의 2차 식각은 금속 산화물 막 식각액 MAS02를 사용하였다.
비교예는 제1 ITO 층을 결정화하지 않고 제1 ITO 층의 성막에 이어서 바로 은 나노와이어 층과 제2 ITO 층을 차례로 형성하였으며, 금속막 식각액 PSW01을 사용하여 삼층막을 일괄 식각하였다.
도 4a 및 4b는 각각 비교예 및 실험예에 따라 형성된 투명 전극 패턴의 사진이다.
도 4a에 나타난 비교예의 경우 패턴 사이에 은 나노와이어의 잔사가 남아 있는 것을 볼 수 있는 데 비하여, 도 4b에 나타난 실험예의 경우 정확한 패턴이 형성된 것을 볼 수 있다.
이상에서 본 발명의 바람직한 실시예에 대하여 도면을 참조하여 설명하였지만, 본 발명은 상술한 실시예에 한정되는 것은 아니며, 본 발명의 본질적인 특성에서 벗어나지 않는 범위에서 변형된 형태로 본 발명이 구현될 수 있음을 이해할 수 있을 것이다. 상술한 본 발명의 실시예들은 독립적으로 또는 그 특징들의 일부 또는 전부를 조합하여 적용될 수 있다.
그러므로, 본 발명의 범위는 전술한 설명이 아니라 특허청구범위에 의해 정해지며, 그와 동등한 범위 내에 있는 모든 차이점은 본 발명에 포함되는 것으로 해석되어야 할 것이다.
100: 기판 200: 투명 전극 삼층막
210: 제1 투명 전도성 층 211: 비정질 투명 전도성 층
220: 금속 나노와이어 층 230: 제2 투명 전도성 층

Claims (10)

  1. 기판,
    상기 기판 상에 배치되는 다결정 구조의 제1 투명 전도성 층, 상기 제1 투명 전도성 층 상에 배치되는 금속 나노와이어 층, 상기 금속 나노와이어 층 상에 배치되는 비정질 구조의 제2 투명 전도성 층으로 이루어진 투명 전도성 패턴을 포함하는,
    투명 전극.
  2. 제1항에 있어서,
    상기 제1 투명 전도성 층은 XRD 분석에 따른 결정화 개수가 6000 이상인 다결정 인듐주석산화물로 이루어진 투명 전극.
  3. 제1항에 있어서,
    상기 제2 투명 전도성 층은 비정질 인듐주석산화물 또는 비정질 인듐아연산화물로 이루어진 투명 전극.
  4. 제1항에 있어서,
    상기 금속 나노와이어 층은 은 나노와이어 층인 투명 전극.
  5. 제1항에 있어서,
    상기 투명 전도성 패턴의 패턴 간 간격은 10μm 이하인 투명 전극.
  6. 기판 상에 제1 투명 전도성 층을 성막하는 단계,
    상기 제1 투명 전도성 층을 결정화하는 단계,
    상기 제1 투명 전도성 층 상에 금속 나노와이어 층을 형성하는 단계,
    상기 금속 나노와이어 층 상에 제2 투명 전도성 층을 성막하는 단계를 포함하는,
    투명 전극의 제조 방법.
  7. 제6항에 있어서,
    상기 제1 투명 전도성 층을 결정화하는 단계는 상기 제1 투명 전도성 층의 어닐링을 포함하는,
    투명 전극의 제조 방법.
  8. 제6항에 있어서,
    상기 제1 투명 전도성 층은 인듐주석산화물로 이루어지며,
    상기 제1 투명 전도성 층을 결정화하는 단계 이후에, 상기 제1 투명 전도성 층은 XRD 분석에 따른 결정화 개수가 6000 이상인 다결정 인듐주석산화물로 되는,
    투명 전극의 제조 방법.
  9. 제6항에 있어서,
    상기 제2 투명 전도성 층을 성막하는 단계 이후에,
    금속막 식각액을 사용하여 상기 제2 투명 전도성 층 및 상기 금속 나노와이어 층을 식각하는 단계,
    금속 산화물 막 식각액을 사용하여 상기 제1 투명 전도성 층을 식각하는 단계를 포함하는,
    투명 전극의 제조 방법.
  10. 제9항에 있어서,
    상기 제1 투명 전도성 층을 식각하는 단계 이후에 형성되는 상기 제1 투명 전도성 층, 상기 금속 나노와이어 층 및 상기 제2 투명 전도성 층의 패턴의 패턴 간 간격은 10μm 이하인 투명 전극의 제조 방법.
KR1020170024937A 2017-02-24 2017-02-24 투명 전극 및 그 제조 방법 Withdrawn KR20180098019A (ko)

Priority Applications (1)

Application Number Priority Date Filing Date Title
KR1020170024937A KR20180098019A (ko) 2017-02-24 2017-02-24 투명 전극 및 그 제조 방법

Applications Claiming Priority (1)

Application Number Priority Date Filing Date Title
KR1020170024937A KR20180098019A (ko) 2017-02-24 2017-02-24 투명 전극 및 그 제조 방법

Publications (1)

Publication Number Publication Date
KR20180098019A true KR20180098019A (ko) 2018-09-03

Family

ID=63601001

Family Applications (1)

Application Number Title Priority Date Filing Date
KR1020170024937A Withdrawn KR20180098019A (ko) 2017-02-24 2017-02-24 투명 전극 및 그 제조 방법

Country Status (1)

Country Link
KR (1) KR20180098019A (ko)

Cited By (3)

* Cited by examiner, † Cited by third party
Publication number Priority date Publication date Assignee Title
KR20210081028A (ko) * 2019-12-23 2021-07-01 엘지이노텍 주식회사 투명안테나 및 이를 포함하는 안테나 장치
JPWO2022054151A1 (ko) * 2020-09-09 2022-03-17
WO2022054150A1 (ja) * 2020-09-09 2022-03-17 株式会社 東芝 透明電極、透明電極の製造方法、および電子デバイス

Citations (1)

* Cited by examiner, † Cited by third party
Publication number Priority date Publication date Assignee Title
KR101391510B1 (ko) 2013-03-19 2014-05-07 경희대학교 산학협력단 금속 나노와이어를 구비한 다층 투명 전극 소자

Patent Citations (1)

* Cited by examiner, † Cited by third party
Publication number Priority date Publication date Assignee Title
KR101391510B1 (ko) 2013-03-19 2014-05-07 경희대학교 산학협력단 금속 나노와이어를 구비한 다층 투명 전극 소자

Cited By (6)

* Cited by examiner, † Cited by third party
Publication number Priority date Publication date Assignee Title
KR20210081028A (ko) * 2019-12-23 2021-07-01 엘지이노텍 주식회사 투명안테나 및 이를 포함하는 안테나 장치
JPWO2022054151A1 (ko) * 2020-09-09 2022-03-17
WO2022054150A1 (ja) * 2020-09-09 2022-03-17 株式会社 東芝 透明電極、透明電極の製造方法、および電子デバイス
WO2022054151A1 (ja) * 2020-09-09 2022-03-17 株式会社 東芝 透明電極、透明電極の製造方法、および電子デバイス
JPWO2022054150A1 (ko) * 2020-09-09 2022-03-17
US11942575B2 (en) 2020-09-09 2024-03-26 Kabushiki Kaisha Toshiba Transparent electrode, method of producing transparent electrode, and electronic device

Similar Documents

Publication Publication Date Title
US11609668B2 (en) Film touch sensor and manufacturing method therefor
KR101444132B1 (ko) 복합 편광판 일체형 터치 감지 전극 및 이를 구비한 터치 스크린 패널
KR102142144B1 (ko) 편광판과 터치 감지 전극 일체형 윈도우 필름
KR101989457B1 (ko) 고성능 터치 센서 및 그 제조방법
US10261642B2 (en) Film touch sensor with an inorganic passivation layer
KR101586739B1 (ko) 필름 터치 센서 및 그의 제조 방법
KR101586736B1 (ko) 필름 터치 센서 및 그의 제조 방법
WO2011162414A1 (en) Transparent planar body and transparent touch panel
US20160170540A1 (en) Touch sensor electrode integrated with polarizing plate
US20170285780A1 (en) Touch sensor and method for preparing the same
KR20180097212A (ko) 금속 메시 전극 및 이를 포함하는 유연성 장치
US10585504B2 (en) Film touch sensor and method for fabricating the same
KR20180098019A (ko) 투명 전극 및 그 제조 방법
KR20190085319A (ko) 터치 센서 및 이를 포함하는 표시 장치
CN210123552U (zh) 触摸传感器
KR20140134227A (ko) 복합 편광판 일체형 터치 감지 전극
US20180196539A1 (en) Touch sensor having enhanced durability and optical characteristics and method of manufacturing the same
KR101841946B1 (ko) 장력 제어를 이용한 터치 센서 필름 제조방법
US11262880B2 (en) High performance film-type touch sensor
KR20190114842A (ko) 고성능 필름형 터치센서
KR20190113098A (ko) 다층 투명 도전체 및 그 제조방법
KR20170096475A (ko) 폴더블 터치 센서 및 그 제조방법
KR20170112989A (ko) 터치 센서 필름 제조 방법
JP2015152981A (ja) タッチセンサ

Legal Events

Date Code Title Description
PA0109 Patent application

Patent event code: PA01091R01D

Comment text: Patent Application

Patent event date: 20170224

PG1501 Laying open of application
PC1203 Withdrawal of no request for examination