KR20170103718A - Flow Control Devices Using Hinge - Google Patents

Flow Control Devices Using Hinge Download PDF

Info

Publication number
KR20170103718A
KR20170103718A KR1020170105738A KR20170105738A KR20170103718A KR 20170103718 A KR20170103718 A KR 20170103718A KR 1020170105738 A KR1020170105738 A KR 1020170105738A KR 20170105738 A KR20170105738 A KR 20170105738A KR 20170103718 A KR20170103718 A KR 20170103718A
Authority
KR
South Korea
Prior art keywords
opening
frame
closing plate
reinforcing frame
plate
Prior art date
Legal status (The legal status is an assumption and is not a legal conclusion. Google has not performed a legal analysis and makes no representation as to the accuracy of the status listed.)
Granted
Application number
KR1020170105738A
Other languages
Korean (ko)
Other versions
KR102035387B1 (en
Inventor
전상훈
Original Assignee
전상훈
Priority date (The priority date is an assumption and is not a legal conclusion. Google has not performed a legal analysis and makes no representation as to the accuracy of the date listed.)
Filing date
Publication date
Application filed by 전상훈 filed Critical 전상훈
Priority to KR1020170105738A priority Critical patent/KR102035387B1/en
Publication of KR20170103718A publication Critical patent/KR20170103718A/en
Application granted granted Critical
Publication of KR102035387B1 publication Critical patent/KR102035387B1/en
Expired - Fee Related legal-status Critical Current
Anticipated expiration legal-status Critical

Links

Images

Classifications

    • EFIXED CONSTRUCTIONS
    • E03WATER SUPPLY; SEWERAGE
    • E03FSEWERS; CESSPOOLS
    • E03F5/00Sewerage structures
    • E03F5/04Gullies inlets, road sinks, floor drains with or without odour seals or sediment traps
    • E03F5/041Accessories therefor
    • EFIXED CONSTRUCTIONS
    • E03WATER SUPPLY; SEWERAGE
    • E03FSEWERS; CESSPOOLS
    • E03F5/00Sewerage structures
    • E03F5/04Gullies inlets, road sinks, floor drains with or without odour seals or sediment traps
    • E03F5/042Arrangements of means against overflow of water, backing-up from the drain
    • EFIXED CONSTRUCTIONS
    • E03WATER SUPPLY; SEWERAGE
    • E03FSEWERS; CESSPOOLS
    • E03F5/00Sewerage structures
    • E03F5/10Collecting-tanks; Equalising-tanks for regulating the run-off; Laying-up basins
    • E03F5/105Accessories, e.g. flow regulators or cleaning devices
    • E03F5/107Active flow control devices, i.e. moving during flow regulation

Landscapes

  • Health & Medical Sciences (AREA)
  • Life Sciences & Earth Sciences (AREA)
  • Engineering & Computer Science (AREA)
  • Hydrology & Water Resources (AREA)
  • Public Health (AREA)
  • Water Supply & Treatment (AREA)
  • Sewage (AREA)

Abstract

본 발명은 경첩을 이용한 유량조절장치에 관한 것으로, 이를 위해 우수토실에 설치되는 프레임;과, 상기 프레임에 횡설되는 보강프레임; 및 다수의 경첩을 매개로 상기 보강프레임에 결합되는 개폐판;을 포함하여 이루어지되, 상기 각 경첩은 상기 보강프레임의 수직 면상과 개폐판의 저면에 결합되어 개폐판의 개방각도를 최대 90° 범위로 개폐될 수 있도록 구성되고, 상기 프레임의 일측 상부에는 개폐판과의 사이에 유입구를 형성하는 고정판이 것을 특징으로 한다.The present invention relates to a flow rate adjusting device using a hinge, and more particularly, to a flow rate adjusting device using a hinge, And an opening / closing plate coupled to the reinforcing frame via a plurality of hinges, wherein each of the hinges is coupled to a vertical surface of the reinforcing frame and a bottom surface of the opening / closing plate, And a fixing plate which forms an inlet between the opening and closing plate on one side of the frame.

Description

경첩을 이용한 유량조절장치{Flow Control Devices Using Hinge}[0001] The present invention relates to a flow control device using a hinge,

본 발명은 경첩을 회전축으로 설정하여 개폐판을 최대 90°까지 개폐할 수 있는 경첩을 이용한 유량조절장치에 관한 것으로, 보다 상세하게는 프레임에 결합되는 보강프레임을 통해 장치의 내구성을 증대시키고, 경첩을 통해 회전축과 개폐판과의 거리를 최단거리로 설정할 수 있어 개폐판의 정밀 작동을 가능하게 할 수 있는 경첩을 이용한 유량조절장치에 관한 것이다. BACKGROUND OF THE INVENTION 1. Field of the Invention [0001] The present invention relates to a flow rate adjusting device using a hinge capable of opening and closing a door up to 90 [deg.] By setting a hinge as a rotation axis, more specifically, The present invention relates to a flow rate adjusting device using a hinge capable of setting a shortest distance between a rotary shaft and an opening /

일반적으로 하수로 또는 하수관거는 가정에서 발생되는 생활하수 및 공장이나 사업장에서 나오는 공장 폐수와, 빗물이 도로의 배수로를 통하여 모여진 하수를 배수하는 통로를 말하는 것이다.Generally, a sewer or a sewer pipe refers to a sewer water generated from a household, a factory wastewater coming from a factory or a workplace, and a passage through which rainwater drains sewage collected through a drainage passage of a road.

특히 하수로는 배출측이 강과 연결되어 있으므로 하수가 강으로 유입되는 것이다.In particular, sewage is connected to the river at the discharge side, so sewage flows into the river.

즉 통상적으로 알려진 하수로는 배출측에 구비되어 유입되는 하수를 정화할 수 있도록 우수토실을 포함하고, 우수토실에 연계된 하수 처리장으로 유도하는 차집관거를 포함한다.That is, a commonly known sewer pipe includes an excellent toilet provided at the discharge side to purify the inflow sewage, and includes a sub-pipe leading to a sewage treatment plant associated with the superior toil.

유량조절장치는 하수 및 오수를 우수토실로 유입시키는 것으로, 토사 유입방지장치 또는 개폐장치 또는 우수 유입 방지장치 또는 유량조절 및 역류방지장치 등 다양한 명칭으로 사용된다.The flow rate control device is used to introduce sewage and sewage into an excellent toilet, and is used in various names such as a soil inflow prevention device, an opening / closing device, a storm inflow prevention device, or a flow rate control and backflow prevention device.

한편, 종래의 유량조절장치(특허등록 제1369130호) 또는 차집관거의 유량조절장치(특허등록 제1453668호)는 모두 개폐판의 저면에 베어링을 매개로 회전축을 경합시켜 구성되기 때문에 회전축과 개폐판의 거리를 최단거리로 설정할 수 없게 구성된다.On the other hand, since the conventional flow rate regulating device (patent registration No. 1369130) or the flow rate regulating device (patent registration No. 1453668) of the subcontractor are all constructed by compiling the bottom surface of the opening / The distance can not be set to the shortest distance.

이에 따라 개폐판의 정밀 작동이 어렵고, 또한 장치의 시공이 어려워 원가상승의 요인이 되는 문제점이 있었다.Accordingly, it is difficult to precisely operate the opening and closing plate, and the construction of the apparatus is difficult, which causes a problem of cost increase.

대한민국 특허등록 제1369130호Korea Patent No. 1369130 대한민국 특허등록 제1453668호Korean Patent Registration No. 1453668

본 발명은 상기와 같은 문제점을 감안하여 안출된 것으로, 본 발명의 제 1목적은, 경첩을 회전축으로 설정하여 개폐판을 최대 90°까지 개폐할 수 있고, 프레임에 결합되는 보강프레임을 통해 장치의 내구성을 증대시킬 수 있으며, 더불어 경첩을 통해 회전축과 개폐판과의 거리를 최단거리로 설정할 수 있어 개폐판의 정밀 작동을 가능하게 할 수 있는 경첩을 이용한 유량조절장치를 제공하는데 있다.SUMMARY OF THE INVENTION The present invention has been made in view of the above problems, and it is a first object of the present invention to provide a hinge for a portable electronic device which can open / close a door up to 90 degrees by setting a hinge as a rotation axis, And it is also an object of the present invention to provide a flow rate adjusting device using a hinge capable of setting a shortest distance between a rotary shaft and an opening / closing plate through a hinge, thereby enabling precise operation of the opening / closing plate.

본 발명의 제 2목적은, 물이 유입되는 유입구의 통수 단면이 변화되도록 개폐판의 회전 중심이 이동 가능하게 구성된 경첩을 이용한 유량조절장치를 제공하는데 있다.A second object of the present invention is to provide a flow rate regulating device using a hinge wherein the rotational center of the opening / closing plate is movable so that the inlet cross-section of the inlet port through which water flows is changed.

상기와 같은 목적을 달성하기 위한 본 발명의 특징에 따르면, 제 1발명은 경첩을 이용한 유량조절장치에 관한 것으로, 이를 위해 우수토실에 설치되는 프레임;과, 상기 프레임에 횡설되는 보강프레임; 및 다수의 경첩을 매개로 상기 보강프레임에 결합되는 개폐판;을 포함하여 이루어지되, 상기 각 경첩은 상기 보강프레임의 수직 면상과 개폐판의 저면에 결합되어 개폐판의 개방각도를 최대 90° 범위로 개폐될 수 있도록 구성되고, 상기 프레임의 일측 상부에는 개폐판과의 사이에 유입구를 형성하는 고정판이 결합되는 것을 특징으로 한다.According to an aspect of the present invention, there is provided a flow rate adjusting apparatus using a hinge, comprising: a frame installed in an excellent chamber; a reinforcing frame extending in a direction perpendicular to the frame; And an opening / closing plate coupled to the reinforcing frame via a plurality of hinges, wherein each of the hinges is coupled to a vertical surface of the reinforcing frame and a bottom surface of the opening / closing plate, And a fixing plate for forming an inlet is interposed between the frame and the opening / closing plate at one side of the frame.

제 2발명은, 제 1발명에서, 상기 보강프레임은 결합된 개폐판의 중심이동이 가능하도록 위치가 프레임의 종설 방향을 따라 가변되는 것을 특징으로 한다.A second invention is characterized in that, in the first invention, a position of the reinforcing frame is varied along the longitudinal direction of the frame so that the center of the open / close board can be moved.

제 3발명은, 제 2발명에서, 상기 프레임의 저면에는 "ㄱ"형태의 가로고정앵글을 더 포함하고, 상기 보강프레임의 양측 단면에는 "I"자 형태의 세로고정앵글을 더 포함하되, 상기 프레임과 보강프레임은 상기 가로고정앵글에 밀착되는 세로고정앵글을 통해 볼팅 결합되는 것을 특징으로 한다.According to a third aspect of the present invention, in the second aspect of the present invention, the frame further includes a horizontal fixing angle of "a ", and both vertical ends of the reinforcing frame have vertical fixing angles of" I " And the frame and the reinforcing frame are bolted to each other through a vertical fixed angle which is in close contact with the horizontal fixed angle.

제 4발명은, 제 1발명에서, 상기 프레임의 타측과 보강프레임의 사이에는 빗물 역류방지를 위한 역류방지판이 더 결합되고, 상기 역류방지판은 저장공간을 형성하는 것을 특징으로 한다.A fourth invention is characterized in that, in the first invention, a backflow preventing plate for preventing reverse flow of rainwater is further incorporated between the other side of the frame and the reinforcing frame, and the backflow preventing plate forms a storage space.

제 5발명은, 제 4발명에서, 상기 역류방지판은 모래 준설 또는 공구 수납을 위해 용기 형태로 성형시켜 저장공간을 확장하여 구성되는 것을 특징으로 한다.The fifth invention is characterized in that, in the fourth invention, the backflow prevention plate is formed by expanding the storage space by molding into a container form for sand dredging or tool storage.

제 6발명은, 제 4발명에서, 상기 보강프레임에는 개폐판의 개방각도를 조절할 수 있는 다수의 개방각도조절수단이 더 결합되되, 상기 개방각도조절수단은 저장공간에 노출되게 보강프레임에 결합되는 노브볼트로 구성되는 것을 특징으로 한다.In a sixth aspect of the present invention, in the fourth aspect of the present invention, the reinforcing frame further includes a plurality of opening angle adjusting means capable of adjusting an opening angle of the opening and closing plate, the opening angle adjusting means being coupled to the reinforcing frame And a knob bolt.

제 7발명은, 제 1발명에서, 상기 고정판의 상부에는 협잡물의 유입을 방지하기 위한 협잡물걸림수단이 일체로 결합되되, 상기 협잡물걸림수단의 타측은 개폐판의 중앙영역까지 연장되고, 위치 변경이 가능하도록 장홈이 형성되어 개폐판의 개방각도를 조절할 수 있도록 구성되는 것을 특징으로 한다.According to a seventh aspect of the present invention, in the first aspect of the present invention, the impregnating means for preventing the inflow of the contaminants is integrally connected to the upper portion of the fixing plate, the other side of the contaminant- So that the opening angle of the opening / closing plate can be adjusted.

본 발명의 경첩을 이용한 유량조절장치에 따르면, 경첩을 회전축으로 설정하여 개폐판을 최대 90°까지 개폐할 수 있는 효과가 있다.According to the flow rate adjusting apparatus using the hinge of the present invention, the hinge can be set as the rotation axis, and the opening / closing plate can be opened and closed up to 90 degrees at maximum.

또한 기존의 개폐판은 저면에 결합되는 베어링으로 회전축과 개폐판의 거리를 최단거리로 설정할 수 없으나, 제 1실시예는 상기 각 경첩을 통해 회전축과 개폐판과의 거리를 최단거리로 설정할 수 있어 개폐판의 정밀 작동이 가능한 효과가 있다.In addition, although the conventional opening / closing plate is a bearing coupled to the bottom surface, the distance between the rotating shaft and the opening / closing plate can not be set to the shortest distance. However, in the first embodiment, the distance between the rotating shaft and the opening / closing plate can be set to the shortest distance There is an effect that the opening and closing plate can be precisely operated.

또한 제 1실시예는 기존의 회전축과 베어링을 없앨 수 있어 장치의 설비값을 줄일 수 있으며, 장치의 내구성을 증대시킬 수 있는 효과가 있다.In addition, the first embodiment can eliminate the conventional rotary shaft and bearing, thereby reducing the installation value of the device and increasing the durability of the device.

또한 노브볼트는 저장공간에 노출됨으로써, 보다 손쉽게 개폐판의 개방각도를 조절할 수 있으며, 기존의 "바" 또는 "와이어" 형태로 구성된 개방각도조절수단을 단순하게 볼트 형태로 구성하여 시공이 편리하고 원가절감 되어 단가하락 및 장치의 내구성을 증대시킬 수 있는 효과가 있다.In addition, the knob bolt is exposed to the storage space to more easily adjust the opening angle of the opening / closing plate, and the opening angle adjusting means formed of the conventional "bar" or "wire" The cost can be reduced and the unit price can be lowered and the durability of the apparatus can be increased.

또한 제 2실시예는 물이 유입되는 유입구의 통수 단면이 변화되도록 개폐판의 회전 중심을 손쉽게 이동시킬 수 효과가 있다.In addition, the second embodiment has an effect that the rotation center of the opening / closing plate can be easily moved so that the inlet cross-section of the inlet port into which the water flows is changed.

또한 협잡물걸림수단은 오수 및 하수에 포함된 협잡물의 유입을 방지하면서, 별도의 개방각도조절수단이 없이, 협잡물걸림수단을 통해 개폐판의 개방각도를 조절할 수 있어 장치의 단순화를 꾀할 수 있는 효과가 있다.Further, the impurity engaging means is capable of controlling the opening angle of the opening / closing plate by means of the obstacle-engaging means without the need of a separate opening angle adjusting means while preventing the inflow of the contaminants contained in the wastewater and sewage, thereby simplifying the apparatus have.

또한, 개방각도를 크게 조절하여 오수 및 하수의 낙하 유속을 빨리하여 용량이 증가시키며, 개폐판의 길이와 장치의 전체 길이를 작게 할 수 있어 협소한 공간에서 효율적으로 설치할 수 있어 공사비절감 및 원부자재를 절감할 수 있는 효과가 있다.In addition, by increasing the opening angle, the flow rate of the sewage and sewage can be increased to increase the capacity, and the length of the opening and closing plate and the overall length of the apparatus can be reduced, thereby enabling efficient installation in a narrow space. Can be saved.

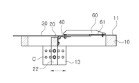
도 1은 본 발명의 제 1실시예에 따른 경첩을 이용한 유량조절장치의 구성을 도시한 사시도,
도 2는 본 발명에 따른 제 1실시예의 구성을 도시한 저면사시도,
도 3은 본 발명에 따른 제 1실시예의 분해상태를 도시한 분해사시도,
도 4는 본 발명에 따른 제 1실시예의 개폐판의 작동상태를 도시한 작동도,
도 5는 본 발명에 따른 제 1실시예의 저장공간이 확장된 역류방지판을 도시한 단면도,
도 6은 본 발명의 제 2실시예에 따른 경첩을 이용한 유량조절장치의 구성을 도시한 사시도,
도 7은 본 발명에 따른 제 2실시예의 구성을 도시한 저면사시도,
도 8은 본 발명에 따른 제 2실시예의 분해상태를 도시한 분해사시도,
도 9는 본 발명에 따른 제 2실시예의 보강프레임의 이동상태를 도시한 작동도,
도 10은 본 발명에 따른 제 2실시예의 개폐판의 작동상태를 도시한 작동도이다.
1 is a perspective view showing a configuration of a flow rate adjusting apparatus using a hinge according to a first embodiment of the present invention,
2 is a bottom perspective view showing the configuration of the first embodiment according to the present invention,
3 is an exploded perspective view showing a disassembled state of the first embodiment according to the present invention,
4 is an operational view showing the operating state of the open / close board of the first embodiment according to the present invention,
FIG. 5 is a sectional view showing a backflow prevention plate having a storage space expanded according to the first embodiment of the present invention, FIG.
6 is a perspective view showing the configuration of a flow rate adjusting apparatus using a hinge according to the second embodiment of the present invention,
7 is a bottom perspective view showing a configuration of a second embodiment according to the present invention,
8 is an exploded perspective view showing a disassembled state of the second embodiment according to the present invention,
9 is an operational view showing a moving state of a reinforcing frame of a second embodiment according to the present invention,
10 is an operation diagram showing the operating state of the open / close board of the second embodiment according to the present invention.

본 발명은 다양한 변경을 가할 수 있고 여러 가지 실시예를 가질 수 있는 바, 특정 실시예들을 도면에 예시하고 이를 상세한 설명을 통해 상세히 설명하고자 한다. 그러나, 이는 본 발명을 특정한 실시 형태에 대해 한정하려는 것이 아니며, 본 발명의 사상 및 기술 범위에 포함되는 모든 변경, 균등물 내지 대체물을 포함하는 것으로 이해되어야 한다.While the present invention has been described in connection with certain exemplary embodiments, it is to be understood that the invention is not limited to the disclosed embodiments, but, on the contrary, is intended to cover various modifications and similarities. It should be understood, however, that the invention is not intended to be limited to the particular embodiments, but includes all modifications, equivalents, and alternatives falling within the spirit and scope of the invention.

또한 본 발명을 설명함에 있어서, 관련된 공지 기술에 대한 구체적인 설명이 본 발명의 요지를 불필요하게 흐릴 수 있다고 판단되는 경우 그 상세한 설명을 생략한다. 또한, 본 명세서의 설명 과정에서 이용되는 숫자(예를 들어, 제 1, 제 2 등)는 하나의 구성요소를 다른 구성요소와 구분하기 위한 식별기호에 불과하다.In the following description of the present invention, detailed description of known related arts will be omitted when it is determined that the gist of the present invention may be unnecessarily obscured. In addition, numerals (e.g., first, second, etc.) used in the description of the present invention are merely an identifier for distinguishing one component from another.

또한, 본 명세서에서, 일 구성요소가 다른 구성요소와 "결합된다", "연결된다" 거나 "접속된다" 등으로 언급된 때에는, 상기 일 구성요소가 상기 다른 구성요소와 직접 연결되거나 또는 직접 접속되거나 또는 직접 결합될 수도 있지만, 특별히 반대되는 기재가 존재하지 않는 이상, 중간에 또 다른 구성요소를 매개하여 결합되거나 또는 연결되거나 또는 접속될 수도 있다고 이해되어야 할 것이다.Also, in this specification, when an element is referred to as being "coupled "," connected ", or "connected" with another element, the element is directly connected to the other element, Or may be directly bonded, but it should be understood that, unless otherwise specifically contradictory, there may be intervening, interlinked, or connected via another element in the middle.

이하에서는 본 발명에 따른 경첩을 이용한 유량조절장치에 관하여 첨부되어진 도면과 함께 더불어 상세히 설명하기로 한다.Hereinafter, a flow rate adjusting apparatus using a hinge according to the present invention will be described in detail with reference to the accompanying drawings.

도 1은 본 발명의 제 1실시예에 따른 경첩을 이용한 유량조절장치의 구성을 도시한 사시도이며, 도 2는 본 발명에 따른 제 1실시예의 구성을 도시한 저면사시도이고, 3은 본 발명에 따른 제 1실시예의 분해상태를 도시한 분해사시도이며, 도 4는 본 발명에 따른 제 1실시예의 역류방지판을 도시한 단면도이고, 도 5는 본 발명에 따른 제 1실시예의 저장공간이 확장된 역류방지판을 도시한 단면도이다.2 is a bottom perspective view showing a configuration of a first embodiment according to the present invention, and FIG. 3 is a cross-sectional view taken along the line II-II of FIG. FIG. 4 is a cross-sectional view of a check valve according to a first embodiment of the present invention, and FIG. 5 is a cross-sectional view of the expanded space of the first embodiment according to the present invention, Sectional view showing the backflow preventing plate.

도 1 내지 도 4에 도시된 바와 같이, 제 1실시예는 경첩(40)을 회전축으로 설정하여 개폐판(30)을 최대 90°까지 개폐할 수 있는 경첩을 이용한 유량조절장치에 관한 것이다.As shown in FIGS. 1 to 4, the first embodiment relates to a flow rate adjusting device using a hinge capable of opening and closing the opening / closing plate 30 up to 90 degrees by setting the hinge 40 as a rotational axis.

또한 제 1실시예는 프레임(10)에 결합되는 보강프레임(20)을 통해 장치의 내구성을 증대시키고, 경첩(40)을 통해 회전축과 개폐판(30)과의 거리를 최단거리로 설정할 수 있어 개폐판(30)의 정밀 작동을 가능하게 할 수 있는 경첩을 이용한 유량조절장치에 관한 것이다. The first embodiment can increase the durability of the apparatus through the reinforcing frame 20 coupled to the frame 10 and set the shortest distance between the rotary shaft and the opening and closing plate 30 through the hinge 40 And a flow control device using a hinge capable of enabling precise operation of the opening and closing plate (30).

이러한 경첩을 이용한 유량조절장치는 크게 3부분으로 구성되는데, 이는 우수토실에 설치되는 프레임(10)과, 상기 프레임(10)에 횡설되는 보강프레임(20) 및 다수의 경첩(40)을 매개로 상기 보강프레임(20)에 결합되는 개폐판(30)을 포함하여 이루어진다.The flow control device using the hinge is mainly composed of three parts, that is, a frame 10 installed in the superior room, a reinforcing frame 20 provided in the frame 10 and a plurality of hinges 40 And an opening / closing plate (30) coupled to the reinforcing frame (20).

상기 프레임(19)은 하수로의 우수토실에 상단에 설치되는데, 상기 우수토실은 통상 연결관을 통해 차집관거와 연결되고, 상기 차집관거는 하수종말처리장과 연결되어 우수토실 내부로 집수될 수 있도록 구성된다.The frame 19 is installed at the upper end of the sewer well, and the sewer well is connected to the sewer pipe through a connecting pipe. The sewer pipe is connected to the sewage water treatment plant and is collected into the sewer.

상기 보강프레임(20)은 사각의 각관으로 구성되고, 상기 프레임(10)에 횡방향으로 설치되는 구성이다.The reinforcing frame 20 is constituted by a square pipe and is installed in the frame 10 in the lateral direction.

이러한 상기 보강프레임(20)은 프레임(10)의 내구성을 보강하는 한편, 설치되는 개폐판(30)을 지지하는 기능을 겸한다.The reinforcing frame 20 reinforces the durability of the frame 10 and also has a function of supporting the opening / closing plate 30 to be installed.

여기서 상기 개폐판(30)은 적어도 2개 이상의 경첩(40)을 매개로 상기 보강프레임(20)의 각관 면상에 결합되는 구성이다.Here, the opening / closing plate 30 is coupled to each tube of the reinforcing frame 20 through at least two hinges 40.

상기 각 경첩(40)은 상기 보강프레임(20)의 각관 수직 면상과 개폐판(30)의 저면에 결합되어 개폐판(30)의 개방각도를 최대 90° 범위로 개폐될 수 있도록 구성하여 물 최대 유입량을 증대시킬 수 있도록 구성된다.Each of the hinges 40 is coupled to the vertical surface of the reinforcing frame 20 and the bottom surface of the opening and closing plate 30 so that the opening angle of the opening and closing plate 30 can be opened / So that the inflow amount can be increased.

또한 기존의 개폐판은 저면에 결합되는 베어링으로 회전축과 개폐판의 거리를 최단거리로 설정할 수 없으나, 제 1실시예는 상기 각 경첩(40)을 통해 회전축과 개폐판(30)과의 거리를 최단거리로 설정할 수 있어 개폐판(30)의 정밀 작동을 가능하게 한다.However, in the first embodiment, the distance between the rotary shaft and the opening and closing plate 30 is set to be a distance between the rotary shaft and the open / close plate 30 through the hinges 40 So that the opening / closing plate 30 can be precisely operated.

또한 제 1실시예는 기존의 개폐판에 결합된 회전축과 베어링을 없앨 수 있어 장치의 설비값을 줄일 수 있으며, 장치의 내구성을 증대시킬 수 있게 된다.In addition, the first embodiment can eliminate the rotation shaft and the bearing coupled to the conventional open / close plate, thereby reducing the installation value of the device and increasing the durability of the device.

아울러 상기 프레임(10)의 타측과 보강프레임(20)의 사이에는 빗물 역류방지와 우수토실의 준설을 위한 역류방지판(50)이 볼팅 결합되는 구성이다.A backflow preventing plate 50 for preventing backflow of rainwater and for dredging the bottom of the bottom of the frame 10 is bolted between the other side of the frame 10 and the reinforcing frame 20.

이러한 상기 역류방지판(50)은 프레임(10)의 하부와 보강프레임(20)의 하부에 배치되어 프레임(10)의 두께만큼 저장공간(51)을 형성하는 구성이다.The backflow prevention plate 50 is disposed below the frame 10 and below the reinforcing frame 20 to form the storage space 51 as much as the thickness of the frame 10.

여기서 역류방지판(50)은 통상 우수토실의 내부에 저장된 빗물이 역류되지 않게 기능을 하며, 다른 기능으로 프레임(10)에서 분리시키면 외부 준설차의 통해 우수토실의 내부를 준설할 수 있도록 기능한다.Here, the backflow prevention plate 50 functions to prevent the rainwater stored in the inside of the excellent toilet from flowing backward, and if the other function is separated from the frame 10, the inside of the good toilet can be dredged through the external dredger .

그리고 상기 개폐판(30)은 우수토실로 역류되는 빗물에 의해 자동 폐쇄될 수 있도록 저면 일측에는 부력통(31)이 더 결합되고, 저면 타측에는 무게 중심을 조율할 수 있는 무게추가 더 결합된다.The buoyancy tank 31 is further coupled to one side of the bottom surface of the opening / closing plate 30 so that the opening / closing plate 30 can be automatically closed by the rainwater flowing backward to the good toil.

이 때 상기 무게추(32)는 개폐판(30)의 폐쇄시 저장공간(51)에 위치되기 때문에 그 크기를 저장공간(51)의 높이 만큼으로 고려해야 한다.At this time, since the weight 32 is located in the storage space 51 when the opening / closing plate 30 is closed, the weight should be considered as the height of the storage space 51.

아울러 상기 보강프레임(20)에는 개폐판(30)의 개방각도를 조절할 수 있는 다수의 개방각도조절수단이 더 결합되는 구성이다.In addition, the reinforcement frame 20 is further coupled with a plurality of opening angle adjusting means capable of adjusting the angle of opening of the opening / closing plate 30.

이러한 상기 개방각도조절수단은 저장공간(51)에 노출되게 보강프레임(20)에 결합되는 것으로, 이는 노브볼트(21)로 구성된다.The opening angle adjusting means is coupled to the reinforcing frame 20 so as to be exposed to the storage space 51, which is composed of the knob bolts 21.

여기서 도 4와 같이, 상기 노브볼트(21)는 개폐판(30)이 개방되면, 노브볼트(21)의 조임정도에 따라 노브볼트(21)의 단부가 개폐판(30)과 접촉되어 개폐판(30)의 개방각도를 90 °이하로 설정할 수 있게 된다.4, when the knob bolt 21 is opened, the end portion of the knob bolt 21 is brought into contact with the opening / closing plate 30 according to the tightness of the knob bolt 21, It is possible to set the opening angle of the opening 30 to 90 degrees or less.

또한 노브볼트(21)는 저장공간(51)에 노출됨으로써, 물의 접촉을 피할 수 있으며, 이에 따라 보다 손쉽게 개폐판(30)의 개방각도를 조절할 수 있다.Also, since the knob bolts 21 are exposed in the storage space 51, water contact can be avoided, and the opening angle of the opening / closing plate 30 can be adjusted more easily.

이에 따라 기존의 "바" 또는 "와이어" 형태로 구성된 개방각도조절수단을 단순하게 볼트 형태로 구성하여 시공이 편리하고 원가절감 되어 단가하락 및 장치의 내구성을 증대시킬 수 있다.Accordingly, the opening angle adjusting means configured in the conventional "bar" or "wire" shape is simply formed in a bolt shape, so that the construction is convenient and the cost is reduced, so that the unit price can be decreased and the durability of the apparatus can be increased.

한편, 도 5와 같이, 상기 역류방지판(50)은 볼팅 결합되어 분리됨은 물론, 모래 준설 또는 공구 수납을 위해 용기 형태로 성형시켜 저장공간(51)을 확장하여 구성될 수 있다.As shown in FIG. 5, the backflow prevention plate 50 may be formed by expanding the storage space 51 by being formed into a container shape for sand dredging or tool storage as well as being separated by bolting.

여기서 실시예로 저장공간(51)에 격벽(미도시)을 형성하여 모래 준설과 함께 공구를 수납할 수 있는 저장공간(51)으로 활용될 수 있음은 물론이다.In this embodiment, a partition wall (not shown) may be formed in the storage space 51 so as to be used as a storage space 51 for storing the tool together with the dredging of the sand.

도 6은 본 발명의 제 2실시예에 따른 경첩을 이용한 유량조절장치의 구성을 도시한 사시도이며, 도 7은 본 발명에 따른 제 2실시예의 구성을 도시한 저면사시도이고, 도 8은 본 발명에 따른 제 2실시예의 분해상태를 도시한 분해사시도이며, 도 9는 본 발명에 따른 제 2실시예의 보강프레임의 이동상태를 도시한 작동도이고, 도 10은 본 발명에 따른 제 2실시예의 개폐판의 작동상태를 도시한 작동도이다.FIG. 6 is a perspective view showing a configuration of a flow rate adjusting apparatus using a hinge according to a second embodiment of the present invention, FIG. 7 is a bottom perspective view showing a configuration of a second embodiment according to the present invention, 9 is an explanatory view showing a moving state of the reinforcing frame of the second embodiment according to the present invention, and Fig. 10 is an exploded perspective view showing the opening and closing of the second embodiment according to the present invention Fig. 3 is an operation diagram showing the operating state of the plate.

도 6 내지 도 10에 도시된 바와 같이, 제 2실시예의 경첩을 이용한 유량조절장치는 물이 유입되는 유입구(12)의 통수 단면(D)이 변화되도록 개폐판(30)의 회전 중심을 이동 가능하게 구성된다. As shown in FIGS. 6 to 10, in the flow rate control apparatus using the hinge of the second embodiment, the rotational center of the opening / closing plate 30 can be shifted so that the water passage cross section D of the inlet port 12, .

이는 보강프레임(20)의 위치가 프레임(10)의 종설 방향을 따라 가변될 수 있도록 구하여 가능하다.This is possible by obtaining the position of the reinforcing frame 20 so as to be variable along the longitudinal direction of the frame 10.

이를 위해 상기 프레임(10)의 양측 저면에는 "ㄱ"형태의 가로고정앵글(13)을 더 포함하는 구성이다.To this end, the frame 10 further includes a horizontal fixed angle 13 in the form of a "? &Quot;

이 때 가로고정앵글(13)에는 길이방향을 따라 다수의 결합공(C)이 형성되어 구성된다.At this time, the horizontal fixing angle 13 is formed by forming a plurality of coupling holes C along the longitudinal direction.

여기서 상기 가로고정앵글(13)의 길이정도에 따라 개폐판(30)의 이동거리가 결정된다.The movement distance of the open / close board 30 is determined according to the length of the horizontal fixed angle 13.

그리고 상기 보강프레임(20)의 양측 단면에는 "I"자 형태의 세로고정앵글(22)을 더 포함한다.Further, the reinforcement frame 20 further includes longitudinally fixed angles 22 in the form of "I"

여기서 상기 세로고정앵글(22) 역시 복수의 결합공(C)이 형성되어 구성된다.Here, the vertical fixing angle 22 is also formed by forming a plurality of engaging holes C.

이에 따라 개폐판(30)은 보강프레임(20)을 이동시켜 세로고정앵글(22)을 가로고정앵글(13)에 밀착시킨 후, 상호 중첩되는 결합공(C)을 통해 볼팅결합시켜 프레임에 상에서 위치를 이동시킬 수 있게 된다.The opening and closing plate 30 moves the reinforcing frame 20 to bring the vertical fixing angle 22 into close contact with the horizontal fixing angle 13 and then bolts the vertical fixing angle 22 to the horizontal fixing angle 13 through the engaging holes C, The position can be moved.

이 때 도 9 및 도 10에 도시된 바와 같이 상기 프레임(10)의 일측 상부에는 개폐판(30)과의 사이에 유입구(12)를 형성하는 고정판(11)이 결합되어 구성되기 때문에 보강프레임(20)의 위치 이동에 따라 개폐판(30)의 회전 중심이 이동되어 유입구(12)의 통수 단면(D)을 변화시킬 수 있으며, 이에 따 최대 물 유입량을 조절할 수 있게 된다.9 and 10, since the fixing plate 11 forming the inlet 12 is connected to the upper portion of one side of the frame 10 with the opening / closing plate 30, the reinforcing frame 20, the center of rotation of the opening / closing plate 30 can be moved to change the water passage cross-section D of the inlet port 12, and thus the maximum water inflow can be controlled.

한편, 상기 고정판(11)의 상부에는 협잡물의 유입을 방지하기 위한 협잡물걸림수단(60)이 일체로 결합되는 구성이다. On the other hand, the upper surface of the fixing plate 11 is integrally joined with the clogging-engaging means 60 for preventing the inflow of the contaminants.

이러한 상기 협잡물걸림수단(60)의 타측은 개폐판(30)의 중앙영역까지 연장되고, 위치 변경이 가능하도록 장홈(61)이 형성된다.The other side of the obstacle catching means 60 extends to the central region of the open / close board 30, and the grooves 61 are formed so that the position can be changed.

이에 따라 도 10과 같이, 협잡물걸림수단(60)의 위치를 이동시켜 협잡물걸림수단(60)의 타측 단부가 개폐판(30)의 일면에 접촉되게 함으로써, 개폐판(30)의 개방각도를 조절할 수 있게 된다.10, by moving the position of the obstacle catching means 60 so that the other end of the obstacle catching means 60 is brought into contact with one surface of the opening and closing plate 30, the opening angle of the opening and closing plate 30 can be adjusted .

이러한 협잡물걸림수단(60)은 오수 및 하수에 포함된 협잡물의 유입을 방지하면서, 별도의 개방각도조절수단이 없이, 협잡물걸림수단(60)을 통해 개폐판(30)의 개방각도를 조절할 수 있어 장치의 단순화를 꾀할 수 있는 구성이다.This obstacle catching means 60 can control the opening angle of the opening and closing plate 30 through the obstacle catching means 60 without a separate opening angle adjusting means while preventing inflow of the contaminants contained in the sewage and sewage So that the device can be simplified.

이상에서와 같이 본 발명의 권리는 위에서 설명된 실시예에 한정되지 않고 청구범위에 기재된 바에 의해 정의되며, 본 발명의 분야에서 통상의 지식을 가진 자가 청구범위에 기재된 권리범위 내에서 다양한 변형과 개작을 할수 있다는 것은 자명하다It will be apparent to those skilled in the art that various modifications and variations can be made in the present invention without departing from the spirit or scope of the invention as defined by the appended claims. It's obvious that you can

10: 프레임 11: 고정판 12: 유입구
13: 가로고정앵글
20: 보강프레임 21: 노브볼트 22: 세로고정앵글
30: 개폐판 31: 부력통 32: 무게추
40: 경첩
50: 역류방지판 51: 저장공간
60: 협잡물걸림수단 61: 장홈
D: 통수 단면 C: 결합공
10: frame 11: fixed plate 12: inlet
13: Horizontal fixed angle
20: reinforcing frame 21: knob bolt 22: vertical fixed angle
30: opening / closing plate 31: buoyancy cylinder 32: weight
40: HINGE
50: backflow prevention plate 51: storage space
60: Clogging means 61: Groove
D: water passage cross section C: joint ball

Claims (7)

우수토실에 설치되는 프레임(10);
상기 프레임(10)에 횡설되는 보강프레임(20); 및
다수의 경첩(40)을 매개로 상기 보강프레임(20)에 결합되는 개폐판(30);을 포함하여 이루어지되,
상기 각 경첩(40)은 상기 보강프레임(20)의 수직 면상과 개폐판의 저면에 결합되어 개폐판의 개방각도를 최대 90° 범위로 개폐될 수 있도록 구성되고,
상기 프레임(10)의 일측 상부에는 개폐판(30)과의 사이에 유입구(12)를 형성하는 고정판(11)이 결합되는 것을 특징으로 하는 경첩을 이용한 유량조절장치.
A frame (10) installed in an excellent house;
A reinforcing frame (20) transversely to the frame (10); And
And an opening / closing plate (30) coupled to the reinforcing frame (20) through a plurality of hinges (40)
Each of the hinges 40 is coupled to a vertical surface of the reinforcing frame 20 and a bottom surface of the opening / closing plate so that the opening angle of the opening / closing plate can be opened /
Wherein a fixing plate (11) for forming an inlet (12) is connected to an upper portion of one side of the frame (10) with the opening / closing plate (30).
제 1항에 있어서,
상기 보강프레임(20)은 결합된 개폐판(30)의 중심이동이 가능하도록 위치가 프레임(10)의 종설 방향을 따라 가변되는 것을 특징으로 하는 경첩을 이용한 유량조절장치.
The method according to claim 1,
Characterized in that the reinforcing frame (20) is displaced in the longitudinal direction of the frame (10) so as to enable the central movement of the associated opening / closing plate (30).
제 2항에 있어서,
상기 프레임(10)의 저면에는 "ㄱ"형태의 가로고정앵글(13)을 더 포함하고,
상기 보강프레임(20)의 양측 단면에는 "I"자 형태의 세로고정앵글(22)을 더 포함하되,
상기 프레임(10)과 보강프레임(20)은 상기 가로고정앵글(13)에 밀착되는 세로고정앵글(22)을 통해 상호 간 볼팅 결합되는 것을 특징으로 하는 경첩을 이용한 유량조절장치.
3. The method of claim 2,
Further comprising a horizontal fixed angle (13) in the form of "a" at the bottom of the frame (10)
The reinforcing frame 20 further includes vertical fixing angles 22 in the form of "I"
Wherein the frame (10) and the reinforcing frame (20) are bolted to each other through a vertical fixing angle (22) closely attached to the horizontal fixing angle (13).
제 1항에 있어서,
상기 프레임(10)의 타측과 보강프레임(20)의 사이에는 빗물 역류방지를 위한역류방지판(50)이 더 결합되고,
상기 역류방지판(50)은 저장공간(51)을 형성하는 것을 특징으로 하는 경첩을 이용한 유량조절장치.
The method according to claim 1,
A backflow prevention plate 50 for preventing reverse flow of rainwater is further provided between the other side of the frame 10 and the reinforcing frame 20,
Wherein the backflow prevention plate (50) forms a storage space (51).
제 4항에 있어서,
상기 역류방지판(50)은 모래 준설 또는 공구 수납을 위해 용기 형태로 성형시켜 저장공간(51)을 확장하여 구성되는 것을 특징으로 하는 경첩을 이용한 유량조절장치.
5. The method of claim 4,
Wherein the backflow prevention plate (50) is formed by expanding the storage space (51) by molding into a container form for sand dredging or tool storage.
제 4항에 있어서,
상기 보강프레임(20)에는 개폐판(30)의 개방각도를 조절할 수 있는 다수의 개방각도조절수단이 더 결합되되,
상기 개방각도조절수단은 저장공간(51)에 노출되게 보강프레임(20)에 결합되는 노브볼트(21)로 구성되는 것을 특징으로 하는 경첩을 이용한 유량조절장치.
5. The method of claim 4,
The reinforcing frame 20 is further provided with a plurality of opening angle adjusting means for adjusting the opening angle of the opening / closing plate 30,
Wherein the opening angle adjusting means comprises a knob bolt (21) coupled to the reinforcing frame (20) so as to be exposed in the storage space (51).
제 1항에 있어서,
상기 고정판(11)의 상부에는 협잡물의 유입을 방지하기 위한 협잡물걸림수단(60)이 일체로 결합되되,
상기 협잡물걸림수단(60)의 타측은 개폐판(30)의 중앙영역까지 연장되고, 위치 변경이 가능하도록 장홈(61)이 형성되어 개폐판(30)의 개방각도를 조절할 수 있도록 구성되는 것을 특징으로 하는 경첩을 이용한 유량조절장치.
The method according to claim 1,
A clogging means (60) is integrally coupled to the upper portion of the fixing plate (11)
The other side of the obstacle catching means 60 extends to a central region of the opening and closing plate 30 and is configured to adjust the opening angle of the opening and closing plate 30 by forming a groove 61 A flow control device using a hinge.
KR1020170105738A 2017-08-21 2017-08-21 Flow Control Devices Using Hinge Expired - Fee Related KR102035387B1 (en)

Priority Applications (1)

Application Number Priority Date Filing Date Title
KR1020170105738A KR102035387B1 (en) 2017-08-21 2017-08-21 Flow Control Devices Using Hinge

Applications Claiming Priority (1)

Application Number Priority Date Filing Date Title
KR1020170105738A KR102035387B1 (en) 2017-08-21 2017-08-21 Flow Control Devices Using Hinge

Publications (2)

Publication Number Publication Date
KR20170103718A true KR20170103718A (en) 2017-09-13
KR102035387B1 KR102035387B1 (en) 2019-10-22

Family

ID=59968123

Family Applications (1)

Application Number Title Priority Date Filing Date
KR1020170105738A Expired - Fee Related KR102035387B1 (en) 2017-08-21 2017-08-21 Flow Control Devices Using Hinge

Country Status (1)

Country Link
KR (1) KR102035387B1 (en)

Citations (6)

* Cited by examiner, † Cited by third party
Publication number Priority date Publication date Assignee Title
KR20070026704A (en) * 2007-01-18 2007-03-08 이경우 Sewage Inflow Control System
KR101356852B1 (en) * 2012-06-01 2014-01-28 진두남 Apparatus for preventing from the inflow of sand and rain
KR101369130B1 (en) 2013-03-29 2014-03-25 진두남 Flow control device of sewage gathering duct with integrated checking hole
KR101453668B1 (en) 2013-05-03 2014-10-22 전상훈 Flow Control Device Of Sewage Gathering Duct
KR101533943B1 (en) * 2015-01-15 2015-07-09 최지영 A nonpower sand chamber Equipment adjusted rain of sewer pipe
KR101558325B1 (en) * 2014-11-04 2015-10-13 광진구청 Manhole for odor Blocker

Patent Citations (6)

* Cited by examiner, † Cited by third party
Publication number Priority date Publication date Assignee Title
KR20070026704A (en) * 2007-01-18 2007-03-08 이경우 Sewage Inflow Control System
KR101356852B1 (en) * 2012-06-01 2014-01-28 진두남 Apparatus for preventing from the inflow of sand and rain
KR101369130B1 (en) 2013-03-29 2014-03-25 진두남 Flow control device of sewage gathering duct with integrated checking hole
KR101453668B1 (en) 2013-05-03 2014-10-22 전상훈 Flow Control Device Of Sewage Gathering Duct
KR101558325B1 (en) * 2014-11-04 2015-10-13 광진구청 Manhole for odor Blocker
KR101533943B1 (en) * 2015-01-15 2015-07-09 최지영 A nonpower sand chamber Equipment adjusted rain of sewer pipe

Also Published As

Publication number Publication date
KR102035387B1 (en) 2019-10-22

Similar Documents

Publication Publication Date Title
KR101146131B1 (en) Using buoyancy for automatic closing pide door devices and method of control
KR101016159B1 (en) Rainwater and sediment inflow prevention device
KR101106890B1 (en) Rainwater inflow prevention device
KR20170103718A (en) Flow Control Devices Using Hinge
KR100614912B1 (en) Sewer cover
JP4163246B2 (en) Drainage
KR101356852B1 (en) Apparatus for preventing from the inflow of sand and rain
JP5016665B2 (en) Deodorizer for sewer pipes
KR101815490B1 (en) floodgate apparatus for draining ground water
KR20100109162A (en) A prevention apparatus of rain and sand inflow with a buoyancy chamber
KR102747262B1 (en) Street inlet of open and shut door for preventing from a flowing stream
KR101151164B1 (en) A prevention apparatus of rain and sand inflow for a storm overflow chamber
KR200166989Y1 (en) Rainwater sewage automatic switchgear for sewage treatment pipe.
JP2016079661A (en) Backflow prevention device for sewage basin
KR101950599B1 (en) A Device For Sewer Backflow Prevention
KR100564921B1 (en) Sewer pipe manhole
JP6245699B2 (en) Drainage equipment
KR100711853B1 (en) Earth and sand inflow prevention device of house drain
JP4458823B2 (en) Check valve
KR100654402B1 (en) Multi-hole manhole
JP2000120049A (en) Auto-gate
KR20150124161A (en) Flow control device of storm overflow chamber using buoyancy
CN215518887U (en) Municipal drainage ditch inspection shaft lid with filter effect
KR20110006408U (en) Deodorization, Drainage and Backflow Allowances
KR200351988Y1 (en) Cover for drain

Legal Events

Date Code Title Description
A201 Request for examination
PA0109 Patent application

St.27 status event code: A-0-1-A10-A12-nap-PA0109

PA0201 Request for examination

St.27 status event code: A-1-2-D10-D11-exm-PA0201

G15R Request for early publication
PG1501 Laying open of application

St.27 status event code: A-1-1-Q10-Q12-nap-PG1501

D13-X000 Search requested

St.27 status event code: A-1-2-D10-D13-srh-X000

D14-X000 Search report completed

St.27 status event code: A-1-2-D10-D14-srh-X000

E902 Notification of reason for refusal
PE0902 Notice of grounds for rejection

St.27 status event code: A-1-2-D10-D21-exm-PE0902

E13-X000 Pre-grant limitation requested

St.27 status event code: A-2-3-E10-E13-lim-X000

P11-X000 Amendment of application requested

St.27 status event code: A-2-2-P10-P11-nap-X000

P11-X000 Amendment of application requested

St.27 status event code: A-2-2-P10-P11-nap-X000

P13-X000 Application amended

St.27 status event code: A-2-2-P10-P13-nap-X000

E701 Decision to grant or registration of patent right
PE0701 Decision of registration

St.27 status event code: A-1-2-D10-D22-exm-PE0701

GRNT Written decision to grant
PR0701 Registration of establishment

St.27 status event code: A-2-4-F10-F11-exm-PR0701

PR1002 Payment of registration fee

St.27 status event code: A-2-2-U10-U11-oth-PR1002

Fee payment year number: 1

PG1601 Publication of registration

St.27 status event code: A-4-4-Q10-Q13-nap-PG1601

PR1001 Payment of annual fee

St.27 status event code: A-4-4-U10-U11-oth-PR1001

Fee payment year number: 4

PR1001 Payment of annual fee

St.27 status event code: A-4-4-U10-U11-oth-PR1001

Fee payment year number: 5

PC1903 Unpaid annual fee

St.27 status event code: A-4-4-U10-U13-oth-PC1903

Not in force date: 20241017

Payment event data comment text: Termination Category : DEFAULT_OF_REGISTRATION_FEE

H13 Ip right lapsed

Free format text: ST27 STATUS EVENT CODE: N-4-6-H10-H13-OTH-PC1903 (AS PROVIDED BY THE NATIONAL OFFICE); TERMINATION CATEGORY : DEFAULT_OF_REGISTRATION_FEE

Effective date: 20241017

PC1903 Unpaid annual fee

St.27 status event code: N-4-6-H10-H13-oth-PC1903

Ip right cessation event data comment text: Termination Category : DEFAULT_OF_REGISTRATION_FEE

Not in force date: 20241017