KR20160103499A - 투명 면상 발열체 - Google Patents

투명 면상 발열체 Download PDF

Info

Publication number
KR20160103499A
KR20160103499A KR1020150178462A KR20150178462A KR20160103499A KR 20160103499 A KR20160103499 A KR 20160103499A KR 1020150178462 A KR1020150178462 A KR 1020150178462A KR 20150178462 A KR20150178462 A KR 20150178462A KR 20160103499 A KR20160103499 A KR 20160103499A
Authority
KR
South Korea
Prior art keywords
layer
transparent
disposed
metal layer
transparent substrate
Prior art date
Legal status (The legal status is an assumption and is not a legal conclusion. Google has not performed a legal analysis and makes no representation as to the accuracy of the status listed.)
Granted
Application number
KR1020150178462A
Other languages
English (en)
Other versions
KR102012653B1 (ko
Inventor
임정욱
윤선진
Original Assignee
한국전자통신연구원
Priority date (The priority date is an assumption and is not a legal conclusion. Google has not performed a legal analysis and makes no representation as to the accuracy of the date listed.)
Filing date
Publication date
Application filed by 한국전자통신연구원 filed Critical 한국전자통신연구원
Priority to US15/047,695 priority Critical patent/US20160249413A1/en
Publication of KR20160103499A publication Critical patent/KR20160103499A/ko
Application granted granted Critical
Publication of KR102012653B1 publication Critical patent/KR102012653B1/ko
Active legal-status Critical Current
Anticipated expiration legal-status Critical

Links

Images

Classifications

    • HELECTRICITY
    • H05ELECTRIC TECHNIQUES NOT OTHERWISE PROVIDED FOR
    • H05BELECTRIC HEATING; ELECTRIC LIGHT SOURCES NOT OTHERWISE PROVIDED FOR; CIRCUIT ARRANGEMENTS FOR ELECTRIC LIGHT SOURCES, IN GENERAL
    • H05B3/00Ohmic-resistance heating
    • H05B3/84Heating arrangements specially adapted for transparent or reflecting areas, e.g. for demisting or de-icing windows, mirrors or vehicle windshields
    • HELECTRICITY
    • H01ELECTRIC ELEMENTS
    • H01BCABLES; CONDUCTORS; INSULATORS; SELECTION OF MATERIALS FOR THEIR CONDUCTIVE, INSULATING OR DIELECTRIC PROPERTIES
    • H01B1/00Conductors or conductive bodies characterised by the conductive materials; Selection of materials as conductors
    • H01B1/02Conductors or conductive bodies characterised by the conductive materials; Selection of materials as conductors mainly consisting of metals or alloys
    • HELECTRICITY
    • H01ELECTRIC ELEMENTS
    • H01BCABLES; CONDUCTORS; INSULATORS; SELECTION OF MATERIALS FOR THEIR CONDUCTIVE, INSULATING OR DIELECTRIC PROPERTIES
    • H01B1/00Conductors or conductive bodies characterised by the conductive materials; Selection of materials as conductors
    • H01B1/06Conductors or conductive bodies characterised by the conductive materials; Selection of materials as conductors mainly consisting of other non-metallic substances
    • H01B1/08Conductors or conductive bodies characterised by the conductive materials; Selection of materials as conductors mainly consisting of other non-metallic substances oxides
    • HELECTRICITY
    • H01ELECTRIC ELEMENTS
    • H01BCABLES; CONDUCTORS; INSULATORS; SELECTION OF MATERIALS FOR THEIR CONDUCTIVE, INSULATING OR DIELECTRIC PROPERTIES
    • H01B5/00Non-insulated conductors or conductive bodies characterised by their form
    • H01B5/14Non-insulated conductors or conductive bodies characterised by their form comprising conductive layers or films on insulating-supports
    • HELECTRICITY
    • H05ELECTRIC TECHNIQUES NOT OTHERWISE PROVIDED FOR
    • H05BELECTRIC HEATING; ELECTRIC LIGHT SOURCES NOT OTHERWISE PROVIDED FOR; CIRCUIT ARRANGEMENTS FOR ELECTRIC LIGHT SOURCES, IN GENERAL
    • H05B3/00Ohmic-resistance heating
    • H05B3/10Heating elements characterised by the composition or nature of the materials or by the arrangement of the conductor
    • H05B3/12Heating elements characterised by the composition or nature of the materials or by the arrangement of the conductor characterised by the composition or nature of the conductive material
    • HELECTRICITY
    • H05ELECTRIC TECHNIQUES NOT OTHERWISE PROVIDED FOR
    • H05BELECTRIC HEATING; ELECTRIC LIGHT SOURCES NOT OTHERWISE PROVIDED FOR; CIRCUIT ARRANGEMENTS FOR ELECTRIC LIGHT SOURCES, IN GENERAL
    • H05B3/00Ohmic-resistance heating
    • H05B3/20Heating elements having extended surface area substantially in a two-dimensional plane, e.g. plate-heater
    • H05B3/22Heating elements having extended surface area substantially in a two-dimensional plane, e.g. plate-heater non-flexible
    • HELECTRICITY
    • H05ELECTRIC TECHNIQUES NOT OTHERWISE PROVIDED FOR
    • H05BELECTRIC HEATING; ELECTRIC LIGHT SOURCES NOT OTHERWISE PROVIDED FOR; CIRCUIT ARRANGEMENTS FOR ELECTRIC LIGHT SOURCES, IN GENERAL
    • H05B3/00Ohmic-resistance heating
    • H05B3/20Heating elements having extended surface area substantially in a two-dimensional plane, e.g. plate-heater
    • H05B3/22Heating elements having extended surface area substantially in a two-dimensional plane, e.g. plate-heater non-flexible
    • H05B3/28Heating elements having extended surface area substantially in a two-dimensional plane, e.g. plate-heater non-flexible heating conductor embedded in insulating material
    • H05B3/283Heating elements having extended surface area substantially in a two-dimensional plane, e.g. plate-heater non-flexible heating conductor embedded in insulating material the insulating material being an inorganic material, e.g. ceramic
    • HELECTRICITY
    • H05ELECTRIC TECHNIQUES NOT OTHERWISE PROVIDED FOR
    • H05BELECTRIC HEATING; ELECTRIC LIGHT SOURCES NOT OTHERWISE PROVIDED FOR; CIRCUIT ARRANGEMENTS FOR ELECTRIC LIGHT SOURCES, IN GENERAL
    • H05B2214/00Aspects relating to resistive heating, induction heating and heating using microwaves, covered by groups H05B3/00, H05B6/00
    • H05B2214/02Heaters specially designed for de-icing or protection against icing

Landscapes

  • Chemical & Material Sciences (AREA)
  • Engineering & Computer Science (AREA)
  • Ceramic Engineering (AREA)
  • Inorganic Chemistry (AREA)
  • Surface Heating Bodies (AREA)
  • Resistance Heating (AREA)

Abstract

본 발명은 투명 기판; 상기 투명 기판 상의 투명 발열 층; 및 상기 투명 발열 층 상에 배치되어, 상기 투명 발열 층과 전기적으로 연결되는 전극을 포함하고, 상기 투명 발열 층은: 상기 투명 기판 상에 배치되고, 상기 전극으로부터 외부 전원을 공급받아 발열하는 금속 층; 및 상기 투명 기판 상에 배치되고, 광의 적외선 영역 중 적어도 일부의 파장 영역을 차단하고, 상기 광의 일부 파장 영역을 투과하는 선택적 투과 층을 포함하는 투명 면상 발열체에 관한 것이다.

Description

투명 면상 발열체{Transparent planar heater}
본 발명은 투명 면상 발열체에 관한 것이다.
면상 발열체는 전기 통전에 의해 열을 발생시키기 때문에 공기 오염, 전자파 발생, 소음 발생 등이 없어 다양한 분야에서 사용되고 있다.
일 예로, 면상 발열체는 아파트나 일반 주택의 바닥 난방 등의 주거용 난방 장치, 사무실이나 작업장 등의 산업용 난방 장치, 프린팅 건조나 도장 건조 등의 산업용 가열 장치, 자동차의 썬루프나 창문 등에 성에나 습기를 제거하는 차량용 가열 장치 등으로 폭넓게 사용되고 있다.
본 발명이 해결하고자 하는 과제는 적외선 등을 차단하면서 발열 균일성을 향상시킨 투명 면상 발열체를 제공하는 것이다.
본 발명의 과제들은 이상에서 언급한 과제들로 제한되지 않으며, 언급되지 않은 또 다른 과제들은 아래의 기재로부터 당업자에게 명확하게 이해될 수 있을 것이다.
상기 과제를 달성하기 위하여, 본 발명의 실시예에 따른 투명 면상 발열체는, 투명 기판; 상기 투명 기판 상에 배치된 투명 발열 층; 및 상기 투명 발열 층 상에 배치되어, 상기 투명 발열 층과 전기적으로 연결되는 전극을 포함하고, 상기 투명 발열 층은: 상기 투명 기판 상에 배치되고, 상기 전극으로부터 외부 전원을 공급받아 발열하는 금속 층; 및 상기 투명 기판 상에 배치되고, 광의 적외선 영역 중 적어도 일부의 파장 영역을 차단하고, 상기 광의 일부 파장 영역을 투과하는 선택적 투과 층을 포함한다.
일 실시예에서, 상기 금속 층은 금(Au), 백금(Pt), 은(Ag), 알루미늄(Al), 구리(Cu), 아연(Zn), TiN, TaN, 텅스텐(W), 티타늄(Ti), 몰리브덴(Mo) 및 크롬(Cr) 중 적어도 어느 하나를 포함할 수 있다.
일 실시예에서, 상기 선택적 투과 층은 가시 광선 영역 중 적어도 일부의 파장 영역을 투과할 수 있다.
일 실시예에서, 상기 선택적 투과 층은 산화인튬주석(Indium Tin Oxide, ITO), 알루미늄이 도핑된 산화아연(ZnO:Al), 갈륨이 도핑된 산화아연(ZnO:Ga), 붕소가 도핑된 산화아연(ZnO:B), 플로오르가 도핑된 이산화주석(SnO₂:F), 이산화주석(SnO2), InZnO, 금(Au), 백금(Pt), 은(Ag), 알루미늄(Al), 몰리브덴(Mo) 및 크롬(Cr) 중 적어도 어느 하나를 포함할 수 있다.
일 실시예에서, 상기 투명 발열 층은 상기 금속 층 상에 배치되고, 상기 금속 층에서 발생된 열을 균일하게 방열하는 방열 층을 더 포함할 수 있다.
일 실시예에서, 상기 방열 층은 금(Au), 백금(Pt), 은(Ag), 알루미늄(Al), 구리(Cu), 아연(Zn), 니켈(Ni), TiN, TaN, 텅스텐(W), 티타늄(Ti), 몰리브덴(Mo) 및 크롬(Cr) 중 적어도 어느 하나를 포함할 수 있다.
일 실시예에서, 상기 투명 발열 층은 10 nm 내지 200 nm의 두께를 가질 수 있다.
일 실시예에서, 상기 투명 발열 층은 상기 투명 기판과 상기 금속 층 사이에 배치되는 결정핵 기반층(seed layer)을 더 포함할 수 있다.
일 실시예에서, 상기 투명 발열 층은 상기 금속 층과 전극 사이에 배치되는 도전성 산화물 층을 더 포함하고, 상기 금속 층은 상기 결정핵 기반층과 상기 도전성 산화물 층 사이에 배치될 수 있다.
일 실시예에서, 상기 투명 발열 층 상에 배치되어, 상기 전극 층을 덮는 투명 보호 층을 더 포함할 수 있다.
일 실시예에서, 상기 투명 기판의 하측에 배치되어, 상기 투명 기판에 가해지는 응력을 완화하는 응력 완화 층을 더 포함할 수 있다.
일 실시예에서, 상기 투명 발열 층은 상기 투명 기판의 일부가 노출되는 패턴을 가질 수 있다.
기타 실시예들의 구체적인 사항들은 상세한 설명 및 도면들에 포함되어 있다.
본 발명의 투명 면상 발열체에 따르면 다음과 같은 효과가 하나 혹은 그 이상 있다.
적외선 및/또는 자외선을 차단할 수 있다. 투명 면상 발열체가 대면적을 가질 경우, 발생하는 발열의 균일도 저하를 방지할 수 있다. 투명하여 다양한 용도에 적용될 수 있다.
본 발명의 효과들은 이상에서 언급한 효과들로 제한되지 않으며, 언급되지 않은 또 다른 효과들은 청구범위의 기재로부터 당업자에게 명확하게 이해될 수 있을 것이다.
도 1은 본 발명의 일 실시예에 따른 투명 면상 발열체를 나타낸 분해사시도이다.
도 2는 도 1의 투명 면상 발열체를 나타낸 단면도이다.
도 3a는 도 1의 금속 층의 두께에 따른 금속 층의 저항을 나타낸 그래프이다.
도 3b는 도 1의 금속 층의 두께에 따른 금속 층의 투과도를 나타낸 그래프이다.
도 4는 도 1의 선택적 투과 층을 투사하는 광의 파장에 따른 투과도를 나타낸 그래프이다.
도 5은 본 발명의 일 실시예에 따른 투명 면상 발열체를 나타낸 단면도이다.
도 6은 도 1의 투명 면상 발열체가 구부러지는 모습을 나타낸 도면이다.
도 7은 본 발명의 일 실시예에 따른 투명 면상 발열체의 일부 구성을 나타낸 사시도이다.
도 8은 도 7의 투명 면상 발열체의 일부 구성을 나타낸 평면도이다.
본 발명의 이점 및 특징, 그리고 그것들을 달성하는 방법은 첨부되는 도면과 함께 상세하게 후술되어 있는 실시예들을 참조하면 명확해질 것이다. 그러나 본 발명은 이하에서 개시되는 실시예들에 한정되는 것이 아니라 서로 다른 다양한 형태로 구현될 수 있으며, 단지 본 실시예들은 본 발명의 개시가 완전하도록 하고, 본 발명이 속하는 기술분야에서 통상의 지식을 가진 자에게 발명의 범주를 완전하게 알려주기 위해 제공되는 것이며, 본 발명은 청구항의 범주에 의해 정의될 뿐이다. 명세서 전체에 걸쳐 동일 참조 부호는 동일 구성 요소를 지칭한다.
본 명세서에서 사용된 용어는 실시예들을 설명하기 위한 것이며 본 발명을 제한하고자 하는 것은 아니다. 본 명세서에서, 단수형은 문구에서 특별히 언급하지 않는 한 복수형도 포함한다. 명세서에서 사용되는 "포함한다(comprises)" 및/또는 "포함하는(comprising)"은 언급된 구성요소, 단계, 동작 및/또는 소자에 하나 이상의 다른 구성요소, 단계, 동작 및/또는 소자의 존재 또는 추가를 배제하지 않는다.
다른 정의가 없다면, 본 명세서에서 사용되는 모든 용어(기술 및 과학적 용어를 포함)는 본 발명이 속하는 기술분야에서 통상의 지식을 가진 자에게 공통적으로 이해될 수 있는 의미로 사용될 수 있을 것이다. 또 일반적으로 사용되는 사전에 정의되어 있는 용어들은 명백하게 특별히 정의되어 있지 않는 한 이상적으로 또는 과도하게 해석되지 않는다.
이하, 본 발명의 실시예들에 의하여 투명 면상 발열체를 설명하기 위한 도면들을 참고하여 본 발명에 대해 설명하도록 한다.
도 1은 본 발명의 일 실시예에 따른 투명 면상 발열체를 나타낸 분해사시도이다. 도 2는 도 1의 투명 면상 발열체를 나타낸 단면도이다.
도 1 및 도 2를 참조하면, 본 발명의 일 실시예에 따른 투명 면상 발열체(10)는 광을 투과할 수 있다. 투명 면상 발열체(10)는 열을 발생시킬 수 있다. 이에 따라, 투명 면상 발열체(10)는 습기 제거, 난방, 건조 등의 용도로 사용될 수 있다. 예를 들면, 투명 면상 발열체(10)는 각종 창문에 구비되어, 창문에 발생하는 성에나 습기를 제거할 수 있으나, 이에 한정되는 것은 아니다.
도 1을 참조하면, 투명 면상 발열체(10)는 투명 기판(100), 투명 발열 층(200) 및 전극(300)을 포함할 수 있다. 투명 면상 발열체(10)는 투명 보호 층(400)을 포함할 수 있다. 본 발명의 일 실시예에서 투명 면상 발열체(10)는 투명 기판(100), 투명 발열 층(200), 전극(300) 및 투명 보호 층(400) 순으로 적층된 구조일 수 있다.
투명 기판(100)은 투명한 재질의 유리 또는 플라스틱 기판일 수 있다. 이에 따라, 광은 투명 기판(100)을 투과할 수 있다. 투명 기판(100)은 평판 형 또는 곡률을 갖는 곡면형일 수 있다.
본 발명의 일 실시예에서 투명 기판(100)은 유리 재질의 평판 형 기판일 수 있다. 투명 기판(100)은 무알칼리 유리, 큐산알리계 유리, 석영 유리 재질을 포함할 수 있다. 또한, 투명 기판(100)에는 투명 산화물이나 비정질 실리콘이 증착될 수 있다.
투명 기판(100)은 1 ㎛ 내지 10,000 ㎛의 두께를 가질 수 있다. 여기서, 두께는 투명 기판(100)의 상하 방향의 높이를 의미할 수 있다.
투명 발열 층(200)은 기판 상에 배치된다. 투명 발열 층(200)은 광을 투과할 수 있다. 투명 발열 층(200)은 전극(300)과 전기적으로 연결될 수 있다. 이에 따라, 투명 발열 층(200)은 전극(300)으로부터 외부 전원을 공급 받아 발열할 수 있다.
투명 발열 층(200)은 10 nm 내지 500 nm의 두께를 가질 수 있다. 투명 발열 층(200)은 금속 층(220), 선택적 투과 층(230) 및 결정핵 기반층(seed layer, 210)을 포함할 수 있다. 본 발명의 일 실시예에서 투명 발열 층(200)은 결정핵 기반층(210), 금속 층(220), 선택적 투과 층(230) 순으로 적층된 구조일 수 있다.
결정핵 기반층(210)은 투명 기판(100) 상에 배치될 수 있다. 결정핵 기반층(210)은 5 nm 내지 200 nm의 두께를 가질 수 있다. 결정핵 기반 층(210)은 금속 층(220)의 결정성을 비롯한 박막의 질을 향상시킬 수 있다. 이에 따라, 투명 면상 발열체(10)는 전기 전도도와 광 투과도가 개선될 수 있다.
결정핵 기반층(210)은 ITO(Indium Tin Oxide), 알루미늄이 도핑된 산화아연(ZnO:Al), 갈륨이 도핑된 산화아연(ZnO:Ga), 붕소가 도핑된 산화아연(ZnO:B), 주석이 함유된 산화아연(ZnsnO), 플로오르가 도핑된 이산화주석(SnO₂:F), 이산화주석(SnO2), InZnO, 오산화바나듐(V₂O5), 산화알루미늄(Al₂O₃), 이산화규소(SiO₂), 이산화 티타늄(TiO₂), AlTiO, ZnO 중 적어도 어느 하나를 포함할 수 있다. 이에 따라, 결정핵 기반층(210)은 금속 층(220)이 산화되는 것을 방지할 수 있다. 또한, 결정핵 기반층(210)은 광을 투과할 수 있다.
결정핵 기반층(210)은 증발(evaporation), 스퍼터링(Sputtering), 화학기상 증착(chemical vapor deposition, CVD), 원자층 증착(atomic layer deposition, ALD), PLD(Pulsed laser deposition), MBE(Molecular Beam Epitaxy), 솔-겔(sol-gel), 스프레이 및 프린팅 중 어느 하나에 의해 형성될 수 있다.
금속 층(220)은 투명 기판(100) 상에 배치될 수 있다. 여기서, 투명 기판(100) 상에 배치된다는 것은 투명 기판(100)의 상부와 접촉 또는 이격 배치되는 것을 의미할 수 있다. 본 발명의 일 실시예에서 금속 층(220)은 투명 기판(100)과 이격 배치될 수 있다. 금속 층(220)은 금속 층(220)과 투명 기판(100) 사이에 배치된 결정핵 기반층(210) 상에 배치될 수 있다.
금속 층(220)은 전극(300)과 전기적으로 연결되어, 외부 전원(미도시)을 공급받을 수 있다. 외부 전원을 공급 받을 경우, 금속 층(220)은 발열할 수 있다. 금속 층(220)은 대면적을 가질 수 있다.
금속 층(220)은 금(Au), 백금(Pt), 은(Ag), 알루미늄(Al), 구리(Cu), 아연(Zn), TiN, TaN, 텅스텐(W), 티타늄(Ti), 몰리브덴(Mo) 및 크롬(Cr) 중 적어도 어느 하나를 포함할 수 있다.
금속 층(220)은 증발(evaporation), 스퍼터링(Sputtering), 화학기상 증착(chemical vapor deposition, CVD), 원자층 증착(atomic layer deposition, ALD)법, PLD(Pulsed laser deposition), MBE(Molecular Beam Epitaxy), 솔-겔(sol-gel), 스프레이 및 프린팅 중 어느 하나에 의해 형성될 수 있다.
금속 층(220)은 나노 수준의 입자를 사용함으로써, 발열 특성, 및 투명성을 향상될 수 있다. 금속 층(220)은 1 nm 내지 50 nm의 두께를 갖는 얇은 평판 형상일 수 있다. 투명 면상 발열체(10)는 금속 층(220)의 두께를 조절하여 발열량을 제어할 수 있다. 이에 대한 자세한 사항은 도 3a에서 후술한다.
선택적 투과 층(230)은 투명 기판(100) 상에 배치될 수 있다. 본 발명의 일 실시예에서 선택적 투과 층(230)은 투명 기판(100)의 상부로부터 이격 배치될 수 있다. 선택적 투과 층(230)은 투명 기판(100)과 선택적 투과 층(230) 사이에 배치된 금속 층(220) 상에 배치될 수 있다. 이와 달리, 다른 실시예에서 선택적 투과 층(230)은 결정핵 기반층(210) 및 금속 층(220) 사이에 배치될 수 있다.
선택적 투과 층(230)은 산화인튬주석(Indium Tin Oxide, ITO), 알루미늄이 도핑된 산화아연(ZnO:Al), 갈륨이 도핑된 산화아연(ZnO:Ga), 붕소가 도핑된 산화아연(ZnO:B), 플로오르가 도핑된 이산화주석(SnO₂:F), 이산화주석(SnO2), InZnO, 금(Au), 백금(Pt), 은(Ag), 알루미늄(Al), 몰리브덴(Mo) 및 크롬(Cr) 중 적어도 어느 하나를 포함할 수 있다. (청구항 4항과 동일한 물질들로 통일하였습니다.,)
선택적 투과 층(230)은 5 nm 내지 300 nm의 두께를 가질 수 있다. 선택적 투과 층(230)의 두께가 증가할 경우, 전극(300)에서 금속 층(220)으로 흐르는 전류에 대한 선택적 투과 층(230)의 저항은 증가할 수 있다.
예를 들면, 선택적 투과 층(230)의 두께가 증가할 경우, 전극(300)에서 금속 층(220)으로 흐르는 전류의 이동거리가 증가할 수 있다. 전류의 이동거리가 증가함으로써, 선택적 투과 층(230)의 저항은 증가할 수 있다. 이에 따라, 선택적 투과 층(230)의 두께는 저항, 사용하고자 하는 용도 및 공정 변수를 고려하여, 5 nm 내지 300 nm의 범위 내에서 조절될 수 있다.
선택적 투과 층(230)은 증발(evaporation), 스퍼터링(Sputtering), 화학기상 증착(chemical vapor deposition, CVD), 원자층 증착(atomic layer deposition, ALD), PLD(Pulsed laser deposition), MBE(Molecular Beam Epitaxy), 솔-겔(sol-gel), 스프레이 및 프린팅 중 어느 하나에 의해 형성될 수 있다.
선택적 투과 층(230)은 광의 일부를 차단하고, 광의 일부를 투과할 수 있다. 이에 대한 자세한 사항은 도 4에서 후술한다.
전극(300)은 투명 발열 층(200) 상에 배치될 수 있다. 전극(300)은 와이어(미도시)를 통해 외부 전원과 연결될 수 있다. 전극(300)은 투명 발열 층(200)과 전기적으로 연결되며, 투명 발열 층(200)으로 외부 전원을 공급할 수 있다.
전극(300)은 투명한 전도성 물질일 수 있다. 전극(300)은 투명 발열 층(200)의 일측에 배치되는 제1 전극(310)과 투명 발열 층(200)의 타측에 배치되는 제2 전극(320)을 포함할 수 있다.
전극(300)은 산화인튬주석(Indium Tin Oxide, ITO), 알루미늄이 도핑된 산화아연(ZnO:Al), 갈륨이 도핑된 산화아연(ZnO:Ga), 붕소가 도핑된 산화아연(ZnO:B), 플로오르가 도핑된 이산화주석(SnO₂:F), 이산화주석(SnO2), InZnO, 금(Au), 백금(Pt), 은(Ag), 알루미늄(Al), 구리(Cu), 아연(Zn), TiN, TaN, 텅스텐(W), 티타늄(Ti), 몰리브덴(Mo) 및 크롬(Cr) 중 적어도 어느 하나를 포함할 수 있다.
투명 보호 층(400)은 투명 발열 층(200) 상에 배치될 수 있다. 투명 보호 층(400)은 투명 발열 층(200) 상에 배치된 전극(300)을 덮을 수 있다. 이에 따라, 투명 보호 층(400)은 투명 발열 층(200) 및 전극(300)을 외부의 충격이나 화학 물질로부터 보호할 수 있다. 또한, 투명 보호 층(400)은 절연 효과를 가질 수 있다.
투명 보호 층(400)은 열전달과 열용량의 특성이 우수한 절연성 물질을 포함할 수 있다. 예를 들면, 투명 보호 층(400)은 산화알루미늄(Al₂O₃), 이산화규소(SiO₂), 이산화 티타늄(TiO₂), AlTiO 산화아연(ZnO), 오산화 바나듐(V₂O5), 이산화지르코늄(ZrO₂) 및 이산화하프늄(HfO₂) 중 적어도 어느 하나를 포함할 수 있다.
투명 보호 층(400)은 증발(evaporation), 스퍼터링, 화학기상 증착(chemical vapor deposition, CVD), 원자층 증착(atomic layer deposition, ALD), PLD(Pulsed laser deposition), MBE(Molecular Beam Epitaxy), 솔-겔(sol-gel), 스프레이 및 프린팅 중 어느 하나에 의해 형성될 수 있다.
도 3a는 도 1의 금속 층의 두께에 따른 금속 층의 저항을 나타낸 그래프이다. 도 3b는 도 1의 금속 층의 두께에 따른 금속 층의 투과도를 나타낸 그래프이다.
도 3a 및 도 3b를 참고하면, 본 발명의 일 실시예에 따른 금속 층(220, 도 2 참고)은 두께가 증가할 경우 금속 층(220)에 흐르는 전류에 대한 저항이 감소할 수 있다. 즉, 금속 층(220)의 저항은 금속 층(220)의 두께와 반비례한다.
예를 들면, 금속 층(220)에 인가되는 전압이 일정할 경우, 금속 층(220)의 발열량은 저항에 반비례한다. 금속 층(220)의 저항은 금속 층(220)의 두께와 반비례함으로써, 금속 층(220)의 발열량은 금속 층(220)의 두께와 비례할 수 있다. 이에 따라, 투명 면상 발열체(10)에서 원하는 발열량은 금속 층(220)의 두께 조절을 통해 구현될 수 있다. 금속 층(220)의 두께를 조절함에 따라, 금속 층(220)의 저항이 조절되기 때문이다.
도 3b를 참고하면, 금속 층(220)은 두께가 증가할수록 금속 층(220)의 투과도는 감소할 수 있다. 즉, 금속 층(220)의 투과도는 금속 층(220)의 두께와 반비례한다.
금속 층(220)의 두께가 증가할 경우 금속 층(220)의 투과도와 저항은 감소하고, 발열량은 증가할 수 있다. 이에 따라, 금속 층(220)의 두께는 투과도, 저항, 사용하고자 하는 용도 및 공정 변수를 고려하여, 1 nm 내지 50 nm의 범위 내에서 조절될 수 있다.
도 4는 도 1의 선택적 투과 층을 투사하는 광의 파장에 따른 투과도를 나타낸 그래프이다.
전술한 바와 같이, 선택적 투과 층(230, 도 2 참고)은 광의 일부를 차단하고, 광의 일부를 투과할 수 있다. 즉, 선택적 투과 층(230)은 광의 일정 파장 영역을 차단할 수 있고, 광의 나머지 파장 영역을 투과할 수 있다.
예를 들면, 선택적 투과 층(230)을 투과하는 광은 선택적 투과 층(230)의 입사면(미도시)과 출사면(미도시)에서 반사될 수 있다. 이에 따라, 선택적 투과 층(230)을 투과하는 광은 선택적 투과 층(230) 에서 반사된 광과 간섭될 수 있다. 광의 간섭 현상이 발생함으로써, 일정 파장 영역의 광은 선택적 투과 층(230)에 의해 차단될 수 있고, 나머지 파장 영역의 광은 선택적 투과 층(230)을 투과할 수 있다.
도 4를 참고하면, 본 발명의 일 실시예에 따른 선택적 투과 층(230)은 광의 파장이 증가할수록 투과도가 감소할 수 있다. 상세하게, 본 발명의 일 실시예에 따른 선택적 투과 층(230)은 입사된 광의 적외선 영역 중 적어도 일부의 파장 영역을 차단시킬 수 있다. 이에 따라, 선택적 투과 층(230)은 적외선을 차단하거나 적외선의 투과량을 제어할 수 있다. 여기서, 적외선 영역은 780nm 내지 3mm의 파장 범위를 포함할 수 있다. 이에 따라, 투명 면상 발열체(10, 도 1 참고)는 적외선을 효과적으로 차단하는 단열 효과를 가질 수 있다.
일반적으로 적외선은 가시 광선의 적색의 파장보다 큰 전자기파의 일종이다. 적외선은 가시광선이나 자외선보다 강한 열작용을 가질 수 있다. 또한, 발열체는 복사열을 주로 적외선 형태로 전달할 수 있다.
선택적 투과 층(230)은 광의 적외선 영역 중 적어도 일부의 파장 영역을 차단함으로써, 투명 면상 발열체(10, 도 2 참고)의 내측 공간에서 발생한 복사열이 투명 면상 발열체(10)의 외측으로 방출되는 것을 방지할 수 있다. 또한, 선택적 투과 층(230)은 투명 면상 발열체(10)의 외측 공간에서 발생한 복사열이 투명 면상 발열체 (10)의 내측 공간으로 유입되는 것을 방지할 수 있다. 이에 따라, 선택적 투과 층(230)은 단열재의 역할을 할 수 있다.
선택적 투과 층(230)은 가시 광선 영역 중 적어도 일부의 파장 영역을 투과시킬 수 있다. 여기서, 가시 광선 영역은 380nm 내지 780nm의 파장 범위를 포함할 수 있다.
도 5은 본 발명의 일 실시예에 따른 투명 면상 발열체를 나타낸 단면도이다. 도 6은 도 1의 투명 면상 발열체가 구부러지는 모습을 나타낸 도면이다.
설명의 간결함을 위해, 도 1 내지 도 4를 참조하여 설명한 예와 실질적으로 동일한 구성요소에 대한 설명은 생략한다.
도 5 및 도 6을 참고하면, 본 발명의 일 실시예에 따른 투명 면상 발열체(11)는 투명 기판(100), 투명 발열 층(201), 전극(300), 투명 보호 층(400) 및 응력 완화 층(500)을 포함할 수 있다.
투명 면상 발열체(11)는 플렉서블(flexible)하거나 곡면형 기판을 포함할 수 있다. 투명 발열 층(201)은 10 nm 내지 200 nm의 얇은 두께를 가질 수 있다. 투명 발열 층(201)이 10 nm 내지 200 nm의 얇은 두께를 가짐으로써, 투명 발열 층(201)은 플랙서블하게 구부리거나 곡면형의 투명 기판(100) 상에 배치될 수 있다. 본 발명의 일 실시예에서 투명 발열 층(201)은 150 nm의 두께를 가질 수 있다.
투명 발열 층(201)은 결정핵 기반층(210), 금속 층(220), 방열 층(240), 선택적 투과 층(230) 및 도전성 산화물 층(250)을 포함할 수 있다.
도전성 산화물 층(250)은 선택적 투과 층(230) 상에 배치될 수 있다. 도전성 산화물 층(250)은 결정핵 기반층(210)과 함께 금속 층(220)의 산화를 방지할 수 있다. 예를 들면, 금속 층(220)은 결정핵 기반 층(210) 및 도전성 산화물 층(250) 사이에 배치되어, 산화되는 것이 방지될 수 있다.
도전성 산화물 층(250)은 ITO(Indium Tin Oxide), 알루미늄이 도핑된 산화아연(ZnO:Al), 갈륨이 도핑된 산화아연(ZnO:Ga), 붕소가 도핑된 산화아연(ZnO:B), 플로오르가 도핑된 이산화주석(SnO₂:F), 이산화주석(SnO2), InZnO, 오산화바나듐(V₂O7), 산화알루미늄(Al₂O₃), 이산화규소(SiO₂), 이산화 티타늄(TiO₂), AlTiO 중 적어도 어느 하나를 포함할 수 있다.
도전성 산화물 층(250)은 증발(evaporation), 스퍼터링(Sputtering), 화학기상 증착(chemical vapor deposition, CVD), 원자층 증착(atomic layer deposition, ALD), PLD(Pulsed laser deposition), MBE(Molecular Beam Epitaxy), 솔-겔(sol-gel), 스프레이 및 프린팅 중 어느 하나에 의해 형성될 수 있다.
금속 층(220)은 결정핵 기반층(210)과 도전성 산화물 층(250) 사이에 배치될 수 있다. 금속 층(220)은 대면적을 가질 수 있다. 또한, 금속 층(220)에 전원을 공급하는 전극(300)은 금속 층(220)의 양단에 각각 배치될 수 있다. 이에 따라, 대면적의 금속 층(220)은 중간 영역과 양단 영역 간의 발열 정도가 상이할 수 있다.
또한, 금속 층(220)의 상면은 울퉁불퉁하게 형성될 수 있다. 즉, 금속 층(220)의 상면에는 상측으로 돌출된 요철부(미도시)를 가질 수 있다. 요철부가 배치된 영역의 두께는 요철부가 배치되지 않은 영역의 두께보다 두꺼울 수 있다. 이에 따라, 요철부가 배치된 영역이 요철부가 배치되지 않은 영역보다 발열량이 클 수 있다. 방열 층(240)은 금속 층(220) 상에 배치될 수 있다. 예를 들면, 방열 층(240)의 하면은 금속 층(220)과 접촉하여 열을 흡수하고, 방열 층(240)의 상면은 흡수한 열을 상측으로 방열할 수 있다.
방열 층(240)은 금속 층(220)과 대응되는 면적을 가질 수 있다. 방열 층(240)은 금속 층(220)에서 발생된 열을 흡수하여, 균일하게 방열할 수 있다. 이에 따라, 대면적을 갖는 면상 발열체(11)는 거의 모든 영역에서 균일하게 발열될 수 있다.
방열 층(240)은 1 nm 내지 20 nm의 두께를 가질 수 있다. 방열 층(240)은 방열 층(240)의 두께가 증가할 경우, 투명 면상 발열체(11)의 발열 균일성이 향상될 수 있다.
예를 들면, 방열 층(240)의 하면에서 흡수된 열은 상측으로 이동하면서 방열 층(240)의 모든 영역으로 열전도될 수 있다. 방열 층(240)의 두께가 증가할 경우, 방열 층(240)에 흡수된 열이 방열 층(240)의 모든 영역으로 열전도될 수 있는 시간이 증가할 수 있다. 이에 따라, 투명 면상 발열체(11)는 방열 층(240)의 두께가 증가할 경우, 발열 균일성이 향상될 수 있다.
또한, 방열 층(240)의 두께가 증가할 경우, 전극(300)에서 금속 층(220)으로 흐르는 전류의 이동 거리가 증가할 수 있다. 전류의 이동 거리가 증가함으로써, 전극(300)과 금속 층(220) 사이의 저항이 증가될 수 있다. 이에 따라, 방열 층(240)의 두께는 저항, 발열 균일 효율, 사용하고자 하는 용도 및 공정 변수를 고려하여, 1 nm 내지 20 nm의 범위 내에서 조절될 수 있다.
방열 층(240)은 금(Au), 백금(Pt), 은(Ag), 알루미늄(Al), 구리(Cu), 아연(Zn), 니켈(Ni), TiN, TaN, 텅스텐(W), 티타늄(Ti), 몰리브덴(Mo) 및 크롬(Cr) 중 적어도 어느 하나를 포함할 수 있다. (청구항 6과 동일한 물질로 통일하였습니다.)
방열 층(240)은 증발(evaporation), 스퍼터링, 화학기상 증착(chemical vapor deposition, CVD), 원자층 증착(atomic layer deposition, ALD), PLD(Pulsed laser deposition), MBE(Molecular Beam Epitaxy), 솔-겔(sol-gel), 스프레이 및 프린팅 중 어느 하나에 의해 형성될 수 있다.
응력 완화 층(500)은 투명 기판(100)의 하부에 배치될 수 있다. 응력 완화 층(500)은 투명한 재질을 포함할 수 있다. 예를 들면, 응력 완화 층(500)은 ITO(Indium Tin Oxide), 알루미늄이 도핑된 산화아연(ZnO:Al), 갈륨이 도핑된 산화아연(ZnO:Ga), 붕소가 도핑된 산화아연(ZnO:B), 플로오르가 도핑된 이산화주석(SnO₂:F), 이산화주석(SnO2), InZnO, 오산화바나듐(V₂O5), 산화알루미늄(Al₂O₃), 이산화규소(SiO₂), 이산화 티타늄(TiO₂), AlTiO 중 적어도 하나를 포함할 수 있다.
응력 완화 층(500)은 10 nm 내지 500 nm의 두께를 가질 수 있다. 응력 완화 층(500)은 증발(evaporation), 스퍼터링 방, 화학기상 증착(chemical vapor deposition, CVD), 원자층 증착(atomic layer deposition, ALD), 솔-겔(sol-gel), 스프레이 및 프린팅 중 어느 하나에 의해 형성될 수 있다.
도 6를 참고하면, 외력에 의해 투명 기판(100)이 구부러지는 경우, 투명 기판(100) 내부에 응력이 발생할 수 있다. 투명 기판(100)에 큰 응력이 작용하는 경우, 투명 기판(100)은 파손될 가능성이 높아진다. 응력 완화 층(500)은 투명 기판(100)에 작용하는 응력을 흡수할 수 있다.
예를 들면, 투명 기판(100)의 양단에 하측 방향의 힘이 가해지는 경우, 투명 기판(100)의 양단에는 모멘트가 작용하게 된다. 이에 따라, 투명 기판(100)의 양단에 응력이 작용하여 변형이 발생할 수 있다. 투명 기판(100)의 양단에 작용하는 응력의 적어도 일부는 응력 완화 층(500)을 통해 흡수될 수 있다. 응력 완화 층(500)은 투명 기판(100)에 발생하는 응력을 흡수함으로써, 투명 기판(100)의 파손을 방지 또는 감소할 수 있다.
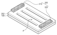
도 7은 본 발명의 일 실시예에 따른 투명 면상 발열체의 일부 구성을 나타낸 사시도이다. 도 8은 도 7의 투명 면상 발열체의 일부 구성을 나타낸 평면도이다.
설명의 간결함을 위해, 도 1 내지 도 6를 참조하여 설명한 예와 실질적으로 동일한 구성요소에 대한 설명은 생략한다.
도 7 및 도 8을 참고하면, 본 발명의 일 실시예에 따른 투명 발열 층(202)은 투명 기판(100)의 일부가 노출되는 패턴(P)을 가질 수 있다.
투명 발열 층(202)은 스트라이프 패턴(stripe pattern, P)를 포함하나, 이에 한정되지 않고, 물결 패턴, 지그 재그 패턴, 원형 패턴, 마름모 패턴, 그리드 패턴 등 다양한 형태의 패턴을 가질 수 있다. 이에 따라, 투명 면상 발열체(12)는 패턴(P)이 있는 부분에서만 발열이 발생될 수 있다.
이상에서는 본 발명의 바람직한 실시예에 대하여 도시하고 설명하였지만, 본 발명은 상술한 특정의 실시예에 한정되지 아니하며, 특허청구범위에서 청구하는 본 발명의 요지를 벗어남이 없이 당해 발명이 속하는 기술분야에서 통상의 지식을 가진 자에 의해 다양한 변형실시가 가능한 것은 물론이고, 이러한 변형실시들은 본 발명의 기술적 사상이나 전망으로부터 개별적으로 이해되어서는 안될 것이다.
10, 11, 12: 투명 면상 발열체 100: 투명 기판
200, 201, 202: 투명 발열 층 210: 결정핵 기반층
220: 금속 층 230: 선택적 투과 층
240: 방열 층 250: 도전성 산화물 층
300: 전극 310: 제1 전극
320: 제2 전극 400: 투명 보호 층
500: 응력 완화 층

Claims (12)

  1. 투명 기판;
    상기 투명 기판 상의 투명 발열 층; 및
    상기 투명 발열 층 상에 배치되어, 상기 투명 발열 층과 전기적으로 연결되는 전극을 포함하고,
    상기 투명 발열 층은:
    상기 투명 기판 상에 배치되고, 상기 전극으로부터 외부 전원을 공급받아 발열하는 금속 층; 및
    상기 투명 기판 상에 배치되고, 광의 적외선 영역 중 적어도 일부의 파장 영역을 차단하고, 상기 광의 일부 파장 영역을 투과하는 선택적 투과 층을 포함하는 투명 면상 발열체.
  2. 제1항에 있어서,
    상기 금속 층은 금(Au), 백금(Pt), 은(Ag), 알루미늄(Al), 구리(Cu), 아연(Zn), TiN, TaN, 텅스텐(W), 티타늄(Ti), 몰리브덴(Mo) 및 크롬(Cr) 중 적어도 어느 하나를 포함하는 투명 면상 발열체.
  3. 제1항에 있어서,
    상기 선택적 투과 층은 가시 광선 영역 중 적어도 일부의 파장 영역을 투과하는 투명 면상 발열체.
  4. 제1항에 있어서,
    상기 선택적 투과 층은 산화인튬주석(Indium Tin Oxide, ITO), 알루미늄이 도핑된 산화아연(ZnO:Al), 갈륨이 도핑된 산화아연(ZnO:Ga), 붕소가 도핑된 산화아연(ZnO:B), 플로오르가 도핑된 이산화주석(SnO₂:F), 이산화산화주석(SnO2), InZnO, 금(Au), 백금(Pt), 은(Ag), 알루미늄(Al), 몰리브덴(Mo) 및 크롬(Cr) 중 적어도 어느 하나를 포함하는 투명 면상 발열체.
  5. 제1항에 있어서,
    상기 투명 발열 층은 상기 금속 층 상에 배치되고, 상기 금속 층에서 발생된 열을 균일하게 방열하는 방열 층을 더 포함하는 투명 면상 발열체.
  6. 제5항에 있어서,
    상기 방열 층은 금(Au), 백금(Pt), 은(Ag), 알루미늄(Al), 구리(Cu), 아연(Zn), 니켈(Ni), TiN, TaN, 텅스텐(W), 티타늄(Ti), 몰리브덴(Mo) 및 크롬(Cr) 중 적어도 어느 하나를 포함하는 투명 면상 발열체.
  7. 제1항에 있어서,
    상기 투명 발열 층은 10 nm 내지 200 nm의 두께를 갖는 투명 면상 발열체.
  8. 제1항에 있어서,
    상기 투명 발열 층은 상기 투명 기판과 상기 금속 층 사이에 배치되는 결정핵 기반층(seed layer)을 더 포함하는 투명 면상 발열체.
  9. 제8항에 있어서,
    상기 투명 발열 층은 상기 금속 층과 전극 사이에 배치되는 도전성 산화물 층을 더 포함하고,
    상기 금속 층은 상기 결정핵 기반층과 상기 도전성 산화물 층 사이에 배치되는 투명 면상 발열체.
  10. 제1항에 있어서,
    상기 투명 발열 층 상에 배치되어, 상기 전극을 덮는 투명 보호 층을 더 포함하는 투명 면상 발열체.
  11. 제1항에 있어서,
    상기 투명 기판의 하측에 배치되어, 상기 투명 기판에 가해지는 응력을 완화하는 응력 완화 층을 더 포함하는 투명 면상 발열체.
  12. 제1항에 있어서,
    상기 투명 발열 층은 상기 투명 기판의 일부가 노출되는 패턴을 갖는 투명 면상 발열체.
KR1020150178462A 2015-02-23 2015-12-14 투명 면상 발열체 Active KR102012653B1 (ko)

Priority Applications (1)

Application Number Priority Date Filing Date Title
US15/047,695 US20160249413A1 (en) 2015-02-23 2016-02-19 Transparent planar heater

Applications Claiming Priority (2)

Application Number Priority Date Filing Date Title
KR20150025288 2015-02-23
KR1020150025288 2015-02-23

Publications (2)

Publication Number Publication Date
KR20160103499A true KR20160103499A (ko) 2016-09-01
KR102012653B1 KR102012653B1 (ko) 2019-08-22

Family

ID=56942653

Family Applications (1)

Application Number Title Priority Date Filing Date
KR1020150178462A Active KR102012653B1 (ko) 2015-02-23 2015-12-14 투명 면상 발열체

Country Status (1)

Country Link
KR (1) KR102012653B1 (ko)

Cited By (3)

* Cited by examiner, † Cited by third party
Publication number Priority date Publication date Assignee Title
WO2021020914A1 (ko) * 2019-07-31 2021-02-04 주식회사 아이테드 투명 발열 필름
KR102228662B1 (ko) * 2019-10-16 2021-03-16 (주)아이테드 투명 발열 필름
WO2025211683A1 (ko) * 2024-04-01 2025-10-09 가천대학교 산학협력단 투명 발열체 및 그 제조방법

Citations (3)

* Cited by examiner, † Cited by third party
Publication number Priority date Publication date Assignee Title
JPH06338381A (ja) * 1993-04-02 1994-12-06 Mitsui Toatsu Chem Inc 透明面状ヒーター及びその製造方法
KR20080029230A (ko) * 2006-09-28 2008-04-03 한국전자통신연구원 선택적 광차단층을 포함하는 염료감응 태양전지
KR20130131922A (ko) * 2012-05-25 2013-12-04 한국생산기술연구원 발열 효율 및 발열 균일도가 우수한 투명 면상 발열체의 제조방법

Patent Citations (3)

* Cited by examiner, † Cited by third party
Publication number Priority date Publication date Assignee Title
JPH06338381A (ja) * 1993-04-02 1994-12-06 Mitsui Toatsu Chem Inc 透明面状ヒーター及びその製造方法
KR20080029230A (ko) * 2006-09-28 2008-04-03 한국전자통신연구원 선택적 광차단층을 포함하는 염료감응 태양전지
KR20130131922A (ko) * 2012-05-25 2013-12-04 한국생산기술연구원 발열 효율 및 발열 균일도가 우수한 투명 면상 발열체의 제조방법

Cited By (3)

* Cited by examiner, † Cited by third party
Publication number Priority date Publication date Assignee Title
WO2021020914A1 (ko) * 2019-07-31 2021-02-04 주식회사 아이테드 투명 발열 필름
KR102228662B1 (ko) * 2019-10-16 2021-03-16 (주)아이테드 투명 발열 필름
WO2025211683A1 (ko) * 2024-04-01 2025-10-09 가천대학교 산학협력단 투명 발열체 및 그 제조방법

Also Published As

Publication number Publication date
KR102012653B1 (ko) 2019-08-22

Similar Documents

Publication Publication Date Title
US20160249413A1 (en) Transparent planar heater
KR101360786B1 (ko) 발열 효율 및 발열 균일도가 우수한 투명 면상 발열체의 제조방법
KR20160103499A (ko) 투명 면상 발열체
CN104698716B (zh) 一种自适应电致变色智能窗
US9423295B2 (en) Photo-sensor with a transparent substrate and an in-plane electrode pair
CN105392591B (zh) 用于获得提供有涂层的基材的方法
BR112014029496B1 (pt) Janela com revestimento de uv-tratada e baixa-e e método para fazer o mesmo
SA109300073B1 (ar) إلكترود أمامي للاستخدام في جهاز ڤٌلطائي ضوئي وطريقة لتصنيعه
EP2327543A1 (en) Panel including thermochromic layer and electric conductive layer
EP3096345B1 (en) Infrared emitter
JP7697568B2 (ja) センサ用カバー、及びセンサモジュール
KR20140116119A (ko) 복사 방출 유기 소자
KR101465518B1 (ko) 무반사 기능을 갖는 투명 면상 발열체
EP3004980A1 (en) An electrophoretic solar control device
KR20130131920A (ko) 투명 면상 발열체 및 이의 제조방법
KR101602922B1 (ko) 투명 컬러 태양전지
JP2007150157A (ja) 薄膜トランジスタ
CN111394693B (zh) 掩膜板和其制备方法及使用该掩膜板制备光伏组件的方法
US11710628B2 (en) Infrared light radiation device
JP2004311845A (ja) 発電機能を有する可視光透過構造体
US20170324005A1 (en) Optoelectronic semiconductor chip
RU2020126578A (ru) Прозрачное проводящее покрытие для емкостной сенсорной панели и способ ее изготовления
KR20200040447A (ko) 광 선택 투과형 윈도우
JP2024033210A (ja) 深紫外線発光装置
WO2019208252A1 (ja) 赤外線放射装置

Legal Events

Date Code Title Description
PA0109 Patent application

Patent event code: PA01091R01D

Comment text: Patent Application

Patent event date: 20151214

PG1501 Laying open of application
A201 Request for examination
PA0201 Request for examination

Patent event code: PA02012R01D

Patent event date: 20170802

Comment text: Request for Examination of Application

Patent event code: PA02011R01I

Patent event date: 20151214

Comment text: Patent Application

E902 Notification of reason for refusal
PE0902 Notice of grounds for rejection

Comment text: Notification of reason for refusal

Patent event date: 20181127

Patent event code: PE09021S01D

E701 Decision to grant or registration of patent right
PE0701 Decision of registration

Patent event code: PE07011S01D

Comment text: Decision to Grant Registration

Patent event date: 20190520

GRNT Written decision to grant
PR0701 Registration of establishment

Comment text: Registration of Establishment

Patent event date: 20190814

Patent event code: PR07011E01D

PR1002 Payment of registration fee

Payment date: 20190816

End annual number: 3

Start annual number: 1

PG1601 Publication of registration
PR1001 Payment of annual fee

Payment date: 20220720

Start annual number: 4

End annual number: 4

PR1001 Payment of annual fee

Payment date: 20240724

Start annual number: 6

End annual number: 6