KR20150019459A - 풍력발전기용 유지 보수 시스템 - Google Patents
풍력발전기용 유지 보수 시스템 Download PDFInfo
- Publication number
- KR20150019459A KR20150019459A KR20130096381A KR20130096381A KR20150019459A KR 20150019459 A KR20150019459 A KR 20150019459A KR 20130096381 A KR20130096381 A KR 20130096381A KR 20130096381 A KR20130096381 A KR 20130096381A KR 20150019459 A KR20150019459 A KR 20150019459A
- Authority
- KR
- South Korea
- Prior art keywords
- wire rope
- nacelle
- wind turbine
- maintenance
- rotational force
- Prior art date
- Legal status (The legal status is an assumption and is not a legal conclusion. Google has not performed a legal analysis and makes no representation as to the accuracy of the status listed.)
- Withdrawn
Links
- 238000012423 maintenance Methods 0.000 title claims abstract description 54
- 238000004804 winding Methods 0.000 claims description 23
- 230000000630 rising effect Effects 0.000 claims description 3
- 238000000034 method Methods 0.000 claims 5
- 230000001174 ascending effect Effects 0.000 description 14
- 230000005856 abnormality Effects 0.000 description 1
- 238000010586 diagram Methods 0.000 description 1
- 230000005611 electricity Effects 0.000 description 1
- 238000009434 installation Methods 0.000 description 1
- 238000012986 modification Methods 0.000 description 1
- 230000004048 modification Effects 0.000 description 1
- 238000010248 power generation Methods 0.000 description 1
Images
Classifications
-
- F—MECHANICAL ENGINEERING; LIGHTING; HEATING; WEAPONS; BLASTING
- F03—MACHINES OR ENGINES FOR LIQUIDS; WIND, SPRING, OR WEIGHT MOTORS; PRODUCING MECHANICAL POWER OR A REACTIVE PROPULSIVE THRUST, NOT OTHERWISE PROVIDED FOR
- F03D—WIND MOTORS
- F03D80/00—Details, components or accessories not provided for in groups F03D1/00 - F03D17/00
- F03D80/50—Maintenance or repair
-
- B—PERFORMING OPERATIONS; TRANSPORTING
- B66—HOISTING; LIFTING; HAULING
- B66C—CRANES; LOAD-ENGAGING ELEMENTS OR DEVICES FOR CRANES, CAPSTANS, WINCHES, OR TACKLES
- B66C23/00—Cranes comprising essentially a beam, boom, or triangular structure acting as a cantilever and mounted for translatory of swinging movements in vertical or horizontal planes or a combination of such movements, e.g. jib-cranes, derricks, tower cranes
- B66C23/18—Cranes comprising essentially a beam, boom, or triangular structure acting as a cantilever and mounted for translatory of swinging movements in vertical or horizontal planes or a combination of such movements, e.g. jib-cranes, derricks, tower cranes specially adapted for use in particular purposes
-
- F—MECHANICAL ENGINEERING; LIGHTING; HEATING; WEAPONS; BLASTING
- F03—MACHINES OR ENGINES FOR LIQUIDS; WIND, SPRING, OR WEIGHT MOTORS; PRODUCING MECHANICAL POWER OR A REACTIVE PROPULSIVE THRUST, NOT OTHERWISE PROVIDED FOR
- F03D—WIND MOTORS
- F03D13/00—Assembly, mounting or commissioning of wind motors; Arrangements specially adapted for transporting wind motor components
- F03D13/40—Arrangements or methods specially adapted for transporting wind motor components
- F03D13/403—Arrangements or methods specially adapted for transporting wind motor components for transporting or storing nacelles
-
- Y—GENERAL TAGGING OF NEW TECHNOLOGICAL DEVELOPMENTS; GENERAL TAGGING OF CROSS-SECTIONAL TECHNOLOGIES SPANNING OVER SEVERAL SECTIONS OF THE IPC; TECHNICAL SUBJECTS COVERED BY FORMER USPC CROSS-REFERENCE ART COLLECTIONS [XRACs] AND DIGESTS
- Y02—TECHNOLOGIES OR APPLICATIONS FOR MITIGATION OR ADAPTATION AGAINST CLIMATE CHANGE
- Y02E—REDUCTION OF GREENHOUSE GAS [GHG] EMISSIONS, RELATED TO ENERGY GENERATION, TRANSMISSION OR DISTRIBUTION
- Y02E10/00—Energy generation through renewable energy sources
- Y02E10/70—Wind energy
- Y02E10/72—Wind turbines with rotation axis in wind direction
Landscapes
- Engineering & Computer Science (AREA)
- Mechanical Engineering (AREA)
- Life Sciences & Earth Sciences (AREA)
- Sustainable Development (AREA)
- Sustainable Energy (AREA)
- Chemical & Material Sciences (AREA)
- Combustion & Propulsion (AREA)
- General Engineering & Computer Science (AREA)
- Wind Motors (AREA)
Abstract
본 발명은 풍력발전기용 유지 보수 시스템에 관한 것이다.
본 발명은, 풍력발전기에 설치되는 장치들의 중량물을 유지 보수를 위해 이송하기 위한 풍력발전기용 유지 보수 시스템으로서, 나셀 내부 천장의 레일에 설치되어, 해당 레일을 따라 나셀 외부 이송을 위한 하역 위치에 대하여 중량물을 이동하는 이동유닛과; 체인을 통해 상기 이동유닛에 연결된 중량물을 상하방향으로 이동시키는 인상부재와; 나셀 내부에 조립 설치되고, 상기 하역 위치에서 중량물을 와이어 로우프에 연결하여서 나셀 외부에 대해 중량물을 승하강 이동시키는 크레인 유닛을 포함하는 것을 특징으로 하는 풍력발전기용 유지 보수 시스템을 제공한다.
본 발명에 의하면, 풍력발전기에 구비된 발전기 및 기어박스 등의 장치들에 대한 유지 보수를 위하여 해당 장치들을 나셀 외부에 대하여 이송하는 크레인 유닛을 풍력발전기의 나셀에 조립 설치하여서, 해당 크레인 유닛을 이용하여 유지 보수 대상 장치를 나셀의 개방된 바닥부를 통해 이송함으로써 외부 크레인을 동원하지 않고서도 유지 보수를 효율적으로 수행하게 된다.
본 발명은, 풍력발전기에 설치되는 장치들의 중량물을 유지 보수를 위해 이송하기 위한 풍력발전기용 유지 보수 시스템으로서, 나셀 내부 천장의 레일에 설치되어, 해당 레일을 따라 나셀 외부 이송을 위한 하역 위치에 대하여 중량물을 이동하는 이동유닛과; 체인을 통해 상기 이동유닛에 연결된 중량물을 상하방향으로 이동시키는 인상부재와; 나셀 내부에 조립 설치되고, 상기 하역 위치에서 중량물을 와이어 로우프에 연결하여서 나셀 외부에 대해 중량물을 승하강 이동시키는 크레인 유닛을 포함하는 것을 특징으로 하는 풍력발전기용 유지 보수 시스템을 제공한다.
본 발명에 의하면, 풍력발전기에 구비된 발전기 및 기어박스 등의 장치들에 대한 유지 보수를 위하여 해당 장치들을 나셀 외부에 대하여 이송하는 크레인 유닛을 풍력발전기의 나셀에 조립 설치하여서, 해당 크레인 유닛을 이용하여 유지 보수 대상 장치를 나셀의 개방된 바닥부를 통해 이송함으로써 외부 크레인을 동원하지 않고서도 유지 보수를 효율적으로 수행하게 된다.
Description
본 발명은 풍력발전기용 유지 보수 시스템에 관한 것으로, 특히 풍력발전기에 구비된 발전기 및 기어박스 등의 장치들에 대한 유지 보수를 위하여 해당 장치들을 나셀 외부에 대하여 이송하는 크레인 유닛을 풍력발전기의 나셀에 조립 설치하여서, 해당 크레인 유닛을 이용하여 유지 보수 대상 장치를 나셀의 개방된 바닥부를 통해 이송함으로써 외부 크레인을 동원하지 않고서도 유지 보수를 효율적으로 수행하도록 하는 풍력발전기용 유지 보수 시스템에 관한 것이다.
일반적으로 풍력발전기는 나셀 내부에 발전기 및 기어박스 등의 장치를 구비하여 풍력에 의해 전기를 생산하되, 수십 미터 높이의 타워에 나셀을 설치하여 운용한다.
그리고, 풍력발전기에서 나셀 내부의 장치에 고장이 발생하는 경우 이를 수리하기 위해서는 해당 장치를 외부로 이송해야 할 필요가 있는데, 나셀 내부의 장치를 이송하기 위해서는 외부에서 크레인을 동원하여 나셀 내부의 장치를 이송해야 하는 문제점이 있다.
본 발명은 상술한 바와 같은 종래기술의 문제점을 해결하기 위하여 제안된 것으로, 풍력발전기에 구비된 발전기 및 기어박스 등의 장치들에 대한 유지 보수를 위하여 해당 장치들을 나셀 외부에 대하여 이송하는 크레인 유닛을 풍력발전기의 나셀에 조립 설치하여서, 해당 크레인 유닛을 이용하여 유지 보수 대상 장치를 나셀의 개방된 바닥부를 통해 이송함으로써 외부 크레인을 동원하지 않고서도 유지 보수를 효율적으로 수행하도록 하는 풍력발전기용 유지 보수 시스템을 제공함에 목적이 있다.
상술한 바와 같은 목적을 달성하기 위하여, 본 발명은, 풍력발전기에 설치되는 장치들의 중량물을 유지 보수를 위해 이송하기 위한 풍력발전기용 유지 보수 시스템으로서, 나셀 내부 천장의 레일에 설치되어, 해당 레일을 따라 나셀 외부 이송을 위한 하역 위치에 대하여 중량물을 이동하는 이동유닛과; 체인을 통해 상기 이동유닛에 연결된 중량물을 상하방향으로 이동시키는 인상부재와; 나셀 내부에 조립 설치되고, 상기 하역 위치에서 중량물을 와이어 로우프에 연결하여서 나셀 외부에 대해 중량물을 승하강 이동시키는 크레인 유닛을 포함하는 것을 특징으로 하는 풍력발전기용 유지 보수 시스템을 제공한다.
본 발명에 따른 풍력발전기용 유지 보수 시스템에 의하면, 상기 이동유닛은, 레일을 따라 회전하여 이동하는 바퀴와; 회전축을 통해 상기 바퀴에 회전력을 인가하는 모터를 포함한다.
그리고, 본 발명에 따른 풍력발전기용 유지 보수 시스템에 의하면, 상기 크레인 유닛은, 레일을 따라 이동함과 아울러 상기 중량물의 연결을 위한 후크에 연결된 와이어 로우프를 승하강시켜서 나셀 외부에 대해 중량물을 승하강하는 승하강 부재와; 상기 후크에 연결된 와이어 로우프를 감거나 풀어주기 위한 동력을 발생하여서 와이어 로우프를 구동하여 상기 승하강 부재로 하여금 중량물을 승하강케 하는 승하강 동력 발생부재와; 상기 와이어 로우프의 구동 방향에 대응하여 와이어 로우프를 감거나 풀어주는 와이어 로우프 권취부재를 포함한다.
또한, 본 발명에 따른 풍력발전기용 유지 보수 시스템에 의하면, 상기 승하강 부재는, 레일을 따라 회전하여 이동하는 바퀴와; 회전축을 통해 바퀴에 회전력을 인가하는 모터와; 와이어 로우프의 구동을 상하방향으로 변환하는 회전드럼을 포함한다.
아울러, 본 발명에 따른 풍력발전기용 유지 보수 시스템에 의하면, 상기 승하강 동력 발생부재는, 활차에 가하기 위한 회전력을 발생하되 제어수단의 제어에 따라 회전 방향을 전환하여 회전력을 발생하는 모터와; 상기 모터의 회전력을 인가받아서 활차에 전달하는 기어박스와; 기어박스를 통해 가해지는 회전력에 따라 회전하여 와이어 로우프를 강제로 구동함으로써 와이어 로우프에 구동력을 가하는 활차와; 나셀 내부에 고정시키기 위한 고정부재를 포함한다.
그리고, 본 발명에 따른 풍력발전기용 유지 보수 시스템에 의하면, 상기 와이어 로우프 권취부재는, 와이어 로우프를 권취하기 위한 와이어 로우프 권취 드럼과; 역방향 및 순방향으로의 와이어 로우프 구동을 단속하기 위한 제동수단을 포함한다.
본 발명에 의하면, 풍력발전기에 구비된 발전기 및 기어박스 등의 장치들에 대한 유지 보수를 위하여 해당 장치들을 나셀 외부에 대하여 이송하는 크레인 유닛을 풍력발전기의 나셀에 조립 설치하여서, 해당 크레인 유닛을 이용하여 유지 보수 대상 장치를 나셀의 개방된 바닥부를 통해 이송함으로써 외부 크레인을 동원하지 않고서도 유지 보수를 효율적으로 수행하게 된다.
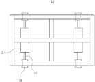
도 1은 본 발명에 따른 풍력발전기용 유지 보수 시스템을 예시한 도면이다.
도 2 및 도 3은 본 발명에 따른 풍력발전기용 유지 보수 시스템에 구비되는 이동유닛을 예시한 도면이다.
도 4 및 도 5는 본 발명에 따른 풍력발전기용 유지 보수 시스템의 크레인 유닛에 구비되는 승하강 부재를 예시한 도면이다.
도 6은 본 발명에 따른 풍력발전기용 유지 보수 시스템의 크레인 유닛에 구비되는 승하강 동력 발생부재를 예시한 도면이다.
도 7 내지 도 11은 본 발명에 따른 풍력발전기용 유지 보수 시스템의 작동 과정을 설명하기 위한 도면이다.
도 2 및 도 3은 본 발명에 따른 풍력발전기용 유지 보수 시스템에 구비되는 이동유닛을 예시한 도면이다.
도 4 및 도 5는 본 발명에 따른 풍력발전기용 유지 보수 시스템의 크레인 유닛에 구비되는 승하강 부재를 예시한 도면이다.
도 6은 본 발명에 따른 풍력발전기용 유지 보수 시스템의 크레인 유닛에 구비되는 승하강 동력 발생부재를 예시한 도면이다.
도 7 내지 도 11은 본 발명에 따른 풍력발전기용 유지 보수 시스템의 작동 과정을 설명하기 위한 도면이다.
이하 첨부 도면을 참조하여 본 발명의 실시예를 상세히 설명한다. 본 발명은 도면에 도시된 실시예를 참고로 설명하였으나 이는 하나의 실시예로서 설명하는 것이며, 이것에 의해 본 발명의 기술적 사상과 그 핵심 구성 및 작용이 제한되지 않는다.
본 발명은 풍력발전기에 구비된 발전기 및 기어박스 등의 장치들에 대한 유지 보수를 위하여 해당 장치들을 외부에 대하여 이송하는 크레인 유닛을 풍력발전기의 나셀에 조립 설치하여서, 해당 크레인 유닛을 이용하여 유지 보수 대상 장치를 나셀의 개방된 바닥부를 통해 이송함으로써 외부 크레인을 동원하지 않고서도 유지 보수를 효율적으로 수행하도록 구현된다.
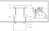
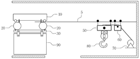
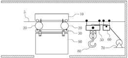
이와 같이 구현하기 위한 본 발명에 따른 풍력발전기용 유지 보수 시스템은 도 1에 예시된 바와 같이 이루어진다.
본 발명에 따른 풍력발전기용 유지 보수 시스템은 풍력발전기의 나셀 내부에 이동유닛(10), 인상부재(20), 고정대(30) 및 크레인 유닛(100)을 구비하여 이루어진다.
이동유닛(10)은 나셀 내부 천장에 설치된 레일(5)에 설치되어, 나셀 내부에 설치된 유지 보수 대상 장치의 중량물(90)을 나셀 외부로 이송하기 위한 하역 위치로 이동시키거나, 나셀 외부로부터 하역 위치로 이송된 중량물(90)을 나셀 내부의 설치 위치로 이동시키는데, 체인을 통해 연결된 중량물(90)을 레일(5)을 통해 이동시킨다.
이동유닛(10)에 의해 중량물(90)을 이동시키는 경우, 고정대(30)에 중량물(90)을 고정시키고, 해당 고정대(30)를 체인을 통해 이동유닛(10)에 연결시키되, 해당 체인의 중간부에는 체인을 잡아당겨서 고정대(30)을 인상하기 위한 인상부재(20)를 구비한다.
인상부재(20)는 유압 액츄에이터나 체인블록으로 구현할 수 있으며, 이동유닛(10)과 고정대(30) 사이에 연결된 체인을 잡아당김으로써 고정대(30)에 고정된 유지 보수 대상 장치의 중량물(90)을 들어올린다.
이동유닛(10)은 도 2에 예시한 바와 같이, 나셀 내부 천장에 설치된 레일(5)의 상부면을 따라 회전하여 이동하는 복수의 바퀴(11)를 구비함과 아울러 각각의 바퀴(11)에 회전력을 가하기 위한 복수의 모터(13)를 구비하며, 모터(13)에 의해 발생되는 회전력은 회전축(12)을 통해 바퀴(11)에 전달된다.
도 2에 나타낸 화살표A 방향으로 투시한 이동유닛(10)의 평면도는 도 3에 예시한 바와 같다. 각각의 바퀴(11)는 회전축(12)을 통해 모터(13)에 연결되어 있으므로, 바퀴(11)는 모터(13)로부터의 회전력을 회전축(12)을 통해 전달받아서 회전하여 레일(5)의 상부면을 따라 이동한다.
그리고, 크레인 유닛(100)은 필요에 따라 풍력발전기의 나셀에 조립 설치할 수 있는데, 이동유닛(10)에 연결된 중량물(90)을 넘겨받아서 나셀 외부에 대해 해당 중량물(90)을 승하강 이동시킨다.
크레인 유닛(100)은, 도 1에 예시한 바와 같이, 승하강 부재(50), 승하강 동력 발생부재(60) 및 와이어 로우프 권취부재(70)를 구비하여 이루어진다.
승하강 부재(50)는 레일(5)을 따라 이동함과 아울러 후크(80)에 연결된 와이어 로우프(59)를 승하강시키는 기능을 수행함으로써 이동유닛(10)에 의해 인상된 유지 보수 대상 장치의 중량물(90)을 후크(80)에 걸어서 나셀 외부에 대해 승하강시킨다.
승하강 동력 발생부재(60)는 나셀 내부에 고정 설치되는데, 후크(80)에 연결된 와이어 로우프(59)를 감거나 풀어주기 위한 동력을 발생함으로써 와이어 로우프(59)를 구동하여 승하강 부재(50)로 하여금 후크(80)에 매달린 중량물(90)을 나셀 외부에 대해 승하강시키게 한다.
와이어 로우프 권취부재(70)는 나셀 내부에 고정 설치되는데, 와이어 로우프(59)를 권취하기 위한 와이어 로우프 권취 드럼을 구비함과 아울러 역방향 및 순방향으로의 와이어 로우프(59) 구동을 단속하기 위한 제동수단을 구비한다.
와이어 로우프 권취부재(70)는 와이어 로우프(59)의 구동 방향에 대응하여 와이어 로우프 권취 드럼이 회전됨으로써 승하강 동력 발생부재(60)와 승하강 부재(50)를 통해 후크(80)에 연결된 와이어 로우프(59)를 권취하되, 승하강 동력 발생부재(60)에 의해 구동되는 와이어 로우프(59)의 구동 방향에 따라 로우프 회전 드럼이 구동되어서 와이어 로우프(59)를 감거나 풀어준다.
그리고, 승하강 부재(50)는, 도 4에 예시한 바와 같이, 나셀 내부 천장에 설치된 레일(5)의 측면을 따라 회전하여 이동하는 복수의 바퀴(51)를 구비함과 아울러 각각의 바퀴(51)에 회전력을 가하기 위한 복수의 모터(52)를 구비하며, 모터(52)에 의해 발생되는 회전력은 회전축(53)을 통해 바퀴(51)에 전달된다. 아울러, 승하강 부재(50)는 와이어 로우프(59)의 구동을 상하방향으로 변환하기 위한 회전드럼(55)을 구비하며, 회전드럼(55)의 양단은 회전축(56)에 의해 지지된다.
승하강 부재(50)는 모터(52)의 회전력을 회전축(53)을 통해 바퀴(51)에 전달함으로써 바퀴(51)를 회전시켜 레일(5)의 측면을 따라 이동한다. 승하강 부재(50)는 레일(5)을 따라 이동유닛(10) 측으로 이동하여 이동유닛(10)의 하방에 위치하여 후크(80)에 연결된 중량물(90)을 나셀 외부로 승하강시키는 작업을 수행한다.
승하강 부재(50)의 회전드럼(55)은 승하강 동력 발생부재(60)에 의해 구동되는 와이어 로우프(59)의 구동 방향에 따라 회전하여서, 후크(80)에 연결된 와이어 로우프(59)를 상하방향으로 이동시킴으로써, 후크(80)에 매달리는 중량물을 승하강시킨다.
또한, 도 4에 나타낸 화살표B 방향으로 투시한 승하강 부재(50)의 평면도는 도 5에 예시한 바와 같다. 각각의 바퀴(51)는 회전축(53)을 통해 모터(52)에 연결되어 있으므로, 바퀴(51)는 모터(52)로부터의 회전력을 회전축(53)을 통해 전달받아서 회전하여 레일(5)의 측면을 따라 이동한다. 아울러, 회전드럼(55)은 와이어 로우프(59)의 구동 방향에 따라 회전축(56)을 기준으로 회전함으로써 와이어 로우프(59)의 구동을 상하방향으로 변환한다.
그리고, 승하강 동력 발생부재(60)는, 도 6에 예시한 바와 같이, 모터(61), 기어박스(62), 활차(63) 및 고정부재(68)를 구비한다. 모터(61)는 활차(63)에 가하기 위한 회전력을 발생하되 제어수단(도시되지 않음)의 제어에 따라 회전 방향을 전환하여 회전력을 발생한다. 기어박스(62)는 모터(61)의 회전력을 활차(63)에 전달하되, 모터(61)로부터의 회전력을 회전축(67)을 통해 인가받아서 회전축(65)을 통해 활차(63)에 전달한다.
활차(63)는 회전 가능하게 설치되어서 기어박스(62)를 통해 가해지는 회전력에 따라 회전하여 와이어 로우프(59)를 강제로 구동함으로써 와이어 로우프(59)에 구동력을 가한다. 아울러, 고정부재(68)는 승하강 동력 발생부재(60)를 나셀 내부에 고정 설치하기 위한 것으로, 고정부재(68)에 고정 볼트를 결합하여 고정함으로써 승하강 동력 발생부재(60)를 나셀 내부에 고정 설치한다.
아울러, 상술한 설명에서는 승하강 동력 발생부재(60)를 와이어 로우프 권취부재(70)와 분리하여 개별로 설치하는 것으로 설명하였으나, 이에 한정되는 것은 아니고, 승하강 동력 발생부재(60)를 와이어 로우프 권취부재(70)에 통합하여 설치할 수도 있다.
또한, 첨부 도면에 도시하지 않았지만, 이동유닛(10), 승하강 부재(50) 및 승하강 동력 발생부재(60)는 작업자에 의해 수동 조작되는 별도의 제어수단에 연결되고, 작업자가 해당 제어수단을 수동 조작함으로써 이동유닛(10), 승하강 부재(50) 및 승하강 동력 발생부재(60)를 작동할 수 있다. 작업자가 제어수단을 수동 조작하여 명령하는 경우, 이동유닛(10)이 모터(13)를 구동하여 바퀴(11)를 회전시켜서 레일(5)을 따라 이동하고, 승하강 부재(50)가 모터(52)를 구동하여 바퀴(51)를 회전시켜서 레일(5)을 따라 이동하며, 승하강 동력 발생부재(60)가 모터(61)를 구동하여 활차(63)를 회전시켜서 와이어 로우프(59)를 구동할 수 있다.
상술한 바와 같은 기능을 구비하는 본 발명에 따른 풍력발전기용 유지 보수 시스템을 이용하여 유지 보수 대상 장치의 중량물을 나셀 외부로 이송하는 작업을 수행하는 경우 도 7 내지 도 11와 같이 구동하여 작업 수행한다.
먼저, 풍력발전기의 나셀 내부에 설치되어 있는 장치에 이상이 발생되어서 해당 유지 보수 대상 장치를 유지 보수하기 위하여 유지 보수 대상 장치의 중량물을 나셀의 외부로 이송하고자 하는 경우 크레인 유닛(100)을 나셀에 설치하는데, 도 7에 예시한 바와 같이 나셀 내부 천장의 레일(5)에 승하강 부재(50)를 설치함과 아울러 나셀의 프레임에 승하강 동력 발생부재(60)를 고정시켜 설치하고, 와이어 로우프 권취부재(70)를 나셀 프레임에 고정하여 설치한다.
그리고, 유지 보수 대상 장치의 중량물(90)을 고정대(30)에 고정시킴과 아울러 체인을 통해 이동유닛(10)에 연결된 고정대(30)를 체인의 중간에 구비된 유압 액츄에이터나 체인블록으로 구현된 인상부재(20)에 의해 체인을 상방향으로 끌어당겨서 고정대(30)를 상방향으로 올려서 나셀 프레임에 설치되어 있는 중량물(90)을 분리한다.
그 후에, 이동유닛(10)의 바퀴(11)를 구동시켜 유동유닛(10)을 레일(5)의 상부면을 따라 이동시켜서 중량물(90)을 하역 위치로 이동시키되, 도 8에 예시한 바와 같이, 중량물(90)을 나셀 외부로 하강시키기 위하여 나셀 바닥을 분리하여 놓은 하역 위치로 중량물(90)을 이동시킨다.
또한, 이동유닛(10)에 연결된 체인의 중간부에 구비된 인상부재(20)에 의해 체인을 풀어서 고정대(30)를 하강시킴으로써 , 도 9에 예시한 바와 같이, 중량물(90)을 일정 거리만큼 하강시켜 나셀 바닥 외부로 내보낸 상태를 유지한다.
그리고, 승하강 부재(50)의 바퀴(51)를 회전시켜서 해당 바퀴(51)를 레일(5)의 측면을 따라 이동시킴으로써, 도 10에 예시한 바와 같이, 승하강 부재(50)를 이동유닛(10)의 하방에 위치시킨다.
그 후에, 후크(80)에 와이어 로우프를 걸어서 고정대(30)에 연결함과 아울러 이동유닛(10)에 연결되어 있던 체인을 분리하여서 이동유닛(10)과 고정대(30)의 연결을 해제하여 이동유닛(10)과 중량물(90)의 연결을 해제함으로써, 도 11에 예시한 바와 같이, 중량물(90)을 승하강 부재(50)에 연결한다. 이 상태에서, 승하강 동력 발생부재(60)에 의해 와이어 로우프(59)에 구동력을 가하여 와이어 로우프(59)를 풀어주도록 구동하여서 승하강 부재(50)의 회전드럼(55)을 회전시켜 와이어 로우프(59)를 하방향으로 구동함으로써 후크(80)에 연결된 이동대(30)를 하강시켜서 중량물(90)을 나셀 외부의 하방으로 하역시킨다.
또한, 본 발명에 따른 풍력발전기용 유지 보수 시스템을 이용하여 나셀 외부로부터 유지 보수 완료된 장치의 중량물(90)을 나셀 내부로 승강시켜 이송하여서 설치하는 경우에는 상술한 반대의 순서로 작업 수행한다.
이상 설명한 바와 같이, 본 발명은 풍력발전기에 구비된 발전기 및 기어박스 등의 장치들에 대한 유지 보수를 위하여 해당 장치들을 나셀 외부에 대하여 이송하는 크레인 유닛(100)을 풍력발전기의 나셀에 조립 설치하여서, 해당 크레인 유닛(100)을 이용하여 유지 보수 대상 장치를 나셀의 개방된 바닥부를 통해 이송함으로써 외부 크레인을 동원하지 않고서도 유지 보수를 효율적으로 수행하게 된다.
본 발명은 상술한 설명에 한정되는 것은 아니고, 본 발명이 속하는 기술분야에서 통상의 지식을 가진 자라면, 본 발명의 기술사상을 벗어나지 아니하는 범위 내에서 본 발명을 여러 가지 형태로 변경하여 실시할 수 있을 것이며, 그러한 변경 실시는 본 발명의 기술적 범위에 해당된다고 할 것이다.
본 발명은 풍력발전기를 유지 보수하는 경우에 매우 유용하게 적용할 수 있을 것이다. 본 발명에 의하면, 풍력발전기에 구비된 발전기 및 기어박스 등의 장치들에 대한 유지 보수를 위하여 해당 장치들을 나셀 외부에 대하여 이송하는 크레인 유닛을 풍력발전기의 나셀에 조립 설치하여서, 해당 크레인 유닛을 이용하여 유지 보수 대상 장치를 나셀의 개방된 바닥부를 통해 이송함으로써 외부 크레인을 동원하지 않고서도 유지 보수를 효율적으로 수행하게 된다.
10; 이동유닛 20; 인상부재
30; 고정대 50; 승하강 부재
60; 승하강 동력 발생부재 70; 와이어 로우프 권취부재
80; 후크 90; 중량물
30; 고정대 50; 승하강 부재
60; 승하강 동력 발생부재 70; 와이어 로우프 권취부재
80; 후크 90; 중량물
Claims (6)
- 풍력발전기에 설치되는 장치들의 중량물을 유지 보수를 위해 이송하기 위한 풍력발전기용 유지 보수 시스템으로서,
나셀 내부 천장의 레일에 설치되어, 해당 레일을 따라 나셀 외부 이송을 위한 하역 위치에 대하여 중량물을 이동하는 이동유닛과;
체인을 통해 상기 이동유닛에 연결된 중량물을 상하방향으로 이동시키는 인상부재와;
나셀 내부에 조립 설치되고, 상기 하역 위치에서 중량물을 와이어 로우프에 연결하여서 나셀 외부에 대해 중량물을 승하강 이동시키는 크레인 유닛을 포함하는 것을 특징으로 하는 풍력발전기용 유지 보수 시스템.
- 청구항 1에 있어서,
상기 이동유닛은,
레일을 따라 회전하여 이동하는 바퀴와;
회전축을 통해 상기 바퀴에 회전력을 인가하는 모터를 포함하는 것을 특징으로 하는 풍력발전기용 유지 보수 시스템.
- 청구항 1에 있어서,
상기 크레인 유닛은,
레일을 따라 이동함과 아울러 상기 중량물의 연결을 위한 후크에 연결된 와이어 로우프를 승하강시켜서 나셀 외부에 대해 중량물을 승하강하는 승하강 부재와;
상기 후크에 연결된 와이어 로우프를 감거나 풀어주기 위한 동력을 발생하여서 와이어 로우프를 구동하여 상기 승하강 부재로 하여금 중량물을 승하강케 하는 승하강 동력 발생부재와;
상기 와이어 로우프의 구동 방향에 대응하여 와이어 로우프를 감거나 풀어주는 와이어 로우프 권취부재를 포함하는 것을 특징으로 하는 풍력발전기용 유지 보수 시스템.
- 청구항 3에 있어서,
상기 승하강 부재는,
레일을 따라 회전하여 이동하는 바퀴와;
회전축을 통해 바퀴에 회전력을 인가하는 모터와;
와이어 로우프의 구동을 상하방향으로 변환하는 회전드럼을 포함하는 것을 특징으로 하는 풍력발전기용 유지 보수 시스템.
- 청구항 3에 있어서,
상기 승하강 동력 발생부재는,
활차에 가하기 위한 회전력을 발생하되 제어수단의 제어에 따라 회전 방향을 전환하여 회전력을 발생하는 모터와;
상기 모터의 회전력을 인가받아서 활차에 전달하는 기어박스와;
기어박스를 통해 가해지는 회전력에 따라 회전하여 와이어 로우프를 강제로 구동함으로써 와이어 로우프에 구동력을 가하는 활차와;
나셀 내부에 고정시키기 위한 고정부재를 포함하는 것을 특징으로 하는 풍력발전기용 유지 보수 시스템.
- 청구항 3에 있어서,
상기 와이어 로우프 권취부재는,
와이어 로우프를 권취하기 위한 와이어 로우프 권취 드럼과;
역방향 및 순방향으로의 와이어 로우프 구동을 단속하기 위한 제동수단을 포함하는 것을 특징으로 하는 풍력발전기용 유지 보수 시스템.
Priority Applications (1)
| Application Number | Priority Date | Filing Date | Title |
|---|---|---|---|
| KR20130096381A KR20150019459A (ko) | 2013-08-14 | 2013-08-14 | 풍력발전기용 유지 보수 시스템 |
Applications Claiming Priority (1)
| Application Number | Priority Date | Filing Date | Title |
|---|---|---|---|
| KR20130096381A KR20150019459A (ko) | 2013-08-14 | 2013-08-14 | 풍력발전기용 유지 보수 시스템 |
Publications (1)
| Publication Number | Publication Date |
|---|---|
| KR20150019459A true KR20150019459A (ko) | 2015-02-25 |
Family
ID=52578572
Family Applications (1)
| Application Number | Title | Priority Date | Filing Date |
|---|---|---|---|
| KR20130096381A Withdrawn KR20150019459A (ko) | 2013-08-14 | 2013-08-14 | 풍력발전기용 유지 보수 시스템 |
Country Status (1)
| Country | Link |
|---|---|
| KR (1) | KR20150019459A (ko) |
Cited By (4)
| Publication number | Priority date | Publication date | Assignee | Title |
|---|---|---|---|---|
| CN108105041A (zh) * | 2017-12-28 | 2018-06-01 | 南京高速齿轮制造有限公司 | 塔上维修齿轮箱的装置及其应用 |
| CN109844309A (zh) * | 2016-10-20 | 2019-06-04 | Lm风力发电国际技术有限公司 | 对风力涡轮机转子的转子叶片进行维护的方法和系统 |
| CN110925149A (zh) * | 2019-12-13 | 2020-03-27 | 河北新天科创新能源技术有限公司 | 一种风力发电机的齿轮箱塔上维修方法 |
| DK202270467A1 (en) * | 2022-09-26 | 2024-04-19 | Liftra Ip Aps | Base Assembly for a Tower Mounted Crane |
-
2013
- 2013-08-14 KR KR20130096381A patent/KR20150019459A/ko not_active Withdrawn
Cited By (6)
| Publication number | Priority date | Publication date | Assignee | Title |
|---|---|---|---|---|
| CN109844309A (zh) * | 2016-10-20 | 2019-06-04 | Lm风力发电国际技术有限公司 | 对风力涡轮机转子的转子叶片进行维护的方法和系统 |
| CN108105041A (zh) * | 2017-12-28 | 2018-06-01 | 南京高速齿轮制造有限公司 | 塔上维修齿轮箱的装置及其应用 |
| CN108105041B (zh) * | 2017-12-28 | 2023-05-30 | 南京高速齿轮制造有限公司 | 塔上维修齿轮箱的装置及其应用 |
| CN110925149A (zh) * | 2019-12-13 | 2020-03-27 | 河北新天科创新能源技术有限公司 | 一种风力发电机的齿轮箱塔上维修方法 |
| DK202270467A1 (en) * | 2022-09-26 | 2024-04-19 | Liftra Ip Aps | Base Assembly for a Tower Mounted Crane |
| DK182019B1 (en) * | 2022-09-26 | 2025-05-28 | Liftra Ip Aps | Base Assembly for a Tower Mounted Crane |
Similar Documents
| Publication | Publication Date | Title |
|---|---|---|
| JP5331207B2 (ja) | 風力タービン設備のメンテナンスシステム | |
| US8596614B2 (en) | Method for hoisting and lowering device in rotor head of wind turbine generator | |
| US9528492B2 (en) | Wind turbine elevator for hoisting a nacelle along a tower and pivoting the nacelle at a top of the tower | |
| EP2363598B1 (en) | Wind turbine | |
| DK2507514T3 (en) | Wind energy system with hoisting device | |
| EP2926000B1 (en) | Method for moving wind turbine components and a transport system for moving wind turbine components | |
| CN101798993B (zh) | 用于风力涡轮机塔架的内部偏航驱动器置换 | |
| KR101524158B1 (ko) | 풍력 발전기의 타워 승하강 장치 | |
| JP6824914B2 (ja) | 風力タービンコンポーネントを移動させる方法、及び風力タービンコンポーネントを移動させる搬送システム | |
| CN102628420B (zh) | 具有提升装置的风轮发电机 | |
| EP3260409B1 (en) | Method of assembling a wind turbine | |
| JP2009530541A (ja) | タービン部品に接近するための総合整備用クレーンを備えた風力タービン・ナセル | |
| US20160369778A1 (en) | Method of assembling a wind turbine | |
| WO2012131026A1 (en) | Wind turbine | |
| US20140286788A1 (en) | Wind power generator | |
| KR20110026203A (ko) | 풍력 발전기용 유지보수 크레인의 이송장치 | |
| KR20150019459A (ko) | 풍력발전기용 유지 보수 시스템 | |
| CN108862050B (zh) | 更换装置 | |
| EP3026263A1 (en) | Arrangement to hoist a wind turbine component | |
| CN103539020A (zh) | 一种新型吊装施工方法及专用吊运器 | |
| CN208200204U (zh) | 塔式起重机小车牵引钢丝绳电动张紧机构 | |
| KR101364615B1 (ko) | 풍력발전 설비의 유지보수 시스템 | |
| CN211971517U (zh) | 一种能调整风电叶片空中姿态的吊具 | |
| CN103588131B (zh) | 一种八点同步自升降维修平台 | |
| KR20110017036A (ko) | 승강장치 및 수평이동장치가 구비된 송전철탑 |
Legal Events
| Date | Code | Title | Description |
|---|---|---|---|
| PA0109 | Patent application |
Patent event code: PA01091R01D Comment text: Patent Application Patent event date: 20130814 |
|
| PG1501 | Laying open of application | ||
| PN2301 | Change of applicant |
Patent event date: 20170426 Comment text: Notification of Change of Applicant Patent event code: PN23011R01D |
|
| PN2301 | Change of applicant |
Patent event date: 20171012 Comment text: Notification of Change of Applicant Patent event code: PN23011R01D |
|
| PC1203 | Withdrawal of no request for examination | ||
| WITN | Application deemed withdrawn, e.g. because no request for examination was filed or no examination fee was paid |