KR20120127822A - Apparatus for separating transportation article of belt conveyor - Google Patents
Apparatus for separating transportation article of belt conveyor Download PDFInfo
- Publication number
- KR20120127822A KR20120127822A KR1020110045553A KR20110045553A KR20120127822A KR 20120127822 A KR20120127822 A KR 20120127822A KR 1020110045553 A KR1020110045553 A KR 1020110045553A KR 20110045553 A KR20110045553 A KR 20110045553A KR 20120127822 A KR20120127822 A KR 20120127822A
- Authority
- KR
- South Korea
- Prior art keywords
- conveyor belt
- belt
- bed
- conveyor
- blade means
- Prior art date
- Legal status (The legal status is an assumption and is not a legal conclusion. Google has not performed a legal analysis and makes no representation as to the accuracy of the status listed.)
- Granted
Links
Images
Classifications
-
- B—PERFORMING OPERATIONS; TRANSPORTING
- B65—CONVEYING; PACKING; STORING; HANDLING THIN OR FILAMENTARY MATERIAL
- B65G—TRANSPORT OR STORAGE DEVICES, e.g. CONVEYORS FOR LOADING OR TIPPING, SHOP CONVEYOR SYSTEMS OR PNEUMATIC TUBE CONVEYORS
- B65G47/00—Article or material-handling devices associated with conveyors; Methods employing such devices
- B65G47/74—Feeding, transfer, or discharging devices of particular kinds or types
- B65G47/76—Fixed or adjustable ploughs or transverse scrapers
- B65G47/766—Adjustable ploughs or transverse scrapers
-
- B—PERFORMING OPERATIONS; TRANSPORTING
- B65—CONVEYING; PACKING; STORING; HANDLING THIN OR FILAMENTARY MATERIAL
- B65G—TRANSPORT OR STORAGE DEVICES, e.g. CONVEYORS FOR LOADING OR TIPPING, SHOP CONVEYOR SYSTEMS OR PNEUMATIC TUBE CONVEYORS
- B65G47/00—Article or material-handling devices associated with conveyors; Methods employing such devices
- B65G47/34—Devices for discharging articles or materials from conveyor
- B65G47/46—Devices for discharging articles or materials from conveyor and distributing, e.g. automatically, to desired points
-
- B—PERFORMING OPERATIONS; TRANSPORTING
- B65—CONVEYING; PACKING; STORING; HANDLING THIN OR FILAMENTARY MATERIAL
- B65G—TRANSPORT OR STORAGE DEVICES, e.g. CONVEYORS FOR LOADING OR TIPPING, SHOP CONVEYOR SYSTEMS OR PNEUMATIC TUBE CONVEYORS
- B65G47/00—Article or material-handling devices associated with conveyors; Methods employing such devices
- B65G47/52—Devices for transferring articles or materials between conveyors i.e. discharging or feeding devices
- B65G47/53—Devices for transferring articles or materials between conveyors i.e. discharging or feeding devices between conveyors which cross one another
- B65G47/54—Devices for transferring articles or materials between conveyors i.e. discharging or feeding devices between conveyors which cross one another at least one of which is a roller-way
-
- B—PERFORMING OPERATIONS; TRANSPORTING
- B65—CONVEYING; PACKING; STORING; HANDLING THIN OR FILAMENTARY MATERIAL
- B65G—TRANSPORT OR STORAGE DEVICES, e.g. CONVEYORS FOR LOADING OR TIPPING, SHOP CONVEYOR SYSTEMS OR PNEUMATIC TUBE CONVEYORS
- B65G65/00—Loading or unloading
- B65G65/28—Piling or unpiling loose materials in bulk, e.g. coal, manure, timber, not otherwise provided for
-
- B—PERFORMING OPERATIONS; TRANSPORTING
- B65—CONVEYING; PACKING; STORING; HANDLING THIN OR FILAMENTARY MATERIAL
- B65G—TRANSPORT OR STORAGE DEVICES, e.g. CONVEYORS FOR LOADING OR TIPPING, SHOP CONVEYOR SYSTEMS OR PNEUMATIC TUBE CONVEYORS
- B65G2201/00—Indexing codes relating to handling devices, e.g. conveyors, characterised by the type of product or load being conveyed or handled
- B65G2201/02—Articles
- B65G2201/0202—Agricultural and processed food products
-
- B—PERFORMING OPERATIONS; TRANSPORTING
- B65—CONVEYING; PACKING; STORING; HANDLING THIN OR FILAMENTARY MATERIAL
- B65G—TRANSPORT OR STORAGE DEVICES, e.g. CONVEYORS FOR LOADING OR TIPPING, SHOP CONVEYOR SYSTEMS OR PNEUMATIC TUBE CONVEYORS
- B65G2201/00—Indexing codes relating to handling devices, e.g. conveyors, characterised by the type of product or load being conveyed or handled
- B65G2201/04—Bulk
- B65G2201/045—Sand, soil and mineral ore
Landscapes
- Engineering & Computer Science (AREA)
- Mechanical Engineering (AREA)
- Structure Of Belt Conveyors (AREA)
Abstract
본 발명은 벨트 컨베이어의 이송물 분리장치에 관한 것이다.
본 발명의 이송물 분리장치는 이송물을 이송하는 컨베이어 벨트의 아래에 위치하며, 상하로 승강하며 상기 컨베이어 벨트의 일부를 들어올렸다 내려놓는 배드; 상기 컨베이어 벨트의 위에 위치하여 상기 배드가 들어올리는 상기 컨베이어 벨트의 일부와 접하며, 상기 컨베이어 벨트의 이송물을 나눠 좌우 양측으로 분리 투하하는 블레이드수단; 및 상기 블레이드수단과 결합되어 공중에 고정하는 행거수단;을 포함한다.
본 발명에 의해, 컨베이어 벨트로 이송되는 이송물을 정확한 량으로 분리 투하시켜 작업의 효율성 및 생산성 향상이 유도할 수 있다.The present invention relates to an apparatus for separating a conveyance of a belt conveyor.
The conveying material separating apparatus of the present invention is located under the conveyor belt for conveying the conveying material, and lifts up and down and lifts and lowers a part of the conveyor belt; A blade means positioned on the conveyor belt and in contact with a portion of the conveyor belt lifted by the bed, and separating and dropping the conveyance of the conveyor belt to left and right sides; And hanger means coupled to the blade means to fix it in the air.
According to the present invention, it is possible to separate and drop the conveyed material to be conveyed to the conveyor belt in the correct amount, leading to an increase in the efficiency and productivity of the work.
Description
본 발명은 벨트 컨베이어의 이송물 분리장치에 관한 것으로, 특히 벨트 컨베이어의 컨베이어 벨트로 이송되는 이송물을 정확한 량으로 분리 투하시켜 작업의 효율성 및 생산성 향상을 유도하는 벨트 컨베이어의 이송물 분리장치에 관한 것이다.
The present invention relates to a conveying material separating device of a belt conveyor, and more particularly, to a conveying material separating device of a belt conveyor which induces an improved efficiency and productivity by separating and dropping a conveyed material conveyed to a conveyor belt of a belt conveyor in an accurate amount. will be.
산업현장에서는 각종 이송물을 벨트 컨베이어의 컨베이어 벨트로 운반한다.In industrial sites, various conveyances are conveyed to a conveyor belt of a belt conveyor.
컨베이어 벨트로 이송되는 각종의 이송물들은 목적지의 컨베이어 하부 저장소에 원하는 만큼의 량을 효율적으로 투하되어 저장된다.The various kinds of conveyed materials conveyed to the conveyor belt are efficiently dropped and stored as much as desired in the lower conveyor of the destination.
이때, 각종 이송물을 저장하는 빈이나 호퍼는 컨베이어 벨트의 길이를 따라 일렬로 설치되어 있어, 컨베이어 벨트로 이송되어 온 이송물은 목적량을 요구하는 빈이나 호퍼에 정확히 투입되어야 한다.At this time, the bins or hoppers for storing the various conveyances are installed in a line along the length of the conveyor belt, so that the conveyed materials conveyed to the conveyor belt should be accurately put in the bins or hoppers requiring the desired amount.
독일 특허공보 DE1997001152 등에 공지된 바와 같이, 지금까지 저장에 필요한 이송물 분리의 기술은 컨베이어 벨트의 높낮이 낙차를 이용한 트립퍼에 의존한 기계장치를 이용하여 이송물을 벨트에서 분리시켜 하부의 빈이나 호퍼에 투입하였다.As is known from German patent publication DE1997001152 and the like, the technique of separating the conveyed material for storage until now is separated from the belt by using a mechanism that relies on a tripper using the free fall of the conveyor belt to remove the conveyed material from the belt and to the lower bin or hopper. Was put in.
이러한 트립퍼 기계장치에 의한 분리장치는 소형 컨베이어에서 소량의 이송물을 하부 빈이나 호퍼에 투입하는데 이용되었기 때문에, 대용량의 이송물을 분리 처리하기에는 이송물의 분리 및 투하의 정확성이 낮아 작업의 효율성 및 생산성이 낮은 실정이다.Since the separating device by the tripper mechanism is used to feed a small amount of the feed into the lower bin or the hopper in a small conveyor, the separation and dropping of the conveyed material is difficult to process a large amount of the conveyed material. Productivity is low.
또한, 트립퍼 기계장치에 의한 분리장치는 벨트의 낙차를 이용한 장치이기 때문에 연속성이 있어 하부의 저장소(빈이나 호퍼)가 빈틈없이 붙어 있어야만 사용이 가능하고 그렇지 못한 경우, 운반물을 원하는 저장소로 정확하게 투하하는 것이 불가능할 뿐만 아니라 저장소 아닌 외측으로 투하될 수가 있는 단점이 있다.In addition, since the separation device by the tripper mechanism is a device using a free fall of the belt, it is continuous and can be used only when the lower reservoir (bin or hopper) is tightly attached. Not only is it impossible to do this but it can also be dropped out of the reservoir.
따라서 상기와 같은 경우, 작업의 효율성 및 생산성에도 큰 영향을 미칠 수 있으며 이송물의 손실로 인한 원가상승과 환경오염 등의 여러 가지 문제점을 일으킬 수 있다.
Therefore, in the above case, it can have a big impact on the efficiency and productivity of the work and may cause various problems such as cost increase and environmental pollution due to the loss of the conveyed material.
본 발명의 목적은 컨베이어 벨트로 이송되는 이송물을 정확한 량으로 분리 투하시켜 작업의 효율성 및 생산성 향상을 유도할 수 있는 벨트 컨베이어의 이송물 분리장치를 제공하는데 있다.
SUMMARY OF THE INVENTION An object of the present invention is to provide a belt conveyor conveyance separation device capable of separating and dropping a conveyed material transferred to a conveyor belt in an accurate amount to induce an improvement in work efficiency and productivity.
상기 목적을 달성하기 위한 본 발명은 이송물을 이송하는 컨베이어 벨트의 아래에 위치하며, 상하로 승강하며 상기 컨베이어 벨트의 일부를 들어올렸다 내려놓는 배드; 상기 컨베이어 벨트의 위에 위치하여 상기 배드가 들어올리는 상기 컨베이어 벨트의 일부와 접하며, 상기 컨베이어 벨트의 이송물을 나눠 좌우 양측으로 분리 투하하는 블레이드수단; 및 상기 블레이드수단과 결합되어 공중에 고정하는 행거수단;을 포함한다.The present invention for achieving the above object is located under the conveyor belt for transporting the conveyance, the bed for lifting and lowering a portion of the conveyor belt up and down; A blade means positioned on the conveyor belt and in contact with a portion of the conveyor belt lifted by the bed, and separating and dropping the conveyance of the conveyor belt to left and right sides; And hanger means coupled to the blade means to fix it in the air.
상기 배드는 2개의 지지바들과, 그 지지바들을 가로질러 설치되는 다수개의 회전롤러들로 구성될 수 있다.The bed may be composed of two support bars and a plurality of rotating rollers installed across the support bars.
상기 배드는 수평방향으로 신축작동하는 실린더를 따라 상하로 승강하며, 중간에 회전점을 갖고 상기 배드와 실린더 사이를 가로질러 설치되는 아암에 의해 상기 실린더의 신축작동이 상기 배드에 전달됨이 좋다.The bed is moved up and down along a cylinder that stretches in the horizontal direction, and the stretching operation of the cylinder is transmitted to the bed by an arm having a rotation point in the middle and installed between the bed and the cylinder.
상기 배드에는 상기 블레이드수단에 의해 분리 투하되는 이송물을 가이드하기 위한 가이드부재가 더 설치될 수 있다.The bed may be further provided with a guide member for guiding the conveyed material separated by the blade means.
상기 행거수단에는 상기 블레이드수단을 포개 감싸는 ㄷ자 형상의 슈트가 더 설치될 수 있다.The hanger means may be further provided with a U-shaped chute surrounding the blade means.
상기 블레이드수단은 서로 크기가 다른 V형날들이 동심원 모양으로 배치되어 다단 구조를 이루는 것이 바람직하다.The blade means is preferably V-shaped blades of different sizes are arranged in a concentric shape to form a multi-stage structure.
상기 V형날들은 상기 V형날들의 각 단부들을 관통하는 고정축에 의해 배치 상태가 고정되고, 상기 고정축에는 상기 컨베이어 벨트와 밀착하는 V자형의 스크레퍼날이 더 설치될 수 있다.The V-shaped blades are fixed in a state of arrangement by a fixed shaft penetrating each end of the V-shaped blades, the fixed shaft may be further provided with a V-shaped scraper blade in close contact with the conveyor belt.
상기 V형날들(31)(33)은 45 ∼ 90°로 절곡되어 V자형을 이루는 것이 바람직하다.The V-
상기 행거수단은 스크류잭을 구비하여 상기 블레이드수단의 높이를 조절할 수 있다.The hanger means may be provided with a screw jack to adjust the height of the blade means.
상기 배드, 블레이드수단 및 행거수단은 하나의 셋트를 이루어 상기 컨베이어 벨트의 길이를 따라 다수개로 설치될 수 있다.
The bed, the blade means and the hanger means may be provided in plurality in a set along the length of the conveyor belt.
본 발명에 의해, 기존 트립퍼를 이용하는 이송물 분리장치 대비 원하는 량을 정확하게 빈이나 호퍼 등의 저장소에 분리 배출할 수 있다.According to the present invention, it is possible to separate and discharge the desired amount accurately to the bin or hopper storage compared to the conventional material separating apparatus using a tripper.
또한, 단 시간에 많은 량의 이송물을 신속하게 분리 배출할 수 있다.In addition, a large amount of the feed can be quickly separated and discharged in a short time.
아울러, 각각의 저장소에 종류가 다른 이송물의 저장이 불가능한 기존의 트립퍼를 이용하는 이송물 분리장치와는 달리 각각의 저장소에 종류가 다른 이송물을 저장할 수 있다.
In addition, unlike the conveying device using a conventional tripper that can not be stored in the different types of transport in each of the reservoirs can be stored in each of the different transports.
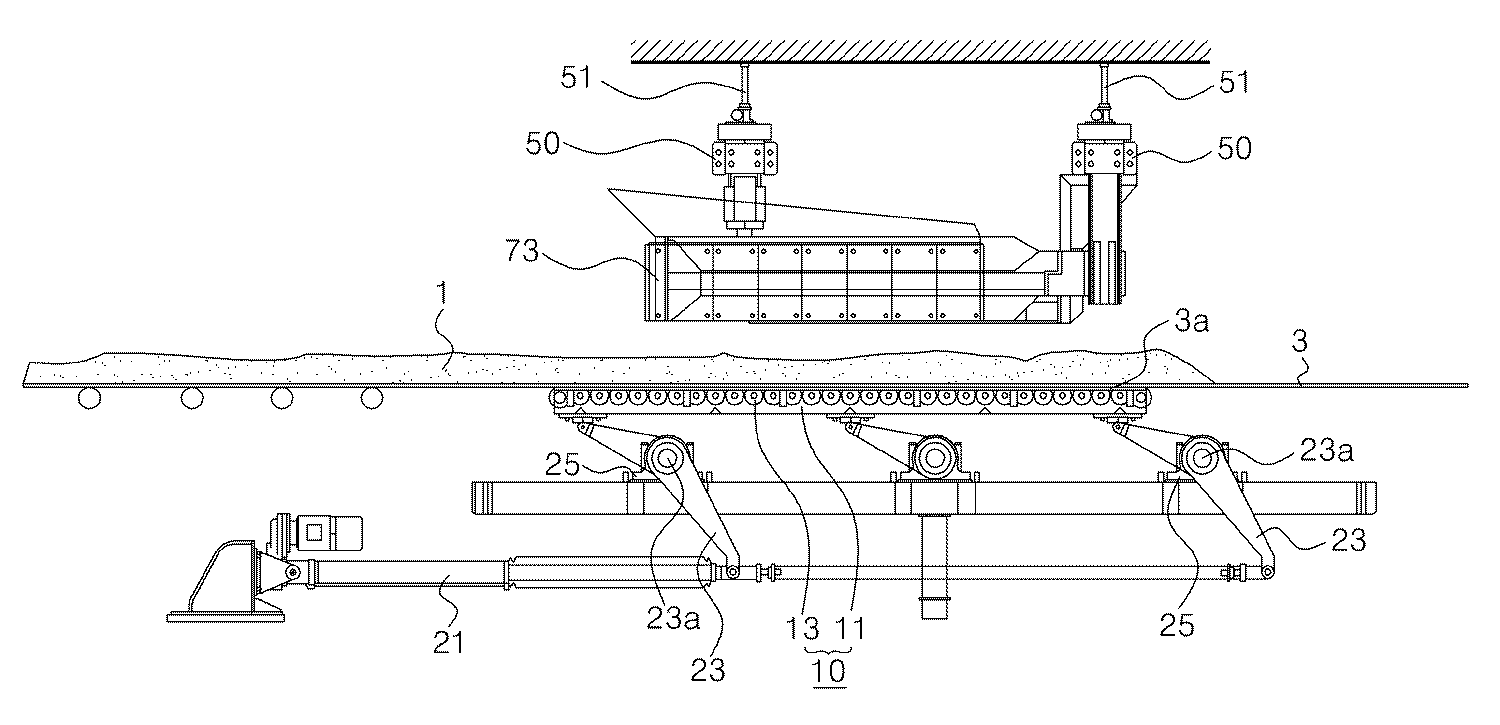
도 1은 본 발명의 벨트 컨베이어의 이송물 분리장치가 컨베이어 벨트에 설치된 모습을 개략적으로 나타낸 도면이다.
도 2는 본 발명의 벨트 컨베이어의 이송물 분리장치가 컨베이어 벨트로 이송되는 이송물을 분리 배출하는 모습을 나타낸 도면이다.
도 3은 도 2에서 블레이드수단이 이송물을 분리하는 모습을 나타낸 도면이다.
도 4는 도 2의 상태를 단면하여 나타낸 도면이다.
도 5는 본 발명의 벨트 컨베이어의 이송물 분리장치가 컨베이어 벨트의 길이를 따라 배열된 모습을 나타낸 도면이다.1 is a view schematically showing a state in which a conveyance separation device of a belt conveyor of the present invention is installed on a conveyor belt.
2 is a view showing a state in which the conveying material separating apparatus of the belt conveyor of the present invention separates and discharges the conveyed material transported to the conveyor belt.
3 is a view showing a blade means to separate the conveyed material in FIG.
4 is a cross-sectional view illustrating the state of FIG. 2.
Figure 5 is a view showing a state in which the conveyance separation device of the belt conveyor of the present invention arranged along the length of the conveyor belt.
이하, 본 발명의 바람직한 실시예를 첨부한 도면을 참조하여 상세히 설명하면 다음과 같다.Hereinafter, preferred embodiments of the present invention will be described in detail with reference to the accompanying drawings.
도 1은 본 발명의 벨트 컨베이어의 이송물 분리장치가 컨베이어 벨트에 설치된 모습을 개략적으로 나타낸 도면, 도 2는 본 발명의 벨트 컨베이어의 이송물 분리장치가 컨베이어 벨트로 이송되는 이송물을 분리 배출하는 모습을 나타낸 도면이다.1 is a view schematically showing a state in which a conveyance separation device of a belt conveyor of the present invention is installed on a conveyor belt, Figure 2 is separated from the conveying material of the conveyer belt of the belt conveyor of the present invention to discharge the conveyed material to the conveyor belt It is a figure showing the state.
도 3은 도 2에서 블레이드수단이 이송물을 분리하는 모습을 나타낸 도면, 도 4는 도 2의 상태를 단면하여 나타낸 도면이다.Figure 3 is a view showing a blade means to separate the conveying material in Figure 2, Figure 4 is a view showing a cross-sectional view of the state of FIG.
도 5는 본 발명의 벨트 컨베이어의 이송물 분리장치가 컨베이어 벨트의 길이를 따라 배열된 모습을 나타낸 도면이다.Figure 5 is a view showing a state in which the conveyance separation device of the belt conveyor of the present invention arranged along the length of the conveyor belt.
도면에 나타낸 바와 같이, 본 발명의 벨트 컨베이어의 이송물 분리장치는 곡물, 광물, 공산품 등의 이송물(1)을 이송하는 벨트 컨베이어의 컨베이어 벨트(3)의 아래에 위치하는 배드(10)를 구비한다.As shown in the drawing, the conveying apparatus of the belt conveyor of the present invention is a
배드(10)는 상하로 승강하며 대면하는 컨베이어 벨트(3)의 일부(3a)를 들어올렸다 내려놓는다.The
예컨대, 배드(10)는 유압 또는 공압에 의해 수평방향으로 신축작동하는 실린더(21)를 따라 상하로 승강하며, 실린더(21)의 신축작동은 중간에 회전점(23a)을 갖고 배드(10)와 실린더(21) 사이를 가로질러 설치되는 아암(23)에 의해서 배드(10)에 전달된다.For example, the
아암(23)은 회전점(23a)을 중심으로 V자 모양을 이루게 절곡된 형태를 이루어 실린더(21)의 신축작동에 따라 시계 또는 반시계방향으로 회전하며 배드(10)를 승강시킨다.
도면부호(25)는 아암(23)의 회전점(23a)을 고정하는 브라켓을 나타낸 것이다.
배드(10)는 2개의 지지바들(11)과, 그 지지바들(11)을 가로질러 설치되는 다수개의 회전롤러들(13)로 구성되어 컨베이어 벨트(3)가 원활히 지나가도록 한다.The
컨베이어 벨트(3)의 위에는 행거수단(50)에 의해서 공중에 고정되는 블레이드수단(30)이 위치한다.Above the
블레이드수단(30)은 실린더(21)의 작동에 의해 배드(10)가 들어올리는 컨베이어 벨트(3)의 일부(3a)와 접해 컨베이어 벨트(3)가 이송하는 이송물(1)을 나눠 컨베이어 벨트(3)의 좌우 양측으로 분리하여 투하한다.The blade means 30 contacts the
즉, 블레이드수단(30)은 컨베이어 벨트(3)가 이송하는 이송물을 정확한 량으로 나눠 컨베이어 벨트(3)의 좌우 양측에 배치되는 저장소(90)(빈이나 호퍼 등)에 분리하여 투하한다.That is, the blade means 30 separates the conveyed material conveyed by the
컨베이어 벨트(3)에 실려 온 이송물(1)이 배드(10)에 진입시 배드(10)를 들어 올리지 않으면, 이송물(1)은 배드(10)와 블레이드수단(30)을 그대로 통과해 컨베이어 벨트(3)의 말단에 설치되는 저장소(90)에 투하된다.If the conveyed
블레이드수단(30)은 서로 크기가 다른 다수개의 V형날들(31)(33)로 이루어져 이송물(1)을 정확한 량으로 분리한다.Blade means 30 is composed of a plurality of V-
이때, V형날들(31)(33)은 동심원 모양으로 배치되어 다단 구조를 이룸으로써 이송물(1)이 V형날들(31)(33)을 그냥 지나쳐 빠져나가는 일이 없도록 한다.At this time, the V-
예컨대, 도 3에 도시된 바와 같이 블레이드수단(30)이 2단 구조인 경우, 외각을 이루는 1단 V형날(31)이 이송물(1)을 1차 분리 처리하고, 1단 V형날(31)의 내부에 위치하는 2단 V형날(33)이 1단 V형날(31)을 통과한 잔여 이송물(1)을 전량 분리하여 처리함으로써, 이송물(1)을 남김없이 정확한 량으로 나눠 처리한다.For example, as shown in FIG. 3, when the blade means 30 has a two-stage structure, the first stage V-
V형날들(31)(33)은 V형날들(31)(33)의 각 단부들을 관통하는 고정축(35)에 의해서 그 배치 상태가 고정되며, 행거수단(50)이 고정축(35)과 결합됨으로써 공중에 고정된다.The V-
고정축(35)에는 컨베이어 벨트(3)와 밀착하는 V자형의 스크레퍼날(37)이 설치되고, 스크레퍼날(37)은 컨베이어 벨트(3)에 부착되어 V형날들(31)(33)에서 처리하지 못하는 부착 이송물(1)을 떼어내 컨베이어 벨트(3)를 완벽히 청소한다.The
스크레퍼날(37)은 고무와 같은 수지재질의 플레이트로 제작되어 컨베이어 벨트(3)의 청소시 벨트에 손상을 주지 않는다.The
V형날들(31)(33)은 예각을 이룸으로써 이송물(1)을 정확히 반으로 나눠 처리하는데, 45 ∼ 90°로 절곡되어 V자형을 이룸이 바람직하다.The V-
왜냐하면, 90°를 초과하는 각도에서는 컨베이어 벨트(3) 위의 이송물(1)을 분리 배출시 V형날들(31)(33)의 상부에 까지 이송물(1)이 퇴적되어 불균일한 분리 배출 현상이 발생함과 아울러 V형날들(31)(33)에 압력을 상승시키는 결과를 보이기 때문이다.Because, at an angle exceeding 90 °, when the discharged
또한, 45°미만인 경우, V형날들(31)(33)의 길이가 길어져 장치가 불필요하게 커지는 현상이 발생되며 이송물(1)의 분리 배출시 낙하 범위가 커져 하기되는 가이드부재(71) 및 슈트(73)의 크기가 커져야 하는 단점이 있기 때문이다.In addition, when less than 45 °, the length of the V-shaped blades (31) 33 is long, the device is unnecessarily large phenomenon occurs, and the
이와 같은 V형날들(31)(33)의 전면에는 마모 방지를 위하여 내마모재 라이너 또는 세라믹 종류의 라이너가 부착됨이 바람직하다.It is preferable that a wear-resistant liner or a ceramic type liner is attached to the front of the V-shaped
한편, 도 4에 도시된 바와 같이, 배드(10)의 좌우측에는 가이드부재(71)가 설치되어 블레이드수단(30)에 의해 분리 투하되는 이송물(1)을 저장소(90)로 가이드한다.On the other hand, as shown in Figure 4, the
예컨대, 가이드부재(71)는 사각관 형상으로 하향 절곡된 형태를 이루어 블레이드수단(30)에 의해 분리 투하되는 이송물(1)을 정확하게 저장소(90)로 가이드할 수 있다.For example, the
게다가, 행거수단(50)에는 블레이드수단(30)을 비롯해 가이드부재(71)를 갖는 배드(10) 전체를 포개 감싸는 ㄷ자 형상의 슈트(73)가 설치됨이 좋다.In addition, the hanger means 50 may be provided with a
슈트(73)는 가이드부재(71)와 함께 컨베이어 벨트(3)에서 분리되어 배출되는 이송물(1)을 저장소(90) 밖으로 나가지 못하게 유도한다.The
가이드부재(71)는 이송물(1)을 컨베이어 벨트(3)의 양측으로 일정하게 배출하기 위해 배드(10)의 지지바들(11)에 고정되어 배드(10)와 동시 작동되는 형태로 구성되어 있으며, 내면에 이송물(1)이 잘 미끄러지도록 스텐레스 스틸판이나 고분자 라이너 등을 부착함이 좋다.The
행거수단(50)은 한국 등록실용신안공보 제20-0442162호 등에 공지된 바와 같이 잘 알려진 기술의 스크류잭(51)을 구비하여 블레이드수단(30)의 높이를 미세하게 조절할 수 있다.The hanger means 50 is provided with a
예컨대, 행거수단(50)은 천장으로부터 블레이드수단(30)을 고정하고, 천장과의 사이에 스크류잭(51)을 구비함으로써 블레이드수단(30)의 높이를 미세하게 조절할 수 있다.For example, the hanger means 50 can fix the height of the blade means 30 by fixing the blade means 30 from the ceiling, and provided with a
이와 같은 본 발명의 이송물 분리장치는 컨베이어 벨트(3)의 길이를 따라 다수개로 설치되어, 컨베이어 벨트(3)를 따라 배치되는 각각의 저장소(90)에 연속 배출할 수 있고, 종류가 다른 이송물을 배출할 수 있다.Such a feed separation device of the present invention is installed in plurality along the length of the conveyor belt (3), it can be continuously discharged to each of the
예컨대 도 5에 도시된 바와 같이, A,B,C 구간에 따라 컨베이어 벨트(3)의 좌우로 여러 개의 저장소(90)를 배치하고, 그 배치된 저장소(90)에 따라 본 발명의 이송물 분리장치를 설치하여, A구간의 배드(10)를 들어 올려 컨베이어 벨트(3)를 블레이드수단(30)에 맞닿게 하면 이송물(1)은 해당 저장소(90)로 분리 배출된다.For example, as shown in FIG. 5,
A구간의 저장소(90)에 이송물(1)이 채워졌을 경우 해당 배드(10)를 하향시키면, 이송물(1)은 A구간의 블레이드수단(30)을 통과하여 B구간의 블레이드수단(30)으로 향하게 된다.When the
이때, B구간의 배드(10)를 들어올려 좌우 저장소(90)에 이송물(1)을 채우게 되며, 이어 동일한 방법으로 C구간의 저장소(90)를 채우게 되는 연속적인 과정이 이루어질 수 있는 것이다.At this time, the
또한, 행거수단(50)의 스크류잭(51)을 조정해 각 블레이드수단(30)의 높이를 다르게 하면, 크기나 종류가 다른 이송물을 원하는 저장소(90)로 배출할 수 있다.
In addition, if the height of each blade means 30 is adjusted by adjusting the
1:이송물 3:컨베이어 벨트
3a:일부 10:배드
11:지지바 13:회전롤러
21:실린더 23:아암
23a:회전점 25:브라켓
30:블레이드수단 31,33:V형날
35:고정축 37:스크레퍼날
50:행거수단 51:스크류잭
71:가이드부재 73:슈트
90:저장소1: Shipment 3: Conveyor Belt
3a: Some 10: Bad
11: Jiba 13: Rotating roller
21: Cylinder 23: Arm
23a: turning point 25: bracket
30: blade means 31, 33: V-shaped blade
35: fixed shaft 37: scraper blade
50: hanger means 51: screw jack
71: guide member 73: chute
90: storage
Claims (10)
상기 컨베이어 벨트의 위에 위치하여 상기 배드가 들어올리는 상기 컨베이어 벨트의 일부와 접하며, 상기 컨베이어 벨트의 이송물을 나눠 좌우 양측으로 분리 투하하는 블레이드수단; 및
상기 블레이드수단과 결합되어 공중에 고정하는 행거수단;을 포함하는,
벨트 컨베이어의 이송물 분리장치.
A bed positioned below the conveyor belt for transporting a conveyance and lifting up and down a part of the conveyor belt;
A blade means positioned on the conveyor belt and in contact with a portion of the conveyor belt lifted by the bed, and separating and dropping the conveyance of the conveyor belt to left and right sides; And
Includes; hanger means coupled to the blade means to be fixed in the air,
Feed separation device of belt conveyor.
상기 배드는 2개의 지지바들과, 그 지지바들을 가로질러 설치되는 다수개의 회전롤러들로 구성되는, 벨트 컨베이어의 이송물 분리장치.
The method of claim 1,
The bed consists of two support bars and a plurality of rotating rollers installed across the support bars, conveying device of the belt conveyor.
상기 배드는 수평방향으로 신축작동하는 실린더를 따라 상하로 승강하며, 중간에 회전점을 갖고 상기 배드와 실린더 사이를 가로질러 설치되는 아암에 의해 상기 실린더의 신축작동이 상기 배드에 전달되는, 벨트 컨베이어의 이송물 분리장치.
The method of claim 1,
The bed is lifted up and down along a cylinder that stretches in the horizontal direction, and a telescopic movement of the cylinder is transmitted to the bed by an arm having a rotation point in the middle and installed between the bed and the cylinder. Feed separator.
상기 배드에는 상기 블레이드수단에 의해 분리 투하되는 이송물을 가이드하기 위한 가이드부재가 더 설치되는, 벨트 컨베이어의 이송물 분리장치.
The method of claim 1,
The bed is further provided with a guide member for guiding the conveyed material separated by the blade means, the conveying material separation device of the belt conveyor.
상기 행거수단에는 상기 블레이드수단을 포개 감싸는 ㄷ자 형상의 슈트가 더 설치되는, 벨트 컨베이어의 이송물 분리장치.
The method of claim 1,
The hanger means is further provided with a U-shaped chute to surround the blade means, the belt conveyor conveyance separation device.
상기 블레이드수단은 서로 크기가 다른 V형날들이 동심원 모양으로 배치되어 다단 구조를 이루는, 벨트 컨베이어의 이송물 분리장치.
The method of claim 1,
The blade means is a conveyor belt separating apparatus of the V-shaped blades having different sizes are arranged in a concentric shape to form a multi-stage structure.
상기 V형날들은 상기 V형날들의 각 단부들을 관통하는 고정축에 의해 배치 상태가 고정되고, 상기 고정축에는 상기 컨베이어 벨트와 밀착하는 V자형의 스크레퍼날이 더 설치되는, 벨트 컨베이어의 이송물 분리장치.
The method according to claim 6,
The V-shaped blades are fixed in a state of arrangement by a fixed shaft passing through the ends of the V-shaped blades, the fixed shaft is further provided with a V-shaped scraper blade in close contact with the conveyor belt, conveyance of the belt conveyor Separator.
상기 V형날들(31)(33)은 45 ∼ 90°로 절곡되어 V자형을 이루는, 벨트 컨베이어의 이송물 분리장치.
The method according to claim 6,
The V-shaped blades (31) (33) is bent at 45 ~ 90 ° to form a V-shaped, conveyor belt separation device.
상기 행거수단은 스크류잭을 구비하여 상기 블레이드수단의 높이를 조절하는, 벨트 컨베이어의 이송물 분리장치.
The method of claim 1,
The hanger means is provided with a jack jack to adjust the height of the blade means, the conveyor belt separating apparatus.
상기 배드, 블레이드수단 및 행거수단은 하나의 셋트를 이루어 상기 컨베이어 벨트의 길이를 따라 다수개로 설치되는, 벨트 컨베이어의 이송물 분리장치.The method of claim 1,
The bed, the blade means and the hanger means are formed in a set a plurality along the length of the conveyor belt, the belt conveyor conveyance separation device.
Priority Applications (1)
| Application Number | Priority Date | Filing Date | Title |
|---|---|---|---|
| KR1020110045553A KR101250869B1 (en) | 2011-05-16 | 2011-05-16 | Apparatus for separating transportation article of belt conveyor |
Applications Claiming Priority (1)
| Application Number | Priority Date | Filing Date | Title |
|---|---|---|---|
| KR1020110045553A KR101250869B1 (en) | 2011-05-16 | 2011-05-16 | Apparatus for separating transportation article of belt conveyor |
Publications (2)
| Publication Number | Publication Date |
|---|---|
| KR20120127822A true KR20120127822A (en) | 2012-11-26 |
| KR101250869B1 KR101250869B1 (en) | 2013-04-04 |
Family
ID=47512694
Family Applications (1)
| Application Number | Title | Priority Date | Filing Date |
|---|---|---|---|
| KR1020110045553A Expired - Fee Related KR101250869B1 (en) | 2011-05-16 | 2011-05-16 | Apparatus for separating transportation article of belt conveyor |
Country Status (1)
| Country | Link |
|---|---|
| KR (1) | KR101250869B1 (en) |
Cited By (3)
| Publication number | Priority date | Publication date | Assignee | Title |
|---|---|---|---|---|
| CN105270878A (en) * | 2015-11-11 | 2016-01-27 | 长江大学 | Grain collecting contour wheel structure |
| CN110745501A (en) * | 2018-07-24 | 2020-02-04 | 宝山钢铁股份有限公司 | Material flow separating device for sealing-tape machine |
| CN111115203A (en) * | 2019-12-19 | 2020-05-08 | 太原理工大学 | A mobile belt conveyor unloading device based on energy conversion |
Families Citing this family (2)
| Publication number | Priority date | Publication date | Assignee | Title |
|---|---|---|---|---|
| KR101697667B1 (en) * | 2015-07-06 | 2017-02-01 | 주식회사 포스코 | Apparatus for Removing foreign material from Belt |
| KR102516127B1 (en) * | 2021-09-28 | 2023-03-30 | 최규일 | Cutting device for rice cake maker |
Family Cites Families (4)
| Publication number | Priority date | Publication date | Assignee | Title |
|---|---|---|---|---|
| US3865232A (en) | 1973-09-11 | 1975-02-11 | Litton Systems Inc | Plow scraper for conveyor belts |
| US5351802A (en) * | 1992-12-28 | 1994-10-04 | Wilson William A | Metal removal system for conveyor belts |
| JPH11171331A (en) * | 1997-12-09 | 1999-06-29 | Nisshin Plant Engineering Kk | Scraper device for belt conveyor |
| KR200412298Y1 (en) * | 2005-10-27 | 2006-03-27 | 한국남동발전 주식회사 | Leak Fuel Breaker on Belt Conveyor |
-
2011
- 2011-05-16 KR KR1020110045553A patent/KR101250869B1/en not_active Expired - Fee Related
Cited By (3)
| Publication number | Priority date | Publication date | Assignee | Title |
|---|---|---|---|---|
| CN105270878A (en) * | 2015-11-11 | 2016-01-27 | 长江大学 | Grain collecting contour wheel structure |
| CN110745501A (en) * | 2018-07-24 | 2020-02-04 | 宝山钢铁股份有限公司 | Material flow separating device for sealing-tape machine |
| CN111115203A (en) * | 2019-12-19 | 2020-05-08 | 太原理工大学 | A mobile belt conveyor unloading device based on energy conversion |
Also Published As
| Publication number | Publication date |
|---|---|
| KR101250869B1 (en) | 2013-04-04 |
Similar Documents
| Publication | Publication Date | Title |
|---|---|---|
| KR101250869B1 (en) | Apparatus for separating transportation article of belt conveyor | |
| KR101778362B1 (en) | Appratus for separating and collecting the cutting scrap | |
| CN103406275B (en) | A diameter grading system for rhizome materials | |
| CN201834537U (en) | Spacer device for ordered conveying of production line | |
| CN106742292B (en) | Polysilicon lumpy bulk material weighing device | |
| US9932180B2 (en) | Tray stack dispenser | |
| CN116395418A (en) | A triangular decompression and diversion mechanism for a conveying embryo feeder | |
| KR100870647B1 (en) | Material feeder | |
| CN201721967U (en) | Transporting and feeding device for firework tube | |
| US7464804B2 (en) | Automatic pallet loader system and method | |
| KR101424430B1 (en) | Apparatus for removing drop ore of belt conveyor | |
| JP7432147B2 (en) | Belt conveyor transport method | |
| KR101393685B1 (en) | Hanging chute for rotary discharge machine | |
| CN211544769U (en) | Automatic feeding device | |
| CN107352261A (en) | A kind of beverage can fast lifting pusher | |
| CN208704465U (en) | A kind of device for discharging of ring cold machine | |
| CN202414738U (en) | Belt conveyor with pressure belt type multipoint tripper | |
| CN206318430U (en) | The grain processing rubber conveyer of press belt type multiple discharge device | |
| CN101850890A (en) | Upper discharge buried scraper conveyor | |
| CN202038668U (en) | Support plate of conveying belt | |
| KR101295593B1 (en) | Ejector apparatus for tripper car | |
| CN206704957U (en) | A kind of industry by-product gypsum dosing hopper | |
| CN204433830U (en) | Plastics core lifting material feeding mechanism | |
| KR101553151B1 (en) | Apparatus for removing drop ore of belt conveyor | |
| CN204250785U (en) | Holder chain apparatus |
Legal Events
| Date | Code | Title | Description |
|---|---|---|---|
| A201 | Request for examination | ||
| PA0109 | Patent application |
St.27 status event code: A-0-1-A10-A12-nap-PA0109 |
|
| PA0201 | Request for examination |
St.27 status event code: A-1-2-D10-D11-exm-PA0201 |
|
| R18-X000 | Changes to party contact information recorded |
St.27 status event code: A-3-3-R10-R18-oth-X000 |
|
| D13-X000 | Search requested |
St.27 status event code: A-1-2-D10-D13-srh-X000 |
|
| D14-X000 | Search report completed |
St.27 status event code: A-1-2-D10-D14-srh-X000 |
|
| E902 | Notification of reason for refusal | ||
| PE0902 | Notice of grounds for rejection |
St.27 status event code: A-1-2-D10-D21-exm-PE0902 |
|
| E13-X000 | Pre-grant limitation requested |
St.27 status event code: A-2-3-E10-E13-lim-X000 |
|
| P11-X000 | Amendment of application requested |
St.27 status event code: A-2-2-P10-P11-nap-X000 |
|
| P13-X000 | Application amended |
St.27 status event code: A-2-2-P10-P13-nap-X000 |
|
| PG1501 | Laying open of application |
St.27 status event code: A-1-1-Q10-Q12-nap-PG1501 |
|
| E701 | Decision to grant or registration of patent right | ||
| PE0701 | Decision of registration |
St.27 status event code: A-1-2-D10-D22-exm-PE0701 |
|
| GRNT | Written decision to grant | ||
| PR0701 | Registration of establishment |
St.27 status event code: A-2-4-F10-F11-exm-PR0701 |
|
| PR1002 | Payment of registration fee |
St.27 status event code: A-2-2-U10-U11-oth-PR1002 Fee payment year number: 1 |
|
| PG1601 | Publication of registration |
St.27 status event code: A-4-4-Q10-Q13-nap-PG1601 |
|
| R18-X000 | Changes to party contact information recorded |
St.27 status event code: A-5-5-R10-R18-oth-X000 |
|
| FPAY | Annual fee payment |
Payment date: 20160310 Year of fee payment: 4 |
|
| PR1001 | Payment of annual fee |
St.27 status event code: A-4-4-U10-U11-oth-PR1001 Fee payment year number: 4 |
|
| P22-X000 | Classification modified |
St.27 status event code: A-4-4-P10-P22-nap-X000 |
|
| FPAY | Annual fee payment |
Payment date: 20170307 Year of fee payment: 5 |
|
| PR1001 | Payment of annual fee |
St.27 status event code: A-4-4-U10-U11-oth-PR1001 Fee payment year number: 5 |
|
| PN2301 | Change of applicant |
St.27 status event code: A-5-5-R10-R13-asn-PN2301 St.27 status event code: A-5-5-R10-R11-asn-PN2301 |
|
| LAPS | Lapse due to unpaid annual fee | ||
| PC1903 | Unpaid annual fee |
St.27 status event code: A-4-4-U10-U13-oth-PC1903 Not in force date: 20180330 Payment event data comment text: Termination Category : DEFAULT_OF_REGISTRATION_FEE |
|
| PC1903 | Unpaid annual fee |
St.27 status event code: N-4-6-H10-H13-oth-PC1903 Ip right cessation event data comment text: Termination Category : DEFAULT_OF_REGISTRATION_FEE Not in force date: 20180330 |
|
| R18-X000 | Changes to party contact information recorded |
St.27 status event code: A-5-5-R10-R18-oth-X000 |
|
| R18-X000 | Changes to party contact information recorded |
St.27 status event code: A-5-5-R10-R18-oth-X000 |
|
| PN2301 | Change of applicant |
St.27 status event code: A-5-5-R10-R13-asn-PN2301 St.27 status event code: A-5-5-R10-R11-asn-PN2301 |
