KR20120020739A - Pillar foundation structure having expanded upper part of street facility and construction method thereof - Google Patents

Pillar foundation structure having expanded upper part of street facility and construction method thereof Download PDF

Info

Publication number
KR20120020739A
KR20120020739A KR1020100084551A KR20100084551A KR20120020739A KR 20120020739 A KR20120020739 A KR 20120020739A KR 1020100084551 A KR1020100084551 A KR 1020100084551A KR 20100084551 A KR20100084551 A KR 20100084551A KR 20120020739 A KR20120020739 A KR 20120020739A
Authority
KR
South Korea
Prior art keywords
head extension
support
head
foundation
pillar
Prior art date
Legal status (The legal status is an assumption and is not a legal conclusion. Google has not performed a legal analysis and makes no representation as to the accuracy of the status listed.)
Ceased
Application number
KR1020100084551A
Other languages
Korean (ko)
Inventor
이종구
박규식
Original Assignee
재단법인 포항산업과학연구원
Priority date (The priority date is an assumption and is not a legal conclusion. Google has not performed a legal analysis and makes no representation as to the accuracy of the date listed.)
Filing date
Publication date
Application filed by 재단법인 포항산업과학연구원 filed Critical 재단법인 포항산업과학연구원
Priority to KR1020100084551A priority Critical patent/KR20120020739A/en
Publication of KR20120020739A publication Critical patent/KR20120020739A/en
Ceased legal-status Critical Current

Links

Images

Classifications

    • EFIXED CONSTRUCTIONS
    • E02HYDRAULIC ENGINEERING; FOUNDATIONS; SOIL SHIFTING
    • E02DFOUNDATIONS; EXCAVATIONS; EMBANKMENTS; UNDERGROUND OR UNDERWATER STRUCTURES
    • E02D27/00Foundations as substructures
    • E02D27/32Foundations for special purposes
    • E02D27/42Foundations for poles, masts or chimneys
    • EFIXED CONSTRUCTIONS
    • E02HYDRAULIC ENGINEERING; FOUNDATIONS; SOIL SHIFTING
    • E02DFOUNDATIONS; EXCAVATIONS; EMBANKMENTS; UNDERGROUND OR UNDERWATER STRUCTURES
    • E02D2250/00Production methods
    • E02D2250/0007Production methods using a mold
    • EFIXED CONSTRUCTIONS
    • E02HYDRAULIC ENGINEERING; FOUNDATIONS; SOIL SHIFTING
    • E02DFOUNDATIONS; EXCAVATIONS; EMBANKMENTS; UNDERGROUND OR UNDERWATER STRUCTURES
    • E02D2250/00Production methods
    • E02D2250/0023Cast, i.e. in situ or in a mold or other formwork

Landscapes

  • Engineering & Computer Science (AREA)
  • Life Sciences & Earth Sciences (AREA)
  • General Life Sciences & Earth Sciences (AREA)
  • Mining & Mineral Resources (AREA)
  • Paleontology (AREA)
  • Civil Engineering (AREA)
  • General Engineering & Computer Science (AREA)
  • Structural Engineering (AREA)
  • Foundations (AREA)
  • Road Signs Or Road Markings (AREA)

Abstract

본 발명은 가로시설물용 두부 확장 지주 기초구조물 및 이의 시공방법에 관한 것이며, 상세하게는 항타공법을 사용하여 가로시설물용 두부 확장 지주 기초구조물을 지하에 고정하는 가로시설물용 두부 확장 지주 기초구조물 및 이의 시공방법에 관한 것이다. 본 발명의 일 실시예에 따른 가로시설물용 두부 확장 지주 기초구조물은 지반에 설치되며 상부에 구조체가 연결된 지주를 지지토록, 지주의 하단에 연결되어 지하로 항타되는 지주기초부; 지주기초부의 두부(頭部)를 확장토록, 지주기초부 상부에 고정된 두부확장부; 및 지주기초부의 외면에 설치되어 구조체에 작용된 풍하중에 의해 지주에서 전달된 비틀림하중에 저항토록 제공된 저항부를 포함하는 것을 특징으로 한다. The present invention relates to a head extension pillar foundation structure for street facilities, and a construction method thereof, and more specifically, tofu extension pillar foundation structures for a street facility to fix the head extension pillar foundation structure for a street facility underground using anti-torque method. It is about a construction method. Tofu expansion strut foundation structure for the street facilities according to an embodiment of the present invention is installed on the ground to support the strut connected to the structure, the strut base portion is connected to the bottom of the strut to be driven underground; A head extension part fixed to an upper part of the support base part so as to expand the head of the support base part; And a resistor provided on the outer surface of the support base to provide resistance to the torsional load transmitted from the support by the wind load acting on the structure.

Description

가로시설물용 두부 확장 지주 기초구조물 및 이의 시공방법{PILLAR FOUNDATION STRUCTURE HAVING EXPANDED UPPER PART OF STREET FACILITY AND CONSTRUCTION METHOD THEREOF}PILLAR FOUNDATION STRUCTURE HAVING EXPANDED UPPER PART OF STREET FACILITY AND CONSTRUCTION METHOD THEREOF}

본 발명은 가로시설물용 두부 확장 지주 기초구조물 및 이의 시공방법에 관한 것이며, 상세하게는 항타공법을 사용하여 가로시설물용 두부 확장 지주 기초구조물을 지하에 고정함으로써 지반굴착량을 저감시킬 수 있는 가로시설물용 두부 확장 지주 기초구조물 및 이의 시공방법에 관한 것이다. The present invention relates to a head extension pillar foundation structure for street facilities and its construction method, and in detail, a horizontal facility that can reduce the amount of ground excavation by fixing the head extension pillar foundation structure for street facilities in the basement using anti-punching method The present invention relates to a dragon head extension pillar foundation structure and its construction method.

도 1은 종래 기술에 따른 현장타설 콘크리트 기초를 사용한 지주 구조물을 도시한 상태도이고, 도 2는 현장타설 콘크리트 기초의 시공 순서를 도시한 순서도이다. 1 is a state diagram showing a strut structure using a cast-in-place concrete foundation according to the prior art, Figure 2 is a flow chart showing the construction sequence of the cast-in-place concrete foundation.

교차로나 도로주변에서 신호등을 지지하는 철기둥, 가로등 지지대, 방음벽 지지대, 교통표지판 지지대 등이 다양한 종류의 지주가 설치된 것을 흔히 볼 수 있다. 지주는 강풍이나 외부충격에 의해 쉽게 쓰러지지 않도록 땅속에 고중량의 콘크리트 블럭을 설치한 뒤 그 지지블럭 위에 지주를 견고히 고정시켜 설치한다.
It is common to see various types of pillars installed at the intersections and roads, such as iron pillars, street lamp supports, soundproof wall supports, and traffic sign supports. The strut is installed by installing a heavy concrete block in the ground so that it is not easily collapsed by strong winds or external impacts, and then firmly fixing the strut on the support block.

도 1에 도시된 바와 같이, 지주(10)를 기준으로 지주(10)의 상부에는 표지판과 같은 구조체(20)가 위치되고, 구조체(20)는 지주(10)의 상부에서 가로채(21)에 의해 지주(10)에 연결된다. 그리고, 지주(10)를 기준으로 지주(10)의 하부에는 지주기초구조물(30)이 위치하며, 지주기초구조물(30)은 지주(10)의 하단에 고정된 연결부(40)에 의해 지주(10)에 연결된다. As shown in FIG. 1, a structure 20 such as a sign is positioned at an upper portion of the support 10 based on the support 10, and the structure 20 is intercepted 21 at an upper portion of the support 10. It is connected to the support 10 by. In addition, a support base structure 30 is positioned below the support 10 based on the support 10, and the support foundation 30 is supported by the support 40 fixed to the bottom of the support 10. 10).

일반적으로, 지주(10)는 자중 및 바람에 의해 구조체(20)에 발생하는 풍하중(F)을 지주기초구조물(30)로 전달하는 역할을 한다. 그리고, 지주기초구조물(30)은 지주(10)를 통해 전달된 하중을 지지하는 역할을 한다. In general, the post 10 serves to transfer the wind load (F) generated in the structure 20 by the magnetic weight and the wind to the base structure 30. And, the support base structure 30 serves to support the load transmitted through the support (10).

현재 국내에서 사용되고 있는 대부분의 구조체(20)의 기초, 즉 지주기초구조물(30)은 현장타설 콘크리트 기초공법에 의해 형성된다. 특히, 표지판을 지지하기 위한 지주기초구조물에 대해서는 모든 경우에 현장타설 콘크리트 기초공법을 적용하고 있다. The foundation of most of the structure 20 currently used in the country, that is, the foundation foundation structure 30 is formed by the cast-in-place concrete foundation method. In particular, the foundation concrete for supporting signs is applied in all cases.

현장타설 콘크리트 기초는 도 2에 도시된 바와 같은 순서를 따라 진행된다. 첫 단계로서 지반을 굴착한 후, 굴착된 부분에 부합하는 거푸집을 제작한다. 이어서, 이러한 거푸집을 굴착된 부분에 설치한 후, 설치된 거푸집 안으로 1차적으로 콘크리트를 타설하고, 1차적으로 타설된 콘크리트를 양생한다. 다음으로, 1차적으로 양생된 콘크리트 위로 2차적으로 콘크리트를 타설한 후, 타설된 콘크리트를 2차적으로 양생하는 방식으로 시공하여 지주기초구조물(30)을 만든다. 마지막으로, 타설된 콘크리트가 양생되면, 공사 주변을 다짐하고 표면정리한 후 구조체(20)를 시공한다. The cast-in-place concrete foundation proceeds in the order as shown in FIG. 2. As a first step, after excavating the ground, formwork corresponding to the excavated part is manufactured. Subsequently, after the formwork is installed in the excavated portion, concrete is first poured into the installed formwork and the first poured concrete is cured. Next, after the concrete is secondly poured over the cured concrete first, the construction of the cast concrete in a secondary curing method to create a base structure (30). Finally, when the poured concrete is cured, the structure 20 is constructed after pruning and surface preparation around the construction.

다소 차이는 있겠지만, 일반적으로 표지판의 경우에, 현장타설 콘크리트 기초공법에 의한 지반굴착 공사는 2×3×3 m3 가량의 지반을 굴착한다. 따라서, 현장타설 콘크리트 기초 공법에 의해 지주기초구조물(30)을 형성하는 경우에 굴착량이 많고, 이에 따라 공사중에 도로 측면에서 많은 공간을 차지하기 때문에, 구조체(20)의 시공 및/또는 교체에 제약이 큰 문제점이 있다. 특히, 연약지반인 경우에는 지주기초구조물(30)의 기능이 저하되며, 지반이 암반 등으로 이루어진 경우에는 굴착에 많은 어려움이 발생한다는 문제점이 있다.In general, in the case of signs, the ground excavation work using the cast-in-place concrete foundation excavates about 2 × 3 × 3 m 3 of ground. Therefore, when the foundation foundation structure 30 is formed by the cast-in-place concrete method, the amount of excavation is large, and thus a large amount of space is taken from the side of the road during construction, thereby limiting the construction and / or replacement of the structure 20. There is this big problem. In particular, in the case of soft ground, there is a problem that the function of the support foundation structure 30 is lowered, and when the ground is made of rock or the like, a lot of difficulty in excavation occurs.

그리고, 현장타설 콘크리트 기초 공법을 이용한 표지판 기초 시공은 지반굴착 및 2차에 걸친 콘크리트 기초 타설/양생으로 인해 대략 10여일의 시공기간이 소요되고, 도심지와 같이 상하수도, 전기배선 등 지장물이 많은 곳에서는 시공공간을 확보하기가 용이치 않은 문제점이 있다. In addition, the sign foundation construction using the cast-in-place concrete foundation method takes about 10 days of construction due to the ground excavation and the 2nd stage of concrete foundation casting / curing, and places where there are many obstacles such as water supply and sewage, electric wiring, etc. There is a problem in that it is not easy to secure the construction space.

또한, 현장타설 콘크리트 기초는 현장에 타설된 콘크리트 기초를 제거할 수 없기 때문에 완공후 도로확장 및 사고 등의 이유로 구조체(20)의 교체가 필요할 경우 2차적인 환경오염을 유발하게 된다는 문제점이 있다. In addition, since the cast-in-place concrete foundation cannot remove the cast-in-place concrete foundation, there is a problem of causing secondary environmental pollution when the structure 20 needs to be replaced due to road expansion and an accident after completion.

아울러, 종래의 기술에 따른 현장타설 콘크리트 기초 공사는 연결부가 외부로 노출되어 있기 때문에 미관이 떨어지며, 부식에 대한 문제점을 갖고 있다. In addition, the cast-in-place concrete foundation construction according to the prior art, because the connection is exposed to the outside has aesthetics, has a problem for corrosion.

따라서, 본 발명은 상기와 같은 문제점을 해결하기 위하여 안출된 것으로서, 본 발명은 지주를 지지하는 지주기초부를 항타공법을 사용하여 지반에 고정함으로써, 지반굴착량을 감소시키고 빠른 시공이 가능 가로시설물용 두부 확장 지주 기초구조물 및 이의 시공방법을 제공하는 것이다.Therefore, the present invention has been made in order to solve the above problems, the present invention by fixing the foundation base supporting the support to the ground using the anti-punching method, reducing the amount of ground excavation and can be quickly installed for horizontal facilities To provide a head extension strut foundation structure and its construction method.

또한, 본 발명은 지주와 지주기초부가 연결되는 두부확장부가 굴착 공간에 위치되도록 하고 굴착 공간을 콘크리트 또는 흙으로 마감함으로써, 두부확장부의 부식을 방지하고 미관을 향상시키도록 하는 가로시설물용 두부 확장 지주 기초구조물 및 이의 시공방법을 제공하는 것이다.In addition, the present invention so that the head extension portion is connected to the support base and the support base is located in the excavation space and to close the excavation space with concrete or soil, to prevent the corrosion of the head extension and to enhance the appearance of the head extension post for horizontal facilities It is to provide a basic structure and a construction method thereof.

본 발명의 일 실시예에 따른 가로시설물용 두부 확장 지주 기초구조물은 지반에 설치되며 상부에 구조체가 연결된 지주를 지지토록, 지주의 하단에 연결되어 지하로 항타되는 지주기초부; 지주기초부의 두부(頭部)를 확장토록, 지주기초부 상부에 고정된 두부확장부; 및 지주기초부의 외면에 설치되어, 구조체에 작용된 풍하중에 의해 지주로 전달된 하중에 저항토록 제공된 저항부를 포함하는 것이 바람직하다. Tofu expansion strut foundation structure for the street facilities according to an embodiment of the present invention is installed on the ground to support the strut connected to the structure, the strut base portion is connected to the bottom of the strut to be driven underground; A head extension part fixed to an upper part of the support base part so as to expand the head of the support base part; And a resistance portion provided on an outer surface of the support base portion and provided to resist the load transmitted to the support by the wind load acting on the structure.

그리고, 본 발명의 일 실시예에 따른 가로시설물용 두부 확장 지주 기초구조물은 지주기초부가 항타되도록 굴착된 부분에 충전된 콘크리트가 두부확장부와 결합되어 형성된 콘크리트블럭을 더 포함하는 것이 바람직하다.In addition, the head extension pillar foundation structure for a street facility according to an embodiment of the present invention preferably further includes a concrete block formed by combining the head extension portion with the concrete filled in the excavated portion so that the foundation portion is driven.

본 발명의 일 실시예에서, 두부확장부는 지주기초부의 두부를 확장토록, 지주기초부의 두부에서 지주기초부를 둘러싸도록 제공된 두부확장판; 및 지주기초부와 두부확장판을 연결하도록 제공된 복수 개의 보강리브를 포함하는 것을 특징으로 한다. In one embodiment of the present invention, the head extension includes a head extension plate provided to extend the head of the support base, surrounding the support base at the head of the support base; And a plurality of reinforcing ribs provided to connect the support base and the head extension plate.

그리고, 두부확장부는 두부확장판의 상단에 고정되어, 두부확장판에 지주가 고정되도록 하는 고정부를 더 포함하는 것이 바람직하다.In addition, the head extension portion is preferably fixed to the upper end of the head extension plate, it is preferable to further include a fixing portion to be fixed to the head extension plate.

본 발명의 일 실시예에서, 고정부는 지주의 하단과 볼트결합되도록 두부확장판 상단에 고정된 앵커볼트인 것이 바람직하다.In one embodiment of the present invention, the fixing portion is preferably an anchor bolt fixed to the top of the head extension plate to be bolted to the bottom of the support.

또는, 본 발명의 다른 실시예에서, 고정부는 두부확장판의 상단에 고정된 앵커볼트 지지판; 및 앵커볼트 지지판에 고정되어 지주의 하단과 볼트결합되도록 제공된 앵커볼트를 포함하는 것이 바람직하다.Or, in another embodiment of the present invention, the fixing portion anchor bolt support plate fixed to the top of the head extension plate; And it is preferable to include an anchor bolt fixed to the anchor bolt support plate provided to be bolted to the bottom of the strut.

더불어, 본 발명의 일 실시예에서, 저항부는 지주로 전달된 하중이 지반으로 전달되도록, 동일선 상에서 서로 다른 방향으로 돌출되어 지주기초부의 외면에 형성된 복수 개의 저항판을 포함하는 것이 바람직하다.In addition, in one embodiment of the present invention, the resistance unit preferably includes a plurality of resistance plates protruding in different directions on the same line formed on the outer surface of the support base so that the load transferred to the support is transferred to the ground.

그리고, 저항판은 두부확장부의 보강리브가 지주기초부의 하부로 연장되어 형성된 것이 바람직하다. In addition, the resistance plate is preferably formed by extending the reinforcing ribs of the head extension portion below the support base portion.

한편, 본 발명의 일 실시예에 따른 가로시설물용 두부 확장 지주 기초구조물 시공방법은 지반이 굴착되는 단계; 굴착된 부분에서, 가로시설물용 두부 확장 지주 기초구조물이 항타되는 단계; 가로시설물용 두부 확장 지주 기초구조물에 지주가 연결되는 단계; 및 굴착된 부분으로, 콘크리트 또는 흙 중 어느 하나가 타설되는 단계를 포함하는 것이 바람직하다.On the other hand, the construction method for the construction of the head extension pillar for the horizontal facility according to an embodiment of the present invention is the step of excavating the ground; At the excavated portion, the head extension strut foundation for the traverse facility being driven; A pillar is connected to the head extension pillar structure for the street facility; And as an excavated portion, it is preferable to include the step of pouring any one of concrete or soil.

본 발명의 일 실시예에 따른 지반이 굴착되는 단계에서, 굴착된 부분은 가로시설물용 두부 확장 지주 기초구조물의 두부확장부가 지면 아래에 위치되도록 하는 깊이만큼 굴착된 것이 바람직하다. In the step of excavating the ground according to an embodiment of the present invention, the excavated portion is preferably excavated to a depth such that the head extension portion of the head extension pillar foundation structure for the street equipment is located below the ground.

본 발명은 지주를 지지하는 지주기초부를 항타공법을 사용하여 지반에 고정함으로써, 지반굴착량을 감소시킬 수 있고, 이로 인해 공사기간 단축 및 시공비를 절감할 수 있다.According to the present invention, the base of the support for supporting the support is fixed to the ground by using the anti-punching method, thereby reducing the amount of ground excavation, thereby reducing the construction period and reducing the construction cost.

아울러, 본 발명은 굴착면적이 작기 때문에 기존 도로에서 표지판을 교체할 때 교통 흐름에 미치는 영향을 최소화시킬 수 있으며, 신설 도로에서도 공사기간이 짧기 때문에 도로의 조기개통을 요구할 때 적용하면 효과적이다.In addition, the present invention can minimize the impact on the traffic flow when replacing the sign on the existing road because the excavation area is small, it is effective when applied to require early opening of the road because the construction period is short even in the new road.

또한, 본 발명은 지주와 지주기초부가 연결되는 두부확장부가 굴착 공간에 위치되도록 하고 굴착 공간을 콘크리트 또는 흙으로 마감함으로써 두부확장부의 부식을 방지할 수 있고, 두부확장부가 지표면 상으로 노출되지 않도록 하여 지주의 미관을 향상시킬 수 있다. In addition, the present invention is to ensure that the head extension portion that is connected to the strut and the support base is located in the excavation space and to close the excavation space with concrete or soil to prevent corrosion of the head extension portion, so that the head extension portion is not exposed on the ground surface It can improve the aesthetics of the landlord.

아울러, 본 발명은 지주기초부에 저항부를 구비하여 지주에서 전달된 풍하중에 대해 저항토록 하여 지주의 비틀림을 방지할 수 있다. In addition, the present invention may be provided with a resistance portion at the base of the strut to resist the wind load transmitted from the strut to prevent the twist of the strut.

또한, 본 발명은 본 발명의 바람직한 실시예에 따른 가로시설물용 두부 확장 지주 기초구조물을 항타공법으로 시공하여 기존의 현장타설 콘크리트 기초에 비하여 굴착면적이 작고 공정이 간단하기 때문에 경제적이며 시공 중 CO2의 발생량도 줄일 수 있으며, 도로확장 및 사고 등으로 인해 표지판을 교체하는 경우에 재활용이 가능하여 2차적 환경오염을 방지할 수 있다. In addition, the present invention is economical because the installation of street furniture head extended holding foundation structure according to a preferred embodiment of the invention the pile driving method to the excavation area small and the process is simpler than the conventional cast-in-place concrete foundation of the construction CO 2 Can be reduced, and recycling is possible when signs are replaced due to road expansion and accidents, thereby preventing secondary environmental pollution.

도 1은 현장타설 콘크리트 기초를 사용한 지주 구조물을 도시한 상태도이다.
도 2는 현장타설 콘크리트 기초의 시공 순서를 도시한 순서도이다.
도 3은 본 발명의 일 실시예에 따른 가로시설물용 두부 확장 지주 기초구조물의 개략적인 분해사시도를 도시한 것이다.
도 4는 본 발명의 일 실시예에 따른 가로시설물용 두부 확장 지주 기초구조물을 상부에서 본 평면도이다.
도 5는 본 발명의 일 실시예에 따른 가로시설물용 두부 확장 지주 기초구조물의 시공방법에 대한 시공순서를 개략적으로 도시한 것이다.
1 is a state diagram showing a strut structure using a cast-in-place concrete foundation.
2 is a flow chart showing the construction sequence of the cast-in-place concrete foundation.
Figure 3 shows a schematic exploded perspective view of the head extension pillar foundation for the street facilities according to an embodiment of the present invention.
Figure 4 is a plan view from above of the head extension pillar foundation for the street facilities according to an embodiment of the present invention.
Figure 5 schematically shows the construction sequence for the construction method of the head extension pillar foundation structure for the street facilities according to an embodiment of the present invention.

이하에서는 첨부 도면을 참조하여 본 발명의 실시예에 따른 가로시설물용 두부 확장 지주 기초구조물 및 이의 시공방법을 상세하게 설명하기로 한다.
Hereinafter, with reference to the accompanying drawings will be described in detail the head extension pillar foundation structure and the construction method for the horizontal facility according to an embodiment of the present invention.

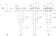
도 3은 본 발명의 일 실시예에 따른 가로시설물용 두부 확장 지주 기초구조물의 개략적인 분해사시도를 도시한 것이며, 도 4는 본 발명의 일 실시예에 따른 가로시설물용 두부 확장 지주 기초구조물을 상부에서 본 평면도이고, 도 5는 본 발명의 일 실시예에 따른 가로시설물용 두부 확장 지주 기초구조물의 시공방법에 대한 시공순서를 개략적으로 도시한 것이다. Figure 3 is a schematic exploded perspective view of the head extension pillar foundation for street facilities according to an embodiment of the present invention, Figure 4 is a top of the head extension pillar foundation for street facilities according to an embodiment of the present invention 5 is a plan view of FIG. 5 schematically illustrates a construction procedure for a construction method of the head extension pillar foundation structure for a horizontal facility according to an embodiment of the present invention.

도 3에 도시된 바와 같이, 본 발명의 일 실시예에 따른 가로시설물용 두부 확장 지주 기초구조물(100)은 지주기초부(110), 두부확장부(130) 및 저항부(150)를 포함하는 것이 바람직하다. As shown in FIG. 3, the head extension pillar foundation structure 100 for a horizontal facility according to an embodiment of the present invention includes a support base portion 110, a head extension portion 130, and a resistance portion 150. It is preferable.

도 3 내지 도 5에 도시된 바와 같이 본 발명의 일 실시예에서, 지주기초부(110)는 항타설비(미도시)에 의해 지하로 항타되어 지주(10)를 지지토록 지주(10)의 하단에 연결된 부재이다. 본 발명의 일 실시예에서, 지주기초부(110)는 내부가 중공된 강관파일인 것이 바람직하나, 이에 한정되는 것은 아니며, H형강이 사용될 수도 있다. 3 to 5, in one embodiment of the present invention, the strut base portion 110 is driven underground by a helm system (not shown) to support the strut 10 at the bottom of the strut 10. Is connected to the member. In one embodiment of the present invention, the holding base portion 110 is preferably a steel pipe pile hollow inside, but is not limited to this, H-shaped steel may be used.

여기서, 지주(10)란 교차로나 도로주변에서 신호등을 지지하는 철기둥, 가로등 지지대, 방음벽 지지대, 교통표지판 지지대 등을 말한다. 지주(10)는 신호등, 가로등 또는 표지판과 같은 구조체(미도시)가 사람들에게 용이하게 인식될 수 있도록 하기 위해, 구조체를 상부에 고정하여 구조체가 지반(1)으로부터 일정 높이에 위치되도록 한다. 지주(10)는 자중 및 바람에 의해 구조체에 작용하는 풍하중을 지주기초부(110)로 전달한다. 그리고, 지주기초부(110)는 지주(10)를 통해 전달된 하중을 지지하는 역할을 한다.
Here, the strut 10 refers to an iron pillar, a street lamp support, a soundproof wall support, a traffic sign support, and the like that support traffic lights around an intersection or a road. The strut 10 is a structure (not shown) such as a traffic light, a street lamp or a sign, so that people can be easily recognized by fixing the structure on the top so that the structure is located at a certain height from the ground (1). The strut 10 transfers wind loads acting on the structure by self weight and wind to the strut foundation 110. And, the support base portion 110 serves to support the load transmitted through the support (10).

한편, 본 발명의 일 실시예에서, 두부확장부(130)는 두부확장판(131), 복수 개의 보강리브(133) 및 고정부(140)를 포함한다. 본 발명의 일 실시예에 따른 두부확장부(130)는 지주기초부(110)의 두부(頭部)를 확장토록 지주기초부(110)의 상부에서 지주기초부(110)의 외면에 고정되어, 지주(10)를 통해 지주기초부(110)로 전달된 하중에 저항토록 제공된 것이다.Meanwhile, in one embodiment of the present invention, the head extension part 130 includes a head extension plate 131, a plurality of reinforcing ribs 133, and a fixing part 140. Head extension portion 130 according to an embodiment of the present invention is fixed to the outer surface of the support base portion 110 from the top of the support base portion 110 to extend the head (頭部) of the support base portion 110 , It is provided to resist the load transmitted to the base pillar 110 through the support (10).

본 발명의 일 실시예에서, 두부확장판(131)은 지주기초부(110)의 두부를 확장토록, 지주기초부(110)의 두부에서 지주기초부(110)를 둘러싸도록 제공된 것이다. 한편, 도 3 내지 도 5에서 본 발명의 일 실시예에 따른 두부확장판(131)으로 사각프레임이 도시되었지만, 이에 한정되는 것은 아니며 지주기초부(110)의 두부를 확장할 수 있는 형상이라면 다양하게 가변가능하다. In one embodiment of the present invention, the head extension plate 131 is provided to extend the head of the pillar foundation 110, to surround the pillar foundation 110 in the head of the pillar foundation 110. Meanwhile, although a square frame is illustrated as the head extension plate 131 according to an embodiment of the present invention in FIGS. 3 to 5, the present invention is not limited thereto, and various shapes may be used to extend the head of the pillar foundation 110. It is variable.

본 발명의 일 실시예에서, 보강리브(133)는 두부확장판(131)과 지주기초부(110) 사이에 위치되어, 두부확장판(131)과 지주기초부(110)를 연결하는 부재이다. 보강리브(133)는 복수 개가 구비되어, 상호 간에 지주기초부(110)의 외주면을 따라 방사상으로 배치된 것이 바람직하다. 그리고, 보강리브(133)는 지주기초부(110)의 외면과 두부확장판(131)의 내면 사이에 용접결합되어 고정되는 것이 바람직하다. In an embodiment of the present invention, the reinforcing rib 133 is positioned between the head extension plate 131 and the support base 110, and is a member connecting the head extension plate 131 and the support base 110. The reinforcing rib 133 is provided with a plurality, it is preferable that they are disposed radially along the outer circumferential surface of the support base portion 110. In addition, the reinforcing rib 133 is preferably welded and fixed between the outer surface of the pillar foundation 110 and the inner surface of the head extension plate 131.

한편, 두부확장부(130)의 상부에는 두부확장부(130)와 지주(10)의 지주플레이트(11)를 연결하기 위한 고정부(140)가 위치된다. 도 3에 도시된 바와 같이, 고정부(140)는 앵커볼트지지판(141) 및 앵커볼트(143)를 포함하는 것이 바람직하다. On the other hand, the upper portion of the head extension portion 130, the fixing portion 140 for connecting the head extension portion 130 and the support plate 11 of the support 10 is located. As shown in FIG. 3, the fixing part 140 preferably includes an anchor bolt support plate 141 and an anchor bolt 143.

본 발명의 일 실시예에서, 앵커볼트지지판(141)은 두부확장판(131)의 상단에 위치된다. 이때, 앵커볼트지지판(141)은 두부확장판(131)에 용접결합되어 고정되는 것이 바람직하다. In one embodiment of the present invention, the anchor bolt support plate 141 is located on the top of the head extension plate 131. At this time, the anchor bolt support plate 141 is preferably fixed by welding to the head expansion plate 131.

그리고, 앵커볼트지지판(141)은 두부확장판(131)이 사각프레임일 때, 내부가 천공된 미음자(ㅁ) 형상을 가진 플레이트인 것이 바람직하다. 이는, 두부확장판(131)과 복수 개의 보강리브(133) 사이에 형성된 공간을 폐쇄하지 않도록, 즉, 후술할 바와 같이 콘크리트가 두부확장판(131)의 내부 공간으로 타설되어 콘크리트블럭(170)을 형성하기 위함이다. 이때, 콘크리트블럭(170)은 지주(10)에서 전달된 하중에 저항한다. And, when the head extension plate 131 is a rectangular frame, it is preferable that the anchor bolt support plate 141 is a plate having a perforated mito (ㅁ) shape. This does not close the space formed between the head extension plate 131 and the plurality of reinforcing ribs 133, that is, concrete is poured into the interior space of the head extension plate 131 to form a concrete block 170 as will be described later. To do this. At this time, the concrete block 170 resists the load transmitted from the support (10).

본 발명의 일 실시예에서, 앵커볼트(143)는 지주플레이트(11)와 볼트결합되도록 제공된 부재로서, 복수 개가 구비된다. 앵커볼트(143)는 앵커볼트지지판(141)의 상단 가장자리에 위치되고, 앵커볼트(143)의 머리는 앵커볼트지지판(141)에 용접결합되어 고정되는 것이 바람직하다. 그리고, 앵커볼트(143)의 몸체부분은 지주플레이트(11)와 볼트결합되어, 지주기초부(110)에 지주(10)가 연결되도록 한다. In one embodiment of the present invention, the anchor bolt 143 is a member provided to be bolted to the holding plate 11, it is provided with a plurality. The anchor bolt 143 is located at the top edge of the anchor bolt support plate 141, the head of the anchor bolt 143 is preferably fixed to the welded bolt anchor plate 141. And, the body portion of the anchor bolt 143 is bolted to the support plate 11, so that the support 10 is connected to the support base portion 110.

다만, 앵커볼트(143)를 두부확장부(130)에 연결하기 위한 부재로서, 반드시 앵커볼트지지판(141)이 사용될 필요는 없으며, 이때, 앵커볼트(143)가 직접적으로 두부확장판(131)의 상단에 용접결합되어 고정될 수 있다. 그러나, 앵커볼트지지판(141)이 두부확장판(131)의 상부에 고정된 경우가 그렇지 아니한 경우보다 앵커볼트(143)를 더욱 용이하게 지지할 수 있다.
However, as a member for connecting the anchor bolt 143 to the head extension portion 130, it is not necessary to use the anchor bolt support plate 141, the anchor bolt 143 of the head extension plate 131 directly It can be fixed by welding to the top. However, the anchor bolt support plate 141 may support the anchor bolt 143 more easily than when the anchor bolt support plate 141 is not fixed to the upper portion of the head extension plate 131.

한편, 본 발명의 일 실시예에서, 저항부(150)는 표지판과 같은 구조체에 작용된 풍하중에 의해 지주(10)에서 전달된 비틀림하중을 지반(1)으로 전달하여 지주기초부(110)로 하여금 지주(10)에서 전달된 하중에 저항토록 제공된 것이다. 본 발의 일 실시예에서, 저항부(150)는 복수 개의 저항판(151, 153)을 포함하는 것이 바람직하다. 본 발명의 일 실시예에서 예시된 저항판은 2개로서, 이들은 지주(10)에서 전달된 하중이 지반(1)으로 고르게 분포될 수 있도록, 지주기초부(110)의 외면에서 동일선 상에서 서로 다른 방향으로 돌출되어 형성된 것이 바람직하다. On the other hand, in one embodiment of the present invention, the resistance unit 150 transmits the torsional load transmitted from the support 10 to the ground (1) by the wind load acting on the structure such as a sign to the support base 110 It is provided to resist the load transmitted from the support (10). In one embodiment of the present invention, the resistor unit 150 preferably includes a plurality of resistor plates 151 and 153. The resistance plates illustrated in one embodiment of the present invention are two, and they are different on the same line on the outer surface of the pillar foundation 110 so that the load transmitted from the pillar 10 can be evenly distributed to the ground 1. It is preferable to protrude in a direction.

본 발명의 일 실시예에서, 저항판(151, 153)은 두부확장판(131)의 하단과 이격되어, 지주기초부(110)의 길이 방향을 따라 하부로 길게 형성된 것이 바람직하다. 또는, 본 발명의 일 실시예에서 저항판(151, 153)은 복수 개의 보강리브(133) 중 어느 하나의 보강리브(133)로부터 지주기초부(110)의 하부로 연장되어 형성된 것이 바람직하다. In one embodiment of the present invention, the resistance plates 151 and 153 are spaced apart from the lower end of the head extension plate 131, it is preferably formed long in the lower direction along the longitudinal direction of the pillar foundation (110). Alternatively, in one embodiment of the present invention, the resistance plates 151 and 153 preferably extend from the one of the plurality of reinforcing ribs 133 to the lower portion of the support base 110.

본 발명의 일 실시예에서, 저항판(151, 153)의 설치위치는 가변가능하다. 다만, 지주기초부(110)의 하보로 내려갈수록 수동토압이 커지기 때문에, 저항판의 폭은 지주기초부(110)의 하부로 내려갈수록 좁아지는 것이 바람직하다. In one embodiment of the present invention, the mounting positions of the resistance plates 151 and 153 are variable. However, since the passive earth pressure increases as the bottom of the strut base portion 110 increases, the width of the resistance plate is preferably narrower as it goes down the bottom of the strut base portion 110.

한편, 본 발명의 일 실시예에서, 도 5에 도시된 바와 같이, 가로시설물용 두부 확장 지주 기초구조물(100)에는 지주기초부(110)가 항타되도록 굴착된 부분, 즉 굴착 공간(2)으로 콘크리트가 타설되어 형성된 콘크리트블럭(170)이 구비된 것이 바람직하다. 다만, 굴착 공간(2)을 메꾸는 부재로서 반드시 콘크리트가 사용될 필요는 없으며, 굴착될 때 굴착 공간(2) 주변으로 성토된 흙을 사용하여 메꿀 수도 있다. On the other hand, in an embodiment of the present invention, as shown in Figure 5, the head extension pillar foundation structure 100 for the horizontal facility to the excavated space, that is, the excavation space (2) for the strut base portion 110 is driven It is preferable that the concrete block 170 formed by pouring concrete is provided. However, concrete does not necessarily need to be used as a member to fill the excavation space 2, and when excavated, concrete may be filled using soil that is filled around the excavation space 2.

여기서, 굴착 공간(2)은 두부확장부(130)가 지반(1) 상에 노출되지 않도록 하는 깊이로, 즉 두부확장판(131)의 높이보다 깊게 굴착되는 것이 바람직하다. 또한, 굴착 공간(2)의 굴착 면적은 두부확장판(131)의 면적보다 다소 넓게 굴착되는 것이 바람직하다. Here, the excavation space 2 is preferably deep enough to prevent the head extension 130 from being exposed on the ground 1, that is, deeper than the height of the head extension plate 131. In addition, the excavation area of the excavation space 2 is preferably excavated somewhat wider than the area of the head extension plate 131.

예컨대, 두부확장판(131)의 면적이 1×1(m2)이고 높이가 0.3m이면, 항타공법시의 지반굴착량은 대략적으로 1×1×0.3 m3 가량으로서, 배경기술에서 설명하였던 현장타설 콘크리트 기초공법시의 굴착량(2×3×3 m3 가량)보다 현저하게 감소된다. 이는, 항타공법을 사용하여 지주 기초구조물을 지하에 설치하는 경우에 지하 기초구조물이 삽입될 정도의 크기로 지반을 굴착하는 것이 아니기 때문이다. For example, if the area of the head extension plate 131 is 1 × 1 (m 2 ) and the height is 0.3 m, the ground excavation during the anti-punching method is approximately 1 × 1 × 0.3 m 3 , the site described in the background art. It is significantly reduced than the amount of excavation (about 2 × 3 × 3 m 3 ) in the casting concrete foundation method. This is because the ground is not excavated to the extent that the underground foundation structures are inserted when the foundation structures are installed underground using the anti-punching method.

즉, 본 발명의 일 실시예에 따른 가로시설물용 두부 확장 지주 기초구조물(100)을 지반(1)에 항타하기 위해 굴착되는 굴착량은 현장타설 콘크리트 기초 공법에 의한 지주기초구조물의 경우의 굴착량보다 현저히 감소된다. 다만, 이때, 항타공법을 사용한 지반굴착량은 두부확장판(131)의 가로×세로×높이(m3)에 따라 가변가능하며 상기의 예시에 의해 한정되는 것은 아니다. That is, the excavation amount excavated to drive the head extension strut foundation structure 100 for the horizontal facility to the ground (1) according to an embodiment of the present invention is the excavation amount in the case of the strut foundation structure by the cast-in-place concrete foundation method More significantly. However, at this time, the ground excavation amount using the anti-punching method is variable according to the width × length × height (m 3 ) of the head extension plate 131 is not limited by the above examples.

본 발명의 일 실시예는 상기와 같은 이유에 의해 지반굴착량이 감소됨에 따라 기존 도로에서 표지판을 교체할 때 교통 흐름에 미치는 영향을 최소화시킬 수 있다. 아울러, 신설 도로에서도 공사기간이 짧기 때문에 도로의 조기개통시 효율적이다. According to one embodiment of the present invention, as the ground excavation amount is reduced due to the above reason, it is possible to minimize the influence on traffic flow when replacing a sign on an existing road. In addition, the construction period is short even on the new road, so it is effective when the road is opened early.

또한, 본 발명의 일 실시예에서, 가로시설물용 두부 확장 지주 기초구조물(100)이 지반(1)에 항타된 후, 굴착 공간(2)을 콘크리트 또는 흙을 사용하여 메꿈으로써, 두부확장부(130)가 지반(1) 상에 노출되지 않아 두부확장부(130)의 부식을 방지할 수 있고, 아울러, 이로 인해 지주(10)의 미관을 향상시킬 수 있다.
In addition, in one embodiment of the present invention, after the head extension pillar foundation structure 100 for the horizontal facility is hit on the ground (1), by filling the excavation space (2) using concrete or soil, the head extension ( 130 is not exposed on the ground (1) to prevent corrosion of the head extension portion 130, and, thereby, can enhance the aesthetics of the support (10).

이하에서, 도 5를 참조하여 가로시설물용 두부 확장 지주 기초구조물(100)의 시공방법에 대해 설명하면 다음과 같다. 도 5는 본 발명의 일 실시예에 따른 가로시설물용 두부 확장 지주 기초구조물(100)의 시공방법에 대한 순서를 개략적으로 도시한 것이다. Hereinafter, with reference to Figure 5 with reference to the construction method of the head extension pillar foundation structure 100 for the street facilities as follows. Figure 5 schematically shows the procedure for the construction method of the head extension pillar foundation structure 100 for the street facilities according to an embodiment of the present invention.

우선, 도 5의 (a)에 도시된 바와 같이, 지반(1)을 굴착하여 굴착 공간(2)을 형성한다. 굴착 공간(2)은 가로시설물용 두부 확장 지주 기초구조물(100)이 지반(1)에 항타될 때, 지주(10)에 연결되어 지주(10)를 지지하는 두부확장부(130)가 지표면 상에 노출되지 않도록 하는 깊이만큼 굴착되어 형성된 것이 바람직하다. First, as shown in FIG. 5A, the ground 1 is excavated to form an excavation space 2. Excavation space (2) is the head extension pillar 130 for the horizontal facilities when the ground (1) is driven on the ground (1), the head extension portion 130 is connected to the support (10) to support the support (10) on the ground surface It is preferable that the excavation is formed to a depth such that it is not exposed.

본 발명의 일 실시예에 따른 가로시설물용 두부 확장 지주 기초구조물(100)의 시공방법에 의한 지반굴착량은 상술했던 바와 같이 현장타설 콘크리트 기초 공법에 의한 지반굴착량보다 현저히 작기 때문에, 기존 도로에서 표지판을 교체할 때, 굴착된 흙으로 인해 교통 흐름에 미치는 영향을 최소화시킬 수 있으며, 신설 도로에서도 공사기간이 짧기 때문에 도로의 조기개통을 요구할 때 적용하면 효과적이다. Since the ground excavation amount by the construction method of the head extension strut foundation structure 100 for the street facilities according to an embodiment of the present invention is significantly smaller than the ground excavation amount by the site-cast concrete foundation method as described above, When replacing signs, the impact of the excavated soil can be minimized and the construction period is short on new roads.

다음으로, 도 5의 (b)에 도시된 바와 같이, 굴착 공간(2)에서, 가로시설물용 두부 확장 지주 기초구조물(100)은 항타설비에 의해 지반(1)에 항타되는 것이 바람직하다. Next, as shown in Figure 5 (b), in the excavation space (2), it is preferable that the head extension pillar structure 100 for the horizontal facility is driven on the ground (1) by the driving facility.

이어서, 도 5의 (c)에 도시된 바와 같이, 항타된 가로시설물용 두부 확장 지주 기초구조물(100)의 상부로 지주(10)가 위치된다. 이때, 지주(10)의 지주플레이트(11)는 두부확장판(131)의 상부에 고정된 앵커볼트(143)와 볼트결합되는 것이 바람직하다. Subsequently, as shown in (c) of FIG. 5, the strut 10 is positioned on top of the head extension strut foundation 100 for the driven facility. At this time, the support plate 11 of the support 10 is preferably bolted to the anchor bolt 143 fixed to the upper portion of the head extension plate 131.

마지막으로, 도 5의 (d)에서 도시된 바와 같이, 굴착 공간(2)에 콘크리트가 타설된다. 굴착 공간(2)으로 타설된 콘크리트는 경화되어 콘크리트블럭(170)이 형성된다. 한편, 굴착 공간(2)은 콘크리트 대신에 흙으로 메꿔질 수 있다. Finally, as shown in FIG. 5D, concrete is poured into the excavation space 2. Concrete poured into the excavation space 2 is cured to form a concrete block 170. On the other hand, the excavation space 2 may be filled with soil instead of concrete.

굴착 공간(2)이 콘크리트 또는 흙 중 어느 하나에 의해 마감됨에 따라, 두부확장부(130)는 지표면 상으로 노출되지 않아 두부확장부(130)의 부식을 방지할 수 있고, 지주(10)의 미관을 향상시킬 수 있다. As the excavation space (2) is closed by either concrete or soil, the head extension portion 130 is not exposed on the ground surface to prevent corrosion of the head extension portion 130, and Can improve aesthetics

아울러, 본 발명의 일 실시예에 따른 지주 기초구조물의 시공방법은 기존의 현장타설 콘크리트 기초에 비하여 굴착면적이 작고, 이로 인해 굴착 공간(2)으로 타설되는 콘크리트의 양도 작아지게 되어 시공 비용이 절감되고, 아울러 타설되는 콘크리트의 양이 적기 때문에 콘크리트가 양생되어 경화되는 시간도 짧아지게 되어 공사 기간이 단축될 수 있다. In addition, the construction method of the strut foundation structure according to an embodiment of the present invention has a smaller excavation area than the existing cast-in-place concrete foundation, thereby reducing the amount of concrete poured into the excavation space (2), thereby reducing the construction cost In addition, since the amount of concrete to be poured is less, the time for curing and curing of the concrete is shortened, which may shorten the construction period.

더불어, 본 발명의 일 실시예에 따른 지주 기초구조물의 시공방법은 기존의 현장타설 콘크리트 기초에 비하여 시공과정에서 거푸집 제작 및 거푸집 설치 단계가 생략되어 시공과정이 단순화되고, 이로 인해 인건비가 절감되어 경제적이다. In addition, the construction method of the strut foundation structure according to an embodiment of the present invention is simplified compared to the existing cast-in-place concrete foundation, the form manufacturing step and the formwork installation step is omitted, thereby simplifying the construction process, thereby reducing labor costs and economical to be.

아울러, 본 발명의 일 실시예에 따른 지주 기초구조물의 시공방법은 시공 과정을 단순화시킴으로써 시공 중 CO2의 발생량도 줄일 수 있으며, 도로확장 및 사고 등으로 인해 표지판을 교체하는 경우에 지주기초부(110)의 재활용이 가능하여 2차적 환경오염을 방지할 수 있다. In addition, the construction method of the strut foundation structure according to an embodiment of the present invention can also reduce the amount of CO 2 during construction by simplifying the construction process, and when the sign is replaced due to road expansion and accidents, etc. 110) can be recycled to prevent secondary environmental pollution.

위에 설명된 예시적인 실시예는 제한적이기보다는 본 발명의 모든 관점들 내에서 설명적인 것이 되도록 의도되었다. 따라서 본 발명은 본 기술 분야의 숙련된 자들에 의하여 본 명세서 내에 포함된 설명들로부터 얻어질 수 있는 많은 변형 및 상세한 실행이 가능하다. 다음의 청구범위에 의하여 한정된 바와 같이 이러한 모든 변형 및 변경은 본 발명의 범위 및 사상 내에 있는 것으로 고려되어야 한다.The exemplary embodiments described above are intended to be illustrative, not limiting, in all aspects of the invention. Accordingly, the present invention is capable of many modifications and detailed implementations which may be obtained from those contained within the specification by those skilled in the art. All such modifications and variations are to be considered as within the scope and spirit of the invention as defined by the following claims.

100: 가로시설물용 두부 확장 지주 기초구조물 110: 지주기초부
130: 두부확장부 140: 고정부
150: 저항부 170: 콘크리트블럭
100: tofu extension pillar foundation for street facilities 110: foundation foundation
130: head extension portion 140: fixed portion
150: resistance 170: concrete block

Claims (10)

지반에 설치되며 상부에 구조체가 연결된 지주를 지지토록, 상기 지주의 하단에 연결되어 지하로 항타되는 지주기초부;
상기 지주기초부의 두부(頭部)를 확장토록, 상기 지주기초부 상부에 고정된 두부확장부; 및
상기 지주기초부의 외면에 설치되어, 상기 구조체에 작용된 풍하중에 의해 상기 지주로 전달된 하중에 저항토록 제공된 저항부;
를 포함하는 것을 특징으로 하는 가로시설물용 두부 확장 지주 기초구조물.
A pillar foundation part installed on the ground to support a strut connected to the structure at the top thereof and connected to a lower end of the strut and driven underground;
A head extension part fixed to an upper part of the support base part so as to expand the head of the support base part; And
A resistance portion provided on an outer surface of the support base portion and provided to resist a load transferred to the support by wind loads acting on the structure;
Tofu expansion pillar foundation structure for a street facility comprising a.
제 1 항에 있어서,
상기 지주기초부가 항타되도록 굴착된 부분에 충전된 콘크리트가 상기 두부확장부와 결합되어 형성된 콘크리트블럭을 더 포함하는 것을 특징으로 하는 가로시설물용 두부 확장 지주 기초구조물.
The method of claim 1,
Toss expansion post foundation structure for the street facility further comprises a concrete block formed by coupling the concrete that is filled in the excavated portion of the strut base portion with the head extension portion.
제 1 항에 있어서, 상기 두부확장부는
상기 지주기초부의 두부를 확장토록, 상기 지주기초부의 두부에서 상기 지주기초부를 둘러싸도록 제공된 두부확장판; 및
상기 지주기초부와 상기 두부확장판을 연결하도록 제공된 복수 개의 보강리브를 포함하는 것을 특징으로 하는 가로시설물용 두부 확장 지주 기초구조물.
According to claim 1, wherein the head extension portion
A head extension plate provided to extend the head of the support base portion and surround the support base portion at the head of the support base portion; And
And a plurality of reinforcing ribs provided to connect the support base and the head extension plate.
제 3 항에 있어서, 상기 두부확장부는
상기 두부확장판의 상단에 고정되어, 상기 두부확장판에 상기 지주가 고정되도록 하는 고정부를 더 포함하는 것을 특징으로 하는 가로시설물용 두부 확장 지주 기초구조물.
According to claim 3, wherein the head extension portion
Fixed to the top of the head extension plate, the head extension pillar structure for a horizontal facility further comprising a fixing portion for fixing the support to the head extension plate.
제 4 항에 있어서,
상기 고정부는 상기 지주의 하단과 볼트결합되도록 상기 두부확장판 상단에 고정된 앵커볼트인 것을 특징으로 하는 가로시설물용 두부 확장 지주 기초구조물.
The method of claim 4, wherein
The fixing part is an anchor bolt fixed to the top of the head extension plate to be bolted to the lower end of the struts head extension structure for a horizontal facility.
제 4 항에 있어서, 상기 고정부는
상기 두부확장판의 상단에 고정된 앵커볼트 지지판; 및
상기 앵커볼트 지지판에 고정되어 상기 지주의 하단과 볼트결합되도록 제공된 앵커볼트를 포함하는 것을 특징으로 하는 가로시설물용 두부 확장 지주 기초구조물.
The method of claim 4, wherein the fixing portion
An anchor bolt support plate fixed to the top of the head extension plate; And
A head extension pillar structure for a horizontal facility, characterized in that it comprises an anchor bolt fixed to the anchor bolt support plate provided to be bolted to the bottom of the support.
제 1 항 내지 제 6 항 중 어느 한 항에 있어서,
상기 저항부는 상기 지주로 전달된 하중이 지반으로 전달되도록, 동일선 상에서 서로 다른 방향으로 돌출되어 상기 지주기초부의 외면에 형성된 복수 개의 저항판을 포함하는 것을 특징으로 하는 가로시설물용 두부 확장 지주 기초구조물.
The method according to any one of claims 1 to 6,
The resistance unit includes a plurality of resistance plates protruding in different directions on the same line on the same line so that the load transmitted to the struts are transferred to the ground, the head expansion strut foundation for the street facilities.
제 7 항에 있어서,
상기 저항판은 상기 두부확장부의 보강리브가 상기 지주기초부의 하부로 연장되어 형성된 것을 특징으로 하는 가로시설물용 두부 확장 지주 기초구조물.
The method of claim 7, wherein
The resistance plate is a head extension pillar structure for a horizontal facility, characterized in that the reinforcing ribs of the head extension portion is formed to extend to the lower portion of the pillar base portion.
지반이 굴착되는 단계;
굴착된 부분에서, 상기 제 1 항 내지 제 7 항 중 어느 한 항의 가로시설물용 두부 확장 지주 기초구조물이 항타되는 단계;
상기 가로시설물용 두부 확장 지주 기초구조물에 지주가 연결되는 단계; 및
상기 굴착된 부분으로, 콘크리트 또는 흙 중 어느 하나가 타설되는 단계;
를 포함하는 것을 특징으로 하는 가로시설물용 두부 확장 지주 기초구조물 시공방법.
Ground is excavated;
At the excavated portion, the head extension strut foundation for the traverse facility of any one of claims 1 to 7 being driven;
A pillar is connected to the head extension pillar structure for the horizontal facility; And
Pouring any one of concrete or soil into the excavated portion;
Tofu expansion pillar foundation structure construction method for a horizontal facility comprising a.
제 9 항에 있어서,
상기 지반이 굴착되는 단계에서,
굴착된 부분은 상기 가로시설물용 두부 확장 지주 기초구조물의 두부확장부가 지면 아래에 위치되도록 하는 깊이만큼 굴착된 것을 특징으로 하는 가로시설물용 두부 확장 지주 기초구조물 시공방법.
The method of claim 9,
In the step of excavating the ground,
The excavated portion of the head extension pillar structure for the street facilities, the head extension pillar structure for the street facilities, characterized in that the excavation to the depth to be located below the ground.
KR1020100084551A 2010-08-31 2010-08-31 Pillar foundation structure having expanded upper part of street facility and construction method thereof Ceased KR20120020739A (en)

Priority Applications (1)

Application Number Priority Date Filing Date Title
KR1020100084551A KR20120020739A (en) 2010-08-31 2010-08-31 Pillar foundation structure having expanded upper part of street facility and construction method thereof

Applications Claiming Priority (1)

Application Number Priority Date Filing Date Title
KR1020100084551A KR20120020739A (en) 2010-08-31 2010-08-31 Pillar foundation structure having expanded upper part of street facility and construction method thereof

Publications (1)

Publication Number Publication Date
KR20120020739A true KR20120020739A (en) 2012-03-08

Family

ID=46129277

Family Applications (1)

Application Number Title Priority Date Filing Date
KR1020100084551A Ceased KR20120020739A (en) 2010-08-31 2010-08-31 Pillar foundation structure having expanded upper part of street facility and construction method thereof

Country Status (1)

Country Link
KR (1) KR20120020739A (en)

Cited By (4)

* Cited by examiner, † Cited by third party
Publication number Priority date Publication date Assignee Title
KR20170062531A (en) * 2014-10-14 2017-06-07 가부시키가이샤 프로텍 엔지니어링 Support structure
CN109083188A (en) * 2018-08-30 2018-12-25 国网河南省电力公司兰考县供电公司 A kind of power tower rod base mounting device
KR102364065B1 (en) 2021-05-07 2022-02-18 주식회사 태하 Reinforcement structure device for struts applied to strut-type footbridges
KR102880232B1 (en) * 2025-02-05 2025-11-03 박승규 Steel pile foundation and its construction method

Cited By (4)

* Cited by examiner, † Cited by third party
Publication number Priority date Publication date Assignee Title
KR20170062531A (en) * 2014-10-14 2017-06-07 가부시키가이샤 프로텍 엔지니어링 Support structure
CN109083188A (en) * 2018-08-30 2018-12-25 国网河南省电力公司兰考县供电公司 A kind of power tower rod base mounting device
KR102364065B1 (en) 2021-05-07 2022-02-18 주식회사 태하 Reinforcement structure device for struts applied to strut-type footbridges
KR102880232B1 (en) * 2025-02-05 2025-11-03 박승규 Steel pile foundation and its construction method

Similar Documents

Publication Publication Date Title
KR101014796B1 (en) Top-down construction method using ready-made concrete pillar member
KR101344063B1 (en) The construction method of steel-concrete underpass
KR101687495B1 (en) Partial top-down construction method for building underground structures
KR101165451B1 (en) Pillar foundation structure of street facility and construction method thereof
JP2001241053A (en) Method for constructing underground structure
KR101351058B1 (en) Pillar foundation structure and construction method thereof
KR20120020739A (en) Pillar foundation structure having expanded upper part of street facility and construction method thereof
KR102392517B1 (en) Top-down method using by double beam system
KR20120020738A (en) Pillar foundation structure and construction method thereof
KR102286225B1 (en) Method for constructing underground structure busing PC integrating method without support
KR101137475B1 (en) Double steel pipe foundation and construction method thereof
KR20110137644A (en) Column fixing structure and construction method
KR101095957B1 (en) Door type road sign structure and construction method
KR200263526Y1 (en) Hanging semi down up system
KR101253841B1 (en) Vertically Inserting Column into the Eccentrically Bored Hole & the Method Thereof
KR101091545B1 (en) Strut foundation structure using hollow H-shaped pile, strut structure having same, installation method of strut foundation structure
CN214302989U (en) Add on-ground prefabricated parking garage
KR20090084038A (en) Strut structure and construction method
CN208701692U (en) The suspension device of interim deep basal pit for stake support structure
JP6404508B1 (en) Rebuilding method
KR200263525Y1 (en) Hanging semi down up system
KR101003855B1 (en) Road sign structure and construction method
KR200257288Y1 (en) The concrete form constructed basic concrete structure of pole in electric railroads
JP7050300B2 (en) Rebuilding method
KR20120114078A (en) A fixing structure of pillar and construction method thereof

Legal Events

Date Code Title Description
A201 Request for examination
PA0109 Patent application

Patent event code: PA01091R01D

Comment text: Patent Application

Patent event date: 20100831

PA0201 Request for examination
PG1501 Laying open of application
PE0902 Notice of grounds for rejection

Comment text: Notification of reason for refusal

Patent event date: 20120720

Patent event code: PE09021S01D

E601 Decision to refuse application
PE0601 Decision on rejection of patent

Patent event date: 20121227

Comment text: Decision to Refuse Application

Patent event code: PE06012S01D

Patent event date: 20120720

Comment text: Notification of reason for refusal

Patent event code: PE06011S01I