JP7706972B2 - 記録装置 - Google Patents

記録装置 Download PDF

Info

Publication number
JP7706972B2
JP7706972B2 JP2021123904A JP2021123904A JP7706972B2 JP 7706972 B2 JP7706972 B2 JP 7706972B2 JP 2021123904 A JP2021123904 A JP 2021123904A JP 2021123904 A JP2021123904 A JP 2021123904A JP 7706972 B2 JP7706972 B2 JP 7706972B2
Authority
JP
Japan
Prior art keywords
recording head
recording
ejection
ink
relative movement
Prior art date
Legal status (The legal status is an assumption and is not a legal conclusion. Google has not performed a legal analysis and makes no representation as to the accuracy of the status listed.)
Active
Application number
JP2021123904A
Other languages
English (en)
Other versions
JP2023019282A (ja
Inventor
智美 露木
康 飯島
祐輔 今橋
博 有水
有人 宮腰
禎宣 伊藤
英夫 杉村
崇嗣 堀場
誠治 鈴木
Current Assignee (The listed assignees may be inaccurate. Google has not performed a legal analysis and makes no representation or warranty as to the accuracy of the list.)
Canon Inc
Original Assignee
Canon Inc
Priority date (The priority date is an assumption and is not a legal conclusion. Google has not performed a legal analysis and makes no representation as to the accuracy of the date listed.)
Filing date
Publication date
Application filed by Canon Inc filed Critical Canon Inc
Priority to JP2021123904A priority Critical patent/JP7706972B2/ja
Priority to US17/875,209 priority patent/US11878513B2/en
Publication of JP2023019282A publication Critical patent/JP2023019282A/ja
Application granted granted Critical
Publication of JP7706972B2 publication Critical patent/JP7706972B2/ja
Active legal-status Critical Current
Anticipated expiration legal-status Critical

Links

Images

Classifications

    • BPERFORMING OPERATIONS; TRANSPORTING
    • B41PRINTING; LINING MACHINES; TYPEWRITERS; STAMPS
    • B41JTYPEWRITERS; SELECTIVE PRINTING MECHANISMS, i.e. MECHANISMS PRINTING OTHERWISE THAN FROM A FORME; CORRECTION OF TYPOGRAPHICAL ERRORS
    • B41J11/00Devices or arrangements  of selective printing mechanisms, e.g. ink-jet printers or thermal printers, for supporting or handling copy material in sheet or web form
    • B41J11/0015Devices or arrangements  of selective printing mechanisms, e.g. ink-jet printers or thermal printers, for supporting or handling copy material in sheet or web form for treating before, during or after printing or for uniform coating or laminating the copy material before or after printing
    • B41J11/002Curing or drying the ink on the copy materials, e.g. by heating or irradiating
    • B41J11/0022Curing or drying the ink on the copy materials, e.g. by heating or irradiating using convection means, e.g. by using a fan for blowing or sucking air
    • BPERFORMING OPERATIONS; TRANSPORTING
    • B41PRINTING; LINING MACHINES; TYPEWRITERS; STAMPS
    • B41JTYPEWRITERS; SELECTIVE PRINTING MECHANISMS, i.e. MECHANISMS PRINTING OTHERWISE THAN FROM A FORME; CORRECTION OF TYPOGRAPHICAL ERRORS
    • B41J2/00Typewriters or selective printing mechanisms characterised by the printing or marking process for which they are designed
    • B41J2/005Typewriters or selective printing mechanisms characterised by the printing or marking process for which they are designed characterised by bringing liquid or particles selectively into contact with a printing material
    • B41J2/01Ink jet
    • BPERFORMING OPERATIONS; TRANSPORTING
    • B41PRINTING; LINING MACHINES; TYPEWRITERS; STAMPS
    • B41JTYPEWRITERS; SELECTIVE PRINTING MECHANISMS, i.e. MECHANISMS PRINTING OTHERWISE THAN FROM A FORME; CORRECTION OF TYPOGRAPHICAL ERRORS
    • B41J2/00Typewriters or selective printing mechanisms characterised by the printing or marking process for which they are designed
    • B41J2/005Typewriters or selective printing mechanisms characterised by the printing or marking process for which they are designed characterised by bringing liquid or particles selectively into contact with a printing material
    • B41J2/01Ink jet
    • B41J2/135Nozzles
    • B41J2/165Prevention or detection of nozzle clogging, e.g. cleaning, capping or moistening for nozzles
    • B41J2/16517Cleaning of print head nozzles
    • BPERFORMING OPERATIONS; TRANSPORTING
    • B41PRINTING; LINING MACHINES; TYPEWRITERS; STAMPS
    • B41JTYPEWRITERS; SELECTIVE PRINTING MECHANISMS, i.e. MECHANISMS PRINTING OTHERWISE THAN FROM A FORME; CORRECTION OF TYPOGRAPHICAL ERRORS
    • B41J2/00Typewriters or selective printing mechanisms characterised by the printing or marking process for which they are designed
    • B41J2/005Typewriters or selective printing mechanisms characterised by the printing or marking process for which they are designed characterised by bringing liquid or particles selectively into contact with a printing material
    • B41J2/01Ink jet
    • B41J2/135Nozzles
    • B41J2/165Prevention or detection of nozzle clogging, e.g. cleaning, capping or moistening for nozzles
    • B41J2/16585Prevention or detection of nozzle clogging, e.g. cleaning, capping or moistening for nozzles for paper-width or non-reciprocating print heads
    • B41J2/16588Print heads movable towards the cleaning unit
    • BPERFORMING OPERATIONS; TRANSPORTING
    • B41PRINTING; LINING MACHINES; TYPEWRITERS; STAMPS
    • B41JTYPEWRITERS; SELECTIVE PRINTING MECHANISMS, i.e. MECHANISMS PRINTING OTHERWISE THAN FROM A FORME; CORRECTION OF TYPOGRAPHICAL ERRORS
    • B41J2/00Typewriters or selective printing mechanisms characterised by the printing or marking process for which they are designed
    • B41J2/005Typewriters or selective printing mechanisms characterised by the printing or marking process for which they are designed characterised by bringing liquid or particles selectively into contact with a printing material
    • B41J2/01Ink jet
    • B41J2/17Ink jet characterised by ink handling
    • B41J2/1714Conditioning of the outside of ink supply systems, e.g. inkjet collector cleaning, ink mist removal
    • BPERFORMING OPERATIONS; TRANSPORTING
    • B41PRINTING; LINING MACHINES; TYPEWRITERS; STAMPS
    • B41JTYPEWRITERS; SELECTIVE PRINTING MECHANISMS, i.e. MECHANISMS PRINTING OTHERWISE THAN FROM A FORME; CORRECTION OF TYPOGRAPHICAL ERRORS
    • B41J29/00Details of, or accessories for, typewriters or selective printing mechanisms not otherwise provided for
    • B41J29/377Cooling or ventilating arrangements
    • BPERFORMING OPERATIONS; TRANSPORTING
    • B41PRINTING; LINING MACHINES; TYPEWRITERS; STAMPS
    • B41JTYPEWRITERS; SELECTIVE PRINTING MECHANISMS, i.e. MECHANISMS PRINTING OTHERWISE THAN FROM A FORME; CORRECTION OF TYPOGRAPHICAL ERRORS
    • B41J29/00Details of, or accessories for, typewriters or selective printing mechanisms not otherwise provided for
    • B41J29/38Drives, motors, controls or automatic cut-off devices for the entire printing mechanism
    • BPERFORMING OPERATIONS; TRANSPORTING
    • B41PRINTING; LINING MACHINES; TYPEWRITERS; STAMPS
    • B41JTYPEWRITERS; SELECTIVE PRINTING MECHANISMS, i.e. MECHANISMS PRINTING OTHERWISE THAN FROM A FORME; CORRECTION OF TYPOGRAPHICAL ERRORS
    • B41J2/00Typewriters or selective printing mechanisms characterised by the printing or marking process for which they are designed
    • B41J2/005Typewriters or selective printing mechanisms characterised by the printing or marking process for which they are designed characterised by bringing liquid or particles selectively into contact with a printing material
    • B41J2/01Ink jet
    • B41J2002/012Ink jet with intermediate transfer member
    • BPERFORMING OPERATIONS; TRANSPORTING
    • B41PRINTING; LINING MACHINES; TYPEWRITERS; STAMPS
    • B41JTYPEWRITERS; SELECTIVE PRINTING MECHANISMS, i.e. MECHANISMS PRINTING OTHERWISE THAN FROM A FORME; CORRECTION OF TYPOGRAPHICAL ERRORS
    • B41J25/00Actions or mechanisms not otherwise provided for
    • B41J2025/008Actions or mechanisms not otherwise provided for comprising a plurality of print heads placed around a drum

Landscapes

  • Ink Jet (AREA)

Description

本発明は、送風機構を備える記録装置に関する。
インクジェット記録装置においては、記録ヘッドから吐出したインクが被吐出媒体上に着弾し、着弾したインク液滴から蒸発した水分が記録ヘッド面に到達し結露することがあり、記録ヘッドからの吐出の安定性が低下することがある。また、結露した水滴が被吐出媒体上に落下し、印字品質を劣化させる恐れがある。特許文献1には、インクジェット記録中に被吐出媒体上とインクジェット記と記録ヘッドとの隙間に送風を行うことで、記録ヘッドの周りの結露を防止することが開示されている。
国際公開第2017/009722号
特許文献1の構成は、被吐出媒体上に着弾したインク液滴から蒸発した水分が記録ヘッド面に到達し、記録ヘッド周りが結露するのを防止するために、記録ヘッドと記録媒体の間に流れの速い高速の気体を噴出している。この高速の気体は乱気流を引き起こすため、印字と印字の間に断続的に噴出し、印字中は噴射していない。しかし、インク液滴は被吐出媒体上に着弾した直後すぐに蒸発が始まる。そのため、印字直後は記録ヘッドと被吐出媒体上の間の空気に蒸発した水分が多く存在し、すぐに記録ヘッド面に水蒸気が到達する。つまり、印字中ではなく印字後に高速の気流を噴射しても、記録ヘッド面に水蒸気がすでに到達しており、記録ヘッド近傍が結露する可能性がある。記録ヘッド近傍が結露すると、インクを安定して吐出することが難しくなり、結露した水分を一緒に吐出することで印字品位を劣化させる恐れがある。
本発明は、記録ヘッドと被吐出媒体の隙間に吹き込まれた空気の風速を平滑化し、印字品位を良好に保つことを可能にする技術を提供することを目的とする。
上述の課題を解決するために、本発明の記録装置は、
液体を吐出する記録ヘッドと、
前記記録ヘッドと対向する位置を通過するように被吐出媒体を搬送する搬送部と、
空気の供給部と、
前記記録ヘッドと前記被吐出媒体との相対移動方向において前記記録ヘッドの上流側に配置され、前記供給部から供給された空気を、前記記録ヘッドと前記被吐出媒体との間の隙間に向けて吹き出すための吹き出し口を有する送風機構と、
を備える記録装置において、
前記送風機構は、前記被吐出媒体の搬送領域に対し、前記相対移動方向と直交する方向に対して前記相対移動方向の下流側に向かって傾斜した方向に面する対向面を有し、
前記吹き出し口は、前記相対移動方向と交差する方向に並ぶ複数のスリットで構成され、
前記複数のスリットは、前記対向面に形成されるとともに、隣接するスリットのそれぞれの長辺が、前記長辺と直交する方向において、互いに対向する領域を有するように、前記相対移動方向と交差する方向に並んでいることを特徴とする。
本発明によれば、記録ヘッドと被吐出媒体の隙間に吹き込まれた空気の風速を平滑化し、印字品位を良好に保つことが可能になる。
記録システムの概要図である。 記録ユニットの斜視図である。 図2の記録ユニットの変位態様の説明図である。 図1の記録システムの制御系のブロック図である。 図1の記録システムの制御系のブロック図である。 図1の記録システムの動作例の説明図である。 図1の記録システムの動作例の説明図である。 送風機構34と記録ヘッドの配置関係を示す側面図である。 送風機構34と記録ヘッドと回収機構の配置関係を示す側面図である。 送風機構34の拡大図2である。 送風機構34の斜視図である。 実施例1の送風機構34吹き出し口面の一部拡大図である。 実施例2の送風機構34吹き出し口面の一部拡大図である。 実施例3の送風機構34吹き出し口面の一部拡大図である。 実施例4の送風機構34吹き出し口面の一部拡大図である。 実施例5の送風機構34吹き出し口面の一部拡大図である。 実施例6の送風機構34吹き出し口面の一部拡大図である。 吹き出し口面の一部拡大図である。 吹き出し口面の一部拡大図である。 長方形スリットのその他の例である インクジェット記録装置のその他の例である
以下に図面を参照して、この発明を実施するための形態を、実施例に基づいて例示的に詳しく説明する。ただし、この実施の形態に記載されている構成部品の寸法、材質、形状それらの相対配置などは、発明が適用される装置の構成や各種条件により適宜変更されるべきものである。すなわち、この発明の範囲を以下の実施の形態に限定する趣旨のものではない。
<実施形態1>
<記録システム>
図1は本発明の一実施形態に係る記録システム1を概略的に示した正面図である。記録システム1は、転写体2を介して記録媒体Pにインク像を転写することで記録物P’を製造する、枚葉式のインクジェットプリンタである。記録システム1は、記録装置1Aと、搬送装置1Bとを含む。本実施形態では、X方向、Y方向、Z方向が、それぞれ、記録システム1の幅方向(全長方向)、奥行き方向、高さ方向を示している。記録媒体PはX方向に搬送される。
なお、「記録」には、文字、図形等有意の情報を形成する場合のみならず、有意無意を問わず、広く記録媒体上に画像、模様、パターン等を形成する、又は媒体の加工を行う場合も含まれ、人間が視覚で知覚し得るように顕在化したものであるか否かを問わない。また、本実施形態では「記録媒体」としてシート状の紙を想定するが、布、プラスチック・フィルム等であってもよい。
インクの成分については、特に限定はないが、本実施形態では、色材である顔料、水、樹脂を含む水性顔料インクを用いる場合を想定する。
<記録装置>
記録装置1Aは、記録ユニット3、転写ユニット4および周辺ユニット5A~5D、および、供給ユニット6を含む。
<記録ユニット>
図1、図2、図8を参照して、記録ユニット3について説明する。図2は記録ユニット3の斜視図である。記録ユニット3は、複数の記録ヘッド30と、キャリッジ31とを含む。記録ヘッド30は、転写体2に液体インクを吐出し、転写体2上に記録画像のインク像を形成する。
本実施形態の場合、各記録ヘッド30は、Y方向に延設されたフルライン記録ヘッドであり、使用可能な最大サイズの記録媒体の画像記録領域の幅分をカバーする範囲にノズルが配列されている。記録ヘッド30は、その下面に、ノズルが開口したインク吐出面を有しており、インク吐出面は、微小隙間(例えば数mm)を介して転写体2の表面と対向している。本実施形態の場合、転写体2は円軌道上を循環的に移動する構成であるため、複数の記録ヘッド30は、放射状に配置されている。
各ノズルには吐出素子が設けられている。吐出素子は、例えば、ノズル内に圧力を発生させてノズル内のインクを吐出させる素子であり、公知のインクジェットプリンタの記録ヘッドの技術が適用可能である。吐出素子としては、例えば電気-熱変換体によりインクに膜沸騰を生じさせ気泡を形成することでインクを吐出する素子、電気-機械変換体によってインクを吐出する素子、静電気を利用してインクを吐出する素子等が挙げられる。高速で高密度の記録の観点からは電気-熱変換体を利用した吐出素子を用いることができる。
本実施形態の場合、記録ヘッド30は、9つ設けられている。各記録ヘッド30は、互いに異なる種類のインクを吐出する。異なる種類のインクとは、例えば、色材が異なるインクであり、イエローインク、マゼンタインク、シアンインク、ブラックインク等のインクである。1つの記録ヘッド30は1種類のインクを吐出するが、1つの記録ヘッド30が複数種類のインクを吐出する構成であってもよい。このように複数の記録ヘッド30を設けた場合、そのうちの一部が色材を含まないインク(例えばクリアインク)を吐出してもよい。
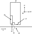
本実施形態の場合、図8に示すように、9つの記録ヘッド30の各々に対して、転写体2の相対的移動方向の記録ヘッド上流側に、記録ヘッドに隣接して送風機構34が設けられている。このように記録ヘッド30と送風機構34が、転写体2の外周面に沿って交互に放射状に配置されている。それぞれの送風機構34、記録ヘッド機構の内部に配置され、転写体2の表面と記録ヘッドの隙間に空気を吹き出すための吹き出し口35を備えている。また転写体に向いて吹き出し口が開口するために、送風機構34の一部の面が転写体2に向けた面に吹き出し口35を構成することで、吹き出し口35から出た空気が転写体2の表面と記録ヘッドの隙間を通りやすくすることができる。これにより、吐出時に吹き出し口35から空気を吹き出すことで、インクから蒸発した水蒸気が記録ヘッドに到達する前に転写体2の表面と記録ヘッドの間の水蒸気を隙間から排出することができ、記録ヘッド近傍が結露することを防ぐことができる。これによりインクを安定して吐出することができ、印字品位を良好に保つことが可能になる。
図1、図2に示すように(図8では図示省略)、キャリッジ31は、複数の記録ヘッド30および複数の送風機構34を支持する。各記録ヘッド30は、インク吐出面側の端部がキャリッジ31に固定されている。これにより、インク吐出面と転写体2との表面の隙
間をより精密に維持することができる。キャリッジ31は、案内部材RLの案内によって、記録ヘッド30を搭載しつつ各図におけるY方向に変位可能に構成されている。本実施形態の場合、案内部材RLは、Y方向に延設されたレール部材であり、X方向に離間して一対設けられている。キャリッジ31のX方向の各側部にはスライド部32が設けられている。スライド部32は案内部材RLと係合し、案内部材RLに沿ってY方向にスライドする。
図3は記録ユニット3の変位態様を示しており、記録システム1の右側面を模式的に示した図である。記録システム1の後部には回復ユニット12が設けられている。回復ユニット12は記録ヘッド30の吐出性能を回復する機構を有する。そのような機構としては、例えば、記録ヘッド30のインク吐出面をキャッピングするキャップ機構、インク吐出面をワイピングするワイパ機構、インク吐出面から記録ヘッド30内のインクを負圧吸引する吸引機構を挙げることができる。
案内部材RLは、転写体2の側方から回復ユニット12に渡って延設されている。記録ユニット3は、案内部材RLの案内により、実線で記録ユニット3を示した吐出位置POS1と、破線で記録ユニット3を示した回復位置POS3との間で変位可能であり、不図示の駆動機構により移動される。
吐出位置POS1は、記録ユニット3が転写体2にインクを吐出する位置であり、記録ヘッド30のインク吐出面が転写体2の表面に対向する位置である。回復位置POS3は、吐出位置POS1から退避した位置であり、記録ユニット3が回復ユニット12上に位置する位置である。回復ユニット12は記録ユニット3が回復位置POS3に位置した場合に、記録ヘッド30に対する回復処理を実行可能である。本実施形態の場合、記録ユニット3が回復位置POS3に到達する前の移動途中においても回復処理を実行可能である。吐出位置POS1と回復位置POS3の間に予備回復位置POS2がある。回復ユニット12は記録ヘッド30が吐出位置POS1から回復位置POS3へ移動している間に予備回復位置POS2において記録ヘッド30に対する予備的な回復処理を実行可能である。
<転写ユニット>
図1を参照して転写ユニット4(転写機構)について説明する。転写ユニット4は、転写ドラム(転写胴)41と、加圧部材としての圧胴42と、を含む。これらの胴(ドラム)は、Y方向の回転軸周りに回転する回転体であり、円筒形状の外周面を有している。図1において、転写ドラム41および圧胴42の各図形内に示した矢印は、これらの回転方向を示しており、転写ドラム41は時計回りに、圧胴42は反時計回りに回転する。
転写ドラム41は、その外周面に転写体2を支持する支持体である。転写体2は、転写ドラム41の外周面上に、周方向に連続的にあるいは間欠的に設けられる。連続的に設けられる場合、転写体2は無端の帯状に形成される。間欠的に設けられる場合、転写体2は、有端の帯状に複数のセグメントに分けて形成され、各セグメントは転写ドラム41の外周面に等ピッチで円弧状に配置することができる。
転写ドラム41の回転により、転写体2は円軌道上を循環的に移動する。転写ドラム41の回転位相により、転写体2の位置は、吐出前処理領域R1、吐出領域R2、吐出後処理領域R3およびR4、転写領域R5、転写後処理領域R6に区別することができる。転写体2はこれらの領域を循環的に通過する。
吐出前処理領域R1は、記録ユニット3によるインクの吐出前に転写体2に対する前処理を行う領域であり、周辺ユニット5Aによる処理が行われる領域である。本実施形態の
場合、反応液が付与される。吐出領域R2は記録ユニット3が転写体2にインクを吐出してインク像を形成する領域である。吐出後処理領域R3およびR4はインクの吐出後にインク像に対する処理を行う処理領域であり、吐出後処理領域R3は周辺ユニット5Bによる処理が行われる領域であり、吐出後処理領域R4は周辺ユニット5Cによる処理が行われる領域である。転写領域R5は転写ユニット4により転写体2上のインク像が記録媒体Pに転写される領域である。転写後処理領域R6は、転写後に転写体2に対する後処理を行う領域であり、周辺ユニット5Dによる処理が行われる領域である。
本実施形態の場合、吐出領域R2は、一定の区間を有する領域である。他の領域R1、R3~R6は、吐出領域R2に比べるとその区間は狭い。時計の文字盤に喩えると、本実施形態の場合、吐出前処理領域R1は概ね10時の位置であり、吐出領域R2は概ね11時から1時の範囲であり、吐出後処理領域R3は概ね2時の位置であり、吐出後処理領域R4は概ね4時の位置である。転写領域R5は概ね6時の位置であり、転写後処理領域R6は概ね8時の領域である。
転写体2は、単層から構成してもよいが、複数層の積層体としてもよい。複数層で構成する場合、例えば、表面層、弾性層、圧縮層の三層を含んでもよい。表面層はインク像が形成される画像形成面を有する最外層である。圧縮層を設けることで、圧縮層が変形を吸収し、局所的な圧力変動に対してその変動を分散し、高速記録時においても転写性を維持することができる。弾性層は表面層と圧縮層との間の層である。
表面層の材料としては、樹脂、セラミック等各種材料を適宜用いることができるが、耐久性等の点で圧縮弾性率の高い材料を用いることができる。具体的には、アクリル樹脂、アクリルシリコーン樹脂、フッ素含有樹脂、加水分解性有機ケイ素化合物を縮合して得られる縮合物等が挙げられる。表面層には、反応液の濡れ性、画像の転写性等を向上させるために、表面処理を施して用いてもよい。表面処理としては、フレーム処理、コロナ処理、プラズマ処理、研磨処理、粗化処理、活性エネルギー線照射処理、オゾン処理、界面活性剤処理、シランカップリング処理などが挙げられる。これらを複数組み合わせてもよい。また、表面層に任意の表面形状を設けることもできる。
圧縮層の材料としては、例えばアクリロニトリル-ブタジエンゴム、アクリルゴム、クロロプレンゴム、ウレタンゴム、シリコーンゴム等が挙げられる。このようなゴム材料の成形時には、所定量の加硫剤、加硫促進剤等を配合し、さらに発泡剤、中空微粒子或いは食塩等の充填剤を必要に応じて配合し、多孔質のゴム材料としてもよい。これにより、様々な圧力変動に対して気泡部分が体積変化を伴って圧縮されるため、圧縮方向以外への変形が小さく、より安定した転写性、耐久性を得ることができる。多孔質のゴム材料としては、各気孔が互いに連続した連続気孔構造のものと、各気孔がそれぞれ独立した独立気孔構造のものがあるが、いずれの構造であってもよく、これらの構造を併用してもよい。
弾性層の部材としては、樹脂、セラミック等、各種材料を適宜用いることができる。加工特性等の点で、各種エラストマー材料、ゴム材料を用いることができる。具体的には、例えばフルオロシリコーンゴム、フェニルシリコーンゴム、フッ素ゴム、クロロプレンゴム、ウレタンゴム、ニトリルゴム等が挙げられる。また、エチレンプロピレンゴム、天然ゴム、スチレンゴム、イソプレンゴム、ブタジエンゴム、エチレン/プロピレン/ブタジエンのコポリマー、ニトリルブタジエンゴム等が挙げられる。特に、シリコーンゴム、フルオロシリコーンゴム、フェニルシリコーンゴムは、圧縮永久ひずみが小さいため、寸法安定性、耐久性の面で有利である。また、温度による弾性率の変化が小さく、転写性の点でも有利である。
表面層と弾性層の間、弾性層と圧縮層の間には、これらを固定するために各種接着剤や
両面テープを用いることもできる。また、転写体2は、転写ドラム41に装着する際の横伸びの抑制や、コシを保つために圧縮弾性率が高い補強層を含んでもよい。また、織布を補強層としてもよい。転写体2は前記材質による各層を任意に組み合わせて作製することができる。
圧胴42は、その外周面が転写体2に圧接される。圧胴42の外周面には、記録媒体Pの先端部を保持するグリップ機構が少なくとも一つ設けられている。グリップ機構は圧胴42の周方向に離間して複数設けてもよい。記録媒体Pは圧胴42の外周面に密接して搬送されつつ、圧胴42と転写体2とのニップ部(転写部)を通過するときに、転写体2上のインク像が転写される。
<周辺ユニット>
周辺ユニット5A~5Dは転写胴2の周囲に配置されている。本実施形態の場合、周辺ユニット5A~5Dは、順に、付与ユニット、吸収ユニット、加熱ユニット、清掃ユニットである。
付与ユニット5Aは、記録ユニット3によるインクの吐出前に、転写体2上に反応液を付与する機構である。反応液は、インクを高粘度化する成分を含有する液体である。ここで、インクの高粘度化とは、インクを構成している色材や樹脂等がインクを高粘度化する成分と接触することによって化学的に反応し、あるいは物理的に吸着し、これによってインクの粘度の上昇が認められることである。このインクの高粘度化には、インク全体の粘度上昇が認められる場合のみならず、色材や樹脂等のインクを構成する成分の一部が凝集することにより局所的に粘度の上昇が生じる場合も含まれる。
インクを高粘度化する成分は、金属イオン、高分子凝集剤など、特に制限はないが、インクのpH変化を引き起こして、インク中の色材を凝集させる物質を用いることができ、有機酸を用いることができる。反応液の付与機構としては、例えば、ローラ、記録ヘッド、ダイコーティング装置(ダイコータ)、ブレードコーティング装置(ブレードコータ)などが挙げられる。転写体2に対するインクの吐出前に反応液を転写体2に付与しておくと、転写体2に達したインクを直ちに定着させることができる。これにより、隣接するインク同士が混ざり合うブリーディングを抑制することができる。
吸収ユニット5Bは、転写前に、転写体2上のインク像から液体成分を吸収する機構である。インク像の液体成分を減少させることで、記録媒体Pに記録される画像のにじみ等を抑制することができる。液体成分の減少を異なる視点で説明すれば、転写体2上のインク像を構成するインクを濃縮すると表現することもできる。インクを濃縮するとは、インクに含まれる液体成分が減少することによって、インクに含まれる色材や樹脂といった固形分の液体成分に対する含有割合が増加することを意味する。
吸収ユニット5Bは、例えば、インク像に接触してインク像の液体成分の量を減少させる液吸収部材を含む。液吸収部材はローラの外周面に形成されてもよいし、液吸収部材が無端のシート状に形成され、循環的に走行されるものでもよい。インク像の保護の点で、液吸収部材の移動速度を転写体2の周速度と同じにして液吸収部材を転写体2と同期して移動させてもよい。
液吸収部材は、インク像に接触する多孔質体を含んでもよい。液吸収部材へのインク固形分付着を抑制するため、インク像に接触する面の多孔質体の孔径は、10μm以下であってもよい。ここで、孔径とは平均直径のことを示し、公知の手段、例えば水銀圧入法や、窒素吸着法、SEM画像観察等で測定可能である。なお、液体成分は、一定の形を有さず、流動性があり、ほぼ一定の体積を有するものであれば、特に限定されるものではない
。例えば、インクや反応液に含まれる水や有機溶媒等が液体成分として挙げられる。
加熱ユニット5Cは、転写前に、転写体2上のインク像を加熱する機構である。インク像を加熱することで、インク像中の樹脂が溶融し、記録媒体Pへの転写性を向上する。加熱温度は、樹脂の最低造膜温度(MFT)以上とすることができる。MFTは一般的に知られている手法、例えばJIS K 6828-2:2003や、ISO2115:1996に準拠した各装置で測定することが可能である。転写性及び画像の堅牢性の観点から、MFTよりも10℃以上高い温度で加熱してもよく、更に、20℃以上高い温度で加熱してもよい。加熱ユニット5Cは、例えば、赤外線等の各種ランプ、温風ファン等、公知の加熱デバイスを用いることができる。加熱効率の点で、赤外線ヒータを用いることができる。
清掃ユニット5Dは、転写後に転写体2上を清掃する機構である。清掃ユニット5Dは、転写体2上に残留したインクや、転写体2上のごみ等を除去する。清掃ユニット5Dは、例えば、多孔質部材を転写体2に接触させる方式、ブラシで転写体2の表面を擦る方式、ブレードで転写体2の表面をかきとる方式等の公知の方式を適宜用いることができる。また、清掃に用いる清掃部材は、ローラ形状、ウェブ形状等、公知の形状を用いることができる。
以上の通り、本実施形態では、付与ユニット5A、吸収ユニット5B、加熱ユニット5C、清掃ユニット5Dを周辺ユニットとして備えるが、これらの一部のユニットに転写体2の冷却機能を付与するか、あるいは、冷却ユニットを追加してもよい。本実施形態では、加熱ユニット5Cの熱により転写体2の温度が上昇する場合がある。記録ユニット3により転写体2にインクを吐出した後、インク像がインクの主溶剤である水の沸点を超えると、吸収ユニット5Bによる液体成分の吸収性能が低下する場合がある。吐出されたインクが水の沸点未満に維持されるように転写体2を冷却することで、液体成分の吸収性能を維持することができる。
冷却ユニットは、転写体2に送風する送風機構34や、転写体2に部材(例えばローラ)を接触させ、この部材を空冷または水冷で冷却する機構であってもよい。また、清掃ユニット5Dの清掃部材を冷却する機構であってもよい。冷却タイミングは、転写後、反応液の付与前までの期間であってもよい。
<供給ユニット>
供給ユニット6は、記録ユニット3の各記録ヘッド30にインクを供給する機構である。供給ユニット6は記録システム1の後部側に設けられていてもよい。供給ユニット6は、インクの種類毎に、インクを貯留する貯留部TKを備える。貯留部TKは、メインタンクとサブタンクとによって構成されてもよい。各貯留部TKと各記録ヘッド30とは流路6aで連通し、貯留部TKから記録ヘッド30へインクが供給される。流路6aは、貯留部TKと記録ヘッド30との間でインクを循環させる流路であってもよく、供給ユニット6はインクを循環させるポンプ等を備えてもよい。流路6aの途中または貯留部TKには、インク中の気泡を脱気する脱気機構を設けてもよい。流路6aの途中または貯留部TKには、インクの液圧と大気圧との調整を行うバルブを設けてもよい。貯留部TK内のインク液面が、記録ヘッド30のインク吐出面よりも低い位置となるように、貯留部TKと記録ヘッド30のZ方向の高さが設計されてもよい。
<搬送装置>
搬送装置1Bは、記録媒体Pを転写ユニット4へ給送し、インク像が転写された記録物P’を転写ユニット4から排出する装置である。搬送装置1Bは、給送ユニット7、複数の搬送胴8、8a、二つのスプロケット8b、チェーン8cおよび回収ユニット8dを含
む。図1において、搬送装置1Bの各構成の図形の内側の矢印は、その構成の回転方向を示し、外側の矢印は、記録媒体Pまたは記録物P’の搬送経路を示している。記録媒体Pは、給送ユニット7から転写ユニット4へ搬送され、記録物P’(画像が記録された記録媒体)は、転写ユニット4から回収ユニット8dへ搬送される。給送ユニット7側を搬送方向で上流側と呼び、回収ユニット8d側を下流側と呼ぶ場合がある。
給送ユニット7は、複数の記録媒体Pが積載される積載部を含むと共に、積載部から一枚ずつ記録媒体Pを、最上流の搬送胴8に給送する給送機構を含む。各搬送胴8、8aはY方向の回転軸周りに回転する回転体であり、円筒形状の外周面を有している。各搬送胴8、8aの外周面には、記録媒体P(または記録物P’)の先端部を保持するグリップ機構が少なくとも一つ設けられている。各グリップ機構は、隣接する搬送胴間で記録媒体Pを受け渡されるように、その把持動作および解除動作が制御される。
二つの搬送胴8aは、記録媒体Pの反転用の搬送胴である。記録媒体Pを両面記録する場合、表面(第1面)への転写後に、圧胴42から下流側に隣接する搬送胴8へ記録媒体Pを渡さずに、搬送胴8aに渡す。記録媒体Pは、二つの搬送胴8aを経由して表裏が反転され、圧胴42の上流側の搬送胴8を経由して再び圧胴42へ渡される。これにより、記録媒体Pの裏面が転写ドラム41に面することになり、裏面(第2面)にインク像が転写される。
チェーン8cは、二つのスプロケット8b間に巻き回されている。二つのスプロケット8bの一方は駆動スプロケットであり他方は従動スプロケットである。駆動スプロケットの回転によりチェーン8cが循環的に走行する。チェーン8cには、その長手方向に離間して複数のグリップ機構が設けられている。グリップ機構は、記録物P’の端部を把持する。下流端に位置する搬送胴8からチェーン8cのグリップ機構に記録物P’が渡され、グリップ機構に把持された記録物P’はチェーン8cの走行により回収ユニット8dへ搬送され、把持が解除される。これにより記録物P’が回収ユニット8d内に積載される。
<後処理ユニット>
搬送装置1Bには、後処理ユニット10A、10Bが設けられている。後処理ユニット10A、10Bは、転写ユニット4よりも下流側に配置され、記録物P’に対して後処理を行う機構である。後処理ユニット10Aは、記録物P’の表面(第1面)に対する処理を行い、後処理ユニット10Bは、記録物P’の裏面(第2面)に対する処理を行う。処理の内容としては、例えば、記録物P’の画像記録面に、画像の保護や艶出し等を目的としたコーティングを挙げることができる。コーティングの内容としては、例えば、液体の塗布、シートの溶着、ラミネート等を挙げることができる。
<検査ユニット>
搬送装置1Bには、検査ユニット9A、9Bが設けられている。検査ユニット9A、9Bは転写ユニット4よりも下流側に配置され、記録物P’の検査を行う機構である。
本実施形態の場合、検査ユニット9Aは、記録物P’に記録された画像を撮影する撮影装置であり、例えば、CCDセンサやCMOSセンサ等の撮像素子を含む。検査ユニット9Aは、連続的に行われる記録動作中に、記録画像を撮影する。検査ユニット9Aが撮影した画像に基づいて、記録画像の色味などの経時変化を確認し、画像データあるいは記録データの補正の可否を判断することができる。本実施形態の場合、検査ユニット9Aは、圧胴42の外周面に撮像範囲が設定されており、転写直後の記録画像を部分的に撮影可能に配置されている。検査ユニット9Aにより全ての記録画像の検査を行ってもよいし、所定数毎に検査を行ってもよい。
本実施形態の場合、検査ユニット9Bも、記録物P’に記録された画像を撮影する撮影装置であり、例えば、CCDセンサやCMOSセンサ等の撮像素子を含む。検査ユニット9Bは、テスト記録動作において記録画像を撮影する。検査ユニット9Bは、記録画像の全体を撮影し、検査ユニット9Bが撮影した画像に基づいて、記録データに関する各種の補正の基本設定を行うことができる。本実施形態の場合、チェーン8cで搬送される記録物P’を撮影する位置に配置されている。検査ユニット9Bにより記録画像を撮影する場合、チェーン8cの走行を一時的に停止して、その全体を撮影する。検査ユニット9Bは、記録物P’上を走査するスキャナであってもよい。
<制御ユニット>
次に、記録システム1の制御ユニットについて説明する。図4および図5は記録システム1の制御ユニット13のブロック図である。制御ユニット13は、上位装置(DFE)HC2に通信可能に接続され、また、上位装置HC2は、ホスト装置HC1に通信可能に接続される。
ホスト装置HC1では、記録画像の元になる原稿データが生成、あるいは保存される。ここでの原稿データは、例えば、文書ファイルや画像ファイル等の電子ファイルの形式で生成される。この原稿データは、上位装置HC2へ送信され、上位装置HC2では、受信した原稿データを制御ユニット13で利用可能なデータ形式(例えば、RGBで画像を表現するRGBデータ)に変換する。変換後のデータは、画像データとして上位装置HC2から制御ユニット13へ送信され、制御ユニット13は受信した画像データに基づき、記録動作を開始する。
本実施形態の場合、制御ユニット13は、メインコントローラ13Aと、エンジンコントローラ13Bとに大別される。メインコントローラ13Aは、処理部131、記憶部132、操作部133、画像処理部134、通信I/F(インタフェース)135、バッファ136および通信I/F137を含む。
処理部131は、CPU等のプロセッサであり、記憶部132に記憶されたプログラムを実行し、メインコントローラ13A全体の制御を行う。記憶部132は、RAM、ROM、ハードディスク、SSD等の記憶デバイスであり、CPU131が実行するプログラムや、データを格納し、また、CPU131にワークエリアを提供する。操作部133は、例えば、タッチパネル、キーボード、マウス等の入力デバイスであり、ユーザの指示を受け付ける。
画像処理部134は、例えば画像処理プロセッサを有する電子回路である。バッファ136は、例えば、RAM、ハードディスクやSSDである。通信I/F135は上位装置HC2との通信を行い、通信I/F137はエンジンコントローラ13Bとの通信を行う。図4において破線矢印は、画像データの処理の流れを例示している。上位装置HC2から通信IF135を介して受信された画像データは、バッファ136に蓄積される。画像処理部134は、バッファ136から画像データを読み出し、読み出した画像データに所定の画像処理を施して、再びバッファ136に格納する。バッファ136に格納された画像処理後の画像データは、プリントエンジンが用いる記録データとして、通信I/F137からエンジンコントローラ13Bへ送信される。
図5に示すように、エンジンコントローラ13Bは、各種の制御部14、15A~15Eを含み、記録システム1が備えるセンサ群およびアクチュエータ群16の検知結果の取得および駆動制御を行う。これらの各制御部は、CPU等のプロセッサ、RAMやROM等の記憶デバイス、外部デバイスとのインタフェースを含む。なお、制御部の区分けは一例であり、一部の制御を更に細分化した複数の制御部で実行してもよいし、逆に、複数の
制御部を統合して、それらの制御内容を一つの制御部で行うように構成してもよい。
エンジン制御部14は、エンジンコントローラ13Bの全体の制御を行う。記録制御部15Aは、メインコントローラ13Aから受信した記録データをラスタデータ等、記録ヘッド30の駆動に適したデータ形式に変換する。記録制御部15Aは、各記録ヘッド30の吐出制御を行う。
転写制御部15Bは、付与ユニット5Aの制御、吸収ユニット5Bの制御、加熱ユニット5Cの制御、および清掃ユニット5Dの制御を行う。
信頼性制御部15Cは、供給ユニット6の制御、回復ユニット12の制御、および記録ユニット3を吐出位置POS1と回復位置POS3との間で移動させる駆動機構の制御を行う。
搬送制御部15Dは、搬送装置1Bの制御を行う。検査制御部15Eは、検査ユニット9Bの制御、および検査ユニット9Aの制御を行う。
センサ群およびアクチュエータ群16のうち、センサ群には、可動部の位置や速度を検知するセンサ、温度を検知するセンサ、撮像素子等が含まれる。アクチュエータ群にはモータ、電磁ソレノイド、電磁バルブ等が含まれる。
<動作例>
図6は記録動作の例を模式的に示す図である。転写ドラム41および圧胴42が回転されつつ、以下の各工程が循環的に行われる。状態ST1に示すように、始めに転写体2上に付与ユニット5Aから反応液Lが付与される。転写体2上の反応液Lが付与された部位は転写ドラム41の回転に伴って移動していく。反応液Lが付与された部位が記録ヘッド30の下に到達すると、状態ST2に示すように記録ヘッド30から転写体2にインクが吐出される。これによりインク像IMが形成される。その際、吐出されるインクが転写体2上の反応液Lと混ざりあうことで、色材の凝集が促進される。吐出されるインクは、供給ユニット6の貯留部TKから記録ヘッド30に供給される。
転写体2上のインク像IMは、転写体2の回転に伴って移動していく。インク像IMが吸収ユニット5Bに到達すると、状態ST3に示すように、吸収ユニット5Bによりインク像IMから液体成分が吸収される。インク像IMが加熱ユニット5Cに到達すると、状態ST4に示すように、加熱ユニット5Cによりインク像IMが加熱され、インク像IM中の樹脂が溶融し、インク像IMが造膜される。このようなインク像IMの形成に同期して、搬送装置1Bにより記録媒体Pが搬送される。
状態ST5に示すように、インク像IMと記録媒体Pとが転写体2と圧胴42とのニップ部に到達し、記録媒体Pにインク像IMが転写され、記録物P’が製造される。ニップ部を通過すると、記録物P’に記録された画像が検査ユニット9Aにより撮影され、記録画像が検査される。記録物P’は搬送装置1Bにより回収ユニット8dへ搬送される。
転写体2上のインク像IMが形成されていた部分は、清掃ユニット5Dに到達すると状態ST6に示すように、清掃ユニット5Dにより清掃される。清掃後、転写体2は一回転したことになり、同様の手順で記録媒体Pへのインク像の転写が繰り返し行われる。上記の説明では理解を容易にするために、転写体2の一回転で一枚の記録媒体Pへのインク像IMの転写が一回行われるように説明したが、転写体2の一回転で複数枚の記録媒体Pへのインク像IMの転写が連続的に行うことができる。
このような記録動作を継続していくと、各記録ヘッド30のメンテナンスが必要となる。図7は各記録ヘッド30のメンテナンスの際の動作例を示している。状態ST11は、吐出位置POS1に記録ユニット3が位置している状態を示す。状態ST12は、記録ユニット3が予備回復位置POS2を通過している状態を示し、通過中に回復ユニット12により記録ユニット3の各記録ヘッド30の吐出性能を回復する処理が実行される。その後、状態ST13に示すように、記録ユニット3が回復位置POS3に位置した状態で、回復ユニット12により各記録ヘッド30の吐出性能を回復する処理が実行される。
<他の実施形態>
以上では、転写ドラム41の外周面に設けられた転写体2上にインク像を形成し、当該インク像を記録媒体Pに転写することで記録媒体Pに画像を記録する転写型の記録装置について説明した。しかし、これに限らず、搬送される記録媒体Pに対して記録ヘッド30からインクを吐出して直接画像を記録する直描型の記録装置であってもよい。また以上では、記録ユニット3が複数の記録ヘッド30を有する構成であったが、一つの記録ヘッド30を有する構成としてもよい。また、記録ヘッド30はフルラインヘッドでなくてもよく、記録ヘッド30を着脱自在に搭載するキャリッジをY方向に移動させながら記録ヘッド30からインクを吐出してインク像を形成するシリアル型の記録ヘッドであってもよい。
記録媒体Pの搬送機構は、ローラ対によって記録媒体Pを挟持して搬送する方式等、他の方式であってもよい。ローラ対によって記録媒体Pを搬送する方式等においては、記録媒体Pとしてロールシートを用いてもよく、転写後にロールシートをカットして記録物P’を製造してもよい。
上記実施形態では、転写体2を転写ドラム41の外周面に設けたが、転写体2を無端の帯状に形成し、循環的に走行させる方式等、他の方式であってもよい。
また、本発明は上述の実施形態の1以上の機能を実現するプログラムをネットワーク又は記憶媒体を介してシステム又は装置に供給し、そのシステム又は装置のコンピュータにおける1つ以上のプロセッサがプログラムを読出し実行する処理でも実現可能である。また、1以上の機能を実現する回路(例えば、ASIC)によっても実現可能である。
<従来の送風機構の課題>
フルラインのインクジェット記録装置の記録ヘッドは、記録ヘッドからインク吐出時に送風機構の吹き出し口から記録ヘッドと被吐出媒体の隙間に空気を積極的に吹き出す場合、吹き出された空気の風速は吐出面下で平滑化され適度な速さで通ることが望ましい。記録ヘッドと被吐出媒体の隙間に吹き込んだ空気の風速を平滑化させるためには、送風機構の吹き出し口は長手方向に細長く伸びた開口を容易に考えることができる。しかし、フルライン記録ヘッドの場合は長手方向に開口を持つ細長いスリットになってしまい、技術的に製作するのが難しいという問題がある。また、細長い開口が製作できたとしても、開口している送風機構の面の強度が弱くなってしまい、面の精度を保つことができず、安定した空気の吹き出しを行うことが難しくなる。細長い開口を回避し、図18のようにスリットの長辺を短く区切った場合は、送風機構から吹き出した空気は、記録ヘッドと被吐出媒体の隙間で、隣合う開口の間の空気の風速が重ならないために、記録ヘッド下で吹き込んだ空気の風速が平滑化しない。
<本実施例の送風機構の特徴>
本発明の実施例に係る送風機構を用いることで、記録ヘッドと被吐出媒体の隙間に吹き込まれた空気の風速を平滑化することが可能である。記録ヘッドと被吐出媒体の隙間に空
気を吹き込むとインク液滴にわずかに影響を及ぼし、ヨレが発生する。しかし本実施例の構成では吹き込まれた空気の風速は平滑化しているため、長手方向全域に一様にヨレが発生し、結果として印字品位の低下は引き起こされない。また、吐出時に記録ヘッド被吐出媒体の隙間を吹き込まれた空気が通ることで、着弾したインク液滴から蒸発した水蒸気を記録ヘッドに到達する前に被記録媒体の表面と記録ヘッドの間から排出することができ、記録ヘッド近傍の結露を防ぐことができる。また記録ヘッド近傍の結露を抑制させることとで、結露が液滴となって被吐出媒体上に落下して、被吐出媒体を汚染することを防ぐことが可能である。よって本実施例に係る送風機構を用いると、印字品位を良好に保つことが可能なインクジェット記録装置を提供することができる。
以降、本発明の実施例に係る送風機構34の詳細構造について説明する。
<実施例1>
図10は、図8の送風機構34と記録ヘッド30の一例を拡大して表示している。図中、送風機構34は記録ヘッド30と一体化しており、搬送部としての転写ドラム(転写胴)41によって搬送される被吐出媒体36と吐出面37の隙間に積極的に空気を吹き出している。吹き出すための空気の供給機構(空気流の供給部)は、送風機構34外部に設置され、送風機構34に空気を供給している。送風機構34に空気を供給するための空気供給配管210が設置され空気供給配管210ポンプ等の空気供給圧力源212に接続されており、それぞれの配管には流量を調整するための空気供給調整用バルブ211が接続されている。本実施例は、ライン記録ヘッド長手方向800mm全域に空気を吹き込むための吹き出し口35が設けられている。
図11は、記録ヘッドから取り外した送風機構34の外観の斜視図である。送風機構34の長手方向の側面には空気供給孔50が設けられ、空気供給配管210に接続するためのジョイントが接続される。また、記録ヘッド30の上流側から被吐出媒体36と吐出面37の隙間に向かって空気を吹き出すために、吹き出し口35が設けられている送風機構34の面(対向面)38は被吐出媒体36に向くように斜めに傾けられている。すなわち、面38は、被吐出媒体36の搬送領域に対し、記録ヘッド30と被吐出媒体36との相対移動方向(被吐出媒体36の搬送方向)TFと直交する高さ方向Hに対して相対移動方向TFの下流側に向かうように傾斜した方向に面する。本実施例では記録ヘッド30と被吐出媒体36の隙間(高さ方向Hにおける最短距離)は1.8mmを想定しているが、その他の隙間寸法でも本発明の効果を発揮する。これは、特に記載がなければその他の実施例でも同じである。
吹き出し口35は、本発明である開口する略長方形形状を持つ複数の長方形スリットから構成され、複数の長方形スリットの配置方向は、被吐出媒体36に平行であり、図12はその長方形スリットの一部を拡大している。すなわち、吹き出し口35を構成する複数の長方形スリットTは、対向面38上において、記録ヘッド30と被吐出媒体36との相対移動方向TF(すなわち、被吐出媒体36の搬送方向)と直交する方向に並ぶように配置される。
図12は送風機構34の吹き出し口35の開口面を、本紙面と平行になるように図示している。本実施例の長方形スリットは、長辺の長さa=2.6mm、短辺の長さb=0.4mmから構成され、長方形スリットが配置される配置方向に対して、45度傾くように長方形スリットが開口している。本実施例では、搬送方向と直交する被吐出媒体36の幅方向Wの全域をカバーすべく、ライン記録ヘッド長手方向800mmに合計355個の長方形スリットを構成している。そして、送風機構34から110l/minの風量を吹き出す場合、長方形スリット1個から出る空気の平均風速V=3.9m/sである。本実施例において、長方形スリットから搬送方向hにm=20mmの位置で記録ヘッド30と被
吐出媒体36の隙間に吹き込まれた空気が平滑化するために、隣り合う長方形スリットの長辺同士がとれる最短距離の最大値maxSは、
d =(b×m)-1/4
=0.71
maxS =(b/m)-1/2×V-d
=5.0
となり、maxS=5.0mmである。
同じように、本実施例の長方形スリットを用いて送風機構34から40l/minの風量を吹き出す場合、長方形スリット1個から出る空気の平均風速V=1.4m/sである。そして、長方形スリットから搬送方向hにm=20mmの位置で記録ヘッド30と被吐出媒体36の隙間に吹き込まれた空気が平滑化するために、隣り合う長方形スリットの長辺同士がとれる最短距離の最大値maxSは、maxS=7mmである。本実施例の長方形スリットを用いて風量110l/minを吹き出す場合は、最短距離が5.0mm以下、風量40l/minを吹き出す場合は、最短距離が7.0mm以下になるように各スリットを配置する必要がある。本実施例では、隣り合う長方形スリットの長辺同士の最短距離sは1mmになるように配置している。また、本実施例では長方形スリットの短辺は、製造上φ0.4mmの円で丸めている。
図12に示すように、本実施例では、複数の長方形スリットTが、それぞれ、被吐出媒体36の搬送方向と直交する方向に対して同じ角度で傾斜するように配置される。なお、本実施例では、複数の長方形スリットTの並び方向が、被吐出媒体36の搬送方向(記録ヘッド30と被吐出媒体36との相対移動方向)に対して直交する構成としているが、直交方向に対して多少の角度を有して交差する方向であってもよい。また、被吐出媒体36に対する第1の長方形スリットT1の長辺の正射影Pと、同じく第2のスリットの長方形スリットT2の長辺の正射影Qは連続するように長方形スリットが配置されている。
また本実施例では、第1の長方形スリットT1の長辺に対する第2の長方形スリット2の長辺の正射影の有向距離cはc=1.3mmである。有向距離cは、互いに隣接する長方形スリットTのそれぞれの長辺が、長辺と直交する方向において、互いに対向する領域における、当該領域の長辺に沿った方向の距離である。
本実施例において、長方形スリットから搬送方向にm=20mmの位置でライン記録ヘッドと被吐出媒体36の隙間に吹き込まれた空気の最大風速maxvと最小風速minvとした場合、minv/maxv≧0.5になるように平滑化されることが望ましい。これは隙間を通る吹き込まれた空気吐出したインク液滴にわずかに影響しヨレの発生が多少あるが、吹き込まれた風速分布が平滑化されていることで、長手方向全域に一様にヨレが発生するため、結果として印字品位の低下は引き起こされない。しかし、minv/maxv<0.5の場合は、吹き込まれた空気の風速分布の強弱によって、長手方向全域でヨレが一様に発生しない。そのため、長手方向で着弾位置のずれが発生し、結果として印字品位の低下につながる。これは、他の実施例でも同じである。
本実施例を用い、L=110l/minでシミュレーションで計算を行うと、
maxv =2.1 m/sec
minv = 1.8 m/sec
で、minv /maxv =0.85
となる。
また、L=40l/minにおいては、
maxv =0.7 m/sec
minv = 0.8 m/sec
で、minv /maxv =0.85
である。
本実施例で用いた長方形スリットを用い、長辺と長辺の最短距離(隣接する長方形スリットの間の、長辺と直交する方向における最短の対向距離)s=2mmとした図示していない本発明手段を満たす長方形スリットを用いる。すると、L=110l/minにおいて、記録ヘッド下の最大速度maxvと、最小速度minvは、
minv/maxv = 0.75
となり、本発明の範囲を満たせば、記録ヘッド30と被吐出媒体36の隙間に吹き込まれた空気の風速が平滑化されることがわかる。
長方形のスリットはa≧3×bを満たす場合、長方形噴流式から吹き出し口から出た後の空気の振る舞いを考えることができる。a≧3×bを満たす長方形スリットの中心における短辺から出た空気は、スリットから出た距離に応じて扇形のように風速が広がる。しかしスリットの中心における長辺から出た空気は、スリットから出た後も長辺の幅を保ちつつ、且つ、長辺の風速は全体的に弱まり風速が広がらない。更に、吹き出し口から出た後の空気は長辺の中心の風速に比べて、長辺の端の風速が著しく弱くなることがわかっている。そのため、本発明では、隣り合う長方形スリットの正射影の有向距離c=1.3mmで、第1の長方形スリットT1の長辺に対する第2の長方形スリット2の長辺の中心の正射影位置が、第1の長方形スリットT1の長辺の端と重なる。そのようにして、第1の長方形スリットの長辺の風速が強いところと、第2の長辺スリットの弱いところが重ね合うように配置されている。
長方形スリットの配置が0<cを満たせば、第1の長方形スリットT1の長辺に対する第2の長方形スリット2の長辺の中心の正射影位置が、第1の長方形スリットT1の長辺に重なる。そのため、第2の長方形スリットの長辺の風速が弱いところが、第1の長方形スリットの長辺と重ね合うようになる。そして、吹き出し口から吹き出された空気の、搬送方向hに対してm=20mmの位置における風速は、平滑化しやすく風速の分布の強弱を少なくすることができる。
正射影Pと正射影Qは本実施例では重なっていないが、正射影Pと正射影Qは重なるように長方形スリットが配置されていても問題ない。送風機構34から気流を吹き出すことで、吐出時にインクから蒸発した水蒸気が記録ヘッドに到達する前に記録ヘッド30と被吐出媒体36の表面の間の水蒸気を、記録ヘッド下から排出し、記録ヘッド近傍が結露することを防ぐことができる。
本実施例では、送風機構34から吹き出される空気の流量Lを、20~120l/minとすると、記録ヘッド30と被吐出媒体36の隙間に吹き込まれた空気の平均速度vは、0.3m/s≦v≦2.5m/sになる。
平均速度vが0.3m/s未満の時は、吹き込む速度が遅いため、記録ヘッド30と被吐出媒体36の間にあるインク液滴から蒸発した水分が多く存在する空気を排出する前に、水蒸気が記録ヘッド面近傍に到達してしまう。記録ヘッド面に到達してしまった水蒸気は、その後、吹き込んだ空気で乾燥させることが難しく、記録ヘッド近傍が結露する可能性がある。記録ヘッド近傍が結露すると、インクを安定して吐出することが難しくなり、結露した水分を一緒に吐出することで印字品位を劣化させる恐れがある。
また、記録ヘッド下を通る空気の風速の平均速度が2.5m/sより早い場合は、吹き込まれた空気の風速が速すぎて、インク液滴への影響が大きくヨレの発生がばらつく可能性がある。その場合、水蒸気の排出が可能でも着弾精度に影響を及ぼし、結果として良好
な印字品質を保つことが難しくなる。これはほかの実施例でも同じである。
本発明を構成していない比較例に係る送風機構34の長方形スリットを図18、図19に示す。
図18の長方形スリットは、長辺の長さa=10mm、短辺の長さb=0.4mmから構成され、長方形スリットの長辺は被吐出媒体36と平行に配置されている。また、長方形スリットの端辺は、製造上φ0.4mmの円で丸めている。図18はある一つの長方形スリットの短辺と隣り合う長方形スリットの短辺で最短距離ssになるように配置されており、ss=1mmである。図18の構成は、本実施例の構成とは異なっている。この構成でライン記録ヘッド長手方向800mmに71個の長方形スリットを構成した。
図18の構成では、被吐出媒体36に対する第1の長方形スリットT1の長辺の正射影Pと、同じく第2のスリットの長方形スリットT2の長辺の正射影Qは連続していない。また本比較例では、第1の長方形スリットT1の長辺に対する第2の長方形スリット2の長辺の正射影cはオーバーラップしておらず、第1スリットの長辺の長さb1とすると、有向距離c=0となる。
また、図18の長方形スリットから搬送方向に20mmの位置のライン記録ヘッド長手方向の記録ヘッド下吹き込まれた空気の最大風速maxvと、最小風速minvは、
L=110l/minにおいて、
maxv =2.9 m/sec
minv = 0.45 m/sec
で、minv /maxv = 0.16
となり、記録ヘッド下で風速が平滑化されておらず、分布を持つことがわかる。
図19の吹き出し口は2種類の長方形スリットから構成されている。第1の長方形スリットは長辺の長さa1=10mm、短辺の長さb=0.4mmから構成され、長方形スリットの長辺は被吐出媒体36と平行に配置されて開口している。第2の長方形スリットは、長辺の長さa2=1mm、短辺の長さb=0.4mmから構成され、長方形スリットの長辺は被吐出媒体36と平行に配置されて開口しているまた、長方形スリットの端辺は、製造上φ0.4mmの円で丸めている。
第1長方形スリットのある一つの長方形スリットの短辺と隣り合う長方形スリットの短辺の距離は1mmとなるように第1の長方形スリットを配置する。第2の長方形スリットの長辺と第1の長方形スリットの長辺の最短距離s=1mmで構成されおり、これは本発明の実施例と同様である。フルライン記録ヘッド長手方向800mmに第1のスリットは71個、第2のスリットは70個が配置されている。図19の構成では、被吐出媒体36に対する第1の長方形スリットT1の長辺の正射影Pと、第2のスリットの長方形スリットT2の長辺の正射影Qは連続している。
しかし、第1の長方形スリットT1の長辺に対する第2の長方形スリットT2の長辺の正射影の有向距離c=0で重ならないように第1と第2の長方形スリットが配置されている。これは本実施例とは異なる構成である。また、図19の長方形スリットから搬送方向hに対してm=20mmの位置のライン記録ヘッド長手方向の記録ヘッド下吹き込まれた空気の最大風速maxvと、最小風速minvは、
L=110l/minにおいて、
maxv =2.7 m/sec
minv = 1.2 m/sec
で、minv /maxv =0.44
である。
本発明を構成していない図18、図19のような送風機構34では、ある一つの長方形スリットと隣の長方形スリットの正射影の有向距離c=0である。そのため、ある一つの長方形スリットから吹き出した風速が、スリットを出た後、搬送方向hに対してm=20mmの位置において、隣の長方形スリットから出た空気との重なりが少なくなる。m=20mmの位置における吹き出された空気の風速は、長方形スリットのy中心から出た風速vcに比べて第1の長方形スリットと第2の長方形スリットの間の風速vmが弱くなる。そのため、vm/vc<0.5となり、記録ヘッド下を通る空気の風速が平滑化せず全体的に分布を持つ。この場合、吹き込まれた空気の風速分布の強弱があるため、インク液滴に影響を及ぼし、長手方向全域でヨレが一様に発生しないため、長手方向で着弾位置のずれが発生し、結果として印字品位の低下につながる。
以上のことから、本発明を用いると送風機構34から吹き出す空気は、空気が吹き出さない物理的に遮断されている部分があっても、吹き出された空気は記録ヘッド30と被吐出媒体36の隙間で空気の風速が平滑化することができる。記録ヘッドと被吐出媒体の隙間に空気を吹き込むとインク液滴にわずかに影響を及ぼしヨレが発生する。しかし、本発明の構成では吹き込まれた空気の風速は平滑化しているため、長手方向全域に一様にヨレが発生し、結果として印字品位の低下は引き起こされない。また、吐出時に記録ヘッド30と被吐出媒体36の隙間を空気が通ることで、インク液滴から蒸発した水蒸気が記録ヘッド30に到達する前に被吐出媒体の表面と記録ヘッドの間の水蒸気を記録ヘッド下から排出することができる。そのようにして、記録ヘッド近傍が結露を防ぐことができる。記録ヘッド30下の蒸気の結露を抑制させることで、結露が液滴となって被吐出媒体36に落下して、被吐出媒体36を汚染することを防ぐことが可能である。よって、本実施例を用いると、印字品位を良好に保つことができる。
本実施例は、被吐出媒体36は転写体2とし、転写体2に吐出されたインクを記録媒体とする紙、布、プラスチック・フィルムなどに転写する転写方式のインクジェット記録装置に構成が可能である。または、被吐出媒体36を記録媒体とし、記録媒体に直接インクを吐出して印字を行う直描方式のインクジェット記録装置でも構成が可能である。これは、その他の実施例においても同様である。
本実施例では、被吐出媒体36における吐出されたインク被覆率が25%以上の時は印字中に吹き出し口35より空気を吹き込むことで、記録ヘッド近傍の結露を抑制することが可能である。被吐出媒体36のインク被覆率が25パーセント未満の時は、インクの量が少なく発生する水蒸気が少ない。つまり、ヘッド近傍に付着する水蒸気が少なく、液滴になってヘッド近傍を結露することがない。そのため、被吐出媒体36におけるインク被覆率が25%未満のときは、印字中に吹き出し口35からの空気の吹き出しを行わなくても問題ない。また、この時はヘッド近傍の水蒸気を乾燥させるために、印字を行っていない間に吹き出し口から空気を吹き込んでもよい。これはその他の実施例においても同様である。
<実施例2>
図13を参照して、本発明の実施例2について説明する。なお、以下の説明においては、実施例2において実施例1と共通する事項に関する説明は省略する。以下で特に説明しない実施例2の構成は、実施例1と同様である。
図13は、本実施例の吹き込み口35である開口する長方形形状を持つ複数の長方形スリットの一部拡大であり、吹き込み口35のある送風機構34の面を紙面平面上で図示している。図13の長方形スリットは、長辺の長さa=11.9mm、短辺の長さb=0.
4mmから構成され、スリットの配置する方向に対して、10度傾けて開口している。また、長方形スリットから搬送方向hにm=20mmの位置で吹き出された空気の風速を平滑化するために、長方形スリットの長辺と隣り合う長方形スリットの長辺の最短距離s=0.65mmとした。本実施例ではフルライン記録ヘッド長手方向800mmに合計125個の長方形スリットが開口している。本実施例では長方形スリットの端辺は、製造上φ0.4mmの円で丸めている。また、有向距離c=6mmである。また、本実施例の複数の長方形スリットTは、被吐出媒体36の搬送方向(記録ヘッド30と被吐出媒体36との相対移動方向)に見たときに互いに部分的に重なるように配置される。
記号の説明は実施例1と同じのため省略する。
本実施例によると、送風機構34から吹き出される空気の流量Lは、
L=110l/minにおいて、
maxv = 1.90m/sec
minv = 1.36m/sec
で、minv /maxv = 0.71
となる。
また、L=40l/minにおいて、
maxv = 0.60 m/sec
minv = 0.44 m/sec
で、minv /maxv = 0.73
である。
本実施例において、吐出時に記録ヘッド30と被吐出媒体36の隙間に吹き込まれた空気の風速はライン記録ヘッド長手方向に一様に平滑化する。吹き込まれた空気の風速は平滑化しているため、長手方向全域に一様にヨレが発生し、結果として印字品位の低下は引き起こされない。また、吐出時にインクから蒸発した水蒸気が記録ヘッドに到達する前に被吐出媒体の表面と記録ヘッドの間の水蒸気を記録ヘッド下から排出することができ、記録ヘッド近傍が結露を防ぐことができる。記録ヘッド近傍の結露を防ぐことで、インクの吐出精度を良好に保つことができる。
<実施例3>
図14を参照して、本発明の実施例3について説明する。なお、以下の説明においては、実施例3において実施例1、2と共通する事項に関する説明は省略する。以下で特に説明しない実施例3の構成は、実施例1、2と同様である。図14は、本発明の吹き込み口35である開口する長方形形状を持つ複数の長方形スリットの一部拡大であり、吹き込み口35のある送風機構34の面を紙面平面上で図示している。
図14の吹き込み口は2種類の長方形スリットから構成されている。第1の長方形スリットは長辺の長さa=10mm、短辺の長さb=0.4mmから構成され、各々の長方形スリットの長辺は被吐出媒体36と平行に配置されて開口している。第2の長方形スリットは、長辺の長さa=5mm、短辺の長さb=0.4mmから構成され、長方形スリットの長辺は被吐出媒体と平行に配置されて開口している。また、長方形スリットの端辺は、製造上φ0.4mmの円で丸めている。長方形スリットから搬送方向にm=20mmの位置で吹き出された空気の風速を平滑化するために、第1の長方形スリットの長辺と第2の長方形スリットの長辺の最短距離s=1mmとした。本実施例ではフルライン記録ヘッド長手方向800mmに、第1の長方形スリットの合計72個、第2の長方形スリットの合計71個が開口している。
本実施例では、長方形スリットの端辺は、製造上φ0.4mmの円で丸めている。また
、有向距離c=6mmである。すなわち、本実施例は隣接する長方形スリットTが、被吐出媒体36の搬送方向(記録ヘッド30と被吐出媒体36との相対移動方向)に互い違いにずれ、かつ搬送方向に見たときに部分的に重なる部分が形成されるように配置され、有向距離cが形成されている。
記号の説明は実施例1と同じなので省略する。
送風機構34から吹き出される空気の流量Lは、
L=110l/minにおいて、
maxv = 2.0m/sec
minv = 1.4m/sec
で、minv /maxv =0.7
となる。
複数形状の長方形スリットを、本発明を用いて構成しても、吐出時において記録ヘッドと前記吐出媒体の隙間に吹き込まれた空気はライン記録ヘッド長手方向に平滑化することが可能である。吹き込まれた空気の風速は平滑化しているため、長手方向全域に一様にヨレが発生し、結果として印字品位の低下は引き起こされない。また、吐出時にインクから蒸発した水蒸気が記録ヘッドに到達する前に被吐出媒体の表面と記録ヘッドの間の水蒸気を記録ヘッド下から排出することができ、記録ヘッド近傍が結露を防ぐことができる。記録ヘッド近傍の結露を防ぐことで、インクの吐出精度を良好に保つことができる。
<実施例4>
図15を参照して、本発明の実施例4について説明する。なお、以下の説明においては、実施例4において実施例1~3と共通する事項に関する説明は省略する。以下で特に説明しない実施例4の構成は、実施例1~3と同様である。
図15は、本発明の吹き込み口35である開口する長方形形状を持つ複数の長方形スリットの一部拡大であり、吹き込み口35のある送風機構34の面を紙面平面上で図示している。図15の長方形スリットは、長辺の長さa=11.9mm、短辺の長さb=0.4mmから構成され、スリットの配置する方向に対して、10度傾けて開口している。また、長方形スリットから搬送方向にm=20mmで吹き込まれた空気の風速を平滑化するために、長方形スリットの長辺と隣り合う長方形スリットの長辺の最短距離s=1.16mmとした。本実施例ではフルライン記録ヘッド長手方向800mmに合計80個の長方形スリットが開口している。本実施例では長方形スリットの端辺は、製造上φ0.2mmの円で丸めている。また、本実施例はc=3.05mm、である。
記号の説明は実施例1と同じのため省略する。
本実施例によると、送風機構34から吹き出される空気の流量Lは、
L=110l/minにおいて、
maxv =2.15m/sec
minv = 1.27m/sec
で、minv /maxv = 0.59
となる。
また、L=40l/minにおいて、
maxv =0.68m/sec
minv = 0.59m/sec
で、minv /maxv = 0.87
である。
本発明を用いて構成すれば、吐出時において記録ヘッド30と前記吐出媒体36の隙間に吹き込まれた空気はライン記録ヘッド長手方向に平滑化することが可能である。吹き込まれた空気の風速は平滑化しているため、長手方向全域に一様にヨレが発生し、結果として印字品位の低下は引き起こされない。また、吐出時にインクから蒸発した水蒸気が記録ヘッドに到達する前に被吐出媒体の表面と記録ヘッドの間の水蒸気を記録ヘッド下から排出することができ、記録ヘッド近傍が結露を防ぐことができる。記録ヘッド近傍の結露を防ぐことで、インクの吐出精度を良好に保つことができる。
<実施例5>
図16を参照して、本発明の実施例5について説明する。なお、以下の説明においては、実施例5において実施例1~4と共通する事項に関する説明は省略する。以下で特に説明しない実施例5の構成は、実施例1~4と同様である。
図16は、本発明の吹き込み口35である開口する長方形形状を持つ複数の長方形スリットの一部拡大であり、吹き込み口35のある送風機構34の面を紙面平面上で図示している。図16のスリットは、長辺の長さa=2.6mm、短辺の長さb=0.4mmから構成され、スリットの配置する方向に対して、45度傾けて開口している。また、長方形スリットから搬送方向にm=20mmで空気の風速を平滑化するために、長方形スリットの長辺と隣り合う長方形スリットの長辺の最短距離s=3.425×b=1.37mmとする。本実施例ではフルライン記録ヘッド長手方向800mmに合計125個の長方形スリットが開口している。本実施例では長方形スリットの端辺は、製造上φ0.4mmの円で丸めている。また、図16の構成では、被吐出媒体36に対する第1の長方形スリットT1の長辺の正射影Pと、同じく第2のスリットの長方形スリットT2の長辺の正射影Qは連続していない。また、第1の長方形スリットT1の長辺に対する第2の長方形スリット2の長辺の正射影の有向距離c=0.75mmで配置されている。
本実施例によると、送風機構34から吹き出される空気の流量Lは、
L=110l/minにおいて、
maxv =2.4 m/sec
minv = 1.9 m/sec
で、minv /maxv =0.79
である。
複数形状の長方形スリットを、本発明を用いて構成すれば吐出時において記録ヘッドと前記吐出媒体の隙間に吹き込まれた空気の風速はライン記録ヘッド長手方向に平滑化することが可能である。吹き込まれた空気の風速は平滑化しているため、長手方向全域に一様にヨレが発生し、結果として印字品位の低下は引き起こされない。また、吐出時にインクから蒸発した水蒸気が記録ヘッドに到達する前に被吐出媒体の表面と記録ヘッドの間の水蒸気を記録ヘッド下から排出することができ、記録ヘッド近傍が結露を防ぐことができる。記録ヘッド近傍の結露を防ぐことで、インクの吐出精度を良好に保つことができる。
<実施例6>
図17を参照して、本発明の実施例6について説明する。なお、以下の説明においては、実施例6において実施例1~5と共通する事項に関する説明は省略する。以下で特に説明しない実施例6の構成は、実施例1~5と同様である。
図17は、本発明の吹き込み口35である開口する長方形形状を持つ複数の長方形スリットの一部拡大であり、吹き込み口35のある送風機構34の面を紙面平面上で図示して
いる。図17のスリットは、長辺の長さa=2.6mm、短辺の長さb=0.4mmから構成され、スリットの配置する方向に対して、90度傾けて開口している。また、長方形スリットから搬送方向にm=20mmで空気の風速を平滑化するために、長方形スリットの長辺と隣り合う長方形スリットの長辺の最短距離s=1mmとする。本実施例ではフルライン記録ヘッド長手方向800mmに合計270個の長方形スリットが開口している。本実施例では長方形スリットの端辺は、製造上φ0.4mmの円で丸めている。
図17の構成は、被吐出媒体36に対する第1の長方形スリットT1の長辺の正射影Pと、隣り合う第2の長方形スリットT2の長辺の正射影Qは連続していない。また、第1の長方形スリットT1の長辺に対する第2の長方形スリット2の長辺の正射影c=2.6mmで長辺の全領域が正射影で重なり、本発明の0<cを満たすように配置されている。すなわち、本実施例における複数の長方形スリットTは、それぞれの長辺が、被吐出媒体36の搬送方向と平行に延び、かつ、搬送方向と直交する方向に見たときに互いに重なるように配置される。
本実施例によると、送風機構34から吹き出される空気の流量Lは、
L=110l/minにおいて、
maxv = 1.6 m/sec
minv = 1.0 m/sec
で、minv /maxv =0.62
である。
複数形状の長方形スリットを、本発明を用いて構成すれば吐出時において記録ヘッドと被吐出媒体36の隙間に吹き込まれた空気の風速はライン記録ヘッド長手方向に平滑化することが可能である。これにより、吹き込まれた空気の風速は平滑化しているため、長手方向全域に一様にヨレが発生し、結果として印字品位の低下は引き起こされない。また、吐出時にインクから蒸発した水蒸気が記録ヘッドに到達する前に被吐出媒体の表面と記録ヘッドの間の水蒸気を記録ヘッド下から排出することができ、記録ヘッド近傍が結露を防ぐことができる。記録ヘッド近傍の結露を防ぐことで、インクの吐出精度を良好に保つことができる。
実施例1~7は製造の加工上の制約から長方形スリットの端辺は丸めているが、製作が可能であれば、端辺は丸めていなくて本発明の構成を満たしていれば問題ない。スリットの例を図20(a)、図20(b)に示す。
<実施例7>
図9を参照して、本発明の実施例7について説明する。なお、以下の説明においては、実施例7において実施例1~6と共通する事項に関する説明は省略する。以下で特に説明しない実施例7の構成は、実施例1~6と同様である。
図9は、本発明の別構成の送風機構34拡大図である。記録ヘッドの間には送風機構34と、ミスト回収機構30が設けられている。ミスト回収機構30は、本実施例では、9つの記録ヘッド30の中の隣り合う2つの記録ヘッドに挟まれた8つの位置にはそれぞれ、記録ヘッドからインクを吐出した際に発生するインクミストを回収するミスト回収ユニット33が設けられている。さらに、最上流の記録ヘッド30に上流側で隣接する位置、および最下流の記録ヘッド30に下流側で隣接する位置にもミスト回収ユニット33が設けられている。このように記録ヘッド30とミスト回収ユニット33が、被吐出媒体36の外周面に沿って交互に放射状に配置されている。それぞれのミスト回収ユニット33は、ユニットハウジングの下部に、被吐出媒体36の表面に向けて空気を吹き出す吹出口と空気を吸込む吸込み口とを備えている。回収ユニット33は、吸込み口から吸い込んだ空
気を排出する排気バッファ室が設けられている。排気バッファ室は、排出の空気圧調整のバッファ空間として機能する。排気バッファ室には、排気機構として、空気排出口を通して、図9に示した負圧ポンプ222を含む負圧発生部221が接続され、負圧により空気が排出される。この負圧発生部221は、複数の回収ユニット33に対して共通に設けられたものである。吹出口から清浄な空気を吹出しつつ吸込み口から空気を吸込むことで、記録ヘッドから発生したインクミストが装置内に広く拡散する前に効果的にミスト回収する。また、送風機構34によって記録ヘッド下から排出された水蒸気をミスト回収機構で回収することも可能である。このように構成することで、記録ヘッド下から排出された水蒸気を、装置内部に付着させることなく外部へ排出することが可能である。
このように、記録ヘッド下に空気を吹き出す送風機構34と、ミストを回収するミスト回収機構を同時に配置することが可能である。送風機構34とミスト回収機構30は図中は別機構になっているが、それぞれの機能を満たせば、送風機構34を記録ヘッドではなくミスト回収機構と一体で構成されていてもよい。
また、本発明は水蒸気をヘッドに付着させないため、記録ヘッドと転写体の隙間に空気を吹き込む送風機構34であるが、送風機構34の発明は水蒸気のない直描方式のインクジェット記録装置においても発生するミスト除去や紙粉除去に使用することができる。更に、送風機構34のスリットの構成は、機構内部乾燥機構にも応用することができる。
<実施例8>
図21を参照して、本発明の実施例8について説明する。なお、以下の説明においては、実施例8において実施例1~7と共通する事項に関する説明は省略する。以下で特に説明しない実施例8の構成は、実施例1~7と同様である。
図21は、本発明の別構成のインクジェット記録装置の例を示している。本発明は記録ヘッドが往復して吐出を行うインクジェット装置でも構成が可能である。図21に示すように、記録ヘッド30の両側(被吐出媒体36の搬送方向TFと交差する走査方向(被吐出媒体36の幅方向)Wにおける両側)に送風機構34-1、34-2の2つ取り付ける。記録ヘッド30が走査方向1に動作する場合は、記録ヘッド30より被吐出媒体36に相対的な移動方向の上流側にある記録ヘッドに隣接した送風機構34-1のみが駆動し、送風機構34-2は駆動しない。記録ヘッド30が走査方向2に動作する場合は、記録ヘッド30より被吐出媒体36に相対的な移動方向の上流側にある記録ヘッドに隣接した送風機構34-2が駆動し、送風機構34-1は駆動しない。被吐出媒体36に開口するスリットは、本発明から構成されており、例えば本実施例1~6に示したスリットの構成である。本実施例では詳しいスリットの構成は省略する。
本実施例の記録ヘッドが往復して吐出を行うインクジェット装置に本発明を構成しても、記録ヘッド30と被吐出媒体36の隙間に空気を送り込むことができる。これにより、吐出時にインクから蒸発した水蒸気が記録ヘッド下から排出することができ、記録ヘッド近傍が結露することを防ぐことができる。
本実施例では送風機構34は記録ヘッド30と一体化されているが、本発明の効果があれば、別体としていても問題ない。
以上、上記実施形態では、画像を記録するインクジェット記録装置におけるミストや蒸気の回収について説明してきたが、本発明はこれに限定されない。本発明は、画像を記録する用途以外に用いられるインクジェットヘッドを備えた記録装置におけるミスト回収や溶媒の蒸気の回収に広く適用することができる。
<本実施形態の構成が有効なその他の実施例>
被吐出媒体を加熱する方式の記録装置などで、風により被吐出媒体を冷却することを必要とする場合に、被吐出媒体に対して該均一な風を吹き付ける機構が必要な場合もある。こうした場合にも本発明の構成は有効である。
また、被吐出媒体の表面の乾燥を促す目的や、記録装置の印字プロセスによっては、被吐出媒体やそれに付随するユニットを洗浄する機構を備える場合がある。そのような装置においては、その洗浄液を乾燥させたり吹き飛ばしたりする必要がある場合があるが、そうした概均一な空気流が必要となる場合にも本発明が有効に作用する。
また、紙などに直接印刷する方式の録装置においては、紙粉が記録ヘッドに舞い上がり、インク滴の吐出の障害となって画像品位を損ねる場合があり、紙が記録領域に入る前に紙に対して空気流を吹き付ける機構を持っている記録装置もある。このような装置においても本発明を適用することにより、吹き付ける空気流の風速を均一化することで少ない空気量で有効に紙粉を除去することができる。
30:インクジェット記録ヘッド、33:回収機構、34:送風機構、35吹き出し口、36:被吐出媒体、50:空気供給孔、s:スリット長辺同士の最短距離、max:スリット長辺同士がとれる最大の最短距離、T:長方形スリット、T1:第1の長方形スリット、T2:第2の長方形スリット、a:スリット長辺の長さ、b:スリット短辺の長さ、c:第2スリットの第1スリットに対する正射影の有向距離、P:被吐出媒体に対する第1スリットの長辺の正射影、Q:被吐出媒体に対する第2スリットの長辺の正射影、h:搬送方向、maxv:搬送方向に20mmの位置における風速max、minv:搬送方向に20mmの位置における風速min、vc:搬送方向に20mmの位置における長方形スリットT中心の風速、vm:搬送方向に20mmの位置における長方形スリットT間の風速

Claims (11)

  1. 液体を吐出する記録ヘッドと、
    前記記録ヘッドと対向する位置を通過するように被吐出媒体を搬送する搬送部と、
    空気の供給部と、
    前記記録ヘッドと前記被吐出媒体との相対移動方向において前記記録ヘッドの上流側に配置され、前記供給部から供給された空気を、前記記録ヘッドと前記被吐出媒体との間の隙間に向けて吹き出すための吹き出し口を有する送風機構と、
    を備える記録装置において、
    前記送風機構は、前記被吐出媒体の搬送領域に対し、前記相対移動方向と直交する方向に対して前記相対移動方向の下流側に向かって傾斜した方向に面する対向面を有し、
    前記吹き出し口は、前記相対移動方向と交差する方向に並ぶ複数のスリットで構成され、
    前記複数のスリットは、前記対向面に形成されるとともに、隣接するスリットのそれぞれの長辺が、前記長辺と直交する方向において、互いに対向する領域を有するように、前記相対移動方向と交差する方向に並んでいることを特徴とする記録装置。
  2. 前記スリットの長辺の長さをa(mm)とし、短辺の長さをb(mm)としたときに、
    a≧3×b
    を満たすことを特徴とする請求項1に記載の記録装置。
  3. 前記複数のスリットは、それぞれ、前記相対移動方向と交差する方向に対して同じ角度で傾斜するように配置されることを特徴とする請求項1または2に記載の記録装置。
  4. 前記複数のスリットは、前記相対移動方向に見たときに互いに部分的に重なるように配置されることを特徴とする請求項に記載の記録装置。
  5. 前記複数のスリットは、それぞれの長辺が前記相対移動方向と直交する方向と平行となるように配置されるとともに、隣接するスリットが、前記相対移動方向に互い違いにずれ、かつ前記相対移動方向に見たときに部分的に重なる部分が形成されるように配置されることを特徴とする請求項1または2に記載の記録装置。
  6. 前記複数のスリットは、それぞれの長辺が、前記相対移動方向と平行に延び、かつ、前記相対移動方向と直交する方向に見たときに互いに重なるように配置されることを特徴とする請求項1または2に記載の記録装置。
  7. 前記搬送部は、前記被吐出媒体を前記記録ヘッドに対して前記相対移動方向に搬送し、
    前記複数のスリットは、前記相対移動方向と直交する前記被吐出媒体の幅方向の全域をカバーするように、前記相対移動方向と交差する方向に並んでいることを特徴とする請求項1~のいずれか1項に記載の記録装置。
  8. 前記記録ヘッドと前記送風機構は、前記搬送部による前記被吐出媒体の搬送方向と交差する走査方向に移動し、
    前記複数のスリットは、前記走査方向と交差する方向に並んでいることを特徴とする請求項1~のいずれか1項に記載の記録装置。
  9. 前記被吐出媒体は、転写体であり、
    前記記録ヘッドが吐出する液体により前記転写体に形成された像を、記録媒体に転写する転写機構をさらに備えることを特徴とする請求項1~のいずれか1項に記載の記録装置。
  10. 前記被吐出媒体は、記録媒体であることを特徴とする請求項1~のいずれか1項に記載の記録装置。
  11. 前記送風機構は、前記記録ヘッドが液体を吐出している間に、前記空気を前記吹き出し口から吹き出すことを特徴とする請求項1~1のいずれか1項に記載の記録装置。
JP2021123904A 2021-07-29 2021-07-29 記録装置 Active JP7706972B2 (ja)

Priority Applications (2)

Application Number Priority Date Filing Date Title
JP2021123904A JP7706972B2 (ja) 2021-07-29 2021-07-29 記録装置
US17/875,209 US11878513B2 (en) 2021-07-29 2022-07-27 Recording device

Applications Claiming Priority (1)

Application Number Priority Date Filing Date Title
JP2021123904A JP7706972B2 (ja) 2021-07-29 2021-07-29 記録装置

Publications (2)

Publication Number Publication Date
JP2023019282A JP2023019282A (ja) 2023-02-09
JP7706972B2 true JP7706972B2 (ja) 2025-07-14

Family

ID=85038206

Family Applications (1)

Application Number Title Priority Date Filing Date
JP2021123904A Active JP7706972B2 (ja) 2021-07-29 2021-07-29 記録装置

Country Status (2)

Country Link
US (1) US11878513B2 (ja)
JP (1) JP7706972B2 (ja)

Citations (6)

* Cited by examiner, † Cited by third party
Publication number Priority date Publication date Assignee Title
JP2007190801A (ja) 2006-01-19 2007-08-02 Sii Printek Inc インクジェット記録装置
JP2013193252A (ja) 2012-03-16 2013-09-30 Konica Minolta Inc インクジェット記録方法
US20140152749A1 (en) 2012-12-04 2014-06-05 James Douglas Shifley Acoustic drying system with matched exhaust flow
US20140150284A1 (en) 2012-12-04 2014-06-05 Andrew Ciaschi Acoustic drying system with interspersed exhaust channels
JP2019014139A (ja) 2017-07-06 2019-01-31 キヤノン株式会社 インクジェット記録装置及びその温度制御方法
JP2022545238A (ja) 2019-08-20 2022-10-26 ランダ コーポレイション リミテッド 柔軟な部材に加えられるテンションを制御するための加圧流体に基づくダンサを利用する装置

Family Cites Families (2)

* Cited by examiner, † Cited by third party
Publication number Priority date Publication date Assignee Title
JP2016159556A (ja) * 2015-03-03 2016-09-05 キヤノン株式会社 液体吐出ヘッド、記録装置および記録方法
GB201512145D0 (en) 2015-07-10 2015-08-19 Landa Corp Ltd Printing system

Patent Citations (6)

* Cited by examiner, † Cited by third party
Publication number Priority date Publication date Assignee Title
JP2007190801A (ja) 2006-01-19 2007-08-02 Sii Printek Inc インクジェット記録装置
JP2013193252A (ja) 2012-03-16 2013-09-30 Konica Minolta Inc インクジェット記録方法
US20140152749A1 (en) 2012-12-04 2014-06-05 James Douglas Shifley Acoustic drying system with matched exhaust flow
US20140150284A1 (en) 2012-12-04 2014-06-05 Andrew Ciaschi Acoustic drying system with interspersed exhaust channels
JP2019014139A (ja) 2017-07-06 2019-01-31 キヤノン株式会社 インクジェット記録装置及びその温度制御方法
JP2022545238A (ja) 2019-08-20 2022-10-26 ランダ コーポレイション リミテッド 柔軟な部材に加えられるテンションを制御するための加圧流体に基づくダンサを利用する装置

Also Published As

Publication number Publication date
JP2023019282A (ja) 2023-02-09
US20230032186A1 (en) 2023-02-02
US11878513B2 (en) 2024-01-23

Similar Documents

Publication Publication Date Title
JP7193946B2 (ja) 液体吐出装置及びその制御方法
JP2019018388A (ja) 記録装置
WO2018105215A1 (ja) 液吸収装置、記録装置、記録方法および製造方法
JP7438263B2 (ja) インクジェット記録装置及びその温度制御方法
JP2019018389A (ja) 記録装置
JP2018144358A (ja) インクジェット記録装置及びその記録方法
JP6960754B2 (ja) 液吸収装置、記録装置、記録方法および製造方法
US20210155017A1 (en) Printing apparatus and heating device
JP6948133B2 (ja) 液吸収装置、記録装置、記録方法および製造方法
JP6937624B2 (ja) インクジェット記録装置及びその記録方法
JP7706972B2 (ja) 記録装置
JP2019142030A (ja) インクジェット記録装置
JP2018149740A (ja) 記録装置
JP2018161868A (ja) 液吸収装置、記録装置、及び記録方法
JP2018133742A (ja) 記録装置、検査装置及びその制御方法
JP6976091B2 (ja) 記録装置及び制御方法
JP2019048439A (ja) インクジェット装置および回収装置
JP7589027B2 (ja) 記録装置およびその制御方法
JP7562313B2 (ja) 記録装置、制御方法及びプログラム
JP7749359B2 (ja) 記録装置
JP7412995B2 (ja) 記録装置
JP7425601B2 (ja) 記録装置及び吸引ユニット
JP2018149742A (ja) クリーニング装置、記録装置、及び清掃方法
JP7483559B2 (ja) インクジェット記録装置
JP2022162406A (ja) 記録装置

Legal Events

Date Code Title Description
A621 Written request for application examination

Free format text: JAPANESE INTERMEDIATE CODE: A621

Effective date: 20240724

A977 Report on retrieval

Free format text: JAPANESE INTERMEDIATE CODE: A971007

Effective date: 20250326

A131 Notification of reasons for refusal

Free format text: JAPANESE INTERMEDIATE CODE: A131

Effective date: 20250401

A521 Request for written amendment filed

Free format text: JAPANESE INTERMEDIATE CODE: A523

Effective date: 20250529

TRDD Decision of grant or rejection written
A01 Written decision to grant a patent or to grant a registration (utility model)

Free format text: JAPANESE INTERMEDIATE CODE: A01

Effective date: 20250603

A61 First payment of annual fees (during grant procedure)

Free format text: JAPANESE INTERMEDIATE CODE: A61

Effective date: 20250702

R150 Certificate of patent or registration of utility model

Ref document number: 7706972

Country of ref document: JP

Free format text: JAPANESE INTERMEDIATE CODE: R150