JP7701005B2 - 遊技機 - Google Patents

遊技機 Download PDF

Info

Publication number
JP7701005B2
JP7701005B2 JP2021074550A JP2021074550A JP7701005B2 JP 7701005 B2 JP7701005 B2 JP 7701005B2 JP 2021074550 A JP2021074550 A JP 2021074550A JP 2021074550 A JP2021074550 A JP 2021074550A JP 7701005 B2 JP7701005 B2 JP 7701005B2
Authority
JP
Japan
Prior art keywords
ball
unit
game
lifting
frame
Prior art date
Legal status (The legal status is an assumption and is not a legal conclusion. Google has not performed a legal analysis and makes no representation as to the accuracy of the status listed.)
Active
Application number
JP2021074550A
Other languages
English (en)
Other versions
JP2022168891A5 (ja
JP2022168891A (ja
Inventor
高明 市原
渉 坂根
Current Assignee (The listed assignees may be inaccurate. Google has not performed a legal analysis and makes no representation or warranty as to the accuracy of the list.)
Daiichi Co Ltd
Original Assignee
Daiichi Shokai Co Ltd
Priority date (The priority date is an assumption and is not a legal conclusion. Google has not performed a legal analysis and makes no representation as to the accuracy of the date listed.)
Filing date
Publication date
Application filed by Daiichi Shokai Co Ltd filed Critical Daiichi Shokai Co Ltd
Priority to JP2021074550A priority Critical patent/JP7701005B2/ja
Publication of JP2022168891A publication Critical patent/JP2022168891A/ja
Publication of JP2022168891A5 publication Critical patent/JP2022168891A5/ja
Application granted granted Critical
Publication of JP7701005B2 publication Critical patent/JP7701005B2/ja
Active legal-status Critical Current
Anticipated expiration legal-status Critical

Links

Images

Landscapes

  • Pinball Game Machines (AREA)

Description

本発明は、ぱちんこ遊技機(一般的に「パチンコ機」とも称する)のような遊技機に関するものである。
近年では、パチンコ機のような遊技機において、遊技者の関心を引き付けさせることが
可能な演出を行うための手段として、演出装置を大きくしたり、演出装置の可動領域を広
くしたり、演出装置を派手に発光装飾させるようにしたりしている。
特許文献1には、演出装置の一例として、LEDが実装された基板を内部に備えるサイドランプが開示されている。LEDは、発光するさい多くの熱を発する電子部品であり、内部の温度上昇は自身をも熱破壊に至らしめるおそれがあり、派手に発光装飾させるためには改善の余地があった。
特開2010-264006号公報
そこで、本発明は、上記の実情に鑑み、発熱部品が発する熱の影響を低減することが可能な遊技機の提供を課題とするものである。
複数の発光色で発光装飾を実行可能なLEDが表側の面に実装された装飾基板を備える遊技機において、
前記装飾基板は、該装飾基板の表側に位置するカバー部材と該装飾基板の裏側に位置するベース部材とが組み合わせて構成された装飾ユニットに内包されており、
前記装飾ユニットは、内包する前記装飾基板の側面側となる位置に第1開口と第2開口とを有し、
前記装飾ユニットが有する前記第1開口は、前記装飾ユニットが有する前記第2開口と同じ形状、かつ、同じ大きさで形成され、
前記第1開口と前記第2開口は、前記カバー部材または前記ベース部材のいずれか一方、または両方の一部を切り欠いて形成されているとともに前記装飾ユニットに内包された前記装飾基板の前記LEDを挟んで対向する位置に設けられ、前記装飾基板を側面側から見たとき、前記LEDが実装された前記装飾基板の前記LEDと前記装飾基板の表側の空間の一部が重なっおり、
前記LEDが実装される前記装飾基板の表側の面は、白色のレジストで覆われているとともに該LEDの部品番号が黄色でシルク印刷されている
ものであることを特徴とする。
このように、本発明によれば、発熱部品が発する熱の影響を低減することが可能な遊技機を提供することができる。
本発明の一実施形態であるパチンコ機の正面図である。 上側を前方へ傾けた状態で示すパチンコ機の正面図斜視図である。 扉枠を取外した状態で示すパチンコ機の正面図である。 扉枠及び遊技盤を取外した状態で示すパチンコ機の正面図である。 図4のパチンコ機の背面図である。 図4のパチンコ機を斜め前から見た斜視図である。 図4のパチンコ機を主な構成毎に分解して前から見た分解斜視図である。 図4のパチンコ機を主な構成毎に分解して後ろから見た分解斜視図である。 図4のパチンコ機を上下中央で切断した平面図である。 図9においてア-ア線で切断した断面図である。 図3の正面図において発射ユニット及びファールユニット等を断面にして示す要部正面図である。 本体枠における本体枠ベースユニットを主な構成毎に分解して前から見た分解斜視図である。 本体枠における本体枠ベースユニットを主な構成毎に分解して後ろから見た分解斜視図である。 (a)は本体枠における球発射ユニットを前から見た斜視図であり、(b)は本体枠における球発射ユニットを後ろから見た斜視図である。 (a)は球発射ユニットを分解して前から見た分解斜視図であり、(b)は球発射ユニットを分解して後ろから見た分解斜視図である。 (a)は球発射ユニットの発射ユニットカバーを左後ろから見た斜視図であり、(b)は正面視において発射ユニットカバーのみを断面で示す球発射ユニットの説明図である。 (a)は本体枠におけるファールユニットを前から見た斜視図であり、(b)は本体枠におけるファールユニットを後ろから見た斜視図である。 (a)はファールユニットを分解して前から見た分解斜視図であり、(b)はファールユニットを分解して後ろから見た分解斜視図である。 (a)はファールユニットの側面断面においてファールシャッターを閉じた状態で示す説明図であり、(b)はファールユニットの側面断面においてファールシャッターを開いた状態で示す説明図である。 (a)は本体枠における循環球経路ユニットを前から見た斜視図であり、(b)は本体枠における循環球経路ユニットを後ろから見た斜視図である。 循環球経路ユニットを分解して前から見た分解斜視図である。 循環球経路ユニットを分解して後ろから見た分解斜視図である。 (a)は循環球経路ユニットにおける球蛇行部材及び球抜シャッターのみを示す平面図であり、(b)は循環球経路ユニットにおける球蛇行部材及び球抜シャッターのみを示す前から見た斜視図である。 (a1)は閉位置の球抜シャッター及び球蛇行部材を球受トレーと共に側面断面で示す説明図であり、(a2)は(a1)における球抜シャッターの部位のみを底面から示す説明図であり、(b1)は開位置の球抜シャッター及び球蛇行部材を球受トレーと共に側面断面で示す説明図であり、(b2)は(b1)における球抜シャッターの部位のみを底面から示す説明図である。 (a)は閉位置の球抜シャッターに鉄球が磁着している状態で球蛇行部材及び球抜トレーと共に側面断面で示す説明図であり、(b)は開位置の球抜シャッターに鉄球が磁着している状態で球蛇行部材及び球抜トレーと共に側面断面で示す説明図であり、(c)は(b)の状態から球抜シャッターを閉位置へスライドさせて下面に鉄球が磁着している状態で球蛇行部材及び球抜トレーと共に側面断面で示す説明図である。 (a)は循環球経路ユニットをアウト球センサの部位で切断して正面断面で示す説明図であり、(b)は循環球経路ユニットをセーフ球センサの部位で切断して正面断面で示す説明図である。 (a)は循環球経路ユニットの蛇行カバーを外した状態で外枠と共に本体枠の下部を拡大して示す前から見た斜視図であり、(b)は循環球経路ユニットの蛇行カバーを外した状態で外枠と共に本体枠の下部を拡大して示す後ろから見た斜視図である。 (a)は本体枠に取付けられている循環球経路ユニットにおいて球解消機構の蓋部材を閉じた状態でアウト球センサの部位で切断した背面断面の要部を拡大して示す説明図であり、(b)は(a)において蓋部材を開いた状態で示す説明図である。 (a)は本体枠における球揚上ユニットを左前から見た斜視図であり、(b)は本体枠における球揚上ユニットを右前から見た斜視図であり、(c)は本体枠における球揚上ユニットを後ろから見た斜視図である。 (a)は球揚上ユニットを主な構成毎に分解して前から見た分解斜視図であり、(b)は球揚上ユニットを主な構成毎に分解して後ろから見た分解斜視図である。 本体枠に取付けられている球揚上ユニットから球磨カセットを取外した状態で要部を拡大して示す正面図である。 (a)は球揚上ユニットにおいて球磨機構及び球揚上機構の要部を示す右側面図であり、(b)は球揚上機構の要部を示す背面図であり、(c)は球揚上機構の要部を(b)の矢視Aから見た平面図である。 (a)は本体枠における球送ユニットを前から見た斜視図であり、(b)は本体枠における球送ユニットを後ろから見た斜視図である。 (a)は球送ユニットを分解して前から見た分解斜視図であり、(b)は球送ユニットを分解して後ろが見た分解斜視図である。 発射手前センサの部位で切断した球送ユニットの正面断面図である。 本体枠の後面側における遊技球の各種通路を背面から示す説明図である。 本体枠における遊技球の流れを模式的に示す説明図である。 パチンコ機の制御構成を概略で示すブロック図である。 発射許可処理を示すフローチャートである。 持ち球減算処理を示すフローチャートである。 ファール球による持ち球加算処理を示すフローチャートである。 発射制御処理を示すフローチャートである。 賞球処理を示すフローチャートである。 揚上モータ動作処理を示すフローチャートである。 揚上入口センサ及び揚上出口センサと揚上モータの動作との関係を示す表である。 遊技球の発射動作と球揚上ユニットの動作との関係を示すグラフである。 球揚上ユニットにおける球揚上機構の動作を示すグラフである。 (a)はセキュリティ処理を示すフローチャートであり、(b)は(a)とは異なる実施形態のセキュリティ処理を示すフローチャートである。 循環球過少センサ及び循環球過多センサとエラー報知との関係を示す表である。 透明なセンター役物等を不透明にして示す遊技盤の正面図である。 図50の遊技盤を右前から見た斜視図である。 図50の遊技盤を左前から見た斜視図である。 図50の遊技盤を後ろから見た斜視図である。 遊技盤を主な部材毎に分解して前から見た分解斜視図である。 遊技盤を主な部材毎に分解して後ろから見た分解斜視図である。 遊技パネルの面と平行に表ユニットを切断して遊技球が流通する遊技領域内を示す遊技盤の正面図である。 (a)はセンター役物における抽選役物の正面図であり、(b)は抽選役物を前方の上方から見た斜視図である。 センター役物における抽選役物を左右方向の中央で切断した側面断面図である。 (a)は抽選役物において遊技球がループ不能な状態を断面で示す説明図であり、(b)は抽選役物において遊技球がループ可能な状態を断面で示す説明図である。 抽選役物における遊技球の流れを示す説明図である。 通常の状態で示す遊技盤の正面図である。 通常の状態から裏前演出ユニットの裏前昇降装飾体ユニットを待機位置から演出位置へ落下させた状態で示す遊技盤の正面図である。 通常の状態から裏後演出ユニットの裏後昇降装飾体を退避位置から出現位置へ移動させた状態で示す遊技盤の正面図である。 通常の状態から、裏前演出ユニットの裏前昇降装飾体ユニットを待機位置から演出位置へ落下させると共に、裏後演出ユニットの裏後昇降装飾体を退避位置から出現位置へ移動させた状態で示す遊技盤の正面図である。 パチンコ機の制御構成を概略で示すブロック図である。 第一実施形態のセンター役物を遊技パネルに取付けた状態で上下方向の途中で切断して前構成部材と共に示す説明図である。 (a)はセンター役物における装飾体を前装飾部と後装飾部とに分解した状態で正面から示す説明図であり、(b)は前装飾部と後装飾部とからなる装飾体を正面から示す説明図である。 図66のセンター役物において後端を下にしてセンターフレームを台に置いた状態で示す説明図である。 図66とは異なる装飾体が取付けられているセンターフレームを備えたセンター役物を部分断面で示す説明図である。 (a)は第二実施形態のセンター役物の要部を枠内から見た説明図であり、(b)は(a)におけるA-A線で切断した断面図であり、(c)は(a)のセンター役物において後端を下にしてセンターフレームを台に置いた状態で示す説明図である。 第三実施形態のセンター役物が設けられている遊技盤において遊技パネルよりも後側を省略した状態で示す正面図である。 図71のセンター役物と遊技パネルとを分解した状態で前から見た分解斜視図である。 図71のセンター役物を分解して前から見た分解斜視図である。 (a)~(g)は第三実施形態のセンター役物における第一フレームと第二フレームとの間の様々な接合パターンを示す説明図である。 (a)は第二実施形態のサイドユニットが設けられている遊技盤の要部を示す正面図であり、(b)は(a)を前から見た斜視図である。 (a)は図75の遊技盤において遊技パネルからサイドユニットを分解して示す分解斜視図であり、(b)は(a)のサイドユニットを分解して前から示す分解斜視図であり、(c)は(b)を後ろから見たサイドユニットの分解斜視図であり、(d)は遊技パネルとサイドユニットとの関係を縦断面で示す説明図である。 図76のサイドユニットと遊技パネルとの関係を横断面で示す説明図である。 図75のサイドユニットとは異なる形態のサイドユニットを遊技パネルと共に縦断面で示す説明図である。 (a)は図77に示すサイドユニットとは異なる形態のサイドユニットを遊技パネル共に縦断面で示す説明図であり、(b)は(a)におけるサイドユニットのLED基板と基板カバーとの要部を斜視図で示す説明図である。 図79に示すサイドユニットとは異なる形態のサイドユニットを遊技パネル共に縦断面で示す説明図である。 更に異なる形態のサイドユニットを遊技パネル共に縦断面で示す説明図である。 更に異なる形態のサイドユニットを遊技パネル共に縦断面で示す説明図である。 (a)は更に異なる形態のサイドユニットを遊技パネル共に横断面で示す説明図であり、(b)は(a)を縦断面で示す説明図である。 (a)は第三実施形態のサイドユニット等が設けられている遊技盤の要部を示す正面図であり、(b)は(a)におけるアウト口の部位を拡大して示す説明図であり、(c)は(b)を縦断面で示す説明図である。 (a)は図84とは異なる形態の指掛部を有するサイドユニット等が設けられている遊技盤のアウト口の部位を拡大して示す説明図であり、(b)は(a)を縦断面で示す説明図である。 サイドユニットが取付けられる開口部とアウト口とが連続して繋がっている遊技パネルのパネル板を模式的に示す説明図である。 (a)は非接触面部をLED基板よりも後方に設けている例を示す説明図であり、(b)は(a)とは異なる形態で非接触面部をLED基板よりも後方に設けている例を示す説明図であり、(c)は非接触面部をLED基板にかかるように設けている例を示す説明図であり、(d)は非接触面部をユニットカバーの全周に亘って設けている例を示す説明図である。
[1.パチンコ機の全体構造]
本発明の一実施形態であるパチンコ機1について、図面を参照して詳細に説明する。まず、図1及び図2を参照して本実施形態のパチンコ機1の全体構成について説明する。図1は、本発明の一実施形態であるパチンコ機の正面図である。図2は、上側を前方へ傾けた状態で示すパチンコ機の正面図斜視図である。
本実施形態のパチンコ機1は、遊技ホールの島設備などに設置されて使用されるものである。このパチンコ機1は、多数(例えば、40~60個)の遊技球Bが、外部へ排出されたり外部から供給されたりすることなく封入されており、内部において循環することで、遊技者が遊技球Bに触れることのない、所謂、封入式遊技機や管理遊技機と呼ばれている遊技機である。このパチンコ機1では、遊技者の持ち球数を持球データとしてデータ化して扱っている。
パチンコ機1に封入されている遊技球Bは、直径(以下では、直径Dとも記載する。直径D=11mm)が従来のパチンコ機に使用される遊技球と同じであるが、材質をSUS304のような磁着しないステンレス鋼により形成されている。これにより、遊技球Bがパチンコ機1内において長期に亘って封入されていても錆びることはないと共に、磁着する従来の遊技球(鉄球SB)と区別している。
本実施形態のパチンコ機1は、遊技ホールの島設備(図示しない)に設置される枠状の外枠2と、外枠2の前面を開閉可能に閉鎖する扉枠3と、扉枠3を開閉可能に支持していると共に外枠2に開閉可能に取付けられている本体枠4と、本体枠4に前側から着脱可能に取付けられると共に扉枠3を通して遊技者側から視認可能とされ遊技者によって遊技球Bが打込まれる遊技領域5aを有した遊技盤5と、を備えている。
[2.外枠]
パチンコ機1の外枠2について、図1乃至図10を参照して説明する。図3は、扉枠を取外した状態で示すパチンコ機の正面図である。図4は扉枠及び遊技盤を取外した状態で示すパチンコ機の正面図であり、図5は図4のパチンコ機の背面図であり、図6は図4のパチンコ機を斜め前から見た斜視図である。図7は図4のパチンコ機を主な構成毎に分解して前から見た分解斜視図であり、図8は図4のパチンコ機を主な構成毎に分解して後ろから見た分解斜視図である。図9は、図4のパチンコ機を上下中央で切断した平面図である。図10は、図9においてア-ア線で切断した断面図である。
外枠2は、図示しない遊技ホールの島設備に取付けられると共に、本体枠4を前方へ開閉可能、且つ、着脱可能、に取付けることができるものである。外枠2は、全体が縦長の枠状に形成されている外枠本体10と、外枠本体10を組付けている外枠組付金具20と、本体枠4を開閉可能に支持する外枠ヒンジ機構30と、本体枠4を閉じた状態でロックするための外枠ロック金具(図示は省略)と、外枠本体10の下枠体14に取付けられる幕板45と、幕板45の上面に取付けられるスベリ板46と、を備えている。
外枠2の外枠本体10は、上下方向に延出し左右に離間して設けられている左枠体11及び右枠体12と、左枠体11及び右枠体12の上端同士を連結している上枠体13と、左枠体11及び右枠体12の下端同士を連結している下枠体14と、を備えている。左枠体11及び右枠体12は、夫々がアルミニウム合金のような金属の押出型材により形成されている。上枠体13及び下枠体14は、木材によって形成されている。左枠体11、右枠体12、上枠体13、及び下枠体14は、前後方向の寸法が同じである。
外枠2の外枠組付金具20は、左枠体11と上枠体13とを連結している左上金具(図示は省略)と、右枠体12と上枠体13とを連結している右上金具(図示は省略)と、左枠体11と下枠体14とを連結している左下金具23と、右枠体12と下枠体14とを連結している右下金具(図示は省略)と、を有している。
外枠ヒンジ機構30は、外枠本体10の左上端に設けられている外枠上ヒンジ体31と、外枠本体10の左下端に設けられている外枠下ヒンジ体35と、を有している。
外枠ヒンジ機構30の外枠上ヒンジ体31は、上枠体13の左端上面に取付けられており、前端が外枠本体10よりも前方へ突出している。外枠上ヒンジ体31は、外枠本体10よりも前方へ突出している部位に、上下に貫通していると共に一つの側辺において解放されている軸受溝31aと、外枠本体10よりも前方へ突出している部位の下面に設けられており軸受溝31aの解放されている部位を開閉可能なロック部材32と、を有している。
外枠上ヒンジ体31の軸受溝31aは、解放されている部位から、本体枠4における本体枠上ヒンジ体411の本体枠ヒンジ軸411aを挿入することで当該本体枠ヒンジ軸411aを軸支することができる。外枠上ヒンジ体31のロック部材32は、通常の状態では、図示しない弾性片の付勢力によって軸受溝31aの解放されている部位を閉鎖するロック位置の状態に位置している。ロック部材32を、弾性片の付勢力に抗して解除位置へ移動させると、軸受溝31aが側面側へ開放された状態となり、側面側から本体枠ヒンジ軸411aを軸受溝31aに挿入したり、軸受溝31aに挿入されている本体枠ヒンジ軸411aを軸受溝31aから外したりすることができる。
外枠ヒンジ機構30の外枠下ヒンジ体35は、幕板45の左端上面における下枠体14と重なる部位(上方の部位)に取付けられており、前端が外枠本体10よりも前方へ突出している。外枠下ヒンジ体35は、外枠本体10よりも前方へ突出している部位に、上方へ突出しているヒンジ軸35aを有している。外枠下ヒンジ体35のヒンジ軸35aを、本体枠4における本体枠下ヒンジ体412の外枠用軸孔(図示は省略)に挿入させることで、本体枠下ヒンジ体412を回転可能に支持することができる。
外枠ヒンジ機構30は、外枠上ヒンジ体31の軸受溝31aに本体枠4における本体枠上ヒンジ体411の本体枠ヒンジ軸411aを軸支させると共に、外枠下ヒンジ体35のヒンジ軸35aを本体枠下ヒンジ体412の外枠用軸孔に挿入させることで、本体枠4を開閉可能に支持することができる。
外枠2の外枠ロック金具は、右枠体12の内側面(左側面)に上下に離間して二つ設けられている。外枠ロック金具は、本体枠4における錠ユニット680の外枠ロック爪684が夫々係止されることで、外枠2に対して本体枠4を閉じた状態で開放不能にロックすることができる。
外枠2の幕板45は、下枠体14に取付けられており、前端が下枠体14よりも前方へ突出している。幕板45を、合成樹脂によって形成されている。スベリ板46は、幕板45の上面において、左右に離間して二つ設けられている。スベリ板46は、外枠2に対して本体枠4を閉じた時に、本体枠4の下端面が当接するものである。スベリ板46は、摩擦抵抗の低い低摩擦材料によって形成されており、本体枠4を滑り易くして、開閉を容易にしている。
[3.扉枠]
パチンコ機1の扉枠3について、図1及び図2を参照して説明する。扉枠3は、外枠2の枠内と略同じ大きさで正面視において上下に延びた四角形に形成されており、本体枠4を介して外枠2の枠内を前側から開閉可能に取付けられている。扉枠3は、本体枠4に対して開閉可能に設けられており閉じた時に本体枠4に取付けられている遊技盤5の遊技領域5aが前方へ臨む遊技窓101を有する扉枠本体100と、扉枠本体100の後側に着脱可能に取付けられており遊技窓101を閉鎖する透明なガラス120と、遊技者の持ち球数を表示する持ち球数表示部140と、遊技盤5の遊技領域5a内に遊技球Bを打込むために遊技者が操作するハンドル160と、ハンドル160の外周を囲んでいる筒状のハンドルカバー170と、遊技者が操作可能な計数ボタンスイッチ180と、を備えている。
また、扉枠3は、扉枠本体100の前面において下端から一定の高さで左右方向の全幅に亘って延出している扉枠幕板190と、扉枠本体100の前面における遊技窓101と扉枠幕板190との間の部位において前方へ突出している棚ユニット200と、棚ユニット200の左右方向中央に設けられており遊技者が操作可能な演出操作ユニット250と、を備えている。持ち球数表示部140、及び計数ボタンスイッチ180は、棚ユニット200の上面(棚部201の上面)に設けられている。
更に、扉枠3は、扉枠本体100の前面における遊技窓101よりも上側に設けられている扉枠トップユニット300と、扉枠本体100の前面における遊技窓101よりも左側に設けられている扉枠左サイドユニット320と、扉枠本体100の前面における遊技窓101よりも右側に設けられている扉枠右サイドユニット340と、を備えている。
扉枠本体100は、本体枠4に対して開閉可能に取付けるための扉枠ヒンジ機構110を有している。扉枠ヒンジ機構110は、扉枠本体100の左上端に設けられている扉枠上ヒンジ体(図示は省略)と、扉枠本体100の左下端に設けられている扉枠下ヒンジ体112と、を有している。扉枠上ヒンジ体は、上方へ突出している扉枠上ヒンジ軸(図示は省略)を有している。扉枠ヒンジ機構110は、扉枠上ヒンジ体の扉枠上ヒンジ軸を後述する本体枠上ヒンジ体411の扉枠用上軸孔411bに下方から挿入すると共に、扉枠下ヒンジ体112の扉枠下ヒンジ軸112aを後述する本体枠下ヒンジ体412の扉枠用下軸孔412bに上方から挿入することで、扉枠3を本体枠4に対して開閉可能に支持することができる。
持ち球数表示部140は、6桁の7セグメントLEDにより構成されている。持ち球数表示部140は、棚ユニット200の上面における左右方向中央よりも左側の部位に設けられている。
ハンドル160は、扉枠本体100の前面における右下隅、すなわち、扉枠本体100の前面における遊技窓101と扉枠幕板190との間の右端付近に設けられている。ハンドル160は、回転軸を前後方向へ向けて遊技者が回転操作可能に取付けられている。ハンドル160は、自動車のステアリングのような形態に形成されており、中央のハブ部160aと、ハブ部160aから外方へ延出している複数(ここでは三本)のスポーク部160bと、スポーク部160bの先端同士を繋いでいる円環状のリング部160cと、を有している。
ハンドル160におけるリング部160cは、筒状のハンドルカバー170の前端から僅かに離れた前方の部位に設けられており、遊技者がリング部160cを握ることはできないように設けられている。従って、遊技者がハンドル160を回転操作する際には、主に、指をスポーク部160bの間を通すようにしてハブ部160aを握った状態で操作することとなる。この状態では、遊技者の指が、ハンドルカバー170の筒内に突っ込まれた状態となる。これにより、遊技者がハンドル160を操作している時に、本体枠4のバスレフダクト401eから本体枠スピーカ403の駆動による空気振動(風)が前方へ放出されると、扉枠幕板190のダクトグリル191、及び、ハンドルカバー170の開口部171、を通してハンドル160を握っている遊技者の指に風が送られることとなり、遊技者を驚かせることができると共に、これまでにない演出を遊技者に体感させることができる。
ハンドル160には、遊技者が押圧操作可能な発射停止スイッチ161と、ハンドル160の静電気容量の変化を検知するハンドルタッチセンサ162と、ハンドル160の回転角度を検知するハンドル回転センサ163と、を備えている(図35を参照)。
発射停止スイッチ161は、遊技者により押圧操作すると、枠制御基板640によって発射ソレノイド453の駆動が停止させられる。従って、遊技者がハンドル160を回転操作中に発射停止スイッチ161を押圧操作すると、ハンドル160の回転操作を戻さなくても、遊技球Bの発射を一時的に停止させることができる。その後、ハンドル160の回転操作はそのままで発射停止スイッチ161の押圧操作を解除すると、発射停止スイッチ161を押圧操作する前の打込み強さ(ハンドル160の回転操作に応じた打込み強さ)で再び遊技球Bを遊技領域5a内に打込むことができる。
ハンドルタッチセンサ162は、ハンドル160に作用する静電気を検知するものであり、遊技者がハンドル160に接触することで、遊技者から作用する静電気を検知し、遊技者のハンドル160への接触(タッチ)を検出する。そして、ハンドルタッチセンサ162が遊技者の接触を検出している時に、ハンドル160を回動させると、ハンドル回転センサ163の検知が受付けられ、ハンドル160の回転角度に応じた強さで発射ソレノイドの駆動が制御されて、遊技球Bを打込むことができる。
従って、遊技者がハンドル160に触れずに、何らかの方法でハンドル160を回転させて遊技球Bを遊技領域5a内に打込もうとしても、ハンドルタッチセンサ162が遊技者の接触を検知していないことから、発射ソレノイド453は駆動されず、遊技球Bを打込むことができない。これにより、遊技者が本来とは異なる方法でハンドル160を回転させて遊技が行われるのを防止することができ、パチンコ機1を設置する遊技ホールに係る負荷(負担)を軽減させることができる。
ハンドル回転センサ163は、可変抵抗器とされており、ハンドル160を回転させると、検知軸が回転すると共に検知軸の回転角度に応じて内部抵抗が変化する。従って、ハンドル160を回転させてハンドル回転センサ163の内部抵抗を変化させると、その内部抵抗に応じて後述する球発射ユニット450における発射ソレノイド453の駆動力が変化することとなり、ハンドル160の回転角度に応じた強さで、遊技球Bを遊技領域5a内へ打込むことができる。
ハンドルカバー170は、ハンドル160における環状部分の後方の部位から直径が広がるように後方へ延出しており、円錐筒状に形成されている。ハンドルカバー170の外周面における右周面と下周面に、内部と連通している開口部171が設けられている。ハンドルカバー170における下周面の開口部171の下方には、扉枠幕板190のダクトグリル191が位置している。これにより、遊技者がハンドル160を操作している時に、本体枠4のバスレフダクト401eから本体枠スピーカ403の駆動による空気振動(風)が前方へ放出されると、扉枠幕板190のダクトグリル191、及び、ハンドルカバー170の開口部171、を通してハンドル160を握っている遊技者の指に風が送られることとなり、遊技者を驚かせることができると共に、これまでにない演出を遊技者に体感させることができる。
計数ボタンスイッチ180は、棚ユニット200の上面において、左右方向中央よりも右側の部位に設けられている。計数ボタンスイッチ180は、詳細は後述するが、持ち球がある状態で押圧操作することで、持ち球を遊技球貸出装置8へ送って精算することができるものである。
扉枠幕板190は、一定の高さで、扉枠本体100の左右方向の幅と同じ長さで左右に延出しており、扉枠本体100の前面における下端に取付けられている。扉枠幕板190は、右端付近において前後に貫通しており、後述する本体枠4のバスレフダクト401eの前方に位置するダクトグリル191を有している。
ダクトグリル191は、縦格子と横格子とからなる格子状に形成されている。ダクトグリル191の横格子は、前後方向が一定の幅の帯板状で、前端が後端よりも上方に位置するように傾斜させた状態で設けられている。このダクトグリル191は、ハンドル160の下方(直下)に設けられている。これにより、遊技者がハンドル160を操作している時に、本体枠4のバスレフダクト401eから本体枠スピーカ403の駆動による空気振動(風)が前方へ放出されると、その風がダクトグリル191の横格子により斜め上前方へ誘導され、ハンドルカバー170の開口部171、を通してハンドル160を握っている遊技者の指に風が送られることとなり、遊技者を驚かせることができると共に、これまでにない演出を遊技者に体感させることができる。
棚ユニット200は、扉枠本体100の前面における遊技窓101と扉枠幕板190との間の部位に設けられている。棚ユニット200の左右方向中央には球形の演出操作ユニット250が設けられている。棚ユニット200は、上端から遊技窓101の下端に沿うように前方へ棚状に膨出している棚部201と、下端における左右方向中央より左側の部位から前方へ膨出している皿部202と、棚部201と皿部202との間の部位に設けられているスピーカグリル203と、棚部201の上面に設けられており前後左右に並んだ四つの押しボタンからなる設定調節ボタン204と、を有している。
棚部201は、上面が滑らかな面に形成されている。棚部201は、前端縁に扉枠左サイドユニット320及び扉枠右サイドユニット340の夫々の下端から連続するように半チューブ状に形成されている前端装飾部201aを有している。半チューブ状の前端装飾部201aは、球状の演出操作ユニット250の左右両側面に接続されるように設けられている。棚部201の上面には、左右方向中央よりも左側の部位に持ち球数表示部140が、左右方向中央よりも右側の部位に計数ボタンスイッチ180が、計数ボタンスイッチ180から前方且つ左方の部位に設定調節ボタン204が、夫々設けられている。
皿部202は、浅い皿状に形成されている。これにより、皿部202に、遊技者が手(指)を掛けたり、ポーチ、携帯電話機、サイフ、自動車等のキー、のような小物を置いたりすることができ、便利である。
スピーカグリル203は、後述する本体枠4における本体枠スピーカ403の前方に位置しており、複数の貫通孔を有するパンチングメタルにより形成されている。
演出操作ユニット250は、棚ユニット200における左右方向の中央に設けられており、前端が棚ユニット200よりも前方へ突出していると共に、上端が棚ユニット200よりも上方へ突出している。演出操作ユニット250は、全体が球状に形成されている。演出操作ユニット250は、上面に中央付近の設けられている円形の第一演出ボタン251と、第一演出ボタン251の周囲を囲むように設けられている環状の第二演出ボタン252と、を有している。詳細な図示は省略するが、第一演出ボタン251は円柱状に形成されており、第二演出ボタン252は円筒状に形成されている。第一演出ボタン251及び第二演出ボタン252は、同軸上に設けられており、その軸線が上方へ向かうほど前方へ移動するように傾斜している。
第一演出ボタン251及び第二演出ボタン252は、遊技者参加型演出に応じて全体が上方へ移動(ポップアップ)するように設けられている。第一演出ボタン251は、常時押圧可能とされているのに対して、第二演出ボタン252は、ポップアップした時のみ押圧可能とされている。
なお、図示は省略するが、第一演出ボタン251の内部には、バイブレータ(振動装置)が設けられている。
扉枠トップユニット300は、扉枠本体100の前面における遊技窓101よりも上側の部位で、左右方向の両端が扉枠左サイドユニット320の上端部分と扉枠右サイドユニット340の上端部分との間に挟まれるように設けられている。扉枠トップユニット300は、庇のように前方へ突出している。扉枠トップユニット300は、前端縁に沿って左右に延出し透光性を有する半チューブ状の扉枠トップ装飾体301を備えている。扉枠トップ装飾体301は、平面視において、左右方向中央が最も前方へ位置するように前後方向に湾曲している。
扉枠トップユニット300は、図示は省略するが、扉枠トップ装飾体301を発光装飾させるための複数のLEDが実装されている扉枠トップ装飾基板と、音声、音楽、効果音等のサウンドを出力する扉枠トップスピーカと、を有している。
扉枠左サイドユニット320は、扉枠本体100の前面における遊技窓101よりも左側の部位で、扉枠本体100の上端付近から棚ユニット200の棚部201よりも下方のスピーカグリル203付近まで上下に長く設けられている。扉枠左サイドユニット320は、上下方向の全長に亘って延出しており、透光性を有する半チューブ状の扉枠左サイド装飾体321を備えている。扉枠左サイド装飾体321は、下端付近が右方へ湾曲している。
扉枠左サイドユニット320は、図示は省略するが、扉枠左サイド装飾体321を発光装飾させるための複数のLEDが実装されている扉枠左サイド装飾基板を有している。
扉枠右サイドユニット340は、扉枠本体100の前面における遊技窓101よりも右側の部位で、扉枠本体100の上端付近から棚ユニット200の棚部201よりも下方のハンドルカバー170まで上下に長く設けられている。扉枠右サイドユニット340は、扉枠左サイドユニット320よりも前方へ長く突出しており、上下に長い仕切り立状に形成されている。
扉枠右サイドユニット340は、前端に沿って上下に延出しており透光性を有する半チューブ状の扉枠右サイド装飾体341と、扉枠右サイド装飾体341の後方に設けられており左側面を形成している透光性を有する扉枠右サイド左側面装飾体(図示は省略)と、扉枠右サイド装飾体341の後方に設けられており右側面を形成している透光性を有する扉枠右サイド右側面装飾体(図示は省略)と、扉枠右サイド装飾体341、扉枠右サイド左側面装飾体及び扉枠右サイド右側面装飾体を発光装飾させるための複数のLEDが実装されている扉枠右サイド装飾基板(図示は省略)と、を備えている。扉枠右サイド装飾体341は、下端付近が左方へ湾曲している。
また、扉枠右サイドユニット340は、下端付近において前後に貫通し、錠ユニット680の鍵穴682が前方へ臨む開口部342を有している。
[3-1.計数ボタンスイッチ]
計数ボタンスイッチ180は、棚ユニット200の上面において、左右方向中央よりも右側の部位に設けられている。計数ボタンスイッチ180は、持ち球がある(持ち球数>0)状態で押圧操作することで、持ち球を遊技球貸出装置8へ送って精算することができるものである。計数ボタンスイッチ180は、詳細は後述するが、押圧時間に応じて、持ち球を1個ずつ送ったり、所定個数(例えば、250個毎)ずつ送ったり、することができる。遊技球貸出装置8へ送られた持ち球数は、通信ネットワークを介して管理サーバ9へ送られると共に、その持ち球数を記憶したICカードが遊技球貸出装置8から排出される。
ここで、遊技球貸出装置8は、遊技ホールの島設備においてパチンコ機1に隣接するように設けられているものである(サンドとも称する)。遊技球貸出装置8には、詳細に図示は省略するが、現金やプリペイドカード等を投入する投入口、ICカードを挿入/排出するカード口、球貸ボタンスイッチ8a、返却ボタンスイッチ、投入金額や計数球数等が表示される表示部、等が設けられている。遊技球貸出装置8は、現金等を投入口に投入した状態で、球貸ボタンスイッチ8aを押圧操作すると、投入した金額の範囲内で所定個数ずつ遊技球Bが貸し出される。本実施形態では、貸し出された遊技球Bの数が、デジタルデータとして枠制御基板へ送信されると共に、通信ネットワークを介して管理サーバ9へ送信されて管理される。
計数ボタンスイッチ180について詳述すると、持ち球がある状態で遊技者が計数ボタンスイッチ180を「短押し(例えば、1回の押圧時間が500ms未満)」すると、持ち球から遊技球Bを1個計数する。計数ボタンスイッチ180を、「長押し(例えば、1回の押圧時間が500ms以上)」すると、持ち球数が250個未満になるまで、長押し中は所定時間(例えば、300ms)毎の計数通知タイミングで遊技球Bを250個ずつ計数する。長押し中に持ち球数が250個以下になると、遊技球Bを1個ずつ計数する。また、計数ボタンスイッチ180を、「長押し(例えば、1回の押圧時間が500ms以上)」した場合、計数ボタンスイッチ180を押し続けていなくても、無条件に持ち球の全数を計数するようにしても良い。
計数ボタンスイッチ180の押圧操作により計数されると、持ち球数表示部140において表示されている持ち球数が減算されて表示されると共に、遊技球貸出装置8の図示しない表示部に計数球数が表示される。
[4.本体枠]
パチンコ機1の本体枠4について、図3乃至図11等を参照して詳細に説明する。図11は、図3の正面図において発射ユニット及びファールユニット等を断面にして示す要部正面図である。本体枠4は、前方が開放された箱枠状に形成されており、内部に前方から遊技盤5が着脱可能に収容される。本体枠4は、正面左辺側前端の上下において、遊技ホールの島設備に取付けられる枠状の外枠2に開閉可能に取付けられると共に、開放された前面側が閉鎖されるように扉枠3が開閉可能に取付けられる。
本体枠4は、外枠2に対して開閉可能に支持される枠状の本体枠ベースユニット400と、遊技球Bを遊技盤5の遊技領域5aへ打込むための球発射ユニット450と、球発射ユニット450により発射されたにも関わらず遊技領域5aに打ち込まれなかった遊技球Bを回収するためのファールユニット470と、遊技盤5から排出された遊技球B及びファールユニット470により回収された遊技球Bを球発射ユニット450側へ送るための循環球経路ユニット500と、循環球経路ユニット500の下流端から遊技球Bを上方へ移動させる球揚上ユニット550と、球揚上ユニット550により揚上された遊技球Bを一つずつ球発射ユニット450へ送る球送ユニット600と、を備えている。
また、本体枠4は、循環球経路ユニット500の球抜口513pから排出された遊技球Bを受けるための球受トレー620と、球発射ユニット450や球揚上ユニット550等を制御する枠制御基板640を有する枠基板ユニット630と、外枠2と本体枠4及び扉枠3と本体枠4の間を施錠する錠ユニット680と、を備えている。
[4-1.本体枠ベースユニット]
本体枠4における本体枠ベースユニット400について、主に図12及び図13等を参照して詳細に説明する。図12は本体枠における本体枠ベースユニットを主な構成毎に分解して前から見た分解斜視図であり、図13は本体枠における本体枠ベースユニットを主な構成毎に分解して後ろから見た分解斜視図である。本体枠ベースユニット400は、外枠2に対して前方へ開閉可能に支持されると共に、扉枠3を前方へ開閉可能に支持することが可能なものである。本体枠ベースユニット400には、球発射ユニット450、ファールユニット470、循環球経路ユニット500、球揚上ユニット550、球送ユニット600、球受トレー620、枠基板ユニット630、錠ユニット680、等が取付けられている。
本体枠ベースユニット400は、前後に貫通しており遊技盤5が前方から挿入され遊技盤挿入部401a、及び遊技盤挿入部401aの下側に設けられているベース壁部401bを有し、全体が縦長の四角形に形成されている本体枠ベース401と、本体枠ベース401の左側面を補強している側面補強板402と、を備えている。
また、本体枠ベースユニット400は、本体枠ベース401におけるベース壁部401bの後側に取付けられる本体枠スピーカ403と、本体枠スピーカ403を後方から覆うようにベース壁部401bに取付けられ前方が解放されている箱状の本体枠スピーカボックス404と、本体枠ベース401における遊技盤挿入部401aを後方から開閉可能に設けられている裏カバー405と、を備えている。
更に、本体枠ベースユニット400は、本体枠ベース401に取付けられている遊技盤ロック部材406と、本体枠ベース401に取付けられている扉開放スイッチ407及び枠開放スイッチ408と、本体枠ベース401に取付けられている本体枠ヒンジ機構410と、を備えている。
本体枠ベース401は、正面視の形状が縦長の四角形で合成樹脂により形成されている。本体枠ベース401は、上端付近から下方へ全高の約2/3の範囲において前後に貫通している遊技盤挿入部401aと、遊技盤挿入部401aの下側に設けられているベース壁部401bと、ベース壁部401bの上端面における左右方向中央付近において上方(遊技盤挿入部401a内)へ突出している遊技盤規制部401cと、ベース壁部401bの左端付近において前後に貫通しており本体枠スピーカ403が前方へ臨む本体枠スピーカ口401dと、ベース壁部401bにおける右下隅において前後に貫通しているバスレフダクト401eと、を備えている。
また、本体枠ベース401は、ベース壁部401bにおける左右方向の中央の下部において前面側から後方へ凹んでおり球受トレー620が挿入されるトレー挿入凹部401fと、ベース壁部401bにおけるトレー挿入凹部401fの上方で前後に貫通しており循環球経路ユニット500の球蛇行部材513及び蛇行カバー514が挿入される球貯留通路挿入口401gと、を備えている。
また、本体枠ベース401は、ベース壁部401bの前面における球貯留通路挿入口401gの上方において左右に並んで設けられているファールユニット取付部401h及び球発射ユニット取付部401iと、ベース壁部401bにおける球発射ユニット取付部401iの右方において縦長に開口している球揚上ユニット取付部401jと、ベース壁部401bの後面における球発射ユニット取付部401iの後方となる部位に設けられている球送ユニット取付部401kと、ベース壁部401bの後面に設けられている循環球経路ユニット取付部401lと、ベース壁部401bにおける右上隅付近において前後に貫通しており錠ユニット680の錠シリンダ681が挿通されるシリンダ挿通口401mと、を備えている。
更に、本体枠ベース401は、トレー挿入凹部401fの左端から前方へ突出し、トレー挿入凹部401fに挿入されている球受トレー620の前端に弾性係止されることで、球受トレー620の前方への移動を規制している係止爪401nを備えている。
本体枠ベース401の遊技盤挿入部401aは、遊技盤5が前方から着脱可能に挿入される。ベース壁部401bは、上端面に遊技盤5が載置される。ベース壁部401bの前面には、扉開放スイッチ407、球発射ユニット450、ファールユニット470、球受トレー620、が取付けられる。また、ベース壁部401bの後面には、本体枠スピーカ403、本体枠スピーカボックス404、枠開放スイッチ408、循環球経路ユニット500、球揚上ユニット550、球送ユニット600、が取付けられる。
遊技盤規制部401cは、遊技盤挿入部401aに遊技盤5を挿入した時に、遊技盤5の左右方向及び後方への移動を規制するものである。本体枠スピーカ口401dは、図示するように、格子状に形成されており、本体枠4に対して扉枠3を閉じた状態で、扉枠3のスピーカグリル203の後方に位置するように設けられている。本体枠スピーカ口401dを後方から閉鎖するように、ベース壁部401bの後面に本体枠スピーカ403が取付けられる。
バスレフダクト401eは、左右に長い長孔筒状に形成されており、左右に並んで二つ設けられている。バスレフダクト401eは、詳細は後述するが、ベース壁部401bと本体枠スピーカボックス404とで構成される本体枠スピーカ403のエンクロージャ404aと連通しており、本体枠スピーカ403から後方へ出力されサウンドの位相を反転させて前方へ放出させるためのものである。本実施形態では、筒状のバスレフダクト401eにより、本体枠スピーカ403から出力されたサウンドの音域のうち、低音域を共振・増幅させてより重低音のサウンドを響かせることが可能である。このバスレフダクト401eは、本体枠4に対して扉枠3を閉じた状態で、扉枠3のダクトグリル191の後方に位置するように設けられている。
トレー挿入凹部401fは、前方から球受トレー620を着脱可能に支持することができる。トレー挿入凹部401fの底壁は、前端側が低くなるように傾斜している(図10を参照)。これにより、トレー挿入凹部401fに球受トレー620が挿入されていない状態で、遊技球Bがトレー挿入凹部401fにこぼれても、前方へ排出させることができる。また、トレー挿入凹部401fの底壁が、前端側が低くなるように傾斜しているため、載置されている球受トレー620を前方へスライドさせ易くすることができる。
球貯留通路挿入口401gは、ベース壁部401bの後面に取付けられた循環球経路ユニット500の球蛇行部材513及び蛇行カバー514の前側部分が貫通して前方へ突出するように設けられている。ファールユニット取付部401hは、ベース壁部401bの上端付近で本体枠スピーカ口401dよりも右側に設けられている。球発射ユニット取付部401iは、ファールユニット取付部401hよりも右側に設けられている。球揚上ユニット取付部401jは、ベース壁部401bの上端付近からバスレフダクト401eとの間の部位に設けられている。
球送ユニット取付部401kは、ベース壁部401bの後面において球送ユニット600の上面が上方(遊技盤挿入部401a内)へ臨むように設けられており、上方から球送ユニット600を着脱できるように設けられている。球送ユニット取付部401kに球送ユニット600を取付けると、球発射ユニット450の右方において球送ユニット600の弾性爪609bがベース壁部401bの係止孔を貫通して前方へ臨んだ状態となる。この状態で、弾性爪609bを後方へ押圧して弾性変形させると共に、球送ユニット600の上面に設けられているツマミ部609aを摘まんで引き上げると、球送ユニット600を上方へ取外すことができる。
循環球経路ユニット取付部401lは、ベース壁部401bの後面の左右方向中央部分で後述する本体枠スピーカボックス404のボックス拡張部404cよりも上方の部位に設けられている。シリンダ挿通口401mは、ベース壁部401bの上端付近で球揚上ユニット取付部401jの右方に設けられている。
側面補強板402は、平面視の形状が、右方へ開放されているコ字状に形成されており、本体枠ベース401の左側面に取付けられている。側面補強板402は、アルミ合金のような金属の押出型材により形成されている。側面補強板402は、左位置規制部材402aが上下に離間して二つ設けられている。左位置規制部材402aは、遊技盤5の左辺を位置決めするためのものである。
本体枠スピーカ403は、本体枠ベース401の本体枠スピーカ口401dを後方から閉鎖するようにベース壁部401bの後側に取付けられている。本体枠スピーカ403は、主に低音を出力するコーン型のスピーカである。
本体枠スピーカボックス404は、前方へ開放されている箱状に形成されており、本体枠スピーカ403を後方から覆うようにベース壁部401bの後側に取付けられる。本体枠スピーカボックス404は、ベース壁部401bに取付けることで本体枠スピーカ403のエンクロージャ404aを形成するものである。
本体枠スピーカボックス404は、本体枠スピーカ403の後方に位置するボックス本体部404bと、ボックス本体部404bの下端と接続されており正面視において右方へ延出しているボックス拡張部404cと、ボックス本体部404bの後面に設けられている枠基板ユニット軸支部404dと、を有している。本体枠スピーカボックス404のボックス拡張部404cは、バスレフダクト401eの後方を覆うように、本体枠ベース401の右端付近まで右方へ延出していると共に、一部がボックス本体部404bよりも後方へ延出している。
エンクロージャ404aは、ボックス本体部404bとボックス拡張部404cとで構成されており、バスレフダクト401eを通して外部と連通している。つまり、バスレフダクト401e、本体枠スピーカ403、本体枠スピーカボックス404、によって位相反転型のバスレフ型スピーカを構成している。
詳述すると、本体枠スピーカ403からは、所定のサウンドが前方及び後方に出力される。本体枠スピーカ403から前方へ出力されたサウンドは、本体枠スピーカ口401d、スピーカグリル203を通してパチンコ機1の前方へ放出される。
一方、本体枠スピーカ403から後方へ出力されたサウンドは、本体枠スピーカボックス404(エンクロージャ404a)内の空気を振動させることとなる。そして、このエンクロージャ404aは、筒状のバスレフダクト401eにより前方(外部)に解放されているため、バスレフダクト401eから前方へ放出されることとなる。この際に、バスレフダクト401eが所定長さの筒状に形成されていることから、その内部において気柱振動による共振により低音域が増幅されると共に、位相が反転された状態で前方へ放出される。
これにより、本体枠スピーカ403から前方へ出力されたサウンドと、後方へ出力されたサウンドとが、互いに打ち消し合って減衰するように作用することはなく、互いに共振して増幅するように作用することとなり、本体枠スピーカ403の口径が小さくても重低音が響く大きなサウンドを出力させることができ、豊かな低音を有したサウンドを遊技者に聴かせることができる。
このバスレフダクト401eは、扉枠3においてハンドル160の下方のダクトグリル191の後方に設けられているため、本体枠スピーカ403の駆動による空気振動(風)がバスレフダクト401eから前方へ放出されると、その風がダクトグリル191の横格子により斜め上前方へ誘導され、ハンドルカバー170の開口部171からハンドルカバー170内へ送られることとなる。従って、遊技者がハンドル160を操作している時に本体枠スピーカ403が駆動(サウンドが出力)されると、バスレフダクト401e及びダクトグリル191を介して、ハンドル160を握っている遊技者の指に風が送られることとなり、遊技者を驚かせることができると共に、これまでにない演出を遊技者に体感させることができる。
本体枠スピーカボックス404のボックス拡張部404cは、前後方向の奥行が上下の高さよりも長く形成されており、後端が枠基板ユニット630の後端よりも僅かに後方へ突出するように設けられている(図10を参照)。ボックス拡張部404cは、本体枠4に組立てた状態で、枠基板ユニット630(ユニットベース670及び電源基板ボックス672)との間に隙間が形成されるように、枠基板ユニット630の下方を覆っている。これにより、ボックス拡張部404cによって、枠基板ユニット630に接続されている各種の配線を垂れ下がり難くしている。
ボックス拡張部404cは、上面が後方へ向かって低くなるように傾斜している。これにより、上方から落下してきたゴミや遊技球B等を後方へ案内して排出させることができる。また、ボックス拡張部404cは、下面が後方へ向かって高くなるように傾斜している。これにより、外枠2に対して本体枠4を閉じる際に、ボックス拡張部404cが本体枠4の下枠体14に接触することはない。
この本体枠スピーカボックス404は、本体枠4に組立てた状態で、本体枠ベース401におけるトレー挿入凹部401fの後端側を吊り下げるように支持している。これにより、循環球経路ユニット500から排出された遊技球Bが球受トレー620に受けられることで、球受トレー620を介してトレー挿入凹部401fに上方から荷重(複数の遊技球Bの重さ)が作用しても、トレー挿入凹部401fが変形することはない。
裏カバー405は、パチンコ機1に組立てた状態で、本体枠4に取付けられている遊技盤5の後方を覆うように、本体枠ベース401に対して開閉可能に設けられている。裏カバー405は、透明な合成樹脂によって形成されている。裏カバー405は、正面視において左辺側が、本体枠ベース401に対して回転可能に支持され、右辺側が弾性係止爪により本体枠ベース401に着脱可能に係止される。
遊技盤ロック部材406は、本体枠ベース401(ベース壁部401b)の前面に、前後方向に延びた軸周りに対して回転可能に取付けられている。遊技盤ロック部材406は、遊技盤挿入部401aに遊技盤5を挿入した状態でロック位置に回転させることにより、遊技盤5の下端側が前方へ移動するのを阻止することができる。
扉開放スイッチ407は、本体枠4に対する扉枠3の開閉を検知するためのものである。扉開放スイッチ407は、本体枠ベース401のベース壁部401bにおけるシリンダ挿通口401mの下方に取付けられている。
枠開放スイッチ408は、外枠2に対する本体枠4の開閉を検知するためのものである。枠開放スイッチ408は、本体枠ベース401のベース壁部401bにおける扉開放スイッチ407の下方に取付けられている。
本体枠ヒンジ機構410は、本体枠ベース401の左辺上端に取付けられる本体枠上ヒンジ体411と、本体枠ベース401の左辺下端に取付けられる本体枠下ヒンジ体412と、を有している。
本体枠上ヒンジ体411は、上方へ円柱状に突出し外枠2における外枠上ヒンジ体31の軸受溝31aに挿入される本体枠ヒンジ軸411aと、本体枠ヒンジ軸411aに隣接して設けられており扉枠3における扉枠上ヒンジ体の扉枠上ヒンジ軸が下方から挿入される扉枠用上軸孔411bと、を備えている。
本体枠下ヒンジ体412は、外枠2における外枠下ヒンジ体35のヒンジ軸35aが下方から挿入される外枠用軸孔(図示は省略)と、扉枠3における扉枠下ヒンジ体112の扉枠下ヒンジ軸112aが上方から挿入される扉枠用下軸孔412bと、を備えている。
本体枠ヒンジ機構410は、本体枠上ヒンジ体411の本体枠ヒンジ軸411aを外枠2における外枠上ヒンジ体31の軸受溝31aに挿入させると共に、本体枠下ヒンジ体412の外枠用軸孔に外枠2における外枠下ヒンジ体35のヒンジ軸35aを挿入させることで、外枠2に対して本体枠4が開閉可能に支持される。
また、本体枠ヒンジ機構410は、本体枠上ヒンジ体411の扉枠用上軸孔411bに下方から扉枠3における扉枠上ヒンジ体の扉枠上ヒンジ軸を挿入させると共に、本体枠下ヒンジ体412の扉枠用下軸孔412bに上方から扉枠3における扉枠下ヒンジ体112の扉枠下ヒンジ軸112aを挿入させることで、本体枠4に対して扉枠3が開閉可能に支持される。
[4-2.球発射ユニット]
本体枠4における球発射ユニット450について、主に図14乃至図16等を参照して詳細に説明する。図14(a)は本体枠における球発射ユニットを前から見た斜視図であり、(b)は本体枠における球発射ユニットを後ろから見た斜視図である。図15(a)は球発射ユニットを分解して前から見た分解斜視図であり、(b)は球発射ユニットを分解して後ろから見た分解斜視図である。図16(a)は球発射ユニットの発射ユニットカバーを左後ろから見た斜視図であり、(b)は正面視において発射ユニットカバーのみを断面で示す球発射ユニットの説明図である。
球発射ユニット450は、遊技盤5の遊技領域5aに遊技球Bを発射するためのものであり、球送ユニット600から送られた遊技球Bを受取る球入口450aと、発射された遊技球Bが外部へ放出される球発射口450bと、遊技球Bを排出するための球排出口450cと、を有している。球発射ユニット450は、扉枠3の前面右下隅のハンドル160の回動角度に応じた強さで遊技球Bを打込むことができる。球発射ユニット450は、本体枠ベース401のベース壁部401bの前面の上部において、左右方向中央よりも右側に設けられている球発射ユニット取付部401iに取付けられる。
球発射ユニット450の球入口450aは、後面に設けられており、一つの遊技球Bが通過可能な大きさで四角く開口している。この球入口450aは、本体枠4に組立てた状態で、球送ユニット600の球送出口602の前方に位置しており、球送出口602と連通する。球発射口450bは、上面の左端において、左端側が低くなるように斜めに開口している。この球発射口450bは、本体枠4に組立てた状態で、ファールユニット470のファール右開口部470bの上部と連通する。球排出口450cは、左側面において開口している。この球排出口450cは、本体枠4に組立てた状態で、ファールユニット470のファール右開口部470bの下部と連通する。
球発射ユニット450は、平板状のユニットベース451と、ユニットベース451の前面側を覆うように取付けられている発射ユニットカバー452と、ユニットベース451よりも前方へ回転軸453aが突出するようにユニットベース451の後側に取付けられている発射ソレノイド453と、遊技球Bの発射の有無を検知可能な発射減算センサ454と、発射ソレノイド453の回転軸453aに取付けられている発射槌455と、発射槌455を発射ソレノイド453の回転軸453aに取付けているナット456と、発射ソレノイド453の回転軸453aに挿入されている円環状のスペーサ457と、発射槌455と接触可能な二つの当ゴム458と、一方の当ゴム458を保持している当ゴムホルダ459と、を備えている。
球発射ユニット450のユニットベース451は、鉄板のような金属板により形成されている。ユニットベース451には、球入口450aが設けられており、正面視において中央から上方の部位に四角く貫通している。
発射ユニットカバー452は、透光性の低い不透明な合成樹脂を使用して射出成形によって形成されている。発射ユニットカバー452は、ユニットベース451に対して前方へ離隔して設けられる平板状の前板452aと、前板452aの後側でユニットベース451の球入口450aの直下となる部位に設けられており左端側が高くなるように傾斜している球発射台452bと、球発射台452bを上下に貫通している検知口452cと、を備えている。
また、発射ユニットカバー452は、前板452aの後側で球発射台452bの正面視右上において球発射台452bとの間に遊技球Bが通過不能な隙間を形成している発射台上方壁部452dと、前板452aの後側で球発射台452b及び発射台上方壁部452dとを挟むように設けられているセンサ下取付部452e及びセンサ上取付部452fと、を備えている。
更に、発射ユニットカバー452は、前板452aの後側における球発射台452bよりも左方で球発射台452bの傾斜している延長線に沿うように設けられているガイド壁部452gと、前板452aの後側で球発射台452bの左端から下方へ延出した後に左方へ向かって低くなるように延出している排出案内壁部452hと、を備えている。
球発射台452bは、球入口450aを通って供給された遊技球Bが載置される。球発射台452bは、上面が正面視において左端が高くなるように傾斜している。球発射台452bは、上面が傾斜している方向へ沿って下方へ窄まるように一定の断面形状(台形状)に凹んでいる。球発射台452bは、傾斜方向(発射方向)の長さが遊技球Bの直径よりも若干長く、台形状に凹んでいる二つの傾斜面に接するように遊技球Bが一つのみ載置されるように形成されている。本実施形態では、球発射台452bが水平に対して約27度の角度で傾斜している。
検知口452cは、球発射台452bにおける台形状に凹んでいる部位の底部に設けられている。発射台上方壁部452dは、球発射台452bの傾斜している下端側の上方に設けられている。発射台上方壁部452dは、球発射台452bとの間で、遊技球Bが通過不能、且つ、発射槌455の先端が通過可能、の隙間を形成するように設けられている。これにより、球発射台452bに供給された遊技球Bは、発射台上方壁部452dの左端に当接して球発射台452bの傾斜方向の下流側(ここでは右方)への移動が規制された状態で球発射台452bに載置される。
センサ下取付部452eとセンサ上取付部452fとは、夫々に発射減算センサ454を構成している発光部454aと受光部454bとが取付けられる。
ガイド壁部452gは、上面が球発射口450bの底面を構成している。ガイド壁部452gは、上面が球発射台452bの傾斜と同じ角度で傾斜しており、球発射台452bから左方へ遊技球Bの直径よりも長く離れた部位に設けられている。本実施形態では、球発射台452bを可及的に短くしているため、球発射台452b上の遊技球Bを発射槌455により打撃した時に、遊技球Bの発射方向が定まり難く遊技盤5の外レール1001と内レール1002との間に上手く打ち込まれない恐れがあるが、ガイド壁部452gを設けているため、球発射台452bから発射された遊技球Bがガイド壁部452gの上面で跳ねることで、球発射口450bから外方へ飛び出して遊技球Bを外レール1001と内レール1002との間に打ち込ませることができる。
また、ガイド壁部452gを球発射台452bから離して設けているため、遊技球Bの打込み強さによってはガイド壁部452gにおいて遊技球Bが球発射台452bの方向へ戻ろうとしても、ガイド壁部452gと球発射台452bとの間を通って下方の排出案内壁部452h上に流下することとなり、球発射台452bに戻ることはない。
排出案内壁部452hは、ガイド壁部452gとの間で球排出口450cを形成している。排出案内壁部452hは、左端側が低くなるように傾斜しており、球発射台452bとガイド壁部452gとの間を通って流下してきた遊技球Bを左方へ案内して、左端の球排出口450cからファールユニット470側へ排出することができる。これにより、球発射台452bにおいて発射槌455により打撃されたのにも関わらず、球発射口450bから発射されなかった遊技球Bは、排出案内壁部452hに案内されて球排出口450cからファールユニット470へ排出される。
発射ソレノイド453は、前後に延びた回転軸453aを有するロータリーソレノイドにより構成されている。
発射減算センサ454は、球発射台452b上における遊技球Bの有無を検知することができる。発射減算センサ454は、検知光を照射する発光部454aと、検知光を受光する受光部454bと、で構成されており、夫々が発射ユニットカバー452のセンサ下取付部452eとセンサ上取付部452fとに取付けられる。発光部454aから発光された検知光は、球発射台452bの底部に設けられている検知口452cを通って受光部454bに受光される。この際に、球発射台452bに遊技球Bが載置されていると、遊技球Bにより検知光が遮られ、受光部454bにおいて検知光が受光されることはない。これにより、球発射台452bにおける遊技球Bの有無を検知することができる。
発射減算センサ454は、詳細は後述するが、球発射台452bから遊技球Bが発射されたことを検知して、遊技者の持ち球数を1個減算するためのものである。
発射槌455は、遊技球Bを打撃して発射するためのものである。発射槌455は、発射ソレノイド453の回転軸453aに取付けられ、回転軸453aと一緒に回転(回動)する。発射槌455の先端は、球発射台452bと発射台上方壁部452dとの間を通って、球発射台452bに載置されている遊技球Bに対して当接可能に設けられている。
ナット456は、発射ソレノイド453の回転軸453aに螺合されるものである。スペーサ457は、発射ソレノイド453の回転軸453aが挿入されるものである。発射ソレノイド453の回転軸453aが、後方からスペーサ457、発射槌455の順に挿通され、発射槌455から前方へ突出している先端にナット456が螺合されて締め付けられることにより、発射槌455が取付けられる。
当ゴム458は、発射槌455における回転範囲(回動範囲)を規制するようにユニットベース451に取付けられている。発射槌455が遊技球Bを打撃する方向(ここでは、反時計回りの方向)への回動端に設けられている当ゴム458は、当ゴムホルダ459を介してユニットベース451に取付けられている。
本実施形態の球発射ユニット450によれば、球発射台452bにおいて遊技球Bが1個のみ載置されるようにしていると共に、発射減算センサ454により球発射台452bから遊技球Bが発射されたことを検知するようにしているため、遊技球Bの発射を1個ずつ確実に検知することができる。
また、球発射ユニット450によれば、ユニットベース451を金属板としていると共に、発射ユニットカバー452を透光性の低い不透明な合成樹脂により形成しているため、外部からの光によってフォトセンサからなる発射減算センサ454が誤検知してしまうことを防止することができる。
また、球発射ユニット450によれば、遊技球Bの発射を検知しているため、遊技者が遊技をやめて精算する際に、遊技者に返却するために球発射台452bに載置されている遊技球Bを自動的に空打ちしてファール球にする必要はない。
[4-3.ファールユニット]
本体枠4におけるファールユニット470について、主に図17乃至図19を参照して詳細に説明する。図17(a)は本体枠におけるファールユニットを前から見た斜視図であり、(b)は本体枠におけるファールユニットを後ろから見た斜視図である。図18(a)はファールユニットを分解して前から見た分解斜視図であり、(b)はファールユニットを分解して後ろから見た分解斜視図である。図19(a)はファールユニットの側面断面においてファールシャッターを閉じた状態で示す説明図であり、(b)はファールユニットの側面断面においてファールシャッターを開いた状態で示す説明図である。
ファールユニット470は、球発射ユニット450により発射されて遊技盤5における外レール1001と内レール1002との間に打ち込まれたものの、遊技領域5aには打ち込まれなかった遊技球B、球発射ユニット450により発射されたものの発射強度が弱すぎて遊技盤5(外レール1001と内レール1002との間)にたどり着かなかった遊技球B、等を回収するためのものである。ファールユニット470は、上面において開口しているファール上開口部470aと、右側面において開口しているファール右開口部470bと、ファール上開口部470a及びファール右開口部470bと連通しており下端において後方へ向かって開口しているファール球出口470cと、を有している。
ファールユニット470は、本体枠ベース401のベース壁部401bの前面上部における左右方向中部分に設けられているファールユニット取付部401hに取付けられる。ファールユニット470は、本体枠4に組立てた状態で、上端がベース壁部401bの上端と略同じ高さであり、ファール右開口部470bが球発射ユニット450の球発射口450b及び球排出口450cにより閉鎖されている。つまり、本体枠4に組立てた状態では、ファール右開口部470bが、球発射口450bと球排出口450cとに連通している。ファール上開口部470a及びファール右開口部470bは、後述するユニットベース472と前カバー473とにより形成され、球排出口450cは、ユニットベース472に形成されている。
ファールユニット470は、ファール上開口部470aを遊技球Bが通過不能に開閉可能なファールシャッター471と、本体枠ベース401のベース壁部401bに取付けられるユニットベース472と、ユニットベース472の前面側に取付けられている前カバー473と、ファールシャッター471の後部を覆うようにユニットベース472の後側に取付けられている後カバー474と、ファールシャッター471を前方へ付勢しているバネ475と、ユニットベース472と前カバー473との間に設けられているファール球アース板金476と、を備えている。
ファールシャッター471は、ユニットベース472と前カバー473とが協働することで前後方向へスライド可能に支持されている。ファールシャッター471は、左右に長い帯板状のシャッター部471aと、シャッター部471aの左右両端から夫々が前方へ突出している二つの前方突出部471bと、シャッター部471aの後端辺から下方へ延出している平板状の後壁部471cと、を有している。
ファールシャッター471は、シャッター部471aによってファール上開口部470aを遊技球Bが通過不能に閉鎖することができる。二つの前方突出部471bは、前端が前カバー473よりも前方へ突出するように設けられていると共に、扉枠3における扉枠本体100の後面が当接可能に設けられている。後壁部471cは、後面にバネ475の前端が当接する。
ユニットベース472は、左右に長く右端付近において下方へ延出している部位を有する偏T字状で平板状の本体部472aと、本体部472aの上端付近において前後に貫通していると共に左右に延出しているシャッター挿通口472bと、本体部472aにおける下方へ延出している部位よりも左側の下端縁に沿って設けられており前後に貫通している複数の後支持口472cと、を有している。
ユニットベース472には、本体部472aにおける下方へ延出している部位の下端付近において、前後に貫通し角筒状に後方へ延出しているファール球出口470cが設けられている。筒状のファール球出口470cは、後方へ低くなるように傾斜している。
本体部472aは、下方へ延出している部位よりも左側の部位の下端縁が、右方へ低くなるように傾斜している。シャッター挿通口472bは、ファールシャッター471のシャッター部471aと前方突出部471bとが挿通可能な大きさに設けられている。複数の後支持口472cは、夫々が右方へ低くなるように左右に長く設けられており、本体部472aの傾斜している下端縁に沿って列設されている。後支持口472cは、ファール球アース板金476の支持片476aが隙間を有した状態で挿入されるように設けられている。
前カバー473は、左右に長く右端付近において下方へ延出している部位を有する偏T字状で平板状の前板473aと、前板473aの左端縁から後方へ延出している左壁部473bと、左壁部473bの下端から前板473aの下端縁に沿って右方へ延出していると共に後方へ延出している下壁部473cと、下壁部473cの右端から前板473aにおける下方へ延出している部位の左端縁に沿って下方へ延出していると共に後方に延出している垂下壁部473dと、垂下壁部473dの下端から前板473aにおける下方へ延出している部位の下端縁に沿って右方へ延出していると共に後方に延出している底壁部473eと、前板473aの右上端から後方へ延出している右壁部473fと、を備えている。
前板473aの上端縁及び右端縁は、ファール上開口部470a及びファール右開口部470bの前端縁を構成している。左壁部473bの上端の右端縁は、ファール上開口部470aの左端縁を、右壁部473fの上端の左端縁は、ファール上開口部470aの右端縁を、夫々構成している。右壁部473fの下端縁は、ファール右開口部470bの上端縁を、底壁部473eの右端縁は、ファール右開口部470bの下端縁を、夫々構成している。
前カバー473は、下壁部473cがファール上開口部470aの下方に位置しており、ファール上開口部470aを通して流下してきた遊技球Bを右方へ案内した後に、垂下壁部473dに沿って底壁部473e上に流下させることができる。この底壁部473eは、ファール球出口470cの前方となる部位が後方へ低くなるように傾斜していると共に、当該部位よりも右側の部位が右方へ高くなるように傾斜している。従って、底壁部473eに流下してきた遊技球Bは、後方へ案内されてファール球出口470cから後方へ排出されることとなる。また、底壁部473eは、右端縁がファール右開口部470bの下端縁を構成していることから、ファール右開口部470bから進入した遊技球Bは、底壁部473e上へ流下することとなり、底壁部473eに案内されてファール球出口470cから後方へ排出されることとなる。
また、前カバー473は、前板473aにおいて、下壁部473cに沿って左右に列設されており、前後に貫通している複数の前支持口473gを備えている。複数の前支持口473gは、ユニットベース472の後支持口472cと向かい合うように設けられている。また、前支持口473gは、ファール球アース板金476の支持片476aが隙間を有した状態で挿入されるように設けられている。
後カバー474は、前方が解放された箱状に形成されている。後カバー474の内部には、ファールシャッター471の後部が挿入されると共に、バネ475が配置される。後カバー474の後壁の前面には、バネ475の後端が当接する。
バネ475は、左右に離隔して二つ設けられており、箱状の後カバー474の内部に配置される。バネ475は、前端がファールシャッター471における後壁部471cの後面に当接していると共に、後端が後カバー474の後壁の前面に当接している。バネ475は、ファールシャッター471を前方へ付勢している。
ファール球アース板金476は、鉄板のような金属板により形成されており、最終的に図示しないアース線を介して遊技ホールのアースに接続されている。ファール球アース板金476は、左右に長い帯板状に形成されており、前後の長辺から複数の支持片476aが外方へ延出している。ファール球アース板金476は、前カバー473における下壁部473cの上面に載置されると共に、複数の支持片476aが、ユニットベース472の後支持口472c、及び、前カバー473の前支持口473g、に対して遊びを有した状態で挿入される。
これにより、ファール上開口部470aを通して下壁部473cへ向かって流下してきた遊技球Bは、ファール球アース板金476に接触して帯電している静電気が除去された状態で右方へ案内される。この際に、支持片476aが、後支持口472c及び前支持口473gに遊嵌されているため、遊技球Bの接触により、ファール球アース板金476が振動すると共に、その振動によりファール球アース板金476上の塵やゴミが、遊嵌されている後支持口472c及び前支持口473gの隙間を通して外部に排出される。なお、このファール球アース板金476は、落下してくる遊技球Bに対する補強も兼ねている。
このファールユニット470は、パチンコ機1に組立てた状態で、本体枠4のベース壁部401bの前面における左右方向中央付近の上部に設けられているファールユニット取付部401hに取付けられている。この状態では、ファールユニット470の右側に球発射ユニット450が隣接して取付けられている。
そして、図11に示すように、ファールユニット470のファール上開口部470aは、ベース壁部401bの上端付近に位置していると共に、球発射ユニット450における遊技球Bの発射方向の軸線上に位置している。換言すると、ファール上開口部470aは、遊技盤5における外レール1001と内レール1002の間の下端の開口部分と、球発射ユニット450の球発射口450bと、の間の部位に設けられている。
一方、ファールユニット470のファール右開口部470bは、その上部が球発射ユニット450の球発射口450bと連通していると共に、下部が球発射ユニット450の球排出口450cと連通している。従って、遊技盤5における外レール1001と内レール1002の間の下端の開口部分と、球発射ユニット450の球発射口450bと、の間の部位には、ファール上開口部470aとファール右開口部470bとが設けられている。これにより、球発射ユニット450の球発射口450bから発射された遊技球Bは、ファール右開口部470bからファールユニット470内に進入した上で、ファール上開口部470aを通って遊技盤5における外レール1001と内レール1002との間に進入することとなる。
本実施形態のファールユニット470は、本体枠4に対して扉枠3を前方へ開いた状態にすると、図19(a)に示すように、ファールシャッター471がバネ475の付勢力により前方へスライドし、ファールシャッター471のシャッター部471aが、ユニットベース472の前面と前カバー473の前板473aとの間に突出して、ファール上開口部470aを遊技球Bが通過不能に閉鎖している。つまり、ファールシャッター471が閉位置の状態となっている。この状態では、ファールシャッター471の後壁部471cがユニットベース472の本体部472aの後面に当接しており、これ以上前方へスライドすることはない。
ファールシャッター471が閉位置の状態で、球発射ユニット450から遊技球Bが発射されると、発射された遊技球Bは、ファール右開口部470bからファールユニット470内に進入した上で、ファールシャッター471のシャッター部471aの下面に当接し、ファール上開口部470aを通って上方へ打ち出されることなくファールユニット470内を流下することとなる。ファールユニット470内を流下した遊技球Bは、下壁部473c(ファール球アース板金476)、垂下壁部473d、底壁部473e、等に案内されて、後側のファール球出口470cから循環球経路ユニット500に供給される。これにより、扉枠3を開いている時に、遊技球Bが発射されても、ファールユニット470から遊技球Bが外部へ漏れることはない。
なお、扉枠3を本体枠4に対して開くと、扉開放スイッチ407がOFFになるため、扉開放スイッチ407のOFFにより球発射ユニット450から遊技球Bの発射を停止させるようにしても良い。或いは、扉枠3を開いた時には、遊技球Bの発射を停止させるのではなく、主制御基板1310による遊技一時停止とし、扉枠3を閉じると遊技再開とするようにしても良い。
また、本体枠4を外枠2に対して開いた(枠開放スイッチ408がOFF)時には、扉枠3が閉じられており遊技球Bが外部へ漏れることはないため、球発射ユニット450からの遊技球Bの発射を停止させないようにしても良い。或いは、本体枠4を開いた時に、上記の扉枠3を開いた時と同じ処理を行うようにしても良い。
本体枠4に対して扉枠3を閉じた状態にすると、扉枠3の後面がファールシャッター471における二つの前方突出部471bの前端に当接し、バネ475の付勢力に抗してファールシャッター471が後方へスライドした状態となる(図19(b)を参照)。この状態では、ファールシャッター471のシャッター部471aがユニットベース472の前面よりも後方に位置しており、ファール上開口部470aを遊技球Bが通過可能に開口している。つまり、ファールシャッター471が開位置の状態となっている。
ファールシャッター471が開位置の状態で、球発射ユニット450から遊技球Bが発射されると、発射された遊技球Bは、ファール右開口部470bからファールユニット470内に進入した上で、ファール上開口部470aを通って上方の遊技盤5側(外レール1001と内レール1002との間)へ打ち出されることとなる。そして、打ち出された遊技球Bが内レール1002の上端に設けられている逆流防止部材1007を越えることで、遊技球Bが遊技領域5a内に打ち込まれることとなる。
なお、球発射ユニット450から発射されたものの、内レール1002の上端の逆流防止部材1007を越えなかった遊技球B(遊技領域内に打ち込まれなかった遊技球B)は、外レール1001と内レール1002との間を流下してファール球としてファール上開口部470aから進入してファールユニット470により回収される。ファール上開口部470aを通って回収された遊技球Bは、下壁部473cの上面に載置されているファール球アース板金476上に流下し、ファール球アース板金476により静電気が除去される。この際に、ファール球アース板金476は遊嵌されているため、遊技球Bが当接することで振動し、その振動によりファール球アース板金476上の塵やゴミ等が後支持口472cや前支持口473gからファールユニット470外へ排出される。
ファール球アース板金476(下壁部473c)上に流下した遊技球Bは、その傾斜により右方へ案内され、垂下壁部473dに沿って底壁部473e上に流下し、底壁部473eの傾斜により後方へ案内されてファール球出口470cが循環球経路ユニット500へ排出される。
また、ファールユニット470では、球発射ユニット450の球排出口450cから排出された遊技球Bを、ファール右開口部470bの下部において受け取る。ファール右開口部470bの下部からファールユニット470内に進入した遊技球Bは、底壁部473e上に流下し、底壁部473eの傾斜により後方へ案内されてファール球出口470cが循環球経路ユニット500へ排出される。
このように、ファールユニット470によれば、球発射ユニット450から発射されたにも関わらず遊技盤5の遊技領域5aに打ち込まれなかった遊技球Bを外部へ漏らすことなく回収して、循環球経路ユニット500へ供給することができる。そして、詳細は後述するが、循環球経路ユニット500では、ファール球出口470cから供給された遊技球Bをファール球センサ507により検知する。このファール球センサ507により遊技球Bが検知されると、遊技者の持ち球数を1個加算する。
また、ファールユニット470では、ユニットベース472、前カバー473、後カバー474、等が透明に合成樹脂によって形成されているため、外部から内部を視認することができ、内部での球詰まりを発見し易い。
[4-3a.ファールユニットの第二実施形態]
続いて、ファールユニット470の第二実施形態について説明する。第二実施形態のファールユニット470は、ファールシャッター471の開閉機構が異なるのみで、他の構成は上記のファールユニット470と同じである。第二実施形態のファールユニット470は、図示省略するが、ファールシャッター471を開閉するためのモータやソレノイドのような電動アクチュエータが設けられている。
この実施形態では、本体枠4に対して扉枠3を開くことで扉開放スイッチ407がOFFになると、電動アクチュエータによりファールシャッター471が閉位置へスライドする。これにより、扉枠3を開けた状態で球発射ユニット450から遊技球Bが発射されても、ファール上開口部470aから遊技球Bが外部へ飛び出すことはない。
そして、扉枠3を閉じて扉開放スイッチ407がONになると、電動アクチュエータによりファールシャッター471が開位置へスライドして、球発射ユニット450から発射された遊技球Bを、ファール上開口部470aを通って遊技盤5側へ打ち込むことが可能となる。
なお、本体枠4を外枠2に対して開くことで枠開放スイッチ408がOFFになった時にも、電動アクチュエータによりファールシャッター471が閉位置へスライドするようにしても良い。この場合、枠開放スイッチ408によるファールシャッター471の開閉処理を、上記の扉開放スイッチ407による開閉処理と同じにすると、ソフトウエアにかかる構成を簡単にすることができる。
また、扉枠3の開放と本体枠4の開放の何れも検知可能な開放スイッチ(図示は省略)を設けて、電動アクチュエータによりファールシャッター471を開閉させるようにしても良く、開閉にかかる機構を簡単なものにすることができる。
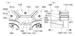
[4-4.循環球経路ユニット]
本体枠4における循環球経路ユニット500について、主に図20乃至図27等を参照して詳細に説明する。図20(a)は本体枠における循環球経路ユニットを前から見た斜視図であり、(b)は本体枠における循環球経路ユニットを後ろから見た斜視図である。図21は循環球経路ユニットを分解して前から見た分解斜視図であり、図22は循環球経路ユニットを分解して後ろから見た分解斜視図である。図23(a)は循環球経路ユニットにおける球蛇行部材及び球抜シャッターのみを示す平面図であり、(b)は循環球経路ユニットにおける球蛇行部材及び球抜シャッターのみを示す前から見た斜視図である。図24(a1)は閉位置の球抜シャッター及び球蛇行部材を球受トレーと共に側面断面で示す説明図であり、(a2)は(a1)における球抜シャッターの部位のみを底面から示す説明図であり、(b1)は開位置の球抜シャッター及び球蛇行部材を球受トレーと共に側面断面で示す説明図であり、(b2)は(b1)における球抜シャッターの部位のみを底面から示す説明図である。
また、図25(a)は閉位置の球抜シャッターに鉄球が磁着している状態で球蛇行部材及び球抜トレーと共に側面断面で示す説明図であり、(b)は開位置の球抜シャッターに鉄球が磁着している状態で球蛇行部材及び球抜トレーと共に側面断面で示す説明図であり、(c)は(b)の状態から球抜シャッターを閉位置へスライドさせて下面に鉄球が磁着している状態で球蛇行部材及び球抜トレーと共に側面断面で示す説明図である。図26(a)は循環球経路ユニットをアウト球センサの部位で切断して正面断面で示す説明図であり、(b)は循環球経路ユニットをセーフ球センサの部位で切断して正面断面で示す説明図である。図27(a)は循環球経路ユニットの蛇行カバーを外した状態で外枠と共に本体枠の下部を拡大して示す前から見た斜視図であり、(b)は循環球経路ユニットの蛇行カバーを外した状態で外枠と共に本体枠の下部を拡大して示す後ろから見た斜視図である。
循環球経路ユニット500は、遊技盤5から排出された遊技球B及びファールユニット470により回収された遊技球Bを、複数貯留すると共に、貯留している遊技球Bを、球揚上ユニット550を介して球発射ユニット450側へ送るためのものである。循環球経路ユニット500は、本体枠ベース401のベース壁部401bの後面に設けられている循環球経路ユニット取付部401lに取付けられる。
循環球経路ユニット500は、左右に長く上方へ向かって開口しているアウト球受口500aと、アウト球受口500aの後方に設けられ左右に長く上方へ向かって開口しているセーフ球受口500bと、前面において開口しているファール球受口500cと、下端付近において右方へ向かって開口している球放出口500dと、を有している。アウト球受口500a及びセーフ球受口500bは、前後方向の奥行が遊技球Bの直径よりもやや広く形成されており、左右方向には複数の遊技球Bが通過可能に形成されている。ファール球受口500c及び球放出口500dは、遊技球Bが一つずつ通過可能な大きさに形成されている。
アウト球受口500aには、遊技盤5のアウト口に受入れられた遊技球B(アウト球)が受けられる。セーフ球受口500bには、遊技盤5の一般入賞口、始動口、大入賞口、等の入賞口に受入れられた遊技球B(セーフ球)が受けられる。ファール球受口500cには、ファールユニット470のファール球出口470cから排出された遊技球B(ファール球)が受けられる。球放出口500dは、アウト球受口500a、セーフ球受口500b、ファール球受口500c、に受けられて内部に貯留された遊技球Bを放出して球揚上ユニット550に受け渡すものである。
また、循環球経路ユニット500は、アウト球受口500aに受けられた遊技球Bが流通するアウト球通路501と、セーフ球受口500bに受けられた遊技球Bが流通するセーフ球通路502と、ファール球受口500cに受けられた遊技球Bが流通するファール球通路503と、アウト球通路501、セーフ球通路502、及びファール球通路503、の夫々の下流端と連通しており下流端が球放出口500dとされている球貯留通路504と、を有している。
更に、循環球経路ユニット500は、アウト球通路501を流通している遊技球B(アウト球)を一つずつ検知するアウト球センサ505と、セーフ球通路502を流通している遊技球B(セーフ球)を一つずつ検知するセーフ球センサ506と、ファール球通路503を流通している遊技球B(ファール球)を一つずつ検知するファール球センサ507と、を有している。セーフ球センサ506は、従来のパチンコ機で言う全入賞口センサと言う意味があり、全ての入賞口の入賞個数の合計と比較することによって不正入賞の判定に使うことが可能である。
循環球経路ユニット500は、平板状の球受前板510と、球受前板510の後側に取付けられている球受前部材511と、球受前部材511の後側に取付けられている球受後部材512と、を備えている。球受前板510、球受前部材511、球受後部材512、の下方に球貯留通路504が設けられている。
また、循環球経路ユニット500は、球受前板510、球受前部材511、球受後部材512、の下方に設けられており上方へ開放されている球蛇行部材513と、球蛇行部材513の上方を覆っている蛇行カバー514と、球蛇行部材513から遊技球Bを排出するための球抜シャッター515と、球抜シャッター515に取付けられている磁石516と、球受前部材511の後側に取付けられている循環球経路中継基板517と、を備えている。
球受前板510は、左右に延出しており、左右方向中央の下部付近において前後に貫通しているファール球受口500cが設けられている。
球受前部材511は、上面において、球受前板510と協働してアウト球受口500aを形成している。球受前部材511には、アウト球通路501及びファール球通路503が、前方へ開放された状態で形成されており、球受前板510が取付けられることによりそれらの前方側が閉鎖される。アウト球通路501は、その下流端が、球受前部材511の左端下部において下方へ向かって開口している。アウト球通路501の下流端の開口は、セーフ球通路502の下流端の開口の前方に位置している。ファール球通路503は、その下流端が、球受前部材511においてアウト球通路501の下流端よりも右下の部位で下方へ向かって開口している。
球受前部材511は、アウト球受口500aの左端縁を形成している垂直壁の途中から左右方向中央付近まで右方へ向かって低くなるように傾斜しているアウト球受板部上511aと、アウト球受口500aの右端縁を形成している垂直壁におけるアウト球受板部上511aよりも下方の部位からアウト球受口500aの左端縁の下方付近まで左方へ向かって低くなるように傾斜しているアウト球受板部下511bと、アウト球受板部下511bの左端から遊技球Bが一列で流通可能な幅で左下へ向かってクランク状に延出しているクランク部511cと、を有している。
アウト球受板部上511aの右端と、アウト球受板部下511bとの間の高さは、遊技球Bの直径の2倍ほどであり、それにより左側におけるアウト球受板部下511bの高さは、左方へ向かうほど低くなるように形成されている。これにより、アウト球受口500aに受けられた遊技球Bを1段に整列させることができる。
クランク部511cにおけるアウト球受板部下511bの下流端の直下となる垂直に延出している部位に、アウト球センサ505が取付けられている。
球受前部材511では、アウト球受板部上511a、アウト球受板部下511b、クランク部511c、等によってアウト球通路501を構成している。従って、アウト球通路501は、上流側が多くの遊技球Bを受入可能に広く形成されており、受入れられた遊技球Bを一列に整列させて下流の球貯留通路504(球蛇行部材513)へ受け渡すようにしている。
また、球受前部材511において、ファール球通路503は、アウト球受板部上511aの下方、且つ、アウト球受板部下511bの下方の部位で、ファール球受口500cの後方の部位からアウト球受板部下511bの左端よりも右側の部位まで左方へ向かって低くなるように傾斜した後に、下方へ向かって短く延出している。球受前部材511では、ファール球通路503における左方へ延出している部位にファール球センサ507が取付けられている。このファール球通路503は、遊技球bが一列で流通するように形成されており、ファール球通路503を流通した遊技球Bは、球貯留通路504(球蛇行部材513)におけるアウト球通路501から受け渡される部位よりも下流の部位に受け渡される。
球受前部材511は、アウト球受板部上511aの前端縁、アウト球受板部下511bの前端縁、及び、ファール球通路503を形成し左右に延出している底壁の前端縁、に遊技球Bの流通を妨げない大きさで凹んでいる凹部511dが設けられている。この凹部511dにより、アウト球通路501内やファール球通路503内の塵やゴミ等を外部に排出可能としている。
また、球受前部材511は、後面におけるファール球通路503の後方の部位に、循環球経路中継基板517が取付けられる。
球受後部材512は、上面において、球受前部材511と協働してセーフ球受口500bを形成している。球受後部材512には、セーフ球通路502が前方へ開放された状態で形成されており、球受前部材511が取付けられることによりセーフ球通路502の前方側が閉鎖される。セーフ球通路502は、球受後部材512の左端下部においてその下流端が下方へ向かって開口している。セーフ球通路502の下流端の開口は、アウト球通路501の下流端の開口の後方に位置している。つまり、アウト球通路501の下流端の開口と、セーフ球通路502の下流端の開口とは、前後に並んでいる。
球受後部材512は、セーフ球受口500bの左端縁を形成している垂直壁の途中から左右方向中央付近まで右方へ向かって低くなるように傾斜しているセーフ球受板部上512aと、セーフ球受口500bの右端縁を形成している垂直壁におけるセーフ球受板部上512aよりも下方の部位からセーフ球受口500bの左端縁の下方付近まで左方へ向かって低くなるように傾斜しているセーフ球受板部下512bと、セーフ球受板部下512bの左端から遊技球Bが一列で流通可能な幅で左下へ向かってクランク状に延出しているクランク部512cと、を有している。
セーフ球受板部上512aの右端と、セーフ球受板部下512bとの間の高さは、遊技球Bの直径の2倍ほどであり、それにより左側におけるセーフ球受板部下512bの高さは、左方へ向かうほど低くなるように形成されている。これにより、セーフ球受口500bに受けられた遊技球Bを1段に整列させることができる。
クランク部512cにおけるセーフ球受板部下512bの下流端の直下となる垂直に延出している部位に、セーフ球センサ506が取付けられている。
球受後部材512では、セーフ球受板部上512a、セーフ球受板部下512b、クランク部512c、等によってセーフ球通路502を構成している。従って、セーフ球通路502は、上流側が多くの遊技球Bを受入可能に広く形成されており、受入れられた遊技球Bを一列に整列させて下流の球貯留通路504(球蛇行部材513)の最上流部に受け渡すようにしている。
球受後部材512は、セーフ球受板部上512aの前端縁、セーフ球受板部下512bの前端縁、に遊技球Bの流通を妨げない大きさで凹んでいる凹部512dが設けられている。この凹部512dにより、セーフ球通路502内の塵やゴミ等を外部に排出可能としている。
球蛇行部材513は、前後に蛇行しながら右端側が低くなるように左右方向に延出しており、多数の遊技球Bを貯留可能な球貯留通路504を形成している。球蛇行部材513は、図23等に示すように、後部を上流端として前方へ向かって低くなるように傾斜している第一直行部513aと、第一直行部513aの下流端(前端)から右方へ屈曲した後に更に後方へ低くなるように屈曲している第一折返部513bと、第一折返部513bの下流端(後端)から後方へ低くなるように第一直行部513aの後端付近の位置まで延出している第二直行部513cと、第二直行部513cの下流端(後端)から右方へ屈曲した後に更に前方へ低くなるように屈曲している第二折返部513dと、第二折返部513dの下流端(前端)から前方へ低くなるように第二直行部513cの前端と同じ位置まで延出している第三直行部513eと、第三直行部513eの下流端(前端)から右方へ屈曲した後に更に後方へ低くなるように屈曲している第三折返部513fと、第三折返部513fの下流端(後端)から後方へ低くなるように第三直行部513eの後端と同じ位置まで延出している第四直行部513gと、第四直行部513gの下流端(後端)から右方へ屈曲した後に更に前方へ低くなるように屈曲している第四折返部513hと、第四折返部513hの下流端(前端)から前方へ低くなるように第四直行部513gの前端と同じ位置まで延出している第五直行部513iと、第五直行部513iの下流端(前端)から右方へ低くなるように屈曲している第一屈曲部513jと、第一屈曲部513jの下流端(右端)から右方へ低くなるように延出している第一横行部513kと、第一横行部513kの下流端(右端)から後方へ低くなるように屈曲している第二屈曲部513lと、第二屈曲部513lの下流端(後端)から後方へ低くなるように第五直行部513iの下流端付近の位置まで延出している第六直行部513mと、第六直行部513mの下流端(後端)から右方へ低くなるように屈曲している第三屈曲部513nと、第三屈曲部513nの下流端(右端)から右方へ低くなるように延出している第二横行部513oと、を備えている。第二横行部513oの下流端の開口が、右方へ開口している球放出口500dを形成している。
球蛇行部材513(球貯留通路504)では、第一直行部513aの後端の上方に、セーフ球通路502の下流端の開口が位置すると共に、その前方にアウト球通路501の下流端の開口が位置する。また、第二直行部513cの後端の上方に、ファール球通路503の下流端の開口が位置する。
また、球蛇行部材513は、第一横行部513kにおいて上下に貫通している球抜口513pと、第一横行部513kの下面において球抜口513pの左右両端縁に沿うように前後に延出していると共に下方へ突出している一対のレール部513qと、一対のレール部513qの夫々の下端から互いに接近するように突出している支持片513rと、一対のレール部513qにおける互いに対面している側面において凹んでいる係止凹部513sと、を備えている。
球蛇行部材513の球抜口513pは、詳細は後述するが、球抜シャッター515により開閉可能に閉鎖される。一対のレール部513qは、球抜口513pよりも後方に延出している。一対のレール部513qは、球抜シャッター515を前後方向へスライド可能に支持する。二つの支持片513rは、球抜シャッター515の落下を防止している。また、二つの支持片513rは、球抜口513pの部位で夫々のレール部513qから突出している。これにより、球抜口513pを通して球抜シャッター515に遊技球Bの荷重が作用しても、球抜シャッター515を十分に支持することができ、球抜シャッター515の脱落を防止している。係止凹部513sは、球抜シャッター515の係止突起515fが挿入されることで、球抜シャッター515を開位置に保持することができる。
なお、球蛇行部材513には、詳細は後述するが、遊技球B(循環球)の適量を目視で確認可能なゲージ部520と、流通している遊技球Bを検知可能な循環球過少センサ521及び循環球過多センサ522とが、設けられている。
この球蛇行部材513によれば、前後に蛇行していると共に右方へ低くなるように左右方向へ延びている球貯留通路504を形成することができる。また、球蛇行部材513は、複数の折返部(第一折返部513b、第二折返部513d、第三折返部513f、第四折返部513h)や複数の屈曲部(第一屈曲部513j、第二屈曲部513l、第三屈曲部513n)が設けられているため、それらの部位で遊技球Bの流通速度を抑制させることができ、球揚上ユニット550の入口側にかかる衝撃を緩和させることができる。
蛇行カバー514は、球蛇行部材513の開放されている上端を覆うように球蛇行部材513に取付けられる。蛇行カバー514は、球蛇行部材513に取付けることで、球蛇行部材513(球貯留通路504)から遊技球Bが外部に漏れたり、外部から球貯留通路504に対応していない遊技球Bや不正な遊技球Bが入れられたり、するのを防止することができる。
蛇行カバー514は、左端における前後に延びている部位の長さが、球蛇行部材513の第一直行部513aよりも後方へ短く形成されている。これにより、球蛇行部材513に蛇行カバー514を取付けた状態にすると、球蛇行部材513の第一直行部513aの後部が上方へ開放された状態となり、その部位を通してアウト球通路501及びセーフ球通路502と連通可能となる。
また、蛇行カバー514は、球蛇行部材513における第二直行部513cの後端付近の上方となる部位に上下に貫通している開口部514aを有している。この開口部514aを通して、ファール球通路503が球貯留通路504と連通可能となる。
球抜シャッター515は、循環球経路ユニット500等から遊技球B(循環遊技球)を抜く(排出する)ためのものであり、球蛇行部材513の下面に前後方向へスライド可能に取付けられている。球抜シャッター515は、球抜口513pを閉鎖可能な平板状の扉部515aと、扉部515aの前端縁から上下左右に延出しているツマミ部515bと、扉部515aの左右両端の後端から夫々が後方へ延出している一対の棹部515cと、扉部515aの後方において一対の棹部515cを繋ぐことで上下に貫通している開口部515dを形成している繋部515eと、一対の棹部515cにおける繋部515eと後端との間において夫々の外側面から膨出している係止突起515fと、一対の棹部515cの後端から互いに外方へ延出している鉤部515gと、扉部515aの下面から円筒状に突出している磁石支持部515hと、を有している。
球抜シャッター515の磁石支持部515hは、筒内に円筒状の磁石516を挿入させることで当該磁石516を支持することができる。この磁石支持部515hは、支持している磁石516の外周面の後端側が、開口部515dにおける前側の内周面と一致するように、後方へ開放されている(図24等を参照)。
球抜シャッター515は、球蛇行部材513に取付けた状態では、扉部515aと一対の棹部515cとの左右両外側に、球蛇行部材513の一対のレール部513qが位置すると共に、扉部515aと一対の棹部515cとの上下両側に第一横行部513kの下面と一対の支持片513rの上面とが位置している。これにより、球抜シャッター515は、後述する閉位置と開位置との間で前後方向にスライド可能とされている。
なお、球抜シャッター515における磁石支持部515hの下端面には、ビス孔が設けられており、磁石支持部515hに磁石516を挿入した状態でビス孔にビスをねじ込むと、ビスの頭部の一部が磁石516の下方に位置し、磁石支持部515hから磁石516が落下することはない。
球抜シャッター515は、通常の状態では、図24(a1)及び(a2)に示すように、扉部515aによって球抜口513pを遊技球Bが通過不能としている閉位置の状態となっている。この状態では、ツマミ部515bの後面が第一横行部513kの前面に当接していると共に、一対の係止突起515fが一対のレール部513qの夫々の後端面に接している。これにより、球抜シャッター515は前後方向への移動が規制されて閉位置に保持されている。従って、球抜シャッター515が閉位置の状態では、球抜口513pから遊技球Bが下方の球受トレー620に排出されることはない。
また、球抜シャッター515が閉位置の状態では、磁石支持部515h(磁石516)が球抜口513pの中央付近の下方に位置している。詳細は後述するが、球貯留通路504を鉄球SB(図25を参照)が流通してきた場合、磁石516の磁力により当該鉄球SBが扉部515a上に磁着して球詰りが発生することとなり、鉄球SBの混入を検出することが可能となる。
閉位置の状態の球抜シャッター515において、ツマミ部515bを摘まんで前方へ引っ張ると、棹部515cに設けられている係止突起515fがレール部513qの後端面に強く当接することとなる。この際に、係止突起515fにかかる力によって棹部515cが内側へ弾性変形し、係止突起515fがレール部513qの内側面側へ移動して球抜シャッター515が閉位置から前方へスライドすることとなる。そして、係止突起515fが係止凹部513sの部位に到達すると、棹部515cの弾性力によって係止突起515fが係止凹部513sに挿入されると共に、棹部515cの後端に設けられている鉤部515gがレール部513qの後端面に接近した状態となる。これにより、球抜シャッター515がこれ以上の前方へのスライドが規制された状態となる。
この状態では、図24(b1)及び(b2)に示すように、球抜シャッター515の開口部515dが球抜口513pと一致しており、球抜口513pを遊技球Bが通過可能な状態となっている。つまり、球抜シャッター515が開位置の状態となっている。球抜シャッター515が開位置の状態では、球貯留通路504における球抜口513pよりも上流側の遊技球Bが、球抜口513p及び開口部515dを通って下方の球受トレー620に排出される。これにより、循環している遊技球Bを外部へ抜くことが可能となる。
そして、球受トレー620に遊技球Bが溜まって重くなると、前端側が低くなるように傾斜しているトレー挿入凹部401fの底壁に球受トレー620が載置されるため、底壁の傾斜により前方へスライドしようとするが、係止爪401nの係止により前方へのスライドが阻止されている。この状態で、係止爪401nの係止を解除すると、貯留されている遊技球Bの重量により球受トレー620が前方へ自動的にスライドし、球受トレー620をトレー挿入凹部401fから簡単に取り出すことができる。
なお、球抜シャッター515は、パチンコ機1に組立てた状態で、ツマミ部515bの前面に扉枠3の後面が近接しており、何らかの理由により球抜シャッター515が前方へスライドしようとしても、ツマミ部515bが扉枠3に当接して、開位置へのスライドが阻止される。これにより、循環している遊技球Bが勝手に抜けてなくなってしまったり、球抜口513pを通した不正な遊技球Bが混入されたり、することはない。
磁石516は、球抜シャッター515の磁石支持部515hに挿入可能な円筒状に形成されている。この磁石516は、鉄球SBを吸着するためのものである。磁石516は、ネオジム磁石のような磁力の強いものを使用している。
ところで、遊技ホール等において、本実施形態のパチンコ機1と、遊技者が遊技球(鉄球SB)を触れることが可能な従来のパチンコ機とが混在している場合、本実施形態のパチンコ機1のメンテナンス等により遊技球Bを補充したり交換したりした時に、鉄球SBが混入してしまう恐れがある。
これに対して本パチンコ機1では、鉄球SBが混入した場合、球抜シャッター515に磁石516が設けられているため、鉄球SBが球貯留通路504を流通すると、閉位置の球抜シャッター515における扉部515aの上面において、磁石516の磁力によって鉄球SBが磁着して停止することとなる(図25(a)を参照)。この際に、磁力が強い磁石516を用いているため、磁着している鉄球SBの上流側に多数の遊技球Bが溜まることで下流側へ押圧する力が作用しても、扉部515aの上面から鉄球SBが移動することはない。
そして、球貯留通路504内における球抜シャッター515の扉部515a(磁石516)に鉄球SBが磁着している状態で、球発射ユニット450からの遊技球Bの発射が継続されると、磁着している鉄球SBよりも下流側の遊技球Bが順次消費されると共に、消費(発射)された遊技球Bが鉄球SBよりも上流側へ順次供給されることとなる。従って、球抜シャッター515よりも下流に設けられている循環球過少センサ521や揚上入口センサ553等では遊技球Bの検知がOFFになり、球抜シャッター515よりも上流に設けられている循環球過多センサ522やアウト球センサ505、セーフ球センサ506、ファール球センサ507、等では遊技球Bの検知がONになる。これにより、循環球過少センサ521等と循環球過多センサ522等との間で球詰りが発生していることを検知して報知することができる。つまり、扉部515aにおいて鉄球SBが磁着していることを検出することができる。
図25(a)に示すように、磁石516の磁力により球抜シャッター515の扉部515aの上面に鉄球SBが磁着している状態で、球抜シャッター515を閉位置から前方の開位置へスライドさせると、扉部515aの上面に磁着している鉄球SBの前端が第一横行部513kの前壁に当接し、鉄球SBのみ前方への移動が阻止される。そして、球抜シャッター515が更に前方へスライドすると、鉄球SBの下端を支持していた扉部515aがなくなり、重力により鉄球SBが下方の開口部515d内へ移動することとなる。この際に、磁石516の外周面の後端側が、開口部515dの前側の内面と一致しているため、鉄球SBが磁石516の外周面に磁着した状態となる(図25(b)を参照)。
なお、鉄球SBは、磁石516においてその外周面から磁力の強い極側(ここでは下端面側)へ移動しようとするが、球抜シャッター515が開位置の状態では磁石516の下方に球受トレー620の上端面が位置しており、鉄球SBが磁石516の下方へ移動することはない。従って、球抜シャッター515を開位置へスライドさせ状態では、鉄球Bが開口部515dと重なる部位に位置しており、鉄球SBの上流側の遊技球Bが開口部515dつまり球抜口513pを通って下方へ排出されることはない。
球抜シャッター515を開位置にスライドさせた後に、球抜シャッター515を後方の閉位置へスライドさせると、扉部515aにより鉄球SBの上流側の遊技球Bが球抜口513pを通ることを阻止しつつ、磁石516の外周面に磁石していた鉄球SBが磁石516の下面側へ移動し、磁石516の下面に鉄球SBが磁着している状態となる(図25(c)を参照)。その後、球受トレー620を引き出してトレー挿入凹部401fから取り外し、磁石516の下面に磁着している鉄球SBを取り除く。
このように、磁石516によって球抜シャッター515の扉部515aに鉄球SBが磁着している状態で、球抜シャッター515を前後にスライドさせると、磁着された鉄球SBのみを球貯留通路504から外部に取り出すことができる。
循環球経路中継基板517は、球受前部材511の後面におけるファール球通路503の後方の部位で、球受後部材512のアウト球受板部下511bの下方の部位に、取付けられている。循環球経路中継基板517は、アウト球センサ505、セーフ球センサ506、ファール球センサ507、循環球過少センサ521及び循環球過多センサ522と、後述する枠制御基板640と、の接続を中継するためのものである。
本実施形態の循環球経路ユニット500は、球受前板510、球受前部材511、球受後部材512、球蛇行部材513、及び、蛇行カバー514、が透明な合成樹脂により形成されている。従って、外部から内部の状態を視認することが可能である。
循環球経路ユニット500は、アウト球センサ505とファール球センサ507とが、球受前板510と球受前部材511との間に挟まれた状態で取付けられており、セーフ球センサ506が、球受前部材511と球受後部材512との間に挟まれた状態で取付けられている。アウト球センサ505とセーフ球センサ506は、前後に並んで設けられている。
アウト球センサ505、セーフ球センサ506、ファール球センサ507、循環球過少センサ521、循環球過多センサ522は、例えば、誘導電流の変化を検知することで、非接触により遊技球Bを検知するものである。
循環球経路ユニット500は、本体枠ベース401のベース壁部401bに後側から取付けられる。循環球経路ユニット500は、本体枠4に組立てた状態で、アウト球受口500a及びセーフ球受口500bが、ベース壁部401bの上面と同じ高さで、ベース壁部401bの上面の後端縁に接するように取付けられている。
また、循環球経路ユニット500は、本体枠4に組立てた状態で、ベース壁部401bとの間に球送ユニット600が位置するように取付けられている。
更に、循環球経路ユニット500は、本体枠4に組立てた状態で、球蛇行部材513及び蛇行カバー514の前後方向の中央より前側の部位が、ベース壁部401bに設けられている球貯留通路挿入口401gを後方から貫通して前方へ突出している。これにより、本体枠4に対して扉枠3を開いた状態にすると、球蛇行部材513(球貯留通路504)内の遊技球Bを前方(外部)から視認することができる。
また、循環球経路ユニット500は、本体枠4に組立てた状態で、枠基板ユニット630を後方へ開いた状態にすると、アウト球通路501、セーフ球通路502、ファール球通路503、及び球貯留通路504におけるベース壁部401bよりも後側の部位、の夫々の内部を後方から視認することができる。これにより、球詰りが発生した時に、枠基板ユニット630を開くことで、アウト球通路501内等を確認することができ、球詰りの発生個所を特定し易い。
また、循環球経路ユニット500は、本体枠4に組立てた状態で、球蛇行部材513における第二横行部513oが、ベース壁部401bよりも後方で、且つ、球発射ユニット450よりも下方の部位に位置している。つまり、循環球経路ユニット500は、球放出口500dがベース壁部401bの後方で、球発射ユニット450よりも低い位置で右方へ向かって開口している。この球放出口500dは、後述する球揚上ユニット550の球揚上入口通路551と連通している。
本実施形態の循環球経路ユニット500は、球貯留通路504(球蛇行部材513)に貯留されている遊技球Bの適正量を目視で知ることが可能なゲージ部520と、貯留されている遊技球B(循環球)が過少であることを検知するための循環球過少センサ521と、貯留されている遊技球B(循環球)が過多であることを検知するための循環球過多センサ522と、を有している(図37を参照)。
ゲージ部520は、球蛇行部材513における球貯留通路504の流通方向に対して、所定長さの適量領域を他の部位と異なる色に着色したものである。ここでは、並んだ状態で貯留されている遊技球Bの列の後端が、ゲージ部520にかかっている状態を適量としている。
ゲージ部520は、メンテナンス等の際に見た時に、ゲージ部520(適量領域)の部位に遊技球Bを見ることができない場合は、遊技球Bが適量よりも少ない遊技球過少であることが判る。遊技球Bを補充する場合、遊技盤5のアウト口1008、或いは、アウト球受口500aやセーフ球受口500b、から適量になるまで遊技球Bを投入する。
一方、ゲージ部520を見た時に、ゲージ部520の全ての部位で遊技球Bが見られる場合(遊技球Bの列の後端が見えない場合)は、遊技球Bが適量よりも多い遊技球過多であることが判る。遊技球Bが過多の場合は、球抜シャッター515を前方へ引いて開位置へスライドさせることで、球抜口513pから球貯留通路504内の遊技球Bを排出して、適量にする。
循環球過少センサ521は、球貯留通路504におけるゲージ部520の下流端付近に設けられている。循環球過多センサ522は、球貯留通路504におけるゲージ部520の上流端付近に設けられている。循環球過少センサ521及び循環球過多センサ522は、循環球経路中継基板517を介して枠制御基板640に接続されている。
詳細は後述するが、遊技球Bが適量の状態では、循環球過少センサ521が遊技球Bを所定時間(例えば、80ms)以上検知すると共に、循環球過多センサ522が遊技球Bを所定時間(例えば、80ms)以上検知しない。遊技球Bが過少の状態では、循環球過少センサ521及び循環球過多センサ522が、何れも所定時間(例えば、80ms)以上遊技球Bを検知しない。一方、遊技球Bが過多の状態では、循環球過少センサ521及び循環球過多センサ522が、何れも所定時間(例えば、80ms)以上遊技球Bを検知する。なお、循環球過少センサ521が遊技球Bを所定時間(例えば、80ms)以上検知せずに、循環球過多センサ522が遊技球Bを所定時間(例えば、80ms)以上検知する場合は、循環球過少センサ521と循環球過多センサ522との間で鉄球SBの混入を含む球詰りが発生している。
ここで、遊技球Bの有無を検知するための閾値としての所定時間k80msの理由について説明する。例えば、循環経路R上において、循環球過多センサ522、循環球過少センサ521、揚上入口センサ553、揚上出口センサ554、発射手前センサ604、等のセンサが置かれている位置は、球揚上ユニット550や球送ユニット600等が停止している際の遊技球Bの停止位置に置かれている。この位置は遊技球Bが1個送られる毎に次の遊技球Bが位置する位置である。そのため、ここでの遊技球Bの検知は、80ms以上検知されているか否かという検知方法になっている。これは、傾斜が5度程度の斜面で転がる遊技球Bが検知される時間が50ms程度であるため、その位置に確実に遊技球Bが存在したことを検知するためにマージンを付加して80msで検知するようにしている。つまり、この80msと言う値は実験によって得られた実用的な値である。
このように、循環球過少センサ521と循環球過多センサ522とによる遊技球Bの検知状態の組み合わせにより、枠制御基板640において遊技球Bの量や球詰り等を自動的に判断して報知することが可能である。
なお、上記の実施形態では、球蛇行部材513におけるゲージ部520として、適量領域を他の部位と異なる色に着色したものを示したが、球蛇行部材513においてゲージ部520の部位の成形色を異ならせるようにしても良いし、ゲージ部としてシールを貼り付けても良いし、適量領域の下流端と上流端の部位に色の付いた線を引いたゲージ部としても良い。
また、上記の実施形態では、循環球過少センサ521及び循環球過多センサ522を設けたものを示したが、循環球過少センサ521を後述する揚上入口センサで代用すると共に、循環球過多センサ522をアウト球センサ505、セーフ球センサ506、ファール球センサ507で代用するようにしても良い。
[4-4a.球詰解消機構]
次に、循環球経路ユニット500において、図28に示すような、アウト球センサ505やセーフ球センサ506での球詰りを解消させ易くするための球詰解消機構530を設けても良い。図28(a)は本体枠に取付けられている循環球経路ユニットにおいて球解消機構の蓋部材を閉じた状態でアウト球センサの部位で切断した背面断面の要部を拡大して示す説明図であり、(b)は(a)において蓋部材を開いた状態で示す説明図である。
球詰解消機構530は、循環球経路ユニット500における球受前部材511及び球受後部材512において、アウト球センサ505及びセーフ球センサ506の上方の壁部を、開閉可能な蓋部材531としたものである。蓋部材531は、図28(a)に示すように、通常の状態では、閉じられている。蓋部材531は、図示しない係止爪による係止によって閉じた状態に保持されている。
この球詰解消機構530は、アウト球通路501やセーフ球通路502において球詰りが発生したり、不正行為として遊技球Bよりも大径の不正球B’が投入されてアウト球センサ505等が塞がれてしまったり、した時にそれらを解消するために使用される。
例えば、遊技盤5のアウト口1008等から遊技球Bよりも大径の不正球B’が投入されてアウト球センサ505が塞がれた場合、外枠2に対して本体枠4を開いた上で枠基板ユニット630を開くと、循環球経路ユニット500の後部が現れる。そして、本実施形態では、循環球経路ユニット500における球詰解消機構530が設けられている部位と、本体枠スピーカボックス404のボックス本体部404bとの間には指を挿入可能な隙間が形成されているため、その隙間を通して蓋部材531の係止爪を解除し、蓋部材531の下端が上方へ移動するように回動させることで、蓋部材531を開くことができる(図28(b)を参照)。
そして、蓋部材531を開いた状態とすることで、アウト球通路501内におけるアウト球センサ505の上方部位に対して、指を挿入することができるようになり、アウト球センサ505を塞いでいる不正球B’を容易に取り出すことができる。このように、ドライバを使用してネジ止めされている循環球経路ユニット500を取外さなくても、不正球B’を簡単に取り出すことができる。
なお、セーフ球センサ506を不正球B’によって塞がれた場合も、上記と同様の手順によって不正球B’を取出すことができる。
上記では、球詰解消機構530として、開閉可能な蓋部材531を設けたものを示したが、例えば、球受後部材512及び球受前部材511に弾性爪を設け、弾性爪の係止により、球受後部材512及び球受前部材511を後方へ着脱可能とするようにしても良い。この場合、通常の状態では、循環球経路ユニット500の後方に枠基板ユニット630が位置しており、弾性爪の係止が緩んでも、球受後部材512や球受前部材511が後方へ外れることはない。そして、アウト球センサ505が不正球B’で塞がれた場合は、外枠2に対して本体枠4を開いた上で枠基板ユニット630を開くと、循環球経路ユニット500の後部が現れるため、球受後部材512や球受前部材511を取付けている弾性爪の係止を解除することで、球受後部材512や球受前部材511を簡単に取外すことができ、アウト球センサ505を塞いでいる不正球B’を容易に取り出すことができる。
或いは、球詰解消機構530として、球受前板510と球受後部材512との間に挟まれている球受前部材511において、アウト球センサ505の上方の部位を上方へスライドさせて取外すことができるようにしても良い。この場合、通常の状態では、循環球経路ユニット500の上方には遊技盤5が位置していると共に、重力の作用により球受前部材511におけるスライド可能な部位が上方へ外れることはない。そして、アウト球センサ505が不正球B’で塞がれた場合は、本体枠4に対して扉枠3を開くと共に、本体枠4から遊技盤5を取外すと、循環球経路ユニット500の上部が現れるため、球受前部材511のスライド可能な部位を上方へスライドさせて外すことで、アウト球センサ505を塞いでいる不正球B’を容易に取り出すことができる。
[4-5.球揚上ユニット]
本体枠4における球揚上ユニット550について、主に図29乃至図32等を参照して詳細に説明する。図29(a)は本体枠における球揚上ユニットを左前から見た斜視図であり、(b)は本体枠における球揚上ユニットを右前から見た斜視図であり、(c)は本体枠における球揚上ユニットを後ろから見た斜視図である。図30(a)は球揚上ユニットを主な構成毎に分解して前から見た分解斜視図であり、(b)は球揚上ユニットを主な構成毎に分解して後ろから見た分解斜視図である。図31は、本体枠に取付けられている球揚上ユニットから球磨カセットを取外した状態で要部を拡大して示す正面図である。図32(a)は球揚上ユニットにおいて球磨機構及び球揚上機構の要部を示す右側面図であり、(b)は球揚上機構の要部を示す背面図であり、(c)は球揚上機構の要部を(b)の矢視Aから見た平面図である。
球揚上ユニット550は、遊技盤5やファールユニット470から排出されて循環球経路ユニット500を流通した遊技球Bを、球送ユニット600を介して球発射ユニット450へ送るためのものである。球揚上ユニット550は、本体枠ベース401におけるベース壁部401bの後面に設けられている球揚上ユニット取付部401jに取付けられる。
球揚上ユニット550は、遊技球Bを揚上するための球揚上機構560と、循環球経路ユニット500から送られた遊技球Bを球揚上機構560へ供給する球揚上入口通路551と、球揚上機構560により揚上された遊技球Bを球送ユニット600へ供給する球揚上出口通路552と、球揚上入口通路551に設けられており流通している遊技球Bを検知する揚上入口センサ553と、球揚上出口通路552に設けられており流通している遊技球Bを検知する揚上出口センサ554と、を備えている。
また、球揚上ユニット550は、球揚上入口通路551において遊技球Bと接触可能に設けられている球揚上入口アース板金555と、球揚上出口通路552において遊技球Bと接触可能に設けられている球揚上出口アース板金556と、枠制御基板640との接続を中継している球揚上中継基板557と、球揚上ユニット550は、球揚上機構560により揚上されている遊技球Bを磨くための球磨機構580と、を備えている。
まず、球揚上ユニット550の球揚上機構560は、上下に延出しており外周面に螺旋状の揚上溝561aを有する揚上スパイラルシャフト561と、揚上スパイラルシャフト561の下端に取付けられているシャフトギア562と、シャフトギア562と噛合しており揚上スパイラルシャフト561の軸芯と直交する軸周りに回転可能なモータギア563と、回転軸にモータギア563が取付けられており揚上スパイラルシャフト561を回転させるための揚上モータ564と、シャフトギア562の下端からフランジ状に延出している周方向の一部において切り欠かれるように設けられている検知部565aを有する揚上モータインデックス565と、揚上モータインデックス565の検知部565aを検知可能な揚上モータインデックスセンサ566と、を備えている。
また、球揚上機構560は、揚上モータ564が取付けられていると共にモータギア563を回転可能に支持しているモータベース板金567と、モータベース板金567の一取付けられていると共に揚上スパイラルシャフト561を回転可能に支持し、本体枠ベース401におけるベース壁部401bの球揚上ユニット取付部401jに取付けられる揚上機構ベース568及び揚上機構カバー569と、を備えている。
揚上スパイラルシャフト561は、外周面に遊技球Bを一列で収容可能な深さで螺旋状の揚上溝561aが設けられている。揚上スパイラルシャフト561は、その軸方向の上方から見た時(図32(c)を参照)に、時計回りの方向へ回転することで遊技球Bを揚上させることができるように、揚上溝561aが形成されている。揚上溝561aの螺旋のピッチは、上下両端付近がそれらの間よりも長く形成されている。揚上スパイラルシャフト561は、揚上機構ベース568及び揚上機構カバー569によって回転可能に支持されている。この揚上スパイラルシャフト561は、正面視において上端が下端よりも右方に位置するように回転軸が垂直に対して傾斜している。これにより、揚上スパイラルシャフト561の上端側を球送ユニットから右方へ遠ざけることができ、球揚上出口通路552の長さを相対的に長くして遊技球Bの貯留量をより多くすることが可能となる。本実施形態では、揚上スパイラルシャフト561の回転軸は、垂直に対して12度の角度で傾斜している。
シャフトギア562は、平歯車である。モータギア563は、ウォームギアである。これにより、揚上スパイラルシャフト561の揚上溝561a内に多数の遊技球Bが収容されることで作用する荷重によって、揚上スパイラルシャフト561が回転しようとしても、シャフトギア562に噛合しているウォームギアからなるモータギア563により回転を阻止することができる。揚上モータ564は、DCモータである。
揚上モータインデックス565は、フランジ状にシャフトギア562と一体成形されている。揚上モータインデックス565の検知部565aは、全周に対して45度の角度の範囲が切り欠かれるように設けられている。揚上モータインデックスセンサ566は、フォトセンサである。揚上モータインデックスセンサ566は、揚上モータインデックス565において検知部565aの部位では受光状態となり、検知部565a以外の部位では遮光されて非受光状態となる。これにより、揚上モータインデックス565を介して揚上スパイラルシャフト561の回転位置を検知することが可能である。
なお、詳細は後述するが、揚上スパイラルシャフト561は、シャフトギア562及びモータギア563により、揚上モータ564の回転軸が32回転すると、揚上スパイラルシャフト561が1回転する。そして、揚上モータインデックスセンサ566では、検知部565a以外の部位に位置して非受光状態になってから揚上モータ564が28回転すると、検知部565aに到達して受光状態となり、受光状態になってから揚上モータ564が更に4回転すると、検知部565aから離れて非受光状態となる。本実施形態では、検知部565aに到達して受光状態になってから、揚上モータ564が2回転した位置を、原点としている。つまり、検知部565aの中央を、揚上スパイラルシャフト561の回転の原点としている。
モータベース板金567は、正面視左端側において揚上モータ564を取付けており、右端側においてモータギア563の右端を回転可能に支持している。モータベース板金567は、上端側が揚上機構ベース568に取付けられていると共に、下端側が揚上機構カバー569に取付けられている。
揚上機構ベース568は、揚上機構カバー569と協働して揚上スパイラルシャフト561を収容していると共に、揚上スパイラルシャフト561を回転可能に支持している。揚上機構ベース568は、遊技球Bが通過不能な大きさで揚上スパイラルシャフト561が前方へ臨むように前後に貫通している球磨口568a、を有している。この球磨口568aは、揚上スパイラルシャフト561により揚上されている遊技球Bの一部が前方へ突出するように設けられており、遊技球Bにおける球磨口568aよりも前方へ突出している部位が球磨機構580の磨布582に接触することで遊技球Bが磨かれる。
揚上機構ベース568には、下端付近における揚上スパイラルシャフト561よりも正面視右方の部位に、球揚上入口通路551の下流部分が設けられている。球揚上入口通路551における揚上機構ベース568に設けられている部分は、上流端が後方へ向かって開口し左方の揚上スパイラルシャフト561の下端部へ向かって低くなるように傾斜している。また、揚上機構ベース568には、揚上スパイラルシャフト561の下端よりも正面視右方の部位に、揚上入口センサ553が取付けられている。
また、揚上機構ベース568には、上端付近に球揚上出口通路552の上流部分が設けられている。球揚上出口通路552における揚上機構ベース568に設けられている部分は、揚上スパイラルシャフト561の上端部の前方から正面視左方へ低くなるように傾斜した後に後方へ低くなるように傾斜して下流端が後方へ向かって開口している。球揚上出口通路552ついては、揚上機構ベース568における後方へ向かって開口している部位から左方へ向かって低くなるように傾斜した後に、前方へ向かって低くなるように傾斜し、前端において前方へ向かって開口している。球揚上出口通路552における当該部位は、揚上機構ベース568と揚上機構カバー569とが協働して形成している。
また、揚上機構ベース568には、球磨機構580の球磨モータ588が取付けられる球磨モータベース586が、上下に延びた軸周りに対して回転可能に取付けられている。
揚上機構カバー569は、揚上機構ベース568と協働して揚上スパイラルシャフト561を収容していると共に、揚上スパイラルシャフト561を回転可能に支持しており、本体枠ベース401におけるベース壁部401bの球揚上ユニット取付部401jに後方から取付けられる。揚上機構カバー569の後面には、球揚上中継基板557が取付けられている。
揚上機構カバー569には、球揚上入口通路551における揚上機構ベース568に設けられている部分よりも上流側の部分が設けられている。球揚上入口通路551における揚上機構ベース568に設けられている部分は、下流端が揚上スパイラルシャフト561の下端付近の正面視右方の部位で前方へ向かって開口しており、後方へ延出した上で、左方へ屈曲して揚上スパイラルシャフト561の後方を通った後に、斜め前方へ延出して上流端が左方へ向かって開口している。この揚上機構カバー569には、揚上スパイラルシャフト561の下端の後方において、球揚上入口通路551を流通している遊技球Bと接触可能に設けられている球揚上入口アース板金555が取付けられている。
また、揚上機構カバー569には、球揚上出口通路552における揚上機構ベース568に設けられている部分よりも下流側の部分が設けられている。球揚上出口通路552における揚上機構カバー569に設けられている部分は、上流端が後方へ開口しており正面視左方へ屈曲して左端まで左方へ延出した後に前方へ屈曲し、揚上機構カバー569の前端において下流端が前方へ向かって開口している。
また、揚上機構カバー569には、球揚上出口通路552における正面視左方へ延出している部位の左端付近に、揚上出口センサ554が取付けられている。更に、揚上機構カバー569には、球揚上出口通路552において左方へ延出している部位における揚上出口センサ554よりも上流の部位に、球揚上出口通路552を流通している遊技球Bと接触可能に設けられている球揚上出口アース板金556が取付けられている。
続いて、球揚上ユニット550の球揚上入口通路551は、上流端の開口(入口)が球揚上ユニット550の左側面の下部付近において左方へ向かって開口している。この開口は、本体枠4に組立てた時に、循環球経路ユニット500の球放出口500dと対面するように設けられている。球揚上入口通路551は、左端の入口から右方へ向かって低くなるように傾斜しており、揚上スパイラルシャフト561の後方を迂回するように揚上スパイラルシャフト561よりも右方に延出した後に、前方側へ折り返して左方へ揚上スパイラルシャフト561の下端付近まで延出している。そして、揚上スパイラルシャフト561の近傍において揚上スパイラルシャフト561の前側へ回り込むようにクランク状に屈曲し、揚上スパイラルシャフト561の下端付近の前側で揚上スパイラルシャフト561の揚上溝561aと連通している。
球揚上入口通路551は、上流端の開口が、循環球経路ユニット500における球貯留通路504の下流端の開口を形成している球放出口500dと、対面するように設けられており、球貯留通路504を流通した遊技球Bが受け渡されて流通する。
球揚上入口通路551は、揚上スパイラルシャフト561と接する下流端付近の左方へ向かって低くなっている部位に、揚上入口センサ553が設けられていると共に、揚上スパイラルシャフト561の後方の部位に、球揚上入口アース板金555が取付けられている。
球揚上出口通路552は、球揚上ユニット550の上端付近において、上流端が揚上スパイラルシャフト561の上端付近の前側において揚上溝561aと連通しており、揚上スパイラルシャフト561よりも左方へ延出した後に後方へ屈曲して、揚上スパイラルシャフト561の後端と同じ位置まで延出した上で左方へ屈曲している。そして、そこから球揚上ユニット550の左端付近で左方へ延出した上で前方へ屈曲し、下流端が球揚上ユニット550(揚上機構カバー569)の前面において前方へ向かって開口している。
球揚上出口通路552は、下流端の開口が、後述する球送ユニットの球供給口と対面するように設けられており、球送ユニット600へ遊技球Bを供給することができる。
球揚上出口通路552は、球揚上ユニット550の後端付近において左方へ延出している部位の左端付近に、揚上出口センサ554が設けられていと共に、その上流側(右方側)に球揚上出口アース板金556が取付けられている。なお、球揚上出口通路552における球揚上出口アース板金556が設けられている部位の底壁には、遊技球Bの流通を妨げない大きさで開口している開口部が設けられており、当該開口部を通して塵やゴミ等を外部へ排出可能としている。
揚上入口センサ553は、揚上モータ564の駆動により揚上スパイラルシャフト561を回転させて遊技球Bを揚上させる際に、揚上させる遊技球Bの有無を検知するものである。詳細は後述するが、揚上入口センサ553において遊技球Bが非検知の状態では、揚上モータ564が駆動されない。
揚上出口センサ554は、球送ユニットに供給される遊技球Bの有無を検知するものである。詳細は後述するが、揚上入口センサ553が遊技球Bを検知している状態で、揚上出口センサ554において遊技球Bが非検知の状態になると共に、所定条件の充足(ここでは、発射減算センサ454による所定数(例えば3個)の遊技球Bの減算)により、揚上モータ564の駆動により揚上スパイラルシャフト561が回転して所定数の遊技球Bが揚上される。
揚上入口センサ553及び揚上出口センサ554は、例えば、誘導電流の変化を検知することで、非接触により遊技球Bを検知するものである。
球揚上入口アース板金555は、循環球経路ユニット500から球揚上入口通路551に供給された遊技球Bの静電気を除去するものである。球揚上入口アース板金555は、揚上入口センサ553よりも上流側に設けられている。これにより、揚上入口センサ553を通る遊技球Bの静電気を事前に除去することができ、遊技球Bからの静電気により揚上入口センサ553において誤検知が生じたり枠制御基板640が故障したりすることを回避させることができる。
球揚上出口アース板金556は、球揚上機構560により揚上されると共に、球磨機構580により磨かれた遊技球Bの静電気を除去するものである。球揚上出口アース板金556は、揚上出口センサ554よりも上流側に設けられている。これにより、揚上出口センサ554を通る遊技球Bの静電気を事前に除去することができ、遊技球Bからの静電気により揚上出口センサ554において誤検知が生じたり枠制御基板640が故障したりすることを回避させることができる。
球揚上中継基板557は、揚上入口センサ553、揚上出口センサ554、揚上モータ564、揚上モータインデックスセンサ566、球磨モータ588、等と枠制御基板640との接続を中継するためのものである。球揚上中継基板557は、揚上機構カバー569の後側に取付けられている。
球磨機構580は、球揚上機構560の前側に取付けられている。球磨機構580は、外形が縦長直方体の箱状の球磨カセット581と、一部が球磨カセット581の後面において外部に露出している無端環ベルト状の磨布582と、磨布582における外部に露出している部位と球磨カセット581の後面との間に設けられているシート状の球磨スポンジ583と、球磨カセット581内の下部において左右方向の軸周りに回転可能に支持されている球磨送歯車584と、磨布582を間にして球磨送歯車584と噛合しており左右方向の軸周りに回転可能に支持されている球磨従動歯車585と、を備えている。
また、球磨機構580は、球磨カセット581の左方において前後の奥行が一定で上下延出しており後端辺が揚上機構ベース568に回転可能に取付けられている平板状の球磨モータベース586と、球磨モータベース586の左面に取付けられているギアカバー587と、ギアカバー587の左面に取付けられており回転軸がギアカバー587と球磨モータベース586との間に突出している球磨モータ588と、球磨モータ588の回転軸に取付けられている平歯車状のモータギア589と、モータギア589と噛合している平歯車状の大径ギア部590a、及び大径ギア部590aと一体回転する小径で平歯車状の小径ギア部590bを有し、球磨モータベース586とギアカバー587との間で回転可能に支持されている変速ギア590と、変速ギア590の小径ギア部590bと噛合しており球磨モータベース586とギアカバー587との間で回転可能に支持されている平歯車状の伝達ギア591と、伝達ギア591と一体回転し球磨モータベース586を貫通して右方へ突出している回転連結部592と、を備えている。
更に、球磨機構580は、球磨カセット581の前面に当接しており、左端側が球磨モータベース586の前端に係止されていると共に、右端側が本体枠ベース401におけるベース壁部401bの前面に取付けられる平板状のカセット押圧片593と、カセット押圧片593の右端側をベース壁部401bの前面に対して着脱可能に取付けているナイラッチ594と、を備えている。
球磨機構580の球磨カセット581は、内部が空洞の箱状に形成されており、後面の上下両端縁に磨布582が通過可能なスリットが設けられている。球磨カセット581は、球揚上機構560における揚上機構ベース568に対して球磨口568aを閉鎖するように前方から着脱可能に取付けられている。
磨布582は、左右が一定の幅の無端環のベルト状に形成されている。磨布582は、図32(a)に示すように、球磨カセット581内では、前後に蛇行している状態で収容されており、球磨カセット581の上下のスリットを通して一部が球磨カセット581の後面よりも後方に露出している。
球磨スポンジ583は、球磨カセット581の後面と磨布582における後方へ露出している部位との間に設けられており、球磨カセット581の後面に取付けられている。球磨スポンジ583の後面には磨布582の内側面が接触している。この球磨スポンジ583は、球揚上ユニット550に組立てた状態で、球揚上機構560の球磨口568aから前方へ露出している遊技球Bに対して、磨布582を弾性押圧しており、遊技球Bの球面に対してより広い範囲で磨布582が接触するようにしている。なお、球磨スポンジ583は、球磨カセット581に対して交換可能に取付けられている。
球磨送歯車584は、球磨カセット581を取付けた状態で、その軸芯が伝達ギア591(回転連結部592)の軸芯と一致するように設けられており、回転軸の左端が回転連結部592と連結して伝達ギア591と一体回転する。
球磨従動歯車585は、球磨送歯車584との間で磨布582が入る隙間を有するように噛合しており、球磨送歯車584が回転することで逆方向へ回転すると共に、球磨送歯車584との間に挟まれている磨布582を送ることが可能である。
球磨モータベース586は、球磨カセット581の左側面に沿うように上下に延出しており、後端辺が揚上機構ベース568に対し上下方向に延びている軸周りに回転可能に取付けられている。これにより、球磨モータベース586は、前端側を球磨カセット581から遠ざかる方向へ回動させることができる。球磨モータベース586は、前端縁における上下方向中央よりも上側の部位に、左右に貫通している係止孔586aを有している。この係止孔586aには、カセット押圧片593の左端に設けられている係止鉤部593aが挿入されて係止される。
球磨モータ588は、揚上モータ564の作動とは無関係に制御されており、遊技球Bを1000個発射する毎に、磨布582が0.17mm移動するように制御されている。
カセット押圧片593は、左右に延出しており、左端に球磨モータベース586の係止孔586aに挿入されて係止される鉤状の係止鉤部593aが設けられている。カセット押圧片593の右端付近には、ナイラッチ594が設けられている。
ナイラッチ594は、操作部594aを押した状態にすることで、ロックすることができ、手前に引いた状態にすることでロックを解除することができる。
本実施形態の球揚上ユニット550は、本体枠4に組立てた状態で、本体枠ベース401のベース壁部401bの後側に取付けられている。この球揚上ユニット550は、本体枠4の本体枠ベース401に組付ける場合、球揚上機構560から球磨機構580の球磨カセット581とカセット押圧片593とを取外した状態で、ベース壁部401bの後面に設けられている球揚上ユニット取付部401jに取付ける。この際に、揚上機構ベース568から前方へ突出している球磨モータベース586を、球揚上ユニット取付部401jにおける前後に貫通している部位を通して前端側をベース壁部401bの前方へ突出させる。この状態では、ベース壁部401bの後面の球揚上ユニット取付部401jにおける貫通している部位に、球揚上機構560の揚上機構ベース568の球磨口568aが位置しており、球磨口568aを通してベース壁部401b(本体枠4)の前方から揚上スパイラルシャフト561に揚上されている遊技球Bを視認することができる(図31を参照)。つまり、本体枠4に対して扉枠3を開けると共に、球磨カセット581を取外すことで、前方から揚上スパイラルシャフト561や揚上スパイラルシャフト561に揚上されている遊技球Bを確認することができる。
球揚上ユニット550の球揚上機構560側をベース壁部401bの球揚上ユニット取付部401jに取付けたら、ベース壁部401bの前方から、磨布582が露出している面を後方へ向けた状態で球磨カセット581を、球磨口568aを前方から閉鎖するように揚上機構ベース568の前方に配置する。この際に、球磨モータベース586を、その先端側が球磨カセット581から遠ざかるように回動させておく。
続いて、球磨モータベース586の前端の係止孔586aに、カセット押圧片593の左端の係止鉤部593aを挿入して係止させると共に、カセット押圧片593を後方へ押して球磨カセット581を後方へ押圧する。これにより、球磨モータベース586が球磨カセット581の左側面と平行になるように回動すると共に、球磨モータベース586の右側面から突出している回転連結部592が、球磨カセット581に支持されている球磨送歯車584の左端と係合する。そして、ナイラッチ594の操作部594aを押してロックすることで、カセット押圧片593の右端側がベース壁部401bの前面に取付けられた状態となり、球磨カセット581の取付けが完了する。
球磨カセット581を取外す場合は、ナイラッチ594の操作部594aを手前に引いてロックを解除した後に、上記とは逆の手順を行うことで球磨カセット581を取外すことができる。
本実施形態の球揚上ユニット550は、本体枠4に組立てた状態で、球揚上入口通路551の上流端の開口が、循環球経路ユニット500の球放出口500dと対面しており、蛇行状の球貯留通路504を流通した遊技球Bが供給される。球揚上入口通路551に供給された遊技球Bは、球揚上入口アース板金555に接触して静電気が除去された上で、揚上入口センサ553に検知されて、揚上スパイラルシャフト561の下端に供給される。この際に、遊技球Bは、前端側が前方へ貫通している球磨口568aに挿入されて、遊技球Bの前端側が球磨機構580の磨布582に接触すると共に、縦長の球磨口568aにより左右方向への移動が規制された状態となる。
この状態で、揚上モータ564により揚上スパイラルシャフト561が遊技球Bを揚上させる方向へ回転すると、揚上溝561aにより下から押されて遊技球Bが球磨口568aに沿って上方へ移動することとなる。この際に、遊技球Bは、球磨口568aの内周縁における上下に延びている部位と揚上溝561aとに接しつつ、回転しながら上方へ移動することとなる。これにより、遊技球Bにおける前端側の磨布582と接している部位が、遊技球Bの上昇(回転)に伴って変化することとなり、遊技球Bの全面を満遍なく磨くことが可能となる。
そして、遊技球Bが揚上スパイラルシャフト561の上端側に到達すると、球揚上出口通路552に進入し、球揚上出口アース板金556に接触した上で、揚上出口センサ554に検知され、球揚上出口通路552の下流端から、球送ユニットへ送られることとなる。この際に、球揚上機構560により揚上されることで遊技球Bが磨布582により磨かれて静電気が帯電しても、揚上出口センサ554の上流にある球揚上出口アース板金556との接触により、静電気が除去されることとなり、揚上出口センサ554や枠制御基板640等において球磨の静電気による不具合が生じることはない。
一方、球磨機構580では、球磨カセット581を取付けた状態で、球磨モータ588により球磨送歯車584が右側面視において時計回りの方向へ回動させると、磨布582における球磨カセット581の後面から外部に露出している部位が、球磨カセット581の下側のスリットを通って球磨カセット581内に収容される。この際に、磨布582における外部に露出している部位が下方へ引っ張られるため、球磨カセット581の上側のスリットを介して、磨布582における球磨カセット581内に収容されている部位が外部から繰り出されることとなる。
球磨機構580の磨布582は、間欠的にゆっくりとした速度で移動している。本実施形態では、遊技球Bを1000個発射する毎に、磨布582が0.17mm移動する。
このように、本実施形態の球揚上ユニット550によれば、遊技球Bを磨きつつ、循環球経路ユニット500から排出された遊技球Bを、球送ユニット600へ供給することができる。
[4-6.球送ユニット]
本体枠4における球送ユニット600について、主に図33乃至図35等を参照して詳細に説明する。図33(a)は本体枠における球送ユニットを前から見た斜視図であり、(b)は本体枠における球送ユニットを後ろから見た斜視図である。図34(a)は球送ユニットを分解して前から見た分解斜視図であり、(b)は球送ユニットを分解して後ろが見た分解斜視図である。図35は、発射手前センサの部位で切断した球送ユニットの正面断面図である。
球送ユニット600は、球揚上ユニット550により揚上された遊技球Bを一つずつ球発射ユニット450へ供給するためのものである。球送ユニット600は、本体枠ベース401におけるベース壁部401bの後側に設けられている球送ユニット取付部401kに取付けられる。球送ユニット600は、ベース壁部401bと循環球経路ユニット500との間に挟まれるように、ベース壁部401bの上面から上方へ臨むと共に、上方へ着脱可能に取付けられる。
球送ユニット600は、後面において開口しており球揚上ユニット550から供給される遊技球Bが進入可能な球供給口601と、前面において開口しており球発射ユニット450の球発射台452bに遊技球Bを送球するための球送出口602と、球供給口601と球送出口602とを繋いでおり遊技球Bが流通可能な球送通路603と、球送通路603を流通する遊技球Bを検知可能な発射手前センサ604と、発射手前センサ604により検知された遊技球Bを一つずつ球送出口602から放出させるための球送可動部材605と、球送可動部材605を可動させて遊技球Bを球発射ユニット450へ送球するための球送ソレノイド606と、球送ソレノイド606及び発射手前センサ604と枠制御基板640との接続を中継している球送中継基板607と、を備えている。
また、球送ユニット600は、球送ソレノイド606におけるプランジャの進退を伝達させて球送可動部材605を可動させる伝達部材608と、後方へ開放されている箱状で内部に発射手前センサ604や球送ソレノイド606等が設けられているユニットベース609と、ユニットベース609の後端の開口を閉鎖するように取付けられている平板状のユニットカバー610と、を備えている。
球送ユニット600の球供給口601は、球送ユニット600の後面を構成しているユニットカバー610を貫通して設けられており、正面視中央から右上の部位に設けられている。球供給口601は、遊技球Bが一つずつ通過可能な大きさに形成されている。
球送出口602は、球送ユニット600の前面側を構成しているユニットベース609を前後に貫通して設けられており、正面視中央から下寄りの部位に設けられている。球送出口602は、遊技球Bが一つずつ通過可能な大きさに形成されている。
球送通路603は、球供給口601と球送出口602とを繋いでおり、球供給口601の部位から球送出口602の上方の部位まで左方へ低くなるように延出した後に、球送出口602の部位まで下方へ延出している。この球送通路603における左方へ延出している部位の左端付近に発射手前センサ604が設けられている。また、球送通路603における球送出口602の後方の上下に延びている部位に、球送可動部材605の球受部605aが位置している。
発射手前センサ604は、球送通路603における左方へ低くなるように延出している左端付近に設けられている。つまり、発射手前センサ604は、球送可動部材605における球受部605aの上流側直前に設けられている。この発射手前センサ604は、例えば、誘導電流の変化を検知することで、非接触により遊技球Bを検知するものである。
球送可動部材605は、球送ソレノイド606の駆動に可動することで、球送通路603内の遊技球Bを一つずつ球送出口602から放出させて球発射ユニット450に供給するためのものである。球送可動部材605を、右方及び前後に解放されたコ字状で底壁が前方へ向かって傾斜しており遊技球Bを一つのみ収容可能な球受部605aと、球受部605aの左端から左方へ延出している棹部605bと、棹部605bの左端において前後に貫通しておりユニットカバー610の第一軸ピン610aが相対回転可能に挿入される軸受部605cと、軸受部605cと同軸上で右方へ扇状に設けられている可動ギア部605dと、を有している。
球送ソレノイド606は、球送可動部材605を可動させて球送通路603内の遊技球Bを一つずつ球送出口602から球発射ユニット450に供給するためのものである。球送ソレノイド606は、ユニットベース609とユニットカバー610との間において、通電により磁力が発生する磁極部を下方へ向けた状態で、正面視左上隅に設けられている。
球送中継基板607は、発射手前センサ604及び球送ソレノイド606と、枠制御基板640との接続を中継するためのものである。球送中継基板607は、ユニットベース609とユニットカバー610の間で、正面視右上隅に設けられている。
伝達部材608は、球送可動部材605が可動するように球送ソレノイド606のプランジャの進退を伝達させるものである。伝達部材608は、球送ソレノイド606の磁極部に磁着可能な板金608aが取付けられている板金保持部608bと、板金保持部608bから右方へ延出している棹部608cと、棹部608cの右端において前後に貫通しておりユニットカバー610の第二軸ピン610bが相対回転可能に挿入される軸受部608dと、軸受部608dと同軸上で左方へ扇状に設けられており球送可動部材605の可動ギア部605dと噛合する駆動ギア部608eと、を有している。
ユニットベース609は、後方へ開放された箱状に形成されており、前面の中央下寄りの部位に球送出口602が前後に貫通して設けられている。ユニットベース609は、ユニットカバー610と協働して、球送通路603を形成していると共に、発射手前センサ604、球送可動部材605、球送ソレノイド606、球送中継基板607、伝達部材608、を保持している。
ユニットベース609は、上面の左右方向中央付近において下方へ凹んでいるツマミ部609aと、前面の右下隅に設けられている弾性爪609bと、を有している。ツマミ部609aは、作業者が上方から摘まめるように形成されており、球送ユニット600を本体枠4の本体枠ベース401から上方へ取外す際に使用される。弾性爪609bは、球送ユニット600を本体枠ベース401の球送ユニット取付部401kに取付けた状態にすると、球送ユニット取付部401kの係止孔に係止されて上方へ取外せないようにするためのものである。
球送ユニット600を本体枠ベース401から取外す場合は、ベース壁部401bの係止孔を貫通して前方へ臨んでいる弾性爪609bを後方へ押圧して弾性変形させると共に、上面に設けられているツマミ部609aを摘まんで引き上げることで、本体枠ベース401の球送ユニット取付部401kから上方へ取外すことができる。
ユニットカバー610は、正面視中央から右上の部位に球供給口601が前後に貫通して設けられている。ユニットカバー610は、ユニットベース609と協働して、球送通路603を形成していると共に、発射手前センサ604、球送可動部材605、球送ソレノイド606、球送中継基板607、伝達部材608、を保持している。ユニットカバー610は、正面視左下隅付近に、円柱状に前方へ突出している第一軸ピン610a及び第二軸ピン610bを、有している。第一軸ピン610aは、球送可動部材605の軸受部605cに挿入することで、球送可動部材605を回転(回動)可能に支持することができる。第二軸ピン610bは、伝達部材608の軸受部608dに挿入することで、伝達部材608を回転(回動)可能に支持することができる。
本実施形態の球送ユニット600は、組立てた状態では、球送可動部材605の軸受部605cに第一軸ピン610aが挿入されていると共に、伝達部材608の軸受部608dに第二軸ピン610bが挿入されており、球送可動部材605の可動ギア部605dと伝達部材608の駆動ギア部608eとが互いに噛合している。この状態では、球送可動部材605の右端の球受部605aが、球送通路603内における球送出口602の後方の上下に延びている部位に位置しており、軸受部605cを中心として球送可動部材605が回動すると、球受部605aが球送通路603における上下に延びている部位を上下に移動する。
球送ユニット600は、通常の状態では、球送ソレノイド606が非通電(OFF)となっている。そのため、伝達部材608の板金608aが重力により球送ソレノイド606の磁極部から下方へ離れた状態となっている。この状態では、球送可動部材605の球受部605aの下面が、球送通路603の下流端の底壁と当接し、球受部605aの前端開口が球送出口602と一致していると共に、球受部605aの右端開口が球送通路603と一致していない。従って、上流から球受部605aへ向かって流通してきた遊技球Bは、球受部605aのコ字状の上部の部位に当接して球受部605aに受けられることはない。一方、球受部605aに受けられている遊技球Bは、球受部605aの底壁の傾斜により前方へ転動して球送出口602から前方へ放出される。
この通常の状態で、球送ソレノイド606に通電(ON)されると、球送ソレノイド606の磁極部に発生した磁力により伝達部材608の板金608aが上方の磁極部へ吸い寄せられ、伝達部材608がその軸受部608dを中心にして時計回りの方向へ回動することとなる。伝達部材608が時計回りの方向へ回動すると、伝達部材608の駆動ギア部608eと噛合している球送可動部材605の可動ギア部605dにより、球送可動部材605がその軸受部605cを中心にして反時計回りの方向へ回動することとなり、球受部605aが上方へ移動することとなる。
球送可動部材605の球受部605aが上方へ移動すると、球受部605aの前端開口が球送出口602と一致していない状態になると共に、球受部605aの右端開口が球送通路603と一致した状態となり、球送通路603から遊技球Bが球受部605aに受け取られる。この状態では、球受部605aの右端開口が球送出口602と一致していないため、球受部605aに受けられた遊技球Bが前方へ転動して球送出口602から放出されることはない。また、球受部605aは、遊技球Bを一つのみ収容可能な大きさとしているため、球受部605aに遊技球Bが一つ受けられると、その上流側の遊技球Bは球受部605aに受けられることはない。
その後、球送ソレノイド606の通電が停止(OFF)されると、球送ソレノイド606の磁極部からの伝達部材608の板金608aに対する吸着が解除される。この際に、球送可動部材605の球受部605aに遊技球Bが受けられているため、遊技球Bの重さにより球受部605aが下方へ移動するように、球送可動部材605がその軸受部605cを中心にして時計回りの方向へ回動すると共に、球送可動部材605の可動ギア部605dと噛合している駆動ギア部608eを介して伝達部材608がその軸受部608dを中心にして反時計回りの方向へ回動し、通常の状態に復帰する。
そして、球送ユニット600が通常の状態に復帰すると、球送可動部材605の球受部605aの前端開口が球送出口602と一致するため、球受部605aに受けられていた遊技球Bが前方へ転動して球送出口602から球発射ユニット450へ放出されることとなる。
このように、本実施形態の球送ユニット600によれば、球送ソレノイド606をON・OFFすることで、遊技球Bを一つずつ球発射ユニット450へ送ることができる。
[4-7.球受トレー]
本体枠4における球受トレー620について、主に図7及び図8、図10、等を参照して説明する。球受トレー620は、循環球経路ユニット500の下方に設けられており、循環球経路ユニット500の球抜口513pから排出された遊技球Bを受けるためのものである。球受トレー620は、上方へ開放された容器状に形成されており、底壁が前方へ向かって低くなるように傾斜している。
球受トレー620は、本体枠ベース401におけるトレー挿入凹部401fに前方から挿入されて取付けられている。球受トレー620は、本体枠ベース401に取付けた状態で、本体枠ベース401の係止爪401nに係止されて、前方へ抜けることはない。球受トレー620を取外す場合、係止爪401nを左方へ弾性変形させることで、係止が解除され、前方へ引き出すことが可能となる。
球受トレー620を本体枠ベース401のトレー挿入凹部401fに取付ける場合は、トレー挿入凹部401fの前方から球受トレー620を後方へ移動させて、トレー挿入凹部401f内に挿入する。この際に、係止爪401nの前端が鏃状に傾斜しているため、係止爪401nに前方から球受トレー620の後端が当接すると、鏃状の傾斜により係止爪401nが左方へ弾性変形し、球受トレー620をトレー挿入凹部401fに挿入させることができる。そして、球受トレー620の前端が係止爪401nの部位に到達して係止爪401nの前端との当接がなくなると、弾性変形していた係止爪401nが元の状態に戻り、球受トレー620の前端を係止して球受トレー620の前方へのスライドを阻止している状態となる。
この球受トレー620は、前端側が低くなるように傾斜しているトレー挿入凹部401fの底壁に載置されるため、循環球経路ユニット500の球抜口513pから排出された遊技球Bが貯留されて重くなると、底壁の傾斜により前方へスライドしようとするが、係止爪401nの係止によりスライドが阻止される。そして、係止爪401nの係止を解除すると、貯留されている遊技球Bの重量により球受トレー620が前方へ自動的にスライドし、球受トレー620をトレー挿入凹部401fから簡単に取り出すことができる。
[4-8.枠基板ユニット]
本体枠4における枠基板ユニット630について、主に図7及び図8等を参照して説明する。枠制御基板640は、詳細は後述するが、持ち球数表示部140での持ち球数の表示、計数ボタンスイッチ180に操作による精算処理、球発射ユニット450、球揚上ユニット550、球送ユニット600、等の制御や、循環球経路ユニット500における遊技球Bの管理(監視)、等を行うためのものである。
枠基板ユニット630は、本体枠ベースユニット400における本体枠ベース401のベース壁部401bの後方の部位に開閉可能に取付けられる。枠基板ユニット630は、枠制御基板640と、電源基板650と、インターフェース基板660と、遊技球貸出装置接続端子板665と、を備えている。
また、枠基板ユニット630は、本体枠ベースユニット400の後側に開閉可能に取付けられるユニットベース670と、ユニットベース670の後側に取付けられ枠制御基板640を収容している枠制御基板ボックス671と、枠制御基板ボックス671とユニットベース670との間に取付けられ電源基板650を収容している電源基板ボックス672と、枠制御基板ボックス671の正面視左方においてユニットベース670に取付けられインターフェース基板660及び遊技球貸出装置接続端子板665を収容しているインターフェース基板ボックス673と、ユニットベース670を本体枠ベースユニット400に対して開閉不能に固定するためのナイラッチ674と、を備えている。
枠制御基板640は、図示は省略するが、各種処理プログラムや各種コマンドを記憶しているROM、一時的にデータを記憶するためのRAM、処理プログラムやコマンドを実行させるCPU、等を備えている。
枠制御基板640は、枠制御基板640は、RAMに記憶されている情報を消去するためのRAMクリアスイッチ641と、封入されている遊技球Bを循環球経路ユニット500の球抜口513pから外部(球受トレー620)へ抜く際に使用する球抜スイッチ642と、RAM等に記憶されている遊技者の持ち球数をクリアすると共に扉枠3の持ち球数表示部140での表示をクリアするための球数記憶・表示クリアスイッチ643と、を有している(図38を参照)。
枠制御基板640には、遊技盤5に設けられている後述する主制御基板1310が双方向通信で接続されていると共に、遊技球貸出装置接続端子板665が双方向通信で接続されている。枠制御基板640は、遊技球貸出装置接続端子板665を介して遊技球貸出装置8に接続されている。
枠制御基板640には、扉枠3の持ち球数表示部140、発射停止スイッチ161、ハンドルタッチセンサ162、ハンドル回転センサ163、計数ボタンスイッチ180、が接続されている。
また、枠制御基板640には、本体枠4の扉開放スイッチ407、枠開放スイッチ408、発射ソレノイド453、発射減算センサ454、アウト球センサ505、セーフ球センサ506、ファール球センサ507、循環球過少センサ521、循環球過多センサ522、揚上入口センサ553、揚上出口センサ554、揚上モータ564、揚上モータインデックスセンサ566、球磨モータ588、発射手前センサ604、球送ソレノイド606、が接続されている。
電源基板650は、枠制御基板640や主制御基板1310、周辺制御基板1510等に、所定電圧の電力を供給するためのものである。
インターフェース基板660は、枠制御基板640と、扉枠3側や遊技盤5側に設けられている各種の中継基板との接続を中継するためのものである。
遊技球貸出装置接続端子板665は、枠制御基板640と遊技球貸出装置8との接続を中継するためのものである。
ユニットベース670は、左右に長く形成されており、左端に本体枠ベースユニット400の本体枠スピーカボックス404の後面に設けられている枠基板ユニット軸支部404dに軸支されるヒンジ軸670aが設けられていると共に、右端に二つのナイラッチ674が操作部674aを後方へ向けて取付けられている。
ユニットベース670は、平面視において左端から左右方向の全長に対して1/4の長さで右方へ延出している後面部670bと、後面部670bの右端から前方へ短く延出している繋部670cと、繋部670cの前端から右端まで延出している前面部670dと、を有している。これにより、ユニットベース670は、後面部670bと前面部670dとの間において前後方向の段差を有している。
ユニットベース670の後面部670bの後側には、インターフェース基板ボックス673が着脱可能に取付けられる。一方、ユニットベース670の前面部670dの後側には、電源基板ボックス672が着脱可能に取付けられると共に、電源基板ボックス672の後側に枠制御基板ボックス671が着脱可能に取付けられる。
本実施形態の枠基板ユニット630は、通常の状態(使用状態)では、ユニットベース670の左端に設けられているヒンジ軸670aが本体枠ベースユニット400の枠基板ユニット軸支部404dに軸支されていると共に、ユニットベース670の右端に取付けられているナイラッチ674が本体枠ベース401のベース壁部401bの後面に取付けられている。この状態では、枠基板ユニット630が、ベース壁部401bの後側に取付けられている循環球経路ユニット500や球揚上ユニット550の後方を覆っており、それらに対してアプローチ不能としている。
また、通常の状態では、図10に示すように、枠基板ユニット630におけるユニットベース670の前面部670d、電源基板ボックス672、枠制御基板ボックス671、が本体枠スピーカボックス404におけるボックス拡張部404cの上方に位置している。この際に、前面部670d及び電源基板ボックス672が、枠制御基板ボックス671よりも上下が短く形成されているため、電源基板ボックス672とボックス拡張部404cとの間に、配線等を収容可能な空間が形成されている。
通常の状態からナイラッチ674の操作部674aを後方へ引いてロックを解除すると、ユニットベース670の右端側の取付けが外れ、左端のヒンジ軸670aを中心にしてヒンジ回転させることで、枠基板ユニット630を後方へ開くことが可能となる。この枠基板ユニット630を後方へ開くことで、ベース壁部401bの後側に取付けられている循環球経路ユニット500や球揚上ユニット550が現れることとなり、それらに対するアプローチが可能となる。
[4-9.錠ユニット]
本体枠4における錠ユニット680について、主に図7及び図8等を参照して説明する。錠ユニット680は、本体枠ベースユニット400における本体枠ベース401の正面視右端縁に沿って後方から取付けられている。錠ユニット680は、外枠2と本体枠4及び扉枠3と本体枠4の間を施錠するためのものである。
錠ユニット680は、本体枠ベース401のシリンダ挿通口401mを後方から貫通して前端が前方へ突出する筒状の錠シリンダ681と、錠シリンダ681の前端面に設けられている鍵穴682と、鍵穴682に対応する鍵を挿入して所定方向へ回動させると扉枠3と本体枠4との施錠が解除される扉枠ロック爪683と、鍵穴682に対応する鍵を挿入して上記とは判定方向へ回動させると本体枠4と外枠2との施錠が解除される外枠ロック爪684と、を有している。
[5.遊技盤の簡単な説明]
パチンコ機1の遊技盤5について、後述する図75等で示す遊技盤5と同じ盤面構成であり、ここでは図3を参照して簡単に説明する。遊技盤5は、遊技球Bが打ち込まれる遊技領域5a内に、遊技球Bの受入れにより特典が付与される一般入賞口2001、第一始動口2003、第二始動口2004、大入賞口2005、等の入賞口が設けられており、入賞口に遊技球Bが受入れられるように遊技者がハンドル160を操作して遊技球Bの打込みを楽しませるためのものである。遊技盤5は、本体枠4の遊技盤挿入部401aに前側から着脱可能に取付けられる。遊技盤5は、パチンコ機1に組立てた状態で、扉枠3の遊技窓101を通して遊技者側から視認可能とされ、遊技者がハンドル160を操作することにより遊技球Bが打込まれる遊技領域5aを有している。
遊技盤5は、遊技領域5aの外周を区画し外形が正面視略四角形状とされた前構成部材1000と、前構成部材1000の後側に取付けられており遊技領域5aの後端を区画する板状の遊技パネル1100と、遊技パネル1100の前面における遊技領域5a内において遊技球Bと当接可能に所定のゲージ配列で植設されている複数の障害釘(図示は省略)と、を備えている。
遊技盤5の前構成部材1000は、全体が透明に形成されている。前構成部材1000は、正面視の外形が略正方形とされ、内形が略円形状に前後方向へ貫通しており、内形の内周によって遊技領域5aの外周を区画している。前構成部材1000は、正面視で左右方向中央から左寄りの下端から時計回りの周方向へ沿って円弧状に延び正面視左右方向中央上端を通り過ぎて右斜め上部まで延びた外レール1001と、外レール1001に略沿って前構成部材1000の内側に配置され正面視左右方向中央下部から正面視左斜め上部まで円弧状に延びた内レール1002と、内レール1002の下端の正面視右側で遊技領域5aの最も低くなった位置に形成されており後方へ向かって低くなるように傾斜しているアウト誘導部1003と、を備えている。
また、前構成部材1000は、アウト誘導部1003の正面視右端から前構成部材1000の右辺付近まで右端側が僅かに高くなるように直線状に傾斜している右下レール1004と、右下レール1004の右端から前構成部材1000の右辺に沿って外レール1001の上端の下側まで延びており上部が前構成部材1000の内側へ湾曲している右レール1005と、右レール1005の上端と外レール1001の上端とを繋いでおり外レール1001に沿って転動して来た遊技球Bが当接する衝止部1006と、を備えている。
また、前構成部材1000は、内レール1002の上端に回動可能に軸支され、外レール1001との間を閉鎖するように内レール1002の上端から上方へ延出した閉鎖位置と正面視時計回りの方向へ回動して外レール1001との間を開放した開放位置との間でのみ回動可能とされると共に閉鎖位置側へ復帰するように図示しないバネによって付勢された逆流防止部材1007を、備えている。
更に、前構成部材1000は、枠内における正面視左右方向中央下部で、アウト誘導部1003の後端において前後に貫通しているアウト口1008を備えている。アウト口1008に受入れられた遊技球Bは、遊技領域5aに戻されることなく遊技パネル1100の後方において遊技盤5から下方(循環球経路ユニット500のアウト球受口500a)へ排出される。
遊技盤5は、遊技パネル1100の後方に設けられており遊技球Bを遊技領域5a内へ打込むことで行われる遊技内容を制御する主制御基板1310と、主制御基板1310からの制御信号に基づいて遊技状況を表示し前構成部材1000の左上隅に遊技者側へ視認可能に取付けられている機能表示ユニット1400と、を備えている。
また、遊技盤5は、遊技パネル1100の後方に設けられている周辺制御基板1510と、遊技パネル1100の後方で正面視において遊技領域5aの中央に配置されており所定の演出画像を表示可能な演出表示装置1600と、遊技パネル1100の前面に取付けられる表ユニット2000と、遊技パネル1100の後面に取付けられる裏ユニット3000と、を備えている。
遊技盤5(表ユニット2000)には、遊技領域5a内に打込まれた遊技球Bを受入可能としており常時開口している複数の一般入賞口2001と、遊技領域5a内の所定位置に設けられており遊技球Bが通過可能なゲート2010と、遊技領域5a内の所定位置に設けられており遊技球Bの受入れにより第一特別図柄及び第二特別図柄の抽選が行われる第一始動口2003及び第二始動口2004と、第一始動口2003や第二始動口2004への遊技球Bの受入れにより抽選された特別図柄の抽選結果に応じて遊技球Bの受入が可能となる大入賞口2005と、を備えている。
第一始動口2003は、遊技領域5a内の中央に設けられている枠状のセンター役物2500の下方でアウト口1008の直上に設けられている。第二始動口2004は、アタッカユニット2400に設けられており、ゲート2010を遊技球Bが通過することにより抽選された普通図柄の抽選結果に応じて遊技球Bを受入可能に開閉する。
大入賞口2005は、遊技領域5a内における右下隅に取付けられているアタッカユニット2400に設けられている。
また、遊技盤5には、一般入賞口2001に受入れられた遊技球Bを検知する一般入賞口センサ3001と、ゲート2010を通過している遊技球Bを検知するゲートセンサ2011と、第一始動口2003に受入れられた遊技球Bを検知する第一始動口センサ2101と、第二始動口2004に受入れられた遊技球Bを検知する第二始動口センサ2401と、大入賞口2005に受入れられた遊技球Bを検知する大入賞口センサ2402と、を備えている(図38を参照)。
一般入賞口2001に受入れられた遊技球Bは、遊技パネル1100の後方において一般入賞口センサ3001に検知された上で、遊技盤5から下方の循環球経路ユニット500におけるセーフ球受口500bに排出される。第一始動口2003に受入れられた遊技球Bは、遊技パネル1100の後方において第一始動口センサ2101に検知された上で、遊技盤5から下方の循環球経路ユニット500におけるセーフ球受口500bに排出される。第二始動口2004に受入れられた遊技球Bは、遊技パネル1100の後方において第二始動口センサ2401に検知された上で、遊技盤5から下方の循環球経路ユニット500におけるセーフ球受口500bに排出される。大入賞口2005に受入れられた遊技球Bは、遊技パネル1100の後方において大入賞口センサ2402に検知された上で、遊技盤5から下方の循環球経路ユニット500におけるセーフ球受口500bに排出される。
主制御基板1310は、パチンコ機1において遊技領域5a内での遊技球Bを使用した遊技の制御を行うものである。主制御基板1310は、本体枠4に設けられている枠制御基板640に対して双方向通信で接続されていると共に、周辺制御基板1510に対して出力信号のみの一方向で接続されている。
主制御基板1310は、一般入賞口センサ3001、ゲートセンサ2011、第一始動口センサ2101、第二始動口センサ2401、大入賞口センサ2402、等からの遊技球Bの検知信号が入力される。また、主制御基板1310は、第二始動口2004を開閉するための始動口ソレノイド2412、大入賞口2005を開閉するためのアタッカソレノイド2414、等へ駆動信号を出力する。
主制御基板1310は、一般入賞口2001に受入れられた遊技球Bが一般入賞口センサ3001に検知されると、所定数(例えば、10個)の賞球コマンドを出力する。これは従来のパチンコ機と変らないため主制御基板1310のソフトウエアを変更しなくても良い。この賞球コマンド受け付けると枠制御基板640では、持ち球加算信号と解釈する。また、第一始動口2003に受入れられた遊技球Bが第一始動口センサ2101に検知されると、所定数(例えば、1個)の賞球コマンドを出力する。また、第二始動口2004に受入れられた遊技球Bが第二始動口センサ2401に検知されると、所定数(例えば、1個)の賞球コマンドを出力する。更に、大入賞口2005に受入れられた遊技球Bが大入賞口センサ2402に検知されると、所定数(例えば、10個、または、13個)の賞球コマンドを出力する。
また、主制御基板1310は、普通図柄の抽選結果や特別図柄の抽選結果等の信号を、周辺制御基板1510へ出力する。
機能表示ユニット1400は、主制御基板1310からの信号に基づき複数のLEDを用いて、遊技状態(遊技状況)や、普通図柄の抽選結果や特別図柄の抽選結果等を表示するものである。
機能表示ユニット1400は、詳細な図示は省略するが、遊技状態を表示する三つのLEDからなる状態表示器と、ゲート2010での遊技球Bの通過により抽選される普通図柄の抽選結果を表示する二つのLEDからなる普通図柄表示器と、ゲート2010での遊技球Bの通過により抽選される普通図柄の保留数を表示する二つのLEDからなる普通保留表示器と、を備えている。
また、機能表示ユニット1400は、第一始動口2003への遊技球Bの受入れにより抽選された第一特別図柄の抽選結果を表示する八つのLEDからなる第一特別図柄表示器と、第一始動口2003への遊技球Bの受入れに係る保留数を表示する二つのLEDからなる第一特別保留数表示器と、第二始動口2004への遊技球Bの受入れにより抽選された第二特別図柄の抽選結果を表示する八つのLEDからなる第二特別図柄表示器と、第二始動口2004への遊技球Bの受入れに係る保留数を表示する二つのLEDからなる第二特別保留数表示器と、を備えている。
更に、機能表示ユニット1400は、特別図柄(第一特別図柄又は第二特別図柄)の抽選結果が「当り」等の時に、大入賞口2005の開閉パターンの繰返し回数(ラウンド数)を表示する五つのLEDからなるラウンド表示器、を備えている。
この機能表示ユニット1400では、備えられているLEDを、適宜、点灯、消灯、及び、点滅、等させることにより、保留数や図柄等を表示することができる。
周辺制御基板1510は、演出表示装置1600の後側に取付けられている。周辺制御基板1510は、主制御基板1310から送られた信号に基づいて、演出表示装置1600に演出画像を表示させたり発光演出や可動演出等を実行させたりするものである。
[6.遊技球の流れ]
続いて、パチンコ機1における遊技球Bの流れについて、主に図36及び図37等を参照して説明する。図36は、本体枠の後面側における遊技球の各種通路を背面から示す説明図である。図37は、本体枠における遊技球の流れを模式的に示す説明図である。
本実施形態のパチンコ機1は、遊技者がハンドル160を操作していない状態では、図37に示すように、多数(例えば、40~60個)の循環する遊技球Bが本体枠4における遊技盤5よりも下方の部位において貯留されている。本体枠4における遊技球Bの循環経路Rは、上流側から順に、ファールユニット470及び循環球経路ユニット500、球揚上ユニット550、球送ユニット600、球発射ユニット450、が設けられている。循環経路Rは、アウト球通路501、セーフ球通路502、ファール球通路503、球貯留通路504、球揚上入口通路551、球揚上出口通路552、等により構成されている。
循環経路Rを流通している遊技球Bを検知するための複数のセンサは、上流側から、セーフ球センサ506、アウト球センサ505、ファール球センサ507、循環球過多センサ522、循環球過少センサ521、揚上入口センサ553、揚上出口センサ554、発射手前センサ604、発射減算センサ454、の順に設けられている。これら各種センサからの信号に基づいて、枠制御基板640において後述する様々な制御処理が実行される。
遊技者がハンドル160を操作していない状態では、セーフ球センサ506、アウト球センサ505、ファール球センサ507、循環球過多センサ522、がOFF(非検知)の状態となっており、循環球過少センサ521、揚上入口センサ553、揚上出口センサ554、発射手前センサ604、発射減算センサ454、がON(検知)の状態となっている。
本体枠4における循環経路R内では、多数の遊技球Bが一列に並んでいる状態で貯留されている。一列に並んでいる多数の遊技球Bは、先頭が球発射ユニット450における発射ユニットカバー452の球発射台452b上に位置しており、最後部が循環球経路ユニット500の球貯留通路504におけるゲージ部520の範囲内で、球抜シャッター515よりも上流側に位置している。
循環経路Rにおいて、球揚上ユニット550における揚上スパイラルシャフト561の上端と揚上出口センサ554との間の部位は、所定個数(例えば、5個)の遊技球Bが並ぶ長さに対して所定個数よりも少ない特定個数(例えば、4個)の遊技球Bが並んでいる。これは、揚上スパイラルシャフト561を原点復帰させる際に、遊技球Bが1個揚上されても、その揚上された遊技球Bを受け取るスペースを確保するためである。
また、循環経路Rにおいて、発射手前センサ604と揚上出口センサ554との間の部位は、所定個数(例えば、10個)が並んでいる。これにより、揚上出口センサ554において遊技球Bの検知がOFF(非検知)になった後にも、球発射ユニット450において遊技球Bが発射され続けている場合、揚上スパイラルシャフト561の回転により遊技球Bが揚上されて補充されるまでの間に、発射される遊技球Bがなくなってしまうことを回避させることができる。
そして、遊技者がハンドル160を操作して球発射ユニット450の発射ソレノイド453が駆動されると、発射ユニットカバー452における球発射台452bに載置されていた遊技球Bが発射され、発射減算センサ454において遊技球Bの検知が非検知(OFF)となる。これにより、遊技者の持ち球数が1個減算される(後述の持ち球減算処理)。その後、球送ユニット600の球送ソレノイド606に所定時間通電され、球送可動部材605の球受部605aが上下に移動して、1個の遊技球Bが球発射台452bに載置されて、発射減算センサ454が検知(ON)の状態となる。
遊技者のハンドル160の操作により遊技球Bが1個ずつ発射されと、発射手前センサ604と揚上スパイラルシャフト561の上端との間(球揚上出口通路552)に貯留されている複数の遊技球Bが1個ずつ減少し、やがて揚上出口センサ554において遊技球Bの検知が非検知(OFF)となる。そして、揚上出口センサ554が非検知になってから所定数(例えば、3個)の遊技球Bが発射されると、球揚上ユニット550の揚上モータ564により揚上スパイラルシャフト561が回転を開始し、3回転して3個の遊技球Bを球揚上出口通路552へ供給した後に停止する(後述の揚上モータ動作処理)。
揚上モータ564により揚上スパイラルシャフト561が回転すると、球揚上入口通路551の下流端に位置している遊技球Bが、揚上スパイラルシャフト561の下端側へ移動して上方へ移動させられる。これにより、球揚上入口通路551及び球貯留通路504において並んでいる多数の遊技球Bが下流側へ流れることとなり、球貯留通路504に貯留されている遊技球Bが減少することとなる。
球発射ユニット450から発射されて遊技盤5の遊技領域5aに打ち込まれた遊技球Bは、アウト口1008、又は、入賞口(一般入賞口2001、第一始動口2003、第二始動口2004、大入賞口2005)の何れかに受入れられる。遊技盤5のアウト口1008に受入れられた遊技球Bは、遊技盤5から下方へ排出されて循環球経路ユニット500のアウト球受口500aに受け渡される。アウト球受口500aに受け渡された遊技球Bは、アウト球通路501を通ることでアウト球センサ505に検知され、球貯留通路504へ送られる。
一方、遊技盤5の入賞口に受入れられた遊技球Bは、遊技盤5から下方へ排出されて循環球経路ユニット500のセーフ球受口500bに受け渡される。セーフ球受口500bに受け渡された遊技球Bは、セーフ球通路502を通ることでセーフ球センサ506に検知され、球貯留通路504へ送られる。
アウト球センサ505により遊技球Bが検知されるとアウト球数がカウントされ、セーフ球センサ506により遊技球Bが検知されるとセーフ球数がカウントされる。これにより、正確な遊技球Bの出玉率を算出することが可能となる。なお、算出された出玉率は、主制御基板1310に設けられている表示部(図示は省略)に表示される。この出玉率は、遊技状態に応じて変化するため、所定期間(例えば、単位時間当り、所定時間当り、一日当たり、等)内の出玉率として、「(所定期間内の入賞による持ち球の加算数-所定期間内のセーフ球数)÷所定期間内のアウト球数=所定期間内の出玉率」のように算出する。
ところで、球発射ユニット450(球発射台452b)から発射されたにも関わらず遊技盤5の遊技領域5aに打ち込まれなかった遊技球Bは、ファール球としてファールユニット470により回収された後に、循環球経路ユニット500のファール球受口500cに受け渡される。そして、ファール球受口500cに受け渡された遊技球Bは、ファール球通路503を流通することでファール球センサ507に検知され、球貯留通路504へ送られる。ファール球センサ507により遊技球Bが検知されると、遊技者の持ち球数が1個加算される(後述の持ち球加算処理)。
このように、本実施形態のパチンコ機1では、遊技球Bが、外部へ排出されたり外部から供給されたりすることなく封入されており、内部において循環することで、遊技者が遊技球Bに触れることはない。
[7.各種制御処理]
次に、本実施形態のパチンコ機1における枠制御基板640での各種の制御処理について、図38乃至図49等を参照して詳細に説明する。図38は、パチンコ機の制御構成を概略で示すブロック図である。図39は、発射許可処理を示すフローチャートである。図40は持ち球減算処理を示すフローチャートであり、図41はファール球による持ち球加算処理を示すフローチャートである。図42は、発射制御処理を示すフローチャートである。図43は、賞球処理を示すフローチャートである。図44は揚上モータ動作処理を示すフローチャートであり、図45は揚上入口センサ及び揚上出口センサと揚上モータの動作との関係を示す表であり、図46は遊技球の発射動作と球揚上ユニットの動作との関係を示すグラフである。図47は、球揚上ユニットにおける球揚上機構の動作を示すグラフである。図48(a)はセキュリティ処理を示すフローチャートであり、(b)は(a)とは異なる実施形態のセキュリティ処理を示すフローチャートである。図49は、循環球過少センサ及び循環球過多センサとエラー報知との関係を示す表である。なお、図38では、主制御基板1310や周辺制御基板1510等に接続されているセンサ、ソレノイド、モータ、LED、等の電子部品の一部を省略して示している。
パチンコ機1の主な制御構成は、図38に示すように、本体枠4に取付けられている枠制御基板640と、遊技盤5に取付けられている主制御基板1310及び周辺制御基板1510と、から構成されている。枠制御基板640は、主に遊技球Bの発射や循環、持ち球数、等の制御処理を行うものである。主制御基板1310は、主に遊技の制御処理を行うものである。周辺制御基板1510は、主に演出の制御処理を行うものである。
枠制御基板640には、発射停止スイッチ161、ハンドルタッチセンサ162、ハンドル回転センサ163、計数ボタンスイッチ180、扉開放スイッチ407、枠開放スイッチ408、発射減算センサ454、アウト球センサ505、セーフ球センサ506、ファール球センサ507、循環球過少センサ521、循環球過多センサ522、揚上入口センサ553、揚上出口センサ554、揚上モータインデックスセンサ566、発射手前センサ604、RAMクリアスイッチ641、球抜スイッチ642、球数記憶・表示クリアスイッチ643、等からの信号が入力される。
また、枠制御基板640は、持ち球数表示部140、発射ソレノイド453、揚上モータ564、球磨モータ588、球送ソレノイド606、等へ信号を出力する。
更に、枠制御基板640は、遊技球貸出装置接続端子板665を介して遊技球貸出装置8から信号が入力されたり、信号を出力したりする。また、枠制御基板640は、主制御基板1310から信号が入力されたり、信号を出力したりする。
主制御基板1310には、一般入賞口センサ3001、ゲートセンサ2011、第一始動口センサ2101、第二始動口センサ2401、大入賞口センサ2402、等からの信号が入力される。また、主制御基板1310は、始動口ソレノイド2412、アタッカソレノイド2414、周辺制御基板1510、等へ信号を出力する。
なお、遊技球貸出装置8は、パチンコ機1の外部に設けられており、通信ネットワークを介して管理サーバ9へ信号を出力する。遊技球貸出装置8には、球貸ボタンスイッチ8a、返却ボタンスイッチ、枠制御基板640、等からの信号が入力される。また、遊技球貸出装置8は、表示部、枠制御基板640、等へ信号を出力する。
[7-1.発射許可処理]
発射許可処理について図39を参照して説明する。発射許可処理は、遊技球Bを発射すべきか否かを判断する処理である。発射許可処理が開始されると、まずステップS101において、遊技者がハンドル160に触れているか否かを確認し、遊技者がハンドル160に触れてハンドルタッチセンサ162がONの場合(YES)には、次のステップS102へ進む。ステップS101においてハンドルタッチセンサ162がOFFの場合(NO)には、ステップS107へ進み、枠制御発射許可信号をOFFにして処理を終了する。
ステップS102では、発射停止スイッチ161がOFFになっているか否かを確認し、発射停止スイッチ161がOFFの場合には、YESとして次のステップS103へ進む。一方、ステップS102において発射停止スイッチ161がOFFの場合は、NOとしてステップS107へ進み、枠制御発射許可信号をOFFにして処理を終了する。
ステップS103では、枠制御基板640が遊技球貸出装置接続端子板665を介して遊技球貸出装置8と接続されているか否かを確認し、遊技球貸出装置8に接続されている場合には、YESとして次のステップS104へ進む。一方、ステップS103において遊技球貸出装置8との接続が確認されない場合は、NOとしてステップS107へ進み、枠制御発射許可信号をOFFにして処理を終了する。
ステップS104では、主制御基板1310からの主制御発射許可の有無を確認し、主制御発射許可が有る場合には、YESとして次のステップS105へ進む。一方、ステップS104において、主制御発射許可が無い場合は、NOとしてステップS107へ進み、枠制御発射許可信号をOFFにして処理を終了する。
ステップS105では、遊技者の持ち球数が0よりも多いか否かを確認し、持ち球数が0よりも多い場合には、YESとして次のステップS106へ進み、枠制御発射許可信号をONにして処理を終了する。一方、ステップS105において、持ち球数が0よりも少ない(持ち球数が0個)場合は、NOとしてステップS107へ進み、枠制御発射許可信号をOFFにして処理を終了する。
このように、発射許可処理により遊技球Bの発射が許可された状態となり、この状態で遊技者がハンドル160を回転操作すると、その回転角度に応じた強さで発射ソレノイド453が駆動されて、球発射ユニット450から遊技球Bが発射されることとなる。発射ソレノイド453を駆動する際には、後述する発射制御処理が実行される。
[7-2.持ち球減算処理]
持ち球減算処理について図40を参照して説明する。持ち球減算処理は、遊技球Bの発射により遊技者の持ち球数を減算する処理である。持ち球減算処理は、まずステップS111において、球発射ユニット450の発射減算センサ454が、ONの状態からOFFの状態になったか否かを判断する。球発射ユニット450の球発射台452bに遊技球Bが載置されている状態では、発射減算センサ454が遊技球Bを検知しておりONの状態になっている。この状態から、発射ソレノイド453の駆動により発射槌455が球発射台452bの遊技球Bを打撃して遊技球Bが発射されると、発射減算センサ454が非検知となりOFFの状態となる。
そして、ステップS111において、遊技球Bが発射されて発射減算センサ454がONからOFFになると、YESとして次のステップS112へ進み、持ち球数を1個減算して処理を終了する。
一方、ステップS111において、発射減算センサ454がONからOFFにならずにONのままの状態であれば、NOとして持ち球数を減算せずに処理を終了する。
このように、持ち球減算処理により、球発射ユニット450から遊技球Bが発射されると、遊技者の持ち球数が1個減算されることとなる。
[7-3.持ち球加算処理]
ファールによる持ち球加算処理について図41を参照して説明する。球発射ユニット450から遊技球Bが発射されると、持ち球減算処理により遊技者の持ち球数が減算されるが、発射された遊技球Bが遊技盤5の遊技領域5aに打ち込まれなかった場合、当該遊技球Bによる遊技が行われることはないため、持ち球数が減算されたままでは遊技者の興趣を低下させてしまう。そこで、持ち球加算処理では、遊技領域5aに打ち込まれなかった遊技球B(ファール球)を、遊技者の持ち球数に加算するものである。
持ち球加算処理は、ステップS121において、循環球経路ユニット500のファール球センサ507が遊技球B(ファール球)を検知することでOFFからONになったか否かを判断し、ファール球センサ507がONになった場合、YESとして次のステップS122へ進み、持ち球数を1個加算して処理を終了する。
一方、ステップS121において、ファール球センサ507がONにならずにOFFのままであれば、NOとして持ち球数を加算することなく処理を終了する。
このように、持ち球加算処理により、球発射ユニット450から発射されたにも関わらず、遊技盤5の遊技領域5aに遊技球Bが打ち込まれなかった場合に、ファール球を持ち球数に加算して遊技者が不利になることを回避させることができる。
[7-4.発射制御処理]
発射制御処理について図42等を参照して説明する。発射制御処理は、発射許可処理において枠制御発射許可信号がONになってから遊技者がハンドル160を回転操作した後に、発射ソレノイド453の駆動により実際に遊技球Bを発射するか否かを判断するものである。発射制御処理は、まず、ステップS131において、枠制御発射許可の有無(ON/OFF)を判断し、枠制御発射許可が有る(ON)場合は、YESとして次のステップS132へ進む。一方、ステップS131において、枠制御発射許可が無い(OFF)場合は、NOとして発射ソレノイド453を駆動せずに処理を終了する。
ステップS132では、発射減算センサ454がONであるか否かを判断し、発射減算センサ454がON(球発射台452bに遊技球Bが有る)の場合、YESとして次のステップS133へ進み、発射ソレノイド453をONにしてハンドル160の回転角度に応じた強さで遊技球Bを打撃して処理を終了する。
一方、ステップS132において、発射減算センサ454がONでない(OFF)の場合は、NOとして次のステップS134へ進む。発射減算センサ454がOFFの場合、球発射台452bに遊技球Bが載置されていないことから、ステップS134以下の処理が行われる。
ステップS134では、発射手前センサ604がONであるか否かを判断し、発射手前センサ604がONではない場合(遊技球Bを非検知の場合)には、NOとして次のステップS135へ進み、「発射球切れ」を示すエラー表示をONにし、ステップS134へ戻り、発射手前センサ604がONになるまで繰り返す。なお、エラー表示は、例えば、演出表示装置の表示画面に表示される。
なお、エラー表示は、報知ランプを設けて点灯させても良いし、演出表示装置において画像表示させても良い。或いは、エラー信号を遊技球貸出装置8を介して遊技ホールのホールコンピュータ(ホルコン)へ出力して、遊技ホール側に設けられている報知ランプを点灯させても良い。
このステップS134において、発射手前センサ604が遊技球Bを検知してONの場合には、YESとして次のステップS136へ進み、球送ソレノイド606をON(通電)にして球送可動部材605を可動させる。これにより、発射手前センサ604により検知されている遊技球Bが、球送可動部材605の球受部605aに受け渡され、所定短時間後に球送ソレノイド606がOFFになると、球受部605aに受け渡された遊技球Bが球発射台452bへ供給される。この際に、球送可動部材605により球発射台452bへ送られた遊技球Bよりも上流側(球揚上出口通路552)に遊技球Bがあれば、その遊技球Bが下流側へ移動して発射手前センサ604がONになる。
ステップS136において、球送ソレノイド606をONにしたら、次のステップS137へ進み、再び発射減算センサ454がONであるか否かを判断し、発射減算センサ454がONでなければ、NOとしてステップS134へ戻り、発射減算センサ454がONになるまで上記のフローを繰り返す。
そして、ステップS137において、発射減算センサ454がONの場合は、YESとして次のステップS138へ進み、「発射球切れ」のエラー表示をOFFにした上で、ステップS133へ進んで発射ソレノイド453をONにし、ハンドル160の回転角度に応じた強さで遊技球Bを打撃して処理を終了する。
このように、発射制御処理により、球発射ユニット450における球発射台452bに遊技球Bが載置されていることを確認した上で、遊技球Bを発射させることができる。
[7-5.賞球処理]
賞球処理について図43等を参照して説明する。賞球処理は、遊技盤5に設けられている一般入賞口2001、第一始動口2003、第二始動口2004、大入賞口2005、等の入賞口に遊技球Bが受入れられることにより、特典として入賞口に応じた所定個数の賞球が付与され、その賞球を遊技者の持ち球数に加算するものである。
賞球処理では、遊技盤5において入賞口に遊技球Bが受入れられことで主制御基板1310から出力された信号(賞球信号)が枠制御基板640に入力されると、ステップS141において入力された賞球信号を解析する。主制御基板1310から出力される賞球信号としては、賞球個数としても良いし、遊技球Bが受入れられた入賞口の種類としても良い。
そして、ステップS141において賞球信号が解析されると、続くステップS142において、解析された賞球信号に応じた賞球個数を、遊技者の持ち球数に加算し、処理を終了する。
このように、賞球処理により、遊技盤5において遊技球Bが入賞した入賞口に応じた数の遊技球B(賞球個数)を、遊技者の待ち球数に加算することができる。
[7-6.揚上モータ動作処理]
揚上モータ動作処理について図44乃至図47等を参照して説明する。揚上モータ動作処理は、球発射ユニット450により遊技球Bが発射されることで球揚上出口通路552内の遊技球Bが減少すると、球揚上入口通路551内の遊技球Bを球揚上ユニット550の揚上スパイラルシャフト561の回転により揚上させて球揚上出口通路552に供給するものである。
揚上モータ動作処理は、まず、ステップS201において、リトライカウンタ1をクリアして次のステップS202に進む。ステップS202では、球揚上ユニット550の球揚上機構560における揚上スパイラルシャフト561の下端に取付けられている揚上モータインデックス565を検知するための揚上モータインデックスセンサ566がONか否かを判断する。
揚上モータインデックス565は、円盤状(フランジ状)の周方向に対して一部を切り欠くようにして設けられている検知部565aを有しており、揚上スパイラルシャフト561の回転により揚上モータインデックス565の検知部565aが揚上モータインデックスセンサ566の部位に位置すると、揚上モータインデックスセンサ566がONにより、検知部565a以外の部位では揚上モータインデックスセンサ566がOFFとなる。
ステップS202において、揚上モータインデックスセンサ566がONの場合は、YESとして次のステップS203へ進み、揚上出口センサ554が80ms以上ONであるか否かが判断される。このステップS203において、揚上出口センサ554が80ms以上ONでない(揚上出口センサ554がOFF)と判断されると、NOとして次のステップS204へ進む。
一方、ステップS203において、揚上出口センサ554が80ms以上ONと判断された場合は、YESとしてステップS203に戻り、揚上出口センサ554が80ms以上ONでなくなるまで(揚上出口センサ554がOFFになるまで)繰り返される。つまり、球揚上出口通路552内の複数の遊技球Bの列の最後部が、遊技球Bの発射により減少して揚上出口センサ554よりも下流側になるまで繰り返され、揚上出口センサ554がOFFになるとステップS204へ進む。
ステップS204では、揚上入口センサ553が80ms以上ONであるか否かが判断され、揚上入口センサ553が80ms以上ONでない(揚上入口センサ553がOFF)と判断された場合、NOとしてステップS205へ進み、「揚上入口球切れ」を示すエラー表示をONにしてステップS204へ戻る。これにより、球揚上入口通路551での球切れを報知して球切れの解消を促すことができる。
ステップS204において、揚上入口センサ553が80ms以上ONであると判断された場合は、YESとして次のステップS206へ進み、「揚上入口球切れ」を示すエラー表示をOFFにした後に、続くステップS207において1800ms経過後に揚上モータ564の作動を開始させて揚上スパイラルシャフト561を回転させる。これにより、球揚上入口通路551内の遊技球Bの揚上が開始される。揚上スパイラルシャフト561は、1回転すると遊技球Bを1個吐出する。
ここで、揚上モータ564の作動開始について換言すると、図46に示すように、揚上入口センサ553が80ms以上ON(連続ON)、揚上モータ564が停止、揚上出口センサ554が80ms以上ON(連続ON)、発射手前センサ604が80ms以上ON(連続ON)、の状態で、ハンドル160の操作により所定時間(ここでは600ms)間隔で遊技球Bが連続するように発射されている。そして、揚上出口センサ554がOFFになると、そこからt1時間(ここでは1800ms)経過後に、揚上モータ564の作動が開始して、揚上スパイラルシャフト561の上端から球揚上出口通路552側への遊技球Bの吐出(揚上装置球吐出)が開始する。
本実施形態では、揚上出口センサ554がOFFになってから、遊技球Bが3個発射されると、揚上モータ564が作動して揚上スパイラルシャフト561の回転が開始する。なお、揚上スパイラルシャフト561の回転により遊技球Bを吐出する時間間隔は、遊技球Bを連続発射する時間間隔よりも短く設定している。これにより、球発射ユニット450への遊技球Bの供給が、遊技球Bの発射に対して追い付かなくなることはない。
なお、球揚上ユニット550に設けられている球磨モータ588は、図46に示すように、揚上モータ564の作動とは無関係に制御されており、遊技球Bを1000個発射する毎に、磨布582が0.17mm移動するように作動している。
この揚上モータ564は、図45に示すように、揚上入口センサ553がONで、揚上出口センサ554がOFFの組み合わせ以外では作動することはなく停止している。
揚上モータ動作処理の説明に戻ると、ステップS207において揚上モータ564の作動が開始されると、続くステップS208でリトライカウンタ2をクリアし、続くステップS209で揚上モータインデックス565(揚上モータインデックスセンサ566)がOFF後600ms以内に再度ONになったか否かが判断される。
ステップS209において、揚上モータインデックス565がOFF後600ms以内に再度ONになった(揚上スパイラルシャフト561が回転している)と判断された場合、YESとして次のステップS210へ進み、揚上出口センサ554が80ms以上ONであるか否かを判断し、ONでない場合には、NOとしてステップS208へ戻り、揚上モータ564の作動が継続される。
一方、ステップS210において、揚上出口センサ554が80ms以上ONであると判断された場合は、YESとして次のステップS211へ進み、揚上モータインデックス565の検知部565aの検出3回目の位置にて揚上モータ564を停止させ、ステップS201へ戻り、揚上モータ動作処理を繰り返す。
つまり、図46及び図47に示すように、揚上出口センサ554がON(連続ON)になってから、揚上モータインデックス565の回転により非遮光(検知部565aにより揚上モータインデックスセンサ566がON)の3回目の時に、揚上モータ564が停止する。この際に、揚上モータインデックス565と一体回転する揚上スパイラルシャフト561により、1回転に付き1個の遊技球Bが球揚上出口通路552側へ吐出(揚上装置球吐出)されるため、揚上出口センサ554がONになってから揚上モータ564が停止するまでの間に3個の遊技球Bが吐出されることとなる。換言すると、揚上出口センサ554がONになると、3個の遊技球Bを球揚上出口通路552側へ吐出して揚上モータ564が停止する。これにより、球揚上出口通路552内には、余裕を持った数の遊技球Bが貯留される。なお、後述する揚上モータ原点復帰処理が円滑に実行されるように、球揚上出口通路552内を遊技球Bで満タンにすることはなく、所定個数の空きが出るようにしている。
この揚上モータ動作処理では、ステップS202において、揚上モータインデックス565がONでない(揚上モータインデックスセンサ566がOFF)と判断された場合、NOとして次のステップS212へと進み、リトライカウンタ1が3未満であるか否かが判断される。
ステップS212において、リトライカウンタ1が3未満である場合は、YESとして次のステップS213の揚上モータ原点復帰処理を実行した上で、ステップS214においてリトライカウンタ1に「1」を加算してステップS202へ戻る。
ステップS213の揚上モータ原点復帰処理は、揚上モータインデックスセンサ566がOFFの場合、揚上モータ564を作動させて揚上スパイラルシャフト561と一緒に揚上モータインデックス565を回転させ、揚上モータインデックスセンサ566がOFFの状態で、検知部565aが到達することでONの状態になった後に、揚上モータ564が2回転して停止し、揚上モータ564(揚上モータインデックス565)が原点に復帰する。
詳述すると、揚上モータインデックス565(揚上スパイラルシャフト561)は、シャフトギア562とモータギア563とのギア比により、揚上モータ564が32回転すると1回転するように構成されている。そして、揚上モータインデックス565の検知部565aの周方向の長さを、揚上モータ564が4回転する長さに形成しているため、揚上モータインデックスセンサ566がONになってから揚上モータ564が2回転して停止する位置は、検知部565aの中央に位置している。つまり、揚上モータインデックス565における検知部565aの中央を、揚上モータ564(揚上スパイラルシャフト561、揚上モータインデックス565)の原点としている(図47を参照)。
揚上モータ原点復帰処理が実行されると、揚上スパイラルシャフト561がおよそ1回転するため、1個の遊技球Bが球揚上出口通路552へ吐出されるが、球揚上出口通路552では遊技球Bの収容に対して所定個数の空きを持たせているため、揚上スパイラルシャフト561からの遊技球Bの吐出が妨げられることはなく、揚上モータ564を原点復帰させることができる。
上記のステップS212において、リトライカウンタ1が3未満ではないと判断された場合は、NOとしてステップS215へ進み、「揚上球ガミエラー」を示すエラー表示をONにして、続くステップS216により動作停止する。この動作停止の解除条件は、本体枠4における電源基板650に設けられている図示しない電源スイッチを切入することで解除することができる。
一方、上記のステップS209において、揚上モータインデックス565がOFF後600ms以内に再度ONにならなかった(揚上スパイラルシャフト561が回転していない)と判断された場合、ONとしてステップS217へ進み、リトライカウンタ2が3未満であるか否かを判断し、リトライカウンタ2が3未満でないと判断された場合には、NOとしてステップS215へ進み、「揚上球ガミエラー」を示すエラー表示をONにして、続くステップS216により動作停止する。
一方、ステップS217において、リトライカウンタ2が3未満であると判断された場合は、YESとして次のステップS218の球ガミ解除処理を実行し、続くステップS219でリトライカウンタ2に「1」を加算してステップS209に戻る。
ステップS218の球ガミ解除処理は、揚上出口センサ554のON/OFFを監視しない状態で、揚上モータ564を停止させた後に、揚上モータ564を逆回転させ、所定時間(例えば、100ms)経過後に揚上モータ564を停止させ、再び揚上モータ564を作動(正転)させる。
このように、揚上モータ動作処理により、遊技球Bが発射されることで球揚上出口通路552内の遊技球Bが減少すると、揚上モータ564の作動により揚上スパイラルシャフト561を回転させて、下端から球揚上入口通路551内の遊技球Bを揚上させると共に、上端から吐出させて球揚上出口通路552に供給することができる。
なお、上記した揚上モータ564の作動時間や遊技球Bの吐出個数等は一例であり、適宜の時間や個数にしても良い。
[7-7.セキュリティ処理]
セキュリティ処理について図48等を参照して説明する。セキュリティ処理は、不正行為の有無を監視するためものである。セキュリティ処理は、図48(a)に示すように、ステップS301において矛盾カウンタをクリアし、続くステップS302において、循環球経路ユニット500における所定時間内の回収球数を算出する。回収球数は、アウト球数とセーフ球数とファール球数との和によって算出される。
ステップS302において回収球数を算出したら、次のステップS303へ進み、発射減算センサ454による発射球数と回収球数とが同じであるか否かを判断し、同じと判断された場合には、YESとしてステップS302へ戻る。一方、発射球数と回収球数とが同じでないと判断された場合には、NOとして次のステップS304へ進み、矛盾カウンタに「1」を加算して続くステップS305へ進む。
ステップS305では、矛盾カウンタがn(例えば、50)よりも大きいか否かを判断し、nよりも小さいと判断された場合には、NOとしてステップS302に戻る。一方、矛盾カウンタがnよりも大きいと判断された場合は、YESとして次のステップS306へ進み、不正行為が行われている旨のエラー表示をONにした後に、続くステップS307において遊技停止処理を実行して処理を終了する。
ステップS306でのエラー表示の解除は、本体枠4における電源基板650に設けられている図示しない電源スイッチを切入することで解除することができる。
また、ステップS307での遊技停止処理としては、球発射ユニット450における遊技球Bの発射停止、球揚上ユニット550による遊技球Bの揚上停止(循環停止)、主制御基板1310側での遊技の停止、等がある。
セキュリティ処理としては、図48(b)に示すような処理としても良い。このセキュリティ処理では、まず、ステップS311において矛盾カウンタをクリアし、続くステップS312において、発射減算センサ454による発射球数が、ファール球センサ507によるファール球数以上か否かを判断する。
ステップS312において、発射球数がファール球数以上と判断された場合には、YESとしてステップS312へ戻る。一方、発射球数がファール球数以上でないと判断された場合には、NOとして次のステップS313へ進み、矛盾カウンタに「1」を加算して続くステップS314へ進む。
ステップS314では、矛盾カウンタがn(例えば、50)よりも大きいか否かを判断し、nよりも小さいと判断された場合には、NOとしてステップS312に戻る。一方、矛盾カウンタがnよりも大きいと判断された場合は、YESとして次のステップS315へ進み、不正行為が行われている旨のエラー表示をONにした後に、続くステップS316において遊技停止処理を実行して処理を終了する。
ステップS315でのエラー表示の解除は、本体枠4における電源基板650に設けられている図示しない電源スイッチを切入することで解除することができる。
また、ステップS316での遊技停止処理としては、球発射ユニット450における遊技球Bの発射停止、球揚上ユニット550による遊技球Bの揚上停止(循環停止)、主制御基板1310側での遊技の停止、等がある。
このように、発射球数と、遊技盤5から排出された遊技球Bの数(回収球数)やファール球数等と、によって不正行為の有無を判断することができる。
[7-8.封入球量検知処理]
封入球量検知処理について図49等を参照して説明する。封入球量検知処理は、封入されている遊技球Bの量(球数)が適量であるか否かを検知するものである。封入球量検知処理は、循環球過少センサ521のON/OFFと、循環球過多センサ522のON/OFFとの組み合わせにより、遊技球Bが適量であるか否かを判断している。循環球過少センサ521及び循環球過多センサ522では、遊技球Bの検知が所定時間(例えば、80ms)以上継続している時を、ONとしている。
具体的には、球揚上ユニット550における球揚上入口通路551の上流側となる循環球経路ユニット500の球貯留通路504において、一列に並んでいる遊技球Bの最後部が、循環球過少センサ521と循環球過多センサ522との間に位置していると、循環球過少センサ521がONで循環球過多センサ522がOFFとなる。このような組み合わせの時には、遊技球Bの量が適量であると判断し、関係するようなエラーが報知されることはない。
一方、球貯留通路504において一列に並んでいる遊技球Bの最後部が、循環球過少センサ521よりも下流に位置している場合は、循環球過少センサ521がOFFで循環球過多センサ522がOFFのとなる。このような組み合わせの時には、遊技球Bの量が過少であると判断し、「遊技球過少」の旨を案内するエラーが報知される。
また、球貯留通路504において一列に並んでいる遊技球Bの最後部が、循環球過少センサ521及び循環球過多センサ522を越えて循環球過多センサ522よりも上流に位置している場合は、循環球過少センサ521がONで循環球過多センサ522がONとなる。このような組み合わせの時には、遊技球Bの量が過多であると判断し、「遊技球過多」の旨を案内するエラーが報知される。
ところで、本実施形態のパチンコ機1が設置される環境(遊技ホール)によっては、従来の鉄球SBを遊技球とするパチンコ機と一緒に設置される場合があり、本実施形態のパチンコ機1のメンテナンス等により遊技球Bを補充したり交換したりした時に、鉄球SBが混入してしまう恐れがある。そして、本パチンコ機1に鉄球SBが混入された場合、循環経路Rにおける球貯留通路504の球抜シャッター515に強力な磁石516を設けているため、混入された鉄球Bが磁石516により磁着して、球抜シャッター515上で停止した状態となる。
球抜シャッター515に鉄球SBが磁着した状態で、球発射ユニット450において遊技球Bの発射が続けられると、球貯留通路504における球抜シャッター515よりも下流側の遊技球Bが球揚上ユニット550により揚上されて減少し、やがて循環球過少センサ521がOFFになる。一方、球発射ユニット450から発射された遊技球Bは、循環球経路ユニット500のアウト球受口500aやセーフ球受口500b、ファールユニット470等により回収されて球貯留通路504の上流側へ供給され、球抜シャッター515(鉄球SB)よりも上流側に溜まることとなり、やがて循環球過多センサ522がONになる。このように、循環球過少センサ521がOFFで循環球過多センサ522がONとなった組み合わせの場合には、球抜シャッター515に鉄球SBが磁着していると判断し、「鉄球混入」の旨を案内するエラーが報知される。
なお、循環球過少センサ521と循環球過多センサ522との間において、球ガミによる球詰まりが発生した場合は、上記と同様の組み合わせとなるため、「鉄球混入」の旨を案内するエラーが報知される。
また、エラーの報知は、報知ランプを設けて点灯させても良いし、演出表示装置において画像表示させても良い。或いは、エラー信号を、遊技球貸出装置8を介して遊技ホールのホールコンピュータ(ホルコン)へ出力して、遊技ホール側に設けられている報知ランプを点灯させても良い。
このように、封入球量検知処理により、封入されている遊技球Bの量を適量に管理することができると共に、鉄球SBの混入を検知することができる。
[7-9.球抜処理]
球抜処理について説明する。球抜処理は、循環球経路ユニット500において、球抜シャッター515により球抜口513pを開いて球受トレー620へ遊技球Bを抜く際に実行するものである。球抜処理は、扉枠3を本体枠4に対して開いて扉開放スイッチ407をOFFにし、球抜シャッター515を手前に引いて球抜口513pを開くと共に、枠制御基板640に設けられている球抜スイッチ642をONにすることで実行される。
球抜処理では、揚上入口センサ553のON/OFFが無効にされ、球発射ユニット450における発射ソレノイド453が所定時間間隔でON/OFFを繰り返すと共に、揚上モータ564が作動したままの状態となる。
この際に、発射ソレノイド453がONになることで遊技球Bが発射されても、扉枠3を開いていることでファールシャッター471が閉位置の状態となっており、ファールユニット470から外部へ打ち出されることなくファール球として循環球経路ユニット500へ送られる。
そして、所定時間の経過後、又は、電源基板650の電源スイッチをOFFにすると、球抜処理が終了する。
このように、球抜処理により、封入されている遊技球Bを抜くことができる。なお、遊技球Bを入れる場合は、遊技盤5のアウト口1008から入れたり、本体枠4から遊技盤5を取外して上方へ開口しているアウト球受口500aやセーフ球受口500b、から入れたり(補充する)ことが可能である。
[8.遊技盤の全体構成]
パチンコ機1における遊技盤5の全体構成について、主に図50乃至図56を参照して詳細に説明する。図50は、透明なセンター役物等を不透明にして示す遊技盤の正面図である。図51は図50の遊技盤を右前から見た斜視図であり、図52は図50の遊技盤を左前から見た斜視図であり、図53は図50の遊技盤を後ろから見た斜視図である。図54は遊技盤を主な部材毎に分解して前から見た分解斜視図であり、図55は遊技盤を主な部材毎に分解して後ろから見た分解斜視図である。図56は、遊技パネルの面と平行に表ユニットを切断して遊技球が流通する遊技領域内を示す遊技盤の正面図である。
パチンコ機1の遊技盤5は、遊技者がハンドル160を操作することで遊技球Bが打込まれる遊技領域5aを有している。遊技領域5aには、遊技球Bの受入れ又は通過により遊技者に対して所定の特典(例えば、所定個数の持ち球数の加算)を付与する一般入賞口2001、普通入賞口2002、第一始動口2003、第二始動口2004、大入賞口2005、役物入賞口2006、第二V入賞口2008、が備えられている。この遊技盤5は、遊技球Bが、遊技領域5a内の一般入賞口2001、普通入賞口2002、第一始動口2003、第二始動口2004、大入賞口2005、及び役物入賞口2006等に、受入れられるように、ハンドル160の打込操作と遊技領域5a内での遊技球Bの流通とを楽しませる遊技を行うためのものである。
遊技盤5は、遊技領域5aの外周を区画し外形が正面視略四角形状とされた前構成部材1000と、前構成部材1000の後側に取付けられており遊技領域5aの後端を区画する板状の遊技パネル1100と、遊技領域5a内において不正に作用する磁気を検知する複数の磁気センサ1030(図65を参照)と、遊技盤5(パチンコ機1)に作用する振動を検知する振動センサ1040(図65等を参照)と、を備えている。遊技パネル1100の前面における遊技領域5a内となる部位には、遊技球Bと当接する複数の障害釘が所定のゲージ配列で植設されている。
また、遊技盤5は、遊技パネル1100の後側下部に取付けられている基板ホルダ1200と、基板ホルダ1200の後面に取付けられており遊技球Bを遊技領域5a内へ打込むことで行われる遊技内容を制御する主制御基板1310(図65等を参照)を有している主制御ユニット1300と、を備えている。
また、遊技盤5は、主制御基板1310からの制御信号に基づいて遊技状況を表示し前構成部材1000の左上隅に遊技者側へ視認可能に取付けられている機能表示ユニット1400と、遊技パネル1100の後側に配置されている周辺制御ユニット1500と、正面視において遊技領域5aの中央に配置されており所定の演出画像を表示可能な演出表示装置1600と、遊技パネル1100の後側に配置されており主制御基板1310と周辺制御基板1510との接続を中継しているパネル中継基板(図示は省略)と、遊技パネル1100の前面に取付けられる表ユニット2000と、遊技パネル1100の後面に取付けられる裏ユニット3000と、を更に備えている。
裏ユニット3000の後面に演出表示装置1600が設けられていると共に、演出表示装置1600の後面に周辺制御ユニット1500が設けられている。
表ユニット2000は、遊技領域5a内に打込まれた遊技球Bを受入可能としており常時開口している複数(ここでは三つ)の一般入賞口2001と、遊技領域5a内の所定位置に設けられており遊技球Bを受入可能に常時開口している普通入賞口2002と、センター役物2500の下方における左右方向の中央に設けられており遊技球Bを受入可能に常時開口している第一始動口2003と、遊技球Bが普通入賞口2002に受入れられることにより抽選される普通図柄の抽選結果に応じて遊技球Bの受入れが可能となる第二始動口2004と、第一始動口2003への遊技球Bの受入れにより抽選される第一特別図柄や第二始動口2004への遊技球Bの受入れにより抽選される第二特別図柄の抽選結果に応じて遊技球Bの受入が可能となる大入賞口2005又は役物入賞口2006と、役物入賞口2006に受入れられた遊技球Bが受入可能となる第一V入賞口2007及び第二V入賞口2008と、を備えている。また、遊技盤5は、遊技領域5a内において不正に作用する磁気を検知する複数の磁気センサ1030(図65を参照)を、備えている。
また、表ユニット2000は、遊技領域5a内における最も下流に設けられており、遊技球Bを受入可能に常時開口していると共に、受入れた遊技球Bを戻すことなく遊技領域5a外に排出するアウト口2020と、遊技領域5a内におけるアウト口2020よりも上流に設けられており、遊技球Bを受入可能に常時開口していると共に、受入れた遊技球Bを戻すことなく遊技領域5a外に排出する二つのサブアウト口2021と、を備えている。アウト口2020は、第一始動口2003を間にして左右に二つ設けられている。また、二つのサブアウト口2021は、遊技領域5aの左右方向中央よりも左方の部位と、遊技領域5aの左右方向中央よりも右方の部位と、に夫々設けられている。
更に、表ユニット2000は、遊技領域5a内の左右方向中央で遊技領域5aの下端の直上に取付けられており第一始動口2003及びアウト口2020を有している始動口ユニット2100と、始動口ユニット2100の正面視左方で内レール1002に沿うように設けられており三つの一般入賞口2001と一つのサブアウト口2021とを有しているサイドユニット2200と、サイドユニット2200の正面視左方のやや上側に設けられているサイド左上ユニット2300と、始動口ユニット2100の右方に設けられており第二始動口2004と大入賞口2005と一つのサブアウト口2021とを有しているアタッカユニット2400と、遊技領域5a内の正面視略中央やや上寄りに設けられており役物入賞口2006、第一V入賞口2007及び第二V入賞口2008を有している枠状のセンター役物2500と、アタッカユニット2400の右端上方に設けられており普通入賞口2002を有している普通入賞口ユニット2600と、を備えている。
センター役物2500は、役物入賞口2006及び第一V入賞口2007を有している枠状の本体ユニット2510と、本体ユニット2510の枠内の下部に設けられており第二V入賞口2008を有している抽選役物2550と、を備えている。
裏ユニット3000は、遊技領域5a内において不正に作用する磁気を検知する複数の磁気センサ1030と、遊技盤5(パチンコ機1)に作用する振動を検知する振動センサ1040と、遊技パネル1100におけるパネルホルダ1120の後面に取付けられ前方が開放されている箱状で後壁に四角い開口部3010aを有している裏箱3010と、裏箱3010の後壁に演出表示装置1600を着脱可能に取付けているロックスライダ3020と、演出表示装置1600の後方に配置されており裏箱3010の後壁に取付けられている裏基板ユニット3040と、を備えている。
また、裏ユニット3000は、裏箱3010内の前端付近の下部に設けられており遊技パネル1100の後方へ誘導された遊技球Bが流通する裏球誘導ユニット3100と、裏箱3010内における裏球誘導ユニット3100の後に設けられている裏装飾ユニット3200と、裏箱3010内に前端付近における裏球誘導ユニット3100の左方及び上方に設けられている裏前演出ユニット3300と、裏箱3010内における裏前演出ユニット3300の後ろに設けられている裏後演出ユニット3400と、を備えている。
[8-1.前構成部材]
遊技盤5における前構成部材1000について、主に図54及び図55等を参照して詳細に説明する。前構成部材1000は、全体が透明に形成されている。前構成部材1000は、正面視の外形が略正方形とされ、内形が略円形状に前後方向へ貫通しており、内形の内周によって遊技領域5aの外周を区画している。この前構成部材1000は、正面視で左右方向中央から左寄りの下端から時計回りの周方向へ沿って円弧状に延び正面視左右方向中央上端を通り過ぎて右斜め上部まで延びた外レール1001と、外レール1001に略沿って前構成部材1000の内側に配置され正面視左右方向中央下部から正面視左斜め上部まで円弧状に延びた内レール1002と、内レール1002の下端の正面視右側で遊技領域5aの最も低くなった位置に形成されており後方へ向かって低くなるように傾斜しているアウト誘導部1003と、を備えている。
また、前構成部材1000は、アウト誘導部1003の正面視右端から前構成部材1000の右辺付近まで右端側が僅かに高くなるように直線状に傾斜している右下レール1004と、右下レール1004の右端から前構成部材1000の右辺に沿って外レール1001の上端の下側まで延びており上部が前構成部材1000の内側へ湾曲している右レール1005と、右レール1005の上端と外レール1001の上端とを繋いでおり外レール1001に沿って転動して来た遊技球Bが当接する衝止部1006と、を備えている。
また、前構成部材1000は、内レール1002の上端に回動可能に軸支され、外レール1001との間を閉鎖するように内レール1002の上端から上方へ延出した閉鎖位置と正面視時計回りの方向へ回動して外レール1001との間を開放した開放位置との間でのみ回動可能とされると共に閉鎖位置側へ復帰するように図示しないバネによって付勢された逆流防止部材1007を、備えている。
更に、前構成部材1000は、枠内における正面視左右方向中央下部で、アウト誘導部1003の後端において前後に貫通しているアウト口1008を備えている。このアウト口1008は、始動口ユニット2100によって前方から閉鎖されている。
また、前構成部材1000は、外レール1001及び内レール1002における下端から略垂直に延びた付近の部位の外側、アウト誘導部1003及び右下レール1004の下側、及び右レール1005の外側、の夫々の部位において、前端から後方へ窪んだ防犯凹部1009を備えている。この防犯凹部1009は、遊技盤5を本体枠4に取付けて、本体枠4に対して扉枠3を閉じた状態とすると、扉枠3における防犯カバー(図示は省略)の後方へ突出した後方突片(図示は省略)が挿入された状態となる。これにより、防犯カバーと遊技盤5(前構成部材1000)との間が、防犯カバーの後方突片と前構成部材1000の防犯凹部1009とによって複雑に屈曲した状態となるため、遊技盤5の前面下方より防犯カバーと前構成部材1000との間を通してピアノ線等の不正な工具を遊技領域5a内に侵入させようとしても、後方突片や防犯凹部1009に阻まれることとなり、遊技領域5a内への不正な工具の侵入を阻止することができる。
また、前構成部材1000は、正面視左下隅において下端から上方へ切欠かれている切欠部1010を備えている。この切欠部1010は、遊技パネル1100の切欠部1122と一致している。この切欠部1010は、遊技球を遊技者に払出すタイプのパチンコ機の本体枠に取付けた時に、切欠部1010及び切欠部1122を貫通して下部満タン球経路ユニットの下部通常払出通路及び下部満タン払出通路の前端開口が前方へ臨ませて扉枠の上皿や下皿へ遊技球を供給するためのものである。
更に、前構成部材1000は、正面視において左上隅に形成されており、機能表示ユニット1400が取付けられる機能表示ユニット取付部1011と、右下隅に形成されている証紙貼付部1012と、を備えている。
また、前構成部材1000は、略全体が透明に形成されており、後側に配置されている遊技パネル1100や裏ユニット3000等を前方から視認することができる。
[8-2.遊技パネル]
遊技盤5における遊技パネル1100について、主に図54及び図55等を参照して詳細に説明する。遊技パネル1100は、前構成部材1000の後面に取付けられており、表ユニット2000及び裏ユニット3000が取付けられるものである。遊技パネル1100は、外周が枠状の前構成部材1000の内周よりもやや大きく形成されていると共に透明な合成樹脂で形成されている平板状のパネル板1110と、パネル板1110の外周を保持しており前構成部材1000の後側に取付けられると共に後面に裏ユニット3000が取付けられる枠状のパネルホルダ1120と、を備えている。遊技パネル1100の前面には、所定のゲージ配列で複数の障害釘が植設されている。
遊技パネル1100のパネル板1110は、アクリル樹脂、ポリカーボネイト樹脂、ポリアリレート樹脂、メタクリル樹脂等の合成樹脂板や、ガラスや金属等の無機質板により形成されている。このパネル板1110の板厚は、木製の遊技パネルの板厚が約20mmであるのに対しこれよりも薄く、障害釘を前面に植設したり表ユニット2000を取付けたりしても十分に保持可能な必要最低限の厚さが約10mmとされている。なお、本実施形態では、透明な合成樹脂板によってパネル板1110が形成されている。
パネル板1110は、遊技領域5a内において最も低い位置となり前構成部材1000のアウト口1008と対応した位置が、下端から上方へ窪んでいる。つまり、本実施形態では、パネル板1110のアウト口1008は、孔状ではなく、パネル板1110の下方へ開放されている切欠状に形成されている。なお、アウト口1008を孔状に形成するようにしても良い。また、パネル板1110には、前後に貫通しており表ユニット2000を取付けるための開口部1112が複数形成されている。本実施形態では、開口部1112を孔状に形成しているが、パネル板1110の外周面から外方へ開放されている切欠状に形成しても良い。
また、パネル板1110は、図示は省略するが、前後に貫通した丸孔及び短い長孔に形成されている複数の位置決孔と、上縁と下縁とにおいて夫々左右方向へ離隔しており板厚が薄く形成されている複数の係合段部と、を備えている。位置決孔は、パネルホルダ1120の突出ピン(図示は省略)が挿入されることで、パネルホルダ1120との位置決めをするためのものである。係合段部は、パネルホルダ1120の係合爪(図示は省略)や係合片(図示は省略)に係合されることで、パネルホルダ1120に対して着脱可能に取付けられるためのものである。
パネル板1110は、センター役物2500を取付けるための大きな開口部1112が、正面視において中央よりも上側にオフセットしている。これにより、パネル板1110が枠状となっており、正面視において、遊技球Bの流通方向(枠状の周方向)に対して直交している幅が、中央より上側を除いた、左側及び右側と下側が複数の遊技球Bが並ぶことが可能な広い幅となっており、上側が複数の遊技球Bが並ぶことが不能な狭い幅となっている。
遊技パネル1100のパネルホルダ1120は、パネル板1110を包含する大きさで外形が略四角形状とされ、パネル板1110よりも厚く(本実施形態では、約38mmと木製の遊技パネルと同じ厚みに)形成されている。このことは、木製の遊技パネルや透明な合成樹脂製の遊技パネル1100に問わず、同じパチンコ機1(遊技機)の本体枠4に装着して遊技ができるようにするためである。
このパネルホルダ1120は、透明な合成樹脂(例えば、熱可塑性合成樹脂)により形成されている。このパネルホルダ1120は、パネル板1110と略同じ大きさで前面側から後方側に向かって凹んでいる保持段部(図示は省略)と、保持段部を略遊技領域5aと同等の大きさで前後方向に貫通している貫通口1121を備えている。
また、パネルホルダ1120は、正面視左下隅において下端から上方へ切欠かれている切欠部1122を備えている。この切欠部1122は、前構成部材1000の切欠部1010と一致するように形成されている。この切欠部1122は、遊技球を遊技者に払出すタイプのパチンコ機の本体枠に取付けた時に、切欠部1010及び切欠部1122を貫通して下部満タン球経路ユニットの下部通常払出通路及び下部満タン払出通路の前端開口が前方へ臨ませて扉枠の上皿や下皿へ遊技球を供給するためのものである。
更に、パネルホルダ1120には、下端からアウト口1008に対応した位置まで上方へ延びており、後面から前方へ向かって窪んでいるアウト凹部1123が形成されている。アウト凹部1123は、上部がアウト口1008と連通している。
また、パネルホルダ1120は、図示は省略するが、保持段部から前方へ突出しておりパネル板1110の複数の位置決孔に夫々が挿入される複数の突出ピンと、保持段部よりも外側に配置されておりパネル板1110の上側と左下の傾斜している部位の係合段部に対して弾性係合する三つの係合爪と、保持段部の下外側から上方へ突出しておりパネル板1110の下辺の二つの係合段部と夫々係合する一対の係合片と、を備えている。パネルホルダ1120は、前方斜め上からパネル板1110の下辺の係合段部を、係合片に係合させた上で、パネル板1110の上部を後方へ移動させて、上側と左下の傾斜している部位の係合段部を係合爪に弾性係合させることで、パネル板1110を保持段部に収容した状態で着脱可能に取付けることができる。この際に、パネル板1110の位置決孔に、パネルホルダ1120の突出ピンが挿入され、パネル板1110がパネルホルダ1120に対して所定の位置に位置決めされる。
この遊技パネル1100は、前側に取付けられる前構成部材1000と共に透明に形成されているため、遊技盤5に組立てた時に、遊技領域5aの境界が明瞭に見えることを低減させることができ、遊技者に対して開放感を与えることができると共に、実際の遊技領域5aの大きさが変わらないものの、遊技者に対して遊技領域5aを大きく(広く)見せることができる。
また、遊技パネル1100を、前構成部材1000と共に透明としているため、演出表示装置1600、表ユニット2000や裏ユニット3000、等からの光を、前方(遊技者側)へ反射させたり屈折させたりすることで発光しているように見せることができ、遊技盤5の全体の装飾性をより高めることができる。
[8-3.基板ホルダ]
遊技盤5における基板ホルダ1200について、主に図54及び図55等を参照して詳細に説明する。基板ホルダ1200は、上方及び前方が開放された横長の箱状に形成されており、底面が左右方向中央へ向かって低くなるように傾斜している。基板ホルダ1200は、底面における左右方向中央において、前端から後方へ向かって切欠かれている排出部1201を有している。この基板ホルダ1200は、遊技盤5に組立てた状態で、遊技パネル1100の後側に取付けられている裏ユニット3000の下部を下側及び後側から覆っていると共に、後面に主制御ユニット1300の主制御基板ボックス1320が取付けられている。
基板ホルダ1200は、パチンコ機1に組立てた状態で、排出部1201が、本体枠4の循環球経路ユニット500におけるアウト球受口500a及びセーフ球受口500bの直上に位置している。これにより、アウト口2020やサブアウト口2021を通って遊技パネル1100の後側へ排出された遊技球Bは、循環球経路ユニット500におけるアウト球受口500aへ排出され、アウト球受口500aに受けられることでアウト球通路501を流通してアウト球センサ505により一つずつ検知(カウント)される。一方、一般入賞口2001、普通入賞口2002、第一始動口2003、第二始動口2004、大入賞口2005、役物入賞口2006のような入賞口に受入れられて表ユニット2000及び裏ユニット3000から下方へ排出された遊技球Bは、循環球経路ユニット500におけるセーフ球受口500bへ排出され、セーフ球受口500bに受けられることでセーフ球通路502を流通してセーフ球センサ506により一つずつ検知(カウント)される。
[8-4.主制御基板ユニット]
遊技盤5における主制御ユニット1300について、主に図53乃至図55等を参照して説明する。主制御ユニット1300は、基板ホルダ1200の後面に着脱可能に取付けられている。主制御ユニット1300は、遊技内容及び遊技者への特典の付与等を制御する主制御基板1310(図65を参照)と、主制御基板1310を収容しており基板ホルダ1200に取付けられる主制御基板ボックス1320と、を備えている。
主制御基板ボックス1320は、基板ホルダ1200に取付けられると共に後面に主制御基板1310が取付けられる基板ベース1330と、主制御基板1310を後方から覆うように基板ベース1330に取付けられている基板カバー1340と、から構成されている。基板ベース1330と基板カバー1340とは、透明なポリカーボネイトにより形成されている。基板ベース1330と基板カバー1340とにより形成される内部空間には、主制御基板1310が収容されている。基板ベース1330と基板カバー1340が透明なポリカーボネイトにより形成されていることによって、主制御基板1310の表面側や裏面側の状態(不正な改変が行われているか否か、又は不正ICが実装されているか否か)を、主制御基板ボックス1320の外側から確認することができるようになっている。
また、主制御基板ボックス1320は、基板ベース1330と基板カバー1340とに夫々対応するように複数の封印機構1350を備えており、一つの封印機構1350を用いて主制御基板ボックス1320を閉じると、次に、主制御基板ボックス1320を開けるためにはその封印機構1350を破壊する必要があり、主制御基板ボックス1320の開閉の痕跡を残すことができる。従って、開閉の痕跡を見ることで、主制御基板ボックス1320の不正な開閉を発見することができ、主制御基板1310への不正行為に対する抑止力が高められている。
主制御ユニット1300の主制御基板1310は、インターフェース基板660、アウト球センサ505、周辺制御基板1510、等と接続されている。また、主制御基板1310は、機能表示ユニット1400、一般入賞口センサ3001、普通入賞口センサ3002、第一始動口センサ2101、第二始動口センサ2401、大入賞口センサ2402、役物入賞口センサ2501、第一V入賞口センサ2502、第二V入賞口センサ2503、ハズレ口センサ2504、始動口ソレノイド2412、アタッカソレノイド2414、役物入賞口ソレノイド2516、第一振分ソレノイド2534、第二振分ソレノイド2544、抽選ループソレノイド2558、打撃片駆動モータ2561、樋揺動駆動モータ2564、揺動片ソレノイド2565、磁気センサ1030、振動センサ1040、等と接続されている。
また、主制御基板1310には、四つの7セグメントLEDからなるベースモニタを有している(図示は省略)。ベースモニタは、透明な基板カバー1340を通して後方から視認することができる。このベースモニタは、球発射ユニット450により発射された遊技球Bのうち、遊技領域5a内に打込まれた後に遊技盤5から下方へ排出されて、本体枠4の循環球経路ユニット500に設けられているアウト球センサ505により検知されることでカウントされた遊技球Bの球数を表示するものである。本実施形態のベースモニタは、100発発射してアウト球センサ505によりカウントされた球数(遊技ホール側へ戻ってきた球数)を百分率にして表示している。
[8-5.機能表示ユニット]
遊技盤5における機能表示ユニット1400について、主に図50等を参照して詳細に説明する。機能表示ユニット1400は、遊技領域5aの外側で前構成部材1000の左上隅に取付けられている。機能表示ユニット1400は、パチンコ機1に組立てた状態で、扉枠3の遊技窓101を通して前方(遊技者側)から視認することができる。この機能表示ユニット1400は、主制御基板1310からの制御信号に基づき複数のLEDを用いて、遊技状態(遊技状況)や、普通図柄の抽選結果や特別図柄の抽選結果等を表示するものである。
機能表示ユニット1400は、詳細な図示は省略するが、遊技状態を表示する三つのLEDからなる状態表示器と、普通入賞口2002への遊技球Bの受入れにより抽選される普通図柄の抽選結果を表示する二つのLEDからなる普通図柄表示器と、普通入賞口2002への遊技球Bの受入れに係る保留数を表示する二つのLEDからなる普通保留表示器と、を備えている。
また、機能表示ユニット1400は、第一始動口2003への遊技球Bの受入れにより抽選された第一特別図柄の抽選結果を表示する八つのLEDからなる第一特別図柄表示器と、第一始動口2003への遊技球Bの受入れに係る保留数を表示する二つのLEDからなる第一特別保留数表示器と、第二始動口2004への遊技球Bの受入れにより抽選された第二特別図柄の抽選結果を表示する八つのLEDからなる第二特別図柄表示器と、第二始動口2004への遊技球Bの受入れに係る保留数を表示する二つのLEDからなる第二特別保留数表示器と、を備えている。
更に、機能表示ユニット1400は、第一特別図柄の抽選結果又は第二特別図柄の抽選結果が「当り」等の時に、大入賞口2005の開閉パターンの繰返し回数(ラウンド数)を表示する五つのLEDからなるラウンド表示器、を備えている。
この機能表示ユニット1400では、備えられているLEDを、適宜、点灯、消灯、及び、点滅、等させることにより、保留数や図柄等を表示することができる。
[8-6.周辺制御ユニット]
遊技盤5における周辺制御ユニット1500について、主に図53等を参照して説明する。周辺制御ユニット1500は、裏ユニット3000の裏箱3010の後側に設けられている演出表示装置1600の後方に設けられている。詳述すると、周辺制御ユニット1500は、裏箱3010の後面に演出表示装置1600を取付けている液晶スペーサ1610の後面に取付けられている。周辺制御ユニット1500は、主制御基板1310からの制御信号に基づいて遊技者に提示する演出を制御する周辺制御基板1510(図65を参照)と、周辺制御基板1510を収容している周辺制御基板ボックス1520と、を備えている。周辺制御基板1510は、発光演出、サウンド演出、及び可動演出、等を制御するための周辺制御部1511と、演出画像を制御するための演出表示制御部1512と、を備えている。
周辺制御ユニット1500の周辺制御基板1510は、主制御基板1310、演出操作ユニット250、扉枠3側の各種装飾基板、演出表示装置1600、等と接続されている(図65を参照)。周辺制御ユニット1500は、詳細は後述するが、演出表示装置1600の後側に取付けられている。
[8-7.演出表示装置]
遊技盤5における演出表示装置1600について、主に図54及び図55等を参照して説明する。演出表示装置1600は、正面視において遊技領域5aの中央に配置されており、遊技パネル1100の後側に、裏ユニット3000の裏箱3010を介して取付けられている。演出表示装置1600は、裏箱3010の後壁に取付けられる液晶スペーサ1610の前面に取付けられている。液晶スペーサ1610は、裏箱3010に対して着脱可能としていることから、演出表示装置1600が液晶スペーサ1610を介して裏箱3010から着脱させることができる。演出表示装置1600は、遊技盤5を組立てた状態で、透明な遊技パネル1100や枠状のセンター役物2500の枠内を通して、前側(遊技者側)から視認することができる。
演出表示装置1600は、白色LEDをバックライトとした15inchのフルカラーの液晶表示装置であり、横長の状態で液晶スペーサ1610の前面に取付けられている。演出表示装置1600は、周辺制御基板1510に接続されており、所定の静止画像や動画を表示することができる。
演出表示装置1600は、液晶スペーサ1610に対して、上方及び左方にスペースが形成されるように、その中心が液晶スペーサ1610の中心よりも右下に位置するようにオフセット(偏芯)して取付けられている。
液晶スペーサ1610は、19inchの液晶表示装置と同じ大きさで透明平板状に形成されている。液晶スペーサ1610は、上端面から上方へ突出している二つの上固定片1611と、下端面から下方へ突出している一つの下固定片1612と、を備えている。この液晶スペーサ1610は、演出表示装置1600の液晶画面を前方へ向けた状態で、後述する裏箱3010の開口部3010aの上内周面に開口している二つの固定溝3010cに、裏箱3010の斜め後方から二つの上固定片1611を挿入した上で、下固定片1612側を前方へ移動させて、下固定片1612をロックスライダ3020の開口部内に挿入し、ロックスライダ3020を背面視において左方へスライドさせることにより、裏箱3010に取付けられる。
[8-8.表ユニットの全体構成]
遊技盤5における表ユニット2000について、主に図54及び図55等を参照して詳細に説明する。表ユニット2000は、遊技パネル1100に、前方から取付けられており、前端が遊技パネル1100の前面よりも前方へ突出していると共に、後端の一部が遊技パネル1100の開口部1112内に突出している。
表ユニット2000は、遊技領域5a内に打込まれた遊技球Bを受入可能に常時開口している複数(ここでは三つ)の一般入賞口2001と、遊技領域5a内の所定位置に設けられており遊技球Bを受入可能に常時開口している普通入賞口2002と、遊技領域5a内の所定位置に設けられており遊技球Bを受入可能に常時開口している第一始動口2003と、遊技球Bが普通入賞口2002に受入れられることにより抽選される普通図柄の抽選結果に応じて遊技球Bの受入れが可能となる第二始動口2004と、第一始動口2003への遊技球Bの受入れにより抽選される第一特別図柄又は第二始動口2004への遊技球Bの受入れにより抽選される第二特別図柄に応じて遊技球Bの受入れが可能となる大入賞口2005や役物入賞口2006と、役物入賞口2006に受入れられた遊技球Bが受入可能となる第一V入賞口2007や第二V入賞口2008と、を備えている。
また、表ユニット2000は、遊技領域5a内に打込まれた遊技球Bを遊技領域5a外へ排出するアウト口2020及びサブアウト口2021を、更に備えている。アウト口2020及びサブアウト口2021は、遊技球Bを受入可能に常時開口している。また、アウト口2020は、遊技領域5aの下流端に設けられている。
また、表ユニット2000は、第一始動口2003に受入れられた遊技球Bを検知する第一始動口センサ2101と、第二始動口2004に受入れられた遊技球Bを検知する第二始動口センサ2401と、大入賞口2005に受入れられた遊技球Bを検知する大入賞口センサ2402と、第一V入賞口2007に受入れられた遊技球Bを検知する第一V入賞口センサ2502と、第二V入賞口2008に受入れられた遊技球Bを検知する第二V入賞口センサ2503と、ハズレ口2009に受入れられた遊技球Bを検知するハズレ口センサ2504と、遊技領域5a内に作用する不正な磁気を検知する磁気センサ1030と、を備えている。
複数(ここでは三つ)の一般入賞口2001は、遊技領域5a内の下部における左右方向中央に対して左側に配置されている。普通入賞口2002は、遊技領域5a内における正面視右端付近で上下方向中央よりも下方に配置されている。第一始動口2003は、遊技領域5a内の左右方向中央で二つのアウト口2020の間に配置されている。第二始動口2004は、遊技領域5a内における右端付近で普通入賞口2002よりも下方に配置されている。大入賞口2005は、遊技領域5a内における第一始動口2003の右方に配置されている。役物入賞口2006は、遊技領域5a内における右端付近で普通入賞口2002よりも上方に配置されている。
アウト口2020は、遊技領域5aの下流端で第一始動口2003の左右両側の下方に配置されている。サブアウト口2021は、一つが三つの一般入賞口2001よりも左方に配置されていると共に、残りの一つが第二始動口2004の下方に配置されている。
表ユニット2000は、遊技領域5a内の左右方向中央で遊技領域5aの下端の直上に取付けられており第一始動口2003及びアウト口2020を有している始動口ユニット2100と、始動口ユニット2100の正面視左方で内レール1002に沿うように設けられており三つの一般入賞口2001及び一つのサブアウト口2021を有しているサイドユニット2200と、サイドユニット2200の正面視左方のやや上側に設けられているサイド左上ユニット2300と、を備えている。
また、表ユニット2000は、始動口ユニット2100の右方に設けられており第二始動口2004、大入賞口2005、及び一つのサブアウト口2021を有しているアタッカユニット2400と、遊技領域5a内の正面視略中央やや上寄りに設けられており、役物入賞口2006、第一V入賞口2007、第二V入賞口2008、及びハズレ口2009を有している枠状のセンター役物2500と、アタッカユニット2400の上方に設けられており普通入賞口2002を有している普通入賞口ユニット2600と、を更に備えている。
[8-8a.始動口ユニット]
次に、表ユニット2000の始動口ユニット2100について、主に図50乃至図52、及び図56等を参照して説明する。表ユニット2000の始動口ユニット2100は、遊技領域5a内において、左右方向中央の下端部付近でアウト口1008の直上に配置されており、遊技パネル1100に前方から取付けられている。始動口ユニット2100は、遊技球Bが一つのみ受入可能な幅で上方へ向かって常時開口している第一始動口2003と、遊技球Bを受入可能に常時開口しており受入れた遊技球Bを戻すことなく遊技領域5a外に排出する二つのアウト口2020と、を有している。また、始動口ユニット2100は、第一始動口2003に受入れられた遊技球Bを検知する第一始動口センサ2101を、有している(図65を参照)。
アウト口2020は、第一始動口2003よりも低い位置に設けられている。始動口ユニット2100の二つのアウト口2020は、第一始動口2003を間にして左右対称の位置に設けられている。第一始動口2003は、遊技球Bが一つ通過可能な幅で上方へ向かって開口している。アウト口2020は、遊技球B二つ分の幅で上方へ向かって開口しており、遊技領域5a内の最も低い位置に設けられている。
始動口ユニット2100は、第一始動口2003とアウト口2020との高低差が、従来のパチンコ機における第一始動口とアウト口(アウト口1008)との高低差よりも小さく(低く)設けられている。これにより、遊技者に対して第一始動口2003が、従来の第一始動口よりも下方に設けられているように錯覚させることができ、相対的に遊技領域5a内を広く見せることができる。
始動口ユニット2100は、第一始動口2003の下方に設けられており所定の絵柄を表示可能な始動口表示部2110を有している。始動口表示部2110は、一つの7セグメントLEDにより構成されている。この始動口表示部2110は、遊技の進行に応じて所定の絵柄(数字を含む)を表示することができる。始動口ユニット2100は、遊技盤5に組立てた状態で、始動口表示部2110によりアウト口1008を前方から閉鎖しており、遊技者側からアウト口1008を視認不能にしている。これにより、アウト口2020が遊技領域5aの最も下端であることを遊技者に認識させることができる。
始動口ユニット2100は、遊技盤5に組立てた状態で、第一始動口2003がセンター役物2500のステージ2513における中央放出部2513aの直下に位置しており、中央放出部2513aから放出された遊技球Bを高い確率で受入れることができる。この第一始動口2003に受入れられた遊技球Bは、第一始動口センサ2101に検知された上で、遊技パネル1100の後方へ誘導されて、裏ユニット3000の裏球誘導ユニット3100に受け渡されて下方の循環球経路ユニット500のセーフ球受口500bへ排出される。
アウト口2020に受入れられた遊技球Bは、遊技パネル1100の後方へ誘導されて、裏ユニット3000の裏球誘導ユニット3100に受け渡された後に、裏球誘導ユニット3100から下方の循環球経路ユニット500のアウト球受口500aへ排出される。
[8-8b.サイドユニット]
次に、表ユニット2000のサイドユニット2200について、主に図50乃至図52、及び図56等を参照して説明する。表ユニット2000のサイドユニット2200は、遊技領域5a内において、始動口ユニット2100の左方で内レール1002に沿うように延出しており、遊技パネル1100に前方から取付けられている。サイドユニット2200は、遊技球Bを常時受入可能に開口している三つの一般入賞口2001と、遊技球Bを常時受入可能に開口している一つのサブアウト口2021と、を備えている。
サイドユニット2200の三つの一般入賞口2001は、内レール1002に沿うように円弧状に列設されており、左方へ向かうほど高い位置に設けられている。各一般入賞口2001は、遊技球B一つ分の大きさ(幅)で開口している。最も左方の一般入賞口2001の左方に、一つのサブアウト口2021が設けられている。サブアウト口2021は、遊技球B一つ分の大きさ(幅)で開口している。
また、サイドユニット2200は、最も右方の一般入賞口2001よりも右側に、右方へ向かうに従って低くなるように傾斜している棚部2201を有している。棚部2201は、始動口ユニット2100における左側のアウト口2020の右端付近まで、右方へ延出している。つまり、遊技球Bが棚部2201を転動すると、左側のアウト口2020に受入れられる。
サイドユニット2200は、遊技盤5に組立てた状態で、三つの一般入賞口2001と一つのサブアウト口2021とが、遊技パネル1100の前面よりも前方に突出している。このサイドユニット2200は、一般入賞口2001に受入れられた遊技球Bを、遊技パネル1100の後方に誘導し、裏ユニット3000の裏球誘導ユニット3100に受け渡すことができる。裏ユニット3000の裏球誘導ユニット3100に受渡された遊技球Bは、一般入賞口センサ3001に検知された上で下方へ排出される。
また、サイドユニット2200は、サブアウト口2021に受入れられた遊技球Bを、遊技パネル1100の後方に誘導して、裏ユニット3000の裏球誘導ユニット3100に受け渡すことができる。裏ユニット3000の裏球誘導ユニット3100に受渡された遊技球Bは、下方の循環球経路ユニット500のセーフ球受口500bへ排出される。
[8-8c.サイド左上ユニット]
次に、表ユニット2000のサイド左上ユニット2300について、主に図50乃至図52、及び図56等を参照して説明する。表ユニット2000のサイド左上ユニット2300は、遊技領域5a内において、サイドユニット2200の左方で内レール1002に接するように、遊技パネル1100に前方から取付けられている。サイド左上ユニット2300は、右方へ低くなるように傾斜した棚部2301を有している。
サイド左上ユニット2300は、遊技盤5に組立てた状態で、棚部2301が遊技パネル1100の前面よりも前方へ突出している。サイド左上ユニット2300は、センター役物2500の左側を流下してきた遊技球Bを、棚部2301により、センター役物2500の下方となる右方側へ誘導することができる。
[8-8d.アタッカユニット]
次に、表ユニット2000のアタッカユニット2400について、主に図50乃至図52、及び図56等を参照して説明する。表ユニット2000のアタッカユニット2400は、遊技領域5a内において、正面視右下隅となる始動口ユニット2100の正面視右方に配置されており、遊技パネル1100の前面に前方から取付けられている。このアタッカユニット2400は、第二始動口2004、大入賞口2005、及び一つのサブアウト口2021を備えている(図56等を参照)。
アタッカユニット2400は、正面視において、第二始動口2004が左右方向中央から右寄りの上部に設けられており、大入賞口2005が左右方向中央より左側で第二始動口2004よりも低い位置に設けられており、一つのサブアウト口2021が第二始動口2004の下方で大入賞口2005よりも低い位置に設けられている。
また、アタッカユニット2400は、第二始動口2004に受入れられた遊技球Bを検知する第二始動口センサ2401と、大入賞口2005に受入れられた遊技球Bを検知する大入賞口センサ2402と、不正な磁気を検知する磁気センサ1030と、を備えている(図65を参照)。大入賞口センサ2402は、左右に並んで二つ設けられている。
また、アタッカユニット2400は、サブアウト口2021の後方で前方から視認可能な位置にダミーセンサ2403を有している。このダミーセンサ2403は、遊技球Bを検知することはできないが、大入賞口センサ2402のように遊技球Bの通過を検知するスルーセンサと同じ態様に形成されている。この構成によれば、ダミーセンサ2403を、実際に遊技球Bを検知可能なセンサと交換することができるため、本体枠4においてアウト球をカウントする場合と、カウントしない場合の何れにも変更可能である。なお、ダミーセンサ2403を、スルーセンサと同じ態様のものとしたが、当該部位において球詰りが発生するような段差をなくすスペーサとしても良い。
アタッカユニット2400は、第二始動口2004を開閉可能な第二始動口扉2411と、第二始動口扉2411を普通入賞口2002における遊技球Bの受入れにより抽選された普通抽選結果に応じて開閉させる始動口ソレノイド2412と、大入賞口2005を開閉可能な大入賞口扉2413と、大入賞口扉2413を第一始動口2003又は第二始動口2004への遊技球Bの受入れにより抽選される第一特別抽選結果又は第二特別抽選結果に応じて開閉させるアタッカソレノイド2414と、を備えている。
アタッカユニット2400の第二始動口2004は、左右方向の幅が遊技球Bの直径よりも若干大きい幅で上方へ向かって開口している。大入賞口2005は、左右方向の幅が、遊技球Bの直径に対して4~6倍の幅で上方へ向かって開口している。第二始動口2004を開閉可能としている第二始動口扉2411は、前後方向へ進退可能に設けられており、左端側が低くなるように傾斜している。大入賞口2005を開閉可能としている大入賞口扉2413は、左右方向に延びている軸芯周りに回動することで、前後方向へ進退可能に設けられており、左端側が低くなるように傾斜している。
この第二始動口扉2411は、前後方向へ移動するように設けられている。第二始動口扉2411は、始動口ソレノイド2412が通電されていない状態では、始動口ソレノイド2412のプランジャがバネの付勢力により突出することにより前方へ移動し、第二始動口2004を閉鎖している。また、第二始動口扉2411は、始動口ソレノイド2412が通電されている状態では、始動口ソレノイド2412のプランジャがバネの付勢力に抗して後退することにより、後方へ移動し、第二始動口2004を開放する。
大入賞口扉2413は、左右に長い平板状で、大入賞口センサ2402よりも下方に設けられている左右方向に延びた軸芯周りに回動することにより、前後に移動するように設けられている。大入賞口扉2413は、アタッカソレノイド2414のプランジャの前後方向への進退により、大入賞口2005を開閉することができる。大入賞口扉2413は、アタッカソレノイド2414が通電されていない状態では、アタッカソレノイド2414のプランジャがバネの付勢力により突出することにより前方へ移動し、大入賞口2005を閉鎖している。また、大入賞口扉2413は、アタッカソレノイド2414が通電されている状態では、アタッカソレノイド2414のプランジャがバネの付勢力に抗して後退することにより、後方へ移動し、大入賞口2005を開放する。
アタッカユニット2400は、その上端に、第二始動口2004及び大入賞口2005との間に遊技球Bが流通可能な空間を形成していると共に、左方へ向かって低くなるように傾斜しており、それらの上方を覆うように設けられている上棚部2421を有している。上棚部2421は、第二始動口2004の右端上方から大入賞口2005の左端上方の部位まで、左右方向へ延出している。
アタッカユニット2400は、第二始動口2004よりも上方でアタッカユニット2400の右端(右レール1005)から左方へ遊技球Bが一つ通過可能な間隔をあけた部位から左方の第二始動口2004へ向かって低くなるように傾斜している第一棚部2422と、第二始動口2004の左端から左方へ低くなるように傾斜している第二棚部2423と、第二棚部2423の左方且つ下方で第二棚部2423との間に遊技球Bが通過可能な隙間をあけた部位から左方の大入賞口2005へ向かって低くなるように傾斜している第三棚部2424と、大入賞口2005の左端から左方へ向かって低くなるように傾斜している第四棚部2425と、を備えている。
このアタッカユニット2400は、第一棚部2422よりも右方の隙間、第二棚部2423と第三棚部2424との間の隙間、に遊技球Bが進入すると、サブアウト口2021に受入れられて、遊技領域5a外へ遊技球Bを排出する。
アタッカユニット2400は、詳細な図示は省略するが、上棚部2421と大入賞口2005との間の遊技球Bが左方へ流通可能な空間内において、当該空間を形成している前壁と後壁とから左右方向へ互い違いとなるように、平面視三角形状の複数の当接部が当該空間内に突出している。これら複数の当接部は、大入賞口2005が閉状態の時に、大入賞口扉2413上を転動している遊技球Bを、前後方向へ大きくジグザグ状に流通させることができ、大入賞口扉2413上を流通する遊技球Bの流通時間を長くしている。
アタッカユニット2400は、通常の状態では、始動口ソレノイド2412及びアタッカソレノイド2414が、夫々非通電(OFF)の状態となっている。この通常の状態では、始動口ソレノイド2412のプランジャが、図示しないバネの付勢力により前方へ突出していると共に、第二始動口扉2411が前方へ突出している。この状態では、第二始動口扉2411が、第二始動口2004の上方に位置しており、第二始動口扉2411により第二始動口2004への遊技球Bの受入れが不能な状態となっている。つまり、第二始動口2004が第二始動口扉2411により閉鎖されている。
また、通常の状態では、アタッカソレノイド2414のプランジャが、図示しないバネの付勢力により前方へ突出していると共に、大入賞口扉2413が前方へ突出している。この状態では、大入賞口扉2413が、大入賞口2005の上方に位置しており、大入賞口2005への遊技球Bの受入れが不能な状態となっている。つまり、大入賞口2005が大入賞口扉2413により閉鎖されている。
この通常の状態で、第一棚部2422上に遊技球Bが流下すると、第一棚部2422の傾斜により遊技球Bが左方へ転動し、第二始動口扉2411の上面、及び第二棚部2423を転動した上で、第二棚部2423の左端から左方へ放出される。第二棚部2423から左方へ放出された遊技球Bは、その勢いに応じて、第三棚部2424又は大入賞口扉2413上に落下し、それらの傾斜により左方へ転動する。なお、第二棚部2423から左方へ放出された遊技球Bが、上棚部2421の下面に当接して右方へ跳ね返ると、第二棚部2423と第三棚部2424との間の隙間に進入することがある。
そして、大入賞口2005を閉鎖している大入賞口扉2413上を転動している遊技球Bは、上棚部2421と大入賞口2005との間の空間に設けられている複数の当接部に対して、交互に当接することとなり、前後方向へジグザグしながら左方へ転動することとなる。大入賞口扉2413上を左方へ転動した遊技球Bは、第四棚部2425を転動した後に、その左端からアタッカユニット2400外へ放出される。第四棚部2425の左端は、第一始動口2003よりも低い位置にあるため、第四棚部2425から左方へ放出された遊技球Bは、アウト口2020に受入れられることとなる。
アタッカユニット2400は、上棚部2421上に遊技球Bが流下すると、その傾斜により左方へ誘導され、第二始動口2004や大入賞口2005に受入れられる機会が与えられることなく、アタッカユニット2400の左方へ放出される。上棚部2421の左端は、第一始動口2003よりも高い位置に設けられているため、上棚部2421から左方へ放出された遊技球Bは、第一始動口2003に受入れられる可能性がある。
このアタッカユニット2400では、第一棚部2422よりも右方に遊技球Bが流下すると、サブアウト口2021に進入する。また、遊技球Bが、第二棚部2423と第三棚部2424との間の隙間に進入すると、サブアウト口2021に進入する。サブアウト口2021に進入した遊技球Bは、遊技領域5a内に戻されることなく裏ユニット3000の裏球誘導ユニット3100を通って下方の基板ホルダ1200上に排出され、循環球経路ユニット500のアウト球受口500aに受け渡される。このアタッカユニット2400では、第一棚部2422の右側を流通した遊技球Bと、第二棚部2423と第三棚部2424の間の隙間を通った遊技球Bとが、何れもサブアウト口2021に進入するように形成されており、実質的にサブアウト口2021が二つ設けられている。
この通常の状態において、普通入賞口2002に遊技球Bが受入れられることで抽選された普通抽選結果に応じて、始動口ソレノイド2412に通電(ON)されると、バネの付勢力に抗してプランジャが後退し、第二始動口扉2411が後方に移動する。そして、第二始動口扉2411が後方へ移動することにより、第二始動口2004の上方が開放された状態となり、第二始動口2004への遊技球Bの受入れが可能となる。つまり、第二始動口2004が開状態となる。
第二始動口2004が開状態の時に、遊技球Bが第二始動口2004に受入れられると、第二始動口センサ2401に検知された後に、アタッカユニット2400から後方へ放出される。第二始動口2004に受入れられてアタッカユニット2400から後方へ放出された遊技球Bは、裏ユニット3000の裏球誘導ユニット3100に受け渡され、下方の循環球経路ユニット500のセーフ球受口500bに排出される。
一方、通常の状態において、第一始動口2003や第二始動口2004に遊技球Bが受入れられることで抽選された特別抽選結果(第一特別抽選結果や第二特別抽選結果)に応じて、アタッカソレノイド2414に通電(ON)されると、バネの付勢力に抗してプランジャが後退し、大入賞口扉2413が後方へ移動する。大入賞口扉2413が後方へ移動することにより、大入賞口2005が上方へ開放された状態となり、大入賞口2005への遊技球Bの受入れが可能な状態となる。つまり、大入賞口2005が開状態となる。
大入賞口2005が開状態の時に、遊技球Bが大入賞口2005に受入れられると、下方に設けられている二つの大入賞口センサ2402のうちの一つに検知された上で、アタッカユニット2400から後方へ放出される。大入賞口2005に受入れられてアタッカユニット2400から後方へ放出された遊技球Bは、裏ユニット3000の裏球誘導ユニット3100に受け渡されて下方の循環球経路ユニット500のセーフ球受口500bに排出される。
このように、本実施形態のアタッカユニット2400によれば、大入賞口2005に受入れられた遊技球Bを、二つの大入賞口センサ2402の何れかにより検知してから後方へ放出するようにしているため、大入賞口2005と大入賞口センサ2402との間で遊技球Bが滞ることを抑制させることができると共に、短時間で多くの遊技球Bを受入れることができる。
[8-8e.センター役物]
次に、表ユニット2000におけるセンター役物2500について、主に図50乃至図52、図56、図57乃至図60等を参照して詳細に説明する。図57(a)はセンター役物における抽選役物の正面図であり、(b)は抽選役物を前方の上方から見た斜視図である。図58は、センター役物における抽選役物を左右方向の中央で切断した側面断面図である。図59(a)は抽選役物において遊技球がループ不能な状態を断面で示す説明図であり、(b)は抽選役物において遊技球がループ可能な状態を断面で示す説明図である。図60は、抽選役物における遊技球の流れを示す説明図である。
表ユニット2000のセンター役物2500は、遊技領域5a内において、始動口ユニット2100よりも上方で、正面視略中央やや上寄りに配置されており、遊技パネル1100におけるパネル板1110の前面に取付けられている。センター役物2500は、透明な枠状に形成されている。
センター役物2500は、詳細は後述するが、第一始動口2003への遊技球Bの受入れにより抽選された第一特別図柄や第二始動口2004への遊技球Bの受入れにより抽選された第二特別図柄の抽選結果に応じて遊技球Bを受入可能に開閉する役物入賞口2006と、役物入賞口2006に受入れられた遊技球Bのみが受入可能となる第二V入賞口2008と、役物入賞口2006に受入れられた後に第二V入賞口2008に受入れられなかった遊技球Bが受入れられるハズレ口2009と、を備えている。
センター役物2500は、役物入賞口2006に受入れられた遊技球Bを検知する役物入賞口センサ2501と、第一V入賞口2007に受入れられた遊技球Bを検知する第一V入賞口センサ2502と、第二V入賞口2008に受入れられた遊技球Bを検知する第二V入賞口センサ2503と、ハズレ口2009に受入れられた遊技球Bを検知するハズレ口センサ2504と、を備えている。
センター役物2500は、枠状に形成されている本体ユニット2510と、本体ユニット2510の枠内の下部に設けられている抽選役物2550と、を備えている。本体ユニット2510は、役物入賞口2006及び第一V入賞口2007を有している。抽選役物2550は、第二V入賞口2008及びハズレ口2009を有している。
[8-8e-1.本体ユニット]
センター役物2500の本体ユニット2510について詳細に説明する。本体ユニット2510は、役物入賞口2006を有している。本体ユニット2510は、遊技パネル1100(パネル板1110)の前面に取付けられる透明枠状のセンターフレーム2511と、センターフレーム2511の外側から枠の内側へ遊技球Bを夫々誘導可能なワープ通路2512と、センターフレーム2511の枠内における下辺部に設けられておりワープ通路2512を流通した遊技球Bを左右方向へ転動させた後に遊技領域5a内へ放出させるステージ2513と、を備えている。
センターフレーム2511は、遊技パネル1100におけるパネル板1110の開口部1112に挿入されると共に開口部1112の内周面に沿うように設けられており前後方向に延びている枠状の挿入部2511aと、挿入部2511aの前端外周から外方へ突出しており遊技パネル1100のパネル板1110の前面に当接する平板状のフランジ部2511bと、フランジ部2511bよりも前方へ延出しており遊技領域5aを流下する遊技球Bが遊技パネル1100におけるパネル板1110の開口部1112の内部に流入することを規制する流入規制部2511cと、挿入部2511aの前端内周から突出している平板状のサポート部2511dと、を有している。
挿入部2511aは、遊技盤5に組立てた状態で、その後端が遊技パネル1100のパネル板1110の後面と一致するように設けられている。流入規制部2511cは、遊技盤5に組立てた状態で、枠状(環状)の下辺部を除いた前端が、遊技パネル1100のパネル板1110の前面よりも前方に突出している。これにより、遊技盤5に組立てた状態で、流入規制部2511cによってセンター役物2500(センターフレーム2511)の外側から枠内の内側への遊技球Bの侵入(流入)を防止(規制)することができる。
フランジ部2511bとサポート部2511dの厚さは、パネル板1110の厚さよりも薄く(パネル板1110の厚さの1/4~1/5の厚さ)形成されている。フランジ部2511bとサポート部2511dは、前後方向の同じ位置で挿入部2511aから突出している。
サポート部2511dは、挿入部2511aの内周において、部分的に複数設けられている。また、サポート部2511dは、挿入部2511aにおけるフランジ部2511bの突出していない部位にも設けられており、挿入部2511a(センターフレーム2511)を補強している。また、サポート部2511dは、挿入部2511aから突出した端辺が、挿入部2511aの正面形状に倣った形状、若しくは、直線状に形成されており、サポート部2511dが目立たないようにしている。このサポート部2511dは、挿入部2511aからの突出量を、サポート部2511dの厚さからパネル板1110の厚さまで、の範囲(1mm~10mm)内としており、補強としての効果を発揮させつつ遊技者から目立ち難いようにしている。
ワープ通路2512は、流入規制部2511cにおける正面視左側の部位において、遊技領域5a内の遊技球Bが進入可能に開口している。ワープ通路2512は、進入した遊技球Bを、ステージ2513へ誘導することができる。ワープ通路2512の一部は、センターフレーム2511により形成されている。
ステージ2513は、センターフレーム2511における挿入部2511aに取付けられている。ステージ2513は、左右方向の中央側が窪んだ湾曲状で、始動口ユニット2100の第一始動口2003の直上と対応した位置、つまり、センター役物2500を遊技パネル1100のパネル板1110に取付けた状態で左右方向の略中央の位置が、その左右両側よりも若干高くなるような波状(W字状)に形成されている。このステージ2513は、左右方向中央の左右両側よりも若干高くなっている部位(中央放出部2513a)と、その左右両側の最も低くなっている部位(サイド放出部2513b)とが、前方へ向かって低くなるように傾斜しており、それらの部位から遊技球Bを遊技領域5a内へ放出させることができる。
ステージ2513は、遊技盤5に組立てた状態で、その左右方向中央の高くなっている部位(中央放出部2513a)が、始動口ユニット2100の第一始動口2003の直上に位置している。これにより、ステージ2513の中央の中央放出部2513aから遊技球Bが放出されると、極めて高い確率で第一始動口2003に受入れられる。
また、センター役物2500の本体ユニット2510は、センターフレーム2511の右上隅に設けられており、遊技球Bが流通可能な二つの通路からなる案内通路群2520を、備えている。案内通路群2520は、普通入賞口2002及びアタッカユニット2400の上方へ遊技球Bを案内するものである。
案内通路群2520は、図56に示すように、センターフレーム2511の流入規制部2511cの枠外に設けられており、上部の入口が衝止部1006の部位に設けられている第一案内通路2521と、上部の入口が第一案内通路2521の入口の左側に隣接して設けられている第二案内通路2522と、から構成されている。案内通路群2520(第一案内通路2521及び第二案内通路2522)は、何れも無色透明な部材により形成されており、内部を流通する遊技球Bを、前方から視認することができる。
第一案内通路2521は、前構成部材1000の衝止部1006から垂直に短く下方へ延びた後に右方へ直角に屈曲し、右レール1005に近接すると、下方へ屈曲して右レール1005に沿って延び、遊技領域5aの高さの下から3/4の高さ付近で左方へ屈曲して、緩い角度で低くなるように左方へ延び、第二案内通路2522の入口よりも遊技球B一つ分左側の位置で下方へ屈曲して遊技領域5aの中央の高さまで延びた上で、右方へ屈曲して右レール1005付近まで延び、その後下方へ屈曲して出口が下方へ向かって開口した形状に形成されている。
第一案内通路2521は、前後方向へは屈曲しておらず、遊技パネル1100の前面と略同一面上で遊技球Bを下方へ案内している。第一案内通路2521における上側の左方へ延びている部位に、役物入賞口2006が設けられている。また、第一案内通路2521の出口の下方には、普通入賞口2002が上方へ向けて開口している。
一方、第二案内通路2522は、第一案内通路2521の入口から左方へ間隔をあけた部位で、上方へ向かって入口が開口している。第二案内通路2522は、上端の入口から略真直ぐに下方へ延び、第一案内通路2521が最初に右方へ屈曲する部位の高さよりも低い高さの位置で後方へ屈曲した上で、遊技パネル1100の前面よりも後側で下方へ屈曲して第一案内通路2521と前後方向に並んだ状態で、第一案内通路2521における最も左方に位置して下方へ延びている部位と左右方向が概ね一致するように下方へ延び、遊技領域5aの中央の高さの部位でクランク状に右方へ屈曲した上で下方へ屈曲し、そして、第一案内通路2521における下側の右方へ延びている部位よりも下方の部位で前方へ屈曲した後に、第一案内通路2521と前後方向が同一面となった状態で、第一案内通路2521における下側の右方へ延びている部位の下側に沿って延びるように右方へ屈曲し、その後、第一案内通路2521の出口の左側に隣接するように下方へ屈曲して、出口が下方へ向かって開口した形状に形成されている。
また、本体ユニット2510は、案内通路群2520のうちの一つの通路(ここでは、第一案内通路2521)の途中に設けられており、第一始動口2003及び第二始動口2004に遊技球Bが受入れられることで抽選される第一特別抽選結果及び第二特別抽選結果に応じて遊技球Bが受入可能となる役物入賞口2006と、役物入賞口2006に受入れられた遊技球Bをチャンス口2531に振分ける第一振分装置2530と、第一振分装置2530によりチャンス口2531に振分けられた遊技球Bを第一V入賞口2007に振分ける第二振分装置2540と、第二振分装置2540により第一V入賞口2007に振分けられなかった遊技球B(第二スカ口2541に振分けられた遊技球B)を抽選役物2550へ誘導する抽選案内通路2545と、を備えている。
本体ユニット2510(センター役物2500)における役物入賞口2006は、第一案内通路2521における上側の左方へ延びている部位に設けられており、当該部位の左右方向の略全長に亘って左右に延びていると共に、上方へ向かって開口している。役物入賞口扉2515は、前後に延びていると共に、左端が低くなるように左右に延びた板状に形成されており、前後に進退することで上方へ開口している役物入賞口2006を開閉可能としている。役物入賞口扉2515は、前進することで役物入賞口2006を閉鎖することができ、役物入賞口2006を閉鎖している状態では、第一案内通路2521における左方へ延びている部位の底面を形成して、上流側から流通してきた遊技球Bを、第一案内通路2521の出口側へ誘導することができる。
役物入賞口扉2515は、役物入賞口ソレノイド2516の駆動によって後退することで役物入賞口2006を開放して、第一案内通路2521を流通してきた遊技球Bを、役物入賞口2006に受入れさせることができる。この役物入賞口扉2515は、役物入賞口ソレノイド2516がOFF(非通電時)の時は役物入賞口2006を閉鎖し、役物入賞口ソレノイド2516がON(通電時)の時は役物入賞口2006を開放させる。
第一振分装置2530は、役物入賞口2006に受入れられて役物入賞口センサ2501により検知された遊技球Bが進入可能なチャンス口2531及び第一スカ口2532と、遊技球Bを一つのみ収容可能な収容部2533aを外周面に有し、前後方向の軸周りに回動可能な振分回転体2533と、振分回転体2533の収容部2533aが右方を向いている状態と上方を向いている状態との間で振分回転体2533を回動させるための第一振分ソレノイド2534(図65を参照)と、を備えている。振分回転体2533は、外周面が後方へ窄まった円錐台状に形成されている。
第一振分装置2530のチャンス口2531は、遊技球Bの流れに対して振分回転体2533よりも下流側に設けられており、振分回転体2533の収容部2533aに収容された遊技球Bが進入可能とされており、振分回転体2533の右方に設けられている。チャンス口2531は、第二振分装置2540に繋がっている。第一スカ口2532は、遊技球Bの流れに対して振分回転体2533よりも上流側に設けられており、振分回転体2533の収容部2533aに収容されなかった遊技球Bが進入し、振分回転体2533の上方に設けられている。第一スカ口2532は、前方へ向かって開口しており、進入した遊技球Bを遊技パネル1100よりも後方へ誘導する。
第一振分装置2530は、第一振分ソレノイド2534がOFF(非通電)の状態では、振分回転体2533の収容部2533aが右方を向いている。この状態で、役物入賞口2006に受入れられた遊技球Bが、役物入賞口センサ2501に検知された後に振分回転体2533へ上方から流下すると、振分回転体2533の外周面に当接する。この振分回転体2533の外周面は、後方へ窄まった円錐台状に形成されているため、外周面の傾斜により遊技球Bが後方へ誘導され、第一スカ口2532へ進入することとなる。
一方、第一振分ソレノイド2534がON(通電)の状態では、振分回転体2533が反時計回りの方向へ90度回動して、収容部2533aが上方を向いている状態となる。この状態で、役物入賞口2006に受入れられた遊技球Bが、役物入賞口センサ2501に検知された後に振分回転体2533へ上方から流下すると、収容部2533aに一つのみ収容される。振分回転体2533の収容部2533aに遊技球Bが収容されている状態で、役物入賞口2006側から更に遊技球Bが上方から振分回転体2533へ流下すると、当該遊技球Bが収容部2533aに収容されている遊技球Bに当接した後に、後方の第一スカ口2532に進入することとなる。第一スカ口2532に進入した遊技球Bは、センサにより検知された上で、裏ユニット3000の裏球誘導ユニット3100に受渡され、裏球誘導ユニット3100から下方の循環球経路ユニット500のセーフ球受口500bに排出される。
収容部2533aに遊技球Bが収容されている状態で、第一振分ソレノイド2534により振分回転体2533が時計回りの方向へ90度回動して、収容部2533aが右方を向くと、収容部2533aに収容されている遊技球Bが、収容部2533aから右方へ転動しチャンス口2531に受入れられることとなる。チャンス口2531に受入れられた遊技球Bは、次の第二振分装置2540へ送られる。
このように、第一振分装置2530では、役物入賞口2006に受入れられた遊技球Bを、チャンス口2531側(第二振分装置2540側)、又は、第一スカ口2532側の何れかに振分けることができる。
第二振分装置2540は、第一振分装置2530において、チャンス口2531へ振分けられた遊技球Bを、第二スカ口2541又は第一V入賞口2007の何れかに振分けるものである。第二振分装置2540は、正面視において、第一振分装置2530と、案内通路群2520の出口との間の高さに設けられている。第二振分装置2540は、第一振分装置2530の振分回転体2533よりも後方に設けられている。
第二振分装置2540は、第一振分装置2530において振分回転体2533の収容部2533aに収容されてチャンス口2531に振分けられた遊技球Bが進入可能に設けられている第二スカ口2541及び第一V入賞口2007と、前後方向へ進退することで第二スカ口2541を開閉可能としている振分片2543と、振分片2543を進退させるための第二振分ソレノイド2544(図65を参照)と、を備えている。
第二スカ口2541は、振分回転体2533よりも右方の位置で上方へ向かって開口しており、チャンス口2531に振分けられた遊技球Bが上方から供給される。第一V入賞口2007は、第二スカ口2541の右側に隣接して設けられており、上方へ向かって開口している。振分片2543は、右方へ低くなるように傾斜している平板状で、前方へ突出することで第二スカ口2541の上端開口を閉鎖して第二スカ口2541への遊技球Bの受入れを不能とすることができると共に、上面に当接した遊技球Bを右方へ誘導して第一V入賞口2007へ受入れさせることができる。
第二振分装置2540は、第二振分ソレノイド2544がOFF(非通電)の状態では、振分片2543が前進しており、第二スカ口2541を閉鎖している。この状態で、第一振分装置2530においてチャンス口2531に振分けられた遊技球Bが流下してくると、振分片2543の上面に当接し、振分片2543の傾斜により右方へ誘導されて第一V入賞口2007に受入れられる(振分けられる)。第一V入賞口2007に振分けられた遊技球Bは、第一V入賞口センサ2502により検知された上で、裏ユニット3000の裏球誘導ユニット3100に受け渡され、裏球誘導ユニット3100から下方の循環球経路ユニット500のセーフ球受口500bに排出される。
一方、第二振分ソレノイド2544がON(通電)の状態では、振分片2543が後退して、第二スカ口2541が上方へ開放された状態となり、第二スカ口2541への遊技球Bの受入れが可能な状態となる。この状態で、第一振分装置2530においてチャンス口2531に振分けられた遊技球Bが流下してくると、当該遊技球Bが後退している振分片2543の前方を通って第二スカ口2541に受入れられる(振分けられる)こととなる。そして、第二スカ口2541に振分けられた遊技球Bは、抽選案内通路2545により左方の抽選役物2550へ誘導される。
このように、第二振分装置2540では、第一振分装置2530において振分回転体2533の収容部2533aに収容された遊技球B、つまり、チャンス口2531に振分けられた遊技球Bを、第二スカ口2541(抽選役物2550)側、又は、第一V入賞口2007側、の何れかに振分けることができる。
抽選案内通路2545には、遊技球Bの流通を検知する抽選役物入球センサ2546が設けられている。この抽選役物入球センサ2546により遊技球Bが検知されると、周辺制御基板1510の周辺制御部1511により、演出表示装置1600、本体枠スピーカ403、トップ中央スピーカ、トップサイドスピーカ、遊技盤5や扉枠3に設けられるLED等を制御して、抽選役物2550内での遊技球Bの抽選(振分け)を盛り上げる演出が実行される。これにより、第二振分装置2540において第二スカ口2541に遊技球Bが振分けられることで、遊技者の残念な気分を払拭して抽選役物2550に対する期待感を高めさせる。
[8-8e-2.抽選役物]
センター役物2500における抽選役物2550について、主に図57乃至図60等を参照して詳細に説明する。センター役物2500の抽選役物2550は、枠状に形成されている本体ユニット2510の枠内の下部に設けられており、第二V入賞口2008及びハズレ口2009を有している。この抽選役物2550は、役物入賞口2006に受入れられた遊技球Bが供給される。詳しくは、役物入賞口2006に受入れられて第一振分装置2530によりチャンス口2531に振分けられた上で、更に、第二振分装置2540により第二スカ口2541に振分けられた遊技球Bが供給される。また、抽選役物2550は、第二V入賞口2008に受入れられた遊技球Bを検知する第二V入賞口センサ2503と、ハズレ口2009に受入れられた遊技球Bを検知するハズレ口センサ2504と、を備えている。
センター役物2500の抽選役物2550は、第二振分装置2540により第二スカ口2541へ振分けられて抽選案内通路2545を流通した遊技球Bが供給され、左方へ向かって低くなるように傾斜している誘導路2551と、誘導路2551を流通した遊技球Bをループ側又は非ループ側(ハズレ口2009側)の何れかに振分ける振分部2552と、振分部2552によりループ側に振分けられた遊技球Bを後方へ打撃可能な打撃部2553と、打撃部2553により後方へ打撃された遊技球Bが供給され、前方へ向かって低くなるように傾斜していると共に、上下方向の軸芯周りに対して揺動するように往復回動可能な揺動樋2554と、揺動樋2554により誘導された遊技球Bが転動し、前方の誘導路2551へ向かって低くなるように傾斜している前後及び左右に広い面状で、下流端付近に第二V入賞口2008が設けられているテーブル2555と、テーブル2555における第二V入賞口2008と揺動樋2554との間に設けられており、上下方向の軸芯周りに対して揺動可能な一対の揺動片2556と、を有している。
この抽選役物2550は、詳細は後述するが、振分部2552により遊技球Bがループ側へ振分けられる限り、第二V入賞口2008が設けられているテーブル2555から放出された遊技球Bが打撃部2553へ供給され、打撃部2553とテーブル2555との間で遊技球Bがループすることが可能なものである。
抽選役物2550の誘導路2551は、抽選役物2550の右端辺に沿って後端付近から前端まで前方が低くなるように延出した後に、抽選役物2550の前端辺に沿って左端付近まで左方が低くなるように延出しており、平面視においてL字状に形成されている。この誘導路2551は、遊技球Bの直径よりもやや大きい幅で延出している。誘導路2551には、右端辺に沿って前後方向へ延出している部位に、抽選案内通路2545から遊技球Bが供給される。
抽選役物2550の振分部2552は、誘導路2551の左右方向へ延出している部位における下流端(左端)に近い部位に設けられている。振分部2552は、誘導路2551を貫通し上方へ向かって開口しているハズレ口2009と、ハズレ口2009の左端付近において前後方向へ延びた軸芯周りに対して回動可能に設けられておりハズレ口2009を開閉可能としているハネ橋状の振分橋2557と、振分橋2557を回動させるための抽選ループソレノイド2558(図65を参照)と、を備えている。誘導路2551は、ハズレ口2009を境にして上流側と下流側とに分割されている。
振分橋2557は、平面視において、左右に長い平板状に形成されており、左辺側が前後方向の軸芯周りに対して回動可能に支持されており、右辺側が自由端とされている。振分橋2557は、右辺側がハズレ口2009の右辺に接近して左右方向へ延びて倒れた状態のループ位置(図59(a)を参照)と、右辺側が左辺側の上方へ位置して上下方向へ延びて直立した状態の非ループ位置(図59(b)を参照)と、の間で回動可能に設けられている。
振分橋2557は、ループ位置の状態となることで、ハズレ口2009により上流側と下流側とに二つに分割された誘導路2551を橋渡すような状態となり、振分橋2557上を通って遊技球Bが上流側から下流側へ転動することができる。つまり、振分橋2557は、ループ位置の状態となることで、ハズレ口2009を閉鎖して、遊技球Bを受入不能することができる。一方、振分橋2557は、非ループ位置の状態となることで、ハズレ口2009が上方へ開放された状態となり、上流から転動してきた遊技球Bを、下流側へ渡すことなくハズレ口2009へ受入れさせることができる。このように、振分部2552では、振分橋2557によって遊技球Bをループ側又は非ループ側の何れかに振分けることができる。
この振分橋2557は、遊技球Bの転動面とは反対側に、×印が施されて旗状に形成されている振分表示部2557aが設けられている。この振分表示部2557aは、振分橋2557がハズレ口2009を開放する非ループ位置の状態になると、遊技者側から視認可能となる。これにより、遊技者に対して遊技球Bが下流側の打撃部2553へ行けない(ループすることができない)状態であることを認識させることができる。
また、振分橋2557は、回動可能に支持されている左端側が、テーブル2555の下流端(前端辺)における左端よりも左方に設けられている。従って、テーブル2555から誘導路2551側へ放出される遊技球Bは、非ループ位置の振分橋2557よりも右方の部位に放出されるため、非ループ位置の時にテーブル2555から遊技球Bが、二つに分割されている誘導路2551の下流側(振分橋2557よりも下流側)へ行くことはなく、開放されているハズレ口2009に受入れられる。
抽選役物2550の打撃部2553は、前端が誘導路2551の下流端よりも低く後方へ向かって高くなるように傾斜しており振分部2552によりループ側に振分けられた遊技球Bが供給される登坂部2559と、登坂部2559の下流端に設けられており遊技球Bを打撃可能な扇状の打撃片2560と、打撃片2560を登坂部2559と垂直な軸芯周りに対して回転させる打撃片駆動モータ2561(図65を参照)と、を備えている。
扇状の打撃片2560は、打撃片駆動モータ2561により比較的早い速度で回転させられている。従って、遊技球Bが打撃片2560の設けられている部位に到達するタイミングと、打撃片2560の回転位置のタイミングと、によって遊技球Bが打撃される強さが区々となる。そのため、遊技球Bがある程度強く打撃されると、登坂部2559を乗り越えて後方の揺動樋2554側へ行くことができ、打撃が弱いと、登坂部2559を乗り越えることができずに、前方へ戻ってくることとなる。これにより、遊技球Bが強く打撃されて揺動樋2554(テーブル2555)側へ行くか否かによって遊技者をハラハラ・ドキドキさせることができ、遊技者を楽しませることができる。また、打撃片2560による打撃が弱いと遊技球Bが戻ってくるため、当該遊技球Bによる遊技が確定するまでの時間を長くすることができると共に、遊技者に対して得した気分にさせることができ、遊技者を楽しませて興趣の低下を抑制させることができる。
この抽選役物2550は、打撃部2553と揺動樋2554との間に、登坂部2559を乗り越えた遊技球Bが供給され、左右両端が高く中央が低くなるように湾曲している揺動通路2562と、揺動通路2562の中央に設けられており遊技球Bを揺動樋2554へ放出する放出口2563と、を有している。揺動通路2562の高くなっている左右両端付近には複数の凹凸が設けられており、遊技球Bの転動速度を減衰させることができる。この揺動通路2562は、抽選役物2550の後端辺に沿って設けられており、テーブル2555よりも後ろに設けられている。打撃部2553から揺動通路2562へ供給された遊技球Bは、ステージ2513と同様に、左右方向へ転動した後に、中央の放出口2563から揺動樋2554へ放出される。
抽選役物2550の揺動樋2554は、円盤状に形成されており、中心から外周へ向かって延出している樋状に凹んだ樋部2554aを有している。円盤状の揺動樋2554は、後側が高くなるようにその回転軸が傾斜している。抽選役物2550は、揺動樋2554を所定角度の範囲内で往復回動させるための樋揺動駆動モータ2564(図65を参照)を有している。この揺動樋2554は、樋揺動駆動モータ2564によって、樋部2554aの先端が前方の第二V入賞口2008を向いている状態を中心として、その先端が所定の角度の範囲で左右方向を向くように往復回動する。
揺動樋2554は、テーブル2555の左右方向中央の後端(上端)に設けられており、放出口2563から放出された遊技球Bが樋部2554aに受け渡される。樋部2554aに受け渡された遊技球Bは、揺動樋2554が往復回動しているため、テーブル2555における樋部2554aの先端が向いている回動方向に応じた扇状の範囲内へ遊技球Bを放出させることができる。この際に、受け取られた遊技球Bが樋部2554aを転動して先端から放出されるまでのも、揺動樋2554が回動しているため、当該回動により遊技球Bに慣性力が作用することとなる。そのため、樋部2554aの先端から放出された遊技球Bは、樋部2554aの向いている方向へ真直ぐにテーブル2555上を転動することはなく、転動方向が予想し難くなっている。
抽選役物2550のテーブル2555は、前端側が低くなるように傾斜しており、下流端となる前端側の左右方向の長さが、後端の左右方向の長さよりも短く形成されている。また、テーブル2555は、左右方向中央の上端に揺動樋2554が設けられていると共に、左右方向中央の下端付近に第二V入賞口2008が設けられている。テーブル2555は、左右方向中央において揺動樋2554から第二V入賞口2008へ延びている中央溝2555aを有していると共に、左右方向中央の下端付近において周囲よりも凹んでいる凹部2555bを有している。凹部2555bは、五角形のホームベース状に凹んでおり、その底部に第二V入賞口2008が設けられている。
このテーブル2555は、第二V入賞口2008へ続く中央溝2555aや、底部に第二V入賞口2008が設けられている凹部2555bを有しているため、遊技者に対して、それらに遊技球Bが進入すると第二V入賞口2008に受入れられるように思わせることができ、テーブル2555上を転動している遊技球Bの動きを楽しませることができる。
テーブル2555の下流端である前端側は、前方の誘導路2551よりも高い位置に設けられている。従って、誘導路2551を流通している遊技球Bが、打撃部2553及び揺動樋2554を経由せずにテーブル2555上へ供給されることはない。
抽選役物2550の揺動片2556は、テーブル2555における揺動樋2554と第二V入賞口2008との間で、テーブル2555の左右方向中央を境にして左右対称の位置に、左右対称に一対が設けられている。揺動片2556は、流滴状に形成されており、基端となる円形の部位を前側にして尖った先端を後方へ向けていると共に、円形の基端側を中心として回動可能に設けられている。
抽選役物2550は、一対の揺動片2556を上下方向の軸芯周りに対して所定角度範囲内で往復回動させることで揺動させるための揺動片ソレノイド2565を備えている。一対の揺動片2556は、一つの揺動片ソレノイド2565により、互いに相反する方向へ回動するように設けられている。
一対の揺動片2556は、揺動片ソレノイド2565により回動されるため、駆動モータにより回動される場合と比較して、回動速度が速くなっている。従って、揺動片2556が揺動して動いている時に、揺動片2556に遊技球Bが当接すると、当該遊技球Bを強く跳ね飛ばすことができる。従って、揺動片2556の回動方向によって、当接した遊技球Bを、テーブル2555の左右方向中央側へ送ったり左右方向両端側へ送ったりすることができ、遊技球Bの流れに変化を付与することができる。
一対の揺動片2556は、尖った先端が互いに接近している状態では、揺動片2556同士の間の間隔が狭くなると共に、揺動片2556の後方を向いている面部が、前方へ向かうに従って左右方向中央から遠ざかるように傾斜しており、一対の揺動片2556が後方へ窄まった状態となっている。これにより、揺動樋2554やテーブル2555の後方から流下してきた遊技球Bが、一対の揺動片2556の間を通ると、第二V入賞口2008に受入れられる可能性が高くなり、一対の揺動片2556における後方を向いている面部に当接すると、その傾斜により左右方向中央から遠ざかる方向へ誘導されるため、第二V入賞口2008に受入れられる可能性が低くなる。
一方、一対の揺動片2556が、それらの尖った先端が互いに遠ざかっている状態(図60において破線で示す状態)では、揺動片2556の後方を向いている面部が、前方へ向かうに従って左右方向中央に接近するように傾斜しており、一対の揺動片2556が後方へ拡開した状態となっている。これにより、揺動樋2554やテーブル2555の後方から流下してきた遊技球Bが、一対の揺動片2556における後方を向いている面部に当接すると、その傾斜により左右方向中央へ誘導され、第二V入賞口2008に受入れられる可能性がある。
従って、一対の揺動片2556が後方へ拡開している状態では、揺動片2556に当接した遊技球Bが左右方向の中央へ誘導されるため、一対の揺動片2556が後方へ窄まっている状態と比較して、後方から流下してきた遊技球Bが第二V入賞口2008に受入れられる可能性が高くなっている。換言すると、一対の揺動片2556の状態に応じて、第二V入賞口2008への遊技球Bの受入確率を変化させることができる。
本実施形態の抽選役物2550は、上方から全体を覆う透明なカバー2566を備えている(図50乃至図52等を参照)。このカバー2566により、抽選案内通路2545を通って供給された遊技球Bが、抽選役物2550から外部へ飛び出してしまうことを防止することができると共に、抽選案内通路2545以外の外部から遊技球Bが供給される(侵入する)ことを防止することができる。
次に、抽選役物2550での遊技球Bの流れについて説明する。抽選役物2550には、第一始動口2003や第二始動口2004に遊技球Bが受入れられて抽選された第一特別抽選結果や第二特別抽選結果(例えば、「役物当り」)に応じて、所定パターンで開閉する役物入賞口2006に受入れられた遊技球Bの一つが、抽選案内通路2545を通って誘導路2551の上流付近に供給される。誘導路2551の上流付近に供給された遊技球Bは、誘導路2551の傾斜に従って左方の振分部2552へ向かって転動する。
振分部2552では、所定時間の間、振分橋2557が倒れてループ位置の状態となっているおり、上流側から転動してきた遊技球Bが、振分橋2557を通って下流側の打撃部2553へ転動することとなる。そして、打撃部2553へ供給された遊技球Bは、回転している打撃片2560により後方へ打撃されることで、後方へ延出している登坂部2559を登るように転動することとなる。
この際に、打撃片2560が扇形に形成されていると共に、比較的早い速度で回転しているため、打撃片2560の回転位置に対する遊技球Bが当接するタイミングによっては、遊技球Bに強く当接したり、遊技球Bに掠るように当接したり、することとなり、後方へ打撃される遊技球Bの勢いが様々となる。従って、打撃片2560による打撃が弱いと、後方へ高くなっている登坂部2559を登り切ることができず、登坂部2559を戻ってきてしまい、遊技球Bが登坂部2559を行ったり来たりすることがある。
そして、打撃片2560により打撃された遊技球Bが登坂部2559を乗り越えると、後方に設けられている揺動通路2562に進入し、左右方向中央が低くなっている揺動通路2562を左右方向へ転動することとなる。この際に、揺動通路2562の左右両端付近には複数の凹凸が設けられているため、遊技球Bが凹凸の部位を通ることで、凹凸の衝撃により転動速度が減衰することとなる。これにより、打撃片2560により打撃されて登坂部2559を乗り越えた遊技球Bの勢いを低減させることができる。
揺動通路2562を左右方向へ揺動するように転動した遊技球Bは、最後に中央に設けられている放出口2563から揺動樋2554を介してテーブル2555上に放出される。この際に、揺動樋2554は、樋揺動駆動モータ2564により所定角度の範囲内において往復するように揺動回動しているため、遊技球Bが放出口2563から揺動樋2554へ放出されるタイミングと、揺動樋2554の回動位置とのタイミングと、によって揺動樋2554から様々な方向へ遊技球Bが放出されることとなる。
揺動樋2554からテーブル2555へ放出された遊技球Bは、テーブル2555の傾斜に従って前方へ転動し、前端辺から誘導路2551へ放出されることとなる。この際に、テーブル2555の前後方向の中央付近には、左右に離隔して設けられている一対の揺動片2556が揺動しているため、揺動片2556により当接した遊技球Bを弾いて転動方向を変化させることができる。また、テーブル2555の左右方向中央における前端付近には、第二V入賞口2008が設けられているため、テーブル2555を転動している遊技球Bが第二V入賞口2008に受入れられることがある。
第二V入賞口2008に受入れられた遊技球Bは、第二V入賞口センサ2503により検知された上で、裏ユニット3000の裏球誘導ユニット3100に受け渡された後に、下方の循環球経路ユニット500のセーフ球受口500bへ排出される。この第二V入賞口2008に遊技球Bが受入れられると、大入賞口2005を所定のパターンで開閉させる有利遊技状態としての「大当り遊技」が実行される。従って、遊技球Bが抽選役物2550に供給されると、当該遊技球Bが第二V入賞口2008へ受入れられるか否かによって遊技者をハラハラ・ドキドキさせることができ、遊技者を楽しませて興趣の低下を抑制させることができる。
テーブル2555の前端辺から誘導路2551へ放出された遊技球Bは、所定の時間内であれば、振分部2552の振分橋2557がループ位置の状態となっているため、振分橋2557を通って打撃部2553へ供給されることとなる。従って、振分橋2557がループ位置の状態では、第二V入賞口2008に遊技球Bが受入れられない限り、打撃部2553とテーブル2555との間を遊技球Bが何回でもループすることができる。つまり、振分橋2557がループ位置の状態では、第二V入賞口2008への遊技球Bの受入れ機会が何度でも訪れる。これにより、テーブル2555を転動している遊技球Bが第二V入賞口2008に受入れられなかった場合でも、ループ位置の振分橋2557を通ることで、第二V入賞口2008へ受入可能となる機会が再び訪れるため、遊技者を継続して楽しませることができる。
そして、所定時間が経過すると、振分部2552の振分橋2557がループ位置から、立上った非ループ位置の状態となり、振分橋2557により閉鎖されていたハズレ口2009が上方へ開放される。この状態では、テーブル2555の前端辺から放出された遊技球Bや、誘導路2551を転動してきた遊技球Bが、ハズレ口2009に受入れられることとなり、遊技球Bがループすることなく抽選役物2550での抽選が終了する。この際に、直立した振分橋2557により、×印の旗を模した振分表示部2557aが立上って視認可能となるため、振分表示部2557aにより遊技者に対して遊技球Bがループしないことを認識させることができる。
ハズレ口2009に受入れられた遊技球Bは、ハズレ口センサ2504に検知された上で、裏ユニット3000の裏球誘導ユニット3100に受け渡された後に、下方の循環球経路ユニット500のセーフ球受口500bへ排出される。
このように、本実施形態の抽選役物2550によれば、役物入賞口2006から供給された遊技球Bが、第二V入賞口2008に受入れられるか否かによって遊技者をハラハラ・ドキドキさせることができ、遊技者を楽しませることができる。また、遊技球Bが第二V入賞口2008に受入れられなかった場合でも、振分部2552の振分橋2557がループ位置の時には、当該遊技球Bが打撃部2553を介して再び第二V入賞口2008の上流に位置している揺動樋2554へ送られてループするため、再び第二V入賞口2008へ受入れられる機会が与えられることで、遊技者に対して再び期待感を付与することができ、遊技者を楽しませて興趣の低下を抑制させることができる。
[8-8f.普通入賞口ユニット]
次に、表ユニット2000における普通入賞口ユニット2600について、主に図50乃至図52、及び図56等を参照して説明する。普通入賞口ユニット2600は、普通入賞口2002を有しており、遊技領域5a内における左端付近で、上下方向の中央よりも下方の部位に設けられている。この普通入賞口ユニット2600は、アタッカユニット2400とセンター役物2500における案内通路群2520との間に設けられており、普通入賞口2002が第一案内通路2521の出口の直下に位置するように設けられている。
普通入賞口ユニット2600の普通入賞口2002は、上方へ向けて遊技球Bを受入可能に常時開口している。普通入賞口2002に受入れられた遊技球Bは、遊技パネル1100の後方へ誘導された後に、裏ユニット3000の裏球誘導ユニット3100に受け渡され、普通入賞口センサ3002に検知された上で下方の循環球経路ユニット500のセーフ球受口500bへ排出される。
[8-9.遊技領域内での遊技球の流れ]
次に、遊技領域5a内での遊技球Bの流れについて、主に図56等を参照して詳細に説明する。遊技盤5に組立てた状態では、センター役物2500が遊技領域5aの略中央に設けられている。図示は省略するが、遊技領域5a内において、センター役物2500の左右両外側の部位と下側の部位、及び、アタッカユニット2400とセンター役物2500における案内通路群2520との間の部位に、複数の障害釘が所定のゲージ配列で植設されている。また、センター役物2500の左側でサイド左上ユニット2300の上方に、遊技球Bの当接により回転する風車(図示は省略)が設けられている。
センター役物2500の左側には、内レール1002との間に所定のゲージ配列で植設されている複数の障害釘が設けられている。遊技領域5a内におけるセンター役物2500の左側において、センターフレーム2511の流入規制部2511cにおける上下方向の中央よりも下方の部位において、左方からやや上方を向けてワープ通路2512の入口が開口している。そして、ワープ通路2512とサイド左上ユニット2300の棚部2301との間に風車が設けられている。
センター役物2500の左側へ打込まれた遊技球Bは、或る程度の確率でワープ通路2512に進入する。ワープ通路2512に進入した遊技球Bは、センター役物2500の枠内に設けられているステージ2513に供給され、ステージ2513上を左右方向へ転動し、中央放出部2513a又はサイド放出部2513bの何れかから遊技領域5a内へ還流するように放出される。ステージ2513の中央放出部2513aは、遊技領域5a内の左右方向中央で第一始動口2003の直上に設けられているため、中央放出部2513aから放出された遊技球Bは、高い確率で第一始動口2003に受入れられる。中央放出部2513aの左右両側のサイド放出部2513bから放出された遊技球Bは、或る程度の確率で第一始動口2003に受入れられる。
第一始動口2003に受入れられた遊技球Bは、始動口ユニット2100の第一始動口センサ2101に検知された後に遊技パネル1100の後方へ誘導されて、裏ユニット3000の裏球誘導ユニット3100に受け渡されて裏球誘導ユニット3100から下方へ排出される。第一始動口センサ2101により遊技球Bが検知されると、持ち球数に所定個数の遊技球Bが加算される特典が付与されると共に、所定条件を充足している状態(例えば、第一特別図柄の保留数が4未満の状態)で、遊技者に有利となる有利遊技状態の発生を可能としている第一特別図柄の抽選が実行される。なお、抽選された第一特別図柄を、第一特別抽選結果とも称する。
ステージ2513から放出されて第一始動口2003に受入れられなかった遊技球Bは、アウト口2020に受入れられて遊技領域5a外へ排出される。アウト口2020に受入れられた遊技球Bは、遊技パネル1100の後方へ誘導されて、裏ユニット3000の裏球誘導ユニット3100に受け渡された後に、裏球誘導ユニット3100から下方の循環球経路ユニット500のアウト球受口500aへ排出される。
センター役物2500の左外側へ打込まれ、ワープ通路2512に進入しなかった遊技球Bは、風車の中心よりも右側を流通した場合では、高い確率で、センター役物2500の下辺に沿って斜めに列設されている複数の障害釘に沿うように右方へ流下する。風車の中心よりも右側を流通した遊技球Bは、第一始動口2003やサイドユニット2200に設けられている一般入賞口2001に受入れられる可能性がある。また、風車の中心よりも右側を流通した遊技球Bは、サイドユニット2200に設けられているサブアウト口2021に受入れられることがある。第一始動口2003、一般入賞口2001、及びサブアウト口2021に受入れられなかった遊技球Bは、アウト口2020に受入れられて遊技領域5a外へ排出される。
一般入賞口2001に受入れられた遊技球Bは、遊技パネル1100の後方へ誘導された上で裏ユニット3000の裏球誘導ユニット3100に受け渡され、一般入賞口センサ3001に検知された上で下方へ排出される。一般入賞口センサ3001に遊技球Bが検知されると、持ち球数を所定個数加算する特典が付与される。
一方、風車の中心よりも左側を流通した場合では、サイド左上ユニット2300の棚部2301上に流下し、棚部2301を右方へ流下する。風車の中心よりも左側を流通した遊技球Bは、サイドユニット2200に設けられている一般入賞口2001及びサブアウト口2021に受入れられる可能性がある。サブアウト口2021に受入れられた遊技球Bは、遊技パネル1100の後方に誘導された後に、裏ユニット3000の裏球誘導ユニット3100に受け渡され、裏球誘導ユニット3100から下方へ排出される。一般入賞口2001及びサブアウト口2021に受入れられなかった遊技球Bは、アウト口2020に受入れられて遊技領域5a外へ排出される。
続いて、センター役物2500の右側には、案内通路群2520、役物入賞口2006、普通入賞口2002、第二始動口2004、大入賞口2005、及び、サブアウト口2021、が上から順に設けられている。案内通路群2520と第二始動口2004との間、に夫々複数の障害釘が植設されている。
本実施形態の遊技盤5では、センター役物2500におけるセンターフレーム2511の流入規制部2511cの上辺における左右方向中央付近から右方へ向かって低くなる部位の上方に、遊技球Bが進入する強さで遊技球Bを打込むと、案内通路群2520の第一案内通路2521又は第二案内通路2522の何れかを遊技球Bが流通する。
具体的に詳述すると、遊技球Bを、遊技領域5aの周縁の一部を構成する外レール1001から内方へ突出している衝止部1006に当接する強さで打込む(所謂、右打ちする)と、衝止部1006に当接した遊技球Bが第一案内通路2521に進入する。この第一案内通路2521に進入した遊技球Bは、第一案内通路2521の途中の役物入賞口2006を閉鎖している役物入賞口扉2515の上面を転動した上で、案内通路群2520の下端の右側の出口から下方の普通入賞口ユニット2600側へ放出される。
一方、センター役物2500の上方に打込まれた遊技球Bが第二案内通路2522の入口に進入して流通すると、後方へひねられて第一案内通路2521と前後方向に並んだ後に、前方へひねられて第一案内通路2521の出口の左側の出口から下方の普通入賞口ユニット2600側へ放出される。
普通入賞口ユニット2600の普通入賞口2002は、第一案内通路2521の出口の直下に設けられているため、第一案内通路2521を流通した遊技球Bの方が、第二案内通路2522を流通した遊技球Bよりも、普通入賞口2002に受入れられる可能性が高い。
普通入賞口2002に受入れられた遊技球Bは、遊技パネル1100の後方へ誘導された上で裏ユニット3000の裏球誘導ユニット3100に受け渡され、普通入賞口センサ3002に検知された上で下方の循環球経路ユニット500のセーフ球受口500bへ排出される。普通入賞口センサ3002に遊技球Bが検知されると、持ち球数を所定個数加算する特典が付与されると共に、所定条件を充足している状態(例えば、普通図柄の保留数が4未満の状態)で、第二始動口2004への遊技球Bの受入れを可能とする普通図柄の抽選が実行される。なお、抽選された普通図柄を、普通抽選結果とも称する。
遊技領域5a内へ右打ちされて案内通路群2520を流通した後に、普通入賞口2002に受入れられなかった遊技球Bは、複数の障害釘に当接しながらアタッカユニット2400上へ流下する。そして、遊技球Bがアタッカユニット2400の上棚部2421に流下すると、上棚部2421の傾斜に従って左方且つ下方へ誘導され、第二始動口2004や大入賞口2005に受入れられる機会もなく、アタッカユニット2400から左方へ排出される。なお、アタッカユニット2400の上棚部2421の下流端(左端)は、第一始動口2003よりも上方に位置しているため、上棚部2421を流通した遊技球Bが第一始動口2003に受入れられる可能性がある。
一方、アタッカユニット2400の第一棚部2422に遊技球Bが流下すると、その傾斜により左方へ転動して、第二始動口扉2411の上面、及び第二棚部2423を転動した上で、第二棚部2423の左端から左方へ放出される。そして、第二棚部2423から左方へ放出された遊技球Bは、その勢いに応じて、第三棚部2424又は大入賞口扉2413上に落下し、それらの傾斜により左方へ転動し、大入賞口扉2413から第四棚部2425を転動した後に、第四棚部2425からアタッカユニット2400外となる左方へ放出される。第四棚部2425から放出された遊技球Bは、アウト口2020に受入れられる。
更に、アタッカユニット2400の上棚部2421及び第一棚部2422の何れにも流下せず、第一棚部2422よりも右方へ遊技球Bが流下すると、サブアウト口2021に受入れられる。また、遊技球Bが第一棚部2422上に流下した場合でも、第二棚部2423と第三棚部2424との間の隙間に進入すると、サブアウト口2021に受入れられる。サブアウト口2021に受入れられた遊技球Bは、遊技領域5a内に戻されることなく裏ユニット3000の裏球誘導ユニット3100に受け渡されて、下方の循環球経路ユニット500のアウト球受口500aに排出される。
アタッカユニット2400の第一棚部2422に遊技球Bが流下すると、当該遊技球Bが第二始動口扉2411を転動する。従って、普通入賞口2002への遊技球Bの受入れにより普通図柄(普通抽選結果)として「普通当り」が抽選されて、始動口ソレノイド2412により第二始動口扉2411が後退して第二始動口2004が開放されているタイミングで、第一棚部2422側から遊技球Bが流通(転動)してくると、当該遊技球Bが第二始動口2004に受入れられる。
第二始動口2004に受入れられた遊技球Bは、第二始動口センサ2401に検知された後に、裏ユニット3000の裏球誘導ユニット3100に受け渡された上で、裏球誘導ユニット3100から下方へ排出される。第二始動口センサ2401により遊技球Bが検知されると、持ち球数を所定個数加算する特典が付与されると共に、所定条件を充足している状態(例えば、第二特別図柄の保留数が4未満の状態)で、遊技者に有利となる有利遊技状態の発生を可能としている第二特別図柄の抽選が実行される。なお、抽選された第二特別図柄を、第二特別抽選結果とも称する。
また、アタッカユニット2400の第一棚部2422に流下して第二始動口扉2411や第二棚部2423を転動した遊技球Bは、大入賞口扉2413上を転動する。従って、第一始動口2003への遊技球Bの受入れにより抽選された第一特別図柄(第一特別抽選結果)、第二始動口2004への遊技球Bの受入れにより抽選された第二特別図柄(第二特別抽選結果)、に応じて(例えば、抽選された特別図柄(特別抽選結果)が、「大当り」、「中当り」、「小当り」、等の時)、アタッカソレノイド2414により大入賞口扉2413が後退して大入賞口2005が開放されているタイミングで、第二棚部2423側から遊技球Bが流通(転動)してくると、当該遊技球Bが大入賞口2005に受入れられる。
大入賞口2005に受入れられた遊技球Bは、下方に設けられている二つの大入賞口センサ2402の何れかに検知された後に、遊技パネル1100の後方へ誘導されて裏ユニット3000の裏球誘導ユニット3100に受け渡された上で、下方の循環球経路ユニット500のセーフ球受口500bに排出される。大入賞口センサ2402により遊技球Bが検知されると、持ち球数を所定個数加算する特典が付与される。
ところで、第一始動口2003や第二始動口2004に遊技球Bが受入れられて第一特別図柄や第二特別図柄として「役物当り」が抽選された場合、第一案内通路2521の途中に設けられている役物入賞口2006が所定のパターンで開閉すると共に、第一振分装置2530の振分回転体2533及び第二振分装置2540の振分片2543が所定のパターンで動作する。従って、「役物当り」が抽選された場合、役物入賞口2006が開閉することから、遊技者に対して、遊技球Bが役物入賞口2006に受入れられるようにするために、役物入賞口2006が設けられている第一案内通路2521に遊技球Bが流通するように、「右打ち」を行わせることができる。
本実施形態では、「役物当り」は、「大当り」よりも抽選される確率が高く、「役物当り」として、「第一役物当り」、「第二役物当り」、「第三役物当り」の三つのパターンが設定されており、何れのパターンも役物入賞口2006が大別して2回開閉する。
まず、各「役物当り」における役物入賞口2006の開閉について詳述する。「第一役物当り」は、実行開始から一定時間(3000ms)経過した後に、役物入賞口2006が、短い時間(80ms)開状態となり、その後、閉状態となって短い時間(1252ms)経過した後に、再び短い時間(80ms)開状態となった上で閉状態となって完了する。「第二役物当り」は、実行開始から一定時間(3000ms)経過した後に、役物入賞口2006が、短い時間(80ms)開状態となり、その後、閉状態となって「第一役物当り」よりも長い時間(5420ms)経過した後に、長い時間(9414ms)開状態となった上で閉状態となって完了する。「第三役物当り」は、実行開始から一定時間(3000ms)経過した後に、役物入賞口2006が、短い時間(80ms)開状態となり、その後、閉状態となって「第二役物当り」よりも長い時間(19366ms)経過した後に、長い時間(9404ms)開状態となった上で閉状態となって完了する。
「第一役物当り」における役物入賞口2006の2回目の開状態は、実行開始から「第一役物当り」が完了する時間よりも後に開始される。また、「第三役物当り」における役物入賞口2006の2回目の開状態は、実行開始から「第二役物当り」が完了する時間よりも後に開始される。
なお、「第二役物当り」及び「第三役物当り」における2回目の長い時間の開状態では、8回の開状態(80ms)が一定の間隔(1252ms)で繰返されている。つまり、役物入賞口2006は、「第一役物当り」では2回、「第二役物当り」及び「第三役物当り」では9回、開閉する(開状態となる)。
次に、「役物当り」における第一振分装置2530の振分回転体2533の動作は、実行開始と同時に反時計回りに回動して所定時間(3020ms)収容部2533aを上方へ向けた1回目の収容可能状態となり、その後、時計回りに回動して収容部2533aを右方へ向けた収容不能状態となって所定時間(4560ms)経過すると、1回目よりも長い時間(13446ms)2回目の収容可能状態となり、短時間(500ms)収容不能状態となった後に、2回目と同じ時間(13446ms)3回目の収容可能状態となった上で、収容不能状態となる。
この振分回転体2533は、1回目の収容可能状態が、「役物当り」における役物入賞口2006の1回目の開状態の途中で終了して収容不能状態となる。また、振分回転体2533は、実行開始から「第一役物当り」が完了する時間よりも後に2回目の収容可能状態となる。従って、「第一役物当り」の時には、2回目の収容可能状態となる前に、振分回転体2533の制御が終了し、2回目と3回目の収容可能状態は実行されない。この振分回転体2533は、2回目の収容可能状態が、「第二役物当り」における役物入賞口2006の2回目の開状態よりも前に開始され、当該2回目の開状態が閉状態となった後で、収容不能状態となる。
また、振分回転体2533は、実行開始から「第二役物当り」が完了する時間よりも後に3回目の収容可能状態となる。従って、「第二役物当り」の時には、3回目の収容可能状態となる前に、振分回転体2533の制御が終了し、3回目の収容可能状態は実行されない。つまり、振分回転体2533は、「第一役物当り」の時には1回、「第二役物当り」の時には2回、「第三役物当り」の時には3回、夫々収容可能状態となる。この振分回転体2533は、3回目の収容可能状態が、「第三役物当り」における役物入賞口2006の2回目の開状態よりも前に開始され、当該2回目の開状態が終了して閉状態となった後で、収容不能状態となる。
次に、「役物当り」における第二振分装置2540の振分片2543の動作は、実行開始と同時に前方へ突出して所定時間(3020ms)第二スカ口2541を閉鎖する1回目の閉状態(第一V入賞口2007へ振分可能な状態)となり、その後、後退して第二スカ口2541が開放された開状態(抽選役物2550へ振分可能な状態)となって所定時間(23006ms)経過すると、1回目の開状態よりも長い時間(13446ms)2回目の閉状態となった上で、開状態となる。
この振分片2543は、1回目の閉状態が、「役物当り」における役物入賞口2006の1回目の開状態の途中で終了して開状態となる。また、第二振分装置2540は、振分片2543の2回目の閉状態が、「第三役物当り」における役物入賞口2006の2回目の開状態の途中から開始され、役物入賞口2006の2回目の開状態が閉状態となった後で、振分片2543が閉状態から開状態となる。従って、第二振分装置2540では、「第三役物当り」の時のみ、振分片2543の2回目の閉状態が実行され、「第一役物当り」や「第二役物当り」の時には振分片2543の2回目の閉状態は実行されない。
このようなことから、「第一役物当り」では、役物入賞口2006の開閉が、短時間に2回、実行されるため、「右打ち」により第一案内通路2521を流通している遊技球Bが、役物入賞口2006の受入れられる可能性は低い。また、「第二役物当り」及び「第三役物当り」における役物入賞口2006の1回目の開状態も、短時間であることから、遊技球Bが役物入賞口2006の受入れられる可能性は低い。また、第一振分装置2530おける振分回転体2533の1回目の収容可能状態が、「役物当り」における役物入賞口2006の1回目の開状態と重なっている時間が、役物入賞口2006の1回目の開状態の時間よりも短いため、役物入賞口2006の1回目の開状態の時に、役物入賞口2006に受入れられた遊技球Bが、振分回転体2533の収容部2533aに収容される可能性は更に低い。そして、振分回転体2533の1回目の収容可能状態と、第二振分装置2540における振分片2543の1回目の閉状態とが終了する時間が同じであるため、振分回転体2533の1回目の収容可能状態の時に、収容部2533aに収容された遊技球Bが、第一V入賞口2007側へ振分けられることはない。
一方、「第二役物当り」及び「第三役物当り」における役物入賞口2006の2回目の開状態は、時間が長いため、第一案内通路2521を通って、遊技球Bが役物入賞口2006に受入れられる可能性は高い。この際に、第一振分装置2530の振分回転体2533が、役物入賞口2006が開状態となる前に収容可能状態となった上で、役物入賞口2006が開状態から閉状態となった後に収容不能状態となるため、2回目の開状態の時の役物入賞口2006に受入れられた遊技球Bが、振分回転体2533の収容部2533aに収容される可能性は高い。
このように、本例では「第二役物当り」及び「第三役物当り」における役物入賞口2006の1回目の開状態において遊技球Bが役物入賞口2006の受入れられる可能性は低いことに加えて、役物入賞口2006の1回目の開状態の時に、役物入賞口2006に受入れられた遊技球Bが、振分回転体2533の収容部2533aに収容される可能性は更に低いにもかかわらず、役物当り遊技状態の実行開始と同時に振分回転体2533を反時計回りに回動して収容部2533aを上方へ向けた収容可能状態とし、所定期間(3020ms)収容部2533aを上方へ向けた後に時計回りに回動して収容部2533aを右方へ向けた収容不能状態としている。即ち、役物当り遊技状態の開始直後には振分回転体2533が遊技球Bをチャンス口2531側に振分ける可能性は低いものの、振分回転体2533が遊技球Bをチャンス口2531側に振分ける動作を実行して振分回転体2533による振分け動作を事前に示すようになっている。
同様に、役物当り遊技状態の開始直後には振分回転体2533が遊技球Bをチャンス口2531側に振分ける可能性は低いものの、役物当り遊技状態の実行開始と同時に第二振分装置2540の振分片2543を前方へ突出して第二スカ口2541を閉鎖することで第一V入賞口2007へ振分可能な状態とし、所定時間(3020ms)経過後に後退して第二スカ口2541が開放することで抽選役物2550へ振分ける状態とするようになっている。即ち、役物当り遊技状態の開始直後には振分片2543が遊技球Bを第一V入賞口2007側に振分ける可能性は低いものの、振分片2543が遊技球Bを第一V入賞口2007側に振分ける動作を実行して振分片2543による振分け動作を事前に示すようになっている。
本例では、振分回転体2533及び振分片2543は役物当り遊技状態の実行開始と同時、即ち役物当り遊技状態開始時の演出(役物当り遊技状態のオープニング演出であって例えば「役物入賞口2006を狙ってね」等の役物当り遊技状態における遊技の説明等が行われる演出)の実行中に動作し、振分回転体2533及び振分片2543の動作後に役物入賞口2006が1回目の開状態となる。これにより、振分回転体2533による遊技球Bのチャンス口2531側への振分けと、振分片2543による遊技球Bの第二スカ口2541側への振分けと、の可能性を低くしている。なお、振分回転体2533による遊技球Bのチャンス口2531側への振分けと、振分片2543による遊技球Bの第二スカ口2541側への振分けと、の可能性がない、若しくは限りなく低いものであれば、振分回転体2533及び振分片2543の動作と同時に役物入賞口2006を1回目の開状態としても良い。
また、振分回転体2533と振分片2543との一方のみを事前に動作させ、他方については事前に動作させないようにしても良い。即ち、役物入賞口2006に入賞した遊技球Bの振分けを行う複数の可動部(振分回転体2533、振分片2543)のうち一部の可動部について事前に動作させて振分け動作を示し、他の可動部については事前に動作させないようにしても良い。例えば、動作することでV入賞口(この例では第一V入賞口2007)へ遊技球Bを進入させる可能性が高い(V入賞期待度が高い)振分片2543については事前に動作させないようにし、振分片2543よりもV入賞口(この例では第二V入賞口2008)へ遊技球Bを進入させる可能性が低い(V入賞期待度が低い)振分回転体2533についてのみ事前に動作させるようにしても良い。これにより、役物入賞口2006に入賞した遊技球Bの振分け先の一部について事前に知ることができるものの、他の振分け先については未知の状態とすることができ、他の振分け先が明らかになったときに振分け先が増えたことにより遊技者を驚かせて期待感を高めさせることができると共に、振分けられる遊技球Bに注目させてその動きを楽しませることができ、遊技興趣の低下を抑制することができる。
また、V入賞期待度の高い可動部(振分片2543)については事前に動作させないことでその存在を隠蔽して、抽選役物2550へ遊技球Bが進入すると遊技者に思い込ませることで「第三役物当り」が実行されたときにV入賞期待度の高い可動部(振分片2543)が動作して遊技球BをV入賞口(この例では第一V入賞口2007)に進入させることで意外性を与えると共に、予想もしていなかった振分け先に遊技球Bが進入することで遊技興趣を向上させることができる。また、振分け先として第一V入賞口2007側への振分けが隠蔽され、第一スカ口2532側と抽選役物2550側との2つだけと思い込ませることができ、「第三役物当り」よりもV入賞期待度が低い「第二役物当り」が実行されて抽選役物2550側に遊技球Bが振分けられても遊技者を落胆させない。
また、本例では振分回転体2533については遊技者が容易に視認できる態様で配置するのに対し、振分片2543については遊技盤5の前後に進退する平板状とされて前面側の面積が狭いため、動作していてもその動作を気付かれ難い。ひいては、振分片2543が前方に突出することで進入可能となる第一V入賞口2007側の通路について遊技者に気付かれ難い。そのため、「第三役物当り」となった場合に振分片2543が動作して第一V入賞口2007に遊技球Bが進入した時の遊技球Bの挙動に気付かれ難くなり、遊技球Bが第一V入賞口2007に進入したことに気付かせることなく、突然V入賞が発生して15R大当りが実行されたかのような感覚を遊技者に与えることができる。
また、役物当り遊技状態のオープニング演出中に振分回転体2533が事前に動作させることで、オープニング演出における指示内容、例えば「役物入賞口2006を狙ってね」に加えて振分回転体2533の動作によっても打込み先、即ち役物当り遊技状態中に狙うべき位置を遊技者に容易に認識させることができる。
上記のように「役物当り」が抽選されることで、役物入賞口2006が開状態となった時に、第一案内通路2521を流下してきた遊技球Bが、役物入賞口2006に受入れられると、役物入賞口センサ2501により検知された後に、第一振分装置2530へ送られる。役物入賞口センサ2501により遊技球Bが検知されると、持ち球数を所定個数加算する等の特典が付与される。
「役物当り」のうち、「第二役物当り」では、役物入賞口2006が2回目の開状態の時に、第二振分装置2540の振分片2543が開状態であるため、振分回転体2533が収容可能状態から収容不能状態に回動すると、収容部2533aに収容されている遊技球Bが、チャンス口2531を通って第二振分装置2540側へ流下し、第二スカ口2541から抽選案内通路2545を流通して抽選役物入球センサ2546により検知された上で、抽選役物2550へ送られることとなる。
抽選役物2550では、非ループ位置の振分橋2557がループ位置の状態となる。例えば、第二振分装置2540における振分片2543の後退による第二スカ口2541の開放に応じて、振分橋2557をループ位置の状態にする。そして、第二振分装置2540から抽選役物2550に送られた遊技球Bは、誘導路2551を左方へ転動し、ループ位置の振分橋2557を通って打撃部2553に送られる。そして、打撃部2553に送られた遊技球Bは、高速回転している打撃片2560の打撃により、テーブル2555の中央後端に設けられている揺動樋2554に供給され、揺動樋2554からテーブル2555上へ放出されることとなる。
テーブル2555上に放出された遊技球Bは、その傾斜により前方へ向かって転動し、テーブル2555の中央前端に設けられている第二V入賞口2008に受入れられるか、テーブル2555の前端辺から前方(誘導路2551)へ放出されるか、の何れかの動きをする。テーブル2555の前端辺から前方へ遊技球Bが放出された時に、振分橋2557がまだループ位置の状態であれば、当該遊技球Bが振分橋2557を通って打撃部2553へ供給されることとなる。従って、振分橋2557がループ位置の状態では、遊技球Bが第二V入賞口2008に受入れられるまで、当該遊技球Bが、打撃部2553、揺動樋2554、テーブル2555、及び誘導路2551の順に巡回するようにループする。
そして、第二V入賞口2008への遊技球Bの受入れ、又は、所定時間の経過により振分橋2557が非ループ位置の状態となることで開放されるハズレ口2009への遊技球Bの受入れ、の何れかにより抽選役物2550でのV入賞にかかる抽選が終了する。
第二V入賞口2008に受入れられた遊技球Bは、第二V入賞口センサ2503により検知された上で、裏ユニット3000の裏球誘導ユニット3100を介して下方の循環球経路ユニット500のセーフ球受口500bに排出される。一方、ハズレ口2009に受入れられた遊技球Bは、ハズレ口センサ2504により検知された上で、裏ユニット3000の裏球誘導ユニット3100を介して下方の循環球経路ユニット500のセーフ球受口500bに排出される。第二V入賞口センサ2503により遊技球Bが検知されると、大入賞口2005が所定のパターンで開閉する特典が付与される。
ところで、「第三役物当り」では、役物入賞口2006が2回目の開状態の時に、第二振分装置2540の振分片2543が閉状態であるため、振分回転体2533が収容可能状態から収容不能状態に回動すると、収容部2533aに収容されている遊技球Bが、チャンス口2531を通って第二振分装置2540の閉状態の振分片2543の上面に当接して右方へ誘導され、第一V入賞口2007に進入する(受入れられる)こととなる。第一V入賞口2007に進入した遊技球Bは、第一V入賞口センサ2502により検知された後に、裏ユニット3000の裏球誘導ユニット3100を介して下方の循環球経路ユニット500のセーフ球受口500bに排出される。第一V入賞口センサ2502により遊技球Bが検知されると、大入賞口2005が所定のパターンで開閉する特典が付与される。
本実施形態では、大入賞口2005や役物入賞口2006が開閉して遊技者が有利となる有利遊技状態が発生する第一特別図柄や第二特別図柄の特別図柄の抽選において、第一始動口2003が遊技球Bを受入可能に常時開口しているのに対して、第二始動口2004が普通入賞口2002への遊技球Bの受入れにより抽選される普通抽選が「普通当り」の時のみ所定パターンで遊技球Bを受入可能にしている。これにより、第二始動口2004よりも第一始動口2003の方が、遊技球Bが受入れられる可能性が高くなっている。
このようなことから、通常の状態では、遊技者に対して、第一始動口2003に遊技球Bが受入れられるように、センター役物2500の左側を遊技球Bが流下するように、遊技球Bの打込操作を行わせることができ、複数の障害釘により案内される遊技球Bの動きを見せて、遊技球Bによるパチンコ機1本来の遊技を楽しませることができると共に、第一始動口2003への遊技球Bの受入れに対する期待感を高めさせることができる。
そして、第一始動口2003へ遊技球Bが受入れられることで、第一特別図柄の抽選結果として「当り」(例えば、「小当り」、「中当り」、「大当り」、「役物当り」、等)が抽選されると、大入賞口2005又は役物入賞口2006が所定のパターンで開閉するため、大入賞口2005又は役物入賞口2006に遊技球Bが受入れられるように、センター役物2500の右側を狙った遊技球Bの打込操作(所謂、「右打ち」)を楽しませることができる共に、大入賞口2005又は役物入賞口2006への遊技球Bの受入れに対する期待感を高めさせることができる。
センター役物2500の右側へ遊技球Bを打込む際に、センター役物2500の右側には、第一案内通路2521と第二案内通路2522とからなる案内通路群2520が設けられており、多様な流路を有しているため、所望の流路を遊技球Bが流通するように、遊技球Bの打込強さを調整させることができ、遊技者に対して遊技球Bの打込操作を楽しませることができる。
また、センター役物2500の右側には、普通入賞口2002が設けられており、普通入賞口2002に遊技球Bが受入れられることで第二始動口2004が受入可能となる普通抽選の抽選が行われるため、右側に打込んだ遊技球Bが普通入賞口2002を通過するか否かによって遊技者を楽しませることができると共に、第二始動口2004が受入可能となった時に、第二始動口2004に遊技球Bが受入れられるか否かによっても遊技者を楽しませることができる。この際に、普通入賞口2002が、案内通路群2520における第一案内通路2521の出口の直下に設けられているため、第一案内通路2521を狙った遊技球Bの打込操作を楽しませることができる。
更に、役物入賞口2006では、受入れられて第一振分装置2530により選別された一つの遊技球Bが、第二振分装置2540において第一V入賞口2007又は第二スカ口2541の何れかに振分けられるため、当該遊技球Bが第一V入賞口2007へ振分けられるか否かによって遊技者をハラハラ・ドキドキさせることができる。そして、第二振分装置2540において遊技球Bが第二スカ口2541へ振分けられてしまっても、当該遊技球Bが、センター役物2500の下部中央において目立つように設けられている抽選役物2550へ供給されるため、抽選役物2550において第二V入賞口2008への遊技球Bの受入れに対する期待感を抱かせることができる。その後、抽選役物2550のテーブル2555を転動している遊技球Bが、第二V入賞口2008に受入れられるか否かによって遊技者を再びドキドキ・ワクワクさせることができ、遊技者を楽しませて興趣の低下を抑制させることができる。
そして、遊技球Bが、第一V入賞口2007又は第二V入賞口2008に受入れられた場合、或いは、第一始動口2003及び第二始動口2004への遊技球Bの受入れにより第一特別図柄及び第二特別図柄として「大当り」が抽選された場合、アタッカユニット2400の大入賞口2005が所定のパターンで開閉することで多くの遊技球Bが持ち球数に加算される機会が到来するため、開閉している大入賞口2005に遊技球Bが受入れられるように、センター役物2500の右側を狙った遊技球Bの打込操作を行わせることができ、遊技者を楽しませて興趣の低下を抑制させることができる。
[8-10.裏ユニットの全体構成]
次に、遊技盤5における裏ユニット3000の全体構成について、主に図54及び図55等を参照して詳細に説明する。裏ユニット3000は、遊技盤5(パチンコ機1)に作用する振動を検知する振動センサ1040(図65を参照)と、一般入賞口2001に受入れられて遊技パネル1100の後方に誘導された遊技球Bを検知する一般入賞口センサ3001と、普通入賞口2002に受入れられて遊技パネル1100の後方に誘導された遊技球Bを検知する普通入賞口センサ3002、を備えている。一般入賞口センサ3001及び普通入賞口センサ3002は、裏球誘導ユニット3100に設けられている。
裏ユニット3000は、遊技パネル1100におけるパネルホルダ1120の後面に取付けられ前方が開放されている箱状で後壁に四角い開口部3010aを有している裏箱3010と、裏箱3010の後壁に左右方向へスライド可能に設けられており演出表示装置1600を着脱させるためのロックスライダ3020と、裏箱3010の後壁にヒンジ回転可能に取付けられている裏基板ユニット3040と、を備えている。
裏基板ユニット3040は、正面視の形状がL字型で前後に薄い箱状の基板ボックス3041と、基板ボックス3041内に収容されているパネル中継基板及び演出駆動基板(図示は省略)と、を備えている。基板ボックス3041は、L字型の上下に延びている部位の外側辺に、裏箱3010の軸支部3010fに回転可能に支持される二つの軸部3041aを有している。また、基板ボックス3041は、L字型の左右に延びている部位の先端に、裏箱3010の係止部3010gに係止される係止爪3041bを有している。
更に、裏ユニット3000は、裏箱3010内の前端付近の下部に設けられており遊技パネル1100の後方へ誘導された遊技球Bが流通する裏球誘導ユニット3100と、裏箱3010内における裏球誘導ユニット3100の後に設けられている裏装飾ユニット3200と、裏箱3010内に前端付近における裏球誘導ユニット3100の左方及び上方に設けられている裏前演出ユニット3300と、裏箱3010内における裏前演出ユニット3300の後ろに設けられている裏後演出ユニット3400と、を備えている。
裏球誘導ユニット3100は、裏装飾ユニット3200の前面に取付けられている。裏装飾ユニット3200は、取付サポータ(図示は省略)を介して裏箱3010の後壁の前面に取付けられている。裏前演出ユニット3300は、左端側が裏箱3010の前端付近に取付けられていると共に、右端側が裏後演出ユニット3400の右端側の前面に取付けられている。裏後演出ユニット3400は、上部が取付サポータ(図示は省略)を介して裏箱3010の後壁の前面に取付けられていると共に、下部が裏装飾ユニット3200に取付けられている。
裏ユニット3000における裏装飾ユニット3200、裏前演出ユニット3300、及び裏後演出ユニット3400は、遊技の進行に応じで、所定の可動演出や発光演出を遊技者に見せることができるものである。
[8-10a.裏箱]
次に、裏ユニット3000における裏箱3010について、主に図54及び図55等を参照して詳細に説明する。裏箱3010は、遊技パネル1100(パネルホルダ1120)の後側に取付けられるものであり、箱状の内部に演出ユニットが取付けられると共に、後面に演出表示装置1600や裏基板ユニット3040が取付けられるものである。裏箱3010は、透明に形成されている。これにより、遊技盤5に組立てた状態でも外側から内部を視認することができる。
裏箱3010は、前方が開放されている箱状で後壁に四角く貫通している開口部3010aと、開口部3010aの下辺に設けられており演出表示装置1600が載置される載置面部3010bと、開口部3010aの上辺において枠内の内側から上方へ向かって窪んでいる二つの固定溝3010cと、載置面部3010bの左右方向中央付近の下側に設けられておりロックスライダ3020が左右へスライド可能に取付けられるロック機構部3010dと、を備えている。
裏箱3010の開口部3010aは、正面視において縦横の比が、3:4の四角形に形成されている。開口部3010aは、左右方向が、裏箱3010の後壁の左右方向と略同じ大きさに形成されている。また、開口部3010aは、上下方向が、裏箱3010の上下方向の中心に対して上方にオフセット(偏芯)した位置に設けられている。開口部3010aは、液晶スペーサ1610(19インチの液晶表示装置)と同じ大きさに形成されている。
裏箱3010の二つの固定溝3010cには、下方から演出表示装置1600が取付けられる液晶スペーサ1610の上固定片1611が挿入される。また、裏箱3010のロック機構部3010dには、ロックスライダ3020を背面視において左方へスライドさせた状態で、演出表示装置1600が取付けられる液晶スペーサ1610の下固定片1612を後方から挿入させることができる。ロック機構部3010dに液晶スペーサ1610の下固定片1612を挿入させた状態で、ロックスライダ3020を背面視において右方へスライドさせると、ロックスライダ3020により下固定片1612の後方への移動を阻止して液晶スペーサ1610(演出表示装置1600)を取付けることができる。
また、裏箱3010は、前端から外方へ延出している平板状の固定片部3010eを備えている。この固定片部3010eは、前面が遊技パネル1100の後面に当接した状態で、遊技パネル1100に取付けられる。
更に、裏箱3010は、後面に裏基板ユニット3040の軸部3041aを上下方向に延びた軸周りに対して回転可能に支持することが可能な一対の軸支部3010fと、一対の軸支部3010fとは左右方向の反対側の後面に設けられており裏基板ユニット3040の係止爪3041bが係止される係止部3010gと、を備えている。
裏箱3010は、一対の軸支部3010fと係止部3010gとにより、開口部3010a(液晶スペーサ1610や演出表示装置1600)を跨いで裏基板ユニット3040を後側に取付けることができる。遊技盤5に組立てた時に、裏基板ユニット3040におけるL字型の上下に延びている部位が、背面視において周辺制御ユニット1500の左方に位置している。また、裏基板ユニット3040におけるL字型の左右に延びている部位は、周辺制御ユニット1500の下方に位置している。
裏箱3010は、遊技盤5に組立てた状態で、係止部3010gに係止されている裏基板ユニット3040の係止爪3041bを解除して、軸部3041aを中心として係止爪3041bが後方へ移動するように回動させることで、裏箱3010に取付けられている液晶スペーサ1610の後方を開放させることができ、裏箱3010から裏基板ユニット3040を取外すことなく、液晶スペーサ1610つまり演出表示装置1600を着脱させることができる。
また、裏箱3010は、固定片部3010eを除いた前後方向を向いている面に設けられており上下又は左右に並んでいる二つの貫通孔を一組とした複数の機能孔部と、パチンコ機1(遊技盤5)の組立て等の際に用いることが可能な前後方向を向いている機能面部と、を有している。機能孔部の二つの貫通孔は、同じ直径である。機能孔部は、演出ユニットを直接、又は、取付サポータを介して、裏箱3010に取付けるためのものである。
[8-10b.裏球誘導ユニット]
続いて、裏ユニット3000における裏球誘導ユニット3100について、主に図54等を参照して説明する。裏球誘導ユニット3100は、裏箱3010内における前端付近の下部に設けられており、裏装飾ユニット3200を介して裏箱3010に取付けられている。裏球誘導ユニット3100は、一般入賞口2001に受入れられた遊技球Bを検知する一般入賞口センサ3001と、普通入賞口2002に受入れられた遊技球Bを検知する普通入賞口センサ3002と、遊技領域5a内に作用する不正な磁気を検知可能な複数の磁気センサ1030と、を備えている。
裏球誘導ユニット3100は、表ユニット2000における一般入賞口2001、普通入賞口2002、第一始動口2003、第二始動口2004、大入賞口2005、第一V入賞口2007、第二V入賞口2008、ハズレ口2009、及び第一スカ口2532、に受入れられた遊技球Bを遊技パネル1100の後方において受け取って、左右方向の中央付近へ誘導した後に、下方の循環球経路ユニット500のセーフ球受口500bへ排出することができるものである。また、裏球誘導ユニット3100は、表ユニット2000におけるアウト口2020、及びサブアウト口2021、に受入れられた遊技球Bを遊技パネル1100の後方において受け取って、左右方向の中央付近へ誘導した後に、下方の循環球経路ユニット500のアウト球受口500aへ排出することができるものである。
[8-10c.裏装飾ユニット]
次に、裏ユニット3000における裏装飾ユニット3200について、主に図54及び図55等を参照して説明する。裏装飾ユニット3200は、裏箱3010内における裏球誘導ユニット3100の後に設けられており、取付サポータを介して裏箱3010の後壁の前面に取付けられている。裏装飾ユニット3200には、振動センサ1040が取付けられている。この裏装飾ユニット3200の前面には、裏球誘導ユニット3100が取付けられる。
裏装飾ユニット3200は、遊技盤5に組立てた状態で、センター役物2500における抽選役物2550の左右両外側の後部を装飾する裏下左装飾体3210及び裏下右装飾体3220と、裏下左装飾体3210及び裏下右装飾体3220を夫々発光装飾させるための複数のLEDが実装されている裏下左装飾基板及び裏下右装飾基板(図示は省略)と、を備えている。
裏下左装飾体3210及び裏下右装飾体3220は、透光性を有しており、夫々の上面に、ミニチュア状に町を模した複数の凹凸が形成されている。裏下左装飾基板及び裏下右装飾基板は、裏下左装飾体3210及び裏下右装飾体3220の夫々の下方に設けられており、上面に複数のLED(フルカラーLED)が実装されている。裏下左装飾基板や裏下右装飾基板に実装されているLEDを適宜発光させることで、裏下左装飾体3210や裏下右装飾体3220を発光装飾させることができる。
[8-10d.裏前演出ユニット]
続いて、裏ユニット3000における裏前演出ユニット3300について、主に図50乃至図52、及び図54等を参照して説明する。裏前演出ユニット3300は、裏箱3010内の前端付近における裏球誘導ユニット3100の左方及び上方に設けられており、左端側が裏箱3010の前端付近に取付けられていると共に、右端側が裏後演出ユニット3400の右端側に取付けられている。
裏前演出ユニット3300は、左端側に設けられており上下に長い平板状の裏前左装飾体3301と、裏前左装飾体3301の右方において昇降可能に設けられている裏前昇降装飾体ユニット3310と、裏前昇降装飾体ユニット3310を昇降させるための裏前昇降機構3350と、を備えている。
裏前演出ユニット3300の裏前左装飾体3301は、上下方向中央から下寄りの位置に設けられている磁気センサ1030が設けられている。裏前左装飾体3301は、裏箱3010内の全高と略同じ長さで上下に延びており、透光性を有している。裏前左装飾体3301の後には、前面に複数のLEDが実装されている裏前左装飾基板(図示は省略)が設けられている。この裏前左装飾基板のLEDを適宜発光させることで、裏前左装飾体を発光装飾させることができる。
裏前昇降装飾体ユニット3310は、左右方向に長く形成されている。裏前昇降装飾体ユニット3310は、左右に長い透明平板状の裏前昇降ベース3311と、裏前昇降ベース3311の前面中央に取付けられており演出カウント表示部3005を有する裏前中央装飾体3320と、裏前昇降ベース3311の前面における裏前中央装飾体3320の左方に取付けられている裏前中左装飾体3330と、裏前昇降ベース3311の前面における裏前中央装飾体3320の右方に取付けられている裏前中右装飾体3340と、を備えている。
裏前中央装飾体3320は、立体的な所定形状に形成されている裏前中央装飾部3321と、裏前中央装飾部3321の後に設けられており複数のLEDが実装されている裏前中央装飾基板(図示は省略)と、裏前中央装飾基板及び裏前中央装飾部3321を後方から支持しており裏前昇降ベース3311に取付けられる裏前中央ベース3323と、を有している。裏前中央装飾部3321は、松の図柄を立体的に模した部位を有しており、当該部位に四つの7セグメント表示からなる演出カウント表示部3005が設けられている。演出カウント表示部3005は、裏前中央装飾基板に実装されている複数のLEDのうちの一部を使用している。
裏前中左装飾体3330は、所定のキャラクタの頭部を模したレリーフ状に形成されており透光性を有している裏前中左装飾部3331と、裏前中左装飾部3331の後に設けられており複数のLEDが実装されている裏前中左装飾基板(図示は省略)と、裏前中左装飾基板及び裏前中左装飾部3331を後方から支持しており裏前昇降ベース3311に取付けられる裏前中左ベース3333と、を有している。裏前中左装飾体3330は、裏前中左装飾基板のLEDを適宜発光させることで、裏前中左装飾部3331を発光装飾させることができる。
裏前中右装飾体3340は、所定のキャラクタの頭部を模したレリーフ状に形成されており透光性を有している裏前中右装飾部3341と、裏前中右装飾部3341の後に設けられており複数のLEDが実装されている裏前中右装飾基板(図示は省略)と、裏前中右装飾基板及び裏前中右装飾部3341を後方から支持しており裏前昇降ベース3311に取付けられる裏前中右ベース3343と、を有している。裏前中右装飾体3340は、裏前中右装飾基板のLEDを適宜発光させることで、裏前中右装飾部3341を発光装飾させることができる。
裏前昇降機構3350は、裏前左装飾体3301の後に設けられており裏前昇降装飾体ユニット3310の左端側を昇降可能に支持している裏前左昇降レール(図示は省略)と、裏前昇降装飾体ユニット3310の右端側を昇降可能に支持している裏前右昇降レール3352と、裏前左装飾体3301の後に設けられており裏前昇降装飾体ユニット3310を昇降させるための裏前昇降駆動部(図示は省略)と、を備えている。また、裏前昇降機構3350は、図示は省略するが、裏前昇降装飾体ユニット3310を上昇している待機位置の状態から落下させるための落下ソレノイドと、裏前昇降装飾体ユニット3310を下方へ落下した演出位置から上方の待機位置へ上昇させる裏前昇降駆動モータと、を有している。
裏前演出ユニット3300の裏前昇降装飾体ユニット3310は、遊技盤5に組立てた状態で、センター役物2500の枠内を通して前方から視認可能に設けられている。裏前演出ユニット3300は、通常の状態では、裏前昇降装飾体ユニット3310が上方の移動端である待機位置に位置しており、ロック爪の係止により下方への落下が阻止されている。裏前昇降装飾体ユニット3310は、通常の状態では、図50等に示すように、演出表示装置1600の表示画面の上端付近に位置している。
また、裏前演出ユニット3300の裏前昇降装飾体ユニット3310は、通常の状態である待機位置の状態では、その後方に裏後演出ユニット3400における退避位置の裏後昇降装飾体ユニットが位置しており、裏後昇降装飾体3410を前方から視認不能な状態としている。
裏前演出ユニット3300は、通常の状態から、裏前昇降駆動モータにより昇降スライダを下端側へ移動させることで、裏前昇降装飾体ユニット3310が待機位置から下方の演出位置へ落下可能な状態となる。そして、その状態から、落下ソレノイドによりロック爪による係止を解除すると、裏前昇降装飾体ユニット3310が待機位置へ向かって自由落下する。裏前昇降装飾体ユニット3310が演出位置へ落下した状態では、裏前昇降装飾体ユニット3310が、センター役物2500の抽選役物2550よりも上方で遊技領域5aの上下方向中央に対してやや下寄りに位置している。
裏前昇降装飾体ユニット3310が落下して演出位置の状態になると、後方に設けられている裏後演出ユニット3400の退避位置の裏後昇降装飾体3410が前方から視認可能な状態となる。これにより、遊技者を驚かせることができると共に、遊技者に対して何か良いことがあるのではないかと(チャンスの到来と)思わせることができる。
なお、裏前昇降機構3350の下部には、落下してきた裏前昇降装飾体ユニット3310による衝撃を吸収又は緩和させるためのダンパが設けられている。
演出位置に落下した裏前昇降装飾体ユニット3310は、裏前昇降駆動モータによる昇降スライダの上方への移動により、上方の待機位置へ上昇し、ロック爪が自動で係止されることで待機位置の状態に復帰する。
この裏前演出ユニット3300には、裏前昇降装飾体ユニット3310(裏前中央装飾体3320)に四つの7セグメント表示からなる演出カウント表示部3005を有しているため、演出カウント表示部3005において表示されている数字が減少するカウントダウン表示を実行することで、裏前昇降装飾体ユニット3310が落下するカウントダウン演出を遊技者に見せることができる。なお、カウントダウン演出では、裏前昇降装飾体ユニット3310を落下させずに、裏後昇降装飾体3410を下方の出現位置へ移動させても良いし、裏前昇降装飾体ユニット3310を落下させると共に裏後昇降装飾体3410を下方の出現位置へ移動させるようにしても良い。
[8-10e.裏後演出ユニット]
続いて、裏ユニット3000における裏後演出ユニット3400について、主に図54及び図55等を参照して説明する。裏後演出ユニット3400は、裏箱3010内における裏前演出ユニット3300の後に設けられており、上部が取付サポータを介して裏箱3010の後壁に取付けられていると共に、下部が裏装飾ユニット3200に取付けられている。裏後演出ユニット3400は、左右に長い裏後昇降装飾体3410と、裏後昇降装飾体3410を昇降させるための裏後昇降機構3450と、を備えている。
裏後演出ユニット3400における裏後昇降装飾体3410は、左右に長く透光性を有する裏後昇降装飾部3411と、裏後昇降装飾部3411の後に設けられており複数のLEDが実装されている裏後昇降装飾基板(図示は省略)と、裏後昇降装飾基板及び裏後昇降装飾部を後方から支持しており裏後昇降機構3450により昇降させられる裏後昇降ベース(図示は省略)と、を備えている。裏後昇降装飾部3411は、左右方向の全長に亘って施されており所定のロゴからなるロゴ部3411aと、ロゴ部3411aの上方にレリーフ状に設けられており裏前昇降装飾体ユニット3310とは異なる複数のキャラクタが左右に列設されているキャラクタ部3411bと、を有している。裏後昇降装飾基板のLEDを適宜発光させることで、裏後昇降装飾部3411を発光装飾させることができる。
裏後演出ユニット3400における裏後昇降機構3450は、下方へ開放されたコ字状の裏後ベース3451と、裏後ベース3451の上辺の前面に設けられており透光性を有する平板状の裏後固定装飾部3452と、裏後固定装飾部3452と裏後ベース3451との間に設けられており複数のLEDが実装されている裏後固定装飾基板3453と、を備えている。裏後固定装飾部3452は、左右方向が裏後昇降装飾体3410と略同じ長さに形成されており、前面に所定の絵柄が施されている。裏後固定装飾基板3453のLEDを適宜発光させることで、裏後固定装飾部3452を発光装飾させることができる。
また、裏後昇降機構3450は、図示は省略するが、裏後ベース3451の左辺に設けられており裏後昇降装飾体3410の左端側を昇降可能に支持している裏後左レールと、裏後ベース3451の右辺に設けられており裏後昇降装飾体3410の右端側を昇降可能に支持している裏後右レールと、裏後ベースの左辺側に設けられており裏後昇降装飾体3410を昇降させるための裏後昇降駆動部と、を有している。
裏後昇降駆動部は、裏後昇降駆動モータを有しており、裏後昇降駆動モータの駆動により裏後昇降装飾体3410を上方の移動端である退避位置と、下方の移動端である出現位置と、の間で昇降させることができると共に、退避位置と出現位置との間の任意の位置で裏後昇降装飾体3410を停止させることができる。
裏後演出ユニット3400は、通常の状態では、裏後昇降装飾体3410が上方の移動端である退避位置の状態となっている。この状態では、裏後昇降装飾体3410が裏後昇降機構3450の裏後固定装飾部3452の前方に位置している。従って、裏後固定装飾部3452は、退避位置の裏後昇降装飾体3410によって前方から視認不能に隠された状態となっている。
この裏後演出ユニット3400は、遊技盤5に組立てた状態では、裏前演出ユニット3300の後に設けられているため、通常の状態では、裏後昇降装飾体3410の前方に裏前演出ユニット3300の待機位置の裏前昇降装飾体ユニット3310が位置しており、裏前昇降装飾体ユニット3310により隠されて前方から視認不能な状態となっている。
裏後演出ユニット3400は、通常の状態から、裏後昇降機構3450の裏後昇降駆動モータの駆動により裏後昇降装飾体3410を下方の移動端である出現位置へ移動させると、待機位置の裏前昇降装飾体ユニット3310よりも下方で遊技領域5aの上下方向中央に対してやや上寄りに位置する。これにより、裏後昇降装飾体3410が遊技者側から視認可能な状態となる。
なお、裏後昇降装飾体3410を退避位置から下方へ移動させた状態でも、裏前昇降装飾体ユニット3310が待機位置の状態では、裏後固定装飾部3452の前方に裏前昇降装飾体ユニット3310が位置しているため、裏後固定装飾部3452は前方から視認することはではない。従って、裏後昇降装飾体3410を退避位置から下方(出現位置)へ移動させると共に、裏前昇降装飾体ユニット3310を待機位置から下方の演出位置へ落下させると、初めて、裏後固定装飾部3452が前方から視認可能な状態となる。これにより、裏後固定装飾部3452が見えることに対してプレミアム感を付与することができる。
裏後昇降装飾体3410を下方の出現位置へ移動させた状態で、裏前昇降装飾体ユニット3310を落下させて演出位置の状態にすると、裏後昇降装飾体3410の裏後昇降装飾部3411におけるロゴ部3411aの前方に、裏前昇降装飾体ユニット3310が位置し、ロゴ部3411aが隠された状態となると共に、複数のキャラクタが列設されているキャラクタ部3411bが、裏前昇降装飾体ユニット3310よりも上側から前方へ臨んだ状態となる(図64を参照)。
裏後昇降装飾体3410を出現位置へ移動させた状態で、裏後昇降機構3450の裏後昇降駆動モータを逆転させることで、裏後昇降装飾体3410が上昇し、退避位置へ復帰させることができる。
[8-11.遊技盤による演出]
続いて、遊技盤5による演出について、主に図61乃至図64を参照して詳細に説明する。図61は、通常の状態で示す遊技盤の正面図である。図62は、通常の状態から裏前演出ユニットの裏前昇降装飾体ユニットを待機位置から演出位置へ落下させた状態で示す遊技盤の正面図である。図63は、通常の状態から裏後演出ユニットの裏後昇降装飾体を退避位置から出現位置へ移動させた状態で示す遊技盤の正面図である。図64は、通常の状態から、裏前演出ユニットの裏前昇降装飾体ユニットを待機位置から演出位置へ落下させると共に、裏後演出ユニットの裏後昇降装飾体を退避位置から出現位置へ移動させた状態で示す遊技盤の正面図である。
本実施形態の遊技盤5は、図61等に示すように、主にセンター役物2500の枠内を通して、後方に設けられている裏ユニット3000や演出表示装置1600の表示画面等が視認可能となっている。この遊技盤5は、センター役物2500の枠内を通して、その下辺付近において抽選役物2550とその左右に設けられている裏装飾ユニット3200の裏下左装飾体3210及び裏下右装飾体3220が常時視認可能に設けられていると共に、センター役物2500の枠内における左辺付近に裏前演出ユニット3300の裏前左装飾体3301が常時視認可能に設けられている。
遊技盤5は、通常の状態では、裏ユニット3000における裏前演出ユニット3300の裏前昇降装飾体ユニット3310が上方の移動端である待機位置に移動していると共に、裏後演出ユニット3400の裏後昇降装飾体3410が上方の移動端である退避位置に移動している。待機位置に移動している裏前昇降装飾体ユニット3310は、センター役物2500の枠内における上辺付近において視認可能に前方へ臨んでいる。退避位置に移動している裏後昇降装飾体3410は、裏前昇降装飾体ユニット3310の後で待機位置の裏前昇降装飾体ユニット3310と同じ高さに位置しており、裏前昇降装飾体ユニット3310により隠されて前方から視認不能な状態となっている。
また、通常の状態では、裏後演出ユニット3400の裏後固定装飾部3452の前方に、退避位置の裏後昇降装飾体3410が位置していると共に、更にその前方に、待機位置の裏前昇降装飾体ユニット3310が位置しており、それらによって隠されて前方から視認不能な状態となっている。
この通常の状態では、裏前昇降装飾体ユニット3310が上方の待機位置に移動していため、裏前昇降装飾体ユニット3310(裏前中央装飾体3320)に設けられている演出カウント表示部3005が、演出表示装置1600の表示画面の中央の上方に位置しており、演出表示装置1600に表示されている演出画像を妨げることなく、遊技者側から目立つように見える。
本実施形態の遊技盤5は、裏ユニット3000の裏前演出ユニット3300を使用して図62に示すような演出を実行することができる。この演出は、裏前昇降装飾体ユニット3310が上方の待機位置へ移動している通常の状態で、裏前昇降機構3350において、裏前昇降駆動モータにより昇降スライダを下端側へ移動させた後に、落下ソレノイドによりロック爪による係止を解除し、裏前昇降装飾体ユニット3310を自由落下させて演出位置の状態とする。裏前昇降装飾体ユニット3310が演出位置へ落下した状態では、裏前昇降装飾体ユニット3310が、センター役物2500の抽選役物2550よりも上方で遊技領域5aの上下方向中央に対してやや下寄りに位置しており、演出表示装置1600の表示画面の上下方向中央付近を隠した状態となる。また、裏前昇降装飾体ユニット3310が演出位置へ落下すると、センター役物2500の枠内における上辺付近において、裏後演出ユニット3400の退避位置の裏後昇降装飾体3410が見えるようになる。これにより、裏前昇降装飾体ユニット3310が自由落下してくるため、遊技者を驚かせることができると共に、遊技者に対して何か良いことがあるのではないかと(チャンスの到来と)思わせることができる。
次に、遊技盤5は、裏ユニット3000の裏後演出ユニット3400を使用して図63に示すような演出を実行することができる。この演出は、裏後昇降装飾体3410が上方の退避位置へ移動している通常の状態で、裏後昇降機構3450の裏後昇降駆動モータにより裏後昇降装飾体3410を下方の移動端へ移動させて出現位置の状態とする。これにより、裏前昇降装飾体ユニット3310によって視認不能となっていた裏後昇降装飾体3410が視認可能となるため、遊技者を驚かせることができ、チャンスが到来したと思わせて遊技に対する期待感を高めさせることができる。また、裏後昇降装飾体3410が出現位置へ移動すると、演出表示装置1600の表示画面の上下方向の略中央に位置するため、裏後昇降装飾体3410によって表示画面を上下に分割することができ、演出画像が物理的に上下に分割される演出を遊技者に見せることができる。
また、裏後演出ユニット3400を使用した演出として、裏後昇降装飾体3410が裏後昇降駆動モータにより退避位置と出現位置との間であれば任意の高さに移動させることができるため、予告演出として、裏後昇降装飾体3410を退避位置から僅かに下方へ移動させたり上下に振動させたりしても良い。
続いて、遊技盤5は、裏ユニット3000の裏前演出ユニット3300と裏後演出ユッニト3400の両方を使用して図64に示すような演出を実行することができる。この演出では、裏前昇降装飾体ユニット3310を待機位置から落下させて演出位置の状態とすると共に、裏後昇降装飾体3410を退避位置から下方へ移動させて出現位置の状態とする。これにより、裏前昇降装飾体ユニット3310と裏後昇降装飾体3410とにより演出表示装置1600の表示画面を覆ったような状態となるため、遊技者に対して強いインパクトを与えることができると共に、これまで視認できなかった表示画面の上方に設けられている裏後固定装飾部3452が視認可能となるため、遊技者に対してプレミアム感を付与することができ、遊技者が有利となる有利遊技状態(例えば、大当り遊技)の発生に対する期待感を高めさせることができる。
この演出では、裏前昇降装飾体ユニット3310と裏後昇降装飾体3410とを同時に下方へ移動させても良いし、裏前昇降装飾体ユニット3310を先に落下させてから裏後昇降装飾体3410を下方へ移動させても良いし、裏後昇降装飾体3410を先に下方へ移動させてから裏前昇降装飾体ユニット3310を落下させても良い。
また、遊技盤5は、裏ユニット3000に前方から常時視認可能に設けられている演出カウント表示部3005を有しているため、当該演出カウント表示部3005を使用した演出を実行することができる。例えば、演出カウント表示部3005に表示される数字を刻々と減少させるカウントダウン表示により、裏前昇降装飾体ユニット3310が落下したり、裏後昇降装飾体3410が下方へ移動したり、するタイミングをカウントダウンさせるようにしても良い。或いは、例えば、抽選役物入球センサ2546による遊技球Bの検知により抽選役物2550において遊技球Bがループ不能となるまでをカウントダウンさせるようにしても良い。
また、演出カウント表示部3005において、第一始動口2003や第二始動口2004への遊技球Bの受入れにより抽選された特別図柄に対する期待度を数字として表示(示唆)させるようにしても良い。或いは、演出カウント表示部3005では、四つの7セグメント表示を有していることから、各セグメントの発光の組合せにより演出図柄を構成するようにして、当該演出図柄を変動表示させた後、停止表示させて、停止表示された演出図柄により期待度を示唆させるようにしても良い。
[9.制御構成]
次に、パチンコ機1の各種制御を行う制御構成について、図38及び図65等を参照して説明する。図65は、パチンコ機の制御構成を概略で示すブロック図である。なお、図65では、枠制御基板640に接続されているセンサ、ソレノイド、モータ、LED、等の電子部品の一部を省略して示している。
パチンコ機1の主な制御構成は、図示するように、遊技盤5に取付けられる主制御基板1310及び周辺制御基板1510と、本体枠4に取付けられる枠制御基板640と、から構成されており、夫々の制御が分担されている。主制御基板1310は、遊技動作(遊技の進行)を制御する。周辺制御基板1510は、主制御基板1310からのコマンドに基づいて遊技中の各種演出を制御する周辺制御部1511と、周辺制御部1511からのコマンドに基づいて演出表示装置1600での演出画像の表示を制御する演出表示制御部1512と、を備えている。
[9-1.主制御基板]
遊技の進行を制御する主制御基板1310は、詳細な図示は省略するが、各種処理プログラムや各種コマンドを記憶するROMや一時的にデータを記憶するRAM等が内蔵されるマイクロプロセッサである主制御MPUと、入出力デバイス(I/Oデバイス)としての主制御I/Oポートと、各種検出スイッチからの検出信号が入力される主制御入力回路と、各種ソレノイドを駆動するための主制御ソレノイド駆動回路と、主制御MPUに内蔵されているRAMに記憶された情報を完全に消去するためのRAMクリアスイッチと、設定値の表示やエラー表示を行うための設定表示器、遊技盤5に区画形成される遊技領域5aに設けられるアウト口2020及びサブアウト口2021により回収された遊技球Bの球数を表示するためのベースモニタと、を備えている。主制御MPUは、その内蔵されたROMやRAMのほかに、その動作(システム)を監視するウォッチドックタイマや不正を防止するための機能等も内蔵されている。
主制御MPUには、その内蔵されているRAM(以下、「主制御内蔵RAM」と記載する。)や、その内蔵されているROM(以下、「主制御内蔵ROM」と記載する。)のほかに、その動作(システム)を監視するウォッチドックタイマ(以下、「主制御内蔵WDT」と記載する。)や不正を防止するための機能等も内蔵されている。
また、主制御MPUは、不揮発性のRAMが内蔵されている。この不揮発性のRAMには、主制御MPUを製造したメーカーによって個体を識別するためのユニークな符号(世界で1つしか存在しない符号)が付された固有のIDコードが予め記憶されている。この一度付されたIDコードは、不揮発性のRAMに記憶されるため、外部装置を用いても書き換えることができない。主制御MPUは、不揮発性のRAMからIDコードを取り出して参照することができるようになっている。
また、主制御MPUは、電気的なノイズの影響を受けると、ハードウェアによって強制的にリセットがかかる回路も内蔵されている(以下、「内蔵リセット回路」と記載する)。内蔵リセット回路は、主制御MPUの所定のレジスタの内容を監視して、つじつまの合わない内容にレジスタが変化した場合に、電気的なノイズの影響を受けたとして、主制御MPUを強制的にリセットする回路である。このような内蔵リセット回路による強制リセットは、ユーザプログラムによって制御して無効化することができない仕組みとなっている。このため、主制御MPUは、内蔵リセット回路による強制リセットがかかると、後述する主制御側電源断時処理を実行することなく、リセットがかかり、再び、後述する主制御側電源投入時処理を実行することとなる。この場合、主制御側電源断時処理が実行されていないため、後述するように、必ず主制御内蔵RAMのチェックサム(サム値)エラーとなるため、主制御内蔵RAMの内容が完全に消去(クリア)されることとなる。なお、主制御MPUが内蔵リセット回路により強制リセットがかかったとしても、主制御MPUの内蔵リセット回路から枠制御基板640に対してリセット信号を出力することがないため、主制御基板1310(主制御MPU)のみが再起動することとなり、枠制御基板640は起動した状態が維持されている。
また、主制御MPUは、遊技に関する各種乱数のうち、大当り遊技状態を発生させるか否かの決定に用いるための大当り判定用乱数をハードウェアにより更新するハード乱数回路(以下、「主制御内蔵ハード乱数回路」と記載する。)が内蔵されている。この主制御内蔵ハード乱数回路は、予め定めた数値範囲(本実施形態では、最小値として値0~最大値として値65535という数値範囲が予め設定されている。)内において乱数を生成し、初期値として予め定めた値が固定されず(つまり、初期値が固定されず)、主制御MPUがリセットされるごとに異なる値がセットされるように回路構成されている。具体的には、主制御内蔵ハード乱数回路は、主制御MPUがリセットされると、まず、予め定めた数値範囲内における一の値を初期値として、主制御MPUに入力されるクロック信号(主制御MPUと別体に設けた図示しない水晶発振器から出力されるクロック信号)に基づいて高速に予め定めた数値範囲内における他の値を重複することなく次々に抽出し、予め定めた数値範囲内におけるすべての値を抽出し終えると、再び、予め定めた数値範囲内における一の値を抽出して、主制御MPUに入力されるクロック信号に基づいて高速に予め定めた数値範囲内における他の値を重複することなく次々に抽出する。このような高速な抽選を主制御内蔵ハード乱数回路が繰返し行い、主制御MPUは、主制御内蔵ハード乱数回路から値を取得する時点における主制御内蔵ハード乱数回路が抽出した値を大当り判定用乱数としてセットするようになっている。
主制御入力回路は、その各種入力端子に各種センサからの検出信号がそれぞれ入力された情報を強制的にリセットするためのリセット端子が設けられず、リセット機能を有していない。このため、主制御入力回路は、図示しない主制御システムリセットからのシステムリセット信号が入力されない回路として構成されている。つまり、主制御入力回路は、その各種入力端子に入力されている各種センサからの検出信号に基づく情報が主制御システムリセットによりリセットされないことによって、その情報に基づく各種信号がその各種出力端子から出力される回路として構成されている。
主制御基板1310の主制御MPUは、第一始動口2003に受入れられた遊技球Bを検出する第一始動口センサ2101、第二始動口2004に受入れられた遊技球Bを検出する第二始動口センサ2401、一般入賞口2001に受入れられた遊技球Bを検出する一般入賞口センサ3001、普通入賞口2002に受入れられた遊技球Bを検知する普通入賞口センサ3002、大入賞口2005に受入れられた遊技球Bを検知する大入賞口センサ2402、役物入賞口2006に受入れられた遊技球Bを検知する役物入賞口センサ2501、第一V入賞口2007に受入れられた遊技球Bを検知する第一V入賞口センサ2502、第二V入賞口2008に受入れられた遊技球Bを検知する第二V入賞口センサ2503、ハズレ口2009に受入れられた遊技球Bを検知するハズレ口センサ2504、遊技盤5から排出された遊技球Bを検知するアウト球センサ505、セーフ球センサ506、遊技領域5a内における不正な磁気を検知する磁気センサ1030、及び遊技盤5に作用する振動を検知する振動センサ1040、等からの検出信号は、主制御入力回路を介して主制御MPUの所定の入力ポートの入力端子に、入力されている。
また、扉開放スイッチ407からの検出信号と枠開放スイッチ408からの検出信号とは、枠制御基板640を介して、主制御基板1310へそれぞれ入力されると、主制御入力回路を介して、主制御MPUの所定の入力ポートの入力端子にそれぞれ入力されている。
なお、アウト球センサ505、第一始動口センサ2101、及び第二始動口センサ2401からのそれぞれの検出信号は、他の基板を介すことなく、つまり直接、主制御基板1310に入力され、主制御入力回路を介して主制御MPUの所定の入力ポートの入力端子に入力されている。これに対して、一般入賞口センサ3001、普通入賞口センサ3002、大入賞口センサ2402、役物入賞口センサ2501、第一V入賞口センサ2502、第二V入賞口センサ2503、ハズレ口センサ2504、磁気センサ1030、及び振動センサ1040からのそれぞれの検出信号は、パネル中継基板を介して、つまり間接的に、主制御基板1310に入力され、主制御入力回路を介して主制御MPUの所定の入力ポートの入力端子に入力されている。
主制御MPUは、これらの検出信号に基づいて、その所定の出力ポートの出力端子から主制御ソレノイド駆動回路に制御信号を出力することにより、主制御ソレノイド駆動回路から始動口ソレノイド2412、アタッカソレノイド2414、役物入賞口ソレノイド2516、第一振分ソレノイド2534、第二振分ソレノイド2544、抽選ループソレノイド2558、打撃片駆動モータ2561、樋揺動駆動モータ2564、揺動片ソレノイド2565、へそれぞれの駆動信号を、パネル中継基板を介して、つまり間接的に、出力したり、その所定の出力ポートの出力端子から機能表示ユニット1400の状態表示器、普通図柄表示器、普通保留表示器、第一特別図柄表示器、第一特別保留数表示器、第二特別図柄表示器、第二特別保留数表示器、ラウンド表示器、へそれぞれの駆動信号を、他の基板を介すことなく、つまり直接、出力したり、する。また、主制御MPUは、これらの検出信号に基づいて、その所定の出力ポートの出力端子から駆動信号を出力することにより、設定変更基板の設定変更許可ランプへ駆動信号を出力する。
また、主制御MPUは、その所定の出力ポートの出力端子から遊技に関する各種情報(遊技情報)を出力することにより、枠制御基板640に対して遊技に関する各種情報(遊技情報)を出力したり、その所定の出力ポートの出力端子から信号(停電クリア信号)を出力することにより、停電監視回路に対して信号(停電クリア信号)を出力したり、その所定の出力ポートの出力端子から遊技球Bの発射を許可する旨を伝える発射許可信号を出力することにより、枠制御基板640に対して遊技球Bの発射を許可する旨を伝える発射許可信号を出力したりする。この発射を許可する旨を伝える発射許可信号の論理は、発射を許可するときには発射許可論理に設定される一方、発射を許可しないときには発射許可論理を反転させた発射停止論理(発射非許可論理)に設定される。なお、発射許可信号の論理は、初期値(デフォルト)として、パチンコ機1が電源投入されてから(復電してから)後述する主制御側タイマ割り込み処理における発射許可信号設定処理が開始されるまでに亘って、発射許可論理を反転させた発射停止論理(発射非許可論理)に設定されるようにリセット機能付き主制御出力回路を含むハードウェアにより構成されている。
なお、本実施形態において、第一始動口センサ2101、第二始動口センサ2401、普通入賞口センサ3002、大入賞口センサ2402、役物入賞口センサ2501、第一V入賞口センサ2502、第二V入賞口センサ2503、ハズレ口センサ2504、アウト球センサ505、セーフ球センサ506、ファール球センサ507には、非接触タイプの電磁式の近接スイッチを用いているのに対して、一般入賞口センサ3001には、接触タイプのON/OFF動作式のメカニカルスイッチを用いている。これは、遊技球Bが、第一始動口2003や第二始動口2004、普通入賞口2002には頻繁に入球するため、第一始動口センサ2101、第二始動口センサ2401、及び普通入賞口センサ3002による遊技球Bの検出も頻繁に発生する。このため、第一始動口センサ2101、第二始動口センサ2401、及び普通入賞口センサ3002には、耐久性が高く寿命の長い近接スイッチを用いている。
また、遊技者にとって有利となる有利遊技状態(「大当り」遊技、等)が発生すると、大入賞口2005や役物入賞口2006が開放されて遊技球Bが頻繁に入球するため、大入賞口センサ2402や役物入賞口センサ2501による遊技球Bの検出も頻繁に発生する。このため、大入賞口センサ2402や役物入賞口センサ2501にも、耐久性が高く寿命の長い近接スイッチを用いている。また、遊技領域5aに発射された遊技球Bは、遊技盤5に区画形成される遊技領域5aに設けられるアウト口2020やサブアウト口2021により多量に回収されるため、アウト球センサ505による遊技球Bの検出も頻繁に発生する。このため、アウト球センサ505に対しても、耐久性が高く寿命の長い近接スイッチを用いている。これに対して、遊技球Bが頻繁に入球しない一般入賞口2001には、一般入賞口センサ3001による検出も頻繁に発生しない。このため、一般入賞口センサ3001には、近接スイッチより寿命が短いメカニカルスイッチを用いている。なお、一般入賞口2001に遊技球Bが頻繁に入球する・しないに関係なく、耐久性が高く寿命の長い近接スイッチを用いてもよい。
また、主制御MPUは、遊技に関する各種情報(遊技情報)及び特典の付与に関する各種コマンド等を枠制御基板640に送信したり、この枠制御基板640からのパチンコ機1の状態に関する各種コマンド等を受信したりする。更に、主制御MPUは、遊技演出の制御に関する各種コマンド及びパチンコ機1の状態に関する各種コマンドを、主制御I/Oポートを介して周辺制御基板1510の周辺制御部1511に送信したりする。なお、主制御MPUは、その詳細な説明は後述するが、枠制御基板640からパチンコ機1の状態に関する各種コマンドを受信すると、これらの各種コマンドを整形して周辺制御部1511に送信する。
主制御基板1310には、詳細な説明は後述するが、枠基板ユニット630の電源基板650から各種電圧が供給されている。この主制御基板1310に各種電圧を供給する電源基板650は、電源遮断時にでも所定時間、主制御基板1310に電力を供給するためのバックアップ電源としての電気二重層キャパシタ(以下、単に「キャパシタ」と記載する。)を備えている。このキャパシタにより主制御MPUは、電源遮断時にでも電源断時処理において各種情報をRAMに記憶することができる。この記憶した各種情報は、電源投入時に主制御基板1310のRAMクリアスイッチが操作されると、RAMから完全に消去(クリア)される。このRAMクリアスイッチの操作信号(検出信号)は、枠制御基板640にも出力される。
また、主制御基板1310には、停電監視回路が設けられている。この停電監視回路は、電源基板650から供給される各種電圧の低下を監視しており、それらの電圧が停電予告電圧以下となると、停電予告として停電予告信号を出力する。この停電予告信号は、主制御I/Oポートを介して主制御MPUに入力される他に、枠制御基板640等にも出力されている。
[9-2.枠制御基板]
遊技者の遊技球Bの持ち球数等を制御する枠制御基板640は、RAMに記憶されている情報を消去するためのRAMクリアスイッチ641と、封入されている遊技球Bを循環球経路ユニット500の球抜口513pから外部(球受トレー620)へ抜く際に使用する球抜スイッチ642と、RAM等に記憶されている遊技者の持ち球数をクリアすると共に扉枠3の持ち球数表示部140での表示をクリアするための球数記憶・表示クリアスイッチ643と、を備えている。
[9-3.周辺制御基板]
周辺制御基板1510は、図65に示すように、主制御基板1310からのコマンドに基づいて演出制御を行う周辺制御部1511と、この周辺制御部1511からの制御データに基づいて、演出表示装置1600の描画制御を行う演出表示制御部1512と、を備えている。
[9-3a.周辺制御部]
周辺制御基板1510における演出制御を行う周辺制御部1511は、詳細な図示は省略するが、CPU、RAM、VDP、VRAM、音源、SATAコントローラ、そして各種I/Oインターフェース等が1つの半導体チップ上に集積された周辺制御ICと、各種処理プログラムや各種コマンドを記憶する周辺制御ROMと、高音質の演奏を行う音源ICと、この音源ICが参照する音楽、音声、及び効果音等の音情報が記憶されている音ROMと、を備えている。
周辺制御ICには、1つの半導体チップ上にパラレルI/Oポート、シリアルI/Oポート等を複数集積されており、主制御基板1310から各種コマンドを受信すると、この各種コマンドに基づいて、周辺制御ICのCPUは遊技盤5の各装飾基板に設けられたカラーLED等への点灯信号、点滅信号又は階調点灯信号を出力するための遊技盤側発光データをランプ駆動基板用シリアルI/Oポートから遊技盤5の各装飾基板に送信したり、遊技盤5に設けられた各種演出ユニットを作動させる駆動モータへの駆動信号を出力するための遊技盤側駆動データを遊技盤装飾駆動基板用シリアルI/Oポートから遊技盤5の駆動モータ或いは駆動ソレノイドに送信したり、扉枠3に設けられたバイブレータ等への駆動信号を出力するための扉側駆動データと、扉枠3の各装飾基板に設けられたカラーLED等への点灯信号、点滅信号又は階調点灯信号を出力するための扉側発光データと、から構成される扉側駆動発光データを枠装飾駆動基板用シリアルI/Oポートから扉枠3側に送信したり、演出表示装置1600に表示させる画面を示す制御データ(表示コマンド)を表示制御部用シリアルI/Oポートから演出表示制御部1512に送信したり、するほかに、音ROMから音情報を抽出するための制御信号(音コマンド)を音源ICに出力したりする。
扉枠3に設けられた演出操作ユニット250の第一演出ボタン251や第二演出ボタン252からの検知信号は、周辺制御ICに入力されている。
また周辺制御ICのCPUは、演出表示制御部1512が正常に動作している旨を伝える信号(動作信号)が演出表示制御部1512から入力されており、この動作信号に基づいて演出表示制御部1512の動作を監視している。
音源ICは、周辺制御ICのCPUからの制御データ(音コマンド)に基づいて音ROMから音情報を抽出し、扉枠3や本体枠4等に設けられた、トップ中央スピーカ、トップサイドスピーカや、本体枠4の本体枠スピーカ403等から各種演出に合せた音楽及び効果音等のサウンドが流れるように制御を行う。なお、周辺制御基板1510が収容された周辺制御基板ボックスから後方へ突出している音量調整スイッチを回転操作することで、音量を調整することができるようになっている。本実施形態では、扉枠3側のトップ中央スピーカ、トップサイドスピーカと、本体枠4の低音用の本体枠スピーカ403とに、音情報としての音響信号(例えば、2chステレオ信号、4chステレオ信号、2.1chサラウンド信号、或いは、4.1chサラウンド信号、等)を送ることで、従来よりも臨場感のある音響効果(音響演出)を提示することができる。
なお、周辺制御部1511は、周辺制御ICのCPUに内蔵された内蔵WDT(ウォッチドックタイマ)のほかに、図示しない、外部WDT(ウォッチドックタイマ)も備えており、周辺制御ICのCPUは、内蔵WDTと外部WDTとを併用して自身のシステムが暴走しているか否かを診断している。
この周辺制御ICのCPUから演出表示制御部1512に出力される表示コマンドはシリアル入出力ポートにより行われ、本実施形態では、ビットレート(単位時間あたりに送信できるデータの大きさ)として19.2キロ(k)ビーピーエス(bits per second、以下、「bps」と記載する)が設定されている。一方、周辺制御ICのCPUから遊技盤5側に出力される、初期データ、扉枠側点灯点滅コマンド、遊技盤側点灯点滅コマンド、可動体駆動コマンド等は、表示コマンドと異なる複数のシリアル入出力ポートにより行われ、本実施形態では、ビットレートとして250kbpsが設定されている。
[9-3b.演出表示制御部]
演出表示制御部1512は、演出表示装置1600の描画制御を行うものである。演出表示制御部1512は、詳細な図示は省略するが、マイクロプロセッサとしての表示制御MPUと、各種処理プログラム、各種コマンド及び各種データを記憶する表示制御ROMと、演出表示装置1600を表示制御するVDP(Video Display Processorの略)と、演出表示装置1600に表示される画面の各種データを記憶する画像ROMと、この画像ROMに記憶されている各種データが転送されてコピーされる画像RAMと、を備えている。
この表示制御MPUは、パラレルI/Oポート、シリアルI/Oポート等を内蔵しており、周辺制御部1511からの制御データ(表示コマンド)に基づいてVDPを制御して演出表示装置1600の描画制御を行っている。なお、表示制御MPUは、正常に動作していると、その旨を伝える動作信号を周辺制御部1511に出力する。また表示制御MPUは、VDPから実行中信号が入力されており、この実行中信号の出力が16msごとに停止されたことを契機として、割り込み処理を行っている。
表示制御ROMは、演出表示装置1600に描画する画面を生成するための各種プログラムのほかに、周辺制御部1511からの制御データ(表示コマンド)と対応するスケジュールデータ、その制御データ(表示コマンド)と対応する非常駐領域転送スケジュールデータ等を複数記憶している。スケジュールデータは、画面の構成を規定する画面データが時系列に配列されて構成されており、演出表示装置1600に描画する画面の順序が規定されている。非常駐領域転送スケジュールデータは、画像ROMに記憶されている各種データを画像RAMの非常駐領域に転送する際に、その順序を規定する非常駐領域転送データが時系列に配列されて構成されている。この非常駐領域転送データは、スケジュールデータの進行に従って演出表示装置1600に描画される画面データを、前もって、画像ROMから画像RAMの非常駐領域に各種データを転送する順序が規定されている。
表示制御MPUは、周辺制御部1511からの制御データ(表示コマンド)と対応するスケジュールデータの先頭の画面データを表示制御ROMから抽出してVDPに出力した後に、先頭の画面データに続く画面データを表示制御ROMから抽出してVDPに出力する。このように、表示制御MPUは、スケジュールデータに時系列に配列された画面データを、先頭の画面データから1つずつ表示制御ROMから抽出してVDPに出力する。
VDPは、表示制御MPUから出力された画面データが入力されると、この入力された画面データに基づいて画像RAMからスプライトデータを抽出して演出表示装置1600に表示する描画データを生成し、この生成した描画データを、演出表示装置1600に出力する。またVDPは、演出表示装置1600が、表示制御MPUからの画面データを受入れないときに、その旨を伝える実行中信号を表示制御MPUに出力する。なお、VDPは、ラインバッファ方式が採用されている。この「ラインバッファ方式」とは、演出表示装置1600の左右方向を描画する1ライン分の描画データをラインバッファに保持し、このラインバッファに保持した1ライン分の描画データを、演出表示装置1600に出力する方式である。
画像ROMには、極めて多くのスプライトデータが記憶されており、その容量が大きくなっている。画像ROMの容量が大きくなると、つまり、演出表示装置1600に描画するスプライトの数が多くなると、画像ROMのアクセス速度が無視できなくなり、演出表示装置1600に描画する速度に影響することとなる。そこで、本実施形態では、アクセス速度の速い画像RAMに、画像ROMに記憶されているスプライトデータを転送してコピーし、この画像RAMからスプライトデータを抽出している。なお、スプライトデータは、スプライトをビットマップ形式に展開する前のデータである基データであり、圧縮された状態で画像ROMに記憶されている。
ここで、「スプライト」について説明すると、「スプライト」とは、演出表示装置1600に、纏まった単位として表示されるイメージである。例えば、演出表示装置1600に、種々の人物(キャラクタ)を表示させる場合には、夫々の人物を描くためのデータを「スプライト」と呼ぶ。これにより、演出表示装置1600に複数人の人物を表示させる場合には、複数のスプライトを用いることとなる。また人物のほかに、背景を構成する家、山、道路等もスプライトであり、背景全体を1つのスプライトとすることもできる。これらのスプライトは、画面に配置される位置やスプライト同士が重なる場合の上下関係(以下、「スプライトの重ね合わせの順序」と記載する。)が設定されて演出表示装置1600に描画される。
なお、スプライトは縦横それぞれ64画素の矩形領域を複数張り合わせて構成されている。この矩形領域を描くためのデータを「スプライトキャラクタ」と呼ぶ。小さなスプライトの場合には1つのスプライトキャラクタを用いて表現することができるし、人物など比較的大きいスプライトの場合には、例えば横2×縦3などで配置した合計6個のスプライトキャラクタを用いて表現することができる。背景のように更に大きいスプライトの場合には更に多数のスプライトキャラクタを用いて表現することができる。このように、スプライトキャラクタの数及び配置は、スプライトごとに任意に指定することができるようになっている。
演出表示装置1600は、その正面から見て左から右に向かって順次、画素に沿った一方向に画素ごとの表示状態を設定する主走査と、その一方向と交差する方向に主走査を繰返し行う副走査と、によって駆動される。演出表示装置1600は、演出表示制御部1512から出力された1ライン分の描画データが入力されると、主走査として演出表示装置1600の正面から見て左から右に向かって順次、1ライン分の画素にそれぞれ出力する。そして1ライン分の出力が完了すると、演出表示装置1600は、副走査として直下のラインに移行し、同様に次ライン分の描画データが入力されると、この次ライン分の描画データに基づいて主走査として演出表示装置1600の正面から見て左から右に向かって順次、1ライン分の画素にそれぞれ出力する。
[10.遊技内容]
本実施形態のパチンコ機1による遊技内容について、図56等を参照して説明する。本実施形態のパチンコ機1は、扉枠3の前面右下隅に配置されたハンドル160を遊技者が回転操作することで、循環経路R内に封入されている遊技球Bが、遊技盤5における外レール1001と内レール1002との間を通って遊技領域5a内の上部へと打込まれて、遊技球Bによる遊技が開始される。遊技領域5a内の上部へ打込まれた遊技球Bは、その打込強さによってセンター役物2500の左側、或いは、右側の何れかを流下する。なお、遊技球Bの打込強さは、ハンドル160の回転量によって調整することができ、時計回りの方向へ回転させるほど強く打込むことができ、連続で一分間に最大100個の遊技球B、つまり、0.6秒間隔で遊技球Bを打込むことができる。
また、遊技領域5a内には、適宜位置に所定のゲージ配列で複数の障害釘が遊技パネル1100の前面に植設されており、遊技球Bが障害釘に当接することで、遊技球Bの流下速度が抑制されると共に、遊技球Bに様々な動きが付与されて、その動きを楽しませられるようになっている。また、遊技領域5a内には、障害釘の他に、遊技球Bの当接により回転する風車がサイド左上ユニット2300の上方でセンター役物2500の左方に設けられている。
センター役物2500の上部へ打込まれた遊技球Bは、センター役物2500の外周面のうち、最も高くなった部位よりも正面視左側へ進入すると、センター役物2500の左側、つまり、内レール1002とセンター役物2500との間を、複数の障害釘に当接しながら流通することとなる。センター役物2500の左側には、ワープ通路2512の入口が、遊技球Bを受入可能に常時開口している。
ワープ通路2512に進入した遊技球Bは、センター役物2500の枠内に設けられているステージ2513に供給され、ステージ2513上を左右方向へ転動し、中央放出部2513a又はサイド放出部2513bの何れかから遊技領域5a内へ還流するように放出される。ステージ2513の中央放出部2513aは、遊技領域5a内の左右方向中央で第一始動口2003の直上に設けられているため、中央放出部2513aから放出された遊技球Bは、高い確率で第一始動口2003に受入れられる。中央放出部2513aの左右両側のサイド放出部2513bから放出された遊技球Bは、或る程度の確率で第一始動口2003に受入れられる可能性がある。
第一始動口2003に遊技球Bが受入れられると、主制御基板1310を介して枠制御基板640において所定個数(例えば、3個)の遊技球Bが、持ち球数に加算されると共に、主制御基板1310において、第一特別図柄(例えば、「ハズレ」、「小当り」、「役物当り」、「2R大当り」、「5R大当り」、「15R大当り」、「確変(確率変更)当り」、「時短(時間短縮)当り」、「確変時短当り」、「確変時短無し当り」、「第二大当り」、等)の抽選が行われる。抽選された第一特別図柄の抽選結果が、「ハズレ」以外であると、遊技者が有利な有利遊技状態が発生する。そして、抽選された第一特別図柄の抽選結果は、所定時間(例えば、0.1~360秒、特別変動時間とも称す)かけて遊技者に示唆される。
本実施形態では、第一始動口2003への遊技球Bの受入れにより特別抽選の開始から抽選された第一特別図柄の抽選結果が示唆されるまで(特別変動時間)の間に、第一始動口2003に遊技球Bが受入れられると、第一特別図柄の抽選結果の示唆を開始することができないため、先に抽選された第一特別図柄の抽選結果の示唆が完了するまで、第一特別図柄の抽選結果の示唆の開始が保留される。この保留される第一特別図柄の抽選結果の保留数は、第一始動口2003に対して、夫々4つまでを上限とし、それ以上については、第一始動口2003に遊技球Bが受入れられても第一特別図柄の抽選結果を保留せずに、破棄している。これにより、保留が貯まることで遊技ホール側の負担の増加を抑制している。
ところで、センター役物2500の左側へ流下した遊技球Bが、ワープ通路2512に進入しなかった場合、サイド左上ユニット2300の棚部2301や障害釘により左右方向中央側へ寄せられ、サイドユニット2200の一般入賞口2001やサブアウト口2021、或いは、始動口ユニット2100の第一始動口2003等、に受入れられる可能性がある。そして、一般入賞口2001に遊技球Bが受入れられると、主制御基板1310を介して枠制御基板640において所定個数(例えば、10個)の遊技球Bが、持ち球数に加算される。
一方、遊技領域5a内においてセンター役物2500の上部に打込まれた遊技球Bが、センター役物2500におけるセンターフレーム2511の流入規制部2511cの最も高くなった部位よりも右側に進入すると、センター役物2500の案内通路群2520の第一案内通路2521又は第二案内通路2522の何れかを通る。第一案内通路2521に進入した遊技球Bは、途中において役物入賞口2006を閉鎖している役物入賞口扉2515の上面を転動した上で、普通入賞口ユニット2600の上方(直上)に放出される。一方、第二案内通路2522に進入した遊技球Bは、普通入賞口2002の左寄りの上方に放出される。従って、第一案内通路2521に遊技球Bが進入すると、役物入賞口2006に受入れられる可能性がある。
役物入賞口2006は、第一始動口2003や第二始動口2004に遊技球Bが受入れられることで抽選される特別図柄の抽選結果が、「小当り」や「役物当り」等の時に、所定のパターンで開閉して遊技球Bを受入可能な状態となる。遊技球Bが役物入賞口2006に受入れられると、主制御基板1310を介して枠制御基板640において所定個数(例えば、10個、又は、13個)の遊技球Bが、持ち球数に加算される。
役物入賞口2006に受入れられた遊技球Bは、第一振分装置2530へ送られ、振分回転体2533によりチャンス口2531又は第一スカ口2532の何れかに振分けられる。第一スカ口2532に振分けられた遊技球Bは排出される。チャンス口2531に振分けられた遊技球Bは、第二振分装置2540へ送られる。第二振分装置2540へ送られた遊技球Bは、第一V入賞口2007又は第二スカ口2541の何れかに振分けられる。第二振分装置2540の振分により第一V入賞口2007に遊技球Bが受入れられると、大入賞口2005が所定の開閉パターンで開閉する「大当り」遊技が実行される。
第二振分装置2540において第二スカ口2541に遊技球Bが振分けられると、抽選役物2550へ送られる。抽選役物2550へ送られた遊技球Bは、振分部2552の振分橋2557がループ位置へ移動している時間の間、第二V入賞口2008が設けられているテーブル2555と、遊技球Bをテーブル2555へ供給する打撃部2553との間でループする。そして、第二V入賞口2008に遊技球Bが受入れられると、大入賞口2005が所定の開閉パターンで開閉する「大当り」遊技が実行される。
一方、所定時間が経過して振分橋2557がループ位置から非ループ位置へ移動してハズレ口2009が開放された状態となると、テーブル2555の第二V入賞口2008に受入れられなかった遊技球Bがハズレ口2009に受入れられる。ハズレ口2009に受入れられた遊技球Bは、排出される。
案内通路群2520の下流に設けられている普通入賞口2002は、第一案内通路2521の出口の直下に設けられているため、第一案内通路2521を流通した遊技球Bの方が、第二案内通路2522を流通した遊技球Bよりも、普通入賞口2002に受入れられる可能性が高い。普通入賞口2002に受入れられなかった遊技球Bは、アタッカユニット2400へ流下する。
この普通入賞口2002に遊技球Bが受入れられて普通入賞口センサ3002により検知されると、主制御基板1310において普通抽選が行われ、抽選された普通図柄の抽選結果が「普通当り」の場合、第二始動口扉2411により閉鎖されている第二始動口2004が所定時間(例えば、0.3~10秒)の間、開状態となり、第二始動口2004への遊技球Bの受入れが可能となる。
本実施形態では、普通入賞口2002に遊技球Bが受入れられることで行われる普通抽選において、普通抽選を開始してから普通図柄の抽選結果を示唆するまでにある程度の時間を設定している(例えば、0.01~60秒、普通変動時間とも称す)。この普通図柄の抽選結果の示唆は、遊技盤5の機能表示ユニット1400に表示される。第二始動口2004では、普通変動時間の経過後に開状態となる。
なお、遊技球Bが普通入賞口2002に受入れられてから普通図柄の抽選結果が示唆されるまでの間に、遊技球Bが普通入賞口2002に受入れられると、普通図柄の抽選結果の示唆を開始することができないため、普通図柄の抽選結果の示唆の開始を、先の普通図柄の抽選結果の示唆が終了するまで保留するようにしている。また、普通図柄の抽選結果の保留数は、4つまでを上限とし、それ以上については、普通入賞口2002に遊技球Bが受入れられても、保留せずに破棄している。これにより、保留が貯まることで遊技ホール側の負担の増加を抑制している。
普通入賞口2002に受入れられずに流下した遊技球Bは、アタッカユニット2400における上棚部2421、第一棚部2422、第一棚部2422よりも右方、の何れかに流下する。上棚部2421に流下した遊技球Bは左方へ誘導されて大入賞口2005よりも左方に放出される。従って、上棚部2421上に流下した遊技球Bは、第二始動口2004及び大入賞口2005に受入れられることはない。
アタッカユニット2400の第一棚部2422に流下した遊技球Bは、その傾斜により左方へ転動し、第二始動口2004を閉鎖している第二始動口扉2411、第二棚部2423、大入賞口2005を閉鎖している大入賞口扉2413、及び第四棚部2425を転動した後に、左方へ放出される。第四棚部2425から放出された遊技球Bは、アウト口2020に受入れられて排出される。従って、遊技球Bが第一棚部2422に流下すると、第二始動口2004や大入賞口2005に受入れられ可能性がある。
アタッカユニット2400の第一棚部2422よりも右方に流下した遊技球Bは、サブアウト口2021に受入れられて排出される。なお、稀ではあるが、第一棚部2422に流下した遊技球Bが、第二棚部2423と第三棚部2424との間の隙間に進入すると、サブアウト口2021に受入れられて排出される。
アタッカユニット2400の第二始動口2004に遊技球Bが受入れられると、主制御基板1310を介して枠制御基板640において所定個数(例えば、1個)の遊技球Bが、持ち球数に加算されると共に、主制御基板1310において、第二特別図柄(例えば、「ハズレ」、「小当り」、「役物当り」、「2R大当り」、「5R大当り」、「15R大当り」、「確変(確率変更)当り」、「時短(時間短縮)当り」、「確変時短当り」、「確変時短無し当り」、「第二大当り」、等)の抽選が行われる。抽選された第二特別図柄の抽選結果が、「ハズレ」以外であると、遊技者が有利な有利遊技状態が発生する。そして、抽選された第二特別図柄の抽選結果は、第一特別図柄の抽選結果の特別変動時間よりも長い所定時間(例えば、0.1~360秒、特別変動時間とも称す)かけて遊技者に示唆される。
本実施形態では、第二始動口2004への遊技球Bの受入れにより特別抽選の開始から抽選された第二特別図柄の抽選結果が示唆されるまで(特別変動時間)の間に、第二始動口2004に遊技球Bが受入れられると、第二特別図柄の抽選結果の示唆を開始することができないため、先に抽選された第二特別図柄の抽選結果の示唆が完了するまで、第二特別図柄の抽選結果の示唆の開始が保留される。この保留される第二特別図柄の抽選結果の保留数は、第二始動口2004に対して、夫々4つまでを上限とし、それ以上については、第二始動口2004に遊技球Bが受入れられても第二特別図柄の抽選結果を保留せずに、破棄している。これにより、保留が貯まることで遊技ホール側の負担の増加を抑制している。
第二始動口2004への遊技球Bの受入れにより抽選された第二特別図柄の抽選結果の特別変動時間は、第一始動口2003への遊技球Bの受入れにより抽選された第一特別図柄の抽選結果の特別変動時間よりも長く設定されている。これにより、第二特別図柄の抽選結果の方が保留数の消費に時間がかかるため、第一始動口2003及び第二始動口2004に対する単位時間当たりの遊技球Bの受入数が同じであっても、第二始動口2004の方が実行される第二特別図柄の抽選結果の数が少なくなる。従って、通常の状態において、センター役物2500の右側へ遊技球Bを打込んでも、第二始動口2004しか受入れられる可能性がなく、第二特別図柄の抽選結果が実行される頻度が低いため、遊技者に対して遊技球Bがセンター役物2500の左側を流通するような打込操作を積極的に行わせることができる
上記のように、第一始動口2003又は第二始動口2004に遊技球Bが受入れられることで抽選された第一特別図柄の抽選結果又は第二特別図柄の抽選結果により、大入賞口2005や役物入賞口2006が、所定の開閉パターンで開閉して、遊技球Bを受入可能な状態となる。
そして、アタッカユニット2400において、第一特別図柄の抽選結果や第二特別図柄の抽選結果に応じて、或いは、第一V入賞口2007や第二V入賞口2008への遊技球Bの受入れ、等により大入賞口2005が受入可能となっているタイミングで遊技球Bが流下してくると、当該遊技球Bが大入賞口2005に受入れられる。遊技球Bが大入賞口2005に受入れられると、主制御基板1310を介して枠制御基板640において所定個数(例えば、10個、又は、13個)の遊技球Bが、持ち球数に加算される。
大入賞口2005は、遊技球Bを受入可能な開状態となった後に、所定時間(例えば、20秒~40秒)経過、或いは、大入賞口2005への所定個数(例えば、10個)の遊技球Bの受入れ、の何れかの条件が充足すると、遊技球Bを受入不能な閉状態とする開閉パターン(一回の開閉パターンを1ラウンドと称す)を、所定回数(所定ラウンド数)繰返す。例えば、「2R大当り」であれば2ラウンド、「5R大当り」であれば5ラウンド、「15R大当り」であれば15ラウンド、夫々繰返して、遊技者に有利な有利遊技状態を発生させる。
なお、「大当り」では、大当り遊技の終了後に、「大当り」等の第一特別図柄や第二特別図柄が抽選される確率を変更(「確変当り」)したり、第一特別図柄の抽選結果や第二特別図柄の抽選結果を示唆する演出画像の表示時間を変更(「時短当り」)したりする「当り」がある。
第一特別図柄の抽選結果や第二特別図柄の抽選結果(例えば、第二特別図柄の抽選結果)が「第二大当り」の場合、大入賞口2005又は役物入賞口2006が、所定のパターンで遊技球Bを受入可能とした後に、有利遊技状態としてST(スペシャル・タイム)を発生させる。このSTとは、予め決められた特定の変動回数の間、確変や時短の状態を維持するものである。
このように、大入賞口2005や役物入賞口2006が遊技球Bを受入可能な時に、大入賞口2005や役物入賞口2006に遊技球Bを受入れさせることで、多くの遊技球Bを持ち球数に加算させることができるため、遊技者を楽しませることができ、遊技に対する興趣の低下を抑制させることができる。
本実施形態では、第一特別図柄の抽選結果や第二特別図柄の抽選結果の示唆を、機能表示ユニット1400と演出表示装置1600とで行っている。機能表示ユニット1400では、主制御基板1310によって直接制御されて特別図柄の抽選結果(第一特別図柄の抽選結果及び第二特別図柄の抽選結果)の示唆が行われる。機能表示ユニット1400での特別図柄の抽選結果の示唆は、複数のLEDを、点灯・消灯を繰返して所定時間点滅させ、その後に、点灯しているLEDの組合せによって特別図柄の抽選結果を示唆する。
一方、演出表示装置1600では、主制御基板1310からの制御信号に基づいて、周辺制御基板1510によって間接的に制御され演出画像として特別図柄の抽選結果の示唆が行われる。演出表示装置1600での特別図柄の抽選結果を示唆する演出画像は、複数の絵柄からなる絵柄列を、左右方向へ三つ並べて表示した状態で、各絵柄列を変動させ、変動表示されている絵柄列を順次停止表示させ、停止表示される三つの絵柄列の絵柄が、特別図柄の抽選結果と対応した組合せとなるように夫々の絵柄列が停止表示される。特別図柄の抽選結果が「ハズレ」以外の場合は、三つの絵柄列が停止して各絵柄が停止表示された後に、特別図柄の抽選結果を示唆する確定画像が演出表示装置1600に表示されて、抽選された特別図柄の抽選結果に応じた有利遊技状態(例えば、「小当り」遊技、「大当り」遊技、等)が発生する。
なお、機能表示ユニット1400での特別図柄の抽選結果を示唆する時間(LEDの点滅時間(特別変動時間))と、演出表示装置1600での特別図柄の抽選結果を示唆する時間(絵柄列が変動して確定画像が表示されるまでの時間)とは、異なっており、機能表示ユニット1400の方が長い時間に設定されている。
また、周辺制御基板1510では、演出表示装置1600による特別図柄の抽選結果を示唆するための演出画像の表示の他に、抽選された特別図柄の抽選結果に応じて、扉枠3における演出操作ユニット250における第一演出ボタン251や第二演出ボタン252を操作させる遊技者参加型演出を行うことができる。遊技者参加型演出では、第一演出ボタン251及び第二演出ボタン252をポップアップさせて目立たせることができ、第一演出ボタン251や第二演出ボタン252の操作により遊技者参加型演出を楽しませることができる。
また、周辺制御基板1510では、扉枠3に備えられている各装飾基板や、遊技盤5に備えられている各装飾基板、演出表示装置1600、始動口表示部2110、演出カウント表示部3005、裏装飾ユニット3200、裏前演出ユニット3300、裏後演出ユニット3400、等を適宜用いて、発光演出、表示演出、可動演出、等を行うことが可能であり、各種の演出によっても遊技者を楽しませることができ、遊技者の遊技に対する興趣が低下するのを抑制することができる。
更に、周辺制御基板1510では、第一演出ボタン251や第二演出ボタン252を操作する遊技者参加型演出において、遊技者が操作すべき操作を間違えたり、行わなかったりした時に、正しい操作を行わせるように遊技者にその旨を告知する。
本実施形態によれば、遊技者によって遊技球Bが遊技領域5aに打込まれて、所定条件の充足として、第一始動口2003や第二始動口2004への遊技球Bの受入れにより抽選された特別図柄の抽選結果により役物入賞口2006が所定パターンで開閉し、役物入賞口2006に受入れられた遊技球Bが第一振分装置2530及び第二振分装置2540を経た遊技球Bが、センター役物2500における抽選役物2550の誘導路2551に供給され、当該遊技球Bが下流の振分部2552へ向かって流通する。この振分部2552では、誘導路2551に開口しているハズレ口2009を振分橋2557により閉鎖している状態では当該遊技球Bが第一側としての打撃部2553へ振分けられ、振分橋2557が抽選ループソレノイド2558により回動させられてハズレ口2009を開放している状態では当該遊技球Bがハズレ口2009(第二側)へ振分けられ、遊技球Bの振分状態が振分橋2557の振分表示部2557aにより示されている。そして、振分部2552において、遊技球Bが第一側へ振分けられると、打撃部2553へ供給される。一方、振分部2552において、遊技球Bが第二側(ハズレ口2009)へ振分けられると、打撃部2553へ供給されることはなく、抽選役物2550から排出される。
振分部2552から打撃部2553へ供給された遊技球Bは、当該打撃部2553の回転している打撃片2560により後方へ打撃されて、後方へ向かって高くなっている登坂部2559を登るように流通(転動)することとなる。この打撃部2553では、遊技球Bが供給されるタイミングと、遊技球Bを打撃片2560が打撃するタイミングとによっては、遊技球Bが強く打撃されたり殆ど打撃されなかったりすることとなり、後方へ打撃される遊技球Bの勢いが様々となるため、打撃された遊技球Bの勢いが弱いと、遊技球Bが登坂部2559を登り切れずに打撃部2553へ戻ってしまい、遊技球Bが前後に登坂部2559を行ったり来たりすることとなる。そして、遊技球Bが打撃部2553により強く打撃されて登坂部2559を乗り越えると、テーブル2555の後端で左右方向の中央に設けられている揺動樋2554に供給され、揺動樋2554からテーブル2555に放出される。この際に、揺動樋2554が上下方向の軸芯周りに対して揺動するように往復回動しているため、遊技球Bが供給されるタイミングと揺動樋2554の回動位置のタイミングとによって、揺動樋2554の樋部2554aから様々な方向へ遊技球Bがテーブル2555に放出されることとなる。
揺動樋2554からテーブル2555へ放出された遊技球Bは、その傾斜に従って前方へ転動し、テーブル2555の前端から誘導路2551へ放出されることとなる。この際に、テーブル2555の前端付近で揺動樋2554の中心を通る前後方向の中央軸線上に設けられている第二V入賞口2008に遊技球Bが受入れられる可能性があると共に、揺動樋2554と第二V入賞口2008との間で中央軸線を境にして左右対称に設けられている揺動片2556に遊技球Bが当接することで、遊技球Bの流通方向が、第二V入賞口2008へ向かったり、第二V入賞口2008から遠ざかったりする。テーブル2555の第二V入賞口2008に遊技球Bが受入れられると、有利遊技状態(例えば、大当り遊技)が発生する。一方、遊技球Bが第二V入賞口2008に受入れられずにテーブル2555の前端から誘導路2551へ放出された後に、振分部2552によって一方側へ振分けられると、当該遊技球Bが打撃部2553によって揺動樋2554へ供給される。従って、遊技球Bが振分部2552により一方側(打撃部2553)へ振分けられる限り、当該遊技球Bが第二V入賞口2008に受入れられるまで、誘導路2551、振分部2552、打撃部2553、揺動樋2554、テーブル2555の順にループする。
このようなことから、役物入賞口2006が所定パターンで開閉して遊技球Bを抽選役物2550へ供給可能となった時に、振分部2552の振分表示部2557aを見ることで、振分部2552において遊技球Bが第一側(打撃部2553)へ振分ける状態であるか否かを遊技者に確認させることができる。これにより、振分表示部2557aを見て振分部2552が第一側(打撃部2553、ひいては、第二V入賞口2008)へ振分ける状態となっている時に、役物入賞口2006に受入れられた遊技球B(ここでは、第一振分装置2530において振分回転体2533の収容部2533aに収容されている遊技球B)が抽選役物2550(誘導路2551)に供給される否かで遊技者をワクワクさせることができる。その後、役物入賞口2006に受入れられた遊技球Bが抽選役物2550(誘導路2551)に供給されると、振分部2552において第一側(打撃部2553側)へ振分けられるか否かによって遊技者をハラハラ・ドキドキさせることができる。そして、遊技球Bが第一側へ振分けられて打撃部2553に供給されると、遊技球Bが打撃されるタイミング等によっては遊技球Bが登坂部2559を行ったり来たりするため、遊技球Bが登坂部2559を乗り越える強さで打撃されるか否かによって遊技者を楽しませることができる。また、登坂部2559を乗り越えた遊技球Bは、往復回動している揺動樋2554に供給されるため、揺動樋2554が遊技球Bを第二V入賞口2008へ向かって放出できるタイミングで、揺動樋2554に遊技球Bが供給されるように、遊技球Bが登坂部2559を乗り越える強さで打撃されるか否かによっても、遊技者をハラハラ・ドキドキさせて楽しませることができる。
打撃部2553により打撃された遊技球Bが登坂部2559を乗り越えて揺動樋2554に供給されると、往復回動している揺動樋2554から遊技球Bが第二V入賞口2008へ向かって放出されるか否かによって遊技者をワクワク・ドキドキさせることができる。この揺動樋2554から遊技球Bが中央軸線(第二V入賞口2008)から離れる方向へ放出されても、中央軸線を境にして左右対称に設けられている一対の揺動片2556の揺動状況によっては、揺動片2556に当接した遊技球Bが中央軸線側へ寄せられて、第二V入賞口2008へ向かう可能性があるため、遊技者をガッカリさせることはなく、遊技者を楽しませて興趣の低下を抑制させることができる。そして、テーブル2555の下流端付近に設けられている第二V入賞口2008に遊技球Bが受入れられるか否かによって遊技者をハラハラ・ドキドキさせることができ、第二V入賞口2008に受入れられると、有利遊技状態(大入賞口2005が所定パターンで開閉する大当り遊技)が発生するため、遊技者を大いに楽しませることができる。
一方、第二V入賞口2008に遊技球Bが受入れられなかった場合でも、テーブル2555の下流端から誘導路2551に放出されるため、誘導路2551の下流に設けられている振分部2552によって、遊技球Bが再び第一側(打撃部2553)へ振分けられる否かによって遊技者の期待感を高めさせることができ、振分部2552によって再び第一側へ振分けられると、打撃部2553及び登坂部2559を介してテーブル2555の上流の揺動樋2554へ供給されるため、第二V入賞口2008へ受入れられるチャンスが再び到来することで、遊技者をガッカリさせることはない。この際に、振分橋2557の振分表示部2557aを見て振分部2552が第一側(打撃部2553)へ振分ける状態となっている時に、テーブル2555の前端から遊技球Bが誘導路2551へ放出されるか否かで遊技者をワクワクさせることもできる。従って、抽選役物2550における様々な場面において遊技者をハラハラ・ドキドキさせることができるため、遊技者を飽きさせ難くすることができ、遊技者を楽しませて興趣の低下を抑制させることができると共に、遊技者を楽しませられる抽選役物2550を備えたパチンコ機1機を提供することができる。
また、センター役物2500の抽選役物2550には、前後及び左右に広い面状のテーブル2555を有していると共に、テーブル2555の前端よりも前方に誘導路2551を設けていることから、抽選役物2550が大きなものとなっているため、本抽選役物2550によりパチンコ機1を目立たせることができ、遊技者の関心を強く引付けさせることができると共に、抽選役物2550を使用する遊技に対して遊技者の期待感を高めさせることができ、遊技するパチンコ機として本パチンコ機1を選択させ易くして遊技者に対する訴求力の高いパチンコ機1を提供することができる。
更に、後端が高くなるように傾斜しているテーブル2555の左右方向の中央軸線上に第二V入賞口2008を設けているため、第二V入賞口2008を目立たせることができ、遊技者の視線を第二V入賞口2008へ向けさせ易くすることができると共に、第二V入賞口2008への遊技球Bの受入れに対する期待感を抱かせ易くすることができ、遊技するパチンコ機として本パチンコ機1を選択させ易くすることができる。
また、後端が高くなっているテーブル2555の中央軸線上の後端付近に、揺動樋2554を設けると共に、中央軸線を境にして左右対称に一対の揺動片2556を設けているため、揺動片2556によって後方の揺動樋2554の視認性が阻害されることはなく、遊技者からテーブル2555に設けられている第二V入賞口2008、一対の揺動片2556、及び揺動樋2554を良好に視認させることができる。従って、一対の揺動片2556や揺動樋2554の回動状況や揺動状況が認識し易くなるため、それらの動きによる遊技球Bの転動経路等が予測し易くなり、予測通りに遊技球Bが転動するか否かによって遊技球Bの動きを楽しませることができる。
また、振分部2552において、第二側に連通するハズレ口2009を誘導路2551に設けているため、振分橋2557により閉鎖している状態から抽選ループソレノイド2558により振分橋2557を回動させてハズレ口2009を開放させた状態にすると、誘導路2551においてハズレ口2009が上方へ開口している状態となるため、遊技者からハズレ口2009を目立たせることができ、誘導路2551を流通している遊技球Bが第二側(ハズレ口2009)に振分けられる状態、つまり、第一側(打撃部2553、ひいては、第二V入賞口2008)に振分けられない状態であることを認識させ易くすることができる。従って、目立つハズレ口2009が振分橋2557により閉鎖されていると、第一側(打撃部2553)へ振分けられる状態であることを容易に認識させることができ、誘導路2551を見るだけで何れに振分ける状態であるのかを容易に判別させることができる。
更に、打撃部2553による遊技球Bを打撃するタイミング等によっては、遊技球Bが登坂部2559を行ったり来たりするため、抽選役物2550における遊技球Bの滞在時間を稼ぐ(長くする)ことができ、短時間で抽選役物2550における遊技が終わることで遊技者をガッカリさせてしまうことを回避させることができると共に、登坂部2559により稼いだ時間により演出表示装置1600における演出画像等による演出を遊技者に対して十分に見せることができ、遊技者をより楽しませられるパチンコ機1を提供することができる。
また、打撃部2553と揺動樋2554(揺動通路2562)との間に登坂部2559を設けていることから、打撃部2553において遊技球Bが強く打撃されても、登坂部2559を登ることでその勢いを減衰させることができると共に、揺動通路2562において左右方向へ揺動させていることで更にその勢いを減衰させることができるため、勢い良く揺動樋2554に遊技球Bが供給されることで、揺動樋2554が往復回動して放出方向を変化させているのにも関わらず、遊技球Bの勢いによって揺動樋2554の放出方向とは異なる方向へ揺動樋2554から放出されてしまい、遊技者に対して不快感を与えてしまったり、揺動樋2554から勢いよくテーブル2555に遊技球Bが放出されることで、テーブル2555における遊技球Bの滞在時間(転動時間)が短くなってしまったり、することを回避させることができる。従って、遊技者に不快感を与えることなく揺動樋2554での遊技球Bの放出を楽しませることができると共に、テーブル2555上を転動している遊技球Bの動きを楽しませられ易くすることができる。
また、抽選役物2550に遊技球Bが供給されるタイミングを、遊技球Bの打込操作によって遊技者が選択できるような場合では、振分表示部2557aにおいて遊技球Bが第一側へ振分けられる状態であることを表示するタイミングで、遊技球Bが供給されるように打込操作を行うことが可能となるため、抽選役物2550内における遊技球Bの動きだけでなく、遊技球Bの打込操作も楽しませることができ、遊技者の遊技に対する興趣の低下を抑制可能なパチンコ機1を提供することができる。
更に、ハズレ口2009を開放すると、振分橋2557が、その先端を基端よりも上方に位置させて誘導路2551から直立したような状態になるため、誘導路2551を遊技球Bが勢い良く流通してきてハズレ口2009を飛び越えようとしても、直立している振分橋2557により飛び越えて第一側(打撃部2553)へ侵入してしまうことを防止することができ、遊技球Bを確実にハズレ口2009(第二側)に振分けることができる。
また、ハズレ口2009を開放すると、振分橋2557が、その先端を基端よりも上方に位置させて誘導路2551から直立したような状態になるため、振分橋2557が遊技者から目立って見えることになると共に、振分橋2557に設けられている振分表示部2557aが見える状態となるため、振分橋2557(振分表示部2557a)によっても遊技球Bが第二側へ振分けられる状態であることを判別させることができる。
[11.遊技盤におけるセンター役物の詳細]
次に、上記の遊技盤5に設けられているセンター役物2500の詳細について説明する。
[11-1.第一実施形態のセンター役物]
第一実施形態のセンター役物2500について、図66乃至図69等を参照して詳細に説明する。図66は、第一実施形態のセンター役物を遊技パネルに取付けた状態で上下方向の途中で切断して前構成部材と共に示す説明図である。図67(a)はセンター役物における装飾体を前装飾部と後装飾部とに分解した状態で正面から示す説明図であり、(b)は前装飾部と後装飾部とからなる装飾体を正面から示す説明図である。図68は、図66のセンター役物において後端を下にしてセンターフレームを台に置いた状態で示す説明図である。図69は、図66とは異なる装飾体が取付けられているセンターフレームを備えたセンター役物を部分断面で示す説明図である。
第一実施形態のセンター役物2500は、図50乃至図55等に示す第一実施形態の遊技盤5に設けられているものである。このセンター役物2500は、遊技パネル1100(パネル板1110)の前面に取付けられる透明枠状のセンターフレーム2511と、センターフレーム2511の外側から枠の内側へ遊技球Bを夫々誘導可能なワープ通路2512と、センターフレーム2511の枠内における下辺部に設けられておりワープ通路2512を流通した遊技球Bを左右方向へ転動させた後に遊技領域5a内へ放出させるステージ2513と、を備えている。
また、センター役物2500は、センターフレーム2511に取付けられており所定の装飾が施されている装飾体2570を、更に備えている。
センターフレーム2511は、遊技パネル1100におけるパネル板1110の開口部1112に挿入されると共に開口部1112の内周面に沿うように設けられており前後方向に延びている枠状の挿入部2511aと、挿入部2511aの前端外周から外方へ突出しており遊技パネル1100のパネル板1110の前面に当接する平板状のフランジ部2511bと、フランジ部2511bよりも前方へ延出しており遊技領域5aを流下する遊技球Bが遊技パネル1100におけるパネル板1110の開口部1112の内部に流入することを規制する流入規制部2511cと、挿入部2511aの前端内周から突出している平板状のサポート部2511dと、を有している。
センターフレーム2511(挿入部2511a)の後端は、遊技パネル1100(パネルホルダ1120)の後端(後面)よりも前方に位置するように設けられている。なお、センターフレーム2511の後端は、遊技パネル1100の後面よりも後方へ突出していないものであっても良いし、遊技パネル1100の後面よりも後方へ突出しているものであっても良い。
装飾体2570は、図66に示すように、センターフレーム2511の前端に取付けられる平板状の透明な前板2571と、前板の前面に取付けられている前装飾部2572と、センターフレーム2511(挿入部2511a)の後端よりも前方に設けられている後装飾部2573と、を有している。換言すると、装飾体2570は、センターフレーム2511の枠内に延出するように設けられており、センターフレーム2511の後端よりも前方に設けられている後装飾部2573と、後装飾部2573における少なくとも一部の前方に重なるように設けられている前装飾部2572と、を有している。前装飾部2572と後装飾部2573は、互いに協調している装飾が施されている。
前板2571は、後面が流入規制部2511cの前端面に当接するように設けられている。この前板2571は、サポート部2511dとの間に遊技球Bが流通可能な球通路2517を形成している。
装飾体2570の前装飾部2572は、図67に示すように、所定の絵柄(ここでは、鬼の顔の周りに雲のような図案を配置した絵柄)からなる装飾が施されている。前装飾部2572は、球通路2517の前方となる部位に設けられている透明な透過部2572aと、透過部2572aに設けられており装飾としての絵柄の一部を構成している点状で不透明な複数のドット部2572bと、を有している(図67(a)を参照)。
前装飾部2572の透過部2572aは、無色透明または有色透明に形成されている。有色透明な透過部2572aでは、絵柄の一部を構成するように、絵柄の色と同じような色に着色されている。本実施形態では、鬼の顔の部分の透過部2572aを有色透明にしていると共に、雲の図案の部分の透過部2572aを無色透明にしている。
前装飾部2572の各ドット部2572bは、絵柄と同じ色に着色されている。複数のドット部2572bは、図67(a)において拡大して示すように、一つずつが円形に形成されており、水平に対して上下45度の角度の斜め方向へその直径と同じ間隔をあけて設けられている。
後装飾部2573は、センターフレーム2511における透明なサポート部2511dの後側に取付けられている。後装飾部2573は、センターフレーム2511における枠状の挿入部2511aの枠内に延出するように設けられている。後装飾部2573の装飾は、前方に設けられている前装飾部2572の絵柄と同じ絵柄が不透明に施されている。なお、遊技パネル1100が透明な部材の場合、後装飾部2573は遊技パネル1100の裏面にあっても良い。この場合装飾の面積を広くとれる効果がある。
前装飾部2572及び後装飾部2573は、透明な樹脂フィルムに、装飾としての絵柄を印刷したものである。本実施形態の前装飾部2572及び後装飾部2573は、フィルム状に形成されている。
この装飾体2570は、図67(b)に示すように、正面(前方)から見ると、前装飾部2572の装飾(絵柄)における透明な透過部2572aを通して後方に設けられている後装飾部2573の装飾(絵柄)が見えるため、後装飾部2573の絵柄が透過部2572aを補うことで、透過部2572aが無いような本来の絵柄が見えることとなる。
一方、前装飾部2572と後装飾部2573との間に設けられている球通路2517を遊技球Bが流通すると、前装飾部2572における透明な透過部2572aを通して遊技球Bが見えることとなる。これにより、一時的にせよ遊技球Bが見えなくなることで遊技者に対して不信感や不安感等を与えてしまうことを回避させることができ、遊技球Bによる遊技を楽しませて興趣の低下を抑制させることができる。
本実施形態の装飾体2570は、センターフレーム2511に対して、挿入部2511aの後端よりも前方の部位に取付けられる。つまり、センターフレーム2511に装飾体2570を取付けた状態では、センターフレーム2511の後端から装飾体2570の一部が後方へ突出することはない。これにより、図68に示すように、センターフレーム2511に装飾体2570を取付けた状態で、センターフレーム2511の後端を下にして台TAに置いた時に、挿入部2511aの後端面のみが台TAに当接する(触れる)。
本実施形態のセンター役物2500は、詳細は省略するが、装飾体2570の他に、図柄表示器2518、第一振分装置2530、第二振分装置2540、抽選役物2550、等がセンターフレーム2511に取付けられている。図柄表示器2518は、第一始動口2003や第二始動口2004への遊技球Bの受入れにより抽選された特別図柄や第四図柄等を表示するものである。
また、詳細な図示は省略するが、センターフレーム2511に取付けられている第一振分装置2530の第一振分ソレノイド2534や、第二振分装置2540の第二振分ソレノイド2544等のソレノイドでは、その金属ケースが後端に位置するように取付けられている。これにより、センターフレーム2511(センター役物2500)の後端を下にして台TAに置いた時に、丈夫なソレノイドの金属ケースが台TAに触れることとなり、組立作業等において傷付き難いものとすることができる。この際に、ソレノイドの金属ケースを覆うような樹脂カバーが設けられていても良い。
更に、図示は省略するが、センター役物2500には、LED基板や中継基板、ソレノイド等と接続されている配線が設けられている。当該配線は、センター役物2500のセンターフレーム2511における挿入部2511aに沿うように設けられていると共に、装飾体2570の装飾によって隠されるように設けられている。これにより、遊技者から配線が見えることによる見栄えの悪化を抑制している。なお、センターフレーム2511の挿入部2511aを二重の壁状に形成し、その壁同士の間に配線を通すようにしても良い。この場合、配線として、フレキシブルフラットケーブル(FFC)を使用することが望ましい。
なお、上記の実施形態において、透過部2572aとドット部2572bとを逆にしても良い。詳述すると、透過部2572aの部位を不透明で絵柄が施されている部位とし、ドット部2572bを透明な部位としても良い。
また、上記の実施形態では、透過部2572aを透明な部位としたものを示したが、これに限定するものではなく、前後に貫通している部位としても良い。
更に、上記の実施形態では、施されている装飾(絵柄)に透過部2572a及びドット部2572bを有する前装飾部2572と、透過部2572aを補う装飾(絵柄)が施されている後装飾部2573とからなる装飾体2570を、センター役物2500のセンターフレーム2511に設けるものを示したが、これに限定するものではなく、始動口ユニット2100、サイドユニット2200、アタッカユニット2400、裏ユニット3000、等に装飾体2570を設けるようにしても良い。
また、上記の実施形態では、装飾体2570を構成している前装飾部2572及び後装飾部2573の装飾として、透明フィルムに絵柄を印刷したものを示したが、これに限定するものではなく、図69に示すような装飾体2570Aが取付けられているセンターフレーム2511を備えたセンター役物2500としても良い。この装飾体2570Aは、センターフレーム2511における流入規制部2511cの前端に取付けられている平板状の前装飾部2572と、前装飾部2572の後方で枠状の挿入部2511aの枠内に取付けられており立体的に形成されている後装飾部2573と、を備えている。
装飾体2570Aの前装飾部2572と後装飾部2573とは、詳細な図示は省略するが、夫々立体的に造形されている装飾が施されている。前装飾部2572及び後装飾部2573には、互いに協調している装飾が夫々に施されている。また、前装飾部2572と後装飾部2573は、正面視において少なくとも一部が重なるように設けられている。
装飾体2570A(後装飾部2573)は、センターフレーム2511の後端よりも前方に設けられている。従って、センターフレーム2511に装飾体2570Aを取付けた状態では、センターフレーム2511の後端から装飾体2570Aの一部が後方へ突出することはない。
この装飾体2570Aは、予め着色された樹脂を成形したものであっても良いし、成形後に塗装したりやシールを貼り付けたりしたものであっても良い。また、装飾体2570Aの装飾として、メタリック系の顔料やメッキ処理を用いても良く、キラキラした装飾により遊技者の関心を強く引き付けさせることが可能となり、遊技者に対する訴求力の高いパチンコ機1を提供することができる。
また、装飾体2570Aとして、後装飾部2573の一部を、前装飾部2572と同じ位置まで前方へ突出させるようにしても良い。これにより、装飾体2570Aの奥行き感を出し易くすることが可能となり、より装飾効果を高めることができる。
本実施形態によれば、遊技盤5の遊技パネル1100に装着される透明なセンターフレーム2511に、センターフレーム2511の後端よりも前方に設けられている後装飾部2573と、後装飾部2573における少なくとも一部の前方に重なるように設けられている前装飾部2572とからなる装飾体2570を設けているため、センターフレーム2511が透明であることで目立ち難くして相対的に装飾体2570を目立たせることができると共に、装飾体2570の前装飾部2572と後装飾部2573との一部が重なることで、前装飾部2572の装飾と後装飾部2573の装飾との境目を判り難くすることが可能となり、前装飾部2572と後装飾部2573とによる装飾を良好な状態で遊技者に見せることができる。これにより、前装飾部2572と後装飾部2573とで装飾効果の高い装飾体2570を構成することができるため、当該装飾体2570により遊技者の関心を強く引き付けさせて飽きさせ難くすることができ、遊技者の興趣の低下を抑制させることが可能なパチンコ機1を提供することができる。
また、本実施形態によれば、装飾体2570を構成している前装飾部2572における一部(球通路2517の前方の部位)の装飾を、透過部2572aと複数のドット部2572bとで構成していると共に、当該部位の後方に前装飾部2572の装飾と協調する装飾(同じ絵柄の装飾)が施された後装飾部2573を設けているため、透明な透過部2572aを通して見える後装飾部2573により透過部2572aの部位を補って、恰も透過部2572aが存在していないかのように一つの良好な装飾(絵柄)を見せることができ、良好であることで装飾効果の高い装飾により遊技者を楽しませることができる。
更に、本実施形態によれば、上記のように、前装飾部2572における球通路2517の前方の部位の装飾を、透過部2572aと複数のドット部2572bとで構成しているため、球通路2517を流通している遊技球Bを、透過部2572aを通して前方から視認させることができる。これにより、球通路2517を遊技球Bが流通していない時には、透過部2572aを通して後方の後装飾部2573の装飾が見えることで前装飾部2572と後装飾部2573とによる良好な装飾を楽しませつつ、球通路2517を遊技球Bが流通している時には、透過部2572aを通して遊技球Bを視認させて遊技球Bが見えなくなることで遊技者に対して不信感や不安感等を与えてしまうことを回避させることができ、遊技球Bによる遊技を楽しませて興趣の低下を抑制させることができる。
また、本実施形態によれば、装飾体2570の後装飾部2573をセンターフレーム2511の後端よりも前方に設けているため、センターフレーム2511に装飾体2570を取付けた状態で、センターフレーム2511の後端を下にして台TAに置いた時に、挿入部2511aの後端面のみが台TAに当接する。従って、センターフレーム2511を、その後端側を下にした状態で台TAに置いて組立作業や分解作業をする際に、センターフレーム2511がガタツクことはなく組立作業等がし易いパチンコ機1を提供することができる。
更に、本実施形態によれば、装飾体2570の後装飾部2573をセンターフレーム2511の後端よりも前方に設けていることから、装飾体2570をセンターフレーム2511の後端よりも後方へ突出させないようにしているため、センターフレーム2511(遊技パネル1100)の後方のスペースを確保し易くすることができる。従って、センターフレーム2511の後方に、大きな装飾体や可動装飾体等を設けることが可能となり、より遊技者を楽しませることが可能なパチンコ機1を構築し易くすることができる。
また、本実施形態によれば、センターフレーム2511に特別図柄を表示するための図柄表示器2518を取付けるようにしているため、センターフレーム2511と一緒に図柄表示器2518を遊技パネル1100に取付けることができ、図柄表示器2518を別途に取付けるようにする場合と比較して、パチンコ機1の組立てにかかる手間を省くことができる。
なお、センターフレーム2511(装飾体2570、装飾体2570A)の装飾は、遊技パネル1100に施される装飾と連携していても良い。
[11-2.第二実施形態のセンター役物]
第二実施形態のセンター役物2500について、主に図70等を参照して詳細に説明する。図70(a)は第二実施形態のセンター役物の要部を枠内から見た説明図であり、(b)は(a)におけるA-A線で切断した断面図であり、(c)は(a)のセンター役物において後端を下にしてセンターフレームを台に置いた状態で示す説明図である。
第二実施形態のセンター役物2500は、詳細な図示は省略するが、第一実施形態のセンター役物2500と同様に、遊技パネル1100(パネル板1110)の前面に取付けられる透明枠状のセンターフレーム2511と、センターフレーム2511の外側から枠の内側へ遊技球Bを夫々誘導可能なワープ通路2512と、センターフレーム2511の枠内における下辺部に設けられておりワープ通路2512を流通した遊技球Bを左右方向へ転動させた後に遊技領域5a内へ放出させるステージ2513と、を備えている。
また、センター役物2500は、センターフレーム2511に取付けられており所定の装飾が施されている装飾体2580を、更に備えている。
センターフレーム2511は、遊技パネル1100におけるパネル板1110の開口部1112に挿入されると共に開口部1112の内周面に沿うように設けられており前後方向に延びている枠状の挿入部2511aと、挿入部2511aの前端外周から外方へ突出しており遊技パネル1100のパネル板1110の前面に当接する平板状のフランジ部2511bと、フランジ部2511bよりも前方へ延出しており遊技領域5aを流下する遊技球Bが遊技パネル1100におけるパネル板1110の開口部1112の内部に流入することを規制する流入規制部2511cと、挿入部2511aの前端内周から突出している平板状のサポート部2511dと、を有している。
センターフレーム2511(挿入部2511a)の後端は、遊技パネル1100(パネルホルダ1120)の後端(後面)よりも前方に位置するように設けられている。なお、センターフレーム2511の後端は、遊技パネル1100の後面よりも後方へ突出していないものであっても良いし、遊技パネル1100の後面よりも後方へ突出しているものであっても良い。
装飾体2580は、前装飾部2581と、後装飾部2582と、後装飾部2582の前面側を覆っている透明な前カバー2583と、後装飾部2582の後側に設けられており側面から入射された光を前方へ照射可能な平板状の拡散レンズ2584と、拡散レンズ2584を後方から覆うように前カバー2583の後側に取付けられている透明な後カバー2585と、拡散レンズ2584の側面に光を照射するLED2586aが実装されているLED基板2586と、を有している。
前装飾部2581は、後装飾部2582よりも前方に設けられている。前装飾部2581は、センターフレーム2511における透明なサポート部2511dの後側に取付けられている。
後装飾部2582は、センターフレーム2511の枠内に延出していると共に、一部がセンターフレーム2511(挿入部2511a)の後端よりも後方へ突出している。
前装飾部2581と後装飾部2582とは、互いに協調している装飾が施されており、正面視において少なくとも一部が重なるように設けられている。図示は省略するが、前装飾部2581の装飾と、後装飾部2582の装飾とは、正面視において互いに重なる部位を境にして、一つの絵柄の該当する部位の絵柄が夫々に施されている。
前装飾部2581及び後装飾部2582は、全体が不透明に形成されている。つまり、前装飾部2581及び後装飾部2582は、不透明部により構成されている。また、前装飾部2581及び後装飾部2582は、透光性を有している。なお、前装飾部2581や後装飾部2582に、装飾の一部に透明な透明部(透過部)を設けるようにしても良い。
前装飾部2581及び後装飾部2582は、透明な樹脂フィルムに、装飾としての絵柄を印刷したものである。本実施形態の前装飾部2581及び後装飾部2582は、フィルム状に形成されている。
LED基板2586は、前装飾部2581の後方に設けられている。これにより、LED基板2586及びLED基板2586に接続されている配線が、前装飾部2581により前方から視認不能に隠されている。LED基板2586は、実装されている複数のLED2586aを発光させることで、後装飾部2582を発光装飾させることができる。
本実施形態の装飾体2580は、センターフレーム2511に取付けた状態では、センターフレーム2511の後端から一部が後方へ突出する。これにより、図70(c)に示すように、センターフレーム2511に装飾体2580を取付けた状態で、センターフレーム2511の後端を下にして台TAに置いた時に、装飾体2580(後装飾部2582)の後端が台TAに当接する(触れる)と共に、センターフレーム2511の後端の一部が台TAに当接する。
本実施形態のセンター役物2500は、詳細は省略するが、装飾体2580の他に、図柄表示器2518、第一振分装置2530、第二振分装置2540、抽選役物2550、等がセンターフレーム2511に取付けられている。図柄表示器2518は、第一始動口2003や第二始動口2004への遊技球Bの受入れにより抽選された特別図柄や第四図柄等を表示するものである。
また、詳細な図示は省略するが、センターフレーム2511に取付けられている第一振分装置2530の第一振分ソレノイド2534や、第二振分装置2540の第二振分ソレノイド2544等のソレノイドでは、その金属ケースが後端に位置するように取付けられている。これにより、センターフレーム2511(センター役物2500)の後端を下にして台TAに置いた時に、丈夫なソレノイドの金属ケースが台TAに触れることとなり、組立作業等において傷付き難いものとすることができる。この際に、ソレノイドの金属ケースを覆うような樹脂カバーが設けられていても良い。
なお、上記の実施形態において、センターフレーム2511の挿入部2511aを二重の壁状に形成し、その壁同士の間にLED基板2586の配線を通すようにしても良い。この場合、配線として、フレキシブルフラットケーブル(FFC)を使用することが望ましい。
また、上記の実施形態では、装飾体2580を構成している前装飾部2581及び後装飾部2582の装飾として、透明フィルムに絵柄を印刷したものを示したが、これに限定するものではなく、前装飾部2581及び後装飾部2582を立体的に造形されたものとしても良い。或いは、本実施形態に図67に示す装飾体2570の構成を適用しても良い。
本実施形態によれば、遊技盤5の遊技パネル1100に装着される透明なセンターフレーム2511に、一部がセンターフレーム2511の後端よりも後方へ突出している後装飾部2582と、後装飾部2582よりも前方に設けられている前装飾部2581とからなる装飾体2580を設けているため、センターフレーム2511が透明であることで目立ち難くして相対的に装飾体2580を目立たせることができると共に、装飾体2580の前装飾部2581と後装飾部2582とで奥行のある装飾を遊技者に見せることができる。この際に、後装飾部2582と前装飾部2581とに互いに協調している装飾を施していると共に、正面視において夫々の一部が重なるように設けているため、正面(前)から見た時に、前装飾部2581の装飾と後装飾部2582の装飾との境目を判り難くすることが可能となり、前装飾部2581と後装飾部2582とによる大きな装飾を良好な状態で遊技者に見せることができ、後装飾部2582と前装飾部2581とで大きくて奥行きのある装飾効果の高い装飾体2580を構成することができる。従って、センターフレーム2511に装飾効果の高い装飾体2580を設けることができるため、当該装飾体2580により遊技者の関心を強く引き付けさせて飽きさせ難くすることができ、遊技者の興趣の低下を抑制させることが可能なパチンコ機1を提供することができる。
また、本実施形態によれば、装飾体2580を構成している後装飾部2582を、センターフレーム2511の枠内に延出させているため、後装飾部2582によって遊技パネル1100の前面の遊技領域5aを狭めてしまったり遊技領域5aを流下する遊技球Bを見え辛くしてしまったりすることはなく、遊技領域5aにおける遊技球Bによる遊技を良好な状態で遊技者に楽しませることができる。
更に、本実施形態によれば、装飾体2580を構成している後装飾部2582を、センターフレーム2511の枠内に延出させているため、遊技パネル1100の後方に設けられている演出表示装置1600、裏前演出ユニット3300、裏後演出ユニット3400等に対して、演出表示装置1600(表示画面)の周りを装飾したり、裏前演出ユニット3300や裏後演出ユニット3400の装飾体(可動装飾体)と協働してより装飾効果の高い装飾(演出)を見せたり、することができ、遊技者の関心を強く引き付けさせることが可能な訴求力の高いパチンコ機1を提供することができる。
また、本実施形態によれば、装飾体2580の不透明部によりLED基板2586のような電子部品の配線を前方から視認し難くしていることから、不透明部により配線を隠すことができるため、配線が見えることで見栄えの悪化を防止することができ、装飾体2580による装飾効果をより発揮させ易くすることができる。
更に、本実施形態によれば、装飾体2580(前装飾部2581)をLED基板2586の前方に設けるようにしていることから、装飾体2580(装飾)によってLED基板2586を隠すことができるため、LED基板2586が見えることで見栄えが悪くなることを回避させることができ、装飾体2580による装飾効果をより発揮させ易くすることができる。
また、本実施形態によれば、センターフレーム2511に特別図柄を表示するための図柄表示器2518を取付けるようにしているため、センターフレーム2511と一緒に図柄表示器2518を遊技パネル1100に取付けることができ、図柄表示器2518を別途に取付けるようにする場合と比較して、パチンコ機1の組立てにかかる手間を省くことができる。
なお、センターフレーム2511(装飾体2580)の装飾は、遊技パネル1100に施される装飾と連携していても良い。
[11-3.第三実施形態のセンター役物]
続いて、第三実施形態のセンター役物2500Aについて、主に図71乃至図74等を参照して詳細に説明する。図71は、第三実施形態のセンター役物が設けられている遊技盤において遊技パネルよりも後側を省略した状態で示す正面図である。図72は、図71のセンター役物と遊技パネルとを分解した状態で前から見た分解斜視図である。図73は、図71のセンター役物を分解して前から見た分解斜視図である。図74(a)~(g)はセンター役物における第一フレームと第二フレームとの間の様々な接合パターンを示す説明図である。なお、以下では、上記のセンター役物2500と同じ構成については同じ符号を付し、詳細な説明は省略する。
第三実施形態のセンター役物2500Aは、図71に示すように、遊技領域5a内において、始動口ユニット2100よりも上方で、正面視略中央やや上寄りに配置されており、遊技パネル1100の前面に取付けられている。なお、本実施形態の遊技パネル1100は、図72に示すように、一枚の板材により構成されている。
センター役物2500Aは、透明で枠状に形成されているセンターフレーム2700と、センターフレーム2700の外側から枠の内側へ遊技球Bを夫々誘導可能なワープ通路2512と、センターフレーム2700の枠内における下辺部に設けられておりワープ通路2512を流通した遊技球Bを左右方向へ転動させた後に遊技領域5a内へ放出させるステージ2513と、を備えている。詳細は後述するが、枠状のセンターフレーム2700は、枠の周方向へ複数のフレームに分割されている。なお、本実施形態に、図67に示す装飾体2570や図70に示す装飾体2580を設けても良い。また、センターフレーム2700(装飾体2570、装飾体2570A、装飾体2580)の装飾は、遊技パネル1100に施される装飾と連携していても良い。
また、センター役物2500Aは、センターフレーム2700を構成している複数のフレームに対して、隣接しているフレーム同士を連結している連結保持部2710を有している。
更に、センター役物2500Aは、第一始動口2003や第二始動口2004への遊技球Bの受入れにより抽選された特別図柄の抽選結果を表示する図柄表示器2518と、ゲート2010及び第二始動口2004を有している第二始動口ユニット2720と、大入賞口2005を有しているアタッカユニット2730と、役物入賞口2006を有している役物入賞口ユニット2740と、を有している。
[11-3a.センターフレーム]
第三実施形態のセンター役物2500Aにおけるセンターフレーム2700は、遊技パネル1100に形成された開口部1112の縁部に対応して設けられており、遊技領域5aを流下する遊技球Bが開口部1112の内部に流入することを規制する流入規制部2700aと、流入規制部2700aの後端から遊技パネル1100の前面と平行な方向へ延出しているフランジ部2700bと、を有している。
センターフレーム2700の流入規制部2700aは、遊技パネル1100にセンターフレーム2700を取付けた状態で、遊技パネル1100の前面から前方へ突出している。
フランジ部2700bは、センターフレーム2700における周方向の場所に応じて、枠の外側や内側へ平板状に延出している。フランジ部2700bは、センターフレーム2700を遊技パネル1100の前面に取付けた状態で、一部の後面が遊技パネル1100の前面に当接している。
また、センターフレーム2700は、流入規制部2700aの後端から枠内の外側及び内側のうちの少なくとも一方側においてフランジ部2700bが延出していない非フランジ部2700cと、フランジ部2700bよりも後方へ延出しており遊技パネル1100の開口部1112に挿入される挿入部(図示は省略)と、を有している。この非フランジ部2700cの部位では、流入規制部2700aの後面がフランジ部2700bの後面と一致している。挿入部は、センターフレーム2700の全周に対して一部に設けられている。
本実施形態の枠状のセンターフレーム2700は、周方向へ複数に分割されている。詳述すると、センターフレーム2700は、第一フレーム2701、第二フレーム2702、第三フレーム2703、第四フレーム2704、及び、第五フレーム2705、の五つに分割されており、夫々が同じような構成に形成されている。このセンター役物2500Aでは、隣接しているフレーム同士を連結している連結保持部2710を、有している。
第一フレーム2701は、センターフレーム2700の上辺と左辺の上下中間から上側の部分を構成している。第二フレーム2702は、第一フレーム2701の左辺の下端と続くようにセンターフレーム2700の左辺の上下中間から下側と下辺の部分を構成している。第三フレーム2703は、第一フレーム2701の右端と続くようにセンターフレーム2700の右辺の上部を構成している。第四フレーム2704は、第三フレーム2703の下端と続きセンターフレーム2700の右辺の中間部分を構成している。第五フレーム2705は、第四フレーム2704の下端と続くと共に第二フレーム2702の右端と続くようにセンターフレーム2700の下部を構成している。
第二フレーム2702には、ワープ通路2512とステージ2513とが取付けられている。第三フレーム2703には、役物入賞口ユニット2740が取付けられている。第四フレーム2704には、第二始動口ユニット2720が取付けられている。第五フレーム2705には、アタッカユニット2730が取付けられている。
以下では、センターフレーム2700を構成している複数のフレームのうち、代表して第一フレーム2701と第二フレーム2702とについて詳細に説明する。
まず、センターフレーム2700の第一フレーム2701は、透明に形成されている。この第一フレーム2701は、センターフレーム2700(センター役物2500A)において、上辺の部位と、左辺における上下方向の上側の部位と、を構成するように形成されている。
第一フレーム2701は、遊技パネル1100に形成された開口部1112の縁部に対応するように設けられており、遊技領域5aを流下する遊技球Bが開口部1112の内部に流入することを規制する第一流入規制部2701aと、第一流入規制部2701aの後端と接続されており遊技パネル1100の前面に沿うように延出している平板状の第一フランジ部2701bと、第一流入規制部2701aの後端において枠の外側及び内側の少なくとも一方に第一フランジ部2701bが設けられていない第一非フランジ部2701cと、を有している。
第一フレーム2701の第一流入規制部2701aは、上辺における左右方向中央付近から右側が右方へ低くなるように直線状に傾斜しており、その部位の左側が左方へ向かうほど低くなるように多段階に屈曲して左辺へ移行し、左辺の下端が下方へ垂直に延出している。
第一流入規制部2701aの右端付近における枠の内側の部位と、左端下部の下方へ垂直に延出している部位における枠の内側の部位と、には連結保持部2710の一方の端部が着脱可能に取付けられる。
第一フランジ部2701bは、第一流入規制部2701aにおける上辺の右方へ低くなるように直線状に傾斜している部位では枠の外側と内側の両方へ延出するように設けられている。また、第一フランジ部2701bは、第一流入規制部2701aにおける左方へ向かうほど低くなるように多段階に屈曲している部位では、その左端付近を除いて枠の外側へ延出するように設けられており、その左端付近(第一流入規制部2701aの左端下部の下方へ垂直に延出している部位よりも上側の部位)では枠の内側にも延出するように設けられている。
第一フランジ部2701bには、遊技パネル1100に取付けるための取付孔が適宜の位置に設けられている。
第一非フランジ部2701cは、第一流入規制部2701aの右端では枠の内側のみに設けられており、第一流入規制部2701aの左端下部の下方へ垂直に延出している部位では枠の外側と内側の両方に設けられている。
次に、センターフレーム2700の第二フレーム2702は、透明に形成されている。この第二フレーム2702は、センターフレーム2700(センター役物2500A)において、左辺における上下方向の下側の部位と、下辺の部位と、を構成するように形成されている。第二フレーム2702には、ワープ通路2512とステージ2513とが取付けられる。
センターフレーム2700の第二フレーム2702は、遊技パネル1100に形成された開口部1112の縁部に対応するように設けられており、遊技領域5aを流下する遊技球Bが開口部1112の内部に流入することを規制する第二流入規制部2702aと、第二流入規制部2702aの後端と接続されており遊技パネル1100の前面に沿うように延出している平板状の第二フランジ部2702bと、第二流入規制部2702aの後端において枠の外側及び内側の少なくとも一方に第二フランジ部2702bが設けられていない第二非フランジ部2702cと、を有している。
第二フレーム2702の第二流入規制部2702aは、上下に延出している左辺の部位と、下辺の右端の部位と、に左右に分かれて設けられており、それらの部位の間には設けられていない。詳述すると、左側の第二流入規制部2702aは、左辺の上端から左辺に沿って下方へ延出した後に下辺へ移行し、下辺に沿って右端が低くなるように右方(右下)へ短く延出している。また、右側の第二流入規制部2702aは、下辺の右端に沿って上下に延出している。
左側の第二流入規制部2702aの上端における枠の内側の部位と、右側の第二流入規制部2702aにおける右側(右側面)の部位と、には連結保持部2710の一方の端部が着脱可能に取付けられる。
左側の第二流入規制部2702aにはワープ通路2512の入口が設けられており、左右の第二流入規制部2702aの間にはステージ2513が設けられる。
第二フランジ部2702bは、左側の第二流入規制部2702aにおける上下に延出している部位(左辺の部位)では、枠の内側へ延出するように設けられており、左側の第二流入規制部2702aにおける下辺に沿って右下へ延出している部位では、枠の外側と内側の両方へ延出するように設けられている。この第二フランジ部2702bは、下辺では枠の外側へ大きく延出するように設けられており、当該部位により左右に分かれている二つの第二流入規制部2702aを繋いでいる。
第二フランジ部2702bには、遊技パネル1100に取付けるための取付孔が適宜の位置に設けられている。
第二非フランジ部2702cは、左側の第二流入規制部2702aにおける左辺に沿って上下に延出している部位では枠の外側に設けられており、右側の第二流入規制部2702aでは右側(右側面)に設けられている。
この第二フレーム2702は、第二フランジ部2702bよりも後方へ延出しており、遊技パネル1100の開口部1112に挿入される第二挿入部(図示は省略)、を更に有している。第二挿入部は、左右に分かれている二つの第二流入規制部2702aを繋ぐように、第二フランジ部2702bから後方へ突出している。この第二挿入部にステージ2513が取付けられる。
続いて、第一フレーム2701及び第二フレーム2702を例にして、遊技パネル1100へのセンターフレーム2700の取付について説明する。第一フレーム2701及び第二フレーム2702は、第一フランジ部2701b及び第二フランジ部2702bに設けられている取付孔を通して、取付ビスにより遊技パネル1100に取付けられる。
例えば、第一フレーム2701と第二フレーム2702との間では、図71及び図74(a)に示すように、第一フレーム2701の第一流入規制部2701aと第二フレーム2702の第二流入規制部2702aとが隣り合うように遊技パネル1100に取付けられる。
詳述すると、第一フレーム2701の第一流入規制部2701aに対して、第二フレーム2702の第二流入規制部2702aが、上下方向の位置が若干重なるように、右方に位置している状態で、第一フレーム2701及び第二フレーム2702が遊技パネル1100の前面に取付けられる。換言すると、第一非フランジ部2701cが設けられている第一流入規制部2701aの右側面側と、第二非フランジ部2702cが設けられている第二流入規制部2702aの左側面側とが、対面するように取付けられている。これにより、第一非フランジ部2701c及び第二非フランジ部2702cにより、第一流入規制部2701aと第二流入規制部2702aとを可及的に接近させることが可能である。
ところで、第一実施形態のセンター役物2500のように枠状の周方向に対して分割されていないセンターフレーム2511を用いているものでは、設計変更等により遊技パネル1100の前面の遊技領域5aの大きさを変更したい場合、センターフレーム2511を作り直す必要があり、コストが増加する恐れがある。
これに対して、本実施形態のセンターフレーム2700は、枠の周方向へ複数のフレーム(ここでは、第一フレーム2701~第五フレーム2705の五つ)に分割されているため、各フレームを取付ける位置を変更することで遊技領域5aの大きさを自由に変えることができる。
具体的には、例えば、遊技領域5aにおける第二フレーム2702よりも下方の領域を大きくする場合、図74(b)に示すように、図74(a)の状態よりも第二フレーム2702を上方へ移動させた位置に取付ける。これにより、上下方向に対して遊技領域5a(遊技パネル1100の開口部1112)の拡大縮小に対応することができる。
或いは、遊技領域5aにおける第二フレーム2702よりも左方の領域を小さくする場合、図74(c)に示すように、第二フレーム2702の第二流入規制部2702aが、第一フレーム2701の第一流入規制部2701aの左方に位置するように、図74(a)の状態よりも第二フレーム2702を左方へ移動させた位置に取付ける。これにより、左右方向に対して遊技領域5a(遊技パネル1100の開口部1112)の拡大縮小に対応することができる。
更には、図74(d)に示すように、第一フレーム2701の第一流入規制部2701aの下端と、第二フレーム2702の第二流入規制部2702aの上端とを、互いに対向させた状態とし、互いに突き合わせて夫々を遊技パネル1100に取付けるようにしても良い。これにより、図74(a)の状態よりも遊技領域5aにおける第二フレーム2702の左方及び下方の領域を小さくすることができる。また、この場合、第一流入規制部2701aと第二流入規制部2702aとが付き合わされていることで、第一フレーム2701と第二フレーム2702とが一体であるように見せることができる。
また、図74(e)に示すように、第一フレーム2701の第一流入規制部2701aと、第二フレーム2702の第二流入規制部2702aとの間に、隙間Cが形成されるようにしても良い。この際に、隙間Cを遊技球Bの直径よりも小さくすることが望ましい。なお、隙間Cが遊技球Bの直径よりも大きい場合は、隙間Cを遊技球Bが通過しないように、障害釘を植設すれば良い。
更に、図74(f)に示すように、第二フレーム2702の第二流入規制部2702a側の左右両側にも、第二フランジ部2702bが形成されていない第二非フランジ部2702cを設けるようにしても良い。これにより、第一流入規制部2701aの左右両側に第一非フランジ部2701cを設けていると共に、第二流入規制部2702aの左右両側に第二非フランジ部2702cを設けているため、第一流入規制部2701aと第二流入規制部2702aとを左右方向に対して可及的に接近させることができる。従って、第一フレーム2701に対する第二フレーム2702の配置自由度を高めることができ、設計変更等による様々な大きさの遊技領域5aに対応することができる。つまり、上下方向及び左右方向に対して遊技領域5a(遊技パネル1100の開口部1112)の拡大縮小に対応させ易くすることができる。
また、図74(g)に示すように、第一フレーム2701において第一流入規制部2701aの下端まで第一フランジ部2701bを設けるようにしても良い。これにより、第一フランジ部2701bの存在により第一流入規制部2701aの剛性を高めることができるため、第一流入規制部2701aに遊技球Bが当接しても破損し難くすることができる。
このセンターフレーム2700では、隣接しているフレーム同士の間に余裕部が設けられている。余裕部とは、特に符号は付していないが図74に例示するように、隣接しているフレームの端部同士に対して、相対的に移動できるようにしている部位(フレームの端部の周囲の部位)のことである。この余裕部は、遊技パネル1100の開口部1112が左右方向に拡大縮小する可能性がある場合、左右方向に移動可能とする余裕部が少なくとも二か所必要である。同様に、開口部1112が上下方向に拡大縮小する可能性がある場合、上下方向に移動可能とする余裕部が少なくとも二か所必要である。更に、開口部1112が上下左右方向に拡大縮小する可能性がある場合、少なくとも上下方向は二か所、少なくとも左右方向も二か所、移動可能とする余裕部が必要である。
具体的には、第二フレーム2702の両端、つまり、第一フレーム2701と第二フレーム2702との間と、第二フレーム2702と第五フレーム2705と、の間の二か所に上下方向への余裕部が設けられている(図71乃至図73を参照)。また、第三フレーム2703の両端、つまり、第一フレーム2701と第三フレーム2703との間と、第三フレーム2703と第四フレーム2704と、の間の二か所に左右方向への余裕部が設けられている。なお、上下方向の余裕部については図74に示しているが、左右方向の余裕部についても同様である。
ところで、左右方向の余裕部として、例えば、第一フレーム2701と第三フレーム2703との間の部位では、第一フレーム2701の第一流入規制部2701aにおける左右に延出している部位の上面を遊技球Bが転動するため、第一フレーム2701が左方へ移動して取付けられると、第一フレーム2701と第三フレーム2703との間に隙間が形成され、その隙間により遊技球Bの流れが阻害されてしまう恐れがある。このような場合には、余裕部の部位にスペーサを設けたり障害釘を列設したりして、遊技球Bの流れを阻害しないようする。このようなことから、遊技領域5a(遊技パネル1100の開口部1112)を上下方向へ拡大するよりも左右方向へ拡大する方が、遊技球Bの流れ等の理由で難易度が高い。
このように、本実施形態によれば、センター役物2500Aにおける枠状のセンターフレーム2700を、枠の周方向へ第一フレーム2701や第二フレーム2702等のように複数のフレームに分割しているため、設計変更等により遊技領域5aの大きさを変更したい時に、分割されている第一フレーム2701や第二フレーム2702等のフレームの取付位置を変更することで、センターフレーム2700全体を作り直さなくても簡単に対応することができ、設計自由度の高いパチンコ機1を提供することができる。
また、本実施形態によれば、センター役物2500Aにおけるセンターフレーム2700を、第一フレーム2701や第二フレーム2702等のように複数のフレームに分割しているため、センター役物2500Aのデザインを部分的に変更する場合、変更する部位に該当するフレームのみを変更することで、センター役物2500Aを所望のデザインに簡単に変更することができ、機種変更にかかるコストを抑制させることができると共に、機種変更に対して容易に対応可能なパチンコ機1を提供することができる。
また、本実施形態によれば、枠状のセンターフレーム2700を、枠の周方向へ第一フレーム2701や第二フレーム2702等のように複数のフレームに分割していることから、遊技パネルに対する各フレームの取付位置を変更することで、センターフレーム2700全体を作り直さなくても遊技領域5aの大きさを簡単に変更することができるため、パチンコ機1にかかるコストを低減させることができる。
また、本実施形態によれば、センター役物2500Aにおける枠状のセンターフレーム2700を、枠の周方向へ第一フレーム2701や第二フレーム2702等のように複数のフレームに分割しているため、センター役物2500Aに設けられている図柄表示器2518、第二始動口ユニット2720、アタッカユニット2730、等において不具合が発生した時に、センターフレーム2700全体を遊技パネル1100から取外さなくても、不具合が発生したユニットが設けられているフレームのみを取外せば良く、メンテナンス作業にかかる手間を容易なものとすることができる。
[11-3b.連結保持部]
連結保持部2710は、枠の周方向へ第一フレーム2701や第二フレーム2702等のように複数のフレームに分割されているセンターフレーム2700の各フレームにおいて、互いに隣接しているフレーム同士を連結するものである。
ところで、本実施形態のセンターフレーム2700では、上記のように、枠の周方向に対して複数のフレームに分割する構成としていることから、組立てやメンテナンス等における脱着作業の時に、一部のフレームが落下して破損してしまう恐れがある。これに対して、本実施形態では、隣接しているフレーム同士を連結する連結保持部2710を設けるようにしている。連結保持部2710は、図71乃至図73に示すように、可撓性を有する線状(紐状)の部材に形成されている。この連結保持部2710の長さは、例えば、遊技盤5を立てた状態でセンターフレーム2700を外した時に、遊技盤5の下端までいかない程度の長さが落下保護の観点から望ましい。
本実施形態の連結保持部2710は、装飾性を有する球鎖を使用している。これにより、連結保持部2710が見えても、装飾性を有していることで装飾を兼ねることが可能となるため、遊技盤5全体の見栄えが悪くなることはない。
連結保持部2710は、例えば、第一フレーム2701と第二フレーム2702との間では、一方の端部が第一フレーム2701の第一流入規制部2701aに対して着脱可能に取付けられており、他方の端部が第二フレーム2702の第二流入規制部2702aに対して着脱可能に取付けられている。この連結保持部2710の取付けは、他のフレーム同士の間でも同様である。
図71乃至図73では、第一フレーム2701と第二フレーム2702との間、第一フレーム2701と第三フレーム2703との間、及び、第二フレーム2702と第五フレーム2705との間、を連結保持部2710により連結しているものを示しているが、第三フレーム2703と第四フレーム2704との間、第四フレーム2704と第五フレーム2705との間、も同様の連結保持部2710により連結されている。
この連結保持部2710によれば、センターフレーム2700を構成している第一フレーム2701や第二フレーム2702等の複数のフレームにおいて、隣接しているフレーム同士を連結しているため、着脱作業の時に一つのフレームを取外しても、取外したフレームが作業台や床等に落下することはなく、落下によるフレームの破損を防止することができる。
なお、上記の実施形態では、連結保持部2710として、装飾を兼ねたものを示したが、これに限定するものではなく、装飾を兼ねていないものとしても良い。この場合は、連結保持部2710を、センターフレーム2700や装飾体等に隠れて前方から視認し難い部位に設けることが望ましい。
また、上記の実施形態では、連結保持部2710が遊技者から見えるようにしたものを示したが、これに限定するものではなく、通常状態では遊技者から全く見えないようにしても良い。換言すると、連結保持部2710をセンターフレーム2700における遊技者から見えない部位に設けると、遊技中等の通常状態において遊技者の目に触れることはない。
また、上記の実施形態では、全ての隣接しているフレーム同士を連結保持部2710により連結しているものを示したが、これに限定するものではなく、メンテナンス等において遊技パネル1100から取外す必要のないフレームについては連結保持部2710により隣接するフレームに連結していなくても良い。例えば、第一フレーム2701及び第二フレーム2702には可動物もないためメンテナンスの必要はなく、重量も軽いので落下したとしても破損の恐れもないことから連結させる必要はない。逆に、第三フレーム2703~第五フレーム2705には可動物を持ち重量も重いので連結の必要が高まる。従って、第一フレーム2701及び第二フレーム2702は連結させないことにより簡略化し、第三フレーム2703~第五フレーム2705は、他のフレームではなく、遊技盤5(遊技パネル1100)の裏の他の丈夫な部材と着脱可能に連結するのが望ましい。
更に、上記の実施形態に対して、連結保持部2710を複数(本)設けても良い。この場合、製造時やメンテナンス中等において、障害釘等に連結保持部2710が絡まって障害釘を曲げてしまわないために、複数の連結保持部2710を束ねることが望ましい。
また、連結保持部2710を複数設け、それらが遊技盤5(遊技パネル1100)の裏の複数の場所に連結されると、センターフレーム2700を遊技パネル1100に取付けている取付ビスを取外した状態でセンターフレーム2700(各フレーム)の姿勢を維持することが可能になる。このため製造時やメンテナンス時に、センターフレーム2700を支える必要がなく作業性が向上する。
このように、本実施形態によれば、センターフレーム2700を、枠の周方向へ第一フレーム2701や第二フレーム2702等のように複数のフレームに分割した上で、互いに隣接しているフレーム同士を連結保持部2710により連結するようにしているため、組立てやメンテナンス等における着脱作業の時に、遊技パネル1100に取付けている取付ビスを取外すことで、一部のフレームが遊技パネル1100から外れて落下しようとしても、可撓性を有する紐状の連結保持部2710により他のフレームと繋がれていることで、連結保持部2710が命綱のように作用して外れたフレームがぶら下がった状態となる。これにより、外れたフレームが、作業台や床等に落下することはなく、当該フレームが破損することはない。
また、本実施形態によれば、連結保持部2710を第一流入規制部2701aや第二流入規制部2702a等に対して着脱可能に取付けているため、連結保持部2710の取付部分を第一流入規制部2701a等から取外すことで、第一フレーム2701等を単体で遊技パネル1100から取外すことができる。
更に、本実施形態によれば、可撓性を有する紐状の連結保持部2710により隣接しているフレーム同士を連結しているため、設計変更等により、例えば、第一フレーム2701に対して第二フレーム2702の位置を変更しても、連結保持部2710が変形して追従することで位置の変更に対応することができ、設計自由度の高いパチンコ機1を提供することができる。
なお、連結保持部2710として、例えば、図74(a)に示すように、第一フレーム2701の第一流入規制部2701aと、第二フレーム2702の第二流入規制部2702aとの間に、隙間Cが形成されるように第一フレーム2701と第二フレーム2702を遊技パネル1100に取付ける場合、第一流入規制部2701aと第二流入規制部2702aとを連結している(繋いでいる)連結保持部2710に、隙間Cを遊技球Bが通過しないようにする規制部としての機能を持たせるようにしても良い。
[12.遊技盤におけるサイドユニットの詳細]
次に、上記の遊技盤5に設けられているサイドユニット2200の詳細について説明する。サイドユニット2200は、遊技領域5a内において、始動口ユニット2100の左方で内レール1002に沿うように延出しており、遊技パネル1100に前方から取付けられている。サイドユニット2200は、遊技球Bを常時受入可能に開口している三つの一般入賞口2001と、遊技球Bを常時受入可能に開口している一つのサブアウト口2021と、を備えている。
サイドユニット2200は、詳細に図示は省略するが、一般入賞口2001やサブアウト口2021を形成し断面がU字状で前後方向へ短く延出していると共に上方及び後方へ開放されており左右方向へ列設されている複数の球受部と、球受部と同じ長さで前後方向へ短く枠状に延出しており正面視右端の球受部の右方に設けられている棚部2201と、複数の球受部及び棚部の夫々の前端同士を繋いでいる平板状の前板と、正面視左端の球受部及び棚部2201の夫々の後端から夫々左右方向外方へ平板状に延出しているフランジ部と、各球受部の夫々の後端から樋状に後方へ延出している樋部と、を有している。
また、サイドユニット2200は、フランジ部から後方へ突出している二つの位置決突起と、フランジ部を貫通している二つの取付孔と、を有している。位置決突起は、遊技パネル1100におけるパネル板1110の位置決孔1113(図76を参照)に挿入されることでパネル板1110に対してサイドユニット2200を位置決めするためのものである。取付孔は、フランジ部をパネル板1110の前面に当接させた状態で、前方から取付ビスを挿通させてパネル板1110の取付孔1114(図76を参照)にねじ込んで締め付けることで、サイドユニット2200をパネル板1110の前面に取付けるためのものである。
サイドユニット2200は、遊技盤5に組立てた状態で、複数の球受部、つまり、三つの一般入賞口2001と一つのサブアウト口2021とが、遊技パネル1100の前面よりも前方に突出している。また、球受部から後方へ延出している樋部は、その後端が遊技パネル1100におけるパネル板1110の板厚内に位置しており、パネル板1110の後面よりも後方へ突出していない。
このサイドユニット2200は、一般入賞口2001(球受部)に受入れられた遊技球Bを、樋部により遊技パネル1100の後方に誘導し、裏ユニット3000の裏球誘導ユニット3100に受け渡す。そして、裏ユニット3000の裏球誘導ユニット3100に受け渡された遊技球Bは、一般入賞口センサ3001に検知された上で下方へ排出される。一方、サブアウト口2021に受入れられた遊技球Bは、上記と同様に、裏ユニット3000の裏球誘導ユニット3100に受け渡され、下方の循環球経路ユニット500のセーフ球受口500bへ排出される。
このサイドユニット2200は、断面がU字状の複数の球受部の夫々の前端と、断面が枠状の棚部2201の前端とを、平板状の前板により繋いでいるため、平板状の台板から複数の球受部が前方へ突出しているような従来のサイドユニットと比較して、剛性が高くなっている。従って、リサイクル等によるパチンコ機1の分解作業において、サイドユニット2200をパネル板1110に取付けている取付ビスを取外してサイドユニット2200を前方へ引っ張った時に、サイドユニット2200の剛性が高められていることでサイドユニット2200が撓むことはない。これにより、パネル板1110の位置決孔1113に対してサイドユニット2200の位置決突起が傾くことはなく、遊技パネル1100(パネル板1110)からサイドユニット2200を簡単に取外すことができ、分別する際の分解作業を軽減することが可能なパチンコ機1を提供することができる。
また、サイドユニット2200は、棚部2201の前端において前板の一部が、棚部2201よりも上方へ突出しているため、パチンコ機1の分解作業において、作業者の指を棚部から突出している部位に引っ掛けることで、サイドユニット2200を容易に前方へ引っ張ることができ、分解作業の作業性が良い。
また、サイドユニット2200は、遊技盤5に組立てた状態では、平板状の台板により開口部1112を前方から塞いでいるため、パネル板1110の後側から塵や埃等の異物が開口部1112を通してパネル板1110の前面側の遊技領域5aに侵入するのを防止することができる。
[12-1.第二実施形態のサイドユニット]
次に、第二実施形態のサイドユニット2800について、主に図75乃至図77等を参照して詳細に説明する。図75(a)は第二実施形態のサイドユニットが設けられている遊技盤の要部を示す正面図であり、(b)は(a)を前から見た斜視図である。図76(a)は図75の遊技盤において遊技パネルからサイドユニットを分解して示す分解斜視図であり、(b)は(a)のサイドユニットを分解して前から示す分解斜視図であり、(c)は(b)を後ろから見たサイドユニットの分解斜視図であり、(d)は遊技パネルとサイドユニットとの関係を縦断面で示す説明図である。図77は、図76のサイドユニットと遊技パネルとの関係を横断面で示す説明図である。
本実施形態のサイドユニット2800が設けられている遊技盤5において、図50に示す遊技盤5と同じ構成の部位については、同じ符号を付し、詳細な説明は省略する。
第二実施形態のサイドユニット2800は、遊技者がハンドル160を操作することで遊技球Bが打ち込まれる遊技領域5a内において、始動口ユニット2100の左方で内レール1002に沿うように延出しており、遊技パネル1100に前方から取付けられている。サイドユニット2800は、遊技球Bを常時受入可能に開口している三つの一般入賞口2001を備えている。
サイドユニット2800は、図76等に示すように、遊技パネル1100における障害釘が植設される平板状のパネル板1110に前方から取付けられる第一構成部材2811と、第一構成部材2811に後側から取付けられる第二構成部材2812と、から構成されている。本実施形態のサイドユニット2800は、第一構成部材2811の後側に第二構成部材2812が取付けられている。
サイドユニット2800の第一構成部材2811は、遊技パネル1100(パネル板1110)の前面に当接可能な平板状の台板2811aと、台板2811aから前方へ突出していると共に上方及び後方が解放されており一般入賞口2001を形成している複数の球受部2811bと、を有している。
台板2811aは、前構成部材1000の内レール1002に沿うように延出している。三つの球受部2811bは、互いが左右に離隔して設けられていると共に、右方の球受部2811bほど下方へ位置するように設けられている。左端の球受部2811bは、前端面が下端まで台板2811aと平行に形成されている。残り(中央と右端)の球受部2811bは、前端面が下端へ向かうほど後方へ移動するように傾斜している。
また、第一構成部材2811は、台板2811aから後方へ突出している二つの位置決突起2811cと、台板2811aを貫通しており遊技パネル1100に取付けるための複数(ここでは三つ)の取付孔2811dと、球受部2811b(台板2811a)の後端面に設けられており第二構成部材2812を取付けるための複数の被取付孔(図示は省略)と、を有している。
二つの位置決突起2811cは、台板2811aの長手方向へ離隔して設けられている。位置決突起2811cは、遊技パネル1100のパネル板1110に設けられている位置決孔1113に挿入される。本実施形態では、二つの位置決突起2811cは同じ長さである。
三つの取付孔2811dは、台板2811aにおける位置決突起2811cの近傍と、台板2811aの左右方向中央付近の上部と、に設けられている。これら取付孔2811dは、前側に皿ザグリが形成されており、パネル板1110の取付孔1114にねじ込まれる皿頭の取付ビス(図示は省略)が前方から挿通される。パネル板1110の前面に取付けた状態では、取付ビスの頭部が台板2811aの前面よりも前方へ突出することはない。
被取付孔は、後述する第二構成部材2812の取付孔(図示は省略)に挿通された取付ビスがねじ込まれるものである。
第二構成部材2812は、前方へ開放された容器状に形成されており、一般入賞口2001(球受部2811b)に受入れられた遊技球Bを遊技パネル1100(パネル板1110)の面(板面)に沿って流下させる球通路2812aと、球通路2812aの下流端において後方へ向かって開口している通路出口2812bと、第一構成部材2811に取付けられるための複数の取付孔(図示は省略)と、を有している。
本実施形態の第二構成部材2812は、図76(d)及び図77に示すように、遊技パネル1100のパネル板1110の開口部1112内に挿入されると共に、奥行きがパネル板1110の板厚内に収まるように形成されている。なお、図76(d)は、左右方向中央の球受部2811bの部位で切断したものである。
第二構成部材2812の球通路2812aは、前構成部材1000の内レール1002に沿うと共に、パネル板1110の面に沿って右方へ向かうほど低くなるように形成されている。通路出口2812bは、球通路2812aの下流端である第二構成部材2812の右端において後方へ向かって開口している。
第二構成部材2812の取付孔は、第一構成部材2811の被取付孔と対応する部位に設けられている。第二構成部材2812の取付孔に対して、取付ビスを後方から挿通させて第一構成部材2811の被取付孔にねじ込むことにより、第一構成部材2811に後側から第二構成部材2812が取付けられる。
本実施形態のサイドユニット2800は、図77に示すように、一般入賞口2001(球受部2811b)と連通している支流部2801(図77において薄い網掛けで示す部位)と、支流部2801と合流しており遊技パネル1100におけるパネル板1110の面(板面)に沿って延出している本流部2802(図77において濃い網掛けで示す部位)と、を有している。球通路2812aは、複数の支流部2801と、本流部2802と、で構成されている。
支流部2801は、パネル板1110の前面よりも前方の部位から、パネル板1110の前面よりも後方で本流部2802の上方の(パネル板1110の板厚の)部位まで、後方へ延出している。
本流部2802は、遊技パネル1100のパネル板1110の板面に沿うと共に、右方へ低くなるように台板2811aの左端付近から右端付近まで延出している。本流部2802の長さは、遊技球Bの直径の2倍以上(本実施形態では、8~10倍)である。
本実施形態のサイドユニット2800は、第一構成部材2811の後方に第二構成部材2812を位置させ、第二構成部材2812の後方から取付ビスを第二構成部材2812の取付孔を通して第一構成部材2811の被取付孔にねじ込むことで、組立てられる。これにより、第一構成部材2811に後側から第二構成部材2812が取付けられたサイドユニット2800が構築される。
第二構成部材2812の球通路2812aは、図示するように、前方へ開放されているが、サイドユニット2800に構築するために、前側に第一構成部材2811が取付けられると、球通路2812aの前端側が第一構成部材2811の台板2811aにより閉鎖された状態となり、球通路2812aから遊技球Bが前方へ零れることはない。つまり、第一構成部材2811と第二構成部材2812とで球通路2812aを構成しておいる。換言すると、第一構成部材2811と第二構成部材2812との間に球通路2812aが設けられている。
このサイドユニット2800は、遊技パネル1100におけるパネル板1110の前方から、第一構成部材2811の台板2811aがパネル板1110を貫通している開口部1112を閉鎖するように、台板2811aをパネル板1110の前面に当接させる。この際に、第一構成部材2811の二つの位置決突起2811cを、パネル板1110の位置決孔1113に挿入させる。この状態では、第一構成部材2811の取付孔2811dが、パネル板1110の取付孔1114と一致している。
そして、前方から第一構成部材2811の取付孔2811dを通して取付ビスをパネル板1110の取付孔1114にねじ込んで締め付けることにより、サイドユニット2800がパネル板1110の前面に取付けられる。この際に、第一構成部材2811の取付孔2811dを、位置決突起2811cの近傍に設けているため、取付孔2811dを介して取付ビスを遊技パネル1100におけるパネル板1110の取付孔1114にねじ込むことで、位置決突起2811cをパネル板1110側へ強く押し付けて位置決孔1113へ確実に挿入させることができ、位置決突起2811cの不完全挿入による浮き上がりを防止することができる。
サイドユニット2800をパネル板1110の前面に取付けた状態(遊技盤5を組立てた状態)では、第二構成部材2812がパネル板1110の開口部1112内でパネル板1110の板厚内に位置しており、パネル板1110の後面よりも前方に位置している。換言すると、遊技盤5に組立てた状態では、サイドユニット2800がパネル板1110の後面よりも後方へ突出しておらず、パネル板1110の後方のスペースを広く確保することが可能である。
本実施形態では、サイドユニット2800及びパネル板1110が透明な合成樹脂により形成されており、サイドユニット2800等を通して前方からパネル板1110の後方に設けられている演出ユニットの装飾を視認することができる。ここでは、サイドユニット2800の後方に、遊技の進行に応じて昇降可能な裏下可動装飾体3510を有する裏下演出ユニット3500が設けられている。この裏下可動装飾体3510は、全体のほとんどがセンター役物2500の枠内よりも下方に位置している待機位置と、待機位置から上昇してセンター役物2500の枠内に位置している出願位置と、の間で昇降可能に設けられている。そして、裏下可動装飾体3510が下降した待機位置の状態では、透明なサイドユニット2800及びパネル板1110を通して、前方から視認することができる。
サイドユニット2800では、一般入賞口2001に遊技球Bが受入れられると、一般入賞口2001を形成している球受部2811bによりパネル板1110の前面よりも後方の球通路2812aへ誘導され、球通路2812aによりパネル板1110の面に沿って流下した後に、通路出口2812bから後方に設けられている裏ユニット3000の裏球誘導ユニット3100に受け渡される。裏球誘導ユニット3100に受け渡された遊技球Bは、一般入賞口センサ3001に検知された後に、下方へ排出される。
本実施形態では、詳細な図示は省略するが、第二構成部材2812の通路出口2812bが、待機位置の裏下可動装飾体3510よりも下方に設けられている。つまり、一般入賞口2001(球受部2811b)に受入れられた遊技球Bを検知する一般入賞口センサ3001が待機位置の裏下可動装飾体3510よりも下方に設けられている。従って、サイドユニット2800や一般入賞口センサ3001等が裏下可動装飾体3510の邪魔になることはない。
また、本実施形態では、サイドユニット2800には、一般入賞口センサ3001は設けず、裏ユニット3000(裏球誘導ユニット3100)に一般入賞口センサ3001を設けている。つまり、サイドユニット2800を無配線構造にしている。このように、遊技パネル1100におけるパネル板1110の前側から取付けられる各種ユニットに対して、配線をともなう球センサや磁気センサ等の各種センサのような電子部品を、裏ユニット3000に設けることで、パネル板1110に取付けている取付ビスを取外して当該ユニットを前方へ引っ張った時に、パネル板1110の開口部1112を通して当該ユニットが配線で繋がれた状態となることで、配線を切断したりコネクタから抜いたりする必要はなく、配線を気にすることなく当該ユニットをパネル板1110から前方へ取外すことができ、分解作業を効率良く行うことができる。
本実施形態のサイドユニット2800によれば、第一構成部材2811に平板状の台板2811aを設けているため、台板2811aを貫通している取付孔2811dを介して取付ビスを遊技パネル1100におけるパネル板1110の取付孔1114にねじ込んで第一構成部材2811をパネル板1110の前面に取付けることで、台板2811aによりパネル板1110の開口部1112を前側から塞ぐことができ、前側(遊技者側)から開口部1112を通してパネル板1110(遊技パネル1100)の後方を隠すことが可能となり、パチンコ機1(遊技盤5)の見栄えを良くすることができる。一方、第二構成部材2812に、パネル板1110の面に沿って遊技球Bを流下させる球通路2812aを設けていることから、当該球通路2812aの部位の断面がコ字状となっているため、球通路2812aの存在により第二構成部材2812の剛性を高めることができる。そして、台板2811aを平板状としていることから第一構成部材2811の剛性が低くなることがあるが、球通路2812aにより剛性が高められている第二構成部材2812を、その取付孔を介して取付ビスにより第一構成部材2811の後側から取付けてサイドユニット2800を形成しているため、サイドユニット2800の剛性を従来のサイドユニットよりも高めることができる。従って、リサイクル等によるパチンコ機1の分解作業において、第一構成部材2811の取付孔2811dを介して遊技パネル1100のパネル板1110にねじ込まれている取付ビスを取外してサイドユニット2800を前方へ引っ張った時に、サイドユニット2800の剛性が高められていることでサイドユニット2800が撓むことはないため、パネル板1110の位置決孔1113に対してサイドユニット2800(第一構成部材2811)の位置決突起2811cが傾くことはなく、遊技パネル1100(パネル板1110)からサイドユニット2800を簡単に取外すことができ、分別する際の分解作業を軽減することが可能なパチンコ機1を提供することができる。
ところで、第一構成部材2811における二つの位置決突起2811cを、第一構成部材2811の長手方向へ離隔するように設けているため、分解作業の際に第一構成部材2811を前方へ引っ張ると、第一構成部材2811の中央が前方へ移動するように湾曲状に撓むこととなり、その撓みにより長手方向へ離隔している位置決突起2811cの先端同士が互いに接近するように夫々の位置決突起2811cが傾こうとする力が作用し、遊技パネル1100におけるパネル板1110の位置決孔1113から位置決突起2811cが抜けなくなる恐れがある。しかしながら、本実施形態では、上述したように、第一構成部材2811の後側から第二構成部材2812を取付けてサイドユニット2800を形成しており、当該サイドユニット2800の剛性が高められているため、サイドユニット2800を前方へ引っ張っても、サイドユニット2800が撓んで長手方向へ離隔している位置決突起2811cが傾くことはなく、遊技パネル1100のパネル板1110からサイドユニット2800を簡単に取外すことができ、分別する際の分解作業を軽減することが可能なパチンコ機1を提供することができる。
更に、複数の球受部2811bを遊技パネル1100におけるパネル板1110の前面よりも前方へ突出させているため、パチンコ機1の分解作業において、パネル板1110から取外すためにサイドユニット2800を前方へ引っ張る際に、球受部2811bを摘まんで引っ張ることができ、サイドユニット2800の取外作業をし易くすることができる。
また、第一構成部材2811の台板2811aにより、遊技パネル1100におけるパネル板1110の開口部1112を前方から塞いでいるため、パネル板1110の後側から塵や埃等の異物が開口部1112を通してパネル板1110の前面側の遊技領域5aに侵入するのを防止することができる。
また、第二構成部材2812を、図示しない取付孔を介して取付ビスにより第一構成部材2811の後側から取付けているため、前方から第二構成部材2812を取付けている取付ビスを見え難くすることができ、パチンコ機1(遊技盤5)の見栄えを良くすることができる。
また、第一構成部材2811と第二構成部材2812との間に球受部2811b(一般入賞口2001)に入球した遊技球Bを遊技パネル1100におけるパネル板1110の面に沿って流下させる球通路2812aを、パネル板1110の開口部1112内に突出するように設けているため、従来のサイドユニットのように一般入賞口2001に入球した遊技球Bを遊技パネル1100の後面よりも後方へ誘導し遊技パネル1100の後面よりも後方において球通路を設けて下方へ流下させる場合と比較して、遊技パネル1100(パネル板1110)の板厚を有効利用することができ、パネル板1110の後方の空スペースを確保し易くすることができる。従って、当該空スペースに裏下演出ユニット3500(裏下可動装飾体3510)のような演出装置を設けることが可能となり、より遊技者に対する訴求力の高いパチンコ機1を提供することができる。
更に、第一構成部材2811における二つの位置決突起2811cを、第一構成部材2811の長手方向へ離隔するように設けているため、サイドユニット2800を遊技パネル1100のパネル板1110に取付けた時に、サイドユニット2800がパネル板1110の面に沿って回転することはなく、サイドユニット2800を遊技パネル1100の所望の位置に確実に位置決めすることができる。
なお、上記の実施形態では、遊技パネル1100として透明樹脂製のパネル板1110を備えているものを示したが、これに限定するものではなく、木製の遊技パネル1100としても良い。これにより、遊技パネル1100を木製とすることで、樹脂製のものと比較して板厚が厚くなるため、遊技パネル1100の板厚内をより有効利用し易くすることができる。
また、上記のサイドユニット2800では、夫々の球受部2812cと連通している複数の支流部2801と、複数の支流部2801が合流する本流部2802と、から構成されている球通路2812aを、有しているものを示したが、これに限定するものではなく、各球受部2811bごとに球通路2812aが独立しているものとしても良い。
更に、上記のサイドユニット2800では、球受部2811bに受入れられた遊技球Bを検知する球センサを設けていないものを示したが、これに限定するものではなく、球センサを備えるようにしても良い。サイドユニット2800に球センサを備える場合は、球センサをパネル板1110の板厚内に設けたり、球センサを後方の演出装置(裏下演出ユニット3500)よりも下方に設けたり、することが望ましい。
また、上記のサイドユニット2800では、後側にLED基板を設けていないものを示したが、これに限定するものではなく、発光装飾させるためのLEDを備えるようにしても良い。サイドユニット2800にLED基板を備える場合、LED基板を後方から覆うと共に前端面がサイドユニット2800(第二構成部材2812)の後面に当接するユニットカバーを設けると共に、ユニットカバーとサイドユニットとが互いに接触する接触面部に、互いに接触していない非接触面部を設けることが望ましい。これにより、LED基板のLEDによりサイドユニット2800を発光装飾させることができると共に、非接触面部を通してLEDからの熱を外部へ放熱させることができる。
[12-2.サイドユニットの変形例]
続いて、上記実施形態のサイドユニット2800の様々な変形例について、詳細に説明する。
[12-2a.サイドユニットの変形例1]
次に、上記の図75等に示すサイドユニット2800とは異なる形態のサイドユニット2800Aについて、主に図78等を参照して説明する。図78は、図75のサイドユニットとは異なる形態のサイドユニットを遊技パネルと共に縦断面で示す説明図である。ここでは、上記のサイドユニット2800と同じ構成については同じ符号を付して説明する。
サイドユニット2800Aは、遊技者がハンドル160を操作することで遊技球Bが打ち込まれる遊技領域5a内において、始動口ユニット2100の左方で内レール1002に沿うように延出しており、遊技球Bを常時受入可能に開口している複数(2つ~4つ)の一般入賞口2001を備えている。
サイドユニット2800Aは、遊技パネル1100における障害釘が植設される平板状のパネル板1110に前方から取付けられる第一構成部材2811と、第一構成部材2811の後側に設けられている第二構成部材2813と、から構成されている。
サイドユニット2800Aの第一構成部材2811は、遊技パネル1100(パネル板1110)の前面に当接可能な平板状の台板2811aと、台板2811aから前方へ突出していると共に上方及び後方が解放されており一般入賞口2001を形成している複数の球受部2811bと、を有している。また、第一構成部材2811は、台板2811aから後方へ突出している複数の位置決突起2811cと、台板2811aを貫通しており遊技パネル1100に取付けるための複数の取付孔2811dと、を有している(図76を参照)。
台板2811aは、前構成部材1000の内レール1002に沿うように延出している。複数の位置決突起2811cは、台板2811aの長手方向へ離隔して設けられている。位置決突起2811cは、遊技パネル1100のパネル板1110に設けられている位置決孔1113に挿入される。本実施形態では、各位置決突起2811cは同じ長さである。複数の取付孔2811dは、台板2811aにおける位置決突起2811cの近傍と、台板2811aの左右方向中央付近の上部と、に設けられている。これら取付孔2811dは、前側に皿ザグリが形成されており、パネル板1110の取付孔1114にねじ込まれる皿頭の取付ビス(図示は省略)が前方から挿通される。パネル板1110の前面に取付けた状態では、取付ビスの頭部が台板2811aの前面よりも前方へ突出することはない。
なお、本実施形態では、第一構成部材2811における台板2811aの前面と球受部2811bの前面に、透光性を有する装飾シール2803が貼り付けられている。
サイドユニット2800Aの第二構成部材2813は、第一構成部材2811の球受部2811b(一般入賞口2001)入球口に入球した遊技球Bが、遊技パネル1100におけるパネル板1110の板厚内にかかるようにパネル板1110を貫通している開口部1112内においてパネル板1110の板面に沿って流下可能な球通路2813aと、球通路2813aを流通している遊技球Bを検知する球センサ2813bと、を有している。
第二構成部材2813は、一つの部材により構成されていても良いし、複数の部材を組み合わせて構成されていても良い。
この球通路2813aは、図示するように、開口部1112の下端付近に置いて後方へ屈曲した後に、パネル板1110の後面に沿うように下方へ屈曲して、下流端が開口部1112よりも下方へ延出している。換言すると、球通路2813aは、後方に設けられている裏下演出ユニット3500(裏下可動装飾体3510)よりも下方の部位で、後方へ屈曲している。これにより、裏下演出ユニット3500の配置スペースを十分に確保することができ、裏下可動装飾体3510の可動範囲(昇降範囲)を広くしたり、裏下可動装飾体3510を大きくしたりすることができる。
球センサ2813bは、球通路2813aにおけるパネル板1110の後面に沿って延出している部位に設けられている。つまり、球センサ2813bは、球通路2813aにおける後方に設けられている裏下演出ユニット3500(裏下可動装飾体3510)よりも下方の部位に設けられており、裏下可動装飾体3510の妨げになることはない。
サイドユニット2800Aの第一構成部材2811は、遊技パネル1100のパネル板1110の前方から、台板2811aがパネル板1110における対応する開口部1112を閉鎖するように、台板2811aをパネル板1110の前面に当接させていると共に、台板2811aから後方へ突出している複数の位置決突起2811cをパネル板1110の位置決孔1113に挿入させている状態で、取付孔2811dを介して取付ビスをパネル板1110の取付孔1114にねじ込んで締め付けることにより、パネル板1110の前面に取付けられる。
一方、サイドユニット2800Aの第二構成部材2813は、裏ユニット3000の裏箱3010に取付けられる。第二構成部材2813を裏ユニット3000に取付けた状態では、図示は省略するが、球通路2813aの一部(パネル板1110の開口部1112内に収容される部位)が、裏箱3010よりも前方へ突出している。
そして、遊技パネル1100の後側に裏ユニット3000を取付けると、第二構成部材2813における裏箱3010よりも前方へ突出している部位が、遊技パネル1100におけるパネル板1110の開口部1112内に後方から挿入された状態となり、当該部位が第一構成部材2811の後側に位置してサイドユニット2800Aが構築される。
このサイドユニット2800Aは、遊技盤5に組立てた状態で、第二構成部材2813の球通路2813aにおけるパネル板1110の開口部1112内にかかっている部位の後面が、パネル板1110の後面から後方へ突出している。この突出量TLは、遊技球Bの直径Dの1/2以下としている。
ところで、遊技パネル1100を射出成形により形成する場合、障害釘が植設される遊技領域5aの部位の厚さが、遊技パネル1100(パネル板1110)を木製の合板としたり樹脂板を切削加工したりする場合よりも薄くなり易いため、第二構成部材2813の球通路2813aにおけるパネル板1110の面と沿っている部位が、パネル板1110の板厚内に収まり切れずに、パネル板1110の後面よりも後方へ突出してしまう恐れがある。そして、第二構成部材2813におけるパネル板1110の後面よりも後方への突出量が大きいと、後方のスペースを十分に確保することができなくなる。これに対して、本実施形態では、第二構成部材2813における球通路2813aの部位のパネル板1110の後面からの突出量TLを、遊技球Bの直径Dの1/2以下としているため、後方のスペースを十分に確保することができ、所望の大きさの裏下演出ユニット3500(裏下可動装飾体3510)を設けることができる。
サイドユニット2800Aでは、一般入賞口2001に遊技球Bが受入れられると、一般入賞口2001を形成している第一構成部材2811の球受部2811bによりパネル板1110の前面よりも後方の球通路2813aへ誘導され、第二構成部材2813の球通路2813aに受け渡される。そして、第二構成部材2813の球通路2813aに受け渡された遊技球Bは、まず、パネル板1110の板厚内にかかるようにパネル板1110の面に沿って流下し、開口部1112の下端付近において、パネル板1110の後面よりも後方へ流通した上で、パネル板1110の後面に沿って下方へ流下する。その後、遊技球Bは、球センサ2813bにより検知された後に、図示しない出口から下方へ排出される。
本実施形態のサイドユニット2800Aによれば、上記のサイドユニット2800と同様の作用効果を奏することができる。
また、サイドユニット2800Aによれば、球センサ2813bが設けられている第二構成部材2813を、遊技パネル1100(パネル板1110)の後方に設けられている裏ユニット3000に取付けているため、パネル板1110に取付けられる第一構成部材2811には球センサ2813bを設けていない。従って、球センサ2813bのような電子部品を裏ユニット3000に纏めるようにしており、遊技パネル1100側から球センサ2813bからの配線を延出させていないため、遊技盤5の製造において、遊技パネル1100と裏ユニット3000とを組立てる際に、球センサ2813bからの配線が障害釘等に引っ掛かることはなく、引っ掛かりによる配線の切断を回避させることができると共に、組立作業の作業性を向上させることができる。
また、サイドユニット2800Aによれば、遊技盤5に組立てることで、第一構成部材2811の台板2811aにより、遊技パネル1100におけるパネル板1110の開口部1112を前方から塞いでいるため、パネル板1110の後側から塵や埃等の異物が開口部1112を通してパネル板1110の前面側の遊技領域5aに侵入するのを防止することができる。
なお、サイドユニット2800Aは、各球受部2811bごとに独立した球通路2813aを設けるようにしても良いし、サイドユニット2800の球通路2812aと同様に、球受部2811bの下流に一つの球通路2813aを設けて、各球受部2811bに入球した遊技球Bを合流させるようにしても良い。
また、上記のサイドユニット2800Aでは、第二構成部材2813を裏ユニット3000に取付けるものを示したが、これに限定するものではなく、第二構成部材2813を第一構成部材2811の後側に取付けられるものとしても良い。
また、上記の実施形態では、遊技パネル1100として透明樹脂製のパネル板1110を備えているものを示したが、これに限定するものではなく、木製の遊技パネル1100としても良い。これにより、遊技パネル1100を木製とすることで、樹脂製のものと比較して板厚が厚くなるため、遊技パネル1100の板厚内をより有効利用し易くすることができる。
[12-2b.サイドユニットの変形例2]
次に、上記のサイドユニット2800やサイドユニット2800Aとは異なる形態のサイドユニット2800Bについて、主に図79を参照して説明する。図79(a)は図77に示すサイドユニットとは異なる形態のサイドユニットを遊技パネル共に縦断面で示す説明図であり、(b)は(a)におけるサイドユニットのLED基板と基板カバーとの要部を斜視図で示す説明図である。ここでは、上記のサイドユニット2800と同じ構成については同じ符号を付して説明する。
サイドユニット2800Bは、遊技者がハンドル160を操作することで遊技球Bが打ち込まれる遊技領域5a内において、始動口ユニット2100の左方で内レール1002に沿うように延出しており、遊技球Bを常時受入可能に開口している複数(2つ~4つ)の一般入賞口2001を備えている。
サイドユニット2800Bは、遊技パネル1100における障害釘が植設される平板状のパネル板1110に前方から取付けられるユニット本体2810と、ユニット本体2810の後側から取付けられるユニットカバー2820と、ユニット本体2810とユニットカバー2820との間に設けられ複数のLED2825aが実装されているLED基板2825と、を備えている。サイドユニット2800Bのユニット本体2810とユニットカバー2820は、透明な合成樹脂により形成されている。
また、サイドユニット2800Bは、ユニット本体2810とユニットカバー2820とが互いに接している接触面部2830と、接触面部2830の一部に設けられており互いに接触していない非接触面部2831と、を有している。
サイドユニット2800Bのユニット本体2810は、遊技パネル1100における障害釘が植設される平板状のパネル板1110に前方から取付けられる第一構成部材2811と、第一構成部材2811に後側から取付けられる第二構成部材2812と、ユニットカバー2820の外周縁に沿うように後方へ枠状に突出しており後端面がユニットカバー2820の前端面に当接する支持枠部2814と、を有している。本実施形態では、第一構成部材2811の後側に第二構成部材2812が取付けられている。また、本実施形態では、支持枠部2814が第二構成部材2812の後面から突出している。
ユニット本体2810の第一構成部材2811は、遊技パネル1100(パネル板1110)の前面に当接可能な平板状の台板2811aと、台板2811aから前方へ突出していると共に上方及び後方が解放されており一般入賞口2001を形成している複数の球受部2811bと、を有している。また、第一構成部材2811は、台板2811aから後方へ突出している複数の位置決突起2811cと、台板2811aを貫通しており遊技パネル1100に取付けるための複数の取付孔2811dと、台板2811aの後端面に設けられており第二構成部材2812を取付けるための複数の被取付孔(図示は省略)と、を有している(図76を参照)。
台板2811aは、前構成部材1000の内レール1002に沿うように延出している。複数の位置決突起2811cは、台板2811aの長手方向へ離隔して設けられている。位置決突起2811cは、遊技パネル1100のパネル板1110に設けられている位置決孔1113に挿入される。本実施形態では、各位置決突起2811cは同じ長さである。複数の取付孔2811dは、台板2811aにおける位置決突起2811cの近傍と、台板2811aの左右方向中央付近の上部と、に設けられている。これら取付孔2811dは、前側に皿ザグリが形成されており、パネル板1110の取付孔1114にねじ込まれる皿頭の取付ビス(図示は省略)が前方から挿通される。パネル板1110の前面に取付けた状態では、取付ビスの頭部が台板2811aの前面よりも前方へ突出することはない。
なお、本実施形態では、第一構成部材2811における台板2811aの前面と球受部2811bの前面に、透光性を有する装飾シール2803が貼り付けられている。
第二構成部材2812は、前方へ開放された容器状に形成されており、一般入賞口2001(球受部2811b)に受入れられた遊技球Bを遊技パネル1100(パネル板1110)の面(板面)に沿って流下させる球通路2812aと、球通路2812aの下流端において後方へ向かって開口している通路出口(図示は省略)と、第一構成部材2811に取付けられるための複数の取付孔(図示は省略)と、後面に設けられておりユニットカバー2820を取付けるための被取付孔(図示は省略)と、を有している。
この第二構成部材2812には、後端がユニットカバー2820の前端と当接する支持枠部2814が後側に設けられている。換言すると、第二構成部材2812は、ユニットカバー2820の外周縁に沿うように後方へ枠状に突出しており後端面がユニットカバー2820の前端面に当接する支持枠部2814を、有している。支持枠部2814の後端面は、サイドユニット2800Bに組立てることでユニットカバー2820における後述する周壁部2820bの前端面に当接する。つまり、支持枠部2814の後端面と、周壁部2820bの前端面とが、接触面部2830を構成している。
第二構成部材2812の支持枠部2814(接触面部2830)は、球通路2812aの出口である図示しない通路出口よりも上方に設けられている。換言すると、第二構成部材2812の通路出口は、支持枠部2814(接触面部2830)よりも下方の部位に設けられている。
ユニット本体2810は、第一構成部材2811の後方に第二構成部材2812を位置させ、第二構成部材2812の後方から取付ビスを第二構成部材2812の取付孔を通して第一構成部材2811の被取付孔にねじ込むことで、組立てられる。これにより、第一構成部材2811に後側から第二構成部材2812が取付けられたユニット本体2810が構築される。
本実施形態の第二構成部材2812は、図79に示すように、遊技パネル1100のパネル板1110の開口部1112内に挿入されると共に、奥行きがパネル板1110の板厚内に収まるように形成されている。
サイドユニット2800Bのユニットカバー2820は、前方へ開放された浅い容器状に形成されており、内部にLED基板2825が収容される。このユニットカバー2820は、図79に示すように、平板状のカバー部2820aと、カバー部2820aの外周縁から前方へ突出している枠状の周壁部2820bと、周壁部2820bの一部において前端から凹んでいる切欠部2820cと、を有している。なお、カバー部2820aに、通気用の複数のスリットを設けても良い。
また、ユニットカバー2820は、カバー部2820aの前面から周壁部2820bよりも短く前方へ突出しておりLED基板2825を取付けるための複数のボス部2820dと、カバー部2820aを貫通しておりユニット本体2810に取付けるための取付ビスが挿通される複数の取付孔(図示は省略)と、を有している。
ユニットカバー2820のカバー部2820aは、LED基板2825を後方から覆う大きさに形成されている。周壁部2820bは、外形がユニット本体2810における支持枠部2814の外形と同じである。周壁部2820bの前端面は、サイドユニット2800Bに組立てることで、ユニット本体2810における支持枠部2814の後端面に当接する。つまり、支持枠部2814の後端面と、周壁部2820bの前端面とが、接触面部2830を構成している。
切欠部2820cは、周壁部2820bのおける上辺側と下辺側とに設けられている。切欠部2820cは、サイドユニット2800Bに組立てることで、周壁部2820bの前端面とユニット本体2810における支持枠部2814の前端面との間に隙間を形成することができる。つまり、切欠部2820cにより、支持枠部2814の後端面と周壁部2820bの前端面とで構成している接触面部2830の一部に、互いに接触していない非接触面部2831を形成している。この切欠部2820cにより、容器状のユニットカバー2820の内部を通気させることができ、内部に取付けられたLED基板2825からの熱を外部へ放熱することができ、ユニットカバー2820に熱が籠ることはない。
サイドユニット2800BのLED基板2825は、後面をユニットカバー2820におけるボス部2820dの前端に当接させた状態で、ユニットカバー2820の内部に取付けられる。LED基板2825に実装されている複数のLED2825aは、フルカラーLEDであり、サイドユニット2800Bに組立てることで、サイドユニット2800Bを様々な発光色で発光装飾させることができる。
このサイドユニット2800Bは、ユニットカバー2820の内部のボス部2820dに、LED基板2825を取付けた状態で、ユニットカバー2820の周壁部2820bの前端面を、ユニット本体2810における支持枠部2814の後端面に当接(接触)させ、ユニットカバー2820の後方からユニットカバー2820の取付孔を介して取付ビスをユニット本体2810の第二構成部材2812の被取付孔にねじ込んで締め付けることにより、組立てることができる。
サイドユニット2800Bの遊技パネル1100への取付けは、まず、遊技パネル1100におけるパネル板1110の前方から、第一構成部材2811の台板2811aがパネル板1110を貫通している開口部1112を閉鎖するように、台板2811aをパネル板1110の前面に当接させる。この際に、第一構成部材2811の二つの位置決突起2811cを、パネル板1110の位置決孔1113に挿入させる。この状態では、第一構成部材2811の取付孔2811dが、パネル板1110の取付孔1114と一致している。
そして、前方から第一構成部材2811の取付孔2811dを通して取付ビスをパネル板1110の取付孔1114にねじ込んで締め付けることにより、サイドユニット2800Bがパネル板1110の前面に取付けられる。この際に、第一構成部材2811の取付孔2811dを、位置決突起2811cの近傍に設けているため、取付孔2811dを介して取付ビスを遊技パネル1100におけるパネル板1110の取付孔1114にねじ込むことで、位置決突起2811cをパネル板1110側へ強く押し付けて位置決孔1113へ確実に挿入させることができ、位置決突起2811cの不完全挿入による浮き上がりを防止することができる。
サイドユニット2800Bでは、ユニット本体2810の第二構成部材2812に、パネル板1110の面に沿って遊技球Bを流下させる球通路2812aを設けている。第二構成部材2812における球通路2812aの部位の断面は、コ字状となっているため、球通路2812aの存在により第二構成部材2812の剛性を高めることができる。そして、平板状の台板2811aを有することで剛性が低くなっている可能性がある第一構成部材2811に、球通路2812aにより剛性が高められている第二構成部材2812を、第一構成部材2811の後側から取付けてサイドユニット2800Bを形成しているため、サイドユニット2800Bの剛性を従来のサイドユニットよりも高めることができる。従って、リサイクル等によるパチンコ機1の分解作業において、サイドユニット2800Bをパネル板1110に取付けている取付ビスを取外してサイドユニット2800Bを前方へ引っ張った時に、サイドユニット2800Bの剛性が高められているため、サイドユニット2800Bが撓むことはない。これにより、パネル板1110の位置決孔1113に対してサイドユニット2800B(第一構成部材2811)の位置決突起2811cが傾くことはなく、遊技パネル1100(パネル板1110)からサイドユニット2800Bを簡単に取外すことができ、分別する際の分解作業を軽減することが可能なパチンコ機1を提供することができる。
サイドユニット2800Bをパネル板1110の前面に取付けた状態(遊技盤5を組立てた状態)では、ユニット本体2810の第二構成部材2812がパネル板1110の開口部1112内でパネル板1110の板厚内に位置しており、パネル板1110の後面よりも前方に位置している。
また、本実施形態のサイドユニット2800Bは、遊技盤5に組立てた状態で、ユニットカバー2820がパネル板1110の後面よりも後方へ突出していると共に、ユニットカバー2820の切欠部2820c(非接触面部2831)の一部がパネル板1110の後面よりも後方へ突出している。この際に、切欠部2820c(非接触面部2831)を上下に設けているため、上側の切欠部2820cによりLED基板2825からの熱を上方へ排出させつつ、下側の切欠部2820cから外部の空気を内部へ取り込むことができる。また、遊技盤5に組立てた状態では、サイドユニット2800Bのユニット本体2810におけるパネル板1110の開口部1112内に挿入されている部位の外周、つまり、第二構成部材2812の外周と、開口部1112の内周との間には、隙間が設けられている。これらにより、LED基板2825からの熱を、切欠部2820c(非接触面部2831)を通して外部へ放出し易くなり、効率良く放熱することができる。
また、本実施形態のサイドユニット2800Bは、LED基板2825をユニットカバー2820に取付けた状態では、LED基板2825が切欠部2820c(非接触面部2831)よりも後方に位置している。換言すると、平面視において、LED基板2825が切欠部2820c(非接触面部2831)と重ならせないように設けられている。これにより、切欠部2820cを通してユニットカバー2820内に塵や埃が侵入しても、LED基板2825にかかり難くすることができ、塵や埃の影響を極力防ぐことができる。また、ユニットカバー2820の下辺側にも切欠部2820cを設けているため、上側の切欠部2820cから侵入した塵や埃を下側の切欠部2820cから下方へ排出させることができる。
また、本実施形態のサイドユニット2800Bは、遊技盤5に組立てることで、第一構成部材2811の台板2811aにより遊技パネル1100におけるパネル板1110の開口部1112を前方から塞いでいるため、パネル板1110の後側から塵や埃等の異物が開口部1112を通してパネル板1110の前面側の遊技領域5aに侵入するのを防止することができる。
更に、サイドユニット2800Bは、遊技盤5に組立てた状態で、ユニット本体2810における第二構成部材2813の後側に取付けられているユニットカバー2820が、パネル板1110の後面から後方へ突出している。この突出量は、図78のサイドユニット2800Aと同様に、遊技球Bの直径Dの1/2以下としている。
ところで、遊技パネル1100を射出成形により形成する場合、障害釘が植設される遊技領域5aの部位の厚さが、遊技パネル1100(パネル板1110)を木製の合板としたり樹脂板を切削加工したりする場合よりも薄くなり易いため、ユニット本体2810の球通路2812aにおけるパネル板1110の面と沿っている部位や、ユニット本体2810の後側に取付けられているユニットカバー2820が、パネル板1110の板厚内に収まり切れずに、パネル板1110の後面よりも後方へ突出してしまう恐れがある。そして、サイドユニット2800Bにおけるパネル板1110の後面よりも後方への突出量が大きいと、後方のスペースを十分に確保することができなくなる。これに対して、本実施形態では、サイドユニット2800Bにおいて、球通路2813aにおけるパネル板1110の板厚内にかかると共にパネル板1110の面に沿って延出している部位のパネル板1110の後面からの突出量を、遊技球Bの直径Dの1/2以下としているため、後方のスペースを十分に確保することができ、所望の大きさの裏下演出ユニット3500(裏下可動装飾体3510)を設けることができる。
サイドユニット2800Bでは、一般入賞口2001に遊技球Bが受入れられると、一般入賞口2001を形成している球受部2811bによりパネル板1110の前面よりも後方の球通路2812aへ誘導され、球通路2812aによりパネル板1110の面に沿って流下した後に、図示しない通路出口から後方に設けられている裏ユニット3000の裏球誘導ユニット3100に受け渡される。裏球誘導ユニット3100に受け渡された遊技球Bは、一般入賞口センサ3001に検知された後に、下方へ排出される。
本実施形態のサイドユニット2800Bは、詳細な図示は省略するが、ユニット本体2810における第二構成部材2812の図示しない通路出口が、待機位置の裏下可動装飾体3510よりも下方に設けられている。つまり、一般入賞口2001(球受部2811b)に受入れられた遊技球Bを検知する一般入賞口センサ3001が待機位置の裏下可動装飾体3510よりも下方に設けられている。従って、サイドユニット2800Bや一般入賞口センサ3001等が裏下可動装飾体3510の邪魔になることはない。
本実施形態のサイドユニット2800Bは、詳細な図示は省略するが、ユニット本体2810が図76のサイドユニット2800と同じであり、一般入賞口2001(球受部2811b)と連通している支流部2801と、支流部2801と合流しており遊技パネル1100におけるパネル板1110の面(板面)に沿って延出している本流部2802と、を有している。球通路2812aは、複数の支流部2801と、本流部2802と、で構成されている。
本実施形態のサイドユニット2800Bによれば、上記のサイドユニット2800と同様の作用効果を奏することができる。
なお、上記のサイドユニット2800Bでは、ユニットカバー2820の周壁部2820bに切欠部2820c(非接触面部2831)を設けているものを示したが、これに限定するものではなく、ユニットカバー2820の周壁部2820bに切欠部2820cを設けずにユニット本体2810の支持枠部2814に後端から前方へ切欠かれた切欠部(非接触面部2831)を設けるようにしても良い。或いは、ユニットカバー2820の周壁部2820bとユニット本体2810の支持枠部2814との両方に切欠部(非接触面部)を設けるようにしても良い。
また、上記のサイドユニット2800Bでは、ユニット本体2810に後方へ突出する枠状の支持枠部2814を設け、その後端面を接触面部2830とするものを示したが、これに限定するものではなく、ユニット本体2810に支持枠部2814を設けずに、ユニットカバー2820(周壁部2820b)の前端が、ユニット本体2810の後面に当接するようにして、当該当接する部位を接触面部2830としても良い。これにより、後方へ突出する支持枠部2814を設けていないため、サイドユニット2800Bにおけるパネル板1110の後面から後方へ突出する突出量を少なくすることができ、パネル板1110の後方の空スペースをより広く確保することが可能となる。
更に、上記のサイドユニット2800Bでは、LED基板2825をユニットカバー2820に取付けているものを示したが、これに限定するものではなく、LED基板2825をユニット本体2810(第二構成部材2812)の後側に取付けるようにしても良い。
また、上記のサイドユニット2800Bにおいて、LED基板2825の前方にLED2825aからの光を拡散させる複数の凹凸からなる拡散レンズ部を設けるようにしても良い。この拡散レンズ部は、ユニット本体2810(第二構成部材2812)の後面に設けても良いし、ユニット本体2810とは別体の部材に設けても良い。
更に、上記のサイドユニット2800Bでは、夫々の球受部2811bと連通している複数の支流部2801と、複数の支流部2801が合流する本流部2802と、から構成されている球通路2812aを、有しているものを示したが、これに限定するものではなく、各球受部2811bごとに球通路2812aが独立しているものとしても良い。
また、上記の実施形態では、遊技パネル1100として透明樹脂製のパネル板1110を備えているものを示したが、これに限定するものではなく、木製の遊技パネル1100としても良い。これにより、遊技パネル1100を木製とすることで、樹脂製のものと比較して板厚が厚くなるため、遊技パネル1100の板厚内をより有効利用し易くすることができる。ところで、遊技パネル1100(パネル板1110)を透明なものとすると、LED基板2825のLED2825aからの光が、パネル板1110の開口部1112の内周面からパネル板1110内に入射して、パネル板1110内に拡散してしまい、前方へ照射される光量が低下することで、発光による演出効果が弱くなる恐れがある。これに対して、遊技パネル1100を木製(不透明)とすることで、LED基板2825のLED2825aからの光が、開口部1112の内周面から遊技パネル1100の内部に入射することはなく、開口部1112の内周面により反射させることが可能となるため、前方へ照射される光量の低下を抑制させることができ、発光による演出効果を十分に発揮させ易くすることができる。
[12-2c.サイドユニットの変形例3]
次に、上記とは更に異なる形態のサイドユニット2800Cについて、主に図80等を参照して説明する。図80は、図79に示すサイドユニットとは異なる形態のサイドユニットを遊技パネル共に縦断面で示す説明図である。ここでは、上記のサイドユニット2800Bと同じ構成については同じ符号を付して説明する。
サイドユニット2800Cは、遊技者がハンドル160を操作することで遊技球Bが打ち込まれる遊技領域5a内において、始動口ユニット2100の左方で内レール1002に沿うように延出しており、遊技球Bを常時受入可能に開口している複数(2つ~4つ)の一般入賞口2001を備えている。
サイドユニット2800Cは、遊技パネル1100における障害釘が植設される平板状のパネル板1110に前方から取付けられるユニット本体2810と、ユニット本体2810の後側から取付けられるユニットカバー2820と、ユニット本体2810とユニットカバー2820との間に設けられ複数のLED2825aが実装されているLED基板2825と、を備えている。サイドユニット2800Bのユニット本体2810とユニットカバー2820は、透明な合成樹脂により形成されている。
また、サイドユニット2800Cは、ユニット本体2810とユニットカバー2820とが互いに接している接触面部2830と、接触面部2830の一部に設けられており互いに接触していない非接触面部2831と、を有している。
サイドユニット2800Bのユニット本体2810は、遊技パネル1100における障害釘が植設される平板状のパネル板1110に前方から取付けられる第一構成部材2811と、第一構成部材2811に後側から取付けられる第二構成部材2812と、ユニットカバー2820の外周縁に沿うように後方へ枠状に突出しており後端面がユニットカバー2820の前端面に当接する支持枠部2814と、第一構成部材2811と第二構成部材2812との間に設けられており一般入賞口2001に受入れられた遊技球Bを検知する球センサ2815(一般入賞口センサ3001)と、を有している。本実施形態では、第一構成部材2811の後側に第二構成部材2812が取付けられている。また、本実施形態では、支持枠部2814が第二構成部材2812の後面から突出している。
ユニット本体2810の第一構成部材2811は、遊技パネル1100(パネル板1110)の前面に当接可能な平板状の台板2811aと、台板2811aから前方へ突出していると共に上方及び後方が解放されており一般入賞口2001を形成している複数の球受部2811bと、を有している。また、第一構成部材2811は、台板2811aから後方へ突出している複数の位置決突起2811cと、台板2811aを貫通しており遊技パネル1100に取付けるための複数の取付孔2811dと、台板2811aの後端面に設けられており第二構成部材2812を取付けるための複数の被取付孔(図示は省略)と、を有している(図76を参照)。
台板2811aは、前構成部材1000の内レール1002に沿うように延出している。複数の位置決突起2811cは、台板2811aの長手方向へ離隔して設けられている。位置決突起2811cは、遊技パネル1100のパネル板1110に設けられている位置決孔1113に挿入される。本実施形態では、各位置決突起2811cは同じ長さである。複数の取付孔2811dは、台板2811aにおける位置決突起2811cの近傍と、台板2811aの左右方向中央付近の上部と、に設けられている。これら取付孔2811dは、前側に皿ザグリが形成されており、パネル板1110の取付孔1114にねじ込まれる皿頭の取付ビス(図示は省略)が前方から挿通される。パネル板1110の前面に取付けた状態では、取付ビスの頭部が台板2811aの前面よりも前方へ突出することはない。
なお、本実施形態では、第一構成部材2811における台板2811aの前面と球受部2811bの前面に、透光性を有する装飾シール2803が貼り付けられている。
第二構成部材2812は、前方へ開放された容器状に形成されており、一般入賞口2001(球受部2811b)に受入れられた遊技球Bを遊技パネル1100(パネル板1110)の面(板面)に沿って流下させる球通路2812aと、球通路2812aの下流端において後方へ向かって開口している通路出口2812bと、第一構成部材2811に取付けられるための複数の取付孔(図示は省略)と、後面に設けられておりユニットカバー2820を取付けるための被取付孔(図示は省略)と、を有している。
この第二構成部材2812には、後端がユニットカバー2820の前端と当接する支持枠部2814が後側に設けられている。換言すると、第二構成部材2812は、ユニットカバー2820の外周縁に沿うように後方へ枠状に突出しており後端面がユニットカバー2820の前端面に当接する支持枠部2814を、有している。支持枠部2814の後端面は、サイドユニット2800Cに組立てることでユニットカバー2820における後述する周壁部2820bの前端面に当接する。つまり、支持枠部2814の後端面と、周壁部2820bの前端面とが、接触面部2830を構成している。
第二構成部材2812の支持枠部2814(接触面部2830)は、球通路2812aの通路出口2812b及び球センサ2815よりも上方に設けられている。換言すると、第二構成部材2812の通路出口2812b及び球センサ2815は、支持枠部2814(接触面部2830)よりも下方の部位に設けられている。これにより、球センサ2815が、LED基板2825のLED2825aによる発光装飾の妨げになり難い。
ユニット本体2810は、第一構成部材2811の後方に第二構成部材2812を位置させ、第二構成部材2812の後方から取付ビスを第二構成部材2812の取付孔を通して第一構成部材2811の被取付孔にねじ込むことで、組立てられる。この際に、球センサ2815を、第一構成部材2811と第二構成部材2812とで挟まれるように、球通路2812aの所定位置に配置して組み付ける。これにより、第一構成部材2811に後側から第二構成部材2812が取付けられたユニット本体2810が構築される。
本実施形態の第二構成部材2812は、図80に示すように、遊技パネル1100のパネル板1110の開口部1112内に挿入されると共に、奥行きがパネル板1110の板厚内に収まるように形成されている。
サイドユニット2800Cのユニットカバー2820は、前方へ開放された浅い容器状に形成されており、内部にLED基板2825が収容される。このユニットカバー2820は、平板状のカバー部2820aと、カバー部2820aの外周縁から前方へ突出している枠状の周壁部2820bと、周壁部2820bの一部において前端から凹んでいる切欠部2820cと、を有している。なお、カバー部2820aに、通気用の複数のスリット孔を設けても良い。
また、ユニットカバー2820は、カバー部2820aの前面から周壁部2820bよりも短く前方へ突出しておりLED基板2825を取付けるための複数のボス部2820dと、カバー部2820aを貫通しておりユニット本体2810に取付けるための取付ビスが挿通される複数の取付孔(図示は省略)と、を有している。
ユニットカバー2820のカバー部2820aは、LED基板2825を後方から覆う大きさに形成されている。周壁部2820bは、外形がユニット本体2810における支持枠部2814の外形と同じである。周壁部2820bの前端面は、サイドユニット2800Cに組立てることで、ユニット本体2810における支持枠部2814の後端面に当接する。つまり、支持枠部2814の後端面と、周壁部2820bの前端面とが、接触面部2830を構成している。
切欠部2820cは、周壁部2820bのおける上辺側と下辺側とに設けられている。切欠部2820cは、サイドユニット2800Cに組立てることで、周壁部2820bの前端面とユニット本体2810における支持枠部2814の前端面との間に隙間を形成することができる。つまり、切欠部2820cにより、支持枠部2814の後端面と周壁部2820bの前端面とで構成している接触面部2830の一部に、互いに接触していない非接触面部2831を形成している。この切欠部2820cにより、容器状のユニットカバー2820の内部を通気させることができ、内部に取付けられたLED基板2825からの熱を外部へ放熱することができ、ユニットカバー2820に熱が籠ることはない。
サイドユニット2800CのLED基板2825は、後面をユニットカバー2820におけるボス部2820dの前端に当接させた状態で、ユニットカバー2820の内部に取付けられる。LED基板2825に実装されている複数のLED2825aは、フルカラーLEDであり、サイドユニット2800Cに組立てることで、サイドユニット2800Cを様々な発光色で発光装飾させることができる。
このサイドユニット2800Cは、ユニットカバー2820の内部のボス部2820dに、LED基板2825を取付けた状態で、ユニットカバー2820の周壁部2820bの前端面を、ユニット本体2810における支持枠部2814の後端面に当接(接触)させ、ユニットカバー2820の後方からユニットカバー2820の取付孔を介して取付ビスをユニット本体2810の第二構成部材2812の被取付孔にねじ込んで締め付けることにより、組立てることができる。
サイドユニット2800Cの遊技パネル1100への取付けは、まず、遊技パネル1100におけるパネル板1110の前方から、第一構成部材2811の台板2811aがパネル板1110を貫通している開口部1112を閉鎖するように、台板2811aをパネル板1110の前面に当接させる。この際に、第一構成部材2811の二つの位置決突起2811cを、パネル板1110の位置決孔1113に挿入させる。この状態では、第一構成部材2811の取付孔2811dが、パネル板1110の取付孔1114と一致している。
そして、前方から第一構成部材2811の取付孔2811dを通して取付ビスをパネル板1110の取付孔1114にねじ込んで締め付けることにより、サイドユニット2800Cがパネル板1110の前面に取付けられる。この際に、第一構成部材2811の取付孔2811dを、位置決突起2811cの近傍に設けているため、取付孔2811dを介して取付ビスを遊技パネル1100におけるパネル板1110の取付孔1114にねじ込むことで、位置決突起2811cをパネル板1110側へ強く押し付けて位置決孔1113へ確実に挿入させることができ、位置決突起2811cの不完全挿入による浮き上がりを防止することができる。
サイドユニット2800Cでは、ユニット本体2810の第二構成部材2812に、パネル板1110の面に沿って遊技球Bを流下させる球通路2812aを設けている。第二構成部材2812における球通路2812aの部位の断面は、コ字状となっているため、球通路2812aの存在により第二構成部材2812の剛性を高めることができる。そして、平板状の台板2811aを有することで剛性が低くなっている可能性がある第一構成部材2811に、球通路2812aにより剛性が高められている第二構成部材2812を、第一構成部材2811の後側から取付けてサイドユニット2800Cを形成しているため、サイドユニット2800Cの剛性を従来のサイドユニットよりも高めることができる。従って、リサイクル等によるパチンコ機1の分解作業において、サイドユニット2800Cをパネル板1110に取付けている取付ビスを取外してサイドユニット2800Cを前方へ引っ張った時に、サイドユニット2800Cの剛性が高められているため、サイドユニット2800Cが撓むことはない。これにより、パネル板1110の位置決孔1113に対してサイドユニット2800C(第一構成部材2811)の位置決突起2811cが傾くことはなく、遊技パネル1100(パネル板1110)からサイドユニット2800Cを簡単に取外すことができ、分別する際の分解作業を軽減することが可能なパチンコ機1を提供することができる。
サイドユニット2800Cをパネル板1110の前面に取付けた状態(遊技盤5を組立てた状態)では、ユニット本体2810の第二構成部材2812及び球センサ2815が、パネル板1110の開口部1112内でパネル板1110の板厚内に位置しており、パネル板1110の後面よりも前方に位置している。
また、本実施形態のサイドユニット2800Cは、遊技盤5に組立てた状態で、ユニットカバー2820がパネル板1110の後面よりも後方へ突出していると共に、ユニットカバー2820の切欠部2820c(非接触面部2831)の一部がパネル板1110の後面よりも後方へ突出している。この際に、切欠部2820c(非接触面部2831)を上下に設けているため、上側の切欠部2820cによりLED基板2825からの熱を上方へ排出させつつ、下側の切欠部2820cから外部の空気を内部へ取り込むことができる。また、遊技盤5に組立てた状態では、サイドユニット2800Cのユニット本体2810におけるパネル板1110の開口部1112内に挿入されている部位の外周、つまり、第二構成部材2812の外周と、開口部1112の内周との間には、隙間が設けられている。これらにより、LED基板2825からの熱を、切欠部2820c(非接触面部2831)を通して外部へ放出し易くなり、効率良く放熱することができる。
また、本実施形態のサイドユニット2800Cは、LED基板2825をユニットカバー2820に取付けた状態では、LED基板2825が切欠部2820c(非接触面部2831)よりも後方に位置している。換言すると、平面視において、LED基板2825が切欠部2820c(非接触面部2831)と重ならせないように設けられている。これにより、切欠部2820cを通してユニットカバー2820内に塵や埃が侵入しても、LED基板2825にかかり難くすることができ、塵や埃の影響を極力防ぐことができる。また、ユニットカバー2820の下辺側にも切欠部2820cを設けているため、上側の切欠部2820cから侵入した塵や埃を下側の切欠部2820cから下方へ排出させることができる。
また、本実施形態のサイドユニット2800Cは、遊技盤5に組立てることで、第一構成部材2811の台板2811aにより遊技パネル1100におけるパネル板1110の開口部1112を前方から塞いでいるため、パネル板1110の後側から塵や埃等の異物が開口部1112を通してパネル板1110の前面側の遊技領域5aに侵入するのを防止することができる。
更に、サイドユニット2800Cは、遊技盤5に組立てた状態で、ユニット本体2810における第二構成部材2813の後側に取付けられているユニットカバー2820が、パネル板1110の後面から後方へ突出している。この突出量は、図78のサイドユニット2800Aと同様に、遊技球Bの直径Dの1/2以下としている。
ところで、遊技パネル1100を射出成形により形成する場合、障害釘が植設される遊技領域5aの部位の厚さが、遊技パネル1100(パネル板1110)を木製の合板としたり樹脂板を切削加工したりする場合よりも薄くなり易いため、ユニット本体2810の球通路2812aにおけるパネル板1110の面と沿っている部位や、ユニット本体2810の後側に取付けられているユニットカバー2820が、パネル板1110の板厚内に収まり切れずに、パネル板1110の後面よりも後方へ突出してしまう恐れがある。そして、サイドユニット2800Cにおけるパネル板1110の後面よりも後方への突出量が大きいと、後方のスペースを十分に確保することができなくなる。これに対して、本実施形態では、サイドユニット2800Cにおいて、球通路2813aにおけるパネル板1110の板厚内にかかると共にパネル板1110の面に沿って延出している部位のパネル板1110の後面からの突出量を、遊技球Bの直径Dの1/2以下としているため、後方のスペースを十分に確保することができ、所望の大きさの裏下演出ユニット3500(裏下可動装飾体3510)を設けることができる。
サイドユニット2800Cでは、一般入賞口2001に遊技球Bが受入れられると、一般入賞口2001を形成している球受部2811bによりパネル板1110の前面よりも後方の球通路2812aへ誘導され、球通路2812aによりパネル板1110の板厚内においてパネル板1110の面に沿って流下し、球センサ2815により検知された上で、後方へ向かって開口している通路出口2812bから排出される。
本実施形態のサイドユニット2800Cは、詳細な図示は省略するが、ユニット本体2810における第二構成部材2812の通路出口2812bが、待機位置の裏下可動装飾体3510よりも下方に設けられている。また、一般入賞口2001(球受部2811b)に受入れられた遊技球Bを検知する球センサ2815(一般入賞口センサ3001)が、遊技パネル1100におけるパネル板1110の開口部1112内で且つパネル板1110の板厚内に設けられている。従って、サイドユニット2800Cや球センサ2815等が裏下可動装飾体3510の邪魔になることはない。
本実施形態のサイドユニット2800Cは、詳細な図示は省略するが、ユニット本体2810が図76のサイドユニット2800と同じであり、一般入賞口2001(球受部2811b)と連通している支流部2801と、支流部2801と合流しており遊技パネル1100におけるパネル板1110の面(板面)に沿って延出している本流部2802と、を有している。球通路2812aは、複数の支流部2801と、本流部2802と、で構成されている。
本実施形態のサイドユニット2800Cによれば、上記のサイドユニット2800と同様の作用効果を奏することができる。
なお、上記のサイドユニット2800Cでは、ユニットカバー2820の周壁部2820bに切欠部2820c(非接触面部2831)を設けているものを示したが、これに限定するものではなく、ユニットカバー2820の周壁部2820bに切欠部2820cを設けずにユニット本体2810の支持枠部2814に後端から前方へ切欠かれた切欠部(非接触面部2831)を設けるようにしても良い。或いは、ユニットカバー2820の周壁部2820bとユニット本体2810の支持枠部2814との両方に切欠部(非接触面部)を設けるようにしても良い。
また、上記のサイドユニット2800Cでは、ユニット本体2810に後方へ突出する枠状の支持枠部2814を設け、その後端面を接触面部2830とするものを示したが、これに限定するものではなく、ユニット本体2810に支持枠部2814を設けずに、ユニットカバー2820(周壁部2820b)の前端が、ユニット本体2810の後面に当接するようにして、当該当接する部位を接触面部2830としても良い。これにより、後方へ突出する支持枠部2814を設けていないため、サイドユニット2800Cにおけるパネル板1110の後面から後方へ突出する突出量を少なくすることができ、パネル板1110の後方の空スペースをより広く確保することが可能となる。
更に、上記のサイドユニット2800Cでは、LED基板2825をユニットカバー2820に取付けているものを示したが、これに限定するものではなく、LED基板2825をユニット本体2810(第二構成部材2812)の後側に取付けるようにしても良い。
また、上記のサイドユニット2800Cにおいて、LED基板2825の前方にLED2825aからの光を拡散させる複数の凹凸からなる拡散レンズ部を設けるようにしても良い。この拡散レンズ部は、ユニット本体2810(第二構成部材2812)の後面に設けても良いし、ユニット本体2810とは別体の部材に設けても良い。
更に、上記のサイドユニット2800Cでは、夫々の球受部2811bと連通している複数の支流部2801と、複数の支流部2801が合流する本流部2802と、から構成されている球通路2812aを、有しているものを示したが、これに限定するものではなく、各球受部2811bごとに球通路2812aが独立しているものとしても良い。
また、上記の実施形態では、遊技パネル1100として透明樹脂製のパネル板1110を備えているものを示したが、これに限定するものではなく、木製の遊技パネル1100としても良い。これにより、遊技パネル1100を木製とすることで、樹脂製のものと比較して板厚が厚くなるため、遊技パネル1100の板厚内をより有効利用し易くすることができる。ところで、遊技パネル1100(パネル板1110)を透明なものとすると、LED基板2825のLED2825aからの光が、パネル板1110の開口部1112の内周面からパネル板1110内に入射して、パネル板1110内に拡散してしまい、前方へ照射される光量が低下することで、発光による演出効果が弱くなる恐れがある。これに対して、遊技パネル1100を木製(不透明)とすることで、LED基板2825のLED2825aからの光が、開口部1112の内周面から遊技パネル1100の内部に入射することはなく、開口部1112の内周面により反射させることが可能となるため、前方へ照射される光量の低下を抑制させることができ、発光による演出効果を十分に発揮させ易くすることができる。
[12-2d.サイドユニットの変形例4]
次に、上記とは更に異なる形態のサイドユニット2800Dについて、主に図81等を参照して説明する。図81は、更に異なる形態のサイドユニットを遊技パネル共に縦断面で示す説明図である。ここでは、上記のサイドユニット2800やサイドユニット2800B及びサイドユニット2800Cと同じ構成については同じ符号を付して説明する。
サイドユニット2800Dは、遊技者がハンドル160を操作することで遊技球Bが打ち込まれる遊技領域5a内において、始動口ユニット2100の左方で内レール1002に沿うように延出しており、遊技球Bを常時受入可能に開口している複数(2つ~4つ)の一般入賞口2001を備えている。
サイドユニット2800Dは、遊技パネル1100における障害釘が植設される平板状のパネル板1110に前方から取付けられるユニット本体2810Aと、ユニット本体2810Aの後側から取付けられるユニットカバー2820と、ユニット本体2810Aとユニットカバー2820との間に設けられ複数のLED2825aが実装されているLED基板2825と、を備えている。サイドユニット2800Dのユニット本体2810Aとユニットカバー2820は、透明な合成樹脂により形成されている。
また、サイドユニット2800Dは、ユニット本体2810Aとユニットカバー2820とが互いに接している接触面部2830と、接触面部2830の一部に設けられており互いに接触していない非接触面部2831と、を有している。
サイドユニット2800Dのユニット本体2810Aは、遊技パネル1100における障害釘が植設される平板状のパネル板1110に前方から取付けられる第一構成部材2811Aと、第一構成部材2811Aに後側から取付けられる第二構成部材2812Aと、ユニットカバー2820の外周縁に沿うように後方へ枠状に突出しており後端面がユニットカバー2820の前端面に当接する支持枠部2814と、を有している。本実施形態では、第一構成部材2811Aの前側に第二構成部材2812Aが取付けられている。また、支持枠部2814が第一構成部材2811Aの後面から突出している。
ユニット本体2810Aの第一構成部材2811Aは、遊技パネル1100(パネル板1110)の前面に当接可能な平板状の台板2811aと、台板2811aを貫通しており遊技球Bが流通可能な球通路2811eと、を有している。第一構成部材2811Aの球通路2811eは、上流端が後述する第二構成部材2812Aにおける球受部2812cの後方に位置している。
また、第一構成部材2811Aは、台板2811aから後方へ突出している複数の位置決突起2811cと、台板2811aを貫通しており遊技パネル1100に取付けるための複数の取付孔2811dと、台板2811aを貫通しており第二構成部材2812Aを取付けるための複数の取付孔(図示は省略)と、後面に設けられておりユニットカバー2820を取付けるための複数の被取付孔(図示は省略)と、を有している(図76を参照)。
台板2811aは、前構成部材1000の内レール1002に沿うように延出している。複数の位置決突起2811cは、台板2811aの長手方向へ離隔して設けられている。位置決突起2811cは、遊技パネル1100のパネル板1110に設けられている位置決孔1113に挿入される。本実施形態では、各位置決突起2811cは同じ長さである。複数の取付孔2811dは、台板2811aにおける位置決突起2811cの近傍と、台板2811aの左右方向中央付近の上部と、に設けられている。これら取付孔2811dは、前側に皿ザグリが形成されており、パネル板1110の取付孔1114にねじ込まれる皿頭の取付ビス(図示は省略)が前方から挿通される。パネル板1110の前面に取付けた状態では、取付ビスの頭部が台板2811aの前面よりも前方へ突出することはない。
この第一構成部材2811Aには、後端がユニットカバー2820の前端と当接する支持枠部2814が後側に設けられている。換言すると、第一構成部材2811Aは、ユニットカバー2820の外周縁に沿うように後方へ枠状に突出しており後端面がユニットカバー2820の前端面に当接する支持枠部2814を、有している。支持枠部2814は、台板2811aの後面における球通路2811eよりも下方の部位に設けられている。支持枠部2814の後端面は、サイドユニット2800Dに組立てることでユニットカバー2820における後述する周壁部2820bの前端面に当接する。つまり、支持枠部2814の後端面と、周壁部2820bの前端面とが、接触面部2830を構成している。
第二構成部材2812Aは、前後方向に短く延びていると共に上方及び後方が解放されており一般入賞口2001を形成している複数の球受部2812cと、複数の球受部2812cの前端同士を繋いでいる平板状の前板2812dと、第一構成部材2811Aに取付けるための複数の取付孔(図示は省略)と、を有している。球受部2812cは、第一構成部材2811Aの球通路2811eの前方に位置している。
なお、本実施形態では、第二構成部材2812Aにおける前板2812dの前面に、透光性を有する装飾シール2803が貼り付けられている。
ユニット本体2810Aは、第一構成部材2811Aの前方に第二構成部材2812Aを位置させ、後方から第一構成部材2811Aの取付孔を通して取付ビスを第二構成部材2812Aの被取付孔にねじ込むことで、組立てられる。これにより、第一構成部材2811Aに後側から第二構成部材2812Aが取付けられたユニット本体2810Aが構築される。このユニット本体2810Aでは、第一構成部材2811Aの台板2811aよりも前方で、第二構成部材2812Aの球受部2812cが前方へ突出している。
本実施形態の第一構成部材2811Aは、図81に示すように、遊技パネル1100のパネル板1110の開口部1112内に挿入されると共に、奥行きがパネル板1110の板厚内に収まるように形成されている。
サイドユニット2800Dのユニットカバー2820は、前方へ開放された浅い容器状に形成されており、内部にLED基板2825が収容される。このユニットカバー2820は、平板状のカバー部2820aと、カバー部2820aの外周縁から前方へ突出している枠状の周壁部2820bと、周壁部2820bの一部において前端から凹んでいる切欠部2820cと、を有している。なお、カバー部2820aに、通気用の複数のスリット孔を設けても良い。
また、ユニットカバー2820は、カバー部2820aの前面から周壁部2820bよりも短く前方へ突出しておりLED基板2825を取付けるための複数のボス部2820dと、カバー部2820aを貫通しておりユニット本体2810Aに取付けるための取付ビスが挿通される複数の取付孔(図示は省略)と、を有している。
ユニットカバー2820のカバー部2820aは、LED基板2825を後方から覆う大きさに形成されている。周壁部2820bは、外形がユニット本体2810Aにおける支持枠部2814の外形と同じである。周壁部2820bの前端面は、サイドユニット2800Dに組立てることで、ユニット本体2810Aにおける支持枠部2814の後端面に当接する。つまり、支持枠部2814の後端面と、周壁部2820bの前端面とが、接触面部2830を構成している。
切欠部2820cは、周壁部2820bのおける上辺側と下辺側とに設けられている。切欠部2820cは、サイドユニット2800Dに組立てることで、周壁部2820bの前端面とユニット本体2810Aにおける支持枠部2814の前端面との間に隙間を形成することができる。つまり、切欠部2820cにより、支持枠部2814の後端面と周壁部2820bの前端面とで構成している接触面部2830の一部に、互いに接触していない非接触面部2831を形成している。この切欠部2820cにより、容器状のユニットカバー2820の内部を通気させることができ、内部に取付けられたLED基板2825からの熱を外部へ放熱することができ、ユニットカバー2820に熱が籠ることはない。
サイドユニット2800DのLED基板2825は、後面をユニットカバー2820におけるボス部2820dの前端に当接させた状態で、ユニットカバー2820の内部に取付けられる。LED基板2825に実装されている複数のLED2825aは、フルカラーLEDであり、サイドユニット2800Dに組立てることで、サイドユニット2800Dを様々な発光色で発光装飾させることができる。
このサイドユニット2800Dは、ユニットカバー2820の内部のボス部2820dに、LED基板2825を取付けた状態で、ユニットカバー2820の周壁部2820bの前端面を、ユニット本体2810Aにおける支持枠部2814の後端面に当接(接触)させ、ユニットカバー2820の後方からユニットカバー2820の取付孔を介して取付ビスをユニット本体2810Aの第一構成部材2811Aの被取付孔にねじ込んで締め付けることにより、組立てることができる。
サイドユニット2800Dの遊技パネル1100への取付けは、まず、遊技パネル1100におけるパネル板1110の前方から、第一構成部材2811Aの台板2811aがパネル板1110を貫通している開口部1112を閉鎖するように、台板2811aをパネル板1110の前面に当接させる。この際に、第一構成部材2811Aの二つの位置決突起2811cを、パネル板1110の位置決孔1113に挿入させる。この状態では、第一構成部材2811Aの取付孔2811dが、パネル板1110の取付孔1114と一致している。
そして、前方から第一構成部材2811Aの取付孔2811dを通して取付ビスをパネル板1110の取付孔1114にねじ込んで締め付けることにより、サイドユニット2800Dがパネル板1110の前面に取付けられる。この際に、第一構成部材2811Aの取付孔2811dを、位置決突起2811cの近傍に設けているため、取付孔2811dを介して取付ビスを遊技パネル1100におけるパネル板1110の取付孔1114にねじ込むことで、位置決突起2811cをパネル板1110側へ強く押し付けて位置決孔1113へ確実に挿入させることができ、位置決突起2811cの不完全挿入による浮き上がりを防止することができる。
サイドユニット2800Dでは、ユニット本体2810Aに組立てることにより、第二構成部材2812Aにおける複数の球受部2812cが、その前端側と後端側とが、第二構成部材2812Aの前板2812dと、第一構成部材2811Aの台板2811aとで、挟まれた構造となるため、従来のサイドユニットよりも剛性を高めることができる。従って、リサイクル等によるパチンコ機1の分解作業において、サイドユニット2800Dをパネル板1110に取付けている取付ビスを取外してサイドユニット2800Dを前方へ引っ張った時に、サイドユニット2800Dの剛性が高められているため、サイドユニット2800Dが撓むことはない。これにより、パネル板1110の位置決孔1113に対してサイドユニット2800D(第一構成部材2811A)の位置決突起2811cが傾くことはなく、遊技パネル1100(パネル板1110)からサイドユニット2800Dを簡単に取外すことができ、分別する際の分解作業を軽減することが可能なパチンコ機1を提供することができる。
サイドユニット2800Dをパネル板1110の前面に取付けた状態(遊技盤5を組立てた状態)では、ユニット本体2810Aにおける第一構成部材2811Aの球通路2811e及びユニットカバー2820(LED基板2825)が、パネル板1110の開口部1112内でパネル板1110の板厚内に位置しており、パネル板1110の後面よりも前方に位置している。これにより、遊技パネル1100におけるパネル板1110の板厚内にLED基板2825を設けていることから、パネル板1110の板厚内を有効利用しているため、LED基板2825(ユニットカバー2820)の後方の空スペースを確保し易くすることができる。従って、当該空スペースに演出装置の一部を設けることが可能となり、より遊技者に対する訴求力の高いパチンコ機1を提供することができる。
また、本実施形態のサイドユニット2800Dでは、ユニットカバー2820の切欠部2820c(非接触面部2831)を上下に設けているため、上側の切欠部2820cによりLED基板2825からの熱を上方へ排出させつつ、下側の切欠部2820cから外部の空気を内部へ取り込むことができる。また、遊技盤5に組立てた状態では、サイドユニット2800Dのユニット本体2810におけるパネル板1110の開口部1112内に挿入されている部位の外周と、開口部1112の内周との間には、隙間が設けられている。これらにより、LED基板2825からの熱を、切欠部2820c(非接触面部2831)を通して外部へ放出し易くなり、効率良く放熱することができる。
また、本実施形態のサイドユニット2800Dは、LED基板2825をユニットカバー2820に取付けた状態では、LED基板2825が切欠部2820c(非接触面部2831)よりも後方に位置している。換言すると、平面視において、LED基板2825が切欠部2820c(非接触面部2831)と重ならせないように設けられている。これにより、切欠部2820cを通してユニットカバー2820内に塵や埃が侵入しても、LED基板2825にかかり難くすることができ、塵や埃の影響を極力防ぐことができる。また、ユニットカバー2820の下辺側にも切欠部2820cを設けているため、上側の切欠部2820cから侵入した塵や埃を下側の切欠部2820cから下方へ排出させることができる。
更に、本実施形態のサイドユニット2800Dは、遊技盤5に組立てた状態では、ユニットカバー2820の切欠部2820cが、遊技パネル1100のパネル板1110における開口部1112内で、パネル板1110の板厚内に位置しているため、塵や埃が上方から切欠部2820cを通ってユニットカバー2820内へ侵入し難い。
また、本実施形態のサイドユニット2800Dは、遊技盤5に組立てた状態では、ユニットカバー2820の周壁部2820bと、遊技パネル1100におけるパネル板1110の開口部1112の内周面との間に隙間を設けていると共に、第一構成部材2811の台板2811aにより開口部1112を前方から塞いでいる。これにより、ユニットカバー2820内のLED基板2825からの熱を、切欠部2820c及び開口部1112の内周面との間の隙間を通してパネル板1110の後方へ向けて放熱することができると共に、パネル板1110の後側から塵や埃等の異物が開口部1112を通してパネル板1110の前面側の遊技領域5aに侵入するのを防止することができる。
サイドユニット2800Dでは、一般入賞口2001に遊技球Bが受入れられると、一般入賞口2001を形成している第二構成部材2812Aの球受部2812cにより後方の第一構成部材2811Aの球通路2811eへ誘導され、球通路2811eによりパネル板1110の板厚内を後方へ流通した後に、パネル板1110(遊技パネル1100)の後方に設けられている裏ユニット3000の裏球誘導ユニット3100に受け渡される。裏球誘導ユニット3100に受け渡された遊技球Bは、一般入賞口センサ3001に検知された後に、下方へ排出される。
本実施形態のサイドユニット2800Dによれば、上記のサイドユニット2800等と同様の作用効果を奏することができる。
なお、上記のサイドユニット2800Dでは、ユニットカバー2820の周壁部2820bに切欠部2820c(非接触面部2831)を設けているものを示したが、これに限定するものではなく、ユニットカバー2820の周壁部2820bに切欠部2820cを設けずにユニット本体2810Aの支持枠部2814に後端から前方へ切欠かれた切欠部(非接触面部2831)を設けるようにしても良い。或いは、ユニットカバー2820の周壁部2820bとユニット本体2810Aの支持枠部2814との両方に切欠部(非接触面部)を設けるようにしても良い。
また、上記のサイドユニット2800Dでは、ユニット本体2810Aに後方へ突出する枠状の支持枠部2814を設け、その後端面を接触面部2830とするものを示したが、これに限定するものではなく、ユニット本体2810Aに支持枠部2814を設けずに、ユニットカバー2820(周壁部2820b)の前端が、ユニット本体2810Aの後面に当接するようにして、当該当接する部位を接触面部2830としても良い。これにより、後方へ突出する支持枠部2814を設けていないため、LED基板2825をより前方へ位置させることができ、より明るい発光装飾(発光演出)を遊技者に見せることができる。
更に、上記のサイドユニット2800Dでは、LED基板2825をユニットカバー2820に取付けているものを示したが、これに限定するものではなく、LED基板2825をユニット本体2810A(第一構成部材2811A)の後側に取付けるようにしても良い。
また、上記のサイドユニット2800Dにおいて、LED基板2825の前方にLED2825aからの光を拡散させる複数の凹凸からなる拡散レンズ部を設けるようにしても良い。この拡散レンズ部は、ユニット本体2810A(第一構成部材2811Aの台板2811a)の後面に設けても良いし、ユニット本体2810Aとは別体の部材に設けても良い。
また、上記の実施形態では、遊技パネル1100として透明樹脂製のパネル板1110を備えているものを示したが、これに限定するものではなく、木製の遊技パネル1100としても良い。これにより、遊技パネル1100を木製とすることで、樹脂製のものと比較して板厚が厚くなるため、遊技パネル1100の板厚内をより有効利用し易くすることができる。ところで、遊技パネル1100(パネル板1110)を透明なものとすると、LED基板2825のLED2825aからの光が、パネル板1110の開口部1112の内周面からパネル板1110内に入射して、パネル板1110内に拡散してしまい、前方へ照射される光量が低下することで、発光による演出効果が弱くなる恐れがある。これに対して、遊技パネル1100を木製(不透明)とすることで、LED基板2825のLED2825aからの光が、開口部1112の内周面から遊技パネル1100の内部に入射することはなく、開口部1112の内周面により反射させることが可能となるため、前方へ照射される光量の低下を抑制させることができ、発光による演出効果を十分に発揮させ易くすることができる。
[12-2e.サイドユニットの変形例5]
次に、上記とは更に異なる形態のサイドユニット2800Eについて、主に図82等を参照して説明する。図82は、更に異なる形態のサイドユニットを遊技パネル共に縦断面で示す説明図である。ここでは、上記のサイドユニット2800Dと同じ構成については同じ符号を付して説明する。
サイドユニット2800Eは、遊技者がハンドル160を操作することで遊技球Bが打ち込まれる遊技領域5a内において、始動口ユニット2100の左方で内レール1002に沿うように延出しており、遊技球Bを常時受入可能に開口している複数(2つ~4つ)の一般入賞口2001を備えている。
サイドユニット2800Eは、遊技パネル1100における障害釘が植設される平板状のパネル板1110に前方から取付けられるユニット本体2810Aと、ユニット本体2810Aの後側から取付けられるユニットカバー2820と、ユニット本体2810Aとユニットカバー2820との間に設けられ複数のLED2825aが実装されているLED基板2825と、を備えている。サイドユニット2800Eのユニット本体2810Aとユニットカバー2820は、透明な合成樹脂により形成されている。
また、サイドユニット2800Eは、ユニット本体2810Aとユニットカバー2820とが互いに接している接触面部2830と、接触面部2830の一部に設けられており互いに接触していない非接触面部2831と、を有している。
サイドユニット2800Eのユニット本体2810Aは、遊技パネル1100における障害釘が植設される平板状のパネル板1110に前方から取付けられる第一構成部材2811Aと、第一構成部材2811Aに後側から取付けられる第二構成部材2812Aと、ユニットカバー2820の外周縁に沿うように後方へ枠状に突出しており後端面がユニットカバー2820の前端面に当接する支持枠部2814と、を有している。本実施形態では、第一構成部材2811Aの前側に第二構成部材2812Aが取付けられている。また、支持枠部2814が第一構成部材2811Aの後面から突出している。
ユニット本体2810Aの第一構成部材2811Aは、遊技パネル1100(パネル板1110)の前面に当接可能な平板状の台板2811aと、台板2811aを貫通して前方へ開放されており一般入賞口2001(球受部2812c)に受入れられた遊技球Bを遊技パネル1100(パネル板1110)の面(板面)に沿って流下させる球通路2811eと、球通路2811eの下流端において後方へ向かって開口している通路出口(図示は省略)と、を有している。
また、第一構成部材2811Aは、台板2811aから後方へ突出している複数の位置決突起2811cと、台板2811aを貫通しており遊技パネル1100に取付けるための複数の取付孔2811dと、台板2811aを貫通しており第二構成部材2812Aを取付けるための複数の取付孔(図示は省略)と、後面に設けられておりユニットカバー2820を取付けるための複数の被取付孔(図示は省略)と、を有している(図76を参照)。
台板2811aは、前構成部材1000の内レール1002に沿うように延出している。複数の位置決突起2811cは、台板2811aの長手方向へ離隔して設けられている。位置決突起2811cは、遊技パネル1100のパネル板1110に設けられている位置決孔1113に挿入される。本実施形態では、各位置決突起2811cは同じ長さである。複数の取付孔2811dは、台板2811aにおける位置決突起2811cの近傍と、台板2811aの左右方向中央付近の上部と、に設けられている。これら取付孔2811dは、前側に皿ザグリが形成されており、パネル板1110の取付孔1114にねじ込まれる皿頭の取付ビス(図示は省略)が前方から挿通される。パネル板1110の前面に取付けた状態では、取付ビスの頭部が台板2811aの前面よりも前方へ突出することはない。
この第一構成部材2811Aには、後端がユニットカバー2820の前端と当接する支持枠部2814が後側に設けられている。換言すると、第一構成部材2811Aは、ユニットカバー2820の外周縁に沿うように後方へ枠状に突出しており後端面がユニットカバー2820の前端面に当接する支持枠部2814を、有している。支持枠部2814は、台板2811aの後面に設けられている。支持枠部2814の後端面は、サイドユニット2800Eに組立てることでユニットカバー2820における後述する周壁部2820bの前端面に当接する。つまり、支持枠部2814の後端面と、周壁部2820bの前端面とが、接触面部2830を構成している。
第二構成部材2812Aは、前後方向に短く延びていると共に上方及び後方が解放されており一般入賞口2001を形成している複数の球受部2812cと、複数の球受部2812cの後端同士を繋いでいる平板状の後板2812eと、第一構成部材2811Aに取付けるための複数の取付孔(図示は省略)と、を有している。
なお、本実施形態では、第二構成部材2812Aにおける球受部2812cの前面と、後板2812eの前面に、透光性を有する装飾シール2803が貼り付けられている。
ユニット本体2810Aは、第一構成部材2811Aの前方に第二構成部材2812Aを位置させ、後方から第一構成部材2811Aの取付孔を通して取付ビスを第二構成部材2812Aの被取付孔にねじ込むことで、組立てられる。これにより、第一構成部材2811Aに後側から第二構成部材2812Aが取付けられたユニット本体2810Aが構築される。このユニット本体2810Aでは、第一構成部材2811Aの台板2811aよりも前方で、第二構成部材2812Aの球受部2812cが前方へ突出している。
サイドユニット2800Eのユニット本体2810Aは、一般入賞口2001(球受部2812c)と連通している支流部2801と、支流部2801と合流しており遊技パネル1100におけるパネル板1110の面(板面)に沿って延出している本流部2802と、を有している。球通路2811eは、複数の支流部2801と、本流部2802と、で構成されている。
支流部2801は、パネル板1110の前面よりも前方の部位から、パネル板1110の前面よりも後方で本流部2802の上方の(パネル板1110の板厚の)部位まで、後方へ延出している。
本流部2802は、遊技パネル1100のパネル板1110の板面に沿うと共に、右方へ低くなるように台板2811aの左端付近から右端付近まで延出している。本流部2802の長さは、遊技球Bの直径の2倍以上(本実施形態では、8~10倍)である。
また、ユニット本体2810Aに組立てた状態では、第一構成部材2811Aにおける前方へ開放されている球通路2811eにおいて、球受部2812cの後方を除いた部位が、第二構成部材2812Aの後板2812eによって閉鎖された状態となり、球通路2811eから遊技球Bが前方へ零れることはない。つまり、第一構成部材2811Aと第二構成部材2812Aとで球通路2811eを構成しておいる。換言すると、第一構成部材2811Aと第二構成部材2812Aとの間に球通路2811eが設けられている。
本実施形態の第一構成部材2811Aは、図82に示すように、台板2811aを除いた部位が、遊技パネル1100のパネル板1110の開口部1112内に挿入されると共に、奥行きがパネル板1110の板厚内に収まるように形成されている。
サイドユニット2800Eのユニットカバー2820は、前方へ開放された浅い容器状に形成されており、内部にLED基板2825が収容される。このユニットカバー2820は、平板状のカバー部2820aと、カバー部2820aの外周縁から前方へ突出している枠状の周壁部2820bと、周壁部2820bの一部において前端から凹んでいる切欠部2820cと、を有している。なお、カバー部2820aに、通気用の複数のスリット孔を設けても良い。
また、ユニットカバー2820は、カバー部2820aの前面から周壁部2820bよりも短く前方へ突出しておりLED基板2825を取付けるための複数のボス部2820dと、カバー部2820aを貫通しておりユニット本体2810Aに取付けるための取付ビスが挿通される複数の取付孔(図示は省略)と、を有している。
ユニットカバー2820のカバー部2820aは、LED基板2825を後方から覆う大きさに形成されている。周壁部2820bは、外形がユニット本体2810Aにおける支持枠部2814の外形と同じである。周壁部2820bの前端面は、サイドユニット2800Eに組立てることで、ユニット本体2810Aにおける支持枠部2814の後端面に当接する。つまり、支持枠部2814の後端面と、周壁部2820bの前端面とが、接触面部2830を構成している。
切欠部2820cは、周壁部2820bのおける上辺側と下辺側とに設けられている。切欠部2820cは、サイドユニット2800Dに組立てることで、周壁部2820bの前端面とユニット本体2810Aにおける支持枠部2814の前端面との間に隙間を形成することができる。つまり、切欠部2820cにより、支持枠部2814の後端面と周壁部2820bの前端面とで構成している接触面部2830の一部に、互いに接触していない非接触面部2831を形成している。この切欠部2820cにより、容器状のユニットカバー2820の内部を通気させることができ、内部に取付けられたLED基板2825からの熱を外部へ放熱することができ、ユニットカバー2820に熱が籠ることはない。
サイドユニット2800EのLED基板2825は、後面をユニットカバー2820におけるボス部2820dの前端に当接させた状態で、ユニットカバー2820の内部に取付けられる。LED基板2825に実装されている複数のLED2825aは、フルカラーLEDであり、サイドユニット2800Eに組立てることで、サイドユニット2800Eを様々な発光色で発光装飾させることができる。
このサイドユニット2800Eは、ユニットカバー2820の内部のボス部2820dに、LED基板2825を取付けた状態で、ユニットカバー2820の周壁部2820bの前端面を、ユニット本体2810Aにおける支持枠部2814の後端面に当接(接触)させ、ユニットカバー2820の後方からユニットカバー2820の取付孔を介して取付ビスをユニット本体2810Aの第一構成部材2811Aの被取付孔にねじ込んで締め付けることにより、組立てることができる。
サイドユニット2800Eの遊技パネル1100への取付けは、まず、遊技パネル1100におけるパネル板1110の前方から、第一構成部材2811Aの台板2811aがパネル板1110を貫通している開口部1112を閉鎖するように、台板2811aをパネル板1110の前面に当接させる。この際に、第一構成部材2811Aの二つの位置決突起2811cを、パネル板1110の位置決孔1113に挿入させる。この状態では、第一構成部材2811Aの取付孔2811dが、パネル板1110の取付孔1114と一致している。
そして、前方から第一構成部材2811Aの取付孔2811dを通して取付ビスをパネル板1110の取付孔1114にねじ込んで締め付けることにより、サイドユニット2800Eがパネル板1110の前面に取付けられる。この際に、第一構成部材2811Aの取付孔2811dを、位置決突起2811cの近傍に設けているため、取付孔2811dを介して取付ビスを遊技パネル1100におけるパネル板1110の取付孔1114にねじ込むことで、位置決突起2811cをパネル板1110側へ強く押し付けて位置決孔1113へ確実に挿入させることができ、位置決突起2811cの不完全挿入による浮き上がりを防止することができる。
サイドユニット2800Eでは、第一構成部材2811Aに、パネル板1110の面に沿って遊技球Bを流下させる球通路2811eを設けており、当該球通路2811eの部位の断面がコ字状となっているため、球通路2811eの存在により第一構成部材2811Aの剛性が高められている。一方、第二構成部材2812Aは、平板状の後板2812eから複数の球受部2812cが前方へ突出している形態であることから、従来のサイドユニットと似ており、剛性が低くなっているが、ユニット本体2810Aに組立てることにより、剛性が高められている第一構成部材2811Aにより、従来のサイドユニットよりも剛性を高めることができる。従って、リサイクル等によるパチンコ機1の分解作業において、サイドユニット2800Eをパネル板1110に取付けている取付ビスを取外してサイドユニット2800Eを前方へ引っ張った時に、サイドユニット2800Eの剛性が高められているため、サイドユニット2800Eが撓むことはない。これにより、パネル板1110の位置決孔1113に対してサイドユニット2800E(第一構成部材2811A)の位置決突起2811cが傾くことはなく、遊技パネル1100(パネル板1110)からサイドユニット2800Eを簡単に取外すことができ、分別する際の分解作業を軽減することが可能なパチンコ機1を提供することができる。
サイドユニット2800Eをパネル板1110の前面に取付けた状態(遊技盤5を組立てた状態)では、ユニット本体2810Aの第一構成部材2811Aがパネル板1110の開口部1112内でパネル板1110の板厚内に位置しており、パネル板1110の後面よりも前方に位置している。
また、本実施形態のサイドユニット2800Eは、遊技盤5に組立てた状態で、ユニットカバー2820がパネル板1110の後面よりも後方へ突出している。この際に、切欠部2820c(非接触面部2831)を上下に設けているため、上側の切欠部2820cによりLED基板2825からの熱を上方へ排出させつつ、下側の切欠部2820cから外部の空気を内部へ取り込むことができる。また、遊技盤5に組立てた状態では、サイドユニット2800Eのユニット本体2810Aにおけるパネル板1110の開口部1112内に挿入されている部位の外周、つまり、第一構成部材2811Aにおける球通路2811eの外周と、開口部1112の内周との間には、隙間が設けられている。これらにより、LED基板2825からの熱を、切欠部2820c(非接触面部2831)を通して外部へ放出し易くなり、効率良く放熱することができる。
また、本実施形態のサイドユニット2800Eは、LED基板2825をユニットカバー2820に取付けた状態では、LED基板2825が切欠部2820c(非接触面部2831)よりも後方に位置している。換言すると、平面視において、LED基板2825が切欠部2820c(非接触面部2831)と重ならせないように設けられている。これにより、切欠部2820cを通してユニットカバー2820内に塵や埃が侵入しても、LED基板2825にかかり難くすることができ、塵や埃の影響を極力防ぐことができる。また、ユニットカバー2820の下辺側にも切欠部2820cを設けているため、上側の切欠部2820cから侵入した塵や埃を下側の切欠部2820cから下方へ排出させることができる。
更に、本実施形態のサイドユニット2800Eは、遊技盤5に組立てた状態では、ユニットカバー2820の切欠部2820cが、遊技パネル1100のパネル板1110における開口部1112内で、パネル板1110の板厚内に位置しているため、塵や埃が上方から切欠部2820cを通ってユニットカバー2820内へ侵入し難い。
また、本実施形態のサイドユニット2800Eは、遊技盤5に組立てた状態では、ユニットカバー2820の周壁部2820bと、遊技パネル1100におけるパネル板1110の開口部1112の内周面との間に隙間を設けていると共に、第一構成部材2811の台板2811aにより開口部1112を前方から塞いでいる。これにより、ユニットカバー2820内のLED基板2825からの熱を、切欠部2820c及び開口部1112の内周面との間の隙間を通してパネル板1110の後方へ向けて放熱することができると共に、パネル板1110の後側から塵や埃等の異物が開口部1112を通してパネル板1110の前面側の遊技領域5aに侵入するのを防止することができる。
更に、サイドユニット2800Eは、遊技盤5に組立てた状態で、図82に示すように、ユニット本体2810Aに設けられている球通路2811eの一部(前端側)が、遊技パネル1100のパネル板1110の前面よりも前方へ突出している。ここでは、球通路2811eが、第一構成部材2811Aの台板2811aの厚さ分、前方へ突出している。これにより、パネル板1110の後面から後方へ突出するユニットカバー2820(LED基板2825)の突出量をより少なくすることができるため、遊技パネル1100(パネル板1110)の後方のスペースを十分に確保することができ、所望の大きさの裏下演出ユニット3500(裏下可動装飾体3510)を設けることができる。
なお、パネル板1110から後方への突出量は、図78のサイドユニット2800Aと同様に、遊技球Bの直径Dの1/2以下としている。
ところで、遊技パネル1100を射出成形により形成する場合、障害釘が植設される遊技領域5aの部位の厚さが、遊技パネル1100(パネル板1110)を木製の合板としたり樹脂板を切削加工したりする場合よりも薄くなり易いため、ユニット本体2810Aの球通路2811eにおけるパネル板1110の面と沿っている部位や、ユニット本体2810Aの後側に取付けられているユニットカバー2820が、パネル板1110の板厚内に収まり切れずに、パネル板1110の後面よりも後方へ突出してしまう恐れがある。そして、サイドユニット2800Eにおけるパネル板1110の後面よりも後方への突出量が大きいと、後方のスペースを十分に確保することができなくなる。これに対して、本実施形態では、サイドユニット2800Eにおいて、パネル板1110の後面からの突出量を、遊技球Bの直径Dの1/2以下としているため、後方のスペースを十分に確保することができ、所望の大きさの裏下演出ユニット3500(裏下可動装飾体3510)を設けることができる。
サイドユニット2800Eでは、一般入賞口2001に遊技球Bが受入れられると、一般入賞口2001を形成している球受部2812cにより後方の球通路2811eへ誘導され、球通路2811eによりパネル板1110の板厚内にかかりながらパネル板1110の面に沿って流下した後に、図示しない通路出口から後方に設けられている裏ユニット3000の裏球誘導ユニット3100に受け渡される。裏球誘導ユニット3100に受け渡された遊技球Bは、一般入賞口センサ3001に検知された後に、下方へ排出される。
本実施形態のサイドユニット2800Eは、詳細な図示は省略するが、ユニット本体2810Aにおける第一構成部材2811Aの図示しない通路出口が、待機位置の裏下可動装飾体3510よりも下方に設けられている。つまり、一般入賞口2001(球受部2812c)に受入れられた遊技球Bを検知する一般入賞口センサ3001が待機位置の裏下可動装飾体3510よりも下方に設けられている。従って、サイドユニット2800Eや一般入賞口センサ3001等が裏下可動装飾体3510の邪魔になることはない。
本実施形態のサイドユニット2800Eによれば、上記のサイドユニット2800等と同様の作用効果を奏することができる。
なお、上記のサイドユニット2800Eでは、ユニットカバー2820の周壁部2820bに切欠部2820c(非接触面部2831)を設けているものを示したが、これに限定するものではなく、ユニットカバー2820の周壁部2820bに切欠部2820cを設けずにユニット本体2810Aの支持枠部2814に後端から前方へ切欠かれた切欠部(非接触面部2831)を設けるようにしても良い。或いは、ユニットカバー2820の周壁部2820bとユニット本体2810Aの支持枠部2814との両方に切欠部(非接触面部)を設けるようにしても良い。
また、上記のサイドユニット2800Eでは、ユニット本体2810Aに後方へ突出する枠状の支持枠部2814を設け、その後端面を接触面部2830とするものを示したが、これに限定するものではなく、ユニット本体2810Aに支持枠部2814を設けずに、ユニットカバー2820(周壁部2820b)の前端が、ユニット本体2810Aの後面に当接するようにして、当該当接する部位を接触面部2830としても良い。これにより、後方へ突出する支持枠部2814を設けていないため、サイドユニット2800Eにおけるパネル板1110の後面から後方へ突出する突出量を少なくすることができ、パネル板1110の後方の空スペースをより広く確保することが可能となる。
更に、上記のサイドユニット2800Eでは、LED基板2825をユニットカバー2820に取付けているものを示したが、これに限定するものではなく、LED基板2825をユニット本体2810A(第一構成部材2811A)の後側に取付けるようにしても良い。
また、上記のサイドユニット2800Eにおいて、LED基板2825の前方にLED2825aからの光を拡散させる複数の凹凸からなる拡散レンズ部を設けるようにしても良い。この拡散レンズ部は、ユニット本体2810A(第一構成部材2811A)の後面に設けても良いし、ユニット本体2810Aとは別体の部材に設けても良い。
更に、上記のサイドユニット2800Eでは、夫々の球受部2812cと連通している複数の支流部2801と、複数の支流部2801が合流する本流部2802と、から構成されている球通路2811eを、有しているものを示したが、これに限定するものではなく、各球受部2812cごとに球通路2811eが独立しているものとしても良い。
また、上記の実施形態では、遊技パネル1100として透明樹脂製のパネル板1110を備えているものを示したが、これに限定するものではなく、木製の遊技パネル1100としても良い。これにより、遊技パネル1100を木製とすることで、樹脂製のものと比較して板厚が厚くなるため、遊技パネル1100の板厚内をより有効利用し易くすることができる。ところで、遊技パネル1100(パネル板1110)を透明なものとすると、LED基板2825のLED2825aからの光が、パネル板1110の開口部1112の内周面からパネル板1110内に入射して、パネル板1110内に拡散してしまい、前方へ照射される光量が低下することで、発光による演出効果が弱くなる恐れがある。これに対して、遊技パネル1100を木製(不透明)とすることで、LED基板2825のLED2825aからの光が、開口部1112の内周面から遊技パネル1100の内部に入射することはなく、開口部1112の内周面により反射させることが可能となるため、前方へ照射される光量の低下を抑制させることができ、発光による演出効果を十分に発揮させ易くすることができる。
[12-2f.サイドユニットの変形例6]
次に、上記とは更に異なる形態のサイドユニット2800Fについて、主に図83等を参照して説明する。図83(a)は更に異なる形態のサイドユニットを遊技パネル共に横断面で示す説明図であり、(b)は(a)を縦断面で示す説明図である。ここでは、上記のサイドユニット2800Dと同じ構成については同じ符号を付して説明する。
サイドユニット2800Fは、遊技者がハンドル160を操作することで遊技球Bが打ち込まれる遊技領域5a内において、始動口ユニット2100の左方で内レール1002に沿うように延出しており、遊技球Bを常時受入可能に開口している複数(2つ~4つ)の一般入賞口2001を備えている。
サイドユニット2800Fは、遊技パネル1100における障害釘が植設される平板状のパネル板1110に前方から取付けられるユニット本体2810Aと、ユニット本体2810Aの後側から取付けられるユニットカバー2820と、ユニット本体2810Aとユニットカバー2820との間に設けられ複数のLED2825aが実装されているLED基板2825と、を備えている。サイドユニット2800Fのユニット本体2810Aとユニットカバー2820は、透明な合成樹脂により形成されている。
また、サイドユニット2800Fは、ユニット本体2810Aとユニットカバー2820とが互いに接している接触面部2830と、接触面部2830の一部に設けられており互いに接触していない非接触面部2831と、を有している。
サイドユニット2800Fのユニット本体2810Aは、遊技パネル1100における障害釘が植設される平板状のパネル板1110に前方から取付けられる第一構成部材2811Aと、第一構成部材2811Aに後側から取付けられる第二構成部材2812Aと、ユニットカバー2820の外周縁に沿うように後方へ枠状に突出しており後端面がユニットカバー2820の前端面に当接する支持枠部2814と、を有している。本実施形態では、第一構成部材2811Aの前側に第二構成部材2812Aが取付けられている。また、支持枠部2814が第一構成部材2811Aの後面から突出している。
ユニット本体2810Aの第一構成部材2811Aは、遊技パネル1100(パネル板1110)の前面に当接可能な平板状の台板2811aと、台板2811aを貫通して前方へ開放されており一般入賞口2001(球受部2812c)に受入れられた遊技球Bを遊技パネル1100(パネル板1110)の面(板面)に沿って流下させる球通路2811eと、球通路2811eの下流端において後方へ向かって開口している通路出口(図示は省略)と、を有している。
また、第一構成部材2811Aは、台板2811aから後方へ突出している複数の位置決突起2811cと、台板2811aを貫通しており遊技パネル1100に取付けるための複数の取付孔2811dと、台板2811aを貫通しており第二構成部材2812Aを取付けるための複数の取付孔(図示は省略)と、後面に設けられておりユニットカバー2820を取付けるための複数の被取付孔(図示は省略)と、を有している(図76を参照)。
台板2811aは、前構成部材1000の内レール1002に沿うように延出している。また、サイドユニット2800Fでは、第一構成部材2811Aの球通路2811eが、台板2811aの上下方向中央よりも下側に設けられている。
複数の位置決突起2811cは、台板2811aの長手方向へ離隔して設けられている。位置決突起2811cは、遊技パネル1100のパネル板1110に設けられている位置決孔1113に挿入される。本実施形態では、各位置決突起2811cは同じ長さである。複数の取付孔2811dは、台板2811aにおける位置決突起2811cの近傍と、台板2811aの左右方向中央付近の上部と、に設けられている。これら取付孔2811dは、前側に皿ザグリが形成されており、パネル板1110の取付孔1114にねじ込まれる皿頭の取付ビス(図示は省略)が前方から挿通される。パネル板1110の前面に取付けた状態では、取付ビスの頭部が台板2811aの前面よりも前方へ突出することはない。
この第一構成部材2811Aには、後端がユニットカバー2820の前端と当接する支持枠部2814が後側に設けられている。換言すると、第一構成部材2811Aは、ユニットカバー2820の外周縁に沿うように後方へ枠状に突出しており後端面がユニットカバー2820の前端面に当接する支持枠部2814を、有している。支持枠部2814は、球通路2811eの上方で、台板2811aの後面に設けられている。支持枠部2814の後端面は、サイドユニット2800Fに組立てることでユニットカバー2820における後述する周壁部2820bの前端面に当接する。つまり、支持枠部2814の後端面と、周壁部2820bの前端面とが、接触面部2830を構成している。
第二構成部材2812Aは、前後方向に短く延びていると共に上方及び下方が解放されており一般入賞口2001を形成している複数の球受部2812cと、複数の球受部2812cの前端同士を繋いでいる平板状の前板2812dと、前板2812dの後で球受部2812cの下方に設けられていると共に後方へ開放されており球受部2812cに受入れられた遊技球Bが流通する球通路2812fと、第一構成部材2811Aに取付けるための複数の取付孔(図示は省略)と、を有している。
なお、本実施形態では、第二構成部材2812Aにおける前板2812dの前面に、透光性を有する装飾シール2803が貼り付けられている。
ユニット本体2810Aは、第一構成部材2811Aの前方に第二構成部材2812Aを位置させ、後方から第一構成部材2811Aの取付孔を通して取付ビスを第二構成部材2812Aの被取付孔にねじ込むことで、組立てられる。これにより、第一構成部材2811Aに後側から第二構成部材2812Aが取付けられたユニット本体2810Aが構築される。このユニット本体2810Aでは、第一構成部材2811Aの台板2811aよりも前方で、第二構成部材2812Aの球受部2812cが前方へ突出している。
サイドユニット2800Fのユニット本体2810Aは、一般入賞口2001(球受部2812c)と連通している支流部2801(図83において薄い網掛けで示す部位)と、支流部2801と合流しており遊技パネル1100におけるパネル板1110の面(板面)に沿って延出している本流部2802(図83において濃い網掛けで示す部位)と、を有している。球通路2811e及び球通路2812fは、複数の支流部2801と、本流部2802と、で構成されている。
支流部2801は、正面視において左右方向中央の球受部2812cとその左端の球受部2812cとでは、パネル板1110よりも前方において下方へ延出しており、右端の球受部2812cでは、パネル板1110よりも前方の部位からパネル板1110の板厚内の部位まで後方へ延出している。
本流部2802は、正面視において左端の球受部2812cの下方の部位から左右方向中央の球受部2812cの下方の部位までは、遊技パネル1100のパネル板1110の前方においてパネル板1110の板面に沿って延出しており、左右方向中央の球受部2812cの下方の部位で後方へ屈曲して、パネル板1110の板厚内へ延出した後に、パネル板1110の板厚内でパネル板1110の板面に沿って右端の球受部2812cの後方の部位まで延出している。本流部2802の長さは、遊技球Bの直径の2倍以上(本実施形態では、8~15倍)である。
ユニット本体2810Aに組立てた状態では、第一構成部材2811Aにおける前方へ開放されている球通路2811eが、第二構成部材2812Aの球通路2812f及び後面によって閉鎖された状態となる。また、第二構成部材2812Aにおける後方へ開放されている球通路2812fが、第一構成部材2811Aの台板2811a及び球通路2811eによって閉鎖された状態となる。これにより、球通路2811e及び球通路2812fから遊技球Bが零れることはない。つまり、第一構成部材2811Aと第二構成部材2812Aとで、球通路2811e及び球通路2812fを構成しておいる。換言すると、第一構成部材2811Aと第二構成部材2812Aとの間に、球通路2811e及び球通路2812fが設けられている。
本実施形態の第一構成部材2811Aは、図83に示すように、台板2811aを除いた部位が、遊技パネル1100のパネル板1110の開口部1112内に挿入されると共に、奥行きがパネル板1110の板厚内に収まるように形成されている。
サイドユニット2800Fのユニットカバー2820は、前方へ開放された浅い容器状に形成されており、内部にLED基板2825が収容される。このユニットカバー2820は、平板状のカバー部2820aと、カバー部2820aの外周縁から前方へ突出している枠状の周壁部2820bと、周壁部2820bの一部において前端から凹んでいる切欠部2820cと、を有している。なお、カバー部2820aに、通気用の複数のスリット孔を設けても良い。
また、ユニットカバー2820は、カバー部2820aの前面から周壁部2820bよりも短く前方へ突出しておりLED基板2825を取付けるための複数のボス部2820dと、カバー部2820aを貫通しておりユニット本体2810Aに取付けるための取付ビスが挿通される複数の取付孔(図示は省略)と、を有している。
ユニットカバー2820のカバー部2820aは、LED基板2825を後方から覆う大きさに形成されている。周壁部2820bは、外形がユニット本体2810Aにおける支持枠部2814の外形と同じである。周壁部2820bの前端面は、サイドユニット2800Fに組立てることで、ユニット本体2810Aにおける支持枠部2814の後端面に当接する。つまり、支持枠部2814の後端面と、周壁部2820bの前端面とが、接触面部2830を構成している。
切欠部2820cは、周壁部2820bのおける上辺側と下辺側とに設けられている。切欠部2820cは、サイドユニット2800Dに組立てることで、周壁部2820bの前端面とユニット本体2810Aにおける支持枠部2814の前端面との間に隙間を形成することができる。つまり、切欠部2820cにより、支持枠部2814の後端面と周壁部2820bの前端面とで構成している接触面部2830の一部に、互いに接触していない非接触面部2831を形成している。この切欠部2820cにより、容器状のユニットカバー2820の内部を通気させることができ、内部に取付けられたLED基板2825からの熱を外部へ放熱することができ、ユニットカバー2820に熱が籠ることはない。
サイドユニット2800FのLED基板2825は、後面をユニットカバー2820におけるボス部2820dの前端に当接させた状態で、ユニットカバー2820の内部に取付けられる。LED基板2825に実装されている複数のLED2825aは、フルカラーLEDであり、サイドユニット2800Fに組立てることで、サイドユニット2800Fを様々な発光色で発光装飾させることができる。
このサイドユニット2800Fは、ユニットカバー2820の内部のボス部2820dに、LED基板2825を取付けた状態で、ユニットカバー2820の周壁部2820bの前端面を、ユニット本体2810Aにおける支持枠部2814の後端面に当接(接触)させ、ユニットカバー2820の後方からユニットカバー2820の取付孔を介して取付ビスをユニット本体2810Aの第一構成部材2811Aの被取付孔にねじ込んで締め付けることにより、組立てることができる。
サイドユニット2800Fの遊技パネル1100への取付けは、まず、遊技パネル1100におけるパネル板1110の前方から、第一構成部材2811Aの台板2811aがパネル板1110を貫通している開口部1112を閉鎖するように、台板2811aをパネル板1110の前面に当接させる。この際に、第一構成部材2811Aの二つの位置決突起2811cを、パネル板1110の位置決孔1113に挿入させる。この状態では、第一構成部材2811Aの取付孔2811dが、パネル板1110の取付孔1114と一致している。
そして、前方から第一構成部材2811Aの取付孔2811dを通して取付ビスをパネル板1110の取付孔1114にねじ込んで締め付けることにより、サイドユニット2800Fがパネル板1110の前面に取付けられる。この際に、第一構成部材2811Aの取付孔2811dを、位置決突起2811cの近傍に設けているため、取付孔2811dを介して取付ビスを遊技パネル1100におけるパネル板1110の取付孔1114にねじ込むことで、位置決突起2811cをパネル板1110側へ強く押し付けて位置決孔1113へ確実に挿入させることができ、位置決突起2811cの不完全挿入による浮き上がりを防止することができる。
サイドユニット2800Fでは、第一構成部材2811Aに、パネル板1110の面に沿って遊技球Bを流下させる球通路2811eを設けており、当該球通路2811eの部位の断面がコ字状となっているため、球通路2811eの存在により第一構成部材2811Aの剛性が高められている。一方、第二構成部材2812Aにも、パネル板1110の面に沿って遊技球Bを流下させる球通路2812fを設けており、当該球通路2812fの部位の断面がコ字状となっているため、球通路2812fの存在により第二構成部材2812Aの剛性が高められている。これにより、剛性が高められている第一構成部材2811Aと第二構成部材2812Aとを組み合わせてサイドユニット2800Fを構築しているため、従来のサイドユニットよりも剛性を高めることができる。従って、リサイクル等によるパチンコ機1の分解作業において、サイドユニット2800Fをパネル板1110に取付けている取付ビスを取外してサイドユニット2800Fを前方へ引っ張った時に、サイドユニット2800Fの剛性が高められているため、サイドユニット2800Fが撓むことはない。このようなことから、パネル板1110の位置決孔1113に対してサイドユニット2800F(第一構成部材2811A)の位置決突起2811cが傾くことはなく、遊技パネル1100(パネル板1110)からサイドユニット2800Fを簡単に取外すことができ、分別する際の分解作業を軽減することが可能なパチンコ機1を提供することができる。
サイドユニット2800Fをパネル板1110の前面に取付けた状態(遊技盤5を組立てた状態)では、ユニット本体2810Aにおける第一構成部材2811Aの球通路2811e及びユニットカバー2820(LED基板2825)が、パネル板1110の開口部1112内でパネル板1110の板厚内に位置しており、パネル板1110の後面よりも前方に位置している。換言すると、遊技盤5に組立てた状態では、サイドユニット2800がパネル板1110の後面よりも後方へ突出しておらず、パネル板1110の後方のスペースを広く確保することが可能である。
また、本実施形態のサイドユニット2800Fでは、ユニットカバー2820の切欠部2820c(非接触面部2831)を上下に設けているため、上側の切欠部2820cによりLED基板2825からの熱を上方へ排出させつつ、下側の切欠部2820cから外部の空気を内部へ取り込むことができる。また、遊技盤5に組立てた状態では、サイドユニット2800Fのユニット本体2810Aにおけるパネル板1110の開口部1112内に挿入されている部位の外周、つまり、第一構成部材2811Aにおける支持枠部2814の外周と、開口部1112の内周との間には、隙間が設けられている。これらにより、LED基板2825からの熱を、切欠部2820c(非接触面部2831)を通して外部へ放出し易くなり、効率良く放熱することができる。
また、本実施形態のサイドユニット2800Fは、LED基板2825をユニットカバー2820に取付けた状態では、LED基板2825が切欠部2820c(非接触面部2831)よりも後方に位置している。換言すると、平面視において、LED基板2825が切欠部2820c(非接触面部2831)と重ならせないように設けられている。これにより、切欠部2820cを通してユニットカバー2820内に塵や埃が侵入しても、LED基板2825にかかり難くすることができ、塵や埃の影響を極力防ぐことができる。また、ユニットカバー2820の下辺側にも切欠部2820cを設けているため、上側の切欠部2820cから侵入した塵や埃を下側の切欠部2820cから下方へ排出させることができる。
更に、本実施形態のサイドユニット2800Fは、遊技盤5に組立てた状態では、ユニットカバー2820の切欠部2820cが、遊技パネル1100のパネル板1110における開口部1112内で、パネル板1110の板厚内に位置しているため、塵や埃が上方から切欠部2820cを通ってユニットカバー2820内へ侵入し難い。
また、本実施形態のサイドユニット2800Fは、遊技盤5に組立てた状態では、ユニットカバー2820の周壁部2820bと、遊技パネル1100におけるパネル板1110の開口部1112の内周面との間に隙間を設けていると共に、第一構成部材2811の台板2811aにより開口部1112を前方から塞いでいる。これにより、ユニットカバー2820内のLED基板2825からの熱を、切欠部2820c及び開口部1112の内周面との間の隙間を通してパネル板1110の後方へ向けて放熱することができると共に、パネル板1110の後側から塵や埃等の異物が開口部1112を通してパネル板1110の前面側の遊技領域5aに侵入するのを防止することができる。
更に、サイドユニット2800Fは、遊技盤5に組立てた状態で、図83に示すように、球受部2812cに受入れられた遊技球Bが遊技パネル1100のパネル板1110の面に沿って流下する球通路2812fを、遊技パネル1100のパネル板1110の前面よりも前方に設けている。これにより、第一構成部材2811Aにおける台板2811aの後側に設けられているユニットカバー2820(LED基板2825)を、パネル板1110の開口部1112内でパネル板1110の板厚内に収めることができ、パネル板1110の後面よりも後方へ突出させないようにすることができる。従って、サイドユニット2800Fにおける遊技パネル1100(パネル板1110)の後方のスペースを十分に確保することができ、所望の大きさの裏下演出ユニット3500(裏下可動装飾体3510)を設けることができる。
サイドユニット2800Fでは、一般入賞口2001に遊技球Bが受入れられると、一般入賞口2001を形成している球受部2812cにより下方の球通路2812fへ流下し、球通路2812fによりパネル板1110の前面よりも前方において、パネル板1110の面に沿って流下し、途中で後方へクランク状に屈曲してパネル板1110の板厚内でパネル板1110の面に沿って流下した上で、図示しない通路出口から後方に設けられている裏ユニット3000の裏球誘導ユニット3100に受け渡される。裏球誘導ユニット3100に受け渡された遊技球Bは、一般入賞口センサ3001に検知された後に、下方へ排出される。一方、サイドユニット2800Fへ向かって流下してきた遊技球Bが、サイドユニット2800Fの一般入賞口2001(球受部2812c)に受入れられなかった場合、当該遊技球Bは、台板2811aと前板2812dとの間の空間を通ってアウト口1008へ流下し、アウト口1008を通って遊技パネル1100の後方且つ下方へ排出される。
本実施形態のサイドユニット2800Fは、図83(b)に示すように、ユニット本体2810Aにおける第一構成部材2811Aの図示しない通路出口が、待機位置の裏下可動装飾体3510よりも下方に設けられている。つまり、一般入賞口2001(球受部2812c)に受入れられた遊技球Bを検知する一般入賞口センサ3001が待機位置の裏下可動装飾体3510よりも下方に設けられている。従って、サイドユニット2800Fや一般入賞口センサ3001等が裏下可動装飾体3510の邪魔になることはない。
本実施形態のサイドユニット2800Fによれば、上記のサイドユニット2800等と同様の作用効果を奏することができる。
なお、上記のサイドユニット2800Fでは、ユニットカバー2820の周壁部2820bに切欠部2820c(非接触面部2831)を設けているものを示したが、これに限定するものではなく、ユニットカバー2820の周壁部2820bに切欠部2820cを設けずにユニット本体2810Aの支持枠部2814に後端から前方へ切欠かれた切欠部(非接触面部2831)を設けるようにしても良い。或いは、ユニットカバー2820の周壁部2820bとユニット本体2810Aの支持枠部2814との両方に切欠部(非接触面部)を設けるようにしても良い。
また、上記のサイドユニット2800Fでは、ユニット本体2810Aに後方へ突出する枠状の支持枠部2814を設け、その後端面を接触面部2830とするものを示したが、これに限定するものではなく、ユニット本体2810Aに支持枠部2814を設けずに、ユニットカバー2820(周壁部2820b)の前端が、ユニット本体2810Aの後面に当接するようにして、当該当接する部位を接触面部2830としても良い。これにより、後方へ突出する支持枠部2814を設けていないため、サイドユニット2800Fにおける後方への突出量を少なくすることができる。
更に、上記のサイドユニット2800Fでは、LED基板2825をユニットカバー2820に取付けているものを示したが、これに限定するものではなく、LED基板2825をユニット本体2810A(第一構成部材2811A)の後側に取付けるようにしても良い。
また、上記のサイドユニット2800Fにおいて、LED基板2825の前方にLED2825aからの光を拡散させる複数の凹凸からなる拡散レンズ部を設けるようにしても良い。この拡散レンズ部は、ユニット本体2810A(第一構成部材2811A)の後面に設けても良いし、ユニット本体2810Aとは別体の部材に設けても良い。
更に、上記のサイドユニット2800Fでは、夫々の球受部2812cと連通している複数の支流部2801と、複数の支流部2801が合流する本流部2802と、から構成されている球通路2811eを、有しているものを示したが、これに限定するものではなく、各球受部2812cごとに球通路2811eが独立しているものとしても良い。
また、上記の実施形態では、遊技パネル1100として透明樹脂製のパネル板1110を備えているものを示したが、これに限定するものではなく、木製の遊技パネル1100としても良い。これにより、遊技パネル1100を木製とすることで、樹脂製のものと比較して板厚が厚くなるため、遊技パネル1100の板厚内をより有効利用し易くすることができる。ところで、遊技パネル1100(パネル板1110)を透明なものとすると、LED基板2825のLED2825aからの光が、パネル板1110の開口部1112の内周面からパネル板1110内に入射して、パネル板1110内に拡散してしまい、前方へ照射される光量が低下することで、発光による演出効果が弱くなる恐れがある。これに対して、遊技パネル1100を木製(不透明)とすることで、LED基板2825のLED2825aからの光が、開口部1112の内周面から遊技パネル1100の内部に入射することはなく、開口部1112の内周面により反射させることが可能となるため、前方へ照射される光量の低下を抑制させることができ、発光による演出効果を十分に発揮させ易くすることができる。
[12-3.第三実施形態のサイドユニット等]
次に、第三実施形態のサイドユニット2800Gについて、主に図84及び図86等を参照して説明する。図84(a)は第三実施形態のサイドユニット等が設けられている遊技盤の要部を示す正面図であり、(b)は(a)におけるアウト口の部位を拡大して示す説明図であり、(c)は(b)を縦断面で示す説明図である。図85(a)は図84とは異なる形態の指掛部を有するサイドユニット等が設けられている遊技盤のアウト口の部位を拡大して示す説明図であり、(b)は(a)を縦断面で示す説明図である。図86は、サイドユニットが取付けられる開口部とアウト口とが連続して繋がっている遊技パネルのパネル板を模式的に示す説明図である。ここでは、上記と同じ構成については、同じ符号を付して説明する。
第三実施形態のサイドユニット2800Gは、遊技者がハンドル160を操作することで遊技球Bが打ち込まれる遊技領域5a内において、始動口ユニット2100の左方で内レール1002に沿うように延出しており、遊技パネル1100(パネル板1110)に前方から取付けられている。サイドユニット2800Gは、遊技球Bを常時受入可能に開口している三つの一般入賞口2001を備えている。
本実施形態では、遊技パネル1100においてパネル板1110の前面側から後面側へ遊技球Bが流通可能なパネル板1110を貫通している開口領域1101を有している。この開口領域1101は、サイドユニット2800Gの一般入賞口2001に受入れられた遊技球Bが流通可能な普通開口領域1102と、一般入賞口2001に受入れられなかった遊技球Bが流通可能な特定開口領域1103と、から構成されている。普通開口領域1102は、サイドユニット2800Gが取付けられる部位の開口部1112であり、特定開口領域1103は、アウト口1008である。このアウト口1008は、パネル板1110において下方へ開放されている切欠状に形成されている。
図84及び後述する図85の実施形態では、開口領域1101を構成している普通開口領域1102と特定開口領域1103とが互いに繋がらずに独立している。つまり、特定開口領域1103は、普通開口領域1102とは別で遊技パネル1100のパネル板1110に形成されている。換言すると、アウト口1008は、サイドユニット2800Gが嵌合される普通開口領域1102とは別で遊技パネル1100のパネル板1110に形成された特定開口領域1103により構成されている。これにより、パネル板1110では、外周面から外方へ切欠状に解放されている部位の広さを小さくすることが可能となるため、開口領域1101を形成することによるパネル板1110の強度の低下を抑制することができる。
このサイドユニット2800Gは、パネル板1110に取付けた時に、パネル板1110を貫通しているアウト口1008(特定開口領域1103)に、外縁の一部が重なる指掛部2816を有している。換言すると、サイドユニット2800Gは、アウト口1008(特定開口領域1103)に外縁の一部が重なるようにパネル板1110に取付けられる。
サイドユニット2800Gに指掛部2816を設けているため、リサイクル等によるパチンコ機1の分解作業において、サイドユニット2800Gをパネル板1110に取付けている取付ビスを取外した状態で、アウト口1008に指や工具等を挿入することで、指掛部2816に指等を引っ掛けてサイドユニット2800Gを前方へ引っ張ることができる。これにより、遊技パネル1100(パネル板1110)からサイドユニット2800Gを簡単に取外すことができ、分別する際の分解作業を軽減することができる。
本実施形態のサイドユニット2800Gについて、更に説明すると、サイドユニット2800Gは、図76等に示すサイドユニット2800と同様に、遊技パネル1100における障害釘が植設される平板状のパネル板1110に前方から取付けられる第一構成部材2811と、第一構成部材2811に後側から取付けられる第二構成部材2812と、から構成されている。本実施形態のサイドユニット2800は、第一構成部材2811の後側に第二構成部材2812が取付けられている。
サイドユニット2800Gの第一構成部材2811は、遊技パネル1100(パネル板1110)の前面に当接可能な平板状の台板2811aと、台板2811aから前方へ突出していると共に上方及び後方が解放されており一般入賞口2001を形成している複数の球受部2811bと、を有している。
台板2811aは、前構成部材1000の内レール1002に沿うように延出している。本実施形態の台板2811aは、図84に示すように、右端側が、始動口ユニット2100に接近するように右端の球受部2811bよりも右方へ延出している。この台板2811aは、アウト口1008(特定開口領域1103)に対して外縁の一部が重なるように設けられている。換言すると、パネル板1110に取付けた状態で、台板2811aの外縁の一部が、正面視においてアウト口1008(特定開口領域1103)に重なるようにアウト口1008の前方へ突出するように形成されている。本実施形態では、台板2811aにおけるアウト口1008の前方へ突出している部位が、指掛部2816である。
台板2811aの外縁は、前面が外縁端へ向かうに従って後方へ移動するように傾斜している。従って、台板2811aの外縁におけるアウト口1008の部位、つまり、指掛部2816の前端面が、アウト口1008に向かうように傾斜している。
三つの球受部2811bは、互いが左右に離隔して設けられていると共に、右方の球受部2811bほど下方へ位置するように設けられている。左端の球受部2811bは、前端面が下端まで台板2811aと平行に形成されている。残り(中央と右端)の球受部2811bは、前端面が下端へ向かうほど後方へ移動するように傾斜している。
また、第一構成部材2811は、台板2811aから後方へ突出している二つの位置決突起2811cと、台板2811aを貫通しており遊技パネル1100に取付けるための複数(ここでは三つ)の取付孔2811dと、球受部2811b(台板2811a)の後端面に設けられており第二構成部材2812を取付けるための複数の被取付孔(図示は省略)と、を有している。
二つの位置決突起2811cは、台板2811aの長手方向へ離隔して設けられている。ここでは、二つの位置決突起2811cが、アウト口1008に近い部位と、アウト口1008から遠い部位と、に設けられている。位置決突起2811cは、遊技パネル1100のパネル板1110に設けられている位置決孔1113に挿入される。本実施形態では、二つの位置決突起2811cは同じ長さである。
三つの取付孔2811dは、台板2811aにおける位置決突起2811cの近傍と、台板2811aの左右方向中央付近の上部と、に設けられている。これら取付孔2811dは、前側に皿ザグリが形成されており、パネル板1110の取付孔1114にねじ込まれる皿頭の取付ビス(図示は省略)が前方から挿通される。パネル板1110の前面に取付けた状態では、取付ビスの頭部が台板2811aの前面よりも前方へ突出することはない。
被取付孔は、後述する第二構成部材2812の取付孔(図示は省略)に挿通された取付ビスがねじ込まれるものである。
第二構成部材2812は、前方へ開放された容器状に形成されており、一般入賞口2001(球受部2811b)に受入れられた遊技球Bを遊技パネル1100(パネル板1110)の面(板面)に沿って流下させる球通路2812aと、球通路2812aの下流端において後方へ向かって開口している通路出口2812bと、第一構成部材2811に取付けられるための複数の取付孔(図示は省略)と、を有している。
本実施形態の第二構成部材2812は、遊技パネル1100のパネル板1110の開口部1112(普通開口領域1102)内に挿入(嵌入)されると共に、奥行きがパネル板1110の板厚内に収まるように形成されている。
第二構成部材2812の球通路2812aは、前構成部材1000の内レール1002に沿うと共に、パネル板1110の面に沿って右方へ向かうほど低くなるように形成されている。通路出口2812bは、球通路2812aの下流端である第二構成部材2812の右端において後方へ向かって開口している。
第二構成部材2812の取付孔は、第一構成部材2811の被取付孔と対応する部位に設けられている。第二構成部材2812の取付孔に対して、取付ビスを後方から挿通させて第一構成部材2811の被取付孔にねじ込むことにより、第一構成部材2811に後側から第二構成部材2812が取付けられる。
本実施形態のサイドユニット2800Gは、一般入賞口2001(球受部2811b)と連通している支流部2801と、支流部2801と合流しており遊技パネル1100におけるパネル板1110の面(板面)に沿って延出している本流部2802と、を有している。球通路2812aは、複数の支流部2801と、本流部2802と、で構成されている。
支流部2801は、パネル板1110の前面よりも前方の部位から、パネル板1110の前面よりも後方で本流部2802の上方の(パネル板1110の板厚の)部位まで、後方へ延出している。
本流部2802は、遊技パネル1100のパネル板1110の板面に沿うと共に、右方へ低くなるように台板2811aの左端付近から右端付近まで延出している。本流部2802の長さは、遊技球Bの直径の2倍以上(本実施形態では、8~10倍)である。
本実施形態のサイドユニット2800Gは、第一構成部材2811の後方に第二構成部材2812を位置させ、第二構成部材2812の後方から取付ビスを第二構成部材2812の取付孔を通して第一構成部材2811の被取付孔にねじ込むことで、組立てられる。これにより、第一構成部材2811に後側から第二構成部材2812が取付けられたサイドユニット2800Gが構築される。
第二構成部材2812の球通路2812aは、前方へ開放されているが、前側に第一構成部材2811が取付けられると、球通路2812aの前端側が第一構成部材2811の台板2811aにより閉鎖された状態となり、球通路2812aから遊技球Bが前方へ零れることはない。つまり、第一構成部材2811と第二構成部材2812とで球通路2812aを構成しておいる。換言すると、第一構成部材2811と第二構成部材2812との間に球通路2812aが設けられている。
このサイドユニット2800Gは、遊技パネル1100におけるパネル板1110の前方から、第一構成部材2811の台板2811aがパネル板1110を貫通している開口部1112(開口領域1101の普通開口領域1102)を閉鎖するように、台板2811aをパネル板1110の前面に当接させる。この際に、第一構成部材2811の二つの位置決突起2811cを、パネル板1110の位置決孔1113に挿入させる。この状態では、第一構成部材2811の取付孔2811dが、パネル板1110の取付孔1114と一致している。
そして、前方から第一構成部材2811の取付孔2811dを通して取付ビスをパネル板1110の取付孔1114にねじ込んで締め付けることにより、サイドユニット2800Gがパネル板1110の前面に取付けられる。この際に、第一構成部材2811の取付孔2811dを、位置決突起2811cの近傍に設けているため、取付孔2811dを介して取付ビスを遊技パネル1100におけるパネル板1110の取付孔1114にねじ込むことで、位置決突起2811cをパネル板1110側へ強く押し付けて位置決孔1113へ確実に挿入させることができ、位置決突起2811cの不完全挿入による浮き上がりを防止することができる。
本実施形態のサイドユニット2800Gは、遊技パネル1100におけるパネル板1110の前面に取付けた状態(遊技盤5を組立てた状態)では、第一構成部材2811における台板2811aの指掛部2816が、アウト口1008(開口領域1101の特定開口領域1103)の前方へ突出している。
また、サイドユニット2800Gをパネル板1110の前面に取付けた状態(遊技盤5を組立てた状態)では、第二構成部材2812がパネル板1110の開口部1112内でパネル板1110の板厚内に位置しており、パネル板1110の後面よりも前方に位置している。換言すると、遊技盤5に組立てた状態では、サイドユニット2800Gがパネル板1110の後面よりも後方へ突出しておらず、パネル板1110の後方のスペースを広く確保することが可能である。
サイドユニット2800Gでは、一般入賞口2001に遊技球Bが受入れられると、一般入賞口2001を形成している球受部2811bによりパネル板1110の前面よりも後方の球通路2812aへ誘導され、球通路2812aによりパネル板1110の面に沿って流下した後に、通路出口2812bから後方に設けられている裏ユニット3000の裏球誘導ユニット3100に受け渡される。裏球誘導ユニット3100に受け渡された遊技球Bは、一般入賞口センサ3001に検知された後に、下方へ排出される。
本実施形態では、詳細な図示は省略するが、第二構成部材2812の通路出口2812bが、待機位置の裏下可動装飾体3510よりも下方に設けられている。つまり、一般入賞口2001(球受部2811b)に受入れられた遊技球Bを検知する一般入賞口センサ3001が待機位置の裏下可動装飾体3510よりも下方に設けられている。従って、サイドユニット2800Gや一般入賞口センサ3001等が裏下可動装飾体3510の邪魔になることはない。
本実施形態のサイドユニット2800Gによれば、上記のサイドユニット2800等と同様の作用効果を奏することができる。
本実施形態のサイドユニット2800Gによれば、第二構成部材2812に、パネル板1110の面に沿って遊技球Bを流下させる球通路2812aを設けていることから、当該球通路2812aの部位の断面がコ字状となっているため、球通路2812aの存在により第二構成部材2812の剛性を高めることができる。そして、剛性が高められている第二構成部材2812を、第一構成部材2811の後側から取付けてサイドユニット2800Gを形成しているため、サイドユニット2800の剛性を従来のサイドユニットよりも高めることができる。従って、リサイクル等によるパチンコ機1の分解作業において、サイドユニット2800Gを遊技パネル1100のパネル板1110に取付けている取付ビスを取外してサイドユニット2800Gを前方へ引っ張った時に、サイドユニット2800の剛性が高められていることでサイドユニット2800が撓むことはない。これにより、パネル板1110の位置決孔1113に対してサイドユニット2800G(第一構成部材2811)の位置決突起2811cが傾くことはなく、遊技パネル1100(パネル板1110)からサイドユニット2800Gを簡単に取外すことができ、分別する際の分解作業を軽減することが可能なパチンコ機1を提供することができる。
また、本実施形態のサイドユニット2800Gによれば、外縁の一部に、パネル板1110のアウト口1008と重なる指掛部2816を設けているため、リサイクル等によるパチンコ機1の分解作業において、サイドユニット2800Gをパネル板1110に取付けている取付ビスを取外した状態で、アウト口1008に指や工具等を挿入することで、指掛部2816に指等を引っ掛けてサイドユニット2800Gを前方へ引っ張ることができる。これにより、遊技パネル1100(パネル板1110)からサイドユニット2800Gを簡単に取外すことができ、分別する際の分解作業を軽減させることができる。
また、本実施形態のサイドユニット2800Gでは、指掛部2816をアウト口1008(特定開口領域1103)と重なるように設けており、当該アウト口1008は遊技球B二個以上の大きさを有しているため、作業者の指等を楽にアウト口1008に挿入することができ、指掛部2816に指等を容易に引っ掛けることができる。
更に、サイドユニット2800Gでは、台板2811aの指掛部2816をアウト口1008に重なるようにアウト口1008の前方へ突出させているため、遊技領域5aを流下してきた遊技球Bがアウト口1008を通して排出される際に、アウト口1008の上方からパネル板1110の面に沿って流下してきた遊技球Bがアウト口1008の前端の角をなめるようにしてアウト口1008に入球したり、アウト口1008の手前のアウト誘導部1003において上方へ跳ね返った遊技球Bがアウト口1008の前端の角に当接したり、することを回避させることができる。つまり、指掛部2816によりパネル板1110におけるアウト口1008の前端の角に遊技球Bが当接しないように保護することができる。これにより、アウト口1008の前端が欠けてしまうことを防止することができる。
また、サイドユニット2800Gでは、台板2811aにおける指掛部2816の前面をアウト口1008へ向かって傾斜させていることから、外縁の角が鈍角になっている。従って、パチンコ機1の分解作業においてサイドユニット2800Gを遊技パネル1100のパネル板1110から取外すために、サイドユニット2800Gにおける台板2811aの外縁におけるアウト口1008と重なっている指掛部2816(指掛部2817)に作業者の指等を引っ掛ける際に、台板2811aの外縁の角に指等が当接しても、当該角が鈍角になっているため、当該角が直角になっている場合と比較して、指等を傷付け難くすることができ、指等によりサイドユニット2800Gを安全に取外すことができる。
また、サイドユニット2800Gでは、台板2811aにおける指掛部2816の前面をアウト口1008へ向かって傾斜させているため、台板2811aの前面に沿ってアウト口1008へ流下する遊技球Bを、滑らかにアウト口1008へ誘導することができ、アウト口1008付近で遊技球Bが滞ることを抑制させることができる。また、指掛部2816の前面を傾斜させていることから、指掛部2816の前端の角が鈍角になっているため、前端の角を欠け難くすることができる。
また、サイドユニット2800Gでは、遊技盤5に組立てることで、第一構成部材2811の台板2811aにより、遊技パネル1100におけるパネル板1110の開口部1112を前方から塞いでいるため、パネル板1110の後側から塵や埃等の異物が開口部1112を通してパネル板1110の前面側の遊技領域5aに侵入するのを防止することができる。
ところで、サイドユニット2800Gに二つの位置決突起2811cを設けて夫々を遊技パネル1100のパネル板1110の位置決孔1113に挿入させていることから、分解作業においてサイドユニット2800Gをパネル板1110から取外す際に、二つの位置決突起2811cを同時に位置決孔1113から引き抜こうとすると、強い力でサイドユニット2800Gを前方へ引っ張る必要があり、作業者の負担が増加する恐れがある。これに対して、本実施形態では、位置決突起2811cをアウト口1008に接近している部位と遠い部位とに設けているため、リサイクル等によるパチンコ機1の分解作業において、遊技パネル1100のパネル板1110からサイドユニット2800Gを取外す際に、サイドユニット2800の台板2811aの外縁におけるアウト口1008と重なっている指掛部2816に、作業者の指等を引っ掛けて前方へ引っ張ることで、アウト口1008に近い位置決突起2811cに対して強い引抜力を作用させることが可能となる。これにより、分解作業において、二つの位置決突起2811cのうち、まず初めにアウト口1008に近い位置決突起2811cを位置決孔1113から抜くことができ、その後に、アウト口1008から遠い残りの位置決突起2811cを位置決孔1113から抜けば良いため、同時に二つの位置決突起2811cを引き抜く場合と比較して、弱い力で引き抜くことが可能となり、作業種の負担を軽減させることができる。
なお、上記のサイドユニット2800Gでは、指掛部2816として遊技パネル1100におけるパネル板1110の前面に沿った平板状のものを示したが、これに限定するものではなく、図85に示すような形態の指掛部2817としても良い。
この指掛部2817は、サイドユニット2800Gをパネル板1110の前面に取付けた時に、正面視においてパネル板1110を貫通しているアウト口1008と重なると共に、アウト口1008の内面に沿ってパネル板1110の前面からパネル板1110の後面よりも後方へ延出しているものである。この指掛部2817は、サイドユニット2800Gの第一構成部材2811における台板2811aの外縁に設けられている。また、指掛部2817の前面は、アウト口1008に向かうように傾斜している。
図85の実施例では、サイドユニット2800Gの台板2811aの外縁におけるアウト口1008(特定開口領域1103)と重なっている指掛部2817の奥行を長くしており、アウト口1008に挿入されている部位がある程度の厚さを有している。そのため、指掛部2817の厚さによりアウト口1008のサイズが小さくなる(遊技球Bを排出するための通路容積が小さくなる)が、本実施形態では、指掛部2817の厚さを見越して、アウト口1008のサイズを広くしている(遊技球Bを排出するための通路容積を大きくしている)。これにより、アウト口1008において遊技球Bが滞りなく排出することができる。
この指掛部2817によれば、上記の指掛部2816と同様の作用効果を奏することができる。従って、リサイクル等によるパチンコ機1の分解作業において、サイドユニット2800Gをパネル板1110に取付けている取付ビスを取外した状態で、アウト口1008に指や工具等を挿入することで、当該指掛部2817に指等を引っ掛けてサイドユニット2800Gを前方へ引っ張ることができる。これにより、遊技パネル1100(パネル板1110)からサイドユニット2800Gを簡単に取外すことができ、分別する際の分解作業を軽減することができる。
また、指掛部2817をアウト口1008の内面に沿ってパネル板1110の後面よりも後方へ突出させているため、指掛部2817によりアウト口1008の内面を保護することができる。また、木製の遊技パネル1100を使用する場合、木部がそのまま現れるアウト口1008の内面を指掛部2817により隠すことができ、パチンコ機1(遊技盤5)の見栄えを良くすることができる。
また、上記の実施形態では、サイドユニット2800Gに指掛部2816や指掛部2817を設けるものを示したが、これに限定するものではなく、図84及び図85に示すように、遊技パネル1100のパネル板1110の前面に取付けられる始動口ユニット2100やアタッカユニット2400に、外縁の一部がアウト口1008に重なる指掛部2816や指掛部2817を設けるようにしても良い。
詳述すると、始動口ユニット2100は、遊技パネル1100のパネル板1110の前面に当接する平板状の台板2103を有しており、台板2103におけるアウト口1008と重なる部位に指掛部2816や指掛部2817が設けられている。なお、図示は省略するが、始動口ユニット2100は、台板2103から後方へ突出しパネル板1110の位置決孔1113に挿入される複数の位置決突起を有している。
また、アタッカユニット2400は、遊技パネル1100のパネル板1110の前面に当接する平板状の台板2431を有しており、台板2431におけるアウト口1008と重なる部位に指掛部2816や指掛部2817が設けられている。なお、図示は省略するが、アタッカユニット2400は、台板2431から後方へ突出しパネル板1110の位置決孔1113に挿入される複数の位置決突起を有している。
これら始動口ユニット2100及びアタッカユニット2400によっても、上記のサイドユニット2800Gと同様の作用効果を奏することができる。
更に、上記の実施形態では、遊技パネル1100のパネル板1110において、サイドユニット2800Gにより塞がれる開口部1112と、アウト口1008とが繋がっておらず、別々に設けられているものを示したが、これに限定するものではなく、図86に示すように、開口部1112とアウト口1008とが連続するように繋がっているものとしても良い。つまり、サイドユニット2800Gにより塞がれる普通開口領域1102と、アウト口1008を構成している特定開口領域1103とが、繋がっている開口領域1101を有するパネル板1110としても良い。換言すると、アウト口1008は、サイドユニット2800Gが嵌合される普通開口領域1102から連続するように遊技パネル1100のパネル板1110に形成されつつも、サイドユニット2800Gが嵌合されない特定開口領域1103により構成されているようにしても良い。
図86の実施形態によっても、サイドユニット2800Gにおいて、アウト口1008(特定開口領域1103)に台板2811aの一部が重なるように指掛部2816を設けており、上記と同様の作用効果を奏することができる他に、特定開口領域1103を、普通開口領域1102から連続するように遊技パネル1100のパネル板1110に形成しているため、パネル板1110に対してエンドミルのような切削工具を使用して普通開口領域1102及び特定開口領域1103を形成する場合、普通開口領域1102と特定開口領域1103とを連続して切削加工することができ、パネル板1110にかかるコストを低減させることができる。
また、上記の実施形態では、遊技パネル1100におけるパネル板1110の前面に当接する台板2811a(台板2103、台板2431)に、アウト口1008と重なる指掛部2816(指掛部2817)を設けるものを示したが、これに限定するものではなく、パネル板1110の板面から前後方向へ離れている部位(例えば、パネル板1110から前方へ離れている前板2812d)に、指掛部2816(指掛部2817)を設けても良い。
更に、上記の実施形態では、遊技パネル1100として透明樹脂製のパネル板1110を備えているものを示したが、これに限定するものではなく、木製の遊技パネル1100としても良い。これにより、遊技パネル1100を木製とすることで、樹脂製のものと比較して板厚が厚くなるため、遊技パネル1100の板厚内をより有効利用し易くすることができる。
また、上記のサイドユニット2800Gでは、夫々の球受部2812cと連通している複数の支流部2801と、複数の支流部2801が合流する本流部2802と、から構成されている球通路2812aを、有しているものを示したが、これに限定するものではなく、各球受部2811bごとに球通路2812aが独立しているものとしても良い。
更に、上記のサイドユニット2800Gでは、球受部2811bに受入れられた遊技球Bを検知する球センサを設けていないものを示したが、これに限定するものではなく、球センサを備えるようにしても良い。サイドユニット2800Gに球センサを備える場合は、球センサをパネル板1110の板厚内に設けたり、球センサを後方の演出装置(裏下演出ユニット3500)よりも下方に設けたり、することが望ましい。
また、上記のサイドユニット2800Gでは、後側にLED基板を設けていないものを示したが、これに限定するものではなく、発光装飾させるためのLEDを備えるようにしても良い。サイドユニット2800GにLED基板を備える場合、LED基板を後方から覆うと共に前端面がサイドユニット2800G(第二構成部材2812)の後面に当接するユニットカバーを設けると共に、ユニットカバーとサイドユニットとが互いに接触する接触面部に、互いに接触していない非接触面部を設けることが望ましい。これにより、LED基板のLEDによりサイドユニット2800Gを発光装飾させることができると共に、非接触面部を通してLEDからの熱を外部へ放熱させることができる。
また、上記の実施形態では、遊技パネル1100のパネル板1110の板厚内を有効利用するものとして、サイドユニット2800(サイドユニット2800A、サイドユニット2800B、サイドユニット2800C、サイドユニット2800D、サイドユニット2800E、サイドユニット2800F、サイドユニット2800G)を示したが、これに限定するものではなく、始動口ユニット2100、アタッカユニット2400(アタッカユニット2730)、普通入賞口ユニット2600、第二始動口ユニット2720、役物入賞口ユニット2740、等において、パネル板1110の板厚内を有効利用するようにしても良い。
[12-4.サイドユニットにおけるLED基板と非接触面部との関係について]
続いて、LED基板2825が設けられているサイドユニット2800B乃至サイドユニット2800FにおけるLED基板2825と非接触面部2831との関係について、主に図87等を参照して説明する。図87(a)は非接触面部をLED基板よりも後方に設けている例を示す説明図であり、(b)は(a)とは異なる形態で非接触面部をLED基板よりも後方に設けている例を示す説明図であり、(c)は非接触面部をLED基板にかかるように設けている例を示す説明図であり、(d)は非接触面部をユニットカバーの全周に亘って設けている例を示す説明図である。図87(a)及び(c)では、図79のサイドユニット2800Bを例に示しており、図87(c)及び(d)では、図81のサイドユニット2800Dを例に示している。ここでは、上記と同じ構成については、同じ符号を付して説明する。
図79乃至図83に示すLED基板2825は、実装されているLED2825aを駆動させる電流を制限するための抵抗器が、別の基板に実装されている。従って、当該LED基板2825では、LED2825aの発熱量が最も大きい。つまり、LED基板2825において、LED2825aが実装されている前面側から多くの熱が放出される。そして、図79乃至図83に示す実施形態では、LED基板2825における発熱量の大きい前面に近側に、非接触面部2831(切欠部2820c)が設けられている。これにより、LED基板2825からの熱を、非接触面部2831(切欠部2820c)を通して速やかに外部へ放熱することができ、ユニットカバー2820内に熱が籠ることはない。
上記の実施形態では、LED基板2825に対して、抵抗器(電流制限抵抗器)を別の基板に実装しているものを示したが、これに限定するものではなく、当該抵抗器をLED基板2825に実装するようにしても良い。例えば、LED基板2825におけるLED2825aが実装されている面と同じ面に抵抗器を実装するようにしても良い。この場合は、図79乃至図83に示す実施形態と同様に、LED基板2825におけるLED2825a及び抵抗器が実装されている面(ここでは前面)に近い側に、非接触面部2831(切欠部2820c)を設けるようにすれば良い。
なお、LED基板2825において、LED2825aと抵抗器とを同じ面に実装する場合は、LED2825aと抵抗器とが上下方向に対して重ならないようにすることが望ましい。これにより、LED2825a及び抵抗器から夫々放出される熱に対して、互いに影響を及ぼしてしまうことを回避させることができる。
一方、図87に示すように、LED基板2825において、LED2825aと、LED2825aに供給する電流を制限するための抵抗器2825bと、互いに異なる面に実装するようにしても良い。換言すると、LED基板2825において、LED2825aが実装されている面とは、反対側の面に抵抗器2825bを実装させる。この場合、熱量的には、LED2825aよりも抵抗器2825bの方が大きいため、図87に示すように、LED基板2825における抵抗器2825bが実装されている面(ここでは後面)に近い側に、非接触面部2831(切欠部2820c)を設けるようにすれば良い。
詳述すると、図87(a)に示す実施形態では、LED2825aの後面に実装されている抵抗器2825bに近い側に、非接触面部2831(切欠部2820c)が位置するように、ユニットカバー2820のボス部2820dを前方へ長く突出させ、LED基板2825がユニット本体2810の支持枠部2814の枠内に位置するようにしている。これにより、LED基板2825からの熱を、非接触面部2831(切欠部2820c)を通して速やかに外部へ放熱することができ、ユニットカバー2820内に熱が籠ることはない。
この図87(a)に示す実施形態では、平面視において、LED基板2825が切欠部2820c(非接触面部2831)と重ならせないように設けられているため、切欠部2820cを通してユニットカバー2820内に塵や埃が侵入しても、LED基板2825にかかり難くすることができ、塵や埃の影響を極力防ぐことができる。また、ユニットカバー2820の下辺側にも切欠部2820cを設けているため、上側の切欠部2820cから侵入した塵や埃を下側の切欠部2820cから下方へ排出させることができる。
なお、図87(a)に示す実施形態では、非接触面部2831(切欠部2820c)をユニットカバー2820側に設けているものを示したが、これに限定するものではなく、ユニット本体2810(支持枠部2814)側に設けても良いし、ユニット本体2810及びユニットカバー2820の両方に設けても良い。
また、図87(b)に示す実施形態では、ユニット本体2810の後面における支持枠部2814の枠内の部位から後方へ突出しLED基板2825が取付けられる複数のボス部2814aと、枠状の支持枠部2814の後端面から前方へ向かって切欠かれている切欠部2814bと、を有している。この実施形態では、ユニットカバー2820は平板状のカバー部2820aのみを有しているものであるが、上記と同様に、周壁部2820bを有していても良い。
この図87(b)に示す実施形態では、LED基板2825の前面にLED2825aが実装されていると共に、後面に抵抗器2825bが実装されており、ボス部2814aにLED基板2825を取付けている状態では、LED基板2825の後面よりも後方に切欠部2814bが位置している。換言すると、LED基板2825における抵抗器2825bが実装されている面(ここでは後面)に近い側に、非接触面部2831(切欠部2814b)が設けられている。これにより、LED基板2825からの熱を、非接触面部2831(切欠部2814b)を通して速やかに外部へ放熱することができ、ユニットカバー2820内に熱が籠ることはない。
この図87(b)に示す実施形態では、平面視において、LED基板2825が切欠部2814b(非接触面部2831)と重ならせないように設けられているため、切欠部2814bを通してユニットカバー2820内に塵や埃が侵入しても、LED基板2825にかかり難くすることができ、塵や埃の影響を極力防ぐことができる。また、ユニットカバー2820の下辺側にも切欠部2814bを設けているため、上側の切欠部2814bから侵入した塵や埃を下側の切欠部2814bから下方へ排出させることができる。
なお、図87(b)に示す実施形態では、非接触面部2831(切欠部2814b)をユニット本体2810(支持枠部2814)側に設けているものを示したが、これに限定するものではなく、ユニットカバー2820側に設けても良いし、ユニット本体2810及びユニットカバー2820の両方に設けても良い。
また、上記の実施形態では、平面視において、LED基板2825が非接触面部2831(切欠部2814b、切欠部2820c)と重ならないようにしているものを示したが、これに限定するものではなく、図87(c)に示すように、LED基板2825が非接触面部2831(切欠部2820c)と重なるようにしても良い。詳述すると、図87(c)に示す実施形態では、ユニット本体2810Aの支持枠部2814と、支持枠部2814に取付けられているユニットカバー2820とが、遊技パネル1100におけるパネル板1110の開口部1112内で、パネル板1110の板厚内に位置するように設けられている。つまり、ユニット本体2810Aとユニットカバー2820とで形成され、LED基板2825が収容される空間を、パネル板1110の板厚内に設けるようにしている。これにより、LED基板2825と非接触面部2831(切欠部2820c)と重なるように設けても、切欠部2820cがパネル板1110の開口部1112内でその板厚内に位置しているため、パネル板1110の外側の塵や埃等の異物が、開口部1112内に侵入した上で、更に、切欠部2820cを通してユニットカバー2820内へ侵入する可能性を可及的に低減させることができ、塵や埃等の異物をLED基板2825にかかり難くすることができ、塵や埃の影響を極力防ぐことができる。
そして、図87(c)に実施形態では、LED基板2825にかかるように非接触面部2831(切欠部2820c)を設けているため、LED基板2825の前面に実装されているLED2825aからの熱と、後面に実装されている抵抗器2825bからの熱、の両方を効率良く非接触面部2831を通して外部へ放熱させることができ、ユニットカバー2820内に熱が籠ることはない。
なお、図87(c)では、LED2825aと抵抗器2825bとが、LED基板2825に対して異なる面に実装されているものを示したが、これに限定するものではなく、LED2825aと抵抗器2825bとをLED基板2825の同じ面に設けるようにしても良い。
また、図87(c)では、非接触面部2831として切欠部2820cをユニットカバー2820に設けたものを示したが、これに限定するものではなく、非接触面部2831を、ユニット本体2810A(支持枠部2814)側に設けても良いし、ユニット本体2810A及びユニットカバー2820の両方に設けても良い。
なお、図87(c)の実施形態において、LED基板2825の一部を、ユニット本体2810Aの支持枠部2814と、ユニットカバー2820との間の非接触面部2831(切欠部2820c)内に進入させても良く、非接触面部2831の開口を塞がない範囲で外側へ飛び出していても良い。LED基板2825を非接触面部2831内に進入、或いは、非接触面部2831を通して外側へ飛び出させることで、LED基板2825が外気に触れ放熱効果をより高めることができる。
更に、上記の実施形態では、ユニット本体2810A(支持枠部2814)とユニットカバー2820との間の接触面部2830の一部に非接触面部2831(切欠部2820c)を設けるものを示したが、これに限定するものではなく、図87(d)に示すように、非接触面部2831をユニットカバー2820の全周に亘って設けるようにしても良い。つまり、ユニット本体2810Aにおける支持枠部2814の後端面と、ユニットカバー2820における周壁部2820bの前端面との間に、全周に亘って隙間が設けられている。この実施形態では、ユニットカバー2820が、ユニット本体2810Aの後面から後方へ突出しているボス部2814aに取付けられている。
この図87(d)に示す実施形態では、LED基板2825の一部を、ユニット本体2810Aの支持枠部2814と、ユニットカバー2820の周壁部2820bとの間の非接触面部2831(隙間)内に進入させたり外側へ飛び出させたりしている。この場合でも、LED基板2825が非接触面部2831の開口を塞がない範囲としている。この実施形態によれば、LED基板2825をより外気に触れ易くすることができ、放熱効果をより高めることができる。また、埃や塵等の異物の侵入を防止することからすれば、非接触面部2831の開口を利用するにあたり有用性が高まる。
上記のLED基板2825は、図示は省略するが、少なくともLED2825aが実装される基板面に、電子部品の実装時にハンダが不必要な部分へ付着するのを防止すると共に、回路パターンの酸化や絶縁保護のために施されているソルダーレジストとして、明色(例えば、白色)のソルダーレジストが使用されている。これにより、明色のソルダーレジストによりLED2825a等からの光を反射させることで、発光効率を高めることができる。或いは、LED2825aとしてフルカラーLEDを使用する場合、白色のソルダーレジストにより、様々な色の発光色に対して見る側の色感に同調することができ、違和感のない発光装飾を見せることができる。
このLED基板2825では、実装する電子部品等の部品番号や実装位置、LED基板2825の名称や取付位置や取付方向、等の情報(文字や記号)が、読み取りたい時に読み取れるように同系色(例えば、黄色)で、印刷(例えば、シルク印刷)により施されている。
ところで、LED基板に実装される抵抗器やLEDドライバのような電子部品は、そのパッケージが黒色の樹脂でモールドされていることが多いため、当該LED基板が遊技者に近い位置に設けられる場合、LEDの消灯時も含めて電子部品が目立つ存在となり、遊技機の見栄えに影響を与えてしまう恐れがある。これに対して、図87に示す実施形態では、抵抗器2825bをLED基板2825の後面に実装しているため、遊技者から抵抗器2825bを隠すことができ、遊技機の見栄えを良くすることができる。
また、図79乃至図83に示す実施形態において、LED基板2825の前面に抵抗器2825bを実装する場合は、遊技者から抵抗器2825bが目立たないようにすることが望ましい。本実施形態では、LED基板2825の前方に、所定の装飾が施された透光性を有する装飾シール2803を設けているため、装飾シール2803によって抵抗器2825bを目立ち難くすることができる。
或いは、LED基板2825の前面に抵抗器2825bを実装する場合、LED基板2825の前方に、光を拡散させる板状又はシート状の拡散レンズを設けることで、抵抗器2825bを目立たないようにしても良い。また、LED基板2825の前方に、部分的に透光性を有しないデザインされた板状又はシート状の装飾体を設け、その装飾体のデザインによって抵抗器2825bが隠れて気にならないようにしても良い。また、LED基板2825の前面に実装されている抵抗器2825bを、明色の塗料やインクで着色するようにしても良い。これら、上記の装飾シール2803、拡散レンズ、装飾体、等は、適宜組み合わせて使用しても良い。
なお、遊技パネル1100としては、透光性を有しない木製のものと、透光性を有する樹脂製のものとがあり、木製の場合は開口部1112が暗いトンネル状であるため、ある程度の外光が遮断されることとなるが、透光性を有する透明な樹脂製の場合、開口部1112が同じトンネル状であってもその外側を見通せてしまうため、上記のような見栄えを良くするための構成を併用すると、遊技パネル1100(パネル板1110)の板厚内を利用するにあたり、上述したような効果を発揮することができる。
[13.本発明と実施形態との関係]
本実施形態の遊技盤5における遊技パネル1100のパネル板1110は本発明の遊技パネルに、本実施形態におけるパネル板1110の開口部1112は本発明の開口に、本実施形態における位置決孔1113は本発明の位置決孔に、本実施形態における一般入賞口2001、第一構成部材2811の球受部2811b、及び第二構成部材2812の球受部2812cは本発明の入球口に、本実施形態におけるサイドユニット2800、サイドユニット2800B、サイドユニット2800C、サイドユニット2800D、サイドユニット2800E、サイドユニット2800F、サイドユニット2800Gは本発明の入球ユニットに、夫々相当している。
また、本実施形態における第一構成部材2811及び第一構成部材2811Aは本発明の第一構成部材に、本実施形態における台板2811aは本発明の台板に、本実施形態における位置決突起2811cは本発明の位置決突起に、本実施形態における取付孔2811dは本発明の第一取付孔に、本実施形態における第二構成部材2812及び第二構成部材2812Aは本発明の第二構成部材に、本実施形態における球通路2812a及び球通路2812fは本発明の球通路に、本実施形態における前板2812dは本発明の前板に、本実施形態における第二構成部材2812の取付孔は本発明の第二取付孔に、夫々相当している。
[14.本実施形態の特徴的な作用効果]
ここでは、本実施形態におけるサイドユニット2800、サイドユニット2800B、サイドユニット2800C、サイドユニット2800D、サイドユニット2800E、サイドユニット2800F、及びサイドユニット2800Gの特徴として、サイドユニット2800を代表して記載する。本実施形態によれば、遊技パネル1100におけるパネル板1110の前面に取付けられるサイドユニット2800において、第一構成部材2811に平板状の台板2811aを設けているため、台板2811aを貫通している取付孔2811dを介して取付ビスを遊技パネル1100のパネル板1110にねじ込んで第一構成部材2811をパネル板1110の前面に取付けることで、台板2811aによりパネル板1110の開口部1112を前側から塞ぐことができ、前側(遊技者側)から開口部1112を通して遊技パネル1100の後方の部材を台板2811aにより隠すことが可能となり、パチンコ機1の見栄えを良くすることができる。一方、第二構成部材2812に、遊技パネル1100におけるパネル板1110の面に沿って遊技球Bを流下させる球通路2812aを設けていることから、当該球通路2812aの部位の断面がコ字状となっているため、球通路2812aの存在により第二構成部材2812の剛性を高めることができる。そして、台板2811aを平板状としていることから第一構成部材2811の剛性が低くなることがあるが、球通路2812aにより剛性が高められている第二構成部材2812を、その取付孔を介して取付ビスにより第一構成部材2811の後側から取付けてサイドユニット2800を形成しているため、サイドユニット2800の剛性を従来のサイドユニットよりも高めることができる。従って、リサイクル等によるパチンコ機1(遊技盤5)の分解作業において、取付孔2811dを介して遊技パネル1100のパネル板1110にねじ込まれている取付ビスを取外してサイドユニット2800を前方へ引っ張った時に、サイドユニット2800の剛性が高められていることでサイドユニット2800が撓むことはないため、パネル板1110の位置決孔1113に対してサイドユニット2800における第一構成部材2811の位置決突起2811cが傾くことはなく、パネル板1110からサイドユニット2800を簡単に取外すことができ、分別する際の分解作業を軽減することが可能なパチンコ機1を提供することができる。
ところで、サイドユニット2800では、第一構成部材2811における複数の位置決突起2811cを、第一構成部材2811の長手方向へ離隔するように設けているため、分解作業の際に第一構成部材2811を前方へ引っ張ると、第一構成部材2811の中央が前方へ移動するように湾曲状に撓むこととなり、その撓みにより長手方向へ離隔している位置決突起2811cの先端同士が互いに接近するように夫々の位置決突起2811cが傾こうとする力が作用し、遊技パネル1100におけるパネル板1110の位置決孔1113から位置決突起2811cが抜けなくなる恐れがある。しかしながら、本実施形態では、上述したように、第一構成部材2811の後側から第二構成部材2812を取付けてサイドユニット2800を形成しており、当該サイドユニット2800の剛性が高められているため、サイドユニット2800を前方へ引っ張っても、サイドユニット2800が撓んで長手方向へ離隔している位置決突起2811cが傾くことはなく、遊技パネル1100のパネル板1110からサイドユニット2800を簡単に取外すことができ、分別する際の分解作業を軽減することが可能なパチンコ機1を提供することができる。
更に、サイドユニット2800よれば、複数の球受部2811b(一般入賞口2001)を遊技パネル1100におけるパネル板1110の前面よりも前方へ突出させているため、パチンコ機1の分解作業において、パネル板1110から取外すためにサイドユニット2800を前方へ引っ張る際に、球受部2811bを摘まんで引っ張ることができ、サイドユニット2800の取外作業をし易くすることができる。
また、サイドユニット2800よれば、第二構成部材2812を、その取付孔を介して取付ビスにより第一構成部材2811の後側から取付けているため、前方から第二構成部材2812を取付けている取付ビスを見え難くすることができ、パチンコ機1の見栄えを良くすることができる。
また、サイドユニット2800よれば、第一構成部材2811と第二構成部材2812との間に球受部2811b(一般入賞口2001)に入球した遊技球Bを遊技パネル1100におけるパネル板1110の面に沿って流下させる球通路2812aを、パネル板1110の開口部1112内に突出するように設けているため、従来のサイドユニットのように一般入賞口2001に入球した遊技球Bを遊技パネル1100(パネル板1110)の後面よりも後方へ誘導し遊技パネル1100の後面よりも後方において球通路を設けて下方へ流下させる場合と比較して、パネル板1110の板厚を有効利用することができ、遊技パネル1100(パネル板1110)の後方の空スペースを確保し易くすることができる。従って、当該空スペースに装飾体やLED基板や可動役物(裏下演出ユニット3500)のような演出装置を設けることが可能となり、より遊技者に対する訴求力の高いパチンコ機1を提供することができる。
更に、サイドユニット2800によれば、第一構成部材2811における複数の位置決突起2811cを、第一構成部材2811の長手方向へ離隔するように設けているため、サイドユニット2800を遊技パネル1100のパネル板1110に取付けた時に、サイドユニット2800がパネル板1110の面に沿って回転することはなく、サイドユニット2800をパネル板1110の所望の位置に確実に位置決めすることができる。
また、サイドユニット2800によれば、第一構成部材2811における遊技パネル1100のパネル板1110に取付けるための取付孔2811dを、位置決突起2811cの近傍に設けるようにしているため、取付孔2811dを介して取付ビスを遊技パネル1100のパネル板1110にねじ込んで締め付けることで、位置決突起2811cをパネル板1110側へ強く押し付けてパネル板1110の位置決孔1113へ確実に挿入させることができ、位置決突起2811cの不完全挿入による浮き上がりを防止することができる。
[15.本実施形態に包含されている別の特徴について]
[15-1.第一技術的特徴]
本明細書には、上記とは異なる以下のような技術的特徴を有している。
[15-1a.第一技術的特徴の背景]
近年では、環境問題を背景とした資源の有効利用が更に重要性を増している。そのような観点から、遊技機では、より多く部品をリサイクル可能な材質で形成する開発が進められている。またその一方で、遊技機を設置している遊技ホール(遊技店)での機種の入れ替えサイクルが短くなっており、遊技機の廃棄・解体数は増加傾向にある。そのため、遊技機の分解及び分別に掛かる負担は大きくなっており、その作業を少しでも軽減させたい要望がある。
例えば、特許文献A(特開2017-018185号公報)に示すような従来の遊技機では、分解するために、入球口として複数の一般入賞口が設けられているサイドユニット(入球ユニット)を前方へ引っ張って遊技パネルから取外そうとすると、入球ユニットの位置決突起が遊技パネルの位置決孔に挿入されているため、位置決孔の内面との抵抗により位置決突起が抜け難く、分解作業に手間がかかる問題があった。
そこで、以下の手段では、上記の実情に鑑み、リサイクル等のために分別する際の分解作業を軽減することが可能な遊技機の提供を課題とするものである。
[15-1b.第一技術的特徴の解決手段]
手段1:遊技機において、
「遊技球が入球可能な入球口を複数有し、前面を遊技球が流下可能な遊技パネルの前面に取付けられる入球ユニットを備える遊技機において、
前記遊技パネルは、
前面側から後面側へ遊技球が流通可能な開口領域を有しており、
前記入球ユニットは、
前記遊技パネルに設けられた位置決孔に挿入される位置決突起、及び前記遊技パネルに取付けるための取付孔を有し、前記開口領域のうち前記入球口に入球した遊技球が流通可能な普通開口領域を前側から塞ぐように前記遊技パネルに取付けられると共に、前記開口領域のうち前記入球口に入球しなかった遊技球が流通可能な特定開口領域に前記入球ユニットの外縁の一部が重なるように前記遊技パネルに取付けられる」
ものであることを特徴とする。
ここで、「入球口」としては、「遊技球の入球により所定の特典を付与する入賞口(例えば、一般入賞口、普通入賞口、始動入賞口(始動口)、大入賞口、役物入賞口、V入賞口、等)」、「遊技球が入球しても特典を付与せずに、遊技者に戻すことなく遊技機外へ排出するアウト口」、等が挙げられる。
また、「遊技パネル」としては、「ベニヤ板のような木製の合板からなるもの」、「透明樹脂板を切削加工したパネル板と、パネル板の外周を保持しているパネルホルダと、からなるもの」、「透明樹脂を射出成形したもの」、等が挙げられる。
更に、「開口領域」としては、「遊技パネルを貫通しており、内周面が全周に亘って繋がっている孔状のもの」、「遊技パネルを貫通していると共に、一部が遊技パネルの側面へ開放されている切欠状のもの」、等が挙げられる。また、「開口領域」としては、入球口に入球した遊技球が流通可能な普通開口領域と、入球口に入球しなかった遊技球が流通可能な特定開口領域(アウト口)と、を有し、特定開口領域が普通開口領域と繋がっていても良いし、特定開口領域が普通開口領域と繋がらずに独立しているものとしても良い。
また、「入球ユニット」としては、「遊技パネルを貫通している普通開口領域を前方から塞ぐように遊技パネルの前面に取付けられる第一構成部材と、第一構成部材の後側から取付けられる第二構成部材と、で少なくとも構成されており、第一構成部材又は第二構成部材に入球口が設けられているもの」、「遊技パネルを貫通している普通開口領域を前方から塞ぐように遊技パネルの前面に取付けられる平板状の台板と、台板から前方へ突出していると共に上方及び後方へ開放されており入球口を形成している球受部と、で少なくとも構成されているもの」、「遊技パネルを貫通している普通開口領域を前方から塞ぐように遊技パネルの前面に取付けられる平板状の台板と、台板を貫通している入球口と、で少なくとも構成されているもの」、等が挙げられる。
更に、「球排出口に重なる入球ユニットの外縁の一部」としては、当該部位が正面視において球排出口と重なっているものであれば良く、当該部位を構成している外縁が遊技パネルの前面と接していても良いし、外縁が遊技パネルの面から離れていても良い。
手段1の構成によると、遊技球が入球可能な入球口を複数有し、前面を遊技球が流下可能な遊技パネルの前面に取付けられる入球ユニットを備える遊技機において、遊技パネルは、前面側から後面側へ遊技球が流通可能な開口領域を有しており、入球ユニットは、遊技パネルに設けられた位置決孔に挿入される位置決突起、及び遊技パネルに取付けるための取付孔を有し、開口領域のうち入球口に入球した遊技球が流通可能な普通開口領域を前側から塞ぐように遊技パネルに取付けられると共に、開口領域のうち入球口に入球しなかった遊技球が流通可能な特定開口領域に入球ユニットの外縁の一部が重なるように遊技パネルに取付けられるものである([発明を実施するための形態]では、[12-3.第三実施形態のサイドユニット等]の章、図84及び図86等の記載を参照)。
これにより、入球ユニットの位置決突起を前方から遊技パネルの位置決孔に挿入した上で、取付孔を介して取付ビスを遊技パネルにねじ込んで締め付けることにより、遊技パネルの前面に入球ユニットを取付けることができると共に、入球ユニットの入球口に入球した遊技球を遊技パネルの開口領域のうち普通開口領域を通して遊技パネルの後方へ誘導することができる。この際に、遊技パネルの普通開口領域を入球ユニットにより前方から塞ぐようにしているため、普通開口領域を通して遊技パネルの後方を見え難くして隠すことができ、遊技機の見栄えを良くすることができる。この入球ユニットを遊技パネルの前面に取付けている状態では、入球ユニットの外縁の一部が開口領域のうち特定開口領域と重なる(正面視において、特定開口領域の投影範囲に外縁の一部が重なる)ように取付けられているため、当該外縁の一部が特定開口領域の中心側へ突出している。そして、リサイクル等による遊技機の分解作業において、遊技パネルから入球ユニットを取外す際に、入球ユニットの外縁における特定開口領域と重なっている部位に、作業者の指や工具等を引っ掛けることが可能となるため、指等を引っ掛けることで入球ユニットを強い力で前方へ引っ張ることができる。従って、位置決孔と位置決突起との間の抵抗に抗して遊技パネルから入球ユニットを簡単に取外すことができ、分別する際の分解作業を軽減することが可能な遊技機を提供することができる。
なお、入球ユニットにおける遊技パネルに取付けるための取付孔を、位置決突起の近傍に設けることが望ましい。これにより、取付孔を介して取付ビスを遊技パネルにねじ込んで締め付けることで、位置決突起を遊技パネル側へ強く押し付けて遊技パネルの位置決孔へ確実に挿入させることができ、位置決突起の不完全挿入による浮き上がりを防止することができる。
また、入球ユニットにおける外縁の前面を、後方に向かうように傾斜させるようにしても良い。入球ユニットにおける外縁の前面を後方に向かうように傾斜させていることから、外縁の角が鈍角になっている。従って、遊技機の分解作業において入球ユニットを遊技パネルから取外すために、入球ユニットの外縁における特定開口領域と重なっている部位に作業者の指等を引っ掛ける際に、外縁の角に指等が当接しても、当該角が鈍角になっているため、当該角が直角になっている場合と比較して、指等を傷付け難くすることができ、指等により入球ユニットを安全に取外すことができる。
また、上記のように、外縁の前面を傾斜させるようにする場合、入球ユニットにおける外縁の角が鈍角になるため、当該角が直角になっている場合と比較して、遊技球が特定開口領域に進入するために外縁をなめるように遊技球が転動しても、外縁の角が欠けることはなく、入球ユニットの耐久性を向上させることができる。
また、上記のように、入球ユニットの外縁を後方へ傾斜させると、遊技球をスムーズに特定開口領域へ誘導することができ、特定開口領域での遊技球の滞りを回避させることができる。
更に、入球ユニットの外縁を透明にすることが望ましい。これにより、入球ユニットの外縁を透明にしているため、外縁の一部を特定開口領域と重なるようにしても、特定開口領域の大きさが小さく見えることを回避させることができる。
また、位置決突起を、特定開口領域に接近している部位と、特定開口領域から遠い部位と、に設けるようにすることが望ましい。これにより、二つの位置決突起を互いに離隔するように設けているため、入球ユニットを遊技パネルに取付けた時に、入球ユニットが遊技パネルの面に沿って回転することはなく、入球ユニットを遊技パネルの所望の位置に確実に位置決めすることができる。
ところで、入球ユニットに二つの位置決突起を設けて夫々を遊技パネルの位置決孔に挿入させるようにする場合、分解作業において入球ユニットを遊技パネルから取外す際に、二つの位置決突起を同時に位置決孔から引き抜こうとすると、強い力で入球ユニットを前方へ引っ張る必要があり、作業者の負担が増加する恐れがある。これに対して、上記のように、位置決突起を特定開口領域に接近している部位と遠い部位とに設ける場合、一つの位置決突起を特定開口領域の近くに設けているため、リサイクル等による遊技機の分解作業において、遊技パネルから入球ユニットを取外す際に、入球ユニットの外縁における特定開口領域と重なっている部位に、作業者の指等を引っ掛けて前方へ引っ張ることで、特定開口領域に近い位置決突起に対して強い引抜力を作用させることが可能となる。これにより、分解作業において、二つの位置決突起のうち、まず初めに特定開口領域に近い位置決突起を位置決孔から抜くことができ、その後に、特定開口領域から遠い残りの位置決突起を位置決孔から抜けば良いため、同時に二つの位置決突起を引き抜く場合と比較して、弱い力で引き抜くことが可能となり、作業種の負担を軽減させることができる。
また、外縁における特定開口領域と重なる部位を、特定開口領域を貫通して遊技パネルの後面よりも後方へ突出させるようにしても良い。ところで、遊技機の分解作業において、入球ユニットを遊技パネルから取外すために、外縁における特定開口領域と重なっている部位に作業者の指等を引っ掛けて前方へ引っ張った時に、当該部位の強度が弱いと、外縁が割れて入球ユニットが遊技パネル側に残ってしまう恐れがある。これに対して、上記のように、入球ユニットの外縁における特定開口領域と重なっている部位の奥行を長くしていることから、遊技パネルの前面において外縁(延設部)の一部を重ねる方法に比べ、特定開口領域(球排出口)のサイズが小さくなる(遊技球を排出するための通路容積が小さくなる)、或いは、予め特定開口領域(球排出口)のサイズを広げておく(遊技球を排出するための通路容積を大きくしておく)ことになるが、当該部位の強度を高めることができるため、当該部位に作業者の指等を引っ掛けて前方へ引っ張っても割れる(破損する)ことはなく、入球ユニットを遊技パネルから確実に取外すことができる。
また、上記のように、外縁における特定開口領域と重なる部位を、特定開口領域を貫通させて遊技パネルの後面よりも後方へ突出させると、当該部位により特定開口領域の内面を覆って遊技者から見え難くすることができ、遊技機の見栄えを良くすることができる。
更に、入球ユニットに、位置決突起が突出していると共に取付孔が貫通しており、遊技パネルの前面に当接可能な平板状で外縁を形成する台板を有するようにしても良い。これにより、入球ユニットに平板状の台板を設けているため、取付孔を介して入球ユニットを遊技パネルの前面に取付けることで、台板により遊技パネルの普通開口領域を前側から塞ぐことができ、前側(遊技者側)から普通開口領域を通して遊技パネルの後方を台板により隠すことが可能となり、遊技機の見栄えを良くすることができる。
手段2:遊技機において、
「遊技球が流下可能な遊技パネルを備えた遊技機において、
遊技球が入球可能な入球口を有する入球ユニットと、
前記入球口に入球しなかった遊技球が入球可能な球排出口と、を備え、
前記入球ユニットは、前記遊技パネルに設けられた位置決孔に挿入される位置決突起、及び前記遊技パネルに取付けるための取付孔を有し、前記遊技パネルに形成された普通開口領域に嵌合されるように前記遊技パネルに取付けられ、
前記球排出口は、前記入球ユニットが嵌合される前記普通開口領域とは別で前記遊技パネルに形成された特定開口領域により構成され、
前記入球ユニットの外縁には延設部が形成され、
該延設部は、前記遊技パネルの前記位置決孔に前記入球ユニットの前記位置決突起が挿入された状態にて、少なくとも一部が前記特定開口領域の縁部に重なるように形成されてなる」
ものであることを特徴とする。
ここで、「普通開口領域」及び「特定開口領域」としては、「遊技パネルを貫通しており、内周面が全周に亘って繋がっている孔状のもの」、「遊技パネルを貫通していると共に、一部が遊技パネルの側面へ開放されている切欠状のもの」、等が挙げられる。
手段2の構成によると、遊技球が流下可能な遊技パネルを備えた遊技機において、遊技球が入球可能な入球口を有する入球ユニットと、入球口に入球しなかった遊技球が入球可能な球排出口と、を備え、入球ユニットは、遊技パネルに設けられた位置決孔に挿入される位置決突起、及び遊技パネルに取付けるための取付孔を有し、遊技パネルに形成された普通開口領域に嵌合されるように遊技パネルに取付けられ、球排出口は、入球ユニットが嵌合される普通開口領域とは別で遊技パネルに形成された特定開口領域により構成され、入球ユニットの外縁には延設部が形成され、延設部は、遊技パネルの位置決孔に入球ユニットの位置決突起が挿入された状態にて、少なくとも一部が特定開口領域の縁部に重なるように形成されてなるものである([発明を実施するための形態]では、図84及び図85に示す実施形態の記載を参照)。
これにより、入球ユニットの位置決突起を前方から遊技パネルの位置決孔に挿入した上で、取付孔を介して取付ビスを遊技パネルにねじ込んで締め付けることにより、遊技パネルの前面に入球ユニットを取付けることができると共に、入球ユニットの入球口に入球した遊技球を遊技パネルの普通開口領域を通して遊技パネルの後方へ誘導することができる。この際に、入球ユニットが遊技パネルの普通開口領域に嵌合されるように遊技パネルに取付けているため、普通開口領域を通して遊技パネルの後方を見え難くして隠すことができ、遊技機の見栄えを良くすることができる。この入球ユニットを遊技パネルの前面に取付けている状態では、入球ユニットの外縁の延設部が、その一部が特定開口領域の縁部と重なる(正面視において、特定開口領域の投影範囲に外縁の一部が重なる)ように形成されているため、当該延設部の一部が特定開口領域の中心側へ突出している。そして、リサイクル等による遊技機の分解作業において、遊技パネルから入球ユニットを取外す際に、入球ユニットの外縁における特定開口領域の縁部と重なっている部位(延設部)に、作業者の指や工具等を引っ掛けることが可能となるため、指等を引っ掛けることで入球ユニットを強い力で前方へ引っ張ることができる。従って、位置決孔と位置決突起との間の抵抗に抗して遊技パネルから入球ユニットを簡単に取外すことができ、分別する際の分解作業を軽減することが可能な遊技機を提供することができる。
また、球排出口(特定開口領域)を、普通開口領域とは別で遊技パネルに形成しているため、普通開口領域と特定開口領域とが繋がっている場合と比較して、遊技パネルの強度の低下を抑制させることができる。
手段3:遊技機において、
「遊技球が流下可能な遊技パネルを備えた遊技機において、
遊技球が入球可能な入球口を有する入球ユニットと、
前記入球口に入球しなかった遊技球が入球可能な球排出口と、を備え、
前記入球ユニットは、前記遊技パネルに設けられた位置決孔に挿入される位置決突起、及び前記遊技パネルに取り付けるための取付孔を有し、前記遊技パネルに形成された普通開口領域に挿入されるように前記遊技パネルに取付けられ、
前記球排出口は、前記入球ユニットが嵌合される前記普通開口領域から連続するように前記遊技パネルに形成されつつも、前記入球ユニットが嵌合されない特定開口領域により構成され、
前記入球ユニットの外縁には延設部が形成され、
該延設部は、前記遊技パネルの前記位置決孔に前記入球ユニットの前記位置決突起が挿入された状態にて、少なくとも一部が前記特定開口領域の縁部に重なるように形成されてなる」
ものであることを特徴とする。
手段3の構成によると、遊技球が流下可能な遊技パネルを備えた遊技機において、遊技球が入球可能な入球口を有する入球ユニットと、入球口に入球しなかった遊技球が入球可能な球排出口と、を備え、入球ユニットは、遊技パネルに設けられた位置決孔に挿入される位置決突起、及び遊技パネルに取り付けるための取付孔を有し、遊技パネルに形成された普通開口領域に挿入されるように前記遊技パネルに取付けられ、球排出口は、入球ユニットが嵌合される普通開口領域から連続するように遊技パネルに形成されつつも、入球ユニットが嵌合されない特定開口領域により構成され、入球ユニットの外縁には延設部が形成され、延設部は、遊技パネルの位置決孔に入球ユニットの位置決突起が挿入された状態にて、少なくとも一部が特定開口領域の縁部に重なるように形成されてなるものである([発明を実施するための形態]では、図86に示す実施形態の記載を参照)。
これにより、入球ユニットの位置決突起を前方から遊技パネルの位置決孔に挿入した上で、取付孔を介して取付ビスを遊技パネルにねじ込んで締め付けることにより、遊技パネルの前面に入球ユニットを取付けることができると共に、入球ユニットの入球口に入球した遊技球を遊技パネルの普通開口領域を通して遊技パネルの後方へ誘導することができる。この際に、入球ユニットが遊技パネルの普通開口領域に嵌合されるように遊技パネルに取付けているため、普通開口領域を通して遊技パネルの後方を見え難くして隠すことができ、遊技機の見栄えを良くすることができる。この入球ユニットを遊技パネルの前面に取付けている状態では、入球ユニットの外縁の延設部が、その一部が特定開口領域の縁部と重なる(正面視において、特定開口領域の投影範囲に外縁の一部が重なる)ように形成されているため、当該延設部の一部が特定開口領域の中心側へ突出している。そして、リサイクル等による遊技機の分解作業において、遊技パネルから入球ユニットを取外す際に、入球ユニットの外縁における特定開口領域の縁部と重なっている部位(延設部)に、作業者の指や工具等を引っ掛けることが可能となるため、指等を引っ掛けることで入球ユニットを強い力で前方へ引っ張ることができる。従って、位置決孔と位置決突起との間の抵抗に抗して遊技パネルから入球ユニットを簡単に取外すことができ、分別する際の分解作業を軽減することが可能な遊技機を提供することができる。
また、球排出口(特定開口領域)を、普通開口領域から連続するように遊技パネルに形成しているため、遊技パネルに対してエンドミルのような切削工具を使用して普通開口領域及び特定開口領域を形成する場合、普通開口領域と特定開口領域とを連続して切削加工することができ、遊技パネルにかかるコストを低減させることができる。
手段4:手段1から手段3までの何れか一つの構成において、
「前記入球ユニットは、前記外縁の前面が後方に向かうように傾斜している」
ものであることを特徴とする。
手段4の構成によると、入球ユニットは、外縁の前面が後方に向かうように傾斜しているものである([発明を実施するための形態]では、第一構成部材2811の台板2811a、指掛部2816及び指掛部2817、に関する記載を参照)。
これにより、入球ユニットにおける外縁の前面を後方に向かうように傾斜させていることから、外縁の角が鈍角になっている。従って、遊技機の分解作業において入球ユニットを遊技パネルから取外すために、入球ユニットの外縁(延設部)における特定開口領域と重なっている部位に作業者の指等を引っ掛ける際に、外縁の角に指等が当接しても、当該角が鈍角になっているため、当該角が直角になっている場合と比較して、指等を傷付け難くすることができ、指等により入球ユニットを安全に取外すことができる。
また、上述したように、入球ユニットにおける外縁の角を鈍角にしているため、当該角が直角になっている場合と比較して、遊技球が特定開口領域に進入するために外縁をなめるように遊技球が転動しても、外縁の角が欠けることはなく、入球ユニットの耐久性を向上させることができる。
また、入球ユニットの外縁を後方へ傾斜させているため、遊技球をスムーズに特定開口領域へ誘導することができ、特定開口領域での遊技球の滞りを回避させることができる。
手段5:手段1から手段4までの何れか一つの構成において、
「前記入球ユニットは、前記外縁が透明である」
ことを特徴とする。
手段5の構成によると、入球ユニットは、外縁が透明である
ことを特徴とする([発明を実施するための形態]では、第一構成部材2811の台板2811aに関する記載を参照)。
これにより、入球ユニットの外縁を透明にしているため、外縁の一部を特定開口領域と重なるようにしても、特定開口領域の大きさが小さく見えることを回避させることができる。
手段6:手段1から手段5までの何れか一つの構成において、
「前記位置決突起は、前記特定開口領域に接近している部位と、該特定開口領域から遠い部位と、に設けられている」
ものであることを特徴とする。
手段6の構成によると、位置決突起は、特定開口領域に接近している部位と、特定開口領域から遠い部位と、に設けられているものである([発明を実施するための形態]では、第一構成部材2811の位置決突起2811cに関する記載を参照)。
これにより、二つの位置決突起を互いに離隔するように設けているため、入球ユニットを遊技パネルに取付けた時に、入球ユニットが遊技パネルの面に沿って回転することはなく、入球ユニットを遊技パネルの所望の位置に確実に位置決めすることができる。
ところで、入球ユニットに二つの位置決突起を設けて夫々を遊技パネルの位置決孔に挿入させるようにする場合、分解作業において入球ユニットを遊技パネルから取外す際に、二つの位置決突起を同時に位置決孔から引き抜こうとすると、強い力で入球ユニットを前方へ引っ張る必要があり、作業者の負担が増加する恐れがある。これに対して、本構成では、一つの位置決突起を特定開口領域の近くに設けているため、リサイクル等による遊技機の分解作業において、遊技パネルから入球ユニットを取外す際に、入球ユニットの外縁(延設部)における特定開口領域と重なっている部位に、作業者の指等を引っ掛けて前方へ引っ張ることで、特定開口領域に近い位置決突起に対して強い引抜力を作用させることが可能となる。これにより、分解作業において、二つの位置決突起のうち、まず初めに特定開口領域に近い位置決突起を位置決孔から抜くことができ、その後に、特定開口領域から遠い残りの位置決突起を位置決孔から抜けば良いため、同時に二つの位置決突起を引き抜く場合と比較して、弱い力で引き抜くことが可能となり、作業種の負担を軽減させることができる。
手段7:手段1から手段6までの何れか一つの構成において、
「前記外縁における前記特定開口領域と重なる部位が、前記特定開口領域を貫通して前記遊技パネルの後面よりも後方へ突出している」
ものであることを特徴とする。
手段7の構成によると、外縁における特定開口領域と重なる部位が、特定開口領域を貫通して遊技パネルの後面よりも後方へ突出しているものである([発明を実施するための形態]では、指掛部2817に関する記載を参照)。
ところで、遊技機の分解作業において、入球ユニットを遊技パネルから取外すために、外縁(延設部)における特定開口領域と重なっている部位に作業者の指等を引っ掛けて前方へ引っ張った時に、当該部位の強度が弱いと、外縁が割れて入球ユニットが遊技パネル側に残ってしまう恐れがある。これに対して、本構成では、入球ユニットの外縁における特定開口領域と重なっている部位の奥行を長くしていることから、遊技パネルの前面において外縁(延設部)の一部を重ねる方法に比べ、特定開口領域(球排出口)のサイズが小さくなる(遊技球を排出するための通路容積が小さくなる)、或いは、予め特定開口領域(球排出口)のサイズを広げておく(遊技球を排出するための通路容積を大きくしておく)ことになるが、当該部位の強度を高めることができるため、当該部位に作業者の指等を引っ掛けて前方へ引っ張っても割れる(破損する)ことはなく、入球ユニットを遊技パネルから確実に取外すことができる。
また、外縁における特定開口領域と重なる部位を、特定開口領域を貫通させて遊技パネルの後面よりも後方へ突出させているため、当該部位により特定開口領域の内面を覆って遊技者から見え難くすることができ、遊技機の見栄えを良くすることができる。
手段8:手段1から手段7までの何れか一つの構成において、
「前記入球ユニットは、前記位置決突起が突出していると共に前記取付孔が貫通しており、前記遊技パネルの前面に当接可能な平板状で前記外縁を形成する台板を有している」ものであることを特徴とする。
手段8の構成によると、入球ユニットは、位置決突起が突出していると共に取付孔が貫通しており、遊技パネルの前面に当接可能な平板状で外縁を形成する台板を有しているものである([発明を実施するための形態]では、第一構成部材2811の台板2811aに関する記載を参照)。
これにより、入球ユニットに平板状の台板を設けているため、取付孔を介して入球ユニットを遊技パネルの前面に取付けることで、台板により遊技パネルの普通開口領域を前側から塞ぐことができ、前側(遊技者側)から普通開口領域を通して遊技パネルの後方を台板により隠すことが可能となり、遊技機の見栄えを良くすることができる。
手段9:手段1及び手段4から手段8までの何れか一つの構成において、
「前記特定開口領域は、前記普通開口領域とは繋がらずに独立して前記遊技パネルを貫通するように設けられている」
ものであることを特徴とする。
手段9の構成によると、特定開口領域は、普通開口領域とは繋がらずに独立して遊技パネルを貫通するように設けられているものである([発明を実施するための形態]では、図84及び図85に示す実施形態の記載を参照)。
これにより、上記と同様の作用効果を奏する他に、特定開口領域を普通開口領域とは繋がらずに独立して遊技パネルに設けているため、普通開口領域と特定開口領域とが繋がっている場合と比較して、遊技パネルの強度の低下を抑制させることができる。
手段10:手段1及び手段4から手段8までの何れか一つの構成において、
「前記特定開口領域は、前記普通開口領域と繋がるように設けられている」
ものであることを特徴とする。
手段10の構成によると、特定開口領域は、普通開口領域と繋がるように設けられているものである([発明を実施するための形態]では、図86に示す実施形態の記載を参照)。
これにより、上記と同様の作用効果を奏する他に、特定開口領域と普通開口領域と繋がるように設けているため、遊技パネルに対してエンドミルのような切削工具を使用して開口領域(普通開口領域及び特定開口領域)を形成する場合、普通開口領域と特定開口領域とを連続して切削加工することができ、遊技パネルにかかるコストを低減させることができる。
手段11:遊技機において、
「遊技球が入球可能な入球口を複数有し、前面を遊技球が流下可能な遊技パネルの前面に取付けられる入球ユニットを備える遊技機において、
前記遊技パネルは、
前面側から後面側へ遊技球が流通可能とされており、前記入球口に入球した遊技球が流通可能な普通開口領域、及び前記入球口に入球しなかった遊技球が流通可能な特定開口領域、からなり、該特定開口領域が前記普通開口領域とは繋がらずに独立して前記遊技パネルを貫通している、又は、前記特定開口領域が前記普通開口領域と繋がっている、開口領域を有しており、
前記入球ユニットは、
前記遊技パネルの前面に当接可能な平板状の台板、該台板から突出しており前記遊技パネルに設けられた位置決孔に挿入される位置決突起、及び前記台板を貫通しており前記遊技パネルに取付けるための取付孔を有し、前記開口領域のうち前記普通開口領域を前側から塞ぐように前記遊技パネルに取付けられると共に、前記開口領域のうち前記特定開口領域に前記台板の透明な外縁の一部が重なるように前記遊技パネルに取付けられ、
更に、前記台板の前記外縁の前面が後方に向かうように傾斜していると共に、前記位置決突起が、前記球排出口に接近している部位と該球排出口から遠い部位とに設けられている」
ものであることを特徴とする。
手段11の構成によると、遊技球が入球可能な入球口を複数有し、前面を遊技球が流下可能な遊技パネルの前面に取付けられる入球ユニットを備える遊技機において、遊技パネルは、前面側から後面側へ遊技球が流通可能とされており、入球口に入球した遊技球が流通可能な普通開口領域、及び入球口に入球しなかった遊技球が流通可能な特定開口領域、からなり、特定開口領域が普通開口領域とは繋がらずに独立して遊技パネルを貫通している、又は、特定開口領域が普通開口領域と繋がっている、開口領域を有しており、入球ユニットは、遊技パネルの前面に当接可能な平板状の台板、台板から突出しており遊技パネルに設けられた位置決孔に挿入される位置決突起、及び台板を貫通しており遊技パネルに取付けるための取付孔を有し、開口領域のうち普通開口領域を前側から塞ぐように遊技パネルに取付けられると共に、開口領域のうち特定開口領域に台板の透明な外縁の一部が重なるように遊技パネルに取付けられ、更に、台板の外縁の前面が後方に向かうように傾斜していると共に、位置決突起が、球排出口に接近している部位と球排出口から遠い部位とに設けられているものである。
これにより、入球ユニットの台板から突出している位置決突起を、前方から遊技パネルの位置決孔に挿入すると共に台板を遊技パネルの前面に当接された上で、台板を貫通している取付孔を介して取付ビスを遊技パネルにねじ込んで締め付けることにより、遊技パネルの前面に入球ユニットを取付けることができると共に、入球ユニットの入球口に入球した遊技球を遊技パネルの開口領域のうちの普通開口領域を通して遊技パネルの後方へ誘導することができる。この際に、遊技パネルの普通開口領域を入球ユニットの台板により前方から塞ぐようにしているため、普通開口領域を通して遊技パネルの後方を見え難くして隠すことができ、遊技機の見栄えを良くすることができる。この入球ユニットを遊技パネルの前面に取付けている状態では、入球ユニットにおける台板の透明な外縁の一部が開口領域のうちの特定開口領域と重なる(正面視において、特定開口領域の投影範囲に外縁の一部が重なる)ように取付けられているため、当該外縁の一部が特定開口領域の中心側へ突出している。そして、リサイクル等による遊技機の分解作業において、遊技パネルから入球ユニットを取外す際に、台板の外縁における特定開口領域と重なっている部位に、作業者の指や工具等を引っ掛けることが可能となるため、指等を引っ掛けることで台板と共に入球ユニットを強い力で前方へ引っ張ることができる。従って、位置決孔と位置決突起との間の抵抗に抗して遊技パネルから入球ユニットを簡単に取外すことができ、分別する際の分解作業を軽減することが可能な遊技機を提供することができる。
ところで、入球ユニットに二つの位置決突起を設けて夫々を遊技パネルの位置決孔に挿入させるようにする場合、分解作業において入球ユニットを遊技パネルから取外す際に、二つの位置決突起を同時に位置決孔から引き抜こうとすると、強い力で入球ユニットを前方へ引っ張る必要があり、作業者の負担が増加する恐れがある。これに対して、本構成では、位置決突起を特定開口領域に接近している部位と遠い部位とに設けているため、リサイクル等による遊技機の分解作業において、遊技パネルから入球ユニットを取外す際に、入球ユニットの外縁における特定開口領域と重なっている部位に、作業者の指等を引っ掛けて前方へ引っ張ることで、特定開口領域に近い位置決突起に対して強い引抜力を作用させることが可能となる。これにより、分解作業において、二つの位置決突起のうち、まず初めに特定開口領域に近い位置決突起を位置決孔から抜くことができ、その後に、特定開口領域から遠い残りの位置決突起を位置決孔から抜けば良いため、同時に二つの位置決突起を引き抜く場合と比較して、弱い力で引き抜くことが可能となり、作業種の負担を軽減させることができる。
また、入球ユニットの台板における外縁の前面を後方に向かうように傾斜させていることから、外縁の角が鈍角になっている。従って、遊技機の分解作業において入球ユニットを遊技パネルから取外すために、入球ユニットの外縁における特定開口領域と重なっている部位に作業者の指等を引っ掛ける際に、外縁の角に指等が当接しても、当該角が鈍角になっているため、当該角が直角になっている場合と比較して、指等を傷付け難くすることができ、指等により入球ユニットを安全に取外すことができる。
また、上述したように、入球ユニットにおける外縁の角を鈍角にしているため、当該角が直角になっている場合と比較して、遊技球が特定開口領域に進入するために外縁をなめるように遊技球が転動しても、外縁の角が欠けることはなく、入球ユニットの耐久性を向上させることができる。
また、入球ユニットの台板における外縁の前面を後方に向かうように傾斜させていることから、外縁の角が鈍角になっている。従って、遊技球が特定開口領域に進入するために外縁をなめるように遊技球が転動しても、外縁の角が鈍角になっているため、外縁が欠けることはなく、入球ユニットの耐久性を向上させることができる。
また、入球ユニットにおける台板の外縁を後方へ傾斜させているため、遊技球をスムーズに特定開口領域へ誘導することができ、特定開口領域での遊技球の滞りを回避させることができる。
更に、入球ユニットにおける台板の外縁を透明にしているため、外縁の一部を特定開口領域と重なるようにしても、特定開口領域の大きさが小さく見えることを回避させることができる。
また、二つの位置決突起を互いに離隔するように設けているため、入球ユニットを遊技パネルに取付けた時に、入球ユニットが遊技パネルの面に沿って回転することはなく、入球ユニットを遊技パネルの所望の位置に確実に位置決めすることができる。
なお、入球ユニットにおける遊技パネルに取付けるための取付孔を、位置決突起の近傍に設けることが望ましい。これにより、取付孔を介して取付ビスを遊技パネルにねじ込んで締め付けることで、位置決突起を遊技パネル側へ強く押し付けて遊技パネルの位置決孔へ確実に挿入させることができ、位置決突起の不完全挿入による浮き上がりを防止することができる。
このように、上記の解決手段によれば、リサイクル等のために分別する際の分解作業を軽減することが可能な遊技機を提供することができる。
[15-1c.第一技術的特徴の解決手段と実施形態との関係]
本実施形態の遊技盤5におけるアウト口1008は上記解決手段の球排出口に、本実施
本実施形態の遊技盤5におけるアウト口1008及び特定開口領域1103は上記解決手段の球排出口(特定開口領域)に、本実施形態における遊技パネル1100の開口領域1101は上記解決手段の開口領域に、本実施形態における遊技パネル1100のパネル板1110は上記解決手段の遊技パネルに、本実施形態におけるパネル板1110の開口部1112及び普通開口領域1102は上記解決手段の普通開口領域に、本実施形態における位置決孔1113は上記解決手段の位置決孔に、本実施形態における一般入賞口2001、及び第一構成部材2811の球受部2811bは上記解決手段の入球口に、本実施形態におけるサイドユニット2800Gは上記解決手段の入球ユニットに、夫々相当している。
また、本実施形態における台板2811aは上記解決手段の台板(延設部)に、本実施形態における位置決突起2811cは上記解決手段の位置決突起に、本実施形態における取付孔2811dは上記解決手段の取付孔に、夫々相当している。更に、本実施形態における指掛部2816及び指掛部2817は、上記解決手段における球排出口(アウト口1008、特定開口領域1103)に入球ユニット(サイドユニット2800G)の外縁(台板、延設部)の一部が重なる部位に、相当している。
[15-1d.第一技術的特徴の特徴的な作用効果]
本実施形態によれば、遊技盤5におけるサイドユニット2800Gの台板2811aから突出している位置決突起2811cを、前方から遊技パネル1100におけるパネル板1110の位置決孔1113に挿入すると共に台板2811aをパネル板1110の前面に当接された上で、台板2811aを貫通している取付孔2811dを介して取付ビスを遊技パネル1100のパネル板1110にねじ込んで締め付けることにより、遊技パネル1100のパネル板1110の前面にサイドユニット2800Gを取付けることができると共に、サイドユニット2800Gの一般入賞口2001(球受部2811b)入球口に入球した遊技球Bをパネル板1110の開口部1112(開口領域1101のうちの普通開口領域1102)を通して遊技パネル1100の後方へ誘導することができる。この際に、遊技パネル1100におけるパネル板1110の開口部1112をサイドユニット2800Gの台板2811aにより前方から塞ぐようにしているため、開口部1112を通して遊技パネル1100の後方を見え難くして隠すことができ、パチンコ機1(遊技盤5)の見栄えを良くすることができる。このサイドユニット2800Gを遊技パネル1100におけるパネル板1110の前面に取付けている状態では、サイドユニット2800Gにおける台板2811aの透明な外縁の一部(指掛部2816や指掛部2817)がアウト口1008(開口領域1101のうちの特定開口領域1103)と重なる(正面視において、アウト口1008の投影範囲に外縁の一部が重なる)ように取付けられているため、当該指掛部2816(指掛部2817)がアウト口1008の中心側へ突出している。そして、リサイクル等によるパチンコ機1の分解作業において、遊技パネル1100のパネル板1110からサイドユニット2800Gを取外す際に、台板2811aの外縁におけるアウト口1008と重なっている指掛部2816(指掛部2817)に、作業者の指や工具等を引っ掛けることが可能となるため、指等を引っ掛けることで台板2811aと共にサイドユニット2800Gを強い力で前方へ引っ張ることができる。従って、位置決孔1113と位置決突起2811cとの間の抵抗に抗して遊技パネル1100のパネル板1110からサイドユニット2800Gを簡単に取外すことができ、分別する際の分解作業を軽減することが可能なパチンコ機1を提供することができる。
ところで、サイドユニット2800Gに二つの位置決突起2811cを設けて夫々を遊技パネル1100のパネル板1110の位置決孔1113に挿入させていることから、分解作業においてサイドユニット2800Gをパネル板1110から取外す際に、二つの位置決突起2811cを同時に位置決孔1113から引き抜こうとすると、強い力でサイドユニット2800Gを前方へ引っ張る必要があり、作業者の負担が増加する恐れがある。これに対して、本実施形態では、位置決突起2811cをアウト口1008に接近している部位と遠い部位とに設けているため、リサイクル等によるパチンコ機1の分解作業において、遊技パネル1100のパネル板1110からサイドユニット2800Gを取外す際に、サイドユニット2800の台板2811aの外縁におけるアウト口1008と重なっている指掛部2816(指掛部2817)に、作業者の指等を引っ掛けて前方へ引っ張ることで、アウト口1008に近い位置決突起2811cに対して強い引抜力を作用させることが可能となる。これにより、分解作業において、二つの位置決突起2811cのうち、まず初めにアウト口1008に近い位置決突起2811cを位置決孔1113から抜くことができ、その後に、アウト口1008から遠い残りの位置決突起2811cを位置決孔1113から抜けば良いため、同時に二つの位置決突起2811cを引き抜く場合と比較して、弱い力で引き抜くことが可能となり、作業種の負担を軽減させることができる。
また、サイドユニット2800Gの台板2811aにおける外縁の前面を後方に向かうように傾斜させていることから、外縁の角が鈍角になっている。従って、パチンコ機1の分解作業においてサイドユニット2800Gを遊技パネル1100のパネル板1110から取外すために、サイドユニット2800Gにおける台板2811aの外縁におけるアウト口1008と重なっている指掛部2816(指掛部2817)に作業者の指等を引っ掛ける際に、台板2811aの外縁の角に指等が当接しても、当該角が鈍角になっているため、当該角が直角になっている場合と比較して、指等を傷付け難くすることができ、指等によりサイドユニット2800Gを安全に取外すことができる。
また、上述したように、サイドユニット2800Gの台板2811aにおける外縁の角を鈍角にしているため、当該角が直角になっている場合と比較して、遊技球Bがアウト口1008に進入するために台板2811aの外縁をなめるように遊技球Bが転動しても、外縁が欠けることはなく、サイドユニット2800Gの耐久性を向上させることができる。
また、サイドユニット2800Gにおける台板2811aの外縁を後方へ傾斜させているため、遊技球Bをスムーズにアウト口1008へ誘導することができ、アウト口1008での遊技球Bの滞りを回避させることができる。
更に、サイドユニット2800Gにおける台板2811aの外縁を透明にしているため、指掛部2816(指掛部2817)のように外縁の一部をアウト口1008と重なるようにしても、アウト口1008の大きさが小さく見えることを回避させることができる。
また、二つの位置決突起2811cを互いに離隔するように設けているため、サイドユニット2800Gを遊技パネル1100のパネル板1110に取付けた時に、サイドユニット2800Gがパネル板1110の面に沿って回転することはなく、サイドユニット2800Gをパネル板1110の所望の位置に確実に位置決めすることができる。
また、サイドユニット2800Gにおける遊技パネル1100のパネル板1110に取付けるための取付孔2811dを、位置決突起2811cの近傍に設けているため、取付孔2811dを介して取付ビスをパネル板1110の取付孔1114にねじ込んで締め付けることで、位置決突起2811cをパネル板1110側へ強く押し付けてパネル板1110の位置決孔1113へ確実に挿入させることができ、位置決突起2811cの不完全挿入による浮き上がりを防止することができる。
ところで、パチンコ機1の分解作業において、サイドユニット2800Gを遊技パネル1100のパネル板1110から取外すために、台板2811aの外縁におけるアウト口1008と重なっている部位に作業者の指等を引っ掛けて前方へ引っ張った時に、当該部位の強度が弱いと、外縁が割れてサイドユニット2800Gが遊技パネル1100側に残ってしまう恐れがある。これに対して、図85に示す実施形態では、サイドユニット2800Gの台板2811aの外縁におけるアウト口1008と重なっている指掛部2817の奥行を長くしていることから、遊技パネル1100のパネル板1110の前面において台板2811aの外縁(延設部)の一部を重ねる方法に比べ、特定開口領域1103(アウト口1008)のサイズが小さくなる(遊技球Bを排出するための通路容積が小さくなる)、或いは、予め特定開口領域1103(アウト口1008)のサイズを広げておく(遊技球Bを排出するための通路容積を大きくしておく)ことになるが、当該指掛部2817の強度を高めることができるため、当該指掛部2817に作業者の指等を引っ掛けて前方へ引っ張っても割れる(破損する)ことはなく、サイドユニット2800Gを遊技パネル1100のパネル板1110から確実に取外すことができる。
また、サイドユニット2800Gの台板2811aの外縁におけるアウト口1008と重なる指掛部2817を、アウト口1008を貫通させて遊技パネル1100のパネル板1110の後面よりも後方へ突出させるようにしているため、当該指掛部2817によりアウト口1008の内面を覆って遊技者から見え難くすることができ、パチンコ機1の見栄えを良くすることができる。
[15-2.第二技術的特徴]
本明細書には、上記とは異なる以下のような技術的特徴を有している。
[15-2a.第二技術的特徴の背景]
近年では、パチンコ機のような遊技機において、遊技者の関心を引き付けさせることが可能な演出を行うための手段として、演出装置を大きくしたり、演出装置の可動領域を広くしたり、演出装置を派手に発光装飾させるようにしたりしている。
ところで、特許文献A(特開2017-018185号公報)のような従来の遊技機では、前面を遊技球が流下する遊技パネルの前面に、複数の入球口(例えば、一般入賞口)が設けられている入球ユニットが取付けられている。この入球ユニットの入球口に入球した遊技球は、遊技パネルの後方へ誘導した上で、遊技パネルよりも後方に設けられている球誘導ユニットにおいて球センサにより検知された後に下方へ排出される。このような入球ユニットを発光装飾させるためには、入球ユニットの後方に設けられている球誘導ユニットの後側に、LEDが実装されているLEDを設ける必要があり、LED基板を設けることで入球ユニットの後方のスペースが狭くなり、演出装置を設けるためのスペースをより広く確保することが困難となる問題がある。
そこで、以下の手段では、上記の実情に鑑み、入球ユニットの後方の空間を確保し易くすることでよりインパクトのある演出を提示することが可能な遊技機の提供を課題とするものである。
[15-2b.第二技術的特徴の解決手段]
手段1:遊技機において、
「遊技球が入球可能な入球口を複数有し、前面を遊技球が流下可能な遊技パネルの前面に取付けられる入球ユニットを備える遊技機において、
前記入球ユニットは、
前記遊技パネルに設けられた位置決孔に挿入される位置決突起、及び前記遊技パネルに取付けるための第一取付孔を有し、前記遊技パネルを貫通するように設けられている開口を前側から塞ぐように前記遊技パネルに取付けられる第一構成部と、
該第一構成部に取付けるための第二取付孔を有し、前記第一構成部とで前記開口内に所定の空間を形成するように前記第一構成部の後側から取付けられる第二構成部と、を備え、
前記第一構成部と前記第二構成部とで形成される前記空間にLEDが実装されているLED基板が設けられている」
ものであることを特徴とする。
ここで、「入球口」としては、「遊技球の入球により所定の特典を付与する入賞口(例えば、一般入賞口、普通入賞口、始動入賞口(始動口)、大入賞口、役物入賞口、V入賞口、等)」、「遊技球が入球しても特典を付与せずに、遊技者に戻すことなく遊技機外へ排出するアウト口」、等が挙げられる。
また、「遊技パネル」としては、「ベニヤ板のような木製の合板からなるもの」、「透明樹脂板を切削加工したパネル板と、パネル板の外周を保持しているパネルホルダと、からなるもの」、「透明樹脂を射出成形したもの」、等が挙げられる。
更に、「LED基板」としては、第一構成部に取付けられていても良いし、第二構成部に取付けられていても良い。また、「非接触面部」としては、第一構成部に設けられていても良いし、第二構成部に設けられていても良いし、第一構成部及び第二構成部の両方に設けられていても良い。
手段1の構成によると、遊技球が入球可能な入球口を複数有し、前面を遊技球が流下可能な遊技パネルの前面に取付けられる入球ユニットを備える遊技機において、入球ユニットは、遊技パネルに設けられた位置決孔に挿入される位置決突起、及び遊技パネルに取付けるための第一取付孔を有し、遊技パネルを貫通するように設けられている開口を前側から塞ぐように遊技パネルに取付けられる第一構成部と、第一構成部に取付けるための第二取付孔を有し、第一構成部とで開口内に所定の空間を形成するように第一構成部の後側から取付けられる第二構成部と、を備え、第一構成部と第二構成部とで形成される空間にLEDが実装されているLED基板が設けられているものである([発明を実施するための形態]では、[12-2b.サイドユニットの変形例2]の章、図79等の記載を参照)。
これにより、第一構成部の後側から第二取付孔を介して取付ビスにより第二構成部を取付けた上で、第一構成部の位置決突起を前方から遊技パネルの位置決孔に挿入した上で、第一取付孔を介して取付ビスを遊技パネルにねじ込んで締め付けることにより、遊技パネルの前面に入球ユニットを取付けることができると共に、第一構成部により遊技パネルを貫通している開口を塞ぐことができるため、開口を通して遊技パネルの後方を見え難くすることができ、遊技機の見栄えを良くすることができると共に、遊技パネルの後側から開口を通して塵や埃等の異物が遊技パネルの前面側へ侵入することを防止することができる。そして、第一構成部と、第二取付孔を介して取付ビスにより第一構成部の後側から取付けられる第二構成部とで、遊技パネルの開口内に空間を形成すると共に、当該空間内にLED基板を設けているため、LED基板のLEDにより入球ユニットを発光装飾させることができる。この際に、遊技パネルの開口内に、LED基板が設けられる空間を形成しているため、当該空間やLED基板を遊技パネルの板厚内に収めることが可能となり、遊技パネルの後面からの後方への突出量を可及的に小さくすることができ、入球ユニットの後方のスペースをより広く確保することができる。従って、入球ユニットの後方に、大きな演出装置や可動領域の広い演出装置等を設けることが可能となるため、よりインパクトのある演出を遊技者に提示することができ、遊技者に対する訴求力の高い遊技機を提供することができる。
なお、入球ユニットにおける遊技パネルに取付けるための第一取付孔を、位置決突起の近傍に設けることが望ましい。これにより、第一取付孔を介して取付ビスを遊技パネルにねじ込んで締め付けることで、位置決突起を遊技パネル側へ強く押し付けて遊技パネルの位置決孔へ確実に挿入させることができ、位置決突起の不完全挿入による浮き上がりを防止することができる。
また、入球ユニットに、第一構成部と第二構成部とが互いに接する接触面部の一部に互いに接触していない非接触面部を設けることが望ましい。これにより、第一構成部と第二構成部との間の空間にLED基板を設けていると共に、第一構成部と第二構成部とが互いに接している接触面部の一部に、互いに接していない非接触面部を設けているため、当該非接触面部を通してLED基板からの熱を外部へ放熱することができ、熱による影響を回避させることができる。
更に、上記のように非接触面部を設ける場合、遊技パネルの開口の前端側を第一構成部により塞いでいるため、非接触面部から外部へ放出された熱が、遊技パネルの前面側へ流れることはなく、遊技パネルの後面側へ放熱させることができる。
また、上記のように非接触面部を設ける場合、入球ユニットを、遊技パネルの開口内の内周との間に隙間が設けられるように形成すると共に、非接触面部を、少なくとも上側となる接触面部に設けるようにすることが望ましい。これにより、第一構成部と第二構成部とで形成される空間内に設けられているLED基板からの熱を外部へ放熱可能な非接触面部を、接触面部における少なくとも上側の部位に設けているため、当該非接触面部によりLED基板からの熱を確実に外部へ放熱させることができ、空間内に熱が籠ることはない。この際に、入球ユニットにおいて遊技パネルの開口内に挿入されている部位の外周と、開口の内周と、の間に隙間を設けている。つまり、非接触面部と開口の内周との間に隙間を設けているため、LED基板からの熱を非接触面部から当該隙間へ確実に放熱させることができ、当該隙間を通して開口内から排熱することができる。
また、上記のように非接触面部を設ける場合、平面視において非接触面部に重ならないようにLED基板を設けるようにすることが望ましい。これにより、LED基板が設けられている空間内に、非接触面部を通して塵や埃等の異物が侵入しても、LED基板にかかり難くすることができ、異物による影響を極力防ぐことができる。
更に、遊技パネルを、不透明とすることが望ましい。これにより、遊技パネルを不透明にしていることから、遊技パネルの開口の内周面から遊技パネルの内部にLED基板のLEDからの光が入射することはなく、開口の内周面により反射させることが可能となるため、前方へ照射される光量の低下を抑制させることができ、LEDの発光による演出効果を十分に発揮させ易くすることができる。
また、上記のように非接触面部を設ける場合、非接触面部を、遊技パネルの後面よりも後方に設けるようにしても良い。これにより、第一構成部と第二構成部との間の空間内に設けられているLED基板からの熱を、非接触面部を通して確実に遊技パネルの後面よりも後方へ放熱させることができ、熱による影響を回避させることができる。
また、第一構成部に、位置決突起が突出していると共に取付孔が貫通しており、遊技パネルの前面に当接可能な平板状の台板を有するようにしても良い。これにより、入球ユニットに平板状の台板を設けているため、取付孔を介して入球ユニットを遊技パネルの前面に取付けることで、台板により遊技パネルの開口を前側から塞ぐことができ、前側(遊技者側)から開口を通して遊技パネルの後方を台板により隠すことが可能となり、遊技機の見栄えを良くすることができる。
また、上記のように、第一構成部に台板を有するようにすると、入球ユニットの台板により遊技パネルの開口を前側から塞ぐことができるため、第一構成部と第二構成部との間の空間内に設けられているLED基板からの熱を、非接触面部を通して遊技パネルの後側へ放熱させることができると共に、遊技パネルの後側から塵や埃等の異物が、遊技パネルの開口を通して遊技パネルの前面側に侵入するのを防止することができる。
手段2:手段1の構成において、
「前記入球ユニットは、
前記第一構成部と前記第二構成部とが互いに接する接触面部の一部に互いに接触していない非接触面部を設けられている」
ものであることを特徴とする。
手段2の構成によると、入球ユニットは、第一構成部と第二構成部とが互いに接する接触面部の一部に互いに接触していない非接触面部を設けられているものである([発明を実施するための形態]では、サイドユニット2800B、接触面部2830、非接触面部2831に関する記載を参照)。
これにより、第一構成部と第二構成部との間の空間にLED基板を設けていると共に、第一構成部と第二構成部とが互いに接している接触面部の一部に、互いに接していない非接触面部を設けているため、当該非接触面部を通してLED基板からの熱を外部へ放熱することができ、熱による影響を回避させることができる。
また、遊技パネルの開口の前端側を第一構成部により塞いでいるため、非接触面部から外部へ放出された熱が、遊技パネルの前面側へ流れることはなく、遊技パネルの後面側へ放熱させることができる。
手段3:手段2の構成において、
「前記入球ユニットは、前記遊技パネルの前記開口内の内周との間に隙間が設けられるように形成されており、
前記非接触面部は、少なくとも上側となる前記接触面部に設けられている」
ものであることを特徴とする。
手段3の構成によると、入球ユニットは、遊技パネルの開口内の内周との間に隙間が設けられるように形成されており、非接触面部は、少なくとも上側となる接触面部に設けられているものである([発明を実施するための形態]では、サイドユニット2800B及び非接触面部2831に関する記載を参照)。
これにより、第一構成部と第二構成部とで形成される空間内に設けられているLED基板からの熱を外部へ放熱可能な非接触面部を、接触面部における少なくとも上側の部位に設けているため、当該非接触面部によりLED基板からの熱を確実に外部へ放熱させることができ、空間内に熱が籠ることはない。この際に、入球ユニットにおいて遊技パネルの開口内に挿入されている部位の外周と、開口の内周と、の間に隙間を設けている。つまり、非接触面部と開口の内周との間に隙間を設けているため、LED基板からの熱を非接触面部から当該隙間へ確実に放熱させることができ、当該隙間を通して開口内から排熱することができる。
手段4:手段2又は手段3の構成において、
「平面視において前記非接触面部に重ならないように前記LED基板が設けられている」
ものであることを特徴とする。
手段4の構成によると、平面視において非接触面部に重ならないようにLED基板が設けられているものである([発明を実施するための形態]では、LED基板2825及び非接触面部2831に関する記載を参照)。
これにより、LED基板が設けられている空間内に、非接触面部を通して塵や埃等の異物が侵入しても、LED基板にかかり難くすることができ、異物による影響を極力防ぐことができる。
手段5:手段1から手段4までの何れか一つの構成において、
「前記遊技パネルは、不透明である」
ことを特徴とする。
ところで、遊技パネルを透明なものとすると、LED基板のからの光が、遊技パネルの開口の内周面から遊技パネルの内部に入射して拡散することにより、前方へ照射される光量が低下してしまい、LEDの発光による演出効果が弱くなる恐れがある。
手段5の構成によると、遊技パネルを、不透明としているものである([発明を実施するための形態]では、遊技パネル1100に関する記載を参照)。
これにより、遊技パネルを不透明にしていることから、遊技パネルの開口の内周面から遊技パネルの内部にLED基板のLEDからの光が入射することはなく、開口の内周面により反射させることが可能となるため、前方へ照射される光量の低下を抑制させることができ、LEDの発光による演出効果を十分に発揮させ易くすることができる。
手段6:手段2から手段5までの何れか一つの構成において、
「前記非接触面部は、前記遊技パネルの後面よりも後方に設けられている」
ものであることを特徴とする。
手段6の構成によると、非接触面部は、遊技パネルの後面よりも後方に設けられているものである([発明を実施するための形態]では、サイドユニット2800Bに関する記載を参照)。
これにより、第一構成部と第二構成部との間の空間内に設けられているLED基板からの熱を、非接触面部を通して確実に遊技パネルの後面よりも後方へ放熱させることができ、熱による影響を回避させることができる。
手段7:手段1から手段6までの何れか一つの構成において、
「前記第一構成部は、前記位置決突起が突出していると共に前記取付孔が貫通しており、前記遊技パネルの前面に当接可能な平板状の台板を有している」
ものであることを特徴とする。
手段7の構成によると、第一構成部は、位置決突起が突出していると共に取付孔が貫通しており、遊技パネルの前面に当接可能な平板状の台板を有しているものである([発明を実施するための形態]では、サイドユニット2800Bのユニット本体2810に関する記載を参照)。
これにより、入球ユニットに平板状の台板を設けているため、取付孔を介して入球ユニットを遊技パネルの前面に取付けることで、台板により遊技パネルの開口を前側から塞ぐことができ、前側(遊技者側)から開口を通して遊技パネルの後方を台板により隠すことが可能となり、遊技機の見栄えを良くすることができる。
また、入球ユニットの台板により遊技パネルの開口を前側から塞ぐことができるため、第一構成部と第二構成部との間の空間内に設けられているLED基板からの熱を、非接触面部を通して遊技パネルの後側へ放熱させることができると共に、遊技パネルの後側から塵や埃等の異物が、遊技パネルの開口を通して遊技パネルの前面側に侵入するのを防止することができる。
手段8:遊技機において、
「遊技球が入球可能な入球口を複数有し、前面を遊技球が流下可能な遊技パネルの前面に取付けられる入球ユニットを備える遊技機において、
前記入球ユニットは、
前記遊技パネルに設けられた位置決孔に挿入される位置決突起、及び前記遊技パネルに取付けるための第一取付孔を有し、前記遊技パネルを貫通するように設けられている開口を前側から塞ぐように前記遊技パネルに取付けられる第一構成部と、
該第一構成部に取付けるための第二取付孔を有し、前記第一構成部とで前記開口内に所定の空間を形成するように前記第一構成部の後側から取付けられる第二構成部と、
を備えると共に、前記遊技パネルの前記開口内の内周との間に隙間が設けられるように形成されており、
前記第一構成部と前記第二構成部とが互いに接する接触面部における少なくとも上側となる部位に互いに接触していない非接触面部を設け、
平面視において該非接触面部に重ならないように、前記第一構成部と前記第二構成部とで形成される前記空間にLEDが実装されているLED基板が設けられている」
ものであることを特徴とする。
手段8の構成によると、遊技球が入球可能な入球口を複数有し、前面を遊技球が流下可能な遊技パネルの前面に取付けられる入球ユニットを備える遊技機において、入球ユニットは、遊技パネルに設けられた位置決孔に挿入される位置決突起、及び遊技パネルに取付けるための第一取付孔を有し、遊技パネルを貫通するように設けられている開口を前側から塞ぐように遊技パネルに取付けられる第一構成部と、第一構成部に取付けるための第二取付孔を有し、第一構成部とで開口内に所定の空間を形成するように第一構成部の後側から取付けられる第二構成部と、を備えると共に、遊技パネルの開口内の内周との間に隙間が設けられるように形成されており、第一構成部と第二構成部とが互いに接する接触面部における少なくとも上側となる部位に互いに接触していない非接触面部を設け、平面視において非接触面部に重ならないように、第一構成部と第二構成部とで形成される空間にLEDが実装されているLED基板が設けられているものである。
これにより、第一構成部の後側から第二取付孔を介して取付ビスにより第二構成部を取付けた上で、第一構成部における平板状の台板から突出している位置決突起を前方から遊技パネルの位置決孔に挿入した上で、台板が遊技パネルの前面に当接するように、第一取付孔を介して取付ビスを遊技パネルにねじ込んで締め付けることにより、遊技パネルの前面に入球ユニットを取付けることができると共に、第一構成部の台板により遊技パネルを貫通している開口を塞ぐことができるため、開口を通して遊技パネルの後方を見え難くすることができ、遊技機の見栄えを良くすることができると共に、遊技パネルの後側から開口を通して塵や埃等の異物が遊技パネルの前面側へ侵入することを防止することができる。そして、第一構成部と、第二取付孔を介して取付ビスにより第一構成部の後側から取付けられる第二構成部とで、遊技パネルの開口内に空間を形成すると共に、当該空間内にLED基板を設けているため、LED基板のLEDにより入球ユニットを発光装飾させることができる。この際に、遊技パネルの開口内に、LED基板が設けられる空間を形成しているため、当該空間やLED基板を遊技パネルの板厚内に収めることが可能となり、遊技パネルの後面からの後方への突出量を可及的に小さくすることができ、入球ユニットの後方のスペースをより広く確保することができる。従って、入球ユニットの後方に、大きな演出装置や可動領域の広い演出装置等を設けることが可能となるため、よりインパクトのある演出を遊技者に提示することができ、遊技者に対する訴求力の高い遊技機を提供することができる。
また、第一構成部と第二構成部との間の空間にLED基板を設けていると共に、第一構成部と第二構成部とが互いに接している接触面部における少なくとも上側となる部位に、互いに接していない非接触面部を設けているため、当該非接触面部を通してLED基板からの熱を外部へ放熱することができ、熱による影響を回避させることができる。この際に、入球ユニットにおいて遊技パネルの開口内に挿入されている部位の外周と、開口の内周と、の間に隙間を設けている。つまり、非接触面部と開口の内周との間に隙間を設けているため、LED基板からの熱を非接触面部から当該隙間へ確実に放熱させることができる。そして、遊技パネルの開口の前端側を第一構成部の台板により塞いでいるため、非接触面部から当該隙間へ放出された熱を、当該隙間を通して、遊技パネルの前面側へ流すことなく、遊技パネルの後面側へ誘導することができ、LED基板からの熱を確実に放熱させることができる。
また、平面視において非接触面部に重ならないようにLED基板を設けているため、LED基板が設けられている空間内に、非接触面部を通して塵や埃等の異物が侵入しても、LED基板にかかり難くすることができ、異物による影響を極力防ぐことができる。
更に、遊技パネルを不透明にしていることから、遊技パネルの開口の内周面から遊技パネルの内部にLED基板のLEDからの光が入射することはなく、開口の内周面により反射させることが可能となるため、前方へ照射される光量の低下を抑制させることができ、LEDの発光による演出効果を十分に発揮させ易くすることができる。
また、入球ユニットの台板により遊技パネルの開口を前側から塞ぐようにしているため、第一構成部と第二構成部との間の空間内に設けられているLED基板からの熱を、非接触面部を通して遊技パネルの後側へ放熱させることができると共に、遊技パネルの後側から塵や埃等の異物が、遊技パネルの開口を通して遊技パネルの前面側に侵入するのを防止することができる。
なお、入球ユニットの第一構成部において、遊技パネルに取付けるための台板を貫通している第一取付孔を、位置決突起の近傍に設けることが望ましい。これにより、第一取付孔を介して取付ビスを遊技パネルにねじ込んで締め付けることで、位置決突起を遊技パネル側へ強く押し付けて遊技パネルの位置決孔へ確実に挿入させることができ、位置決突起の不完全挿入による浮き上がりを防止することができる。
このように、上記の解決手段によれば、入球ユニットの後方の空間を確保し易くすることでよりインパクトのある演出を提示することが可能な遊技機を提供することができる。
[15-2c.第二技術的特徴の解決手段と実施形態との関係]
本実施形態の遊技盤5における遊技パネル1100のパネル板1110は上記解決手段の遊技パネルに、本実施形態におけるパネル板1110の開口部1112は上記解決手段の開口に、本実施形態における位置決孔1113は上記解決手段の位置決孔に、本実施形態における一般入賞口2001、及び第一構成部材2811の球受部2811bは上記解決手段の入球口に、本実施形態におけるサイドユニット2800B、サイドユニット2800C、サイドユニット2800D、サイドユニット2800E、サイドユニット2800Fは上記解決手段の入球ユニットに、夫々相当している。
また、本実施形態におけるユニット本体2810及びユニット本体2810Aは上記解決手段の第一構成部に、本実施形態における台板2811aは上記解決手段の台板に、本実施形態における位置決突起2811cは上記解決手段の位置決突起に、本実施形態における取付孔2811dは上記解決手段の取付孔に、本実施形態におけるユニットカバー2820は上記解決手段の第二構成部に、本実施形態におけるLED基板2825は上記解決手段のLED基板に、夫々相当している。また、本実施形態における接触面部2830(支持枠部2814とユニットカバー2820とが接している部位)は上記解決手段の接触面部に、本実施形態における非接触面部2831(支持枠部2814の切欠部2814b及びユニットカバー2820の切欠部2820c)は上記解決手段の非接触面部に、夫々相当している。
[15-2d.第二技術的特徴の特徴的な作用効果]
ここでは、本実施形態におけるサイドユニット2800B、サイドユニット2800C、サイドユニット2800D、サイドユニット2800E、及びサイドユニット2800Fの特徴として、サイドユニット2800Bを代表して記載する。本実施形態によれば、遊技パネル1100におけるパネル板1110の前面に取付けられるサイドユニット2800Bにおいて、ユニット本体2810の後側から取付孔を介して取付ビスによりユニットカバー2820を取付けた上で、ユニット本体2810の第一構成部材2811における平板状の台板2811aから突出している位置決突起2811cを前方から遊技パネル1100におけるパネル板1110の位置決孔1113に挿入した上で、台板2811aがパネル板1110の前面に当接するように、取付孔2811dを介して取付ビスをパネル板1110にねじ込んで締め付けることにより、パネル板1110の前面にサイドユニット2800Bを取付けることができると共に、台板2811aによりパネル板1110を貫通している開口部1112を塞ぐことができるため、開口部1112を通して遊技パネル1100の後方を見え難くすることができ、パチンコ機1の見栄えを良くすることができると共に、遊技パネル1100におけるパネル板1110の後側から開口部1112を通して塵や埃等の異物がパネル板1110の前面側(遊技領域5a)へ侵入することを防止することができる。そして、ユニット本体2810と、取付孔を介して取付ビスによりユニット本体2810の後側から取付けられるユニットカバー2820とで、パネル板1110の開口部1112内に空間を形成すると共に、当該空間内にLED基板2825を設けているため、LED基板2825のLED2825aによりサイドユニット2800Bを発光装飾させることができる。この際に、遊技パネル1100におけるパネル板1110の開口部1112内に、LED基板2825が設けられる空間を形成しているため、当該空間やLED基板2825をパネル板1110の板厚内に収めることが可能となり、パネル板1110の後面からの後方への突出量を可及的に小さくすることができ、サイドユニット2800Bの後方のスペースをより広く確保することができる。従って、サイドユニット2800Bの後方に、大きな演出装置や可動領域の広い演出装置等を設けることが可能となるため、よりインパクトのある演出を遊技者に提示することができ、遊技者に対する訴求力の高いパチンコ機1を提供することができる。
また、サイドユニット2800Bにおけるユニット本体2810とユニットカバー2820との間の空間にLED基板2825を設けていると共に、ユニット本体2810とユニットカバー2820とが互いに接している接触面部2830における少なくとも上側となる部位に、互いに接していない非接触面部2831(切欠部2820c)を設けているため、当該非接触面部2831を通してLED基板2825からの熱を外部へ放熱することができ、熱による影響を回避させることができる。この際に、サイドユニット2800Bにおいてパネル板1110の開口部1112内に挿入されている部位の外周と、開口部1112の内周と、の間に隙間を設けている。つまり、非接触面部2831と開口部1112の内周との間に隙間を設けているため、LED基板2825からの熱を非接触面部2831から当該隙間へ確実に放熱させることができる。そして、遊技パネル1100におけるパネル板1110の開口部1112の前端側をユニット本体2810における第一構成部材2811の台板2811aにより塞いでいるため、非接触面部2831から当該隙間へ放出された熱を、当該隙間を通して、パネル板1110の前面側へ流すことなく、パネル板1110の後面側へ誘導することができ、LED基板2825からの熱を確実に放熱させることができる。
また、平面視において非接触面部2831に重ならないようにLED基板2825を設けているため、LED基板2825が設けられている空間内に、非接触面部2831を通して塵や埃等の異物が侵入しても、LED基板2825にかかり難くすることができ、異物による影響を極力防ぐことができる。
更に、遊技パネル1100を不透明すると、遊技パネル1100の開口部1112の内周面から遊技パネル1100の内部にLED基板2825のLED2825aからの光が入射することはなく、開口部1112の内周面により反射させることが可能となるため、前方へ照射される光量の低下を抑制させることができ、LED2825aの発光による演出効果を十分に発揮させ易くすることができる。
また、サイドユニット2800Bにおける第一構成部材2811の台板2811aにより遊技パネル1100のパネル板1110の開口部1112を前側から塞ぐようにしているため、ユニット本体2810とユニットカバー2820との間の空間内に設けられているLED基板2825からの熱を、非接触面部2831を通してパネル板1110の後側へ放熱させることができると共に、パネル板1110の後側から塵や埃等の異物が、パネル板1110の開口部1112を通してパネル板1110の前面側に侵入するのを防止することができる。
また、サイドユニット2800Bでは、ユニット本体2810における第一構成部材2811において、遊技パネル1100のパネル板1110に取付けるための台板2811aを貫通している取付孔2811dを、位置決突起2811cの近傍に設けているため、取付孔2811dを介して取付ビスを遊技パネル1100のパネル板1110にねじ込んで締め付けることで、位置決突起2811cをパネル板1110側へ強く押し付けてパネル板1110の位置決孔1113へ確実に挿入させることができ、位置決突起2811cの不完全挿入による浮き上がりを防止することができる。
[15-3.第三技術的特徴]
本明細書には、上記とは異なる以下のような技術的特徴を有している。
[15-3a.第三技術的特徴の背景]
近年では、パチンコ機のような遊技機において、遊技者の関心を引き付けさせることが可能な演出を行うための手段として、演出装置を大きくしたり、演出装置の可動範囲を広くしたり、演出装置を派手に発光装飾させるようにしたりしている。
この種の遊技機として、例えば、特許文献A(特開2017-018185号公報)のような従来の遊技機では、前面を遊技球が流下する遊技パネルの前面に複数の入球口(例えば、一般入賞口)を有する入球ユニットと、入球ユニットの入球口に入球した遊技球を遊技パネルの後方において検知した上で下方へ排出させる球誘導ユニットと、を備えているものが知られている。
しかしながら、特許文献Aの技術では、遊技パネルの後方に球誘導ユニットが設けられているため、当該球誘導ユニットの存在により、入球ユニットの後方のスペースが狭くなり、演出装置を設けるためのスペースをより広く確保することができなかった。
そこで、以下の手段では、上記の実情に鑑み、入球ユニットの後方の空間を確保し易くすることでよりインパクトのある演出を提示することが可能な遊技機の提供を課題とするものである。
[15-3b.第三技術的特徴の解決手段]
手段1:遊技機において、
「遊技球が入球可能な入球口を複数有し、前面を遊技球が流下可能な遊技板の前面に取付けられる入球ユニットを備える遊技機において、
前記入球ユニットは、
前記遊技板に設けられた位置決孔に挿入される位置決突起、及び前記遊技板に取付けるための取付孔を有し、前記遊技板を貫通するように設けられている開口を前側から塞ぐように前記遊技板に取付けられる第一構成部と、
該第一構成部の後側に設けられており、前記入球口に入球した遊技球が、前記遊技板の板厚内にかかるように前記開口内において前記遊技板の板面に沿って流下可能な球通路を有する第二構成部と、」
を備えることを特徴とする。
ここで、「入球口」としては、「遊技球の入球により所定の特典を付与する入賞口(例えば、一般入賞口、普通入賞口、始動入賞口(始動口)、大入賞口、役物入賞口、V入賞口、等)」、「遊技球が入球しても特典を付与せずに、遊技者に戻すことなく遊技機外へ排出するアウト口」、等が挙げられる。
また、「遊技板」としては、障害釘が所定のゲージ配列で植設されるものであり、「ベニヤ板のような木製の合板からなるもの」、「透明樹脂板を切削加工したパネル板からなるもの」、「透明樹脂を射出成形したもの」、等が挙げられる。
更に、「球通路」としては、全体が遊技板の板厚内にかかるように延出していても良いし、一部が遊技板の板厚内にかかるように延出していても良い。
手段1の構成によると、遊技球が入球可能な入球口を複数有し、前面を遊技球が流下可能な遊技板の前面に取付けられる入球ユニットを備える遊技機において、入球ユニットは、遊技板に設けられた位置決孔に挿入される位置決突起、及び遊技板に取付けるための取付孔を有し、遊技板を貫通するように設けられている開口を前側から塞ぐように遊技板に取付けられる第一構成部と、第一構成部の後側に設けられており、入球口に入球した遊技球が、遊技板の板厚内にかかるように開口内において遊技板の板面に沿って流下可能な球通路を有する第二構成部と、を備えるものである([発明を実施するための形態]では、[12-1.第二実施形態のサイドユニット]の章、図75乃至図80等の記載を参照)。
これにより、第一構成部の位置決突起を前方から遊技パネルの位置決孔に挿入した上で、取付孔を介して取付ビスを遊技板にねじ込んで締め付けることにより、遊技板の前面に第一構成部(入球ユニット)を取付けることができると共に、第一構成部により遊技板を貫通している開口を塞ぐことができるため、開口を通して遊技板の後方を見え難くすることができ、遊技機の見栄えを良くすることができると共に、遊技板の後側から開口を通して塵や埃等の異物が遊技板の前面側へ侵入することを防止することができる。そして、第一構成部の後側に設けられている第二構成部に、遊技板の板厚内にかかるように開口内において遊技板の板面に沿って延出している球通路を設けていることから、当該球通路により入球口に入球した遊技球を、遊技板の板厚内にかかるようにして流下させることができるため、遊技板の板厚を利用することにより、入球ユニットにおける遊技板の後面からの後方への突出量を可及的に小さくすることができ、入球ユニットの後方のスペースをより広く確保することができる。従って、入球ユニットの後方に、大きな演出装置や可動領域の広い演出装置(可動役物)等を設けることが可能となるため、よりインパクトのある演出を遊技者に提示することができ、遊技者に対する訴求力の高い遊技機を提供することができる。
なお、入球ユニットの第一構成部における遊技板に取付けるための取付孔を、位置決突起の近傍に設けることが望ましい。これにより、取付孔を介して取付ビスを遊技板にねじ込んで締め付けることで、位置決突起を遊技板側へ強く押し付けて遊技板の位置決孔へ確実に挿入させることができ、位置決突起の不完全挿入による浮き上がりを防止することができる。
また、球通路における少なくとも可動役物の前方となる部位を、遊技板の板厚内にかかるように設けるようにしても良い。これにより、球通路における演出装置としての可動役物の前方となる部位を、遊技板の板厚内にかかるようにしているため、可動役物が設けられている部位の前後方向のスペースを十分に確保することができると共に、可動役物の可動範囲をより広くすることができ、よりインパクトの高い演出を遊技者に見せることが可能な遊技機を提供することができる。
また、上記のように、球通路における可動役物の前方となる部位を遊技板の板厚内にかかるように設ける場合、上述したように、遊技板の後側において可動役物が設けられている部位の前後方向のスペースを十分に確保することが可能となるため、例えば、入球ユニットと可動役物との間に装飾体を配置すること、当該装飾体により下降位置の可動役物を遊技者から見え難いように隠すことができる。これにより、可動役物を下降位置から上昇させると可動役物が出現するような演出を遊技者に見せることができ、遊技者に強いインパクトを与えて楽しませることが可能な遊技機を提供することができる。
更に、球通路における後方に設けられている可動役物よりも下方の部位に、球通路を流下している遊技球を検知する球センサを設けるようにしても良い。これにより、入球口に入球した遊技球を検知する球センサを、後方に設けられている可動役物よりも下方の部位に設けているため、球センサが可動役物の妨げになることはなく、可動役物による所望の演出効果を十分に発揮させることができる。
また、球通路に、入球口と連通しており後方へ延出している支流部と、支流部と合流しており遊技板の板面に沿って下方へ延出している本流部と、を有するようにしても良い。これにより、各入球口において連通している夫々の支流部を、本流部に合流させて流下させるようにしているため、複数の入球口に対して夫々に球通路を設ける必要がなく、一つの球通路で纏めて排出させることができると共に、入球ユニットの後方の空間を確保し易くすることができる。
また、第二構成部を第一構成部の後側に取付けるようにしても良い。これにより、第一構成部の後側に第二構成部を取付けているため、第二構成部により第一構成部の剛性を高めることができる。詳述すると、例えば、リサイクル等による遊技機の分解作業において、第一構成部を前方へ引っ張って遊技板から取外す際に、第一構成部の剛性が低いと、第一構成部が撓んでしまい、その撓みによって遊技板の位置決孔に挿入されていた位置決突起が傾くことで、位置決孔から抜け難くなり、分解作業に手間がかかる恐れがある。これに対して、第二構成部を第一構成部の後側に取付けるようにすると、第二構成部には球通路が設けられており、当該球通路はその断面がコ字状となっていることから、第二構成部の剛性が球通路の存在によって高められているため、この第二構成部を取付けることで第一構成部(入球ユニット)の剛性を高めることができる。従って、リサイクル等による遊技機の分解作業において、入球ユニットを前方へ引っ張った時に、入球ユニットの剛性が高められていることで位置決突起が突出している第一構成部が撓むことはないため、遊技板の位置決孔に対して位置決突起が傾くことはなく、遊技板から入球ユニットを簡単に取外すことができ、分別する際の分解作業を軽減することが可能な遊技機を提供することができる。
更に、第二構成部を、遊技板の後方に設けられている背面部材に取付けるようにしても良い。これにより、入球ユニットの第二構成部を、遊技板の後方の背面部材に取付けているため、球通路を遊技板の後側において遊技板を貫通している開口よりも下方へ延出させることが可能となる。詳述すると、第一構成部に第二構成部を取付けるようにすると、第一構成部により遊技板の開口を前側から塞ぐことから、球通路が設けられている第二構成部を開口よりも小さくする必要があり、球通路の一部を遊技板の後側において開口よりも下方へ延出させることが困難となる。これに対して、第二構成部を遊技板の後方に設けられている背面部材に取付けるようにすると、球通路の一部を遊技板の後側において開口よりも下方へ延出させるようにすることができる。従って、球通路を遊技板の下端まで延出させることが可能となるため、下方へ排出される遊技球の落下高さを低くすることができ、排出される遊技球による衝撃を低減させることができる。また、球通路の一部を遊技板の後側において開口よりも下方へ延出させるようにすることができるため、遊技板を貫通している開口を、遊技板の下端まで下方へ延長させる必要がなく、遊技板の強度が低下することはない。
また、上記のように、入球ユニットの第二構成部を遊技板の後方の背面部材に取付けるようにすると、球通路に球センサを設ける場合、球センサのような電子部品が遊技板の後方の背面部材側に設けられることとなり、電子部品を背面部材側に纏めることができ、遊技板側に球センサのような電子部品を設ける必要がない。従って、遊技機の組立作業や分解作業において、遊技板側から電子部品の配線が延出していないため、当該配線が障害釘等の部材に引っ掛かって作業の邪魔になったり配線が切れてしまったりすることはない。
手段2:手段1の構成において、
「前記第二構成部は、前記球通路における少なくとも可動役物の前方となる部位が前記遊技板の板厚内にかかるように設けられている」
ものであることを特徴とする。
手段2の構成によると、第二構成部は、球通路における少なくとも可動役物の前方となる部位が遊技板の板厚内にかかるように設けられているものである([発明を実施するための形態]では、第二構成部材2812の球通路2812aに関する記載を参照)。
これにより、球通路における演出装置としての可動役物の前方となる部位を、遊技板の板厚内にかかるようにしているため、可動役物が設けられている部位の前後方向のスペースを十分に確保することができると共に、可動役物の可動範囲をより広くすることができ、よりインパクトの高い演出を遊技者に見せることが可能な遊技機を提供することができる。
また、上述したように、遊技板の後側において可動役物が設けられている部位の前後方向のスペースを十分に確保することが可能となるため、例えば、入球ユニットと可動役物との間に装飾体を配置すること、当該装飾体により下降位置の可動役物を遊技者から見え難いように隠すことができる。これにより、可動役物を下降位置から上昇させると可動役物が出現するような演出を遊技者に見せることができ、遊技者に強いインパクトを与えて楽しませることが可能な遊技機を提供することができる。
手段3:手段1又は手段2の構成において、
「前記第二構成部は、前記球通路における後方に設けられている可動役物よりも下方の部位に、前記球通路を流下している遊技球を検知する球センサが設けられている」
ものであることを特徴とする。
手段3の構成によると、第二構成部は、球通路における後方に設けられている可動役物よりも下方の部位に、球通路を流下している遊技球を検知する球センサが設けられているものである([発明を実施するための形態]では、球センサ2813bに関する記載を参照)。
これにより、入球口に入球した遊技球を検知する球センサを、後方に設けられている可動役物よりも下方の部位に設けているため、球センサが可動役物の妨げになることはなく、可動役物による所望の演出効果を十分に発揮させることができる。
手段4:手段1から手段3までの何れか一つの構成において、
「前記球通路は、前記入球口と連通しており後方へ延出している支流部と、該支流部と合流しており前記遊技板の板面に沿って下方へ延出している本流部と、を有している」
ものであることを特徴とする。
手段4の構成によると、球通路は、入球口と連通しており後方へ延出している支流部と、支流部と合流しており遊技板の板面に沿って下方へ延出している本流部と、を有しているものである([発明を実施するための形態]では、球通路2812aにおける支流部2801及び本流部2802に関する記載を参照)。
これにより、各入球口において連通している夫々の支流部を、本流部に合流させて流下させるようにしているため、複数の入球口に対して夫々に球通路を設ける必要がなく、一つの球通路で纏めて排出させることができると共に、入球ユニットの後方の空間を確保し易くすることができる。
手段5:手段1から手段4までの何れか一つの構成において、
「前記第二構成部は、第一構成部の後側に取付けられている」
ものであることを特徴とする。
手段5の構成によると、第二構成部は、第一構成部の後側に取付けられているものである([発明を実施するための形態]では、サイドユニット2800の第二構成部2812に関する記載を参照)。
これにより、第一構成部の後側に第二構成部を取付けているため、第二構成部により第一構成部の剛性を高めることができる。詳述すると、例えば、リサイクル等による遊技機の分解作業において、第一構成部を前方へ引っ張って遊技板から取外す際に、第一構成部の剛性が低いと、第一構成部が撓んでしまい、その撓みによって遊技板の位置決孔に挿入されていた位置決突起が傾くことで、位置決孔から抜け難くなり、分解作業に手間がかかる恐れがある。これに対して、本手段では、第二構成部には球通路が設けられており、当該球通路はその断面がコ字状となっていることから、第二構成部の剛性が球通路の存在によって高められているため、この第二構成部を取付けることで第一構成部(入球ユニット)の剛性を高めることができる。従って、リサイクル等による遊技機の分解作業において、入球ユニットを前方へ引っ張った時に、入球ユニットの剛性が高められていることで位置決突起が突出している第一構成部が撓むことはないため、遊技板の位置決孔に対して位置決突起が傾くことはなく、遊技板から入球ユニットを簡単に取外すことができ、分別する際の分解作業を軽減することが可能な遊技機を提供することができる。
手段6:手段1から手段4までの何れか一つの構成において、
「前記第二構成部は、前記遊技板の後方に設けられている背面部材に取付けられている」
ものであることを特徴とする。
ここで、「背面部材」としては、「背面装飾体」、「裏ユニット」、「裏箱」、等が挙げられる。
手段6の構成によると、第二構成部は、遊技板の後方に設けられている背面部材に取付けられているものである([発明を実施するための形態]では、サイドユニット2800Aの第二構成部材2813に関する記載を参照)。
これにより、入球ユニットの第二構成部を、遊技板の後方の背面部材に取付けているため、球通路を遊技板の後側において遊技板を貫通している開口よりも下方へ延出させることが可能となる。詳述すると、第一構成部に第二構成部を取付けるようにすると、第一構成部により遊技板の開口を前側から塞ぐことから、球通路が設けられている第二構成部を開口よりも小さくする必要があり、球通路の一部を遊技板の後側において開口よりも下方へ延出させることが困難となる。これに対して、本手段では、第二構成部を遊技板の後方の背面部材に取付けているため、球通路の一部を遊技板の後側において開口よりも下方へ延出させるようにすることができる。従って、球通路を遊技板の下端まで延出させることが可能となるため、下方へ排出される遊技球の落下高さを低くすることができ、排出される遊技球による衝撃を低減させることができる。また、球通路の一部を遊技板の後側において開口よりも下方へ延出させるようにすることができるため、遊技板を貫通している開口を、遊技板の下端まで下方へ延長させる必要がなく、遊技板の強度が低下することはない。
また、入球ユニットの第二構成部を、遊技板の後方の背面部材に取付けているため、球通路に球センサを設ける場合、球センサのような電子部品が遊技板の後方の背面部材側に設けられることとなり、電子部品を背面部材側に纏めることができ、遊技板側に球センサのような電子部品を設ける必要がない。従って、遊技機の組立作業や分解作業において、遊技板側から電子部品の配線が延出していないため、当該配線が障害釘等の部材に引っ掛かって作業の邪魔になったり配線が切れてしまったりすることはない。
手段7:遊技機において、
「遊技球が入球可能な入球口を複数有し、前面を遊技球が流下可能な遊技板の前面に取付けられる入球ユニットを備える遊技機において、
前記入球ユニットは、
前記遊技板に設けられた位置決孔に挿入される位置決突起、及び前記遊技板に取付けるための取付孔を有し、前記遊技板を貫通するように設けられている開口を前側から塞ぐように前記遊技板に取付けられる第一構成部と、
該第一構成部の後側に設けられており、前記入球口に入球した遊技球が、前記遊技板の板厚内にかかるように前記開口内において前記遊技板の板面に沿って流下可能な球通路を有する第二構成部と、
を備え、
該第二構成部は、第一構成部の後側、又は、前記遊技板の後方に設けられている背面部材、に取付けられていると共に、可動役物よりも下方の部位に前記球通路を流下している遊技球を検知する球センサが設けられており、
前記球通路は、前記入球口と連通しており後方へ延出している支流部と、該支流部と合流しており前記遊技板の板面に沿って下方へ延出している本流部と、を有し、少なくとも前記可動役物の前方となる部位が前記遊技板の板厚内にかかるように設けられている」
ものであることを特徴とする。
手段7の構成によると、遊技球が入球可能な入球口を複数有し、前面を遊技球が流下可能な遊技板の前面に取付けられる入球ユニットを備える遊技機において、入球ユニットは、遊技板に設けられた位置決孔に挿入される位置決突起、及び遊技板に取付けるための取付孔を有し、遊技板を貫通するように設けられている開口を前側から塞ぐように遊技板に取付けられる第一構成部と、第一構成部の後側に設けられており、入球口に入球した遊技球が、遊技板の板厚内にかかるように開口内において遊技板の板面に沿って流下可能な球通路を有する第二構成部と、を備え、第二構成部は、第一構成部の後側、又は、遊技板の後方に設けられている背面部材、に取付けられていると共に、可動役物よりも下方の部位に球通路を流下している遊技球を検知する球センサが設けられており、球通路は、入球口と連通しており後方へ延出している支流部と、支流部と合流しており遊技板の板面に沿って下方へ延出している本流部と、を有し、少なくとも可動役物の前方となる部位が遊技板の板厚内にかかるように設けられているものである。
これにより、第一構成部の位置決突起を前方から遊技パネルの位置決孔に挿入した上で、取付孔を介して取付ビスを遊技板にねじ込んで締め付けることにより、遊技板の前面に第一構成部(入球ユニット)を取付けることができると共に、第一構成部により遊技板を貫通している開口を塞ぐことができるため、開口を通して遊技板の後方を見え難くすることができ、遊技機の見栄えを良くすることができると共に、遊技板の後側から開口を通して塵や埃等の異物が遊技板の前面側へ侵入することを防止することができる。そして、第一構成部の後側に設けられている第二構成部に、遊技板の板厚内にかかるように開口内において遊技板の板面に沿って延出している球通路を設けていることから、当該球通路により入球口に入球した遊技球を、遊技板の板厚内にかかるようにして流下させることができるため、遊技板の板厚を利用することにより、入球ユニットにおける遊技板の後面からの後方への突出量を可及的に小さくすることができ、入球ユニットの後方のスペースをより広く確保することができる。従って、入球ユニットの後方に、大きな演出装置や可動領域の広い演出装置(可動役物)等を設けることが可能となるため、よりインパクトのある演出を遊技者に提示することができ、遊技者に対する訴求力の高い遊技機を提供することができる。
また、球通路における演出装置としての可動役物の前方となる部位を、遊技板の板厚内にかかるようにしているため、可動役物が設けられている部位の前後方向のスペースを十分に確保することができると共に、可動役物の可動範囲をより広くすることができ、よりインパクトの高い演出を遊技者に見せることが可能な遊技機を提供することができる。
また、上述したように、遊技板の後側において可動役物が設けられている部位の前後方向のスペースを十分に確保することが可能となるため、例えば、入球ユニットと可動役物との間に装飾体を配置すること、当該装飾体により下降位置の可動役物を遊技者から見え難いように隠すことができる。これにより、可動役物を下降位置から上昇させると可動役物が出現するような演出を遊技者に見せることができ、遊技者に強いインパクトを与えて楽しませることが可能な遊技機を提供することができる。
更に、入球口に入球した遊技球を検知する球センサを、後方に設けられている可動役物よりも下方の部位に設けているため、球センサが可動役物の妨げになることはなく、可動役物による所望の演出効果を十分に発揮させることができる。
また、各入球口において連通している夫々の支流部を、本流部に合流させて流下させるようにしているため、複数の入球口に対して夫々に球通路を設ける必要がなく、一つの球通路で纏めて排出させることができると共に、入球ユニットの後方の空間を確保し易くすることができる。
また、第一構成部の後側に第二構成部を取付けるようにすると、第二構成部により第一構成部の剛性を高めることができる。詳述すると、例えば、リサイクル等による遊技機の分解作業において、第一構成部を前方へ引っ張って遊技板から取外す際に、第一構成部の剛性が低いと、第一構成部が撓んでしまい、その撓みによって遊技板の位置決孔に挿入されていた位置決突起が傾くことで、位置決孔から抜け難くなり、分解作業に手間がかかる恐れがある。これに対して、第二構成部を第一構成部の後側に取付けるようにすると、第二構成部には球通路が設けられており、当該球通路はその断面がコ字状となっていることから、第二構成部の剛性が球通路の存在によって高められているため、この第二構成部を取付けることで第一構成部(入球ユニット)の剛性を高めることができる。従って、リサイクル等による遊技機の分解作業において、入球ユニットを前方へ引っ張った時に、入球ユニットの剛性が高められていることで位置決突起が突出している第一構成部が撓むことはないため、遊技板の位置決孔に対して位置決突起が傾くことはなく、遊技板から入球ユニットを簡単に取外すことができ、分別する際の分解作業を軽減することが可能な遊技機を提供することができる。
更に、入球ユニットの第二構成部を、遊技板の後方の背面部材に取付けるようにすると、球通路を遊技板の後側において遊技板を貫通している開口よりも下方へ延出させることが可能となる。詳述すると、第一構成部に第二構成部を取付けるようにすると、第一構成部により遊技板の開口を前側から塞ぐことから、球通路が設けられている第二構成部を開口よりも小さくする必要があり、球通路の一部を遊技板の後側において開口よりも下方へ延出させることが困難となる。これに対して、第二構成部を遊技板の後方に設けられている背面部材に取付けるようにすると、球通路の一部を遊技板の後側において開口よりも下方へ延出させるようにすることができる。従って、球通路を遊技板の下端まで延出させることが可能となるため、下方へ排出される遊技球の落下高さを低くすることができ、排出される遊技球による衝撃を低減させることができる。また、球通路の一部を遊技板の後側において開口よりも下方へ延出させるようにすることができるため、遊技板を貫通している開口を、遊技板の下端まで下方へ延長させる必要がなく、遊技板の強度が低下することはない。
また、入球ユニットの第二構成部を遊技板の後方の背面部材に取付けるようにすると、球通路に設けられている球センサのような電子部品が遊技板の後方の背面部材側に設けられることとなり、電子部品を背面部材側に纏めることができ、遊技板側に球センサのような電子部品を設ける必要がない。従って、遊技機の組立作業や分解作業において、遊技板側から電子部品の配線が延出していないため、当該配線が障害釘等の部材に引っ掛かって作業の邪魔になったり配線が切れてしまったりすることはない。
なお、入球ユニットの第一構成部における遊技板に取付けるための取付孔を、位置決突起の近傍に設けることが望ましい。これにより、取付孔を介して取付ビスを遊技板にねじ込んで締め付けることで、位置決突起を遊技板側へ強く押し付けて遊技板の位置決孔へ確実に挿入させることができ、位置決突起の不完全挿入による浮き上がりを防止することができる。
このように、上記の解決手段によれば、入球ユニットの後方の空間を確保し易くすることでよりインパクトのある演出を提示することが可能な遊技機を提供することができる。
[15-3c.第三技術的特徴の解決手段と実施形態との関係]
本実施形態の遊技盤5における遊技パネル1100のパネル板1110は上記解決手段の遊技板に、本実施形態におけるパネル板1110の開口部1112は上記解決手段の開口に、本実施形態における位置決孔1113は上記解決手段の位置決孔に、本実施形態における一般入賞口2001、及び第一構成部材2811の球受部2811bは上記解決手段の入球口に、本実施形態におけるサイドユニット2800、サイドユニット2800A、サイドユニット2800B、サイドユニット2800C、サイドユニット2800Gは上記解決手段の入球ユニットに、夫々相当している。
また、本実施形態におけるユニット本体2810の第一構成部材2811は上記解決手段の第一構成部に、本実施形態における位置決突起2811cは上記解決手段の位置決突起に、本実施形態における取付孔2811dは上記解決手段の取付孔に、本実施形態における第二構成部材2812及び第二構成部材2813は上記解決手段の第二構成部に、本実施形態における球通路2812a及び球通路2813aは上記解決手段の球通路に、本実施形態における球センサ2813b及び球センサ2815は上記解決手段の球センサに、本実施形態における裏ユニット3000(裏箱3010)は上記解決手段の背面部材に、本実施形態における裏下演出ユニット3500は上記解決手段の可動役物に、夫々相当している。
[15-3d.第三技術的特徴の特徴的な作用効果]
ここでは、本実施形態におけるサイドユニット2800、サイドユニット2800A、サイドユニット2800B、サイドユニット2800C、及びサイドユニット2800Gの特徴として、サイドユニット2800を代表して記載する。本実施形態によれば、遊技盤5において、サイドユニット2800における第一構成部材2811の位置決突起2811cを前方から遊技パネル1100におけるパネル板1110の位置決孔1113に挿入した上で、取付孔2811dを介して取付ビスをパネル板1110にねじ込んで締め付けることにより、パネル板1110の前面に第一構成部材2811(サイドユニット2800)を取付けることができると共に、第一構成部材2811によりパネル板1110を貫通している開口部1112を塞ぐことができるため、開口部1112を通してパネル板1110の後方を見え難くすることができ、パチンコ機1の見栄えを良くすることができると共に、パネル板1110の後側から開口部1112を通して塵や埃等の異物がパネル板1110の前面(遊技領域5a)側へ侵入することを防止することができる。そして、第一構成部材2811の後側に設けられている第二構成部材2812に、パネル板1110の板厚内にかかるように開口部1112内においてパネル板1110の板面に沿って延出している球通路2812aを設けていることから、当該球通路2812aにより球受部2811b(一般入賞口2001)に入球した遊技球Bを、パネル板1110の板厚内にかかるようにして流下させることができるため、パネル板1110の板厚を利用することにより、サイドユニット2800におけるパネル板1110の後面からの後方への突出量を可及的に小さくすることができ、サイドユニット2800の後方のスペースをより広く確保することができる。従って、サイドユニット2800の後方に、裏下演出ユニット3500のような大きな演出装置や可動領域の広い演出装置等を設けることが可能となるため、よりインパクトのある演出を遊技者に提示することができ、遊技者に対する訴求力の高いパチンコ機1を提供することができる。
また、球通路2812aにおける裏下演出ユニット3500の前方となる部位を、パネル板1110の板厚内にかかるようにしているため、裏下演出ユニット3500が設けられている部位の前後方向のスペースを十分に確保することができると共に、裏下演出ユニット3500の可動範囲をより広くすることができ、よりインパクトの高い演出を遊技者に見せることが可能なパチンコ機1を提供することができる。
また、上述したように、パネル板1110の後側において裏下演出ユニット3500が設けられている部位の前後方向のスペースを十分に確保することが可能となるため、例えば、サイドユニット2800と裏下演出ユニット3500との間に装飾体を配置すること、当該装飾体により下降位置の裏下可動装飾体3510を遊技者から見え難いように隠すことができる。これにより、裏下可動装飾体3510を下降位置から上昇させると、裏下可動装飾体3510が出現するような演出を遊技者に見せることができ、遊技者に強いインパクトを与えて楽しませることが可能なパチンコ機1を提供することができる。
また、サイドユニット2800では、各球受部2811bにおいて連通している夫々の支流部2801を、本流部2802に合流させて流下させるようにしているため、複数の球受部2811bに対して夫々に球通路2812aを設ける必要がなく、一つの球通路2812aで纏めて排出させることができると共に、サイドユニット2800の後方の空間を確保し易くすることができる。
更に、サイドユニット2800Aでは、球受部2811b(一般入賞口2001)に入球した遊技球Bを検知する球センサ2813bを、後方に設けられている裏下演出ユニット3500よりも下方の部位に設けているため、球センサ2813bが裏下演出ユニット3500の妨げになることはなく、裏下演出ユニット3500による所望の演出効果を十分に発揮させることができる。
また、サイドユニット2800のように、第一構成部材2811の後側に第二構成部材2812を取付けるようにすると、第二構成部材2812により第一構成部材2811の剛性を高めることができる。詳述すると、例えば、リサイクル等によるパチンコ機1の分解作業において、第一構成部材2811を前方へ引っ張ってパネル板1110から取外す際に、第一構成部材2811の剛性が低いと、第一構成部材2811が撓んでしまい、その撓みによってパネル板1110の位置決孔1113に挿入されていた位置決突起2811cが傾くことで、位置決孔1113から抜け難くなり、分解作業に手間がかかる恐れがある。これに対して、第二構成部材2812を第一構成部材2811の後側に取付けるようにすると、第二構成部材2812には球通路2812aが設けられており、当該球通路2812aはその断面がコ字状となっていることから、第二構成部材2812の剛性が球通路2812aの存在によって高められているため、この第二構成部材2812を取付けることで第一構成部材2811(サイドユニット2800)の剛性を高めることができる。従って、リサイクル等によるパチンコ機1の分解作業において、サイドユニット2800を前方へ引っ張った時に、サイドユニット2800の剛性が高められていることで位置決突起2811cが突出している第一構成部材2811が撓むことはないため、パネル板1110の位置決孔1113に対して位置決突起2811cが傾くことはなく、パネル板1110からサイドユニット2800を簡単に取外すことができ、分別する際の分解作業を軽減することが可能なパチンコ機1を提供することができる。
更に、サイドユニット2800Aでは、第二構成部材2813を、パネル板1110の後方の裏ユニット3000等の背面部材に取付けるようにしているため、球通路2813aをパネル板1110の後側においてパネル板1110を貫通している開口部1112よりも下方へ延出させることが可能となる。詳述すると、第一構成部材2811に第二構成部材2812を取付けるようにすると、第一構成部材2811によりパネル板1110の開口部1112を前側から塞ぐことから、球通路2812aが設けられている第二構成部材2812を開口部1112よりも小さくする必要があり、球通路2812aの一部をパネル板1110の後側において開口部1112よりも下方へ延出させることが困難となる。これに対して、サイドユニット2800Aでは、第二構成部材2813をパネル板1110の後方に設けられている裏ユニット3000等の背面部材に取付けるようにしているため、球通路2813aの一部をパネル板1110の後側において開口部1112よりも下方へ延出させるようにすることができる。従って、球通路2813aをパネル板1110の下端まで延出させることが可能となるため、下方へ排出される遊技球Bの落下高さを低くすることができ、排出される遊技球Bによる衝撃を低減させることができる。また、球通路2813aの一部をパネル板1110の後側において開口部1112よりも下方へ延出させるようにすることができるため、パネル板1110を貫通している開口部1112を、パネル板1110の下端まで下方へ延長させる必要がなく、パネル板1110の強度が低下することはない。
また、サイドユニット2800Aでは、第二構成部材2813をパネル板1110の後方の裏ユニット3000等の背面部材に取付けるようにしているため、球通路2813aに設けられている球センサ2813bのような電子部品がパネル板1110の後方の背面部材側に設けられることとなり、電子部品を背面部材側に纏めることができ、パネル板1110側に球センサ2813bのような電子部品を設ける必要がない。従って、パチンコ機1の組立作業や分解作業において、パネル板1110側から電子部品の配線が延出していないため、当該配線が障害釘等の部材に引っ掛かって作業の邪魔になったり配線が切れてしまったりすることはない。
また、サイドユニット2800では、第一構成部材2811におけるパネル板1110に取付けるための取付孔2811dを、位置決突起2811cの近傍に設けているため、取付孔2811dを介して取付ビスをパネル板1110にねじ込んで締め付けることで、位置決突起2811cをパネル板1110側へ強く押し付けてパネル板1110の位置決孔1113へ確実に挿入させることができ、位置決突起2811cの不完全挿入による浮き上がりを防止することができる。
[15-4.第四技術的特徴]
本明細書には、上記とは異なる以下のような技術的特徴を有している。
[15-4a.第四技術的特徴の背景]
パチンコ機のような遊技機として、遊技球が流下可能な遊技領域が形成される遊技パネルの開口に前方から装着されており、所定の装飾が施されている装飾体を有するセンター役物を、備えたものが知られている(例えば、特許文献B:特開2017-074434号公報)。この特許文献Bの技術では、センター役物に設けられた装飾体により遊技機の見栄えを向上させるようにしている。
しかしながら、特許文献Bの技術では、平板状の装飾体をセンター役物の前端付近に設けているため、装飾体にレリーフ状の装飾が施されていても奥行き感に乏しく、遊技者によっては早期に見飽きてしまい、遊技者の興趣を低下させてしまう恐れがあった。
そこで、以下の手段では、上記の実情に鑑み、より装飾効果の高い装飾体を設けることで遊技者の興趣の低下を抑制させることが可能な遊技機の提供を課題とするものである。
[15-4b.第四技術的特徴の解決手段]
手段1:遊技機において、
「遊技球が流下可能な遊技領域が形成される遊技パネルを有する遊技盤を備えた遊技機において、
前記遊技盤は、
前記遊技パネルに形成された開口に前方から装着される枠状のセンターフレームと、
該センターフレームに取付けられており所定の装飾が施されている装飾体と、
を備え、
該装飾体は、
前記センターフレームの枠内に延出していると共に一部が該センターフレームの後端よりも後方へ突出している後装飾部と、該後装飾部よりも前方に設けられている前装飾部と、を有し、
前記後装飾部と前記前装飾部とは、互いに協調している装飾が施されている」
ものであることを特徴とする。
ここで、「遊技パネル」としては、「ベニヤ板(合板)のような不透明なパネル」、「透明樹脂からなるパネル板」、「透明樹脂からなるパネル板と、パネル板の外周縁を保持する枠状のパネルホルダと、から構成されているもの」、等が挙げられる。
また、「センターフレーム」としては、「遊技パネルの前面に当接可能な平板状のフランジ部と、フランジ部から前方へ延出しており遊技領域を流下する遊技球が遊技パネルの開口の内部に流入することを規制する流入規制部と、を有しているもの」、「遊技パネルの開口に挿入されると共に開口の内周面に沿うように設けられている挿入部と、挿入部の前端から遊技パネルの面に沿った方向へ延出し遊技パネルの前面に当接可能な平板状のフランジ部と、フランジ部よりも前方へ延出しており遊技領域を流下する遊技球が遊技パネルの開口の内部に流入することを規制する流入規制部と、を有しているもの」、等が挙げられる。
また、「装飾体」としては、「印刷や塗装等による絵柄からなる装飾が施されているもの」、「立体的に造形された装飾が施されているもの」、「メッキのような金属光沢を有する装飾が施されているもの」、等が挙げられる。
更に、「装飾体」としては、「LED基板に実装されているLEDの発光によって発光装飾されるもの」、「後方に設けられている電子部品(例えば、LED基板、中継基板、球センサ、磁気センサ、表示器(特別図柄の表示器)、ソレノイド、等)の配線を前方から視認し難くするための不透明部を有しているもの」、「センターフレームの後端よりも後方へ突出している電子部品(例えば、LED基板、中継基板、球センサ、磁気センサ、表示器(特別図柄の表示器)、ソレノイド、等)を有しているもの」、等が挙げられる。
また、「互いに協調している装飾」としては、「前装飾部の装飾と後装飾部の装飾とで一つの装飾(絵柄)を構成するような装飾」、「前装飾部の装飾と後装飾部の装飾とが互いに連続するような模様(図形)の装飾」、「前装飾部の装飾又は後装飾部の装飾が、後装飾部の装飾又は前装飾部の装飾を、引き立てる(強調する)ような装飾」、等が挙げられる。
手段1の構成によると、遊技球が流下可能な遊技領域が形成される遊技パネルを有する遊技盤を備えた遊技機において、遊技盤は、遊技パネルに形成された開口に前方から装着される枠状のセンターフレームと、センターフレームに取付けられており所定の装飾が施されている装飾体と、を備え、装飾体は、センターフレームの枠内に延出していると共に一部がセンターフレームの後端よりも後方へ突出している後装飾部と、後装飾部よりも前方に設けられている前装飾部と、を有し、後装飾部と前装飾部とは、互いに協調している装飾が施されているものである。([発明を実施するための形態]では、[11-2.第二実施形態のセンター役物]の章、及び、図70等の記載を参照)
これにより、遊技盤の遊技パネルに装着されるセンターフレームに、一部がセンターフレームの後端よりも後方へ突出している後装飾部と、後装飾部よりも前方に設けられている前装飾部とからなる装飾体を設けているため、装飾体の前装飾部と後装飾部とで奥行のある装飾を遊技者に見せることができる。この際に、後装飾部と前装飾部とに互いに協調している装飾を施しているため、大きな装飾を遊技者に見せることができ、後装飾部と前装飾部とで大きくて奥行きのある装飾効果の高い装飾体を構成することができる。従って、センターフレームに装飾効果の高い装飾体を設けることができるため、当該装飾体により遊技者の関心を強く引き付けさせて飽きさせ難くすることができ、遊技者の興趣の低下を抑制させることが可能な遊技機を提供することができる。
また、装飾体を構成している後装飾部を、センターフレームの枠内に延出させているため、後装飾部によって遊技パネルの前面の遊技領域を狭めてしまったり遊技領域を流下する遊技球を見え辛くしてしまったりすることはなく、遊技領域における遊技球による遊技を良好な状態で遊技者に楽しませることができる。
更に、装飾体を構成している後装飾部を、センターフレームの枠内に延出させているため、遊技パネルの後方に演出表示装置、可動装飾体や装飾体、等が設けられている場合、後装飾部によって、演出表示装置(表示画面)の周りを装飾したり、装飾体(可動装飾体)と協働してより装飾効果の高い装飾(演出)を見せたり、することができ、遊技者の関心を強く引き付けさせることが可能な訴求力の高い遊技機を提供することができる。
なお、前装飾部と後装飾部とを、正面視において少なくとも一部が重なるように設けることが望ましい。これにより、互いに協調している装飾が施されている前装飾部と後装飾部とを、正面視において一部が重なるように設けているため、正面(前)から見た時に、前装飾部の装飾と後装飾部の装飾との境目を判り難くすることが可能となり、前装飾部と後装飾部とによる大きな装飾をより良好な状態で遊技者に見せることができ、装飾体の装飾効果をより高めることができる。
また、センターフレームを透明に形成することが望ましい。これにより、センターフレームを透明にしているため、遊技者からセンターフレームを見え辛くして目立ち難くすることができ、相対的に装飾体(前装飾部及び後装飾部)を目立たせることができ、装飾体の装飾効果をより高めることができる。
更に、装飾体に、センターフレームに取付けられている電子部品の配線を前方から視認し難くする不透明部を有するようにしても良い。これにより、装飾体の不透明部により電子部品の配線を前方から視認し難くしていることから、不透明部により配線を隠すことができるため、配線が見えることで見栄えの悪化を防止することができ、装飾体による装飾効果をより発揮させ易くすることができる。
また、装飾体を、LEDが実装されているLED基板の前方に設けるようにしても良い。これにより、装飾体をLED基板の前方に設けるようにしていることから、装飾体(装飾)によってLED基板を隠すことができるため、LED基板が見えることで見栄えが悪くなることを回避させることができ、装飾体による装飾効果をより発揮させ易くすることができる。
また、センターフレームに、遊技領域内における遊技球による始動入球により抽選された特別図柄の抽選結果を表示可能な表示器を取付けるようにしても良い。これにより、センターフレームに特別図柄を表示するための表示器を取付けるようにしているため、センターフレームと一緒に表示器を遊技パネルに取付けることができ、表示器を別途に取付けるようにする場合と比較して、遊技機の組み立てにかかる手間を省くことができる。
手段2:手段1の構成において、
「前記前装飾部と前記後装飾部とは、正面視において少なくとも一部が重なるように設けられている」
ものであることを特徴とする。
手段2の構成によると、前装飾部と後装飾部とを、正面視において少なくとも一部が重なるように設けるものである。([発明を実施するための形態]では、装飾体2580に関する記載を参照)
これにより、互いに協調している装飾が施されている前装飾部と後装飾部とを、正面視において一部が重なるように設けているため、正面(前)から見た時に、前装飾部の装飾と後装飾部の装飾との境目を判り難くすることが可能となり、前装飾部と後装飾部とによる大きな装飾をより良好な状態で遊技者に見せることができ、装飾体の装飾効果をより高めることができる。
手段3:手段1及び手段2の構成において、
「前記センターフレームは、透明に形成されている」ものであることを特徴とする。
手段3の構成によると、センターフレームを透明に形成するものである。換言すると、センターフレームを透明な部材により形成するものである。([発明を実施するための形態]では、センターフレーム2511に関する記載を参照)
これにより、センターフレームを透明にしているため、遊技者からセンターフレームを見え辛くして目立ち難くすることができ、相対的に装飾体(前装飾部及び後装飾部)を目立たせることができ、装飾体の装飾効果をより高めることができる。
また、センターフレームを透明にしているため、遊技パネルを透明にすると共に遊技パネルの後方に装飾体や演出表示装置を設けるようにする場合、センターフレームが目立ち難くなることで透明な遊技パネルを通して見える装飾体や演出画像等をより目立ち易くすることができ、遊技者をより楽しませられる遊技機を提供することができる。
手段4:手段1から手段3までの何れか一つの構成において、
「前記装飾体は、
前記センターフレームに取付けられている電子部品の配線を前方から視認し難くする不透明部を有している」
ものであることを特徴とする。
ここで、「電子部品」としては、「LED基板」、「中継基板」、「遊技球を検知する球センサ」、「磁気センサ」、「特別図柄を表示するための表示器」、「可変入賞口を開閉させるためのソレノイド」、「可動装飾体を可動させるためのソレノイド又は駆動モータ」、等が挙げられる。
手段4の構成によると、装飾体に、センターフレームに取付けられている電子部品の配線を前方から視認し難くする不透明部を有するようにするものである。([発明を実施するための形態]では、装飾体2580に関する記載を参照)
これにより、装飾体の不透明部により電子部品の配線を前方から視認し難くしていることから、不透明部により配線を隠すことができるため、配線が見えることで見栄えの悪化を防止することができ、装飾体による装飾効果をより発揮させ易くすることができる。
手段5:手段1から手段4までの何れか一つの構成において、
「前記装飾体は、
LEDが実装されているLED基板の前方に設けられている」
ものであることを特徴とする。
手段5の構成によると、装飾体を、LEDが実装されているLED基板の前方に設けるようにするものである。([発明を実施するための形態]では、装飾体2580のLED基板2586に関する記載を参照)
これにより、装飾体をLED基板の前方に設けるようにしていることから、装飾体(装飾)によってLED基板を隠すことができるため、LED基板が見えることで見栄えが悪くなることを回避させることができ、装飾体による装飾効果をより発揮させ易くすることができる。
また、LED基板に実装されているLEDからの光が装飾体に照射されるようにすると、LED基板により装飾体を発光装飾させることができるため、装飾体を明るく奇麗に見せることができ、遊技者を楽しませて興趣の低下を抑制させることができる。
手段6:手段1から手段5までの何れか一つの構成において、
「前記センターフレームには、
前記遊技領域内における遊技球による始動入球により抽選された特別図柄の抽選結果を表示可能な表示器が取付けられている」
ものであることを特徴とする。
手段6の構成によると、センターフレームに、遊技領域内における遊技球による始動入球により抽選された特別図柄の抽選結果を表示可能な表示器を取付けるようにするものである。([発明を実施するための形態]では、図柄表示器2518に関する記載を参照)
これにより、センターフレームに特別図柄を表示するための表示器を取付けるようにしているため、センターフレームと一緒に表示器を遊技パネルに取付けることができ、表示器を別途に取付けるようにする場合と比較して、遊技機の組み立てにかかる手間を省くことができる。
手段7:遊技機において、
「遊技球が流下可能な遊技領域が形成される遊技パネルを有する遊技盤を備えた遊技機において、
前記遊技盤は、
前記遊技領域内における遊技球による始動入球により抽選された特別図柄の抽選結果を表示可能な表示器が取付けられており、前記遊技パネルに形成された開口に前方から装着される枠状の透明なセンターフレームと、
該センターフレームに取付けられており所定の装飾が施されていると共に、前記センターフレームに取付けられている電子部品の配線を前方から視認し難くする不透明部を有しており、LEDが実装されているLED基板の前方に設けられている装飾体と、
を備え、
該装飾体は、
前記センターフレームの枠内に延出していると共に一部が該センターフレームの後端よりも後方へ突出している後装飾部と、該後装飾部よりも前方に設けられている前装飾部と、を有し、
前記後装飾部と前記前装飾部とは、互いに協調している装飾が施されていると共に、正面視において少なくとも一部が重なるように設けられている」
ものであることを特徴とする。
手段7の構成によると、遊技機として、遊技球が流下可能な遊技領域が形成される遊技パネルを有する遊技盤を備えた遊技機において、遊技盤は、遊技領域内における遊技球による始動入球により抽選された特別図柄の抽選結果を表示可能な表示器が取付けられており、遊技パネルに形成された開口に前方から装着される枠状の透明なセンターフレームと、センターフレームに取付けられており所定の装飾が施されていると共に、センターフレームに取付けられている電子部品の配線を前方から視認し難くする不透明部を有しており、LEDが実装されているLED基板の前方に設けられている装飾体と、を備え、装飾体は、センターフレームの枠内に延出していると共に一部がセンターフレームの後端よりも後方へ突出している後装飾部と、後装飾部よりも前方に設けられている前装飾部と、を有し、後装飾部と前装飾部とは、互いに協調している装飾が施されていると共に、正面視において少なくとも一部が重なるように設けられているものである。
これにより、遊技盤の遊技パネルに装着される透明なセンターフレームに、一部がセンターフレームの後端よりも後方へ突出している後装飾部と、後装飾部よりも前方に設けられている前装飾部とからなる装飾体を設けているため、センターフレームが透明であることで目立ち難くして相対的に装飾体を目立たせることができると共に、装飾体の前装飾部と後装飾部とで奥行のある装飾を遊技者に見せることができる。この際に、後装飾部と前装飾部とに互いに協調している装飾を施していると共に、正面視において夫々の一部が重なるように設けているため、正面(前)から見た時に、前装飾部の装飾と後装飾部の装飾との境目を判り難くすることが可能となり、前装飾部と後装飾部とによる大きな装飾を良好な状態で遊技者に見せることができ、後装飾部と前装飾部とで大きくて奥行きのある装飾効果の高い装飾体を構成することができる。従って、センターフレームに装飾効果の高い装飾体を設けることができるため、当該装飾体により遊技者の関心を強く引き付けさせて飽きさせ難くすることができ、遊技者の興趣の低下を抑制させることが可能な遊技機を提供することができる。
また、装飾体を構成している後装飾部を、センターフレームの枠内に延出させているため、後装飾部によって遊技パネルの前面の遊技領域を狭めてしまったり遊技領域を流下する遊技球を見え辛くしてしまったりすることはなく、遊技領域における遊技球による遊技を良好な状態で遊技者に楽しませることができる。
更に、装飾体を構成している後装飾部を、センターフレームの枠内に延出させているため、遊技パネルの後方に演出表示装置、可動装飾体や装飾体、等が設けられている場合、後装飾部によって、演出表示装置(表示画面)の周りを装飾したり、装飾体(可動装飾体)と協働してより装飾効果の高い装飾(演出)を見せたり、することができ、遊技者の関心を強く引き付けさせることが可能な訴求力の高い遊技機を提供することができる。
また、装飾体の不透明部により電子部品の配線を前方から視認し難くしていることから、不透明部により配線を隠すことができるため、配線が見えることで見栄えの悪化を防止することができ、装飾体による装飾効果をより発揮させ易くすることができる。
更に、装飾体をLED基板の前方に設けるようにしていることから、装飾体(装飾)によってLED基板を隠すことができるため、LED基板が見えることで見栄えが悪くなることを回避させることができ、装飾体による装飾効果をより発揮させ易くすることができる。
また、センターフレームに特別図柄を表示するための表示器を取付けるようにしているため、センターフレームと一緒に表示器を遊技パネルに取付けることができ、表示器を別途に取付けるようにする場合と比較して、遊技機の組み立てにかかる手間を省くことができる。
このように、上記の解決手段によれば、より装飾効果の高い装飾体を設けることで遊技者の興趣の低下を抑制させることが可能な遊技機を提供することができる。
[15-4c.第四技術的特徴の解決手段と実施形態との関係]
本実施形態の遊技盤5におけるパネル板1110とパネルホルダ1120とからなる遊技パネル1100は上記解決手段の遊技パネルに、本実施形態におけるパネル板1110の開口部1112は上記解決手段の遊技パネルの開口に、本実施形態におけるセンター役物2500のセンターフレーム2511は上記解決手段のセンターフレームに、本実施形態における図柄表示器2518は上記解決手段の表示器に、本実施形態における装飾体2580は上記解決手段の装飾体に、本実施形態における前装飾部2581は上記解決手段の前装飾部に、本実施形態における後装飾部2582は上記解決手段の後装飾部に、本実施形態におけるLED基板2586は上記解決手段のLED基板に、夫々相当している。
[15-4d.第四技術的特徴の特徴的な作用効果]
本実施形態によれば、遊技盤5の遊技パネル1100に装着される透明なセンターフレーム2511に、一部がセンターフレーム2511の後端よりも後方へ突出している後装飾部2582と、後装飾部2582よりも前方に設けられている前装飾部2581とからなる装飾体2580を設けているため、センターフレーム2511が透明であることで目立ち難くして相対的に装飾体2580を目立たせることができると共に、装飾体2580の前装飾部2581と後装飾部2582とで奥行のある装飾を遊技者に見せることができる。この際に、後装飾部2582と前装飾部2581とに互いに協調している装飾を施していると共に、正面視において夫々の一部が重なるように設けているため、正面(前)から見た時に、前装飾部2581の装飾と後装飾部2582の装飾との境目を判り難くすることが可能となり、前装飾部2581と後装飾部2582とによる大きな装飾を良好な状態で遊技者に見せることができ、後装飾部2582と前装飾部2581とで大きくて奥行きのある装飾効果の高い装飾体2580を構成することができる。従って、センターフレーム2511に装飾効果の高い装飾体2580を設けることができるため、当該装飾体2580により遊技者の関心を強く引き付けさせて飽きさせ難くすることができ、遊技者の興趣の低下を抑制させることが可能なパチンコ機1を提供することができる。
また、本実施形態によれば、装飾体2580を構成している後装飾部2582を、センターフレーム2511の枠内に延出させているため、後装飾部2582によって遊技パネル1100の前面の遊技領域5aを狭めてしまったり遊技領域5aを流下する遊技球Bを見え辛くしてしまったりすることはなく、遊技領域5aにおける遊技球Bによる遊技を良好な状態で遊技者に楽しませることができる。
更に、本実施形態によれば、装飾体2580を構成している後装飾部2582を、センターフレーム2511の枠内に延出させているため、遊技パネル1100の後方に設けられている演出表示装置1600、裏前演出ユニット3300、裏後演出ユニット3400等に対して、演出表示装置1600(表示画面)の周りを装飾したり、裏前演出ユニット3300や裏後演出ユニット3400の装飾体(可動装飾体)と協働してより装飾効果の高い装飾(演出)を見せたり、することができ、遊技者の関心を強く引き付けさせることが可能な訴求力の高いパチンコ機1を提供することができる。
また、本実施形態によれば、装飾体2580の不透明部によりLED基板2586のような電子部品の配線を前方から視認し難くしていることから、不透明部により配線を隠すことができるため、配線が見えることで見栄えの悪化を防止することができ、装飾体2580による装飾効果をより発揮させ易くすることができる。
更に、本実施形態によれば、装飾体2580(前装飾部2581)をLED基板2586の前方に設けるようにしていることから、装飾体2580(装飾)によってLED基板2586を隠すことができるため、LED基板2586が見えることで見栄えが悪くなることを回避させることができ、装飾体2580による装飾効果をより発揮させ易くすることができる。
また、本実施形態によれば、センターフレーム2511に特別図柄を表示するための図柄表示器2518を取付けるようにしているため、センターフレーム2511と一緒に図柄表示器2518を遊技パネル1100に取付けることができ、図柄表示器2518を別途に取付けるようにする場合と比較して、パチンコ機1の組立てにかかる手間を省くことができる。
[15-5.第五技術的特徴]
本明細書には、上記とは異なる以下のような技術的特徴を有している。
[15-5a.第五技術的特徴の背景]
パチンコ機のような遊技機として、遊技球が流下可能な遊技領域が形成される遊技パネルの開口に前方から装着されており、所定の装飾が施されている装飾体を有するセンター役物を、備えたものが知られている(例えば、特許文献B:特開2017-074434号公報)。この特許文献Bの技術では、センター役物に設けられた装飾体により遊技機の見栄えを向上させるようにしている。
しかしながら、特許文献Bの技術では、平板状の装飾体をセンター役物の前端付近に設けているため、装飾体にレリーフ状の装飾が施されていても奥行き感に乏しく、遊技者によっては早期に見飽きてしまい、遊技者の興趣を低下させてしまう恐れがあった。
これに対して、センター役物に前後方向へ立体的に形成した装飾体を設けることで、装飾性を高めることが考えられるが、装飾体の後端がセンター役物(センターフレーム)よりも後方に突出していると、遊技機の製造時において突出している部位が邪魔になり易く、取回し(取扱い性)が悪くなることで、製造にかかるコストが増加する恐れがある。
そこで、以下の手段では、上記の実情に鑑み、装飾性を維持しつつ製造時における取扱い性を向上させることが可能な遊技機の提供を課題とするものである。
[15-5b.第五技術的特徴の解決手段]
手段1:遊技機において、
「遊技球が流下可能な遊技領域が形成される遊技パネルを有する遊技盤を備えた遊技機において、
前記遊技盤は、
前記遊技パネルに形成された開口に前方から装着される枠状のセンターフレームと、
該センターフレームに取付けられており所定の装飾が施されている装飾体と、
を備え、
該装飾体は、
前記センターフレームの枠内に延出しており、該センターフレームの後端よりも前方に設けられている後装飾部と、
該後装飾部における少なくとも一部の前方に重なるように設けられている前装飾部と、を有している」ものであることを特徴とする。
ここで、「遊技パネル」としては、「ベニヤ板(合板)のような不透明なパネル」、「透明樹脂からなるパネル板」、「透明樹脂からなるパネル板と、パネル板の外周縁を保持する枠状のパネルホルダと、から構成されているもの」、等が挙げられる。
また、「センターフレーム」としては、「遊技パネルの前面に当接可能な平板状のフランジ部と、フランジ部から前方へ延出しており遊技領域を流下する遊技球が遊技パネルの開口の内部に流入することを規制する流入規制部と、を有しているもの」、「遊技パネルの開口に挿入されると共に開口の内周面に沿うように設けられている挿入部と、挿入部の前端から遊技パネルの面に沿った方向へ延出し遊技パネルの前面に当接可能な平板状のフランジ部と、フランジ部よりも前方へ延出しており遊技領域を流下する遊技球が遊技パネルの開口の内部に流入することを規制する流入規制部と、を有しているもの」、等が挙げられる。
また、「装飾体」としては、「印刷や塗装等による絵柄からなる装飾が施されているもの」、「立体的に造形された装飾が施されているもの」、「メッキのような金属光沢を有する装飾が施されているもの」、等が挙げられる。
更に、「装飾体」としては、「LED基板に実装されているLEDの発光によって発光装飾されるもの」、「後方に設けられている電子部品(例えば、LED基板、中継基板、球センサ、磁気センサ、表示器(特別図柄の表示器)、ソレノイド、等)の配線を前方から視認し難くするための不透明部を有しているもの」、「センターフレームの後端よりも後方へ突出している電子部品(例えば、LED基板、中継基板、球センサ、磁気センサ、表示器(特別図柄の表示器)、ソレノイド、等)を有しているもの」、等が挙げられる。
また、装飾体を構成している後装飾部と前装飾部との関係としては、「後装飾部に、前装飾部の装飾と協調している装飾が施されているもの」、「後装飾部に、前装飾部の装飾と協調するように同じ装飾が施されているもの」、「後装飾部に、前装飾部の装飾とは異なる装飾が施されているもの」、「前装飾部の装飾(前装飾)に、後方の後装飾部の装飾(後装飾)が視認可能な透過部を有しているもの」、「前装飾部の装飾(前装飾)に、後方の後装飾部の装飾(後装飾)が視認可能な透過部と、透過部に設けられ前装飾の一部を構成している装飾が施されている複数のドット部と、を有しているもの」、等が挙げられる。
手段1の構成によると、遊技球が流下可能な遊技領域が形成される遊技パネルを有する遊技盤を備えた遊技機において、遊技盤は、遊技パネルに形成された開口に前方から装着される枠状のセンターフレームと、センターフレームに取付けられており所定の装飾が施されている装飾体と、を備え、装飾体は、センターフレームの枠内に延出しており、センターフレームの後端よりも前方に設けられている後装飾部と、後装飾部における少なくとも一部の前方に重なるように設けられている前装飾部と、を有しているものである。([発明を実施するための形態]では、[11-1.第一実施形態のセンター役物]の章、及び、図66乃至図69等の記載を参照)
これにより、遊技盤の遊技パネルに装着されるセンターフレームに、センターフレームの後端よりも前方に設けられている後装飾部と、後装飾部における少なくとも一部の前方と重なるように設けられている前装飾部とからなる装飾体を設けているため、装飾体の前装飾部と後装飾部とで奥行のある装飾を遊技者に見せることができる。この際に、後装飾部の一部と前装飾部とが重なるようにしているため、正面(前)から見た時に、前装飾部の装飾と後装飾部の装飾との境目を判り難くすることが可能となり、前装飾部と後装飾部とによる大きな装飾を遊技者に見せることができ、後装飾部と前装飾部とで大きくて奥行きのある装飾効果の高い装飾体を構成することができる。従って、センターフレームに装飾効果の高い装飾体を設けることができるため、当該装飾体により遊技者の関心を強く引き付けさせて飽きさせ難くすることができ、遊技者の興趣の低下を抑制させることが可能な遊技機を提供することができる。
また、後装飾部をセンターフレームの後端よりも前方に設けており、センターフレームから後方へ突出することで遊技機の製造時において邪魔になるような部位が存在していないため、製造時における取回し(取扱い性)を良くすることができ、作業性が向上することにより製造にかかるコストの増加を抑制させることができる。具体的には、例えば、センターフレームの後端側を下にして作業台等に置いた時に、センターフレームがガタツクことはない。或いは、組立作業や運搬作業等においてセンターフレームを取回す際に、センターフレームの後端から装飾体の一部が後方へ突出していないため、センターフレームから突出している部位が他の部材等に当接して傷付いたり破損したりする恐れがない。このようなことから、細心の注意を払いながら作業する必要がなく、作業性を向上させることができる。
更に、装飾体を構成している後装飾部を、センターフレームの枠内に延出させているため、後装飾部によって遊技パネルの前面の遊技領域を狭めてしまったり遊技領域を流下する遊技球を見え辛くしてしまったりすることはなく、遊技領域における遊技球による遊技を良好な状態で遊技者に楽しませることができる。
また、装飾体を構成している後装飾部を、センターフレームの枠内に延出させているため、遊技パネルの後方に演出表示装置、可動装飾体や装飾体、等が設けられている場合、後装飾部によって、演出表示装置(表示画面)の周りを装飾したり、装飾体(可動装飾体)と協働してより装飾効果の高い装飾(演出)を見せたり、することができ、遊技者の関心を強く引き付けさせることが可能な訴求力の高い遊技機を提供することができる。
なお、後装飾部には、前装飾部の装飾と協調している装飾を施すようにすることが望ましい。これにより、後装飾部に前装飾部の装飾と協調する装飾を施すようにしているため、後装飾部の装飾と前装飾部の装飾とで一つの大きな装飾を遊技者に見せることができ、装飾体の装飾効果をより高めることができる。
また、センターフレームを透明にすることが望ましい。これにより、センターフレームを透明にしているため、遊技者からセンターフレームを見え辛くして目立ち難くすることができ、相対的に装飾体(前装飾部及び後装飾部)を目立たせることができ、装飾体の装飾効果をより高めることができる。
また、装飾体に、センターフレームに取付けられている電子部品の配線を前方から視認し難くする不透明部を有するようにしても良い。これにより、装飾体の不透明部により電子部品の配線を前方から視認し難くしていることから、不透明部により配線を隠すことができるため、配線が見えることで見栄えの悪化を防止することができ、装飾体による装飾効果をより発揮させ易くすることができる。
更に、後装飾部には、正面視において前装飾部の前装飾における前方に重なっている部位と同じ装飾の後装飾が施されており、前装飾部には、前装飾における少なくとも前装飾部と後装飾部との間の一部に設けられている遊技球が流通する球通路の前方の部位に、後装飾及び球通路を流通している遊技球を前方から視認可能な透過部を有するようにしても良い。これにより、前装飾部と後装飾部との間に設けられている球通路を遊技球が流通していない時には、前装飾部の前装飾における球通路の前方の部位に設けられている透過部を通して、後方に設けられている後装飾部の後装飾を視認することができる。この際に、後装飾部の後装飾が前装飾部の前装飾と同じ装飾であるため、後装飾部の後装飾が前装飾部の前装飾における透過部を補うことで、前装飾部の前装飾に透過部が無いよう本来の装飾を遊技者に見せることができ、装飾体による装飾効果を確実に発揮させることができる。一方、前装飾部と後装飾部との間に設けられている球通路を遊技球が流通している時には、前装飾部の前装飾における透過部を通して遊技球が見えることとなるため、一時的にせよ遊技球が見えなくなることで遊技者に対して不信感や不安感等を与えてしまうことを回避させることができ、遊技球による遊技を楽しませて興趣の低下を抑制させることができる。
また、上記のように、前装飾部の前装飾における球通路の前方の部位に透過部を設けると共に、透過部の後方の後装飾部に前装飾と同じ後装飾を施す場合、前装飾部は、透過部に設けられ遊技球よりも小さい大きさで前装飾の一部を構成している装飾が施されている複数のドット部を有するようにしても良い。これにより、前装飾部の前装飾における透過部を通して見える後装飾部の装飾が、前装飾部と後装飾部との間に設けられている球通路を流通している遊技球により遮られて見えなくなっても、当該遊技球の前方の透過部に設けられている複数のドット部の装飾が見えることで、遊技者に対して球通路内の遊技球を視認させつつ装飾体の見栄えが悪くなることを回避させることができ、装飾体による装飾効果を十分に発揮させることができる。
また、装飾体を、LEDが実装されているLED基板の前方に設けるようにしても良い。これにより、装飾体をLED基板の前方に設けるようにしていることから、装飾体(装飾)によってLED基板を隠すことができるため、LED基板が見えることで見栄えが悪くなることを回避させることができ、装飾体による装飾効果をより発揮させ易くすることができる。
また、センターフレームに、遊技領域内における遊技球による始動入球により抽選された特別図柄の抽選結果を表示可能な表示器を取付けるようにしても良い。これにより、センターフレームに特別図柄を表示するための表示器を取付けるようにしているため、センターフレームと一緒に表示器を遊技パネルに取付けることができ、表示器を別途に取付けるようにする場合と比較して、遊技機の組み立てにかかる手間を省くことができる。
手段2:手段1の構成において、
「前記後装飾部には、前記前装飾部の装飾と協調している装飾が施されている」
ものであることを特徴とする。
ここで、「協調している装飾」としては、「前装飾部の装飾と後装飾部の装飾とで一つの装飾(絵柄)を構成するような装飾」、「前装飾部の装飾と後装飾部の装飾とが互いに連続するような模様(図形)の装飾」、「前装飾部の装飾又は後装飾部の装飾が、後装飾部の装飾又は前装飾部の装飾を、引き立てる(強調する)ような装飾」、等が挙げられる。
手段2の構成によると、後装飾部には、前装飾部の装飾と協調している装飾を施すようにするものである。([発明を実施するための形態]では、装飾体2570及び装飾体2570Aに関する記載を参照)
これにより、後装飾部に前装飾部の装飾と協調する装飾を施すようにしているため、後装飾部の装飾と前装飾部の装飾とで一つの大きな装飾を遊技者に見せることができ、装飾体の装飾効果をより高めることができる。
手段3:手段1又は手段2の構成において、
「前記センターフレームは、透明に形成されている」
ものであることを特徴とする。
手段3の構成によると、センターフレームを透明に形成するものである。換言すると、センターフレームを透明な部材により形成するものである。([発明を実施するための形態]では、センターフレーム2511に関する記載を参照)
これにより、センターフレームを透明にしているため、遊技者からセンターフレームを見え辛くして目立ち難くすることができ、相対的に装飾体(前装飾部及び後装飾部)を目立たせることができ、装飾体の装飾効果をより高めることができる。
また、センターフレームを透明にしているため、遊技パネルを透明にすると共に遊技パネルの後方に装飾体や演出表示装置を設けるようにする場合、センターフレームが目立ち難くなることで透明な遊技パネルを通して見える装飾体や演出画像等をより目立ち易くすることができ、遊技者をより楽しませられる遊技機を提供することができる。
手段4:手段1から手段3までの何れか一つの構成において、
「前記装飾体は、
前記センターフレームに取付けられている電子部品の配線を前方から視認し難くする不透明部を有している」
ものであることを特徴とする。
ここで、「電子部品」としては、「LED基板」、「中継基板」、「遊技球を検知する球センサ」、「磁気センサ」、「特別図柄を表示するための表示器」、「可変入賞口を開閉させるためのソレノイド」、「可動装飾体を可動させるためのソレノイド又は駆動モータ」、等が挙げられる。
手段4の構成によると、装飾体に、センターフレームに取付けられている電子部品の配線を前方から視認し難くする不透明部を有するようにするものである。([発明を実施するための形態]では、装飾体2570及び装飾体2570Aに関する記載を参照)
これにより、装飾体の不透明部により電子部品の配線を前方から視認し難くしていることから、不透明部により配線を隠すことができるため、配線が見えることで見栄えの悪化を防止することができ、装飾体による装飾効果をより発揮させ易くすることができる。
手段5:手段1から手段4までの何れか一つの構成において、
「前記後装飾部には、正面視において前記前装飾部の前装飾における前方に重なっている部位と同じ装飾の後装飾が施されており、
前記前装飾部には、前記前装飾における少なくとも前記前装飾部と前記後装飾部との間の一部に設けられている遊技球が流通する球通路の前方の部位に、前記後装飾及び前記球通路を流通している遊技球を前方から視認可能な透過部を有している」
ものであることを特徴とする。
ここで、「透過部」としては、「無色透明の部位」、「有色透明の部位」、「貫通孔の部位」、等が挙げられる。
手段5の構成によると、後装飾部には、正面視において前装飾部の前装飾における前方に重なっている部位と同じ装飾の後装飾が施されており、前装飾部には、前装飾における少なくとも前装飾部と後装飾部との間の一部に設けられている遊技球が流通する球通路の前方の部位に、後装飾及び球通路を流通している遊技球を前方から視認可能な透過部を有するようにするものである。([発明を実施するための形態]では、装飾体2570に関する記載を参照)
これにより、前装飾部と後装飾部との間に設けられている球通路を遊技球が流通していない時には、前装飾部の前装飾における球通路の前方の部位に設けられている透過部を通して、後方に設けられている後装飾部の後装飾を視認することができる。この際に、後装飾部の後装飾が前装飾部の前装飾と同じ装飾であるため、後装飾部の後装飾が前装飾部の前装飾における透過部を補うことで、前装飾部の前装飾に透過部が無いよう本来の装飾を遊技者に見せることができ、装飾体による装飾効果を確実に発揮させることができる。
一方、前装飾部と後装飾部との間に設けられている球通路を遊技球が流通している時には、前装飾部の前装飾における透過部を通して遊技球が見えることとなるため、一時的にせよ遊技球が見えなくなることで遊技者に対して不信感や不安感等を与えてしまうことを回避させることができ、遊技球による遊技を楽しませて興趣の低下を抑制させることができる。
手段6:手段5の構成において、
「前記前装飾部は、
前記透過部に設けられており遊技球よりも小さい大きさで前記前装飾の一部を構成している装飾が施されている複数のドット部を有している」
ものであることを特徴とする。
手段6の構成によると、前装飾部は、透過部に設けられ遊技球よりも小さい大きさで前装飾の一部を構成している装飾が施されている複数のドット部を有しているものである。([発明を実施するための形態]では、装飾体2570に関する記載を参照)
これにより、前装飾部の前装飾における透過部を通して見える後装飾部の装飾が、前装飾部と後装飾部との間に設けられている球通路を流通している遊技球により遮られて見えなくなっても、当該遊技球の前方の透過部に設けられている複数のドット部の装飾が見えることで、遊技者に対して球通路内の遊技球を視認させつつ装飾体の見栄えが悪くなることを回避させることができ、装飾体による装飾効果を十分に発揮させることができる。
手段7:遊技機において、
「遊技球が流下可能な遊技領域が形成される遊技パネルを有する遊技盤を備えた遊技機において、
前記遊技盤は、
前記遊技パネルに形成された開口に前方から装着される枠状の透明なセンターフレームと、
該センターフレームに取付けられており所定の装飾が施されていると共に、前記センターフレームに取付けられている電子部品の配線を前方から視認し難くする不透明部を有している装飾体と、
を備え、
該装飾体は、
前記センターフレームの枠内に延出しており、該センターフレームの後端よりも前方に設けられている後装飾部と、
該後装飾部における少なくとも一部の前方に重なるように設けられている前装飾部と、を有し、
前記後装飾部には、前記前装飾部の前装飾と協調し正面視において前記前装飾部の前記前装飾における前方に重なっている部位と同じ装飾の後装飾が施されており、
前記前装飾部には、前記前装飾における少なくとも前記前装飾部と前記後装飾部との間の一部に設けられている遊技球が流通する球通路の前方の部位に、前記後装飾及び前記球通路を流通している遊技球を前方から視認可能な透過部と、前記透過部に設けられており遊技球よりも小さい大きさで前記前装飾の一部を構成している装飾が施されている複数のドット部と、を有している」
ものであることを特徴とする。
手段7の構成によると、遊技球が流下可能な遊技領域が形成される遊技パネルを有する遊技盤を備えた遊技機において、遊技盤は、遊技パネルに形成された開口に前方から装着される枠状の透明なセンターフレームと、センターフレームに取付けられており所定の装飾が施されていると共に、センターフレームに取付けられている電子部品の配線を前方から視認し難くする不透明部を有している装飾体と、を備え、装飾体は、センターフレームの枠内に延出しており、センターフレームの後端よりも前方に設けられている後装飾部と、後装飾部における少なくとも一部の前方に重なるように設けられている前装飾部と、を有し、後装飾部には、前装飾部の前装飾と協調し正面視において前装飾部の前装飾における前方に重なっている部位と同じ装飾の後装飾が施されており、前装飾部には、前装飾における少なくとも前装飾部と後装飾部との間の一部に設けられている遊技球が流通する球通路の前方の部位に、後装飾及び球通路を流通している遊技球を前方から視認可能な透過部と、透過部に設けられており遊技球よりも小さい大きさで前装飾の一部を構成している装飾が施されている複数のドット部と、を有しているものである。
これにより、遊技盤の遊技パネルに装着される透明なセンターフレームに、センターフレームの後端よりも前方に設けられている後装飾部と、後装飾部における少なくとも一部の前方と重なるように設けられている前装飾部とからなる装飾体を設けているため、センターフレームが透明であることで目立ち難くして相対的に装飾体を目立たせることができると共に、装飾体の前装飾部と後装飾部とで奥行のある装飾を遊技者に見せることができる。この際に、後装飾部と前装飾部とに互いに協調している装飾を施していると共に、正面視において夫々の一部が重なるように設けているため、正面(前)から見た時に、前装飾部の装飾と後装飾部の装飾との境目を判り難くすることが可能となり、前装飾部と後装飾部とによる大きな装飾を良好な状態で遊技者に見せることができ、後装飾部と前装飾部とで大きくて奥行きのある装飾効果の高い装飾体を構成することができる。従って、センターフレームに装飾効果の高い装飾体を設けることができるため、当該装飾体により遊技者の関心を強く引き付けさせて飽きさせ難くすることができ、遊技者の興趣の低下を抑制させることが可能な遊技機を提供することができる。
また、後装飾部には、正面視において前装飾部の前装飾における前方に重なっている部位と同じ装飾の後装飾を施し、前装飾部には、前装飾における少なくとも前装飾部と後装飾部との間の一部に設けられている遊技球が流通する球通路の前方の部位に、後装飾及び球通路を流通している遊技球を前方から視認可能な透過部と、透過部に設けられ遊技球よりも小さい大きさで前装飾の一部を構成している装飾が施されている複数のドット部と、を有するようにしているため、前装飾部と後装飾部との間に設けられている球通路を遊技球が流通していない時には、前装飾部の前装飾における球通路の前方の部位に設けられている透過部を通して、後方に設けられている後装飾部の後装飾を視認することができる。この際に、後装飾部の後装飾が前装飾部の前装飾と同じ装飾であるため、後装飾部の後装飾が前装飾部の前装飾における透過部を補うことで、前装飾部の前装飾に透過部が無いよう本来の装飾を遊技者に見せることができ、装飾体による装飾効果を確実に発揮させることができる。
一方、前装飾部と後装飾部との間に設けられている球通路を遊技球が流通している時には、前装飾部の前装飾における透過部を通して遊技球が見えることとなるため、一時的にせよ遊技球が見えなくなることで遊技者に対して不信感や不安感等を与えてしまうことを回避させることができ、遊技球による遊技を楽しませて興趣の低下を抑制させることができる。この際に、透過部に前装飾の一部を構成している複数のドット部を設けているため、前装飾部の前装飾における透過部を通して見える後装飾部の装飾が、前装飾部と後装飾部との間に設けられている球通路を流通している遊技球により遮られて見えなくなっても、当該遊技球の前方の透過部に設けられている複数のドット部の装飾が見えることで、遊技者に対して球通路内の遊技球を視認させつつ装飾体の見栄えが悪くなることを回避させることができ、装飾体による装飾効果を十分に発揮させることができる。
また、後装飾部をセンターフレームの後端よりも前方に設けており、センターフレームから後方へ突出することで遊技機の製造時において邪魔になるような部位が存在していないため、製造時における取回し(取扱い性)を良くすることができ、作業性が向上することにより製造にかかるコストの増加を抑制させることができる。具体的には、例えば、センターフレームの後端側を下にして作業台等に置いた時に、センターフレームがガタツクことはない。或いは、組立作業や運搬作業等においてセンターフレームを取回す際に、センターフレームの後端から装飾体の一部が後方へ突出していないため、センターフレームから突出している部位が他の部材等に当接して傷付いたり破損したりする恐れがない。このようなことから、細心の注意を払いながら作業する必要がなく、作業性を向上させることができる。
また、装飾体を構成している後装飾部を、センターフレームの枠内に延出させているため、後装飾部によって遊技パネルの前面の遊技領域を狭めてしまったり遊技領域を流下する遊技球を見え辛くしてしまったりすることはなく、遊技領域における遊技球による遊技を良好な状態で遊技者に楽しませることができる。
更に、装飾体を構成している後装飾部を、センターフレームの枠内に延出させているため、遊技パネルの後方に演出表示装置、可動装飾体や装飾体、等が設けられている場合、後装飾部によって、演出表示装置(表示画面)の周りを装飾したり、装飾体(可動装飾体)と協働してより装飾効果の高い装飾(演出)を見せたり、することができ、遊技者の関心を強く引き付けさせることが可能な訴求力の高い遊技機を提供することができる。
また、装飾体の不透明部により電子部品の配線を前方から視認し難くしていることから、不透明部により配線を隠すことができるため、配線が見えることで見栄えの悪化を防止することができ、装飾体による装飾効果をより発揮させ易くすることができる。
このように、上記の解決手段によれば、装飾性を維持しつつ製造時における取扱い性を向上させることが可能な遊技機を提供することができる。
[15-5c.第五技術的特徴の解決手段と実施形態との関係]
本実施形態の遊技盤5におけるパネル板1110とパネルホルダ1120とからなる遊技パネル1100は上記解決手段の遊技パネルに、本実施形態におけるパネル板1110の開口部1112は上記解決手段の遊技パネルの開口に、本実施形態におけるセンター役物2500のセンターフレーム2511は上記解決手段のセンターフレームに、本実施形態における球通路2517は上記解決手段の球通路に、本実施形態における装飾体2570及び装飾体2570Aは上記解決手段の装飾体に、本実施形態における前装飾部2572は上記解決手段の前装飾部に、本実施形態における透過部2572aは上記解決手段の透過部に、本実施形態におけるドット部2572bは上記解決手段のドット部に、本実施形態における後装飾部2573は上記解決手段の後装飾部に、夫々相当している。
[15-5d.第五技術的特徴の特徴的な作用効果]
本実施形態によれば、遊技盤5の遊技パネル1100に装着される透明なセンターフレーム2511に、センターフレーム2511の後端よりも前方に設けられている後装飾部2573と、後装飾部2573における少なくとも一部の前方と重なるように設けられている前装飾部2572とからなる装飾体2570(装飾体2570A)を設けているため、センターフレーム2511が透明であることで目立ち難くして相対的に装飾体2570(装飾体2570A)を目立たせることができると共に、装飾体2570(装飾体2570A)の前装飾部2572と後装飾部2573とで奥行のある装飾を遊技者に見せることができる。この際に、後装飾部2573と前装飾部2572とに互いに協調している装飾を施していると共に、正面視において夫々の一部が重なるように設けているため、正面(前)から見た時に、前装飾部2572の装飾と後装飾部2573の装飾との境目を判り難くすることが可能となり、前装飾部2572と後装飾部2573とによる大きな装飾を良好な状態で遊技者に見せることができ、後装飾部2573と前装飾部2572とで大きくて奥行きのある装飾効果の高い装飾体2570(装飾体2570A)を構成することができる。従って、センターフレーム2511に装飾効果の高い装飾体2570(装飾体2570A)を設けることができるため、当該装飾体2570(装飾体2570A)により遊技者の関心を強く引き付けさせて飽きさせ難くすることができ、遊技者の興趣の低下を抑制させることが可能なパチンコ機1を提供することができる。
また、本実施形態によれば、装飾体2570において、後装飾部2573には、正面視において前装飾部2572の装飾(前装飾)における前方に重なっている部位と同じ装飾の装飾(後装飾)を施し、前装飾部2572には、前装飾部2572の装飾における少なくとも前装飾部2572と後装飾部2573との間の一部に設けられている遊技球Bが流通する球通路2517の前方の部位に、後装飾部2573の装飾、及び、球通路2517を流通している遊技球B、を前方から視認可能な透過部2572aと、透過部2572aに設けられ遊技球Bよりも小さい大きさで前装飾部2572の装飾の一部を構成している装飾が施されている複数のドット部2572bと、を有するようにしているため、前装飾部2572と後装飾部2573との間に設けられている球通路2517を遊技球Bが流通していない時には、前装飾部2572の装飾における球通路2517の前方の部位に設けられている透過部2572aを通して、後方に設けられている後装飾部2573の装飾を視認することができる。この際に、後装飾部2573の装飾が前装飾部2572の装飾と同じ装飾であるため、後装飾部2573の装飾が前装飾部2572の装飾における透過部2572aを補うことで、前装飾部2572の装飾に透過部2572aが無いよう本来の装飾を遊技者に見せることができ、装飾体2570による装飾効果を確実に発揮させることができる。
一方、前装飾部2572と後装飾部2573との間に設けられている球通路2517を遊技球Bが流通している時には、前装飾部2572の装飾における透過部2572aを通して遊技球Bが見えることとなるため、一時的にせよ遊技球Bが見えなくなることで遊技者に対して不信感や不安感等を与えてしまうことを回避させることができ、遊技球Bによる遊技を楽しませて興趣の低下を抑制させることができる。この際に、透過部2572aに前装飾部2572の装飾の一部を構成している複数のドット部2572bを設けているため、前装飾部2572の装飾における透過部2572aを通して見える後装飾部2573の装飾が、前装飾部2572と後装飾部2573との間に設けられている球通路2517を流通している遊技球Bにより遮られて見えなくなっても、当該遊技球Bの前方の透過部2572aに設けられている複数のドット部2572bの装飾が見えることで、遊技者に対して球通路2517内の遊技球Bを視認させつつ装飾体2570の見栄えが悪くなることを回避させることができ、装飾体2570による装飾効果を十分に発揮させることができる。
また、本実施形態によれば、装飾体2570(装飾体2570A)において、後装飾部2573をセンターフレーム2511の後端よりも前方に設けており、センターフレーム2511から後方へ突出することでパチンコ機1の製造時において邪魔になるような部位が存在していないため、製造時における取回し(取扱い性)を良くすることができ、作業性が向上することにより製造にかかるコストの増加を抑制させることができる。具体的には、例えば、センターフレーム2511の後端側を下にして作業台TA等に置いた時に、センターフレーム2511がガタツクことはない。或いは、組立作業や運搬作業等においてセンターフレーム2511を取回す際に、センターフレーム2511の後端から装飾体2570(装飾体2570A)の一部が後方へ突出していないため、センターフレーム2511から突出している部位が他の部材等に当接して傷付いたり破損したりする恐れがない。このようなことから、細心の注意を払いながら作業する必要がなく、作業性を向上させることができる。
また、本実施形態によれば、装飾体2570(装飾体2570A)を構成している後装飾部2573を、センターフレーム2511の枠内に延出させているため、後装飾部2573によって遊技パネル1100の前面の遊技領域5aを狭めてしまったり遊技領域5aを流下する遊技球Bを見え辛くしてしまったりすることはなく、遊技領域5aにおける遊技球Bによる遊技を良好な状態で遊技者に楽しませることができる。
更に、本実施形態によれば、装飾体2570(装飾体2570A)を構成している後装飾部2573を、センターフレーム2511の枠内に延出させているため、遊技パネル1100の後方に設けられている演出表示装置1600、裏前演出ユニット3300、裏後演出ユニット3400等に対して、演出表示装置1600(表示画面)の周りを装飾したり、裏前演出ユニット3300や裏後演出ユニット3400の装飾体(可動装飾体)と協働してより装飾効果の高い装飾(演出)を見せたり、することができ、遊技者の関心を強く引き付けさせることが可能な訴求力の高いパチンコ機1を提供することができる。
また、本実施形態によれば、装飾体2570(装飾体2570A)の不透明部によりLED基板のような電子部品の配線を前方から視認し難くしていることから、不透明部により配線を隠すことができるため、配線が見えることで見栄えの悪化を防止することができ、装飾体2570(装飾体2570A)による装飾効果をより発揮させ易くすることができる。
[15-6.第六技術的特徴]
本明細書には、上記とは異なる以下のような技術的特徴を有している。
[15-6a.第六技術的特徴の背景]
パチンコ機のような遊技機として、遊技球が流下可能な遊技領域が形成される遊技パネルの開口に前方から装着されており、遊技領域を流下する遊技球が遊技パネルの開口に流入することを規制する流入規制部としてのセンター役物を、備えたものが知られている(例えば、特許文献B:特開2017-074434号公報)。特許文献Bの技術によれば、センター役物によって遊技領域を所望の大きさに区画することが可能である。
しかしながら、特許文献Bの技術では、遊技機の機種により遊技パネルの開口の大きさが異なる場合、センター役物(流入規制部)を別途に製造する必要があり、流入規制部を流用することは困難であった。
そこで、以下の手段では、上記の実情に鑑み、機種によって遊技パネルの開口が異なっていても流入規制部を流用することが可能な遊技機の提供を課題とするものである。
[15-6b.第六技術的特徴の解決手段]
手段1:遊技機において、
「遊技球が流下可能な遊技領域を有する遊技盤を備えた遊技機において、
前記遊技盤は、
前面側に前記遊技領域が形成される遊技パネルと、
該遊技パネルに形成された開口の縁部に対応して設けられ、前記遊技領域を流下する遊技球が前記開口の内部に流入することを規制する流入規制部と、
を備え、
該流入規制部は、第一流入規制部と第二流入規制部とを少なくとも有し、
前記第一流入規制部と前記第二流入規制部には、前記遊技パネルの前面に沿ったフランジ部が夫々形成されていると共に、夫々の端部の少なくとも一方には該フランジ部が形成されていない非フランジ部が形成されており、前記フランジ部に設けられた取付部によって前記遊技パネルの前面に前記第一流入規制部の端部と前記第二流入規制部の端部とが隣り合うように取付けられる」
ものであることを特徴とする。
ここで、「遊技パネル」としては、「ベニヤ板(合板)のような不透明なパネル」、「透明樹脂からなるパネル板」、「透明樹脂からなるパネル板と、パネル板の外周縁を保持する枠状のパネルホルダと、から構成されているもの」、等が挙げられる。
また、「フランジ部」としては、「流入規制部を境にして遊技パネルにおける開口の外側の方向へ延出しているもの」、「流入規制部を境にして遊技パネルにおける開口の内側の方向へ延出しているもの」、「流入規制部を境にして遊技パネルにおける開口の外側及び内側の両方の方向へ延出しているもの」、等が挙げられる。
また、「非フランジ部」としては、流入規制部における遊技パネルの中心を向いている側面に設けられていても良いし、流入規制部における遊技パネルの中心とは反対の外方を向いている側面に設けられていても良いし、流入規制部の両方の側面に設けられていても良い。
更に、「第一流入規制部の端部と第二流入規制部の端部とが隣り合うように取付けられる」構成としては、「第一流入規制部の端部の端面と、第二流入規制部の端部の端面とが、互いに対面するように取付けられる」、「第一流入規制部の端部の内側の側面と、第二流入規制部の端部の外側の側面とが、互いに対面するように取付けられる」、「第一流入規制部の端部の外側の側面と、第二流入規制部の端部の内側の側面とが、互いに対面するように取付けられる」、等が挙げられる。また、第一流入規制部の端部と第二流入規制部の端部とは、互いに接していても良いし、互いに離れていても良い。
手段1の構成によると、遊技球が流下可能な遊技領域を有する遊技盤を備えた遊技機において、遊技盤は、前面側に遊技領域が形成される遊技パネルと、遊技パネルに形成された開口の縁部に対応して設けられ、遊技領域を流下する遊技球が開口の内部に流入することを規制する流入規制部と、を備え、流入規制部は、第一流入規制部と第二流入規制部とを少なくとも有し、第一流入規制部と第二流入規制部には、遊技パネルの前面に沿ったフランジ部が夫々形成されていると共に、夫々の端部の少なくとも一方にはフランジ部が形成されていない非フランジ部が形成されており、フランジ部に設けられた取付部によって遊技パネルの前面に第一流入規制部の端部と第二流入規制部の端部とが隣り合うように取付けられるものである。([発明を実施するための形態]では、[11-3.第三実施形態のセンター役物]の章、及び、図71乃至図74等の記載を参照)
これにより、前面側に遊技領域が形成される遊技パネルの開口の縁部に対応して設けられ、遊技球が開口の内部に流入することを規制する流入規制部を、少なくとも第一流入規制部と第二流入規制部とで構成し、夫々に設けられているフランジ部の取付部を介して遊技パネルの前面に第一流入規制部の端部と第二流入規制部の端部とが隣り合うように取付けるようにしているため、遊技パネルに対する第一流入規制部と第二流入規制部との取付位置の関係を適宜選択することにより、流入規制部を新たに製造しなくても様々な大きさや形状の開口を有する遊技パネルに取付けることができ、機種が異なっていても流入規制部を流用することができる。
詳述すると、例えば、第一流入規制部の端部と第二流入規制部の端部とが、互いに離れるように取付けることで、開口の大きい遊技パネルに対応することができる。この場合、第一流入規制部の端部と第二流入規制部の端部との間の隙間は、遊技球が通過不能な大きさとすることが望ましいが、遊技球が通過可能な大きさの場合は障害釘を植設することにより遊技球を通過不能とするようにしても良い。
或いは、第一流入規制部の端部と第二流入規制部の端部とが、夫々の側面同士が対面するように取付けることで、開口の小さい遊技パネルに対応することができる。この際に、第一流入規制部及び第二流入規制部の少なくとも一方の端部に非フランジ部を設けていることから、第一流入規制部の端部の側面と第二流入規制部の端部の側面とを可及的に接近させることが可能となるため、第一流入規制部と第二流入規制部との配置自由度を高めることができ、様々な大きさの開口を有する遊技パネルに対応し易くすることができる。
また、上述したように、様々な大きさの開口を有する遊技パネルに対応することが可能であることから、設計変更等により遊技領域の大きさを変えたい場合、第一流入規制部と第二流入規制部との取付位置の関係を変更することで、遊技領域の大きさを簡単に変更することができ、遊技機の設計自由度を高めることができる。従って、変更する大きさの遊技領域に合わせた流入規制部を新たに製造する必要はなく、遊技機にかかるコストの増加を抑制させることができる。
なお、遊技盤に、第一流入規制部が設けられている第一フレームから第n流入規制部(nは二以上の整数)が設けられている第nフレームまでの複数のフレームと、少なくとも一つのフレームが遊技パネルから落下することを阻止する連結保持部とを、更に備えるようにしても良い。これにより、流入規制部を複数のフレームにより構成しているため、遊技パネルに対する各フレームの取付位置を適宜設定することにより、上記と同様の作用効果を奏することができる。また、流入規制部を複数のフレームにより構成しているため、一部のフレームに不具合が発生した場合、当該フレームのみを交換すれば良く、メンテナンスにかかるコストを低減させることができる。更に、連結保持部を設けているため、遊技機の組立てやメンテナンス等の際に、遊技パネルから落下してフレームが傷付いたり破損したりすることを回避させることができる。
また、上記のように、連結保持部を設ける場合、連結保持部を、可撓性を有する紐状に形成されているものとすることが望ましい。これにより、連結保持部を、可撓性を有する紐状のものとしているため、例えば、第一流入規制部(第一フレーム)と第二流入規制部(第二フレーム)との取付位置の関係を変更しても、連結保持部が可撓変形することにより追従することができ、遊技パネルからのフレームの落下を防止しつつ、遊技パネルの開口の大きさや形状等に対応することができる。
また、上記のように、可撓性を有する紐状の連結保持部を設けると、遊技パネルからフレームが外れようとした時に、連結保持部が可撓変形しようとすることで抵抗となり、直ちに遊技パネルから外れることを抑制させることができる。そして、遊技パネルからフレームが外れた場合、連結保持部が可撓変形することにより、落下速度を低減させたり衝撃を吸収したりすることが可能となるため、フレームの破損を防止することができる。
更に、上記のように、連結保持部を設ける場合、連結保持部により隣接しているフレーム同士を繋ぐようにすることが望ましい。これにより、連結保持部の一方の端部を遊技パネルや他の部材に接続する場合と比較して、複数のフレームを一塊として扱い易くすることができ、遊技機の製造時等における作業性を向上させることができる。
また、上記のように、連結保持部を設ける場合、連結保持部を、フレームに対して着脱可能に設けるようにすることが望ましい。これにより、例えば、複数のフレームを順番に遊技パネルに取付けたり、メンテナンス等により一部のフレームを遊技パネルから取外したり、する際に、連結保持部を取外した状態にしたり取付けた状態にしたりすることにより、フレームの取回しや取扱いを良くすることができ、作業性を向上させることができる。
また、上記のように、連結保持部を着脱可能にすると、フレームを遊技パネルに取付けるまでは連結保持部により繋いでおき、フレームを遊技パネルに取付けたら連結保持部を取外すようにすることが可能となり、連結保持部の存在により見栄えが悪くなることを回避させることができる。
更に、上記のように、複数のフレームを設ける場合、遊技盤に、少なくとも一つのフレームに取付けられている電子部品を更に備えるようにしても良い。これにより、少なくとも一つのフレームに電子部品が取付けられるようにしており、電子部品が取付けられているフレームの重量が重くなることから、遊技機の組立作業等において当該フレームが遊技パネルから外れて落下すると、その重量により当該フレームが破損し易くなるが、フレームの落下を阻止する連結保持部が設けられているため、当該フレームが作業台や床等に落下して破損してしまうことはない。従って、フレームに取付けられている電子部品による効果を確実に発揮させることが可能な遊技機を提供することができる。
手段2:手段1の構成において、
「前記遊技盤は、
前記第一流入規制部が設けられている第一フレームから第n流入規制部(nは二以上の整数)が設けられている第nフレームまでの複数のフレームと、
少なくとも一つの該フレームが前記遊技パネルから落下することを阻止する連結保持部と
を更に備えている」ものであることを特徴とする。
ここで、複数のフレームの数「n」としては、2~6の範囲内が望ましい。この範囲よりもフレームの数が多くなると、遊技機の製造の際にフレームの取付けに手間がかかるようになりコストが増加する恐れがあるためである。複数のフレームのうち、一部のフレームにLED基板のような電子部品が取付けられていても良い。
また、「連結保持部」としては、「可撓性を有する紐状のもの」、「可撓性を有する帯状のもの」、等が挙げられる。また、「連結保持部」としては、「隣接しているフレーム同士を繋いでいるもの」、「フレームと他の部材とを繋いでいるもの」、「フレームと遊技パネルとを繋いでいるもの」、等が挙げられる。更に、「連結保持部」としては、装飾性を有していても良いし、装飾性を有していなくても良い。また、「連結保持部」としては、遊技盤を立てた状態でフレームが遊技パネルから外れて落下した時にフレームが台や床等に接触しない長さとすることが望ましい。
手段2の構成によると、遊技盤は、第一流入規制部が設けられている第一フレームから第n流入規制部(nは二以上の整数)が設けられている第nフレームまでの複数のフレームと、少なくとも一つのフレームが遊技パネルから落下することを阻止する連結保持部とを更に備えるようにするものである。([発明を実施するための形態]では、センターフレーム2700及び連結保持部2710に関する記載を参照)
これにより、流入規制部を複数のフレームにより構成しているため、遊技パネルに対する各フレームの取付位置を適宜設定することにより、上記と同様の作用効果を奏することができる。また、流入規制部を複数のフレームにより構成しているため、一部のフレームに不具合が発生した場合、当該フレームのみを交換すれば良く、メンテナンスにかかるコストを低減させることができる。更に、連結保持部を設けているため、遊技機の組立てやメンテナンス等の際に、遊技パネルから落下してフレームが傷付いたり破損したりすることを回避させることができる。
手段3:手段2の構成において、
「前記連結保持部は、
可撓性を有する紐状に形成されている」ものであることを特徴とする。
手段3の構成によると、連結保持部は、可撓性を有する紐状に形成されているものである。([発明を実施するための形態]では、連結保持部2710に関する記載を参照)
これにより、連結保持部を、可撓性を有する紐状のものとしているため、例えば、第一流入規制部(第一フレーム)と第二流入規制部(第二フレーム)との取付位置の関係を変更しても、連結保持部が可撓変形することにより追従することができ、遊技パネルからのフレームの落下を防止しつつ、遊技パネルの開口の大きさや形状等に対応することができる。
また、連結保持部を、可撓性を有する紐状としているため、遊技パネルからフレームが外れようとした時に、連結保持部が可撓変形しようとすることで抵抗となり、直ちに遊技パネルから外れることを抑制させることができる。そして、遊技パネルからフレームが外れた場合、連結保持部が可撓変形することにより、落下速度を低減させたり衝撃を吸収したりすることが可能となるため、フレームの破損を防止することができる。
手段4:手段2又は手段3の構成において、
「前記連結保持部は、
隣接している前記フレーム同士を繋いでいる」ものであることを特徴とする。
手段4の構成によると、連結保持部は、隣接しているフレーム同士を繋いでいるものである。([発明を実施するための形態]では、連結保持部2710に関する記載を参照)
これにより、連結保持部の一方の端部を遊技パネルや他の部材に接続する場合と比較して、複数のフレームを一塊として扱い易くすることができ、遊技機の製造時等における作業性を向上させることができる。
手段5:手段2から手段4までの何れか一つの構成において、
「前記連結保持部は、
前記フレームに対して着脱可能に設けられている」ものであることを特徴とする。
手段5の構成によると、連結保持部は、フレームに対して着脱可能に設けられているものである。([発明を実施するための形態]では、連結保持部2710に関する記載を参照)
これにより、例えば、複数のフレームを順番に遊技パネルに取付けたり、メンテナンス等により一部のフレームを遊技パネルから取外したり、する際に、連結保持部を取外した状態にしたり取付けた状態にしたりすることにより、フレームの取回しや取扱いを良くすることができ、作業性を向上させることができる。
また、連結保持部を着脱可能としているため、フレームを遊技パネルに取付けるまでは連結保持部により繋いでおき、フレームを遊技パネルに取付けたら連結保持部を取外すようにすることが可能となり、連結保持部の存在により見栄えが悪くなることを回避させることができる。
手段6:手段2から手段5までの何れか一つの構成において、
「前記遊技盤は、
少なくとも一つの前記フレームに取付けられている電子部品を、
更に備えている」ものであることを特徴とする。
ここで、「電子部品」としては、「LED基板」、「中継基板」、「球センサ」、「磁気センサ」、「表示器(特別図柄の表示器)」、「ソレノイド」、「モータ」、等が挙げられる。
手段6の構成によると、遊技盤は、少なくとも一つのフレームに取付けられている電子部品を、更に備えているものである。([発明を実施するための形態]では、図柄表示器2518及びセンターフレーム2700に関する記載を参照)
これにより、少なくとも一つのフレームに電子部品が取付けられるようにしており、電子部品が取付けられているフレームの重量が重くなることから、遊技機の組立作業等において当該フレームが遊技パネルから外れて落下すると、その重量により当該フレームが破損し易くなるが、フレームの落下を阻止する連結保持部が設けられているため、当該フレームが作業台や床等に落下して破損してしまうことはない。従って、フレームに取付けられている電子部品による効果を確実に発揮させることが可能な遊技機を提供することができる。
手段7:遊技機において、
「遊技球が流下可能な遊技領域を有する遊技盤を備えた遊技機において、
前記遊技盤は、
前面側に前記遊技領域が形成される遊技パネルと、
該遊技パネルに形成された開口の縁部に対応して設けられ、前記遊技領域を流下する遊技球が前記開口の内部に流入することを規制し、第一流入規制部から第n流入規制部(nは二以上の整数)までを有する流入規制部と、
前記第一流入規制部が設けられている第一フレームから第n流入規制部(nは二以上の整数)が設けられている第nフレームまでの複数のフレームと、
少なくとも一つの該フレームが前記遊技パネルから落下することを阻止する連結保持部と、
少なくとも一つの前記フレームに取付けられている電子部品と、
を備え、
該流入規制部は、
前記第m流入規制部(mは1からn-1までの間の整数)と前記第(m+1)流入規制部には、前記遊技パネルの前面に沿ったフランジ部が夫々形成されていると共に、夫々の端部の少なくとも一方には該フランジ部が形成されていない非フランジ部が形成されており、前記フランジ部に設けられた取付部によって前記遊技パネルの前面に前記第m流入規制部の端部と前記第(m+1)流入規制部の端部とが隣り合うように取付けられ、
前記連結保持部は、
可撓性を有する紐状に形成されており、隣接している前記フレーム同士を繋いでいると共に、該フレームに対して着脱可能に設けられている」
ものであることを特徴とする。
手段7の構成によると、遊技球が流下可能な遊技領域を有する遊技盤を備えた遊技機において、遊技盤は、前面側に遊技領域が形成される遊技パネルと、遊技パネルに形成された開口の縁部に対応して設けられ、遊技領域を流下する遊技球が開口の内部に流入することを規制し、第一流入規制部から第n流入規制部(nは二以上の整数)までを有する流入規制部と、第一流入規制部が設けられている第一フレームから第n流入規制部(nは二以上の整数)が設けられている第nフレームまでの複数のフレームと、少なくとも一つのフレームが遊技パネルから落下することを阻止する連結保持部と、少なくとも一つのフレームに取付けられている電子部品と、を備え、流入規制部は、第m流入規制部(mは1からn-1までの間の整数)と第(m+1)流入規制部には、遊技パネルの前面に沿ったフランジ部が夫々形成されていると共に、夫々の端部の少なくとも一方にはフランジ部が形成されていない非フランジ部が形成されており、フランジ部に設けられた取付部によって遊技パネルの前面に第m流入規制部の端部と第(m+1)流入規制部の端部とが隣り合うように取付けられ、連結保持部は、可撓性を有する紐状に形成されており、隣接しているフレーム同士を繋いでいると共に、フレームに対して着脱可能に設けられているものである。
これにより、前面側に遊技領域が形成される遊技パネルの開口の縁部に対応して設けられ、遊技球が開口の内部に流入することを規制する流入規制部を、少なくとも第一流入規制部から第n流入規制部(nは二以上の整数)までの複数により構成し、夫々に設けられているフランジ部の取付部を介して遊技パネルの前面に第m流入規制部(mは1からn-1までの間の整数)の端部と第(m+1)流入規制部の端部とが隣り合うように取付けるようにしているため、遊技パネルに対する第m流入規制部と第(m+1)流入規制部との取付位置の関係を適宜選択することにより、流入規制部を新たに製造しなくても様々な大きさや形状の開口を有する遊技パネルに取付けることができ、機種が異なっていても流入規制部を流用することができる。
以下ではmを1として詳述すると、例えば、第一流入規制部の端部と第二流入規制部の端部とが、互いに離れるように取付けることで、開口の大きい遊技パネルに対応することができる。この場合、第一流入規制部の端部と第二流入規制部の端部との間の隙間は、遊技球が通過不能な大きさとすることが望ましいが、遊技球が通過可能な大きさの場合は障害釘を植設することにより遊技球を通過不能とするようにしても良い。
或いは、第一流入規制部の端部と第二流入規制部の端部とが、夫々の側面同士が対面するように取付けることで、開口の小さい遊技パネルに対応することができる。この際に、第一流入規制部及び第二流入規制部の少なくとも一方の端部に非フランジ部を設けていることから、第一流入規制部の端部の側面と第二流入規制部の端部の側面とを可及的に接近させることが可能となるため、第一流入規制部と第二流入規制部との配置自由度を高めることができ、様々な大きさの開口を有する遊技パネルに対応し易くすることができる。
また、上述したように、様々な大きさの開口を有する遊技パネルに対応することが可能であることから、設計変更等により遊技領域の大きさを変えたい場合、第一流入規制部と第二流入規制部との取付位置の関係を変更することで、遊技領域の大きさを簡単に変更することができ、遊技機の設計自由度を高めることができる。従って、変更する大きさの遊技領域に合わせた流入規制部を新たに製造する必要はなく、遊技機にかかるコストの増加を抑制させることができる。
更に、流入規制部を複数のフレームにより構成しているため、遊技パネルに対する各フレームの取付位置を適宜設定することにより、上記と同様の作用効果を奏することができる。また、流入規制部を複数のフレームにより構成しているため、一部のフレームに不具合が発生した場合、当該フレームのみを交換すれば良く、メンテナンスにかかるコストを低減させることができる。更に、連結保持部を設けているため、遊技機の組立てやメンテナンス等の際に、遊技パネルから落下してフレームが傷付いたり破損したりすることを回避させることができる。
また、連結保持部を、可撓性を有する紐状のものとしているため、例えば、第一流入規制部(第一フレーム)と第二流入規制部(第二フレーム)との取付位置の関係を変更しても、連結保持部が可撓変形することにより追従することができ、遊技パネルからのフレームの落下を防止しつつ、遊技パネルの開口の大きさや形状等に対応することができる。
また、可撓性を有する紐状の連結保持部を設けているため、遊技パネルからフレームが外れようとした時に、連結保持部が可撓変形しようとすることで抵抗となり、直ちに遊技パネルから外れることを抑制させることができる。そして、遊技パネルからフレームが外れた場合、連結保持部が可撓変形することにより、落下速度を低減させたり衝撃を吸収したりすることが可能となるため、フレームの破損を防止することができる。
更に、連結保持部により隣接しているフレーム同士を繋ぐようにしているため、連結保持部の一方の端部を遊技パネルや他の部材に接続する場合と比較して、複数のフレームを一塊として扱い易くすることができ、遊技機の製造時等における作業性を向上させることができる。
また、連結保持部を、フレームに対して着脱可能に設けているため、例えば、複数のフレームを順番に遊技パネルに取付けたり、メンテナンス等により一部のフレームを遊技パネルから取外したり、する際に、連結保持部を取外した状態にしたり取付けた状態にしたりすることにより、フレームの取回しや取扱いを良くすることができ、作業性を向上させることができる。
また、連結保持部を着脱可能にしているため、フレームを遊技パネルに取付けるまでは連結保持部により繋いでおき、フレームを遊技パネルに取付けたら連結保持部を取外すようにすることが可能となり、連結保持部の存在により見栄えが悪くなることを回避させることができる。
更に、少なくとも一つのフレームに電子部品が取付けられるようにしており、電子部品が取付けられているフレームの重量が重くなることから、遊技機の組立作業等において当該フレームが遊技パネルから外れて落下すると、その重量により当該フレームが破損し易くなるが、フレームの落下を阻止する連結保持部が設けられているため、当該フレームが作業台や床等に落下して破損してしまうことはない。従って、フレームに取付けられている電子部品による効果を確実に発揮させることが可能な遊技機を提供することができる。
このように、上記の解決手段によれば、機種によって遊技パネルの開口が異なっていても流入規制部を流用することが可能な遊技機を提供することができる。
[15-6c.第六技術的特徴の解決手段と実施形態との関係]
本実施形態の遊技盤5における遊技パネル1100(図72を参照)は上記解決手段の遊技パネルに、本実施形態における遊技パネル1100の開口部1112は上記解決手段の遊技パネルの開口に、本実施形態における図柄表示器2518、第二始動口ユニット2720、アタッカユニット2730、役物入賞口ユニット2740は上記解決手段の電子部品に、本実施形態におけるセンター役物2500Aにおけるセンターフレーム2700の流入規制部2700aは上記解決手段の流入規制部に、本実施形態におけるセンターフレーム2700のフランジ部2700b、第一フレーム2701の第一フランジ部2701b、第二フレーム2702の第二フランジ部2702bは上記解決手段のフランジ部に、本実施形態におけるセンターフレーム2700の非フランジ部2700c、第一フレーム2701の第一非フランジ部2701c、第二フレーム2702の第二非フランジ部2702cは上記解決手段の非フランジ部に、夫々相当している。
また、本実施形態における第一フレーム2701、第二フレーム2702、第三フレーム2703、第四フレーム2704、第五フレーム2705は上記解決手段のフレームに、本実施形態における第一流入規制部2701aは上記解決手段の第一流入規制部に、本実施形態における第二流入規制部2702aは上記解決手段の第二流入規制部に、本実施形態における第一フランジ部2701bや第二フランジ部2702b等のフランジ部2700bに設けられている取付孔は上記解決手段の取付部に、本実施形態における連結保持部2710は上記解決手段の連結保持部に、夫々相当している。
[15-6d.第六技術的特徴の特徴的な作用効果]
本実施形態によれば、遊技盤5のセンター役物2500Aにおけるセンターフレーム2700において、前面側に遊技領域5aが形成される遊技パネル1100の開口部1112の縁部に対応して設けられ、遊技球Bが開口部1112の内部に流入することを規制する流入規制部2700aを、少なくとも第一流入規制部2701aと第二流入規制部2702aの複数により構成し、夫々に設けられているフランジ部2700b(第一フランジ部2701b及び第二フランジ部2702b)の取付部を介して遊技パネル1100の前面に第一流入規制部2701aの端部と第二流入規制部2702aの端部とが隣り合うように取付けるようにしているため、遊技パネル1100に対する第一流入規制部2701aと第二流入規制部2702aとの取付位置の関係を適宜選択することにより、流入規制部2700a(センターフレーム2700)を新たに製造しなくても様々な大きさや形状の開口部1112を有する遊技パネル1100に取付けることができ、機種が異なっていても流入規制部2700a(センターフレーム2700)を流用することができる。
詳述すると、例えば、第一流入規制部2701aの端部と第二流入規制部2702aの端部とが、互いに離れるように取付けることで、開口部1112の大きい遊技パネル1100に対応することができる。この場合、第一流入規制部2701aの端部と第二流入規制部2702aの端部との間の隙間Cは、遊技球Bが通過不能な大きさとすることが望ましいが、遊技球Bが通過可能な大きさの場合は障害釘を植設することにより遊技球Bを通過不能とするようにしても良い。
或いは、第一流入規制部2701aの端部と第二流入規制部2702aの端部とが、夫々の側面同士が対面するように取付けることで、開口部1112の小さい遊技パネル1100に対応することができる。この際に、第一流入規制部2701a及び第二流入規制部2702aの少なくとも一方の端部に非フランジ部2700c(第一非フランジ部2701c又は第二非フランジ部2702c)を設けていることから、第一流入規制部2701aの端部の側面と第二流入規制部2702aの端部の側面とを可及的に接近させることが可能となるため、第一流入規制部2701a(第一フレーム2701)と第二流入規制部2702a(第二フレーム2702)との配置自由度を高めることができ、様々な大きさの開口部1112を有する遊技パネル1100に対応し易くすることができる。
また、上述したように、様々な大きさの開口部1112を有する遊技パネル1100に対応することが可能であることから、設計変更等により遊技領域5aの大きさを変えたい場合、第一流入規制部2701a(第一フレーム2701)と第二流入規制部2702a(第二フレーム2702)との取付位置の関係を変更することで、遊技領域5aの大きさを簡単に変更することができ、パチンコ機1の設計自由度を高めることができる。従って、変更する大きさの遊技領域5aに合わせた流入規制部2700a(センターフレーム2700)を新たに製造する必要はなく、パチンコ機1にかかるコストの増加を抑制させることができる。
更に、流入規制部2700a(センターフレーム2700)を第一フレーム2701から第五フレーム2705のように複数のフレームにより構成しているため、遊技パネル1100に対する各フレームの取付位置を適宜設定することにより、上記と同様の作用効果を奏することができる。また、流入規制部2700aを複数のフレームにより構成しているため、一部のフレームに不具合が発生した場合、当該フレームのみを交換すれば良く、メンテナンスにかかるコストを低減させることができる。更に、連結保持部2710を設けているため、パチンコ機1の組立てやメンテナンス等の際に、遊技パネル1100から落下してフレームが傷付いたり破損したりすることを回避させることができる。
また、連結保持部2710を、可撓性を有する紐状のものとしているため、例えば、第一流入規制部2701a(第一フレーム2701)と第二流入規制部2702a(第二フレーム2702)との取付位置の関係を変更しても、連結保持部2710が可撓変形することにより追従することができ、遊技パネル1100からのフレームの落下を防止しつつ、遊技パネル1100の開口部1112の大きさや形状等に対応することができる。
また、可撓性を有する紐状の連結保持部2710を設けているため、遊技パネル1100から第一フレーム2701等のフレームが外れようとした時に、連結保持部2710が可撓変形しようとすることで抵抗となり、直ちに遊技パネル1100から外れることを抑制させることができる。そして、遊技パネル1100からフレームが外れた場合、連結保持部2710が可撓変形することにより、落下速度を低減させたり衝撃を吸収したりすることが可能となるため、フレームの破損を防止することができる。
更に、連結保持部2710により第一フレーム2701と第二フレーム2702のような隣接しているフレーム同士を繋ぐようにしているため、連結保持部2710の一方の端部を遊技パネル1100や他の部材に接続する場合と比較して、複数のフレームを一塊として扱い易くすることができ、パチンコ機1の製造時等における作業性を向上させることができる。
また、連結保持部2710を、フレームに対して着脱可能に設けているため、例えば、複数のフレームを順番に遊技パネル1100に取付けたり、メンテナンス等により一部のフレームを遊技パネルから取外したり、する際に、連結保持部2710を取外した状態にしたり取付けた状態にしたりすることにより、フレームの取回しや取扱いを良くすることができ、作業性を向上させることができる。
また、連結保持部2710を着脱可能にしているため、フレームを遊技パネル1100に取付けるまでは連結保持部2710により繋いでおき、フレームを遊技パネル1100に取付けたら連結保持部2710を取外すようにすることが可能となり、連結保持部2710の存在により見栄えが悪くなることを回避させることができる。
更に、少なくとも一つのフレームに図柄表示器2518のような電子部品が取付けられるようにしており、電子部品が取付けられているフレームの重量が重くなることから、パチンコ機1の組立作業等において当該フレームが遊技パネル1100から外れて落下すると、その重量により当該フレームが破損し易くなるが、フレームの落下を阻止する連結保持部2710が設けられているため、当該フレームが作業台や床等に落下して破損してしまうことはない。従って、フレームに取付けられている電子部品による効果を確実に発揮させることが可能なパチンコ機1を提供することができる。
以上、本発明について好適な実施形態を挙げて説明したが、本発明はこれらの実施形態に限定されるものではなく、以下に示すように、本発明の要旨を逸脱しない範囲において、種々の改良及び設計の変更が可能である。
すなわち、上記の実施形態では、遊技機としてパチンコ機1やスロットマシンに適用したものを示したが、これに限定するものではなく、パチスロ機や、パチンコ機とパチスロ機とを融合させてなる遊技機に、適用しても良く、この場合でも、上記と同様の作用効果を奏することができる。
また、上記の実施形態では、パチンコ機1として、所謂、遊技者が遊技球Bに触れることのない、封入式遊技機や、管理遊技機と呼ばれる遊技機に適用したものを示したが、これに限定するものではなく、遊技者が遊技球Bに触れることの可能な遊技機に、適用しても良く、この場合でも、上記と同様の作用効果を奏することができる。この遊技機としては、例えば、遊技者の操作によって扉枠の皿に貯留されている遊技球が遊技盤の遊技領域内に打込まれ、打込まれた遊技球が遊技領域内に設けられている入賞口への受入れられることで、当該入賞口に応じた所定個数の遊技球を扉枠の皿に払出すようなパチンコ機が挙げられる。
1 パチンコ機
2 外枠
3 扉枠
4 本体枠
5 遊技盤
5a 遊技領域
1100 遊技パネル(遊技パネル)
1110 パネル板(遊技パネル)
1112 開口部(開口)
1113 位置決孔
1114 取付孔
1120 パネルホルダ(遊技パネル)
2000 表ユニット
2001 一般入賞口(入球口)
2800 サイドユニット(入球ユニット)
2800B サイドユニット(入球ユニット)
2800C サイドユニット(入球ユニット)
2800D サイドユニット(入球ユニット)
2800E サイドユニット(入球ユニット)
2800F サイドユニット(入球ユニット)
2800G サイドユニット(入球ユニット)
2801 支流部
2802 本流部
2811 第一構成部材(第一構成部材)
2811A 第一構成部材(第一構成部材)
2811a 台板(台板)
2811b 球受部(入球口)
2811c 位置決突起(位置決突起)
2811d 取付孔(第一取付孔)
2812 第二構成部材(第二構成部材)
2812A 第二構成部材(第二構成部材)
2812a 球通路(球通路)
2812b 通路出口
2812c 球受部(入球口)
2812d 前板(前板)
2812e 後板
2812f 球通路(球通路)
3500 裏下演出ユニット(演出装置)

Claims (1)

  1. 複数の発光色で発光装飾を実行可能なLEDが表側の面に実装された装飾基板を備える遊技機において、
    前記装飾基板は、該装飾基板の表側に位置するカバー部材と該装飾基板の裏側に位置するベース部材とが組み合わせて構成された装飾ユニットに内包されており、
    前記装飾ユニットは、内包する前記装飾基板の側面側となる位置に第1開口と第2開口とを有し、
    前記装飾ユニットが有する前記第1開口は、前記装飾ユニットが有する前記第2開口と同じ形状、かつ、同じ大きさで形成され、
    前記第1開口と前記第2開口は、前記カバー部材または前記ベース部材のいずれか一方、または両方の一部を切り欠いて形成されているとともに前記装飾ユニットに内包された前記装飾基板の前記LEDを挟んで対向する位置に設けられ、前記装飾基板を側面側から見たとき、前記LEDが実装された前記装飾基板の前記LEDと前記装飾基板の表側の空間の一部が重なっおり、
    前記LEDが実装される前記装飾基板の表側の面は、白色のレジストで覆われているとともに該LEDの部品番号が黄色でシルク印刷されている
    ことを特徴とする遊技機。
JP2021074550A 2021-04-27 2021-04-27 遊技機 Active JP7701005B2 (ja)

Priority Applications (1)

Application Number Priority Date Filing Date Title
JP2021074550A JP7701005B2 (ja) 2021-04-27 2021-04-27 遊技機

Applications Claiming Priority (1)

Application Number Priority Date Filing Date Title
JP2021074550A JP7701005B2 (ja) 2021-04-27 2021-04-27 遊技機

Publications (3)

Publication Number Publication Date
JP2022168891A JP2022168891A (ja) 2022-11-09
JP2022168891A5 JP2022168891A5 (ja) 2024-06-19
JP7701005B2 true JP7701005B2 (ja) 2025-07-01

Family

ID=83944008

Family Applications (1)

Application Number Title Priority Date Filing Date
JP2021074550A Active JP7701005B2 (ja) 2021-04-27 2021-04-27 遊技機

Country Status (1)

Country Link
JP (1) JP7701005B2 (ja)

Families Citing this family (1)

* Cited by examiner, † Cited by third party
Publication number Priority date Publication date Assignee Title
JP7701006B2 (ja) * 2021-04-27 2025-07-01 株式会社大一商会 遊技機

Citations (9)

* Cited by examiner, † Cited by third party
Publication number Priority date Publication date Assignee Title
JP2000070521A (ja) 1998-08-28 2000-03-07 Toyomaru Sangyo Kk 遊技機の制御基板ケース
JP2000167199A (ja) 1998-12-01 2000-06-20 Sansei パチンコ機における基板装着構造
JP2001155532A (ja) 1999-11-29 2001-06-08 Mitsubishi Electric Corp 発光装置
JP2004000802A (ja) 2003-09-26 2004-01-08 Olympia:Kk 遊技機の基板収納ケース
JP2005245504A (ja) 2004-03-01 2005-09-15 Seiko Epson Corp 遊技機用の制御装置
JP2010246846A (ja) 2009-04-20 2010-11-04 Daito Giken:Kk 遊技台
JP2011115355A (ja) 2009-12-03 2011-06-16 Daito Giken:Kk 遊技台
JP2020175244A (ja) 2020-08-04 2020-10-29 株式会社大一商会 遊技機
JP2022168892A (ja) 2021-04-27 2022-11-09 株式会社大一商会 遊技機

Family Cites Families (3)

* Cited by examiner, † Cited by third party
Publication number Priority date Publication date Assignee Title
JP2873137B2 (ja) * 1992-11-17 1999-03-24 サミー株式会社 遊技機用基板収納ケース
JPH0871239A (ja) * 1994-09-08 1996-03-19 Sankyo Kk 遊技機用呼出表示装置
JP3767641B2 (ja) * 1996-08-23 2006-04-19 株式会社三洋物産 制御基板ボックス

Patent Citations (9)

* Cited by examiner, † Cited by third party
Publication number Priority date Publication date Assignee Title
JP2000070521A (ja) 1998-08-28 2000-03-07 Toyomaru Sangyo Kk 遊技機の制御基板ケース
JP2000167199A (ja) 1998-12-01 2000-06-20 Sansei パチンコ機における基板装着構造
JP2001155532A (ja) 1999-11-29 2001-06-08 Mitsubishi Electric Corp 発光装置
JP2004000802A (ja) 2003-09-26 2004-01-08 Olympia:Kk 遊技機の基板収納ケース
JP2005245504A (ja) 2004-03-01 2005-09-15 Seiko Epson Corp 遊技機用の制御装置
JP2010246846A (ja) 2009-04-20 2010-11-04 Daito Giken:Kk 遊技台
JP2011115355A (ja) 2009-12-03 2011-06-16 Daito Giken:Kk 遊技台
JP2020175244A (ja) 2020-08-04 2020-10-29 株式会社大一商会 遊技機
JP2022168892A (ja) 2021-04-27 2022-11-09 株式会社大一商会 遊技機

Also Published As

Publication number Publication date
JP2022168891A (ja) 2022-11-09

Similar Documents

Publication Publication Date Title
JP7523096B2 (ja) 遊技機
JP7551256B2 (ja) 遊技機
JP7551254B2 (ja) 遊技機
JP7551252B2 (ja) 遊技機
JP7551255B2 (ja) 遊技機
JP7551253B2 (ja) 遊技機
JP7701005B2 (ja) 遊技機
JP7701006B2 (ja) 遊技機
JP7690178B2 (ja) 遊技機
JP7689685B2 (ja) 遊技機
JP7523097B2 (ja) 遊技機
JP7539658B2 (ja) 遊技機
JP7525857B2 (ja) 遊技機
JP7525860B2 (ja) 遊技機
JP7539657B2 (ja) 遊技機
JP7525858B2 (ja) 遊技機
JP7539659B2 (ja) 遊技機
JP7525859B2 (ja) 遊技機
JP7560233B2 (ja) 遊技機
JP7560237B2 (ja) 遊技機
JP7560235B2 (ja) 遊技機
JP7560234B2 (ja) 遊技機
JP7560236B2 (ja) 遊技機
JP7774791B2 (ja) 遊技機
JP7774789B2 (ja) 遊技機

Legal Events

Date Code Title Description
A621 Written request for application examination

Free format text: JAPANESE INTERMEDIATE CODE: A621

Effective date: 20240104

A521 Request for written amendment filed

Free format text: JAPANESE INTERMEDIATE CODE: A523

Effective date: 20240611

A977 Report on retrieval

Free format text: JAPANESE INTERMEDIATE CODE: A971007

Effective date: 20240830

A131 Notification of reasons for refusal

Free format text: JAPANESE INTERMEDIATE CODE: A131

Effective date: 20240904

A601 Written request for extension of time

Free format text: JAPANESE INTERMEDIATE CODE: A601

Effective date: 20241028

A521 Request for written amendment filed

Free format text: JAPANESE INTERMEDIATE CODE: A523

Effective date: 20241211

A131 Notification of reasons for refusal

Free format text: JAPANESE INTERMEDIATE CODE: A131

Effective date: 20250325

A521 Request for written amendment filed

Free format text: JAPANESE INTERMEDIATE CODE: A523

Effective date: 20250521

TRDD Decision of grant or rejection written
A01 Written decision to grant a patent or to grant a registration (utility model)

Free format text: JAPANESE INTERMEDIATE CODE: A01

Effective date: 20250611

A61 First payment of annual fees (during grant procedure)

Free format text: JAPANESE INTERMEDIATE CODE: A61

Effective date: 20250611

R150 Certificate of patent or registration of utility model

Ref document number: 7701005

Country of ref document: JP

Free format text: JAPANESE INTERMEDIATE CODE: R150