JP7621629B2 - 調剤システム - Google Patents

調剤システム Download PDF

Info

Publication number
JP7621629B2
JP7621629B2 JP2020121478A JP2020121478A JP7621629B2 JP 7621629 B2 JP7621629 B2 JP 7621629B2 JP 2020121478 A JP2020121478 A JP 2020121478A JP 2020121478 A JP2020121478 A JP 2020121478A JP 7621629 B2 JP7621629 B2 JP 7621629B2
Authority
JP
Japan
Prior art keywords
drug
container
unit
medicine
packaging device
Prior art date
Legal status (The legal status is an assumption and is not a legal conclusion. Google has not performed a legal analysis and makes no representation as to the accuracy of the status listed.)
Active
Application number
JP2020121478A
Other languages
English (en)
Other versions
JP2022018394A (ja
Inventor
洋平 藤本
Current Assignee (The listed assignees may be inaccurate. Google has not performed a legal analysis and makes no representation or warranty as to the accuracy of the list.)
Takazono Corp
Original Assignee
Takazono Corp
Priority date (The priority date is an assumption and is not a legal conclusion. Google has not performed a legal analysis and makes no representation as to the accuracy of the date listed.)
Filing date
Publication date
Application filed by Takazono Corp filed Critical Takazono Corp
Priority to JP2020121478A priority Critical patent/JP7621629B2/ja
Publication of JP2022018394A publication Critical patent/JP2022018394A/ja
Priority to JP2024003986A priority patent/JP2024026769A/ja
Application granted granted Critical
Publication of JP7621629B2 publication Critical patent/JP7621629B2/ja
Priority to JP2025053380A priority patent/JP2025089521A/ja
Active legal-status Critical Current
Anticipated expiration legal-status Critical

Links

Images

Landscapes

  • Medical Preparation Storing Or Oral Administration Devices (AREA)
  • Basic Packing Technique (AREA)

Description

本開示は、調剤システムに関する。
特開2016-130972号公報(特許文献1)には、種類毎に散薬を収容するための複数の薬剤容器と、薬剤容器から排出された散剤を配分する分配ユニットと、散薬を個別に分包する分包動作を実行する薬剤分包装置とを備える、散薬分包装置が開示されている。
特開2016-130972号公報
薬剤分包装置では、効率化のため、分包処理に要する時間を短縮することが求められている。
本開示では、分包処理に要する時間を短縮できる、薬剤分包装置が提供される。
本開示のある局面に従うと、薬剤分包装置が提案される。薬剤分包装置とは異なる他の薬剤分包装置において、薬剤が量り取られて容器に収容される。薬剤分包装置は、容器を取り付け可能な容器取付部を有し、薬剤を容器から排出する薬剤排出部と、薬剤排出部において排出された薬剤を分包する分包部と、を備えている。
本開示に従った薬剤分包装置によれば、分包処理に要する時間を短縮することができる。
調剤システムを示す概略図である。 実施形態に係る薬剤分包装置の概略構成図である。 分包部を平面視した模式図である。 薬剤分包装置の電気的な構成を示すブロック図である。 内部計量容器(外部薬剤導入容器、搬出容器)の斜視図である。 計量装置の概略構成図である。 他の薬剤分包装置の概略構成図である。 他の薬剤分包装置の電気的な構成を示すブロック図である。 薬剤の供給および分包の処理の流れを示す第1のフロー図である。 薬剤の供給および分包の処理の流れを示す第2のフロー図である。 分包の実行可否を判定するための設定値について示す図である。 調剤データが複数の薬剤を含みこれら複数の薬剤を一包化する場合の、調剤データ全体としての分包の実行可否の判断について示す図である。 印刷出力の第1の例を示す図である。 印刷出力の第2の例を示す図である。
以下、図面に基づいて本発明の実施の形態を説明する。なお、以下の図面において、同一または相当する部分には同一の参照番号を付し、その説明は繰り返さない。
図1は、調剤システム100を示す概略図である。図2は、実施形態に係る薬剤分包装置1の概略構成図である。図3は、分包部33を平面視した模式図である。図4は、薬剤分包装置1の電気的な構成を示すブロック図である。
図1に示すように、調剤システム100は、薬剤分包装置1と、計量装置80と、他の薬剤分包装置95と、を備える。調剤システム100は、例えば、薬局又は病院に設置される。
薬剤分包装置1は、薬剤を供給して分包する。薬剤分包装置1は、薬剤を供給するために、1又は複数の薬剤をそれぞれ量り取ることができる。本明細書において、薬剤の量り取りとは、薬剤収容庫等に収容された薬剤を必要な分だけ取り出すことをいう。薬剤分包装置1は、薬剤として散剤(粉状、細粒状、又は顆粒状の薬剤)を量り取る。薬剤分包装置1は、散剤に加えて錠剤を分包可能であってもよい。
計量装置80は、薬剤分包装置1の外部に設置されている。計量装置80は、薬剤分包装置1に代わって薬剤を量り取ることができる。
薬剤分包装置1が行う薬剤の供給及び分包は、オペレータにより入力された調剤データに基づいて行われる。
薬剤分包装置1は、薬剤の分包のみを行うこともできる。この場合、薬剤の量り取りには、計量装置80等が用いられる。計量装置80は、オペレータが薬瓶等から取り出した薬剤を計量する。薬剤分包装置1は、薬剤の量り取りのみを行うこともできる。この場合、量り取られた薬剤は、分包されずに薬剤分包装置1の外部に出される。薬剤分包装置1は、量り取った薬剤を容器に収容し、当該容器をオペレータが取り出すことができるようにする。
以下の説明では、薬剤分包装置1が薬剤を分包することを第1動作と称し、薬剤分包装置1が薬剤の量り取りを行ってその後に分包をしないことを第2動作と称する。第1動作において、薬剤分包装置1が量り取りを行なってもよく、薬剤分包装置1は量り取りを行わなくてもよい。薬剤分包装置1の外部で計量装置80等が量り取った(計量した)薬剤を、薬剤分包装置1が分包する場合も、第1動作に含まれる。
薬剤分包装置1は、図2に示すように、第1保管部11と、第2保管部12と、第3保管部13と、を備える。また、薬剤分包装置1は、図2及び図4に示すように、搬送部14と、薬剤収容庫15と、第1情報処理部16と、量り取り部30と、第2情報処理部19と、第3情報処理部20と、表示部21と、操作部22と、印刷部24と、薬剤排出部32と、分包部33と、清掃部38と、制御部50と、を備える。
第1保管部11は、薬剤が収容されていない複数の内部計量容器91を保管することができる。内部計量容器91は、供給及び分包の対象である薬剤を収容して薬剤分包装置1の各部に搬送するために用意されている。内部計量容器91の構成については後述する。
第1保管部11は、例えば、複数の内部計量容器91を待機させるための複数の支持台を有し、それぞれの支持台で各内部計量容器91の底面を支持する構成とすることができる。ただし、内部計量容器91を実質的に保管できる限り、第1保管部11の構成は任意に変更することができる。
第2保管部12は、薬剤が収容されていない複数の外部薬剤導入容器92を保管することができる。外部薬剤導入容器92は、オペレータが薬剤分包装置1の外部で用意した薬剤を収容し、その薬剤の分包のために薬剤分包装置1に導入される容器として用いられる。外部薬剤導入容器92は、薬剤分包装置1ではなく図1の計量装置80等が計量を行う場合に、計量装置80で計量される薬剤を収容し、計量された薬剤を収容した状態で薬剤分包装置1内へ導入するために、薬剤分包装置1において用意されている。薬剤分包装置1に第2保管部12が設けられず、薬剤分包装置1の外部に外部薬剤導入容器92が保管される構成であってもよい。外部薬剤導入容器92の構成については後述する。
第3保管部13は、薬剤が収容されていない複数の搬出容器93を保管することができる。搬出容器93は、薬剤分包装置1が量り取り後に分包をしない場合に、量り取られた薬剤を収容して薬剤分包装置1から他の薬剤分包装置95へ薬剤を搬出するために、薬剤分包装置1において用意されている。
第2保管部12及び第3保管部13は、例えば第1保管部11と同様に、外部薬剤導入容器92又は搬出容器93の底面を支持する構成とすることができる。
内部計量容器91について説明する。図5は、内部計量容器91(外部薬剤導入容器92、搬出容器93)の斜視図である。内部計量容器91は、図5に示すように、収容部91aと、排出経路部91bと、開閉部91cと、情報表示部(表示部)91dと、情報記録部(情報記録部材)91eと、を備える。
収容部91aは、内部計量容器91が実質的に薬剤を収容する部分である。収容部91aは、上方を開放させた中空状に形成されている。
排出経路部91bは、収容部91aの内部空間と外部空間とを接続する細い通路として構成されている。排出経路部91bは、収容部91aの端部に連通するように形成されている。
開閉部91cは、シャッター状の可動部材として構成されている。開閉部91cは、収容部91aと排出経路部91bとの接続部分を開閉することができる。
情報表示部91dは、調剤データ及び調剤に関する情報を表示可能なディスプレイである。情報表示部91dは、例えば、マイクロカプセル式又は電気泳動式の電子ペーパとして構成することができる。
情報記録部91eは、例えば不揮発性のメモリを有しており、容器固有情報を記録することができる。容器固有情報には、容器の識別情報が含まれる。なお、容器固有情報には、容器の種類を示す情報(内部計量容器91、外部薬剤導入容器92、搬出容器93)を含むようにしてもよい。情報記録部91eは、例えばRFID(Radio Frequency Identification)タグとして構成することができる。
本実施形態の薬剤分包装置1では、同じ形状の内部計量容器91が複数用意されている。なお、互いに収容部91aの大きさが異なる複数種類の内部計量容器91が用意されていてもよい。この場合、多種の薬剤の量り取り等、量り取りを行う様々な状況に対応することができる。
外部薬剤導入容器92について説明する。外部薬剤導入容器92は、図5に示すように、内部計量容器91と実質的に同様の構成である。外部薬剤導入容器92は、収容部92aと、排出経路部92bと、開閉部92cと、情報表示部92dと、情報記録部92eと、を備える。
収容部92a、排出経路部92b、開閉部92c、情報表示部92d、及び情報記録部92eは、内部計量容器91における収容部91a、排出経路部91b、開閉部91c、情報表示部91d、及び情報記録部91eと同様の構成であるので、説明を省略する。
本実施形態の薬剤分包装置1では、同じ形状の外部薬剤導入容器92が複数用意されている。なお、互いに収容部92aの大きさが異なる複数種類の外部薬剤導入容器92が用意されていてもよい。この場合、多種の薬剤の外部計量等、外部計量を行う様々な状況に対応することができる。
搬出容器93について説明する。搬出容器93は、図5に示すように、内部計量容器91と実質的に同様の構成である。搬出容器93は、収容部93aと、排出経路部93bと、開閉部93cと、情報表示部93dと、情報記録部93eと、を備える。
収容部93a、排出経路部93b、開閉部93c、情報表示部93d、及び情報記録部93eは、内部計量容器91における収容部91a、排出経路部91b、開閉部91c、情報表示部91d、及び情報記録部91eと同様の構成であるので、説明を省略する。
本実施形態の薬剤分包装置1では、同じ形状の搬出容器93が複数用意されている。なお、互いに収容部93aの大きさが異なる複数種類の搬出容器93が用意されていてもよい。この場合、多種の薬剤の量り取り等、量り取りを行う様々な状況に対応することができる。
搬送部14は、内部計量容器91、外部薬剤導入容器92、及び搬出容器93を搬送することができる。搬送部14は、図2に示すように、第1搬送部14aと、第2搬送部14bと、を備える。
第1搬送部14a及び第2搬送部14bのそれぞれの動作は、制御部50により制御される。第1搬送部14aと第2搬送部14bとは、搬送を行う範囲が異なるだけであり、搬送を行う構成は実質的に同じであるため、以下では第1搬送部14aを例に挙げて説明する。
第1搬送部14aは、内部計量容器91、外部薬剤導入容器92、又は搬出容器93を保持するための容器保持部を備えている。容器保持部は、薬剤分包装置1に定められた経路に沿って移動可能に構成されている。第1搬送部14aは、内部計量容器91、外部薬剤導入容器92、又は搬出容器93を容器保持部に保持した状態で、容器保持部を移動させることで、内部計量容器91、外部薬剤導入容器92、又は搬出容器93を搬送する。
このように、本実施形態では、内部計量容器91、外部薬剤導入容器92及び搬出容器93を、共通の第1搬送部14aによって搬送する構成となっている。従って、3種類の容器のそれぞれにおいて、第1搬送部14a(容器保持部)に取り付けられる部分を同一の構成とすると、第1搬送部14aの構成を簡素化できるために好ましい。
内部計量容器91、外部薬剤導入容器92及び搬出容器93は、構成及び機能の点で互いに類似している。従って、内部計量容器91は、第1動作に用いられる外部薬剤導入容器92としても使用可能である。また、内部計量容器91は、第2動作に用いられる搬出容器93としても使用可能である。外部薬剤導入容器92は、第1動作に用いられる内部計量容器91としても使用可能である。また、外部薬剤導入容器92は、第2動作に用いられる搬出容器93としても使用することもできる。容器の種類を減らすことで、構成の簡素化を実現することができる。
図2には、第1搬送部14aの経路が破線で示され、第2搬送部14bの経路が2点鎖線で示されている。第1搬送部14aと第2搬送部14bは、個別の駆動源を備えており、それぞれが独立して動作可能である。従って、薬剤分包装置1は、第1搬送部14aによる容器の搬送と、第2搬送部14bによる容器の搬送と、を同時に並行して行うことができる。
搬送部14が容器を保持する構成は様々であり、例えば、伸縮可能又は回転可能なアームの先端に容器保持部を設け、アームを伸縮させたり回転させたりして容器保持部の位置を変更する構成としてもよい。また例えば、容器をチャックで掴んだり、容器を吸引して保持したりしてもよい。
薬剤収容庫15は、量り取りの対象となる薬剤を収容する。それぞれの薬剤収容庫15には、薬剤を容器外に排出して取り出すための開口が形成されている。
原則として、複数の薬剤収容庫15には、それぞれ異なる種類の薬剤が収容される。ただし、例えば使用頻度が高い薬剤に関しては、同一の薬剤が複数の薬剤収容庫15に収容されてもよい。
薬剤分包装置1は、薬剤のほかに賦形剤を取り扱うこともできる。複数の薬剤収容庫15のうち何れかの収容庫には、賦形剤が収容されてもよい。薬剤分包装置1は、薬剤(散剤)の賦形が必要な場合には、賦形剤を薬剤収容庫15から取り出す。この場合は、薬剤と同様に、賦形剤の供給を行うことができる。複数の薬剤収容庫15の何れかの収容庫には、清掃材が収容されてもよい。この場合、薬剤と同様に清掃材の供給を行うことができる。清掃材が薬剤収容庫15から取り出されて、薬剤分包装置1の薬剤経路に接触しながら分包されることにより、清掃材が接触する薬剤経路が清掃される。清掃材には、賦形剤が用いられてもよい。賦形剤および/または清掃材は、乳糖であってもよい。
薬剤収容庫15の外面には、情報記録部71が設けられている。情報記録部71は、例えばRFIDタグとすることができる。情報記録部71には、薬剤収容庫15に収容された薬剤に関する情報(収容薬剤情報)を記憶することができる。収容薬剤情報には、薬剤名、薬剤収容庫15内の薬剤残量、薬剤の使用期限、前回補充日、量り取り部30の作動条件等が含まれる。薬剤分包装置1は、情報記録部71を読み取ることにより、収容薬剤情報を得ることができる。なお、情報記録部71に薬剤収容庫15の識別情報のみを記憶させておき、これを薬剤分包装置1で読み取ると、前述の収容薬剤情報が後述の記憶部61から呼び出されるようにしてもよい。
第1情報処理部16は、情報記録部71から収容薬剤情報を読み取ることができる。第1情報処理部16は、例えばRFIDリーダライタとして構成することができる。第1情報処理部16は、薬剤分包装置1の任意の位置に設けられている。
量り取り部30は、薬剤取出部17と、計量部18と、を備える。薬剤取出部17は、薬剤収容庫15から薬剤を取り出す。計量部18は、薬剤収容庫15から取り出された薬剤を計量する。
薬剤取出部17は、複数の薬剤収容庫15を着脱可能に保持する。薬剤取出部17は、保持された薬剤収容庫15を所定位置に移動させ、当該所定位置において、薬剤収容庫15に収容されている薬剤を、開口を介して下方に取り出す。薬剤取出部17の動作は、第1情報処理部16が読み取った収容薬剤情報に基づいて、制御部50により制御される。
計量部18は、載置台18aと、検出部18bと、を備える。載置台18aは、薬剤取出部17の上記の所定位置の下方に配置されている。載置台18aには、内部計量容器91又は搬出容器93を載置することができる。第1搬送部14aは、容器保持部に保持した内部計量容器91又は搬出容器93を搬送して、載置台18aに置いたり、載置台18aから取り去ったりすることができる。
検出部18bは、載置台18aに内部計量容器91又は搬出容器93が載せられた状態で、容器の内部の薬剤を計量することができる。言い換えれば、計量部18は電子天秤として構成されており、載置台18aは電子天秤における計量皿の部分に相当する。検出部18bは、例えば電磁式又はロードセル式の荷重センサとして構成することができる。
量り取り部30は、薬剤情報が示す薬剤のそれぞれについて全服用分を量り取るように、制御部50により制御される。制御部50は、薬剤情報が示す薬剤が収容された薬剤収容庫15を、薬剤取出部17により載置台18aの真上に適宜移動させる。その後、制御部50は、薬剤収容庫15から薬剤を下方に取り出し、取り出された薬剤を載置台18aに載置された内部計量容器91又は搬出容器93に収容するとともに、収容された薬剤について検出部18bにより計量を行う。
第2情報処理部19は、計量部18にセットされた、内部計量容器91の情報記録部91e又は搬出容器93の情報記録部93eに記憶された、容器固有情報を取得する。また、第2情報処理部19は、計量部18にセットされた、内部計量容器91の情報表示部91d又は搬出容器93の情報表示部93dの、表示内容を変更することができる。第2情報処理部19は、例えばRFIDリーダライタとして構成されている。
第3情報処理部20は、第1保管部11に保管された内部計量容器91の情報記録部91eに記憶された容器固有情報を取得する。第3情報処理部20による容器固有情報の取得は、第2保管部12に保管された外部薬剤導入容器92、又は第3保管部13に保管された搬出容器93に対しても同様に行われる。
第3情報処理部20は、内部計量容器91又は搬出容器93に対して表示内容の変更を行うようにしてもよい。この場合、第2情報処理部19は、計量部18にセットされた内部計量容器91又は搬出容器93に対して、計量結果のみに関して表示内容の変更を行うようにしてもよい。
表示部21は、薬剤分包装置1に関する様々な情報を表示可能な表示画面を有する装置である。表示部21としては、例えば、液晶ディスプレイ又は有機EL(Electro Luminescence)ディスプレイ等とすることが考えられる。表示部21は、薬剤分包装置1の適宜の位置に配置される。
操作部22は、オペレータが薬剤分包装置1に対して各種の指示を行うために操作される。操作部22は、薬剤分包装置1の適宜の位置(例えば、表示部21の近傍)に配置される。操作部22はキーボードを含んで構成されていてもよく、表示部21がタッチパネルであって操作部22は表示部21に組み込まれた構成とすることもできる。
印刷部24は、薬剤分包装置1による量り取り、供給及び分包の対象である薬剤に関する情報を印刷する。印刷部24は、制御部50によって制御される。印刷部24は、量り取り部30の薬剤取出部17によって薬剤収容庫15から取り出され、計量部18で計量された薬剤の重量を印刷出力してもよい。印刷部24は、量り取り部30による薬剤収容庫15からの取り出しの対象である薬剤の、取り出されるべき重量を印刷出力してもよい。印刷部24は、感熱式、インクジェット方式などの任意の方式のプリンタであってもよい。
薬剤排出部32には、第2搬送部14bにより搬送された内部計量容器91又は外部薬剤導入容器92がセットされる。薬剤排出部32は、セットされた内部計量容器91又は外部薬剤導入容器92内の薬剤を排出させることができる。内部計量容器91又は外部薬剤導入容器92を手動で、薬剤排出部32にセットおよび/または薬剤排出部32から取り外しすることも可能である。
薬剤排出部32は、容器取付部32aを備える。容器取付部32aは、内部計量容器91又は外部薬剤導入容器92を取付可能に構成されている。容器取付部32aへの内部計量容器91又は外部薬剤導入容器92の取付けは、第2搬送部14bによって自動で、または手動で、行われる。
容器取付部32aは、容器の開閉部91c,92cを閉鎖状態から開放状態に移動させる作動部を備える。容器取付部32aに取り付けられる前は、収容部91a,92aと排出経路部91b,92bとの接続部分が、閉鎖した状態となっている、容器取付部32aに容器が取り付けられる際に、作動部が開閉部91c,92cを移動させる。これにより、収容部91a,92aと排出経路部91b,92bとの接続部分が開放され、容器からの薬剤の排出が許容された状態になる。
薬剤排出部32は、振動装置32bを備える。振動装置32bは、振動を発生させるモータ等を含んで構成されている。振動装置32bは制御部50によって制御される。振動装置32bは、制御部50からの制御信号に応じて振動を発生させる。振動装置32bが発生させた振動は、容器取付部32aに取り付けられた内部計量容器91又は外部薬剤導入容器92に伝達される。容器の排出経路部91b、92bは、振動フィーダのトラフとして機能し得る。
分包部33は、量り取り部30によって量り取られた薬剤を分包することができるように構成されている。分包部33は、量り取り部30によって量り取られた薬剤を一服用分ごとに分包するように、制御部50により制御される。分包部33は、分配部34と、包装部35と、を備える。
分配部34は、薬剤排出部32によって容器から排出された薬剤を、一服用分ずつに分配する。分配部34は、分配皿34aと、送り部34bと、を備える。分配皿34aは、鉛直方向の軸を中心として回転可能に構成されている。薬剤排出部32は、容器から薬剤を排出させて、排出させた薬剤を回転する分配皿34a上に供給する。送り部34bは、分配皿34aに供給された薬剤を所定の量ずつ下方へ落下させる。
図2,3に示すように、薬剤分包装置1は、複数(具体的には、2つ)の分配部34を備えている。それぞれの分配部34は、複数(具体的には、2つ)の薬剤排出部32を備えている。2つの薬剤排出部32のいずれか一方または両方から、1つの分配皿34a上に薬剤が供給される。2つの薬剤排出部32から、同じ種類の薬剤が1つの分配皿34aに供給されてもよく、異なる種類の薬剤が1つの分配皿34aに供給されてもよく、薬剤と賦形剤とが1つの分配皿34aに供給されてもよい。
包装部35は、分配部34によって分配された薬剤を、包装材40によって包装する。包装部35は、ホッパ35aと、ヒータ35bと、を備える。包装部35は、分配部34で一服用分ずつに分配された薬剤をホッパ35aを通じて包装材40に落下させる動作と、ヒータ35bにより包装材40を熱で溶着する動作とを繰り返す。これらの動作の繰り返しにより、一服用分ずつの薬剤が包装材40に封入される。薬剤が入れられた包装材40は、薬剤分包装置1の外部又は内部の貯留部へ送り出される。
供給待機部23は、薬剤の量り取りを行う量り取り部30と、薬剤の排出を行う薬剤排出部32との中間に設けられている。薬剤を収容する内部計量容器91又は外部薬剤導入容器92を、必要に応じて供給待機部23に置いて、待機させることができる。
清掃部38は、内部計量容器91又は外部薬剤導入容器92の清掃を行うことができる。清掃は、例えば、内部計量容器91又は外部薬剤導入容器92の内面への、圧縮空気の吹き付け、吸引、ブラシなどによる払拭、などの任意の手段で行なわれてもよい。清掃を行うことにより、容器の内面に残留した薬剤が除去される。
清掃部38の近傍には、清掃待機部37が設けられている。清掃される前の内部計量容器91又は外部薬剤導入容器92を、必要に応じて清掃待機部37に置いて、待機させることができる。
供給待機部23及び清掃待機部37は、例えば、容器を載せることが可能な板状の部材として構成することができるが、これに限定されない。
制御部50は、調剤データに基づいて、薬剤分包装置1の各部(具体的には、量り取り部30、搬送部14、薬剤排出部32及び分包部33等)を制御することができる。制御部50は、薬剤分包装置1の一部として構成されてもよく、他の薬剤分包装置95等の他の調剤機器を制御する調剤機器制御装置の一部として構成してもよい。
詳細に説明すると、制御部50は、公知のコンピュータとして構成されており、CPU等の演算装置と、フラッシュメモリ又はハードディスク等の記憶装置と、外部と通信するための入出力部と、を備える。記憶装置には、各種のプログラムや設定値が記憶されている。演算装置は、各種プログラム等を記憶装置から読み出し、薬剤分包装置1の各部に設けられたセンサの検出値及び記憶装置に記憶された各種の設定値等に基づいて、薬剤分包装置1の各部の動作を制御する。制御部50は、上記したソフトウェアとハードウェアとを協働させて、図4に示す記憶部61、量り取り選択部62、及び案内部65における処理をし、その処理の結果としての指令信号の出力をすることにより、薬剤分包装置1を動作させることができる。
記憶部61は、前述のように外部から入力された調剤データを記憶することができる。また、記憶部61は、第1情報処理部16で読み取った薬剤収容庫15の収容薬剤情報を、薬剤分包装置1内に配置された薬剤収容庫15の配置情報として記憶する。また、記憶部61は、薬剤分包装置1を動作するために必要な様々な設定値を記憶することができる。
また、記憶部61は、薬剤についての固有情報である薬剤マスタ情報等の各種データを記憶する。このマスタ情報には、例えば、薬剤コード、薬剤名、JANコード(又はRSS)、薬瓶(薬剤容器)コード、区分(剤形:散薬、錠剤、外用薬等)、比重、薬剤種(普通薬、毒薬、麻薬、劇薬、抗精神薬、治療薬等)、配合変化、注意事項、常用量、同時服用禁止情報等が含まれる。
また、記憶部61は、容器固有情報(容器の識別番号、容器の種類等)を容器マスタ情報として記憶することができる。
量り取り選択部62は、調剤データに含まれる薬剤のうち少なくともいずれか1つが、分包部33の能力の事情で分包できない場合に、当該薬剤のうち量り取り部30で量り取りができる薬剤について、量り取り部30による量り取り動作を実行するか否かを、オペレータに選択させることができる。選択を実現する構成は様々であるが、例えば、量り取り選択部62が選択肢(例えば、実行する/しないのボタン)を表示部21に表示させ、操作部22を用いてオペレータに選択させてもよい。
案内部65は、オペレータに案内(指示)を行うことができる。案内部65は、例えば、調剤データに含まれる薬剤のうち少なくとも何れかが分包部33の能力の事情で分包できない場合に、量り取り部30によって量り取られた薬剤を、他の薬剤分包装置95を使用して分包すべきことを、オペレータに知らせることができる。また、案内部65は、薬剤収容庫15から内部計量容器91に供給された薬剤が調剤データに基づく全服用分の量に対して不足する場合に、分包部33による分包動作を実行可能にするための対応として、外部計量対応を行うことが可能であることをオペレータに知らせることができる。
外部計量対応とは、オペレータが薬剤分包装置1の外部で所定量(例えば、全服用分)の薬剤を用意し、その所定量の薬剤を薬剤分包装置1に導入する対応である。外部計量対応は、所定量の薬剤を、その薬剤を収容する外部薬剤導入容器92ごと薬剤分包装置1に導入する態様と、薬剤のみを薬剤分包装置1に導入する態様とを含む。このとき、補充対応又は薬剤収容庫導入対応を行うことが可能であることをオペレータに知らせることもできる。補充対応とは、薬剤収容庫15に薬剤を補充する対応である。薬剤収容庫導入対応とは、必要な量の薬剤が入っている薬剤収容庫15を薬剤分包装置1に導入する対応である。
案内部65がオペレータへの案内を実現する方法は様々であるが、例えば、表示部21に適宜のメッセージを表示させることが考えられる。案内は、例えば、音声、又は通知ランプ等により行われてもよい。
次に、図2を参照して、薬剤分包装置1に設定される様々な位置について説明する。これらの位置は何れも、搬送部14による容器の搬送元及び搬送先となり得る。
第1待機位置P1は、第1保管部11において、薬剤を収容していない内部計量容器91が待機可能な位置である。第1待機位置P1は、第1保管部11で複数の内部計量容器91が保管されている保管位置ということもできる。
第2待機位置P2は、第2保管部12において、薬剤を収容していない外部薬剤導入容器92が待機可能な位置である。第2待機位置P2は、第2保管部12で複数の外部薬剤導入容器92が保管されている保管位置ということもできる。
第3待機位置P3は、第3保管部13において、薬剤を収容していない搬出容器93が待機可能な位置である。第3待機位置P3は、第3保管部13で複数の搬出容器93が保管されている保管位置ということもできる。
計量位置P4は、計量部18が内部計量容器91又は搬出容器93に収容される薬剤の計量を行う位置である。
第1取出位置P5は、内部計量容器91又は搬出容器93を薬剤分包装置1の外部に取り出すための位置である。たとえば、量り取り部30において薬剤収容庫15から内部計量容器91又は搬出容器93へ薬剤を量り取る場合であって、薬剤収容庫15に収容されている薬剤の量が不足している等のために取り出し量(計測量)が目標量である全服用分の量に対して不足したときに、目標量に満たない薬剤を収容する内部計量容器91又は搬出容器93を当該薬剤分包装置1の外部に取り出すために、第1取出位置P5が用いられる。この取り出しは、薬剤分包装置1に設けられた第1取出部25を介して行われる。
本実施形態では、第1取出位置P5は計量位置P4と異なる位置に設定されている。これに限られず、たとえば計量位置P4が第1取出位置P5を兼ねる設定としてもよい。
第2取出位置P6は、薬剤分包装置1ではなく計量装置80を用いて薬剤の計量を行う場合に、薬剤を収容する前の外部薬剤導入容器92を薬剤分包装置1の外部に取り出すための位置である。この取り出しは、薬剤分包装置1に設けられた第2取出部26を介して行われる。第2取出位置P6は、計量装置80で計量された薬剤を収容した外部薬剤導入容器92又は内部計量容器91を薬剤分包装置1に導入するためにセットする位置(導入位置)を兼ねてもよい。
第3取出位置P7は、薬剤分包装置1の外部に搬出容器93を取り出すための位置である。たとえば、薬剤分包装置1で薬剤の量り取りを行うが分包は行わない場合に、量り取り部30で量り取られた薬剤を収容する搬出容器93を薬剤分包装置1の外部に取り出すために、第3取出位置P7が用いられる。この取り出しは、薬剤分包装置1に設けられた第3取出部27を介して行われる。
供給待機位置P8は、量り取り部30で薬剤の量り取りが完了した後、分包部33で容器から薬剤を排出して分配皿34aに供給する前に、内部計量容器91を待機させておく位置である。供給待機位置P8は、計量装置80で計量された薬剤を収容した外部薬剤導入容器92又は内部計量容器91を、薬剤分包装置1に導入するためにセットする位置(導入位置)でもある。供給待機位置P8は、前述の供給待機部23に設定されている。供給待機位置P8は、第1取出位置P5、第2取出位置P6、又は第3取出位置P7を兼ねてもよい。
供給位置P9-L1,P9-L2,P9-R1,P9-R2は、薬剤排出部32において分配皿34aへの薬剤の供給が行われる際の内部計量容器91又は外部薬剤導入容器92の位置である。第2搬送部14bは、供給待機位置P8から供給位置P9-L1,P9-L2,P9-R1,P9-R2のいずれかへ、内部計量容器91を搬送する。薬剤分包装置1の外部から、薬剤を収容する外部薬剤導入容器92又は内部計量容器91を薬剤分包装置1に導入する場合には、その容器の導入位置が供給位置P9-L1,P9-L2,P9-R1,P9-R2のいずれかに設定されて、オペレータが薬剤排出部32に容器を直接セットする設定としてもよい。
前述のように、薬剤分包装置1は複数(具体的には、4つ)の薬剤排出部32を備えており、4つの薬剤排出部32に供給位置P9-L1,P9-L2,P9-R1,P9-R2が割り当てられている。図3に示されるように、供給位置P9-L1,P9-L2は、左側の分配皿34aに薬剤を排出する位置であり、供給位置P9-R1,P9-R2は、右側の分配皿34aに薬剤を排出する位置である。図3においては、図中の下側が薬剤分包装置1の前側である。供給位置P9-L1,P9-R1は、供給位置P9-L2,P9-R2よりも前方に配置されている。供給位置P9-L2,P9-R2は、供給位置P9-L1,P9-R1よりも装置の奥側にある。
そのため、薬剤分包装置1の外部からオペレータが薬剤排出部32に容器をセットする場合には、装置の手前側にある供給位置P9-L1,P9-R1への容器の取り付けがより容易であり、装置の奥側にある供給位置P9-L2,P9-R2への容器の取り付けがより困難とされている。
清掃待機位置P10は、内部計量容器91又は外部薬剤導入容器92が、清掃部38における清掃を待機する位置である。清掃待機位置P10は、前述の清掃待機部37に設定されている。
清掃位置P11は、内部計量容器91又は外部薬剤導入容器92が清掃部38によって清掃される位置である。供給位置P9-L1,P9-L2,P9-R1,P9-R2で分配皿34aに薬剤を排出し終えると、内部計量容器91および外部薬剤導入容器92は、清掃位置P11を経由して、それぞれ第1待機位置P1および第2待機位置P2へ戻る。なお、薬剤分包装置1に第2保管部12が設けられず、薬剤分包装置1の外部に外部薬剤導入容器92が保管される構成の場合、外部薬剤導入容器92は、オペレータにより供給位置から取り外されて、外部で清掃された後に、第2待機位置P2へ戻される。
本実施形態において、供給待機位置P8及び清掃待機位置P10は、搬送部14による容器の搬送の中継地点として機能する。
具体的に説明すると、第1搬送部14aは、上記の第1待機位置P1、第2待機位置P2、第3待機位置P3、計量位置P4、第1取出位置P5、第2取出位置P6、第3取出位置P7、供給待機位置P8、及び清掃待機位置P10の間で、容器を搬送可能に構成されている。一方、第2搬送部14bは、供給待機位置P8、供給位置P9-L1,P9-L2,P9-R1,P9-R2及び清掃待機位置P10の間で、容器を搬送可能に構成されている。
従って、制御部50が第1搬送部14aにより内部計量容器91等を供給待機位置P8まで搬送した後、搬送された内部計量容器91等を適宜のタイミングで供給待機位置P8から第2搬送部14bにより搬送することができる。また、第2搬送部14bにより内部計量容器91等を清掃待機位置P10まで搬送した後、搬送された内部計量容器91等を適宜のタイミングで清掃待機位置P10から第1搬送部14aにより搬送することができる。
本実施形態では、第2保管部12に保管された外部薬剤導入容器92を、第1搬送部14aにより第2取出位置P6まで搬送して薬剤分包装置1の外部に取り出すことができるように構成したが、第2保管部12に保管された外部薬剤導入容器92をオペレータが取り出すことができるようにしてもよい。この場合、第2保管部12は、薬剤分包装置1の外部に設けられていてもよい。
次に、計量装置80について説明する。図6は、計量装置80の概略構成図である。計量装置80は、図6に示すように、制御部81と、計量部82と、情報処理部83と、表示部84と、を備える。計量部82、情報処理部83、及び表示部84は、それぞれ制御部81に電気的に接続されている。計量装置80は、外部薬剤導入容器92に収容する薬剤を計量することができる。内部計量容器91が外部計量のために用いられる場合は、計量装置80は、内部計量容器91に収容する薬剤を計量する。
制御部81は、薬剤分包装置1の制御部50と通信可能であり、薬剤分包装置1の記憶部61に記憶された調剤データを受信することができる。計量装置80は、計量(目標量に対して不足する薬剤の計量等)が完了すると、計量結果を薬剤分包装置1に送信する。
計量部82は、薬剤分包装置1の計量部18と実質的に同様の構成であるので、説明を省略する。計量装置80は、オペレータが適宜の薬瓶等から乳鉢または秤量皿等に取り出した薬剤を計量する。なお、計量装置80は、外部薬剤導入容器92に薬剤を収容する状態で外部薬剤導入容器92ごと薬剤の計量を行ってもよい。
情報処理部83は、計量部82の近傍に配置されている。情報処理部83は、バーコードリーダと、RFIDリーダライタと、を有する。バーコードリーダは、上記の薬瓶等に設けられたバーコードを読み取ることができる。RFIDリーダライタは、外部薬剤導入容器92の情報記録部92eの内容を読み取ることができる。
情報処理部83は、薬瓶等のバーコード及び外部薬剤導入容器92の情報記録部92eのそれぞれに記憶されている情報を読み取る処理を行う。具体的には、情報処理部83は、薬瓶等に設けられたバーコードから、当該薬瓶等の薬剤特定情報を読み取り、制御部81により当該薬瓶等に収容された薬剤を特定する。また、情報処理部83は、外部薬剤導入容器92の情報記録部92eに記憶されている容器固有情報を読み取る。計量装置80は、読み取った容器固有情報に対応する調剤データを、薬剤分包装置1の制御部50から取得する。その際、計量装置80は、計量対象となる薬剤の情報(薬剤の目標量を含む)も取得する。
そして、制御部81は、薬剤特定情報に基づいて特定した薬剤が、薬剤分包装置1の制御部50から取得した調剤データに含まれる薬剤情報が示す薬剤のうち何れの薬剤に該当するかを特定する。制御部81は、薬剤特定情報に基づいて特定した薬剤が、調剤データに含まれる薬剤情報が示す薬剤の何れかに一致すると判断した場合、一致した薬剤情報が示す薬剤を計量対象として選択する。計量対象として選択された薬剤の計量を終えると、計量装置80は、薬剤分包装置1の制御部50から取得した調剤データとともに、薬剤の計測量を含む計量結果を、制御部81を介して、薬剤分包装置1の制御部50に送信する。薬剤分包装置1の制御部50は、計量結果を受信し、記憶部61に記憶される調剤データを更新する。
情報処理部83は、外部薬剤導入容器92の情報表示部92dの表示内容を変更することができる。計量装置80での薬剤の計量を終えると、情報処理部83は、外部薬剤導入容器92の情報表示部92dに計測量(計量結果)を表示させる。また、調剤に関する情報として、目標量に相当する量の薬剤を収容しており、薬剤分包装置1に導入する準備ができた旨を、情報表示部92dに表示させるようにしてもよい。
表示部84は、文字等を表示することが可能な表示画面を有する装置である。表示部84は、計量装置80の適宜の位置に配置されている。表示部84は、例えば、タッチパネル付きのディスプレイとして構成することができる。表示部84には、例えば、薬剤の名称及び薬剤の目標量、計測量等を表示することができる。また、表示部84には、薬瓶等の薬剤と量り取るべき薬剤とが一致しているか否かに関して、制御部81が判断した結果を表示することができる。これにより、薬瓶等の薬剤が調剤データに基づく必要な薬剤に間違いないことを確認することができる。
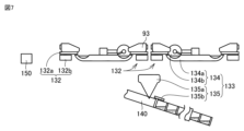
次に、他の薬剤分包装置95について説明する。図7は、他の薬剤分包装置95の概略構成図である。図8は、他の薬剤分包装置95の電気的な構成を示すブロック図である。他の薬剤分包装置95は、図7および図8に示すように、薬剤排出部132と、分包部133と、制御部150と、情報処理部160とを備える。
薬剤排出部132には、搬出容器93がセットされる。薬剤分包装置1で薬剤の量り取りを行うが分包は行わない場合に、量り取り部30で量り取られた薬剤を収容する搬出容器93は、第3取出部27(第3取出位置P7)に搬送される。搬出容器93は、オペレータにより第3取出位置P7から取り外されて、他の薬剤分包装置95の薬剤排出部132に手動でセットされる。薬剤排出部132は、セットされた搬出容器93内の薬剤を排出させることができる。
薬剤排出部132は、容器取付部132aを備える。容器取付部132aは、搬出容器93を取付可能に構成されている。容器取付部132aへの搬出容器93の取付けは、オペレータによって手動で行われる。容器取付部132aは、薬剤分包装置の容器取付部32aと同様の、搬出容器93の開閉部93cを移動させる作動部を備える。
薬剤排出部132は、振動装置132bを備える。振動装置132bは、振動を発生させるモータ等を含んで構成されている。振動装置132bは制御部150によって制御される。振動装置132bは、制御部150からの制御信号に応じて振動を発生させる。振動装置132bが発生させた振動は、容器取付部132aに取り付けられた搬出容器93に伝達される。搬出容器93の振動によって、収容部93aに収容された薬剤が、排出経路部93bを経由して、搬出容器93から排出される。搬出容器93の排出経路部93bは、振動フィーダのトラフとして機能し得る。
分包部133は、薬剤分包装置1の分包部33と実質的に同様の構成であり、薬剤排出部132によって搬出容器93から排出された薬剤を、一服用ずつ包装材140によって包装する。分包部133は、分配部134と、包装部135とを備えている。分配部134は、分配皿134aと送り部134bとを備えている。包装部135は、ホッパ135aとヒータ135bとを備えている。分配皿134a、送り部134b、ホッパ135aおよびヒータ135bは、薬剤分包装置1の分配皿34a、送り部34b、ホッパ35aおよびヒータ35bと同様の構成であるので、説明を省略する。
制御部150は、公知のコンピュータとして構成されており、CPU等の演算装置と、フラッシュメモリ又はハードディスク等で構成される記憶部161と、外部と通信するための入出力部と、を備える。記憶部161には、各種のプログラムや設定値が記憶されている。演算装置は、各種プログラム等を記憶部161から読み出し、他の薬剤分包装置95の各部に設けられたセンサの検出値及び記憶部161に記憶された各種の設定値等に基づいて、他の薬剤分包装置95の各部の動作を制御する。
制御部150は、薬剤分包装置1の制御部50と通信可能であり、薬剤分包装置1の記憶部61に記憶された調剤データを受信することができる。制御部150は、調剤データに基づいて、他の薬剤分包装置95の各部(具体的には、薬剤排出部132および分包部133など)を制御することができる。制御部150は、他の薬剤分包装置95の一部として構成されてもよく、薬剤分包装置1などの他の調剤機器を制御する調剤機器制御装置の一部として構成してもよい。
情報処理部160は、たとえばRFIDリーダライタとして構成することができる。情報処理部160は、搬出容器93の情報記録部93eに記憶されている情報、たとえば搬出容器93の容器固有情報、を読み取ることができる。情報処理部160は、搬出容器93の情報記録部93eに記憶された容器固有情報を読み取る、実施形態の読取部に相当する。
薬剤分包装置1の制御部50は、量り取り部30において量り取られ搬出容器93に収容される薬剤の情報と、その搬出容器93の容器固有情報とを、関連付けて記憶する。具体的には、制御部50は、調剤データに含まれる各薬剤の情報に、各薬剤を収容する搬出容器93の容器固有情報を、関連付けて記憶する。たとえば、薬剤分包装置1に入力された調剤データXに複数の薬剤A,BおよびCが含まれる場合に、制御部50は、薬剤Aを収容する第1の搬出容器93の容器固有情報を薬剤Aの情報に関連付けて記憶し、薬剤Bを収容する第2の搬出容器93の容器固有情報を薬剤Bの情報に関連付けて記憶し、薬剤Cを収容する第3の搬出容器93の容器固有情報を薬剤Cの情報に関連付けて記憶する。
第3保管部13(図2)には、搬出容器93を個別に保管する複数の区画が設けられている。各区画にはセンサが設けられており、センサは、その区画に搬出容器93が保管されているか否かを検出する。搬出容器93を使用するとき、制御部50は、搬出容器93が保管されているとセンサが検出した区画を選択し、その区画内に保管されている搬出容器93を搬送対象として選択する。第3情報処理部20(図2)は、搬出対象とする搬出容器93の容器固有情報を取得する。制御部50は、調剤データに含まれる薬剤の情報に、第3情報処理部20で取得された搬出容器93の容器固有情報を、関連付けることができる。
または、搬出容器93が計量部18にセットされた時点で、第2情報処理部19により搬出容器93の容器固有情報を取得して、薬剤情報に搬出容器93の容器固有情報を関連付けてもよい。
他の薬剤分包装置95の情報処理部160は、搬出容器93の容器固有情報を読み取る。情報処理部160が容器固有情報を読み取った時点で、調剤データに含まれる薬剤の情報であって容器固有情報に関連付けられた薬剤の情報が、薬剤分包装置1から他の薬剤分包装置95に送信される。
または、情報処理部160が容器固有情報を読み取った時点で、調剤データに含まれる薬剤の情報であって容器固有情報に関連付けられた薬剤の情報が、薬剤分包装置1から他の薬剤分包装置95に既に送信されており、制御部150(記憶部161)に記憶されている。薬剤分包装置1から他の薬剤分包装置95に薬剤の情報を含む調剤データを送信するタイミングは、薬剤分包装置1に調剤データが入力された時点(後述するステップS101)としてもよく、薬剤分包装置1では薬剤を分包せず薬剤の量り取りのみを実行すると判断された時点(後述するステップS103においてNO)または選択された時点(後述するステップS104においてNO)としてもよい。
他の薬剤分包装置95の制御部150は、容器固有情報を読み取ると、読み取られた容器固有情報に関連付けられた薬剤の情報を、薬剤分包装置1の制御部50または他の薬剤分包装置95の記憶部161から呼び出す。これにより、他の薬剤分包装置95の容器取付部132aに取り付けられた搬出容器93に収容されている薬剤を特定することができる。
他の薬剤分包装置95は、調剤(分包)が完了すると、制御部150の入出力部を介して、調剤(分包)が完了したことを薬剤分包装置1の制御部50に送信する。調剤データは、薬剤分包装置1で一元的に管理される。他の調剤機器(計量装置80および他の薬剤分包装置95)は、その調剤データを参照する。他の調剤機器の調剤結果に基づいて、薬剤分包装置1で記憶する調剤データが更新される。
次に、薬剤分包装置1を使用して行う薬剤の供給及び分包の処理について説明する。図9および図10は、薬剤の供給および分包の処理の流れを示すフロー図である。
まず、薬剤分包装置1への調剤データの入力が行われる(図8のステップS101)。制御部50は、調剤データの入力画面を表示部21に表示する。調剤データには、例えば服用者、薬剤情報、目標量、計量結果(計測量又は目標量に対する不足量、余剰量)、各調剤データを識別する識別情報(調剤データ番号等)が含まれる。薬剤情報とは、服用する1又は複数の薬剤名、剤形(散剤/錠剤/カプセル剤/液剤/外用薬)、服用法、服用量を含む情報である。服用法とは、1日の服用回数、服用時期、服用日数であり、服用量とは、全服用分の量(例えば重量)、一日服用分の量(重量)、一服用分の量(重量)等である。薬剤情報が示す薬剤に賦形剤が含まれる場合には、賦形剤を薬剤情報が示す薬剤の一つとして取り扱う。
オペレータは、この入力画面に対して、操作部22を用いて調剤データを入力する。オペレータにより入力された調剤データは、制御部50の記憶部61に記憶される。なお、オペレータが手動で調剤データを入力する構成に加えて、外部の調剤機器制御装置等の情報処理装置から通信により薬剤分包装置1に調剤データを入力してもよい。
調剤データの入力が完了すると、調剤指示が行われる(ステップS102)。調剤指示には、薬剤収容庫15に収容されている薬剤の供給および分包(前述の第1動作)をする指示と、薬剤収容庫15に収容されている薬剤を量り取って分包はせずに薬剤分包装置1の外部に搬出(前述の第2動作)をする指示とが含まれる。オペレータは、操作部22を用いて、制御部50に対して調剤指示を入力する。
次に、制御部50は、前のステップS102での調剤指示が、分包であるか否かを判断する(ステップS103)。分包が指示されたと判断された場合(ステップS103においてYES)、ステップS104に進み、制御部50は、調剤データに含まれる薬剤の服用量に基づいて、分包を実行可能であるか否かの判断を実行する。
なお、調剤指示は省略されてもよい。調剤指示が省略される場合、制御部50は、入力されるすべての調剤データに関して分包が指示されたものとして、調剤データに含まれる薬剤の服用量に基づいて、分包を実行可能であるか否かの判断を実行するようにする。
ここで、図11,12を参照して、分包の実行可否の判断についての詳細を説明する。図11は、分包の実行可否を判定するための設定値について示す図である。
図11に示される第1設定値は、分包部33の能力に従った、全服用分の重量として分包可能な薬剤の重量の下限値である。調剤データに含まれる分包対象薬剤の全服用分の重量が第1設定値より少なければ、分包部33は、その分包対象薬剤を分包することができない。第1設定値は、記憶部61に記憶されている。第1設定値は、たとえば、薬剤排出部32において容器から排出され分配皿34aに供給される薬剤が、分配皿34aに均等に振り撒かれて、分配皿34a上に均一に堆積するために必要な量として、設定される。図11に示される第1条件は、調剤データに含まれる分包対象薬剤の全服用分の重量が、第1設定値以上であるという条件である。
図11に示される第2設定値は、分包部33の能力に従った、一服用分の重量として分包可能な薬剤の重量の下限値である。第2設定値は、記憶部61に記憶されている。第2設定値は、たとえば、分配皿34aに均一に堆積された薬剤が分配皿34aから送り部34bによって送られる量を均等にするために必要な量として、設定される。図11に示される第2条件は、調剤データに含まれる分包対象薬剤の一服用分の重量が、第2設定値以上であるという条件である。
第1設定値及び第2設定値は、薬剤分包装置1が設置される病院や薬局の内規等に基づいて、オペレータが任意で設定してもよい。この場合、第1設定値及び第2設定値は、分包部33において分包可能な薬剤の重量の下限値以上であることを条件に設定できるようにしてもよい。また、第1設定値及び第2設定値は、薬剤の種類毎に設定できるようにしてもよい。
図11に示される第3設定値は、量り取り部30の能力に従った、量り取ることができる薬剤の重量の下限値である。第3設定値は、第1設定値よりも小さい値である。第3設定値は、記憶部61に記憶されている。第3設定値は、たとえば、計量部18の最小計量値を考慮して設定されてもよい。図11に示される第3条件は、調剤データに含まれる分包対象薬剤の全服用分の重量が、第3設定値以上であるという条件である。
図11に示される薬剤収容庫登録とは、調剤データに含まれる分包対象薬剤を収容する薬剤収容庫15が、薬剤分包装置1に登録されているか否かの条件である。登録されている薬剤収容庫15の情報は、記憶部61に記憶されている。登録のない薬剤収容庫15は、記憶部61に記憶されていない。なお、薬剤収容庫15が薬剤分包装置1に登録されていると判断するには、登録されている薬剤収容庫15が、分包の実行可否を判断する時点で薬剤分包装置1内に収容されている必要は必ずしもない。
制御部50は、第1条件が満たされている場合、薬剤分包装置1による分包が実行可能であると判定する。より詳細には、第1条件が満たされており、かつ、薬剤収容庫15の登録がある場合、図11に示される「カセット分包」、すなわち、薬剤分包装置1を使用した供給および分包が可能であると判定される。第1条件が満たされているが薬剤収容庫15の登録がない場合、図11に示される「手差し分包」、すなわち、外部計量対応によって薬剤分包装置1の外部で薬剤を収容した外部薬剤導入容器92を薬剤分包装置1内に導入して、その外部薬剤導入容器92から供給された薬剤を分包する処理が可能であると判定される。
制御部50は、第1条件が満たされていない場合、薬剤分包装置1が分包を実行不可能であると判定する。この場合において、薬剤収容庫15の登録がある場合、図11に示される「カップ出し」、すなわち、量り取り部30で薬剤収容庫15から搬出容器93に薬剤を取り出し、取り出した薬剤を計量し、搬出容器93を薬剤分包装置1の外部へ搬出する処理が可能であると判定される。搬出された薬剤は、たとえば、他の薬剤分包装置95に導入されて、他の薬剤分包装置95において分包される。
制御部50は、第1条件が満たされておらず、かつ、薬剤収容庫15の登録がない場合、図11に示される「不可」、すなわち、薬剤分包装置1としては何の処理も実行しないと判定する。
制御部50は、第2条件が満たされていない場合は、薬剤分包装置1が分包を実行不可能であると判定する。分包対象薬剤の全服用分の重量が第1設定値以上の条件を満たしている場合でも、分包対象薬剤の一服用分の重量が第2設定値未満であれば、分包は不可能であると判定される。この場合において、薬剤収容庫15の登録がある場合には「カップ出し」が可能と判定され、薬剤収容庫15の登録がない場合には「不可」と判定される。
制御部50は、第3条件が満たされていない場合は、薬剤収容庫15の登録の有無にかかわらず、「不可」と判定する。
分包対象薬剤の全服用分の重量に基づいて分包の実行の可否を判断し、分配皿34a上に均等に振り撒けない程度に薬剤の全服用分の重量が少ない場合には、分包を実行不可能と判断する。これにより、薬剤分包装置1は、調剤データに従った薬剤を均等に分包することができる。
分包対象薬剤の一服用分の重量に基づいて分包の実行の可否を判断し、分配皿34aからホッパ35aに均等に薬剤を送ることができない程度に薬剤の一服用分の重量が少ない場合には、分包を実行不可能と判断する。これにより、薬剤分包装置1は、調剤データに従った薬剤を均等に分包することができる。
図12は、調剤データが複数の薬剤を含みこれら複数の薬剤を一包化する場合の、調剤データ全体としての分包の実行可否の判断について示す図である。図12に示す第1~15の調剤データは、薬剤A、薬剤B、薬剤Cおよび薬剤Dの4種類の薬剤の、1つまたは複数を含んでいる。図11に示される薬剤毎の判定によって、薬剤Aは「カセット分包」が可能、薬剤Bは「手差し分包」が可能、薬剤Cは「カップ出し」が可能、薬剤Dは「不可」と判定されている。
分包可能と判定された薬剤A,Bのみを含む第1~3の調剤データの場合、薬剤分包装置1が調剤データに含む薬剤をまとめて分包することができるので、制御部50は、薬剤分包装置1が分包をすると判断する。
「カップ出し」が可能と判定された薬剤Cを含む第4~7,12~15の調剤データの場合、薬剤分包装置1は調剤データに含む薬剤をまとめて分包することができないので、制御部50は、薬剤分包装置1がカップ出しをすると判断する。この場合は、「カップ出し」が可能と判定された薬剤Cについては、薬剤分包装置1がカップ出しをする。「カセット分包」が可能と判定された薬剤Aを含む場合は、その薬剤Aについても、薬剤分包装置1がカップ出しをする。一方、「手差し分包」が可能と判定された薬剤Bを含む場合、その薬剤Bについて、薬剤分包装置1は何もしない。「不可」と判定された薬剤Dを含む場合、その薬剤Dについても、薬剤分包装置1は何もしない。すなわち、薬剤収容庫15から取り出せる薬剤については薬剤分包装置1がカップ出しをし、その他の薬剤についてはオペレータが手作業で計量し、これらの薬剤を、他の薬剤分包装置95でまとめて分包することになる。
「カセット分包」が可能と判定された薬剤Aと「不可」と判定された薬剤Dとを含む第9,11の調剤データの場合も、薬剤分包装置1は調剤データに含む薬剤をまとめて分包することができないので、制御部50は、薬剤分包装置1がカップ出しをすると判断する。この場合、「カセット分包」が可能と判定された薬剤Aについては、薬剤分包装置1がカップ出しをする。一方、「不可」と判定された薬剤Dについて、薬剤分包装置1は何もしない。また、「手差し分包」が可能と判定された薬剤Bを含む場合、その薬剤Bについても、薬剤分包装置1は何もしない。すなわち、薬剤収容庫15から取り出せる薬剤については薬剤分包装置1がカップ出しをし、その他の薬剤についてはオペレータが手作業で計量し、これらの薬剤を、他の薬剤分包装置95でまとめて分包することになる。
不可と判定された薬剤Dのみを含む第8の調剤データ、および「手差し分包」と判定された薬剤Bと薬剤Dとを含む第10の調剤データの場合、制御部50は、この薬剤分包装置1としては何もしないものと判断する。調剤データに含むすべての薬剤について、オペレータが手作業で計量し、他の薬剤分包装置95でまとめて分包することになる。
したがって、図9のステップS104の判断においては、制御部50は、第1~3の調剤データについては分包を実行可能である(YES)と判断し、第4~15の調剤データについては分包を実行不可能である(NO)と判断する。
ステップS104の判断において分包を実行可能と判断された場合、次に制御部50は、すべての薬剤収容庫15が登録されているか否かを判断する(ステップS105)。この判断では、薬剤収容庫15の登録の有無について判断され、薬剤収容庫15が登録されていると判断するには、その登録された薬剤収容庫15が薬剤分包装置1に導入されている必要は必ずしもない。
「手差し分包」と判定された薬剤Bを含まない調剤データ、すなわち図12に示される例では第1の調剤データの場合、全ての薬剤収容庫が制御部50に登録されており、調剤データに含まれる薬剤の全てを薬剤分包装置1により供給および分包可能であると判断される。
「手差し分包」と判定された薬剤Bを含む調剤データ、すなわち図12に示される例では第2,3の調剤データの場合、いずれかの薬剤収容庫が制御部50に登録されておらず、調剤データに含まれる薬剤の全てを薬剤分包装置1により供給可能ではないと判断される。
すべての薬剤収容庫が登録されていると判断された場合(ステップS105においてYES)、薬剤収容庫15からの薬剤の量り取りが実行される(ステップS106)。ステップS106の処理において、必要な薬剤収容庫15が薬剤分包装置1に導入されていない場合には、前述の薬剤収容庫導入対応をすることで、量り取りを継続できる。または、薬剤収容庫導入対応に替えて、薬剤収容庫15が登録されていない場合と同様に後述のステップS109に進み、外部計量対応をすることも可能である。
続いて、量り取られた薬剤を収容する内部計量容器91から分配皿34aへの薬剤の供給が実行され(ステップS107)、包装部35における薬剤の包装が実行される(ステップS108)。制御部50は、調剤データに含まれる分包対象薬剤を薬剤分包装置1で分包可能であると判断した場合に、自動的に、分包対象薬剤の供給および分包を実行する。そして、処理を終了する(END)。
薬剤分包装置1に入力された調剤データに基づいて制御部50が分包対象薬剤の分包の可否を判断し、分包可能であると判断した場合に自動的に分包対象薬剤の供給および分包が実行される。これにより、調剤データの入力を受け付けてから分包対象薬剤の分包を完了するまでに要する時間を、短縮することができる。
ステップS105の判断において、すべての薬剤収容庫が登録されていないと判断された場合(ステップS105においてNO)、制御部50は、一部の薬剤収容庫が登録されているか否かを判断する(ステップS109)。
第2,3の調剤データのうち、「カセット分包」と判定された薬剤Aを含む第3の調剤データの場合、すべての薬剤収容庫が登録はされていないが、一部の薬剤収容庫は登録されていると判断される。「手差し分包」と判定された薬剤Bのみを含む第2の調剤データの場合、すべての薬剤収容庫が登録されていないと判断される。
一部の薬剤収容庫が登録されていると判断された場合(ステップS109においてYES)、登録されている薬剤について、薬剤収容庫15からの量り取りが実行され(ステップS110)、量り取られた薬剤を収容する内部計量容器91から分配皿34aへの薬剤の供給が実行される(ステップS111)。分配皿34aに供給された薬剤の分包は待機される。
この内部計量容器91から分配皿34aへの薬剤の供給の際に、制御部50は、左側の分配皿34aを使用するのであれば装置の奥側にある供給位置P9-L2に内部計量容器91を搬送し、右側の分配皿34aを使用するのであれば装置の奥側にある供給位置P9-R2に内部計量容器91を搬送するように、第2搬送部14bを制御する。制御部50は、外部薬剤導入容器92の取り付けがより困難な供給位置P9-L2またはP9-R2に、内部計量容器91を割り当てる。
続いて制御部50は、薬剤収容庫が登録されていない薬剤について、調剤データに従った全服用分を薬剤分包装置1の外部で計量して薬剤分包装置1に導入する、外部計量対応の案内を実行する(ステップS112)。
ステップS109の判断において、すべての薬剤収容庫が登録されていないと判断された場合(ステップS109においてNO)、ステップS110,S111の処理はスキップされ、ステップS112の外部計量対応の案内が実行される。
外部計量対応を実行する場合、制御部50は、表示部21の表示等によって、外部計量対応を行うことを案内してもよい。表示部21を見たオペレータは、その表示に従って、薬剤分包装置1の外部において、表示された所定の種類および量の薬剤を外部薬剤導入容器92に収容する。
または制御部50は、印刷部24から薬剤に関する情報を印刷出力することにより、外部計量対応を行うことを案内してもよい。図13は、印刷出力の第1の例を示す図である。図13に示されるように、年月日および時分と、薬剤収容庫15から取り出された薬剤(図13においてはA剤)の薬剤名および量り取られた計量値と、外部計量対応をすべき薬剤(図13においてはB剤)の薬剤名および計量すべき量と、が印刷された用紙240が、印刷部24から出力されてもよい。
図14は、印刷出力の第2の例を示す図である。図14に示される例では、薬剤収容庫15から取り出された薬剤はなく、外部計量対応をすべき複数の薬剤(図14においてはA剤およびB剤)の各々の薬剤名および計量すべき量が、用紙240に印刷されている。
印刷部24から出力された用紙240を見たオペレータは、用紙240の記載に従って、薬剤分包装置1の外部において、外部薬剤導入容器92に、所定の種類および量の薬剤を収容する。オペレータは、薬剤を収容した外部薬剤導入容器92を薬剤分包装置1に導入するためのロック解除を、操作部22を操作することにより行う。オペレータは、外部薬剤導入容器92を薬剤分包装置1に導入する。オペレータは、外部薬剤導入容器92を導入したことを、操作部22を用いて、入力する。
外部薬剤導入容器92を薬剤排出部32に導入する場合、左側の分配皿34aを使用するのであれば外部薬剤導入容器92を供給位置P9-L1に導入し、右側の分配皿34aを使用するのであれば外部薬剤導入容器92を供給位置P9-R1に導入するように、案内される。制御部50は、外部薬剤導入容器92の取り付けがより容易な供給位置P9-L1またはP9-R1に、外部薬剤導入容器92を割り当てる。これにより、外部薬剤導入容器92の導入が容易に可能とされている。
制御部50は、外部薬剤導入容器92が導入されたか否かを判断する(図10のステップS113)。外部薬剤導入容器92が導入されていないと判断された場合(ステップS113においてNO)、ステップS113の判断が繰り返される。制御部50がオペレータの入力を受け付けることで、外部薬剤導入容器92が導入されたと判断される。薬剤分包装置1の再ロックは、オペレータが再ロックのための操作をすることで行われてもよい。または、外部薬剤導入容器92が導入されたと判断された場合に、薬剤分包装置1が自動で再ロックされてもよい。
外部薬剤導入容器92が導入されたと判断された場合(ステップS113においてYES)、外部薬剤導入容器92に収容された薬剤の分配皿34aへの供給が行われる(ステップS114)。その後、分配皿34aへ供給された薬剤の分包が実行される(図9のステップS108)。そして、処理を終了する(END)。
分包対象薬剤を分包可能であると判断されたが、その薬剤に対応する薬剤収容庫15が登録されていない場合には、その薬剤の供給および分包は待機される。その薬剤を薬剤分包装置1の外部で外部薬剤導入容器92に収容して、その外部薬剤導入容器92を薬剤分包装置1に導入することで、分包が実行可能である。外部計量対応が必要とされる場合に、オペレータが迅速に外部計量対応をすることで、分包の待ち時間を長時間発生することがないので、分包処理に要する時間を短縮することができる。
分包対象薬剤を分包可能であると判断されたが、分包対象薬剤の一部のみに対応する薬剤収容庫15が登録されている場合には、先にその登録されている薬剤収容庫15から量り取られた薬剤の供給が実行される。その後、外部計量対応の案内がなされる。これにより、薬剤分包装置1が薬剤を供給する動作が、オペレータが外部薬剤導入容器92を薬剤分包装置1に導入しようとする手動の動作によって妨げられることがないため、複数種類の薬剤を効率的に供給し分配することができる。
登録されている薬剤収容庫15から量り取られた薬剤を分配皿34aへ供給した後、外部計量対応の案内がなされることで、オペレータが外部薬剤導入容器92を薬剤分包装置1に導入しようとする手動の動作が、分配皿34aへの薬剤の供給を妨げることがない。したがって、複数種類の薬剤を効率的に供給し分配することができる。
制御部50が、外部計量対応されるべき薬剤に関する情報を出力することにより、オペレータは、その出力に従って、外部薬剤導入容器92に正確な種類および量の薬剤を収容することができる。
制御部50が、薬剤収容庫15から量り取られた薬剤の計量値の実測値を出力することにより、実際に量り取られた薬剤の量に関する記録を残すことができる。
制御部50は、印刷部24に薬剤に関する情報を出力させることにより、オペレータはその印刷された記録媒体を参照して外部計量対応をすることができる。またその印刷された記録媒体を、薬剤収容庫15から量り取られた薬剤の計量値の実測値の記録として用いることができる。
ステップS104の判断において分包を実行不可能と判断された場合(ステップS104においてNO)、薬剤の量り取りは自動的には実行されない。この場合、薬剤分包装置1を用いて薬剤の量り取りを実行するか否かのオペレータによる選択が行われる(ステップS115)。制御部50は、表示部21に、対象の薬剤と、その薬剤の量り取りを行うかどうかをオペレータに選択させる選択画面とを、表示する。オペレータは、操作部22を操作することにより、量り取りを実行するかどうかの選択を、制御部50に入力する。
オペレータが量り取りを実行しないとの選択をしたと判断された場合(ステップS115においてNO)、薬剤分包装置1は、そのまま処理を終了する(END)。
オペレータが量り取りを実行するとの選択をしたと判断された場合(ステップS115においてYES)、量り取りが実行され、搬出容器93に薬剤が収容される(ステップS116)。
ステップS103の判断において、前のステップS102での調剤指示が分包ではない、すなわち量り取りであると判断された場合(ステップS103においてNO)にも、ステップS116において、量り取りが実行され、搬出容器93に薬剤が収容される。量り取りが実行された後の搬出容器93は、第3取出位置P7などの、薬剤分包装置1の外部への搬出容器93の取り出しが可能な位置に、搬送される。その後、処理を終了する(END)。
制御部50が、薬剤分包装置1によって分包対象薬剤を分包不可能であると判断した場合(ステップS104においてNO)には、その分包対象薬剤の供給および分包は待機され、供給および分包は実行されない。オペレータが選択した場合(ステップS115においてYES)に、その薬剤の量り取りのみが実行される。量り取られた薬剤は、搬出容器93に収容される。薬剤を収容した搬出容器93が他の薬剤分包装置95に導入されて、他の薬剤分包装置95で薬剤の分包が実行される。この場合に、他の薬剤分包装置95の容器取付部132aが搬出容器93を取付可能であるので、搬出容器93に収容された薬剤を別の容器に移し替える必要がない。したがって、分包処理に要する時間を短縮することができる。
搬出容器93が振動フィーダのトラフとして機能することで、搬出容器93を振動させて搬出容器93に収容された薬剤を確実に排出することができる。搬出容器93から分配皿134aに、均一に薬剤を供給することができる。
分包不可能な分包対象薬剤の供給および分包の待機中に、次の調剤データが薬剤分包装置1に入力され、その次の調剤データに含まれる分包対象薬剤が分包可能であると判断されたならば、自動的に、その次の調剤データに含まれる分包対象薬剤の供給および分包が実行される。
制御部50は、すべての薬剤収容庫15が登録されていないと判断された場合(ステップS109においてNO)には、分包対象薬剤の供給および分包は待機され、供給および分包は実行されないようにしてもよい。待機中に、次の調剤データが薬剤分包装置1に入力され、その次の調剤データに含まれる分包対象薬剤が分包可能であると判断され、すべての薬剤収容庫15が登録されていると判断されたならば、自動的に、その次の調剤データに含まれる分包対象薬剤の供給および分包が実行される。これにより、外部計量対応を行う必要がない調剤データについて、供給および分包を優先的に実行することができる。
分包不可能と判断された薬剤については、薬剤分包装置1での供給は待機されて、分包が実行されることがないので、分包不可能な薬剤を薬剤分包装置1が分包しようとして分包量のばらつきなどを発生することがなく、高品質な分包を実現できる。待機中に、分包可能な薬剤を含む次の調剤データが入力された場合には、その次の薬剤を先に分包することができ分包の待ち時間を発生することがないので、分包処理に要する時間を短縮することができる。
以上のように実施形態について説明を行なったが、今回開示された実施形態はすべての点で例示であって、制限的なものではないと考えられるべきである。この発明の範囲は上記した説明ではなくて特許請求の範囲によって示され、特許請求の範囲と均等の意味、および範囲内でのすべての変更が含まれることが意図される。
1 薬剤分包装置、14 搬送部、14a 第1搬送部、14b 第2搬送部、15 薬剤収容庫、17 薬剤取出部、18 計量部、18a 載置台、18b 検出部、21 表示部、22 操作部、23 供給待機部、24 印刷部、30 量り取り部、32,132 薬剤排出部、32a,132a 容器取付部、32b,132b 振動装置、33,133 分包部、34,134 分配部、34a,134a 分配皿、34b,134b 送り部、35,135 包装部、35a,135a ホッパ、35b,135b ヒータ、37 清掃待機部、38 清掃部、40,140 包装材、50,150 制御部、61,161 記憶部、62 量り取り選択部、65 案内部、91 内部計量容器、92 外部薬剤導入容器、93 搬出容器、95 他の薬剤分包装置、100 調剤システム、160 情報処理部、240 用紙、P1 第1待機位置、P2 第2待機位置、P3 第3待機位置、P4 計量位置、P5 第1取出位置、P6 第2取出位置、P7 第3取出位置、P8 供給待機位置、P9 供給位置、P10 清掃待機位置、P11 清掃位置。

Claims (3)

  1. 薬剤分包装置と、前記薬剤分包装置とは異なる他の薬剤分包装置と、を備える調剤システムであって、
    前記他の薬剤分包装置は、
    薬剤を量り取る量り取り部と、
    前記量り取り部において量り取られた薬剤を分包する分包部と、を備え、
    前記他の薬剤分包装置において、量り取った薬剤の分包を行わない場合、薬剤が容器に収容され、
    前記薬剤分包装置は、
    薬剤を量り取る量り取り部を備えず、
    前記容器には、前記他の分包装置により量り取られて分包が行われない薬剤が収容され、当該容器を取り付け可能な容器取付部を有し、前記薬剤を前記容器から排出する薬剤排出部と、
    前記薬剤排出部において排出された薬剤を分包する分包部と、を備え
    前記容器は、情報記録部を有し、
    前記情報記録部は、前記容器の識別情報を含む容器固有情報を記憶し、
    前記他の薬剤分包装置は、制御部を備え、
    前記他の薬剤分包装置では薬剤を分包せず薬剤の量り取りのみを実行すると判断された時点で、前記他の薬剤分包装置から前記薬剤分包装置に薬剤の情報が送信され、前記制御部は、前記他の薬剤分包装置において量り取られる薬剤の情報と、その薬剤を収容する前記容器の前記容器固有情報とを関連付けて記憶する、調剤システム。
  2. 前記薬剤排出部は、振動装置を備え、
    前記振動装置が発生する振動を前記容器取付部に取り付けられた前記容器に伝達させ、前記容器の振動によって薬剤を前記容器から排出する、請求項1に記載の調剤システム。
  3. 前記情報記録部に記憶された前記容器の前記容器固有情報を読み取る読取部を備える、請求項1または2に記載の調剤システム。
JP2020121478A 2020-07-15 2020-07-15 調剤システム Active JP7621629B2 (ja)

Priority Applications (3)

Application Number Priority Date Filing Date Title
JP2020121478A JP7621629B2 (ja) 2020-07-15 2020-07-15 調剤システム
JP2024003986A JP2024026769A (ja) 2020-07-15 2024-01-15 調剤システム
JP2025053380A JP2025089521A (ja) 2020-07-15 2025-03-27 調剤システム

Applications Claiming Priority (1)

Application Number Priority Date Filing Date Title
JP2020121478A JP7621629B2 (ja) 2020-07-15 2020-07-15 調剤システム

Related Child Applications (1)

Application Number Title Priority Date Filing Date
JP2024003986A Division JP2024026769A (ja) 2020-07-15 2024-01-15 調剤システム

Publications (2)

Publication Number Publication Date
JP2022018394A JP2022018394A (ja) 2022-01-27
JP7621629B2 true JP7621629B2 (ja) 2025-01-27

Family

ID=80203288

Family Applications (3)

Application Number Title Priority Date Filing Date
JP2020121478A Active JP7621629B2 (ja) 2020-07-15 2020-07-15 調剤システム
JP2024003986A Pending JP2024026769A (ja) 2020-07-15 2024-01-15 調剤システム
JP2025053380A Pending JP2025089521A (ja) 2020-07-15 2025-03-27 調剤システム

Family Applications After (2)

Application Number Title Priority Date Filing Date
JP2024003986A Pending JP2024026769A (ja) 2020-07-15 2024-01-15 調剤システム
JP2025053380A Pending JP2025089521A (ja) 2020-07-15 2025-03-27 調剤システム

Country Status (1)

Country Link
JP (3) JP7621629B2 (ja)

Citations (5)

* Cited by examiner, † Cited by third party
Publication number Priority date Publication date Assignee Title
JP2001097532A (ja) 1999-09-28 2001-04-10 Tosho Inc 散薬供給装置
JP2016130972A (ja) 2015-01-14 2016-07-21 株式会社湯山製作所 散薬調剤業務支援システム
JP2016187544A (ja) 2014-09-24 2016-11-04 株式会社湯山製作所 薬品払出装置及び散薬調剤業務支援システム
JP2020032147A (ja) 2018-08-31 2020-03-05 株式会社タカゾノ 散剤取出装置
JP2020039829A (ja) 2018-09-13 2020-03-19 株式会社トーショー 散薬分包システム

Family Cites Families (3)

* Cited by examiner, † Cited by third party
Publication number Priority date Publication date Assignee Title
JPH11114025A (ja) * 1997-10-17 1999-04-27 Tosho:Kk 散薬供給装置
JPH11226087A (ja) * 1998-02-12 1999-08-24 Tosho:Kk 散薬取出装置および散薬容器搬送装置
JP2020089681A (ja) * 2018-12-07 2020-06-11 株式会社タカゾノ 薬剤供給装置及び薬剤分包装置

Patent Citations (5)

* Cited by examiner, † Cited by third party
Publication number Priority date Publication date Assignee Title
JP2001097532A (ja) 1999-09-28 2001-04-10 Tosho Inc 散薬供給装置
JP2016187544A (ja) 2014-09-24 2016-11-04 株式会社湯山製作所 薬品払出装置及び散薬調剤業務支援システム
JP2016130972A (ja) 2015-01-14 2016-07-21 株式会社湯山製作所 散薬調剤業務支援システム
JP2020032147A (ja) 2018-08-31 2020-03-05 株式会社タカゾノ 散剤取出装置
JP2020039829A (ja) 2018-09-13 2020-03-19 株式会社トーショー 散薬分包システム

Also Published As

Publication number Publication date
JP2024026769A (ja) 2024-02-28
JP2025089521A (ja) 2025-06-12
JP2022018394A (ja) 2022-01-27

Similar Documents

Publication Publication Date Title
JP7673995B2 (ja) 薬剤分包装置
JP7507531B2 (ja) 薬剤量り取り装置
JP7773269B2 (ja) 薬剤分配装置および薬剤分配装置を用いた薬剤の供給方法
JP2025023098A (ja) 薬剤分包装置
JP7621629B2 (ja) 調剤システム
JP7621683B2 (ja) 薬剤分包装置
JP7555099B2 (ja) 調剤システム
JP7758316B2 (ja) 薬剤分包装置
JP7246087B2 (ja) 薬剤分包装置
JP7612239B2 (ja) 薬剤包装装置
JP7607315B2 (ja) 薬剤包装装置
JP7529269B2 (ja) 薬剤包装装置
JP7736349B2 (ja) 薬剤包装装置
JP7473215B2 (ja) 薬剤包装装置
JP2023095245A (ja) 薬剤分包装置
JP7345179B2 (ja) 薬剤分配装置および薬剤量り取り装置
JP7651150B2 (ja) 薬剤分包装置及び調剤システム

Legal Events

Date Code Title Description
A621 Written request for application examination

Free format text: JAPANESE INTERMEDIATE CODE: A621

Effective date: 20230606

A977 Report on retrieval

Free format text: JAPANESE INTERMEDIATE CODE: A971007

Effective date: 20231130

A131 Notification of reasons for refusal

Free format text: JAPANESE INTERMEDIATE CODE: A131

Effective date: 20231205

A521 Request for written amendment filed

Free format text: JAPANESE INTERMEDIATE CODE: A523

Effective date: 20240201

A131 Notification of reasons for refusal

Free format text: JAPANESE INTERMEDIATE CODE: A131

Effective date: 20240423

A521 Request for written amendment filed

Free format text: JAPANESE INTERMEDIATE CODE: A523

Effective date: 20240620

A02 Decision of refusal

Free format text: JAPANESE INTERMEDIATE CODE: A02

Effective date: 20240903

A521 Request for written amendment filed

Free format text: JAPANESE INTERMEDIATE CODE: A523

Effective date: 20241121

A911 Transfer to examiner for re-examination before appeal (zenchi)

Free format text: JAPANESE INTERMEDIATE CODE: A911

Effective date: 20241128

TRDD Decision of grant or rejection written
A01 Written decision to grant a patent or to grant a registration (utility model)

Free format text: JAPANESE INTERMEDIATE CODE: A01

Effective date: 20241224

A61 First payment of annual fees (during grant procedure)

Free format text: JAPANESE INTERMEDIATE CODE: A61

Effective date: 20250107

R150 Certificate of patent or registration of utility model

Ref document number: 7621629

Country of ref document: JP

Free format text: JAPANESE INTERMEDIATE CODE: R150