JP7598366B2 - シーケンス化された注射器アセンブリ - Google Patents

シーケンス化された注射器アセンブリ Download PDF

Info

Publication number
JP7598366B2
JP7598366B2 JP2022516608A JP2022516608A JP7598366B2 JP 7598366 B2 JP7598366 B2 JP 7598366B2 JP 2022516608 A JP2022516608 A JP 2022516608A JP 2022516608 A JP2022516608 A JP 2022516608A JP 7598366 B2 JP7598366 B2 JP 7598366B2
Authority
JP
Japan
Prior art keywords
syringe
assembly
plunger
drug
pusher
Prior art date
Legal status (The legal status is an assumption and is not a legal conclusion. Google has not performed a legal analysis and makes no representation as to the accuracy of the status listed.)
Active
Application number
JP2022516608A
Other languages
English (en)
Other versions
JP2022548117A (ja
Inventor
オダ、トッド
マンスール、ジョージ
メイソン、ユージーン
フラウスト、トーマス
ベイ―ル、ディラン
Current Assignee (The listed assignees may be inaccurate. Google has not performed a legal analysis and makes no representation or warranty as to the accuracy of the list.)
CareFusion 303 Inc
Original Assignee
Cardinal Health 303 Inc
Priority date (The priority date is an assumption and is not a legal conclusion. Google has not performed a legal analysis and makes no representation as to the accuracy of the date listed.)
Filing date
Publication date
Application filed by Cardinal Health 303 Inc filed Critical Cardinal Health 303 Inc
Publication of JP2022548117A publication Critical patent/JP2022548117A/ja
Application granted granted Critical
Publication of JP7598366B2 publication Critical patent/JP7598366B2/ja
Active legal-status Critical Current
Anticipated expiration legal-status Critical

Links

Images

Classifications

    • AHUMAN NECESSITIES
    • A61MEDICAL OR VETERINARY SCIENCE; HYGIENE
    • A61MDEVICES FOR INTRODUCING MEDIA INTO, OR ONTO, THE BODY; DEVICES FOR TRANSDUCING BODY MEDIA OR FOR TAKING MEDIA FROM THE BODY; DEVICES FOR PRODUCING OR ENDING SLEEP OR STUPOR
    • A61M5/00Devices for bringing media into the body in a subcutaneous, intra-vascular or intramuscular way; Accessories therefor, e.g. filling or cleaning devices, arm-rests
    • A61M5/178Syringes
    • A61M5/31Details
    • A61M5/3146Priming, e.g. purging, reducing backlash or clearance
    • AHUMAN NECESSITIES
    • A61MEDICAL OR VETERINARY SCIENCE; HYGIENE
    • A61MDEVICES FOR INTRODUCING MEDIA INTO, OR ONTO, THE BODY; DEVICES FOR TRANSDUCING BODY MEDIA OR FOR TAKING MEDIA FROM THE BODY; DEVICES FOR PRODUCING OR ENDING SLEEP OR STUPOR
    • A61M5/00Devices for bringing media into the body in a subcutaneous, intra-vascular or intramuscular way; Accessories therefor, e.g. filling or cleaning devices, arm-rests
    • A61M5/14Infusion devices, e.g. infusing by gravity; Blood infusion; Accessories therefor
    • A61M5/1407Infusion of two or more substances
    • AHUMAN NECESSITIES
    • A61MEDICAL OR VETERINARY SCIENCE; HYGIENE
    • A61MDEVICES FOR INTRODUCING MEDIA INTO, OR ONTO, THE BODY; DEVICES FOR TRANSDUCING BODY MEDIA OR FOR TAKING MEDIA FROM THE BODY; DEVICES FOR PRODUCING OR ENDING SLEEP OR STUPOR
    • A61M5/00Devices for bringing media into the body in a subcutaneous, intra-vascular or intramuscular way; Accessories therefor, e.g. filling or cleaning devices, arm-rests
    • A61M5/14Infusion devices, e.g. infusing by gravity; Blood infusion; Accessories therefor
    • A61M5/142Pressure infusion, e.g. using pumps
    • A61M5/145Pressure infusion, e.g. using pumps using pressurised reservoirs, e.g. pressurised by means of pistons
    • A61M5/1452Pressure infusion, e.g. using pumps using pressurised reservoirs, e.g. pressurised by means of pistons pressurised by means of pistons
    • A61M5/14546Front-loading type injectors
    • AHUMAN NECESSITIES
    • A61MEDICAL OR VETERINARY SCIENCE; HYGIENE
    • A61MDEVICES FOR INTRODUCING MEDIA INTO, OR ONTO, THE BODY; DEVICES FOR TRANSDUCING BODY MEDIA OR FOR TAKING MEDIA FROM THE BODY; DEVICES FOR PRODUCING OR ENDING SLEEP OR STUPOR
    • A61M5/00Devices for bringing media into the body in a subcutaneous, intra-vascular or intramuscular way; Accessories therefor, e.g. filling or cleaning devices, arm-rests
    • A61M5/14Infusion devices, e.g. infusing by gravity; Blood infusion; Accessories therefor
    • A61M5/168Means for controlling media flow to the body or for metering media to the body, e.g. drip meters, counters ; Monitoring media flow to the body
    • A61M5/16804Flow controllers
    • A61M5/16827Flow controllers controlling delivery of multiple fluids, e.g. sequencing, mixing or via separate flow-paths
    • AHUMAN NECESSITIES
    • A61MEDICAL OR VETERINARY SCIENCE; HYGIENE
    • A61MDEVICES FOR INTRODUCING MEDIA INTO, OR ONTO, THE BODY; DEVICES FOR TRANSDUCING BODY MEDIA OR FOR TAKING MEDIA FROM THE BODY; DEVICES FOR PRODUCING OR ENDING SLEEP OR STUPOR
    • A61M5/00Devices for bringing media into the body in a subcutaneous, intra-vascular or intramuscular way; Accessories therefor, e.g. filling or cleaning devices, arm-rests
    • A61M5/178Syringes
    • A61M5/19Syringes having more than one chamber, e.g. including a manifold coupling two parallelly aligned syringes through separate channels to a common discharge assembly
    • AHUMAN NECESSITIES
    • A61MEDICAL OR VETERINARY SCIENCE; HYGIENE
    • A61MDEVICES FOR INTRODUCING MEDIA INTO, OR ONTO, THE BODY; DEVICES FOR TRANSDUCING BODY MEDIA OR FOR TAKING MEDIA FROM THE BODY; DEVICES FOR PRODUCING OR ENDING SLEEP OR STUPOR
    • A61M5/00Devices for bringing media into the body in a subcutaneous, intra-vascular or intramuscular way; Accessories therefor, e.g. filling or cleaning devices, arm-rests
    • A61M5/178Syringes
    • A61M5/31Details
    • A61M5/315Pistons; Piston-rods; Guiding, blocking or restricting the movement of the rod or piston; Appliances on the rod for facilitating dosing ; Dosing mechanisms
    • A61M5/31511Piston or piston-rod constructions, e.g. connection of piston with piston-rod
    • AHUMAN NECESSITIES
    • A61MEDICAL OR VETERINARY SCIENCE; HYGIENE
    • A61MDEVICES FOR INTRODUCING MEDIA INTO, OR ONTO, THE BODY; DEVICES FOR TRANSDUCING BODY MEDIA OR FOR TAKING MEDIA FROM THE BODY; DEVICES FOR PRODUCING OR ENDING SLEEP OR STUPOR
    • A61M5/00Devices for bringing media into the body in a subcutaneous, intra-vascular or intramuscular way; Accessories therefor, e.g. filling or cleaning devices, arm-rests
    • A61M5/178Syringes
    • A61M5/31Details
    • A61M5/315Pistons; Piston-rods; Guiding, blocking or restricting the movement of the rod or piston; Appliances on the rod for facilitating dosing ; Dosing mechanisms
    • A61M5/31511Piston or piston-rod constructions, e.g. connection of piston with piston-rod
    • A61M5/31515Connection of piston with piston rod
    • AHUMAN NECESSITIES
    • A61MEDICAL OR VETERINARY SCIENCE; HYGIENE
    • A61MDEVICES FOR INTRODUCING MEDIA INTO, OR ONTO, THE BODY; DEVICES FOR TRANSDUCING BODY MEDIA OR FOR TAKING MEDIA FROM THE BODY; DEVICES FOR PRODUCING OR ENDING SLEEP OR STUPOR
    • A61M5/00Devices for bringing media into the body in a subcutaneous, intra-vascular or intramuscular way; Accessories therefor, e.g. filling or cleaning devices, arm-rests
    • A61M5/178Syringes
    • A61M5/31Details
    • A61M5/315Pistons; Piston-rods; Guiding, blocking or restricting the movement of the rod or piston; Appliances on the rod for facilitating dosing ; Dosing mechanisms
    • A61M5/31565Administration mechanisms, i.e. constructional features, modes of administering a dose
    • A61M5/31566Means improving security or handling thereof
    • A61M5/31573Accuracy improving means
    • A61M5/31575Accuracy improving means using scaling up or down transmissions, e.g. gearbox
    • AHUMAN NECESSITIES
    • A61MEDICAL OR VETERINARY SCIENCE; HYGIENE
    • A61MDEVICES FOR INTRODUCING MEDIA INTO, OR ONTO, THE BODY; DEVICES FOR TRANSDUCING BODY MEDIA OR FOR TAKING MEDIA FROM THE BODY; DEVICES FOR PRODUCING OR ENDING SLEEP OR STUPOR
    • A61M5/00Devices for bringing media into the body in a subcutaneous, intra-vascular or intramuscular way; Accessories therefor, e.g. filling or cleaning devices, arm-rests
    • A61M5/178Syringes
    • A61M5/31Details
    • A61M5/315Pistons; Piston-rods; Guiding, blocking or restricting the movement of the rod or piston; Appliances on the rod for facilitating dosing ; Dosing mechanisms
    • A61M5/31565Administration mechanisms, i.e. constructional features, modes of administering a dose
    • A61M5/31576Constructional features or modes of drive mechanisms for piston rods
    • A61M5/31578Constructional features or modes of drive mechanisms for piston rods based on axial translation, i.e. components directly operatively associated and axially moved with plunger rod
    • A61M5/3158Constructional features or modes of drive mechanisms for piston rods based on axial translation, i.e. components directly operatively associated and axially moved with plunger rod performed by axially moving actuator operated by user, e.g. an injection button
    • AHUMAN NECESSITIES
    • A61MEDICAL OR VETERINARY SCIENCE; HYGIENE
    • A61MDEVICES FOR INTRODUCING MEDIA INTO, OR ONTO, THE BODY; DEVICES FOR TRANSDUCING BODY MEDIA OR FOR TAKING MEDIA FROM THE BODY; DEVICES FOR PRODUCING OR ENDING SLEEP OR STUPOR
    • A61M5/00Devices for bringing media into the body in a subcutaneous, intra-vascular or intramuscular way; Accessories therefor, e.g. filling or cleaning devices, arm-rests
    • A61M5/178Syringes
    • A61M5/31Details
    • A61M5/315Pistons; Piston-rods; Guiding, blocking or restricting the movement of the rod or piston; Appliances on the rod for facilitating dosing ; Dosing mechanisms
    • A61M5/31596Pistons; Piston-rods; Guiding, blocking or restricting the movement of the rod or piston; Appliances on the rod for facilitating dosing ; Dosing mechanisms comprising means for injection of two or more media, e.g. by mixing
    • AHUMAN NECESSITIES
    • A61MEDICAL OR VETERINARY SCIENCE; HYGIENE
    • A61MDEVICES FOR INTRODUCING MEDIA INTO, OR ONTO, THE BODY; DEVICES FOR TRANSDUCING BODY MEDIA OR FOR TAKING MEDIA FROM THE BODY; DEVICES FOR PRODUCING OR ENDING SLEEP OR STUPOR
    • A61M5/00Devices for bringing media into the body in a subcutaneous, intra-vascular or intramuscular way; Accessories therefor, e.g. filling or cleaning devices, arm-rests
    • A61M5/14Infusion devices, e.g. infusing by gravity; Blood infusion; Accessories therefor
    • A61M2005/1401Functional features
    • A61M2005/1402Priming
    • AHUMAN NECESSITIES
    • A61MEDICAL OR VETERINARY SCIENCE; HYGIENE
    • A61MDEVICES FOR INTRODUCING MEDIA INTO, OR ONTO, THE BODY; DEVICES FOR TRANSDUCING BODY MEDIA OR FOR TAKING MEDIA FROM THE BODY; DEVICES FOR PRODUCING OR ENDING SLEEP OR STUPOR
    • A61M5/00Devices for bringing media into the body in a subcutaneous, intra-vascular or intramuscular way; Accessories therefor, e.g. filling or cleaning devices, arm-rests
    • A61M5/14Infusion devices, e.g. infusing by gravity; Blood infusion; Accessories therefor
    • A61M2005/1401Functional features
    • A61M2005/1403Flushing or purging
    • AHUMAN NECESSITIES
    • A61MEDICAL OR VETERINARY SCIENCE; HYGIENE
    • A61MDEVICES FOR INTRODUCING MEDIA INTO, OR ONTO, THE BODY; DEVICES FOR TRANSDUCING BODY MEDIA OR FOR TAKING MEDIA FROM THE BODY; DEVICES FOR PRODUCING OR ENDING SLEEP OR STUPOR
    • A61M5/00Devices for bringing media into the body in a subcutaneous, intra-vascular or intramuscular way; Accessories therefor, e.g. filling or cleaning devices, arm-rests
    • A61M5/178Syringes
    • A61M5/31Details
    • A61M5/315Pistons; Piston-rods; Guiding, blocking or restricting the movement of the rod or piston; Appliances on the rod for facilitating dosing ; Dosing mechanisms
    • A61M5/31511Piston or piston-rod constructions, e.g. connection of piston with piston-rod
    • A61M2005/3152Piston or piston-rod constructions, e.g. connection of piston with piston-rod including gearings to multiply or attenuate the piston displacing force

Landscapes

  • Health & Medical Sciences (AREA)
  • Vascular Medicine (AREA)
  • Engineering & Computer Science (AREA)
  • Anesthesiology (AREA)
  • Biomedical Technology (AREA)
  • Heart & Thoracic Surgery (AREA)
  • Hematology (AREA)
  • Life Sciences & Earth Sciences (AREA)
  • Animal Behavior & Ethology (AREA)
  • General Health & Medical Sciences (AREA)
  • Public Health (AREA)
  • Veterinary Medicine (AREA)
  • Infusion, Injection, And Reservoir Apparatuses (AREA)

Description

本開示は、概して、薬剤送達システム、特に注射器アセンブリに関する。
治療は、多くの場合、「IVセット」と一般に呼ばれる柔軟なチューブとフィッティングとの配列を介して液体の供給源、例えば、バッグ又は注射器に接続された静脈内(intravenous:IV)カテーテルを使用して、患者に医療用液体(例えば、生理食塩水や液体薬剤)を注入することを含む。IVセットの特定の構成では、チューブの長さが延長されている場合があり、例えば、1.8288メートル(6フィート)を超える場合がある。さらに、チューブは、薬液を注入する前に、生理食塩水でプライミングされる場合がある。
いくつかの用途では、IVカテーテルの使用中に、液体薬剤が患者に送達される前に、プライミング・プロセスからの生理食塩水(saline)が患者に送達され得る。
開示される主題は、注射器アセンブリに関する。特定の実施例では、注射器アセンブリであって、アセンブリ・ハウジングと、アセンブリ・ハウジング内に配置された第1の注射器であって、第1の注射器空洞及び第1の注射器ポートを画定する第1の注射器本体であって、第1の注射器ポートが、第1の注射器空洞と流体連通している、第1の注射器本体、並びに第1の注射器空洞内で移動可能であり、第1の注射器空洞内に第1のチャンバを画定する第1のプランジャであって、第1のチャンバは第1の注射器ポートと流体連通しており、第1のプランジャは、第1のプランジャに沿って長手方向に延在する第1のラックギア(gear rack;ラック歯車)を有する、第1のプランジャ、を備える、第1の注射器と、アセンブリ・ハウジング内に配置された第2の注射器であって、第2の注射器空洞及び第2の注射器ポートを画定する第2の注射器本体であって、第2の注射器ポートは、第2の注射器空洞と流体連通している、第2の注射器本体、並びに第2の注射器空洞内で移動可能であり、第2の注射器空洞内に第2のチャンバを画定する第2のプランジャであって、第2のチャンバは第2の注射器ポートと流体連通しており、第2のプランジャは、第2のプランジャに沿って長手方向に延在する第2のラックギアを有する、第2のプランジャ、を備える、第2の注射器と、アセンブリ・ハウジングに回転可能に結合された接続ギアであって、第1のラックギア及び第2のラックギアのうちの少なくとも1つと噛合するように構成された接続ギアと、を備える、注射器アセンブリ、が開示される。
特定の実施例では、薬剤を送達するための方法であって、薬剤プランジャを前進させてチューブの送達流路を通して薬剤を送るステップと、薬剤プランジャを前進させることによって接続ギアを回転させるステップであって、薬剤プランジャは、接続ギアと噛合する薬剤ラックギアを有する、ステップと、を含む、方法、が開示される。
特定の実施例では、注射器アセンブリであって、アセンブリ・ハウジングと、アセンブリ・ハウジング内に配置された第1の注射器であって、第1の注射器空洞及び第1の注射器ポートを画定する第1の注射器本体であって、第1の注射器ポートが、第1の注射器空洞と流体連通している、第1の注射器本体、並びに第1の注射器空洞内で移動可能であり、第1の注射器空洞内に第1のチャンバを画定する第1のプランジャであって、第1のチャンバは第1の注射器ポートと流体連通しており、第1のプランジャは、第1のプランジャに沿って長手方向に延在する第1のラックギアを有する、第1のプランジャ、を備える、第1の注射器と、アセンブリ・ハウジング内に配置された第2の注射器であって、第2の注射器空洞及び第2の注射器ポートを画定する第2の注射器本体であって、第2の注射器ポートは、第2の注射器空洞と流体連通している、第2の注射器本体、並びに第2の注射器空洞内で移動可能であり、第2の注射器空洞内に第2のチャンバを画定する第2のプランジャであって、第2のチャンバは第2の注射器ポートと流体連通しており、第2のプランジャは、第2のプランジャに沿って長手方向に延在する第2のラックギアを有する、第2のプランジャ、を備える、第2の注射器と、アセンブリ・ハウジングに回転可能に結合された接続ギアであって、第1のラックギア及び第2のラックギアのうちの少なくとも1つと噛合するように構成された接続ギアと、を備える、注射器アセンブリと、第1の流路及び第2の流路を画定するチューブであって、第1の流路は第1の注射器ポートと流体連通しており、第2の流路は第2の注射器ポートと流体連通している、チューブと、を備える、薬剤送達システム、が開示される。
主題技術の様々な構成が、本開示から当業者に容易に明らかになることが理解され、ここで、主題技術の様々な構成が、例示として示され、説明される。実現されるように、主題技術は他の異なる構成が可能であり、そのいくつかの詳細は、すべて主題技術の範囲から逸脱することなく、他の様々な点で変更することができる。したがって、要約、図面、及び詳細な説明は、本質的に例示的なものと見なされるべきであり、限定的なものと見なされるべきではない。
さらなる理解を提供するために含まれ、本明細書に組み込まれ、その一部を構成する添付の図面は、開示された実施例を示し、説明とともに、開示された実施例の原理を説明するのに役立つ。
本開示の様々な態様による、薬剤送達システムの立面図である。 本開示の様々な態様による、プッシャー・アセンブリが押し下げられた、図1の薬剤送達システムの立面図である。 本開示の様々な態様による、プッシャー・アセンブリがさらに押し下げられた、図1の薬剤送達システムの立面図である。 本開示の様々な態様による、プッシャー・アセンブリがさらに押し下げられた、図1の薬剤送達システムの立面図である。 本開示の様々な態様による、注射器アセンブリの立面図である。 本開示の様々な態様による、図5の注射器アセンブリの斜視詳細図である。 本開示の様々な態様による、プライミング構成における図5の注射器アセンブリの詳細図である。 本開示の様々な態様による、送達構成における図5の注射器アセンブリの詳細図である。 本開示の様々な態様による、送達構成における図5の注射器アセンブリの詳細図である。 本開示の様々な態様による、押し出し構成における図5の注射器アセンブリの詳細図である。 本開示の様々な態様による、図5の注射器アセンブリの部分断面図である。 本開示の様々な態様による、注射器アセンブリの立面図である。 本開示の様々な態様による、開いた構成での図12の注射器アセンブリの立面図である。
開示された注射器アセンブリは、注射器を作動させるための接続ギアを備えた複数の注射器を組み込んでいる。注射器アセンブリは、注射器の前進及び後退を制御して、各注射器との間の流体の流れを制御できる。各注射器との間の液体の流れを制御することにより、薬剤やその他の医療用液体のプライミングと送達とを簡素化できる。
以下に示す詳細な説明は、主題技術の様々な構成の説明を意図したものであり、主題技術を実践できる唯一の構成を表すことを意図したものではない。詳細な説明には、主題技術の完全な理解を提供する目的で特定の詳細が含まれている。しかしながら、主題技術がこれらの特定の詳細なしで実施され得ることは当業者には明らかであろう。場合によっては、主題技術の概念を曖昧にしないために、周知の構造及び構成要素がブロック図の形式で表示される。同様の構成要素には、理解しやすいように同じ要素番号が付されている。参照番号には、共通の要素の個別の場合を示すために接尾辞が追加されている場合があるが、接尾辞のない同じ番号によって一般的に参照される。
以下の説明は、開示された注射器アセンブリを使用する医療用流体の投与に関するものであるが、この説明は使用例にすぎず、特許請求の範囲を限定するものではないことを理解されたい。開示された注射器アセンブリの様々な態様は、医療用流体の投与を提供することが望ましい任意の用途で使用することができる。
開示された注射器アセンブリは、特定の従来の注射器に関して発見されたいくつかの課題を克服する。特定の従来の注射器の課題の1つは、注射器が生理食塩水などの過剰な医療用液体を患者に送達する可能性があることである。さらに、従来の注射器は、手動での前進及び後退を順番に必要とする場合がある。過剰な薬液は、薬液の供給を遅らせる可能性があり、未熟児などの体液制限のある患者には耐えられない可能性があり、従来の注射器の手動操作はエラーになる可能性があるため、従来の注射器の使用は望ましくない。
したがって、本開示によれば、患者への過剰な医療用流体の送達を排除又は実質的に低減し、注射器の操作を単純化する、本明細書に記載の注射器アセンブリを提供することが有利である。開示された注射器アセンブリは、患者に送達される過剰な医療用流体を低減しながら、単純化された操作を可能にするギア機構を提供する。
次に、過剰な医療用液体の送達を防ぐ注射器アセンブリの実例について説明する。
図1は、本開示の様々な態様による、薬剤送達システム100の立面図である。図示の実例では、薬剤送達システム100は、薬剤送達システム100をプライミングするために使用される生理食塩水などの過剰な流体を送達することなく、注射器アセンブリ130からカテーテル112を介して患者に薬剤を送達する。
いくつかの実施例では、デュアル・ルーメン・チューブ120の送達流路122は、生理食塩水でプライミングされて、デュアル・ルーメン・チューブ120の送達流路122により任意の空気又は閉じ込められたガスを除去することができる。生理食塩水は、注射器アセンブリ130から、送達流路122を通って、弁110に進むことができる。
プライミング構成では、弁110は、送達流路122が患者カテーテル112に入るのを防ぐことができ、代わりに、生理食塩水を戻り流路126に向けて、プライミングされた生理食塩水を注射器アセンブリ130に戻すことができる。
図2は、本開示の様々な態様による、プッシャー・アセンブリ160が押し下げられた、図1の薬剤送達システム100の立面図である。図示の実例では、注射器アセンブリ130は、送達流路122内で薬剤を前進させて、送達流路122をプライミングする。有利なことに、送達流路122を薬剤でプライミングすることにより、薬剤は、送達流路122をプライミングするために使用される生理食塩水を送達することなく、より少ない遅延で患者に近位のカテーテル112を介して患者に送達され得る。
薬剤を送達流路122に導入するために、プッシャー・アセンブリ160を前進させるか、さもなければ変位させて、ある量の薬剤をデュアル・ルーメン・チューブ120の送達流路122に導入することができる。いくつかの実施例では、プッシャー・アセンブリ160の前進は、注射器アセンブリ130内に配置された薬剤注射器150を作動させることができる。任意選択で、薬剤注射器150は、送達流路122の容積に等しい量の薬剤を送達流路122に分配するために、所望の量を前進又は変位させるように構成することができる。言い換えれば、薬剤注射器150を前進させて、送達流路122の容積を弁110まで満たして、カテーテル112を介して投与するために薬剤をプライミングすることができる。
いくつかの実施例では、送達流路122への薬剤のプライミングは、信号を送る、制御する、又はさもなければ単純化することができる。例えば、注射器アセンブリ130は、送達流路122がプライミングされたときに、移動を制限するか、又は臨床医に触覚信号を提供する内部機構を含み得る。いくつかの実施例では、制限又は信号は、送達流路122の容積に合わせて較正される。プライミング中に移動制限又は信号を提供することにより、所望の量の薬剤を送達流路122に導入することができ、例えば、送達流路122を満たすのに十分な薬剤量を導入することができる。
図示のように、薬剤が送達流路122に導入されると、送達流路122を介して以前にプライミングされた生理食塩水が変位される(displaced;置き換えられる)。変位した生理食塩水は、弁110によって戻り流路126に向けられる。
戻り流路126からの医療用流体は、注射器アセンブリ130に戻すことができる。生理食塩水などの戻された医療用流体は、注射器アセンブリ130の戻り注射器又は生理食塩水注射器140に導入することができる。いくつかの実施例では、戻り流路126は、生理食塩水注射器140からデュアル・ルーメン・チューブ120への医療用流体の逆流を防ぐための逆止弁125を含む。
図3は、本開示の様々な態様による、プッシャー・アセンブリ160がさらに押し下げられた、図1の薬剤送達システム100の立面図である。図示の実例では、注射器アセンブリ130が作動して、カテーテル112を介して患者に薬剤を分配する。
図示のように、プッシャー・アセンブリ160をさらに前進させて、注射器アセンブリ130内で薬剤注射器150を作動させることができる。プッシャー・アセンブリ160を作動させることにより、薬剤注射器150を前進させて、注射器アセンブリ130から送達流路122に薬剤を送達することができる。いくつかの実施例では、注射器アセンブリ130は、注射器ポンプによって作動されて、患者への薬剤の流れを制御することができる。理解できるように、注射器ポンプは、送達流路122を迅速にプライミングするために、ポンプ速度が増加したプライミング・シーケンスを含むように構成することができる。
動作中、弁110は、送達流路122からカテーテル112を介して患者への薬剤の流れを可能にするように作動される。いくつかの実施例では、送達流路122内の流体圧力は、弁110のクラッキング圧力を超えて、カテーテル112への流れを可能にすることができる。弁110は、カテーテル112の長さを最小化するために患者の近位に配置することができ、これにより、患者に投与される生理食塩水の量が減少し、薬剤の送達時間が短縮される。
図4は、本開示の様々な態様による、プッシャー・アセンブリ160がさらに押し下げられた、図1の薬剤送達システム100の立面図である。図示の実例では、注射器アセンブリ130は、送達流路122を通って生理食塩水を前進させ、カテーテル112を介して残りの薬剤を患者に前進させる。
図示のように、薬剤が薬剤注射器150から排出された後、薬剤は、送達流路122の容積内に留まり得る。薬が患者に完全に届けられることを確実にするために、プッシャー・アセンブリ160をさらに前進させて、生理食塩水注射器140からの生理食塩水「プッシュ」を投与して、薬剤注射器150内の薬剤が使い果たされた後、送達流路122を通って薬剤を前進させ続けることができる。生理食塩水は、薬剤が患者に完全に投与されるまで、送達流路122を介して投与することができる。図示のように、生理食塩水注射器140からの生理食塩水は、生理食塩水送達ライン124を介して送達流路122に入ることができる。生理食塩水送達ライン124は、注射器アセンブリ130への薬剤又は他の医療用流体の逆流を防ぐために逆止弁123を含み得る。
図5は、本開示の様々な態様による、注射器アセンブリ130の立面図である。図示の実施例では、注射器アセンブリ130は、薬剤注射器150からの薬剤の流れ及び生理食塩水注射器140からの生理食塩水の流れを制御する。
図示のように、薬剤注射器150は、薬剤空洞152内で薬剤を受け取り、貯蔵し、及び/又は分配することができる。図示の実施例では、薬剤プランジャ156は、薬剤空洞152内で移動可能であり、その中に薬剤チャンバを画定する。薬剤チャンバの容積は、好ましくは、薬剤空洞152に対する薬剤プランジャ156の位置によって規定される。いくつかの実施例では、薬剤チャンバの容積は、薬剤ポート154と流体連通している。薬剤注射器150の実施例は、市販されているか、事前に作成されているか、事前に充填されているか、又は注射器アセンブリ130での使用に適合させることができる。
いくつかの実施例では、薬剤プランジャ156を遠位に引くことにより、薬剤チャンバを拡張し、薬剤ポート154を通してより多くの薬剤又は医療用流体を引き込むことができる。動作中、薬剤プランジャ156を近位に前進させて、薬剤チャンバを収縮させ、薬剤ポート154を通して薬剤又は薬液を薬剤チャンバから排出することができる。
同様に、生理食塩水注射器140は、生理食塩水空洞142内で生理食塩水を受け取り、貯蔵し、及び/又は分配することができる。生理食塩水注射器140は、注射器アセンブリ130が複数の薬剤を連続して又は同時に分配することを可能にするための薬剤を含む、他の任意の医療用流体を貯蔵することができる。図示の実施例では、生理食塩水プランジャ146は、生理食塩水空洞142内で移動可能であり、その中に生理食塩水チャンバを画定する。生理食塩水チャンバの容積は、好ましくは、生理食塩水空洞142に対する生理食塩水プランジャ146の位置によって規定される。いくつかの実施例では、生理食塩水チャンバの容積は、生理食塩水ポート144と流体連通している。生理食塩水注射器140の実施例は、市販されているか、事前に作成されているか、事前に充填されているか、又は注射器アセンブリ130での使用に適合させることができる。
動作中、生理食塩水プランジャ146を遠位に引くことにより、生理食塩水チャンバを拡張し、生理食塩水ポート144を通してより多くの生理食塩水又は医療用流体を引き込むことができる。いくつかの実施例では、生理食塩水プランジャ146を近位に前進させて、生理食塩水チャンバを収縮させ、生理食塩水ポート144を通して生理食塩水又は医療用流体を生理食塩水チャンバから排出することができる。
図示のように、生理食塩水注射器140及び薬剤注射器150は、アセンブリ・ハウジング132内に収容することができる。アセンブリ・ハウジング132は、生理食塩水注射器140及び薬剤注射器150を配置するための位置合わせ及び保持機能を含み得る。アセンブリ・ハウジング132は、注射器アセンブリ130の構成要素を保持及びカバーするためのカバー134を含み得る。カバー134は、ヒンジ135上で回転して、注射器アセンブリ130を閉じて覆うことができる。アセンブリ・ハウジング132及びカバー134上に形成されたタブ131、133は、それぞれ、生理食塩水注射器140及び薬剤注射器150へのアクセスのためのカバー134の開閉を容易にすることができる。カバー134は、臨床医が生理食塩水注射器140及び薬剤注射器150の流体レベルをそれぞれ監視することを可能にするために、生理食塩水窓138及び薬剤窓136を含み得る。
図示の実例では、注射器アセンブリ130は、薬剤プランジャ156及び生理食塩水プランジャ146の作動を制御して、患者への薬剤のプライミング及び投与を容易にする。図示の実例では、注射器アセンブリ130は、薬剤プランジャ156及び/又は生理食塩水プランジャ146を前進させるためのプッシャー・アセンブリ160を含む。例えば、プッシャー・アセンブリ160を前進させることにより、薬剤プランジャ156及び生理食塩水プランジャ146を順番に作動させて、薬剤送達デバイスをプライミングし、薬剤を送達し、そして生理食塩水「プッシュ」を提供して、送達流路に残っている任意の薬剤を送達することができる。
図6は、本開示の様々な態様による、図5の注射器アセンブリ130の斜視詳細図である。図5及び図6を参照すると、図示の実施例では、プッシャー・アセンブリ160は、前進するプッシャー・アセンブリ160に応答して薬剤プランジャ156を協調的に前進させるように構成された主プッシャー・シャフト162及び中間プッシャー・シャフト164を含む。図示のように、中間プッシャー・シャフト164は、主プッシャー・シャフト162から少なくとも部分的に延在し得る。
中間プッシャー・シャフト164は、好ましくは、複数の耳部166を介して主プッシャー・シャフト162に解放可能に結合される。いくつかの実施例では、耳部166は、径方向に拡張し、主プッシャー・シャフト端部163に対して係合して、中間プッシャー・シャフト164が主プッシャー・シャフト162内に後退するのを防止又は制限する。本明細書に記載されているように、動作中、中間プッシャー・シャフト164の耳部166は、径方向に引っ込められて、中間プッシャー・シャフト164が主プッシャー・シャフト162内に引っ込められることを可能にし、プッシャー・アセンブリ160の前進が薬剤プランジャ156をさらに作動させるのを防止又は制限することができる。いくつかの実施例では、耳部166は、薬剤プランジャ156の周りに形成された活性化トンネル(activation tunnel)137と係合することによって引っ込めることができる。
図5に戻ると、プッシャー・アセンブリ160は、二次プッシャー延長部161を介して主プッシャー・シャフト162から横方向に延在する二次プッシャー(図5には示されていない)を含む。二次プッシャーは、プッシャー・アセンブリ160が前進することに応答して生理食塩水プランジャ146を前進させるように構成される。二次プッシャーは、中間プッシャー・シャフト164から長手方向にオフセットすることができ、その結果、プッシャー・アセンブリ160が前進するときに、二次プッシャーが生理食塩水プランジャ146と係合する前に、中間プッシャー・シャフト164が薬剤プランジャ156と係合する。いくつかの実施例では、中間プッシャー・シャフト164が主プッシャー・シャフト162から切り離された(係合解除された)後、二次プッシャーが生理食塩水プランジャ146に係合して前進させることにより、プッシャー・アセンブリ160を前進させて、薬剤プランジャ156をさらに作動させることなく、オフセット二次プッシャーを介して生理食塩水プランジャ146を作動させる。
有利なことに、患者への薬剤の投与中に、プッシャー・アセンブリ160は、主プッシャー・シャフト162及び中間プッシャー・シャフト164を作動させることによって薬剤注射器150から薬剤を分配することを可能にし、次に、二次プッシャーを作動させることによって生理食塩水注射器140から生理食塩水を分配することを可能にする。
いくつかの実施例では、注射器アセンブリ130は、薬剤プランジャ156の前進及び生理食塩水プランジャ146の後退を自動化、制御、又は他の方法で単純化して、IVチューブへの薬剤のプライミングを容易にするプライミング機構を含む。プライミング機構は、好ましくは、患者に薬剤を投与する前に、変位した液体を除去しながら、IVラインを完全に満たすか又はプライミングするために、薬剤注射器150からIVチューブに十分な量の薬剤を導入するように構成される。
図示の実施例では、プライミング機構は、プライミング動作中に薬剤プランジャ156が前進するときに生理食塩水プランジャ146の収縮をもたらす接続ギア172を含む。図示の実例では、薬剤プランジャ156は、薬剤プランジャ156に沿って長手方向に延在する薬剤ラックギア158を含む。薬剤ラックギア158は、接続ギア172と噛合することができる複数の歯を含む。同様に、生理食塩水プランジャ146は、生理食塩水プランジャ146に沿って長手方向に延在する生理食塩水ラックギア148を含む。生理食塩水ラックギア148は、やはり接続ギア172と噛合することができる複数の歯を含む。
したがって、プライミング動作中、薬剤プランジャ156がプッシャー・アセンブリ160によって前進されて薬剤を投与すると、薬剤ラックギア158は、接続ギアシャフト170を中心に接続ギア172を時計回りに回転させる。それに応じて、接続ギア172の時計回りの回転は、生理食塩水プランジャ146を反対方向に引っ込めて、IVチューブから生理食塩水を引き込むか又は受け取る。理解できるように、薬剤ラックギア158及び/又は生理食塩水ラックギア148は、プライミング動作の前又は最中に接続ギア172と噛合することができ、他の動作中に接続ギア172から切り離すことができる。さらに、薬剤ラックギア158及び/又は生理食塩水ラックギア148の長さ、並びに薬剤プランジャ156及び生理食塩水プランジャ146の相対位置は、所望の動作を提供するように構成され得る。
理解できるように、プッシャー・アセンブリ160、及び接続ギア172、薬剤ラックギア158、及び生理食塩水ラックギア148を含むプライミング機構などの注射器アセンブリ130の特徴は、プッシャー・アセンブリ160を前進させることにより、IVラインのプライミング、患者への薬剤の投与、及び残りの薬剤の生理食塩水プッシュを順次許可するために、注射器アセンブリ130の動作において協調的に利用され得る。
図7は、本開示の様々な態様による、プライミング構成における図5の注射器アセンブリ130の詳細図である。本明細書に記載されるように、プッシャー・アセンブリ160を初期位置から前進させることにより、IVラインを薬剤でプライミングすることができる。
プッシャー・アセンブリ160を前進させることにより、それに結合された主プッシャー・シャフト162及び中間プッシャー・シャフト164は、薬剤プランジャ156と係合して前進させる。薬剤プランジャ156を前進させることにより、薬剤注射器150からの薬剤は、IVチューブを通って前進し、IVチューブをプライミングすることができる。本明細書に記載されるように、薬剤プランジャ156は、プライミング・プロセス中のIVチューブ容積に対応する所望の又は所定の量だけ前進させることができる。
プライミング中に薬剤がIVチューブを通って進められると、IVチューブに残っている生理食塩水などの液体が移動する可能性がある。したがって、注射器アセンブリ130は、薬剤プランジャ156が前進して、変位した流体をIVチューブから受け取るか又は引き出すときに、生理食塩水プランジャ146を引っ込めることができる。前述のように、プライミング動作中、薬剤ラックギア158及び生理食塩水ラックギア148は、接続ギア172と噛合し得る。したがって、動作中、薬剤プランジャ156が前進又は押し下げられると、薬剤ラックギア158は、接続ギア172を時計回り方向に回転させる。接続ギア172の回転は、生理食塩水ラックギア148を収縮させ、したがって、生理食塩水プランジャ146を収縮させる。生理食塩水プランジャ146を引っ込めることにより、生理食塩水又は他の変位した医療用流体をIVチューブから引き出すことができる。
図8は、本開示の様々な態様による、送達構成における図5の注射器アセンブリ130の詳細図である。プライミング・シーケンスの終わりに、生理食塩水プランジャ146の生理食塩水ラックギア148は、接続ギア172から切り離され、プライミング後に生理食塩水プランジャ146及び薬剤プランジャ156が独立して動くことを可能にする。
図9は、本開示の様々な態様による、送達構成における図5の注射器アセンブリ130の詳細図である。プライミング後、プッシャー・アセンブリ160をさらに前進させて、患者に薬剤を投与することができる。
図示の実施例では、プッシャー・アセンブリ160をさらに前進させることにより、主プッシャー・シャフト162及び中間プッシャー・シャフト164は、薬剤プランジャ156を協調的に前進させて、患者に薬剤を投与する。
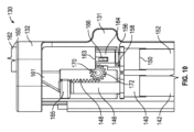
図10は、本開示の様々な態様による、押し出し構成における図5の注射器アセンブリ130の詳細図である。動作中、プッシャー・アセンブリ160をさらに前進させて、IVチューブ内の残りの薬剤を患者に送達することができる。
プッシャー・アセンブリ160を前進させることにより、二次プッシャー165は、生理食塩水プランジャ146と係合して前進させる。生理食塩水プランジャ146を前進させることにより、生理食塩水を生理食塩水注射器140からIVチューブに投与して、IVチューブ内の残りの薬剤を患者に「押す」又は送達することができる。本明細書に記載されるように、二次プッシャー165は、中間プッシャー・シャフト164から長手方向にオフセットされ得、薬剤プランジャ156が作動された後、二次プッシャー165が生理食塩水プランジャ146を作動させることを可能にする。
薬剤プランジャ156がその所望の移動の終わりに達した後、中間プッシャー・シャフト164は、好ましくは、主プッシャー・シャフト162から切り離されて、プッシャー・アセンブリ160を妨害なく前進させること、又は薬剤プランジャ156をさらに前進させることを可能にする。有利なことに、中間プッシャー・シャフト164を切り離すことにより、プッシャー・アセンブリ160は、薬剤プランジャ156を前進させた後、オフセット二次プッシャー165及び生理食塩水プランジャ146を前進させることができる。
図11は、本開示の様々な態様による、図5の注射器アセンブリ130の部分断面図である。図10及び図11を参照すると、いくつかの実施例では、中間プッシャー・シャフト164は、活性化トンネル137に入り、薬剤プランジャ156が移動の終わりに達すると、中間プッシャー・シャフト164を主プッシャー・シャフト162から解放する。図示のように、中間プッシャー・シャフト164が活性化トンネル137に入るとき、中間プッシャー・シャフト164の耳部166は、活性化トンネル137の壁によって径方向に引っ込められるか、又は圧縮され得る。中間プッシャー・シャフト164の耳部166が引っ込められた後、中間プッシャー・シャフト164は、主プッシャー・シャフト162から切り離され、主プッシャー・シャフト162が、薬剤プランジャ156をさらに作動させることなく前進し続けることを可能にする。図示のように、中間プッシャー・シャフト164は、主プッシャー・シャフト162の内径に引っ込められるか、又はスライドすることができる。
図12は、本開示の様々な態様による、注射器アセンブリ230の立面図である。図13は、本開示の様々な態様による、開いた構成での図12の注射器アセンブリ230の立面図である。いくつかの実施例では、注射器アセンブリ230は、注射器アセンブリ130と同様の特徴を含み得る。特に断りのない限り、同様の機能は同様の参照番号で参照される場合がある。
図12及び図13を参照すると、注射器アセンブリ230は、生理食塩水注射器240及び薬剤注射器250を注射器アセンブリ230に導入又は除去することを可能にするために分離する上部232a及び下部232bを含む。上部232a及び下部232bは、動作を容易にするために組み立てられ得る。
有利なことに、マルチ・ポーション注射器アセンブリ230は、臨床医が注射器アセンブリ230に注射器を容易に導入及び除去することを可能にする。さらに、マルチ・ポーション注射器アセンブリ230は、既製又は市販の注射器を注射器アセンブリ230とともに使用することを可能にし得る。いくつかの実施例では、注射器アセンブリ230は、事前に充填された注射器を使用することを可能にする。
本開示は、当業者が本明細書に記載の様々な態様を実施できるようにするために提供される。本開示は、主題技術の様々な実例を提供し、主題技術はこれらの実例に限定されない。これらの態様に対する様々な修正は、当業者には容易に明らかであり、本明細書で定義される一般的な原理は、他の態様に適用することができる。
単数形の要素への言及は、特に明記されていない限り、「1つだけ」を意味するのではなく、「1つ又は複数」を意味する。特に明記されていない限り、「一部」という用語は1つ又は複数を指す。男性の代名詞(例えば、彼の)には、女性及び中性の性別(例えば、彼女の及びその)が含まれ、その逆も同様である。見出し及び小見出しは、もしあれば、便宜のためにのみ使用され、本発明を限定するものではない。
「例示的」という言葉は、本明細書では「実例又は例示として役立つ」を意味するために使用される。本明細書で「例示的」と記載されている態様又は設計は、必ずしも他の態様又は設計よりも好ましい又は有利であると解釈されるべきではない。一態様では、本明細書に記載の様々な代替構成及び動作は、少なくとも同等であると見なすことができる。
「態様」などの句は、そのような態様が主題技術に不可欠であること、又はそのような態様が主題技術のすべての構成に適用されることを意味するものではない。ある態様に関する開示は、すべての構成、又は1つ若しくは複数の構成に適用され得る。態様は、1つ又は複数の実例を提供し得る。態様などの句は、1つ又は複数の態様を指す場合があり、その逆もあり得る。「実施例」などの句は、そのような実施例が主題技術に不可欠であること、又はそのような実施例が主題技術のすべての構成に適用されることを意味するものではない。一実施例に関する開示は、すべての実施例、又は1つ若しくは複数の実施例に適用され得る。一実施例は、1つ又は複数の実例を提供し得る。そのような実施例という句は、1つ又は複数の実施例を指す場合があり、その逆もあり得る。「構成」などの句は、そのような構成が主題技術に不可欠であること、又はそのような構成が主題技術のすべての構成に適用されることを意味するものではない。構成に関する開示は、すべての構成、又は1つ若しくは複数の構成に適用され得る。構成は、1つ又は複数の実例を提供し得る。そのような構成という句は、1つ又は複数の構成を指す場合があり、その逆もあり得る。
一態様では、特に明記しない限り、以下の特許請求の範囲を含む、本明細書に記載されているすべての測定値、値、定格、位置、大きさ、サイズ、及び他の仕様は概算であり、正確ではない。一態様では、それらは、それらが関連する機能及びそれらが関係する技術において慣習的であるものと一致する合理的な範囲を有することを意図している。
一態様では、「結合された」などの用語は、直接結合されていることを指す場合がある。別の態様では、「結合された」などの用語は、間接的に結合されていることを指す場合がある。
本開示で使用される場合、「上」、「下」、「前部」、「後部」などの用語は、通常の重力基準系ではなく、任意の基準系を指すものとして理解されるべきである。したがって、上面、下面、前面、及び背面は、重力基準系において上向き、下向き、対角線上、又は水平方向に延在し得る。
様々なアイテムは、主題技術の範囲から逸脱することなく、すべて異なる方法で配置され得る(例えば、異なる順序で配置されたり、異なる方法で分割されたりし得る)。当業者に知られている、又は後に知られるようになる、本開示を通して記載される様々な態様の要素に相当するすべての構造的及び機能的同等物は、参照により本明細書に明示的に組み込まれ、特許請求の範囲に含まれることが意図される。さらに、本明細書に開示されるものは、そのような開示が特許請求の範囲に明示的に記載されているかどうかにかかわらず、公衆に捧げられることを意図するものではない。要素が「のための手段」という句を使用して明示的に引用され、又は方法クレームの場合、要素が「のためのステップ」という句を使用して引用されていない限り、合衆国法典第35巻第112条第6段落の定義に基づいてクレーム要素を解釈することはできない。さらに、「含む」、「有する」などの用語が使用される限りにおいて、このような用語は、クレームで移行句として使用される場合に「comprise」という用語が解釈されるのと同様の方法で包括的であることが意図されている。
タイトル、背景、要約、図面の簡単な説明、及び開示の要約は、本明細書に組み込まれ、限定的な説明としてではなく、開示の例示的な実例として提供される。これらは、クレームの範囲や意味を制限するために使用されないことを理解した上で提出される。さらに、詳細な説明では、説明が例示的な実例を提供し、開示を合理化する目的で、様々な特徴が様々な実施例で一緒にグループ化されていることが分かる。この開示方法は、クレームされた主題が各クレームに明示的に記載されているよりも多くの特徴を必要とするという意図を反映していると解釈されるべきではない。むしろ、以下の特許請求の範囲が反映するように、発明の主題は、単一の開示された構成又は動作のすべての特徴よりも少ないものにある。以下のクレームは、詳細な説明に組み込まれ、各クレームは、個別にクレームされた主題として独立している。
クレームは、本書に記載されている態様に限定されることを意図したものではなく、言語のクレームと一致する全範囲を与えられ、すべての法的同等物を包含するものとする。それにもかかわらず、いずれの請求項も、合衆国法典第35巻第101条、第102条、又は第103条の要件を満たさない主題を包含することを意図したものではなく、又はそれらをそのように解釈するべきではない。

Claims (12)

  1. 注射器アセンブリであって、
    アセンブリ・ハウジングと、
    前記アセンブリ・ハウジング内に配置された第1の注射器であって、
    第1の注射器空洞及び第1の注射器ポートを画定する第1の注射器本体であって、前記第1の注射器ポートは前記第1の注射器空洞と流体連通している、第1の注射器本体、及び
    前記第1の注射器空洞内で移動可能であり、且つ前記第1の注射器空洞内に第1のチャンバを画定する第1のプランジャであって、前記第1のチャンバは前記第1の注射器ポートと流体連通しており、前記第1のプランジャは、前記第1のプランジャに沿って長手方向に延びる第1のラックギアを有する、第1のプランジャ
    を有する第1の注射器と、
    前記アセンブリ・ハウジング内に配置された第2の注射器であって、
    第2の注射器空洞及び第2の注射器ポートを画定する第2の注射器本体であって、前記第2の注射器ポートは前記第2の注射器空洞と流体連通している、第2の注射器本体、及び
    前記第2の注射器空洞内で移動可能であり、且つ前記第2の注射器空洞内に第2のチャンバを画定する第2のプランジャであって、前記第2のチャンバは前記第2の注射器ポートと流体連通しており、前記第2のプランジャは、前記第2のプランジャに沿って長手方向に延びる第2のラックギアを有する、第2のプランジャ
    を有する第2の注射器と、
    前記アセンブリ・ハウジングに回転可能に結合された接続ギアであって、前記第1のラックギア及び前記第2のラックギアのうちの少なくとも1つと噛合するように構成された接続ギアと
    前記アセンブリ・ハウジング内で移動可能なプッシャー・アセンブリであって、
    前記アセンブリ・ハウジングの外側から前記アセンブリ・ハウジングの内側に延びる主プッシャー・シャフト、及び
    前記主プッシャー・シャフトに解放可能に結合された中間プッシャー・シャフトであって、前記第1のプランジャと係合して前進させるように構成された中間プッシャー・シャフト
    を有するプッシャー・アセンブリと
    を有する、注射器アセンブリ。
  2. 前記接続ギアは、プライミング構成において前記第1のラックギア及び前記第2のラックギアと噛合するように構成されている、請求項1に記載の注射器アセンブリ。
  3. 前記第2のプランジャは、前記プライミング構成において前記第1のプランジャと反対方向に移動可能である、請求項2に記載の注射器アセンブリ。
  4. 前記接続ギアは、送達構成において前記第1のラックギアと噛合するように構成されている、請求項1に記載の注射器アセンブリ。
  5. 前記接続ギアは、押し出し構成において前記第2のラックギアと噛合するように構成されている、請求項1に記載の注射器アセンブリ。
  6. 前記中間プッシャー・シャフトは、前記主プッシャー・シャフトの主プッシャー・シャフト端部から延びている、請求項に記載の注射器アセンブリ。
  7. 前記中間プッシャー・シャフトは、前記中間プッシャー・シャフトから径方向に延びる複数の耳部を有し、前記複数の耳部は、前記主プッシャー・シャフト端部と係合して、前記中間プッシャー・シャフトを前記主プッシャー・シャフトに解放可能に結合する、請求項に記載の注射器アセンブリ。
  8. 前記アセンブリ・ハウジングは、前記第1のプランジャの周りに配置された活性化トンネルを有し、前記活性化トンネルは、前記複数の耳部を径方向に圧縮して、前記複数の耳部を前記主プッシャー・シャフト端部から係合解除し、それにより前記中間プッシャー・シャフトが前記主プッシャー・シャフトに対して移動することを許容するように構成されている、請求項に記載の注射器アセンブリ。
  9. 前記プッシャー・アセンブリは、
    前記第2のプランジャと係合して前進させるように構成された第2のプッシャーと、
    前記第2のプッシャーを前記主プッシャー・シャフトに結合する第2のプッシャー延長部と
    をさらに有する、請求項に記載の注射器アセンブリ。
  10. 前記アセンブリ・ハウジングはヒンジ付きカバーを有し、前記ヒンジ付きカバーは、閉じた構成において、前記第1の注射器、前記第2の注射器及び前記接続ギアを解放可能に取り囲むことができる、請求項1に記載の注射器アセンブリ。
  11. 前記ヒンジ付きカバーは第1の窓を有し、前記第1の窓は、前記閉じた構成において前記第1の注射器本体と少なくとも部分的に位置合わせされている、請求項10に記載の注射器アセンブリ。
  12. 注射器アセンブリとチューブとを有する薬剤送達システムであって、
    前記注射器アセンブリは、
    アセンブリ・ハウジングと、
    前記アセンブリ・ハウジング内に配置された第1の注射器であって、
    第1の注射器空洞及び第1の注射器ポートを画定する第1の注射器本体であって、前記第1の注射器ポートは前記第1の注射器空洞と流体連通している、第1の注射器本体、及び
    前記第1の注射器空洞内で移動可能であり、且つ前記第1の注射器空洞内に第1のチャンバを画定する第1のプランジャであって、前記第1のチャンバは前記第1の注射器ポートと流体連通しており、前記第1のプランジャは、前記第1のプランジャに沿って長手方向に延びる第1のラックギアを有する、第1のプランジャ
    を有する第1の注射器と、
    前記アセンブリ・ハウジング内に配置された第2の注射器であって、
    第2の注射器空洞及び第2の注射器ポートを画定する第2の注射器本体であって、前記第2の注射器ポートは前記第2の注射器空洞と流体連通している、第2の注射器本体、及び
    前記第2の注射器空洞内で移動可能であり、且つ前記第2の注射器空洞内に第2のチャンバを画定する第2のプランジャであって、前記第2のチャンバは前記第2の注射器ポートと流体連通しており、前記第2のプランジャは、前記第2のプランジャに沿って長手方向に延びる第2のラックギアを有する、第2のプランジャ
    を有する第2の注射器と、
    前記アセンブリ・ハウジングに回転可能に結合された接続ギアであって、前記第1のラックギア及び前記第2のラックギアのうちの少なくとも1つと噛合するように構成された接続ギアと
    前記アセンブリ・ハウジング内で移動可能なプッシャー・アセンブリであって、
    前記アセンブリ・ハウジングの外側から前記アセンブリ・ハウジングの内側に延びる主プッシャー・シャフト、及び
    前記主プッシャー・シャフトに解放可能に結合された中間プッシャー・シャフトであって、前記第1のプランジャと係合して前進させるように構成された中間プッシャー・シャフト
    を有するプッシャー・アセンブリと
    を有し、
    前記チューブは第1の流路及び第2の流路を画定し、前記第1の流路は前記第1の注射器ポートと流体連通しており、前記第2の流路は前記第2の注射器ポートと流体連通している、薬剤送達システム。
JP2022516608A 2019-09-16 2020-09-14 シーケンス化された注射器アセンブリ Active JP7598366B2 (ja)

Applications Claiming Priority (3)

Application Number Priority Date Filing Date Title
US16/572,379 US11511044B2 (en) 2019-09-16 2019-09-16 Sequenced syringe assembly
US16/572,379 2019-09-16
PCT/US2020/050752 WO2021055291A1 (en) 2019-09-16 2020-09-14 Sequenced syringe assembly

Publications (2)

Publication Number Publication Date
JP2022548117A JP2022548117A (ja) 2022-11-16
JP7598366B2 true JP7598366B2 (ja) 2024-12-11

Family

ID=72659367

Family Applications (1)

Application Number Title Priority Date Filing Date
JP2022516608A Active JP7598366B2 (ja) 2019-09-16 2020-09-14 シーケンス化された注射器アセンブリ

Country Status (8)

Country Link
US (3) US11511044B2 (ja)
EP (1) EP4031211B1 (ja)
JP (1) JP7598366B2 (ja)
CN (1) CN114728129B (ja)
AU (1) AU2020348668B2 (ja)
CA (1) CA3151192A1 (ja)
MX (1) MX2022003113A (ja)
WO (1) WO2021055291A1 (ja)

Families Citing this family (1)

* Cited by examiner, † Cited by third party
Publication number Priority date Publication date Assignee Title
EP4611840A1 (en) * 2022-11-05 2025-09-10 F. Hoffmann-La Roche AG Medical dispensing device

Citations (6)

* Cited by examiner, † Cited by third party
Publication number Priority date Publication date Assignee Title
US20070016144A1 (en) 2005-06-03 2007-01-18 Sibbitt Wilmer L Jr Reciprocating syringe assemblies
JP2010075287A (ja) 2008-09-24 2010-04-08 Terumo Corp シリンジ
JP2013544160A (ja) 2010-11-29 2013-12-12 サノフィ−アベンティス・ドイチュラント・ゲゼルシャフト・ミット・ベシュレンクテル・ハフツング 薬物送達デバイス
JP2015536715A (ja) 2012-11-06 2015-12-24 サノフィ−アベンティス・ドイチュラント・ゲゼルシャフト・ミット・ベシュレンクテル・ハフツング 自動注射器
JP2017509421A (ja) 2014-03-28 2017-04-06 レプロ−メッド システムズ、インコーポレーテッド コンパクトな医療用ポンプ
JP2017531459A (ja) 2014-08-28 2017-10-26 ユニトラクト シリンジ プロプライエタリイ リミテッドUnitract Syringe Pty Ltd 薬剤送達デバイス用センサシステム

Family Cites Families (11)

* Cited by examiner, † Cited by third party
Publication number Priority date Publication date Assignee Title
US4313440A (en) * 1980-09-08 1982-02-02 Ashley Sheldon J Multipurpose double barrel syringe and method of manufacture of same
CN1088474A (zh) * 1992-12-23 1994-06-29 布雷斯托-玫俄斯·斯奎伯公司 分配至少两种流体的分配装置
JPH0666690U (ja) * 1993-03-09 1994-09-20 株式会社アイバック 薬液注入装置
DE602004004589T2 (de) * 2003-05-30 2007-11-08 Eli Lilly And Co., Indianapolis Mehrkammer medikamentenverabreichungsvorrichtung
US10265470B2 (en) * 2013-10-13 2019-04-23 V.V.T. Med Ltd. Device for synchronized injection and aspiration
WO2015179783A1 (en) * 2014-05-23 2015-11-26 Accunit, Llc Handheld medical substance dispensing system, apparatus and methods
US9731105B2 (en) * 2015-02-20 2017-08-15 Carefusion 303, Inc. Micro infusion device for drug delivery
SMT202000559T1 (it) * 2016-03-21 2020-11-10 Lilly Co Eli Dispositivo medico per somministrazione munito di elemento di trasmissione espandibile assialmente
JP7316272B2 (ja) * 2017-06-26 2023-07-27 ヴィー.ヴィー.ティー. メッド リミテッド 同期された注入および吸引のためのアクチュエータを有するデバイス
US10959714B2 (en) * 2018-04-19 2021-03-30 Ethicon, Inc. Dual syringe cartridge and housing
US10391253B1 (en) * 2018-06-19 2019-08-27 Innomed Technologies, Inc. Precision low-dose, low-waste syringes and ergonomic attachments therefor

Patent Citations (6)

* Cited by examiner, † Cited by third party
Publication number Priority date Publication date Assignee Title
US20070016144A1 (en) 2005-06-03 2007-01-18 Sibbitt Wilmer L Jr Reciprocating syringe assemblies
JP2010075287A (ja) 2008-09-24 2010-04-08 Terumo Corp シリンジ
JP2013544160A (ja) 2010-11-29 2013-12-12 サノフィ−アベンティス・ドイチュラント・ゲゼルシャフト・ミット・ベシュレンクテル・ハフツング 薬物送達デバイス
JP2015536715A (ja) 2012-11-06 2015-12-24 サノフィ−アベンティス・ドイチュラント・ゲゼルシャフト・ミット・ベシュレンクテル・ハフツング 自動注射器
JP2017509421A (ja) 2014-03-28 2017-04-06 レプロ−メッド システムズ、インコーポレーテッド コンパクトな医療用ポンプ
JP2017531459A (ja) 2014-08-28 2017-10-26 ユニトラクト シリンジ プロプライエタリイ リミテッドUnitract Syringe Pty Ltd 薬剤送達デバイス用センサシステム

Also Published As

Publication number Publication date
EP4031211C0 (en) 2025-04-16
MX2022003113A (es) 2022-04-06
US11511044B2 (en) 2022-11-29
US20230048849A1 (en) 2023-02-16
EP4031211A1 (en) 2022-07-27
WO2021055291A1 (en) 2021-03-25
JP2022548117A (ja) 2022-11-16
CN114728129A (zh) 2022-07-08
CA3151192A1 (en) 2021-03-25
AU2020348668B2 (en) 2025-05-29
AU2020348668A1 (en) 2022-04-07
US20210077734A1 (en) 2021-03-18
CN114728129B (zh) 2024-05-17
EP4031211B1 (en) 2025-04-16
US20250073394A1 (en) 2025-03-06
US12168117B2 (en) 2024-12-17

Similar Documents

Publication Publication Date Title
US20250073394A1 (en) Sequenced syringe assembly
US12220562B2 (en) Syringe with priming mechanism
US20220096753A1 (en) Syringe with priming indicator
JP7626712B2 (ja) 制御弁を備えた薬剤送達システム
JP7529691B2 (ja) 多室シリンジ

Legal Events

Date Code Title Description
A621 Written request for application examination

Free format text: JAPANESE INTERMEDIATE CODE: A621

Effective date: 20230814

A977 Report on retrieval

Free format text: JAPANESE INTERMEDIATE CODE: A971007

Effective date: 20240605

A131 Notification of reasons for refusal

Free format text: JAPANESE INTERMEDIATE CODE: A131

Effective date: 20240703

A521 Request for written amendment filed

Free format text: JAPANESE INTERMEDIATE CODE: A523

Effective date: 20240930

TRDD Decision of grant or rejection written
A01 Written decision to grant a patent or to grant a registration (utility model)

Free format text: JAPANESE INTERMEDIATE CODE: A01

Effective date: 20241106

A61 First payment of annual fees (during grant procedure)

Free format text: JAPANESE INTERMEDIATE CODE: A61

Effective date: 20241129

R150 Certificate of patent or registration of utility model

Ref document number: 7598366

Country of ref document: JP

Free format text: JAPANESE INTERMEDIATE CODE: R150