JP7586897B2 - 改良型支援換気のための装置および方法 - Google Patents

改良型支援換気のための装置および方法 Download PDF

Info

Publication number
JP7586897B2
JP7586897B2 JP2022514213A JP2022514213A JP7586897B2 JP 7586897 B2 JP7586897 B2 JP 7586897B2 JP 2022514213 A JP2022514213 A JP 2022514213A JP 2022514213 A JP2022514213 A JP 2022514213A JP 7586897 B2 JP7586897 B2 JP 7586897B2
Authority
JP
Japan
Prior art keywords
ventilation
lumen
pressure
patient
tube
Prior art date
Legal status (The legal status is an assumption and is not a legal conclusion. Google has not performed a legal analysis and makes no representation as to the accuracy of the status listed.)
Active
Application number
JP2022514213A
Other languages
English (en)
Other versions
JP2022546558A (ja
Inventor
ノラン,クレイ
Original Assignee
コーラブス メディカル,インコーポレイテッド
Priority date (The priority date is an assumption and is not a legal conclusion. Google has not performed a legal analysis and makes no representation as to the accuracy of the date listed.)
Filing date
Publication date
Application filed by コーラブス メディカル,インコーポレイテッド filed Critical コーラブス メディカル,インコーポレイテッド
Publication of JP2022546558A publication Critical patent/JP2022546558A/ja
Application granted granted Critical
Publication of JP7586897B2 publication Critical patent/JP7586897B2/ja
Active legal-status Critical Current
Anticipated expiration legal-status Critical

Links

Images

Classifications

    • AHUMAN NECESSITIES
    • A61MEDICAL OR VETERINARY SCIENCE; HYGIENE
    • A61MDEVICES FOR INTRODUCING MEDIA INTO, OR ONTO, THE BODY; DEVICES FOR TRANSDUCING BODY MEDIA OR FOR TAKING MEDIA FROM THE BODY; DEVICES FOR PRODUCING OR ENDING SLEEP OR STUPOR
    • A61M16/00Devices for influencing the respiratory system of patients by gas treatment, e.g. ventilators; Tracheal tubes
    • A61M16/021Devices for influencing the respiratory system of patients by gas treatment, e.g. ventilators; Tracheal tubes operated by electrical means
    • A61M16/022Control means therefor
    • AHUMAN NECESSITIES
    • A61MEDICAL OR VETERINARY SCIENCE; HYGIENE
    • A61MDEVICES FOR INTRODUCING MEDIA INTO, OR ONTO, THE BODY; DEVICES FOR TRANSDUCING BODY MEDIA OR FOR TAKING MEDIA FROM THE BODY; DEVICES FOR PRODUCING OR ENDING SLEEP OR STUPOR
    • A61M16/00Devices for influencing the respiratory system of patients by gas treatment, e.g. ventilators; Tracheal tubes
    • A61M16/021Devices for influencing the respiratory system of patients by gas treatment, e.g. ventilators; Tracheal tubes operated by electrical means
    • A61M16/022Control means therefor
    • A61M16/024Control means therefor including calculation means, e.g. using a processor
    • AHUMAN NECESSITIES
    • A61MEDICAL OR VETERINARY SCIENCE; HYGIENE
    • A61BDIAGNOSIS; SURGERY; IDENTIFICATION
    • A61B5/00Measuring for diagnostic purposes; Identification of persons
    • A61B5/08Measuring devices for evaluating the respiratory organs
    • A61B5/087Measuring breath flow
    • AHUMAN NECESSITIES
    • A61MEDICAL OR VETERINARY SCIENCE; HYGIENE
    • A61BDIAGNOSIS; SURGERY; IDENTIFICATION
    • A61B5/00Measuring for diagnostic purposes; Identification of persons
    • A61B5/08Measuring devices for evaluating the respiratory organs
    • A61B5/097Devices for facilitating collection of breath or for directing breath into or through measuring devices
    • AHUMAN NECESSITIES
    • A61MEDICAL OR VETERINARY SCIENCE; HYGIENE
    • A61BDIAGNOSIS; SURGERY; IDENTIFICATION
    • A61B5/00Measuring for diagnostic purposes; Identification of persons
    • A61B5/48Other medical applications
    • A61B5/4836Diagnosis combined with treatment in closed-loop systems or methods
    • AHUMAN NECESSITIES
    • A61MEDICAL OR VETERINARY SCIENCE; HYGIENE
    • A61MDEVICES FOR INTRODUCING MEDIA INTO, OR ONTO, THE BODY; DEVICES FOR TRANSDUCING BODY MEDIA OR FOR TAKING MEDIA FROM THE BODY; DEVICES FOR PRODUCING OR ENDING SLEEP OR STUPOR
    • A61M16/00Devices for influencing the respiratory system of patients by gas treatment, e.g. ventilators; Tracheal tubes
    • A61M16/04Tracheal tubes
    • A61M16/0402Special features for tracheal tubes not otherwise provided for
    • A61M16/0411Special features for tracheal tubes not otherwise provided for with means for differentiating between oesophageal and tracheal intubation
    • AHUMAN NECESSITIES
    • A61MEDICAL OR VETERINARY SCIENCE; HYGIENE
    • A61MDEVICES FOR INTRODUCING MEDIA INTO, OR ONTO, THE BODY; DEVICES FOR TRANSDUCING BODY MEDIA OR FOR TAKING MEDIA FROM THE BODY; DEVICES FOR PRODUCING OR ENDING SLEEP OR STUPOR
    • A61M16/00Devices for influencing the respiratory system of patients by gas treatment, e.g. ventilators; Tracheal tubes
    • A61M16/04Tracheal tubes
    • A61M16/0434Cuffs
    • AHUMAN NECESSITIES
    • A61MEDICAL OR VETERINARY SCIENCE; HYGIENE
    • A61MDEVICES FOR INTRODUCING MEDIA INTO, OR ONTO, THE BODY; DEVICES FOR TRANSDUCING BODY MEDIA OR FOR TAKING MEDIA FROM THE BODY; DEVICES FOR PRODUCING OR ENDING SLEEP OR STUPOR
    • A61M16/00Devices for influencing the respiratory system of patients by gas treatment, e.g. ventilators; Tracheal tubes
    • A61M16/04Tracheal tubes
    • A61M16/0463Tracheal tubes combined with suction tubes, catheters or the like; Outside connections
    • AHUMAN NECESSITIES
    • A61MEDICAL OR VETERINARY SCIENCE; HYGIENE
    • A61MDEVICES FOR INTRODUCING MEDIA INTO, OR ONTO, THE BODY; DEVICES FOR TRANSDUCING BODY MEDIA OR FOR TAKING MEDIA FROM THE BODY; DEVICES FOR PRODUCING OR ENDING SLEEP OR STUPOR
    • A61M16/00Devices for influencing the respiratory system of patients by gas treatment, e.g. ventilators; Tracheal tubes
    • A61M16/04Tracheal tubes
    • A61M16/0475Tracheal tubes having openings in the tube
    • AHUMAN NECESSITIES
    • A61MEDICAL OR VETERINARY SCIENCE; HYGIENE
    • A61MDEVICES FOR INTRODUCING MEDIA INTO, OR ONTO, THE BODY; DEVICES FOR TRANSDUCING BODY MEDIA OR FOR TAKING MEDIA FROM THE BODY; DEVICES FOR PRODUCING OR ENDING SLEEP OR STUPOR
    • A61M16/00Devices for influencing the respiratory system of patients by gas treatment, e.g. ventilators; Tracheal tubes
    • A61M16/06Respiratory or anaesthetic masks
    • AHUMAN NECESSITIES
    • A61MEDICAL OR VETERINARY SCIENCE; HYGIENE
    • A61MDEVICES FOR INTRODUCING MEDIA INTO, OR ONTO, THE BODY; DEVICES FOR TRANSDUCING BODY MEDIA OR FOR TAKING MEDIA FROM THE BODY; DEVICES FOR PRODUCING OR ENDING SLEEP OR STUPOR
    • A61M16/00Devices for influencing the respiratory system of patients by gas treatment, e.g. ventilators; Tracheal tubes
    • A61M16/20Valves specially adapted to medical respiratory devices
    • A61M16/201Controlled valves
    • A61M16/202Controlled valves electrically actuated
    • AHUMAN NECESSITIES
    • A61MEDICAL OR VETERINARY SCIENCE; HYGIENE
    • A61MDEVICES FOR INTRODUCING MEDIA INTO, OR ONTO, THE BODY; DEVICES FOR TRANSDUCING BODY MEDIA OR FOR TAKING MEDIA FROM THE BODY; DEVICES FOR PRODUCING OR ENDING SLEEP OR STUPOR
    • A61M16/00Devices for influencing the respiratory system of patients by gas treatment, e.g. ventilators; Tracheal tubes
    • A61M16/20Valves specially adapted to medical respiratory devices
    • A61M16/208Non-controlled one-way valves, e.g. exhalation, check, pop-off non-rebreathing valves
    • A61M16/209Relief valves
    • AHUMAN NECESSITIES
    • A61MEDICAL OR VETERINARY SCIENCE; HYGIENE
    • A61BDIAGNOSIS; SURGERY; IDENTIFICATION
    • A61B2562/00Details of sensors; Constructional details of sensor housings or probes; Accessories for sensors
    • A61B2562/02Details of sensors specially adapted for in-vivo measurements
    • A61B2562/0247Pressure sensors
    • AHUMAN NECESSITIES
    • A61MEDICAL OR VETERINARY SCIENCE; HYGIENE
    • A61BDIAGNOSIS; SURGERY; IDENTIFICATION
    • A61B5/00Measuring for diagnostic purposes; Identification of persons
    • A61B5/03Measuring fluid pressure within the body other than blood pressure, e.g. cerebral pressure ; Measuring pressure in body tissues or organs
    • A61B5/036Measuring fluid pressure within the body other than blood pressure, e.g. cerebral pressure ; Measuring pressure in body tissues or organs by means introduced into body tracts
    • AHUMAN NECESSITIES
    • A61MEDICAL OR VETERINARY SCIENCE; HYGIENE
    • A61BDIAGNOSIS; SURGERY; IDENTIFICATION
    • A61B5/00Measuring for diagnostic purposes; Identification of persons
    • A61B5/08Measuring devices for evaluating the respiratory organs
    • A61B5/091Measuring volume of inspired or expired gases, e.g. to determine lung capacity
    • AHUMAN NECESSITIES
    • A61MEDICAL OR VETERINARY SCIENCE; HYGIENE
    • A61BDIAGNOSIS; SURGERY; IDENTIFICATION
    • A61B5/00Measuring for diagnostic purposes; Identification of persons
    • A61B5/103Measuring devices for testing the shape, pattern, colour, size or movement of the body or parts thereof, for diagnostic purposes
    • A61B5/11Measuring movement of the entire body or parts thereof, e.g. head or hand tremor or mobility of a limb
    • AHUMAN NECESSITIES
    • A61MEDICAL OR VETERINARY SCIENCE; HYGIENE
    • A61MDEVICES FOR INTRODUCING MEDIA INTO, OR ONTO, THE BODY; DEVICES FOR TRANSDUCING BODY MEDIA OR FOR TAKING MEDIA FROM THE BODY; DEVICES FOR PRODUCING OR ENDING SLEEP OR STUPOR
    • A61M16/00Devices for influencing the respiratory system of patients by gas treatment, e.g. ventilators; Tracheal tubes
    • A61M16/0057Pumps therefor
    • A61M16/0063Compressors
    • AHUMAN NECESSITIES
    • A61MEDICAL OR VETERINARY SCIENCE; HYGIENE
    • A61MDEVICES FOR INTRODUCING MEDIA INTO, OR ONTO, THE BODY; DEVICES FOR TRANSDUCING BODY MEDIA OR FOR TAKING MEDIA FROM THE BODY; DEVICES FOR PRODUCING OR ENDING SLEEP OR STUPOR
    • A61M16/00Devices for influencing the respiratory system of patients by gas treatment, e.g. ventilators; Tracheal tubes
    • A61M16/04Tracheal tubes
    • A61M16/0402Special features for tracheal tubes not otherwise provided for
    • A61M16/0431Special features for tracheal tubes not otherwise provided for with a cross-sectional shape other than circular
    • AHUMAN NECESSITIES
    • A61MEDICAL OR VETERINARY SCIENCE; HYGIENE
    • A61MDEVICES FOR INTRODUCING MEDIA INTO, OR ONTO, THE BODY; DEVICES FOR TRANSDUCING BODY MEDIA OR FOR TAKING MEDIA FROM THE BODY; DEVICES FOR PRODUCING OR ENDING SLEEP OR STUPOR
    • A61M16/00Devices for influencing the respiratory system of patients by gas treatment, e.g. ventilators; Tracheal tubes
    • A61M16/04Tracheal tubes
    • A61M16/0486Multi-lumen tracheal tubes
    • AHUMAN NECESSITIES
    • A61MEDICAL OR VETERINARY SCIENCE; HYGIENE
    • A61MDEVICES FOR INTRODUCING MEDIA INTO, OR ONTO, THE BODY; DEVICES FOR TRANSDUCING BODY MEDIA OR FOR TAKING MEDIA FROM THE BODY; DEVICES FOR PRODUCING OR ENDING SLEEP OR STUPOR
    • A61M16/00Devices for influencing the respiratory system of patients by gas treatment, e.g. ventilators; Tracheal tubes
    • A61M16/08Bellows; Connecting tubes ; Water traps; Patient circuits
    • A61M16/0816Joints or connectors
    • A61M16/0833T- or Y-type connectors, e.g. Y-piece
    • AHUMAN NECESSITIES
    • A61MEDICAL OR VETERINARY SCIENCE; HYGIENE
    • A61MDEVICES FOR INTRODUCING MEDIA INTO, OR ONTO, THE BODY; DEVICES FOR TRANSDUCING BODY MEDIA OR FOR TAKING MEDIA FROM THE BODY; DEVICES FOR PRODUCING OR ENDING SLEEP OR STUPOR
    • A61M16/00Devices for influencing the respiratory system of patients by gas treatment, e.g. ventilators; Tracheal tubes
    • A61M16/0003Accessories therefor, e.g. sensors, vibrators, negative pressure
    • A61M2016/0027Accessories therefor, e.g. sensors, vibrators, negative pressure pressure meter
    • AHUMAN NECESSITIES
    • A61MEDICAL OR VETERINARY SCIENCE; HYGIENE
    • A61MDEVICES FOR INTRODUCING MEDIA INTO, OR ONTO, THE BODY; DEVICES FOR TRANSDUCING BODY MEDIA OR FOR TAKING MEDIA FROM THE BODY; DEVICES FOR PRODUCING OR ENDING SLEEP OR STUPOR
    • A61M2202/00Special media to be introduced, removed or treated
    • A61M2202/02Gases
    • A61M2202/0208Oxygen
    • AHUMAN NECESSITIES
    • A61MEDICAL OR VETERINARY SCIENCE; HYGIENE
    • A61MDEVICES FOR INTRODUCING MEDIA INTO, OR ONTO, THE BODY; DEVICES FOR TRANSDUCING BODY MEDIA OR FOR TAKING MEDIA FROM THE BODY; DEVICES FOR PRODUCING OR ENDING SLEEP OR STUPOR
    • A61M2205/00General characteristics of the apparatus
    • A61M2205/58Means for facilitating use, e.g. by people with impaired vision
    • A61M2205/581Means for facilitating use, e.g. by people with impaired vision by audible feedback
    • AHUMAN NECESSITIES
    • A61MEDICAL OR VETERINARY SCIENCE; HYGIENE
    • A61MDEVICES FOR INTRODUCING MEDIA INTO, OR ONTO, THE BODY; DEVICES FOR TRANSDUCING BODY MEDIA OR FOR TAKING MEDIA FROM THE BODY; DEVICES FOR PRODUCING OR ENDING SLEEP OR STUPOR
    • A61M2205/00General characteristics of the apparatus
    • A61M2205/58Means for facilitating use, e.g. by people with impaired vision
    • A61M2205/583Means for facilitating use, e.g. by people with impaired vision by visual feedback
    • AHUMAN NECESSITIES
    • A61MEDICAL OR VETERINARY SCIENCE; HYGIENE
    • A61MDEVICES FOR INTRODUCING MEDIA INTO, OR ONTO, THE BODY; DEVICES FOR TRANSDUCING BODY MEDIA OR FOR TAKING MEDIA FROM THE BODY; DEVICES FOR PRODUCING OR ENDING SLEEP OR STUPOR
    • A61M2210/00Anatomical parts of the body
    • A61M2210/10Trunk
    • A61M2210/1025Respiratory system
    • A61M2210/1032Trachea
    • AHUMAN NECESSITIES
    • A61MEDICAL OR VETERINARY SCIENCE; HYGIENE
    • A61MDEVICES FOR INTRODUCING MEDIA INTO, OR ONTO, THE BODY; DEVICES FOR TRANSDUCING BODY MEDIA OR FOR TAKING MEDIA FROM THE BODY; DEVICES FOR PRODUCING OR ENDING SLEEP OR STUPOR
    • A61M2230/00Measuring parameters of the user
    • A61M2230/04Heartbeat characteristics, e.g. ECG, blood pressure modulation
    • A61M2230/06Heartbeat rate only
    • AHUMAN NECESSITIES
    • A61MEDICAL OR VETERINARY SCIENCE; HYGIENE
    • A61MDEVICES FOR INTRODUCING MEDIA INTO, OR ONTO, THE BODY; DEVICES FOR TRANSDUCING BODY MEDIA OR FOR TAKING MEDIA FROM THE BODY; DEVICES FOR PRODUCING OR ENDING SLEEP OR STUPOR
    • A61M2230/00Measuring parameters of the user
    • A61M2230/60Muscle strain, i.e. measured on the user
    • AHUMAN NECESSITIES
    • A61MEDICAL OR VETERINARY SCIENCE; HYGIENE
    • A61NELECTROTHERAPY; MAGNETOTHERAPY; RADIATION THERAPY; ULTRASOUND THERAPY
    • A61N1/00Electrotherapy; Circuits therefor
    • A61N1/02Details
    • A61N1/04Electrodes
    • A61N1/0404Electrodes for external use
    • A61N1/0408Use-related aspects
    • A61N1/046Specially adapted for shock therapy, e.g. defibrillation

Landscapes

  • Health & Medical Sciences (AREA)
  • Pulmonology (AREA)
  • Life Sciences & Earth Sciences (AREA)
  • General Health & Medical Sciences (AREA)
  • Veterinary Medicine (AREA)
  • Biomedical Technology (AREA)
  • Heart & Thoracic Surgery (AREA)
  • Public Health (AREA)
  • Engineering & Computer Science (AREA)
  • Animal Behavior & Ethology (AREA)
  • Emergency Medicine (AREA)
  • Hematology (AREA)
  • Anesthesiology (AREA)
  • Physics & Mathematics (AREA)
  • Biophysics (AREA)
  • Pathology (AREA)
  • Medical Informatics (AREA)
  • Molecular Biology (AREA)
  • Surgery (AREA)
  • Physiology (AREA)
  • External Artificial Organs (AREA)
  • Percussion Or Vibration Massage (AREA)

Description

挿管とは、患者が自力で呼吸できない場合に、肺の換気を支援して血液への酸素供給を維持するために、挿管器具のチューブを患者の身体の気道ルーメンに挿入することである。呼吸困難の場合の挿管は、患者の気管にチューブを挿入する。また、気管挿管は気管内チューブを患者の声帯を通して気管に入れるので、声帯を傷つけないような配慮も必要である。多くの場合、患者に挿管する際には注意が必要であり、挿管位置が不適切だと、患者にさらなる危害を加えることになるからである。例えば、従来の挿管装置の多くは、ルーメン内のチューブの位置を維持するために、ルーメンの壁に対してシールを形成する膨張性のカフに左右される。カフを膨張させすぎると、患者の内出血を引き起こす可能性がある。また、挿管チューブが気管ではなく食道内に入らないように細心の注意を払わなければならないことも大きな課題である。このような場合、従来の装置では、救急隊員や医療従事者が患者を適切に換気することができず、患者がさらに傷害を負う可能性がある。
適切な訓練を受けた医療従事者や救急隊員であっても、挿管中に挿管器具の誤留置や、不要な挿入ミスおよび外傷のリスクを回避するために、慎重に作業を進める必要がある。気管内チューブの遅延および誤留置のうちの少なくともいずれか一方、例えば、気管内チューブを食道に誤留置することにより、神経障害や死亡に至る可能性がある。気管内チューブの位置が不適切だと、気道の保護が損なわれたり、換気が不十分になったりすることもある。したがって、病状が悪化した場合には、迅速に患者に気管内挿管を行い、気管内チューブを正確に留置することが必須となる。
挿管中の合併症のリスクを低減するために、救急隊員などの第一応答者、医療補助者、看護師、医師など、いずれであっても、医療従事者は、できるだけ早く、しかし慎重に、合併症の可能性を回避するために、できるだけ迅速に処置を行う必要がある。加えて、救急隊員は、トイレやレストランなど、適切な治療やケアを行うのに適していない場所で、患者の挿管を試みなければならないことが多い。
心停止時の支援換気には、胸部圧迫ができるように、気管内に挿管器具を迅速かつ正確に配置することも必要である。このような場合、挿管することで肺の換気および血液への酸素供給を行い、胸部圧迫で血液の循環を行うことができる。
米国心臓協会の心肺蘇生法(CPR)のプロトコルでは、従来、胸部圧迫を15回行うごとに一時停止し、2回の人工呼吸を行うことが義務付けられていた。米国心臓協会の2010年のプロトコルでは、胸部圧迫を30回行うごとに一時停止し、2回の人工呼吸を行うよう、人工呼吸の頻度を減らしている。プロトコルの変更を支持する主な理由は、1)陽圧換気は心臓の効率を低下させるため、陽圧換気に伴う胸腔内圧を低減すること、および2)動脈圧を一定に保持するための胸部圧迫の中断を最小限にすること、にあると考えられる。そのため、現在ではほとんどの医療従事者は、患者が適切に挿管されている場合にのみ、換気および圧迫を同時に行っている。
図1は、患者の口腔10、舌12、咽頭14を示す部分図であり、咽頭14は口腔10の背面の膜に囲まれた腔である。咽頭14は、食道16および気管18の開口部を含む。図示のように、食道16および気管18への開口部は、互いに隣接している。医療従事者が患者に挿管を試みるときに、従事者は、肺2に酸素を供給するために、挿管装置を気管18内に配置することを試みる。上述したように、従事者は挿管装置を食道16内に配置することを回避する必要があり、その際、声帯や体内の他の組織構造体に望ましくない外傷を与えないように、緩慢かつ慎重に進める必要がある。
食道16の壁は、横紋筋および平滑筋で構成されている。食道16は蠕動運動によって食物を胃の方へ下降させるので、食道16の壁には構造的な補強体がなく、自然に柔軟である。一方、気管18は比較的丈夫で、気管支および肺2に空気を運ぶという機能を考えると、当然潰れないように構成されている。気管18の壁は、気管18が潰れるのを防ぐために、複数の軟骨の半円形のリング20を含む。気管20は食道16の前方にあり、食道16と気管の開口部とは喉頭蓋22という小さなフラップによって隔てられている。喉頭蓋22は、ヒトが食べ物などを飲み込むときに気管を保護する。
図2は、患者に挿管するために使用されるような従来の装置50を例示する。図示のように、装置50は、口および口腔から気管18に挿入される。従事者は、喉頭蓋22および声帯24を横断しながら、食道ではなく気管18に装置50を挿入する必要がある。特に声帯24を傷つけないよう、医療従事者は細心の注意を払う必要がある。一旦適切に配置されたら、従事者は任意で装置50上のバルーン52を膨らませて気管18内に装置をアンカー固定することができる。従事者が装置50の配置を確認した後に、患者の換気を行うことができる。
現在、気道管理にはNellcor社製のコンビチューブ(Combitube)が一般的に使用されている。ダブルルーメン気道として周知のコンビチューブは、救急隊員の他、緊急救命室でも使用されるブラインド・インサーション・エアウェイ・デバイス(BIAD)である。コンビチューブは、カフ付きダブルルーメンチューブを用いて、呼吸困難患者の気管挿管を可能にすることを目的としている。ダブルルーメンチューブを患者の気道に挿入し、患者の肺を換気することができる。カフを膨らませることで、装置は気管内チューブと同様の機能を発揮し、通常は食道を閉鎖し、換気を行い、胃内容物の肺への吸引を防ぐことができる。
しかしながら、従来の挿管装置の設置は、装置の配置が不適切になるリスクがあり、非常に困難である。装置の配置が不適切な場合、そのリスクを認識しないと致命的な事態になり得る。上述したような従来の装置では、そのような装置の配置について十分に訓練された人による配置が必要である。また、従来の装置を設置する際には、十分な訓練を受けている人でも慎重に進める必要がある。
加えて、患者の人工呼吸を行う際の送気のタイミングを改善する必要がある。特に、この必要性は、患者が苦痛を感じており、酸素吸入と血液循環を再確立するための胸部圧迫との両者が必要な場合に生じる。現在、通常のCPRのように、ヒトの人工呼吸(例、支援換気や口移し)および胸部圧迫のタイミングを合わせないと、ヒトの通常の人工呼吸が圧迫の効果に反して作用し得る。例えば、大量の空気を繰り返し送り込む支援換気は、胸腔内の圧力を上昇させ、また、心臓にかかる圧力を上げることで抵抗を増加させ得る。この背圧により、心臓および両肺が血液で満たすことが阻害され得る。その結果、心臓および両肺を血液で満たす能力が阻害され、圧迫後に循環する血液量が少なくなるため、胸部圧迫の効果が低くなる。
ヒトを効果的に換気することができるとともに従事者が必要とする最小限の訓練で効果的に配置することができる換気装置およびシステムのうちの少なくともいずれか一方に対するニーズが依然として存在する。加えて、ヒトの体内の酸素化血液を循環させるための胸部圧迫による支援換気の効果を最適化する、このような換気装置および方法に対するニーズもある。
本開示は、自然な呼吸口を使ってヒトを処置するための方法およびシステムを含む。一例として、本開示は、ヒトにおける換気のためのシステム、および胸部圧迫の効率を高めるためのシステムを含む。一態様によるシステムは、ヒトの呼吸口内に挿入されるように構成され、ヒトの身体通路内に配置するための作業部を有する換気装置を備え、換気装置は、作業部に露出した圧力ルーメンを有し、圧力ルーメンは、圧力ルーメンを用いて身体通路内の圧力変化を検知するように構成されたセンサーと流体連通し、換気装置は、ヒトを換気するために作業部を通して空気のボーラスを供給するように構成された制御システムを有し、制御システムは、胸部圧迫の結果生じる身体通路内の圧力変化を検知すると、空気のボーラスの送達タイミングを変更し、胸部圧迫後にヒトの胸腔の再膨張を支援するのに十分な量の空気のボーラスを送達するように構成される。
本開示は、ヒトを人工的に換気するためのシステムをさらに含み、該システムは、ヒトの呼吸口内に挿入するように構成され、ヒトの身体通路内に配置するための作業端を有する換気装置であって、身体通路内の圧力変化を検知するように構成された圧力センサーを有する換気装置を備える。換気装置は、身体通路内の圧力変化が検知されるまで、予め定められた速度でヒトの気道に空気のボーラスを送達するように構成された制御システムを有し、その後、制御システムは、センサーが身体通路内の空気の圧力変化を検知するまで空気のボーラスの送達を遅らせることによって予め定められた速度を変更するように構成されており、身体通路内の圧力変化は胸部圧迫に起因している。システムはまた、圧縮後に胸腔を拡張することを支援するために、体積を増加させた空気のボーラスを供給することができる。エアボーラスの投入タイミングは、肺抵抗の増加と、エアボーラスの投入による胸部の反動を支援することとの両者で、胸部圧迫の効果を高めている。その結果、胸の反動が大きくなり、続く胸部圧迫の効果が高まり、血液の循環も良くなる。
本明細書に記載のシステムは、さらに、身体通路内の圧力変化をフィードバックするように構成された制御システムをさらに含み得る。
本明細書に記載のシステムは、胸腔内の空気の体積の変化を測定することにより、胸部圧迫の質に基づいてフィードバックを提供するように構成された制御システムをさらに備えることができる。一例として、フィードバックは、胸部圧迫の望ましい時間を識別するための指示信号を含む。別例は、作業部が第1のルーメンに流体連通する遠位側開口部および第2のルーメンに流体連通する中間開口部を含むシステムを備える。制御システムは、身体通路内の遠位側開口部を通して吸引を引き寄せ、吸引を一定時間維持するように構成される。制御システムは、身体通路が吸引によって遠位側開口部に対して引き寄せられるかどうかを判断し、身体通路が遠位側開口部に対して引き寄せられると判断できなかった後に第1のルーメンを通してヒトを換気し、身体通路が遠位側開口部に対して引き寄せられると判断した後に、第2のルーメンを通してヒトを換気し、第2のルーメンを通した換気中に吸引を維持するようにさらに構成されている。
別例では、システムは、作業部上に膨張式アンカーを含むことができる。膨張式アンカーは、換気装置の作業部に結合されたバルーンを備え得る。さらに、換気装置の近位部は、フェイスマスクをさらに備える。一実施例では、換気装置の近位部は、ヒトの口の中での換気装置の潰れを防止するための補強部をさらに備える。換気装置の近位部はまた、ヒトの換気パラメーターを調整するための圧力解放弁をさらに含むことができる。
また、本開示は、ヒトにおける換気のための方法、および胸部圧迫の効率を高める方法をさらに含む。例えば、そのような方法は、ヒトの呼吸口内に装置を挿入するステップであって、装置はヒトの身体通路内に配置するための作業部を有し、装置は作業部に露出した圧力ルーメンを有する、挿入ステップと、圧力ルーメンを使用して身体通路内の圧力変化を検知するステップと、作業部を通して空気のボーラスを送り、ヒトを換気するステップと、胸部圧迫の結果生じる身体通路内の圧力変化を検知したときに、空気のボーラスの供給タイミングを変更し、胸部圧迫の後に空気のボーラスを遅延して供給するステップと、遅延した空気のボーラスを、ヒトの胸腔の再膨張を支援するのに十分な量で供給して、その後の胸部圧迫の効果を高め、血液循環を増加するステップと、を含むことができる。
この方法の別例では、作業部は、第1のルーメンに流体連通する遠位側開口部および第2のルーメンに流体連通する中間開口部を含み、この方法は、装置の遠位側開口部を通して吸引力を引き寄せ、一定期間吸引力を維持するステップと、身体通路からの組織が遠位側開口部をシールしない場合に第1のルーメンを通してヒトを換気するステップと、身体通路からの組織が遠位側開口部をシールする場合に遠位側開口部を通して吸引力を維持し第2のルーメンを通してヒトを換気するステップと、をさらに含む。
この方法は、第1のルーメンを介した吸引の適用中に、最初に第2のルーメンを介して換気するステップをさらに含むことができる。
本明細書に開示される方法の別例は、ヒトの呼吸口への挿入に先だって装置を自動的に潤滑する方法を含み、該方法は、シャフトの遠位部に作業部を含む装置を提供するステップであって、作業部およびシャフトは、ヒトの身体通路内に配置されるように構成され、シャフトの近位部は、潤滑剤ハウジングを含む、挿入するステップと、潤滑剤ハウジングをシャフトに沿って遠位側に進めるステップであって、潤滑剤ハウジングの動きにより、シャフトを自動的に潤滑させる、潤滑剤ハウジングを進めるステップと、シャフトおよび作業部が潤滑されるように、シャフトおよび作業部から潤滑剤ハウジングを取り払うステップと、ヒトの身体通路内に装置の作業部を前進させることによって、作業部およびシャフトをヒトの自然呼吸口内に挿入するステップと、を含む。
一態様による方法において、潤滑剤ハウジングを前進させるステップにより、潤滑剤ハウジング内の少なくとも1つの穿刺部材が潤滑剤供給部を穿刺する。追加の態様において、装置の作業部は、第1のルーメンに流体連通する遠位側開口部および第2のルーメンに流体連通する中間開口部をさらに備え、方法は、作業部を身体通路内で動かしながら遠位側開口部を通して吸引を引き寄せ、一定期間吸引を維持するステップと、身体通路が吸引により遠位側開口部に引き寄せられるかどうかを判断するステップと、身体通路が遠位側開口部に対して引き寄せられたと判断できなかった後に、第1のルーメンを通してヒトを換気するステップと、身体通路が遠位側開口部に対して引き寄せられたと判断した後に、第2のルーメンを通してヒトを換気し、第2のルーメンを通してヒトを換気している間に吸引を維持するステップと、をさらに含む。
本開示は、身体通路を介してヒトを換気するための装置をさらに含む。例えば、装置は、身体通路に挿入されるように構成された近位部および遠位部を有する管状部材と、管状部材の近位部に摺動可能に配置された潤滑剤ハウジングであって、管状部材に沿った潤滑剤ハウジングの移動により、潤滑剤ハウジングから管状部材に潤滑剤が塗布される、潤滑剤ハウジングと、を備えることができ、潤滑剤ハウジングは管状部材から取り払い可能である。
別例では、装置は、潤滑剤ハウジングの動きにより、潤滑剤ハウジング内の少なくとも1つの穿刺部材が潤滑剤を含む潤滑剤供給部を穿刺するように構成されてもよい。装置の変形例は、潤滑剤ハウジングが、同潤滑剤ハウジングの内部に枢動可能に結合されたレバーアームを含み、少なくとも1つの穿刺部材がレバーアーム上に配置される態様を含む。
本開示はまた、ヒトにおける心臓の収縮を判断する方法を含む。例えば、ヒトの気管や食道を用いて心臓の収縮を判断する方法などが挙げられる。例えば、そのような方法は、ヒトの自然な呼吸口内に換気装置の作業部を挿入するステップであって、換気装置が圧力センサーと流体連通している圧力検知ルーメンを含み、圧力検知ルーメンが作業部に沿って配置される、挿入するステップと、圧力検知ルーメンを身体通路内に配置するステップと、圧力検知ルーメンおよび圧力センサーを使用して身体通路の圧力の変化を監視するステップと、心臓の電気的活動を追跡して心臓の心電信号を測定するステップと、身体通路の圧力の変化と心臓の心電信号との関連性から心臓の収縮を判断するステップと、を含むことができる。
本方法は、身体通路の圧力の変化を測定する際に信号を提供することをさらに含むことができる。信号が電子信号からなる場合、心臓モニタリング装置に電子的に送信される。これに代えて、または加えて、信号は、従事者が信号を電気的活動に関連付け、心臓の収縮を判断できるようにするための音声信号または視覚信号で構成することができる。
本開示は、吸引源および気体供給部を用いて1つ以上の身体通路を介してヒトを換気するための装置をさらに含む。例えば、装置は、少なくとも1つの第1のルーメンおよび第2のルーメンを有する管状部材であって、第1のルーメンは、管状部材の遠位部に向かって位置する第1の開口部に流体連通され、第2のルーメンは、管状部材の壁に沿って第1の開口部の近位側に位置する中間開口部に流体連通され、第1の開口部および中間開口部は管状部材内で流体隔離される、管状部材と、管状部材上に摺動可能に結合されたマスクと、マスクの近位側に位置する延長部であって、延長部は、ループ形状の大きさを調整することによってマスクから遠位側に延びる遠位部の長さを調整することができるように、ループ形状を有する、延長部と、気体供給部を第1のルーメンまたは第2のルーメンのいずれかを通して流体的に配向するように構成された弁を有する制御システムと、を備え、制御システムは、吸引源からの吸引を第1の開口部および第1のルーメンを通して配向し、吸引の結果としての第1の開口部のシールの形成を識別するように構成されており、制御システムは、第1の開口部のシールが識別されない場合には第1のルーメンを通してヒトを換気し、第1の開口部のシールが識別される場合には第1の開口部を介して吸気を維持しながら第2のルーメンを通してヒトを換気する。
本明細書に記載のシステムおよび方法は、呼吸気体中の二酸化炭素(CO)の濃度または分圧を監視する装置(カプノグラフィー)と互換性がある。これらの装置は、主に麻酔時や集中治療時に使用するモニタリングツールであり、再呼吸システムを使用する際の呼気COのモニタリングが注目される。本明細書に記載された換気システムをこのようなカプノグラフィーシステムと一体的に設けることができるため、患者のケアを改善することができる。さらに、本明細書に記載されたシステムおよび方法は、酸素供給装置および/または電源装置などの緊急車両に見られる装置と互換性がある。いくつかの変形例では、本開示のシステムは、システムが訓練された緊急要員ではない最初の応答者によって使用され得るそれらの状況において適切な操作を確実にするために、音声または(表示画面の使用を通じて)映像による指示も提供することができる。
図1は、患者の口腔、舌、咽頭、食道、気管を部分的に示した図である。 図2は、患者を挿管するために使用されるような従来の装置の一例を示す図である。 図3Aは、改良された一例による換気システムの様々な構成要素を示す図である。 図3Bおよび図3Cは、マスクがチューブの長さに沿って調整可能である装置の追加的な変形例を示す図である。 図3Bおよび図3Cは、マスクがチューブの長さに沿って調整可能である装置の追加的な変形例を示す図である。 図3Dは、挿入したまま吸引し、患者に合わせて自動的にサイズを調整する一例による装置を示す図である。 図3Eは、従来の換気チューブ172の配置を支援するための上述の要素の使用を示す図である。 図4A乃至4Dは、改良型換気装置の作業端を示す部分図である。 図4A乃至4Dは、改良型換気装置の作業端を示す部分図である。 図4A乃至4Dは、改良型換気装置の作業端を示す部分図である。 図4A乃至4Dは、改良型換気装置の作業端を示す部分図である。 図5A乃至5Eは、改良型換気装置を用いて患者を換気するプロセスを表す図である。 図5A乃至5Eは、改良型換気装置を用いて患者を換気するプロセスを表す図である。 図5A乃至5Eは、改良型換気装置を用いて患者を換気するプロセスを表す図である。 図5A乃至5Eは、改良型換気装置を用いて患者を換気するプロセスを表す図である。 図5A乃至5Eは、改良型換気装置を用いて患者を換気するプロセスを表す図である。 図6A乃至6Cは、換気装置の作業端の追加的な態様を示す図である。 図6A乃至6Cは、換気装置の作業端の追加的な態様を示す図である。 図6A乃至6Cは、換気装置の作業端の追加的な態様を示す図である。 図7は、電動式システムを示す概略図である。 図8Aは、本明細書で説明する空気圧駆動システムの構成要素の概略図の一例を示す図である。 図8Bは、図8Aの概略図に対する構成要素の一覧を示す表を示す。 図8Cは、本システムの各種モードの一覧を示す表を示す。 図8D乃至8Mは、様々な作動モードにおける様々な流路を示す図である。 図8D乃至8Mは、様々な作動モードにおける様々な流路を示す図である。 図8D乃至8Mは、様々な作動モードにおける様々な流路を示す図である。 図8D乃至8Mは、様々な作動モードにおける様々な流路を示す図である。 図8D乃至8Mは、様々な作動モードにおける様々な流路を示す図である。 図8D乃至8Mは、様々な作動モードにおける様々な流路を示す図である。 図8D乃至8Mは、様々な作動モードにおける様々な流路を示す図である。 図8D乃至8Mは、様々な作動モードにおける様々な流路を示す図である。 図8D乃至8Mは、様々な作動モードにおける様々な流路を示す図である。 図8D乃至8Mは、様々な作動モードにおける様々な流路を示す図である。 図9Aは、胸腔の状態を監視することによって改善された転帰を有する支援換気を行うために有用な装置の別例を示す図である。 図9Bは、システムを閉じて手動換気を開始するために使用されるマスクおよびトリガーを示す部分等角図である。 図9Cは、システムを閉じて手動換気を開始するために使用されるマスクおよびトリガーを示す部分断面図である。 図9Dは、システム内のトリガーが排気ポートを閉じることによって流体的に閉じる状態を示す図である。 図9Eおよび図9Fは、本明細書に記載される装置の追加の態様における使用のためのマルチルーメンチューブの別例を示す図である。 図9Eおよび図9Fは、本明細書に記載される装置の追加の態様における使用のためのマルチルーメンチューブの別例を示す図である。 図10Aおよび図10Bは、ヒトの身体通路に挿入され、胸腔の状態を監視するときにおける装置の作業端の例を示す図である。 図10Aおよび図10Bは、ヒトの身体通路に挿入され、胸腔の状態を監視するときにおける装置の作業端の例を示す図である。 図11Aおよび図11Bは、本明細書に記載されるような酸素源を用いてヒトを人工的に換気するための一態様によるシステムを示す図である。 図11Aおよび図11Bは、本明細書に記載されるような酸素源を用いてヒトを人工的に換気するための一態様によるシステムを示す図である。 図11Cは、本明細書で説明する人工呼吸器を制御するために使用される外部装置を示す図である。 図12は、換気および吸引の両者のための源を提供するために気体供給に依存する制御システムを示す概略図である。 図13乃至22は、患者の口、気管または食道に設置された気道のチューブ上に配置された抵抗器により、胸部圧迫の位相、速度、深さおよび効果を検知する回路の一例を示す図である。 図13乃至22は、患者の口、気管または食道に設置された気道のチューブ上に配置された抵抗器により、胸部圧迫の位相、速度、深さおよび効果を検知する回路の一例を示す図である。 図13乃至22は、患者の口、気管または食道に設置された気道のチューブ上に配置された抵抗器により、胸部圧迫の位相、速度、深さおよび効果を検知する回路の一例を示す図である。 図13乃至22は、患者の口、気管または食道に設置された気道のチューブ上に配置された抵抗器により、胸部圧迫の位相、速度、深さおよび効果を検知する回路の一例を示す図である。 図13乃至22は、患者の口、気管または食道に設置された気道のチューブ上に配置された抵抗器により、胸部圧迫の位相、速度、深さおよび効果を検知する回路の一例を示す図である。 図13乃至22は、患者の口、気管または食道に設置された気道のチューブ上に配置された抵抗器により、胸部圧迫の位相、速度、深さおよび効果を検知する回路の一例を示す図である。 図13乃至22は、患者の口、気管または食道に設置された気道のチューブ上に配置された抵抗器により、胸部圧迫の位相、速度、深さおよび効果を検知する回路の一例を示す図である。 図13乃至22は、患者の口、気管または食道に設置された気道のチューブ上に配置された抵抗器により、胸部圧迫の位相、速度、深さおよび効果を検知する回路の一例を示す図である。 図13乃至22は、患者の口、気管または食道に設置された気道のチューブ上に配置された抵抗器により、胸部圧迫の位相、速度、深さおよび効果を検知する回路の一例を示す図である。 図13乃至22は、患者の口、気管または食道に設置された気道のチューブ上に配置された抵抗器により、胸部圧迫の位相、速度、深さおよび効果を検知する回路の一例を示す図である。 図23A乃至23Cは、使用前に装置を滅菌および潤滑のうちの少なくともいずれか一方を行う潤滑/滅菌ハウジングを示す図である。 図23A乃至23Cは、使用前に装置を滅菌および潤滑のうちの少なくともいずれか一方を行う潤滑/滅菌ハウジングを示す図である。 図23A乃至23Cは、使用前に装置を滅菌および潤滑のうちの少なくともいずれか一方を行う潤滑/滅菌ハウジングを示す図である。
本発明は、添付の図面と合わせて読むと、以下の詳細な説明から最もよく理解される。一般的な慣行に従って、図面の様々な要素は実寸大ではないことを強調する。逆に、様々な要素の寸法は、分かりやすくするために、任意に拡大または縮小されている。また、明瞭化のために、本発明の特定の要素は、一部の図面には描かれていない場合がある。図面に含まれるのは、図面の簡単な説明に記載の図である。
本発明の装置、システムおよび方法を説明するに先だって、本発明は、説明された特定の治療用途および移植部位に限定されず、よって変化することを理解されたい。また、本明細書で使用される用語は、特定の実施形態を説明するためのものであり、本発明の範囲は添付の特許請求の範囲によってのみ限定されるので、限定することを意図するものではないことを理解されたい。
特に定義されていない限り、本明細書で使用されているすべての技術用語および科学用語は、本発明が属する技術分野の当業者によって一般的に理解されているのと同じ意味を有する。「近位側」、「遠位側」、「近傍」、「遠方」という用語は、ユーザーに対する位置または箇所を示し、「近位側」はユーザーに近い位置または箇所、「遠位側」はユーザーから遠い位置または箇所を意味する。
図3Aは、本開示による改善されたシステムの一例の様々な構成要素を示す図である。図示のように、換気装置100は、患者の体内に挿入される作業端102を含んでいる。作業端は、第1のルーメン(図示しない)を含む遠位側チューブ104を含むことができ、第1のルーメンは換気装置100の遠位側開口部106を通って延び、1つ以上の近位側チューブ118を介して制御ユニット(人工呼吸器とも呼ぶ)150および供給源160のうちの少なくともいずれか一方に流体連通している。制御ユニット150には、吸引を行うように構成された装置の他、回収キャニスターを含めることもできる。動作中、制御ユニット150は、第1の流体経路122を通じて吸引を指示するか真空を適用し、これにより遠位側開口部106で吸引または負圧が生じる。源160は、酸素、空気、または肺への送達の換気に望まれる任意の他の気体から構成することができる。源160は、制御装置150の物理構造体内に入れ子に構成することが可能である。しかしながら、源160は任意であり、制御装置は周囲の空気のみを使用して患者を換気することができる。
制御ユニット150は、装置100を設定時間この状態に保持し、第1のルーメン内の圧力または流量パラメーターを監視して、第1または第2のどちらを通して換気するかを判定する。図3Aに示す例は、装置の適切な機能を支援する1つ以上の機能を備えたハブ108をさらに含む。以下、その特徴について詳しく説明する。さらに、遠位側開口部106は、ポートが第1のルーメンと流体経路をなしている限り、装置の遠位端に任意の数のポートを含むことができる。同様に、中間開口部112は、それらの開口部が第2のルーメンと流体連通している限り、任意の数の開口部で構成することができる。加えて、装置の変形例は、口ではなく、鼻から挿入するタイプであってもよい。
換気装置100は、装置100から中間開口部112で出る第2のルーメン(図示しない)を収容する近位側チューブ110をさらに備える。後述するように、遠位側開口部および第1のルーメンは、装置の作業端102を介して中間開口部および第2のルーメンから制御ユニット150に至るまで流体的に隔離される。この流体隔離により、制御ユニット150は、どのルーメンを使って患者の換気を行うかを決定することができる。制御ユニットは、装置が気管18ではなく食道16に配置されている場合に、第2のルーメンおよび中間開口部112に流体連通する第2の流体経路124を通して流れを誘導する。
図3Aに例示する換気システム100は、任意の換気口116を備えた任意のマスク114も示している。本システムの変形例として、マスクなし、またはマウスガードや任意のその他の一般的に使用される装着器具などの他のそのような器具を使用した代替構成を含むことができる。後述するように、マスク114や他の装着器具を使用することで、従事者が患者に挿入する際に装置100の方向を適切に配向することを支援することができる。装置の変形例は、吸入中に気体が肺に確実に導かれるように、装置の近位側領域を患者に固定するバルーン、スポンジまたは任意の他の構造体を含むことができる。マスク(または本明細書に記載の他の構造体)は、マスクを患者の所定位置に固定するための固定バンド、テープ片、または一時的な接着剤を含むことができる。マスクなどを使用して、作業端102を患者の体内にどの程度進めるかを決定することができる。これに代えて、または組み合わせて、装置100は、従事者が装置を患者の体内に適切に進めることを支援するために、目盛りマーク134を含むことができる。マスクは摺動自在であり、マスクから遠位側または近位側の開口部までの長さを調整することができる。
図3Aはまた、様々な装置動作シーケンス、手動制御、または装置制御停止を可能にする複数の制御部152を備える制御システム150を示す代表図である。例えば、システム150は、従事者が患者の吸気および呼気を手動で調整できるように、手動換気制御部を含むことができる。制御部152は、心肺蘇生を行うためのリセットモードまたは急速換気モードを含むことができる。制御部152は、連続気流モードまたは連続真空モードを備えており、身体の通路に溜まったゴミや体液の除去を支援する。また、従事者が気管内挿管を行う場合には、制御部により従事者は装置100を気管内チューブに直接接続することも可能である。追加の別例として、システムにより、換気効率を高めるために、活性ルーメンを通して一定期間送風し、その後一定期間吸引することからなる能動的換気が可能である。いくつかの変形例では、システムは、従事者が開口部を気管に合わせることができるように、チューブの他の開口部と同様に、換気口がマスクに対して回転しないように構成されている。
図3Aに示す装置は、作業端に配置された1つ以上の電極をさらに含むことができる。例えば、ハブ108が電極となり、心臓に電気を流すことで、患者の不整脈を除細動したり、心拍数や収縮力を増加させたりすることができる。加えて、1つ以上の電極を、患者の口、食道、または気管に挿入するように構成されたチューブに挿入または埋め込むことができる。現在、患者の胸部上にパッドを貼り付けて使用しているが、これに比べて上記配置により操作者はより直接心臓を電気的に刺激できるようになるため、有利である。食道にチューブを入れると、大動脈が食道と平行に延びているため、脈拍をより検知しやすくなる。これにより、救助者が患者に触れることなく、脈拍を測定することができるようになる。また、たまたま居合わせた人が患者の脈拍を確認する訓練を受けていない可能性がある場合、訓練を受けていない居合わせた人は、CPRを行うことができるようになる。加えて、患者の口腔内に挿入されたチューブが動脈を圧迫する可能性がある場合、後述する圧力センサーをチューブ上に設置することで、圧力の変化があればこれを検知することができる。
さらなる変形例において、制御システム150は、個別の独立した箱型の構成ではなく、装置本体102の1つ以上の部分に一体的に形成可能である。加えて、換気システム100は、除細動器と連動するように任意に構成することができる。システム100の別例として、従事者が胸部圧迫を行うべきタイミングを示すために、聴覚、視覚、あるいは触覚の感覚を提供するように構成することも可能である。代替の変形例では、制御システム150は、バッグバルブマスク(BVM)で使用されるものなどの換気バッグを含むことができる。この構成により、バッグの圧縮および反動を利用して、換気および吸引の両者を行う完全な使い捨てシステムが実現される。このバッグを心肺蘇生時に患者の胸部に装着することで、胸部圧迫と換気とのタイミングを合わせることができる。装置の遠位側チューブは、制御システムを使用して気管および食道の両者にてなお作動し、その位置を自動的に決定し、どちらの位置でも肺を胃から効果的に隔離することができる。
図3Aはまた、装置100の描かれた変形例を、作業端に位置する任意のバルーン132や他の拡張可能部材を有するものとして示している。使用時、バルーンは遠位側開口部106に隣接する装置に沿ったいかなる箇所にでも配置することができる。これに代えて、あるいは組み合わせて、バルーンを中間開口部に隣接して配置してもよい。
装置100を形成する様々なチューブは、装置が上部呼吸器系を通過できるように十分に可撓性を備えるべきである。これに代えて、またはこれに加えて、チューブの一部を患者の口や歯で潰されるのに耐久するような構造にすることも可能である。さらなる変形例において、システム100は、遠位側開口部106の、中間開口部112およびマスク114のうちの少なくともいずれか一方に対する距離を調整可能で(あるいは段階部134に対して移動可能でも)あるように構成することができる。同様の変形例は、遠位側開口部106、マスク114、または段階部134に対して調整可能に配置できる中間開口部112を含む。
図3Bおよび図3Cは、マスク114がチューブ110の長さに沿って調整可能な装置100の追加の一態様を示す図である。これにより、遠位側チューブ110の長さを調整することができ、様々な患者の体格に対応することができる。また、図示の変形例では、調整可能なループを形成するマスク近傍の気道チューブ110および延長チューブ118が示されている。場合によっては、スライド式マスク114でチューブの長さを調整することで、小柄な患者のためにマスクから気道チューブが近位側に延びるときに、テコの原理でアームが形成される。気道チューブ110の材質は、通常延長チューブ118の材質ほど可撓性を備えるものではない。その場合、マスクから外に延びる気道チューブに横からの圧力が加わると、気道が大きく動いたり、ねじれたりすることがある。調整可能ループは、気道チューブおよび延長チューブの両者を含む。このループは、チューブをマスクの方向に巻き戻すことで、マスク/遠位側チューブにかかるはずの機械的なてこの作用を低減する。図3Bは、マスク114から気道チューブ110の短い長さが延びる(例えば、マスク114がチューブの遠位端に向かって進められる)、より小柄なヒトに用いられる構造体を例示する。これにより、マスク114の近位側のループのサイズが大きくなり、マスクの近位側のチューブによってかかるはずの機械的なてこの作用が低減される。図3Cは、気道チューブ110がマスク114から延長され、マスク114の近位側のループのサイズを低減している態様を示す図である。
図3Bおよび図3Cは、複数の中間開口部112を有し、遠位側開口部106がチューブの端を通って延びている一態様による装置をさらに示す図である。加えて、延長チューブ/近位側チューブ118は、後述するように、遠位側開口部および中間開口部に結合される第1のルーメンおよび第2のルーメンを収容するためのマルチルーメン構造体を含む1本のマルチルーメンチューブから構成される。
換気装置の使用には、前部開口部/中間開口部112が気管の開口部を喉頭に合わせるように、マスクから延びるチューブ110の長さを適切にサイズ調整する必要がある。これは通常チューブの長さに沿ってマスクを摺動させることでチューブの長さを調整し、挿入深さを決定することで行われる。図3Dに示すように、装置の変形例は、装置100の遠位端の円周にわたって延びる複数の遠位側開口部106を含むことができる。挿入中、チューブ110は、開口部106から吸引しながら、咽頭口部を通して進められる。遠位端が食道に入ると、食道が潰れて遠位側開口部106がシールされる。これにより、すべての患者でチューブ110が同じ解剖学的組織位置に配置される。遠位端が食道内の適切な深さまで移動してから完全にシールできるように、チューブ110に追加の中間開口部112(図3Bおよび図3Cに示すような)を追加することができる。一旦遠位端が潰れた食道内に適切に配置されると、マスクを摺動させて患者の顔に装着したり、バルーンを膨らませて上気道をシールしたりすることができる。
図3Eは、従来の換気チューブ172の配置を支援するための上述の要素の使用を示す図である。この変形例では、ガイド装置166は、遠位端に複数の吸引開口部168を含む。上述したように、ガイド装置166は、食道が開口部168を中心に潰れるように吸引をかけながら食道内に前進することができる。これにより、ガイド装置166の位置を積極的に判断することができる。ガイド装置166は、換気チューブ172を含むことができ、または換気チューブ172は、適切に配置されたときにガイド装置166のトラック170に沿って前進させることができる。いくつかの変形例では、遠位側開口部168におけるシールの生成は、気管内チューブを解放させることもできる。装置166が気管に挿入される場合、装置の位置は、(マーキングまたは他の測定値により)挿入深さと同様に、シール形成の欠如によって決定することができる。
図4A乃至4Dは、本明細書に記載される換気装置100の気道ユニットまたは作業端102を示す部分図である。
図4Aは、遠位側開口部106に流体連通している第1のルーメン128、および中間開口部112に流体連通している第2のルーメン130を示し、第1のルーメン128および第2のルーメン130が上述したように互いに流体隔離されている態様を示す図である。図4Aは、遠位側開口部106と中間開口部112との間の間隙126が、意図する患者に基づいて選択可能であることも示している。例えば、遠位側開口部106が食道または気管に位置するとき、中間開口部112は咽頭内またはその周辺に位置することが意図されているので、間隙126は平均体型のヒト用に選択することが可能である。ほとんどの場合、換気装置100の作業端102は、一回限りの使い捨て部品から構成される。したがって、換気装置100は、中間開口部112と遠位側開口部106との間に異なる間隙126を有する複数の使い捨て要素を含むことができる。例えば、乳幼児や小児、様々な体格のヒトに対応できるように、間隙を変えている。
図4Bは、図4Aの換気装置の作業端102を示す部分断面図である。一旦装置が患者の体内に適切に配置されると、制御ユニット150は、矢印30で示すように、第1の流路122から第1のルーメン128を通して吸引または真空をかけ、最終的に遠位側開口部106で真空状態を発生させる。追加の変形例として、操作者または従事者は、第1のルーメン128を通して空気を送ることによって、または遠位側開口部の吸引を使用して粒子または他の体液を除去しようと試みることによって、患者から食物または他の破片を取り除くことを選択することができる。システム150は、第1のルーメン130を通して真空引きを一定時間継続する。装置100が気管内に適切に配置されていれば(後述)、システム150は第1のルーメン128を通して換気を開始する。すなわち、システム100は、患者の肺を適切に換気するために、酸素やその他の気体を供給源160から循環するように供給し、患者から二酸化炭素を除去し始める。この状況においては、第2のルーメン130および中間開口部112を通る流れは必要ない。図4Bでは、第1のルーメン128が第2のルーメン130内に配置されているが、任意の数の変形例を使用することが可能である。例えば、ルーメンは同心円状であったり、平行状であったりする。さらなる変形例は、ルーメンを流体連通させることも可能であり、ここで、1つ以上の弁により、遠位側開口部からの換気か、中間開口部からの換気かを決定する。装置の配置が変わらないことを確認するために、装置は任意の数の安全チェックを含めることができる。例えば、一旦装置が気管に設置されたことを確認したら、装置は予め定められた間隔で気管に設置されていることを確認するチェックを再度行うことができる。これに代えて、装置はこのチェックをスライディングスケール(例えば、30秒で第1のチェック、2分で第2のチェック、10分で第3のチェックなど)でも行うことが可能である。さらなる一態様において、システムは、吸引フィルターが目詰まりして位置を誤認していないか、安全確認を行うように構成される。この場合、装置は真空を検知すると、遠位側ポートから換気を行う。この換気ボーラスは小さくても大きくてもよい。真空を監視し、遠位側のエアボーラス中に真空が失われたと判断した場合に、装置は食道でシールされたことを認識し、遠位側の吸引および近位側のポートからの換気を再開する。遠位側エアボーラス中に真空が失われない場合に、装置はフィルターが詰まっていると考えることができ、エラー信号が操作者に装置の作業端を交換するか、または障害物がないかを確認するように指示する。
システム150は、換気し、吸引または真空を発生させる機構で構成することができる。一般的に、システム150は再利用可能である(一般的に使い捨てである作業端とは対照的に)。システム150は携帯可能であり、救急車などの緊急車両に貼り付けたり、台車や室内に組み込んだりすることができる。電池式装置、空気圧式装置、電源(ACコンセントなど)を必要とする装置など、さまざまな変形例がある。
図4Cは、遠位側開口部106が食道内に位置する状況を示す図である。この状況において、制御ユニット150は、第2のルーメン130を通して換気を行うように指示する。矢印32で示すように、中間ルーメン112は第2のルーメン130と流体連通しているため、中間開口部112で換気32が行われる。
図4Dは、装置が複数の中間開口部232、234、236、および238を含む、作業端102の別の態様を示す図である。声門上部の適切な深さのサイズ調整により、換気を送達するルーメン(例えば、上述したルーメン128)が喉頭の開口部に確実に整列する。図示の変形例は、大きなサイズ公差の中で適切に換気するために、深さのサイズ調整に関連する誤差のマージンを増加させる声門上換気ルーメンを示している。
換気ルーメンの開口部が組織で覆われている間に、換気した空気を喉頭、すなわち肺に配向することができることが重要である。図4Dでは、換気の大部分は、最後尾のポート232に配向される。このポート232が覆われたり塞がれたりすると、続いて次の開口部234に換気が導かれる。これは、喉頭のもっとも近傍の穴が確実に換気を受けるように、4つの開口部すべてに継続される。使用時、システムは、上述した近位側換気ポート232乃至238から流体的に分離している遠位側開口部106に負圧をかける。ポート232乃至238の全てが不用意に喉頭の遠位側に配置された場合、システムは近位側の換気ルーメン(例えば、128)内の負圧を検知し、気道装置の挿入が深すぎた(遠位側)ことを医療従事者に警告するトリガーとなる。システムは続いて従事者に気道装置のサイズ変更を指示することができる。
図5A乃至5Eは、本明細書に記載の換気装置100を用いて患者を換気するプロセスを表す図である。
図5Aは、従事者が換気装置100を口腔10内に、舌12を越えて咽頭14に進入させている態様を例示している。従事者は、施術中いつでも手動で装置を操作して、体内の液体や食べかすなどを吸引することができる。本明細書で説明するように、従事者は、作業端102を患者の体内に「盲目的に」進めることができる。その結果、作業端102は患者の食道16または気管18に到達することになる。
図5Bは、従事者が作業端102をヒトの気管18に進める状況を示す図である。一旦従事者が装置100を配置すると、従事者は制御ユニット150を起動し、装置100の配置を決定する処理を開始させることができる。これに代えて、装置上に搭載された1つ以上のセンサーは、自動的に制御ユニットの活性化をトリガーすることも可能である。いずれの場合も、制御ユニットは遠位側開口部106を通して真空を予め定められた時間引く。真空により圧力が低減され、遠位側開口部106内の空気が吸引される。制御ユニット150は、続いて真空、気流、または身体通路の壁、この場合は気管18が潰れて真空シールを形成したかどうかを示す任意の他の流体パラメーターを監視することにより、装置の状態を評価する。図5Bのように、装置が気管内に位置する場合に、吸引30は気管18の壁にほとんど影響を及ぼさないであろう。上述したように、気管18の壁は軟骨20の輪で補強されており、気道の構造的な剛性を高めている。制御装置150は遠位側開口部106(または第1のルーメン内)における真空シールの形成を検知しないため、システムは遠位側開口部106が(食道16ではなく)気管18に適切に配置されたと記録し、予め定められた時間(例えば、10乃至15秒)の後に、制御装置150は、真空引きを停止し、気体供給部160からの気体の供給と二酸化炭素の除去とを交互に行うことで患者の肺の換気を開始する。その結果、第1のルーメンは換気用ルーメンとして使用される。制御装置150が、流体や破片の吸引による真空や流量の変化を区別することが重要である。装置のいくつかの変形例では、制御装置150は、装置が吸引した流体または物質ではなく、真空シールの形成に至る十分な程度まで真空が構築または流量が低下したときにシールの形成を識別するように構成される。
制御ユニット150は、吸引のために主ルーメン内を負圧にする吸引モーター(または真空を発生させるベンチュリー装置などの類似装置)の歪みを測定することにより、シールが形成されているかどうかを判定することができる。制御ユニット150は、予め定められた時間後に吸引モーターへの歪みがゼロまたは最小であることを確認した場合、制御ユニット150は第1のルーメンを換気ルーメンとして使用する。
図5Dは、従事者が換気装置100の作業端102を気管18ではなく食道16に進ませた状態を示す図である。上記の図5Bによって描かれた状態と同様に、一旦従事者が装置100を配置すると、従事者は制御ユニット150を起動して、装置100の配置の決定処理を開始させることができる。上述したように、装置およびシステムの追加の変形例は、制御ユニットの活性化を自動的にトリガーすることができる1つ以上のセンサーを含むことができる。
図5Dは、制御ユニット150が遠位側開口部106を介して真空引きを所定時間行った状態を示す図である。真空により圧力が低減され、遠位側開口部106内の空気が吸引される。制御ユニット150は、真空、気流、または身体通路、この場合は食道16の壁が潰れたかどうかを示す任意のその他の流体パラメーターを監視することによって、続いて装置の状態を評価する。図示のように、壁が部分的または全体的に潰れ、遠位側開口部16に真空シールが形成される。上述した通り、筋肉は食道16の壁を形成する。気管18の軟骨リングとは対照的に、食道には補強構造体が無い。制御ユニットは、真空シールの形成を監視するように構成することができ、シールが所定期間残っている場合、制御ユニット150は、図5Eに描かれているように、中間開口部112への換気40を内外に配向する。図示し、上述したように、遠位側開口部106と中間開口部112との間隙は、中間開口部が咽頭14の中または近傍に留まるように選択することが可能である。しかしながら、この装置の変形例では、開口部112が患者の換気を継続できる限り、中間開口部が食道16に入ることを許容している。
制御ユニット150は遠位側開口部106(または第1のルーメン内)における真空シールの形成を検知しないため、システムは遠位側開口部106が(食道16ではなく)気管18に適切に配置されたと記録し、予め定められた時間の後に、制御ユニット150は、真空引きを停止し、気体供給部160からの気体の供給と二酸化炭素の除去とを交互に行うことで患者の肺の換気を開始する。この状況において、装置は第2のルーメンを換気ルーメンとして使用する。食道16内に装置100の作業端102を配置することの付加的な利点として、真空シールが装置を定位置に維持するアンカー効果をもたらすことが挙げられる。この機能により、患者の頭部、首部、顔面の周囲にマスクなどの要素を固定する必要がなくなる。加えて、シールが形成された状態で、従事者が不注意に装置100を引っ張ると、真空シールが単純に破壊され、装置が食道16から離脱する。そのため、拡張式バルーンを引っ張ると気道や声帯などの組織構造体に外傷を生じさせる可能性のある、バルーンに左右される従来の人工呼吸器と比べ、安全性が高められる。
ある種の変形例では、装置100は一定時間後に換気を停止し、遠位側開口部を通して吸引を発生させる。このようなステップは、作業端が移動したり、位置が変わったりした場合の安全対策として考えられている。
別例では、本明細書に記載される換気装置100のいずれかを、遠位側開口部を通して真空を提供しながら口腔内に前進させることができる。これにより、一旦装置が食道に入ると食道は遠位側開口部に対して潰れるため、装置のサイズを自動的に調整することができる。
図6A乃至6Cは、本明細書で説明する換気装置の作業端102の変形例を示す図である。図6Aは、外形を有する表面で包囲された開口部106を有するハブを示す図である。外形を有する表面により、遠位側開口部106が食べかすや他の流体で詰まる可能性を低減することが支援される。この要素により、食道の壁とシールを形成された開口部106を、(食べかすや体液等で)塞がれた開口部106と制御ユニットが誤認する事態を低減することも支援される。図6Bおよび図6Cは、換気装置の作業端102の追加の変形例を示す図である。これらの変形例では、作業端102は、ハブ付きでもハブ無しでも形成可能である。図6Bは、複数の開口部106を有する直線的なチューブを示す図である。図6Cは、開口部106を有する斜めに形成された端部を示す図である。
上述したように、本明細書に記載された装置は、圧縮した気体および弁を用いて空気圧で駆動することも、電気的に制御することも可能である。図7は、吸引モーター、空気圧縮機、および回路を使用して、第1の流体経路122(最終的に遠位側開口部に流体連通する)と第2の流体経路124(最終的に中間開口部に流体連通する)との間で切り換える電気駆動装置を示す概略図である。
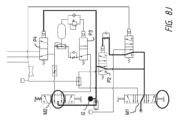
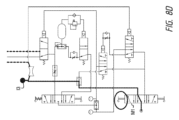
図8Aは、空気圧で駆動される本明細書に記載のシステムの構成要素を示す概略図の一例を示す図である。図8Bは、図8Aに見られる構成要素の一覧を示す表である。弁は上述した条件により、複数の状態で作動する。以下の説明は、図8Aの構成要素を示す概略図に見られる構成要素の異なる状態の一例を示すものである。
中間供給弁P1(4/2);
状態1(公称、スプリングリターン):遠位側供給弁P2を通した真空供給の15秒タイミングを制御;
状態2(活性化):中間換気のための供給;
パイロット活性化:10水銀柱インチ(約33.8639kPa)真空
遠位側供給弁P2(4/2)状態1(公称、スプリングリターン):真空発生装置に電源を供給する;
状態2(活性化):遠位側換気のための電源を供給する;
パイロット活性化:中間供給弁の流量制御出力から40psi(約275.79kPa)、状態1。
パルス弁P3(3/2常開);
状態1(公称、スプリングリターン):インライン解放弁で設定圧力に達するまで、流量制御された速度でアキュムレーターの容量を満たす;
状態2:(活性化):アキュムレーターの容量を急速排気して、換気切換弁に送る;
パイロット活性化:インライン解放弁の出力より5psi(約34.47kPa)
換気切換弁P4(3/2フルポート);
状態1(公称、スプリングリターン):パルス弁の出力を中間換気出力に配路;
状態2:(活性化):パルス弁の出力を遠位側換気出力に配路;
パイロット活性化:遠位側供給弁の出力から40psi(約275.79kPa)、状態2
作動弁M1(手動トグル、3位置、すべて戻り止め);
状態1(トグル・ダウン、「ON」):中間供給弁および遠位側供給弁に電源を供給;
状態2(トグル中央、「OFF/リセット」):供給を遮断し、システムを換気;
状態3(トグル・アップ、「真空」):すべての弁をバイパスし、真空生成器に供給。
モード弁M2(手動トグル、3位置、戻り止め/戻り止め/瞬間の);
状態1(トグルダウン、戻り止め、「換気」):パルス弁および換気切換弁に電源を供給;
状態2(トグル中央、戻り止め、「バイパス」):パルス弁および換気切換弁への供給を遮断。
状態3(トグルアップ、瞬間のスプリングリターン、「オンデマンド」):パルス弁の供給を遮断し、換気切換弁に連続的に流量制御された供給
図8Aの構成要素概略図によって示されるシステムは、様々な作動モードを有することができる。一例では、図8Cに示すように、システムは、様々な弁の位置および中間供給弁の作動状態によって制御される8つの個別の作動モードを含むことができる。
モード0では、システムがOFFの状態に設定される。
M1をOFFに設定;
主電源が遮断;システムが換気;
図8Dはモード1を示しており、システムを通して連続的に真空が適用されている。
M1を真空に設定
換気システムバイパス;真空出力での真空;真空インジケーターをON
図8Eは、システムが配置検知に関与するモード2を示す;
M1をONに設定;
P2パイロット活性化まで(15秒)真空出力で真空にする;真空インジケーターをON;
モード3では、システムは遠位側開口部を通した換気に関与する。
M1をONに設定;M2を換気に設定;
真空が検知されない;P2パイロットが活性化;P4パイロットが活性化。
図8Fはモード3Aを示しており、アキュムレーターはインライン安全弁が活性化する(30psi(約206.84kPa))まで制御された速度(0.67秒)で充填される;
遠位側換気インジケーターON。
図8Gはモード3Bを示している:P3パイロットが活性化し、P3を閉じ、アキュムレーター容量を急速排気によりP4へ排気;遠位側換気インジケーターON。
モード4ー中間換気
M1をONに設定;M2を換気に設定
真空を検知;P1パイロット活性化;真空出力で真空。
図8Hはモード4Aを示しており、アキュムレーターはインライン安全弁が活性化する(30psi(約206.84kPa))まで制御された速度(0.67秒)で充填される;
真空インジケーターON;
中間換気インジケーターON。
図8Iはモード4Bを示す;P3パイロットが活性化し、P3が閉じ、アキュムレーターの容量を急速排気によりP4に排気;
真空インジケーターON;中間換気インジケーターON。
図8Jはモード5を示す-換気バイパス(遠位側);
M1をONに設定;M2をバイパスに設定;
真空が検知されない;P2パイロット活性化;P4パイロット活性化;P3およびP4への供給が遮断;遠位側換気インジケーターON。
図8Kはモード6を示す-オンデマンド換気(遠位側);
M1をONに設定;M2をオンデマンドに設定;
真空が検知されない;P2パイロット活性化;P4パイロット活性化;P3への供給が遮断;P4への連続フロー制御流量;遠位側換気インジケーターON
図8Lはモード7を示す-換気バイパス(中間);
M1をONに設定;M2をバイパスに設定;
真空を検知;P1パイロット活性化;真空出力で真空;
P3への供給を遮断;
真空インジケーターON;
中間換気インジケーターON
図8Mはモード8を示す-オンデマンド換気(中間);
M1をONに設定;M2をオンデマンドに設定;
真空を検知;P1パイロット活性化;真空出力で真空;
P3への供給を遮断;
P4への連続流量調整;真空インジケーターON;中間換気インジケーターON。
図9Aは、改善された転帰を有する支援換気を行うために有用な装置の別例を示す図である。図示の例の要素および態様は、本明細書に記載された装置の変形例のいずれとも組み合わせることができる。さらに、支援換気の効果を向上させる本明細書に記載の装置の要素は、従来の支援換気装置と組み合わせて使用することができる。
図示のように、支援換気装置100は、患者の体内に挿入される作業端102を備える。作業端は、第1のルーメン(図示しない)を含む遠位側チューブ104を含むことができ、第1のルーメンは換気装置100の遠位側開口部106を通って延び、1つ以上の近位側チューブ118を介して制御ユニット(人工呼吸器とも呼ぶ)150および供給源160のうちの少なくともいずれか一方に流体連通している。制御ユニット150には、吸引を行うように構成された装置の他、回収キャニスター(図示しない)を含めることもできる。上述したように、装置100は、吸引を指示する、または第1の流体経路122を通じて真空を適用し、これにより遠位側開口部106に吸引または負圧を生じさせる改良型制御ユニット150を任意に備えることができる。源160は、酸素、空気、または肺への送達の換気に望まれる任意の他の気体から構成することができる。源160は、制御装置150の物理構造体内に入れ子に構成することが可能である。しかしながら、源160は任意であり、制御装置は周囲の空気のみを使用して患者を換気することができる。図9Aはまた、支援換気装置100が、支援換気手順の効率を向上させる方法で換気を提供することを可能にする要素を含むものとして装置100を示している。
例えば、改良型装置100は、胸腔内の変化を判断するために用いられる1つ以上の構造体を含むことができる。このような変化には、胸腔内の組織の物理的な動き、装置100の作業端102に加えられる力、および/または装置100の任意の部分の偏向が含まれ得る。これに代えて、または組み合わせて、胸腔の変化は、胸腔と流体連通している任意の身体通路、例えば、気道、食道などを含む胸腔の流体環境の変化を含み得る。
図9Aは、装置の作業端102の一部に沿って配置されたセンサー180により胸腔内の流体パラメーターを測定することができるものとして装置100を図示している。センサー180は近位側チューブ110上に図示されているが、センサー180は、胸腔および胸腔のうちの少なくともいずれか一方と流体連通している身体通路の流体パラメーターを監視できる装置100の任意の部分に沿って配置することができる。例えば、装置100は、遠位側チューブ104およびハブ108のうちの少なくともいずれか一方に沿って配置された1つ以上のセンサー180を含むことができる。さらに、装置の変形例として、装置100内に配置された1つ以上のセンサーを含む。
センサー180は、圧力センサー、流量センサー、トランスデューサー、または同様の構造体で構成することができる。これに代えて、追加の変形例として、センサー180は、上記のように配置された開放端を有するルーメンまたは通路から構成することができ、ルーメンまたは通路は、センサーチューブ182を通じて装置を通って延び、実際の流体パラメーターを装置100、チューブ118、および/または制御ユニット150内に位置する実際のセンサーで読み取ることが可能である。
図9Aに示す態様は、装置100の近位側チューブ110と同一平面上にないセンサー180をさらに示している。図示のように、測定面(例えば、実際のセンサーまたはセンサールーメン184)は、装置100に隣接する組織がセンサーの読み取りを不明瞭にまたは影響しないように配置することができる。しかしながら、装置100の追加の変形例は、装置本体と同一平面上にあるセンサーを含む。加えて、装置100(例えば、近位側チューブ118)からの圧力を利用して、センサー180に空気を送り、体腔内の任意の流体パラメーターの測定に干渉する障害物を低減することができる。
図9Aは、歪みゲージ、光ファイバー、トランスデューサー、または同様の力/動き検知構造体などの力検知要素をさらに示し、これらは、装置100の作業端102に沿っていかなる箇所にでも配置することが可能である。力検知要素190は遠位側チューブ104上に設けられるものと示されているが、1つ以上の力検知要素190は、支援胸部圧迫によって変位した組織の移動によって装置に加えられる結果として生じる力により胸部に加えられる力を検知する限り、装置の任意の部分に沿って配置されることができる。
センサー180および力検知要素190の両者が1つの装置上に設けられるは、説明のためのみである。装置の特定の変形例は、力検知要素、センサー、またはその両者の任意の組み合わせを含むことができる。
図9Aはまた、手動換気トリガー186を含むものとして装置を示している。操作では、医療従事者は手動換気トリガー186を使って、手動で装置100を通して空気のボーラスを送り込むことができる。これに代えて、または組み合わせて、手動換気トリガー186は、センサー180や力検知要素190を活性化させて、要求に応じて空気のボーラスを供給することができる。このような機能は、従事者が脈拍を取得し、支援換気のみを行う場合に有効である。これに代えて、従事者は、手動換気トリガー186を使用して、装置のあらゆる部分から空気のボーラスを送り込み、装置の障害となりうる体液の除去を試みることができる。手動換気トリガー186は、一定時間ごとに空気のボーラスを送り込む自動支援換気を行う装置と同様に動作させることができる。これに代えて、または組み合わせて、換気装置100(または制御装置150)が手動モードに置かれたときに、手動換気トリガー186は空気のボーラスを供給することができる。
装置のある変形例では、手動トリガー186を開始するとき、装置は、自動モードで選択されたそれぞれの開口部を介して換気を維持するようにプログラムされる。例えば、装置を食道に設置してから手動操作に切り替えた場合、制御システムは、確実に食道が遠位側開口部を閉鎖し、手動換気が近位側または中間開口部112を通して自動的に進行するように真空状態を形成するように吸引を維持することができる。同様に、装置が気管内に配置されている場合、装置を手動モードで活性化させると、装置の遠位側開口部から空気のボーラスが排出される。
一例として、トリガー186は中空のボタンからなり、装置に取り付けられ、センサー180に接続するチューブと直列に配置される。ボタンが押圧されると、センサー180にエアボーラスが送られ、制御システム150に支援換気開始の信号が送信される。手動トリガー186で供給される空気量は、予め設定することができる。これに代えて、従事者がトリガー186を離して換気を停止するまで送気することも可能である。加えて、トリガー186をマスク114に装着することで、従事者はマスク114を確実に患者の顔面にシールしながら、片手もしくは両手で要求に応じた換気を作動できるという利点がある。
手動トリガー186は、1つ以上の一方向弁(例えば、トリガー186が押されていないときに空気の排気を可能にするフラップ)と組み合わせて作動することもできる。これにより、確実に気道に余分な圧力がかからず、気圧障害を防ぐことができる。これにより、自発的な呼吸も可能になる。人工呼吸器をオンデマンドの換気モードに切り替えると、肺は吸気期間のみ大気から隔離される必要がある。これは、マスクの開口部の上にあるフラップにオンデマンドの換気トリガー186を搭載することで実現できる。ボタンに圧力がかかっていないときフラップくように構成される。続いて一旦トリガーに圧力がかかるとフラップ開口部に対してシールされ、システムを閉じて空気で肺を膨らませる。息を吐くときにボタンを離すと、フラップがマスクの開口部から外れて空気が抜け、肺が膨らむ。
図9Bは、装置100の一部の一態様で、排気口116に結合されたトリガー186を有するマスク114を示す図である。この態様では、マスク114は、確立された圧力を超える流れを割るか許容する1つ以上の圧力解放弁117をさらに含む。このようなフェールセーフは、装置による気道の加圧が安全でないことを示す。圧力解放弁117は、突出部または要素115によって包囲することができ、これにより、物体が弁117を塞ぐのを防ぐことができる。装置100は、マスク114をチューブ110に沿って移動させる調整制御部183も示している。図9Bは、トリガー186とセンサールーメン184とを結合するチューブ185も図示している。図示のように、センサールーメン184は、ルーメンの一部が後述するトリガー186と流体連通するように、T字状継手などの流体連通部で結合することができる。
図9Cは、マスク114およびチューブ110を示す部分断面図である。図示のように、マスクが患者の呼吸口(すなわち口または鼻)に対して配置されると、呼気サイクルからの気流(矢印109で表現)がマスク114の一部を通り、排気ルーメン117と液体連通しているチャンバー113に流れ込む。しかしながら、この状態では、トリガー186がマスクに押し付けられていないため、排気口116は開いたままで、気流109がマスクから出ることを許容している状態にある。さらに、トリガー186は、チューブ185と流体連通している圧縮空気量111を有するシャフト内に配置することができる。したがって、マスク114は患者に押し付けられているが、排気口116によってシステムを開放(流体的に開放)することが可能である。
図9Dは、トリガーが押圧される、または活性化される状態を示している(トリガーは、スプリングリターン上にある、またはスプリングリターンとして機能する弾性を有することが可能である)。一旦活性化されると、トリガー186が排気口116を閉じることにより、システムを流体的に閉鎖する。また、トリガー186の操作により、チューブ110内に手動で空気のボーラスを送り込むことを開始することも可能である。例えば、トリガー186は、空気のボーラスを送り出すための信号を制御システムに提供する、領域111における1つ以上の電気的接点またはスイッチを有することができる。追加の形態において、トリガー186を活性化させると、間隙111の空気量が圧縮され、センサールーメン184に結合されたチューブ185の圧力Pが増加し、この圧力増加により、チューブ110を通じて空気のボーラスが供給されてセンサールーメンは手動換気を実行する。同様に、トリガー186が解除されると、領域111の体積膨張により、チューブ185およびセンサールーメン184に圧力低下が生じ、センサーが圧力低下を検知して換気を停止させる。
センサー180およびセンサールーメン184のうちの少なくともいずれか一方に加え、装置100には、モニタリング装置に情報を提供するために任意の数の追加ルーメンを含めることができる。例えば、装置は、カプノグラフ装置に流体連通可能な1本以上のルーメンを含むことができる。これに代えて、あるいは組み合わせて、センサールーメン184は、モニタリング装置への流体連通を可能にすることもできる。その場合、ルーメンは、装置の作業端にある1つ以上の開口部(開口部180など)に結合させることができる。
図9Eおよび図9Fは、本明細書に記載される装置の追加の変形例におけるマルチルーメンチューブ110の使用についての別例を示す図である。図示のように、図9Eにおいて、チューブは、上述したように複数のルーメンを含むことができる。図9Fは、図9Eにおけるチューブ110の端部を拡大して示す図である。換気に使用されるルーメンに加えて、マルチルーメン構造体は、センサーに流体連通するか、またはセンサーを含む1つ以上のより小さなルーメン184を含むことができる。本明細書で説明するように、センサーは、圧力センサーを含むことができる。本装置の変形例として、1つ以上のセンサールーメン184が、チューブの全体を通して延び、遠位端またはその近傍で退出している。これに代えて、本明細書で論じるように、センサールーメンは、装置の中間部で開口することができる。
図10Aは、ヒトの身体通路に挿入されたときの装置100の作業端102の一例を示す図である。この例では、装置は気管18に挿入され、装置100は上述したように気道にあることを検知する。しかしながら、図10Bに示すように、装置100の変形例は、上述したプロセスを用いて食道16に配置することもでき、食道16を一時的にシールして呼吸通路18へ空気を送り出すことが可能である。
いずれの場合も、装置100は、予め定められた速度で空気のボーラス40を供給することにより支援換気を開始するように構成されている。胸腔内の圧力Pまたは胸部圧迫による胸腔に印加される力Fによって、胸腔内の状態を測定して胸腔内の変化を判断する装置100が構成される。後者の場合、胸部に加わる力Fによって組織(気管などの組織)に動きが生じ、この動きは、上述した力検知要素190によって判断することができる。圧力Pの変化などの流体特性の測定による胸腔内の可能性の検知は、通常、身体通路(気管18や食道16など)内で測定される。このような測定には、空気の流速、体積、圧力などの測定が含まれ得る。
一態様において、初期速度または事前に予め定められた速度は、毎分100回の換気からなる(すなわち、空気のボーラスが毎分100回送り出される)。しかしながら、どのような送達速度でも本開示の範囲内にある。通常胸部圧迫による胸腔内の状態変化を検知すると、最適な結果が得られるように、装置100は、送気のタイミングおよび速度のうちの少なくともいずれか一方を調整する。例えば、システムは、胸部圧迫を検知すると(力の測定または流体センサーの測定によって)、空気のボーラスを供給することができる。この場合、空気の入ったボーラスは胸腔内の圧力を高め、胸部内圧として心臓および肺を内側から圧迫し、血流を増加させる。
本装置の変形例では、システムは、胸腔の状態の変化を連続的に、または遅延して監視する。いずれの場合も、空気のボーラスの送達による胸腔内圧の変化には反応しないように構成することができる。例えば、システムは、空気のボーラスの送達中や送達直後の読み取り値を無視することができる。
胸部圧迫の特定の段階に対応して空気のボーラスの供給を(タイミングおよび速度のうちの少なくともいずれか一方によって)調整するプロセスは、CPR中に使用することを意図したものである。しかしながら、支援換気は、機械的な圧迫システムを使っても、従事者が手動で胸部圧迫を行っても達成することができる。
タイミングおよび速度のうちの少なくともいずれか一方の変更は、患者の胸部の圧迫の各々または特定の回数および特定の位相で空気のボーラスを提供することを意図している。本明細書で述べたように、換気は、胸部圧迫のダウンストローク中に胸腔内圧を上昇させ、心臓への圧力を増加させて血流を増加させることによって、胸部圧迫の効率を高める方法でタイミング設定されている。圧迫のアップストロークの間、新しい空気が肺胞に入るように換気の一部を行い、圧迫のアップストロークの一部は胸腔内負圧を作り出し、血液を心臓に戻し、空気を肺胞に入れるようにすることができる。また、この技術により、救助者は、換気をするために圧迫を中断する必要がないため、血流が悪くなり、患者の生存率が低下することを防止することができる。
本明細書に記載された装置を使用する場合、装置が気管または食道のどちらに配置されるかにかかわらず、気道は常に外部環境に開放されており、これにより、気圧性外傷の可能性を排除しないまでも、大幅に低減することができる。
深さ、速度、反動時間に関する圧迫の効率に関して本明細書に記載した装置によって生成されたデータは、圧迫の効率を最大化するために、分析され、従事者にフィードバックを介して提示されることが可能である。これらの情報はすべて、圧迫の効率を上げ、これにより患者の血流を増加させ、患者の生存率を高めるために利用される。機械式圧縮システムを使用する場合、サイクル位相は装置100に直接リンクさせることが可能である。
さらに、胸部圧迫が停止/一時停止した場合、予め設定した空気のボーラスの供給速度に戻るようにシステムを構成することができる。その場合、システムは、胸腔内の変化が検知されない時間の量を監視することができる。予め設定された時間、変化が検知されない場合、制御ユニットは、支援換気の速度を初期速度または胸部圧迫に左右されない代替速度にリセットすることができる。加えて、患者の脈拍が戻った場合には、システムは、予め設定した速度や量などで支援換気を継続することができる。これに代えて、システムは、従事者が要求に応じて支援換気を行うことができる手動モードに入ることができる(例えば、手動トリガーボタンを使用して)。さらに、システムは、患者の脈拍を確認し、脈拍の識別を利用して、支援換気の速度を調整したり、支援換気を停止したりするように構成することもできる。
手動トリガーにより、一旦患者が脈拍を取り戻したときに、従事者がオンデマンドのボタンにより制御された換気を行うことができ、これは、外部胸部圧迫の必要性をなくすことができ、有用である。上述したように、装置100は、吸引で食道を潰すことによって肺の隔離をなお継続することができ、かつ/または適切なルーメンを通して肺に空気を直接送ることができるが、換気を従事者によって与えられる要求に応じて与えられる空気ボーラスに変更する。手動トリガーにより、従事者が肺への空気の流れを開始させることができる。トリガーを離すと、肺への空気の流れが止まり、患者は息を吐くことができる。これに代えて、トリガーを1回操作するだけで、予め設定された量の空気を送り、患者を換気することも可能である。
また、本明細書に記載のシステムは、従来の救命装置と組み合わせて使用することもできる。例えば、換気システムは、活性胸部圧迫装置と協働するように構成することができ、これにより、換気と胸部圧迫とのタイミングを合わせて、圧迫および換気の両者の有効性を高めることができる。結合は、機械的および電気的なもののうちの少なくともいずれか一方であり得る。換気システムは、本明細書に記載されるように、二酸化炭素レベルが信号または気体の流れを介してモニターまたは他の通知手段に出力されるように、二酸化炭素のサンプリングをさらに含むことができる。
図11Aおよび図11Bは、本明細書に記載されるような酸素源を用いてヒトを人工的に換気するための一態様によるシステムを示す図である。図示の例では、制御システム150が、どのようにシステムインターフェース152を介して制御可能なファームウェアを有する電気制御システムを有するスタンドアロンユニットとして使用できるか、またはどのように外部装置(例えば、心臓モニター、モニター/除細動器、あるいはその他の重要医療装置)と一体的に設けられるか若しくは制御できるかを明確に説明するために、装置100は図示されていない。図示のように、制御ユニット150は、外部装置162に取り付けられ、酸素源160に結合されることが可能である。図11Bに示すように、一旦外部装置162に結合されると、制御ユニット150は搭載型制御部152を用いて操作でき、または無線若しくは有線接続により外部装置162を介して制御できる。その場合、図11Cに示すように、制御ユニット150の搭載型制御部152の1つ以上を、外部装置162の制御部/表示部164上に表示できるようにする。図11Cに示す態様は、CPRモード、オンデマンドモード、または吸引モードで装置100を作動させるための制御部を示す図である。ただし、制御部/ディスプレイ164および/または搭載型制御部152には、任意の数の項目を表示することができる。
例えば、装置100は、CPR中の胸部圧迫の位相、速度、効率、深さ、比率に関連する情報を表示することができる。加えて、本装置は、音声または視覚的なフィードバックによって支援圧迫の効率について操作者にリアルタイムでフィードバックするための情報の他、手動圧迫の速度を上げるか下げるか、脈がなくなった場合または従事者が胸部圧迫を停止した時間が長すぎる場合に胸部圧迫を再開するかどうかに関する情報を表示することができる。
装置100は、外部装置162と結合したときに充電できる充電式電源で構成することもでき、また、接続により一般的なAC電源で装置100を充電できるようにすることも可能である。多くの場合、制御ユニット150は、十分な動作時間および十分なスタンバイ時間を確保できるように装置を駆動可能な電源を搭載している。
図12は、制御ユニット150の携帯性を高めるための追加の改善策を示す図である。この構成では、制御ユニット150は、酸素源160に依存して、ヒトへの換気の他、上述した真空の生成を行う。従って、酸素の供給源を拡張するために、装置は、1つ以上の真空弁200、202を採用し、酸素の加圧流量の結果として真空を発生させ、1つの真空弁を高流量で作動させて吸引を発生させることが可能である。一旦一定時間真空状態が続くと、システムは、低流量で高真空を発生させる低流量真空弁202に切り替わることができる。このような構成にすることで、酸素供給部の寿命が延びる。
別例では、本明細書に記載の装置は、異なるサイズに対応するチューブを用いて換気パラメーターを決定するために使用することができる。例えば、装置は、小児用としてブロスローテープ(Broselow Tape)と均等の、異なるサイズの様々な作業端を有する。これにより、従事者は気道およびブロスローテープが推奨するサイズのものを選択するとともに人工呼吸器にこれを装着するのみでよい。認証プロセスにより、選択された気道に基づく患者のおおよその大きさが人工呼吸器に通知されるため、従事者は換気パラメーターを調整する必要がない。これに代えて、気道そのものが、患者が受ける容積、圧力、吸引圧を低減し得る。この方法の一例として、換気チューブの幅を狭くして流れを制限し、一定期間の換気量を少なくすることが挙げられる。別例による排気弁は余分な量の換気を大気中に排出し、患者の換気量および圧力の両者を低減するものである。
本明細書に記載された方法により、様々な方法を介して患者の口、食道に置かれたチューブの曲がりを検知することによって、CPR中の胸部圧迫の位相、速度、効率、深さ、比率を測定することができる。チューブ上の歪みゲージ、光ファイバー、空気の動きセンサーなどを含むが、これらに限定されるものではない。この方法の別例には、十分な気体交換を可能にしながらCPRの効率を最大にするために、圧迫のある段階で換気のタイミングを計ることも含まれる。この方法の別例には、圧迫を停止または一時停止した後に換気を継続することが含まれる。また、この方法は、音声または視覚的なフィードバックにより、救助者の圧迫の効率に関するリアルタイムのフィードバックを操作者に提供することができる。本明細書に記載の方法は、本明細書に記載の人工呼吸器を使用することができ、または任意の換気装置を使用することができる。
上記のシステムの特徴としては、チューブ上に電極を配置し、口、食道、気管に入れたチューブを通して心臓をペーシングする方法;患者の口、気管、食道のチューブに配置した電極を介して心臓を除細動する方法;患者の口、気管、食道のチューブを通して患者に脈拍や心臓の機械的収縮があるかどうかを判断する方法などが挙げられる。
図19乃至28は、患者の口、気管または食道に設置された気道のチューブ上に配置された抵抗器により、胸部圧迫の位相、速度、深さおよび効果を検知する回路の一例を示す図である。その情報は救助者に伝えられるほか、弁に信号を送信して換気のタイミングを計ることもできる。これは、上述した発明を実施する方法の一例に過ぎず、上述した他の方法を限定するものではない。
さらなる一態様において、本システムは、胸腔内の圧力の微妙な変化を高速で監視することも可能である。例えば、システムは、装置の作業端に沿った圧力や装置の遠位端での圧力を監視することで、胸腔内の圧力を連続的に監視することができる。このシステムは、あらゆる圧力変化に対して迅速な反応を引き起こすことができる。例えば、システムが圧力変化を検知しない場合(または検知された圧力変化が予め定められた閾値を下回る場合)、システムは設定された速度で患者を換気し、確実に胸部圧迫を同時に行わずに換気することができる。
現在のシステムでは、呼吸をしようとする患者を換気する必要はない。その代わりに、本システムでは、ヒトの胸部内圧力を監視して、供給される換気のタイミングおよびパラメーターを調整する。例えば、本システムは、ヒトの胸腔内の圧力を監視する「CPRモード」を含むことができる。システムは胸腔内の圧力を測定し、この測定値を用いて患者の胸部圧迫の有無を判断することができる。胸部圧迫を検知すると、システムは換気を停止することができる。これに代えて、胸部圧迫の測定により胸部圧迫が行われていないことが判明した場合、システムは設定した速度で換気を行い、確実に患者を換気することができる。
また、この自動非トリガー式換気により、胸部圧迫の開始または再開時に胸腔内の空気が確実に確保されるため、システムは胸部圧迫をより容易に検知することができる。この構成の一利点は、換気システムが、換気をトリガーする患者の呼吸の試みに左右されないことにある。本システムは、患者が呼吸をすることに左右されず、医療従事者が胸を圧迫することに依存する。本システムは、胸部の陽圧および陰圧の両者の変化を利用して、タイミングおよび換気パラメーターを調整することができる。
現在のシステムの変形例は、気道の他、換気装置の非常に微妙な圧力変化も検知することができる。上述したように、従来の換気システムは、患者自身の呼吸を圧力変化で検知しているため、肺内の圧力を大きく変化させる必要がある。本システムの変形例では、小さいかまたは微妙な圧力変化を検知する能力により、開胸腔(すなわち、肺がバルーンまたは他の隔離装置を介して大気から隔離されていない)を生じる胸部圧迫に関連付けられるより小さな圧力変化をシステムが検知することができる。本システムは、また、同じ圧力センサーラインを使用して、心臓の収縮に関連付けられる胸腔内の微妙な圧力変化を検知することも可能である。
本システムの一変形例は、活性換気チューブから挿管装置の作用遠位端まで独立して移動する専用の小径(例えば、1mm以下)を含む。この分離したルーメンは、装置の作業端で再び接続される。このような構成により、人工呼吸器のベンチュリーの影響を受けることなく、患者の体内の圧力をサンプリングすることができる。また、この構成により、患者の体内の圧力の読み取り精度が向上する。そのため、システムは、胸部圧迫および心臓の収縮のうちの少なくともいずれか一方に関連付けられる僅かな圧力の変化も、より正確に、かつより敏感に検知することができるようになる。
また、個別の圧力を使用することで、従来の機器に比べ、別の利点もある。例えば、従来の装置では、内径5mm程度の成人用シングルルーメンチューブから25mm程度の接続チューブを使用し、そのチューブが3乃至7フィート(約0.91乃至2.13メートル)移動して通常圧力センサーを内包する人工呼吸器に接続される。微妙な圧力変化(0.005~1.0cmH20)をサンプリングし、その信号をセンサーに伝えることは困難である。また、現在の換気用チューブおよびコネクターの多くは、患者から人工呼吸器までの移動に伴い直径が大きくなっている。この直径が大きくなると、信号が減衰してしまうのである。上述したように、センサーが換気用のルーメンと同じルーメンを共有している場合、移動する換気用空気のベンチュリー効果により、圧力読み取り値が変動し、信頼性が低くなる。特に、ジェット換気技術を利用する場合は、その傾向が顕著である。また、換気圧が発生する人工呼吸器の上流部分と、下流側の気道遠位端で測定される圧力との間には通常差圧がある。装置の遠位端での圧力の測定は、通常、患者の体内の圧力に対応する。
本明細書で述べたように、本発明の装置は、心停止を経験している患者を支援するために使用することができる。このような場合、患者の動脈に触知可能な血流があるかどうかを判断することが重要である。これは、通常、医療従事者が患者の橈骨動脈、大腿動脈、頸動脈に脈を感じようとし、心電図装置での心臓の電気的な読み取り値と関連付けることによって行われる。しかしながら、救急の現場では触診で圧力を識別することは困難である。また、電気信号が患者の心臓の組織を伝わり、心臓が収縮する場合もあるが、収縮が不十分で血圧に大きな変化が生じない場合もある。この状態を無脈性電気活動(PEA)と呼ぶ。心臓の筋収縮をもたらすPEAか、心筋収縮を伴わない電気信号かを医療従事者が区別することが重要である。患者の処置法を決定する上で、病態の特定は重要である。現在、これらを区別するためには、医療従事者が患者の心臓の電気信号を監視し、超音波などの精密な画像診断で心臓を見つけ出した後に電気信号に関連する筋肉の動きを判断する必要がある。本明細書に記載された装置の構成により、心臓の筋収縮に関連付けられる圧力変化から生じる胸腔内の圧力変化を測定することができる。本装置は、続いて心電図の読み取り値(別の心電図装置を通じてか、本装置に含まれているか)を用いて、これらの圧力変化が心臓の収縮と関連付けられているかどうかを判断することができる。この情報を続いて医療従事者に伝えることで、追加の画像装置や医療評価を必要とせず、患者の処置法を決定することができる。また、気道や食道の圧力変化を測定して心臓の収縮を検知すると、音声または視覚的なプロンプトで中継され、これにより、医療従事者はプロンプトと任意の心電図信号とを比較することができる。
本明細書に記載された装置の追加の変形例は、救急治療中に心臓組織の電気刺激を提供することもできる。電気刺激は、心室細動の致命的なリズムまたは無脈性心室性頻拍のいずれかをリセットするために使用することができる。また、心臓の拍動が遅い場合や不規則な場合は、電気刺激で心臓を余分に収縮させることもできる。現在、救急医療では、胸部や背部のさまざまな箇所に設置された外部ペーシングパッドを用いて心臓を電気刺激することがほとんどである。これらの外部パッドは、心臓を捕捉するために十分なエネルギーを体内に通過させる必要がある。他の組織/臓器のインピーダンスの関係で、外部パッドには360ジュール(N・m)を超えるエネルギーが必要な場合が多い。これに代えて、本装置は、チューブが食道と接触する装置の遠位側チューブに1つ以上の除細動電極を含むことができる。このように電極を心臓に近づけて配置することで、外部電極が遭遇するインピーダンスを低減することができる。これにより、本装置を用いて電気刺激を加えることで、より少ないエネルギーで効率的に心臓の組織を電気刺激することができる。吸引して食道を電極に接触させることで、パッドと食道の組織とが確実に適切に接触する。第2のパッドは、同じチューブに沿って、または胸部の任意の部位上に配置することができる。
本明細書に記載される装置の変形は、成人の気道のための異なるサイズの範囲に調整するように構成される。しかしながら、小児用途では、個々の小児患者に応じて換気および吸引のパラメーターを変更するのみならず、換気装置を様々なサイズで提供することができる。本装置は、装置の使い捨て構成要素(例えば、チューブまたはマスク)上に検証チップを含むことができ、検証チップが制御ユニット(例えば、図3Aの150を参照)によって読み取られると、制御ユニットは、換気装置が承認されたベンダーによって製造された単回使用の装置であることを確認することができる。この同じ検証チップを使用することで、換気システムは小児用換気装置の特定のサイズを決定し、それに応じて換気固有のパラメーターを調整することも可能である。
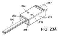
図23A乃至23Cは、装置100の周囲に配置される潤滑剤ハウジング210を有する、別例による装置100を示す図である。潤滑剤ハウジング210は、潤滑剤源220、気管内チューブに使用されるゲル潤滑剤を含む。潤滑剤源220は、ハウジング210内に配置され、レバーアーム216に隣接している。レバーアーム216は、ハウジング210内に枢動可能に結合されるように構成されている。例えば、レバーアーム216は、ハウジング210内におけるレバーアーム216の移動を許容するヒンジ部217を含むことができる。図示の態様では、ハウジング210は、レバーアーム216(図23Bに示す)に結合され得る穿刺部材218を受承する1つ以上の開口部214を含む。図23Cは、レバーアーム216が潤滑供給物(図示しない)に対して駆動される一例を示しており、ここで、穿刺部材218は供給部を穿刺し、ハウジング210内の開口部214を通って延びる。レバーアーム216は、矢印222で示すように、装置100からのハウジング本体210の取り外しの際に供給部220を圧縮するように構成され得る。レバーアーム216は、任意のカム/フォロワー構造体、または潤滑供給部220の不注意な圧縮を防止する任意の構造体によって駆動することができる。一旦潤滑供給部220が穿刺されると、装置からハウジング本体210を取り外すことにより、装置210のシャフトがシャフトの一部または全長に沿って潤滑ゲルで被覆される。追加の構成では、ゲルは、潤滑物質の代わりに、または潤滑物質に加えて、抗菌物質を含む。
上述したものは、単に本発明の原理を説明したに過ぎない。当業者であれば、本明細書に明示的に記載または示されていないものの、本発明の原理を具現化し、その趣旨および範囲に含まれる様々な構成を考案できることが理解されよう。さらに、本明細書に記載されたすべての例および条件文は、主として、読者が本発明の原理および当該技術分野を促進するために本発明者らが貢献した概念を理解するのを助けることを目的としており、かかる具体的に記載された例および条件に限定されるものではないと解釈される。さらに、本発明の原理、態様、および実施形態、並びにその具体例を示す本明細書のすべての記述は、その構造的均等物および機能的均等物の両者を包含することを意図している。加えて、このような均等物には、現在周知の均等物および将来開発される均等物の両者、すなわち、構造に関係なく同じ機能を果たすあらゆる開発される要素が含まれることが意図される。したがって、本発明の範囲は、本明細書に示され、説明される例示的な実施形態に限定されることを意図するものではない。むしろ、本発明の範囲および趣旨は、添付の特許請求の範囲によって具現化される。
より具体的には、本明細書および添付の特許請求の範囲で使用されているように、単数形の「a」、「an」、「said」、および「the」は、文脈が明らかに他を指示しない限り、複数の参照を含む。したがって、例えば、「ストリング」への言及は、複数のそのようなストリングを含み、「管状部材」への言及は、1本以上の管状部材および当業者に周知のその均等物への言及を含む、などである。
値の範囲が設けられている場合、文脈上明らかにそうでない場合を除き、その範囲の上限と下限との間に介在する各値、下限の単位の10分の1も具体的に開示されていると理解される。記載された範囲内の任意の記載値または介在値と、その記載範囲内の任意の他の記載値または介在値との間の各より小さな範囲は、本発明に包含される。これらのより小さい範囲の上限および下限は、独立して範囲に含まれることも除外されることもでき、いずれか、または両者の限界がより小さい範囲に含まれる各範囲も、いずれの限界も含まれない各範囲も、記載の範囲において特に除外される限界を条件として、本発明内に包含される。記載された範囲が限界値の一方または両者を含む場合、それらの含まれる限界値の一方または両者を除いた範囲も本発明に含まれる。
本明細書で言及したすべての刊行物は、その刊行物が引用されている方法および材料のうちの少なくともいずれか一方に関連して開示および説明するために、その全体が本明細書に開示されたものとする。本明細書で論じた刊行物は、本出願の出願日前の開示のためにのみ提供されるものである。本明細書のいかなる内容も、本発明が先行発明によりかかる公開に先行する権利を有しないことを認めるものと解釈されないものとする。また、公開日が実際の公開日と異なる場合があり、これは、別途確認が必要な場合がある。

Claims (10)

  1. ヒトにおける換気を行い、胸部圧迫の効率を高めるためのシステムであって、
    前記ヒトの呼吸口内に挿入されるように構成され、前記ヒトの身体通路内に配置するための作業部を有する換気装置を備え、
    前記換気装置は、前記作業部に露出した圧力ルーメンを有し、前記圧力ルーメンは、前記圧力ルーメンを用いて前記身体通路内の圧力変化を検知するように構成されたセンサーと流体連通し、
    前記換気装置は、前記ヒトを換気するために前記作業部を通して空気のボーラスを供給するように構成された制御システムを有し、
    前記制御システムは、前記胸部圧迫の結果生じる前記身体通路内の前記圧力変化を検知すると、前記空気のボーラスの送達タイミングを変更し、かつ、血流を増加させるために体積を増加させた空気のボーラスを送達して前記胸部圧迫後に前記ヒトの胸腔をさらに再膨張させるように構成され、
    前記システムは、予め定められた閾値を下回る圧力変化の検出したときに、設定された速度で前記ヒトを換気する、システム。
  2. 前記制御システムは、前記身体通路内の前記圧力変化をフィードバックするようにさらに構成される、請求項1に記載のシステム。
  3. 前記制御システムは、前記胸腔内の空気の体積の変化を測定することにより、前記胸部圧迫の質に基づいて前記フィードバックを提供するように構成される、請求項2に記載のシステム。
  4. 前記フィードバックは、胸部圧迫の所望の時間を識別するために示す指示信号からなる、請求項2に記載のシステム。
  5. 前記作業部が、第1のルーメンに流体連通する遠位側開口部および第2のルーメンに流体連通する中間開口部を含み、
    前記制御システムが、前記身体通路内の前記遠位側開口部を通して吸引し、同吸引を一定期間維持するように構成され、
    前記制御システムは、前記身体通路が前記吸引によって前記遠位側開口部に対して引き寄せられるかどうかを判断し、前記身体通路が前記遠位側開口部に対して引き寄せられると判断できなかった後に、前記第1のルーメンを通して前記ヒトを換気するようにさらに構成され、前記身体通路が前記遠位側開口部に引き寄せられることを判断した後に、前記第2のルーメンを通して前記ヒトを換気し、前記第2のルーメンを通して換気しながら吸引を維持する、請求項1に記載のシステム。
  6. 前記作業部上に膨張式アンカーをさらに備える、請求項1に記載のシステム。
  7. 前記膨張式アンカーが、前記換気装置の前記作業部に結合されたバルーンを含む、請求項6に記載のシステム。
  8. 前記換気装置の近位部がフェイスマスクをさらに含む、請求項1に記載のシステム。
  9. 前記換気装置の近位部が、前記ヒトの口の中での前記換気装置の潰れを防止するための補強部をさらに含む、請求項1に記載のシステム。
  10. 前記換気装置の近位部が、前記ヒトの換気パラメーターを調整するための圧力解放弁をさらに含む、請求項1に記載のシステム。
JP2022514213A 2019-09-05 2020-09-08 改良型支援換気のための装置および方法 Active JP7586897B2 (ja)

Applications Claiming Priority (3)

Application Number Priority Date Filing Date Title
US201962896355P 2019-09-05 2019-09-05
US62/896,355 2019-09-05
PCT/US2020/049744 WO2021046537A1 (en) 2019-09-05 2020-09-08 Apparatus and method for improved assisted ventilation

Publications (2)

Publication Number Publication Date
JP2022546558A JP2022546558A (ja) 2022-11-04
JP7586897B2 true JP7586897B2 (ja) 2024-11-19

Family

ID=74852387

Family Applications (1)

Application Number Title Priority Date Filing Date
JP2022514213A Active JP7586897B2 (ja) 2019-09-05 2020-09-08 改良型支援換気のための装置および方法

Country Status (6)

Country Link
US (2) US12318539B2 (ja)
EP (1) EP4025282A4 (ja)
JP (1) JP7586897B2 (ja)
AU (1) AU2020341845B2 (ja)
CA (1) CA3149961A1 (ja)
WO (1) WO2021046537A1 (ja)

Families Citing this family (7)

* Cited by examiner, † Cited by third party
Publication number Priority date Publication date Assignee Title
EP4659786A2 (en) 2019-03-21 2025-12-10 Fisher & Paykel Healthcare Limited A respiratory device for providing bubble cpap
JP7586897B2 (ja) 2019-09-05 2024-11-19 コーラブス メディカル,インコーポレイテッド 改良型支援換気のための装置および方法
TW202116369A (zh) * 2019-09-09 2021-05-01 紐西蘭商費雪 & 佩凱爾關心健康有限公司 呼吸治療系統及設備
USD940729S1 (en) 2019-09-10 2022-01-11 Fisher & Paykel Healthcare Limited Display screen of a respiratory support apparatus or portion thereof with graphical user interface
US11786683B2 (en) * 2020-12-11 2023-10-17 Blake J. Hyde Irrigating intraluminal suction inner cannula system
US20230248931A1 (en) * 2020-12-11 2023-08-10 Blake J. Hyde Irrigating cannula system
KR102612022B1 (ko) * 2023-08-09 2023-12-08 주식회사 장전 안전밀착구조를 포함하는 기도확장장치

Citations (2)

* Cited by examiner, † Cited by third party
Publication number Priority date Publication date Assignee Title
US20070137651A1 (en) 2005-12-16 2007-06-21 Ezc Medical Llc Visualization esophageal-tracheal airway apparatus and methods
US20150297847A1 (en) 2011-12-09 2015-10-22 Colabs, Inc. Apparatus and method for improved assisted ventilation

Family Cites Families (11)

* Cited by examiner, † Cited by third party
Publication number Priority date Publication date Assignee Title
US3861395A (en) 1973-09-25 1975-01-21 Tokuso Taniguchi Automated catheter
US4148318A (en) * 1977-12-27 1979-04-10 Abbott Laboratories Tool for surgical preparations having an internal supply of antiseptic solution
US20060149128A1 (en) 2005-01-05 2006-07-06 Sightline Technologies Ltd. Method and devices for lubricating an endoscopic surgical tool
WO2006138728A2 (en) 2005-06-17 2006-12-28 The Research Foundation Of State University Of New York Method of determining cardiac indicators
SE533365C2 (sv) 2008-02-08 2010-09-07 Igeloesa Life Science Ab Förfarande och system för hjärtlungräddning
US20090277447A1 (en) * 2008-05-12 2009-11-12 Advanced Circulatory Systems, Inc. System, method, and device to increase circulation during cpr without requiring positive pressure ventilation
US10201474B2 (en) * 2008-09-12 2019-02-12 Hugo Andres Belalcazar Method and apparatus for improved ventilation and cardio-pulmonary resuscitation
US9586015B1 (en) * 2013-09-17 2017-03-07 Chance S. Lindner Duty-cycle indicator for manual resuscitation/ventilation
CN203710505U (zh) * 2013-10-30 2014-07-16 陈宁 一种气管导管润滑装置
ES2975327T3 (es) * 2014-03-21 2024-07-04 Colabs Medical Inc Aparato para mejorar la ventilación asistida
JP7586897B2 (ja) 2019-09-05 2024-11-19 コーラブス メディカル,インコーポレイテッド 改良型支援換気のための装置および方法

Patent Citations (2)

* Cited by examiner, † Cited by third party
Publication number Priority date Publication date Assignee Title
US20070137651A1 (en) 2005-12-16 2007-06-21 Ezc Medical Llc Visualization esophageal-tracheal airway apparatus and methods
US20150297847A1 (en) 2011-12-09 2015-10-22 Colabs, Inc. Apparatus and method for improved assisted ventilation

Also Published As

Publication number Publication date
US20250381354A1 (en) 2025-12-18
US12318539B2 (en) 2025-06-03
EP4025282A1 (en) 2022-07-13
US20210093814A1 (en) 2021-04-01
JP2022546558A (ja) 2022-11-04
CA3149961A1 (en) 2021-03-11
EP4025282A4 (en) 2023-09-06
AU2020341845A1 (en) 2022-04-14
AU2020341845B2 (en) 2025-05-29
WO2021046537A1 (en) 2021-03-11

Similar Documents

Publication Publication Date Title
US11511061B2 (en) Apparatus and method for improved assisted ventilation
JP7586897B2 (ja) 改良型支援換気のための装置および方法
US9802014B2 (en) Apparatus and method for improved assisted ventilation
JP7086900B2 (ja) 改善された補助換気用の装置
US12364827B2 (en) Apparatus and method for improved assisted ventilation

Legal Events

Date Code Title Description
A521 Request for written amendment filed

Free format text: JAPANESE INTERMEDIATE CODE: A523

Effective date: 20220510

A621 Written request for application examination

Free format text: JAPANESE INTERMEDIATE CODE: A621

Effective date: 20230905

RD03 Notification of appointment of power of attorney

Free format text: JAPANESE INTERMEDIATE CODE: A7423

Effective date: 20230905

RD04 Notification of resignation of power of attorney

Free format text: JAPANESE INTERMEDIATE CODE: A7424

Effective date: 20230906

A521 Request for written amendment filed

Free format text: JAPANESE INTERMEDIATE CODE: A821

Effective date: 20230905

A131 Notification of reasons for refusal

Free format text: JAPANESE INTERMEDIATE CODE: A131

Effective date: 20240226

A521 Request for written amendment filed

Free format text: JAPANESE INTERMEDIATE CODE: A523

Effective date: 20240521

A02 Decision of refusal

Free format text: JAPANESE INTERMEDIATE CODE: A02

Effective date: 20240531

A521 Request for written amendment filed

Free format text: JAPANESE INTERMEDIATE CODE: A523

Effective date: 20240930

A911 Transfer to examiner for re-examination before appeal (zenchi)

Free format text: JAPANESE INTERMEDIATE CODE: A911

Effective date: 20241010

TRDD Decision of grant or rejection written
A01 Written decision to grant a patent or to grant a registration (utility model)

Free format text: JAPANESE INTERMEDIATE CODE: A01

Effective date: 20241021

A61 First payment of annual fees (during grant procedure)

Free format text: JAPANESE INTERMEDIATE CODE: A61

Effective date: 20241107

R150 Certificate of patent or registration of utility model

Ref document number: 7586897

Country of ref document: JP

Free format text: JAPANESE INTERMEDIATE CODE: R150