JP7586826B2 - 自動歯カルテ作成システムを訓練するための方法および装置 - Google Patents

自動歯カルテ作成システムを訓練するための方法および装置 Download PDF

Info

Publication number
JP7586826B2
JP7586826B2 JP2021546700A JP2021546700A JP7586826B2 JP 7586826 B2 JP7586826 B2 JP 7586826B2 JP 2021546700 A JP2021546700 A JP 2021546700A JP 2021546700 A JP2021546700 A JP 2021546700A JP 7586826 B2 JP7586826 B2 JP 7586826B2
Authority
JP
Japan
Prior art keywords
image
dental
tooth
information
images
Prior art date
Legal status (The legal status is an assumption and is not a legal conclusion. Google has not performed a legal analysis and makes no representation as to the accuracy of the status listed.)
Active
Application number
JP2021546700A
Other languages
English (en)
Other versions
JP2022520197A (ja
Inventor
ジーン マルク イングレーゼ
エドワード シェラード
ヤニック グリネク
グザヴィエ リポシュ
Original Assignee
トロフィー エスアーエス
ケアストリーム デンタル エルエルシー
Priority date (The priority date is an assumption and is not a legal conclusion. Google has not performed a legal analysis and makes no representation as to the accuracy of the date listed.)
Filing date
Publication date
Application filed by トロフィー エスアーエス, ケアストリーム デンタル エルエルシー filed Critical トロフィー エスアーエス
Publication of JP2022520197A publication Critical patent/JP2022520197A/ja
Application granted granted Critical
Publication of JP7586826B2 publication Critical patent/JP7586826B2/ja
Active legal-status Critical Current
Anticipated expiration legal-status Critical

Links

Images

Classifications

    • GPHYSICS
    • G16INFORMATION AND COMMUNICATION TECHNOLOGY [ICT] SPECIALLY ADAPTED FOR SPECIFIC APPLICATION FIELDS
    • G16HHEALTHCARE INFORMATICS, i.e. INFORMATION AND COMMUNICATION TECHNOLOGY [ICT] SPECIALLY ADAPTED FOR THE HANDLING OR PROCESSING OF MEDICAL OR HEALTHCARE DATA
    • G16H15/00ICT specially adapted for medical reports, e.g. generation or transmission thereof
    • AHUMAN NECESSITIES
    • A61MEDICAL OR VETERINARY SCIENCE; HYGIENE
    • A61CDENTISTRY; APPARATUS OR METHODS FOR ORAL OR DENTAL HYGIENE
    • A61C7/00Orthodontics, i.e. obtaining or maintaining the desired position of teeth, e.g. by straightening, evening, regulating, separating, or by correcting malocclusions
    • A61C7/002Orthodontic computer assisted systems
    • GPHYSICS
    • G16INFORMATION AND COMMUNICATION TECHNOLOGY [ICT] SPECIALLY ADAPTED FOR SPECIFIC APPLICATION FIELDS
    • G16HHEALTHCARE INFORMATICS, i.e. INFORMATION AND COMMUNICATION TECHNOLOGY [ICT] SPECIALLY ADAPTED FOR THE HANDLING OR PROCESSING OF MEDICAL OR HEALTHCARE DATA
    • G16H10/00ICT specially adapted for the handling or processing of patient-related medical or healthcare data
    • G16H10/60ICT specially adapted for the handling or processing of patient-related medical or healthcare data for patient-specific data, e.g. for electronic patient records
    • GPHYSICS
    • G16INFORMATION AND COMMUNICATION TECHNOLOGY [ICT] SPECIALLY ADAPTED FOR SPECIFIC APPLICATION FIELDS
    • G16HHEALTHCARE INFORMATICS, i.e. INFORMATION AND COMMUNICATION TECHNOLOGY [ICT] SPECIALLY ADAPTED FOR THE HANDLING OR PROCESSING OF MEDICAL OR HEALTHCARE DATA
    • G16H30/00ICT specially adapted for the handling or processing of medical images
    • G16H30/40ICT specially adapted for the handling or processing of medical images for processing medical images, e.g. editing
    • GPHYSICS
    • G16INFORMATION AND COMMUNICATION TECHNOLOGY [ICT] SPECIALLY ADAPTED FOR SPECIFIC APPLICATION FIELDS
    • G16HHEALTHCARE INFORMATICS, i.e. INFORMATION AND COMMUNICATION TECHNOLOGY [ICT] SPECIALLY ADAPTED FOR THE HANDLING OR PROCESSING OF MEDICAL OR HEALTHCARE DATA
    • G16H30/00ICT specially adapted for the handling or processing of medical images

Landscapes

  • Health & Medical Sciences (AREA)
  • Public Health (AREA)
  • Engineering & Computer Science (AREA)
  • Epidemiology (AREA)
  • General Health & Medical Sciences (AREA)
  • Primary Health Care (AREA)
  • Medical Informatics (AREA)
  • Dentistry (AREA)
  • Nuclear Medicine, Radiotherapy & Molecular Imaging (AREA)
  • Radiology & Medical Imaging (AREA)
  • General Engineering & Computer Science (AREA)
  • Oral & Maxillofacial Surgery (AREA)
  • Life Sciences & Earth Sciences (AREA)
  • Animal Behavior & Ethology (AREA)
  • Veterinary Medicine (AREA)
  • Apparatus For Radiation Diagnosis (AREA)
  • Dental Tools And Instruments Or Auxiliary Dental Instruments (AREA)
  • Image Analysis (AREA)
  • Medical Treatment And Welfare Office Work (AREA)

Description

本発明は、歯カルテ作成の技術分野に関し、より詳細には、自動歯カルテ作成システムを訓練するための方法および装置、例えば、ニューラルネットワークに基づく歯カルテ作成システムなどの、人工知能に基づく自動歯カルテ作成システムを訓練するための方法および装置に関する。
歯科カルテは、歯および支持構造の系統的診断、追跡、治療において歯科医を支援する。歯科医による画像の格納および表示のための電子機器の一般的な使用により、必要に応じて表示および更新できるデジタル歯科カルテが広く使用されている。
米国特許第8,416,984号に記載されている方法など、患者から取得したいくつかのタイプのデジタル画像のいずれかの分析から取得された情報を使用して、患者の電子歯科カルテを自動生成する方法が存在する。この方法は、取得した画像データに従って、撮像された各歯の位置を、歯の状態(例えば、修復および治療)を特徴付ける記号で表す患者用のテンプレート歯科カルテを生成することを可能にする。
図1aは、患者の歯科カルテ100の描写であり、各歯は、記号105などの記号によって表されている。歯科カルテ100は、画像の分析を使用して、患者の歯の画像から生成され得る。歯科カルテ100は、歯の数、相対的な歯の大きさ、検出された歯の輪郭および角度、ならびに全体的な歯の状態、歯の色、歯または歯の特定の表面の修復およびその他の治療のような、患者に特有の特徴を示し得る。
図示のように、異なるタイプの画像が歯の描写に関連付けられ得る。取得される画像は、可視光画像(VL)、紫外線画像(UV)、赤外光画像(IR)、蛍光画像(F)、OCT(光コヒーレンストモグラフィー)画像、X線画像(X)、CBCT(歯科用コーンビームコンピュータ断層撮影)処理でボリューム画像を形成するために使用される画像投影、輪郭画像、3Dメッシュ画像、および超音波画像を含む1つ以上の画像タイプまたはモダリティの画像であり得る。
画像が取得され、対応する歯に関連付けられているかどうかを示し、以前の修復および治療に関する情報または周囲の歯茎または周囲の骨に関する情報など、対応する歯に関する特定の情報を与えるために、歯の記号を適切に強調表示または他の方法でマークすることができる。
画像はいつでも、通常は患者が歯科医との予約をするたびに、歯科カルテに追加することができる。同様に、歯の情報はいつでも更新することができる。
図1bに示すように、歯科医はポインティングデバイスを使用して、歯に関連する画像または情報項目にアクセスしたり、新しい画像を歯にリンクしたり、歯に関する新しい情報項目を入力したりできる。例えば、歯科医は、マウスで制御されるポインタ110を使用してウィンドウ115を開き、テキストフィールド120で参照される歯2に関連する注記を編集または修正することができる。
米国特許第8,416,984号明細書
そのような歯科カルテは非常に効率的であることが証明されているが、それらを改善し、それらの関連性を改善し、それらが構築される方法を改善するための継続的な必要性がある。
本発明は、前述の懸念の1つ以上に対処するために考案された。
本発明の第1の態様によれば、通信ネットワークを介して複数の歯科情報システムに接続された自動歯科カルテ作成システムを訓練するためのコンピュータ方法であって、歯科情報システムのそれぞれは、電子歯科カルテを生成するように構成されており、生成された電子歯科カルテのそれぞれは、デジタル画像と対応するデジタル画像の少なくとも一部を特徴付ける関連する情報項目とを含み、
前記情報項目は、
根とクラウンの下にある部分について、歯が存在するかどうか、根尖周囲病変、根管かどうか、根内の支柱、骨量減少、強直、副鼻腔感染症、および洞床の腫れ、
並びに、クラウンレベルの部分について、復元するかどうか、3Dの内側~遠位の修復範囲、クラウンと素材の種類、修復中のライナー、修復中の崩壊、および隣接歯間崩壊、
並びに、レントゲン写真では検出できない特徴について、頬側~舌側の修復範囲、骨折、修復物周辺の漏れ、および修復物周辺のエナメルの破砕、
のうちの少なくとも1つの項目を含み、
このコンピュータ方法は、
通信ネットワークを介して、複数の歯科情報システムによって生成された複数の電子歯科カルテを取得するステップであって、複数の電子歯科カルテは、複数の患者に関連している、ステップと、
取得された電子歯科カルテのそれぞれについて、
歯または関心領域を描写する画像の少なくとも一部を抽出し、描写された歯または描写された関心領域を特徴付ける少なくとも対応する情報項目を取得する、ステップと、
抽出された画像の少なくとも一部と対応する情報項目とを訓練データセットに格納するステップと、
訓練データセットを使用して自動歯科カルテ作成システムを訓練するステップと、
を含むことを特徴とする、コンピュータ方法、が提供される。
本発明の方法によれば、自動歯科カルテ作成システムは、信頼できる電子歯科カルテを生成および/または更新するように訓練され得る。
実施形態によれば、本方法は、画像の少なくとも一部が抽出される画像をフィルタリングするステップをさらに含む。
実施形態によれば、歯または関心領域を描写する画像の抽出された少なくとも一部は、歯または関心領域を特徴付ける取得された情報項目に基づいて自動的に抽出される。
実施形態によれば、本方法は、画像の少なくとも一部が抽出される画像のタイプを取得するステップをさらに含み、取得された画像のタイプは、画像の対応する少なくとも一部に関連して訓練データセットに格納される。
実施形態によれば、本方法は、抽出された画像の少なくとも一部を識別するステップをさらに含み、画像の少なくとも一部は、画像の少なくとも一部が識別される画像に関連する情報項目に応じて識別される。
実施形態によれば、電子歯科カルテの少なくとも1つは、少なくとも同じ歯または同じ関心領域を描写するいくつかのタイプの画像を含み、訓練データセットがいくつかのタイプの画像のそれぞれの少なくとも一部を含むように、抽出するステップおよび格納するステップが繰り返される。そのようなタイプは、紫外線画像タイプ、可視光画像タイプ、赤外線画像タイプ、OCT画像タイプ、X線画像タイプ、CBCT画像タイプ、超音波画像タイプ、蛍光画像タイプ、および/または3Dメッシュ画像タイプを含み得る。
実施形態によれば、自動歯科カルテ作成システムは、少なくとも1つの人工ニューラルネットワークを含み得る人工知能エンジンを含む。
実施形態によれば、複数の電子歯科カルテのうちの電子歯科カルテのそれぞれは、通信ネットワークを介してサーバーから取得され、サーバーは、複数の電子歯科カルテのうちの電子歯科カルテを生成した歯科情報システムとは異なる。
本発明の第2の態様によれば、歯または関心領域を描写する画像の少なくとも一部にカルテデータを自動的に割り当てるためのコンピュータ方法であって、
歯または関心領域を描写する画像の少なくとも一部を取得するステップと、
上述の方法に従って訓練された自動歯科カルテ作成システムを使用して、描写された歯または関心領域を特徴付ける情報項目を画像の少なくとも一部に割り当てるステップと、を含むコンピュータ方法が提供される。
本発明による方法の少なくとも一部は、コンピュータで実施することができる。したがって、本発明は、完全にハードウェアの実施形態、完全にソフトウェアの実施形態(ファームウェア、常駐ソフトウェア、マイクロコードなどを含む)、またはソフトウェアとハードウェアの側面を組み合わせた実施形態(これらはすべて、本明細書では一般に「回路」、「モジュール」もしくは「システム」と呼ばれ得る)の形態をとることができる。さらに、本発明は、媒体に具体化されたコンピュータ使用可能なプログラムコードを有する任意の有形の表現媒体に具体化されたコンピュータプログラム製品の形態をとることができる。
本発明はソフトウェアで実施することができるので、本発明は、任意の適切なキャリア媒体上のプログラム可能な装置に提供するためのコンピュータ可読コードとして具体化することができる。有形のキャリア媒体は、フロッピーディスク、CD-ROM、ハードディスクドライブ、磁気テープデバイスまたはソリッドステートメモリデバイスなどのような記憶媒体を含み得る。一時的なキャリア媒体は、電気信号、電子信号、光信号、音響信号、磁気信号、または、例えばマイクロ波もしくはRF信号などの電磁信号、などの信号を含み得る。
本発明の他の特徴および利点は、添付の図面を参照して、非限定的な例示的な実施形態の以下の説明から明らかになるであろう。
患者の歯科カルテを表した図である。 患者の歯科カルテを表した図である。 本発明の実施形態を実行することができる、通信ネットワークを介して複数の歯科情報システムに接続された自動歯科カルテ作成システムを訓練するためのコンピューティング装置を示す図である。 本発明の1つ以上の実施形態を実施するための、図2に示されるコンピューティング装置の概略ブロック図である。 電子歯科カルテおよび/または電子歯科カルテの一部が生成される、図2の歯科情報システムのうちの1つなどの歯科情報システムを示す概略図である。 自動歯カルテ作成システムのステップを示す図である。 電子歯科カルテを生成するために図5に示されているようなAIエンジンで実行されるステップの例を示す図である。 そのようなAIエンジンを訓練するためのステップの例を示す図である。
以下は、本発明の特定の実施形態の詳細な説明であり、同じ参照番号がいくつかの図のそれぞれにおける構造の同じ要素を識別する図面を参照する。
以下の図面および本文では、同様の構成要素は同様の参照番号で示され、既に説明した構成要素および構成要素の配置または相互作用に関する同様の説明は省略されている。「第1」、「第2」などの用語は、それらが使用される場合、必ずしも序数または優先関係を示すわけではなく、単にある要素を別の要素からより明確に区別するために使用され得る。
図2は、本発明の実施形態を実行することができる、通信ネットワーク215を介して複数の歯科情報システム210-1~210-3に接続された自動歯科カルテ作成システム205を訓練するためのコンピューティング装置200を示す。図示の例によれば、コンピューティング装置200は、記憶装置220にさらに接続されている。
コンピューティング装置200および自動歯科カルテ作成システム205は、互いに直接接続されているか、通信ネットワーク215または別の通信ネットワーク、例えばプライベートネットワークを介して接続されている2つの異なる装置であり得る。コンピューティング装置200および自動歯科カルテ作成システム205はまた、同じ装置に統合することができる。
説明のために、3つの歯科情報システムおよび1つの記憶装置のみが示されていることに留意されたい。しかしながら、コンピューティング装置200は、数百もしくは数千の歯科情報システムおよび/または数百もしくは数千の記憶装置に接続され得ることが理解されるべきである。
実施形態によれば、各歯科情報システムは、患者の歯科画像を取得し、電子歯科カルテを生成するように構成される。取得された画像は、可視光画像(VL)、紫外線画像(UV)、赤外線画像(IR)、OCT画像、蛍光画像(F)、X線画像(X)、CBCT(歯科用コーンビームコンピュータ断層撮影)処理でボリューム画像を形成するために使用される画像投影、輪郭画像、3Dメッシュ画像、および超音波画像を含む、異なるタイプまたはモダリティの画像であり得る。生成された電子歯科カルテは、患者の歯に関する情報を提供する、患者の歯に関する画像および関連する情報項目を含む。画像および関連する情報はどちらも同期している。
電子歯科カルテまたは電子歯科カルテの一部は、歯科情報システムから直接、またはそれらが以前に保管されていた記憶装置220などの1つ以上の記憶装置から入手することができる。
実施形態によれば、歯科情報システムは、同じテンプレートまたは互換性のあるテンプレートに基づいて電子歯科カルテを生成し、同じ記号は同じ意味を有し、その結果、それらはソフトウェアの一部によって自動的に復号され得る。説明のために、電子歯科カルテは、各歯科情報システム内にインストールされた同じソフトウェアアプリケーション、または各歯科情報システムによってアクセスされる同じソフトウェアアプリケーションによって生成される(例えば、ソフトウェアアプリケーションがサービスとして提供される場合)。
さらに特定の実施形態によれば、歯科情報システムのそれぞれは、生成された電子歯科カルテまたは生成された電子歯科カルテの一部を遠隔装置、例えば遠隔記憶装置または情報システムに転送することができる。好ましくは、生成された電子歯科カルテ(または生成された電子歯科カルテの一部)は匿名化した後転送され、この場合、生成された電子歯科カルテ(または生成された電子歯科カルテの一部)が関連付けられている患者を特定することはできない。
図3は、本発明の1つ以上の実施形態を実施するため、特に図5、図6a、および図6bを参照して説明したステップまたはステップの一部を実行するための、図2に示すコンピューティング装置200の概略ブロック図である。
コンピューティング装置200は、
- CPUと表記される、マイクロプロセッサなどの中央処理装置305と、
- 本発明の実施形態の方法の実行可能コードを格納するための、RAMと表記されるランダムアクセスメモリ310、および本発明の実施形態による自動歯カルテ作成システムを訓練するための方法を実施するために必要な変数およびパラメータを記録するように構成されたレジスタであって、そのメモリ容量が、例えば拡張ポートに接続された任意のRAMによって拡張することができる、レジスタと、
- 本発明の実施形態を実施するためのコンピュータプログラムを記憶するための、ROMと表記される読み取り専用メモリ315と、
- ユーザーからの入力の受信、ユーザーへの情報の表示、および/または外部装置との間のデータの受信/送信のために使用することができるユーザーインターフェースおよび/または入力/出力インターフェース330と、
- 遠隔装置との間で、特に、歯科情報システム210-1~210-3および/または記憶装置220から、および自動歯科カルテ作成システム205にデータを送受信するためにデジタルデータを送受信できる通信ネットワークに通常接続されているネットワークインターフェース320と、に接続された通信バスを備えている。ネットワークインターフェース320は、単一のネットワークインターフェースであり得るか、または一連の異なるネットワークインターフェース(例えば、有線および無線インターフェース、または異なる種類の有線もしくは無線インターフェース)から構成され得る。データパケットは、送信のためにネットワークインターフェースに書き込まれるか、またはCPU305で実行されているソフトウェアアプリケーションの制御下で受信のためにネットワークインターフェースから読み取られる。
コンピューティング装置200の通信バスは、任意で、大容量記憶装置として使用されるHDと表記されるハードディスク325に接続され得る。
実行可能コードは、読み取り専用メモリ315、ハードディスク325、または例えばディスクなどの着脱式デジタル媒体のいずれかに格納することができる。変形例によれば、プログラムの実行可能コードは、実行される前に、ハードディスク325などのコンピューティング装置200の記憶手段の1つに記憶されるべく、ネットワークインターフェース320を介して通信ネットワークによって受信され得る。
中央処理装置305は、本発明の実施形態による1つ以上のプログラムの命令またはソフトウェアコードの一部の実行を制御および指示するように構成され、命令は前述の記憶手段の1つに記憶される。電源を入れた後、CPU305は、ソフトウェアアプリケーションに関連するメインRAMメモリ310からの命令を、例えばROM315またはハードディスク325からロードした後に実行することができる。そのようなソフトウェアアプリケーションは、CPU305によって実行されると、本明細書に開示されたアルゴリズムのステップが実行されるようにする。
本明細書に開示されるアルゴリズムの任意のステップは、PC(「パーソナルコンピュータ」)、DSP(「デジタルシグナルプロセッサ」)もしくはマイクロコントローラ、または、FPGA(「フィールドプログラマブルゲートアレイ」)やASIC(「特定用途向け集積回路」)などのマシンまたは専用構成要素によってハードウェアに実装されるその他のものなどのプログラム可能なコンピューティングマシンによる一連の命令またはプログラムの実行によってソフトウェアに実装され得る。
実施形態によれば、自動歯科カルテ作成システム205の概略ブロック図は、コンピューティング装置200の概略ブロック図と同様である。
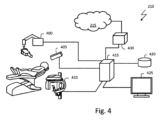
図4は、電子歯科カルテおよび/または電子歯科カルテの一部を生成する、図2の歯科情報システム210-1~210-3のうちの1つなどの歯科情報システムを示す概略図である。
図示のように、歯科情報システム210は、X線撮像装置400、口腔内カメラなどのデジタルカメラ405、または、歯の構造のボリューム画像を生成するための歯科用コーンビームコンピュータ断層撮影(CBCT)システム410であり得る少なくとも1つの撮像装置を含む。超音波または他の撮像タイプを使用する装置など、他のタイプの撮像装置を使用して、歯および支持構造、歯茎、および関連組織の画像を取得することもできる。さらに、歯科情報システム210を操作するために、様々なタイプの診断測定機器も提供され得る。
引き続き図4を参照すると、撮像装置から画像データを取得、処理、および格納するためのコンピュータまたは他のタイプの専用論理プロセッサなどのホストプロセッサ415もまた、撮像結果を表示するための1つ以上のディスプレイ425とともに、歯科情報システム210の一部である。ホストプロセッサ415は、1つ以上の画像捕捉装置と、および任意で、任意の数の自動測定装置とデータ通信している。さらに、ホストプロセッサ415はまた、内部に、またはネットワーク化されたホストまたはサーバー上に格納された、患者記録のデータベースとデータ通信することができ、例えば、磁気、光学、または他のデータ記憶媒体を使用する装置など、長期記憶に使用される不揮発性メモリ記憶装置であり得るコンピュータクセス可能なメモリ420も提供される。
さらに、ホストプロセッサ415は、遠隔装置との間で、特に、コンピューティング装置200、自動歯科カルテ作成システム205、および/または記憶装置220との間でデータを送受信するためにデジタルデータを送受信することができる通信ネットワーク215に通常接続されているネットワークインターフェース430を備えている。ネットワークインターフェース430は、単一のネットワークインターフェースであり得るか、または一連の異なるネットワークインターフェース(例えば、有線および無線インターフェース、または異なる種類の有線もしくは無線インターフェース)から構成され得る。
異なる歯科情報システムが同様の撮像装置、例えば同様のX線撮像装置または同様の口腔内カメラを使用し得るが、これらの装置は異なる製造業者からのものであり得るか、または異なる設定に従って設定され得ることに留意されたい。結果として、これらの装置によって生成される画像は、それらが同じ対象物(例えば、同じ歯)を描写する場合でも、異なって見える可能性がある。したがって、異なる歯科情報システムによって生成された電子歯科カルテの一部は、類似しているはずであるが、実際にはわずかに異なる場合がある。
図5は、自動歯カルテ作成システムのステップを示している。
図示のように、第1のステップ(ステップ500)は、患者の歯の画像、例えば、1つの口腔外パノラマ画像および1つ以上の歯のいくつかの画像、例えば、X線画像、可視光画像、紫外線画像、赤外線画像、OCT画像、蛍光画像、およびCBCT画像、を取得することを目的としている。
次に、これらの画像は、歯科カルテ情報(符号510)を使用して電子歯科カルテを生成するために処理される(ステップ505)。取得された画像の処理は、例えば、1つ以上の人工ニューラルネットワークを含む人工知能(AI)エンジンに基づくことができる。人工ニューラルネットワークは、教師あり学習に基づく教師ありニューラルネットワークであり得る。教師あり学習では、入力サンプルと関連するラベルの訓練セットをニューラルネットワークに提示する必要がある(各ラベルは出力の対象物を描写する)。対応するラベルのセットは、専門家によってニューラルネットワークとは別に実行される事前の分類に従って決定され得る。歯科カルテ情報は、パラメータ値のセット(例えば、レイヤーとノードの数、重み値など)としてAIエンジンに符号化できる。
実施形態によれば、口腔外パノラマ画像は、異なるタイプの他の画像によって、および画像上に表される歯を特徴付ける情報項目によって補足される基本的な電子歯科カルテを生成するために使用される。
点線の矢印で示唆されているように、電子歯科カルテは、新しい画像を処理することによって、および/または以前に処理された画像を新しい学習ステップにさらに処理することによって(すなわち、新しい情報を考慮して)いつでも自動的に更新され得る。
図6aは、電子歯科カルテを生成するために図5に示されているようなAIエンジンで実行されるステップの例を示し、図6bは、そのようなAIエンジンを訓練するためのステップの例を示す。
図6aに示されているステップは、図2の自動歯科カルテ作成システム205などの自動歯科カルテ作成システムで実行することができ、図6bに示されるステップは、同じシステムまたは異なるシステム、例えば、図2のコンピューティング装置200において実行され得る。
AIエンジンは、特定のAI技術、例えばファジー論理または人工ニューラルネットワーク、AI技術の組合せ、またはAI技術と従来の技術との組合せ、例えばニューラルネットワークと所定の規則との組合せに基づくことができる。
電子歯科カルテを生成または更新するために処理される画像が取得された後(ステップ600)、画像は好ましくはフィルタリングされる(ステップ605)。そのようなフィルタリングステップは、例えば、画素値が所定のフォーマット(例えば、YUV)に従って、所定の解像度に従って、所定のバイト数(例えば、1成分あたり3バイト、1バイト)でコード化されるように、取得された画像を正規化するステップを含み得る。さらに、正規化ステップは、輝度および範囲拡張などのパラメータを調整するステップを含み得る。フィルタリングステップはまた、画像強調および画像平滑化などの画像処理を含み得る。
次に、取得された画像のタイプが判定される(ステップ610)。取得された画像のタイプは、例えば、取得された画像に関連するそのソースまたはパラメータを識別することによって、またはよく知られた方法に従って後者を分析することによって、自動的に判定されることが好ましい。
特定の実施形態によれば、取得された画像をフィルタリングするステップは、フィルタリングが画像のタイプに適合されるように、そのタイプの判定後に実行される。
次に、取得された画像(ステップ615)において歯が識別され、画像内に描写された歯の数、画像内のそれらの位置、それらの大きさ、およびそれらの形状が判定される。このようなステップは、訓練後にAIエンジンを使用して、セグメンテーションステップなどの前処理ステップの有無にかかわらず実行できる。実施形態によれば、歯は、グローバルインデックスを使用してインデックス付けまたは番号付けされ、その結果、画像で表される歯と別の画像で表される同じ歯との間にリンクが確立され得る。このようなグローバルインデックスは、既知の電子歯科カルテで使用されているものと同じであり得る。
一実施形態によれば、歯の識別および番号付けは、境界ボックス(例えば、長方形のボックスまたはより正確な輪郭を有するボックス)を使用することによって実行される。境界ボックスは、それぞれに含まれる歯の数を識別するために、パノラマ画像上の長方形のボックスを識別することによって、大まかな画像セグメンテーションを含み得る。
このような境界ボックスは、AIエンジンの暗黙のルールを使用することによって、例えば、取得した画像の一部を人工ニューラルネットワークの入力として使用することによって判定できる。後者は、適切な訓練の後、歯の描写を識別し、したがって、識別された歯の周りの境界ボックスを判定することができる。
さらに、セグメンテーションは、あいまいな状況を明確にするために、次のような明示的なルールを実装する場合がある(必要な場合)。
- 「長方形のボックスには、所定の距離(1mmなど)を超えてはならないオーバーラップがある場合がある」、および
- 「1つの弧に対応する長方形のボックスの中心は、空間的変動が小さい曲線を表す必要がある(つまり、歯はほとんど線または曲率の少ない曲線に沿って整列する)」。
同様に、歯の番号付けアルゴリズムは、次のような暗黙的または明示的なルールを実装する場合がある。
- 「咬合中のパノラマ画像では、歯の数は所定の自然な順序に従う」、
- 「下顎の歯は上顎に現れない」、および
- 「上顎はボックスのサブセットで構成され、補完的なボックスのグループで構成される下顎の上に配置される」。
歯の位置に関する情報は、特に、取得された画像が患者の歯のサブセットを含み、そこから患者の口内における歯の位置を導き出すことが不可能ではないにしても困難である場合、画像分析以外の手段によって提供され得ることに留意されたい。例えば、歯の位置に関する情報は、ユーザーから、または画像を撮影するときにユーザーに与えられる指示から取得することができる(ステップ620)。
次に、識別された歯は分類され、または特徴付けられる(ステップ625)。
そのような分類/特徴付けステップは、好ましくは、学習段階中に取得された電子歯科カルテから取得された情報を使用することによって、例えば、歯の描写を分類するために使用される、以前に訓練された人工ニューラルネットワークの入力として孤立した歯の描写を使用することによって実行される。人工ニューラルネットワークの出力は、孤立した歯の描写を特徴付ける1つ以上の情報項目である。
繰り返し、このようなステップは、次のような一連のルールと閾値とを使用して補足できる。
- 「強い飽和信号はおそらく金属の特徴である」、
- 「金属を検出する機能により、アマルガム、インプラント、金属製クラウン、金属製ブラケット、根管などを含む可能性が高くなる」、および
- 「骨の根の深さは、歯の喪失につながる可能性のある骨の喪失があるかどうかを決定する」。
分類/特性評価ステップの目的は、1つ以上の情報項目を識別された歯に関連付けることである。そのような情報項目は、例えば、以下のものであり得る。
- 根とクラウンの下にある部分について
・歯が存在するかどうか、
・根尖周囲病変、
・根管かどうか、
・根内の支柱、
・骨量減少、
・強直、
・副鼻腔感染症、および
・洞床の腫れ、
- クラウンレベルの部分について
・復元するかどうか、
・3Dの内側~遠位の修復範囲(頬側~舌側の範囲を決定するのが困難)、
・クラウンと素材の種類(磁器、磁器溶融金属、すべて金属)、
・修復中のライナー(アマルガムまたは複合材料からのX線写真では異なるグレースケールとして表示される)、
・修復中の崩壊、および
・隣接歯間崩壊、
- レントゲン写真では検出できない特徴について
・頬側~舌側の修復範囲、
・骨折、
・修復物周辺の漏れ、および
・修復物周辺のエナメルの破砕。
当然、他の情報項目は、歯および/または歯のグループに関連付けられ得る。
分類/特徴付けステップは、例えば、各境界ボックスに含まれる信号を正規化された平均的な歯の描写にスケーリングおよび整列させるために、いくつかの前処理を含み得ることにも留意されたい。これは、平均的な歯の描写と比較して、近心/遠位、咬合/頬などの配置情報を定義するのに役立ち得る。
歯が分類/特徴付けられると、対応する電子歯科カルテが生成される(現在の歯が新しい患者に関連付けられた第1の画像の最初のものである場合)か、分類/特徴付けに応じて更新される(ステップ630)。実施形態によれば、画像は格納され(まだ格納されていない場合)、現在の歯に関連する情報項目は、例えばそのグローバルインデックスを使用して、この歯に関連して格納される。
これらのステップは、処理されるすべての画像に対して、取得された画像で識別されたすべての歯に対して繰り返される(ステップ635および640)。
上記のように、使用されるAIエンジンは、ローカリゼーションタスクおよび/または分類および特徴付けタスクのために、畳み込みニューラルネットワークおよび深層学習技術などの人工ニューラルネットワークを使用することができる。
図6aを参照することによって説明される処理は、典型的には患者の歯の画像のセットから、電子歯科カルテを作成するときに、ならびに、患者の歯の新しい画像が撮影されるか、歯科医が患者の歯に介入および/または監視するたびに実行され得る。
実施形態によれば、歯の識別および/または分類に使用される、図5および図6aを参照して説明されているようなAIエンジンの訓練は、低レベルのエラー(これらのエラーは通常、画像の解釈に向けられている)を含む大量の電子歯科カルテを使用して行われる。これらの電子カルテは、自動歯科カルテ作成システムの訓練に使用するために送信される前または後に匿名化されることが好ましい。
信頼性のために、自動歯科カルテ作成システムを訓練するために使用される電子カルテは、好ましくは、開業医によって生成された、開業医によって制御された、または信頼できるシステムによって、異なる場所で、異なる歯科情報システムを使用して自動的に生成された電子カルテである。それらは共通のフォーマットを共有しており、情報システムが画像とこれらの画像に表されている歯に関連する情報項目とを自動的に取得することを可能にする。
電子歯科カルテは、歯科情報システムから、および/または歯科情報システムによって生成された電子歯科カルテが格納されているサーバーから取得することができる。
少なくとも1つの電子歯科カルテが取得された後(ステップ650)、電子歯科カルテは、患者の歯を描写する画像を取得するために(ステップ655)、取得された画像のタイプを取得するために(ステップ660)、および取得された画像(ステップ665)に描写された歯に関する情報項目を取得するために分析される。
画像、画像のタイプ、および描写された歯に関する情報項目を取得するステップは、データが適切に収集され得るように有利に事前に決定された電子歯科カルテの電子フォーマットに従って実行される。
対応する情報項目が、考慮される画像で表される歯または関心領域を特徴付けるという条件で、同じ歯または同じ関心領域のいくつかの画像を使用できることに留意されたい。言い換えれば、情報項目と画像は同期している(すなわち、歯または関心領域を描写する画像が取得されてから対応する情報項目が定義されるまでの間、歯または関心領域の状態は変化しないままである。)。
特定の実施形態によれば、取得された画像はフィルタリングされる(ステップ670)。電子歯科カルテを生成または更新するときに実行され得る、図6aを参照して説明されたフィルタリングステップと同様に、このフィルタリングステップは、例えば、取得された画像を、画素値が所定のバイト数(例えば、構成要素ごとに3バイト、1バイト)でコード化されるように、所定のフォーマット(例:YUV)に従って、所定の解像度に従って正規化するステップを含み得る。さらに、正規化ステップは、輝度および範囲拡張などのパラメータを調整するステップを含み得る。
この場合も、特定の実施形態によれば、取得された画像をフィルタリングするステップは、画像タイプに依存し得る。
次に、図示の例によれば、AIエンジンに歯の描写を識別する方法を教えるために、第1の学習段階が実行される(ステップ675)。そのために、取得された画像のこの歯に対応する部分を識別するために、歯に関連する取得された情報項目が取得される。そのような情報項目は、この歯に対応する画像の部分を識別するためにセグメンテーション情報と組み合わされ得る。
画像のこの部分は、AIエンジンの訓練に使用される680-1を参照する訓練データセットに追加される。実施形態によれば、画像のタイプはまた、対応する画像部分に関連して、訓練データセットに格納され得る。
次に、取得された画像に表されている歯が、(訓練された後の)AIエンジンを使用して識別される(ステップ685)。
次に、識別された歯を分類または特徴付ける方法をAIエンジンに教えるべく、第2の学習段階が実行され(ステップ690)、すなわち、AIエンジンが歯のクラスおよび/または特性を表す情報項目を歯の描写と関連付けることを可能にする。
そのために、識別された歯に関連する取得された情報項目が取得される。識別された歯および関連する情報項目に対応する画像の部分は、AIエンジンの訓練に使用される680-2を参照する訓練データセットに追加される。実施形態によれば、画像のタイプはまた、対応する画像部分に関連して、訓練データセットに格納され得る。
これらのステップは、取得された画像で識別されたすべての歯について、すべての電子歯科カルテのすべての画像に対して繰り返されることが好ましい(ステップ695)。
特定の実施形態によれば、電子歯科カルテのいくつかは、学習段階が実行された後にAIエンジンを試験するために使用されるように、AIエンジンを訓練するために使用される電子歯科カルテのセットから除去され得る。このような場合、自動カルテ作成システムの効率は、自動カルテ作成システムの出力を期待される応答(すなわち、電子歯科カルテの情報項目)と比較することによって判定することができる。このような評価は、学習段階で実行することもできるため、効率的なレベルに達したらすぐに停止できる。
訓練データセットは、定期的に、例えば毎週または毎月、新しい電子歯科カルテまたは歯科情報システムから取得された更新された電子歯科カルテで更新され得ることに留意されたい。実施形態によれば、自動歯カルテ作成システムは、訓練データセットが更新された後に訓練される。
本発明は、図面および前述の説明において詳細に例示および説明されてきたが、そのような例示および説明は、説明的または例示的であり、限定的ではないと見なされるべきであり、本発明は、開示された実施形態に限定されない。開示された実施形態の他の変形は、図面、開示および添付の特許請求の範囲の研究から、特許請求される発明を実施する際に当業者によって理解および実行され得る。
そのような変形は、特に、本発明の要約および/または添付の特許請求の範囲に記載されている実施形態を組み合わせることに由来し得る。
特に、画像分析は、説明のために、情報の項目が関連付けられている歯の識別に向けられているが、画像分析は、情報項目が関連付けられる任意の関心領域(ROI)の識別に向けることができ、例えば、嚢胞タイプの病理を顎の一部の描写に関連付けることを可能にする。そのような場合、関心領域は、情報項目に従って、例えば、嚢胞の描写に従って、および/または嚢胞を特徴付ける特徴に従って、少なくとも部分的に識別および/または抽出され得る。
特許請求の範囲において、「含む(comprising)」という単語は、他の要素またはステップを除外せず、不定冠詞「a」または「an」は、複数を除外しない。単一のプロセッサまたは他のユニットは、特許請求の範囲に記載されたいくつかの項目の機能を果たすことができる。異なる特徴が相互に異なる従属請求項に記載されているという単なる事実は、これらの特徴の組合せが有利に使用できないことを示すものではない。特許請求の範囲の中のいかなる参照記号も、本発明の範囲を限定するものとして解釈されるべきではない。

Claims (14)

  1. 通信ネットワークを介して複数の歯科情報システムに接続された自動歯科カルテ作成システムを訓練するためのコンピュータ方法であって、前記歯科情報システムのそれぞれは、電子歯科カルテを生成するように構成されており、生成された前記電子歯科カルテのそれぞれは、デジタル画像と対応する当該デジタル画像の少なくとも一部を特徴付ける関連する情報項目とを含み、
    前記情報項目は、
    根とクラウンの下にある部分について、歯が存在するかどうか、根尖周囲病変、根管かどうか、根内の支柱、骨量減少、強直、副鼻腔感染症、および洞床の腫れ、
    並びに、クラウンレベルの部分について、復元するかどうか、3Dの内側~遠位の修復範囲、クラウンと素材の種類、修復中のライナー、修復中の崩壊、および隣接歯間崩壊、
    並びに、レントゲン写真では検出できない特徴について、頬側~舌側の修復範囲、骨折、修復物周辺の漏れ、および修復物周辺のエナメルの破砕、
    のうちの少なくとも1つの項目を含み、
    当該コンピュータ方法は、
    前記通信ネットワークを介して、複数の前記歯科情報システムによって生成された複数の電子歯科カルテを取得するステップであって、複数の前記電子歯科カルテは、複数の患者に関連している、ステップと、
    取得された前記電子歯科カルテのそれぞれについて、
    歯または関心領域を描写する画像の少なくとも一部を抽出し、描写された前記歯または描写された前記関心領域を特徴付ける少なくとも対応する情報項目を取得するステップと、
    抽出された前記画像の少なくとも一部と前記対応する情報項目とを訓練データセットに格納するステップと、
    前記訓練データセットを使用して前記自動歯科カルテ作成システムを訓練するステップと、
    を含むことを特徴とするコンピュータ方法。
  2. 請求項1に記載の方法であって、前記画像の少なくとも一部が抽出される前記画像をフィルタリングするステップをさらに含むことを特徴とする方法。
  3. 請求項1または2に記載の方法であって、歯または関心領域を描写する前記画像の前記抽出された少なくとも一部が、描写された前記歯または描写された前記関心領域を特徴付ける前記対応する情報項目に基づいて自動的に抽出されることを特徴とする方法。
  4. 請求項1から3のいずれか1項に記載の方法であって、前記画像の少なくとも一部が抽出される前記画像のタイプを取得するステップをさらに含み、前記取得された前記画像のタイプは、前記画像の前記対応する少なくとも一部に関連して前記訓練データセットに格納されることを特徴とする方法。
  5. 請求項1から4のいずれか1項に記載の方法であって、前記抽出された画像の少なくとも一部を識別するステップをさらに含み、前記画像の少なくとも一部は、前記画像の少なくとも一部が識別される前記画像に関連する情報項目に応じて識別されることを特徴とする方法。
  6. 請求項1から5のいずれか1項に記載の方法であって、前記電子歯科カルテの少なくとも1つは、少なくとも同じ歯を描写するいくつかのタイプの画像を含み、前記訓練データセットが前記いくつかのタイプの画像のそれぞれの少なくとも一部を含むように、前記抽出するステップおよび前記格納するステップが繰り返されることを特徴とする方法。
  7. 請求項6に記載の方法であって、前記いくつかのタイプは、紫外線画像タイプ、可視光画像タイプ、赤外線画像タイプ、OCT画像タイプ、X線画像タイプ、CBCT画像タイプ、超音波画像タイプ、蛍光画像タイプ、および/または3Dメッシュ画像タイプを含むことを特徴とする方法。
  8. 請求項1から7のいずれか1項に記載の方法であって、前記自動歯科カルテ作成システムが人工知能エンジンを含むことを特徴とする方法。
  9. 請求項8に記載の方法であって、前記人工知能エンジンが少なくとも1つの人工ニューラルネットワークを含むことを特徴とする方法。
  10. 請求項1から9のいずれか1項に記載の方法であって、前記複数の電子歯科カルテのうちの前記電子歯科カルテのそれぞれは、前記通信ネットワークを介してサーバーから取得され、前記サーバーは、前記複数の電子歯科カルテのうちの前記電子歯科カルテを生成した前記歯科情報システムとは異なることを特徴とする方法。
  11. 歯または関心領域を描写する画像の少なくとも一部にカルテデータを自動的に割り当てるための方法であって、
    歯または関心領域を描写する画像の少なくとも一部を取得するステップと、
    請求項1から9のいずれか1項に記載の方法に従って訓練された自動歯科カルテ作成システムを使用して、前記描写された歯または関心領域を特徴付ける情報項目を前記画像の少なくとも一部に割り当てるステップと、を含むことを特徴とする方法。
  12. プログラム可能な装置のためのコンピュータプログラム製品であって、前記コンピュータプログラム製品は、プログラム可能な装置によって前記プログラムがロードおよび実行されるときに、請求項1から11のいずれか1項に記載の方法の各ステップを実行するための命令を含むことを特徴とするコンピュータプログラム製品。
  13. 請求項1から10のいずれか1項に記載の方法の各ステップを実行するコンピュータ用の手段を備えることを特徴とする装置。
  14. 請求項1から9のいずれか1項に記載の方法に従って訓練されることを特徴とする自動歯科カルテ作成システム。
JP2021546700A 2019-02-07 2020-02-07 自動歯カルテ作成システムを訓練するための方法および装置 Active JP7586826B2 (ja)

Applications Claiming Priority (3)

Application Number Priority Date Filing Date Title
US201962802679P 2019-02-07 2019-02-07
US62/802,679 2019-02-07
PCT/EP2020/053129 WO2020161301A1 (en) 2019-02-07 2020-02-07 Method and apparatus for training automatic tooth charting systems

Publications (2)

Publication Number Publication Date
JP2022520197A JP2022520197A (ja) 2022-03-29
JP7586826B2 true JP7586826B2 (ja) 2024-11-19

Family

ID=69526269

Family Applications (1)

Application Number Title Priority Date Filing Date
JP2021546700A Active JP7586826B2 (ja) 2019-02-07 2020-02-07 自動歯カルテ作成システムを訓練するための方法および装置

Country Status (4)

Country Link
US (1) US20220351813A1 (ja)
EP (1) EP3921841A1 (ja)
JP (1) JP7586826B2 (ja)
WO (1) WO2020161301A1 (ja)

Families Citing this family (1)

* Cited by examiner, † Cited by third party
Publication number Priority date Publication date Assignee Title
EP4295750A4 (en) * 2021-02-22 2024-07-24 Panasonic Intellectual Property Management Co., Ltd. ORAL CAVITY CAMERA SYSTEM AND TOOTH IDENTIFICATION METHOD

Citations (3)

* Cited by examiner, † Cited by third party
Publication number Priority date Publication date Assignee Title
WO2016143022A1 (ja) 2015-03-09 2016-09-15 富士通株式会社 歯冠情報取得プログラム、情報処理装置、及び歯冠情報取得方法
JP2017527399A (ja) 2014-09-09 2017-09-21 レイドス イノベイションズ テクノロジー,インコーポレイティド 疾患検出のための装置及び方法
US20180028294A1 (en) 2016-07-27 2018-02-01 James R. Glidewell Dental Ceramics, Inc. Dental cad automation using deep learning

Family Cites Families (9)

* Cited by examiner, † Cited by third party
Publication number Priority date Publication date Assignee Title
US8416984B2 (en) * 2011-01-20 2013-04-09 Carestream Health, Inc. Automatic tooth charting using digital images
US9158889B2 (en) * 2013-04-26 2015-10-13 Oral4D Systems Ltd. Electronic dental charting
US10572625B2 (en) * 2014-04-09 2020-02-25 RealCloud Imaging Inc. Combination dental imaging system and dental practice management and charting system with a bi-directional communication interface
EP4418279A3 (en) * 2015-12-04 2024-11-27 3Shape A/S Deriving tooth condition information for populating digital dental charts
DK3496654T3 (da) * 2016-08-15 2020-08-03 Trophy Dynamisk tandbuekort
US11648094B2 (en) * 2017-03-17 2023-05-16 Nobel Biocare Services Ag Dynamic dental arch map
EP3743010B1 (en) * 2018-01-26 2022-01-12 Align Technology, Inc. Diagnostic intraoral scanning and tracking
US20190313963A1 (en) * 2018-04-17 2019-10-17 VideaHealth, Inc. Dental Image Feature Detection
US11389131B2 (en) * 2018-06-27 2022-07-19 Denti.Ai Technology Inc. Systems and methods for processing of dental images

Patent Citations (3)

* Cited by examiner, † Cited by third party
Publication number Priority date Publication date Assignee Title
JP2017527399A (ja) 2014-09-09 2017-09-21 レイドス イノベイションズ テクノロジー,インコーポレイティド 疾患検出のための装置及び方法
WO2016143022A1 (ja) 2015-03-09 2016-09-15 富士通株式会社 歯冠情報取得プログラム、情報処理装置、及び歯冠情報取得方法
US20180028294A1 (en) 2016-07-27 2018-02-01 James R. Glidewell Dental Ceramics, Inc. Dental cad automation using deep learning

Also Published As

Publication number Publication date
EP3921841A1 (en) 2021-12-15
JP2022520197A (ja) 2022-03-29
WO2020161301A1 (en) 2020-08-13
US20220351813A1 (en) 2022-11-03

Similar Documents

Publication Publication Date Title
US12251253B2 (en) Systems and methods for processing of dental images
US11366985B2 (en) Dental image quality prediction platform using domain specific artificial intelligence
US11189028B1 (en) AI platform for pixel spacing, distance, and volumetric predictions from dental images
Leite et al. Artificial intelligence-driven novel tool for tooth detection and segmentation on panoramic radiographs
US11311247B2 (en) System and methods for restorative dentistry treatment planning using adversarial learning
US20220180447A1 (en) Artificial Intelligence Platform for Dental Claims Adjudication Prediction Based on Radiographic Clinical Findings
US11398013B2 (en) Generative adversarial network for dental image super-resolution, image sharpening, and denoising
US11367188B2 (en) Dental image synthesis using generative adversarial networks with semantic activation blocks
Orhan et al. Evaluation of artificial intelligence for detecting periapical pathosis on cone‐beam computed tomography scans
US11348237B2 (en) Artificial intelligence architecture for identification of periodontal features
US11217350B2 (en) Systems and method for artificial-intelligence-based dental image to text generation
US11357604B2 (en) Artificial intelligence platform for determining dental readiness
US11276151B2 (en) Inpainting dental images with missing anatomy
US20210118132A1 (en) Artificial Intelligence System For Orthodontic Measurement, Treatment Planning, And Risk Assessment
US20200364624A1 (en) Privacy Preserving Artificial Intelligence System For Dental Data From Disparate Sources
US20220012815A1 (en) Artificial Intelligence Architecture For Evaluating Dental Images And Documentation For Dental Procedures
US20200411167A1 (en) Automated Dental Patient Identification And Duplicate Content Extraction Using Adversarial Learning
KR101839789B1 (ko) 치과 영상의 판독 데이터 생성 시스템
US20200387829A1 (en) Systems And Methods For Dental Treatment Prediction From Cross- Institutional Time-Series Information
US20210357688A1 (en) Artificial Intelligence System For Automated Extraction And Processing Of Dental Claim Forms
US20210358604A1 (en) Interface For Generating Workflows Operating On Processing Dental Information From Artificial Intelligence
CN114512221B (zh) 一种牙弓线图像的生成方法、装置及计算机设备
JP7586826B2 (ja) 自動歯カルテ作成システムを訓練するための方法および装置
da Andrade‐Bortoletto et al. Comparison of AI‐Powered Tools for CBCT‐Based Mandibular Incisive Canal Segmentation: A Validation Study
Aldusari et al. The Role of Artificial Intelligence (AI) In Dentistry: Enhancing Diagnosis Accuracy and Treatment

Legal Events

Date Code Title Description
A621 Written request for application examination

Free format text: JAPANESE INTERMEDIATE CODE: A621

Effective date: 20230206

A977 Report on retrieval

Free format text: JAPANESE INTERMEDIATE CODE: A971007

Effective date: 20240327

A131 Notification of reasons for refusal

Free format text: JAPANESE INTERMEDIATE CODE: A131

Effective date: 20240402

A521 Request for written amendment filed

Free format text: JAPANESE INTERMEDIATE CODE: A523

Effective date: 20240617

TRDD Decision of grant or rejection written
A01 Written decision to grant a patent or to grant a registration (utility model)

Free format text: JAPANESE INTERMEDIATE CODE: A01

Effective date: 20240910

A601 Written request for extension of time

Free format text: JAPANESE INTERMEDIATE CODE: A601

Effective date: 20241009

A61 First payment of annual fees (during grant procedure)

Free format text: JAPANESE INTERMEDIATE CODE: A61

Effective date: 20241107

R150 Certificate of patent or registration of utility model

Ref document number: 7586826

Country of ref document: JP

Free format text: JAPANESE INTERMEDIATE CODE: R150