JP7585476B2 - 検証用要素を備えるプラグコネクタ - Google Patents

検証用要素を備えるプラグコネクタ Download PDF

Info

Publication number
JP7585476B2
JP7585476B2 JP2023521033A JP2023521033A JP7585476B2 JP 7585476 B2 JP7585476 B2 JP 7585476B2 JP 2023521033 A JP2023521033 A JP 2023521033A JP 2023521033 A JP2023521033 A JP 2023521033A JP 7585476 B2 JP7585476 B2 JP 7585476B2
Authority
JP
Japan
Prior art keywords
plug
locking element
plug connector
receiving space
housing
Prior art date
Legal status (The legal status is an assumption and is not a legal conclusion. Google has not performed a legal analysis and makes no representation as to the accuracy of the status listed.)
Active
Application number
JP2023521033A
Other languages
English (en)
Other versions
JP2023544058A (ja
Inventor
メルレ ローラント
ギャロー セドリック
ゴダン ステファヌ
Current Assignee (The listed assignees may be inaccurate. Google has not performed a legal analysis and makes no representation or warranty as to the accuracy of the list.)
Norma Germany GmbH
Original Assignee
Rasmussen GmbH
Priority date (The priority date is an assumption and is not a legal conclusion. Google has not performed a legal analysis and makes no representation as to the accuracy of the date listed.)
Filing date
Publication date
Application filed by Rasmussen GmbH filed Critical Rasmussen GmbH
Publication of JP2023544058A publication Critical patent/JP2023544058A/ja
Application granted granted Critical
Publication of JP7585476B2 publication Critical patent/JP7585476B2/ja
Active legal-status Critical Current
Anticipated expiration legal-status Critical

Links

Images

Classifications

    • FMECHANICAL ENGINEERING; LIGHTING; HEATING; WEAPONS; BLASTING
    • F16ENGINEERING ELEMENTS AND UNITS; GENERAL MEASURES FOR PRODUCING AND MAINTAINING EFFECTIVE FUNCTIONING OF MACHINES OR INSTALLATIONS; THERMAL INSULATION IN GENERAL
    • F16LPIPES; JOINTS OR FITTINGS FOR PIPES; SUPPORTS FOR PIPES, CABLES OR PROTECTIVE TUBING; MEANS FOR THERMAL INSULATION IN GENERAL
    • F16L37/00Couplings of the quick-acting type
    • F16L37/08Couplings of the quick-acting type in which the connection between abutting or axially overlapping ends is maintained by locking members
    • F16L37/12Couplings of the quick-acting type in which the connection between abutting or axially overlapping ends is maintained by locking members using hooks, pawls, or other movable or insertable locking members
    • F16L37/14Joints secured by inserting between mating surfaces an element, e.g. a piece of wire, a pin, a chain
    • F16L37/142Joints secured by inserting between mating surfaces an element, e.g. a piece of wire, a pin, a chain where the securing element is inserted tangentially
    • FMECHANICAL ENGINEERING; LIGHTING; HEATING; WEAPONS; BLASTING
    • F16ENGINEERING ELEMENTS AND UNITS; GENERAL MEASURES FOR PRODUCING AND MAINTAINING EFFECTIVE FUNCTIONING OF MACHINES OR INSTALLATIONS; THERMAL INSULATION IN GENERAL
    • F16LPIPES; JOINTS OR FITTINGS FOR PIPES; SUPPORTS FOR PIPES, CABLES OR PROTECTIVE TUBING; MEANS FOR THERMAL INSULATION IN GENERAL
    • F16L37/00Couplings of the quick-acting type
    • F16L37/08Couplings of the quick-acting type in which the connection between abutting or axially overlapping ends is maintained by locking members
    • F16L37/12Couplings of the quick-acting type in which the connection between abutting or axially overlapping ends is maintained by locking members using hooks, pawls, or other movable or insertable locking members
    • F16L37/1235Couplings of the quick-acting type in which the connection between abutting or axially overlapping ends is maintained by locking members using hooks, pawls, or other movable or insertable locking members the connection taking place from inside the pipes
    • FMECHANICAL ENGINEERING; LIGHTING; HEATING; WEAPONS; BLASTING
    • F16ENGINEERING ELEMENTS AND UNITS; GENERAL MEASURES FOR PRODUCING AND MAINTAINING EFFECTIVE FUNCTIONING OF MACHINES OR INSTALLATIONS; THERMAL INSULATION IN GENERAL
    • F16LPIPES; JOINTS OR FITTINGS FOR PIPES; SUPPORTS FOR PIPES, CABLES OR PROTECTIVE TUBING; MEANS FOR THERMAL INSULATION IN GENERAL
    • F16L2201/00Special arrangements for pipe couplings
    • F16L2201/10Indicators for correct coupling
    • FMECHANICAL ENGINEERING; LIGHTING; HEATING; WEAPONS; BLASTING
    • F16ENGINEERING ELEMENTS AND UNITS; GENERAL MEASURES FOR PRODUCING AND MAINTAINING EFFECTIVE FUNCTIONING OF MACHINES OR INSTALLATIONS; THERMAL INSULATION IN GENERAL
    • F16LPIPES; JOINTS OR FITTINGS FOR PIPES; SUPPORTS FOR PIPES, CABLES OR PROTECTIVE TUBING; MEANS FOR THERMAL INSULATION IN GENERAL
    • F16L2201/00Special arrangements for pipe couplings
    • F16L2201/60Identification or marking

Landscapes

  • Engineering & Computer Science (AREA)
  • General Engineering & Computer Science (AREA)
  • Mechanical Engineering (AREA)
  • Details Of Connecting Devices For Male And Female Coupling (AREA)
  • Quick-Acting Or Multi-Walled Pipe Joints (AREA)
  • Connector Housings Or Holding Contact Members (AREA)

Description

本発明は、請求項1の序文に記載のプラグコネクタ、および請求項9に記載のプラグ接続の生成および検証方法に関するものである。
プラグコネクタは、接続される2つの流体導通部品間の正確かつ緊密な接続を保証するためのものである。例えば、貯蔵容器、使用場所、パイプ、キャニスタ接続部、または他の流体ラインなどの接続部品が含まれる。自動車製造においては、確実な組み立てを可能にするため、接続部が正しく組み立てられたかどうかを迅速かつ明確に識別できることが重要である。
このため、通常、プラグコネクタには、正しく接続されているかどうかを簡単に監視できるようにするための安全機能が設けられている。例えば、プラグを固定するためのロック要素の作動中または作動後に、安全針が取り外されなければならないようにすることができる。これにより、安全針が取り外されたか、まだ存在しているかを確認することで、接続が確立されていることを視覚的に素早く確認することができる。しかし、組み立て工程においては、接続が正しく行われたことを機械的に確認し、十分な締め付けを確保する必要がある。
さらに、プラグがプラグコネクタに挿入され固定されたときにのみ見えるように、特にドットや線の形で着色された印を設けることも知られている。
この確認方法の欠点は、技術者が機械的に、あるいは目視で確認する必要があることである。したがって、これらの方法はヒューマンエラーの影響を受けやすい。
そこで、本発明の目的は、従来技術の欠点を克服し、プラグコネクタとプラグとの間の正しい接続を迅速かつ確実に識別することができるプラグ接続を提供することである。
本発明の主な特徴は、請求項1および請求項9の特徴部分に記載されている。実施形態は、請求項2から請求項8および請求項10の主題である。
本発明は、ハウジング、ロック要素および検証要素を備え、ハウジングが、受容空間、接続片および流体が流れることができる導管を備え、ロック要素が、開放位置と締付位置との間において移動可能であり、ロック要素の開放位置においては、プラグを受容空間に挿入することができ、ロック要素の締付位置においては、受容空間に挿入されたプラグを、受容空間内においてロック要素によって締め付けることができる。ここで、検証要素は、ロック要素の開放位置への移動により、ロック要素によって少なくとも部分的に覆われ、ロック要素の締付位置への移動により読み取り可能であり、検証要素が、ハウジングに対して半径方向に突出するタブに取り付けられ、ハウジングの軸方向に向いている
流体が流れることができる導管は、受容空間と接続片とを互いに接続する。
「プラグ」という用語は、ここでは、例えばピンやパイプ端などを含むプラグコネクタによって接続可能なすべての雄型接続要素に対して使用されている。
本発明による設計により、検証要素は、プラグコネクタとプラグとの間で正しい接続が達成された場合にのみ十分に目視でき、従って読み取ることができる。このため、正しい接続が確立されていることを迅速かつ確実に確認することができる。プラグがコネクタに固定されていない場合、ロック要素は検証要素を少なくとも部分的に覆う。つまり、この時点では、検証要素を読み取ることができない。ロック要素は、それに応じて開放位置にある。
あるいは、開放位置においてロック要素が検証要素を完全に覆うように構造的に設けてもよい。
プラグがプラグコネクタに挿入され、ロック要素が締付位置に移動されると、プラグはプラグコネクタに固定される。検証要素は、ロック要素の移動によって解放され、具体的には、検証要素が読み取り可能な程度に開放される。
好ましい実施形態では、接続片はファーツリー(もみの木)構造を有している。そのため、チューブを簡単にスライドさせることができる。ここで、「チューブ」という用語は、特に押出プラスチック製の可撓性チューブに用いられるが、可撓性のないパイプ、ホースまたは同等のものによって形成することも可能である。
接続片は、好ましくは、Oリングの形態の外側シールリングを有し、このリングは、特にもみの木構造の領域に配置される。これにより、チューブと接続片の間のさらなる締め付けが確保される。
接続片上にスライドさせたチューブは、例えばホースクランプなどのクランプ要素によって追加的または代替的に保持することができる。
検証要素は、好ましくは、ハウジングに固定的かつ移動不能に、特に形状嵌合、摩擦係合または一体的に結合して接続される。これにより、プラグコネクタの組み立て前、または組み立て中に検証要素を操作できないことが保証される。
好ましい実施形態では、検証要素は、ハウジングに対して半径方向に突出するタブに取り付けられている。ハウジングに対するタブの半径方向の突出により、検証要素を有するタブに容易に到達することができ、これにより検証要素の読み取りが容易となる。
タブは、好ましくは、ハウジング上に実質的に直交して配置され、したがって、特に、流体導管またはハウジングの長手方向の延長に対しても直交している。タブは、ここでは特にハウジングの外周に配置されている。
検証要素は、好ましくは、ハウジングの軸方向、特にロック要素の方向を向くタブの表面上に配置される。ロック要素を半径方向に移動させることにより、そのように配置されたタブ上の検証要素は、ロック要素の位置に応じて、少なくとも部分的に覆われることができ、または開放されることができる。
プラグは、好ましくは2つの締付要素、保持要素およびロック要素によって受容空間に締め付けられる。プラグが受容空間内にスライドされると、保持要素によってプラグコネクタ内のプラグの第1の締め付けが達成され、保持要素はプラグが後ろにずれるのを防止する。保持要素は、例えば、鎌状または環状のリップとして形成することができる。最終的な安定した締め付けは、ロック要素を閉じること、特に押し下げることで達成される。ロック要素は、特にここではプラグと相互作用し、例えばプラグと掛け金によって接続されることによって実現する。プラグがロック要素で締め付けられると、ロック要素は固定位置に留まり、それにより検証要素は、特にロック要素による正しい締め付けが保証される限り、恒久的に読み取り可能となる。
好ましくは、ロック要素の掛け金により、プラグが受容空間内において固定可能である。プラグコネクタのロック要素と受容空間内に導入されたプラグとの間の掛け金による接続は、簡単で、経済的に生産可能で、かつ安全な固定が可能であることを意味する。ロック要素が掛けられ、プラグがプラグコネクタの受容空間内に正しく組み立てられると、検証要素が読み取れるようになる。
ロック要素は、プラグがプラグコネクタの受容空間に正しく配置され、固定されたときにのみ、締付位置に恒久的に配置することができる。プラグが正しく取り付けられていない場合、ロック要素は連続的に締付位置に配置することができない。ロック要素が締付位置に恒久的に配置されるとは、プラグがプラグコネクタに正しく固定されている限り、この位置が維持されることを意味する。プラグコネクタをプラグから取り外すと、ロック要素が締付位置に恒久的に配置された状態が終了し、取り外された結果、ロック要素が開放位置に戻される。
好ましい実施形態では、ロック要素は、ハウジング半径方向に、開放位置と締付位置との間において移動可能である。特に、開放位置にあるロック要素は、締付位置にある場合よりも、受容空間から半径方向にさらに離間している。特に、開放位置におけるロック要素は、少なくとも部分的に、締付位置におけるよりもさらにハウジングの外側に配置される。
ハウジングおよびタブは、好ましくは、検証要素と一体に形成されている。
代替的な実施形態では、ハウジングおよびタブは、多数の部品で形成され、特に、互いに接着、溶接またはクリップで固定されている。
ここで、検証要素は、好ましくは、特にハウジングの端部の形状を有するリングから半径方向に突出するタブに取り付けられる。特にリングは、受容空間が配置されるプラグコネクタの端部において、ハウジングの形状を有している。また、特に、リングは受容空間が配置されたハウジングの端部においてハウジングに接続されている。好ましくは、リングはハウジングの端部に平らに接続される。
好ましい実施形態では、検証要素が機械読み取り可能である。これにより、プラグコネクタが正しく締め付けられているかどうかを確認する際、セキュリティ機能が正しく読み取れないことによるヒューマンエラーを回避することができる。また、自動的な確認も実行することができる。
特に好ましくは、検証要素が、光学的情報に基づいて機械読み取り可能なコード、特にバーコードまたはQRコード(登録商標)を有する。バーコードは、ここではラインコードを意味すると理解される。QRコード(登録商標)は、光学的差異に基づいて機械読み取り可能な二次元パターンであり、通常、関連情報に電気的に接続または接続可能である。これにより、検証要素を備えたプラグコネクタを、容易かつ低コストで製造することができる。
検証要素の機械読み取り可能なコードは、好ましくは1Dまたは2Dコードである。
特に光学的情報に基づく検証要素の機械読み取りは、例えばスキャナを用いて行うことができる。
代替的な実施形態では、検証要素は、機械読み取り可能なチップ、特にロック要素が配置されたタブの側からのみ読み取り可能なRFIDチップを有する。
好ましい実施形態では、プラグコネクタは、特にハウジングまたはロック要素に固定されるハンドルを有する。これにより、プラグコネクタの組み立てと取り扱いが容易になる。
好ましい実施形態では、少なくとも、特にOリングの形状をした第1のシールが、導管内のハウジングに配置される。これにより、プラグコネクタとプラグの間の気密性が高まる。
好ましい更なる展開としては、特にOリングの形状をした第2のシールがハウジング内に配置される。特に、第1のシールと第2のシールの間にはスペーサが配置される。これにより、プラグコネクタと固定されたプラグの間の気密性がさらに向上する。さらに、シールはスペーサによって所定の位置に保持される。
プラグコネクタの構成部品、特にハウジングとロック要素、さらに検証要素のタブは、プラスチックで形成されている。
本発明は、さらに、記載された順序で以下の方法ステップを含むプラグ接続を製造および検証するための方法に関するものである。
- 本発明によるプラグコネクタを提供するステップ。
- プラグコネクタの受容空間にプラグを挿入するステップ。
- ロック要素を開放位置から締付位置に移動させ、締付位置にあるロック要素が受容空間内のプラグと相互作用し、受容空間内においてプラグを締め付けるステップ。
- プラグコネクタ上の検証要素を読み取ることによって、受容空間内のプラグの締め付けを確認するステップ。
ロック要素の開放位置から締付位置への移動により、検証要素は少なくとも部分的に覆われた配置から解放され、読み取り可能となる。ロック要素がプラグと相互作用して締め付けると同時に、ロック要素は締付位置に継続的に留まるので、検証要素を容易に読み取ることができる。露出した検証要素を読み取ることで、プラグコネクタとプラグの間の接続が正しく継続的に行われることが確認される。
好ましい実施形態では、検証要素が機械読取式である。これにより、ヒューマンエラーの結果として誤った接続が行われ、誤って肯定的に検証される可能性を低減することができる。
プラグコネクタに関連して説明した特徴、利点および方法ステップは、プラグコネクタを用いたプラグ接続の製造方法に対しても同様に転用することができる。
本発明の更なる特徴、詳細および利点は、特許請求の範囲の文言および図面に基づく以下の例示的な実施形態の説明から明らかとなる。
開放位置にあるロック要素を備えたプラグコネクタの斜視図である。 締付位置にあるロック要素を備えたプラグコネクタの斜視図である。 開放位置にあるロック要素を備えたプラグコネクタの縦断面図である。 締付位置にあるロック要素を備えたプラグコネクタの縦断面図である。 検証要素を備えたプラグコネクタの実施形態を2つに分けた分解斜視図である。 図5によるプラグコネクタの斜視図である。
図1は、ハウジング2と、開放位置にあり少なくとも部分的に検証要素4を覆っているロック要素3とを備えたプラグコネクタ1の斜視図である。ハウジング2は、受容空間5と接続片6を有する。例として示した実施形態では、接続片6は、ファーツリー構造7を有し、その上にOリングの形状の外側シールが取り付けられている。
検証要素4は、ハウジング2に対して半径方向に突出するタブ9に、光学的に読み取り可能なコードの形態で取り付けられる。特に、検証要素4は、ハウジング2の軸方向に向けられ、したがってハウジング2の長手方向の延伸方向に対し平行で、ロック要素3の方向に向けられるタブ9の面上に配置される。図示の実施形態では、コードはQRコード(登録商標)で構成されている。
ハウジング2には、取り扱いをより簡単にするためのハンドル10が取り付けられている。
図2は、ロック要素3が締付位置にあるプラグコネクタ1の斜視図である。ロック要素3が、図1に示す開放位置から、ハウジングの半径方向において、受容空間に向かって下方に押されると、受容空間においてプラグを締め付けることができる。同時に、検証要素3が露出する。ロック要素のこの締付位置は、ロック要素と図示しないプラグとの相互作用によって連続的に可能となり、正しい締め付けを確認するために検証要素を読み取ることができるようになる。ロック要素3の締付位置では、検証要素4はこのように読み取ることができる。
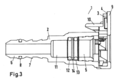
図3は、プラグコネクタ1の縦断面を示しており、ロック要素は開放位置にあり、タブ9上の検証要素4は少なくとも部分的に覆われており、特に読み取り不可能な程度に覆われている。
受容空間5と接続片6に加え、ハウジングは、流体が流れることができ、受容空間5と接続片6を互いに接続する導管11を有する。受容空間5、接続片6および導管11は、流体が流れることができるように互いに接続されている。
第1および第2のシール12,13が、特にOリングの形状で受容空間5内に設けられ、これらはスペーサ14によって互いに間隔を置けて配置されている。
図4にもプラグコネクタ1の縦断面を示しているが、図3とは対照的に、ロック要素が締付位置にある状態である。ここでは、プラグ15が受容空間5に挿入されている。ロック要素3を半径方向に移動させることにより、プラグ15と相互作用し、特にプラグ15と掛け金によって接続される。こうしてプラグは、プラグコネクタ1の受容空間5内で確実かつ強固に固定され、同時にロック要素3が締付位置で固定される。ロック要素3の締付位置では、検証要素4はもはやロック要素によって覆われておらず、読み取り可能な状態になっている。これにより、プラグコネクタ1におけるプラグ15の締め付けを容易に確認することができる。
図5は、図6によるプラグコネクタ1の分解斜視図である。ここで、ハウジング2およびタブ9は、互いに別々に製造され、特に、接着、溶接またはクリップにより結合されている。図5および図6におけるロック要素3は開放位置にあり、それによって検証要素4は少なくとも部分的に覆われており、特に機械で読み取ることができない。
図5からわかるように、本実施形態における検証要素は、特にプラグコネクタ1の受容空間5が配置された端部においてハウジング2の形状を有するリング16から半径方向に突出するタブに取り付けられている。図6に示すように、リング16は、受容空間5が配置されたハウジング2の端部においてハウジング2に接続されている。
本発明は、上述したいずれの実施形態にも限定されず、様々に変形することができる。
構造的詳細、空間的配置および方法ステップを含む、特許請求の範囲、説明および図面から明らかなすべての特徴および利点は、個々に、および多種多様な組み合わせの両方において、本発明に必須であり得る。
1 プラグコネクタ
2 ハウジング
3 ロック要素
4 検証要素
5 受容空間
6 接続片
7 ファーツリー(もみの木)構造
8 外側シール
9 タブ
10 ハンドル
11 導管
12 第1のシール
13 第2のシール
14 スペーサ
15 プラグ
16 リング

Claims (9)

  1. ハウジング(2)、ロック要素(3)および検証要素(4)を備え、前記ハウジングが、受容空間(5)、接続片(6)および流体が流れることができる導管(11)を備え、前記ロック要素(3)が開放位置と締付位置との間において移動可能であり、前記ロック要素(3)の前記開放位置においては、プラグを前記受容空間(5)に挿入することができ、前記ロック要素(3)の前記締付位置においては、前記受容空間(5)に挿入されたプラグを、前記受容空間(5)内において前記ロック要素(3)によって締め付けることができ、前記検証要素(4)が、前記ロック要素(3)の前記開放位置への移動により少なくとも部分的に前記ロック要素に覆われ、前記ロック要素(3)の前記締付位置への移動により読み取り可能であり、
    前記検証要素(4)が、前記ハウジング(2)に対して半径方向に突出するタブ(9)に取り付けられ、前記検証要素(4)が、前記ハウジングの軸方向に向いているプラグコネクタ(1)。
  2. 前記ロック要素(3)の掛け金により、プラグが前記受容空間(5)内において固定可能である請求項1に記載のプラグコネクタ(1)。
  3. 前記ロック要素(3)が、前記ハウジング(2)半径方向に、前記開放位置と前記締付位置との間において移動可能である請求項1または請求項に記載のプラグコネクタ(1)。
  4. 前記ハウジング(2)およびタブ(9)が、前記検証要素(4)と一体に形成されている請求項1から請求項のいずれか1項に記載のプラグコネクタ(1)。
  5. 前記検証要素(4)が、機械読み取り可能である請求項1から請求項のいずれか1項に記載のプラグコネクタ(1)。
  6. 前記検証要素(4)が、光学的情報に基づいて機械読み取り可能なコードを有する請求項1から請求項のいずれか1項に記載のプラグコネクタ(1)。
  7. 前記コードが、バーコードまたはQRコード(登録商標)である請求項に記載のプラグコネクタ(1)。
  8. 請求項1に記載のプラグコネクタ(1)を提供するステップと、
    前記プラグコネクタ(1)の前記受容空間(5)にプラグ(15)を挿入するステップと、
    前記ロック要素(3)を開放位置から締付位置に移動させ、前記締付位置にある前記ロック要素(3)が、前記受容空間(5)内の前記プラグ(15)と相互作用し該受容空間(5)内において前記プラグを締め付けるステップと、
    前記プラグコネクタ(1)上の前記検証要素(4)を読み取ることによって、前記受容空間(5)内の前記プラグ(15)の締め付けを確認するステップとを、
    記載の順序で含むプラグ接続の生成および検証方法。
  9. 前記検証要素(4)が機械読取式である請求項に記載の方法。
JP2023521033A 2020-12-18 2021-11-10 検証用要素を備えるプラグコネクタ Active JP7585476B2 (ja)

Applications Claiming Priority (3)

Application Number Priority Date Filing Date Title
DE102020134230.6A DE102020134230A1 (de) 2020-12-18 2020-12-18 Steckverbinder mit Verifizierungselement
DE102020134230.6 2020-12-18
PCT/EP2021/081295 WO2022128266A1 (de) 2020-12-18 2021-11-10 Steckverbinder mit verifizierungselement

Publications (2)

Publication Number Publication Date
JP2023544058A JP2023544058A (ja) 2023-10-19
JP7585476B2 true JP7585476B2 (ja) 2024-11-18

Family

ID=78770585

Family Applications (1)

Application Number Title Priority Date Filing Date
JP2023521033A Active JP7585476B2 (ja) 2020-12-18 2021-11-10 検証用要素を備えるプラグコネクタ

Country Status (7)

Country Link
US (1) US20240102594A1 (ja)
EP (1) EP4264107B1 (ja)
JP (1) JP7585476B2 (ja)
KR (1) KR102808597B1 (ja)
CN (1) CN116490716A (ja)
DE (1) DE102020134230A1 (ja)
WO (1) WO2022128266A1 (ja)

Families Citing this family (3)

* Cited by examiner, † Cited by third party
Publication number Priority date Publication date Assignee Title
US12085207B2 (en) 2021-09-29 2024-09-10 Norma U.S. Holding Llc Fluid line quick connector with retainer and data matrix
US12104729B2 (en) 2022-08-30 2024-10-01 A. Raymond Et Cie Quick connector verification system and related method of use
EP4368867B1 (en) 2022-11-14 2025-10-29 Oetiker NY, Inc. Verification device for a fluid connection assembly

Citations (5)

* Cited by examiner, † Cited by third party
Publication number Priority date Publication date Assignee Title
JP2011094668A (ja) 2009-10-28 2011-05-12 Nifco Inc コネクタ
JP2018535524A (ja) 2015-11-24 2018-11-29 ティーイー・コネクティビティ・コーポレイションTE Connectivity Corporation 記録可能な位置保証を有する電気コネクタ
US20190333420A1 (en) 2018-04-30 2019-10-31 Fastest, Inc. Quick connect fluid connector with tube variation tolerance and connection verification
JP2020183813A (ja) 2019-05-07 2020-11-12 ア レイモン エ シーA. Raymond Et Cie 確認タブを有するクイックコネクタ組立品
WO2021042148A1 (de) 2019-09-03 2021-03-11 Henn Gmbh & Co Kg. Steckverbinder zum verbinden von leitungen für flüssige oder gasförmige medien

Family Cites Families (10)

* Cited by examiner, † Cited by third party
Publication number Priority date Publication date Assignee Title
FR2827364B1 (fr) * 2001-07-12 2007-04-20 Legris Sa Connecteur rapide
DE202012102296U1 (de) * 2012-06-21 2012-07-17 Henn Gmbh & Co. Kg Steckverbindung mit einer Kontrollvorrichtung
DE102012013305B4 (de) 2012-07-04 2016-09-08 A. Kayser Automotive Systems Gmbh Kupplung mit Fehlmontageschutz
EP3786506B1 (en) * 2017-08-14 2023-02-01 Oetiker NY, Inc. Quick connect connection assembly with indicator tab
DE102018219440A1 (de) 2018-11-14 2020-05-14 Fränkische Industrial Pipes GmbH & Co. KG Verbindungseinheit
US11796099B2 (en) * 2019-08-22 2023-10-24 Cooper-Standard Automotive Inc. Connector having a pilot with an indicator
AT523066B1 (de) * 2020-05-27 2021-05-15 Henn Gmbh & Co Kg Steckverbinder zum Verbinden von Leitungen für flüssige oder gasförmige Medien
DE202020103903U1 (de) * 2020-07-06 2020-07-13 TI Automotive (Fuldabrück) GmbH Verbinder zum Verbinden zweier fluidführender Elemente
US11698157B2 (en) * 2020-07-24 2023-07-11 Cooper-Standard Automotive Inc. Quick connector latch verification utilizing a scannable code
DE102020130213A1 (de) * 2020-11-16 2022-05-19 Fränkische Industrial Pipes GmbH & Co. KG Fluidverbindungseinheit

Patent Citations (5)

* Cited by examiner, † Cited by third party
Publication number Priority date Publication date Assignee Title
JP2011094668A (ja) 2009-10-28 2011-05-12 Nifco Inc コネクタ
JP2018535524A (ja) 2015-11-24 2018-11-29 ティーイー・コネクティビティ・コーポレイションTE Connectivity Corporation 記録可能な位置保証を有する電気コネクタ
US20190333420A1 (en) 2018-04-30 2019-10-31 Fastest, Inc. Quick connect fluid connector with tube variation tolerance and connection verification
JP2020183813A (ja) 2019-05-07 2020-11-12 ア レイモン エ シーA. Raymond Et Cie 確認タブを有するクイックコネクタ組立品
WO2021042148A1 (de) 2019-09-03 2021-03-11 Henn Gmbh & Co Kg. Steckverbinder zum verbinden von leitungen für flüssige oder gasförmige medien

Also Published As

Publication number Publication date
EP4264107A1 (de) 2023-10-25
WO2022128266A1 (de) 2022-06-23
KR102808597B1 (ko) 2025-05-15
DE102020134230A1 (de) 2022-06-23
US20240102594A1 (en) 2024-03-28
EP4264107B1 (de) 2025-12-31
KR20230058515A (ko) 2023-05-03
CN116490716A (zh) 2023-07-25
JP2023544058A (ja) 2023-10-19

Similar Documents

Publication Publication Date Title
JP7585476B2 (ja) 検証用要素を備えるプラグコネクタ
KR20230156131A (ko) 검증이 있는 퀵 커넥터
JP7326386B2 (ja) 2つの流体伝導要素を接続するためのコネクタ
CN113970024B (zh) 利用可扫描代码的快速连接器闩锁验证
KR102037381B1 (ko) 센서 하우징과 이를 위한 래칭 기구
US20190178429A1 (en) Connector for connection between two fluid-conveying elements
EP1909016B1 (en) Quick connector coupling
JP5054930B2 (ja) 急速継手用の冗長ラッチ/確認機構
CN102639915A (zh) 抗旋转抓爪环
US12163610B2 (en) Quick connector with verification
US7104571B2 (en) Connector clip for verifying complete connection between a connector and a pipe
US12078274B2 (en) Connection unit for connecting fluid lines
CN102667293A (zh) 偏置释放筒
JP2006292166A (ja) コネクタ装置及びチェッカー
RU2536461C2 (ru) Муфта с активируемым уплотнением
CN117836551A (zh) 带验证的汽车行业协会连接器组件
JP5738308B2 (ja) クイックコネクタ式結合器取付具
US20240159340A1 (en) Connector with guiding components
US20050200126A1 (en) Connecting device for fluid conduits
CN104755741B (zh) 用于输送燃料的装置
CN1908496B (zh) 用于快速连接器的拉动接头检验器组件
JP2013044430A (ja) 圧力管路のための接続装置
KR102552444B1 (ko) 호스연결용 조립식 콜렛 및 콜렛 제작방법
JP2025165863A (ja) 柔軟な角度位置を有する連結ソケットおよびその製造
KR20220002315U (ko) 퀵 커넥터

Legal Events

Date Code Title Description
A621 Written request for application examination

Free format text: JAPANESE INTERMEDIATE CODE: A621

Effective date: 20230405

A131 Notification of reasons for refusal

Free format text: JAPANESE INTERMEDIATE CODE: A131

Effective date: 20240508

A977 Report on retrieval

Free format text: JAPANESE INTERMEDIATE CODE: A971007

Effective date: 20240516

A521 Request for written amendment filed

Free format text: JAPANESE INTERMEDIATE CODE: A523

Effective date: 20240806

TRDD Decision of grant or rejection written
A01 Written decision to grant a patent or to grant a registration (utility model)

Free format text: JAPANESE INTERMEDIATE CODE: A01

Effective date: 20241029

A61 First payment of annual fees (during grant procedure)

Free format text: JAPANESE INTERMEDIATE CODE: A61

Effective date: 20241106

R150 Certificate of patent or registration of utility model

Ref document number: 7585476

Country of ref document: JP

Free format text: JAPANESE INTERMEDIATE CODE: R150