JP7581335B2 - ガス密度リレーの改造方法、オンラインセルフチェック機能を有するガス密度リレー及びそのチェック方法 - Google Patents

ガス密度リレーの改造方法、オンラインセルフチェック機能を有するガス密度リレー及びそのチェック方法 Download PDF

Info

Publication number
JP7581335B2
JP7581335B2 JP2022515059A JP2022515059A JP7581335B2 JP 7581335 B2 JP7581335 B2 JP 7581335B2 JP 2022515059 A JP2022515059 A JP 2022515059A JP 2022515059 A JP2022515059 A JP 2022515059A JP 7581335 B2 JP7581335 B2 JP 7581335B2
Authority
JP
Japan
Prior art keywords
gas density
density relay
temperature
value
control unit
Prior art date
Legal status (The legal status is an assumption and is not a legal conclusion. Google has not performed a legal analysis and makes no representation as to the accuracy of the status listed.)
Active
Application number
JP2022515059A
Other languages
English (en)
Other versions
JP2022547139A (ja
Inventor
▲海▼勇 金
▲鉄▼新 夏
小▲ベン▼ 黄
正操 郭
▲敏▼ 常
▲楽▼▲楽▼ 王
▲偉▼ 曾
叶弘 ▲呉▼
Original Assignee
上▲海▼▲楽▼研▲電▼▲気▼有限公司
Priority date (The priority date is an assumption and is not a legal conclusion. Google has not performed a legal analysis and makes no representation as to the accuracy of the date listed.)
Filing date
Publication date
Priority claimed from CN201910830172.4A external-priority patent/CN110530758B/zh
Priority claimed from CN201910830140.4A external-priority patent/CN110542852B/zh
Priority claimed from CN201910830184.7A external-priority patent/CN110441195B/zh
Application filed by 上▲海▼▲楽▼研▲電▼▲気▼有限公司 filed Critical 上▲海▼▲楽▼研▲電▼▲気▼有限公司
Publication of JP2022547139A publication Critical patent/JP2022547139A/ja
Application granted granted Critical
Publication of JP7581335B2 publication Critical patent/JP7581335B2/ja
Active legal-status Critical Current
Anticipated expiration legal-status Critical

Links

Images

Classifications

    • GPHYSICS
    • G05CONTROLLING; REGULATING
    • G05DSYSTEMS FOR CONTROLLING OR REGULATING NON-ELECTRIC VARIABLES
    • G05D16/00Control of fluid pressure
    • G05D16/04Control of fluid pressure without auxiliary power
    • G05D16/06Control of fluid pressure without auxiliary power the sensing element being a flexible membrane, yielding to pressure, e.g. diaphragm, bellows, capsule
    • G05D16/0616Control of fluid pressure without auxiliary power the sensing element being a flexible membrane, yielding to pressure, e.g. diaphragm, bellows, capsule the sensing element being a bellow
    • GPHYSICS
    • G01MEASURING; TESTING
    • G01NINVESTIGATING OR ANALYSING MATERIALS BY DETERMINING THEIR CHEMICAL OR PHYSICAL PROPERTIES
    • G01N9/00Investigating density or specific gravity of materials; Analysing materials by determining density or specific gravity
    • G01N9/002Investigating density or specific gravity of materials; Analysing materials by determining density or specific gravity using variation of the resonant frequency of an element vibrating in contact with the material submitted to analysis
    • GPHYSICS
    • G01MEASURING; TESTING
    • G01NINVESTIGATING OR ANALYSING MATERIALS BY DETERMINING THEIR CHEMICAL OR PHYSICAL PROPERTIES
    • G01N9/00Investigating density or specific gravity of materials; Analysing materials by determining density or specific gravity
    • G01N9/36Analysing materials by measuring the density or specific gravity, e.g. determining quantity of moisture
    • GPHYSICS
    • G01MEASURING; TESTING
    • G01RMEASURING ELECTRIC VARIABLES; MEASURING MAGNETIC VARIABLES
    • G01R31/00Arrangements for testing electric properties; Arrangements for locating electric faults; Arrangements for electrical testing characterised by what is being tested not provided for elsewhere
    • G01R31/327Testing of circuit interrupters, switches or circuit-breakers
    • G01R31/3271Testing of circuit interrupters, switches or circuit-breakers of high voltage or medium voltage devices
    • G01R31/3275Fault detection or status indication
    • GPHYSICS
    • G05CONTROLLING; REGULATING
    • G05DSYSTEMS FOR CONTROLLING OR REGULATING NON-ELECTRIC VARIABLES
    • G05D16/00Control of fluid pressure
    • G05D16/20Control of fluid pressure characterised by the use of electric means
    • G05D16/2006Control of fluid pressure characterised by the use of electric means with direct action of electric energy on controlling means
    • GPHYSICS
    • G05CONTROLLING; REGULATING
    • G05DSYSTEMS FOR CONTROLLING OR REGULATING NON-ELECTRIC VARIABLES
    • G05D23/00Control of temperature
    • G05D23/19Control of temperature characterised by the use of electric means
    • G05D23/1919Control of temperature characterised by the use of electric means characterised by the type of controller
    • HELECTRICITY
    • H01ELECTRIC ELEMENTS
    • H01HELECTRIC SWITCHES; RELAYS; SELECTORS; EMERGENCY PROTECTIVE DEVICES
    • H01H33/00High-tension or heavy-current switches with arc-extinguishing or arc-preventing means
    • H01H33/02Details
    • H01H33/53Cases; Reservoirs, tanks, piping or valves, for arc-extinguishing fluid; Accessories therefor, e.g. safety arrangements, pressure relief devices
    • H01H33/56Gas reservoirs
    • H01H33/563Gas reservoirs comprising means for monitoring the density of the insulating gas
    • HELECTRICITY
    • H01ELECTRIC ELEMENTS
    • H01HELECTRIC SWITCHES; RELAYS; SELECTORS; EMERGENCY PROTECTIVE DEVICES
    • H01H35/00Switches operated by change of a physical condition
    • H01H35/24Switches operated by change of fluid pressure, by fluid pressure waves, or by change of fluid flow
    • H01H35/26Details
    • HELECTRICITY
    • H01ELECTRIC ELEMENTS
    • H01HELECTRIC SWITCHES; RELAYS; SELECTORS; EMERGENCY PROTECTIVE DEVICES
    • H01H35/00Switches operated by change of a physical condition
    • H01H35/24Switches operated by change of fluid pressure, by fluid pressure waves, or by change of fluid flow
    • H01H35/26Details
    • H01H35/28Compensation for variation of ambient pressure or temperature
    • GPHYSICS
    • G01MEASURING; TESTING
    • G01NINVESTIGATING OR ANALYSING MATERIALS BY DETERMINING THEIR CHEMICAL OR PHYSICAL PROPERTIES
    • G01N9/00Investigating density or specific gravity of materials; Analysing materials by determining density or specific gravity
    • G01N9/002Investigating density or specific gravity of materials; Analysing materials by determining density or specific gravity using variation of the resonant frequency of an element vibrating in contact with the material submitted to analysis
    • G01N2009/006Investigating density or specific gravity of materials; Analysing materials by determining density or specific gravity using variation of the resonant frequency of an element vibrating in contact with the material submitted to analysis vibrating tube, tuning fork
    • GPHYSICS
    • G01MEASURING; TESTING
    • G01NINVESTIGATING OR ANALYSING MATERIALS BY DETERMINING THEIR CHEMICAL OR PHYSICAL PROPERTIES
    • G01N9/00Investigating density or specific gravity of materials; Analysing materials by determining density or specific gravity
    • G01N9/26Investigating density or specific gravity of materials; Analysing materials by determining density or specific gravity by measuring pressure differences
    • GPHYSICS
    • G01MEASURING; TESTING
    • G01RMEASURING ELECTRIC VARIABLES; MEASURING MAGNETIC VARIABLES
    • G01R31/00Arrangements for testing electric properties; Arrangements for locating electric faults; Arrangements for electrical testing characterised by what is being tested not provided for elsewhere
    • G01R31/327Testing of circuit interrupters, switches or circuit-breakers
    • G01R31/3271Testing of circuit interrupters, switches or circuit-breakers of high voltage or medium voltage devices

Landscapes

  • Physics & Mathematics (AREA)
  • General Physics & Mathematics (AREA)
  • Fluid Mechanics (AREA)
  • Engineering & Computer Science (AREA)
  • Automation & Control Theory (AREA)
  • Analytical Chemistry (AREA)
  • Life Sciences & Earth Sciences (AREA)
  • Chemical & Material Sciences (AREA)
  • Health & Medical Sciences (AREA)
  • Biochemistry (AREA)
  • General Health & Medical Sciences (AREA)
  • Immunology (AREA)
  • Pathology (AREA)
  • Gas-Insulated Switchgears (AREA)
  • Investigating Or Analyzing Materials By The Use Of Electric Means (AREA)
  • Measuring Fluid Pressure (AREA)

Description

本発明は電力技術分野に関し、具体的に高圧、中圧の電気機器に応用され、オンラインセルフチェック機能を有するガス密度リレー及びそのチェック方法、並びにガス密度リレーの改造方法に関する。
現在、SF6(六フッ化硫黄)電気機器は既に電力部門、産業および鉱業企業に広く応用され、電力業界の急速な発展を促進する。近年、経済の急速な発展に伴い、中国の電力システムの容量が急激に拡大し、SF6電気機器の使用量はますます多くなる。SF6ガスの高圧電気機器における作用は消弧及び絶縁であり、高圧電気機器内のSF6ガスの密度の低下及び微水分の含有量が基準を超えると、SF6高圧電気機器の安全稼働に深刻な影響を与える。1)SF6ガスの密度がある程度まで低下すると、絶縁及び消弧の性能の喪失を招く。2)いくつかの金属物の関与で、SF6ガスは高温200℃以上の温度で水と加水分解反応を発生させることができ、活性なHF及びSOFを生成し、絶縁材及び金属材を腐食するとともに、大量の熱量を生成し、エアチャンバーの圧力を上昇させる。3)温度が低下する場合に、過剰な水分は結露水を形成する可能性があり、絶縁材の表面の絶縁強度を著しく低下させ、さらにフラッシュオーバーし、深刻な危害をもたらす。したがって、電力網運転プロトコルは、機器の稼働前及び稼働中にいずれもSF6ガスの密度及び含水量を定期的に検出しなければならないと強制的に規定される。
無人変電所のネットワーク化、デジタル化方向への発展及び遠隔制御、遠隔測定への要求の継続的な強化に伴い、SF6電気機器のガス密度及び微水分含有量状態のオンライン監視について重要な現実的意義を有する。中国のスマートグリッドの継続的な発展に伴い、スマート高圧電気機器はスマート変電所の重要な構成部分及び重要なノードとして、スマートグリッドの安全に重要な役割を果たす。高圧電気機器は、現在SF6ガス絶縁装置であることが多く、ガス密度が(例えば漏れなどに起因して)低下すると、機器の電気性能に深刻な影響を与え、安全稼働に深刻なリスクをもたらす。現在、SF6高圧電気機器におけるガス密度値をオンライン監視するのは、既に非常に一般的であり、このためガス密度監視システム(ガス密度リレー)の応用は急速に発展している。なお、現在のガス密度監視システム(ガス密度リレー)は基本的に以下のとおりである。1)遠隔伝送式SF6ガス密度リレーを用いて密度、圧力及び温度の収集、アップロードを実現し、ガス密度のオンライン監視を実現する。2)ガス密度トランスミッターを用いて密度、圧力及び温度の収集、アップロードを実現し、ガス密度のオンライン監視を実現する。SF6ガス密度リレーはコア及び重要な部品である。しかし、高圧変電所の現場で稼働する環境が悪く、特に電磁干渉が非常に強いため、現在使用されているガス密度監視システム(ガス密度リレー)において、その遠隔伝送式SF6ガス密度リレーは機械式密度リレー及び電子遠隔伝送部分から構成されるものであり、また、ガス密度トランスミッターを用いる電力網システムにおいて、いずれも従来の機械式密度リレーを保留する。該機械式密度リレーは一組、二組又は三組の機械接点を有し、圧力が警報、閉鎖又は過圧に達した状態で、情報を接点接続回路を介して対象機器端末に伝送し、機器の安全稼働を保証することができる。同時に、監視システムはさらに安全で信頼性の高い回路伝送機能を備え、リアルタイムデータの遠隔データ読み取り及び情報監視を実現するために有効なプラットフォームを構築し、圧力、温度、密度等の情報を対象機器(例えばコンピュータ端末)にタイムリーに伝送してオンライン監視を実現することができる。
電気機器におけるガス密度リレーを定期的にチェックすることは、未然に防止し、電気機器が安全で確実に稼働することを保証する必要な措置である。「電力予防性試験規定」及び「電力生産の重大な事故を防止する二十五項の重点要求」はいずれもガス密度リレーを定期的にチェックすることを要求する。実際の稼働状況から見ると、ガス密度リレーを定期的にチェックすることは電力機器の安全、確実な稼働を保障する必要な手段の1つである。したがって、現在ガス密度リレーのチェックは電力システムにおいて非常に重視され普及し、各電力供給会社、発電所、大型工場鉱企業でいずれも実施される。なお、電力供給会社、発電所、大型工場鉱企業はガス密度リレーの現場チェック検出作業を完了するために試験者、機器車両及び高価値のSF6ガスを配置する必要がある。検出時の停電営業損失が含まれ、大まかに計算すると、各高圧スイッチステーションの毎年に割り当てられた検出費用は約数万から数十万元程度である。また、検出者の現場チェックは操作を規範化しないと、潜在的な安全リスクが存在する。このため、従来のガス密度セルフチェックガス密度リレー、特にガス密度オンラインセルフチェックガス密度リレー又はシステムにおいて、革新を行う必要があり、ガス密度オンライン監視を実現するガス密度リレー又は構成された監視システムにガス密度リレーのチェック機能を更に備えさせ、さらに(機械式)ガス密度リレーの定期的なチェック作業を完了する。
本発明は上記技術背景に提供された問題を解決するために、ガス密度リレーの改造方法、オンラインセルフチェック機能を有するガス密度リレー及びそのチェック方法を提供することを目的とする。
上記目的を達成するために、本発明は以下の技術的解決手段を採用する。
本願の第1態様は、オンラインセルフチェック機能を有するガス密度リレー(又はガス密度監視装置)を提供し、ガス密度リレー本体、ガス密度検出センサ、温度調節機構、オンラインチェック接点信号サンプリングユニット及び知能制御ユニットを含み、
前記温度調節機構は、温度調整可能な調節機構であり、前記ガス密度リレー本体に接点信号動作を発生させるように、前記ガス密度リレー本体の温度補償素子の温度昇降を調節するように配置され、
前記ガス密度検出センサは、前記ガス密度リレー本体に連通し、
前記オンラインチェック接点信号サンプリングユニットは、前記ガス密度リレー本体に直接的又は間接的に接続され、前記ガス密度リレー本体の接点が動作する時に生成される接点信号をサンプリングするように配置され、
前記知能制御ユニットは、それぞれ前記ガス密度検出センサ、前記温度調節機構及び前記オンラインチェック接点信号サンプリングユニットに接続され、前記温度調節機構の制御、圧力値収集及び温度値収集、及び/又はガス密度値収集、並びに前記ガス密度リレー本体の接点信号動作値及び/又は接点信号戻り値の検出を完了するように配置され、
ここで、前記接点信号は警報、及び/又は閉鎖を含む。
好ましくは、前記ガス密度リレー本体は、バイメタルシート補償のガス密度リレー、ガス補償のガス密度リレー、バイメタルシート及びガス補償混合型のガス密度リレー、完全機械のガス密度リレー、デジタル型ガス密度リレー、機械及びデジタル結合型のガス密度リレー、指針表示付きのガス密度リレー、デジタル表示型ガス密度リレー、表示又は指示なしのガス密度スイッチ、SF6ガス密度リレー、SF6混合ガス密度リレー、N2ガス密度リレーを含むが、これらに限定されない。
好ましくは、前記ガス密度リレー本体は、ケース、及び前記ケース内に設けられたベース、圧力検出器、温度補償素子、少なくとも1つの信号発生器を含み、ここで、前記信号発生器は、マイクロスイッチ又は磁気アシスト式電気接点を含み、前記ガス密度リレー本体は、前記信号発生器を介して接点信号を出力し、前記圧力検出器はバーデン管又は波形管を含み、前記温度補償素子は温度補償シート又はケース内に封止されたガスを採用する。
より好ましくは、前記オンラインチェック接点信号サンプリングユニットは、前記信号発生器に接続される。
より好ましくは、前記ガス密度リレー本体は表示機構を更に含み、前記表示機構は、ムーブメント、指針、ダイヤルを含み、前記ムーブメントは、前記ベース又はケース内に固定され、前記温度補償素子は他端がリンクにより前記ムーブメントに接続され、又は前記ムーブメントに直接接続され、前記指針は、前記ムーブメントに取り付けられ、かつ前記ダイヤルの前に設けられ、前記指針は前記ダイヤルと合わせてガス密度値を表示し、且つ/又は前記表示機構は表示値表示を有するデジタルデバイス又は液晶デバイスを含む。
より好ましくは、前記ガス密度リレー本体又は知能制御ユニットは、接触抵抗検出ユニットを更に含み、前記接触抵抗検出ユニットは、接点信号に接続され、又は信号発生器に直接接続され、オンラインチェック接点信号サンプリングユニットの制御で、ガス密度リレー本体の接点信号はその制御回路と分離され、ガス密度リレー本体の接点信号が動作する時、及び/又は接点接触抵抗を検出する指令を受信した時に、接触抵抗検出ユニットはガス密度リレー本体の接点接触抵抗値を検出することができる。
より好ましくは、前記ガス密度リレー本体又は知能制御ユニットは、絶縁抵抗検出ユニットを更に含み、前記絶縁抵抗検出ユニットは、接点信号に接続され、又は信号発生器に直接接続され、オンラインチェック接点信号サンプリングユニットの制御で、ガス密度リレー本体の接点信号はその制御回路と分離され、ガス密度リレー本体の接点信号が動作する時、及び/又は接点絶縁抵抗を検出する指令を受信した時に、絶縁抵抗検出ユニットはガス密度リレー本体の接点絶縁抵抗値を検出することができる。
好ましくは、前記温度調節機構は加熱素子であり、或いは、
前記温度調節機構は、加熱素子、保温材、温度コントローラー、温度検出器、温度調節機構ハウジングを含み、或いは、
前記温度調節機構は、加熱素子と温度コントローラーを含み、或いは、
前記温度調節機構は、加熱素子、加熱電力レギュレーター及び温度コントローラーを含み、或いは、
前記温度調節機構は、加熱素子、冷却素子、加熱電力レギュレーター及び温度コントローラーを含み、或いは、
前記温度調節機構は、加熱素子、加熱電力レギュレーター及び恒温コントローラーを含み、或いは、
前記温度調節機構は、加熱素子、温度コントローラー、温度検出器を含み、或いは、
前記温度調節機構は加熱素子であり、前記加熱素子は温度補償素子の近傍に設けられ、或いは、
前記温度調節機構はマイクロ恒温ボックスであり、
ここで、前記加熱素子の数は少なくとも1つであり、前記加熱素子はシリコーンゴム加熱器、抵抗線、電熱ベルト、電熱棒、熱風機、赤外線加熱デバイス、半導体のうちの一種を含むが、これらに限定されなく、
前記温度コントローラーは、前記加熱素子に接続され、加熱素子の加熱温度を制御するためのものであり、前記温度コントローラーは、PIDコントローラー、PIDとファジー制御を組み合わせたコントローラー、周波数変換コントローラー、PLCコントローラーのうちの一種を含むが、これらに限定されない。
より好ましくは、前記温度調節機構における加熱素子は、少なくとも電力が同じ又は異なる2つの加熱素子、或いは加熱電力が調整可能な加熱素子を含む。
より好ましくは、少なくとも2つの前記加熱素子の設置位置は同じであっても異なってもよく、必要に応じて合理的に設置されてもよい。
より好ましくは、前記温度調節機構の温度昇降方式は多段制御である。
好ましくは、前記温度調節機構は知能制御ユニットの制御により、ガス密度リレー接点信号の動作値を測定する時、動作値に近い時に温度変化速度が一秒当たり1.0℃以下である(又は必要に応じて該要求を設定する)と、すなわち温度が安定して上昇し又は下降するように要求される。
好ましくは、前記ガス密度リレー(又はガス密度監視装置)は相互自己校正ユニットを更に含み、知能制御ユニットは、相互自己校正ユニットによって検出されたデータを比較することにより、ガス密度リレーのメンテナンスフリーを実現し、或いは、知能制御ユニット及び相互自己校正ユニットにより検出されたデータを比較することにより、ガス密度リレーのメンテナンスフリーを実現する。
好ましくは、前記知能制御ユニットは、深度計算ユニットを更に含み、深度計算ユニットは環境温度値、電気機器のガス密度値又は圧力値に基づいて、ガス圧力-温度特性により、チャック必要がある前記ガス密度リレーに対してチェック初期密度が適切なガス源を提供し、又は、前記知能制御ユニットは、チェック時の環境温度値、電気機器のエアチャンバーのガス圧力値、前記ガス密度リレーのチェック必要がある温度値に基づいて、ガス圧力-温度特性により、チェック必要がある前記ガス密度リレーに対してチェック初期密度が適切なガス源を提供することができる。
好ましくは、前記ガス密度検出センサは前記ガス密度リレー本体に設けられ、或いは、前記温度調節機構は、前記ガス密度リレー本体内又は本体外に設けられ、或いは、前記ガス密度検出センサ、前記オンラインチェック接点信号サンプリングユニット及び前記知能制御ユニットは、前記ガス密度リレー本体に設けられ、或いは、前記温度調節機構、前記ガス密度検出センサ、前記オンラインチェック接点信号サンプリングユニット及び前記知能制御ユニットは、前記ガス密度リレー本体に設けられる。
より好ましくは、前記ガス密度リレー本体、前記ガス密度検出センサは一体化構造であり、好ましくは、前記ガス密度リレー本体、前記ガス密度検出センサは一体化構造の遠隔伝送式ガス密度リレーである。
好ましくは、前記ガス密度検出センサは一体化構造である。
より好ましくは、前記ガス密度検出センサは一体化構造のガス密度トランスミッターであり、好ましくは、前記オンラインチェック接点信号サンプリングユニット、前記知能制御ユニットは前記ガス密度トランスミッターに設けられる。
好ましくは、前記ガス密度検出センサは、少なくとも1つの圧力センサ及び少なくとも1つの温度センサを含み、或いは、前記ガス密度検出センサは圧力センサ及び温度センサで構成されたガス密度トランスミッターであり、或いは、前記ガス密度検出センサはクォーツ音叉テクノロジーを採用する密度検出センサである。
より好ましくは、前記圧力センサは前記ガス密度リレー本体のガス路に取り付けられる。
より好ましくは、前記温度センサは、前記ガス密度リレー本体のガス路上又はガス路外、或いは前記ガス密度リレー本体内、或いは前記ガス密度リレー本体内の温度補償素子の近傍、或いは前記ガス密度リレー本体外に取り付けられる。
より好ましくは、温度センサは、熱電対、サーミスタ、半導体式であってもよく、接触式及び非接触式であってもよく、熱抵抗及び熱電対であってもよい。
より好ましくは、少なくとも1つの前記温度センサは、前記ガス密度リレー本体の温度補償素子の近傍に設けられ、又は温度補償素子に設けられ、又は前記温度補償素子に集積される。好ましくは、少なくとも1つの前記温度センサは前記ガス密度リレー本体の圧力検出器の温度補償素子に近接する一端に設けられる。
より好ましくは、前記圧力センサは、相対圧力センサ、及び/又は絶対圧力センサを含むが、これらに限定されない。
さらに、前記圧力センサが絶対圧力センサである場合に、絶対圧力値で表し、そのチェック結果は対応する20℃の絶対圧力値であり、相対圧力値で表し、そのチェック結果は対応する20℃の相対圧力値に換算し、
前記圧力センサが相対圧力センサである場合に、相対圧力値で表し、そのチェック結果は対応する20℃の相対圧力値であり、絶対圧力値で表し、そのチェック結果は対応する20℃の絶対圧力値に換算し、
前記絶対圧力値と前記相対圧力値との間の換算関係は以下のとおりである。
絶対圧力=P相対圧力+P標準大気圧
さらに、前記圧力センサは拡散シリコン圧力センサ、MEMS圧力センサ、チップ式圧力センサ、コイル誘導圧力センサ(例えばバーデン管に誘導コイルが付いた圧力センサ)、抵抗圧力センサ(例えばバーデン管に滑り線抵抗が付いた圧力センサ)であってもよく、アナログ量圧力センサであってもよく、デジタル量圧力センサであってもよい。
好ましくは、前記オンラインチェック接点信号サンプリングユニットと前記知能制御ユニットは一体に設けられる。
より好ましくは、前記オンラインチェック接点信号サンプリングユニットと前記知能制御ユニットは1つのキャビティ又はケース内に封止される。
好ましくは、前記ガス密度リレー(又はガス密度監視装置)は、圧力調節機構を更に含み、前記圧力調節機構のガス路は、前記ガス密度リレー本体に連通し、前記圧力調節機構は、前記ガス密度リレー本体の圧力昇降を調節するように配置され、さらに温度調節機構と嵌合し、かつ/又は結合することで、前記ガス密度リレー本体に接点信号動作を発生させ、前記知能制御ユニットは前記圧力調節機構に接続され、前記圧力調節機構の制御を完了し、或いは、
加熱デバイスを更に含み、前記知能制御ユニットは前記加熱デバイスに接続され、或いは、
エアチャンバー及び加熱デバイスを更に含み、前記エアチャンバーは前記ガス密度リレー本体に連通し、前記加熱デバイスは前記エアチャンバーの外部又は内部に設けられ、前記知能制御ユニットは前記加熱デバイスに接続される。
より好ましくは、前記圧力調節機構のガス路は前記ガス密度リレー本体の圧力検出器と連通する。
より好ましくは、前記圧力調節機構は1つのキャビティ又はケース内に封止される。
より好ましくは、チェック時、前記圧力調節機構は密閉エアチャンバーであり、前記密閉エアチャンバーの外部又は内部に加熱素子、及び/又は冷却素子が設けられ、前記加熱素子により加熱し、かつ/又は前記冷却素子により冷却し、前記密閉エアチャンバー内のガスの温度変化をもたらし、さらに前記ガス密度リレーの圧力昇降を完了する。
さらに、前記加熱素子、及び/又は前記冷却素子は半導体である。
さらに、前記圧力調節機構は保温材を更に含み、前記保温材は前記密閉エアチャンバーの外部に設けられる。
より好ましくは、チェック時に、前記圧力調節機構は一端が開口したキャビティであり、前記キャビティの他端は前記ガス密度リレー本体に連通し、前記キャビティ内にピストンがあり、前記ピストンの一端に調節ロッドが接続され、前記調節ロッドの外端は駆動部材に接続され、前記ピストンの他端は前記開口内に伸び込み、かつ前記キャビティの内壁と密封接触し、前記駆動部材は前記調節ロッドを駆動してさらに前記ピストンが前記キャビティ内を移動するように連動させる。
より好ましくは、チェック時に、前記圧力調節機構は密閉エアチャンバーであり、前記密閉エアチャンバーの内部にピストンが設けられ、前記ピストンは前記密閉エアチャンバーの内壁と密封接触し、前記密閉エアチャンバーの外部に駆動部材が設けられ、前記駆動部材は電磁力により前記ピストンが前記キャビティ内を移動するように駆動する。
より好ましくは、前記圧力調節機構は一端が駆動部材に接続されたエアバッグであり、前記エアバッグは前記駆動部材の駆動で体積変化が発生し、前記エアバッグは前記ガス密度リレー本体に連通する。
より好ましくは、前記圧力調節機構は波形管であり、前記波形管の一端は前記ガス密度リレー本体に連通し、前記波形管の他端は前記駆動部材の駆動で伸縮する。
上記圧力調節機構における前記駆動部材は、磁力、電機(可変周波数電機又はステッピング電機)、往復運動機構、カルノー循環機構、空気圧素子のうちの一種を含むが、これらに限定されない。
より好ましくは、前記圧力調節機構はリリースバルブである。
さらに、前記圧力調節機構はガスリリース流量を制御する流量弁を更に含む。
さらに、前記リリースバルブは電磁弁又は電動弁、或いは他の電気又はガスの方式で実現されるリリースバルブである。
より好ましくは、前記圧力調節機構は圧縮機である。
より好ましくは、前記圧力調節機構はポンプである。
さらに、前記ポンプは、圧力発生ポンプ、加圧ポンプ、電動エアポンプ、電磁エアポンプのうちの一種を含むが、これらに限定されない。
より好ましくは、前記ガス密度リレー(又はガス密度監視装置)は弁を更に含み、前記弁の一端に電気機器に連通する接続ポートが設けられ、前記弁は他端が前記圧力調節機構、前記ガス密度リレー本体のガス路に連通する。
さらに、前記弁は前記知能制御ユニットに接続され、前記知能制御ユニットの制御で前記弁の閉じ又は開きを実現する。
さらに、前記弁は、他端がガス密度リレー本体のベース、圧力検出器に連通し、又は前記弁は他端が前記圧力調節機構のガス路に接続されることで、前記弁を前記ベース、前記圧力検出器に連通する。
さらに、前記弁は電動弁である。
さらに、前記弁は電磁弁である。
さらに、前記弁は永久磁石式電磁弁である。
さらに、前記弁はピエゾバルブ、又は温度制御の弁であり、或いは、スマート記憶材料で製造され、電気加熱で開閉する新型弁である。
さらに、前記弁はホースを折り曲げ、又は挟む方式で閉じ又は開くことを実現する。
さらに、前記弁は1つのキャビティ又はケース内に封止される。
さらに、前記弁及び前記圧力調節機構は1つのキャビティ又はケース内に封止される。
さらに、前記弁のガス路の両側にはそれぞれ圧力センサが設けられる。
さらに、前記弁は電気機器接続継手により前記電気機器に連通する。
さらに、前記ガス密度リレー(又はガス密度監視装置)は、自己密封弁を更に含み、前記自己密封弁は、前記電気機器と前記弁との間に取り付けられ、或いは、前記弁は前記電気機器と前記自己密封弁との間に取り付けられる。
さらに、前記ガス密度リレー(又はガス密度監視装置)は、ガス補充ポートを更に含み、前記ガス補充ポートは、前記圧力調節機構に設けられ、或いは、前記ガス補充ポートは前記電気機器に設けられ、或いは、前記ガス補充ポートは、前記電気機器と前記弁との間に設けられ、或いは、前記ガス補充ポートは第2接続管に設けられ、前記第2接続管は前記弁と前記圧力調節機構のガス路に連通し、又は、前記第2接続管は前記弁と前記ガス密度リレー本体とに連通する。
好ましくは、前記電気機器はSF6ガス電気機器、SF6混合ガス電気機器、環境保護型ガス電気機器、又は他の絶縁ガス電気機器を含む。
具体的には、前記電気機器は、GIS、GIL、PASS、遮断器、変流器、計器用変圧器、変圧器、ガス充填キャビネット、リングメインキャビネットを含む。
好ましくは、前記オンラインチェック接点信号サンプリングユニットによる前記ガス密度リレー本体の接点信号のサンプリングは、下記を満たす。前記オンラインチェック接点信号サンプリングユニットは独立した少なくとも一組のサンプリング接点を有し、同時に少なくとも1つの接点に対してチェックを自動的に完了するとともに、接点を交換し又は接点を再選択する必要がなく、連続的に測定することができ、ここで、前記接点は、警報接点、警報接点+閉鎖接点、警報接点+閉鎖1接点+閉鎖2接点、警報接点+閉鎖接点+過電圧接点のうちの一種を含むが、これらに限定されない。
好ましくは、前記オンラインチェック接点信号サンプリングユニットの前記ガス密度リレー本体の接点信号動作値又はその切替値に対するテスト電圧は24V以上であり、即ちチェック時に、接点信号の対応する端子の間に24V以上の電圧を印加する。
好ましくは、前記知能制御ユニットは、前記ガス密度検出センサにより収集されたガス密度値を取得し、或いは、前記知能制御ユニットは前記ガス密度検出センサにより収集された圧力値及び温度値を取得し、前記ガス密度リレーのガス密度リレー本体に対するオンライン監視を完了し、即ち前記ガス密度リレーの監視される電気機器のガス密度に対するオンライン監視を完了する。
より好ましくは、前記知能制御ユニットは、平均法(平均値法)を採用して前記ガス密度値を計算し、前記平均法は以下のとおりである。設定された時間間隔内に、収集頻度を設定し、全ての収集して得られた異なる時点のN個のガス密度値に平均値計算処理を行い、そのガス密度値を取得し、或いは、設定された時間間隔内に、温度間隔刻み幅を設定し、全ての温度範囲で収集して得られたN個の異なる温度値に対応する密度値に平均値計算処理を行い、そのガス密度値を取得し、或いは、設定された時間間隔内に、圧力間隔刻み幅を設定し、全ての圧力変化範囲で収集して得られたN個の異なる圧力値に対応する密度値に平均値計算処理を行い、そのガス密度値を取得し、ここで、Nは1以上の正整数である。
好ましくは、前記知能制御ユニットは、前記ガス密度リレー本体に接点信号動作又は切り替えが発生する時に、前記ガス密度検出センサが収集したガス密度値を取得し、前記ガス密度リレーのオンラインチェックを完了し、或いは、
前記知能制御ユニットは、前記ガス密度リレー本体に接点信号動作又は切り替えが発生する時に前記ガス密度検出センサが収集した圧力値及び温度値を取得するとともに、ガス圧力-温度特性に応じて20℃に対応する圧力値であるガス密度値に換算し、前記ガス密度リレーのオンラインチェックを完了する。
好ましくは、前記ガス密度リレー本体は、比較密度値出力信号を有し、該比較密度値出力信号は、前記知能制御ユニットに接続され、或いは、前記ガス密度リレー本体は、比較圧力値出力信号を有し、該比較圧力値出力信号は、前記知能制御ユニットに接続される。
好ましくは、前記知能制御ユニットは、マイクロプロセッサの組み込みシステムの組み込みアルゴリズム及び制御プログラムに基づいて、チェックプロセス全体を自動的に制御し、全ての周辺機器、論理及び入出力を含む。
より好ましくは、前記知能制御ユニットは、汎用コンピュータ、産業用コンピュータ、ARMチップ、AIチップ、CPU、MCU、FPGA、PLCなど、産業用制御メインボード、組み込み主制御基板などの組み込みアルゴリズム及び制御プログラムに基づいて、チェックプロセス全体を自動的に制御し、全ての周辺機器、論理及び入出力を含む。
好ましくは、前記知能制御ユニットに電気インタフェースが設けられ、前記電気インタフェースはテストデータの記憶、及び/又はテストデータの導出、及び/又はテストデータの印刷、及び/又はホストコンピューターとのデータ通信、及び/又はアナログ量、デジタル量情報の入力を完了する。
より好ましくは、前記ガス密度リレー(又はガス密度監視装置)はガス密度リレーの基本的な情報入力をサポートし、前記基本的な情報は出荷番号、精度要求、定格パラメータ、製造所、稼働位置のうちの一種又は複数種を含むが、これらに限定されない。
好ましくは、前記知能制御ユニットはテストデータ、及び/又はチェック結果の遠距離伝送を実現する通信モジュールを更に含む。
より好ましくは、前記通信モジュールの通信方式は有線通信又は無線通信方式である。
さらに、前記有線通信方式は、RS232バス、RS485バス、CAN-BUSバス、4-20mA、Hart、IIC、SPI、Wire、同軸ケーブル、PLC電力キャリア、ケーブルのうちの一種又は複数種を含むが、これらに限定されない。
さらに、前記無線通信方式は、NB-IOT、2G/3G/4G/5G、WIFI、ブルートゥース(登録商標)、Lora、Lorawan、Zigbee、赤外線、超音波、音波、衛星、光波、量子通信、ソナーのうちの一種又は複数種を含むが、これらに限定されない。
好ましくは、前記知能制御ユニットにはクロックが更に設けられ、前記クロックは、前記ガス密度リレーのチェック時間を定期的に設定し、又はテスト時間を記録し、又はイベント時間を記録するために用いるように配置される。
好ましくは、前記知能制御ユニットの制御は現場、及び/又はバックグラウンドにより制御される。
より好ましくは、前記ガス密度リレー(又はガス密度監視装置)は、前記バックグラウンドの設置又は指令に基づいて、前記ガス密度リレーのオンラインチェックを完了し、或いは、設定された前記ガス密度リレーのチェック時間に基づいて、前記ガス密度リレーのオンラインチェックを完了する。
好ましくは、前記ガス密度リレー(又はガス密度監視装置)は、多方継手を更に含み、前記ガス密度リレー本体、前記温度調節機構は、前記多方継手に設けられ、或いは、前記温度調節機構は前記多方継手に固定され、或いは、前記ガス密度リレー本体、ガス密度検出センサ、前記温度調節機構は、前記多方継手に設けられる。
より好ましくは、少なくとも2つのガス密度リレー本体、少なくとも2つの温度調節機構、少なくとも2つのオンラインチェック接点信号サンプリングユニット及び1つの知能制御ユニット、1つのガス密度検出センサは、前記ガス密度リレーのオンラインチェックを完了し、或いは、少なくとも2つのガス密度リレー本体、少なくとも2つの多方継手、少なくとも2つの温度調節機構、少なくとも2つのオンラインチェック接点信号サンプリングユニット、少なくとも2つの知能制御ユニット及び1つのガス密度検出センサは、前記ガス密度リレーのオンラインチェックを完了し、或いは、少なくとも2つのガス密度リレー本体、少なくとも2つの多方継手、少なくとも2つの温度調節機構、少なくとも2つのオンラインチェック接点信号サンプリングユニット、少なくとも2つのガス密度検出センサ及び1つの知能制御ユニットは、前記ガス密度リレーのオンラインチェックを完了する。
より好ましくは、前記ガス密度リレー(又はガス密度監視装置)は第1接続管を更に含み、前記圧力調節機構のガス路は、前記第1接続管を介して前記ガス密度リレー本体に連通し、前記多方継手の第1インタフェースは前記第1接続管の前記ガス密度リレー本体、前記圧力調節機構の間の箇所に連通する。
より好ましくは、前記弁は前記多方継手の第2インタフェースに連通するとともに、前記多方継手により前記ガス密度リレー本体に連通する。
より好ましくは、前記弁と電気機器とが連通するポートは、前記多方継手の第1インタフェースに連通し、前記ガス密度リレー本体は前記弁により前記多方継手に連通し、前記多方継手の第2インタフェースは電気機器を接続するために用いる。
より好ましくは、温度センサは、前記多方継手のガス路に連通し、又は前記多方継手の第3インタフェースに連通する。
好ましくは、前記ガス密度リレー(又はガス密度監視装置)は、前記知能制御ユニットに接続され、現在のチェックデータをリアルタイムに表示し、かつ/又はデータ入力をサポートするマンマシンインタラクション用の表示インタフェースをさらに含む。
好ましくは、前記ガス密度リレー(又はガス密度監視装置)は、マイクロウォーターセンサをさらに含み、前記マイクロウォーターセンサはそれぞれ前記ガス密度リレー本体と前記知能制御ユニットに接続される。
より好ましくは、前記ガス密度リレー(又はガス密度監視装置)は、ガス循環機構をさらに含み、前記ガス循環機構はそれぞれ前記ガス密度リレー本体と前記知能制御ユニットに接続され、前記ガス循環機構は毛細管、密閉チャンバー及び加熱素子を含む。
さらに、前記マイクロウォーターセンサは、前記ガス循環機構の密閉チャンバー、毛細管中、毛細管口、毛細管外に取り付けられてもよい。
好ましくは、前記ガス密度リレー(又はガス密度監視装置)は、分解物センサを更に含み、前記分解物センサは、それぞれ前記ガス密度リレー本体と前記知能制御ユニットとに接続される。
好ましくは、前記ガス密度リレー(又はガス密度監視装置)は、監視するためのカメラを更に含む。
上記内容において、前記オンラインセルフチェック機能を有するガス密度リレーは、一般的にその構成要素が一体構造に設計されることを指し、ガス密度監視装置は一般的にその構成要素が別体構造に設計され、柔軟に構成されることを指す。
本願の第2態様はガス密度リレーのチェック方法を提供し、
正常動作状態の場合に、ガス密度リレー(又はガス密度監視装置)は電気機器内のガス密度値を監視することと、
ガス密度リレー(又はガス密度監視装置)は設定されたチェック時間及び/又はチェック指令、及びガス密度値状況及び/又は温度値状況に基づいて、ガス密度リレーを許可し及び/又はチェックできる状況で、
知能制御ユニットの温度調節機構への制御により、ガス密度リレーの温度を上昇させ、さらにガス密度リレー本体の温度補償素子の温度が上昇し、ガス密度リレー本体に接点動作を発生させ、接点動作はオンラインチェック接点信号サンプリングユニットを介して知能制御ユニットに伝達され、知能制御ユニットは接点動作時の圧力値、温度値に基づいてガス密度値を取得し、又はガス密度値を直接取得し、ガス密度リレー本体の接点信号動作値を検出し、ガス密度リレーの接点信号動作値のチェック作業を完了することと、
全ての接点信号チェック作業が完了した後、知能制御ユニットは温度調節機構の加熱素子をオフにすることと、を含む。
好ましくは、ガス密度リレーのチェック方法であって、
正常動作状態の場合に、ガス密度リレー(又はガス密度監視装置)は電気機器内のガス密度値を監視すると同時に、ガス密度リレー(又はガス密度監視装置)はガス密度検出センサ及び知能制御ユニットにより電気機器内のガス密度値をオンラインで監視することと、
ガス密度リレー(又はガス密度監視装置)は設定されたチェック時間及び/又はチェック指令、及びガス密度値状況及び/又は温度値状況に基づいて、ガス密度リレーを許可し及び/又はチェックできる状況で、
知能制御ユニットによりオンラインチェック接点信号サンプリングユニットをチェック状態に調整し、チェック状態で、オンラインチェック接点信号サンプリングユニットは、ガス密度リレー本体の接点信号の制御回路を切断し、ガス密度リレー本体の接点を知能制御ユニットに接続することと、
知能制御ユニットの温度調節機構への制御により、ガス密度リレーの温度を上昇させ、さらにガス密度リレー本体の温度補償素子の温度が上昇し、ガス密度リレー本体に接点動作を発生させ、接点動作はオンラインチェック接点信号サンプリングユニットを介して知能制御ユニットに伝達され、知能制御ユニットは接点動作時の圧力値、温度値に基づいてガス密度値を取得し、又はガス密度値を直接取得し、ガス密度リレー本体の接点信号動作値を検出し、ガス密度リレーの接点信号動作値のチェック作業を完了することと、
知能制御ユニットの温度調節機構への制御により、ガス密度リレーの温度を低下させ、さらにガス密度リレー本体の温度補償素子の温度が低下することにより、ガス密度リレー本体に接点リセットが発生し、接点リセットはオンラインチェック接点信号サンプリングユニットを介して知能制御ユニットに伝達され、知能制御ユニットは接点リセット時の圧力値、温度値に基づいてガス密度値を取得し、又はガス密度値を直接取得し、ガス密度リレー本体の接点信号の戻り値を検出し、ガス密度リレーの接点信号戻り値のチェック作業を完了することと、
全ての接点信号チェック作業が完了した後、知能制御ユニットは温度調節機構の加熱素子をオフにするとともに、オンラインチェック接点信号サンプリングユニットを動作状態に調整し、ガス密度リレー本体の接点信号の制御回路は正常動作状態に復帰して稼働することと、を含む。
好ましくは、前記ガス密度リレー(又はガス密度監視装置)は弁及び圧力調節機構を更に含み、前記圧力調節機構のガス路はガス密度リレー本体のガス路に連通し、前記弁の一端には電気機器に連通する接続ポートが設けられ、弁の他端はガス密度リレー本体のガス路に連通し、前記チェック方法は、
正常動作状態の場合に、ガス密度リレー(又はガス密度監視装置)は電気機器内のガス密度値を監視することと、
ガス密度リレー(又はガス密度監視装置)は設定されたチェック時間及び/又はチェック指令、及びガス密度値状況及び/又は温度値状況に基づいて、ガス密度リレーを許可し及び/又はチェックできる状況で、
知能制御ユニットにより弁を閉じることと、
知能制御ユニットにより圧力調節機構を駆動し、ガス圧力を徐々に低下させ、かつ知能制御ユニットにより温度調節機構を制御し、ガス密度リレーの温度を上昇させ、さらにガス密度リレー本体の温度補償素子の温度が上昇し、ガス密度リレー本体に接点動作を発生させ、接点動作はオンラインチェック接点信号サンプリングユニットを介して知能制御ユニットに伝達され、知能制御ユニットは接点動作時の圧力値、温度値に基づいてガス密度値を取得し、又はガス密度値を直接取得し、ガス密度リレー本体の接点信号動作値を検出し、ガス密度リレーの接点信号動作値のチェック作業を完了することと、
全ての接点信号チェック作業が完了した後、知能制御ユニットは弁を開き、かつ知能制御ユニットは温度調節機構の加熱素子をオフにすること、をさらに含む。
好ましくは、前記ガス密度リレー(又はガス密度監視装置)は弁及び圧力調節機構を更に含み、前記圧力調節機構のガス路はガス密度リレー本体のガス路に連通し、前記弁の一端には電気機器に連通する接続ポートが設けられ、弁の他端はガス密度リレー本体のガス路に連通し、前記チェック方法は、
正常動作状態の場合に、ガス密度リレー(又はガス密度監視装置)は電気機器内のガス密度値を監視すると同時に、ガス密度リレー(又はガス密度監視装置)はガス密度検出センサ及び知能制御ユニットにより電気機器内のガス密度値をオンラインで監視することと、
ガス密度リレー(又はガス密度監視装置)は設定されたチェック時間及び/又はチェック指令、及びガス密度値状況及び/又は温度値状況に基づいて、ガス密度リレーを許可し及び/又はチェックできる状況で、
知能制御ユニットにより弁を閉じることと、
知能制御ユニットによりオンラインチェック接点信号サンプリングユニットをチェック状態に調整し、チェック状態で、オンラインチェック接点信号サンプリングユニットは、ガス密度リレー本体の接点信号の制御回路を切断し、ガス密度リレー本体の接点を知能制御ユニットに接続することと、
知能制御ユニットの温度調節機構への制御により、ガス密度リレーの温度を上昇させ、さらにガス密度リレー本体の温度補償素子の温度が上昇し、かつ知能制御ユニットにより圧力調節機構を駆動することにより、ガス圧力を徐々に低下させ、ガス密度リレー本体に接点動作を発生させ、接点動作はオンラインチェック接点信号サンプリングユニットを介して知能制御ユニットに伝達され、知能制御ユニットは接点動作時の圧力値、温度値に基づいてガス密度値を取得し、又はガス密度値を直接取得し、ガス密度リレー本体の接点信号動作値を検出し、ガス密度リレーの接点信号動作値のチェック作業を完了することと、
知能制御ユニットの温度調節機構への制御により、ガス密度リレーの温度を低下させ、さらにガス密度リレー本体の温度補償素子の温度が低下し、かつ知能制御ユニットにより圧力調節機構を駆動することにより、ガス圧力を徐々に上昇させ、ガス密度リレー本体に接点リセットを発生させ、接点リセットはオンラインチェック接点信号サンプリングユニットを介して知能制御ユニットに伝達され、知能制御ユニットは接点リセット時の圧力値、温度値に基づいてガス密度値を取得し、又はガス密度値を直接取得し、ガス密度リレー本体の接点信号戻り値を検出し、ガス密度リレーの接点信号戻り値のチェック作業を完了することと、
全ての接点信号チェック作業が完了した後、知能制御ユニットは弁を開き、かつ知能制御ユニットは温度調節機構の加熱素子をオフにするとともに、オンラインチェック接点信号サンプリングユニットを動作状態に調整し、ガス密度リレー本体の接点信号の制御回路は正常動作状態に復帰して稼働することと、を更に含む。
好ましくは、前記ガス密度リレー(又はガス密度監視装置)は加熱デバイス及び弁を更に含み、前記加熱デバイスは前記知能制御ユニットに接続され、前記弁の一端には電気機器に連通する接続ポートが設けられ、前記弁の他端はガス密度リレー本体のガス路に連通し、前記チェック方法は、
正常動作状態の場合に、ガス密度リレー(又はガス密度監視装置)は電気機器内のガス密度値を監視すると同時に、ガス密度リレー(又はガス密度監視装置)はガス密度検出センサ及び知能制御ユニットにより電気機器内のガス密度値をオンラインで監視することと、
ガス密度リレー(又はガス密度監視装置)は設定されたチェック時間及び/又はチェック指令、及びガス密度値状況及び/又は温度値状況に基づいて、ガス密度リレーを許可し及び/又はチェックできる状況で、
知能制御ユニットにより接点信号サンプリングユニットをチェック状態に調整し、チェック状態で、接点信号サンプリングユニットはガス密度リレー本体の接点信号の制御回路を切断し、ガス密度リレー本体の接点を知能制御ユニットに接続することと、
知能制御ユニットにより前記加熱デバイスの加熱を制御し、ガス密度リレー本体のガスの温度変化をもたらし、設定値に達した後、知能制御ユニットにより弁を閉じ、さらに知能制御ユニットにより前記加熱デバイスをオフにすることと、
ガスの温度又は圧力が適切値まで低下した後、さらに知能制御ユニットの温度調節機構への制御により、ガス密度リレーの温度を上昇させ、さらにガス密度リレー本体の温度補償素子の温度が上昇し、ガス密度リレー本体に接点動作を発生させ、接点動作は接点信号サンプリングユニットを介して知能制御ユニットに伝達され、知能制御ユニットは接点動作時の圧力値、温度値に基づいてガス密度値を取得し、又はガス密度値を直接取得し、ガス密度リレー本体の接点信号動作値を検出し、ガス密度リレーの接点信号動作値のチェック作業を完了することと、
全ての接点信号チェック作業が完了した後、知能制御ユニットは弁を開き、かつ知能制御ユニットは温度調節機構をオフにすることと、を更に含む。
好ましくは、前記接点信号は警報、及び/又は閉鎖を含む。
好ましくは、前記ガス密度検出センサは、少なくとも1つの圧力センサ及び少なくとも1つの温度センサを含み、或いは、前記ガス密度検出センサは圧力センサ及び温度センサで構成されたガス密度トランスミッターであり、或いは、前記ガス密度検出センサはクォーツ音叉テクノロジーを採用する密度検出センサである。
好ましくは、前記ガス密度リレー(又はガス密度監視装置)はチェックを完了した後、異常があれば、警報を自動的に発するとともに、遠位端にアップロードし、又は指定された受信機に送信することができる。
好ましくは、前記チェック方法は、現場でガス密度値及びチェック結果を表示し、又はバックグラウンドでガス密度値及びチェック結果を表示することを更に含む。
好ましくは、前記チェック方法は、前記知能制御ユニットの制御が現場、及び/又はバックグラウンドにより制御されることを更に含む。
本願の第3態様はガス密度リレーの改造方法を提供し、
ガス密度検出センサを、ガス密度リレー本体に連通することと、
前記ガス密度検出センサのガス路を、多方継手の第1インタフェースに接続することと、
温度調節機構をガス密度リレー本体のケース内又はケース外に設け、前記温度調節機構は前記ガス密度リレー本体の温度補償素子の温度昇降を調節し、前記ガス密度リレー本体に接点信号動作を発生させることと、
オンラインチェック接点信号サンプリングユニットを、前記ガス密度リレー本体に直接的又は間接的に接続し、前記オンラインチェック接点信号サンプリングユニットは、前記ガス密度リレー本体の接点が動作する時に生成される接点信号をサンプリングすることと、
知能制御ユニットを、それぞれ前記ガス密度検出センサ、前記温度調節機構及び前記オンラインチェック接点信号サンプリングユニットに接続し、前記温度調節機構の制御、圧力値収集及び温度値収集、及び/又はガス密度値収集、並びに前記ガス密度リレー本体の接点信号動作値及び/又は接点信号戻り値の検出を完了することと、を更に含み、
ここで、前記接点信号は警報、及び/又は閉鎖を含む。
好ましくは、前記ガス密度検出センサ、前記オンラインチェック接点信号サンプリングユニット及び前記知能制御ユニットは前記ガス密度リレー本体に設けられ、或いは、
前記温度調節機構は前記ガス密度リレー本体に設けられ、或いは、
前記温度調節機構は前記ガス密度リレー本体内に設けられ、或いは、
前記ガス密度検出センサ、前記温度調節機構、前記オンラインチェック接点信号サンプリングユニット及び前記知能制御ユニットは前記ガス密度リレー本体に設けられ、或いは、
前記多方継手は前記ガス密度リレー本体に設けられ、或いは、
前記温度調節機構は前記多方継手に固定され、或いは、
前記温度調節機構、前記ガス密度検出センサは前記多方継手に設けられ、或いは、
前記オンラインチェック接点信号サンプリングユニット及び前記知能制御ユニットは前記多方継手に設けられる。
好ましくは、前記ガス密度リレーの改造方法は、弁の一端を電気機器に連通し、前記弁の他端を前記ガス密度リレー本体のガス路に連通することを更に含む。
より好ましくは、前記弁を前記知能制御ユニットにも接続することにより、前記弁が前記知能制御ユニットの制御で閉じ又は開くことを実現する。
より好ましくは、前記ガス密度リレーの改造方法は、自己密封弁を前記多方継手と前記弁との間に取り付け、或いは、前記弁を前記多方継手と自己密封弁との間に取り付けることを更に含む。
好ましくは、前記ガス密度リレーの改造方法は、圧力調節機構であって、前記圧力調節機構のガス路を、前記ガス密度リレー本体に連通し、前記圧力調節機構は前記ガス密度リレー本体の圧力昇降を調整し、さらに温度調節機構と嵌合及び/又は結合することにより、前記ガス密度リレー本体に接点信号動作を発生させるように配置され、前記圧力調節機構を前記知能制御ユニットにも接続することにより、前記圧力調節機構が前記知能制御ユニットの制御で動作することを更に含み、或いは、
加熱デバイスであって、前記知能制御ユニットを前記加熱デバイスに接続することを更に含み、或いは、
エアチャンバー及び加熱デバイスであって、前記エアチャンバーを前記ガス密度リレー本体に連通し、前記エアチャンバーの外部又は内部に前記加熱デバイスが設けられ、前記知能制御ユニットを前記加熱デバイスに接続することを更に含む。
より好ましくは、前記ガス密度リレーの改造方法は、前記圧力調節機構にガス補充ポートを設け、或いは、ガス密度リレーにより監視された電気機器にガス補充ポートを設け、或いは、前記多方継手にガス補充ポートを設け、或いは、前記ガス密度リレー本体にガス補充ポートを設けることを更に含む。
従来技術に比べて、本発明の技術的解決手段は以下の有益な効果を有する。
本願は、オンラインセルフチェック機能を有するガス密度リレー及びそのチェック方法を提供し、高圧、中圧電気機器に用いられ、ガス密度リレー本体、ガス密度検出センサ、温度調節機構、オンラインチェック接点信号サンプリングユニット及び知能制御ユニットを含む。温度調節機構により密度リレーの温度補償素子の温度昇降を調節することにより、ガス密度リレー本体に接点動作を発生させ、接点動作はオンラインチェック接点信号サンプリングユニットを介して知能制御ユニットに伝達され、知能制御ユニットは接点動作時の密度値に基づいて、ガス密度リレー本体の警報及び/又は閉鎖接点信号動作値及び/又は戻り値を検出し、密度リレーチェック継手を増設する必要がなく、点検員が現場に出ること必要がなくガス密度リレーのチェック作業を完了することができ、電網の信頼性を向上させ、作業効率を向上させ、コストを低減する。同時に、知能制御ユニットによりガス密度リレー本体とガス密度検出センサとの間の相互セルフチェックを行い、オンラインセルフチェック機能を有するガス密度リレーのメンテナンスフリーを実現することができる。
本願を構成する一部の図面は本願のさらなる理解を提供するために用いられ、本願の例示的な実施例及びその説明は本願を説明するために用いられ、本願を不当に限定するものではない。
実施例1のオンラインセルフチェック機能を有するガス密度リレーの構造概略図である。 実施例2のオンラインセルフチェック機能を有するガス密度リレーの構造概略図である。 実施例3のオンラインセルフチェック機能を有するガス密度リレーの構造概略図である。 実施例4のオンラインセルフチェック機能を有するガス密度リレーの構造概略図である。 実施例5のオンラインセルフチェック機能を有するガス密度リレーの構造概略図である。 実施例6のオンラインセルフチェック機能を有するガス密度リレーの構造概略図である。 実施例7のオンラインセルフチェック機能を有するガス密度リレーの構造概略図である。
本発明の目的、技術的解決手段及び効果をより明瞭で明確にするために、以下に図面を参照しながら実例を挙げて本発明をさらに詳細に説明する。理解されるように、ここで説明される具体的な実施例は本発明を説明するために用いられ、本発明を限定するものではない。
実施例1:
図1は本願の実施例1の高中圧電気機器用のオンラインチェック機能を有するガス密度リレーの構造概略図である。図1に示すように、オンラインチェック機能を有するガス密度リレーはガス密度リレー本体1を含み、ガス密度リレー本体1は、ケース101、及びケース101内に設けられたベース102、端座108、圧力検出器103、温度補償素子104、いくつかの信号発生器109、ムーブメント105、指針106、ダイヤル107を含む。圧力検出器103の一端はベース102に固定され連通し、圧力検出器103の他端は端座108により温度補償素子104の一端に接続され、前記温度補償素子104の他端に横梁が設けられ、前記横梁に前記信号発生器109を駆動し、前記信号発生器109の接点をオン・オフにする調節材が設けられる。前記ムーブメント105は前記ベース102に固定され、前記温度補償素子104の他端はリンクにより前記ムーブメント105に接続され、又は前記ムーブメント105に直接接続され、前記指針106は前記ムーブメント105の芯に取り付けられ前記ダイヤル107の前に設けられ、前記指針106は前記ダイヤル107と合わせてガス密度値を表示する。前記ガス密度リレー本体1は表示値表示を有するデジタルデバイス又は液晶デバイスを更に含んでもよい。
また、前記ガス密度リレーは、圧力センサ2、温度センサ3、温度調節機構5、オンラインチェック接点信号サンプリングユニット6、知能制御ユニット7をさらに含む。前記圧力センサ2はガス路で圧力検出器103に連通し、前記温度調節機構5はケース101内(又はケース101)に設けられ、オンラインチェック接点信号サンプリングユニット6はそれぞれ信号発生器109と知能制御ユニット7とに接続され、前記温度センサ3はケース101内に設けられ、前記圧力センサ2、前記温度センサ3、前記温度調節機構5はそれぞれ知能制御ユニット7に接続される。前記温度調節機構5は主に加熱素子501、温度調節機構ハウジング503で構成される。
ここで、前記信号発生器109は、マイクロスイッチ又は磁気アシスト式電気接点を含み、ガス密度リレー本体1は前記信号発生器109を介して接点信号を出力し、前記圧力検出器103はバーデン管又は波形管を含み、前記温度補償素子104は温度補償シート又はケース内に封止されたガスを採用する。本願のガス密度リレーは、オイル充填タイプの密度リレー、オイルレスタイプの密度リレー、ガス密度計、ガス密度スイッチ又はガス圧力計を含んでもよい。
本実施例のガス密度リレーにおいて、圧力検出器103に基づいて温度補償素子104により、変化した圧力及び温度を補正することにより、六フッ化硫黄ガス密度の変化を反映する。即ち、被測定媒体の六フッ化硫黄(SF6)ガスの圧力作用で、温度補償素子104の作用を有するため、六フッ化硫黄ガスの密度値が変化する時、六フッ化硫黄ガスの圧力値も対応して変化し、圧力検出器103の末端に対応する弾性変形変位を強制的に発生させ、温度補償素子104を介して、ムーブメント105に伝達し、ムーブメント105はまた指針106に伝達し、それにより被測定の六フッ化硫黄ガスの密度値をダイヤル107に指示する。信号発生器109は出力警報閉鎖接点とする。このようにガス密度リレー本体1は六フッ化硫黄ガスの密度値を表示することができる。ガス漏れが発生し、六フッ化硫黄ガスの密度値が低下すれば、圧力検出器103は対応する下向き変位を生成し、温度補償素子104を介してムーブメント105に伝達し、ムーブメント105はまた指針106に伝達し、指針106は表示値が小さい方向に移動し、ダイヤル107にガス漏れ程度を具体的に表示する同時に、圧力検出器103は温度補償素子104により横梁が下向きに変位するように連動させ、横梁における調節材は信号発生器109から徐々に離れ、一定の程度になると、信号発生器109の接点がオンになり、対応する接点信号(警報又は閉鎖)を送信し、電気スイッチ等の機器における六フッ化硫黄ガスの密度を監視し制御することを達成し、電気機器を安全に動作させる。
ガス密度値が上昇すると、即ち密封エアチャンバー内の六フッ化硫黄ガス圧力値が設定された六フッ化硫黄ガス圧力値より大きい場合、圧力値も対応に上昇し、圧力検出器103の末端と温度補償素子104は対応する上向き変位を生成し、温度補償素子104によって横梁も上向きに変位し、横梁における調節材は上向きに変位し信号発生器109の接点をオフにするように駆動し、接点信号(警報又は閉鎖)が解除される。
前記温度調節機構5は加熱素子であり、或いは、前記温度調節機構は主に加熱素子、保温材、温度コントローラー、温度検出器、温度調節機構ハウジング等で構成され、或いは、前記温度調節機構は主に加熱素子及び温度コントローラーで構成され、或いは、前記温度調節機構は主に加熱素子、加熱電力レギュレーター及び温度コントローラーで構成され、或いは、前記温度調節機構は主に加熱素子、冷却素子、加熱電力レギュレーター及び温度コントローラーで構成され、或いは、前記温度調節機構は主に加熱素子、加熱電力レギュレーター及び恒温コントローラーで構成され、或いは、前記温度調節機構は主に加熱素子、温度コントローラー、温度検出器等で構成され、或いは、前記温度調節機構は加熱素子であり、前記加熱素子は温度補償素子の近傍に設けられ、或いは、前記温度調節機構はマイクロ恒温ボックスであり、ここで、前記加熱素子はシリコーンゴム加熱器、抵抗線、電熱ベルト、電熱棒、熱ファン、赤外線加熱素子、半導体のうちの一種を含むが、これらに限定されなく、前記温度コントローラーはPIDコントローラー、PIDとファジー制御を組み合わせたコントローラー、周波数変換コントローラー、PLCコントローラーのうちの一種を含むが、これらに限定されない。
圧力センサ2のタイプとしては、絶対圧力センサ、相対圧力センサ、又は絶対圧力センサ及び相対圧力センサであってもよく、数は複数であってもよい。圧力センサの形式としては、拡散シリコン圧力センサ、MEMS圧力センサ、チップ式圧力センサ、コイル誘導圧力センサ(例えばバーデン管に誘導コイルが付いた圧力測定センサ)、抵抗圧力センサ(例えばバーデン管に滑り線抵抗が付いた圧力測定センサ)であってもよく、アナログ量圧力センサであってもよく、デジタル量圧力センサであってもよい。圧力収集は圧力センサ、圧力トランスミッターなどの様々な感圧素子であり、例えば拡散シリコン式、サファイア式、圧電式、歪みゲージ式(抵抗歪みゲージ式、セラミック歪みゲージ式)である。
温度センサ3は熱電対、サーミスタ、光ファイバ、半導体式であってもよく、接触式及び非接触式であってもよく、熱抵抗及び熱電対であってもよく、デジタル式及びアナログ式であってもよく、例えばDS18B20、pt100である。要するに、温度収集は温度センサ、温度トランスミッターなどの様々な温度感知素子を用いることができる。
前記オンラインチェック接点信号サンプリングユニット6は主にガス密度リレー本体1の接点信号サンプリングを完了する。すなわち、オンラインチェック接点信号サンプリングユニット6の基本的な要求又は機能は以下のとおりである。1)チェック時に電気機器の安全稼働に影響を与えず、つまりチェック時に、ガス密度リレー本体1の接点信号が動作する時に、電気機器の安全稼働に影響を与えなく、2)ガス密度リレー本体1の接点信号制御回路はガス密度リレーの性能に影響を与えず、特に知能制御ユニット7の性能に影響を与えず、ガス密度リレーに損傷を与え、又はテスト作業に影響を与えない。
前記知能制御ユニット7の基本的な要求又は機能としては、知能制御ユニット7により温度調節機構5(乃至圧力調節機構11)への制御及び信号収集を完了する。実現:ガス密度リレー本体1の接点信号が動作する時の圧力値及び温度値を検出することができ、対応する20℃時の圧力値P20(密度値)に換算し、即ちガス密度リレー本体1の接点動作値PD20を検出することができ、ガス密度リレー本体1のチェック作業を完了する。或いは、ガス密度リレー本体1の接点信号が動作する時の密度値PD20を直接検出し、ガス密度リレー本体1のチェック作業を完了することができる。同時に、ガス密度リレー本体1の定格圧力値のテストにより、ガス密度リレー本体1、圧力センサ2、温度センサ3の間のセルフチェック作業を完了し、メンテナンスフリーを実現することができる。
当然のことながら、知能制御ユニット7は、テストデータ記憶、及び/又はテストデータ導出、及び/又はテストデータ印刷、及び/又はホストコンピューターとのデータ通信、及び/又はアナログ量、デジタル量の情報入力を更に実現することができる。知能制御ユニット7は通信モジュールを含んでもよく、通信モジュールによりテストデータ及び/又はチェック結果等の情報を遠距離で伝送することを実現し、ガス密度リレー本体1の定格圧力値が信号を出力する時、知能制御ユニット7は同時にその時の密度値を収集し、ガス密度リレー本体1の定格圧力値のチェックを完了する。
電気機器は、SF6ガス電気機器、SF6混合ガス電気機器、環境保護型ガス電気機器、又は他の絶縁ガス電気機器を含む。具体的には、電気機器は、GIS、GIL、PASS、遮断器、変流器、計器用変圧器、変圧器、ガス充填キャビネット、リングメインキャビネット等を含む。
ガス密度リレー本体1、圧力センサ2、温度センサ3、温度調節機構5、オンラインチェック接点信号サンプリングユニット6及び知能制御ユニット7の間は必要に応じて柔軟に設置されることができる。例えば、ガス密度リレー本体1、圧力センサ2及び温度センサ3を一体に設けることができ、或いは、ガス密度リレー本体1及び圧力調節機構5を一体に設けることができ、要するに、それらの間の設置は柔軟に配列して組み合わせることができる。
本実施例のオンラインチェック機能を有するガス密度リレーのチェック及び監視作業作原理は以下のとおりである。
知能制御ユニット7は圧力センサ2、温度センサ3に基づいて電気機器のガス圧力及び温度を監視し、対応する20℃の圧力値P20(即ちガス密度値)を取得する。密度リレー1をチェックする必要がある場合、及び/又はチェックすることができる場合、この時にガス密度値P20≧設定された安全チェック密度値Pであれば、ガス密度リレーは指令を発し、すなわち知能制御ユニット7によりガス密度リレー本体1の制御回路をオフにすることにより、ガス密度リレー本体1をオンラインチェックする場合に電気機器の安全稼働に影響を与えず、チェック時に警報信号を誤って発し、又は制御回路をロックすることもない。ガス密度リレーはチェックを開始する前に、ガス密度値P20≧設定された安全チェック密度値Pの監視及び判断を行ったため、電気機器のガスは安全稼働範囲内にあり、かつガス漏れは緩やかな過程であり、チェック時に安全である。同時に、知能制御ユニット7はガス密度リレー本体1の接点サンプリング回路に連通し、次に、知能制御ユニット7は温度調節機構5に対する操作又は制御により、ガス密度リレーの温度を上昇させ、さらにガス密度リレー本体1の温度補償素子の温度を上昇させ、動作値に近い時に温度変化速度は一秒当たり1.0℃以下であり(乃至一秒当たり0.5℃以下であり、又は必要に応じて該要求を設定する)、すなわち温度要求は安定して上昇し又は下降する。ガス密度リレー本体1に接点動作が発生するまで、接点動作はオンラインチェック接点信号サンプリングユニット6を介して知能制御ユニット7に伝達され、知能制御ユニット7は接点動作時の圧力値、温度値に基づいてガス密度値を取得し、又はガス密度値を直接取得し、ガス密度リレーの接点信号動作値を検出し、ガス密度リレーの接点信号動作値のチェック作業を完了する。例えば、密度リレーパラメータが0.6/0.52/0.50MPa(定格値0.6MPa/警報圧力値0.52MPa/警報圧力値0.50MPa、相対圧力)であるガス密度リレーについて、環境温度が5℃である場合、電気機器のエアチャンバーのガス圧力が0.5562MPa(相対圧力)であり、この時にチェックシステムにおいて、圧力値が変化せず、温度が29.5℃まで上昇すると、その警報接点が動作し、知能制御ユニット7は接点動作時の圧力値0.5562MPa(相対圧力)、温度値29.5℃に基づいてガス密度リレーの警報接点動作値0.5317MPa(相対圧力)を取得することができ、知能制御ユニット7は警報接点動作値の誤差0.0117MPa(0.5317MPa-0.52MPa=0.0117MPa)を取得することができ、ガス密度リレーの警報接点動作値のチェックを完了する。
知能制御ユニット7の温度調節機構5に対する操作又は制御により、ガス密度リレーの温度を低下させ、さらにガス密度リレー本体1の温度補償素子の温度が低下することにより、ガス密度リレー本体1に接点リセットを発生させ、接点リセットはオンラインチェック接点信号サンプリングユニット6を介して知能制御ユニット7に伝達され、知能制御ユニット7は接点リセット時の圧力値、温度値に基づいてガス密度値を取得し、又はガス密度値を直接取得し、ガス密度リレー本体1の接点信号戻り値を検出し、ガス密度リレーの接点信号戻り値のチェック作業を完了する。例えば、上記密度リレーパラメータが0.6/0.52/0.50MPa(定格値0.6MPa/警報圧力値0.52MPa/警報圧力値0.50MPa、相対圧力)であるガス密度リレーについて、環境温度が5℃である場合、電気機器内のガス圧力が0.5562MPa(相対圧力)であり、同様にこの時にチェックシステムにおいて、圧力値が変化せず、温度が24.8℃まで低下すると、その警報接点に接点リセットが発生し、知能制御ユニット7は接点リッセット時の圧力値0.5562MPa(相対圧力)、温度値24.8℃に基づいてガス密度リレーの警報接点戻り値0.5435MPa(相対圧力)を取得することができ、知能制御ユニット7は警報接点の切り替え差0.0118MPa(0.5435MPa-0.5317MPa=0.0118MPa)を取得することができ、このように基本的に密度リレーの警報接点動作値のチェックを完了する。知能制御ユニット7は要求に応じて、チェック結果(チェックデータ)に基づいて、チェックされたガス密度リレーの性能状況(例えば合格であるか、又は不合格であるか)を判定することができる。このように繰り返して複数回(例えば2~3回)チェックしてからその平均値を計算し、このようにガス密度リレー本体1のチェック作業を完了する。次に、知能制御ユニット7はガス密度リレー本体1の接点サンプリング回路をオフにし、この時にガス密度リレー本体1の接点は知能制御ユニット7に接続されない。同時に、知能制御ユニット7により温度調節機構の加熱素子をオフにし、オンラインチェック接点信号サンプリングユニット6を動作状態に調整し、ガス密度リレー本体1の接点信号の制御回路が正常動作状態に復帰して稼働する。すなわち知能制御ユニット7によりガス密度リレー本体1の制御回路に連通し、ガス密度リレー本体1の密度監視回路が正常に動作し、ガス密度リレー本体1が電気機器のガス密度を安全に監視し、電気機器が安全で確実に動作する。このようにガス密度リレー本体1のオンラインチェック作業を完了しやすく、同時にガス密度リレー本体1をオンラインチェックする時に電気機器の安全動作に影響を与えない。
ガス密度リレー本体1がチェック作業を完了した後、ガス密度リレー(又はガス密度監視装置)は判定を行い、検出結果を示すことができ、方式が柔軟である。具体的には、1)ガス密度リレー(又はガス密度監視装置)は現場で報知することができ、例えば指示ランプ、デジタル又は液晶等により表示し、2)又はオンライン遠隔伝送通信方式によりアップロードを実施し、例えばオンライン監視システムのバックグラウンドにアップロードすることができ、3)又は無線アップロードにより、特定の端末にアップロードし、例えば携帯電話に無線アップロードすることができ、4)又は別の手段によりアップロードし、5)又は異常結果を警報信号線又は専用信号線によりアップロードし、6)単独でアップロードし、又は他の信号と結合してアップロードする。要するに、ガス密度リレー(又はガス密度監視装置)はオンラインチェック作業を完了した後、異常があれば、警報を自動的に発信することができ、遠位端にアップロードすることができ、又は指定された受信機に送信することができ、例えば携帯電話に送信する。又は、ガス密度リレー(又はガス密度監視装置)がチェック作業を完了した後、異常があれば、知能制御ユニット7はガス密度リレー本体1の警報接点信号により遠位端(監視室、バックグラウンド監視プラットフォーム等)をアップロードし、かつその現場で報知を表示することができる。簡単バージョンのガス密度リレーのオンラインチェックは、チェックに異常がある結果を警報信号線によりアップロードすることができる。一定の規則でアップロードすることができ、例えば異常時に、警報信号接点に1つの接点を並列接続し、規則的に開閉し、解析により状況を取得することができ、又は独立したチェック信号線によりアップロードする。具体的には状態がよくアップロードし、又は問題があってアップロードし、或いはチェク結果を単独の検証信号線によりアップロードするか、又はその現場で表示し、その現場で警報するか、或いは無線アップロードにより、スマートフォンとネットワーキングしてアップロードすることができる。その通信方式は有線又は無線であり、有線の通信方式はRS232、RS 485、CAN-BUS等の工業バス、光ファイバイーサネット、4-20 mA、Hart、IIC、SPI、Wire、同軸ケーブル、PLC電力キャリア等であってもよく、無線通信方式は2G/3G/4G/5G等、WIFI、ブルートゥース(登録商標)、Lora、Lorawan、Zigbee、赤外線、超音波、音波、衛星、光波、量子通信、ソナー、センサ内蔵5G/NB-IOT通信モジュール(例えばNB-IOT)等であってもよい。要するに、多重方式、複数種の組み合わせで、ガス密度リレーの信頼性を十分に保証することができる。
ガス密度リレーは安全保護機能を有し、すなわち設定値より低い場合、ガス密度リレーは密度リレーに対してオンラインチェックを自動的に行わず、報知信号を発する。例えば、機器のガス密度値が設定値Pより小さい場合、チェックを停止し、機器のガス密度値≧(警報圧力値+0.02MPa)である場合のみ、オンラインチェックを行うことができる。
ガス密度リレーは設定された時間に基づいてオンラインチェックを行ってもよく、設定された温度(例えば限界高温、高温、限界低温、低温、常温、20度など)に基づいてオンラインチェックを行ってもよい。高温、低温、常温、20℃の環境温度でオンラインチェックする場合、その誤差判定要求は異なり、例えば20℃の環境温度でチェックする場合、ガス密度リレーの精度要求は1.0級、又は1.6級であってもよく、高温の場合に2.5級であってもよい。具体的には温度の要求に応じて、相関標準に従って実施することができる。例えば、DL/T259「六フッ化硫黄ガス密度リレーチェック規則」における4.8条の温度補償性能の規定により、各温度値に対応する精度要求。
ガス密度リレーは異なる温度で、異なる時間帯にその誤差性能の比較、すなわち異なる時期、同じ温度範囲内の比較を行い、ガス密度リレー、電気機器の性能を判定することができる。履歴の各時期の比較、履歴と現在の比較を有する。
ガス密度リレーは複数回(例えば2~3回)繰り返してチェックし、毎回のチェック結果に基づいて、その平均値を計算することができる。必要な場合、ガス密度リレーに対してオンラインチェックを随時行うことができる。
同時に、ガス密度リレーは電気機器のガス密度値、及び/又は圧力値、及び/又は温度値をオンライン監視するとともに、対象機器にアップロードしてオンライン監視を実現してもよい。
実施例2:
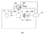
図2に示すように、本発明の実施例2が提供するオンラインセルフチェック機能を有するガス密度リレー又はガス密度監視装置は、ガス密度リレー本体1、圧力センサ2、温度センサ3、弁4、温度調節機構5、オンラインチェック接点信号サンプリングユニット6、知能制御ユニット7、多方継手9、圧力調節機構11を含む。弁4の一端は電気機器8に密封接続され、弁4の他端は多方継手9に接続される。ガス密度リレー本体1は多方継手9に取り付けられ、圧力センサ2、温度センサ3はガス密度リレー本体1に設けられ、圧力センサ2はガス路においてガス密度リレー本体1に連通し、温度調節機構5はガス密度リレー本体1に設けられ、温度調節機構5は主に加熱素子501で構成され、知能制御ユニット7により制御され、即ち加熱素子501のコントローラーは知能制御ユニット7と一体に設けられ、又は設計される。圧力調節機構11は多方継手9に取り付けられ、圧力調節機構11はガス密度リレー本体1のガス路に連通し、オンラインチェック接点信号サンプリングユニット6、圧力センサ2、温度センサ3、弁4、温度調節機構5及び圧力調節機構11はそれぞれ知能制御ユニット7に接続される。
実施例1と異なるのは、本実施例が弁4及び圧力調節機構11を更に含むことである。前記圧力調節機構11はピストン1101、駆動機構1102、シールリング1110を含み、駆動機構1102によりピストン1101が圧力調節機構内を移動するように連動させ、さらに圧力の昇降を完了する。
動作原理としては、知能制御ユニット7によりオンラインチェック接点信号サンプリングユニット6をチェック状態に調整し、チェック状態で、オンラインチェック接点信号サンプリングユニット6はガス密度リレー本体1の接点信号の制御回路を切断し、ガス密度リレー本体1の接点を知能制御ユニット7に接続し、知能制御ユニット7により、ガス密度リレー本体1と電気機器8との間の弁4を閉じ、知能制御ユニット7により圧力調節機構11を駆動することにより、ガス密度リレーの圧力を徐々に低下させ、目標圧力値まで低下させた後、該操作を停止することができる。次に、知能制御ユニット7の温度調節機構5への制御により、ガス密度リレー1の温度を上昇させ、さらにガス密度リレー本体1の温度補償素子の温度が上昇し、ガス密度リレー本体1に接点動作を発生させ、接点動作はオンラインチェック接点信号サンプリングユニット6を介して知能制御ユニット7に伝達され、知能制御ユニット7は接点動作時の圧力値、温度値に基づいてガス密度値を取得し、又はガス密度値を直接取得し、ガス密度リレー本体の接点信号動作値を検出し、ガス密度リレーの接点信号動作値のチェック作業を完了し、この操作は実施例1と類似する。
知能制御ユニット7の温度調節機構5への制御により、ガス密度リレー1の温度を低下させ、さらにガス密度リレー本体1の温度補償素子の温度が低下することにより、ガス密度リレー本体に接点リセットが発生し、接点リセットはオンラインチェック接点信号サンプリングユニット6を介して知能制御ユニット7に伝達され、知能制御ユニット7は接点リセット時の圧力値、温度値に基づいてガス密度値を取得し、又はガス密度値を直接取得し、ガス密度リレー本体1の接点信号の戻り値を検出し、ガス密度リレーの接点信号戻り値のチェック作業を完了する。
全ての接点信号チェック作業が完了した後、知能制御ユニット7は温度調節機構5の加熱素子をオフにするとともに、オンラインチェック接点信号サンプリングユニット6を動作状態に調整し、ガス密度リレー本体1の接点信号の制御回路は正常動作状態に復帰して稼働する。本実施例において、温度調節機構5と圧力調節機構11の操作順序は柔軟であってもよく、すなわちまず圧力調節機構11を操作してから、温度調節機構5を操作してもよく、或いはまず温度調節機構5を操作してから、圧力調節機構11を操作してもよく、或いは、圧力調節機構11と温度調節機構5を同時に操作してもよい。
実施例3:
図3に示すように、本発明の実施例3が提供するオンラインセルフチェック機能を有するガス密度リレー又はガス密度監視装置は、その温度調整機構5が主に加熱素子501、(絶縁)固定座507で構成され、ガス密度リレー本体1のケース101内(又はケース101)に設けられる。実施例2と主に異なるのは、本実施例の圧力調節機構11が加熱又は冷却方式により圧力の調整を実現することである。具体的には、前記圧力調節機構11は主にエアチャンバー1107、加熱素子1108(及び/又は冷却素子)、保温材1109、ケース1111で構成される。前記加熱素子1108(及び/又は冷却素子)はエアチャンバー1107の外部又は内部に設けられ、前記加熱素子1107により加熱し(及び/又は前記冷却素子により冷却し)、前記エアチャンバー1107内のガスの温度変化をもたらし、さらに前記ガス密度リレー本体1の圧力昇降を完了する。
実施例4:
図4に示すように、本発明の実施例4が提供するオンラインセルフチェック機能を有するガス密度リレー又はガス密度監視装置は、ガス密度リレー本体1、第1圧力センサ21、第2圧力センサ22、第1温度センサ31、第2温度センサ32、温度調節機構5、オンラインチェック接点信号サンプリングユニット6、知能制御ユニット7、多方継手9、ガス補充ポート10、自己密封弁を含む。前記自己密封弁の一端は電気機器に密封接続され、前記自己密封弁の他端は多方継手9に接続される。ガス密度リレー本体1、第2圧力センサ22、第2温度センサ32、温度調節機構5、ガス補充ポート10は多方継手9に設けられ、第1圧力センサ21、第1温度センサ31はガス密度リレー本体1に設けられる。前記第1圧力センサ21、第2圧力センサ22、第1温度センサ31、第2温度センサ32はそれぞれ知能制御ユニット7に接続される。第1圧力センサ21、第2圧力センサ22、ガス密度リレー本体1はガス路において連通する。
実施例1と異なるのは、前記圧力センサが2つあり、それぞれ第1圧力センサ21、第2圧力センサ22であり、前記温度センサが2つあり、それぞれ第1温度センサ31、第2温度センサ32であることである。本実施例は複数の圧力センサと温度センサを提供し、第1圧力センサ21と第2圧力センサ22の監視して得られた圧力値を比較し、相互にチェックすることができ、第1温度センサ31と第2温度センサ32の監視して得られた温度値を比較し、相互にチェックすることができ、第1圧力センサ21と第1温度センサ31の監視して得られた密度値P120と、第2圧力センサ22と第2温度センサ32の監視して得られた密度値P220との間を比較し、相互にチェックすることができ、さらにオンラインチェックしてガス密度リレー本体1の定格値の密度値Pe20を取得して、相互に比較し、相互にチェックすることができる。
本発明の技術は安全保護機能を有し、具体的には以下のとおりである。1)第1圧力センサ21と第1温度センサ31又は第2圧力センサ22と第2温度センサ32に基づいて監視して得られた密度値が設定値より低い場合、ガス密度リレーは自動的にガス密度リレー本体1をチェックせず、報知信号を発する。例えば、機器のガス密度値が設定値より小さい場合、チェックせず、機器のガス密度値≧(閉鎖圧力+0.02MPa)である場合のみ、チェックすることができる。接点警報に状態指示がある。2)又はチェックする時に、この時に弁4を閉じ、第2圧力センサ22及び第2温度センサ32に基づいて監視して得られた密度値が設定値より低い時に、ガス密度リレーはガス密度リレー本体1を自動的にチェックせず、同時に報知信号(ガス漏れ)を発する。例えば、機器のガス密度値が設定値(閉鎖圧力+0.02MPa)より小さい場合、チェックせず、設定値を必要に応じて任意に設定することができる。同時に該ガス密度リレーはさらに複数の圧力センサ、温度センサの相互チェック、及びセンサとガス密度リレーとの相互チェックを有し、ガス密度リレーの動作が正常であることを確保する。
実施例5:
図5に示すように、本発明の実施例5が提供するオンラインセルフチェック機能を有するガス密度リレー又はガス密度監視装置は、実施例3と異なるのは、本実施例の圧力調節機構11とバルブ4の位置が異なり、ガス密度リレー本体1、圧力センサ2、温度センサ3、温度調節機構5、オンラインチェック接点信号サンプリングユニット6及び知能制御ユニット7が一体に設けられることである。これらの間の設置は必要に応じて適宜柔軟に設計することができる。
実施例6:
図6に示すように、本発明の実施例6が提供するオンラインセルフチェック機能を有するガス密度リレー又はガス密度監視装置は、実施例と異なる点として、本実施例は、弁4及び多方継手9をさらに含み、弁4の一端は電気機器8に連通し、弁4の他端は多方継手9によりガス密度リレー本体1のガス路に連通し、弁4は知能制御ユニット7に接続される;圧力センサ2、オンラインチェック接点信号サンプリングユニット6、知能制御ユニット7は一体で、多方継手9に設けられることである。温度調節機構5は主に加熱素子501、保温材502、温度コントローラー504、温度検出器3(温度センサと同様である)、温度調節機構ハウジング503で構成される。温度コントローラー504はPID制御を採用してもよく、又はPIDとファジー制御を組み合わせた制御方式を採用してもよい。加熱素子501の電気加熱動作電力範囲は温度コントローラー504及び温度昇降幅設定値により制御され、異なる電力の大きさにより温度の変化幅を制御する。乖離度を設定することにより、それを早めに加熱又は冷却することができる。温度調節機構5内の温度は、知能制御ユニット7及び温度コントローラー504により、ガス密度リレー接点信号の動作値を測定する時に、動作値に近い時に温度変化速度が一秒当たり1.0℃以下であり(乃至一秒当たり0.5℃以下であり、又は必要に応じて該要求を設定する)、すなわち温度要求が安定して上昇又は下降する。
動作原理としては、設定されたチェック時間、及びガス密度値状況及び/又は温度値状況に基づいて、ガス密度リレーを許可及び/又はチェックできる状況で、例えば冬に電気機器のガス圧力が低い時が選択され、知能制御ユニット7によりオンラインチェック接点信号サンプリングユニット6をチェック状態に調整し、チェック状態で、オンラインチェック接点信号サンプリングユニット6はガス密度リレー本体1の接点信号の制御回路を切断し、ガス密度リレー本体1の接点を知能制御ユニット7に接続し、知能制御ユニット7の温度調節機構5への制御により、ガス密度リレーのガスの温度を上昇させ、設定値(例えば設定値温度が70℃である)に達した後、知能制御ユニット7により弁4を閉じ、ガス密度リレーのガスの温度又は圧力が適切に低下した後(例えば環境温度が、12℃である)、さらに知能制御ユニット7の温度調節機構5への制御により、ガス密度リレーの温度を上昇させ、さらにガス密度リレー本体1の温度補償素子の温度が上昇すると(45.6℃まで上昇すると)、ガス密度リレー本体1に接点動作を発生させ、接点動作はオンラインチェック接点信号サンプリングユニット6を介して知能制御ユニット7に伝達され、知能制御ユニット7は接点動作時の圧力値、温度値に基づいてガス密度値を取得し、又はガス密度値を直接取得し、ガス密度リレー本体1の接点信号動作値を検出し、ガス密度リレー本体1の接点信号動作値のチェック作業を完了し、全ての接点信号チェク作業が完了した後、知能制御ユニット7は弁4を開くとともに、温度調節機構5をオフにする。
実施例7:
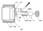
図7に示すように、本発明の実施例7が提供するオンラインセルフチェック機能を有するガス密度リレー又はガス密度監視装置であって、本実施例は弁4及び加熱デバイス1108をさらに含み、弁4の一端は継手1010に接続され(継手1010は電気機器に連通する)、弁4の他端はガス密度リレー本体1のガス路に連通し、弁4は知能制御ユニット7にも接続され、加熱デバイス1108はガス密度リレーの接続管1011に設けられ、接続管1011の内部は中空であり、加熱デバイス1108は知能制御ユニット7にも接続され、加熱デバイス1108の外部に保温材1109が設けられる。
動作原理としては、設定されたチェック時間及び/又はチェック指令、及びガス密度値状況及び/又は温度値状況に基づいて、ガス密度リレーを許可及び/又はチェックできる状況で、知能制御ユニット7によりオンラインチェック接点信号サンプリングユニット6をチェック状態に調整し、チェック状態で、オンラインチェック接点信号サンプリングユニット6はガス密度リレー本体1の接点信号の制御回路を切断し、ガス密度リレー本体1の接点を知能制御ユニット7に接続する。知能制御ユニット7により前記加熱デバイス1108の加熱を制御することにより、前記弁4とガス密度リレー本体1との間の接続管1011内部のエアチャンバー内のガスの温度が変化し、設定値(例えば設定値の温度が70℃である)に達した後、知能制御ユニット7により弁4を閉じ、さらに知能制御ユニット7により前記加熱デバイス1108をオフにする。接続管1011の内部エアチャンバーの温度又は圧力が適切に低下した後(例えば環境温度、-10℃)、さらに知能制御ユニット7により温度調節機構5を制御し、ガス密度リレーの温度を上昇させ、さらにガス密度リレー本体1の温度補償素子の温度が上昇し(38.5℃まで上昇するとする)、ガス密度リレー本体1に接点動作を発生させ、接点動作はオンラインチェック接点信号サンプリングユニット6を介して知能制御ユニット7に伝達され、知能制御ユニット7は接点動作時の圧力値、温度値に基づいてガス密度値を取得し、又はガス密度値を直接取得し、ガス密度リレー本体1の接点信号動作値を検出し、ガス密度リレーの接点信号動作値のチェック作業を完了する。全ての接点信号チェック動作が完了した後、知能制御ユニット7は弁4を開くとともに、温度調節機構5をオフにする。
上記内容において、オンラインセルフチェック機能を有するガス密度リレーは、一般的にその構成要素が一体構造に設計されることを指し、ガス密度監視装置は一般的にその構成要素が別体構造に設計され、柔軟に構成されることを指す。
前記のように、本発明の提供するオンラインセルフチェック機能を有するガス密度リレー及びそのチェック方法は、ガス路(管路を介してもよい)接続部分、温度調整部分(乃至圧力調整部分を含む)、信号測定制御部分等で構成され、主な機能は環境温度でのガス密度リレーの接点信号(警報/閉鎖動作時の圧力値)に対してオンラインチェック測定を行うとともに、20℃時の対応する圧力値に自動的に換算し、オンラインでガス密度リレーの接点(警報及び閉鎖)値に対する性能検出を実現することである。そのガス密度リレー、圧力センサ、温度センサ、温度調節機構、圧力調節機構、弁、オンラインチェック接点信号サンプリングユニット、知能制御ユニットの取付位置は柔軟に組み合わせることができる。例えば、ガス密度リレー本体、圧力センサ、温度センサ、オンラインチェック接点信号サンプリングユニット、知能制御ユニットは一体に組み合わせることができ、一体化設計されてもよく、別体設計されてもよく、ケース、又は多方継手に取り付けられてもよく、接続管により一体に接続されてもよい。弁は電気機器に直接接続されてもよく、自己密封弁、又はガス管により接続されてもよい。圧力センサ、温度センサ、オンラインチェック接点信号サンプリングユニット、知能制御ユニットを組み合わせることができ、一体化設計し、圧力センサ、温度センサを組み合わせることができ、一体化設計し、オンラインチェック接点信号サンプリングユニット、知能制御ユニットを組み合わせることができ、一体化設計する。要するに、構造は制限されない。
オンラインセルフチェック機能を有するガス密度リレーは、高温、低温、常温、20℃の環境温度で密度リレー接点をチェックする時、その誤差に対する判定要求が異なってもよく、具体的には温度の要求に応じて、関連標準に応じて実施することができ、密度リレーが異なる温度で、異なる時間帯に応じてその誤差性能の比較、すなわち異なる時期、同じ温度範囲内の比較を行い、密度リレーの性能を判定することができる。履歴の各時期の比較、履歴と現在の比較を有する。密度リレー本体を健診することもできる。必要な場合、密度リレー接点信号を随時にチェックすることができ、ガス密度リレー本体を有し、監視された電気機器の密度値が正常であるか否かを判定する。すなわち、電気機器自体の密度値、ガス密度リレー本体、圧力センサ、温度センサに対して正常及び異常の判定及び分析、比較を行うことができ、さらに電気機器のガス密度監視、密度リレー本体等の状態に対する判定、比較、分析を実現し、さらにガス密度リレーの接点信号状態を監視し、その状態を遠隔伝送することができる。バックグラウンドでガス密度リレーの接点信号状態を知ることができる。オフであるか又はオフであるか、それにより多く監視し、信頼性を向上させ、さらにガス密度リレー本体の温度補償性能を検出し、又は検出して判定することができ、さらにガス密度リレー本体の接点接触抵抗を検出し、又は検出して判定することができ、さらにガス密度リレー本体の絶縁性能を検出し、又は検出して判定することができる。また、SF6ガスにとって、SF6ガス圧力-温度特性の具体的な換算方法はベティ-ブリッジマン方程式に基づいて計算することができ、SF6混合ガスにとって、SF6混合ガス圧力-温度特性の具体的な換算方法はダルトン分圧法則、ベティ-ブリッジマン方程式、理想ガス状態方程式に基づいて計算することができる。温度調節機構はガス密度リレー本体のケース内又はケース外に設けられてもよく、ケースに設けられることが含まれる。
前記信号発生器は、マイクロスイッチ、磁気アシスト式電気接点、リードスイッチ、小型スイッチを含むが、これらに限定されなく、前記ガス密度リレー本体は前記信号発生器を介して接点信号を出力し、前記圧力検出器はバーデン管、波形管、波形管+バネ、圧力センサを含むが、これらに限定されなく、前記温度補償素子は温度補償シート、ケース内に封止されたガス、温度補償シート+ケース内に封止されたガスを含むが、これらに限定されない。
本願は構造配置がコンパクトで、合理的であり、各部材は優れた防錆、防振能力を有し、取り付けが堅固であり、使用が確実である。ガス密度リレーの各管路の接続、着脱は操作しやすく、機器及び部品はメンテナンスしやすい。本願は点検員が現場まで出る必要がなくガス密度リレーのチェック作業を完了することができ、電網の信頼性を大幅に向上させ、作業効率を向上させ、運転メンテナンスのコストを低減する。
以上は本発明の具体的な実施例を詳細に説明したが、それは単に例示的なものであり、本発明は以上に説明した具体的な実施例に限定されるものではない。当業者にとって、本発明に対して行われた任意の同等の修正及び代替も本発明の範囲内にある。したがって、本発明の精神及び範囲から逸脱することなく行われた均等変換及び修正は、いずれも本発明の範囲内に含まれるべきである。
本願は下記の特許出願の優先権を請求する。
1、2019年9月4日に出願された出願番号が201910830172.4であるもの(発明の名称:オンラインセルフチェック機能を有するガス密度リレー及びそのチェック方法);
2、2019年9月4日に出願された出願番号が201910830184.7であるもの(発明の名称:オンラインセルフチェック機能を有するガス密度リレー及びそのチェック方法);
3、2019年9月4日に出願された出願番号が201910830140.4であるもの(発明の名称:ガス密度リレーの改造方法)。
1 ガス密度リレー本体
2 圧力センサ
3 温度センサ
4 弁
5 温度調節機構
6 オンラインチェック接点信号サンプリングユニット
7 知能制御ユニット
8 電気機器
9 多方継手
10 ガス補充ポート
11 圧力調節機構
21 第1圧力センサ
22 第2圧力センサ
31 第1温度センサ
32 第2温度センサ
101 ケース
102 ベース
103 圧力検出器
104 温度補償素子
105 ムーブメント
106 指針
107 ダイヤル
108 端座
109 信号発生器
501 加熱素子
502 保温材
503 温度調節機構ハウジング
504 温度コントローラー
507 (絶縁)固定座
1010 継手
1011 接続管
1101 ピストン
1102 駆動機構
1107 エアチャンバー
1108 加熱素子
1109 保温材
1110 シールリング
1111 ケース

Claims (13)

  1. オンラインセルフチェック機能を有するガス密度リレーであって、ガス密度リレー本体、ガス密度検出センサ、温度調節機構、オンラインチェック接点信号サンプリングユニット及び知能制御ユニットを含み、
    前記温度調節機構は、温度調整可能な調節機構であり、前記ガス密度リレー本体に接点信号動作を発生させるように、前記ガス密度リレー本体の温度補償素子の温度昇降を調節するように配置され、
    前記ガス密度検出センサは、前記ガス密度リレー本体に連通し、
    前記オンラインチェック接点信号サンプリングユニットは、前記ガス密度リレー本体に直接的又は間接的に接続され、前記ガス密度リレー本体の接点が動作する時に生成される接点信号をサンプリングするように配置され、
    前記知能制御ユニットは、それぞれ前記ガス密度検出センサ、前記温度調節機構及び前記オンラインチェック接点信号サンプリングユニットに接続され、前記温度調節機構の制御、圧力値収集及び温度値収集、及び/又はガス密度値収集、並びに前記ガス密度リレー本体の接点信号動作値及び/又は接点信号戻り値の検出を完了するように配置され、
    ここで、前記接点信号は警報、及び/又は閉鎖を含む
    ことを特徴とするオンラインセルフチェック機能を有するガス密度リレー。
  2. 前記ガス密度リレー本体は、ケース、及び前記ケース内に設けられたベース、圧力検出器、温度補償素子、及び少なくとも1つの信号発生器を含み、ここで、前記信号発生器は、マイクロスイッチ又は磁気アシスト式電気接点を含み、前記ガス密度リレー本体は、前記信号発生器を介して接点信号を出力し、前記圧力検出器はバーデン管又は波形管を含み、前記温度補償素子は温度補償シート又はケース内に封止されたガスを採用する、
    ことを特徴とする請求項1に記載のオンラインセルフチェック機能を有するガス密度リレー。
  3. 前記ガス密度検出センサは少なくとも1つの圧力センサ及び少なくとも1つの温度センサを含み、ここで、前記圧力センサは前記ガス密度リレー本体のガス路に取り付けられ、前記温度センサは前記ガス密度リレー本体のガス路上又はガス路外に取り付けられ、又は前記ガス密度リレー本体内に取り付けられ、又は前記ガス密度リレー本体外に取り付けられ、或いは、前記ガス密度検出センサは圧力センサ及び温度センサで構成されたガス密度トランスミッターであり、或いは、前記ガス密度検出センサはクォーツ音叉テクノロジーを採用する密度検出センサである
    ことを特徴とする請求項1に記載のオンラインセルフチェック機能を有するガス密度リレー。
  4. 前記ガス密度リレーは、圧力調節機構を更に含み、前記圧力調節機構のガス路は、前記ガス密度リレー本体に連通し、前記圧力調節機構は、前記ガス密度リレー本体の圧力昇降を調節するように配置され、さらに温度調節機構と嵌合し、かつ/又は結合することで、前記ガス密度リレー本体に接点信号動作を発生させ、前記知能制御ユニットは前記圧力調節機構に接続され、前記圧力調節機構の制御を完了し、或いは、
    加熱デバイスを更に含み、前記知能制御ユニットは前記加熱デバイスに接続され、或いは、
    エアチャンバー及び加熱デバイスを更に含み、前記エアチャンバーは前記ガス密度リレー本体に連通し、前記加熱デバイスは前記エアチャンバーの外部又は内部に設けられ、前記知能制御ユニットは前記加熱デバイスに接続される
    ことを特徴とする請求項1に記載のオンラインセルフチェック機能を有するガス密度リレー。
  5. 前記圧力調節機構は密閉エアチャンバーであり、前記密閉エアチャンバーの外部又は内部に加熱素子、及び/又は冷却素子が設けられ、チェック時、前記加熱素子により加熱し、かつ/又は前記冷却素子により冷却し、前記密閉エアチャンバー内のガスの温度変化をもたらし、さらに前記ガス密度リレーの圧力昇降を完了し、或いは、
    前記圧力調節機構は一端が開口したキャビティであり、前記キャビティの他端は前記ガス密度リレー本体に連通し、前記キャビティ内にピストンがあり、前記ピストンの一端に調節ロッドが接続され、前記調節ロッドの外端は駆動部材に接続され、前記ピストンの他端は前記開口内に伸び込み、かつ前記キャビティの内壁と密封接触し、前記駆動部材は前記調節ロッドを駆動してさらに前記ピストンが前記キャビティ内を移動するように連動させ、或いは、
    前記圧力調節機構は密閉エアチャンバーであり、前記密閉エアチャンバーの内部にピストンが設けられ、前記ピストンは前記密閉エアチャンバーの内壁と密封接触し、前記密閉エアチャンバーの外部に駆動部材が設けられ、前記駆動部材は電磁力により前記ピストンが前記キャビティ内を移動するように駆動し、或いは、
    前記圧力調節機構は一端が駆動部材に接続されたエアバッグであり、前記エアバッグは前記駆動部材の駆動で体積変化が発生し、前記エアバッグは前記ガス密度リレー本体に連通し、或いは、
    前記圧力調節機構は波形管であり、前記波形管の一端は前記ガス密度リレー本体に連通し、前記波形管の他端は前記駆動部材の駆動で伸縮し、或いは、
    前記圧力調節機構はリリースバルブであり、前記リリースバルブは電磁弁又は電動弁であり、或いは、
    前記圧力調節機構は圧縮機であり、或いは、
    前記圧力調節機構はポンプであり、前記ポンプは圧力発生ポンプ、加圧ポンプ、電動エアポンプ、及び電磁エアポンプのうちの一種を含み、
    ここで、前記駆動部材は磁力、電機、往復運動機構、カルノー循環機構、及び空気圧素子のうちの一種を含む
    ことを特徴とする請求項に記載のオンラインセルフチェック機能を有するガス密度リレー。
  6. 前記知能制御ユニットは前記ガス密度リレー本体に接点信号動作又は切り替えが発生する時、前記ガス密度検出センサが収集したガス密度値を取得し、前記ガス密度リレーのオンラインチェックを完了し、或いは、
    前記知能制御ユニットは、前記ガス密度リレー本体に接点信号動作又は切り替えが発生する時に前記ガス密度検出センサが収集した圧力値及び温度値を取得するとともに、ガス圧力-温度特性に応じて20℃に対応する圧力値であるガス密度値に換算し、前記ガス密度リレーのオンラインチェックを完了する
    ことを特徴とする請求項1に記載のオンラインセルフチェック機能を有するガス密度リレー。
  7. 正常動作状態の場合に、ガス密度リレーは電気機器内のガス密度値を監視することと、
    ガス密度リレーは設定されたチェック時間及び/又はチェック指令、及びガス密度値状況及び/又は温度値状況に基づいて、ガス密度リレーを許可し及び/又はチェックできる状況で、
    知能制御ユニットの温度調節機構への制御により、ガス密度リレーの温度を上昇させ、さらにガス密度リレー本体の温度補償素子の温度が上昇し、ガス密度リレー本体に接点動作を発生させ、接点動作はオンラインチェック接点信号サンプリングユニットを介して知能制御ユニットに伝達され、知能制御ユニットは接点動作時の圧力値、温度値に基づいてガス密度値を取得し、又はガス密度値を直接取得し、ガス密度リレー本体の接点信号動作値を検出し、ガス密度リレーの接点信号動作値のチェック作業を完了することと、
    全ての接点信号チェック作業が完了した後、知能制御ユニットは温度調節機構の加熱素子をオフにすることと、を含む
    ことを特徴とする請求項1に記載のオンラインセルフチェック機能を有するガス密度リレーのチェック方法。
  8. 正常動作状態の場合に、ガス密度リレーは電気機器内のガス密度値を監視すると同時に、ガス密度リレーはガス密度検出センサ及び知能制御ユニットにより電気機器内のガス密度値をオンラインで監視することと、
    ガス密度リレーは設定されたチェック時間及び/又はチェック指令、及びガス密度値状況及び/又は温度値状況に基づいて、ガス密度リレーを許可し及び/又はチェックできる状況で、
    知能制御ユニットによりオンラインチェック接点信号サンプリングユニットをチェック状態に調整し、チェック状態で、オンラインチェック接点信号サンプリングユニットは、ガス密度リレー本体の接点信号の制御回路を切断し、ガス密度リレー本体の接点を知能制御ユニットに接続することと、
    知能制御ユニットの温度調節機構への制御により、ガス密度リレーの温度を上昇させ、さらにガス密度リレー本体の温度補償素子の温度が上昇し、ガス密度リレー本体に接点動作を発生させ、接点動作はオンラインチェック接点信号サンプリングユニットを介して知能制御ユニットに伝達され、知能制御ユニットは接点動作時の圧力値、温度値に基づいてガス密度値を取得し、又はガス密度値を直接取得し、ガス密度リレー本体の接点信号動作値を検出し、ガス密度リレーの接点信号動作値のチェック作業を完了することと、
    知能制御ユニットの温度調節機構への制御により、ガス密度リレーの温度を低下させ、さらにガス密度リレー本体の温度補償素子の温度が低下することにより、ガス密度リレー本体に接点リセットが発生し、接点リセットはオンラインチェック接点信号サンプリングユニットを介して知能制御ユニットに伝達され、知能制御ユニットは接点リセット時の圧力値、温度値に基づいてガス密度値を取得し、又はガス密度値を直接取得し、ガス密度リレー本体の接点信号の戻り値を検出し、ガス密度リレーの接点信号戻り値のチェック作業を完了することと、
    全ての接点信号チェック作業が完了した後、知能制御ユニットは温度調節機構の加熱素子をオフにするとともに、オンラインチェック接点信号サンプリングユニットを動作状態に調整し、ガス密度リレー本体の接点信号の制御回路は正常動作状態に復帰して稼働することと、を含む
    ことを特徴とする請求項に記載のガス密度リレーのチェック方法。
  9. 前記ガス密度リレーは弁及び圧力調節機構を更に含み、前記圧力調節機構のガス路はガス密度リレー本体のガス路に連通し、前記弁の一端には電気機器に連通する接続ポートが設けられ、弁の他端はガス密度リレー本体のガス路に連通し、前記チェック方法は、
    正常動作状態の場合に、ガス密度リレーは電気機器内のガス密度値を監視することと、
    ガス密度リレーは設定されたチェック時間及び/又はチェック指令、及びガス密度値状況及び/又は温度値状況に基づいて、ガス密度リレーを許可し及び/又はチェックできる状況で、
    知能制御ユニットにより弁を閉じることと、
    知能制御ユニットにより圧力調節機構を駆動し、ガス圧力を徐々に低下させ、かつ知能制御ユニットにより温度調節機構を制御し、ガス密度リレーの温度を上昇させ、さらにガス密度リレー本体の温度補償素子の温度が上昇し、ガス密度リレー本体に接点動作を発生させ、接点動作はオンラインチェック接点信号サンプリングユニットを介して知能制御ユニットに伝達され、知能制御ユニットは接点動作時の圧力値、温度値に基づいてガス密度値を取得し、又はガス密度値を直接取得し、ガス密度リレー本体の接点信号動作値を検出し、ガス密度リレーの接点信号動作値のチェック作業を完了することと、
    全ての接点信号チェック作業が完了した後、知能制御ユニットは弁を開き、かつ知能制御ユニットは温度調節機構の加熱素子をオフにすること、をさらに含む
    ことを特徴とする請求項に記載のガス密度リレーのチェック方法。
  10. ガス密度リレーは弁及び圧力調節機構を更に含み、前記圧力調節機構のガス路はガス密度リレー本体のガス路に連通し、前記弁の一端には電気機器に連通する接続ポートが設けられ、前記弁の他端はガス密度リレー本体のガス路に連通し、前記チェック方法は、
    正常動作状態の場合に、ガス密度リレーは電気機器内のガス密度値を監視すると同時に、ガス密度リレーはガス密度検出センサ及び知能制御ユニットにより電気機器内のガス密度値をオンラインで監視することと、
    ガス密度リレーは設定されたチェック時間及び/又はチェック指令、及びガス密度値状況及び/又は温度値状況に基づいて、ガス密度リレーを許可し及び/又はチェックできる状況で、
    知能制御ユニットにより弁を閉じることと、
    知能制御ユニットによりオンラインチェック接点信号サンプリングユニットをチェック状態に調整し、チェック状態で、オンラインチェック接点信号サンプリングユニットは、ガス密度リレー本体の接点信号の制御回路を切断し、ガス密度リレー本体の接点を知能制御ユニットに接続することと、
    知能制御ユニットの温度調節機構への制御により、ガス密度リレーの温度を上昇させ、さらにガス密度リレー本体の温度補償素子の温度が上昇し、かつ知能制御ユニットにより圧力調節機構を駆動することにより、ガス圧力を徐々に低下させ、ガス密度リレー本体に接点動作を発生させ、接点動作はオンラインチェック接点信号サンプリングユニットを介して知能制御ユニットに伝達され、知能制御ユニットは接点動作時の圧力値、温度値に基づいてガス密度値を取得し、又はガス密度値を直接取得し、ガス密度リレー本体の接点信号動作値を検出し、ガス密度リレーの接点信号動作値のチェック作業を完了することと、
    知能制御ユニットの温度調節機構への制御により、ガス密度リレーの温度を低下させ、さらにガス密度リレー本体の温度補償素子の温度が低下し、かつ知能制御ユニットにより圧力調節機構を駆動することにより、ガス圧力を徐々に上昇させ、ガス密度リレー本体に接点リセットを発生させ、接点リセットはオンラインチェック接点信号サンプリングユニットを介して知能制御ユニットに伝達され、知能制御ユニットは接点リセット時の圧力値、温度値に基づいてガス密度値を取得し、又はガス密度値を直接取得し、ガス密度リレー本体の接点信号戻り値を検出し、ガス密度リレーの接点信号戻り値のチェック作業を完了することと、
    全ての接点信号チェック作業が完了した後、知能制御ユニットは弁を開き、かつ知能制御ユニットは温度調節機構の加熱素子をオフにするとともに、オンラインチェック接点信号サンプリングユニットを動作状態に調整し、ガス密度リレー本体の接点信号の制御回路は正常動作状態に復帰して稼働することと、を更に含む
    ことを特徴とする求項に記載のガス密度リレーのチェック方法。
  11. 前記ガス密度リレーは加熱デバイス及び弁を更に含み、前記加熱デバイスは前記知能制御ユニットに接続され、前記弁の一端には電気機器に連通する接続ポートが設けられ、前記弁の他端はガス密度リレー本体のガス路に連通し、前記チェック方法は、
    正常動作状態の場合に、ガス密度リレーは電気機器内のガス密度値を監視すると同時に、ガス密度リレーはガス密度検出センサ及び知能制御ユニットにより電気機器内のガス密度値をオンラインで監視することと、
    ガス密度リレーは設定されたチェック時間及び/又はチェック指令、及びガス密度値状況及び/又は温度値状況に基づいて、ガス密度リレーを許可し及び/又はチェックできる状況で、
    知能制御ユニットによりオンラインチェック接点信号サンプリングユニットをチェック状態に調整し、チェック状態で、オンラインチェック接点信号サンプリングユニットは、ガス密度リレー本体の接点信号の制御回路を切断し、ガス密度リレー本体の接点を知能制御ユニットに接続することと、
    知能制御ユニットにより前記加熱デバイスの加熱を制御し、ガス密度リレー本体のガスの温度変化をもたらし、設定値に達した後、知能制御ユニットにより弁を閉じ、さらに知能制御ユニットにより前記加熱デバイスをオフにすることと、
    ガスの温度又は圧力が適切値まで低下した後、さらに知能制御ユニットの温度調節機構への制御により、ガス密度リレーの温度を上昇させ、さらにガス密度リレー本体の温度補償素子の温度が上昇し、ガス密度リレー本体に接点動作を発生させ、接点動作は接点信号サンプリングユニットを介して知能制御ユニットに伝達され、知能制御ユニットは接点動作時の圧力値、温度値に基づいてガス密度値を取得し、又はガス密度値を直接取得し、ガス密度リレー本体の接点信号動作値を検出し、ガス密度リレーの接点信号動作値のチェック作業を完了することと、
    全ての接点信号チェック作業が完了した後、知能制御ユニットは弁を開き、かつ知能制御ユニットは温度調節機構をオフにすることと、を更に含む
    ことを特徴とする請求項に記載のガス密度リレーのチェック方法。
  12. ガス密度検出センサを、ガス密度リレー本体に連通することと、
    前記ガス密度検出センサのガス路を、多方継手の第1インタフェースに接続することと、
    温度調節機構をガス密度リレー本体のケース内又はケース外に設け、前記温度調節機構は前記ガス密度リレー本体の温度補償素子の温度昇降を調節し、前記ガス密度リレー本体に接点信号動作を発生させることと、
    オンラインチェック接点信号サンプリングユニットを、前記ガス密度リレー本体に直接的又は間接的に接続し、前記オンラインチェック接点信号サンプリングユニットは、前記ガス密度リレー本体の接点が動作する時に生成される接点信号をサンプリングすることと、
    知能制御ユニットを、それぞれ前記ガス密度検出センサ、前記温度調節機構及び前記オンラインチェック接点信号サンプリングユニットに接続し、前記温度調節機構の制御、圧力値収集及び温度値収集、及び/又はガス密度値収集、並びに前記ガス密度リレー本体の接点信号動作値及び/又は接点信号戻り値の検出を完了することと、を更に含み、
    ここで、前記接点信号は警報、及び/又は閉鎖を含む
    ことを特徴とする請求項1に記載のガス密度リレーの改造方法。
  13. 圧力調節機構のガス路を、前記ガス密度リレー本体に連通し、前記圧力調節機構は前記ガス密度リレー本体の圧力昇降を調整し、さらに温度調節機構と嵌合及び/又は結合することにより、前記ガス密度リレー本体に接点信号動作を発生させるように配置され、前記圧力調節機構を前記知能制御ユニットにも接続することにより、前記圧力調節機構が前記知能制御ユニットの制御で動作することを更に含み、及び/或いは、
    弁の一端を電気機器に連通し、弁の他端を前記ガス密度リレー本体のガス路に連通し、前記弁を前記知能制御ユニットにも接続することにより、前記弁が前記知能制御ユニットの制御で閉じ又は開きを実現する
    ことを特徴とする請求項12に記載のガス密度リレーの改造方法。
JP2022515059A 2019-09-04 2020-08-26 ガス密度リレーの改造方法、オンラインセルフチェック機能を有するガス密度リレー及びそのチェック方法 Active JP7581335B2 (ja)

Applications Claiming Priority (7)

Application Number Priority Date Filing Date Title
CN201910830172.4A CN110530758B (zh) 2019-09-04 2019-09-04 一种具有在线自校验功能的气体密度继电器及其校验方法
CN201910830140.4A CN110542852B (zh) 2019-09-04 2019-09-04 一种气体密度继电器的改造方法
CN201910830184.7 2019-09-04
CN201910830140.4 2019-09-04
CN201910830172.4 2019-09-04
CN201910830184.7A CN110441195B (zh) 2019-09-04 2019-09-04 一种具有在线自校验功能的气体密度继电器及其校验方法
PCT/CN2020/111247 WO2021043035A1 (zh) 2019-09-04 2020-08-26 一种气体密度继电器的改造方法、一种具有在线自校验功能的气体密度继电器及其校验方法

Publications (2)

Publication Number Publication Date
JP2022547139A JP2022547139A (ja) 2022-11-10
JP7581335B2 true JP7581335B2 (ja) 2024-11-12

Family

ID=74853045

Family Applications (1)

Application Number Title Priority Date Filing Date
JP2022515059A Active JP7581335B2 (ja) 2019-09-04 2020-08-26 ガス密度リレーの改造方法、オンラインセルフチェック機能を有するガス密度リレー及びそのチェック方法

Country Status (5)

Country Link
US (1) US12154738B2 (ja)
EP (1) EP4027152B1 (ja)
JP (1) JP7581335B2 (ja)
BR (1) BR112022004053A2 (ja)
WO (1) WO2021043035A1 (ja)

Families Citing this family (6)

* Cited by examiner, † Cited by third party
Publication number Priority date Publication date Assignee Title
US12099093B2 (en) * 2019-12-11 2024-09-24 Shanghai Roye Electric Co., Ltd. Method for modifying gas density relay, and gas density relay having online self-checking function and checking method therefor
CN113960265B (zh) * 2021-11-25 2024-03-01 浙江盛暄电力科技有限公司 六氟化硫气体检漏报警仪及其工作方法
CN116625878B (zh) * 2023-04-23 2025-02-21 朗松珂利(上海)仪器仪表有限公司 用于气体密度继电器的表盘总成及气体密度继电器
CN116957543B (zh) * 2023-09-19 2023-12-22 成都秦川物联网科技股份有限公司 基于大数据的智慧燃气设备管理方法和物联网系统
CN119001026A (zh) * 2024-08-23 2024-11-22 国网江苏省电力有限公司南通供电分公司 一种在线监测六氟化硫分解产物的监测装置及控制方法
CN119000420B (zh) * 2024-10-23 2024-12-20 西安航电精密仪器有限公司 一种指针式密度继电器校准方法及系统

Citations (3)

* Cited by examiner, † Cited by third party
Publication number Priority date Publication date Assignee Title
US20120306656A1 (en) 2011-03-02 2012-12-06 Franklin Fueling Systems, Inc. Gas density monitoring system
CN104616931A (zh) 2015-02-02 2015-05-13 国家电网公司 一种耐低温数字式sf6继电器
JP2015108561A (ja) 2013-12-05 2015-06-11 株式会社東芝 ガス密度スイッチの試験装置

Family Cites Families (29)

* Cited by examiner, † Cited by third party
Publication number Priority date Publication date Assignee Title
US3593582A (en) * 1969-09-26 1971-07-20 Jay Instr And Specialty Co Combination pressure-responsive indicating and actuating device
DE2744549C2 (de) * 1977-10-04 1984-03-29 Alexander Wiegand Gmbh U. Co Armaturen- U. Manometerfabrik, 8763 Klingenberg Einrichtung zur Überwachung der Dichte eines Gases innerhalb eines Druckbehälters
JPH02133113U (ja) * 1989-04-04 1990-11-05
US5388451A (en) * 1993-07-30 1995-02-14 Consolidated Electronics Inc. High voltage transmission switching apparatus with gas monitoring device
US5629869A (en) * 1994-04-11 1997-05-13 Abb Power T&D Company Intelligent circuit breaker providing synchronous switching and condition monitoring
CN2574047Y (zh) * 2002-10-23 2003-09-17 上海珂利电气有限公司 六氟化硫气体密度继电器校验仪
CN2650118Y (zh) * 2003-07-09 2004-10-20 上海珂利电气有限公司 一种指针式sf6气体密度继电器
CN201796123U (zh) * 2010-09-09 2011-04-13 辽宁省电力有限公司抚顺供电公司 六氟化硫密度继电器校验系统
CN101937060B (zh) * 2010-09-09 2013-03-06 辽宁省电力有限公司抚顺供电公司 六氟化硫密度继电器校验系统及校验方法
CN103913704A (zh) * 2013-01-07 2014-07-09 王金胜 一种可回收气体的全自动sf6气体密度继电器校验仪
CN104698371A (zh) * 2013-12-04 2015-06-10 上海乐研电气科技有限公司 一种多功能气体密度继电器校验装置
CN204165926U (zh) * 2014-09-30 2015-02-18 国家电网公司 一种高压断路器六氟化硫特性在线监测装置
CN104299843B (zh) * 2014-10-21 2017-01-25 上海乐研电气有限公司 一种校验时免拆卸的气体密度继电器
CN104460480B (zh) 2014-11-11 2018-02-09 国家电网公司 六氟化硫气体密度微水在线监测系统
CN206401232U (zh) * 2017-01-06 2017-08-11 国家电网公司 一种sf6密度继电器温湿度监控调节装置
CN108226768A (zh) * 2017-11-20 2018-06-29 国家电网公司 温度补偿校验系统和方法
CN108872847A (zh) * 2018-08-01 2018-11-23 国网新疆电力有限公司和田供电公司 六氟化硫密度继电器的检测系统
CN109243914B (zh) * 2018-09-28 2024-03-29 上海乐研电气有限公司 一种提高气体密度继电器精度的方法及气体密度继电器
CN109752649B (zh) * 2019-01-11 2024-07-30 南京固攀自动化科技有限公司 一种密度继电器智能校验监测装置及其补气校验方法
CN110530758B (zh) * 2019-09-04 2024-07-23 上海乐研电气有限公司 一种具有在线自校验功能的气体密度继电器及其校验方法
CN110542852B (zh) * 2019-09-04 2022-08-26 上海乐研电气有限公司 一种气体密度继电器的改造方法
CN110534377A (zh) * 2019-09-04 2019-12-03 上海乐研电气有限公司 一种免维护的气体密度继电器
CN110501260B (zh) * 2019-09-04 2024-07-23 上海乐研电气有限公司 一种具有在线自校验功能的气体密度继电器及其校验方法
JP7621343B2 (ja) * 2019-09-04 2025-01-24 上▲海▼▲楽▼研▲電▼▲気▼有限公司 ガス密度リレーの改造方法、オンライン自己検証機能を有するガス密度リレー及びその検証方法
CN110441195B (zh) * 2019-09-04 2024-05-14 上海乐研电气有限公司 一种具有在线自校验功能的气体密度继电器及其校验方法
US12099093B2 (en) * 2019-12-11 2024-09-24 Shanghai Roye Electric Co., Ltd. Method for modifying gas density relay, and gas density relay having online self-checking function and checking method therefor
CN111446118B (zh) * 2020-04-29 2024-05-28 上海乐研电气有限公司 具有仿真校验功能的气体密度继电器及其仿真校验方法
CN111446113B (zh) * 2020-04-29 2024-06-07 上海乐研电气有限公司 一种具有在线自校验功能的气体密度继电器及其校验方法
CN111446116B (zh) * 2020-04-29 2025-07-01 上海乐研电气有限公司 一种自诊断的气体密度继电器及其使用方法

Patent Citations (3)

* Cited by examiner, † Cited by third party
Publication number Priority date Publication date Assignee Title
US20120306656A1 (en) 2011-03-02 2012-12-06 Franklin Fueling Systems, Inc. Gas density monitoring system
JP2015108561A (ja) 2013-12-05 2015-06-11 株式会社東芝 ガス密度スイッチの試験装置
CN104616931A (zh) 2015-02-02 2015-05-13 国家电网公司 一种耐低温数字式sf6继电器

Also Published As

Publication number Publication date
EP4027152B1 (en) 2026-01-28
EP4027152A4 (en) 2023-10-11
EP4027152A1 (en) 2022-07-13
JP2022547139A (ja) 2022-11-10
US12154738B2 (en) 2024-11-26
BR112022004053A2 (pt) 2022-05-24
US20220336172A1 (en) 2022-10-20
WO2021043035A1 (zh) 2021-03-11

Similar Documents

Publication Publication Date Title
JP7581335B2 (ja) ガス密度リレーの改造方法、オンラインセルフチェック機能を有するガス密度リレー及びそのチェック方法
CN111446113B (zh) 一种具有在线自校验功能的气体密度继电器及其校验方法
CN110487670B (zh) 一种具有在线自校验功能的气体密度继电器及其校验方法
CN110530758B (zh) 一种具有在线自校验功能的气体密度继电器及其校验方法
CN111443283B (zh) 一种气体密度继电器在线校验装置及其在线校验方法
JP7621343B2 (ja) ガス密度リレーの改造方法、オンライン自己検証機能を有するガス密度リレー及びその検証方法
CN110988667B (zh) 一种具有在线自校验功能的气体密度继电器及其校验方法
CN110501260B (zh) 一种具有在线自校验功能的气体密度继电器及其校验方法
US12099093B2 (en) Method for modifying gas density relay, and gas density relay having online self-checking function and checking method therefor
CN110514995B (zh) 一种具有在线自校验功能的气体密度继电器及其校验方法
CN110554309B (zh) 一种现场气体密度继电器的在线校验方法
CN110441195B (zh) 一种具有在线自校验功能的气体密度继电器及其校验方法
CN211426165U (zh) 一种具有在线自校验功能的气体密度继电器及监测装置
CN110542853B (zh) 一种具有在线自校验功能的气体密度继电器及其校验方法
CN110441680B (zh) 一种具有在线自校验功能的气体密度继电器及其校验方法
CN211179413U (zh) 一种具有在线自校验功能的气体密度继电器及监测装置
CN110542852B (zh) 一种气体密度继电器的改造方法
CN211718032U (zh) 一种具有在线自校验功能的气体密度继电器及监测装置
CN211426166U (zh) 一种具有在线自校验功能的气体密度继电器及监测装置
CN110514996B (zh) 一种气体密度继电器的改造方法
CN211318092U (zh) 一种具有在线自校验功能的气体密度继电器及监测装置
CN211179416U (zh) 一种具有在线自校验功能的气体密度继电器及监测装置
CN210775758U (zh) 一种具有在线自校验功能的气体密度继电器及监测装置
CN212646903U (zh) 一种气体密度继电器在线校验装置
CN111446120B (zh) 一种具有在线自校验功能的气体密度继电器及其校验方法

Legal Events

Date Code Title Description
A521 Request for written amendment filed

Free format text: JAPANESE INTERMEDIATE CODE: A523

Effective date: 20220509

A621 Written request for application examination

Free format text: JAPANESE INTERMEDIATE CODE: A621

Effective date: 20230828

A977 Report on retrieval

Free format text: JAPANESE INTERMEDIATE CODE: A971007

Effective date: 20240823

TRDD Decision of grant or rejection written
A01 Written decision to grant a patent or to grant a registration (utility model)

Free format text: JAPANESE INTERMEDIATE CODE: A01

Effective date: 20240930

A61 First payment of annual fees (during grant procedure)

Free format text: JAPANESE INTERMEDIATE CODE: A61

Effective date: 20241030

R150 Certificate of patent or registration of utility model

Ref document number: 7581335

Country of ref document: JP

Free format text: JAPANESE INTERMEDIATE CODE: R150