JP7569321B2 - 側方送達される経カテーテル心臓弁のための近位タブ及び送達方法 - Google Patents

側方送達される経カテーテル心臓弁のための近位タブ及び送達方法 Download PDF

Info

Publication number
JP7569321B2
JP7569321B2 JP2021535023A JP2021535023A JP7569321B2 JP 7569321 B2 JP7569321 B2 JP 7569321B2 JP 2021535023 A JP2021535023 A JP 2021535023A JP 2021535023 A JP2021535023 A JP 2021535023A JP 7569321 B2 JP7569321 B2 JP 7569321B2
Authority
JP
Japan
Prior art keywords
valve
fixation element
prosthetic heart
configuration
heart valve
Prior art date
Legal status (The legal status is an assumption and is not a legal conclusion. Google has not performed a legal analysis and makes no representation as to the accuracy of the status listed.)
Active
Application number
JP2021535023A
Other languages
English (en)
Other versions
JP2022514008A (ja
JPWO2020131978A5 (ja
Inventor
クリスチャンソン,マーク
ヴィドルンド,ロバート
サイクリシュナン,ニーラカンタン
クラーマー,スコット
Original Assignee
ブイダイン,インコーポレイテッド
Priority date (The priority date is an assumption and is not a legal conclusion. Google has not performed a legal analysis and makes no representation as to the accuracy of the date listed.)
Filing date
Publication date
Application filed by ブイダイン,インコーポレイテッド filed Critical ブイダイン,インコーポレイテッド
Publication of JP2022514008A publication Critical patent/JP2022514008A/ja
Publication of JPWO2020131978A5 publication Critical patent/JPWO2020131978A5/ja
Priority to JP2024175269A priority Critical patent/JP2025013826A/ja
Application granted granted Critical
Publication of JP7569321B2 publication Critical patent/JP7569321B2/ja
Active legal-status Critical Current
Anticipated expiration legal-status Critical

Links

Images

Classifications

    • AHUMAN NECESSITIES
    • A61MEDICAL OR VETERINARY SCIENCE; HYGIENE
    • A61FFILTERS IMPLANTABLE INTO BLOOD VESSELS; PROSTHESES; DEVICES PROVIDING PATENCY TO, OR PREVENTING COLLAPSING OF, TUBULAR STRUCTURES OF THE BODY, e.g. STENTS; ORTHOPAEDIC, NURSING OR CONTRACEPTIVE DEVICES; FOMENTATION; TREATMENT OR PROTECTION OF EYES OR EARS; BANDAGES, DRESSINGS OR ABSORBENT PADS; FIRST-AID KITS
    • A61F2/00Filters implantable into blood vessels; Prostheses, i.e. artificial substitutes or replacements for parts of the body; Appliances for connecting them with the body; Devices providing patency to, or preventing collapsing of, tubular structures of the body, e.g. stents
    • A61F2/02Prostheses implantable into the body
    • A61F2/24Heart valves ; Vascular valves, e.g. venous valves; Heart implants, e.g. passive devices for improving the function of the native valve or the heart muscle; Transmyocardial revascularisation [TMR] devices; Valves implantable in the body
    • A61F2/2412Heart valves ; Vascular valves, e.g. venous valves; Heart implants, e.g. passive devices for improving the function of the native valve or the heart muscle; Transmyocardial revascularisation [TMR] devices; Valves implantable in the body with soft flexible valve members, e.g. tissue valves shaped like natural valves
    • A61F2/2418Scaffolds therefor, e.g. support stents
    • AHUMAN NECESSITIES
    • A61MEDICAL OR VETERINARY SCIENCE; HYGIENE
    • A61FFILTERS IMPLANTABLE INTO BLOOD VESSELS; PROSTHESES; DEVICES PROVIDING PATENCY TO, OR PREVENTING COLLAPSING OF, TUBULAR STRUCTURES OF THE BODY, e.g. STENTS; ORTHOPAEDIC, NURSING OR CONTRACEPTIVE DEVICES; FOMENTATION; TREATMENT OR PROTECTION OF EYES OR EARS; BANDAGES, DRESSINGS OR ABSORBENT PADS; FIRST-AID KITS
    • A61F2/00Filters implantable into blood vessels; Prostheses, i.e. artificial substitutes or replacements for parts of the body; Appliances for connecting them with the body; Devices providing patency to, or preventing collapsing of, tubular structures of the body, e.g. stents
    • A61F2/02Prostheses implantable into the body
    • A61F2/24Heart valves ; Vascular valves, e.g. venous valves; Heart implants, e.g. passive devices for improving the function of the native valve or the heart muscle; Transmyocardial revascularisation [TMR] devices; Valves implantable in the body
    • A61F2/2427Devices for manipulating or deploying heart valves during implantation
    • A61F2/243Deployment by mechanical expansion
    • A61F2/2433Deployment by mechanical expansion using balloon catheter
    • AHUMAN NECESSITIES
    • A61MEDICAL OR VETERINARY SCIENCE; HYGIENE
    • A61FFILTERS IMPLANTABLE INTO BLOOD VESSELS; PROSTHESES; DEVICES PROVIDING PATENCY TO, OR PREVENTING COLLAPSING OF, TUBULAR STRUCTURES OF THE BODY, e.g. STENTS; ORTHOPAEDIC, NURSING OR CONTRACEPTIVE DEVICES; FOMENTATION; TREATMENT OR PROTECTION OF EYES OR EARS; BANDAGES, DRESSINGS OR ABSORBENT PADS; FIRST-AID KITS
    • A61F2/00Filters implantable into blood vessels; Prostheses, i.e. artificial substitutes or replacements for parts of the body; Appliances for connecting them with the body; Devices providing patency to, or preventing collapsing of, tubular structures of the body, e.g. stents
    • A61F2/02Prostheses implantable into the body
    • A61F2/24Heart valves ; Vascular valves, e.g. venous valves; Heart implants, e.g. passive devices for improving the function of the native valve or the heart muscle; Transmyocardial revascularisation [TMR] devices; Valves implantable in the body
    • A61F2/2427Devices for manipulating or deploying heart valves during implantation
    • A61F2/2436Deployment by retracting a sheath
    • AHUMAN NECESSITIES
    • A61MEDICAL OR VETERINARY SCIENCE; HYGIENE
    • A61FFILTERS IMPLANTABLE INTO BLOOD VESSELS; PROSTHESES; DEVICES PROVIDING PATENCY TO, OR PREVENTING COLLAPSING OF, TUBULAR STRUCTURES OF THE BODY, e.g. STENTS; ORTHOPAEDIC, NURSING OR CONTRACEPTIVE DEVICES; FOMENTATION; TREATMENT OR PROTECTION OF EYES OR EARS; BANDAGES, DRESSINGS OR ABSORBENT PADS; FIRST-AID KITS
    • A61F2/00Filters implantable into blood vessels; Prostheses, i.e. artificial substitutes or replacements for parts of the body; Appliances for connecting them with the body; Devices providing patency to, or preventing collapsing of, tubular structures of the body, e.g. stents
    • A61F2/02Prostheses implantable into the body
    • A61F2/24Heart valves ; Vascular valves, e.g. venous valves; Heart implants, e.g. passive devices for improving the function of the native valve or the heart muscle; Transmyocardial revascularisation [TMR] devices; Valves implantable in the body
    • A61F2/2427Devices for manipulating or deploying heart valves during implantation
    • A61F2/2439Expansion controlled by filaments
    • AHUMAN NECESSITIES
    • A61MEDICAL OR VETERINARY SCIENCE; HYGIENE
    • A61FFILTERS IMPLANTABLE INTO BLOOD VESSELS; PROSTHESES; DEVICES PROVIDING PATENCY TO, OR PREVENTING COLLAPSING OF, TUBULAR STRUCTURES OF THE BODY, e.g. STENTS; ORTHOPAEDIC, NURSING OR CONTRACEPTIVE DEVICES; FOMENTATION; TREATMENT OR PROTECTION OF EYES OR EARS; BANDAGES, DRESSINGS OR ABSORBENT PADS; FIRST-AID KITS
    • A61F2/00Filters implantable into blood vessels; Prostheses, i.e. artificial substitutes or replacements for parts of the body; Appliances for connecting them with the body; Devices providing patency to, or preventing collapsing of, tubular structures of the body, e.g. stents
    • A61F2/02Prostheses implantable into the body
    • A61F2/24Heart valves ; Vascular valves, e.g. venous valves; Heart implants, e.g. passive devices for improving the function of the native valve or the heart muscle; Transmyocardial revascularisation [TMR] devices; Valves implantable in the body
    • A61F2/2442Annuloplasty rings or inserts for correcting the valve shape; Implants for improving the function of a native heart valve
    • AHUMAN NECESSITIES
    • A61MEDICAL OR VETERINARY SCIENCE; HYGIENE
    • A61FFILTERS IMPLANTABLE INTO BLOOD VESSELS; PROSTHESES; DEVICES PROVIDING PATENCY TO, OR PREVENTING COLLAPSING OF, TUBULAR STRUCTURES OF THE BODY, e.g. STENTS; ORTHOPAEDIC, NURSING OR CONTRACEPTIVE DEVICES; FOMENTATION; TREATMENT OR PROTECTION OF EYES OR EARS; BANDAGES, DRESSINGS OR ABSORBENT PADS; FIRST-AID KITS
    • A61F2/00Filters implantable into blood vessels; Prostheses, i.e. artificial substitutes or replacements for parts of the body; Appliances for connecting them with the body; Devices providing patency to, or preventing collapsing of, tubular structures of the body, e.g. stents
    • A61F2/02Prostheses implantable into the body
    • A61F2/04Hollow or tubular parts of organs, e.g. bladders, tracheae, bronchi or bile ducts
    • A61F2/06Blood vessels
    • A61F2002/068Modifying the blood flow model, e.g. by diffuser or deflector
    • AHUMAN NECESSITIES
    • A61MEDICAL OR VETERINARY SCIENCE; HYGIENE
    • A61FFILTERS IMPLANTABLE INTO BLOOD VESSELS; PROSTHESES; DEVICES PROVIDING PATENCY TO, OR PREVENTING COLLAPSING OF, TUBULAR STRUCTURES OF THE BODY, e.g. STENTS; ORTHOPAEDIC, NURSING OR CONTRACEPTIVE DEVICES; FOMENTATION; TREATMENT OR PROTECTION OF EYES OR EARS; BANDAGES, DRESSINGS OR ABSORBENT PADS; FIRST-AID KITS
    • A61F2210/00Particular material properties of prostheses classified in groups A61F2/00 - A61F2/26 or A61F2/82 or A61F9/00 or A61F11/00 or subgroups thereof
    • A61F2210/0014Particular material properties of prostheses classified in groups A61F2/00 - A61F2/26 or A61F2/82 or A61F9/00 or A61F11/00 or subgroups thereof using shape memory or superelastic materials, e.g. nitinol
    • AHUMAN NECESSITIES
    • A61MEDICAL OR VETERINARY SCIENCE; HYGIENE
    • A61FFILTERS IMPLANTABLE INTO BLOOD VESSELS; PROSTHESES; DEVICES PROVIDING PATENCY TO, OR PREVENTING COLLAPSING OF, TUBULAR STRUCTURES OF THE BODY, e.g. STENTS; ORTHOPAEDIC, NURSING OR CONTRACEPTIVE DEVICES; FOMENTATION; TREATMENT OR PROTECTION OF EYES OR EARS; BANDAGES, DRESSINGS OR ABSORBENT PADS; FIRST-AID KITS
    • A61F2220/00Fixations or connections for prostheses classified in groups A61F2/00 - A61F2/26 or A61F2/82 or A61F9/00 or A61F11/00 or subgroups thereof
    • A61F2220/0008Fixation appliances for connecting prostheses to the body
    • AHUMAN NECESSITIES
    • A61MEDICAL OR VETERINARY SCIENCE; HYGIENE
    • A61FFILTERS IMPLANTABLE INTO BLOOD VESSELS; PROSTHESES; DEVICES PROVIDING PATENCY TO, OR PREVENTING COLLAPSING OF, TUBULAR STRUCTURES OF THE BODY, e.g. STENTS; ORTHOPAEDIC, NURSING OR CONTRACEPTIVE DEVICES; FOMENTATION; TREATMENT OR PROTECTION OF EYES OR EARS; BANDAGES, DRESSINGS OR ABSORBENT PADS; FIRST-AID KITS
    • A61F2220/00Fixations or connections for prostheses classified in groups A61F2/00 - A61F2/26 or A61F2/82 or A61F9/00 or A61F11/00 or subgroups thereof
    • A61F2220/0008Fixation appliances for connecting prostheses to the body
    • A61F2220/0016Fixation appliances for connecting prostheses to the body with sharp anchoring protrusions, e.g. barbs, pins, spikes
    • AHUMAN NECESSITIES
    • A61MEDICAL OR VETERINARY SCIENCE; HYGIENE
    • A61FFILTERS IMPLANTABLE INTO BLOOD VESSELS; PROSTHESES; DEVICES PROVIDING PATENCY TO, OR PREVENTING COLLAPSING OF, TUBULAR STRUCTURES OF THE BODY, e.g. STENTS; ORTHOPAEDIC, NURSING OR CONTRACEPTIVE DEVICES; FOMENTATION; TREATMENT OR PROTECTION OF EYES OR EARS; BANDAGES, DRESSINGS OR ABSORBENT PADS; FIRST-AID KITS
    • A61F2250/00Special features of prostheses classified in groups A61F2/00 - A61F2/26 or A61F2/82 or A61F9/00 or A61F11/00 or subgroups thereof
    • A61F2250/0014Special features of prostheses classified in groups A61F2/00 - A61F2/26 or A61F2/82 or A61F9/00 or A61F11/00 or subgroups thereof having different values of a given property or geometrical feature, e.g. mechanical property or material property, at different locations within the same prosthesis
    • A61F2250/0039Special features of prostheses classified in groups A61F2/00 - A61F2/26 or A61F2/82 or A61F9/00 or A61F11/00 or subgroups thereof having different values of a given property or geometrical feature, e.g. mechanical property or material property, at different locations within the same prosthesis differing in diameter

Landscapes

  • Health & Medical Sciences (AREA)
  • Cardiology (AREA)
  • Engineering & Computer Science (AREA)
  • Biomedical Technology (AREA)
  • Heart & Thoracic Surgery (AREA)
  • Transplantation (AREA)
  • Oral & Maxillofacial Surgery (AREA)
  • Vascular Medicine (AREA)
  • Life Sciences & Earth Sciences (AREA)
  • Animal Behavior & Ethology (AREA)
  • General Health & Medical Sciences (AREA)
  • Public Health (AREA)
  • Veterinary Medicine (AREA)
  • Mechanical Engineering (AREA)
  • Prostheses (AREA)

Description

関連出願の相互参照
本出願は、2018年12月20日に出願された「Proximal Tab for Side-Delivered Transcatheter Heart Valve Prosthesis」と題される米国仮出願第62/782,350号、及び2019年6月27日に出願された「Proximial Tabab for Side-Delivered Transcatheter Heart Valve Prosthesis」と題される米国仮出願第16/445,418号に対する優先権及びその利益を主張し、それらのそれぞれの開示は、参照によりその全体が本明細書に組み込まれる。
人工心臓弁、ならびにそのような弁の送達及び展開に使用されるデバイス及び方法に関する実施形態が本明細書に記載される。
人工心臓弁は、心臓内での送達及び展開に課題をもたらし得、特に、外科的アプローチを介するのではなく、患者の血管系を介したカテーテルによる送達に課題をもたらすし得る。従来の経カテーテル人工弁の送達は、概して、半径方向に弁を圧縮することと、弁の中央弁輪軸が送達カテーテルの長手方向軸に平行であるように、弁を送達カテーテル内に装填することと、を含む。弁は、送達カテーテルの端部から展開され、中央弁輪軸から半径方向に外側に拡張される。しかしながら、従来の弁の拡張サイズ(例えば、直径)は、送達カテーテルの内径によって制限され得る。送達カテーテルのサイズを最小限に抑えるという競合する関心は、従来の弁の拡張される直径を増加させることに課題をもたらす(例えば、過剰な材料及び構造をあまりにも少ない空間に圧縮しよう
いくつかの経カテーテル人工弁は、従来の弁と比較して増加した拡張直径を有し得る直交送達のために構成され得る。例えば、直交送達において、弁は、弁の中心弁輪軸が送達カテーテルの長手方向軸に対して実質的に直交するように、圧縮され、送達カテーテル内に装填され、これにより、弁が横方向に圧縮され、及び長手方向に拡張される(例えば、送達カテーテルの長手方向軸に平行な方向に)ことを可能にすることができる。従来の及び/または直交的に送達される経カテーテル人工弁では、弁の圧縮サイズを実質的に増加させることなく、弁を自己弁輪内に固定する1つ以上の方法を提供することもまた望ましい。
したがって、弁の経カテーテル送達を可能にする比較的小さい圧縮サイズを維持しながら、1つ以上の固定機構を有する人工弁の必要性が存在する。
本明細書で説明される実施形態は、概して、経カテーテル人工弁、及び経カテーテル人工弁を送達するための方法に関する。いくつかの実施形態において、人工心臓弁は、中心軸に沿って延びる開口を画定する弁フレームと、開口内に装着された流れ制御構成要素と、を含む。流れ制御構成要素は、流れ制御構成要素の流入端から流出端まで、中心軸にほぼ平行な第1の方向の血流を可能にし、第1の方向とは反対の第2の方向の血流を遮断するように構成されている。弁フレームは、遠位固定要素及び近位固定要素を含む。弁フレームは、人工心臓弁が送達カテーテルを介して患者の心臓に送達されることを可能にする圧縮構成を有する。弁フレームは、人工心臓弁が送達カテーテルから解放されるときに、圧縮構成から拡張構成に移行するように構成されている。人工心臓弁は、拡張構成にあるときに、心臓の自己弁の弁輪に着座するように構成されている。弁フレームの遠位固定要素及び近位固定要素は、人工心臓弁がその中に着座する前に、自己弁の弁輪を通って挿入されるように構成されている。近位固定要素は、人工弁が自己弁の弁輪に着座した後に、第1の構成から第2の構成に移行するように構成されている。
本明細書で説明される実施形態は、概して、側方/直行送達のために構成された経カテーテル人工弁に関し、当該経カテーテル人工弁は、従来の弁と比較して、より拡張された直径を有することができる。例えば、側方送達では、弁は圧縮されて送達カテーテルに装填され、弁の中央弁輪軸が実質的に送達カテーテルの長さ方向軸と直交し、これにより弁が横方向に圧縮され、長手方向(例えば、送達カテーテルの長さ方向軸と平行の方向)に伸長することが可能となる。従来の及び/または直交的に送達される経カテーテル人工弁では、弁の圧縮サイズを大幅に増加させることなく、弁を自己弁輪内に固定する1つ以上の方法を提供することもまた望ましい。
一実施形態による経カテーテル人工弁の概略図である。 一実施形態による経カテーテル人工弁の概略図である。 一実施形態による経カテーテル人工弁の概略図である。 一実施形態による、各々、遠位及び近位固定要素を有する経カテーテル人工弁の側面斜視図である。 一実施形態による、遠位及び近位固定要素を有する経カテーテル人工弁の側面斜視図である。 一実施形態による、遠位及び近位固定要素を有する経カテーテル人工弁の側面斜視図である。 一実施形態による、遠位及び近位固定要素を有する経カテーテル人工弁の側面斜視図である。 一実施形態による、遠位及び近位固定要素を有する経カテーテル人工弁の側面斜視図である。 A~Bは、一実施形態による遠位及び近位固定要素を有し、それぞれ、解放前の固定構成及び解放後の伸長構成において示される経カテーテル人工弁の斜視図である。 ヒト心臓解剖学的構造の切断側面図である。 A~Bは、実施形態による、それぞれ、ヒト心臓の自己三尖弁輪に着座する経カテーテル人工弁の前側面斜視図及び中隔側面斜視図である。 A~Bは、一実施形態による、その近位固定要素を示す経カテーテル人工弁の近位側面図、及びその遠位固定要素を示す弁の遠位側面図である。 A~Bは、一実施形態による、それぞれ、二重固定要素機構を有する経カテーテル人工弁の上面前面図及び上面中隔図である。 実施形態による経カテーテル人工弁の側面斜視図であり、弁を送達するために遠位固定要素の一部分に結合されたガイドワイヤとともに示す。 A~Dは、異なる実施形態による、各々、ヒト心臓の自己弁輪内に経カテーテル人工弁を展開するプロセスを示す。 A~Dは、異なる実施形態による、各々、ヒト心臓の自己弁輪内に経カテーテル人工弁を展開するプロセスを示す。 A~Dは、異なる実施形態による、各々、ヒト心臓の自己弁輪内に経カテーテル人工弁を展開するプロセスを示す。 A~Eは、異なる実施形態による、各々、ヒト心臓の自己弁輪内に経カテーテル人工弁を展開するプロセスを示す。 A~Eは、一実施形態による、ヒト心臓の自己僧帽弁輪内に経カテーテル人工弁を展開するプロセスを示す。 一実施形態による、ヒト心臓の自己僧帽弁輪内の経カテーテル人工弁の前面側面斜視図である。 図18Aの経カテーテル人工弁(破線で示される)であり、自己僧帽弁輪(実線で示される)内に配設されている経カテーテル人工弁の側面図である。 A~Bは、一実施形態による、それぞれ、第1の構成及び第2の構成にある近位固定要素の斜視図である。 A~Bは、一実施形態による、それぞれ、第1の構成及び第2の構成にある近位固定要素の斜視図である。 一実施形態による、ヒト心臓の自己三尖弁輪内の経カテーテル人工弁の上面図である。 図21Aの経カテーテル人工弁(破線で示される)であり、自己三尖弁輪(実線で示される)内に配置されている経カテーテル人工弁の上面図である。 一実施形態による、複数の弁輪下固定要素を有する経カテーテル人工弁の側面斜視図である。 A~Bは、一実施形態による、近位固定要素を有する経カテーテル人工弁であり、それぞれ、近位固定要素が引張部材に結合されている、及び引張部材から結合解除されている側面斜視図である。 異なる実施形態による、各々、引張部材に結合された経カテーテル人工弁の近位固定要素の一部分の側面斜視図である。 異なる実施形態による、各々、引張部材に結合された経カテーテル人工弁の近位固定要素の一部分の側面斜視図である。 異なる実施形態による、各々、経カテーテル人工弁の近位固定要素の一部分及び引張部材の側面斜視図である。 異なる実施形態による、各々、経カテーテル人工弁の近位固定要素の一部分及び引張部材の側面斜視図である。 A~Bは、一実施形態による、引張部材に結合され経カテーテル人工弁の近位固定要素の一部分であり、それぞれ、引張部材が第1の構成及び第2の構成で示されている側面斜視図である。 A~Dは、一実施形態による、引張部材に結合されている、及び引張部材から結合解除されている経カテーテル人工弁の近位固定要素の一部分の側面斜視図である。 一実施形態による、引張部材に結合された経カテーテル人工弁の近位固定要素の一部分の側面斜視図である。 A~Cは、一実施形態による、引張部材に結合されている、及び引張部材から結合解除されている経カテーテル人工弁の近位固定要素の一部分の側面斜視図である。 一実施形態による、経カテーテル人工弁を送達する方法を示すフローチャートである。 一実施形態による、経カテーテル人工弁を送達する方法を示すフローチャートである。
開示される実施形態は、経カテーテル人工心臓弁及び/またはその構成要素、ならびに経カテーテル人工弁及び/またはその構成要素を製造、装填、送達、及び/または展開する方法を対象とする。経カテーテル人工心臓弁は、弁フレームと、弁フレームの中央管腔または開口内に装着される流れ制御構成要素と、を有し得る。流れ制御構成要素は、弁の流入端を通る第1の方向の血流を可能にし、第1の方向とは反対の、弁の流出端を通る第2の方向の血流を遮断するように構成され得る。弁は、送達カテーテルの長さ方向円筒軸に実質的に平行な長軸に沿って圧縮可能及び拡張可能であり得る。弁は、送達カテーテルを使用して身体内に導入するための圧縮構成と、身体内の所望の位置に移植するための拡張構成との間で移行するように構成され得る。
いくつかの実装形態において、本明細書に記載の実施形態は、低プロファイルの側方送達移植可能人工心臓弁である二重タブ型人工心臓弁を対象とする。人工心臓弁は、少なくともリング状または環状の弁フレーム、弁フレーム内に装着された内部流れ制御構成要素(例えば、2リーフレットまたは3リーフレットスリーブ等)、右心室流出管(RVOT)内に延びるように構成された遠位固定要素(例えば、弁輪下遠位固定タブ等)、及び近位弁輪下空間内に延びるように構成された近位固定要素(例えば、弁輪下近位固定タブ)、好ましくは心臓の前部リーフレットと後部リーフレットとの間に延びるように構成された近位固定要素を有することができる。
本明細書に記載の人工心臓弁のうちのいずれも、拡張構成と圧縮構成との間を移行するように構成され得る。例えば、本明細書に記載の実施形態のいずれも、バルーン膨張人工心臓弁、自己拡張人工心臓弁、及び/または同様のものであり得る。
本明細書に記載される人工心臓弁のいずれも、流れ制御構成要素の中心軸に対して長さ方向または直交方向に、圧縮構成へ圧縮可能であり得、これにより、例えば、24~36Fr送達カテーテルを使用し、急性アプローチ角度で送達カテーテルから送達及び展開することなく、(例えば、約5~60mmの高さ及び約20~80mmの直径を有する)大直径の弁を、下大静脈から、自己僧帽弁または三尖弁の弁輪内に直接送達及び展開することを可能にし得る。
本明細書に記載の人工心臓弁のいずれも、圧縮構成にあるときに、弁を通る血流方向と同軸であるか、または少なくとも実質的に平行である中心軸を有し得る。いくつかの実施形態において、弁の圧縮構成は、血流方向に直交する。いくつかの実施形態において、長軸は、圧縮構成及び/または拡張構成内にあるときに、第1の方向に対して45~135度の交差角で方向付けられる。
本明細書に記載される人工心臓弁のいずれも、管状フレームの遠位側から延びる固定要素を含み得、これは、例えば、右心室流出管(「RVOT」)タブまたは左心室流出管(「LVOT」)として使用され得る。固定要素は、管状フレームから約10~40mm離れて延びるワイヤループまたはワイヤフレーム、一体型フレーム部分、及び/またはステントを含み得、及び/またはそれらから形成され得る。
本明細書に記載の人工心臓弁のいずれも、(i)管状フレームの遠位上端に取り付けられた上部固定要素であって、管状フレームから約2~20mm離れて延びるワイヤループまたはワイヤフレームを含み得るか、またはそれから形成され得る、上部固定要素と、(ii)管状フレームの遠位側から延びる下部固定要素(例えば、RVOTタブとして使用される)であって、管状フレームから約10~40mm離れて延びるワイヤループまたはワイヤフレームを含み得、及び/またはそれから形成され得る、下部固定要素と、を含み得る。
本明細書に記載の人工心臓弁のいずれも、右心室のRVOTの中に位置決めされるように構成された遠位下部固定要素と、右心室の弁輪下組織と接触する、及び/またはそれに隣接する弁輪下位置に位置決めされるように構成された近位下部固定要素と、を含み得る。カテーテル人工心臓弁はまた、右心房の弁輪上組織と接触する、及び/またはそれに隣接する弁輪上位置に位置決めされるように構成された遠位上部固定要素を含み得る。遠位上部固定要素は、右心室の方向に弁輪上下向きの力を提供することができ、遠位及び近位下部固定要素は、右心房の方向に弁輪下上向きの力を提供することができる。
本明細書に記載の人工心臓弁のいずれも、及び/またはその任意の構成要素、特徴、及び/または態様も、2019年9月19日に出願された「Transcatheter Deliverable Prosthetic Heart Valves and Method of Delivery」と題される国際特許出願第PCT/US2019/051957号(「‘957PCT」とも称される)に記載される人工心臓弁(またはその構成要素、特徴、及び/または態様)と同様であり得、及び/または実質的に同一であり得、その開示は参照によりその全体が本明細書に組み込まれる。
本明細書に記載の人工心臓弁を送達するためのいずれの方法も、(i)送達カテーテルを身体内の所望の位置に前進させることと、(ii)送達カテーテルから弁を解放することによって、人工心臓弁を身体内の所望の位置に送達することと、を含む、身体内の所望の位置への人工心臓弁の側方/直交送達を含むことができる。弁は、送達カテーテル内にあるときに圧縮構成にあり、送達カテーテルから解放されるときに拡張構成に移行する。
本明細書に記載の人工心臓弁を送達するためのいずれの方法も、人工心臓弁の側壁または固定要素(例えば、遠位固定要素)に引っ張りワイヤ(例えば、剛性の細長い引っ張り/押しロッドまたは引き出しワイヤ)を取り付けることと、送達カテーテル内に及び/または送達カテーテルを通して弁を引っ張ることと、を含むことができる。
本明細書に記載の人工心臓弁を送達するためのいずれの方法も、(i)側壁または固定要素に解放可能に接続された引っ張りワイヤまたはロッドを使用して送達カテーテルから弁を引っ張り出すことであって、送達カテーテルから離れて引っ張りワイヤを前進させることによって、圧縮された弁を送達カテーテルから引っ張り出す、引っ張り出すこと、または(ii)側壁または固定要素に放出可能に接続された押し出しワイヤまたはロッドを使用して送達カテーテルから弁を押し出すことであって、送達カテーテルから押し出しワイヤまたはロッドを前進させることによって、送達カテーテルから圧縮された弁を押し出すこと、によって送達カテーテルから弁を解放することを含むことができる。
本明細書に記載の人工心臓弁を送達するためのいずれの方法も、(i)送達カテーテルから弁を部分的に解放して、部分的に解放された弁の周囲の血流及び流れ制御構成要素を通る血流を確立することと、(ii)弁への取り付けを維持しながら、送達カテーテルから弁を完全に解放して、流れ制御構成要素を通る血流が増加し、かつ弁の周囲の血流が減少した状態に移行させることと、(iii)自己弁輪内の最終装着位置に弁を展開して、流れ制御構成要素を通る完全な血流を有し、かつ弁の周囲の血流が最小限であるかまたは全くない状態に移行させることと、(iv)位置決めカテーテル、引っ張りまたは押し出しワイヤもしくはロッド、及び/または送達カテーテルを切断及び引き出すことと、を含むことができる。
本明細書に記載される人工心臓弁を送達するためのいずれの方法も、(i)送達カテーテルを、大腿静脈を介して、下大静脈(IVC)を通して心臓の三尖弁または肺動脈に前進させること、(ii)送達カテーテルを、頸静脈を介して、上大静脈(SVC)を通して心臓の三尖弁または肺動脈に前進させること、または(iii)IVC-大腿アプローチまたはSVC-頸静脈アプローチを介して、経心房アプローチ(例えば、卵円窩またはより下方)を通して心臓の僧帽弁に前進させること、及び(iv)送達カテーテルから弁を解放することによって、人工心臓弁を自己弁輪に送達すること、のうちの少なくとも1つを含む、ヒト心臓の自己弁輪に人工心臓弁の直交送達することを含むことができる。
本明細書に記載の人工心臓弁を送達するためのいずれの方法及び/またはそのいずれの部分も、‘957PCTに記載の人工心臓弁(またはその一部分)を送達するための1つ以上の方法と同様、及び/または実質的に同一であり得る。
いくつかの実施形態において、人工心臓弁は、中心軸に沿って延びる開口を画定する弁フレームと、開口内に装着された流れ制御構成要素と、を含む。流れ制御構成要素は、流れ制御構成要素の流入端から流出端まで、中心軸にほぼ平行な第1の方向の血流を可能にし、第1の方向とは反対の第2の方向の血流を遮断するように構成されている。弁フレームは、遠位固定要素及び近位固定要素を含む。弁フレームは、人工心臓弁が送達カテーテルを介して患者の心臓に送達されることを可能にする圧縮構成を有する。弁フレームは、人工心臓弁が送達カテーテルから解放されるときに、圧縮構成から拡張構成に移行するように構成されている。人工心臓弁は、拡張構成にあるときに、心臓の自己弁の弁輪に着座するように構成されている。弁フレームの遠位固定要素及び近位固定要素は、人工心臓弁がその中に着座する前に、自己弁の弁輪を通って挿入されるように構成されている。近位固定要素は、人工弁が自己弁の弁輪内に着座した後に、第1の構成から第2の構成に移行するように構成されている。
いくつかの実施形態において、人工心臓弁は、経弁輪部分及び経弁輪部分の上端の周囲に取り付けられた心房カラーを有する弁フレームと、経弁輪部分に結合された遠位固定要素と、経弁輪部分に結合された近位固定要素と、弁フレーム内に装着された流れ制御構成要素と、を含む。流れ制御構成要素は、人工心臓弁の流入端を通る第1の方向の血流を可能にし、第1の方向とは反対の、人工心臓弁の流出端を通る第2の方向の血流を遮断するように構成される。人工心臓弁は、送達カテーテルを介して患者の心臓に導入するための圧縮構成と、人工心臓弁が送達カテーテルから心臓の心房内に解放されるときの拡張構成と、を有する。人工心臓弁は、拡張構成にあるときに、心臓の自己弁の弁輪に着座するように構成されている。遠位固定要素は、人工心臓弁が自己弁の弁輪内に着座するときに心室流出管に配設されるように構成され、近位固定要素は、人工心臓弁が自己弁の弁輪内に着座した後に第1の構成から第2の構成に移行するように構成されている。
いくつかの実施形態において、患者の心臓の心房と心室との間の自己弁の弁輪に人工心臓弁を送達する方法は、人工心臓弁を管腔内に配設した送達カテーテルの遠位端を、自己弁の弁輪に隣接して配設することを含む。人工心臓弁は、遠位固定要素及び近位固定要素を有する弁フレームと、弁フレーム内に装着された流れ制御構成要素と、を含む。人工心臓弁は、送達カテーテルの管腔内で圧縮構成にある。人工心臓弁は、送達カテーテルの管腔から解放される。人工心臓弁は、解放されることに応答して、圧縮構成から拡張構成に移行するように構成されている。遠位固定要素の一部分は、自己弁の弁輪の心室側に配置される。近位固定要素が第1の構成にあり、近位固定要素が人工心臓弁が弁輪内に着座した後に第1の構成から第2の構成に移行するときに、人工心臓弁は、弁輪内に着座する。
いくつかの実施形態において、本発明は、遠位固定タブ及び近位固定タブを有する側方送達経カテーテル人工心臓弁を含み、(i)自己拡張弁輪支持フレームであって、当該弁輪支持フレームが、中央チャネル及び拡張構成で中心垂直軸を囲む外周壁を有し、当該弁輪支持フレームが遠位側及び近位側を有する、自己拡張弁輪支持フレームと、(ii)環状支持フレーム内に装着され、弁の流入端を通る第1の方向への血流を可能にし、第1の方向とは反対の、弁の流出端を通る第2の方向への血流を遮断するように構成された流れ制御構成要素と、(iii)弁輪支持フレームの遠位側に装着された遠位固定タブと、(iv)弁輪支持フレームの近位側に装着された近位固定タブと、を含み、弁は、身体内の所望の位置に移植するために送達カテーテルを使用して身体内に導入するための圧縮構成に圧縮可能であり、当該圧縮構成が、中心垂直軸に対して45~135度の交差角で水平軸に沿って方向付けられ、中心垂直軸に対して45~135度の交差角で水平軸を有する拡張構成に拡張可能であり、弁の圧縮構成の水平軸は、送達カテーテルの長さ方向円筒軸に実質的に平行であり、弁は約5~60mmの高さ及び約25~80mmの直径を有する。
いくつかの実施形態では、近位タブは、外部支持フレームに固定されるか、またはそれと一体である。他の実施形態において、近位タブは、第1の収納位置から移動可能であり、すなわち、弁が自己弁輪内に位置決めされている間、外周壁に対して保持され、外周壁から離れて延びて、弁輪下固定具を提供する第2の展開位置に移動可能である。
いくつかの実施形態において、弁は、下部遠位タブ及び下部近位タブを有する。他の実施形態において、弁は、下部遠位タブ、下部近位タブ、及び弁輪支持フレームの遠位上端に取り付けられた上部遠位固定タブを有し、これらは、ワイヤループ、ワイヤフレーム、レーザ切断フレーム、一体型フレーム部分、またはステントから構成され得、弁輪支持フレームから約2~20mm離れて延び得る。
いくつかの実施形態において、弁輪支持フレームは、編組ワイヤセル、レーザ切断ワイヤセル、フォトリソグラフィにより生成されたワイヤセル、3Dプリントによるワイヤセル、波形、ジグザグ形状、またはスパイラル形状の断続的に接続された単一撚り合わせワイヤから形成されたワイヤセル、及びこれらの組み合わせからなる群から選択される圧縮可能ワイヤセルから構成される。
いくつかの実施形態では、本発明は、身体内の所望の位置への移植可能人工心臓弁の側方送達のための方法を提供し、当該方法は、送達カテーテルを身体内の所望の位置に前進させることと、送達カテーテルから弁を解放することによって身体内の所望の位置に拡張可能な人工心臓弁を送達することと、を含み、弁が、弁輪支持フレーム内に取り付けられ、弁の流入端を通る第1の方向への血流を可能にし、第1の方向とは反対の、弁の流出端を通る第2の方向への血流を遮断するように構成された流れ制御構成要素を有する弁輪支持フレームと、弁輪支持フレームの遠位側に取り付けられた遠位固定タブと、弁輪支持フレームの近位側に取り付けられた近位固定タブと、を含み、弁は、身体内の所望の位置に移植するために送達カテーテルを使用して身体内に導入するための圧縮構成に圧縮可能であり、弁は、身体内の所望の位置に移植するために送達カテーテルを使用して身体内に導入するための圧縮構成に圧縮可能であり、当該圧縮構成が、8~12mmの高さ、8~12mmの幅、及び25~80mmの長さを有し、弁の圧縮構成の水平軸は、送達カテーテルの長さ方向円筒軸に実質的に平行であり、当該拡張構成が、約5~60mmの高さ及び約25~80mmの直径を有する。
いくつかの実施形態において、当該圧縮構成は、第1の方向に対して45~135度の交差角で方向付けられた長い軸を有し、第1の方向に対して45~135度の交差角で方向付けられた長い軸を有する拡張構成に拡張可能であり、弁の圧縮構成の長い軸は送達カテーテルの長さ方向円筒軸に実質的に平行である。
いくつかの実施形態において、方法は、送達カテーテルから弁を解放することが、(i)弁の遠位側に解放可能に接続された剛性の細長いプッシュロッド/ドローワイヤを使用して、弁を送達カテーテルから引っ張り出すことであって、プッシュロッドを送達カテーテルから離れて前進させることによって、圧縮された弁が送達カテーテルから引っ張り出される、引っ張り出すこと、または(ii)弁の近位側に解放可能に接続された剛性の細長いプッシュロッドを使用して、弁を送達カテーテルから押し出すことであって、プッシュロッドを送達カテーテルから前進させることによって、圧縮された弁が送達カテーテルから押し出される、押し出すこと、からなるステップから選択される、ステップを含む。
いくつかの実施形態において、方法は、弁に取り付けられた1つ以上の組織固定具を自己組織に固定する追加のステップを含む。
いくつかの実施形態において、方法は、人工心臓弁の遠位固定タブを右心室の右心室流出管内に位置決めする追加のステップを含む。
いくつかの実施形態において、方法は、人工心臓弁の遠位固定タブを右心室の右心室流出管内に位置決めし、上部遠位固定タブを弁輪上位置に位置決めする追加のステップを含み、上部遠位固定タブは、心室の方向に弁輪上下向き力を提供し、遠位固定タブは、心房の方向に弁輪下上向き力を提供する。
いくつかの実施形態において、方法は、弁輪の面に平行な軸に沿って操縦可能なカテーテルを使用して人工心臓弁を回転させる追加のステップを含む。
いくつかの実施形態において、本発明は、身体内の移植可能人工心臓弁の側方送達のための方法を提供し、当該方法は、(i)ガイドワイヤの遠位端を遠位位置に前進させることであって、遠位位置が、肺動脈または心臓の左心室であり、ガイドワイヤが、大腿静脈アクセスまたは上腕頭静脈アクセスを使用して患者の外側から始まり、下大静脈または上大静脈を通って右心房に延び、右心房から三尖弁を通って肺動脈に延びる、または右心房から経中隔アクセスで心房中隔を通って僧帽弁を通って左心室に延びる、前進させることと、(ii)送達カテーテルをガイドワイヤ上で標的位置に前進させることであって、標的位置が、三尖弁の右心房または二尖弁の左心房である、前進させることと、(iii)直交的に圧縮された自己拡張性人工心臓弁を身体内の標的位置に前進させ、送達することであって、弁の圧縮構成が、送達カテーテルの長さ方向円筒軸に実質的に平行な長い軸を有し、弁の拡張構成が、約5~60mmの高さ及び約25~80mmの直径を有し、弁が、弁輪支持フレーム内に装着され、弁の流入端を通る第1の方向の血流を可能にし、第1の方向とは反対の、弁の流出端を通る第2の方向の血流を遮断するように構成された流れ制御構成要素を有する弁輪支持フレームを含み、遠位固定タブが、弁輪支持フレームの遠位側に装着され、遠位固定タブが、10~40mmの長さ及び2~10mmの幅を有し、ガイドワイヤが、遠位固定タブ上または遠位固定タブ内の通し開口を通って通され、少なくとも1つの近位固定タブが、弁輪支持フレームの近位側に装着され、近位固定タブが、2~25mmの長さ及び2~10mmの幅を有し、弁前進ツールが、細長いシースを含み、ガイドワイヤが、シースの管腔内にあり、シースの外径が、遠位固定タブの通し開口の内径よりも大きく、シースが、ガイドワイヤに沿って遠位方向に前進され、シースの遠位端が、通し開口の近位面に接触するときに、弁が、シースが遠位固定タブに付与する遠位に方向付けられた引張力によって送達カテーテルを通って遠位に前進される、送達することと、(iv)シースをガイドワイヤ上を前進させ、遠位固定タブを標的位置の所望の固定領域に位置決めすることによって、送達カテーテルから弁を部分的に解放することであって、所望の固定領域が、右心室の右心室流出管(RVOT)、及び僧帽弁のA1-P1僧帽弁前交連の下の弁輪下領域から選択され、遠位固定タブを位置決めすることによって、弁を、弁及び送達カテーテルの水平軸に対する局在化弁輪面に対して少なくとも30度の上昇角で弁が保持され、弁を部分的に解放することによって、血液が、人工弁の周囲を及び自己リーフレットを通って部分的に、ならびに人工弁の流れ制御構成要素を部分的に通って部分的に流れ、自己リーフレットを通る流れから人工弁を通る完全な流れへの漸進的血流移行を提供することを可能にする、解放することと、(v)シースをガイドワイヤ上を前進させることによって、送達カテーテルから弁全体の解放を完了させ、弁を、心室の方向に下向きの力を加えることによって自己弁輪内に着座させることと、(vi)少なくとも1つの近位固定タブを第2の所望の固定領域に着座させることと、のステップを含む。
いくつかの実施形態において、方法は、弁に取り付けられた1つ以上の組織固定具を自己組織に固定する追加のステップを含む。
いくつかの実施形態において、本発明は、人工心臓弁を心臓の心室と心房との間の自己弁の弁輪に送達するための方法を提供し、当該方法は、(i)心臓の心房内に、管腔及び長手方向軸を有する送達カテーテルの遠位部分を配設することであって、送達カテーテルの遠位端が自己弁の弁輪に向けられ、送達カテーテルの遠位部分が、その管腔内に人工心臓弁を圧縮構成で配設しており、人工心臓弁の圧縮構成が、送達カテーテルの長さ方向円筒軸に実質的に平行な長い軸を有し、人工心臓弁の拡張構成が、約5~60mmの高さ及び約25~80mmの直径を有し、人工心臓弁が、弁輪支持フレーム内に装着され、弁の流入端を通る第1の方向の血流を可能にし、第1の方向とは反対の、弁の流出端を通る第2の方向の血流を遮断するように構成された流れ制御構成要素を有する弁輪支持フレームを含み、弁輪支持フレームが自己拡張またはバルーン拡張可能であり、遠位固定タブが、弁輪支持フレームの遠位側に装着され、遠位固定タブが、10~40mmの長さを有し、遠位固定タブが、弁輪支持フレームから横方向に延び、弁輪支持フレームが自己弁の弁輪の心室側に、弁輪内に配設されるときに配設されるように構成され、少なくとも1つの近位固定タブが、弁輪支持フレームの近位側に装着され、近位固定タブが、2~25mmの長さを有し、少なくとも1つの近位固定タブが、弁輪支持フレームから横方向に延び、弁輪支持フレームが自己弁の弁輪の心室側に、弁輪内に配設されるときに配設されるように構成されている、配設することと、(ii)送達カテーテルから人工心臓弁を部分的に解放し、遠位固定領域タブを、遠位弁輪下固定領域に位置決めすることであって、遠位弁輪下固定領域が、右心室の右心室流出管(RVOT)であるか、または僧帽弁のA1-P1僧帽弁前交連の下の弁輪下領域である、位置決めすることと、(iii)送達カテーテルの管腔内から人工心臓弁全体の解放を完了し、人工心臓弁を、心室の方向に下向きの力を加えることによって自己弁輪内に着座させることと、(iv)近位固定タブを近位弁輪下固定領域に着座させることと、のステップを含む。
いくつかの実施形態において、方法は、遠位固定タブを位置決めすることによって、弁の水平軸に対する局所的弁輪面に対して少なくとも30度の上昇角で人工心臓弁が保持され、人工心臓弁を部分的に解放することによって、血液が、人工心臓弁の周囲を及び自己リーフレットを通って部分的に、ならびに人工心臓弁の流れ制御構成要素を通って部分的に流れることが可能となり、自己リーフレットを通る流れから人工弁を通る完全な流れまで漸進的血流移行を提供することを含む。
いくつかの実施形態において、方法は、近位固定タブを着座させることが、近位固定タブを圧縮された解放前構成から拡張された解放後構成に解放させ、近位固定タブが近位弁輪下固定領域内に延びることを含む、ことを含む。
本明細書で使用される専門用語は、特定の実施形態を説明することのみを目的とし、特許請求の範囲の全範囲を限定することが意図されるものではない。本明細書で使用される場合、単数形の「a」、「an」、及び「the」は、文脈により明らかに別様であると示されない限り、複数の形態も同様に含むことが意図される。本明細書の実質的にいかなる複数形及び/または単数形の用語の使用に関しても、当業者は、文脈及び/または用途に適切であるように、複数形から単数形に及び/または単数形から複数形に変換することができる。様々な単数形/複数形の置き換えは、明確にするために本明細書において明示的に記載され得る。
概して、本明細書で、特に添付の特許請求の範囲(例えば、添付の特許請求の範囲の本文)で使用される用語は、「オープン(open)」用語として意図される(例えば、「含む」という用語は、「含むが、これらに限定されない」と解釈されるべきであり、「有する」という用語は、「少なくとも有する」と解釈されるべきである等)。同様に、本明細書で使用される場合、「含む(comprises)」及び/または「含む(comprising)」という用語は、記載された特徴、完全体(またはその部分)、ステップ、動作、要素、及び/または構成要素の存在を指定するが、1つ以上の他の特徴、完全体(またはその部分)、ステップ、動作、要素、構成要素、及び/またはそれらのグループの存在または追加を排除しない。本文書で使用される場合、「含む」という用語は、「含むがこれらに限定されない」を意味する。
本明細書で使用される場合、「及び/または」という用語または「から選択される」という表現または「からなる群から選択される」という表現または「の1つ以上から選択される」という表現は、関連する列挙された項目のうちの1つ以上の任意の組み合わせ及び全ての組み合わせを含む。2つ以上の代替用語を示す実質的にいかなる離接語及び/または表現も、明細書、特許請求の範囲、または図面におけるかどうかにかかわらず、用語のうちの1つ、用語のうちのいずれか、または両方/全ての用語を含む可能性を企図するように理解されるべきであることを理解されたい。例えば、「AまたはB」という表現は、「A」または「B」または「A及びB」の可能性を含むと理解され、「A、B、及びCから選択される」という表現は、「A」、「B」、「C」、「A及びB」、「B及びC」、「A及びC」、及び「A及びB及びC」の可能性を含むと理解される。
本明細書に開示されている全ての範囲はまた、明示的な別段の定めがない限り、ありとあらゆる可能な部分範囲、ならびにそれらの部分範囲の組み合わせも包含する。列挙された任意の範囲は、特に明記しない限り、同じ範囲が少なくとも等しい部分の一部に分類することを十分に表し、可能にするものとして認識されるべきである。当業者が理解するであろうように、範囲には各個々の成員が含まれる。
別段定義されない限り、本明細書で使用される全ての技術用語及び科学用語は、当業者によって一般に理解されるものと同じ意味を有する。本開示におけるいかなるものも、本開示に記載される実施形態が、先行発明のためにそのような開示に先行する権利がないことを認めるものとして解釈されるべきではない。
「人工弁(valve prosthesis)」、「人工心臓弁」、及び/または「人工弁(prosthetic valve)」という用語は、フレームとリーフレットまたは流れ制御構造または構成要素との組み合わせを指し得、解剖学的部分の完全な置き換え(例えば、新たな機械的弁が自己弁を置き換える)、ならびに既存の解剖学的部分を置き換える及び/または補助する、修復させる、または改善する医療機器(例えば、自己弁が所定の位置に残される)の両方を包含し得る。
開示される弁は、自己弁輪内に着座され得、リーフレット構造、流れ制御構成要素、または可撓性往復運動スリーブもしくはスリーブ弁の装着要素として使用され得る部材(例えば、フレーム)を含む。実施形態に応じて、そのようなリーフレット構造または流れ制御構成要素を含んでもよいし、または含まなくてもよい。かかる部材は、本明細書において、「弁輪支持フレーム」、「管状フレーム」、「ワイヤフレーム」、「弁フレーム」、「フランジ」、「カラー」、及び/または任意の他の同様の用語で呼ばれ得る。
「流れ制御構成要素」という用語は、非限定的な意味で、人工心臓弁として機能するために、弁輪支持フレームに縫製または結合された、治療済みまたは未治療の心膜等の可撓性生体適合性材料の2、3、4枚のリーフレットを有するリーフレット構造を指すことができる。かかる弁は、心房から心室への拡張期に流れる血液に対して開放され、外側表面に印加される収縮期の心室圧力により閉じる、三尖弁、僧帽弁、大動脈弁、または肺動脈弁等の心臓弁であり得る。連続して繰り返される開閉は、「往復動」として説明され得る。流れ制御構成要素は、ボール弁(例えば、Starr-Edwards)、二葉弁(St.Jude)、傾斜ディスク弁(例えば、Bjork-Shiley)、ステント付心膜人工心臓弁(ウシ、ブタ、ヒツジ)(バイオプロステーシスのEdwardsライン、St.Jude人工弁)、ならびにホモグラフト及びオートグラフト弁を含む、多種多様な(バイオ)人工心臓弁を含むことが企図される。バイオ人工心膜弁は、バイオ人工大動脈弁、バイオ人工僧帽弁、バイオ人工三尖弁、及びバイオ人工肺動脈弁を含み得る。
開示された弁の実施形態のいずれも、経カテーテルアプローチによって送達され得る。「経カテーテル」という用語は、心腔(または身体内の他の所望の位置)に展開される、カテーテルの管腔内の医療デバイスまたは器具、ならびにそのようなプロセスによって送達または制御されたアイテムにアクセス、制御、及び/または送達するプロセスを定義するために使用される。経カテーテルアクセスは、大腿動脈及び/または静脈の管腔を介して、上腕動脈及び/または静脈の管腔を介して、頸動脈の管腔を介して、頸静脈の管腔を介して、肋間(肋骨)及び/または剣状突起下腔を介して、及び/または同様のものを介して心臓アクセスを含むことが知られている。経カテーテルは、経管腔と同義であり得、これは心臓弁の送達に関して、「経皮的」という用語に機能的に関連している。本明細書で使用される場合、「管腔」という用語は、シリンダまたはチューブの内部を指し得る。「穿孔」という用語は、管腔の内径を指し得る。
心臓アクセスのモードは、「身体チャネル」に少なくとも部分的に基づき得、「身体チャネル」は、身体内の血液導管または血管を画定するために使用されてもよく、人工弁の開示された実施形態の特定の用途によって、問題の身体チャネルが決定される。例えば、大動脈弁置換部は、大動脈弁輪内に、または大動脈弁輪に隣接して植え込まれる。同様に、三尖弁または僧帽弁置換物は、三尖弁または僧帽弁輪に移植される。ある特定の機構は、一方の移植部位または他方にとって特に有利である。しかしながら、組み合わせが構造的に不可能であるか、または請求項の文言によって除外されない限り、本明細書に記載される弁の実施形態はいずれも、任意の身体チャネルに移植され得る。
「拡張可能な」という用語は、本明細書で使用される場合、第1の送達直径から第2の移植直径に拡張することができる心臓弁の構成要素を指し得る。したがって、拡張可能な構造は、温度の上昇または他のそのような付随的な原因からわずかな拡張を受ける可能性がある構造を意味するものではない。逆に、「拡張可能でない」は、例えば、従来の「拡張可能でない」心臓弁の多少の拡張が観察され得るため、完全に剛性または寸法的に安定していることを意味すると解釈されるべきではない。
開示される弁の実施形態のうちのいずれも、従来の経カテーテル送達技術により、または直交送達技術により送達され得る。例えば、人工弁の従来の送達は、弁の中心シリンダ軸が送達カテーテルの長さ方向軸に対して実質的に平行であるようにすることができる。典型的には、弁は、中央シリンダ軸に対して半径方向に圧縮され、送達カテーテルの管腔を通って前進する。弁は、送達カテーテルの端から展開され、中央シリンダ軸から半径方向に外側に拡張される。
人工弁の側方または直交送達は、弁の中心シリンダ軸が送達カテーテルの長さ方向軸に実質的に直交するものであることができる。直交送達では、弁は、中心シリンダ軸に対して実質的に平行な方向及び/または中心シリンダ軸に対して横方向に圧縮される(またはそうでなければサイズが縮小される)。したがって、直交的に送達される弁の長軸は、送達カテーテルの長さ方向軸に対して実質的に平行である。換言すれば、直交送達される人工弁は、経カテーテル人工弁を圧縮及び送達する従来のプロセスと比較して、約90度の角度で圧縮及び/または送達される。さらに、直交送達されるように構成された人工弁及びそのような弁を送達するプロセスは、参照により本明細書に組み込まれる‘957PCTに詳細に記載されている。本明細書で使用される場合、「側方送達される」、「側方送達」、「直交送達」、「直交送達される」等の用語は、かかる送達方法及び/またはかかる方法を使用して送達される弁と互換的に使用することができる。
数学的には、「直交」という用語は、2つの線または平面間の90度の交差角を指す。本明細書で使用される場合、「実質的に直交する」という用語は、90度±好適な公差の交差角を指す。例えば、「実質的に直交する」は、75~105の範囲の交差角を指し得る。
いくつかの実施形態において、構成要素は、ポリウレタンまたはポリテトラフルオロエチレン(PTFE)等の合成材料(複数可)から製造され得る。薄く、耐久性のある合成材料が企図される(例えば、カバーのために)場合、膨張PTFEまたはポリエステル等の合成ポリマー材料を任意選択で使用してもよい。他の好適な材料としては、任意選択で、熱可塑性ポリカーボネートウレタン、ポリエーテルウレタン、セグメント化ポリエーテルウレタン、シリコーンポリエーテルウレタン、ポリエーテルエーテルルケトン(PEEK)、シリコーンポリカーボネートウレタン、ポリプロピレン、ポリエチレン、低密度ポリエチレン、高密度ポリエチレン、及び超高分子量ポリエチレンが挙げられる。追加の生体適合性ポリマーとしては、任意選択で、エラストマー、ポリオレフィン、ポリエチレングリコール、ポリエーテルスルホン、ポリスルホン、ポリビニルピロリドン、ポリ塩化ビニル、他のフルオロポリマー、ポリエステル、ポリエチレンテレフタレート(PET)(例えば、Dacron)、ポリ-L-乳酸(PLLA)、ポリグリコール酸(PGA)、ポリ(D、L-ラクチド/グリコリド)コポリマー(PDLA)、シリコーンポリエステル、ポリアミド(ナイロン)、PTFE、伸長PTFE、拡張PTFE、ポリウレタン、シロキサンポリマー及び/またはオリゴマー、及び/またはポリラクトンを含み、これらを使用するブロックコポリマーが挙げられる。
いくつかの実施形態では、弁フレーム及び/またはその構成要素は、生体適合性金属、金属合金、ポリマーコーティングされた金属等から製造され得る。好適な生体適合性金属及び/または金属合金としては、ステンレス鋼(例えば、316Lステンレス鋼)、コバルトクロム(Co-Cr)合金、ニッケル-チタン合金(例えば、ニチノール(登録商標))等が挙げられ得る。好適なポリマーコーティングとしては、ポリエチレンビニルアセテート(PEVA)、ポリブチルメタクリレート(PBMA)、トランスルートスチレンイソプレンブタジエン(SIBS)コポリマー、ポリ乳酸、ポリエステル、ポリラクチド、D-乳酸ポリ乳酸(DLPLA)等が挙げられる。
弁フレーム及び/またはその部分もしくは構成要素のいずれも、心膜等の生体適合性材料で部分的または完全に内部または外部に覆われ得る。弁フレームは、ポリエステルまたはDacron(登録商標)等の第2の生体適合性材料で部分的または完全に、任意選択で外部に被覆され得る。開示される実施形態においては、組織、例えば、ウシ(ウシ心膜)、ヒツジ(ヒツジ心膜)、ブタ(ブタ心膜)、またはウマ(ウマ心膜)等の動物の化学的に安定化された心膜組織である生体組織が使用されてもよい。好ましくは、組織はウシ心膜組織である。好適な組織の例としては、製品Duraguard(登録商標)、Peri-Guard(登録商標)、及びVascu-Guard(登録商標)に使用されるものが挙げられ、これらは、現在外科処置に使用されており、概して30月齢未満の牛から採取されるものとして市販されている。
本明細書の実施形態及びその様々な特徴及び有利な詳細が、添付の図面に示され、以下の説明で詳細が記載される非限定的な実施形態を参照してより完全に説明される。本明細書の実施形態を不必要に曖昧にしないように、周知の構成要素及び処理技術の説明を省略する。本明細書で使用される実施例は、単に、本明細書の実施形態が実践され得る方法の理解を助け、当業者が本明細書の実施形態を実践することをさらに可能にすることを意図している。したがって、実施例は、本明細書の実施形態の範囲を制限すると解釈されるべきではない。むしろ、これらの実施形態は、本開示が完璧かつ完全であり、当業者に本発明の概念の範囲を完全に伝達するように提供される。同様の数字は、全体を通して同様の要素を指す。
図1A~図1Cは、一実施形態による経カテーテル人工弁102の様々な概略図である。経カテーテル人工弁102は、(例えば、ヒト患者の)身体内の所望の位置に展開され、経カテーテル人工弁102の流入端を通る第1の方向の血流を可能にし、第1の方向とは反対の、経カテーテル人工弁102の流出端を通る第2の方向の血流を遮断するように構成されている。例えば、経カテーテル人工弁102は、自己弁の機能を補完及び/または置き換えるために、ヒト心臓の自己三尖弁または自己僧帽弁の弁輪内に展開されるように構成される経カテーテル人工心臓弁であり得る。
経カテーテル人工弁102(本明細書において「人工弁」または単に「弁」とも称される)は、弁102の長軸111(本明細書において「水平軸」、「長手方向軸」または「長さ方向軸」とも称される)に対して少なくとも1つの方向で圧縮可能及び拡張可能である。弁102は、身体(例えば、ヒト心臓)内の所望の位置に移植するための拡張構成(図1A及び図1C)と、送達カテーテル172を使用して身体内に導入するための圧縮構成(図1B)との間で圧縮可能及び拡張可能であるように構成される。
いくつかの実施形態において、弁102は、中心的または半径方向対称であり得る。他の実施形態において、弁102は、偏心的であり得るか、または半径方向(y軸)非対称であり得る。いくつかの偏心性の実施形態において、弁102(またはその外側フレーム)は、(上から見て)D字形を有し得るため、平坦な部分は、弁102が展開される解剖学的構造と一致することができる。例えば、いくつかの例において、弁102は、三尖弁輪内に展開され得、弁102が装着されている解剖学的構造によって決定される複雑な形状を有し得る。三尖弁輪において、三尖端弁の周囲は、丸みのある楕円形であってもよく、中隔壁は実質的に垂直であることが知られており、三尖弁は、前後のラインに沿って疾患状態で拡大することが知られている。他の例において、弁102は、僧帽弁輪(例えば、僧帽弁前尖の近く)に展開され得、弁102が取り付けられている解剖学的構造によって決定される複雑な形状を有し得る。例えば、僧帽弁輪において、僧帽弁の周囲は、丸みのある楕円形であり得、中隔壁は、実質的に垂直であることが知られており、僧帽弁は、疾患状態で拡大することが知られている。
示されるように、弁102は、概して、弁輪支持フレーム110及び流れ制御構成要素150を含む。加えて、弁102及び/または弁102の少なくとも弁輪支持フレーム110は、1つ以上の固定要素を含む。例えば、図1A~図1Cに示す実施形態において、弁輪支持フレーム110は、少なくとも遠位固定要素132及び近位固定要素134を含む。いくつかの実装形態において、遠位固定要素132及び近位固定要素134は、下部固定要素であり得、弁102及び/または弁輪支持フレーム110は、遠位上部固定要素及び近位上部固定要素(図示せず)を含み得る。いくつかの実装形態において、弁102及び/またはその態様もしくは部分は、上述の参照により組み込まれた‘957PCTに詳細に記載されている弁(及び/またはその対応する態様もしくは部分)と同様であり、及び/または実質的に同一であり得る。したがって、弁102のある特定の態様、部分、及び/または詳細は、本明細書ではさらに詳細に説明されない場合がある。
弁輪支持フレーム110(本明細書において「管状フレーム」、「弁フレーム」、「ワイヤフレーム」、または「フレーム」とも称される)は、中心軸113に沿って延びる開口114を有することができるか、または画定することができる。開口114(例えば、中央軸管腔)は、開口114の直径にわたって流れ制御構成要素150を受容するようにサイズ決定され、構成され得る。フレーム110は、弱化した自己弁輪に構造的開存性を提供するために、自己弁輪の内側面に対して引っ張られ得る自己弁輪組織に係合するための外周面を有し得る。
フレーム110は、カフまたはカラー120、及び管状または経環部分112を含む。カフまたはカラー120(本明細書において「カラー」と称される)は、フレーム110に取り付けられ得る、及び/またはフレーム110の上端を形成し得る。弁102がヒト心臓内に展開されるとき、カラー120は、心房カラーであり得る。カラー120は、自己展開位置に適合するように成形され得る。僧帽弁置き換えにおいて、例えば、カラー120は、自己弁に適合するように様々な部分で構成される。一実施形態において、カラー120は、遠位及び近位上部カラー部分を有する。遠位カラー部分は、環状幾何学形状、円周上幾何学形状、及び/または弁輪上幾何学形状を考慮するために、近位上部カラー部分よりも大きくなり得る。
フレーム110は、任意選択で、心房床上に展開するためにフレーム110の上部(心房)縁に取り付けられた別個の心房カラーを有してもよく、これは、心房から血液を流れ制御構成要素150に導き、フレーム110の周囲の血液漏れ(弁周囲漏れ)に対して密閉するために使用される。フレーム110はまた、任意選択で、フレーム110の下部(心室)縁に取り付けられた別個の心室カラーを有してもよく、収縮期の逆流性漏れを防止するために使用される自己弁輪の直下の心室内に展開し、収縮期における弁102の脱落を防止し、心房カラーもしくはカラー120に対して自己弁輪または隣接する組織をサンドイッチまたは圧縮し、及び/または任意選択で流れ制御構成要素150に取り付け、流れ制御構成要素150を支持するために使用される。いくつかの実施形態は、心房カラー及び心室カラーの両方を有し得るが、他の実施形態は、単一の心房カラー、単一の心室カラーを有する、または追加のカラー構造を有しない。
フレーム110は、リング、または円筒形もしくは円錐形チューブであってもよいが、フラットコーン形状、反転フラットコーン形状(上部がより狭く、下部がより広い)、凹状シリンダ(中に曲がった壁)、凸状シリンダ(壁が隆起している)、角砂時計、湾曲砂時計、傾斜砂時計、フレアトップ、フレアボトム、もしくは両方を有するリングまたはシリンダの側面プロファイルを有してもよい。フレーム110は、約5~60mmの範囲の高さを有してもよく、約20~80mmの範囲の外径寸法Rを有してもよく、フレーム110(例えば、フレーム110を形成するワイヤ材料)の厚さを考慮して、約21~79mmの範囲の内径寸法を有してもよい。
フレーム110は、送達のために圧縮可能であり、解放されるとき、その元の(非圧縮)形状に戻るように構成されている。フレーム110は、経カテーテル送達のために圧縮され得、経カテーテル拡張バルーンを使用して拡張可能であり得る。他の実装形態において、フレーム110は、フレーム110が自己拡張することを可能にする形状記憶要素を含み、及び/またはそれで形成することができる。いくつかの例において、好適な形状記憶材料は、耐久的及び生体適合的である金属及び/またはプラスチックを含み得る。例えば、フレーム110は、ニチノールワイヤまたは他の同様に機能する材料等の超弾性金属ワイヤから作製することができる。フレーム110は、編組フレーム、ワイヤフレーム、またはレーザ切断ワイヤフレームとして構築され得る。フレーム110はまた、生体適合性カバー、組織固定具、解放可能な展開及び回収制御ガイド、ノブ、アタッチメント、リギング等のアクセサリ構成要素を取り付けるための追加の機能要素(例えば、ループ、固定具等)を有してもよく、及び/またはそれを形成してもよい。いくつかの実装形態において、フレーム110(またはその態様及び/または部分)は、‘957PCTにおいて詳細に記載されるフレーム(または対応する態様及び/またはその部分)と構造的及び/または機能的に同様であり得る。
上述のように、フレーム110及び/または弁102は、少なくとも遠位固定要素132及び近位固定要素134を含み得る。遠位及び近位固定要素132及び134は、例えば、下部固定要素(例えば、フレーム110の下部に結合される、及び/またはその中に含まれる)であり得る。いくつかの実施形態において、フレーム110及び/または弁102はまた、遠位上部固定要素及び近位上部固定要素のうちの1つ以上を任意選択で含み得る。弁102の固定要素は、本明細書にさらに詳細に記載されるように、弁輪組織の所望の部分に係合して、フレーム110を、弁102が展開される自己弁の弁輪に装着するように構成され得る。弁102及び/またはフレーム110の固定要素は、‘957PCTにおいて詳細に記載されるもののうちのいずれかのような、いずれの好適な形状、サイズ、及び/または構成であってもよい。さらに、少なくとも遠位及び近位固定要素132及び134のある特定の態様、特徴、及び/または構成は、特定の実施形態を参照して以下に記載される。
図1A及び図1Bに示されるように、遠位固定要素132は、ガイドワイヤ185の一部分またはガイドワイヤアセンブリの一部分を選択的に係合及び/または受容するように構成されたガイドワイヤカラー145を含むことができ、及び/または特定の実施形態に関して以下に記載される任意の好適な構成を有し得る。例えば、いくつかの実施形態において、ガイドワイヤ185の一部分は、ガイドワイヤカラー145の開口(図示せず)を通って延び得、それによって、弁102がガイドワイヤ185の上をまたはそれに沿って前進することを可能にする。ガイドワイヤカラー145は、プッシャ等の他の要素及び/または構成要素をブロックまたは防止しながら、その中をガイドワイヤ185が前進するのを選択的に可能にする任意の好適な要素であり得る。ある特定の実施形態において、遠位下部固定要素132は、ガイドワイヤカラー145を形成する特徴を形成し得、及び/または含み得る。他の実装形態において、ガイドワイヤカラー145は、フレーム110の任意の好適な部分に、近位固定要素134に、及び/またはフレーム110の任意の他の固定要素及び/または特徴(例えば、遠位または近位上部固定要素)に取り付けられ得る。
近位固定要素134は、特定の実施形態に関して本明細書に記載されるもののうちのいずれものような、いずれの好適な形状、サイズ、及び/または構成でもあり得る。近位固定要素134は、例えば、近位下部固定要素であり得、心室の弁輪下組織に係合して、弁輪における弁102の固定を補助するように構成され得る。いくつかの実装形態において、近位固定要素134は、近位固定要素134が圧縮、非展開、及び/または拘束された状態で維持される第1の構成と、近位構成要素134が拡張、延長、展開、及び/または非拘束された第2の構成との間を移行するように構成され得る。より具体的には、近位固定要素134は、第1の構成にあるときに、弁フレーム110の経弁輪部分112と接触している、隣接している、及び/または別様に、それに近い第1の位置に維持され得、第2の構成にあるときに、フレーム110の経弁輪部分112から離れて延びる第2の位置に解放され得る。換言すれば、第2の位置の近位固定要素134は、近位固定要素134の第1の位置よりもさらに環状部分112から離れ得る。
いくつかの実施形態において、弁102及び/またはフレーム110は、近位固定要素134を少なくとも一時的に第1の構成に保持するように構成された特徴、部材、機構等を含み得る。例えば、図1A及び図1Bに示されるように、弁102及び/またはフレーム110は、近位固定要素134に選択的に係合して、近位固定要素134を第1の構成に一時的に維持するように構成された引張部材135を含み得る。引張部材135は、任意の好適な形状、サイズ、及び/または構成であり得る。例えば、引張部材135は、固定具、ループ、タブ、ラッチ、フック、テザー、弾性材バンド、ねじ山付きカプラ、ボール及びカップ機構、及び/または任意の他の好適な取り外し可能なアタッチメントであり得る。引張部材135は、近位固定要素134の一部分に取り外し可能に結合することができ、第1の構成において近位固定要素134を維持する際に動作可能な力(例えば、引張力または圧縮力)を加えることができる。引張部材135は、引張部材135が近位固定要素134から係脱することを可能にするように再構成可能であり得、これは、次いで、特定の実施形態を参照して本明細書にさらに詳細に記載されるように、近位固定要素134がその第1の構成から第2の構成に移行することを可能にし得る。
弁102は、概して、送達カテーテル172をガイドワイヤ185上に前進させて、送達カテーテル172の遠位端を所望の位置にまたはその付近に配置することを含む手順により、身体内の所望の位置に送達され得る。したがって、ガイドワイヤ185は、送達カテーテル172の管腔174内に配設され得る。弁102を、(例えば、圧縮された構成で)送達カテーテル172の管腔174内に配設することができ、これにより、ガイドワイヤカラー145がガイドワイヤ185の一部分に係合され、及び/または受容され、それによって、送達カテーテル172を通って、弁102がガイドワイヤ185の上を及び/またはそれに沿って前進することが可能になる。
流れ制御構成要素150は、非限定的な意味で、そこを通る流体の流れを制御するためのデバイスを指し得る。いくつかの実施形態において、流れ制御構成要素150は、処理済みまたは未処理の心膜等の可撓性生体適合性材料から作製された、2リーフレット、3リーフレット、4リーフレット、またはそれ以上を有するリーフレット構造であり得る。リーフレットは、支持構造体に縫製または接合することができ、及び/またはフレーム110に縫製または接合することができる。流れ制御構成要素150は、フレーム110内に装着され、弁の流入端を通る第1の方向の血流を可能にし、第1の方向とは反対の、弁の流出端を通る第2の方向の血流を遮断するように構成され得る。例えば、流れ制御構成要素150は、弁102が、例えば三尖弁、僧帽弁、大動脈弁、または肺動脈弁等の心臓弁として機能し、拡張期に心房から心室に流れる血液に対して開放することができ、外側面に加えられる収縮期心室圧力により閉鎖することができるように構成され得る。連続して繰り返される開閉は、「往復動」として説明され得る。
流れ制御構成要素150は、ボール弁(例えば、Starr-Edwards)、二葉弁(St.Jude)、傾斜ディスク弁(例えば、Bjork-Shiley)、ステント付心膜心臓弁人工物(ウシ、ブタ、ヒツジ)(バイオプロステーシスのEdwardsライン、St.Jude人工弁)、ならびにホモグラフト及びオートグラフト弁を含む、多種多様な(バイオ)人工心臓弁を含むことが企図される。バイオ人工心膜弁は、バイオ人工大動脈弁、バイオ人工僧帽弁、バイオ人工三尖弁、及びバイオ人工肺動脈弁を含み得る。いくつかの実装形態において、好適な市販の弁(流れ制御構成要素150)は、フレーム110によって受容または受け入れられ、及び/または別様にフレーム110に装着され得る。市販の弁(流れ制御構成要素150)は、例えば、Edwards Lifesciences社のSapien、Sapien3、もしくはSapien XT、Edwards Lifesciences社のInspiris Resilia大動脈弁、Abbott社のMasters HP 15mm弁、Boston Scientific社のLotus Edge弁、Livanova/Sorin社のCrown PRTリーフレット構造、Sorin社の弁のCarbomedicsファミリーからの弁、もしくは他の流れ制御構成要素(複数可)、または可撓性往復動スリーブもしくはスリーブ弁を含み得る。いくつかの実装形態において、流れ制御構成要素150は、‘957PCTに詳細に記載される流れ制御構成要素のいずれかと同様であるか、または実質的に同一であり得る。
弁102は、拡張構成と圧縮構成との間で圧縮可能及び拡張可能である。弁102は、弁102の送達中に圧縮され、送達カテーテル172から解放されると拡張するように構成されている。弁102は、身体内の所望の位置で展開または移植される(または展開または移植の準備ができている)とき、拡張構成にある。図1A及び図1Bに示される拡張構成にあるとき、弁102は、弁102を送達するために使用される送達カテーテル172の管腔174の直径よりも大きい、中心軸113に沿ったまたは中心軸113に対して横方向の任意の方向の範囲を有する。換言すれば、弁102は、送達カテーテル172の管腔174の直径よりも大きい、弁102の長手方向軸111に垂直な任意の方向の範囲を有する。
いくつかの実施形態において、弁102は、5~60mmの拡張高さ(y軸)を有することができる。いくつかの実施形態において、弁102は、約20~80mm、より具体的には40~80mmの拡張直径長さ及び幅を有することができる。ある特定の実施形態において、弁102は、例えば、20mm、25mm、30mm、35mm、40mm、45mm、50mm、55mm、60mm、65mm、70mm、75mm、及び80mm、及び/またはそれらの間のサイズの任意のサイズもしくは部分を含む長さ及び/または幅を有することができる。
弁102は、送達カテーテル172を介して身体内の所望の場所に送達されるとき、圧縮構成にある。圧縮構成にあるとき、弁102は、弁102が送達カテーテル172の管腔174内に配設されることを可能にするサイズを有することができる。いくつかの実装形態において、弁102は、身体内の所望の位置(例えば、自己弁の弁輪)への経カテーテルの直交送達のために構成され、弁102は、拡張構成にある弁102の寸法に対して横方向に圧縮され(例えば、中央軸113に沿って)、長手方向に(例えば、長手方向軸111に沿って)伸長され得る。他の実装形態において、弁102は、中心軸113が長手方向軸111と同軸である、身体内の所望の位置への従来の経カテーテル送達に対して構成されている。従来の経カテーテル送達の態様、特徴、及び/またはプロセスについては、本明細書ではさらに詳細には記載されない。
送達中、弁102の長手方向軸111は、送達カテーテル172の長手方向軸175に対して実質的に平行である。直交送達において、長手方向軸111は、中心軸113に対して45度~135度の交差角(例えば、垂直または約90度)で方向付けられる。いくつかの実施形態において、弁102の水平x軸(例えば、長手方向軸111)は、拡張構成であるときに中心垂直Y軸(例えば、中心軸113)に対して直交するか、または実質的に直交する(例えば、75~105度)か、または実質的に斜めである(45~135度)。いくつかの実施形態において、圧縮構成にある弁102の水平x軸(例えば、長手方向軸111)は、送達カテーテル172の長さ方向円筒形軸175に対して実質的に平行である。
本明細書で使用される場合、「交差角」及び/または「直交角」という用語は、(i)送達カテーテル174の長さ方向円筒軸(例えば、長手方向軸175)と、長軸111が従来の弁の中心軸113に垂直である圧縮弁102の長軸111との間の関係、ならびに(ii)圧縮または拡張弁102の長軸111と、(例えば、心房から自己弁輪を通って心室へ等の、身体の一部分または心腔から身体または心腔の別の下流部分へ)血液が流れている人工弁102を通る血流によって画定される軸との間の関係の両方を指すことができる。
弁102は、拡張構成にあるときに中心軸113に沿った第1の高さまたはサイズを有することができ、圧縮構成にあるときに、第1の高さまたはサイズ未満の、中心軸113に沿った第2の高さまたはサイズを有することができる。圧縮構成にあるときの弁102の第2の高さまたはサイズは、送達カテーテル175の管腔174の直径よりも小さく、弁102がそれを通って送達されることを可能にする。弁102はまた、さらなる方向に圧縮され得る。例えば、弁102は、長手方向軸111及び中心軸113の両方に対して垂直である横方向軸(図示せず)に沿って圧縮され得る。弁102は、拡張構成にあるとき、送達カテーテル172の管腔174の直径よりも大きい、横方向軸に沿ったまたは平行な任意の方向の範囲を有する。換言すれば、弁102は、‘957PCTにおいて詳細に説明されるように、拡張構成にあるときに横方向軸に沿って第1の幅またはサイズを有することができ、圧縮構成にあるときに横方向軸に沿って第1の幅またはサイズ未満の第2の幅またはサイズを有することができる。
弁102は、(上述のように)圧縮され、長手方向軸111が送達軸(例えば、送達カテーテル172の長手方向軸175)に実質的に平行であるように、横方向にまたは直交する様式で送達されてもよい。拡張弁102の形状は、拡張カラー(例えば、カラー120)を有する大径短縮シリンダの形状であり得る。弁120は圧縮され得、いくつかの実施形態において、そこでは弁102の中心軸113が送達カテーテル172の長さ方向軸175にほぼ垂直である(直交する)。いくつかの実施形態において、弁102は、垂直に(例えば、中心軸113に沿って)圧縮され得る、及び/または横方向に(例えば、横方向軸に沿って、図示せず)圧縮され得る。いくつかの実施形態において、弁102は、約6~15mm、約8~12mm、またはより具体的には9~10mmの圧縮高さ(y軸)及び/または幅(z軸)を有することができる。いくつかの実施形態において、弁102(x軸)の長さは、送達カテーテル172の管腔174の長さに沿って延びることができるため、圧縮を必要としない。いくつかの実施形態において、弁102(x軸)の長さは、高さ(y軸)及び/または幅(z軸)の圧縮に応答して増加する。弁102は、‘957PCTにおいて詳細に記載されるように、圧縮、圧延、折り畳み、及び/または任意の他の好適な様式、またはそれらの組み合わせによって圧縮され得る。
いくつかの実装形態において、送達システムは、従来の送達技術または直交送達技術のいずれかにより、弁102を身体内の所望の位置(例えば、自己弁の弁輪)に送達するように構成された1つ以上の特徴または構成要素を含み得る。例えば、少なくとも直交送達に好適な送達システム170が図1Bに示される。送達システム170は、送達カテーテル172、二次カテーテル180、及びガイドワイヤ185を含む。送達システム170は、圧縮された弁102及び/または弁102の部分(例えば、圧縮されたフレーム110または圧縮された流れ制御構成要素150)を、身体内の所望の位置、例えば、ヒト心臓の自己三尖弁の弁輪及び/または自己僧帽弁の弁輪に直交して送達するように構成され得る。例えば、送達カテーテル172は、任意の好適な対応する内管腔直径及び/または人工弁102を圧縮構成で受容するのに十分な内管腔直径を有する、12~34Frであり得る。いくつかの実装形態において、送達システム170及び/またはその態様もしくは部分は、‘957PCTにおいて詳細に記載されるものと同様であり得、及び/または実質的に同一であり得る。
ガイドワイヤ185は、二次カテーテル180、遠位固定要素132のガイドワイヤカラー145もしくは遠位固定要素132に接続されたガイドワイヤカラー145、及び送達カテーテル172を通って延びるか、または通される。ガイドワイヤ185は、例えば、二次カテーテル180によって少なくとも部分的に被覆された被覆ガイドワイヤであり得る。ガイドワイヤ185は、身体の解剖学的構造を通して前進し、自己組織(例えば、自己弁)に対して所望の位置に配置されるように構成される。いくつかの例において、ガイドワイヤ185は、(例えば、送達カテーテル172、弁102、二次カテーテル180等のために)心室の流出管(例えば、自己弁に応じてRVOTまたはLVOT)にワイヤ経路を提供するように前進され得る。ガイドワイヤ185は、弁102のガイドワイヤカラー145を通って延びて、(例えば、送達カテーテル172及び/または心房もしくは心室の少なくとも一部分を通って)弁102が前進されるワイヤ経路を提供する。
図1Bに示されるように、二次カテーテル180の少なくとも一部分を、送達カテーテル172の管腔174内に配設することができる。二次カテーテル180を、ガイドワイヤ185の上に配設する及び/またはガイドワイヤ185に沿って前進させることができる。二次カテーテル180は、シース、チューブ、環状ロッドまたはワイヤ等であり得る。いくつかの実施形態において、二次カテーテル180は、ガイドワイヤ185の一部分の周りに配設されたハイポチューブシースである(例えば、二次カテーテル180及びガイドワイヤ185は、被覆ガイドワイヤまたは被覆ガイドワイヤアセンブリを集合的に形成する)。二次カテーテル180は、二次カテーテル180が送達カテーテル172を通って前進すること、及び/またはガイドワイヤカラー145内に少なくとも部分的に配置されるか、または別様にガイドワイヤカラー145と係合されることを可能にする比較的小さいサイズを有することができる。二次カテーテル180は、ガイドワイヤ185を超える内径を有する管腔を有し、ガイドワイヤ185がそれを通過することを可能にする。
プッシャ181もまた、二次カテーテル180内に配設されており、弁102の一部分を押し付けて、弁102を、送達カテーテル172を通って及び/または送達カテーテル172から前進させるように構成されている。いくつかの実装形態において、プッシャ181は、ガイドワイヤカラー145及び/または遠位固定要素132の一部分に押し付けるように構成されている。例えば、ガイドワイヤカラー145は、ガイドワイヤ185がガイドワイヤカラー145を通って前進することを可能にすることができ、プッシャ181がガイドワイヤカラー145(またはその少なくとも一部分)を超えて前進していることをブロック及び/または実質的に防止することができる。ガイドワイヤカラー145は、ガイドワイヤ185が通過することを可能にするのには十分に大きいが、他の構成要素がその中を通って前進することを可能にするには十分に大きくない開口または管腔を画定する特徴(例えば、プッシャ181)であり得る、及び/またはそれらを含むことができる。したがって、二次カテーテル180及び/またはプッシャ181は、ガイドワイヤカラー145の開口または管腔に対する二次カテーテル180及び/またはプッシャ181のより大きな円周によってガイドワイヤカラー145に対して停止させることができる。このような構成は、二次カテーテル180及び/またはプッシャ181が、ガイドワイヤカラー145、したがって、それが取り付けられる遠位固定要素132を押すことを可能にする。ガイドワイヤカラー145が遠位固定要素132に取り付けられるとき、ガイドワイヤカラー145上で押すことは、弁102を送達カテーテル172を通って及び/または送達カテーテル172から引き出すように動作する。
プッシャ181は二次カテーテル180内に配設されているように示されているが、いくつかの実施形態では、二次カテーテル180は、プッシャ181として使用され得る。このような実施形態において、送達システム170は、別個のプッシャ181を含む必要はない。さらに、プッシャ181は、例えば、遠位固定要素132に係合するように上記に記載されているが、他の実装形態では、プッシャ181は、近位固定要素134等の弁102の任意の好適な部分に係合するように構成され得る。図1A~図1Cには示されていないが、ガイドワイヤカラー145、二次カテーテル180、及び/またはプッシャ181は、例えば、弁102の展開後に、ガイドワイヤ185、二次カテーテル180、及び/またはプッシャ181をガイドワイヤカラー145から解放するように構成された解放機構または特徴を含み得る。
図1Cに示すように、弁102は、例えば、ヒト心臓の心房に送達され、例えば、肺動脈弁(PV)、僧帽弁(MV)、大動脈弁(AV)、及び/または三尖弁(TV)等の自己弁の弁輪内に配設され得る。上述のように、弁102は、圧縮構成にあり得、送達システム170(従来の送達技術または直交送達技術のいずれか)により、弁輪に送達され得、送達システム170から解放され、拡張構成まで拡張され得る。例えば、弁102は、ヒト心臓の心房に送達され、‘957PCTに詳細に記載される送達システム、デバイス、及び/または方法のいずれかを介して、送達カテーテル172から解放され得る。
弁102を展開することは、弁102の残りの部分が心房(RA、LA)内にある間に、心室(RV、LV)内の遠位固定要素132(例えば、遠位下部固定要素132)を弁輪の下に配置することを含み得る。いくつかの例において、遠位固定要素132は、心室の流出管に位置決めされ得る(例えば、遠位固定要素132は、ガイドワイヤ185の上を及び/またはそれに沿って前進させることができる)。例えば、いくつかの実装形態において、弁102は、自己三尖弁(TV)の弁輪に送達され得、遠位固定要素132の少なくとも一部分は、右心室流出管(RVOT)内に位置決めされ得る。他の実装形態において、弁102は、自己僧帽弁(MV)の弁輪に送達され得、遠位固定要素132の少なくとも一部分は、左心室流出管(LVOT)に位置決めされてもよい。いくつかの例において、遠位固定要素134は、弁102の遠位端部分を自己弁輪組織に少なくとも部分的に固定するために弁輪下組織に係合することができ、一方、弁102の残りは弁輪の心房側内の弁輪上位置に維持される。
いくつかの実装形態において、人工弁102は、部分的に展開された状態に一時的に維持され得る。例えば、弁102は、弁102の周囲の自己弁輪を部分的に通り、弁102を部分的に通って血液が心房から心室に流れることを可能にするために、弁輪に部分的に挿入され、弁輪に対してある角度に維持され、これによって、弁機能の評価を可能にすることができる。
弁102は、カラーが弁輪上位置にあるまま、弁フレーム110の経弁輪部分112が弁輪を通って心室内に延びるように、自己弁(PV、MV、AV、及び/またはTV)の弁輪(PVA、MVA、AVA、及び/またはTVA)に配置または着座することができる。例えば、いくつかの実施形態において、二次カテーテル180及び/またはプッシャ181を使用して、弁102の少なくとも近位端部分を弁輪に押し込むことができる。いくつかの実装形態において、近位固定要素134は、弁102が弁輪に着座するとき、その第1の構成で維持され得る。例えば、上述のように、近位固定要素134は、第1の構成でありながら、フレーム110の経弁輪部分112と接触することができ、隣接することができ、及び/またはその付近にあることができ、これは、次いで、フレーム110の下部の全周を制限し、それによって、フレーム110の経弁輪部分112が弁輪を通って挿入され得る。
着座すると、近位固定要素134は、その第1の構成からその第2の構成に移行することができる。例えば、いくつかの実装形態において、近位固定要素134をその第1の構成に維持する際に動作可能であり得る引張部材135上に、それに沿って、及び/またはそれを介して引張力を加えることができる。引張部材135は、近位固定要素135から係脱するように操作され、それによって、近位固定要素134がその第2の構成に移行することを可能にし得る。いくつかの実装形態において、二次カテーテル180、プッシャ181、及び/または送達システム170の任意の好適な部材または機構は、近位固定要素134から引張部材135を係脱するように構成され得る。いくつかの実装形態において、引張部材135の一部分は、近位固定要素134から係脱するように作動され得る。したがって、弁102が弁輪に着座すると、近位固定要素134は、近位固定要素134が弁輪下組織に接触し、係合し、及び/または別様に弁輪下組織に隣接して配設される、その第2の構成に配置され得る。さらに、いくつかの実装形態において、遠位固定要素132、近位固定要素134、及びカラー120(または任意の他の上部固定要素)は、弁輪組織に心房を心室から分離する圧縮力を加え、それによって弁102を完全に展開された状態に置くことができる。図1A~図1Cには示されないが、いくつかの実装形態では、弁102及び/または送達システム170は、‘957PCTにおいて詳細に記載されるように、弁102の1つ以上の部分を弁輪組織に固定するために使用され得る1つ以上の組織固定具を含み得る。
以下に、経カテーテル人工弁(例えば、人工心臓弁)のある特定の態様または実施形態の考察を提供する。特定の実施形態に関して以下に記載する経カテーテル人工弁(またはその態様もしくは部分)は、図1A~図1Cを参照して上記に記載した弁102及び/または弁102の対応する態様もしくは部分と少なくとも形態及び/または機能が実質的に同様であり得る。同様に、以下に記載される弁(またはその態様もしくは部分)は、少なくとも‘957PCTにおいて詳細に記載される弁と形態及び/または機能が同様であり得る。したがって、特定の実施形態のある特定の態様及び/または一部分については、本明細書にさらに詳細に記載されない場合がある。
図2は、一実施形態による、側方送達経カテーテル人工心臓弁202の側面斜視図の例示である。弁202及び/またはその態様もしくは部分は、図1A~図1Cに示される弁102と実質的に同様であり得る。弁202は、遠位固定要素232及び近位固定要素234を含むワイヤフレーム210を有する。図2に示される実施形態において、遠位固定要素232及び近位固定要素234の各々は、超弾性ワイヤループ(例えば、ニチノールワイヤ等によって形成される)からなるか、またはそれから形成される。
図3は、一実施形態による、側方送達経カテーテル人工心臓弁302の側面斜視図の例示である。弁302は、レーザ切断遠位固定要素332及びレーザ切断近位固定要素334を有するレーザ切断フレーム310を有する。
図4は、一実施形態による、側方送達経カテーテル人工心臓弁402の側面斜視図の例示である。弁402は、レーザ切断遠位固定要素432及び超弾性ワイヤループ近位固定要素434を有するレーザ切断フレーム410を有する。
図5は、一実施形態による、側方送達経カテーテル人工心臓弁502の側面斜視図の例示である。弁502は、超弾性ワイヤループ遠位固定要素532及びレーザ切断近位固定要素534を有するレーザ切断フレーム510を有する。
図6は、一実施形態による、側方送達経カテーテル人工心臓弁602の側面斜視図の例示である。弁602は、超弾性ワイヤループ遠位固定要素632及び超弾性ワイヤループ近位固定要素634を有するレーザ切断フレーム610を有する。
図7A及び図7Bは、一実施形態による、側方送達経カテーテル人工心臓弁702の側面斜視図を示す。弁702は、超弾性ワイヤループ遠位固定要素732及び超弾性ワイヤループ近位固定要素734を有するレーザ切断フレーム710を有する。図7Aに示される弁702は、フレーム710及び流れ制御構成要素750を有する。フレーム710は、経弁輪部分712と、経弁輪部分712の上端の周囲に配置され、及び/または結合された心房カラー720とを有する。流れ制御構成要素750は、フレーム710の開口714内に配設される。流れ制御構成要素750は、流れ制御構成要素750内に装着される任意の数の人工リーフレット753(例えば、2つ、3つ、4つ、またはそれ以上)を有し得る。リーフレット753は、弁702の流入側から弁702の流出側への単一方向の血流のためのチャネルを画定し得る。
図7Aは、第1または初期状態にあるフレーム710及び/または弁702の引張部材735を示し、そこでは、引張部材735が近位固定要素734に係合して、近位固定要素734をその第1の構成(例えば、解放前構成)に維持する。近位固定要素734は、弁702の展開及び/または弁輪内の弁702の着座の前及び間にその第1の構成にあり得る)。図7Bは、第2の状態の引張部材735を示し、そこでは、引張部材735が近位固定要素734から係脱している。近位固定要素734は、図7Bの矢印によって示されるように、その第1の構成からその第2の構成に移行させることを可能とされる。近位固定要素734は、弁702が弁輪に着座した後に第2の構成に移行され得る。
図8は、下大静脈(IVC)、上大静脈(SVC)、右心房(RA)、左心房(LA)、右心室(RV)、左心室(LV)、及び肺動脈(PA)間の幾何学的関係を示す挿入図を有する、ヒト心臓の解剖学的構造の側面図の例示である。RAとRVとの間には、前尖部、後尖部、及び中隔尖部を有する3つのリーフレット三尖弁が示されている。LAとLVとの間には、2つのリーフレット僧帽弁が示されている。
図9A及び図9Bは、自己三尖弁輪で着座した側方送達弁802の前側面斜視図及び後側面斜視図をそれぞれ示す。弁802のカラー820は、三尖弁輪及びリーフレットの上に心房に敷設されており、弁802の経弁輪部分812は、弁輪内に及び弁輪を通って延びて流れ制御構成要素850からの補正血行動態流を提供し、遠位固定要素832は、右心室流出管(例えば、肺動脈(PA))内に少なくとも部分的に配設されており、解放された構成にある近位固定要素134は、弁輪下組織に係合している。
図10A及び図10Bは、一実施形態による側方送達された経カテーテル人工心臓弁902の側面斜視図を示す。図10Aは、弁902の近位側面斜視図であり、ワイヤフレーム910から離れて延びる近位固定要素934を示す。図10Bは、弁902の遠位側面斜視図であり、ワイヤフレーム910から離れて延びる遠位固定要素932を示す。
図11A及び図11Bは、一実施形態による、送達された経カテーテル人工心臓弁1002の側面の上面前図及び上面中隔図をそれぞれ示す。弁1002は、弁1002のカラー1020の下に、ワイヤループ遠位固定要素1032及びフレームの外周の周囲に取り付けられたワイヤループ近位固定要素1034を含むワイヤフレームを有し得る。
図12は、一実施形態による、送達された側方経カテーテル人工心臓弁1102の側面斜視図の例示である。弁1102は、遠位固定要素1132及び近位固定要素1134を有する。遠位固定要素1132は、それに結合されたガイドワイヤカラー1145を有する。ガイドワイヤカラー1145は、ガイドワイヤ1185の一部分を受容することができるねじ山付き先端要素等であり得る。弁1102は、送達カテーテル1172を介して自己弁輪に送達され得る。より具体的には、ガイドワイヤ1185は、ヒトの心臓内に前進し、自己弁の弁輪を通ることができる。送達カテーテル1172は、ガイドワイヤ1172上を前進して、送達カテーテル1172の遠位端を弁輪の心房側上に配置することができる。ガイドワイヤカラー1145は、ガイドワイヤ1145の上にねじ込まれ得るか、またはそうでなければ位置決めされ得る。プッシャ1110は、ガイドワイヤカラー1145の近位のガイドワイヤ1145の上にねじ込まれ得るか、またはそうでなければ位置決めされ得る。ガイドワイヤカラー1145は、ガイドワイヤ1180がそこを通過することを可能にすることができるが、プッシャ1180がガイドワイヤカラー1145を通過するのを防止することができ、それによって、遠位固定要素1132を押すための機構を提供する。弁1102は、ガイドワイヤカラー1145が弁1102の残りの部分に対して遠位にある状態で、送達カテーテル1172を通って前進させることができる。したがって、ガイドワイヤカラー1145(または遠位固定要素1132)を押し付けると、弁1102が送達カテーテル1172を通って遠位側から引き出して、そうでなければ弁を送達するプロセスに伴う場合がある圧縮的押し込み力を損なうことを回避する。
図13A~図13Dは、一実施形態による、弁1202を送達するプロセスを示す、側方送達経カテーテル人工心臓弁1202の中隔側面図を示す。図13Aは、圧縮構成にあり、送達カテーテル1272内に配設された弁1202を示す。いくつかの例において、プロセスは、送達カテーテル1272の少なくとも遠位端を、下大静脈(IVC)を介してヒト心臓の心房内に延ばすことを含み得る。プッシャ1280または他の部材を使用して、圧縮された弁1202を、送達カテーテル1272を通って遠位端に向かって前進させることができる。図13Bは、送達カテーテル1272から部分的に放出された弁1202を示す。遠位固定要素1232は、弁輪を通って肺動脈(PA)等の心室流出管内に延びる。図13Cは、送達カテーテル1272から放出され、非圧縮または拡張構成にある弁1202を示す。いくつかの実装形態において、プッシャ1280は、弁1202の近位側に力を加えて、弁1202を自己弁輪内に着座させるために使用され得る。弁1202の近位固定要素1234は、弁1202が弁輪に着座するとき、第1の、圧縮された、及び/または解放前の状態にあり得る。図13Dは、弁輪に着座した弁1202と、第2の、非圧縮された、及び/または解放後の状態にある近位固定要素1234と、を示す。例えば、引張部材(図示せず)は、弁1202が弁輪に着座した後に操作されて、近位固定要素1234がその第2の状態に移行することを可能にし得る。
図14A~図14Dは、一実施形態による、弁1302を送達するプロセスを示す側方送達経カテーテル人工心臓弁1302の前側面図を示す。弁1302は、ワイヤループ遠位固定要素1332及びワイヤループ近位固定要素1334を含むワイヤフレームを有し得る。図14Aは、管腔内に圧縮構成にある弁1302を配設した、IVCを通って延びる送達カテーテル1372の一部分を示す。プッシャ1380または他の部材を使用して、圧縮された弁1302を、送達カテーテル1372を通って前進させることができる。図14Bは、送達カテーテル1372から部分的に放出された弁1302と、弁輪を通って、PA等の心室流出管内に延びている遠位固定要素1332と、を示す。図14Cは、送達カテーテル1372から放出され、自己弁の弁輪に着座した拡張された弁1302を示し、一方、弁1302の近位固定要素1334は、第1の、圧縮された、及び/または解放前の状態にある。図14Dは、弁輪に着座した弁1302と、第2の、非圧縮された、及び/または解放後の状態にある近位固定要素1334と、を示す。
図15A~図15Dは、一実施形態による弁1402を送達するプロセスを示す、側方送達経カテーテル人工心臓弁1402の中隔側面図を示す。弁1402は、レーザ切断遠位固定要素1432及びレーザ切断近位固定要素1434を有するレーザ切断フレームを有する。図15Aは、管腔内に圧縮構成にある弁1402を配設した、IVCを通って延びている送達カテーテル1472の一部分を示す。プッシャ1480または他の部材を使用して、送達カテーテル1472を通って圧縮された弁1402を前進させることができる。図15Bは、送達カテーテル1472から部分的に放出された弁1402と、弁輪を通って、PA等の心室流出管内に延びている遠位固定要素1432と、を示す。図15Cは、送達カテーテル1472から放出され、自己弁の弁輪に着座した拡張された弁1402を示し、一方、弁1402の近位固定要素1434は、第1の、圧縮された、及び/または解放前の状態にある。図15Dは、弁輪に着座した弁1402と、第2の、非圧縮された、及び/または解放後の状態にある近位固定要素1434と、を示す。例えば、近位固定要素1434は、ヒンジ解除され、展開され、非圧縮され、及び/または別様に第2の構成に再構成され得る。
図16A~図16Eは、一実施形態による、弁1502を送達するプロセスを示す、側方送達経カテーテル人工心臓弁1502の中隔側面図を示す。図16Aは、IVC、自己弁輪を通って、及びPA等の心室流出管内に前進するガイドワイヤ1585を示す。図16Bは、ガイドワイヤ1585の上をかつIVCを通って前進している送達カテーテル1572を示す。加えて、弁1502の遠位固定要素1532は、ガイドワイヤ1585を受容することができ、及び/またはガイドワイヤ1585がその一部分を通して延びることを可能にし得る。プッシャ1580を使用して、遠位固定要素1532を押し付けて、ガイドワイヤ1585に沿ってかつ送達カテーテル1572を通って遠位固定要素1532を前進させることができる。図16Cは、送達カテーテル1372から放出され、部分的に拡張された弁1302を示す。遠位固定要素1332は、弁輪を通ってかつPA内に延びる。図16Dは、少なくとも部分的に拡張された弁1502が、血液が弁1502の周りの自己弁輪を通って、ならびに弁1502の流れ制御構成要素(図示せず)を通って流れることを可能にするために、自己弁輪に対してある角度に一時的に保持されていることを示す。図16Eは、弁輪に着座した弁1502を示す。近位固定要素1534は、弁1502が弁輪に着座するときに、第1の、圧縮された、及び/または解放前の状態にあり得、弁1502が着座した後に、第2の、非圧縮された、及び/または解放後の状態に移行させることが可能であり得る。
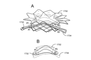
図17A~図17Eは、一実施形態による、弁1602を自己僧帽弁の弁輪に送達するプロセスを示す、側方送達経カテーテル人工心臓弁1602の側面図を示す。図17Aは、送達カテーテル1672がその中に配設された圧縮弁1602有することを示す。弁1602の遠位固定要素1632は、例えば、大腿静脈及びIVCを通って、右心房から左心房まで経中隔的に、僧帽弁の弁輪を通って、及び左心室の中に、延びることができるガイドワイヤ1685にねじ込まれ、及び/またはそれ以外の方法で配設される。プッシャ1680または他の弁前進ツールを使用して、圧縮された弁1602を、送達カテーテル1672を通って前進させることができる。図17Bは、大腿骨/IVCアクセスから左心房の中に経中隔的に延びている送達カテーテル1672と、遠位固定要素1632が弁輪を通って弁輪下僧帽弁前交連領域の中またはその付近に延びるように、送達カテーテル1672から弁1602を放出しているプッシャ1680と、を示す。図17Cは、拡張構成にあり、僧帽弁の弁輪に着座した弁1602を示す。近位固定要素1634は、近位固定要素1634が弁輪下交連固定領域に係合することを可能にする解放状態にある。図17Dは、自己僧帽弁輪に対して位置決めされた弁1602の上面図を示し、遠位固定要素132及び近位固定要素134がA1~P1及びA3~P3交連固定領域における固定をどのように提供するかを示す。図17Eは、実線で示される自己僧帽弁輪及び破線で示されるそれに着座した弁1602の上面図である。
図18A及び図18Bは、一実施形態による、自己僧帽弁の弁輪に着座した側方送達経カテーテル人工心臓弁1702の前側面図を示す。図18Aは、遠位固定要素1732及び近位固定要素1734がA1~P1及びA3~P3交連固定領域(破線で示される)における固定をどのように提供するかを示す。図18Bは、実線で示される自己僧帽弁輪及び破線で示されるそれに着座した弁1702の側面図である。
図19A及び図19Bは、実施形態による、経カテーテル人工心臓弁に含まれ、それぞれ第1の構成及び第2の構成で示される近位固定要素1834の例示である。近位固定要素1834は、例えば、近位固定要素1834の少なくとも端部分が近位固定要素1834の残りの部分に対して回転することを可能にする機械的ヒンジまたは類似の機構を含み得る。図示されていないが、いくつかの実装形態において、近位固定要素1834の端部分は、引張部材等が係合して、近位固定要素1834を第1の構成で保持してから、弁を弁輪に着座させることができる。
図20A及び図20Bは、実施形態による、経カテーテル人工心臓弁に含まれ、第1の構成及び第2の構成で示される近位固定要素1934の例示である。近位固定要素1934は、例えば、ニチノール等の形状記憶材料または超弾性材料から形成される折り畳み及び/または解放領域または機構を含み得る。近位固定要素1934は、第1の構成にあるときに折り畳まれた状態にあり、第2の構成にあるときに展開または拡張された状態にあり得る。図示されていないが、いくつかの実装形態において、近位固定要素1934の端部分は、引張部材等が係合して、近位固定要素1934を第1の構成で保持してから、弁を弁輪に着座させることができる。
図21A及び図21Bは、一実施形態による、自己三尖弁の弁輪内に収容された側方送達経カテーテル人工心臓弁2002の上面図を示す。図21Aは、遠位固定要素2032及び近位固定要素2034が、それぞれRVOT及び近位固定領域(IVCに隣接)において固定をどのように提供するかを示す。図21Bは、実線に示される自己弁輪の、破線で示されるそれに着座する弁1702を伴った、上面図である。
図24は、一実施形態による、側方送達経カテーテル人工心臓弁2102の側面斜視図の例示である。弁2102は、任意の好適な数の弁輪下固定要素を有するワイヤまたはレーザ切断フレームを含み得る。例えば、この実施形態では、弁2102は、遠位固定要素2132、近位固定要素2134、及び内側固定要素2137等の3つの弁輪下固定要素を含む。
本明細書に記載される弁のいずれも、弁が自己弁の弁輪に挿入されたまたは着座した後に、第1の状態または構成から第2の状態または構成に移行することができる近位固定要素を含むことができる。例えば、近位固定要素は、圧縮、非展開、拘束、及び/または解放前状態(例えば、第1の構成)と、拡張、伸長、展開、非拘束、及び/または解放後状態との間を移行されるように構成され得る。第1の構成にあるとき、近位固定要素は、弁の本体または経弁輪部分と接触し、隣接し、及び/または別様にその付近にあり得る。第2の構成にあるとき、近位固定要素(またはその少なくとも端部分)は、弁の本体または経弁輪部分から離れて延び得る。すなわち、第2の構成における近位固定要素の少なくとも端部分は、第1の構成における近位固定要素の端部と比較して、弁の本体または経環状部分からより遠くあり得る。そのような構成は、近位固定要素が第2の構成にあるときよりも、近位固定要素が第1の構成にあるときに、より小さい弁の本体または経弁輪部分の少なくとも一部分のサイズ、外周、及び/または周囲長が得られ得、それによって、次いで、弁の本体または経弁輪部分(もしくはその一部分)が弁輪を通って挿入されることが可能になり得る。弁が着座し、近位固定要素がその第2の構成に移行すると、本体または経弁輪部分のより大きなサイズ、外周、及び/または周囲長は、弁を弁輪に固定(secure)及び/または固定(anchor)するように作用することができる。
いくつかの実施形態において、弁は、近位固定要素をその第1の構成で少なくとも一時的に保持するように構成される特徴、部材、機構等を含み得る。例えば、弁は、近位固定要素に選択的に係合して、近位固定要素を第1の構成で一時的に維持することができる引張部材を含み得る。いくつかの実装形態において、引張部材は、近位固定要素の一部分に取り外し可能に結合され得、近位固定要素を第1の構成に維持する際に動作可能な力(例えば、引張力または圧縮力)を加えることができる。引張部材は、引張部材が近位固定要素から係脱することを可能にするように再構成可能であり得、これは、次いで、特定の実施形態を参照して本明細書にさらに詳細に記載されるように、近位固定要素がその第1の構成から第2の構成に移行することを可能にし得る。
引張部材を経カテーテル人工弁の近位固定要素に取り外し可能に結合させる、ある特定の態様、実施形態、及び/または方法の考察を以下に提供する。特定の実施形態に関して以下に記載される近位固定要素(またはその態様もしくは部分)は、本明細書に記載される近位固定要素のうちのいずれかと少なくとも形態及び/または機能において実質的に同様であり得る。同様に、以下に記載される引張部材(またはその態様もしくは部分)は、本明細書に記載される引張部材のうちのいずれとも少なくとも形態及び/または機能において同様であり得る。したがって、ある特定の実施形態の特定の態様及び/または一部分については、本明細書にさらに詳細に記載されない場合がある。
図23A及び図23Bは、一実施形態による、側方送達経カテーテル人工心臓弁2202及び引張部材2235の側面斜視図を示す。弁2202は、遠位固定要素2232及び近位固定要素2234(例えば、ワイヤループ固定要素及び/または任意の他の好適な種類の固定要素)を有するフレーム2210を有する。引張部材2235は、近位固定要素2234に少なくとも一時的に結合されるように構成された任意の好適なカプラ、取り付けデバイス等であり得る、及び/またはこれらを含み得る。いくつかの実施形態において、引張部材2235は、弁が送達カテーテルを通って前進するにつれて送達カテーテルを通って前進され得るテザーであり得る。いくつかの実施形態において、引張部材2235は、弁を、送達カテーテルを通して前進させるために使用され得るプッシャであり得る、及び/またはこれを含み得る。
図23Aは、近位固定要素2234に結合された引張部材2235を示す。図示されていないが、近位固定要素2234及び/または引張部材2235は、引張部材2235が近位固定要素2234に一時的に結合されることを可能にする1つ以上の機構を含み得る。引張部材2235は、弁2202内に少なくとも部分的に配設される。引張部材2235の端部分は、弁2202の部分(例えば、フレーム2210の部分)によって画定される中間点2221を通じて延びることが示される。中間点2221は、例えば、開口(opening)、開口(aperture)、スロット、カット、自己修復ポート等であり得る。そのような配置は、引張部材2235の端部分がU字形ベンドを実質的に形成することがもたらされ得、引張部材2235の遠位端面は近位方向に方向付けられる、及び/または近位方向に面する。したがって、引張部材2235に沿って引張力を加えることは、近位固定要素2234を弁2202の本体または経弁輪部分に向けて引っ張るように作用し得る。換言すれば、ユーザは、引張部材2235の近位端部分(例えば、本体の外側に配設された端)を引っ張って、引張部材2235を、近位固定要素2234を弁2202の本体(すなわち、その第1の構成)に向けて引っ張る引張状態に置かれ得る。
図23Bは、近位固定要素2234から分離され、中間点2201及び弁2202を通って引き抜かれる引張部材2235を示す。図示されていないが、引張部材2235、近位固定要素2234、及び/または送達システムの任意の好適な部材もしくは要素は、引張部材2235から近位固定要素2234を解放することができる解放機構を含み得る。結合解除されると、引張部材2235は、弁2202から引っ込められ得る。結合解除により、近位固定要素2234がその第1の構成からその第2の構成に移行することが可能になる。いくつかの実装形態において、引張部材2235は、弁2202が自己弁の弁輪に配置されるときに近位固定要素2234に結合されたままであり得、弁2202が配置されたまたは着座した後に解放または結合解除され得る。上述のように、近位固定要素2234は、例えば、自己弁の後側リーフレット及び前側リーフレットを架橋する中隔後側及び/または中隔前側交連等の弁輪下組織に係合するように構成されている。
図24は、一実施形態による、経カテーテル人工心臓弁に含まれる近位固定要素2334の一部分及び引張部材2335の側面斜視図の例示である。近位固定要素2334は、引張部材2335が取り外し可能に結合される取り付け点2336(例えば、アイレット、穴、ループ、フック、開口等)を含む。引張部材2335は、例えば、連続テザー、ケーブル、縫合糸、ワイヤ等として示される。引張部材2335の一部分は、送達システム、弁の一部分(例えば、その中間点)に通され、近位固定要素2334の取り付け点2336の周囲にまたはそれを通ってループし、送達システムに通し戻される。引張部材2335の両端を引っ張ることにより、引張部材2335は引張状態にされ、それにより、次に、近位固定要素2334がその第1の構成に維持される。弁が展開された後、引張部材2335の一端を引っ張って、引張部材2335を近位固定要素2334の取り付け点2336から除去する。
図25は、実施形態による、経カテーテル人工心臓弁に含まれる近位固定要素2434の一部分及び引張部材2435の側面斜視図の例示である。近位固定要素2434は、引張部材2435が取り外し可能に結合される取り付け点2436(例えば、ねじ山付きアイレット、開口部、またはカプラ)を含む。引張部材2435は、例えば、ねじ山付き遠位端部分を有する連続ケーブルとして示される。引張部材2435は、送達システム及び弁の一部分(例えば、その中間点)を通って延び得、近位固定要素2434の取り付け点2436とねじカップリングを形成することができる。引張部材2435の端を引っ張ることにより、引張部材2435が引張状態にされ、それにより、次に、近位固定要素2434がその第1の構成に維持される。弁が展開された後、引張部材2435を、ねじり上げて、取り付け点2436からねじ山付き遠位端部分を外し、送達システムから取り外す。
図26は、一実施形態による、経カテーテル人工心臓弁に含まれる近位固定要素2534の一部分及び引張部材2535の側面斜視図の例示である。近位固定要素2534は、引張部材2535のリード2537が結合されるアイレットまたはループ等の取り付け点2536を含む。リード2537は、展開後に弁に結合されたままであるように構成され得る。いくつかの実装形態において、リード2537の第1の端は、取り付け点2536に結合し得、第1の端の反対側のリード2537の第2の端は、弁の一部分(例えば、中間点及び任意の他の好適な部分)を通って延び得る。そのような配置は、例えば、近位固定要素2334の取り付け点2536よりもアクセスしやすい弁のカラーの外側及び/またはその上に配設されるリード2537の第2の端をもたらし得る。
引張部材2535は、例えば、送達システムに通すことができ、リード2537の第2の端の周りをまたはそれを通ってループし、送達システムに通し戻され得る連続テザー、ケーブル、縫合糸、ワイヤ等として示される。引張部材2535の両端を引っ張ることにより、引張部材2535が引張状態にされ、それにより、次に、リード2537が引っ張り状態にされる。したがって、リード2537は、近位固定要素2534をその第1の構成に維持する。弁が展開された後、引張部材2535の1つの端が引っ張られて、引張部材2535がリード2536の第2の端から取り外される。引張部材2535は送達システムから取り外されが、リード2537は近位固定要素2534に結合されたままである。
図27は、一実施形態による、経カテーテル人工心臓弁に含まれる近位固定要素2634の一部分及び引張部材2635の側面斜視図の例示である。近位固定要素2634は、引張部材2635のリード2637が結合される取り付け点2636を含む。リード2637の第1の端は、取り付け点2636に結合することができ、第1の端部の反対側のリード2637の第2の端は、弁の一部分(例えば、中間点及び任意の他の好適な部分)を通って延び得る。引張部材2635は、例えば、リード2637の第2の端と取り外し可能なねじカップリングを形成することができるねじ山付き遠位端部を有する連続ケーブルとして示される。引張部材2635の端を引っ張ることにより、引張部材2635が引張状態にされ、それより、次に、リード2637が引張状態にされる。したがって、リード2637は、近位固定要素2634をその第1の構成に維持する。弁が展開された後、引張部材2635を、ねじり上げて、リード2637の第2の端からねじ山付き遠位端部を外し、送達システムから取り外すが、リード2637は近位固定要素2634に結合されたままである。
図28A及び図28Bは、一実施形態による、経カテーテル人工心臓弁に含まれる近位固定要素2734の一部分及び引張部材2735の側面斜視図を示す。近位固定要素2734は、引張部材2735の端部分2738が取り外し可能に結合される取り付け点2736を含む。引張部材2735は、例えば、遠位端に含まれる及び/または形成される結合機構2739(例えば、ボール、ノブ、突起等)を有する連続テザー、ケーブル、縫合糸、ワイヤ等として示される。引張部材2735は、引張部材2735(例えば、結合機構2739)の端を取り外し可能に受容するように構成された受容部材2740(例えば、カップ等)を含む。例えば、結合機構2739は、外側スリーブ部材と同軸であり得る受容部材2740の凹部機構に配設またはスナップされ得る。外側スリーブ部材は、結合機構2739を覆い、スリーブ部材によって覆われながら、受容部材2740の凹部機構内の結合機構279を維持する摩擦嵌合を形成するために(例えば、遠位方向に)摺動することができる。
図28Aは、弁の一部分(例えば、その中間点)に通され、近位固定要素2734の取り付け点2736の周囲またはそれを通ってループ形成され、弁の一部分を通し戻され(例えば、中間点を通って戻る)、引張部材2735の端にある結合機構2739が受容部材2740に結合することを可能にする引張部材2735の端部分2738を示す。引張部材2735の近位端を引っ張ると、引張部材2735が引張状態にされ、それより、次に、近位固定要素2734がその第1の構成に維持される。図28Bは、引張部材2735の端の結合機構2739が受容部材2740から取り外されることを可能にする位置にあるスリーブ部材を示す。弁が展開され、結合機構2739が受容部材2740から解放された後、引張部材2735が引っ張られて、引張部材2735が近位固定要素2734の取り付け点2736及び送達システムから取り外される。
図29A~図29Dは、一実施形態による、経カテーテル人工心臓弁に含まれる一部分の近位固定要素2834及び引張部材2835の1つ以上の部分の側面斜視図を示す。近位固定要素2834は、引張部材2835のリード2841が結合される取り付け点2836を含む。リード2841の各端は、結合機構2842(例えば、ボール等)を含み、引張部材2835の受容部材2843に少なくとも一時的に結合するように構成されている。
図29Aは、弁の一部分(例えば、その中間点)に通され、近位固定要素2834の取り付け点2836の周囲またはそれを通ってループ形成され、かつリード2814の各端が弁の外側にあるように弁の一部分に通し戻される(例えば、中間点を通って戻される)リード2841を示す。図29B及び図29Cは、引張部材2835の受容部材2843に結合されるリード2841の各端に配設される結合機構2842を示す。例えば、受容部材2843は、2つの凹部機構及び2つのスリーブ部材を画定することができる。各結合機構2842は、対応する凹部機構に配設され得、各スリーブ部材は、各結合機構2842を覆うように移行され得、それによって、リード2841を引張部材2835に結合する。引張部材2835の端を引っ張ることにより、引張部材2835が引張状態にされ、それより、次に、リード2841は引張状態にされる。したがって、リード2841は、近位固定要素2834をその第1の構成に維持する。
図29Dは、対応する結合機構2842が受容部材2843の対応する凹部機構から取り外されることを可能にする位置に移行された受容部材2843のスリーブ部材(例えば、近位スリーブ部材)の1つを示す。弁が展開され、結合機構2842が受容部材2843から解放された後、引張部材2835は引っ張られて、引張部材2835が取り外される。さらに、結合機構2842のうちの1つは、リード2841が近位固定要素2834の取り付け点2836から取り外されるように受容部材2843に連結されたままであり得、引張部材2835及びリード2841が送達システムから取り外されることを可能にする。
図30は、一実施形態による、経カテーテル人工心臓弁に含まれる近位固定要素2934の一部分及び引張部材2935の側面斜視図の例示である。近位固定要素2934は、引張部材2935のリード2941が結合される取り付け点2936を含む。リード2941の各端は、結合機構2942(例えば、ループ等)を含み、引張部材2835に少なくとも一時的に結合するように構成されている。リード2941の端は、弁の一部分(例えば、その中間点)に通され、近位固定要素2934の取り付け点2936の周囲またはそれを通ってループ形成され、弁の一部分に通し戻される(例えば、中間点を通って戻される)ため、リード2941の各端における結合機構2944は弁の外側にある。
引張部材2935は、例えば、リード2941の各端の結合機構2944を通すことができ、それによって引張部材2935をリード2941に結合することができる連続縫合糸等として示される。引張部材2935の両端を引っ張ることにより、引張部材2935が引張状態にされ、それにより、次に、リード2941が引っ張り状態にされる。したがって、リード2941は、近位固定要素2934をその第1の構成に維持する。弁が展開された後、引張部材2935の一部分を切断することができ、少なくとも引張部材2935が送達システムから取り外されることを可能にする。いくつかの実装形態において、引張部材2935の切断は、引張部材2935を切断すること、及び/または別様に分断点2946で引張部材2935の一部分を分解することを含み得る。例えば、分断点2946は、引張部材2935の壊れやすい部分、磁気カプラ、ねじ山付きカプラ、ボール及びカップカプラ、及び/または他の好適なカプラを含み得、及び/または形成し得る。さらに、引張部材2935の切断は、リード2941の一端部分が引張部材2935に結合されたままであることをもたらし得、これは、引張部材2935内でリード2941を取り外すことを可能にし得る。
図31A~図31Cは、一実施形態による、送達された経カテーテル人工心臓弁3002及び引張部材3035の側面斜視図を示す。弁3002は、カラー3020、遠位固定要素3032、及び近位固定要素3034(例えば、ワイヤループ固定要素及び/または任意の他の好適な種類の固定要素)を有するフレーム3010を有する。フレーム3010は中間点3021を画定する。カラー3020は、カプラ3022を含み、及び/または形成する。中間点3021がフレーム3010の本体に沿って示されるが、他の実施形態においては、カラー3020及び/または弁3002の任意の他の好適な部分は中間点3021を形成及び/または画定することができる。同様に、カプラ3022がカラー3020に沿って示されるが、他の実施形態では、フレーム3010の本体及び/または弁3020の任意の他の好適な部分は、カプラ3022を含むことができる。
引張部材3035は、近位固定要素3034の取り付け点3036に結合される、及び/または通されるように構成されたリード3041を含む。リード3041は、第1の結合機構3044を有する、及び/または形成する第1の端、ならびに第2の結合機構3044を有する、及び/または形成する第2の端を含む。結合機構は、任意の好適な構成であり得る。例えば、この実施形態において、第1の結合機構3044は、ループ、アイレット、開口等であり、及び/または形成し、第2の結合機構3042は、ボール、突起、ノブ、結び目等であり、及び/または形成する。引張部材3035は、任意の好適なケーブル、テザー、ワイヤ、カテーテル、導管等であり得る、及び/またはそれらを含み得る。いくつかの実装形態では、引張部材3035は、例えば、送達システムを通して弁3002を押す及び/または別様に前進させるように構成されたプッシャ等として使用され得る。
この実施形態では、引張部材3035は、カラー(例えば、ねじ山付きナット等)によって形成されたカプラ3022に係合及び/または結合するように構成されたねじ山付きカプラを形成する端部分を有する第1のケーブル3047を含む。引張部材3035は、リード3041の第2の端を受容及び/または取り外し可能に結合するように構成された受容部材を形成する端部分を有する第2のケーブル3048を含む。例えば、第2のケーブル3048の受容部材及びリード3041の第2の端によって形成された結合機構3042は、引張部材2735及び2835を参照して上述したように、ボール及びカップ結合機構であり得る。さらに、引張部材3035は、第1のケーブル3047及び第2のケーブル3048を少なくとも部分的に収容するように構成された外側シースまたはカテーテルを含み得る、及び/または形成し得る。
図31Aは、弁3002及び/またはリード3041に結合する前の引張部材3035を示す。リード3041は、第1の端3044及び第2の端3042が各々弁3002の外側に、及び/またはカラー3020の上にもしくはそれに近接してあるように、弁3002及び中間点3021の一部分に通され、近位固定要素3034の取り付け点3036の周囲またはそれを通ってループ形成され、中間点3021及び弁3002の一部分に通し戻されるように示される。
図31Bは、例えば、ねじカップリングを介して、カラー3020のカプラ3022に結合した引張部材3035の第1のケーブル3047の端部分を示す。リード3041の第1の結合機構3044は、第1のケーブル3047に結合されている(例えば、第1の結合機構3044は、第1のケーブル3047上またはその周りに配設されているループであり得る)。いくつかの実装形態において、引張部材3035は、カラー3020によって形成されるカプラ3022に結合される第1のケーブル3047によって近位プッシャとして使用され得る。例えば、第1のケーブル3047の実質的に固定された部分は、第1のケーブル3047を介して引張部材3035に加えられる遠位または押し力が弁3002を押すように、引張部材3035(例えば、外側シース)から延びることができる。第1の結合機構3044が第1のケーブル3047に結合されると、リード3041の第1の端は、弁3002に対して比較的固定された位置に維持される。引張部材3035の第2のケーブル3048は、リード3041の第2の結合機構3042に結合される(例えば、ボール及びカップ結合機構等を介して)ように示されている。したがって、引張部材3035及び/または第1のケーブル3047を使用して、弁3002を押すことができるが、引張力(tensile force)または引張り力(pulling force)が第2のケーブル3048に加えられ得、これによりリード3041の第2の端を近位方向に引っ張り、それによってリードを引張状態に置くことができる。したがって、リード3041は、展開中に近位固定要素3034をその第1の構成に維持することができる。
図31Cは、カラー3020のカプラ3022から分離された第1のケーブル3047及びリード3041の第1の端における第1の結合機構3044を示す。リード3041の第2の端における第2の結合機構3042は、第2のケーブル3048に結合したままであり得る。弁が展開された後、引張部材3035は、引張部材3035及びリード3041を弁3002及び送達システムから取り外すために引っ張られる。引張部材3035が取り外されると、近位固定要素3034をその第2の構成に移行させることが可能になる。
図32は、一実施形態による、経カテーテル人工弁を送達する方法を示すフローチャートである。いくつかの場合において、送達のための方法は、(i)大腿静脈または腕頭静脈、下大静脈(IVC)または上大静脈(SVC)を通って、肺動脈または左心室内にガイドワイヤを前進させることと、(ii)送達カテーテルをガイドワイヤの上を、自己三尖弁に近接する右心房または自己僧帽弁に近接する左心房に前進させることと、(iii)直交的に圧縮された人工心臓弁を右心房または左心房に前進させ、送達することであって、送達が、送達カテーテルから弁を部分的に解放し、弁の遠位固定要素を肺動脈(例えば、右心室流出管(RVOT))または僧帽弁の前外側交連の下の弁輪下領域内に位置決めし、弁を自己弁の局所的な水平弁輪面に対して約30度以上の上昇角で保持して、人工弁の周囲の及びそれを通る血流を可能にし、自己リーフレットを通る流れから人工弁を通る完全な流れへの漸進的な血流移行を可能にする、送達することと、(iv)送達カテーテルから弁を完全に解放し、心室の方向(例えば、人工弁の近位側)に下向き力を加えることによって、自己弁輪内に弁を着座させることと、(v)少なくとも1つの近位固定要素を、近位固定要素が弁輪下近位固定領域に係合する第2の構成に移行させることと、のステップを含み得る。
図33は、一実施形態による、経カテーテル人工弁を送達する方法10を示すフローチャートである。方法10は、11において、圧縮構成にある人工弁を管腔内に配設した送達カテーテルの遠位部分を、心臓の自己弁の弁輪に隣接して配設することを含む。人工弁は、本明細書に開示される弁のいずれであり得る。例えば、弁は、(i)少なくとも遠位固定要素及び近位固定要素を有するフレームと、(ii)弁の流入端を通る単一方向の血流を可能にし、弁の流出端を通る反対方向の血流を遮断するように構成されたフレーム内に装着された流れ制御構成要素と、を有する弁であり得る。弁は、従来の送達プロセスまたは直交送達プロセスにより送達され得る。例えば、弁は、本明細書及び/または‘957PCTに詳細に記載されるプロセス及び/または方法のいずれかにより送達され得る。
弁は、12において、弁が圧縮構成から拡張構成に移行するように、送達カテーテルの管腔から解放される。特定の実施形態に関して上で詳細に記載されるように、送達カテーテルから弁を解放することにより、人工弁が送達カテーテル内の圧縮構成から送達カテーテルの外側の、かつ自己弁の弁輪内への展開に好適である拡張構成に拡張されることを可能になる。
遠位固定要素の一部分は、13において、自己弁の弁輪の心室側に配置される。いくつかの実装形態において、遠位固定要素は、弁の残りが弁輪の心房側に残っている間に、弁輪の心室側に配置することができる遠位下部固定要素であってもよい。いくつかの実装形態において、遠位固定要素は、心室流出管内に配置され得る。例えば、自己弁が自己三尖弁である場合、遠位固定要素を、右心室流出管(例えば、肺動脈)内に配置することができる。いくつかの例において、弁の残りが心臓の心房側内の弁輪上の位置に維持されている間に、遠位固定要素は弁の遠位端部分を弁輪組織に少なくとも部分的に固定するために弁輪下組織と係合することができる。
いくつかの実装形態において、方法10は、任意選択で、人工弁を自己弁の弁輪に対してある角度で保持することを含み得る。この角度は、例えば、弁輪に対して斜めの角度であってもよい。いくつかの例において、弁を弁輪に対してある角度で保持することにより、血液が心房から心室に部分的に自己弁輪を通って及び人工弁の周囲を、ならびに部分的に人工弁を通って流れることが可能になり得、これによって、人工弁機能の評価が可能になり得る。
人工弁は、14において、近位固定要素が第1の構成にある間、自己弁の弁輪に着座する。近位固定要素は、第1の構成及び第2の構成を有し得る。特定の実施形態を参照して上で詳細に記載されるように、近位固定要素は、第1の構成にあるとき(例えば、引張部材等により)、圧縮、拘束、係留、及び/または別用に解放前状態に維持され得る。近位固定要素が第1の構成にあるとき、弁の下部分(例えば、弁輪下部分)は、弁が自己弁の弁輪を通って延びることを可能にするサイズを有し得る。
人工弁を弁輪に着座させた後、近位固定要素は、15において、その第1の構成からその第2の構成に移行される。特定の実施形態を参照して上で詳細に記載されるように、近位固定要素は、弁の本体または経弁輪部分から離れて延びることができる。近位固定要素は、人工弁の近位側を近位弁輪組織に少なくとも部分的に固定することができる弁輪の近位側上の弁輪下組織と係合することができる。いくつかの実装形態において、弁、ならびに遠位及び近位固定要素の心房カラー等は、人工弁を自己弁の弁輪に固定することができる弁輪組織に対して反対の力を加えることができる。いくつかの実装形態において、弁は、‘957PCTに記載されるように、追加の固定を提供することができる1つ以上の追加の固定具等を含み得る。
当業者に明白であろうように、その精神及び範囲から逸脱することなく、多くの修正及び変形を行うことができる。本明細書において列挙される方法及び装置に加えて、本開示の範囲内の機能的に同等の方法及び装置は当業者には明白であろう。このような修正及び変形は、添付の特許請求の範囲内にあることが意図されている。本開示は、添付の特許請求の範囲の条件、及びそのような特許請求の範囲が権利を与えられる同等物の全範囲によってのみ制限されるべきである。本開示は、特定の方法、試薬、化合物、組成物、または生物学的システムに限定されるものではなく、当然ながら変わり得ることを理解されたい。本明細書で使用される用語は、特定の実施形態を記載することのみを目的とし、限定することを意図するものではないことも理解されるべきである。
様々な実施形態が上で説明されているが、それらは例としてのみ、限定されずに提示されていることが理解されるべきである。上記の方法がある特定の順序で発生するある特定のイベントを示す場合、ある特定のイベントの順序は変更され得る。追加的に、ある特定のイベントは、可能であれば並列処理で同時に実行されてもよく、ならびに上記のように順次実行されてもよい。
上述の概略図及び/または実施形態が、ある特定の向きまたは位置に配置されたある特定の構成要素を示す場合、構成要素の配置は変更され得る。実施形態は具体的に示され、説明されているが、形態及び詳細の様々な変更が行われ得ることを理解されたい。本明細書に記載の装置及び/または方法のいかなる部分も、互いに排他的な組み合わせを除いて、任意の組み合わせで組み合わされてもよい。本明細書に記載される実施形態は、記載される異なる実施形態の機能、構成要素、及び/または特徴の様々な組み合わせ及び/またはサブ組み合わせを含むことができる。

Claims (27)

  1. 人工心臓弁であって、
    中心軸を有し、前記中心軸に沿って延びる開口を画定する弁フレームであって、遠位固定要素及び近位固定要素を含む、前記弁フレームと、
    前記開口内に装着され、流れ制御構成要素の流入端から流出端まで前記中心軸にほぼ平行な第1の方向の血流を可能にし、前記第1の方向とは反対の第2の方向の血流を遮断するように構成された前記流れ制御構成要素と、を含み、
    前記弁フレームが、前記人工心臓弁が送達カテーテルを介して患者の心臓に送達されることを可能にする圧縮構成を有し、前記弁フレームが、前記人工心臓弁が前記送達カテーテルから解放されるときに前記圧縮構成から拡張構成に移行するように構成され、
    前記弁フレームは、前記拡張構成にあるとき、前記中心軸に沿った第1の高さと、前記中心軸に垂直な横方向軸に沿った第1の横方向幅と、前記中心軸及び前記横方向軸に垂直な長手方向軸に沿った長手方向長さと、を有し、前記圧縮構成にあるとき、前記弁フレームが、前記第1の高さ未満の前記中心軸に沿った第2の高さと、前記第1の横方向幅未満の前記横方向軸に沿った第2の横方向幅と、を有し、
    前記人工心臓弁が、前記拡張構成のときに前記心臓の自己弁の弁輪に着座するように構成され、前記遠位固定要素及び前記近位固定要素が、前記人工心臓弁が前記弁輪に着座する前に前記自己弁の前記弁輪を通って挿入されるように構成され、前記近位固定要素が、前記人工心臓弁が前記自己弁の前記弁輪に着座した後に第1の構成から第2の構成に移行するように構成されている、前記人工心臓弁。
  2. 前記圧縮構成にある前記弁フレームの前記長手方向軸に沿った長さは、前記拡張構成にある前記弁フレームの前記長手方向長さ以上である、請求項1に記載の人工心臓弁。
  3. 前記人工心臓弁を前記自己弁の前記弁輪に着座させることが、前記人工心臓弁が前記自己弁の前記弁輪に着座する前に前記遠位固定要素を心室流出管内に位置決めすることを含む、請求項1または2に記載の人工心臓弁。
  4. 前記遠位固定要素が、ワイヤループ、ワイヤフレーム、一体型フレーム部分、またはステントのうちの少なくとも1つである、請求項1から3のいずれか1項に記載の人工心臓弁。
  5. 前記近位固定要素が、ワイヤループ、ワイヤフレーム、一体型フレーム部分、またはステントのうちの少なくとも1つである、請求項1から4のいずれか1項に記載の人工心臓弁。
  6. 前記近位固定要素が、前記第1の構成にあるとき、前記中心軸に対して第1の位置に配置され、前記第2の構成にあるとき、前記中心軸に対して第2の位置にあり、前記第2の位置は前記第1の位置よりも前記中心軸から離れている、請求項1から5のいずれか1項に記載の人工心臓弁。
  7. 前記遠位固定要素が、ガイドワイヤに一時的に結合されるように構成されている、請求項1から6のいずれか1項に記載の人工心臓弁。
  8. 前記弁フレームは、引張部材と少なくとも一時的に結合されるように構成され、前記引張部材は、前記引張部材が前記近位固定要素と係合されて前記近位固定要素を第1の構成に維持する前記第1の構成と、前記引張部材が前記近位固定要素から係脱されて前記近位固定要素が第2の構成に移行することを可能にする前記第2の構成と、を有する、請求項1から7のいずれか1項に記載の人工心臓弁。
  9. 前記弁フレームが、前記引張部材の少なくとも一部分を受容する中間点を画定する、請求項8に記載の人工心臓弁。
  10. 前記近位固定要素が、前記引張部材に取り外し可能に結合し得る、請求項8または9に記載の人工心臓弁。
  11. 前記引張部材が、縫合糸、ケーブル、ワイヤのうちの1つである、請求項8から10のいずれか1項に記載の人工心臓弁。
  12. 前記近位固定要素が、前記引張部材のコネクタと動作可能に結合するように構成されている、請求項8から11のいずれか1項に記載の人工心臓弁。
  13. 前記コネクタが、前記引張部材が前記近位固定要素内で係合されるときに第1の構成にあり、前記コネクタが、前記引張部材の少なくとも部分が前記近位固定要素から係脱されることを可能にする第2の構成に移行するように構成されている、請求項12に記載の人工心臓弁。
  14. 前記コネクタが、ねじ山付きコネクタまたはボール及びカップコネクタのうちの少なくとも1つである、請求項12または13に記載の人工心臓弁。
  15. 人工心臓弁であって、
    経弁輪部分及び前記経弁輪部分の上端の周囲に取り付けられた心房カラーを有する弁フレームであって、前記経弁輪部分は中心軸に沿って延びる中央チャネルを画定する、弁フレームと、
    前記弁フレームの前記経弁輪部分に結合された遠位固定要素と、
    前記弁フレームの前記経弁輪部分に結合された近位固定要素と、
    前記弁フレームの前記中央チャネル内に装着され、前記人工心臓弁の流入端を通り、前記中心軸に沿った第1の方向の血流を可能にし、前記第1の方向とは反対の、前記人工心臓弁の流出端を通る第2の方向の血流を遮断するように構成された流れ制御構成要素と、を含み、
    前記人工心臓弁が、送達カテーテルを介して患者の心臓に導入するための圧縮構成と、前記人工心臓弁が前記送達カテーテルから前記心臓の心房内に解放されるときの拡張構成とを有し、
    前記人工心臓弁が、前記拡張構成にあるとき、前記中心軸に沿った第1の高さと、前記中心軸に垂直な横方向軸に沿った第1の横方向幅と、を有し、前記圧縮構成にあるとき、前記人工心臓弁が、前記第1の高さ未満の前記中心軸に沿った第2の高さと、前記第1の横方向幅未満の前記横方向軸に沿った第2の横方向幅と、を有し、
    前記人工心臓弁は、前記拡張構成にあるときに前記人工心臓弁が前記心臓の自己弁の弁輪内に着座するように構成され、前記人工心臓弁が前記自己弁の前記弁輪に着座するときに前記遠位固定要素が心室流出管内に配設されるように構成され、前記人工心臓弁が前記自己弁の前記弁輪に着座しているときに前記近位固定要素が第1の構成にあり、前記人工心臓弁が前記自己弁の前記弁輪に着座した後に前記近位固定要素が第1の構成から第2の構成に移行するように構成されている、前記人工心臓弁。
  16. 前記圧縮構成にある前記人工心臓弁の長手方向長さは、前記拡張構成にある前記人工心臓弁の長手方向長さ以上である、請求項15に記載の人工心臓弁。
  17. 前記自己弁が自己三尖弁であり、前記心室流出管が右心室流出路(RVOT)である、請求項15に記載の人工心臓弁。
  18. 前記近位固定要素が、前記人工心臓弁が前記自己弁の前記弁輪に着座するときに前記第1の構成にある、請求項15から17のいずれか1項に記載の人工心臓弁。
  19. 前記近位固定要素の近位端部分が、前記第1の構成にあるときに前記経弁輪部分に対して第1の位置に配設され、前記第2の構成にあるときに前記経弁輪部分に対して第2の位置に配設され、前記第2の位置が、前記第1の位置よりも前記経弁輪部分から遠い、請求項15から18のいずれか1項に記載の人工心臓弁。
  20. 前記第2の構成にあるときの前記近位固定要素が、前記自己弁の前記弁輪の近位側の弁輪下組織に接触するように構成されている、請求項15から19のいずれか1項に記載の人工心臓弁。
  21. 前記弁フレームは、引張部材と少なくとも一時的に結合されるように構成され、前記引張部材は、前記引張部材が前記近位固定要素と係合されて前記近位固定要素を前記第1の構成に維持する第1の構成と、前記引張部材が前記近位固定要素から係脱されて前記近位固定要素が前記第2の構成に移行することを可能にする第2の構成と、を有する、請求項15から20のいずれか1項に記載の人工心臓弁。
  22. 前記弁フレームが、前記引張部材の少なくとも一部分を受容する中間点を画定する、請求項21に記載の人工心臓弁。
  23. 前記近位固定要素が、前記引張部材に取り外し可能に結合し得る、請求項21または22に記載の人工心臓弁。
  24. 前記引張部材が、縫合糸、ケーブル、ワイヤのうちの1つである、請求項21から23のいずれか1項に記載の人工心臓弁。
  25. 前記近位固定要素が、前記引張部材のコネクタと動作可能に結合するように構成されている、請求項21から24のいずれか1項に記載の人工心臓弁。
  26. 前記コネクタが、前記引張部材が前記近位固定要素内で係合されるときに第1の構成にあり、前記コネクタが、前記引張部材の少なくとも部分が前記近位固定要素から係脱することを可能にする第2の構成に移行するように構成されている、請求項25に記載の人工心臓弁。
  27. 前記コネクタが、ねじ山付きコネクタまたはボール及びカップコネクタのうちの少なくとも1つである、請求項25または26に記載の人工心臓弁。
JP2021535023A 2018-12-20 2019-12-18 側方送達される経カテーテル心臓弁のための近位タブ及び送達方法 Active JP7569321B2 (ja)

Priority Applications (1)

Application Number Priority Date Filing Date Title
JP2024175269A JP2025013826A (ja) 2018-12-20 2024-10-04 側方送達される経カテーテル心臓弁のための近位タブ及び送達方法

Applications Claiming Priority (5)

Application Number Priority Date Filing Date Title
US201862782350P 2018-12-20 2018-12-20
US62/782,350 2018-12-20
US16/455,417 2019-06-27
US16/455,417 US10653522B1 (en) 2018-12-20 2019-06-27 Proximal tab for side-delivered transcatheter heart valve prosthesis
PCT/US2019/067010 WO2020131978A1 (en) 2018-12-20 2019-12-18 Proximal tab for side-delivered for transcatheter heart valves and methods of delivery

Related Child Applications (1)

Application Number Title Priority Date Filing Date
JP2024175269A Division JP2025013826A (ja) 2018-12-20 2024-10-04 側方送達される経カテーテル心臓弁のための近位タブ及び送達方法

Publications (3)

Publication Number Publication Date
JP2022514008A JP2022514008A (ja) 2022-02-09
JPWO2020131978A5 JPWO2020131978A5 (ja) 2022-12-21
JP7569321B2 true JP7569321B2 (ja) 2024-10-17

Family

ID=70736213

Family Applications (2)

Application Number Title Priority Date Filing Date
JP2021535023A Active JP7569321B2 (ja) 2018-12-20 2019-12-18 側方送達される経カテーテル心臓弁のための近位タブ及び送達方法
JP2024175269A Pending JP2025013826A (ja) 2018-12-20 2024-10-04 側方送達される経カテーテル心臓弁のための近位タブ及び送達方法

Family Applications After (1)

Application Number Title Priority Date Filing Date
JP2024175269A Pending JP2025013826A (ja) 2018-12-20 2024-10-04 側方送達される経カテーテル心臓弁のための近位タブ及び送達方法

Country Status (7)

Country Link
US (2) US10653522B1 (ja)
EP (1) EP3897462A4 (ja)
JP (2) JP7569321B2 (ja)
CN (2) CN113382695B (ja)
AU (2) AU2019406832B2 (ja)
CA (1) CA3124128A1 (ja)
WO (1) WO2020131978A1 (ja)

Families Citing this family (32)

* Cited by examiner, † Cited by third party
Publication number Priority date Publication date Assignee Title
WO2019195860A2 (en) 2018-04-04 2019-10-10 Vdyne, Llc Devices and methods for anchoring transcatheter heart valve
US12186187B2 (en) 2018-09-20 2025-01-07 Vdyne, Inc. Transcatheter deliverable prosthetic heart valves and methods of delivery
US11344413B2 (en) 2018-09-20 2022-05-31 Vdyne, Inc. Transcatheter deliverable prosthetic heart valves and methods of delivery
US12310850B2 (en) 2018-09-20 2025-05-27 Vdyne, Inc. Transcatheter deliverable prosthetic heart valves and methods of delivery
US11071627B2 (en) * 2018-10-18 2021-07-27 Vdyne, Inc. Orthogonally delivered transcatheter heart valve frame for valve in valve prosthesis
US11278437B2 (en) 2018-12-08 2022-03-22 Vdyne, Inc. Compression capable annular frames for side delivery of transcatheter heart valve replacement
US10321995B1 (en) 2018-09-20 2019-06-18 Vdyne, Llc Orthogonally delivered transcatheter heart valve replacement
US11109969B2 (en) 2018-10-22 2021-09-07 Vdyne, Inc. Guidewire delivery of transcatheter heart valve
US11253359B2 (en) 2018-12-20 2022-02-22 Vdyne, Inc. Proximal tab for side-delivered transcatheter heart valves and methods of delivery
WO2020146842A1 (en) 2019-01-10 2020-07-16 Vdyne, Llc Anchor hook for side-delivery transcatheter heart valve prosthesis
US11185409B2 (en) 2019-01-26 2021-11-30 Vdyne, Inc. Collapsible inner flow control component for side-delivered transcatheter heart valve prosthesis
US11273032B2 (en) 2019-01-26 2022-03-15 Vdyne, Inc. Collapsible inner flow control component for side-deliverable transcatheter heart valve prosthesis
AU2020231221B2 (en) * 2019-03-05 2025-07-31 Vdyne, Inc. Tricuspid regurgitation control devices for orthogonal transcatheter heart valve prosthesis
US11173027B2 (en) 2019-03-14 2021-11-16 Vdyne, Inc. Side-deliverable transcatheter prosthetic valves and methods for delivering and anchoring the same
US11076956B2 (en) 2019-03-14 2021-08-03 Vdyne, Inc. Proximal, distal, and anterior anchoring tabs for side-delivered transcatheter mitral valve prosthesis
CA3138875A1 (en) 2019-05-04 2020-11-12 Vdyne, Inc. Cinch device and method for deployment of a side-delivered prosthetic heart valve in a native annulus
AU2020334080B2 (en) 2019-08-20 2025-11-27 Vdyne, Inc. Delivery and retrieval devices and methods for side-deliverable transcatheter prosthetic valves
CN120531525A (zh) 2019-08-26 2025-08-26 维迪内股份有限公司 可侧面输送的经导管假体瓣膜及其输送和锚定方法
US11234813B2 (en) * 2020-01-17 2022-02-01 Vdyne, Inc. Ventricular stability elements for side-deliverable prosthetic heart valves and methods of delivery
IL319705B1 (en) * 2020-02-06 2025-11-01 Laplace Interventional Inc A transcatheter heart valve prosthesis is implanted within the heart chambers or blood vessels.
US20210369454A1 (en) * 2020-02-10 2021-12-02 Synedcor LLC System and Method for Percutaneously Delivering a Tricuspid Valve
CN114028030B (zh) * 2021-11-09 2023-02-28 上海臻亿医疗科技有限公司 一种人工心脏瓣膜
CN114028031B (zh) * 2021-11-11 2025-09-02 上海形状记忆合金材料有限公司 辅助导丝跨瓣装置
US11510777B1 (en) 2022-02-10 2022-11-29 Laplace Interventional Inc. Prosthetic heart valves
CA3253180A1 (en) * 2022-02-24 2023-08-31 Vdyne, Inc. TRANSCATHETER LATERAL DISTRIBUTION PROSTHETIC VALVE RETRIEVAL SYSTEMS AND METHODS
US11712336B1 (en) * 2022-07-20 2023-08-01 Laplace Interventional Inc. Prosthetic heart valves
CN120018829A (zh) * 2022-10-14 2025-05-16 维迪内股份有限公司 用于使用瓣环上支撑件递送假体心脏瓣膜的装置和方法
AU2024306911A1 (en) * 2023-06-28 2026-02-05 Vdyne, Inc. Devices and methods for cinching a side-delivered prosthetic heart valve for delivery and deployment in a native annulus
CN116965976A (zh) * 2023-09-11 2023-10-31 上海傲流医疗科技有限公司 一种瓣膜空隙填充修复装置
CN118121829B (zh) * 2024-05-06 2024-07-09 中日友好医院(中日友好临床医学研究所) 一种支气管单向活瓣
US12514705B2 (en) * 2024-05-29 2026-01-06 Vesalius Cardiovascular Inc. Heart valve repair apparatus
US12440336B1 (en) 2025-02-11 2025-10-14 Laplace Interventional Inc. Prosthetic heart valves

Citations (5)

* Cited by examiner, † Cited by third party
Publication number Priority date Publication date Assignee Title
US20140222142A1 (en) 2012-08-13 2014-08-07 Medtronic, Inc. Heart Valve Prosthesis
JP2014528761A (ja) 2011-08-11 2014-10-30 テンダイン ホールディングス, インコーポレイテッド 人工弁についての改良および関連する発明
JP2016533787A (ja) 2013-10-28 2016-11-04 テンダイン ホールディングス,インコーポレイテッド 人工心臓弁及び人工心臓弁を送達するシステム及び方法
US20170325948A1 (en) 2015-05-14 2017-11-16 Dan Wallace Replacement mitral valves
WO2018136726A1 (en) 2017-01-19 2018-07-26 4C Medical Technologies, Inc. Systems, methods and devices for delivery systems, methods and devices for implanting prosthetic heart valves

Family Cites Families (444)

* Cited by examiner, † Cited by third party
Publication number Priority date Publication date Assignee Title
US1002882A (en) 1909-08-18 1911-09-12 Wilfred Bertram Thorpe Electrolytic apparatus.
US5397351A (en) 1991-05-13 1995-03-14 Pavcnik; Dusan Prosthetic valve for percutaneous insertion
US6197013B1 (en) 1996-11-06 2001-03-06 Setagon, Inc. Method and apparatus for drug and gene delivery
US6491619B1 (en) 1997-01-31 2002-12-10 Endologix, Inc Radiation delivery catheters and dosimetry methods
EP1073384B1 (en) 1999-01-22 2008-04-02 Gore Enterprise Holdings, Inc. Low profile stent and graft combination
US7018401B1 (en) 1999-02-01 2006-03-28 Board Of Regents, The University Of Texas System Woven intravascular devices and methods for making the same and apparatus for delivery of the same
US20020058911A1 (en) 1999-05-07 2002-05-16 Paul Gilson Support frame for an embolic protection device
US6582467B1 (en) 2000-10-31 2003-06-24 Vertelink Corporation Expandable fusion cage
US7374571B2 (en) 2001-03-23 2008-05-20 Edwards Lifesciences Corporation Rolled minimally-invasive heart valves and methods of manufacture
US7074189B1 (en) 2002-01-23 2006-07-11 Valentino Montegrande Endoscopically deliverable ultrasound imaging system and method of use
US20030153901A1 (en) 2002-02-08 2003-08-14 Atrium Medical Corporation Drug delivery panel
US20030171801A1 (en) 2002-03-06 2003-09-11 Brian Bates Partially covered intraluminal support device
US7125418B2 (en) 2002-04-16 2006-10-24 The International Heart Institute Of Montana Foundation Sigmoid valve and method for its percutaneous implantation
US11213253B2 (en) 2003-02-21 2022-01-04 3Dt Holdings, Llc Luminal organ sizing devices and methods
US7717952B2 (en) 2003-04-24 2010-05-18 Cook Incorporated Artificial prostheses with preferred geometries
DE602004025814D1 (de) 2003-05-19 2010-04-15 Septrx Inc Gewebeweitungsvorrichtung und verwandte verfahren für die therapeutische intervention
EP1689482A1 (en) 2003-10-28 2006-08-16 Peacock, James C., III Embolic filter device and related systems and methods
US8979922B2 (en) 2004-03-11 2015-03-17 Percutaneous Cardiovascular Solutions Pty Limited Percutaneous heart valve prosthesis
US7449027B2 (en) 2004-03-29 2008-11-11 Cook Incorporated Modifying fluid flow in a body vessel lumen to promote intraluminal flow-sensitive processes
EP2425801A3 (en) 2004-05-05 2013-01-02 Direct Flow Medical, Inc. Unstented heart valve with formed in place support structure
US20080132999A1 (en) 2004-07-09 2008-06-05 Mericle Robert A Tubular Polymer Stent Coverings
US20070032850A1 (en) 2004-12-16 2007-02-08 Carlos Ruiz Separable sheath and method for insertion of a medical device into a bodily vessel using a separable sheath
US7331991B2 (en) 2005-02-25 2008-02-19 California Institute Of Technology Implantable small percutaneous valve and methods of delivery
SE531468C2 (sv) 2005-04-21 2009-04-14 Edwards Lifesciences Ag En anordning för styrning av blodflöde
WO2007016251A2 (en) 2005-07-28 2007-02-08 Cook Incorporated Implantable thromboresistant valve
US20070038295A1 (en) 2005-08-12 2007-02-15 Cook Incorporated Artificial valve prosthesis having a ring frame
US7563277B2 (en) 2005-10-24 2009-07-21 Cook Incorporated Removable covering for implantable frame projections
US9078781B2 (en) 2006-01-11 2015-07-14 Medtronic, Inc. Sterile cover for compressible stents used in percutaneous device delivery systems
US20080275550A1 (en) 2006-02-24 2008-11-06 Arash Kheradvar Implantable small percutaneous valve and methods of delivery
US7648527B2 (en) 2006-03-01 2010-01-19 Cook Incorporated Methods of reducing retrograde flow
US9155641B2 (en) 2006-03-09 2015-10-13 Cook Medical Technologies Llc Expandable stent grafts
US7875284B2 (en) 2006-03-10 2011-01-25 Cook Incorporated Methods of manufacturing and modifying taxane coatings for implantable medical devices
WO2007109171A2 (en) 2006-03-17 2007-09-27 Microcube, Llc Devices and methods for creating continuous lesions
WO2007123658A1 (en) 2006-03-28 2007-11-01 Medtronic, Inc. Prosthetic cardiac valve formed from pericardium material and methods of making same
US8303648B2 (en) 2006-04-25 2012-11-06 Cook Medical Technologies Llc Artificial venous valve containing therapeutic agent
CN101442958B (zh) 2006-04-28 2012-09-05 麦德托尼克公司 心脏瓣膜替换设备
AU2007255072A1 (en) 2006-05-30 2007-12-13 Cook Incorporated Artificial valve prosthesis
US20080004686A1 (en) 2006-06-30 2008-01-03 Cook Incorporated Implantable device with light-transmitting material
US9339367B2 (en) 2006-09-11 2016-05-17 Edwards Lifesciences Ag Embolic deflection device
US20100179584A1 (en) 2006-09-11 2010-07-15 Carpenter Judith T Methods of diverting embolic debris away from the cerebral circulation
US20100179647A1 (en) 2006-09-11 2010-07-15 Carpenter Judith T Methods of reducing embolism to cerebral circulation as a consequence of an index cardiac procedure
US20100179583A1 (en) 2006-09-11 2010-07-15 Carpenter Judith T Methods of deploying and retrieving an embolic diversion device
WO2008060553A1 (en) 2006-11-14 2008-05-22 The Government Of The United States Of America As Represented By The Secretary Of The Department Of Health And Human Services Transcatheter coronary sinus mitral valve annuloplasty procedure and coronary artery and myocardial protection device
US9943409B2 (en) 2006-11-14 2018-04-17 The United States Of America, As Represented By The Secretary, Department Of Health And Human Services Transcatheter coronary sinus mitral valve annuloplasty procedure and coronary artery and myocardial protection device
US11389171B2 (en) 2006-11-21 2022-07-19 David S. Goldsmith Integrated system for the infixion and retrieval of implants
WO2008068756A2 (en) 2006-12-05 2008-06-12 Valtech Cardio, Ltd. Segmented ring placement
US9883943B2 (en) 2006-12-05 2018-02-06 Valtech Cardio, Ltd. Implantation of repair devices in the heart
US20100168844A1 (en) 2007-01-26 2010-07-01 3F Therapeutics, Inc. Methods and systems for reducing paravalvular leakage in heart valves
WO2008101083A2 (en) 2007-02-15 2008-08-21 Cook Incorporated Artificial valve prostheses with a free leaflet portion
US7753949B2 (en) 2007-02-23 2010-07-13 The Trustees Of The University Of Pennsylvania Valve prosthesis systems and methods
EP2358269B1 (en) 2007-03-08 2019-04-10 Sync-RX, Ltd. Image processing and tool actuation for medical procedures
EP2129284A4 (en) 2007-03-08 2012-11-28 Sync Rx Ltd IMAGING AND TOOLS FOR USE WITH MOBILE ORGANS
US9968256B2 (en) 2007-03-08 2018-05-15 Sync-Rx Ltd. Automatic identification of a tool
US8915958B2 (en) 2007-06-08 2014-12-23 St. Jude Medical, Inc. Devices for transcatheter prosthetic heart valve implantation and access closure
US8858490B2 (en) 2007-07-18 2014-10-14 Silk Road Medical, Inc. Systems and methods for treating a carotid artery
US9814611B2 (en) 2007-07-31 2017-11-14 Edwards Lifesciences Cardiaq Llc Actively controllable stent, stent graft, heart valve and method of controlling same
US20090094189A1 (en) 2007-10-08 2009-04-09 At&T Bls Intellectual Property, Inc. Methods, systems, and computer program products for managing tags added by users engaged in social tagging of content
US7828840B2 (en) 2007-11-15 2010-11-09 Med Institute, Inc. Medical devices and methods for local delivery of angiotensin II type 2 receptor antagonists
US7846199B2 (en) 2007-11-19 2010-12-07 Cook Incorporated Remodelable prosthetic valve
WO2010070649A1 (en) 2008-12-21 2010-06-24 Mor Research Applications Ltd. Elongated body for deployment in a coronary sinus
US20090287290A1 (en) 2008-01-24 2009-11-19 Medtronic, Inc. Delivery Systems and Methods of Implantation for Prosthetic Heart Valves
US8157853B2 (en) 2008-01-24 2012-04-17 Medtronic, Inc. Delivery systems and methods of implantation for prosthetic heart valves
US9393115B2 (en) 2008-01-24 2016-07-19 Medtronic, Inc. Delivery systems and methods of implantation for prosthetic heart valves
US9149358B2 (en) 2008-01-24 2015-10-06 Medtronic, Inc. Delivery systems for prosthetic heart valves
US8968393B2 (en) 2008-02-28 2015-03-03 Medtronic, Inc. System and method for percutaneous mitral valve repair
US9241792B2 (en) 2008-02-29 2016-01-26 Edwards Lifesciences Corporation Two-step heart valve implantation
US8430927B2 (en) 2008-04-08 2013-04-30 Medtronic, Inc. Multiple orifice implantable heart valve and methods of implantation
US20100121437A1 (en) 2008-04-16 2010-05-13 Cardiovascular Technologies, Llc Transvalvular intraannular band and chordae cutting for ischemic and dilated cardiomyopathy
US20100131057A1 (en) 2008-04-16 2010-05-27 Cardiovascular Technologies, Llc Transvalvular intraannular band for aortic valve repair
AU2009236062A1 (en) 2008-04-18 2009-10-22 Cook Medical Technologies Llc Branched vessel prosthesis
US8696743B2 (en) 2008-04-23 2014-04-15 Medtronic, Inc. Tissue attachment devices and methods for prosthetic heart valves
US8312825B2 (en) 2008-04-23 2012-11-20 Medtronic, Inc. Methods and apparatuses for assembly of a pericardial prosthetic heart valve
US8136218B2 (en) 2008-04-29 2012-03-20 Medtronic, Inc. Prosthetic heart valve, prosthetic heart valve assembly and method for making same
US9440054B2 (en) 2008-05-14 2016-09-13 Onset Medical Corporation Expandable transapical sheath and method of use
US8728153B2 (en) 2008-05-14 2014-05-20 Onset Medical Corporation Expandable transapical sheath and method of use
EP3476367B2 (en) 2008-06-06 2024-11-20 Edwards Lifesciences Corporation Low profile transcatheter heart valve
ES2616743T3 (es) 2008-07-15 2017-06-14 St. Jude Medical, Llc Diseños de manguito colapsable y reexpansible de válvula cardiaca protésica y aplicaciones tecnológicas complementarias
US8790387B2 (en) 2008-10-10 2014-07-29 Edwards Lifesciences Corporation Expandable sheath for introducing an endovascular delivery device into a body
US9119714B2 (en) 2008-10-29 2015-09-01 The Regents Of The University Of Colorado, A Body Corporate Shape memory polymer prosthetic medical device
US8241351B2 (en) 2008-12-22 2012-08-14 Valtech Cardio, Ltd. Adjustable partial annuloplasty ring and mechanism therefor
US8808368B2 (en) 2008-12-22 2014-08-19 Valtech Cardio, Ltd. Implantation of repair chords in the heart
US8940044B2 (en) 2011-06-23 2015-01-27 Valtech Cardio, Ltd. Closure element for use with an annuloplasty structure
US10517719B2 (en) 2008-12-22 2019-12-31 Valtech Cardio, Ltd. Implantation of repair devices in the heart
US9011530B2 (en) 2008-12-22 2015-04-21 Valtech Cardio, Ltd. Partially-adjustable annuloplasty structure
US8926696B2 (en) 2008-12-22 2015-01-06 Valtech Cardio, Ltd. Adjustable annuloplasty devices and adjustment mechanisms therefor
US20100174363A1 (en) 2009-01-07 2010-07-08 Endovalve, Inc. One Piece Prosthetic Valve Support Structure and Related Assemblies
US8353956B2 (en) 2009-02-17 2013-01-15 Valtech Cardio, Ltd. Actively-engageable movement-restriction mechanism for use with an annuloplasty structure
EP2398426A2 (en) 2009-02-23 2011-12-28 John To Stent strut appositioner
US8366768B2 (en) 2009-03-30 2013-02-05 Causper Medical Inc. Methods for delivery of a sutureless pulmonary or mitral valve
US9980818B2 (en) 2009-03-31 2018-05-29 Edwards Lifesciences Corporation Prosthetic heart valve system with positioning markers
US9011522B2 (en) 2009-04-10 2015-04-21 Lon Sutherland ANNEST Device and method for temporary or permanent suspension of an implantable scaffolding containing an orifice for placement of a prosthetic or bio-prosthetic valve
CA2961053C (en) 2009-04-15 2019-04-30 Edwards Lifesciences Cardiaq Llc Vascular implant and delivery system
US9011524B2 (en) 2009-04-24 2015-04-21 Medtronic, Inc. Prosthetic heart valves and methods of attaching same
US10076403B1 (en) 2009-05-04 2018-09-18 V-Wave Ltd. Shunt for redistributing atrial blood volume
US9034034B2 (en) 2010-12-22 2015-05-19 V-Wave Ltd. Devices for reducing left atrial pressure, and methods of making and using same
US8075611B2 (en) 2009-06-02 2011-12-13 Medtronic, Inc. Stented prosthetic heart valves
WO2011008897A2 (en) 2009-07-14 2011-01-20 Board Of Regents, The University Of Texas System Methods for making controlled delivery devices having zero order kinetics
US10034748B2 (en) 2009-09-18 2018-07-31 The Regents Of The University Of California Endovascular prosthetic heart valve replacement
WO2011035327A1 (en) 2009-09-21 2011-03-24 Medtronic Inc. Stented transcatheter prosthetic heart valve delivery system and method
US10022222B2 (en) 2009-10-06 2018-07-17 Adam Groothuis Systems and methods for treating lumenal valves
US8734467B2 (en) 2009-12-02 2014-05-27 Valtech Cardio, Ltd. Delivery tool for implantation of spool assembly coupled to a helical anchor
US8449599B2 (en) 2009-12-04 2013-05-28 Edwards Lifesciences Corporation Prosthetic valve for replacing mitral valve
US20130190861A1 (en) 2012-01-23 2013-07-25 Tendyne Holdings, Inc. Prosthetic Valve for Replacing Mitral Valve
US8888838B2 (en) 2009-12-31 2014-11-18 W. L. Gore & Associates, Inc. Endoprosthesis containing multi-phase ferrous steel
US9358109B2 (en) 2010-01-13 2016-06-07 Vinay Badhwar Transcorporeal delivery system and method
US10959840B2 (en) 2010-01-20 2021-03-30 Micro Interventional Devices, Inc. Systems and methods for affixing a prosthesis to tissue
EP2549957B1 (en) 2010-03-23 2019-01-30 Edwards Lifesciences Corporation Methods of conditioning sheet bioprosthetic tissue
US9320597B2 (en) 2010-03-30 2016-04-26 Medtronic, Inc. Transcatheter prosthetic heart valve delivery system with recapturing feature and method
US8491650B2 (en) 2010-04-08 2013-07-23 Medtronic, Inc. Transcatheter prosthetic heart valve delivery system and method with stretchable stability tube
US8926692B2 (en) 2010-04-09 2015-01-06 Medtronic, Inc. Transcatheter prosthetic heart valve delivery device with partial deployment and release features and methods
US20110257721A1 (en) 2010-04-15 2011-10-20 Medtronic, Inc. Prosthetic Heart Valves and Delivery Methods
US8876892B2 (en) 2010-04-21 2014-11-04 Medtronic, Inc. Prosthetic heart valve delivery system with spacing
US9629719B2 (en) 2010-04-23 2017-04-25 Medtronic, Inc. Delivery systems and methods of implantation for prosthetic heart valves
US8623079B2 (en) 2010-04-23 2014-01-07 Medtronic, Inc. Stents for prosthetic heart valves
US8568474B2 (en) 2010-04-26 2013-10-29 Medtronic, Inc. Transcatheter prosthetic heart valve post-dilatation remodeling devices and methods
US8579964B2 (en) * 2010-05-05 2013-11-12 Neovasc Inc. Transcatheter mitral valve prosthesis
US9561102B2 (en) 2010-06-02 2017-02-07 Medtronic, Inc. Transcatheter delivery system and method with controlled expansion and contraction of prosthetic heart valve
US8657872B2 (en) 2010-07-19 2014-02-25 Jacques Seguin Cardiac valve repair system and methods of use
US9763657B2 (en) 2010-07-21 2017-09-19 Mitraltech Ltd. Techniques for percutaneous mitral valve replacement and sealing
US9132009B2 (en) 2010-07-21 2015-09-15 Mitraltech Ltd. Guide wires with commissural anchors to advance a prosthetic valve
US8992604B2 (en) 2010-07-21 2015-03-31 Mitraltech Ltd. Techniques for percutaneous mitral valve replacement and sealing
WO2012012761A2 (en) 2010-07-23 2012-01-26 Edwards Lifesciences Corporation Retaining mechanisms for prosthetic valves
WO2012019052A2 (en) 2010-08-04 2012-02-09 Micardia Corporation Percutaneous transcatheter repair of heart valves
US9623228B2 (en) 2010-08-12 2017-04-18 Silk Road Medical, Inc. Systems and methods for treating a carotid artery
WO2012023980A1 (en) 2010-08-17 2012-02-23 St. Jude Medical, Inc. Sleeve for facilitating movement of a transfemoral catheter
US10105224B2 (en) 2010-09-01 2018-10-23 Mvalve Technologies Ltd. Cardiac valve support structure
EP4052682A1 (en) 2010-09-01 2022-09-07 Medtronic Vascular Galway Prosthetic valve support structure
EP2428189A1 (en) 2010-09-10 2012-03-14 Symetis Sa Catheter delivery system for stent valve
US9370418B2 (en) 2010-09-10 2016-06-21 Edwards Lifesciences Corporation Rapidly deployable surgical heart valves
WO2012037341A1 (en) 2010-09-15 2012-03-22 The United States Of America, As Represented By The Secretary, National Institutes Of Health Devices for transcatheter cerclage annuloplasty
US9017364B2 (en) 2010-12-30 2015-04-28 Claret Medical, Inc. Deflectable intravascular filter
US20120172980A1 (en) 2011-01-05 2012-07-05 Curia, Inc. Kits with prosthetic valves formed with isotropic filter screen leaflets and methods thereof
US20140005540A1 (en) 2011-01-07 2014-01-02 Innovative Cardiovascular Solutions, Inc. Angiography Catheter
US8641752B1 (en) 2011-01-20 2014-02-04 W. L. Gore & Associates, Inc. Integrated sheath and deployment
US8888843B2 (en) 2011-01-28 2014-11-18 Middle Peak Medical, Inc. Device, system, and method for transcatheter treatment of valve regurgitation
US20120209375A1 (en) 2011-02-11 2012-08-16 Gilbert Madrid Stability device for use with percutaneous delivery systems
US9155619B2 (en) 2011-02-25 2015-10-13 Edwards Lifesciences Corporation Prosthetic heart valve delivery apparatus
US9381082B2 (en) 2011-04-22 2016-07-05 Edwards Lifesciences Corporation Devices, systems and methods for accurate positioning of a prosthetic valve
US9554897B2 (en) 2011-04-28 2017-01-31 Neovasc Tiara Inc. Methods and apparatus for engaging a valve prosthesis with tissue
US9289282B2 (en) 2011-05-31 2016-03-22 Edwards Lifesciences Corporation System and method for treating valve insufficiency or vessel dilatation
US9402721B2 (en) 2011-06-01 2016-08-02 Valcare, Inc. Percutaneous transcatheter repair of heart valves via trans-apical access
WO2012170837A2 (en) 2011-06-08 2012-12-13 Nader Najafi Implantable wireless sensor systems
EP3964176B1 (en) 2011-06-21 2025-05-14 Twelve, Inc. Prosthetic heart valve devices
WO2012177441A1 (en) 2011-06-21 2012-12-27 St. Jude Medical, Inc. Apparatus and method for heart valve repair
US10010412B2 (en) 2011-07-27 2018-07-03 Edwards Lifesciences Corporation Conical crimper
WO2013017359A1 (en) 2011-08-03 2013-02-07 Aeeg Ab Delivery device for medical implant and medical procedure
US8852272B2 (en) * 2011-08-05 2014-10-07 Mitraltech Ltd. Techniques for percutaneous mitral valve replacement and sealing
US20130190857A1 (en) 2011-09-09 2013-07-25 Endoluminal Sciences Pty Ltd. Means for controlled sealing of endovascular devices
US20130331929A1 (en) 2011-09-09 2013-12-12 Endoluminal Sciences Pty Ltd. Means for Controlled Sealing of Endovascular Devices
US9216076B2 (en) 2011-09-09 2015-12-22 Endoluminal Sciences Pty. Ltd. Means for controlled sealing of endovascular devices
US9387075B2 (en) 2011-09-12 2016-07-12 Highlife Sas Transcatheter valve prosthesis
US9358108B2 (en) 2011-09-12 2016-06-07 Highlife Sas Transcatheter valve prosthesis
EP2572644A1 (en) 2011-09-22 2013-03-27 Occlutech Holding AG Medical implantable occlusion device
US9655720B2 (en) 2011-10-13 2017-05-23 The Research Foundation For The State University Of New York Polymeric heart valve
US20130131714A1 (en) 2011-11-14 2013-05-23 Boston Scientific Scimed, Inc. Embolic protection device and methods of making the same
WO2013076724A2 (en) 2011-11-21 2013-05-30 Mor Research Applications Ltd. Device for placement in the tricuspid annulus
US9827092B2 (en) 2011-12-16 2017-11-28 Tendyne Holdings, Inc. Tethers for prosthetic mitral valve
US9078652B2 (en) 2011-12-19 2015-07-14 Edwards Lifesciences Corporation Side-entry knotless suture anchoring clamps and deployment tools
WO2013109623A1 (en) 2012-01-17 2013-07-25 Lumen Biomedical, Inc. Aortic arch filtration system for carotid artery protection
WO2013119912A1 (en) 2012-02-10 2013-08-15 The University Of Iowa Research Foundation Vascular prosthetic assemblies
US20150094802A1 (en) 2012-02-28 2015-04-02 Mvalve Technologies Ltd. Single-ring cardiac valve support
WO2013128461A1 (en) 2012-02-29 2013-09-06 Cardiapex Ltd. Minimally invasive surgical techniques
US9180008B2 (en) 2012-02-29 2015-11-10 Valcare, Inc. Methods, devices, and systems for percutaneously anchoring annuloplasty rings
US9839519B2 (en) 2012-02-29 2017-12-12 Valcare, Inc. Percutaneous annuloplasty system with anterior-posterior adjustment
US10213288B2 (en) 2012-03-06 2019-02-26 Crux Biomedical, Inc. Distal protection filter
US8735702B1 (en) 2012-03-21 2014-05-27 Deborah R. Miles Portable dissipating medium used for removal of vibrational interference in a bowed string of a violin family instrument
US20130274873A1 (en) 2012-03-22 2013-10-17 Symetis Sa Transcatheter Stent-Valves and Methods, Systems and Devices for Addressing Para-Valve Leakage
US8926694B2 (en) 2012-03-28 2015-01-06 Medtronic Vascular Galway Limited Dual valve prosthesis for transcatheter valve implantation
US9295547B2 (en) 2012-03-28 2016-03-29 Medtronic Vascular Galway Prosthesis for transcatheter valve implantation
US9861464B2 (en) 2012-04-13 2018-01-09 Regents Of The University Of Minnesota Cardio-embolic stroke prevention
US9301839B2 (en) 2012-04-17 2016-04-05 Medtronic CV Luxembourg S.a.r.l. Transcatheter prosthetic heart valve delivery device with release features
US20130274618A1 (en) 2012-04-17 2013-10-17 Boston Scientific Scimed, Inc. Guidewire system for use in transcatheter aortic valve implantation procedures
US9427315B2 (en) 2012-04-19 2016-08-30 Caisson Interventional, LLC Valve replacement systems and methods
US9445897B2 (en) 2012-05-01 2016-09-20 Direct Flow Medical, Inc. Prosthetic implant delivery device with introducer catheter
US9277990B2 (en) 2012-05-04 2016-03-08 St. Jude Medical, Cardiology Division, Inc. Hypotube shaft with articulation mechanism
EP2849680B1 (en) * 2012-05-16 2019-01-09 Edwards Lifesciences Corporation Coaptation element for reducing cardiac valve regurgitation
US20150297241A1 (en) 2012-05-31 2015-10-22 Javelin Medical Ltd. Apparatus and Method of Monofilament Implant Delivery in a Body Vessel of a Patient
US9554902B2 (en) 2012-06-28 2017-01-31 St. Jude Medical, Cardiology Division, Inc. Leaflet in configuration for function in various shapes and sizes
US9241791B2 (en) 2012-06-29 2016-01-26 St. Jude Medical, Cardiology Division, Inc. Valve assembly for crimp profile
US10376360B2 (en) 2012-07-27 2019-08-13 W. L. Gore & Associates, Inc. Multi-frame prosthetic valve apparatus and methods
WO2014022124A1 (en) 2012-07-28 2014-02-06 Tendyne Holdings, Inc. Improved multi-component designs for heart valve retrieval device, sealing structures and stent assembly
US9675454B2 (en) 2012-07-30 2017-06-13 Tendyne Holdings, Inc. Delivery systems and methods for transcatheter prosthetic valves
US9254141B2 (en) 2012-08-02 2016-02-09 St. Jude Medical, Inc. Apparatus and method for heart valve repair
US8926690B2 (en) 2012-08-13 2015-01-06 Medtronic, Inc. Heart valve prosthesis
JP2015531630A (ja) 2012-08-23 2015-11-05 ミニマリー・インヴェイシヴ・サージカル・アクセス・リミテッド 経カテーテル大動脈弁手術のためのダイレクトな大動脈アクセスシステム
US10849755B2 (en) 2012-09-14 2020-12-01 Boston Scientific Scimed, Inc. Mitral valve inversion prostheses
US10543088B2 (en) 2012-09-14 2020-01-28 Boston Scientific Scimed, Inc. Mitral valve inversion prostheses
EP2900176B8 (en) 2012-09-27 2023-09-20 Boston Scientific Limited Stent-valve, delivery apparatus, and stent-holder therefor
US10524909B2 (en) 2012-10-12 2020-01-07 St. Jude Medical, Cardiology Division, Inc. Retaining cage to permit resheathing of a tavi aortic-first transapical system
US9066710B2 (en) 2012-10-19 2015-06-30 St. Jude Medical, Cardiology Division, Inc. Apparatus and method for heart valve repair
US9211162B2 (en) 2012-10-23 2015-12-15 Medtronic CV Luxembourg S.a.r.l. Visualization device for use with a tray for loading a medical device
EP2911708A4 (en) 2012-10-26 2016-06-22 Univ Wake Forest Health Sciences Novel nanofiber-based graft for heart valve replacement and methods of using the same
US9023099B2 (en) * 2012-10-31 2015-05-05 Medtronic Vascular Galway Limited Prosthetic mitral valve and delivery method
US9675456B2 (en) 2012-11-02 2017-06-13 Medtronic, Inc. Transcatheter valve prosthesis delivery system with recapturing feature and method
US9387105B2 (en) 2012-11-12 2016-07-12 W.L. Gore & Associates, Inc Sleeves for expandable medical devices and methods of making the same
EP2732794A1 (en) 2012-11-14 2014-05-21 Contego AB Improved embolic protection device and method
US10039638B2 (en) 2012-12-19 2018-08-07 W. L. Gore & Associates, Inc. Geometric prosthetic heart valves
US20140194704A1 (en) 2012-12-21 2014-07-10 Volcano Corporation Intraluminal imaging system
US20140180070A1 (en) 2012-12-21 2014-06-26 Volcano Corporation Intraluminal imaging system
US20140180069A1 (en) 2012-12-21 2014-06-26 Volcano Corporation Intraluminal imaging system
US10543085B2 (en) 2012-12-31 2020-01-28 Edwards Lifesciences Corporation One-piece heart valve stents adapted for post-implant expansion
US20140214069A1 (en) 2013-01-30 2014-07-31 Edwards Lifesciences Corporation Inflatable Embolic Deflector
US9675451B2 (en) 2013-02-01 2017-06-13 Medtronic CV Luxembourg S.a.r.l. Anti-paravalvular leakage component for a transcatheter valve prosthesis
US11793636B2 (en) 2013-02-06 2023-10-24 Symetis Sa Prosthetic valve. delivery apparatus and delivery method
US9168129B2 (en) 2013-02-12 2015-10-27 Edwards Lifesciences Corporation Artificial heart valve with scalloped frame design
US9456897B2 (en) 2013-02-21 2016-10-04 Medtronic, Inc. Transcatheter valve prosthesis and a concurrently delivered sealing component
US20160008130A1 (en) 2013-02-28 2016-01-14 Mor Research Applications Ltd. Adjustable annuloplasty apparatus
US10034667B2 (en) 2013-02-28 2018-07-31 St. Jude Medical, Cardiology Division, Inc. Apparatus and method for heart valve repair
US20140249566A1 (en) 2013-03-01 2014-09-04 Aga Medical Corporation Embolic protection shield
US9333077B2 (en) 2013-03-12 2016-05-10 Medtronic Vascular Galway Limited Devices and methods for preparing a transcatheter heart valve system
US20140277388A1 (en) 2013-03-12 2014-09-18 Aga Medical Corporation Biocompatible foam occlusion device for self-expanding heart valves
US20140277408A1 (en) 2013-03-12 2014-09-18 Boston Scientific Scimed, Inc. Prosthetic Heart Valve System
US9636222B2 (en) 2013-03-12 2017-05-02 St. Jude Medical, Cardiology Division, Inc. Paravalvular leak protection
US9539094B2 (en) 2013-03-13 2017-01-10 St. Jude Medical, Cardiology Division, Inc. Simulated environment for transcatheter heart valve repair
US9999425B2 (en) 2013-03-13 2018-06-19 St. Jude Medical, Cardiology Division, Inc. Mitral valve leaflet clip
US11259923B2 (en) 2013-03-14 2022-03-01 Jc Medical, Inc. Methods and devices for delivery of a prosthetic valve
US11406497B2 (en) 2013-03-14 2022-08-09 Jc Medical, Inc. Heart valve prosthesis
WO2014145564A2 (en) 2013-03-15 2014-09-18 Endoluminal Sciences Pty Ltd Means for controlled sealing of endovascular devices
US20140276616A1 (en) 2013-03-15 2014-09-18 Syntheon Cardiology, Llc Catheter-based devices and methods for identifying specific anatomical landmarks of the human aortic valve
WO2014145399A1 (en) 2013-03-15 2014-09-18 Valcare, Inc. Systems and methods for delivery of annuloplasty rings
US9986967B2 (en) 2013-03-15 2018-06-05 Volcano Corporation Distal protection systems and methods with pressure and ultrasound features
US9089414B2 (en) 2013-03-22 2015-07-28 Edwards Lifesciences Corporation Device and method for increasing flow through the left atrial appendage
US10463489B2 (en) 2013-04-02 2019-11-05 Tendyne Holdings, Inc. Prosthetic heart valve and systems and methods for delivering the same
US9486306B2 (en) 2013-04-02 2016-11-08 Tendyne Holdings, Inc. Inflatable annular sealing device for prosthetic mitral valve
US20140296969A1 (en) 2013-04-02 2014-10-02 Tendyne Holdlings, Inc. Anterior Leaflet Clip Device for Prosthetic Mitral Valve
US20140303718A1 (en) 2013-04-04 2014-10-09 Tendyne Holdings, Inc. Retrieval and repositioning system for prosthetic heart valve
US9572665B2 (en) 2013-04-04 2017-02-21 Neovasc Tiara Inc. Methods and apparatus for delivering a prosthetic valve to a beating heart
US10478293B2 (en) 2013-04-04 2019-11-19 Tendyne Holdings, Inc. Retrieval and repositioning system for prosthetic heart valve
WO2014179763A1 (en) 2013-05-03 2014-11-06 Medtronic Inc. Valve delivery tool
WO2014185969A2 (en) 2013-05-14 2014-11-20 Transverse Medical, Inc. Catheter-based apparatuses and methods
US9610159B2 (en) 2013-05-30 2017-04-04 Tendyne Holdings, Inc. Structural members for prosthetic mitral valves
US10182911B2 (en) 2013-06-05 2019-01-22 St. Jude Medical, Cardiology Division, Inc. Devices and methods for transcatheter heart valve delivery
US9326854B2 (en) 2013-06-13 2016-05-03 Medtronic Vascular Galway Delivery system with pacing element
US11076952B2 (en) 2013-06-14 2021-08-03 The Regents Of The University Of California Collapsible atrioventricular valve prosthesis
US9968445B2 (en) 2013-06-14 2018-05-15 The Regents Of The University Of California Transcatheter mitral valve
US20140379076A1 (en) 2013-06-25 2014-12-25 Tendyne Holdings, Inc. Halo Wire Fluid Seal Device for Prosthetic Mitral Valves
US9962259B2 (en) 2013-06-25 2018-05-08 National University Of Singapore Stent member, artificial valve, and method of implanting the same
US11291452B2 (en) 2013-06-26 2022-04-05 W. L. Gore & Associates, Inc. Medical device deployment system
US20150005874A1 (en) 2013-06-27 2015-01-01 Tendyne Holdings, Inc. Atrial Thrombogenic Sealing Pockets for Prosthetic Mitral Valves
EP3016614A1 (en) 2013-07-01 2016-05-11 St. Jude Medical, Cardiology Division, Inc. Hybrid orientation pravalvular sealing stent
US9259237B2 (en) 2013-07-12 2016-02-16 Inceptus Medical, Llc Methods and apparatus for treating pulmonary embolism
US9895219B2 (en) * 2013-07-31 2018-02-20 Medtronic Vascular Galway Mitral valve prosthesis for transcatheter valve implantation
US20150051696A1 (en) 2013-08-14 2015-02-19 Boston Scientific Scimed, Inc. Medical guidewire
US10195028B2 (en) 2013-09-10 2019-02-05 Edwards Lifesciences Corporation Magnetic retaining mechanisms for prosthetic valves
CN105579629B (zh) 2013-09-12 2017-09-12 旭化成株式会社 极细聚酯纤维
US10398550B2 (en) 2013-09-12 2019-09-03 St. Jude Medical, Cardiology Division, Inc. Atraumatic interface in an implant delivery device
EP3360514B1 (en) 2013-09-16 2021-11-03 Symetis SA Method and apparatus for compressing/loading stent-valves
US20150112188A1 (en) 2013-09-20 2015-04-23 Volcano Corporation Systems and methods for monitoring endoluminal valve formation
US20160220734A1 (en) 2013-10-02 2016-08-04 The Regents Of The University Of Colorado, A Body Corporate Photo-active and radio-opaque shape memory polymer-gold nanocomposite materials for trans-catheter medical devices
US9393111B2 (en) 2014-01-15 2016-07-19 Sino Medical Sciences Technology Inc. Device and method for mitral valve regurgitation treatment
US9839511B2 (en) 2013-10-05 2017-12-12 Sino Medical Sciences Technology Inc. Device and method for mitral valve regurgitation treatment
US9050188B2 (en) 2013-10-23 2015-06-09 Caisson Interventional, LLC Methods and systems for heart valve therapy
US9662202B2 (en) 2013-10-24 2017-05-30 Medtronic, Inc. Heart valve prosthesis
US9526611B2 (en) * 2013-10-29 2016-12-27 Tendyne Holdings, Inc. Apparatus and methods for delivery of transcatheter prosthetic valves
EP3068344A1 (en) 2013-11-12 2016-09-21 St. Jude Medical, Cardiology Division, Inc. Pneumatically power-assisted tavi delivery system
WO2015079443A1 (en) 2013-11-28 2015-06-04 Mvalve Technologies Ltd. Intracardiac devices comprising stabilizing elements having improved fatigue resistance
US20150196391A1 (en) 2014-01-15 2015-07-16 Medtronic, Inc. Tray for Loading a Medical Device Including a Temperature Measuring and Indicating Device
US9072604B1 (en) 2014-02-11 2015-07-07 Gilberto Melnick Modular transcatheter heart valve and implantation method
CN106163453B (zh) 2014-02-14 2018-05-29 爱德华兹生命科学公司 经皮小叶增大
GB201402643D0 (en) 2014-02-14 2014-04-02 Univ Southampton A method of mapping images of human disease
EP3107495B2 (en) 2014-02-18 2025-05-14 St. Jude Medical, Cardiology Division, Inc. Bowed runners and corresponding valve assemblies for paravalvular leak protection
US10064719B2 (en) 2014-03-11 2018-09-04 Highlife Sas Transcatheter valve prosthesis
US9763779B2 (en) 2014-03-11 2017-09-19 Highlife Sas Transcatheter valve prosthesis
US9889003B2 (en) 2014-03-11 2018-02-13 Highlife Sas Transcatheter valve prosthesis
US9687343B2 (en) 2014-03-11 2017-06-27 Highlife Sas Transcatheter valve prosthesis
EP2921139B1 (en) 2014-03-18 2018-11-21 Nvt Ag Heartvalve implant
EP2921140A1 (en) 2014-03-18 2015-09-23 St. Jude Medical, Cardiology Division, Inc. Percutaneous valve anchoring for a prosthetic aortic valve
US20170014115A1 (en) 2014-03-27 2017-01-19 Transmural Systems Llc Devices and methods for closure of transvascular or transcameral access ports
US10149758B2 (en) 2014-04-01 2018-12-11 Medtronic, Inc. System and method of stepped deployment of prosthetic heart valve
PL2929860T3 (pl) 2014-04-07 2018-01-31 Nvt Ag Urządzenie do wszczepiania w serce ssaka
US9381083B2 (en) 2014-04-11 2016-07-05 Medtronic Vascular Galway Profile altering tip for a delivery system
US10413410B2 (en) 2014-04-11 2019-09-17 Medtronic Vascular, Inc. Profile altering tip for a delivery system
WO2015160598A1 (en) 2014-04-17 2015-10-22 Medtronic Vascular Galway Hinged transcatheter prosthetic heart valve delivery system
US10220192B2 (en) 2014-04-23 2019-03-05 Intervalve Medical, Inc. Post dilation balloon with marker bands for use with stented valves
US10321987B2 (en) 2014-04-23 2019-06-18 Medtronic, Inc. Paravalvular leak resistant prosthetic heart valve system
US10130467B2 (en) 2014-05-16 2018-11-20 St. Jude Medical, Cardiology Division, Inc. Subannular sealing for paravalvular leak protection
EP3142604B1 (en) 2014-05-16 2024-01-10 St. Jude Medical, Cardiology Division, Inc. Transcatheter valve with paravalvular leak sealing ring
WO2015179468A1 (en) 2014-05-21 2015-11-26 St. Jude Medical, Cardiology Division, Inc. Self-expanding heart valves for coronary perfusion and sealing
US20150342717A1 (en) 2014-05-30 2015-12-03 Michael J. O'Donnell Temporary valve and filter on guide catheter
US9532870B2 (en) 2014-06-06 2017-01-03 Edwards Lifesciences Corporation Prosthetic valve for replacing a mitral valve
EP2954875B1 (en) 2014-06-10 2017-11-15 St. Jude Medical, Cardiology Division, Inc. Stent cell bridge for cuff attachment
US9662203B2 (en) 2014-06-11 2017-05-30 Medtronic Vascular, Inc. Prosthetic valve with vortice-inducing baffle
US10111749B2 (en) 2014-06-11 2018-10-30 Medtronic Vascular, Inc. Prosthetic valve with flow director
US9974647B2 (en) 2014-06-12 2018-05-22 Caisson Interventional, LLC Two stage anchor and mitral valve assembly
US10195026B2 (en) 2014-07-22 2019-02-05 Edwards Lifesciences Corporation Mitral valve anchoring
US20160038283A1 (en) 2014-08-06 2016-02-11 The University Of Iowa Research Foundation Systems and methods utilizing expandable transcatheter valve
US9801719B2 (en) 2014-08-15 2017-10-31 Edwards Lifesciences Corporation Annulus rings with suture clips
EP3182930B1 (en) 2014-08-18 2020-09-23 St. Jude Medical, Cardiology Division, Inc. Sensors for prosthetic heart devices
US20160045306A1 (en) 2014-08-18 2016-02-18 Boston Scientific Scimed, Inc. Cut pattern transcatheter valve frame
US10058424B2 (en) 2014-08-21 2018-08-28 Edwards Lifesciences Corporation Dual-flange prosthetic valve frame
US20160067031A1 (en) 2014-09-08 2016-03-10 Ghassan S. Kassab Methods and uses of mediastinal pleura tissue for various stent and other medical applications
US10390950B2 (en) 2014-10-03 2019-08-27 St. Jude Medical, Cardiology Division, Inc. Flexible catheters and methods of forming same
EP3206631B1 (en) 2014-10-13 2022-07-06 Boston Scientific Limited Catheter delivery system for stent valve
AU2015335808B2 (en) * 2014-10-23 2020-08-06 Caisson Interventional, LLC Systems and methods for heart valve therapy
US9750607B2 (en) 2014-10-23 2017-09-05 Caisson Interventional, LLC Systems and methods for heart valve therapy
US9750605B2 (en) 2014-10-23 2017-09-05 Caisson Interventional, LLC Systems and methods for heart valve therapy
US20160143739A1 (en) 2014-11-25 2016-05-26 Boston Scientific Scimed Inc. Prosthetic ventricular heart system
US9693860B2 (en) 2014-12-01 2017-07-04 Medtronic, Inc. Segmented transcatheter valve prosthesis having an unsupported valve segment
CN106999178B (zh) 2014-12-02 2019-12-24 4科技有限公司 偏心组织锚定器
EP3028668B1 (en) 2014-12-05 2024-10-30 Nvt Ag Prosthetic heart valve system and delivery system therefor
US9517131B2 (en) 2014-12-12 2016-12-13 Than Nguyen Cardiac valve repair device
US20160194425A1 (en) 2015-01-05 2016-07-07 Endoluminal Sciences Pty. Ltd. Highly expandable hydrogels in medical device sealing technology
CN106456313B (zh) 2015-01-20 2020-07-31 企斯动哈特有限公司 使血栓偏转的血管内装置、输送系统、相关方法及导管
US10478297B2 (en) 2015-01-27 2019-11-19 Medtronic Vascular, Inc. Delivery system having an integral centering mechanism for positioning a valve prosthesis in situ
US9480565B2 (en) 2015-02-02 2016-11-01 On-X Life Technologies, Inc. Rapid deployment artificial chordae tendinae system
US20160220367A1 (en) 2015-02-04 2016-08-04 Medtronic Vascular, Inc. Balloon valvuloplasty delivery system
WO2016133950A1 (en) * 2015-02-17 2016-08-25 Medtronic Vascular Inc. Methods for anchoring a heart valve prosthesis in a transcatheter valve implantation procedure
US20160235530A1 (en) 2015-02-18 2016-08-18 St. Jude Medical, Cardiology Division, Inc. Introducer sheath for transcatheter heart valve delivery
WO2016138423A1 (en) 2015-02-27 2016-09-01 University Of Pittsburgh - Of The Commonwealth System Of Higher Education Retrievable self-expanding non-thrombogenic low-profile percutaneous atrioventricular valve prosthesis
US20160256269A1 (en) 2015-03-05 2016-09-08 Mitralign, Inc. Devices for treating paravalvular leakage and methods use thereof
US10285809B2 (en) 2015-03-06 2019-05-14 Boston Scientific Scimed Inc. TAVI anchoring assist device
US11504236B2 (en) 2015-03-13 2022-11-22 Medtronic Vascular, Inc. Delivery device for prosthetic heart valve with capsule adjustment device
US10327899B2 (en) 2015-03-13 2019-06-25 Medtronic Vascular, Inc. Delivery device for prosthetic heart valve with capsule adjustment device
US10231827B2 (en) 2015-03-18 2019-03-19 Medtronic Vascular, Inc. Valve prostheses having an integral centering mechanism and methods of use thereof
CN107613908B (zh) 2015-03-19 2020-03-10 凯森因特万逊奈尔有限公司 用于心脏瓣膜疗法的系统和方法
JP6829692B2 (ja) 2015-03-20 2021-02-10 イェーナヴァルヴ テクノロジー インコーポレイテッド 心臓弁プロテーゼ送出システム及び導入体シースにより心臓弁プロテーゼを送出するための方法
US9931790B2 (en) 2015-04-16 2018-04-03 Siemens Healthcare Gmbh Method and system for advanced transcatheter aortic valve implantation planning
US10376363B2 (en) 2015-04-30 2019-08-13 Edwards Lifesciences Cardiaq Llc Replacement mitral valve, delivery system for replacement mitral valve and methods of use
SG10202010021SA (en) 2015-04-30 2020-11-27 Valtech Cardio Ltd Annuloplasty technologies
US9629720B2 (en) 2015-05-04 2017-04-25 Jacques Seguin Apparatus and methods for treating cardiac valve regurgitation
US10433960B1 (en) 2015-05-07 2019-10-08 Cardioprecision Limited Method and system for transcatheter intervention
GB201508150D0 (en) 2015-05-13 2015-06-24 Cambridge Entpr Ltd Device for insertion into human or animal body and associated methods
WO2016183523A1 (en) * 2015-05-14 2016-11-17 Cephea Valve Technologies, Inc. Cardiac valve delivery devices and systems
CN108024856B (zh) 2015-06-05 2019-10-25 坦迪尼控股股份有限公司 人造二尖瓣的经血管递送的尖端控制
US10016273B2 (en) 2015-06-05 2018-07-10 Medtronic, Inc. Filtered sealing components for a transcatheter valve prosthesis
PL3310305T3 (pl) 2015-06-18 2022-09-26 Ascyrus Medical, Llc Rozgałęziony stentgraft aortalny
US10226335B2 (en) 2015-06-22 2019-03-12 Edwards Lifesciences Cardiaq Llc Actively controllable heart valve implant and method of controlling same
EP3316823B1 (en) 2015-07-02 2020-04-08 Edwards Lifesciences Corporation Integrated hybrid heart valves
WO2017004369A1 (en) 2015-07-02 2017-01-05 Edwards Lifesciences Corporation Hybrid heart valves adapted for post-implant expansion
US10639149B2 (en) 2015-07-16 2020-05-05 St. Jude Medical, Cardiology Division, Inc. Sutureless prosthetic heart valve
US10154905B2 (en) 2015-08-07 2018-12-18 Medtronic Vascular, Inc. System and method for deflecting a delivery catheter
US10034747B2 (en) 2015-08-27 2018-07-31 Medtronic Vascular, Inc. Prosthetic valve system having a docking component and a prosthetic valve component
US10350066B2 (en) 2015-08-28 2019-07-16 Edwards Lifesciences Cardiaq Llc Steerable delivery system for replacement mitral valve and methods of use
US10350047B2 (en) 2015-09-02 2019-07-16 Edwards Lifesciences Corporation Method and system for packaging and preparing a prosthetic heart valve and associated delivery system
WO2017041029A1 (en) 2015-09-02 2017-03-09 Edwards Lifesciences Corporation Spacer for securing a transcatheter valve to bioprosthetic cardiac structure
US10850064B2 (en) 2015-09-03 2020-12-01 St. Jude Medical, Cardiology Division, Inc. Introducer sheath having expandable portions
US10080653B2 (en) 2015-09-10 2018-09-25 Edwards Lifesciences Corporation Limited expansion heart valve
US10561496B2 (en) 2015-09-16 2020-02-18 Edwards Lifesciences Corporation Perfusion balloon designs
US10314703B2 (en) 2015-09-21 2019-06-11 Edwards Lifesciences Corporation Cylindrical implant and balloon
US10022223B2 (en) 2015-10-06 2018-07-17 W. L. Gore & Associates, Inc. Leaflet support devices and methods of making and using the same
US20170112620A1 (en) 2015-10-22 2017-04-27 Medtronic Vascular, Inc. Systems and methods of sealing a deployed valve component
CN109091272B (zh) 2015-11-06 2021-10-22 麦克尔有限公司 二尖瓣假体
US10500046B2 (en) 2015-12-14 2019-12-10 Medtronic, Inc. Delivery system having retractable wires as a coupling mechanism and a deployment mechanism for a self-expanding prosthesis
WO2017117388A1 (en) 2015-12-30 2017-07-06 Caisson Interventional, LLC Systems and methods for heart valve therapy
US10555811B2 (en) 2016-01-13 2020-02-11 Medtronic, Inc. Delivery device for a stented prosthetic heart valve
US9918838B2 (en) 2016-01-25 2018-03-20 Michael Ring Integrated catheter guide wire control device
US10321992B2 (en) * 2016-02-01 2019-06-18 Medtronic, Inc. Heart valve prostheses having multiple support arms and methods for percutaneous heart valve replacement
US10179043B2 (en) 2016-02-12 2019-01-15 Edwards Lifesciences Corporation Prosthetic heart valve having multi-level sealing member
EP3422998B1 (en) 2016-03-02 2021-04-28 C.R. Bard, Inc. Embolic protection basket apparatus
US10667904B2 (en) 2016-03-08 2020-06-02 Edwards Lifesciences Corporation Valve implant with integrated sensor and transmitter
US10779941B2 (en) 2016-03-08 2020-09-22 Edwards Lifesciences Corporation Delivery cylinder for prosthetic implant
US9974649B2 (en) 2016-03-24 2018-05-22 Medtronic Vascular, Inc. Stented prosthetic heart valve having wrap and methods of delivery and deployment
US11980545B2 (en) 2016-05-06 2024-05-14 Transmural Systems Llc Annuloplasty procedures, related devices and methods
US11039923B2 (en) 2016-05-06 2021-06-22 Transmural Systems Llc Annuloplasty procedures, related devices and methods
WO2017197050A1 (en) 2016-05-10 2017-11-16 Yale University Aortic arch embolic protection device
US10456245B2 (en) 2016-05-16 2019-10-29 Edwards Lifesciences Corporation System and method for applying material to a stent
WO2017210434A1 (en) 2016-06-01 2017-12-07 On-X Life Technologies, Inc. Pull-through chordae tendineae system
EP3463193B1 (en) 2016-06-06 2023-12-06 Medtronic Vascular Inc. Transcatheter prosthetic heart valve delivery system with lateral offset control
US20170360558A1 (en) 2016-06-16 2017-12-21 Jianlu Ma Method and design for a mitral regurgitation treatment device
US10588745B2 (en) 2016-06-20 2020-03-17 Medtronic Vascular, Inc. Modular valve prosthesis, delivery system, and method of delivering and deploying a modular valve prosthesis
US10058426B2 (en) 2016-07-20 2018-08-28 Abbott Cardiovascular Systems Inc. System for tricuspid valve repair
US20180035971A1 (en) 2016-08-03 2018-02-08 Pi-Harvest Holding Ag System And Method For Non-Invasive Measurement Of Pressure Inside A Body Including Intravascular Blood Pressure
WO2018035156A1 (en) 2016-08-15 2018-02-22 Advanced Cardiology Engineering Solutions, LLC Expandable sheath and methods of usage
CN107753153B (zh) 2016-08-15 2022-05-31 沃卡尔有限公司 用于治疗心脏瓣膜关闭不全的装置和方法
US10722359B2 (en) 2016-08-26 2020-07-28 Edwards Lifesciences Corporation Heart valve docking devices and systems
CR20190069A (es) 2016-08-26 2019-05-14 Edwards Lifesciences Corp Valvulas y sistemas de acoplamiento de valvulas corazon
US10456252B2 (en) 2016-08-31 2019-10-29 Medtronic Vascular, Inc. Transcatheter guidewire delivery systems, catheter assemblies for guidewire delivery, and methods for percutaneous guidewire delivery across heart valves
US20180056045A1 (en) 2016-08-31 2018-03-01 Medtronic Vascular, Inc. Transcatheter guidewire delivery systems, catheter assemblies for guidewire delivery, and methods for percutaneous guidewire delivery across heart valves
US10575946B2 (en) 2016-09-01 2020-03-03 Medtronic Vascular, Inc. Heart valve prosthesis and separate support flange for attachment thereto
US10357361B2 (en) 2016-09-15 2019-07-23 Edwards Lifesciences Corporation Heart valve pinch devices and delivery systems
US10575944B2 (en) 2016-09-22 2020-03-03 Edwards Lifesciences Corporation Prosthetic heart valve with reduced stitching
US10849745B2 (en) 2016-09-23 2020-12-01 Medtronic Vascular, Inc. Balloon catheter including braided portions forming perfusion openings
US20180099124A1 (en) 2016-10-06 2018-04-12 Medtronic Vascular, Inc. System and method for crossing a native heart valve with a guidewire
US10492907B2 (en) 2016-11-07 2019-12-03 Medtronic Vascular, Inc. Valve delivery system
US10493248B2 (en) 2016-11-09 2019-12-03 Medtronic Vascular, Inc. Chordae tendineae management devices for use with a valve prosthesis delivery system and methods of use thereof
US10368988B2 (en) 2016-11-09 2019-08-06 Medtronic Vascular, Inc. Valve delivery system having an integral displacement component for managing chordae tendineae in situ and methods of use thereof
FR3058631B1 (fr) 2016-11-14 2019-01-25 Laboratoires Invalv Implant de traitement d'une valve biologique
US20180133006A1 (en) 2016-11-15 2018-05-17 Medtronic Vascular, Inc. Stabilization and advancement system for direct aortic transcatheter aortic valve implantation
US10973631B2 (en) 2016-11-17 2021-04-13 Edwards Lifesciences Corporation Crimping accessory device for a prosthetic valve
US11197750B2 (en) 2016-11-29 2021-12-14 Lake Region Manufacturing, Inc. Embolic protection device
HUE061376T2 (hu) 2016-12-16 2023-06-28 Edwards Lifesciences Corp Behelyezõ rendszerek és mûszerek rögzítõeszköz bejuttatására egy billentyûprotézishez
US20180214141A1 (en) 2016-12-22 2018-08-02 TransCaval Solutions, Inc. Systems, Apparatuses, and Methods for Vessel Crossing and Closure
US10925731B2 (en) 2016-12-30 2021-02-23 Pipeline Medical Technologies, Inc. Method and apparatus for transvascular implantation of neo chordae tendinae
US11013600B2 (en) 2017-01-23 2021-05-25 Edwards Lifesciences Corporation Covered prosthetic heart valve
US10149685B2 (en) 2017-02-28 2018-12-11 Abbott Cardiovascular Systems Inc. System and method for mitral valve function
US11291807B2 (en) 2017-03-03 2022-04-05 V-Wave Ltd. Asymmetric shunt for redistributing atrial blood volume
WO2018165356A1 (en) 2017-03-10 2018-09-13 St. Jude Medical, Cardiology Division, Inc. Transseptal mitral valve delivery system
US10653524B2 (en) 2017-03-13 2020-05-19 Polares Medical Inc. Device, system, and method for transcatheter treatment of valvular regurgitation
US10478303B2 (en) 2017-03-13 2019-11-19 Polares Medical Inc. Device, system, and method for transcatheter treatment of valvular regurgitation
CN115040289A (zh) 2017-03-13 2022-09-13 宝来瑞斯医疗有限公司 用于经导管治疗瓣膜返流的装置、系统和方法
CN108618871A (zh) 2017-03-17 2018-10-09 沃卡尔有限公司 具有多方向锚部的二尖瓣或三尖瓣修复系统
US10667934B2 (en) 2017-04-04 2020-06-02 Medtronic Vascular, Inc. System for loading a transcatheter valve prosthesis into a delivery catheter
US10820992B2 (en) 2017-04-05 2020-11-03 Opus Medical Therapies, LLC Transcatheter atrial sealing skirt, anchor, and tether and methods of implantation
US11103351B2 (en) 2017-04-05 2021-08-31 Opus Medical Therapies, LLC Transcatheter atrial sealing skirt and related method
IL269799B2 (en) 2017-04-18 2023-10-01 Edwards Lifesciences Corp Devices for sealing heart valves and devices for their conduction
US10702378B2 (en) 2017-04-18 2020-07-07 Twelve, Inc. Prosthetic heart valve device and associated systems and methods
EP3612103B1 (en) 2017-04-20 2022-02-09 Medtronic, Inc. Stabilization of a transseptal delivery device
US10799312B2 (en) 2017-04-28 2020-10-13 Edwards Lifesciences Corporation Medical device stabilizing apparatus and method of use
US10327895B2 (en) 2017-05-05 2019-06-25 Vdyne, Llc Pressure differential actuated prosthetic medical device
US10932905B2 (en) 2017-05-05 2021-03-02 St. Jude Medical, Cardiology Division, Inc. Introducer sheath having expandable portions
WO2018209313A1 (en) 2017-05-12 2018-11-15 Evalve, Inc. Long arm valve repair clip
US11135056B2 (en) 2017-05-15 2021-10-05 Edwards Lifesciences Corporation Devices and methods of commissure formation for prosthetic heart valve
EP3630004B1 (en) 2017-05-26 2025-02-19 Caisson Interventional, LLC Systems for heart valve therapy
US11026785B2 (en) 2017-06-05 2021-06-08 Edwards Lifesciences Corporation Mechanically expandable heart valve
US10952842B2 (en) 2017-06-07 2021-03-23 W. L. Gore & Associates, Inc. Prosthetic valve with improved washout
US10463482B2 (en) 2017-06-14 2019-11-05 William Joseph Drasler Free edge supported mitral valve
EP3641699B1 (en) 2017-06-19 2023-08-30 Harpoon Medical, Inc. Apparatus for cardiac procedures
WO2019010303A1 (en) 2017-07-06 2019-01-10 Edwards Lifesciences Corporation MANEUVERABLE INSTALLATION SYSTEM AND ELEMENTS
US10918473B2 (en) 2017-07-18 2021-02-16 Edwards Lifesciences Corporation Transcatheter heart valve storage container and crimping mechanism
US10575948B2 (en) 2017-08-03 2020-03-03 Cardiovalve Ltd. Prosthetic heart valve
US10888421B2 (en) 2017-09-19 2021-01-12 Cardiovalve Ltd. Prosthetic heart valve with pouch
US10537426B2 (en) 2017-08-03 2020-01-21 Cardiovalve Ltd. Prosthetic heart valve
US10932903B2 (en) 2017-08-15 2021-03-02 Edwards Lifesciences Corporation Skirt assembly for implantable prosthetic valve
US10898319B2 (en) 2017-08-17 2021-01-26 Edwards Lifesciences Corporation Sealing member for prosthetic heart valve
US10856971B2 (en) 2017-08-18 2020-12-08 Edwards Lifesciences Corporation Sealing members for prosthetic heart valve
US10973628B2 (en) 2017-08-18 2021-04-13 Edwards Lifesciences Corporation Pericardial sealing member for prosthetic heart valve
US10722353B2 (en) 2017-08-21 2020-07-28 Edwards Lifesciences Corporation Sealing member for prosthetic heart valve
CA3073834A1 (en) 2017-08-25 2019-02-28 Neovasc Tiara Inc. Sequentially deployed transcatheter mitral valve prosthesis
US11051939B2 (en) 2017-08-31 2021-07-06 Edwards Lifesciences Corporation Active introducer sheath system
WO2019051476A1 (en) 2017-09-11 2019-03-14 Incubar, LLC SEALING DEVICE FOR USE AS A VASCULAR DUCT IMPLANT FOR REDUCING ENDOFUCTION
CN111163728B (zh) 2017-09-27 2022-04-29 W.L.戈尔及同仁股份有限公司 具有机械联接的瓣叶的假体瓣膜
US10828158B2 (en) 2017-09-29 2020-11-10 St. Jude Medical, Cardiology Division, Inc. Catheter shaft construction for TAVR delivery systems
US10426473B2 (en) 2017-10-19 2019-10-01 Abbott Cardiovascular Systems Inc. System and method for plicating a heart valve
WO2019081453A1 (en) 2017-10-23 2019-05-02 Symetis Sa PROSTHETIC VALVE SHEET
US11382751B2 (en) 2017-10-24 2022-07-12 St. Jude Medical, Cardiology Division, Inc. Self-expandable filler for mitigating paravalvular leak
WO2019083894A1 (en) 2017-10-24 2019-05-02 University Of Maryland, Baltimore METHOD AND APPARATUS FOR CARDIAC INTERVENTIONS
JP2019076526A (ja) 2017-10-25 2019-05-23 テルモ株式会社 治療方法
US10646343B2 (en) 2017-10-27 2020-05-12 Abbott Cardiovascular Systems Inc. System and method for valve activation
JP2019080875A (ja) 2017-10-31 2019-05-30 テルモ株式会社 治療方法
US10959843B2 (en) 2017-11-12 2021-03-30 William Joseph Drasler Straddle annular mitral valve
US10792396B2 (en) 2017-11-21 2020-10-06 The Regents Of The University Of California Methods for development of hybrid tissue engineered valve with polyurethane core
US11083581B2 (en) 2017-12-04 2021-08-10 Edwards Lifesciences Corporation Expandable heart valve coaptation device
US10722349B2 (en) 2017-12-07 2020-07-28 Medtronic Vascular, Inc. Adjustable prosthetic heart valve
US20190175339A1 (en) 2017-12-12 2019-06-13 Vdyne, Llc Septomarginal trabecula attachment for heart valve repair
US20190183639A1 (en) 2017-12-19 2019-06-20 St. Jude Medical, Cardiology Division, Inc. Transcatheter Mitral Valve: Off-Center Valve Design
US11376127B2 (en) 2017-12-20 2022-07-05 W. L. Gore & Associates, Inc. Artificial chordae tendineae repair devices and delivery thereof
CN211583667U (zh) 2018-01-07 2020-09-29 苏州杰成医疗科技有限公司 用于输送瓣膜假体的输送系统
US10980635B2 (en) 2018-01-07 2021-04-20 William Joseph Drasler Annuloplasty device and methods
WO2019165213A1 (en) 2018-02-22 2019-08-29 Medtronic Vascular, Inc. Prosthetic heart valve delivery systems and methods
US11051934B2 (en) 2018-02-28 2021-07-06 Edwards Lifesciences Corporation Prosthetic mitral valve with improved anchors and seal
US11167122B2 (en) 2018-03-05 2021-11-09 Harmony Development Group, Inc. Force transducting implant system for the mitigation of atrioventricular pressure gradient loss and the restoration of healthy ventricular geometry
US11071626B2 (en) 2018-03-16 2021-07-27 W. L. Gore & Associates, Inc. Diametric expansion features for prosthetic valves
KR102788893B1 (ko) 2018-04-09 2025-04-02 에드워즈 라이프사이언시스 코포레이션 팽창 가능 외장
US10321995B1 (en) 2018-09-20 2019-06-18 Vdyne, Llc Orthogonally delivered transcatheter heart valve replacement

Patent Citations (5)

* Cited by examiner, † Cited by third party
Publication number Priority date Publication date Assignee Title
JP2014528761A (ja) 2011-08-11 2014-10-30 テンダイン ホールディングス, インコーポレイテッド 人工弁についての改良および関連する発明
US20140222142A1 (en) 2012-08-13 2014-08-07 Medtronic, Inc. Heart Valve Prosthesis
JP2016533787A (ja) 2013-10-28 2016-11-04 テンダイン ホールディングス,インコーポレイテッド 人工心臓弁及び人工心臓弁を送達するシステム及び方法
US20170325948A1 (en) 2015-05-14 2017-11-16 Dan Wallace Replacement mitral valves
WO2018136726A1 (en) 2017-01-19 2018-07-26 4C Medical Technologies, Inc. Systems, methods and devices for delivery systems, methods and devices for implanting prosthetic heart valves

Also Published As

Publication number Publication date
JP2022514008A (ja) 2022-02-09
JP2025013826A (ja) 2025-01-28
EP3897462A4 (en) 2022-10-05
EP3897462A1 (en) 2021-10-27
CN113382695A (zh) 2021-09-10
US10653522B1 (en) 2020-05-19
AU2019406832B2 (en) 2025-06-05
CN119157668A (zh) 2024-12-20
AU2025223945A1 (en) 2025-09-18
AU2019406832A1 (en) 2021-07-08
US20210290381A1 (en) 2021-09-23
CN113382695B (zh) 2024-10-18
WO2020131978A1 (en) 2020-06-25
CA3124128A1 (en) 2020-06-25

Similar Documents

Publication Publication Date Title
JP7569321B2 (ja) 側方送達される経カテーテル心臓弁のための近位タブ及び送達方法
US11253359B2 (en) Proximal tab for side-delivered transcatheter heart valves and methods of delivery
US11234813B2 (en) Ventricular stability elements for side-deliverable prosthetic heart valves and methods of delivery
US12343256B2 (en) Anchor hook for side-delivery transcatheter heart valve prosthesis
US11712335B2 (en) Cinch device and method for deployment of a side-delivered prosthetic heart valve in a native annulus
US12310850B2 (en) Transcatheter deliverable prosthetic heart valves and methods of delivery
JP7564096B2 (ja) 人工弁及びシステム
JP7568635B2 (ja) 側方送達可能な経カテーテル人工弁ならびにそれらを送達及び固定するための方法
WO2021146515A1 (en) Ventricular stability elements for side-deliverable prosthetic heart valves and methods of delivery
WO2023164489A2 (en) Systems and methods for retrieving side-deliverable transcatheter prosthetic valves

Legal Events

Date Code Title Description
A521 Request for written amendment filed

Free format text: JAPANESE INTERMEDIATE CODE: A523

Effective date: 20221213

A621 Written request for application examination

Free format text: JAPANESE INTERMEDIATE CODE: A621

Effective date: 20221213

A131 Notification of reasons for refusal

Free format text: JAPANESE INTERMEDIATE CODE: A131

Effective date: 20231027

A977 Report on retrieval

Free format text: JAPANESE INTERMEDIATE CODE: A971007

Effective date: 20231027

A521 Request for written amendment filed

Free format text: JAPANESE INTERMEDIATE CODE: A523

Effective date: 20240129

A131 Notification of reasons for refusal

Free format text: JAPANESE INTERMEDIATE CODE: A131

Effective date: 20240422

A521 Request for written amendment filed

Free format text: JAPANESE INTERMEDIATE CODE: A523

Effective date: 20240722

TRDD Decision of grant or rejection written
A01 Written decision to grant a patent or to grant a registration (utility model)

Free format text: JAPANESE INTERMEDIATE CODE: A01

Effective date: 20240904

A61 First payment of annual fees (during grant procedure)

Free format text: JAPANESE INTERMEDIATE CODE: A61

Effective date: 20241004

R150 Certificate of patent or registration of utility model

Ref document number: 7569321

Country of ref document: JP

Free format text: JAPANESE INTERMEDIATE CODE: R150