JP7081069B2 - 薬剤容器用多層ラベルおよび薬剤容器 - Google Patents

薬剤容器用多層ラベルおよび薬剤容器 Download PDF

Info

Publication number
JP7081069B2
JP7081069B2 JP2018068764A JP2018068764A JP7081069B2 JP 7081069 B2 JP7081069 B2 JP 7081069B2 JP 2018068764 A JP2018068764 A JP 2018068764A JP 2018068764 A JP2018068764 A JP 2018068764A JP 7081069 B2 JP7081069 B2 JP 7081069B2
Authority
JP
Japan
Prior art keywords
label
layer
drug
drug container
label layer
Prior art date
Legal status (The legal status is an assumption and is not a legal conclusion. Google has not performed a legal analysis and makes no representation as to the accuracy of the status listed.)
Active
Application number
JP2018068764A
Other languages
English (en)
Other versions
JP2019177039A (ja
JP2019177039A5 (ja
Inventor
典子 岡田
恵子 山田
志満子 金尾
翔太 中山
寛之 中▲崎▼
Current Assignee (The listed assignees may be inaccurate. Google has not performed a legal analysis and makes no representation or warranty as to the accuracy of the list.)
Nippon Kayaku Co Ltd
Original Assignee
Nippon Kayaku Co Ltd
Priority date (The priority date is an assumption and is not a legal conclusion. Google has not performed a legal analysis and makes no representation as to the accuracy of the date listed.)
Filing date
Publication date
Family has litigation
First worldwide family litigation filed litigation Critical https://patents.darts-ip.com/?family=68276875&utm_source=google_patent&utm_medium=platform_link&utm_campaign=public_patent_search&patent=JP7081069(B2) "Global patent litigation dataset” by Darts-ip is licensed under a Creative Commons Attribution 4.0 International License.
Application filed by Nippon Kayaku Co Ltd filed Critical Nippon Kayaku Co Ltd
Priority to JP2018068764A priority Critical patent/JP7081069B2/ja
Publication of JP2019177039A publication Critical patent/JP2019177039A/ja
Publication of JP2019177039A5 publication Critical patent/JP2019177039A5/ja
Application granted granted Critical
Publication of JP7081069B2 publication Critical patent/JP7081069B2/ja
Active legal-status Critical Current
Anticipated expiration legal-status Critical

Links

Images

Landscapes

  • Details Of Rigid Or Semi-Rigid Containers (AREA)
  • Medical Preparation Storing Or Oral Administration Devices (AREA)

Description

特許法第30条第2項適用 1. 田渕祐輔、小阪直史、四方敬介が、2018年1月20日付で、近畿薬剤師合同学術大会2018 プログラム及び講演要旨集において、出願に係る発明の内容を公開。2. 田渕祐輔、小阪直史、四方敬介が、2018年2月4日付で、近畿薬剤師合同学術大会2018において、出願に係る発明の内容を公開。
本発明は、薬剤容器用多層ラベルおよび薬剤容器に関する。
主に医療現場で使用されるバイアルやアンプルなどの薬剤用容器には、内容物を識別するためのラベルが貼付されている。
このようなラベルのうち、例えば、特許文献1には、信頼性が高い薬剤管理が可能となり、ラベルの取り扱いが容易で医療従事者の負担を減らすことができる薬剤管理用多層ラベルが開示されており、特許文献2には、医療現場において薬剤名などが印刷された部分を分離して、注射器や輸液装置などに貼付でき、かつラベル製造工程において全ての表示内容が検査可能な薬剤管理用ラベルが開示されている。
特開2002-006743号公報 特開2006-055392号公報
バイアルやアンプルなどの薬剤容器の胴部(側面)には、薬剤名、内容量、製造番号、使用期限、製薬会社名、バーコードなどの多くの情報が記載されたラベルが貼り付けられている。
ところで、薬剤容器に収納される薬剤のなかには、使用時に他の溶媒(溶解液)や薬剤と混合して使用する薬剤がある。このような薬剤としては、例えば、必要な成分を凍結、乾燥させ、粉末状にした凍結乾燥薬剤などが挙げられる。凍結乾燥薬剤は、容器内の薬剤に溶解液が添加されていないため、化学的に安定で、長期保存ができるなどのメリットがある。さらに、凍結乾燥薬剤の場合、各薬剤容器にそれに必要な少量の溶解液を付属させるよりも、大容量の溶解液を別途準備すれば、流通段階で溶解液を付属させることを省くことができるため、運搬コストや薬剤としてのコストが軽減され、患者の最終的な医療費負担が軽減されるメリットもある。
しかし、凍結乾燥薬剤のような、使用時に他の溶解液や薬剤と混合して医薬を調製する必要のある薬剤の場合、薬剤師や医師などの調剤者・医療従事者による薬剤ラベルの読み間違えなどによる、使用する溶解液の種類の取り違え、添加する溶解液等の量の間違いなど、調剤時の人為的ミス(調剤過誤)が生ずるおそれがある。
通常、バイアルやアンプルなどの薬剤容器は小型であり、その小型の容器に貼り付けされるラベルも小さく、情報を記載するスペースが限られているため、使用時に他の溶解液や薬剤と混合して医薬を調製するための情報は、文字が非常に小さくなったり、ラベルにその情報を記載するスペース自体がない場合もある。それにより、調剤時の人為的ミスが生ずるおそれが高くなってしまう。
そこで、本発明は、医薬を調製または投与する際の、調剤者・医療従事者による人為的ミスを防止し、調製の信頼性を高めることが可能な薬剤容器用ラベルと当該薬剤容器用ラベルを有する薬剤容器を提供することを目的とする。
本発明に係る薬剤容器用多層ラベルは、
上ラベル層と、当該上ラベル層の裏側に積層された下ラベル層とを含み、
前記上ラベル層は、その端部(第一端部)を含む一部が前記下ラベル層からめくることができるめくり可能部を有し、
前記上ラベル層は、前記めくり可能部とは異なる部分で、前記下ラベル層と固着しており、
前記上ラベル層の前記めくり可能部の裏側と前記下ラベル層の少なくとも一方に、医薬を調製又は投与するための情報が記載されている、薬剤容器用多層ラベルである。これにより、医薬を調製または投与する際の、調剤者・医療従事者による人為的ミスを防止し、調製の信頼性を高めることが可能である。
本発明に係る薬剤容器用多層ラベルは、前記上ラベル層の前記第一端部が、前記下ラベル層と粘着されていないつまみ部であることが好ましい。
本発明に係る薬剤容器用多層ラベルは、前記上ラベル層の前記第一端部の色と、前記第一端部と積層される前記下ラベル層の部分(下第一端部)の色が、異なることが好ましい。
本発明に係る薬剤容器は、上記いずれかに記載の薬剤容器用多層ラベルを有する、薬剤容器である。これにより、医薬を調製または投与する際の、調剤者・医療従事者による人為的ミスを防止し、調製の信頼性を高めることが可能である。
本発明によれば、医薬を調製または投与する際の、調剤者・医療従事者による人為的ミスを防止し、調製の信頼性を高めることが可能である。また、本発明によれば、医薬の調製または投与の前に上ラベル層をめくる操作を促す多層ラベル構造により、医薬の調製または投与の際の注意事項(併用禁止薬、副作用防止のための前処理薬)を調製または投与前に再確認させることができる。また、本発明によれば、処方作業の操作の動線上に、注意喚起情報を挿入することができる。
図1は、本発明に係る薬剤容器用多層ラベルの一例の平面図を示した模式図である。 図2は、図1の薬剤容器用多層ラベルの平面図を示した模式図である。 図3は、図1の薬剤容器用多層ラベルの側面図を示した模式図である。 図4は、本発明に係る薬剤容器用多層ラベルの一例のめくった状態の側面図を示した模式図である。 図5は、本発明に係る薬剤容器用多層ラベルの一例のめくった状態の平面図を示した模式図である。 図6は、本発明に係る薬剤容器用多層ラベルの他の一例のめくった状態の平面図を示した模式図である。 図7は、本発明に係る薬剤容器用多層ラベルの他の一例の平面図を示した模式図である。 図8は、本発明に係る薬剤容器用多層ラベルの他の一例の平面図を示した模式図である。 図9は、本発明に係る薬剤容器用多層ラベルの他の一例の側面図を示した模式図である。 図10は、本発明に係る薬剤容器用多層ラベルの他の一例の平面図を示した模式図である。 図11は、本発明に係る薬剤容器用多層ラベルの他の一例の平面図を示した模式図である。 図12は、本発明に係る薬剤容器の一例の斜視図を示した模式図である。 図13は、本発明に係る薬剤容器のめくり可能部11をめくった状態の一例の斜視図を示した模式図である。
以下、本発明の実施形態について説明する。これらの記載は、本発明の例示を目的とするものであり、本発明を何ら限定するものではない。
(薬剤容器用多層ラベル)
本発明に係る薬剤容器用多層ラベルは、
上ラベル層と、当該上ラベル層の裏側に積層された下ラベル層とを含み、
前記上ラベル層は、その端部(第一端部)を含む一部が前記下ラベル層からめくることができるめくり可能部を有し、
前記上ラベル層は、前記めくり可能部とは異なる部分で、前記下ラベル層と固着しており、
前記上ラベル層の前記めくり可能部の裏側と前記下ラベル層の少なくとも一方に、医薬を調製又は投与するための情報が記載されている、薬剤容器用多層ラベルである。これにより、医薬を調製または投与する際の、調剤者・医療従事者による人為的ミス(調剤・投与操作の前に、上ラベル層をめくる操作を挟ませることができる構造である。これにより操作上の誤認を防止する対策となる。)を防止し、調製の信頼性を高めることが可能である。
以下、図面を参照して本発明を例示説明するが、本発明の理解を優先しているため、図面の各構成の寸法は、実際の寸法と異なる場合がある。また、各図で同じ参照符号は、同じ構成を示している。また、各図面では、説明の理解を容易にするため、別段の記載がない限り、ラベルに記載される情報を省略している。
図1は、本発明に係る薬剤容器用多層ラベルの一例の平面図を示した模式図である。図1は、薬剤容器用多層ラベル1を上ラベル層10側から見た図である。図1では、薬剤容器用多層ラベル1の上ラベル層10は、第一端部を含む一部が下ラベル層20からめくることができるめくり可能部11を有し、めくり可能部11とは異なる部分(固着部)12で、下ラベル層20と固着している。
図2は、図1の薬剤容器用多層ラベルの平面図を示した模式図であり、上ラベル層10に通常記載される情報を示している。この図2に示すように、上ラベル層10では、記載される情報が多く、特に重要な情報以外の情報では、字が小さくなってしまうことがある。
図3は、図1の薬剤容器用多層ラベルの側面図を示した模式図である。図3では、薬剤容器用多層ラベル1の上ラベル層10とその裏側に積層された下ラベル層20が示されている。この図3は、上ラベル層10のめくり可能部11をめくる前の状態を示している。
図4は、本発明に係る薬剤容器用多層ラベルの一例のめくった状態の側面図を示した模式図である。図4では、薬剤容器用多層ラベル1の上ラベル層10のめくり可能部11をめくった後の状態を示している。
図5は、本発明に係る薬剤容器用多層ラベルの一例のめくった状態の平面図を示した模式図である。図5では、薬剤容器用多層ラベル1の上ラベル層10のめくり可能部11をめくった後に露出する下ラベル層20に記載された情報が読み取れる。この下ラベル層20には、医薬を調製または投与するための情報が記載され、この図5の例では、医薬を調製するための溶媒の種類(注射用水)と、溶媒の量(○○mL)が記載されている。図2と図5の平面図を参照すると、下ラベル層20に記載される調製に関する情報が大きく、読み取りやすいことが分かる。更に、直前操作である調剤操作に特化した情報であり、操作間違いを防止できる。
図6は、本発明に係る薬剤容器用多層ラベルの他の一例のめくった状態の平面図を示した模式図である。図6では、薬剤容器用多層ラベル1の上ラベル層10のめくり可能部11をめくった後に露出する下ラベル層20と、上ラベル層10の裏側の両方に記載された情報が読み取れる。
図7は、本発明に係る薬剤容器用多層ラベルの他の一例の平面図を示した模式図である。図7では、固着部12が、第一端部とは反対側の端部(第二端部)を含む部分に設けられている。これにより、めくり可能部11をめくった後の露出面が大きくなり、医薬調剤情報の記入面の最大化が図れる。
図8は、本発明に係る薬剤容器用多層ラベルの他の一例の平面図を示した模式図である。図8では、上ラベル層10は、第二端部側に、シール部30を有する。このシール部30を下ラベル層20から剥離して、注射器や輸液容器などの物品に貼り付ければ、調製後の医薬の情報などを当該物品に付与することができる。図8では、上ラベル層10のシール部30の情報のみを記載し、めくり可能部11と固着部12に記載の情報は省略している。
以下、本発明に係る薬剤容器用多層ラベルの各構成について例示説明する。
<上ラベル層>
本発明に係る薬剤容器用多層ラベルの上ラベル層10のおもて側は、通常の薬剤ラベルと同様の情報(例えば、薬剤名、内容量、製造番号、使用期限、製薬会社名、バーコードなど)を有するものとすることができる。
また、上ラベル層10のめくり可能部11の裏側には、例えば、図6に示したように、めくり可能部11をめくった後に情報が読み取れるように情報が記載されていてもよい。本発明では、上ラベル層10のめくり可能部11の裏側と下ラベル層20の少なくとも一方に、医薬を調製または投与するための情報が記載されている。
医薬を調製するための情報としては、例えば、図6に示したように、医薬を調製するための溶媒(溶解液)の種類(例えば、注射用水、生理食塩水など)、溶媒の量、使用又は混用禁忌の溶解液の種類、溶解操作の方法(振とう、超音波、等)、不溶物がなくなるまで混和すること、等の注意書き、使用器具、手順、温度などの情報などが挙げられる。医薬を投与するための情報としては、調製後の医薬の取扱いに関する情報、添付文書の「警告」「禁忌」記載事項であり、例えば、併用禁忌の薬剤に関する注意、副作用防止の前投与薬剤の必要性、患者の状態(血液検査、組織機能、過敏症等)などが挙げられる。
上ラベル層10は、通常の多層ラベルの上層の構成を採用することができる。例えば、上ラベル層10は、特許文献1、2のように、順におもて側から、印刷層、ラベル基材および粘着層などを備えるようにすればよく、任意に剥離層を設けてもよい。また、粘着層や剥離層の形状、大きさは適宜調節すればよい。
ここで、特許文献1にも薬剤容器に貼付する多層ラベルが開示されているが、この特許文献1の多層ラベルでは、おもて側の第一層ラベルを完全に剥離して、注射器やカルテに貼り付けることを意図しているため、第二層ラベルは、その上に積層される第一層ラベルと同一内容を含む情報が印刷されなければならない。これは、特許文献1の場合、同一内容の情報が第一層ラベルと第二層ラベルに記載されていないと、第一層ラベルを剥離した後に、薬剤容器の内容物などの第一層ラベルに印刷されていた情報が第二層ラベルに存在せず、薬剤容器と内容物の情報が不明になってしまうからである。また、特許文献1の多層ラベルでは、第二ラベル層に記載する情報として、医薬を調製または投与するための情報については開示がない。
これに対して、本発明の薬剤容器用多層ラベル1では、上ラベル層10は、固着部12によって下ラベル層20と固着しており、完全には剥離しない。そのため、上ラベル層10のめくり可能部11をめくった場合でも、上ラベル層10に記載された情報は、薬剤容器用多層ラベル1に存在するため、下ラベル層20に、上ラベル層10に記載された情報と同一の情報を記載しなくともよく、また、上ラベル層10の裏側も露出して読み取り可能となるため、上ラベル層10の裏側や下ラベル層20に医薬を調製する際の情報を記載することが可能となる。
上ラベル層10における固着部12は、第一端部を含むめくり可能部11とは異なる部分であればよく、その位置、形状、寸法は適宜調節すればよい。固着部12が上ラベル層10の端にあることが好ましい。固着部12は端部にあって、下ラベル層20の面積の50%以下であり、下ラベル層20面積の50%より大きい情報表示部が確保されていることが好ましい。
上ラベル層10が、シール部30を有する場合、そのシール部30の位置は、適宜調節すればよく、例えば、図8に示したように第二端部側に位置してもよいし、図示しないが、めくり可能部11の一部が、シール部30を有していてもよい(すなわち、めくり可能部11の一部が剥離して他の物品に貼り付けられるシールであってもよい)。
シール部30の形状は、適宜設定すればよく、例えば、矩形や、図8に示した矩形に加えて半円形のつまみを有する形状でもよいし、円形などの形状でもよい。また、つまみの突出する方向も、特に限定されず、図8に示したラベルの短手方向に突出していてもよいし、図示しないが、例えば、実用新案登録第3125906号公報の図1のように、第二端部側からラベルの長手方向に突出していてもよい。
シール部30は、例えば、図8に示したように、1つのみでもよいし、特開2011-013284号公報の図1のように、複数でもよい。
本発明に係る薬剤容器用多層ラベルは、図8のように、前記上ラベル層10の前記第一端部とは反対側の端部(第二端部)に、シール部30を有することが好ましい。この場合、めくり可能部11とシール部30との間に、固着部12が位置するため、シール部30を剥離した後も、めくり可能部11が固着部12によって下ラベル層20に固着されやすい。
図9は、本発明に係る薬剤容器用多層ラベルの他の一例の側面図を示した模式図である。図9では、薬剤容器用多層ラベル1の上ラベル層10は、その第一端部が下ラベル層20と粘着されていないつまみ部13を有する。この図9は、上ラベル層10のめくり可能部11をめくる前の状態を示している。
上ラベル層10の第一端部は、図9に示したように、第一端部が、下ラベル層20と粘着されていないつまみ部13であってもよいし、図3に示したように、第一端部が下ラベル層20に粘着されていてもよい。
本発明に係る薬剤容器用多層ラベルは、前記上ラベル層10の前記第一端部が、前記下ラベル層20と粘着されていないつまみ部であることが好ましい。このつまみ部を有することにより、上ラベル層10のめくり可能部11をめくりやすくなる。
本発明に係る薬剤容器用多層ラベルは、前記上ラベル層10の前記第一端部の色と、前記第一端部と積層される前記下ラベル層20の部分(下第一端部)の色が、異なることが好ましい。これにより、上ラベル層10の第一端部が目立ち、上ラベル層10と下ラベル層20の存在がより認識されやすくなる。
上ラベル層10と下ラベル層20は、寸法、形状、色がそれぞれ、同一であってもよいし、異なっていてもよい。
図10は、本発明に係る薬剤容器用多層ラベルの他の一例の平面図を示した模式図である。この例では、上ラベル層10と下ラベル層20は、形状が共に矩形状であるが、上ラベル層10は、下ラベル層20に比べて長手方向にやや短く、上面から見ると、下ラベル層20の下第一端部側が露出している。さらに、上ラベル層10の第一端部と下ラベル層20の下第一端部の色が異なる。これらにより、下ラベル層20の存在がより認識されやすくなる。
図示しないが、図10とは逆に、上ラベル層10の長手方向の長さが、下ラベル層20の長手方向の長さに比べてやや長くてもよい。この場合、上ラベル層10のはみ出した部分はつまみ部となる。
図11は、本発明に係る薬剤容器用多層ラベルの他の一例の平面図を示した模式図である。この例では、上ラベル層10は、下ラベル層20と長手方向の長さは同じであるが、上ラベル層10の第一端部側の2つの角が丸く、上面から見ると、下ラベル層20の下第一端部側が露出している。また、図10と同様に、上ラベル層10の第一端部と下ラベル層20の下第一端部の色が異なる。これらにより、下ラベル層20の存在がより認識されやすくなる。
図示しないが、図11とは逆に、上ラベル層10が矩形状で、下ラベル層20がその下第一端部側の2つの角が丸い形状を有するものであってもよい。これにより、上ラベル層10の第一端部側の角をつかみやすくなる。
めくり可能部11を有する上ラベル層10は、1層であってもよいし、2層以上であってもよい。
<下ラベル層>
本発明に係る薬剤容器用多層ラベルでは、上述したように、上ラベル層10のめくり可能部11の裏側と下ラベル層20の少なくとも一方に、医薬を調製または投与するための情報が記載されている。この他、上ラベル層10のめくり可能部11の裏側に、当該情報が記載される場合、下ラベル層20には、当該情報以外の情報、例えば、薬剤名などが記載されていてもよい。
下ラベル層20は、通常の多層ラベルの下層の構成を採用することができる。例えば、下ラベル層20は、特許文献1、2のように、順におもて側から、印刷層、ラベル基材および粘着層などを備えるようにすればよく、任意に剥離層を設けてもよい。また、粘着層や剥離層の形状、大きさは適宜調節すればよい。一例では、上ラベル層10のめくり可能部11と、下ラベル層20の当該めくり可能部11に対応する部分には、粘着層および剥離層が配置されて、剥離してめくる構造であることが好ましい。
下ラベル層20は、上ラベル層10をめくった後に露出する部分の一部に、上述したようなシール部30を有してもよい。
本発明に係る薬剤容器用多層ラベルの長手方向の長さは、貼り付け対象の薬剤容器に応じて適宜調節すればよく、薬剤容器の胴部の外周と同じ長さでもよいし、短くてもよいし、長くてもよい。薬剤容器用多層ラベルの長手方向の長さは、薬剤容器の中が見えるように、胴部の外周の長さよりも短いことが好ましい。
(薬剤容器)
本発明に係る薬剤容器は、上記いずれかに記載の薬剤容器用多層ラベルを有する、薬剤容器である。これにより、医薬を調製または投与する際の、調剤者・医療従事者による人為的ミスを防止し、調製の信頼性を高めることが可能である。
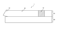
図12は、本発明に係る薬剤容器の一例の斜視図を示した模式図である。この例では、薬剤容器2の胴部に薬剤容器用多層ラベル1が上ラベル層10側をおもて側にして貼り付けられている。また、この例では、図9に示したように、薬剤容器用多層ラベル1の上ラベル層10は、その第一端部が下ラベル層20と粘着されていないつまみ部13を有する。
図13は、本発明に係る薬剤容器のめくり可能部11をめくった状態の一例の斜視図を示した模式図である。また、同じ薬剤容器2が複数ある場合、めくり可能部11をめくった状態の薬剤容器2と、めくっていない状態の薬剤容器2(例えば図12の薬剤容器2)とは、容易に区別可能であるため、作業中であれば、調製や投与に用いる薬剤容器2(めくり可能部11をめくった状態の薬剤容器2)を特定し易く、また、使用後であれば、使用済みの薬剤容器2を特定し易い効果がある。
本発明に係る薬剤容器は、本発明に係る薬剤容器用多層ラベル1を有すればよく、図12、13に示したように、その容器本体の胴部に有していてもよいし、容器の首部または肩部に有していてもよいし、容器のキャップの側面(胴部)に有していてもよい。本発明に係る薬剤容器は、本発明に係る薬剤容器用多層ラベルをその容器本体の胴部に有していることが好ましい。
薬剤容器2としては、その薬剤容器を用いて、上述したように、医薬を調製または投与するものであればよく、公知のものを適宜選択することができる。例えば、バイアル、アンプル、輸液容器、注射器などが挙げられる。ここで、医薬の投与には、薬剤容器2から液剤(液体状の薬剤)を抜き取るだけの場合も含まれる。抜き取った液剤は、患者に直接投与してもよいし、点滴用などの輸液容器内に移して、輸液容器内の希釈液などと混合した後、患者に投与してもよい。
薬剤容器用多層ラベル1を有する薬剤容器2に充填されている薬剤は、例えば、凍結乾燥製剤、液剤などが挙げられる。
本発明によれば、医薬を調製または投与する際の、調剤者・医療従事者による人為的ミスを防止し、調製の信頼性を高めることが可能である。
1:薬剤容器用多層ラベル
2:薬剤容器
10:上ラベル層
11:めくり可能部
12:固着部
13:つまみ部
20:下ラベル層
30:シール部

Claims (4)

  1. 薬剤容器用多層ラベルであって、
    前記薬剤容器用多層ラベルは、上ラベル層と、当該上ラベル層の裏側に積層された下ラベル層とを含み、
    前記上ラベル層は、その第一端部を含む一部が前記下ラベル層からめくることができるめくり可能部を有し、
    前記上ラベル層は、前記めくり可能部とは異なる部分で、前記下ラベル層と固着しており、
    前記上ラベル層の前記めくり可能部の裏側と前記下ラベル層の少なくとも一方に、医薬を調製又は投与するための情報が記載されており、
    前記医薬を調製するための情報は、医薬を調製するための溶媒の種類、溶媒の量、使用又は混用禁忌の溶解液の種類、及び溶解操作の方法からなる群から選ばれる少なくとも一つであり、
    前記医薬を投与するための情報は、調製後の医薬の取扱いに関する情報、及び添付文書の「警告」「禁忌」記載事項からなる群から選ばれる少なくとも一つであり、
    前記薬剤容器用多層ラベルの前記上ラベル層のおもて側には、薬剤名、内容量、製造番号、使用期限、製薬会社名、及びバーコードからなる群から選ばれる少なくとも一つが記載されている、薬剤容器用多層ラベル。
  2. 前記上ラベル層の前記第一端部が、前記下ラベル層と粘着されていないつまみ部である、請求項1に記載の薬剤容器用多層ラベル。
  3. 前記上ラベル層の前記第一端部の色と、前記第一端部と積層される前記下ラベル層の下第一端部の色が、異なる、請求項1または2に記載の薬剤容器用多層ラベル。
  4. 請求項1~3のいずれか一項に記載の薬剤容器用多層ラベルを有する、薬剤容器。
JP2018068764A 2018-03-30 2018-03-30 薬剤容器用多層ラベルおよび薬剤容器 Active JP7081069B2 (ja)

Priority Applications (1)

Application Number Priority Date Filing Date Title
JP2018068764A JP7081069B2 (ja) 2018-03-30 2018-03-30 薬剤容器用多層ラベルおよび薬剤容器

Applications Claiming Priority (1)

Application Number Priority Date Filing Date Title
JP2018068764A JP7081069B2 (ja) 2018-03-30 2018-03-30 薬剤容器用多層ラベルおよび薬剤容器

Publications (3)

Publication Number Publication Date
JP2019177039A JP2019177039A (ja) 2019-10-17
JP2019177039A5 JP2019177039A5 (ja) 2021-04-01
JP7081069B2 true JP7081069B2 (ja) 2022-06-07

Family

ID=68276875

Family Applications (1)

Application Number Title Priority Date Filing Date
JP2018068764A Active JP7081069B2 (ja) 2018-03-30 2018-03-30 薬剤容器用多層ラベルおよび薬剤容器

Country Status (1)

Country Link
JP (1) JP7081069B2 (ja)

Families Citing this family (6)

* Cited by examiner, † Cited by third party
Publication number Priority date Publication date Assignee Title
CA3117023A1 (en) * 2020-05-15 2021-11-15 The Procter & Gamble Company Product containing dissolvable solid article
JP1698881S (ja) 2020-05-15 2021-11-08
GB2601578A (en) 2020-05-15 2022-06-08 Procter & Gamble Refillable product containing dissolvable solid article
EP4210492A1 (en) 2020-09-10 2023-07-19 The Procter & Gamble Company Dissolvable solid article containing anti-bacterial actives
WO2022159368A1 (en) 2021-01-21 2022-07-28 The Procter & Gamble Company Dissolvable solid article containing preservatives
WO2023023210A1 (en) 2021-08-20 2023-02-23 The Procter & Gamble Company Dissolvable solid article containing silicone

Citations (6)

* Cited by examiner, † Cited by third party
Publication number Priority date Publication date Assignee Title
JP2003108002A (ja) 2001-10-01 2003-04-11 Torii Yakuhin Kk 薬剤管理用多層ラベル
JP3114868U (ja) 2005-07-15 2005-10-27 株式会社タカラ 球体発射玩具
JP3127448U (ja) 2006-09-21 2006-11-30 武田薬品工業株式会社 包装容器用複合表示ラベル及びそれを貼付した円筒状包装容器
JP3141505U (ja) 2008-02-22 2008-05-08 株式会社岩田レーベル ラベル付き薬品容器
JP2009244475A (ja) 2008-03-31 2009-10-22 Sato Knowledge & Intellectual Property Institute 薬剤ラベル
JP3185825U (ja) 2013-06-24 2013-09-05 株式会社 ヨネヤマシール印刷 多層ラベル

Family Cites Families (1)

* Cited by examiner, † Cited by third party
Publication number Priority date Publication date Assignee Title
JP2570498Y2 (ja) * 1990-03-07 1998-05-06 株式会社 フジシール 容器用の熱収縮性多重ラベル

Patent Citations (6)

* Cited by examiner, † Cited by third party
Publication number Priority date Publication date Assignee Title
JP2003108002A (ja) 2001-10-01 2003-04-11 Torii Yakuhin Kk 薬剤管理用多層ラベル
JP3114868U (ja) 2005-07-15 2005-10-27 株式会社タカラ 球体発射玩具
JP3127448U (ja) 2006-09-21 2006-11-30 武田薬品工業株式会社 包装容器用複合表示ラベル及びそれを貼付した円筒状包装容器
JP3141505U (ja) 2008-02-22 2008-05-08 株式会社岩田レーベル ラベル付き薬品容器
JP2009244475A (ja) 2008-03-31 2009-10-22 Sato Knowledge & Intellectual Property Institute 薬剤ラベル
JP3185825U (ja) 2013-06-24 2013-09-05 株式会社 ヨネヤマシール印刷 多層ラベル

Also Published As

Publication number Publication date
JP2019177039A (ja) 2019-10-17

Similar Documents

Publication Publication Date Title
JP7081069B2 (ja) 薬剤容器用多層ラベルおよび薬剤容器
KR101274761B1 (ko) 이전 가능형 라벨을 이용한 약품 관리 시스템 및 방법
US7458177B2 (en) Medication marking system
US7225598B2 (en) Alert medication safety seal system and method
US9271896B2 (en) Apparatus for weight based single doses of medication
US20120292219A1 (en) Top loading fluid vial housing
US20050110268A1 (en) Personalized medication card
JP2003108002A (ja) 薬剤管理用多層ラベル
Grissinger Oral syringes: making better use of a crucial and economical risk-reduction strategy
JP3836308B2 (ja) 医薬品の包装体
Cohen The role of drug packaging and labeling in medication errors
US20120078819A1 (en) Method of standardization of injectalbe medicines and their diluents
CN107405451A (zh) 注射器
JP2019177040A (ja) 薬剤充填バイアル
US20160101018A1 (en) Medicinal storage, safety, organizational and delivery device
CN220744013U (zh) 一种药品透皮贴回收卡片
JP2002128036A (ja) 多層ラベル
JP3060146U (ja) 薬剤識別ラベル
CN2920234Y (zh) 用于药品调剂的分装盒
Jensen et al. Labelling in perioperative areas-an evolving process
Cohen et al. ISMP Medication Error Report Analysis.
Copy ASHP technical assistance bulletin on single unit and unit dose packages of drugs
Cohen Prevent Mix-ups between Vaccines and Neuromuscular Blockers; Confusing Haemophilus b Conjugate Vaccine with Influenza Vaccine; Proliferation of Insulin Combination Products Increases Opportunity for Errors
JP2003000680A (ja) 投薬管理票
JPS62109754A (ja) 薬袋

Legal Events

Date Code Title Description
A80 Written request to apply exceptions to lack of novelty of invention

Free format text: JAPANESE INTERMEDIATE CODE: A80

Effective date: 20180424

A521 Request for written amendment filed

Free format text: JAPANESE INTERMEDIATE CODE: A523

Effective date: 20210215

A621 Written request for application examination

Free format text: JAPANESE INTERMEDIATE CODE: A621

Effective date: 20210215

A131 Notification of reasons for refusal

Free format text: JAPANESE INTERMEDIATE CODE: A131

Effective date: 20210831

A521 Request for written amendment filed

Free format text: JAPANESE INTERMEDIATE CODE: A523

Effective date: 20211022

A131 Notification of reasons for refusal

Free format text: JAPANESE INTERMEDIATE CODE: A131

Effective date: 20220208

A521 Request for written amendment filed

Free format text: JAPANESE INTERMEDIATE CODE: A523

Effective date: 20220318

TRDD Decision of grant or rejection written
A01 Written decision to grant a patent or to grant a registration (utility model)

Free format text: JAPANESE INTERMEDIATE CODE: A01

Effective date: 20220412

A61 First payment of annual fees (during grant procedure)

Free format text: JAPANESE INTERMEDIATE CODE: A61

Effective date: 20220502

R150 Certificate of patent or registration of utility model

Ref document number: 7081069

Country of ref document: JP

Free format text: JAPANESE INTERMEDIATE CODE: R150

R157 Certificate of patent or utility model (correction)

Free format text: JAPANESE INTERMEDIATE CODE: R157

R250 Receipt of annual fees

Free format text: JAPANESE INTERMEDIATE CODE: R250