JP6996449B2 - 通信装置および通信方法 - Google Patents

通信装置および通信方法 Download PDF

Info

Publication number
JP6996449B2
JP6996449B2 JP2018152531A JP2018152531A JP6996449B2 JP 6996449 B2 JP6996449 B2 JP 6996449B2 JP 2018152531 A JP2018152531 A JP 2018152531A JP 2018152531 A JP2018152531 A JP 2018152531A JP 6996449 B2 JP6996449 B2 JP 6996449B2
Authority
JP
Japan
Prior art keywords
slice
information
communication device
slg
slice information
Prior art date
Legal status (The legal status is an assumption and is not a legal conclusion. Google has not performed a legal analysis and makes no representation as to the accuracy of the status listed.)
Active
Application number
JP2018152531A
Other languages
English (en)
Other versions
JP2020028050A (ja
Inventor
亜希 福岡
幸司 杉園
Current Assignee (The listed assignees may be inaccurate. Google has not performed a legal analysis and makes no representation or warranty as to the accuracy of the list.)
NTT Inc
NTT Inc USA
Original Assignee
Nippon Telegraph and Telephone Corp
NTT Inc USA
Priority date (The priority date is an assumption and is not a legal conclusion. Google has not performed a legal analysis and makes no representation as to the accuracy of the date listed.)
Filing date
Publication date
Application filed by Nippon Telegraph and Telephone Corp, NTT Inc USA filed Critical Nippon Telegraph and Telephone Corp
Priority to JP2018152531A priority Critical patent/JP6996449B2/ja
Priority to US17/267,760 priority patent/US20210194790A1/en
Priority to PCT/JP2019/030978 priority patent/WO2020036098A1/ja
Publication of JP2020028050A publication Critical patent/JP2020028050A/ja
Application granted granted Critical
Publication of JP6996449B2 publication Critical patent/JP6996449B2/ja
Active legal-status Critical Current
Anticipated expiration legal-status Critical

Links

Images

Classifications

    • HELECTRICITY
    • H04ELECTRIC COMMUNICATION TECHNIQUE
    • H04LTRANSMISSION OF DIGITAL INFORMATION, e.g. TELEGRAPHIC COMMUNICATION
    • H04L12/00Data switching networks
    • H04L12/28Data switching networks characterised by path configuration, e.g. LAN [Local Area Networks] or WAN [Wide Area Networks]
    • H04L12/2854Wide area networks, e.g. public data networks
    • H04L12/2856Access arrangements, e.g. Internet access
    • HELECTRICITY
    • H04ELECTRIC COMMUNICATION TECHNIQUE
    • H04LTRANSMISSION OF DIGITAL INFORMATION, e.g. TELEGRAPHIC COMMUNICATION
    • H04L12/00Data switching networks
    • H04L12/28Data switching networks characterised by path configuration, e.g. LAN [Local Area Networks] or WAN [Wide Area Networks]
    • H04L12/46Interconnection of networks
    • H04L12/4641Virtual LANs, VLANs, e.g. virtual private networks [VPN]
    • HELECTRICITY
    • H04ELECTRIC COMMUNICATION TECHNIQUE
    • H04LTRANSMISSION OF DIGITAL INFORMATION, e.g. TELEGRAPHIC COMMUNICATION
    • H04L41/00Arrangements for maintenance, administration or management of data switching networks, e.g. of packet switching networks
    • H04L41/12Discovery or management of network topologies
    • H04L41/122Discovery or management of network topologies of virtualised topologies, e.g. software-defined networks [SDN] or network function virtualisation [NFV]
    • HELECTRICITY
    • H04ELECTRIC COMMUNICATION TECHNIQUE
    • H04LTRANSMISSION OF DIGITAL INFORMATION, e.g. TELEGRAPHIC COMMUNICATION
    • H04L41/00Arrangements for maintenance, administration or management of data switching networks, e.g. of packet switching networks
    • H04L41/40Arrangements for maintenance, administration or management of data switching networks, e.g. of packet switching networks using virtualisation of network functions or resources, e.g. SDN or NFV entities
    • HELECTRICITY
    • H04ELECTRIC COMMUNICATION TECHNIQUE
    • H04LTRANSMISSION OF DIGITAL INFORMATION, e.g. TELEGRAPHIC COMMUNICATION
    • H04L41/00Arrangements for maintenance, administration or management of data switching networks, e.g. of packet switching networks
    • H04L41/50Network service management, e.g. ensuring proper service fulfilment according to agreements
    • H04L41/5041Network service management, e.g. ensuring proper service fulfilment according to agreements characterised by the time relationship between creation and deployment of a service
    • H04L41/5051Service on demand, e.g. definition and deployment of services in real time
    • HELECTRICITY
    • H04ELECTRIC COMMUNICATION TECHNIQUE
    • H04LTRANSMISSION OF DIGITAL INFORMATION, e.g. TELEGRAPHIC COMMUNICATION
    • H04L45/00Routing or path finding of packets in data switching networks
    • H04L45/02Topology update or discovery
    • H04L45/021Ensuring consistency of routing table updates, e.g. by using epoch numbers

Landscapes

  • Engineering & Computer Science (AREA)
  • Computer Networks & Wireless Communication (AREA)
  • Signal Processing (AREA)
  • Computer Security & Cryptography (AREA)
  • Data Exchanges In Wide-Area Networks (AREA)

Description

本発明は、通信装置および通信方法に関する。
トラヒック、モビリティ、容量、ユーザ数、あるいは遅延時間等の多様なサービス要件に対応したネットワークサービスを提供するため、ネットワークスライス(以下、スライスとも記す。)と呼ばれる技術が提案されている(非特許文献1参照)。ネットワークスライスとは、共通的なネットワークインフラから、要件に応じた複数の論理ネットワークを切り出して、独立した管理を行う技術である。
従来、ネットワークスライスは、オーケストレーションと呼ばれる制御装置の制御により実現されている。
有田 真也、西原 英臣、奥川 徹、"ネットワークスライスに対応したテレメトリ方式の検討"、信学技報 vol.118 no.6 NS2018-3、2018年4月、pp.13-17
しかしながら、オーケストレーションを設置すると、複数のネットワークスライスを構成する全装置がオーケストレーションから制御される必要があり、全装置とオーケストレーションとのリンクが必要となる。オーケストレーション設置の費用は、大規模なシステムでは按分されるので影響が小さいが、中規模以下のシステムではシステム全体のコストに対する割合が高くなり影響が大きい。また、オーケストレーションの故障時の離礁範囲が大きい。
本発明は、上記に鑑みてなされたものであって、オーケストレーションを設置することなく、共通的なネットワークインフラから、要件に応じた複数の論理ネットワークを切り出して、独立した管理を行えるネットワークスライスを構築することを目的とする。
上述した課題を解決し、目的を達成するために、本発明に係る通信装置は、所定の要件を満たす論理ネットワークであるネットワークスライスごとに配置され、該ネットワークスライスと、ユーザ端末が接続する仮想CPEまたは他のネットワークスライスとを接続する通信装置であって、自装置が属するネットワークスライスの情報であるスライス情報と、他の通信装置のスライス情報を集約したテーブルとを記憶する記憶部と、隣接する通信装置から他の通信装置のスライス情報を受信した場合に、該スライス情報を用いて前記テーブルを更新するテーブル作成部と、受信した前記スライス情報に自装置のスライス情報を付加して、隣接する他の通信装置に送信する送信部と、を備えることを特徴とする。
本発明によれば、オーケストレーションを設置することなく、共通的なネットワークインフラから、要件に応じた複数の論理ネットワークを切り出して、独立した管理を行えるネットワークスライスを構築することができる。
図1は、ネットワークスライスを説明するための説明図である。 図2は、本実施形態に係る通信装置を含むシステムの構成を例示する模式図である。 図3は、通信装置の概略構成を例示する模式図である。 図4は、スライス情報のデータ構成を例示する図である。 図5は、テーブルのデータ構成を例示する図である。 図6は、通信装置の処理を説明するための説明図である。 図7は、通信処理手順を例示するフローチャートである。 図8は、通信処理手順を例示するフローチャートである。 図9は、通信プログラムを実行するコンピュータの一例を示す図である。
以下、図面を参照して、本発明の実施形態を詳細に説明する。なお、この実施形態により本発明が限定されるものではない。また、図面の記載において、同一部分には同一の符号を付して示している。
[ネットワークスライス]
まず、図1は、ネットワークスライスを説明するための説明図である。ネットワークスライスは、物理ネットワークインフラから、要件に応じた複数の論理ネットワークを切り出して、独立した管理を行う技術である。
例えば、図1に示すように、自動車等の遠隔操縦のためのネットワークスライスとして、遅延10ms以下、帯域10Mbps/セッション保障等の要件を満たす超低遅延ネットワークが切り出される。また、IoT(Internet of Things)や機器間(M2M、Machine to Machine)接続のためのネットワークスライスとして、遅延・帯域はベストエフォート(BE)、かつセキュリティ機能を要件として満たすIoT/M2M用ネットワークが切り出される。また、ゲームや動画視聴のためのネットワークスライスとして、遅延はベストエフォート、帯域1Gbps/セッション保証等の要件を満たす大容量ネットワークが切り出される。
次に、図2は、本実施形態に係る通信装置を含むシステムの構成を例示する模式図である。図2に示すように、ユーザ端末1は、仮想化基盤上で実現されたCPE(Customer Premises Equipment)であるvCPE(仮想CPE)2に対して、接続を要求する。
vCPE2は、OSS(Operation Support System)やBSS(Business Support System)の認証サーバ3から、ユーザのSLA(Service Level Agreement)情報や必要なNFV(Network Functions Virtualization)情報等のユーザの要件を取得する。そして、vCPE2は、ユーザの要件に応じたスライス4に、ユーザ端末1のトラヒックを転送する。
各スライス4には、SLG(Slice Gateway、スライスゲートウェイ)10が配置され、このSLG10が、vCPE2とスライス4、あるいはスライス4間を接続する。
本実施形態の通信装置は、SLG10に実装される。SLG10は、所定の要件を満たすスライス4ごとに配置され、このスライス4と、vCPE2または他のスライス4とを接続する。また、SLG10は、後述する通信処理により、自律的にスライス4間を接続して、ユーザの要件に応じたスライス4に、ユーザ端末1のトラヒックを転送する。
[SLGの構成]
次に、図3は、本実施形態の通信装置の概略構成を例示する模式図である。図3に示すように、本実施形態に係る通信装置であるSLG10は、CPU(Central Processing Unit)やNP(Network Processor)やFPGA(Field Programmable Gate Array)等で実現された物理リソース上に、仮想化して構築される。
SLG10は、メモリに記憶された処理プログラムを実行することにより、図3に例示するように、SLG(VNF(Virtual Network Function))と、これに対応するSLG管理部(EM(Element Manager))、スライス振分機能等(VNF)と、これに対応する振り分け機能等管理部(EM)として機能する。
ここで、SLG(VNF)は、ゲートウェイとして、自装置が属するスライス4と、vCPE2または他のスライス4とを接続する。また、スライス振分機能部(VNF)は、ユーザの要件に応じたスライス4に、ユーザ端末1のトラヒックを転送する。
また、SLG10は、テーブル作成部11a、SLG情報送信部11b、トポロジ作成部11c、スライス選定部11d、スライス情報管理部11e、スライス故障管理部11f、スライス測定部11gおよびタグ管理部11hとして機能する。
また、SLG10は、RAM、フラッシュメモリ等の半導体メモリ素子上に構築された記憶部を備え、SLG情報12a、SLGテーブル12bおよびトポロジマップ12cを記憶する。
ここで、図4は、スライス情報のデータ構成を例示する図である。スライス情報すなわちSLG情報12aとは、SLG10が属するスライス4の情報である。例えば、図4に例示するように、SLG情報12aは、SLG-ID、全保有帯域、残帯域、メモリ、CPU等を含む。SLG-IDは、SLG10を識別する情報である。全保有帯域は、SLG10の配下の全装置の通信帯域の合計を表す。残帯域は、全保有帯域と配下の装置の使用中の帯域(使用帯域)との差を表す。メモリ、CPUは、配下の装置の性能を表す。
また、SLG情報12aは、NFVを含む。NFVは、SLG10が属するスライス4が保有する能力を表す。NFVとしては、例えば、DPI(Deep Packet Inspection)、AI、IoTサーバ制御、オプティマイズ、トランスコーディング等が例示される。
後述するスライス情報管理部11eが、定期的に、配下の装置の情報を収集しSLG情報12aとして管理する。
図5は、テーブルのデータ構成を例示する図である。テーブルすなわちSLGテーブル12bは、図5に示すように、各SLG10のSLG情報12aが集約されたものである。後述するように、テーブル作成部11aが、定期的に、SLGテーブル12bを更新する処理を行って、最新の状態を保持している。
図3の説明に戻る。テーブル作成部11aは、隣接するSLG10から他のSLG10のSLG情報12aを受信した場合に、該SLG情報12aを用いてSLGテーブル12bを更新する。
また、SLG情報送信部11bは、送信部として機能する。すなわち、SLG情報送信部11bは、受信したSLG情報12aに自装置のSLG情報12aを付加して、隣接する他のSLG10に送信する。
具体的には、SLG情報送信部11bは、隣接するSLG10から、複数のSLG情報12aを受信した場合に、受信したSLG情報12aの最後尾等に自装置のSLG情報12aを付加して、隣接する他のSLG10に転送する。また、テーブル作成部11aは、隣接するSLG10から受信した複数のSLG情報12aを用いて、SLGテーブル12bを更新する。これにより、各SLG10は、隣接するSLG10を介して接続する全てのSLG10のSLG情報12aを集約して、SLGテーブル12bとして管理することができる。
トポロジ作成部11cは、受信したSLG情報12aを用いて、他のSLG10との位置関係を表すトポロジマップ12cを作成する。すなわち、トポロジ作成部11cは、受信した複数のSLG情報12aにより、例えば、数リンク先に存在するSLG10とそのSLG情報12aとがわかる。これにより、トポロジ作成部11cは、例えば、自装置を中心とした他のSLG10との位置関係を表すトポロジマップ12cを作成する。
なお、SLG情報12aがNFVの情報を含む場合には、SLG10は、SLG情報12aとトポロジマップ12cとを用いて、NFVの所在を表すNFVマップを作成することができる。
スライス選定部11dは、選定部として機能する。すなわち、スライス選定部11dは、vCPE2からユーザ端末1の接続の要求を受信した場合に、SLGテーブル12bおよびトポロジマップ12cを用いて、ユーザの要件に応じた宛先のSLG10を選定する。
また、スライス選定部11dは、SLG情報12aがNFVの情報を含む場合には、ユーザの要件に含まれるNFVに応じて、宛先のSLG10を選定する。
また、スライス選定部11dは、SLGテーブル12bに宛先に該当するSLG10のSLG情報がない場合に、新規のSLG10を選定してリソース確保の要求を送信する。そして、スライス選定部11dは、該新規のSLG10への要求を中継するSLG10を介して、該SLG10のSLG情報12aが付加された、要求に対する応答を受信する。中継するSLG10は複数でもよい。
この場合に、テーブル作成部11aは、受信した各SLG10のSLG情報12aを用いてSLGテーブル12bを更新する。これにより、SLG10は、ユーザ端末1の通信の際にも、SLGテーブル12bを更新することが可能である。
なお、スライス選定部11dは、SLG10を選定する際に、スライス情報管理部11e、スライス故障管理部11f、およびスライス測定部11gから取得した情報を参照する。
スライス情報管理部11eは、自装置の配下の通信可能な全装置の情報を定期的に取得して、SLG情報12aとして管理する。スライス故障管理部11fは、自装置の配下の全装置に関する故障情報を管理する。例えば、スライス故障管理部11fは、故障情報を取得して、他のSLG10に通知する。
スライス測定部11gは、他のスライス4の状態を測定する。例えば、スライス測定部11gは、新規のスライス4にパケットを送信して返送に要する時間を測定し、遅延情報等を取得する。
タグ管理部11hは、スライス選定部11dが選定したSLG10に宛てて送信するパケットに、ユーザの要件を表すタグを付与する。例えば、タグ管理部11hは、SLA情報の値であるSLIに関するタグを付与する。
ここで、図6は、通信装置の処理を説明するための説明図である。図6には、vCPE2から受信した接続要求の宛先に該当するSLG10のSLG情報が、SLGテーブル12bにない場合について例示されている。
まず、vCPE2は、ユーザ端末1の接続要求を受信した場合に(ステップS1)、認証サーバ3に問い合わせ、ユーザに関するSLA情報や必要なNFV情報を取得して(ステップS2)、ユーザの要件を確認する。そして、vCPE2は、ユーザの要件に応じたスライス4の確保を要求するメッセージをSLG10に送信する(ステップS3)。
vCPE2からスライス4の確保の要求を受信したSLG10では、スライス選定部11dが、SLGテーブル12bを参照し、宛先のSLG10を選定する。ユーザの要件にNFVが含まれる場合には、NFVに応じたSLG10を宛先として選定する。
SLGテーブル12bに宛先に該当するSLG10のSLG情報がない場合、スライス選定部11dは、スライス情報管理部11e、スライス故障管理部11f、およびスライス測定部11gから取得した情報を参照して、新規のSLG10を宛先として選定する(ステップS4)。
SLG10は、新規の宛先SLGに対して、中継SLGを介してリソース確保の要求を送信する。SLG10は、ユーザの要件にNFVが含まれる場合には、NFV確保の要求を送信する(ステップS5)。
宛先SLGは、スライス確保を完了した場合に(ステップS6)、中継SLGに確保完了のメッセージを送信する(ステップS7)。宛先SLGは、NFV確保を要求された場合には、NFV確保を完了した際に、中継SLGに確保完了のメッセージを送信する。
確保完了のメッセージを受信した中継SLGは、要求元のSLG10に宛てて確保完了のメッセージを送信する。その際に、中継SLGは、自装置のSLG情報12aを付加する(ステップS8)。
確保完了のメッセージを受信した要求元のSLG10は、vCPE2に確保完了のメッセージを送信する(ステップS9)。また、要求元のSLG10は、受信した中継SLGのSLG情報12aを用いて、SLGテーブル12bを更新する。このように、各SLG10は、ユーザ端末1の通信の際にもSLGテーブル12bを更新することができる。
その後、vCPE2がSLG10に送信したユーザ端末1のトラヒックが、中継SLGを経由して宛先SLGに送信される(ステップS10)。なお、中継SLGは1台に限定されず、複数台あってもよい。
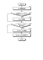
[通信処理]
次に、図7および図8は、通信処理手順を例示するフローチャートである。図7は、ユーザ端末1の通信に先立って、予めSLGテーブル12bを作成する通信処理手順を示す。図7に示すフローチャートは、例えば、所定の間隔で定期的に、あるいは、オペレータが指示したタイミングで開始される。
まず、テーブル作成部11aが、隣接するSLG10から他のSLG10のSLG情報12aを受信した場合に(ステップS11)、該SLG情報12aのSLG-IDが、SLGテーブル12bに登録されているか否かを確認する(ステップS12)。登録されていない場合には(ステップS12,No)、テーブル作成部11aは、このSLG-IDの該SLG情報12aを、SLGテーブル12bに登録する(ステップS13)。
一方、登録されている場合には(ステップS12,Yes)、テーブル作成部11aは、SLGテーブル12bのSLG情報との差分があるかないかを確認する(ステップS14)。差分がある場合には(ステップS14,Yes)、テーブル作成部11aは、受信したSLG情報12aを用いてSLGテーブル12bを更新する(ステップS15)。
一方、差分がない場合には(ステップS14,No)、テーブル作成部11aは、SLGテーブル12bの作成を完了する(ステップS16)。
このように、各SLG10は、隣接するSLG10を介して接続する全てのSLG10のSLG情報12aを集約して、SLGテーブル12bとして管理する。これにより、SLGテーブル12bを最新の状態に保持している。
また、図8は、ユーザ端末1の通信開始時にSLGテーブル12bを更新する通信処理手順を示す。図8に示すフローチャートは、ユーザ端末1の接続要求をvCPE2が受信したタイミングで開始される。
SLG10が、vCPE2からユーザの要件を含むスライス4確保の要求を受信した場合に(ステップS21)、スライス選定部11dが、宛先がSLGテーブル12bに登録済みの既存のスライス4か否かを確認する(ステップS22)。宛先がSLGテーブル12bに登録済みの場合には(ステップS22、Yes)、スライス選定部11dは、隣接するSLG10へ、ユーザ端末1のトラヒックを送信する(ステップS26)。
一方、宛先がSLGテーブル12bに登録されていない場合には(ステップS22、No)、スライス選定部11dは、ユーザの要件に応じたNFVを選定し(ステップS23)、SLIに応じたSLG10を宛先SLGとして選定する(ステップS24)。
また、テーブル作成部11aは、宛先SLGへの要求を中継する中継SLGが、応答を中継する際に付加した自装置のSLG情報12aを用いて、SLGテーブル12bを更新する。
また、タグ管理部11hが、SLIに関するタグを付加して(ステップS25)、隣接するSLG10へ、ユーザ端末1のトラヒックを送信する(ステップS26)。
以上、説明したように、本実施形態のSLG10では、テーブル作成部11aが、隣接するSLG10から他のSLG10のSLG情報12aを受信した場合に、該SLG情報12aを用いてSLGテーブル12bを更新する。また、SLG情報送信部11bが、受信したSLG情報12aに自装置のSLG情報12aを付加して、隣接する他のSLG10に送信する。
これにより、SLG10は、隣接するSLG10を介して接続する全てのSLG10のSLG情報12aを集約して、SLGテーブル12bとして管理する。したがって、SLG10は、SLGテーブル12bを用いて自律的にスライス4間を接続して、ユーザの要件に応じたスライス4にユーザ端末1のトラヒックを転送することができる。
具体的には、トポロジ作成部11cが、受信したSLG情報12aを用いて、他のSLG10との位置関係を表すトポロジマップ12cを作成する。また、スライス選定部11dが、vCPE2からユーザ端末1の接続の要求を受信した場合に、SLGテーブル12bおよびトポロジマップ12cを用いて、ユーザの要件に応じた宛先のSLG10を選定する。
このように、本実施形態のSLG10によれば、オーケストレーションを設置することなく、共通的なネットワークインフラから、要件に応じた複数の論理ネットワークを切り出して、独立した管理を行えるネットワークスライスを構築することができる。
また、スライス選定部11dは、SLG情報12aがNFVの情報を含む場合には、ユーザの要件に含まれるNFVに応じて、宛先のSLG10を選定する。これにより、SLG10は、ユーザ端末1のトラヒックを適切なNFVの処理を行うネットワークスライスに振り分けることができる。
また、スライス選定部11dは、SLGテーブル12bに宛先に該当するSLG10のSLG情報がない場合に、新規のSLG10を選定してリソース確保の要求を送信する。そして、スライス選定部11dは、該新規のSLG10への要求を中継するSLG10を介して、該SLG10のSLG情報12aが付加された、要求に対する応答を受信する。この場合に、テーブル作成部11aは、受信した各SLG10のSLG情報12aを用いてSLGテーブル12bを更新する。これにより、SLG10は、ユーザ端末1の通信の際にも、SLGテーブル12bを更新することが可能である。
[プログラム]
上記実施形態に係るSLG10が実行する処理をコンピュータが実行可能な言語で記述したプログラムを作成することもできる。一実施形態として、SLG10は、パッケージソフトウェアやオンラインソフトウェアとして上記の通信処理を実行する通信プログラムを所望のコンピュータにインストールさせることによって実装できる。例えば、上記の通信プログラムを情報処理装置に実行させることにより、情報処理装置をSLG10として機能させることができる。ここで言う情報処理装置には、デスクトップ型またはノート型のパーソナルコンピュータが含まれる。また、その他にも、情報処理装置にはスマートフォン、携帯電話機等の移動体通信端末、さらには、PDA(Personal Digital Assistants)等のスレート端末などがその範疇に含まれる。また、SLG10の機能を、クラウドサーバに実装してもよい。
図9は、通信プログラムを実行するコンピュータの一例を示す図である。コンピュータ1000は、例えば、メモリ1010と、CPU1020と、ハードディスクドライブインタフェース1030と、ディスクドライブインタフェース1040と、シリアルポートインタフェース1050と、ビデオアダプタ1060と、ネットワークインタフェース1070とを有する。これらの各部は、バス1080によって接続される。
メモリ1010は、ROM(Read Only Memory)1011およびRAM1012を含む。ROM1011は、例えば、BIOS(Basic Input Output System)等のブートプログラムを記憶する。ハードディスクドライブインタフェース1030は、ハードディスクドライブ1031に接続される。ディスクドライブインタフェース1040は、ディスクドライブ1041に接続される。ディスクドライブ1041には、例えば、磁気ディスクや光ディスク等の着脱可能な記憶媒体が挿入される。シリアルポートインタフェース1050には、例えば、マウス1051およびキーボード1052が接続される。ビデオアダプタ1060には、例えば、ディスプレイ1061が接続される。
ここで、ハードディスクドライブ1031は、例えば、OS1091、アプリケーションプログラム1092、プログラムモジュール1093およびプログラムデータ1094を記憶する。上記実施形態で説明した各情報は、例えばハードディスクドライブ1031やメモリ1010に記憶される。
また、通信プログラムは、例えば、コンピュータ1000によって実行される指令が記述されたプログラムモジュール1093として、ハードディスクドライブ1031に記憶される。具体的には、上記実施形態で説明したSLG10が実行する各処理が記述されたプログラムモジュール1093が、ハードディスクドライブ1031に記憶される。
また、通信プログラムによる情報処理に用いられるデータは、プログラムデータ1094として、例えば、ハードディスクドライブ1031に記憶される。そして、CPU1020が、ハードディスクドライブ1031に記憶されたプログラムモジュール1093やプログラムデータ1094を必要に応じてRAM1012に読み出して、上述した各手順を実行する。
なお、通信プログラムに係るプログラムモジュール1093やプログラムデータ1094は、ハードディスクドライブ1031に記憶される場合に限られず、例えば、着脱可能な記憶媒体に記憶されて、ディスクドライブ1041等を介してCPU1020によって読み出されてもよい。あるいは、通信プログラムに係るプログラムモジュール1093やプログラムデータ1094は、LANやWAN(Wide Area Network)等のネットワークを介して接続された他のコンピュータに記憶され、ネットワークインタフェース1070を介してCPU1020によって読み出されてもよい。
以上、本発明者によってなされた発明を適用した実施形態について説明したが、本実施形態による本発明の開示の一部をなす記述および図面により本発明は限定されることはない。すなわち、本実施形態に基づいて当業者等によりなされる他の実施形態、実施例および運用技術等は全て本発明の範疇に含まれる。
1 ユーザ端末
2 vCPE
3 認証サーバ
10 SLG(通信装置)
11a テーブル作成部
11b SLG情報送信部
11c トポロジ作成部
11d スライス選定部
11e スライス情報管理部
11f スライス故障管理部
11g スライス測定部
11h タグ管理部
12a SLG情報
12b SLGテーブル
12c トポロジマップ

Claims (4)

  1. 所定の要件を満たす論理ネットワークであるネットワークスライスごとに配置され、該ネットワークスライスと、ユーザ端末が接続する仮想CPEまたは他のネットワークスライスとを接続する通信装置であって、
    自装置が属するネットワークスライスの情報であるスライス情報と、他の通信装置のスライス情報を集約したテーブルとを記憶する記憶部と、
    隣接する通信装置から他の通信装置のスライス情報を受信した場合に、該スライス情報を用いて前記テーブルを更新するテーブル作成部と、
    受信した前記スライス情報に自装置のスライス情報を付加して、隣接する他の通信装置に送信する送信部と、
    受信した前記スライス情報を用いて、他の通信装置との位置関係を表すトポロジマップを作成するトポロジ作成部と、
    前記仮想CPEからユーザ端末の接続の要求を受信した場合に、前記テーブルおよび前記トポロジマップを用いて、ユーザの要件に応じた宛先の通信装置を選定する選定部と、
    を備えることを特徴とする通信装置。
  2. 前記記憶部が記憶する前記スライス情報は、自装置が属するネットワークスライスが保有するNFVの情報をさらに含み、
    前記選定部は、前記ユーザの要件に含まれるNFVに応じて、宛先の通信装置を選定する
    ことを特徴とする請求項に記載の通信装置。
  3. 前記選定部は、前記テーブルに宛先に該当する通信装置のスライス情報がない場合に、新規の通信装置を選定してリソース確保の要求を送信し、該新規の通信装置への該要求を中継する通信装置を介して、該通信装置のスライス情報が付加された、該要求に対する応答を受信し、
    前記テーブル作成部は、受信した前記スライス情報を用いて前記テーブルを更新する
    ことを特徴とする請求項またはに記載の通信装置。
  4. 所定の要件を満たす論理ネットワークであるネットワークスライスごとに配置され、該ネットワークスライスと、ユーザ端末が接続する仮想CPEまたは他のネットワークスライスとを接続する通信装置であって、自装置が属するネットワークスライスの情報であるスライス情報と、他の通信装置のスライス情報を集約したテーブルとを記憶する記憶部を備える通信装置で実行される通信方法であって、
    隣接する通信装置から他の通信装置のスライス情報を受信した場合に、該スライス情報を用いて前記テーブルを更新するテーブル作成工程と、
    受信した前記スライス情報に自装置のスライス情報を付加して、隣接する他の通信装置に送信する送信工程と、
    受信した前記スライス情報を用いて、他の通信装置との位置関係を表すトポロジマップを作成するトポロジ作成工程と、
    前記仮想CPEからユーザ端末の接続の要求を受信した場合に、前記テーブルおよび前記トポロジマップを用いて、ユーザの要件に応じた宛先の通信装置を選定する選定工程と、
    を含んだことを特徴とする通信方法。
JP2018152531A 2018-08-13 2018-08-13 通信装置および通信方法 Active JP6996449B2 (ja)

Priority Applications (3)

Application Number Priority Date Filing Date Title
JP2018152531A JP6996449B2 (ja) 2018-08-13 2018-08-13 通信装置および通信方法
US17/267,760 US20210194790A1 (en) 2018-08-13 2019-08-06 Communication device and communication method
PCT/JP2019/030978 WO2020036098A1 (ja) 2018-08-13 2019-08-06 通信装置および通信方法

Applications Claiming Priority (1)

Application Number Priority Date Filing Date Title
JP2018152531A JP6996449B2 (ja) 2018-08-13 2018-08-13 通信装置および通信方法

Publications (2)

Publication Number Publication Date
JP2020028050A JP2020028050A (ja) 2020-02-20
JP6996449B2 true JP6996449B2 (ja) 2022-01-17

Family

ID=69524792

Family Applications (1)

Application Number Title Priority Date Filing Date
JP2018152531A Active JP6996449B2 (ja) 2018-08-13 2018-08-13 通信装置および通信方法

Country Status (3)

Country Link
US (1) US20210194790A1 (ja)
JP (1) JP6996449B2 (ja)
WO (1) WO2020036098A1 (ja)

Families Citing this family (3)

* Cited by examiner, † Cited by third party
Publication number Priority date Publication date Assignee Title
JP7388533B2 (ja) * 2020-02-21 2023-11-29 日本電信電話株式会社 ゲートウェイ装置、方法及びプログラム
US12160337B2 (en) * 2021-03-31 2024-12-03 Nec Corporation Management apparatus, management method, computer-readable medium storing program
CN116074807A (zh) * 2021-11-03 2023-05-05 华为技术有限公司 一种数据收集方法及通信装置

Citations (2)

* Cited by examiner, † Cited by third party
Publication number Priority date Publication date Assignee Title
JP2011228889A (ja) 2010-04-19 2011-11-10 Gen Co Ltd マルチホップ通信システム
JP2016201602A (ja) 2015-04-07 2016-12-01 株式会社Nttドコモ 通信システム及び通信方法

Family Cites Families (6)

* Cited by examiner, † Cited by third party
Publication number Priority date Publication date Assignee Title
EP3273648A4 (en) * 2015-03-20 2018-03-21 NTT DoCoMo, Inc. System and method
US20180242161A1 (en) * 2015-08-05 2018-08-23 Telefonaktiebolaget Lm Ericsson (Publ) Distributed management of network slices using a gossip protocol
CN109891832B (zh) * 2016-06-15 2022-12-06 交互数字专利控股公司 网络切片发现和选择
JP6925411B2 (ja) * 2016-08-16 2021-08-25 アイディーエーシー ホールディングス インコーポレイテッド ネットワークスライス再選択
US10638367B2 (en) * 2017-03-17 2020-04-28 Qualcomm Incorporated Prioritizing incompatible network slices
WO2019158220A1 (en) * 2018-02-19 2019-08-22 Huawei Technologies Duesseldorf Gmbh Apparatus for network slicing and slice management to support multi-slice services

Patent Citations (2)

* Cited by examiner, † Cited by third party
Publication number Priority date Publication date Assignee Title
JP2011228889A (ja) 2010-04-19 2011-11-10 Gen Co Ltd マルチホップ通信システム
JP2016201602A (ja) 2015-04-07 2016-12-01 株式会社Nttドコモ 通信システム及び通信方法

Also Published As

Publication number Publication date
US20210194790A1 (en) 2021-06-24
JP2020028050A (ja) 2020-02-20
WO2020036098A1 (ja) 2020-02-20

Similar Documents

Publication Publication Date Title
EP3609161B1 (en) Network slice creating method and apparatus, and communication system
US10270648B2 (en) Configuration information management method, device, network element management system and storage medium
WO2018134684A1 (zh) 无线接入网中用于网络切片的资源分配方法和编排器
US11864097B2 (en) Communication system and communication method
AU2018345429B2 (en) Interaction between 5G and non-5G management function entities
US11425606B1 (en) Direct MVNO RAN resource management system
CN105359459A (zh) 一种实现虚拟化网管的方法、装置及系统
JP6996449B2 (ja) 通信装置および通信方法
CN110034944A (zh) 网络切片部署方法及其装置
JP6962293B2 (ja) 通信制御装置、通信制御システム、通信制御方法および通信制御プログラム
WO2017066931A1 (zh) 网络功能虚拟化架构中证书的管理方法及装置
US20210119867A1 (en) Communication system and slice control method
CN112970009A (zh) 在应用程序编排中复制存储表示的系统和方法
US10602475B2 (en) Method and system for device location management
RU2761181C2 (ru) Способ и аппаратура администрирования услуг и носитель данных
JP6709248B2 (ja) 管理装置、移動体通信システム、プログラム及び管理方法
WO2023133598A1 (en) Dynamic service aware bandwidth reporting and messaging for mobility low latency transport
KR20190108371A (ko) 네트워크 슬라이스/서비스를 선택하는 통신 방법 및 이를 수행하는 통신 장치
CN103516767A (zh) 软件跨云部署机制及系统
KR102651239B1 (ko) 가상화 기술을 이용한 통신 방법 및 이를 수행하는 전자 장치
EP4550857A1 (en) Information communication system and information processing system
EP3712768B1 (en) Management of services in an edge computing system
JP7115561B2 (ja) Ict資源管理装置、ict資源管理方法、および、ict資源管理プログラム
WO2021078792A1 (en) Mechanism for controlling service migration
US20250254535A1 (en) Updating a distributed unit in a 5g virtual radio access network

Legal Events

Date Code Title Description
A621 Written request for application examination

Free format text: JAPANESE INTERMEDIATE CODE: A621

Effective date: 20201203

A131 Notification of reasons for refusal

Free format text: JAPANESE INTERMEDIATE CODE: A131

Effective date: 20210914

A521 Request for written amendment filed

Free format text: JAPANESE INTERMEDIATE CODE: A523

Effective date: 20211029

TRDD Decision of grant or rejection written
A01 Written decision to grant a patent or to grant a registration (utility model)

Free format text: JAPANESE INTERMEDIATE CODE: A01

Effective date: 20211116

A61 First payment of annual fees (during grant procedure)

Free format text: JAPANESE INTERMEDIATE CODE: A61

Effective date: 20211129

R150 Certificate of patent or registration of utility model

Ref document number: 6996449

Country of ref document: JP

Free format text: JAPANESE INTERMEDIATE CODE: R150

S533 Written request for registration of change of name

Free format text: JAPANESE INTERMEDIATE CODE: R313533

R350 Written notification of registration of transfer

Free format text: JAPANESE INTERMEDIATE CODE: R350