JP6991069B2 - 追跡されるデータのユーザ制御された配布及び収集 - Google Patents

追跡されるデータのユーザ制御された配布及び収集 Download PDF

Info

Publication number
JP6991069B2
JP6991069B2 JP2017565049A JP2017565049A JP6991069B2 JP 6991069 B2 JP6991069 B2 JP 6991069B2 JP 2017565049 A JP2017565049 A JP 2017565049A JP 2017565049 A JP2017565049 A JP 2017565049A JP 6991069 B2 JP6991069 B2 JP 6991069B2
Authority
JP
Japan
Prior art keywords
information
user
tracking
notification
elements
Prior art date
Legal status (The legal status is an assumption and is not a legal conclusion. Google has not performed a legal analysis and makes no representation as to the accuracy of the status listed.)
Active
Application number
JP2017565049A
Other languages
English (en)
Other versions
JP2018520432A (ja
Inventor
エム フォゲルソン,ジョエル
エー アッシュ,アーデン
Original Assignee
インターデジタル マディソン パテント ホールディングス, エスアーエス
Priority date (The priority date is an assumption and is not a legal conclusion. Google has not performed a legal analysis and makes no representation as to the accuracy of the date listed.)
Filing date
Publication date
Application filed by インターデジタル マディソン パテント ホールディングス, エスアーエス filed Critical インターデジタル マディソン パテント ホールディングス, エスアーエス
Publication of JP2018520432A publication Critical patent/JP2018520432A/ja
Application granted granted Critical
Publication of JP6991069B2 publication Critical patent/JP6991069B2/ja
Active legal-status Critical Current
Anticipated expiration legal-status Critical

Links

Images

Classifications

    • HELECTRICITY
    • H04ELECTRIC COMMUNICATION TECHNIQUE
    • H04WWIRELESS COMMUNICATION NETWORKS
    • H04W8/00Network data management
    • H04W8/02Processing of mobility data, e.g. registration information at HLR [Home Location Register] or VLR [Visitor Location Register]; Transfer of mobility data, e.g. between HLR, VLR or external networks
    • H04W8/08Mobility data transfer
    • H04W8/16Mobility data transfer selectively restricting mobility data tracking
    • GPHYSICS
    • G06COMPUTING OR CALCULATING; COUNTING
    • G06QINFORMATION AND COMMUNICATION TECHNOLOGY [ICT] SPECIALLY ADAPTED FOR ADMINISTRATIVE, COMMERCIAL, FINANCIAL, MANAGERIAL OR SUPERVISORY PURPOSES; SYSTEMS OR METHODS SPECIALLY ADAPTED FOR ADMINISTRATIVE, COMMERCIAL, FINANCIAL, MANAGERIAL OR SUPERVISORY PURPOSES, NOT OTHERWISE PROVIDED FOR
    • G06Q30/00Commerce
    • G06Q30/02Marketing; Price estimation or determination; Fundraising
    • G06Q30/0241Advertisements
    • G06Q30/0251Targeted advertisements
    • G06Q30/0261Targeted advertisements based on user location
    • GPHYSICS
    • G06COMPUTING OR CALCULATING; COUNTING
    • G06QINFORMATION AND COMMUNICATION TECHNOLOGY [ICT] SPECIALLY ADAPTED FOR ADMINISTRATIVE, COMMERCIAL, FINANCIAL, MANAGERIAL OR SUPERVISORY PURPOSES; SYSTEMS OR METHODS SPECIALLY ADAPTED FOR ADMINISTRATIVE, COMMERCIAL, FINANCIAL, MANAGERIAL OR SUPERVISORY PURPOSES, NOT OTHERWISE PROVIDED FOR
    • G06Q30/00Commerce
    • G06Q30/02Marketing; Price estimation or determination; Fundraising
    • GPHYSICS
    • G06COMPUTING OR CALCULATING; COUNTING
    • G06QINFORMATION AND COMMUNICATION TECHNOLOGY [ICT] SPECIALLY ADAPTED FOR ADMINISTRATIVE, COMMERCIAL, FINANCIAL, MANAGERIAL OR SUPERVISORY PURPOSES; SYSTEMS OR METHODS SPECIALLY ADAPTED FOR ADMINISTRATIVE, COMMERCIAL, FINANCIAL, MANAGERIAL OR SUPERVISORY PURPOSES, NOT OTHERWISE PROVIDED FOR
    • G06Q30/00Commerce
    • G06Q30/02Marketing; Price estimation or determination; Fundraising
    • G06Q30/0241Advertisements
    • G06Q30/0251Targeted advertisements
    • G06Q30/0267Wireless devices
    • HELECTRICITY
    • H04ELECTRIC COMMUNICATION TECHNIQUE
    • H04WWIRELESS COMMUNICATION NETWORKS
    • H04W4/00Services specially adapted for wireless communication networks; Facilities therefor
    • H04W4/02Services making use of location information
    • H04W4/029Location-based management or tracking services

Landscapes

  • Business, Economics & Management (AREA)
  • Engineering & Computer Science (AREA)
  • Strategic Management (AREA)
  • Accounting & Taxation (AREA)
  • Development Economics (AREA)
  • Finance (AREA)
  • Physics & Mathematics (AREA)
  • Theoretical Computer Science (AREA)
  • Economics (AREA)
  • Marketing (AREA)
  • Entrepreneurship & Innovation (AREA)
  • General Business, Economics & Management (AREA)
  • General Physics & Mathematics (AREA)
  • Game Theory and Decision Science (AREA)
  • Computer Networks & Wireless Communication (AREA)
  • Signal Processing (AREA)
  • Databases & Information Systems (AREA)
  • User Interface Of Digital Computer (AREA)
  • Information Transfer Between Computers (AREA)
  • Management, Administration, Business Operations System, And Electronic Commerce (AREA)
  • Telephonic Communication Services (AREA)

Description

モバイルデバイス及びウェアラブルデバイスの蔓延により、場所から場所へ移動する人々の追跡(tracking)は、広く存在するようになっている。そのような場所追跡(location tracking:ロケーショントラッキング)は、サービスプロバイダによる携帯電話の位置の三角測量を介すなどして、リモートデバイスによって実行することができる。加えて、多くのデバイスは、局所的に場所を決定することができ(例えば、グローバルポジショニングシステム、すなわちGPS使用可能デバイスを使用して)、そのようなデータを他の要素(elements)に提供することもできる。
多くの場合、情報が追跡されている(tracked)ことにユーザは気付かないかも知れない。加えて、他人によって記録され又は分析されている情報の種類(type(s))にユーザは気づかないかも知れない。
いくつかの実施形態は、様々な発生地(venues:ベニュー)によって追跡されている情報を制御する方法を提供する。追跡される情報(tracked information)は、場所(location)又は位置(position)、取引情報(transaction information)及びアイデンティ(identity)(例えば、顔認証を通して)を含むことができる。
いくつかの実施形態は、ユーザがある領域(area)内にいるときを判定することができる(例えば、小売店(retail establishment)内、店(store)のあるセクション内になど)。消費者と関連するモバイルデイバス(例えば、ウェアラブルデバイス、スマートフォンなど)は、発生地(venue)によって追跡される情報の表示(indication)を受信することができる。
いくつかの実施形態において、そのような情報追跡への参加のオプトイン(opt in)又はオプトアウト(opt out)をユーザに許すモバイルデバイスを使用して、ユーザインタフェース(UI)を提供することができる。UIは、追跡される情報の種類(types)のリスト及び追跡を許される情報の種類の選択を消費者に許す関連する制御要素(control elements)の組(set)を提示することができる。このようにして、消費者は、情報の様々な種類の配布及び/又は使用をオプトイン又はオプトアウトすることができる。
先行する発明の概要は、いくつかの例となる実施形態の様々な特徴の簡単な紹介として役立つことを意図する。他の実施形態は、本開示の範囲から逸脱することなく他の特定の形式で実装することができる。
本開示の構成要件は、添付請求項に明記される。しかしながら、説明の目的で、いくつかの実施形態が以下の図面に図示される。
ユーザが配布(distribution)及び/又は収集(collection)のためのデータを選択する方法を提供するいくつかの実施形態の例となるユーザインタフェース(UI)を図示する。 ユーザが配布及び/又は収集のためのデータを選択する方法を提供するいくつかの実施形態の第2の例となるUIを図示する。 ユーザが配布及び/又は収集のためのデータを選択する方法を提供するいくつかの実施形態の第3の例となるUIを図示する。 いくつかの実施形態によって使用される例となるハードウェアシステムの概略ブロック図を図示する。 いくつかの実施形態の例となるソフトウェアシステムの概略ブロック図を図示する。 図5のソフトウェアシステムのいくつかの例となるコンポーネントの詳細な表示を示す概略ブロック図を図示する。 追跡されるデータの配布と収集を管理するいくつかの実施形態の例となるクライアント側(client-side)のプロセスのフローチャートを図示する。 追跡されるデータの配布と収集を管理するいくつかの実施形態の例となるサーバ側(server-side)のプロセスのフローチャートを図示する。 発生地に関連する追跡されるデータの配布と収集を管理するいくつかの実施形態の例となるクライアント側プロセスのフローチャートを図示する。 追跡されるデータをユーザに提供するいくつかの実施形態の例となるクライアント側プロセスのフローチャートを図示する。 追跡されるデータをユーザに提供するいくつかの実施形態の例となるサーバ側プロセスのフローチャートを図示する。 追跡されるデータを発生地に関連する管理者(administrator)に提供し、発生地に関連する管理者からの追跡する最新情報(tracking updates)を受信する、いくつかの実施形態の例となるクライアント側プロセスのフローチャートを図示する。 追跡されるデータを発生地に関連する管理者に提供し、発生地に関連する管理者からの追跡する最新情報を受信する、いくつかの実施形態の例となるサーバ側プロセスのフローチャートを図示する。 いくつかの実施形態を実施するために使用される例となるコンピュータシステムの概略ブロック図を図示する。
以下の詳細な説明は、例となる実施形態を実行する現在予期されるやり方を説明する。本記述は、制限する意味において考慮することはなく、本開示の範囲が添付請求項によって最もよく定義されるように、単にいくつかの実施形態の一般的な原理を説明する目的のためである。
1つの他の構成要件とは独立して使用することができ又は他の構成要件との組合せにおいて使用することもできる、様々な発明の構成要件が以下で説明される。概して、いくつかの実施形態は、様々なエンティティによって収集される情報を制御する方法を一般的に提供する。この情報は、例えば、場所、取引情報、及びアイデンティティを含む。
そのような情報は、例えば、小売店、オフィス、オフィスビル、学校、公共の場、アトラクションモール、テーマパークなどの発生地によって追跡することができる。加えて、いくつかの発生地は、小売店、テーマパークの乗り物、スタジアムの売店などのセクション(sections)としてサブエリアに分割することができる。
発生地(及び/又はそれらのセクション)は、追跡される情報を示すことができる。いくつかの実施形態は、示された情報の一部又は全部の追跡を防ぐための示された情報から選択することができる。
場所は、追跡され得る情報の種類の1例である。場所(location)情報は、ユーザが発生地(venue)にいるとき決定することができる。別の追跡する例は、デバイスが場所情報をそのようなホットスポットにリアルタイムで送信するところで、異なるホットスポット(例えば、店舗内の様々な領域)を有する発生地がある場所のビーコンシステムを使用して、インターネットプロトコル(IP)追跡(デバイスのIPアドレス及び/又はMACアドレスを読取り、フォローすることによって)、視覚追跡、及び/又は追跡の他の適切な方法を含む。追跡される場所情報は、例えば、発生地のどのセクションが消費者に人気があるかを判定するために使用することができる(例えば、その消費者がコンピュータが好きで、服装に気を使わないなど)。そのような情報は、次に、発生地にいる間、直接のメール、及び/又は広告の他の適切な方法を介して、消費者に対する広告の特定の種類を対象として使用することができる。
第1の例となる実施形態は、ユーザデバイスにおいて、情報の配布と追跡を制御する方法を提供する。ユーザデバイスにおいて、追跡する通知を受信することと、ユーザデバイスにおいて、追跡する通知から要素の組を抽出することであって、要素の組は、情報の種類の組を含む、抽出することと、ユーザデバイスにおいて、情報の種類の組の中からユーザ選択の組を受信することと、ユーザデバイスから、追跡する通知に対するレスポンスを送信することであって、レスポンスは、ユーザ選択の組を含む、送信することと、を本方法は含む。
第2の例となる実施形態は、情報の配布と追跡を制御するユーザデバイスを提供する。ユーザデバイスは、命令の組を実行するためのプロセッサと、その命令の組を記憶する非一時的媒体を含む。ユーザデバイスにおいて、追跡する通知を受信することと、ユーザデバイスにおいて、追跡する通知から要素の組を抽出することであって、要素の組が情報の種類の組を含む、抽出することと、ユーザデバイスにおいて、情報の種類の組の中からユーザ選択の組を受信することと、ユーザデバイスから、追跡する通知に対するレスポンスを送信することであって、レスポンスは、ユーザ選択の組む、送信することと、を命令の組は含む。
第3の例となる実施形態は、サーバにおいて、情報の配布と追跡を制御する方法を提供する。サーバにおいて、定義された領域内の消費者デバイスを検出することと、サーバにおいて、定義された領域に関連する追跡する要素の組を読み出すこととであって、追跡する要素の組は、情報の種類の組を含む、読み出すことと、消費者デバイスに、追跡する要素の組を含む通知を送信することと、消費者デバイスから、追跡する通知に対するレスポンスを受信することであって、レスポンスが情報の種類の組の中からユーザ選択の組を含む、受信することとを、本方法は含む。
第4の例となる実施形態は、情報の配布と追跡を制御するサーバを提供する。このサーバは、命令の組を実行するプロセッサと、命令のこの組を記憶する非一時的媒体を含む。サーバにおいて、定義された領域の消費者デバイスを検出することと、サーバにおいて、定義された領域に関連する追跡する要素の組を読み出すこととであって、追跡する要素の組は、情報の種類の組を含む、読み出すことと、消費者デバイスに対して、追跡する要素の組を含む通知を送信することと、消費者デバイスから、追跡する通知に対するレスポンスを受信することであって、レスポンスは、情報の種類の組の中からユーザ選択の組を含む、受信することとを、命令の組は含む。
いくつかのさらに詳細な実施形態が以下のセクションで説明される。セクションIは、いくつかの実施形態によって提供されるいくつかの例となるUIの説明が提供される。セクションIIでは、次に、いくつかの実施形態の例となるシステムアーキテクチャが説明される。次に、セクションIIIでは、いくつかの実施形態によって実行される動作の様々な方法が説明される。最後に、セクションIVでは、いくつかの実施形態を実行し得る例となるコンピュータシステムが説明される。
I.ユーザインタフェース
図1は、配布及び/又は収集に対するユーザがデータを選択する方法を提供するいくつかの実施形態の例となるユーザインタフェース(UI)100を図示する。この例において、UIは、ユーザデバイス110を使用して提供することができる。このようなデバイスは、ウェアラブルデバイス(例えば、ウオッチ、ブレスレットなど)、携帯型デバイス(例えば、タブレット、スマートフォンなど)、及び/又は他の適切なデバイスであり得る。このデバイスは、ディスプレイ又はタッチスクリーン120(この例では、スクリーンがデバイス110の目に見える面全体に広がっている)、様々なボタン130、及び/又は他の入力140(例えば、ロッカスイッチ又はスライドスイッチ、キーパッドなど)などのUIハードウェア要素を含むことができる。加えて、いくつかの実施形態は、マイクロフォン、スピーカー、カメラ又は他の視覚センサ、動き検出器、触覚フィードバック要素などの様々な他の入力及び/又は出力を含むことができる。
スクリーン120上に表示されたUI100は、通知領域(notification areas)150、情報種類識別子(information type identifiers)160、及び/又は追跡コントローラ(tracking controllers)170を含むことができる。このようなUIは、例えば、デバイスが追跡する情報に対する通知又はリクエストを受信したときに、表示することができる。場合によっては、このUIは、ユーザデバイスが特定の領域(例えば、小売店の発生地に関連した場所)には入ったときに、起動することができる。
この例では、単一の通知領域150は、発生地に関するメッセージを含む。追加の通知領域も含むことができる。各通知領域は、テキスト、グラフィックス、アニメーション、ビデオ、及び/又はデバイス110によって表現される能力のある他のマルチメディアコンテンツなどの要素を含むことができる。
この例において、種類識別子(type identifier)160は、位置又は場所の追跡を表現するアイコンである。別の実施形態は、種類識別子の異なるアレンジメント(例えば、異なる数の識別子、異なる表現、異なるサイズなど)を有することができる。この種類識別子は、テキスト、グラフィックスなどを含むことができる。
追跡コントローラ170は、この例において、スライドスイッチ(slider switch)(例えば、スライダを左に動かすことによって追跡を無効にし、右に動かすことによって追跡を有効にする)又は他の適切な要素(例えば、チェックボックス、ボタンなど)であり得る。この例において、コントローラは、場所情報の追跡に関して「オフ(off)」、「無効(disabled)」、又は「不許可(non-allowed)」の位置(又は「状態(state)」)にある。
図2は、配布及び/又は収集に対してユーザがデータを選択するための方法を提供するいくつかの実施形態の第2の例となるUI200を図示する。このUIは、デバイス110を使用して表現することができ、受信した通知又は他の適切な基準(criteria)に基づいて起動するこができる。
この例において、UIは、上述の、通知領域150、識別子160の組及び対応する追跡コントローラ170を含む。加えて、UIは、顔認識に関連する識別子210とコントローラ220、及び取引情報に関連する識別子230とコントローラ240を含む。
コントローラ170、220、240は、この例では、場所情報追跡は無効(disabled)であり、一方、顔認識と取引追跡は有効(enabled)であることを示す。コントローラは、要望通り、様々な取り得る追跡シナリオからのユーザが選択することを可能にすることができる。
この例において、実際の場所情報は、表示(indications)に基づいて追跡することはできない。しかしながら、顔認識又は取引追跡は、定義された場所(例えば、店の場所、町又は近隣など)で追跡された情報に関連することができる。
顔認識に加えて、又は代わりに、いくつかの実施形態は、サインイン(sign in)(例えば、店舗でリワードカード(reward card:ポイントカード)を使用して)、クエリに対するレスポンス、及び/又はデバイス110を発生地、場所、取引、イベントなどと関連づけることができる他の関連する情報などの情報を追跡することができる。
図3は、配布及び/又は収集に対してユーザがデータを選択するための方法を提供するいくつかの実施形態の第3の例となるUI300を図示する。この例は、情報追跡に関してユーザに追加の情報を提供することができる追加の通知領域310を含む。
ユーザがそのような追跡を許可する場合(例えば、この例では取引追跡)、情報は、発生地に関連し、そして情報は、アイテム及び/又は購入されたサービス、支払われた値段、購入のデータ及び時間などの取引情報を含むことができる。加えて、情報は、場所、発生地の種類などの発生地情報(venue information)を含むことができる。情報は、名前の種類、状態などの発生地に関連する属性(attributes)も含むことができる。複数の情報種類が有効な場合、選択された種類は、追跡するときに関連することができる。例えば、取引及び場所が追跡された場合、実行された取引は、取引の間に確定される(ascertained)場所に関連することができる。
追跡される情報は、特定の発生地又は場所に関連するアイテムのリストをユーザがレビューすることを可能にすることができる。リストは、購入したアイテム、見たアイテム(例えば、ユーザがタグ付けした又はさもなければ興味を示したアイテム)、などを含むことができる。別の例としては、追跡される情報は、発生地又はデパートで過ごした時間を判定し、そして、そのリストは、様々な方法でそのような興味を反映することができる(例えば、お店のガーデニングのセクションで過ごした時間、カーディーラーで過ごした時間など)。そのようなリストは、様々な適切な方法で表すことができる(例えば、時間と日付でソートされた取引、そこで過ごした時間でソートされた場所など)。
当業者であれば、図1~図3を参照して上述されたUIとUI要素は、本開示の範囲から逸脱せずに様々な異なる方法で実装することができることを理解する。例えば、異なる実施形態は、追加要素を含み、様々な要素を除外し、要素を再アレンジし、及び/又はそうでなければ、様々な要素の表現を変更することができる。別の例において、異なる実施形態は、異なる数のボタン及び/又はボタンのアレンジ及び/又は他のデバイスの要素(例えば、ディスプレイ又はタッチスクリーン、キーパッドなど)を含むことができる。加えて、様々な特定のUI要素は、様々な異なる方法で表現することができる(例えば、図示されたものとは異なるグラフィックス又はアイコンを使用して、テキストを使用してなど)。
II.システムアーキテクチャ
図4は、いくつかの実施形態によって使用される例となるハードウェアシステム400の概略ブロック図を図示する。この例において、ユーザ410は、ウェアラブルデバイス420とモバイルデバイス430と連携している。領域又は場所440は、様々な適切な方法で定義することができ、ワイヤレスビーコン450と発生地デバイス(venue devices)460などの要素を含むことができる。加えて、このシステムは、関連するストレージ480及び/又は管理デバイス(admin device)490を有するサーバ470を含むことができる。このシステムは、各デバイス種類の複数のインスタンスを含む(及び/又は1つ以上のデバイス種類を省略する)ことができる。
ウェアラブルデバイス420は、デバイス110と同種であり得る。デバイス420は、様々な他のシステム要素とワイヤレスで通信することができる。そのようなワイヤレス通信は、直接リンク(例えば、ブルートゥース(登録商標)、Wi-Fiなど)、ネットワーク接続、(例えば、セルラネットワーク、ワイヤレスネットワーク、イーサネット(登録商標)など)、及び/又は他の適切なリンク(例えば、有線接続、無線接続など)を含むことができる。
ユーザデバイス430は、スマートフォン又はタブレットなどのモバイルデバイスであり得る。ユーザデバイス430は、ウェアラブルデバイス420と同種の経路を使用して様々な他のシステム要素と通信することができる。場合によっては、ウェアラブルデバイスとユーザデバイス430は、共同して動作することができる。例えば、ユーザデバイスは、様々な他のシステム要素と通信し、ユーザとの対話のキャンバスとしてウェアラブルデバイス420を使用することができる。別の例として、ウェアラブルデバイス420は、ユーザデバイス430を介して様々な通信を中継することができる。例えば、ユーザデバイスは、セルラネットワークにアクセスでき、ウェアラブルデバイス420は、そのようなネットワークを使用して通信することができないが、しかし、ブルートゥースリンクを経由してユーザデバイス430と通信することができる。
ビーコン450は、領域(region)440内で検知可能なビーコン信号を送信することができる送信機を含むことができる。このようなビーコン信号は、様々な適切な通信経路(例えば、ブルートゥース、Wi-Fi、など)を使用して送信することができる。ビーコン信号は、場所、発生地との提携(affiliation)、情報追跡の通知などの情報を含むことができる。いくつかの実施形態において、信号の伝送に加えて、ビーコン450は、他のシステム要素から通信を受信する(及び/又は通信に応答する)こともできる。
発生地デバイス(venue device)460は、他のシステム要素と対話できる発生地に関連する任意のデバイスであり得る。そのようなデバイスの例は、POS(point of sale)ステーション(例えば、レジスタ、クレジットカードプロセッサなど)、広告ディスプレイ、コンピューティングデバイス、及びカメラ又は他のセンサ(例えば、動き検出器(motion detectors))を含む。そのようなデバイスは、通知又は他の適切な情報がユーザデバイス420及び430に送信できるような伝送能力を含むことができる。加えて、デバイス460は、他のシステム要素と通信することができる。
サーバ470は、1つ以上のネットワークを渡って通信し、ストレージ480にアクセスすることができるコンピューティングデバイスであり得る。サーバ470は、命令を実行し及び/又はデータをプロセスすることができる。ストレージ480は、命令及び/又はデータを受信し、記憶し、及び/又は供給することができる。サーバ470とストレージ480は、ローカルな要素(例えば、発生地にあり、発生地によって提供されるローカルエリアネットワークを介してアクセス可能なコンピューティングデバイス)及び/又はネットワーク又は分散型の要素(クラウドベースのストレージ又はコンピューティング、インターネットを介してアクセス可能なリモートコンピューティングデバイスなど)を含むことができる。
管理デバイス490は、システム400と対話する発生地(例えば、店のオーナ又は従業員、技術サポートスタッフなど)に関連するこれらによって使用されるコンピューティングデバイスであり得る。
図5は、いくつかの実施形態の例となるソフトウェアシステム500の概略ブロック図を図示する。そのようなシステムは、上述のウェアラブルデバイス420、モバイルデバイス430、発生地デバイス460、サーバ470、及び/又は管理デバイス490などのハードウェア要素を使用して実装することができる。様々な要素がソフトウェアを使用して実装されるように説明したが、そのような要素は、本明細書で説明する様々な特徴を提供することができる電子回路によって完全に又は一部において実装することができる。
図示したように、ウェアラブルデバイス420は、ストレージ505、ブラウザ510、消費者アプリケーション(consumer application)515、及びインタフェース520を含むことができる。ストレージ505は、他のデバイス要素によって使用するために命令及び/又はデータを記憶することができる。ブラウザ510(及び/又は他の適切なアプリケーション)は、ウェブベースインタフェースを経由するなど、他のシステム要素との対話をユーザに可能にすることができる。消費者アプリケーション515は、様々なUI要素を生成し、及び/又はUI要素を経由して受信した入力にしたがって動作することができる。インタフェース520は、ネットワーク530を渡って通信することができる。
ネットワーク530は、様々な経路(pathways)(例えば、有線接続、ワイヤレス接続、セルラ接続など)、サブネットワーク、及び/又は外部ネットワーク(例えば、インターネット)に対するインタフェースを含むことができる。
モバイルデバイス430は、ウェアラブルデバイス420を参照して上述されたものに同種の要素を含むことができる。
発生地デバイス460は、ストレージ540、クライアント側アプリケーション545、及びインタフェース550を含むことができる。ストレージ540は、ストレージ505と同種で、インタフェース550は、インタフェース520と同種であり得る。クライアント側アプリケーション545は、様々なUI要素を生成し及び/又はUI要素を経由して受信した入力に従って動作することができる。加えて、クライアント側アプリケーション545は、他のシステム要素(例えば、消費者アプリケーション515)と自動的に対話することができる。例えば、POSレジスタは、購入情報がクライアント側アプリケーション545と消費者アプリケーション515を経由して追跡される通知を送信することができる。アプリケーションは、さらに、適切であれば、レスポンスとして受信されるように対話することができる(及び/又はそうでなければ自動的に対話する)。
サーバ470は、インタフェース560、サーバ側アプリケーション565、及びストレージ570を含むことができる。ストレージ570は、ストレージ505と同種で、インタフェース560は、インタフェース520と同種であり得る。サーバ側アプリケーション565は、消費者アプリケーション515とクライアント側アプリケーション545を含む、様々な他のシステム要素と自動的に対話することができる。
管理デバイス490は、インタフェース580、及び管理アプリケーション585、及びブラウザ590、及びストレージ595を含むことができる。ストレージ595は、ストレージ505と同種で、ブラウザ590は、ブラウザ510と同種で、及びインタフェース560は、インタフェース520と同種であり得る。管理アプリケーション585は、消費者アプリケーション515、クライアント側アプリケーション545、及びサーバ側アプリケーション585を含む、様々な他のシステム要素と対話することができる。
図6は、ソフトウェアシステム500のいくつかの例となるコンポーネントの詳細な図を示す概略ブロック図を図示する。
図示のように、消費者アプリケーション515は、UIモジュール610とハードウェアインタフェース615を含むことができる。UIモジュール610は、様々なUI要素を生成し及び/又は解釈することができる。UIモジュールは、UIモジュールを経由して受信された入力に基づいて他のシステム要素に供給することができるコマンド又はメッセージを生成することができる。加えて、UIモジュールは、他のシステム要素から受信したデータに基づいてUI要素を生成し及び/又は提供することができる。ハードウェアインタフェース615は、ユーザデバイス420と430(例えば、タッチスクリーン、ストレージ、プロセッサなど)の要素をアプリケーション515が制御し又は利用できるようにする。
クライアント側アプリケーション545は、サーバ対話モジュール620と消費者対話モジュール(consumer interaction module)625を含むことができる。サーバ対話モジュール620は、サーバ側アプリケーション565と対話することができる。消費者対話モジュール625は、消費者アプリケーション515と対話することができる。
場合によっては、クライアント側アプリケーション545は、消費者アプリケーション515とサーバ側アプリケーション565との間のリンクとして提供することができる。例えば、ユーザデバイスが特定の領域内にあるとき、クライアント側アプリケーション545は、通知を消費者アプリケーション515に送信し、次に、消費者アプリケーションと対話して、ユーザデバイスと関連する追跡の選択の組を決定することができる。クライアント側アプリケーション545は、次に、任意の収集された情報(例えば、場所、取引など)をサーバ側アプリケーション565に送信することができる。
サーバ側アプリケーション565は、認証モジュール630、領域構成モジュール635、発生地対話モジュール640、消費者モジュール645、及び管理モジュール650を含むことができる。認証モジュール630は、ユーザアカウント情報(例えば、ユーザ名とパスワード)及びステータス(例えば、管理者特権、消費者特権など)を検証することができる。領域構成モジュール635は、場所情報、発生地デバイスとビーコンの選択、及び/又は他の関連する領域情報(例えば、収集された追跡する情報の種類、通知など)を受信し、様々な領域と関連する追跡する情報を定義することができる。
発生地対話モジュール(venue interaction module)640は、いくつかの実施形態においてクライアント側アプリケーション545を経由して発生地と対話することができる。消費者モジュール645は、消費者アプリケーション515と対話することができる。管理モジュール(admin module)650は、管理アプリケーション(admin application)585と対話することができる。
管理アプリケーション585は、特徴定義モジュール(feature definition module)660とサーバ対話モジュール665を含むことができる。特徴定義モジュール660は、領域構成モジュール(region configuration module)635と対話して、領域に関連する特徴を定義することができる。構成モジュールは、消費者に対して提示される特徴の選択(例えば、追跡する場所、顔認識、取引ログなど)と関連するオプション、通知などを受信することができる。サーバ対話モジュール665は、管理モジュール650と対話することができる。サーバ対話モジュール665は、サーバ側アプリケーション565に対して管理者の選択又は設定を中継することができる。いくつかの実施形態において、データを制御し、様々な発生地デバイスに供給し、及び/又はそうでなければ、様々な発生地デバイスと対話するために、管理アプリケーション585は、クライアント側アプリケーション545と対話することができる。
図4~図6のシステムは、例であり、異なる実施形態が、本開示の範囲を逸脱することなく様々な異なる方法で実装できることを、当業者は理解する。例えば、いくつかの実施形態は、追加の要素を含み又はいくつかの要素を省略することができる。別の実例とし、別の実施形態は、様々な要素を組合せ又は様々な要素を分割することができる。
III.動作方法
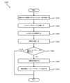
図7は、追跡されるデータの配布と収集を管理するいくつかの実施形態の例となるクライアント側プロセス700のフローチャートを図示する。そのようなプロセスは、ウェアラブルデバイス420又はモバイルデバイス430などの要素によって実行することができる。プロセスは、例えば、モバイルデバイスに電源が入れられたときに開始することができる。
図示のように、プロセスは、追跡する通知が受信されたか否かを判定することができる(710において)。そのような通知は、例えば、レジスタ、ディスプレイ、PC、ビーコンなどの小売店のデバイスから受信されるメッセージを含むことができる。通知は、追跡される情報及び/又は他の適切な情報(例えば、発生地又はセクションの情報、前回の訪問からの選択など)の種類のリストを含むことができる。
プロセスが、通知が受信されなかったと判定したとき(710において)、プロセスは、デフォルトの情報を提供することができ(720において)、次に終了することができる。そのようなデフォルトの情報は、様々な関連するファクタに基づいて提供することができる(例えば、ユーザ選択、工場出荷時の設定など)。
プロセスが通知を受信したと判定する場合(710において)、プロセスは、通知に含まれる要素を抽出することができ(730において)、抽出した要素に少なくとも部分的に基づいてUIを提供することができる(740において)。そのようなUIは、上述のUI 100~300と同種であり得る。抽出された要素は、例えば、情報の種類、前回の選択、テキスト、グラフィックス、及び/又は他の適切な要素を含むことができる。
次に、プロセスは、ユーザ選択の組を受信することができる(750において)。そのような選択は、例えば、コントローラ170、220及び240などのコントローラを使用して行うことができる。
プロセスは、次に必要に応じて、通知に対するレスポンスを送信する(760において)。場合によって、レスポンスは、通知を提供した要素に対して提供することができる。例えば、小売店で、小売店に関連するローカルサーバから追跡される情報の種類のリストをユーザデバイスが受信することができる。ユーザ選択は、次に、レスポンスメッセージ中でローカルサーバに対して提供することができる。別の例として、小売店で、伝送することができるが、受信できないビーコンから情報をユーザデイバスは受信することができる。このような場合、レスポンスは、別のデバイス(例えば、ローカルサーバ又はリモートサーバ)に送信することができる。そのようなデバイスは、通知及び/又は他の適切な方法に含まれる情報によって特定することができる。場合によっては、レスポンスは、送信されない(例えば、任意の追跡情報がユーザデバイスによって制御されていないときなど)。
次に、プロセスは、ユーザ選択に基づいて情報を提供し(770において)、そして、次に終了することができる。例えば、ユーザは、ローカル情報を共有することを選択することができ(モバイルデバイスによって判定されるように)、そして、その情報のみを通知するリソースに提供することができる。
図8は、追跡されるデータの配布と収集を管理するいくつかの実施形態の例となるサーバ側プロセス800のフローチャートを図示する。そのようなプロセスは、プロセス700を補完するものであり得る。そのようなプロセスは、サーバ470などの要素によって実行することができる。プロセスは、例えば、サーバの電源が入れられたときに、開始することができる。
図示したように、プロセス800は、参加する消費者が検出されたか否かを判定することができる(810において)。そのような判定は、様々な適切な方法で行うことができる(例えば、動き検出、視覚検出、クエリに対するレスポンスを検出するなど)。場合によっては、検出は、ローカル要素によって実行することができる(例えば、ビーコン、ディスプレイなどの発生地デバイスなど)。ローカル要素は、次に、検出メッセージをサーバに対して送信することができる。
次に、プロセスは、要素の組を読み出す(retrieve)(820において)。そのような要素は、例えば、追跡される情報の種類、通知情報(例えば、テキスト、グラフィックスなど)、及び/又は発生地、ユーザなどと関連する他の適切な要素を含む。
プロセスは、次に、読み出した要素に少なくとも部分的に基づいて、通知をユーザデバイスに送信することができる(830において)。いくつかの実施形態において、通知は、特定のユーザデバイスに向かっていないが、しかし伝送範囲内でユーザデバイスによって受信することができるビーコン信号又は他の信号として提供することができる。加えて、通知は、ユーザデバイスの検出を必要とせずに送信される(例えば、ビーコン信号は、連続的に、一定間隔で伝送することができるなど)。
次に、プロセスは、レスポンスが受信されたか否かを判定することができる(840において)。プロセスが、レスポンスが受信されたと判定した場合(840において)、プロセスは、ユーザ選択を抽出し(850において)、その選択に基づいて情報を収集することができる(860において)。場合によっては、そのような情報は、1つ以上のローカルデバイス(例えば、ビーコン、POSデバイスなど)によって収集することができ、サーバに送信することができる。サーバは、収集される情報(例えば、購入情報が収集されている間、位置情報は、破棄され、又は収集されないようにできる)を示すローカルデバイスにコマンド又はメッセージを送信することができる。
プロセスは、レスポンスが受信されなかったと判断した場合は(840において)、プロセスは、デフォルトの情報(default information)を収集することができる(870において)。場合によっては、レスポンスが受信されなかった場合、情報を収集しないこともできる。情報は、様々な適切なリソース(例えば、ユーザデバイス、発生地デバイス、ローカルサーバなど)から収集することができる(860又は870において)。
情報を収集した(860又は870において)後、プロセスは、収集した情報を記憶し(880において)、次に、終了することができる。場合によっては、収集された情報は、他のエンティティに送信することができる。例えば、収集された情報は、発生地デバイス又はローカルサーバに送信することができる。
図9は、発生地に関連する追跡されたデータの配布と収集を管理するいくつかの実施形態の例となるクライアント側プロセス900のフローチャートを図示する。そのようなプロセスは、プロセス700及び/又はプロセス800を補完することができる。そのようなプロセスは、ビーコン450又は発生地デバイス460などの要素によって実行することができる。プロセスは、例えば、発生地デバイスの電源が入れられたときに開始することができる。
動作910~970は、上述の動作810~870と同種であり得る。図示したように、情報を収集した(960又は970において)後、プロセスは、収集した情報をサーバに送信し(980において)、次に終了することができる。
いくつかの実施形態において、プロセス800及び900は、共同してローカルデバイス及びリモートサーバによって実行することができる。例えば、ビーコンのようなローカルデバイスは、ユーザデバイスによって受信された信号を伝送することができる。ユーザデバイスは、順に、追跡された情報をローカル又はリモートサーバに提供することができる(例えば、ビーコンがデータを受信できないとき)。別の例では、ローカルサーバは、ユーザ選択の組を受信し、選択に基づいて他のシステムの要素の動作を少なくとも部分的に制御することができる(例えば、ユーザが取引情報を追跡することにオプトアウトしたとき、ローカルサーバは、購入情報をリモートサーバに伝送しないことができる)。
図10は、追跡されたデータをユーザに提供するいくつかの実施形態の例となるクライアント側プロセス1000のフローチャートを図示する。そのようなプロセスは、ウェアラブルデバイス420又はモバイルデバイス430などの要素によって実行することができる。プロセスは、例えば、クライアントアプリケーションが起動されたとき又はウェブベースインタフェースがアクセスされたときに、開始することができる。
図示したように、プロセスは、追跡された情報に対するリクエストを受信することができる(1010において)。そのようなリクエストは、様々な関連する基準に基づいて追跡される情報からユーザが選択できるようにする適切なUIを経由して受信することができる。例えば、ユーザは、先月内のすべての追跡された購入のレビューを希望することができる。
次に、プロセスは、リクエストをサーバに送信することができる(1020において)。リクエストは、1010において受信された追跡された情報を特定する情報を含むことができる。
プロセスは、次にリクエストに対するレスポンスを受信し(1030において)、リクエストされた情報を提供し(1040において)、次に終了することができる。
図11は、追跡されたデータをユーザに提供するいくつかの実施形態の例となるサーバ側プロセス1100のフローチャートを図示する。そのようなプロセスは、プロセス1000を補完することができる。そのようなプロセスは、サーバ470などの要素によって実行することができる。プロセスは、例えば、サーバの電源が入れたときに開始することができる。
図示したように、プロセスは、ユーザデバイスからリクエストを受信することができる(1110において)。次に、プロセスは、リクエストに少なくとも部分的に基づいて関連する情報を読み出すことができる(1120において)。
次に、プロセスは、読み出した情報に少なくとも部分的に基づいてレスポンスを生成することができる(1130において)。プロセスは、次に、ユーザデバイスにレスポンスを送信し(1140において)、次に、終了することができる。
図12は、追跡されたデータを提供し、発生地に関連する管理者からの追跡する最新情報(updates)を受信するいくつかの実施形態の例となるクライアント側プロセス1200のフローチャートを図示する。そのようなプロセスは、ビーコン450又は発生地デバイス460などの要素によって実行することができる。プロセスは、例えば、クライアントアプリケーションが起動されたとき、又はウェブベースインタフェースがアクセスされたときに、開始することができる。
動作1210~1240は、上述の動作1010~1040と同種であり得る。プロセス1000やプロセス1200などは、消費者-ユーザよりは、発生地管理者(venue administrator)(例えば、店の店員又はマネージャ)と関連することができる。
任意のリクエストされた情報を提供した(1240において)後、プロセスは、追跡するパラメータが更新するか否かを判定することができる(1250において)。そのような判定は、管理者-ユーザによって行われる選択などの、様々な関連するファクタに基づいて行うことができる。プロセスは、最新情報がないと判定した場合(1250において)、プロセスは終了することができる。
プロセスは、最新情報があると判定した場合(1250において)、プロセスは、選択を受信し、最新情報のメッセージをサーバに送信し(1270において)、次に、終了することができる。いくつかの実施形態において、最新情報は、サーバに加えて又はサーバの代わりに、ローカルデバイス(例えば、発生地デバイス)に配布することができる。
最新情報は、例えば、発生地が視覚検出システムを導入したとき、新しい店舗のセクションが配備されたときなど、情報を追跡する種類に対する更新を含むことができる。
図13は、追跡されるデータを提供し、発生地に関連する管理者から追跡する最新情報を受信するいくつかの実施形態の例となるサーバ側プロセス1300のフローチャートを図示する。そのようなプロセスは、プロセス1200を補完することができる。そのようなプロセスは、サーバ470などの要素によって実行することができる。プロセスは、例えば、サーバの電源が入れられたときに開始することができる。
動作1310~1340は、上述の動作1110~1140と同種であり得る。消費者-ユーザというよりは、プロセス1100、プロセス1300などは、発生地管理者(例えば、店の店員又はマネージャ)に関連することができる。
レスポンスを送信した(1340において)後、プロセスは、追跡する情報を更新するリクエストを受信した否かを判定することができる(1350において)。プロセスが、レスポンスが受信されていないと判定した場合(1350において)、プロセスは終了することができる。
リクエストが受信されたとプロセスが判定した場合(1350において)、プロセスは、最新情報を受信し(1360において)、最新情報を適用し(1370において)、そして、次に終了することができる。最新情報は、様々な適切な方法で適用することができる。例えば、最新情報は、地域の管理者から受信され、次に、その領域のお店に関連するすべてのデバイス(例えば、発生地デバイス、ローカルサーバなど)に配布することができる。
当業者であれば、図7~図13を参照して上述したプロセスの例が、本開示の範囲を逸脱することなく様々な異なる方法によって実装できることを理解するであろう。例えば、種々の実施形態は、上述とは異なる順序で動作を実行することができる。別の実例としては、いくつかの実施形態は、様々なリストした動作に追加の動作を含み、及び/又は省略することもできる。各プロセスは、複数のサブプロセスに分割され及び/又はマクロプロセスを形成するために他のプロセスと組み合わせることもできる。加えて、動作のサブセットは、様々な適切な基準(例えば、会話の間に様々なシステムリソース間で複数のメッセージが行き来する)に基づいて反復して実行することができる。
IV.コンピュータシステム
上述のプロセス及びモジュールの多くは、非一時的な、有体の記憶媒体上に記憶される命令の1つ以上の組として規定されるソフトウェアプロセスとして実装することができる。これらの命令は1つ以上の計算要素(例えば、マイクロプロセッサ、マイクロコントローラ、デジタルシグナルプロセッサ(DPSs)、特定用途向け集積回路(ASICs)、フィールドプラグラマブルゲートアレイ(FPGAs)など)によって実行されるとき、命令は、計算要素に、命令の中で特定されるアクションを実行するようにさせる。
いくつかの実施形態において、上述の様々なプロセス及びモジュールは、デイバス又は要素の様々な組を含み得る電子回路を使用して完全に実装することができる(例えば、センサ、ロジックゲイト、アナログ・デジタルコンバータ、デジタル・アナログコンバータ、コンパレータなど)。そのような回路は、本明細書全体で説明する様々なソフトウェア要素に関連することができる機能及び/又は特徴を実行することができる。
図14は、いくつかの実施形態を実装するために使用される例となるコンピュータシステム1400の概略ブロック図を図示する。例えば、図1~6を参照した上述のシステムは、コンピュータシステム1400を使用して少なくとも部分的に実装することができる。別の例としては、図7~図13を参照して説明したプロセスは、コンピュータシステム1400を使用して実行される命令の組を使用して少なくとも部分的に実行することができる。
コンピュータシステム1400は、様々な適切なデバイスを使用して実装することができる。例えば、コンピュータシステムは、パーソナルコンピュータ(PCs)、サーバ、モバイルデバイス(例えば、スマートフォン)、タブレットデバイス、及び/又は任意の他の適切なデバイスの1つ以上を使用して実装することができる。様々なデバイスは、単独で(例えば、コンピュータシステムが単一のPCとして実装されることができる)又は協働して(例えば、コンピュータシステムのいくつかのコンポーネントがモバイルデバイスによって提供することができ、一方、他のコンポーネントはタブレットデバイスによって提供される)働くことができる。
図示したように、少なくとも1つの通信バス1405、1つ以上のプロセッサ1410、システムメモリ1415、リードオンリメモリ(ROM)1420、永久ストレージデバイス1425、入力デバイス1430、出力デバイス1435、様々な他のコンポーネント1440(例えば、グラフックスプロセッシングユニット)、及び1つ以上のネットワークインタフェース1445をコンピュータシステム1400は含むことができる。
バス1405は、コンピュータ1400の要素の間でのすべての通信経路を表現する。そのような経路は、有線の、ワイヤレスの、オプティカルの、及び/又は他の適切な通信経路(communication pathways)を含むことができる。例えば、入力デバイス1430及び/又は出力デバイス1435は、ワイヤレス通信プロトコル又はシステムを使用してシステム1400と結合することができる。
プロセッサ1410は、いくつかの実施形態のプロセスを実行するために、実行される命令及び/又は処理されるデータを、システムメモリ1415、ROM1420、及び永久ストレージデバイス1425などのコンポーネントから読み取る(retrieve)ことができる。そのような命令及びデータは、バス1405を介して通過することができる。
システムメモリ1415は、例えば、ランダムアクセスメモリ(RAM)などの揮発性のリード・ライトメモリであり得る。システムメモリは、プロセッサが実行時に使用する命令とデータの一部を記憶することができる。いくつかの実施形態を実行するために使用される命令及び/又はデータの組は、システムメモリ1415、永久ストレージデバイス1425、及び/又はリードオンリメモリ1420中に記憶することができる。ROM1420は、プロセッサ1410及び/又はコンピュータシステムの他の要素によって使用することができるスタティックなデータ及び命令を記憶することができる。
永久ストレージデバイス1425は、リード・ライトメモリデバイスであり得る。永久ストレージデバイスは、コンピュータシステム1400がオフ又は電源を切られたときでさえ、命令及びデータを記憶する不揮発性メモリであり得る。コンピュータシステム1400は、永久ストレージデバイスとして、リムーバブルストレージデバイス及び/又はリモートストレージデバイスを使用することができる。
入力デバイス1430は、ユーザがコンピュータシステム及び/又はシステムの複数の様々な動作と情報を通信できるようにすることができる。入力デバイスは、キーボード、カーソル制御デバイス、オーディオ入力デバイス及び/又はビデオ入力デバイスを含むことができる。出力デバイス1435は、プリンタ、ディスプレイ、及び/又はオーディオデバイスを含むことができる。入力デバイス及び/又は出力デバイスの一部又は全部は、コンピュータシステムにワイヤレスに又は光学的に接続することができる。
他のコンポーネント1440は、様々な他の機能を実行することができる。これらの機能は、特定の機能(例えば、グラフィックス処理、サウンド処理など)を実行し、記憶を提供し、外部のシステム又はコンポーネントなどとインタフェースすることができる。
最後に、図14に示したように、コンピュータシステム1400は、1つ以上のネットワークインタフェース1445を介して1つ以上のネットワーク1450と結合することができる。例えば、コンピュータシステム1400上で実行されるウェブブラウザが、ウェブブラウザ上で動作するインタフェースとユーザが対話できるようにウェブサーバと対話できるように、コンピュータシステム1400はインターネット上のウェブサーバに結合することができる。コンピュータシステム1400は、ネットワークインタフェース1445とネットワーク1450を介して、1つ以上のリモートストレージ1460及び1つ以上の外部コンポーネント1465にアクセスすることができる。ネットワークインタフェース1445は、コンピュータシステム1400がリモートシステム及び/又はストレージにアクセスすることができ、またリモートシステム及び/又はストレージがコンピュータシステム1400(又はその要素に)アクセスするこができるようにする1つ以上のアプリケーションプログラミングインタフェース(APIs)を含むことができる。
この明細書及び本出願の任意の請求項において使用されるように、用語「コンピュータ」、「サーバ」、「プロセッサ」、及び「メモリ」は、すべて電子デバイスを指している。これらの用語は、人々又は人々の集団を除く。この明細書と本願の請求項で使用されるように、用語「非一時的記憶媒体(non-transitory storage medium)」は、電子デバイスによって読取り可能な形式で情報を記憶する有形の、対象部に完全に限定される。これらの用語は、任意のワイヤレス又は他の一時的な信号を除外する。
コンピュータシステム1400の任意の又はすべてのコンポーネントがいくつかの実施形態と協働して使用することができることは当業者によって理解されるであろう。その上、多くの他のシステム構成は、また、いくつかの実施形態又はいくつかの実施形態のコンポーネントと協働して使用されることを、当業者は理解する。加えて、示された例は、別個の要素として多くの個々のモジュールとして説明されているが、当業者は、これらのモジュールが単一の機能ブロック又は要素に組み合わせることができることを認識するであろう。当業者は、単一のモジュールが複数のモジュールに分解できることも理解するであろう。
上述のものは、例となる実施形態の説明の役に立つ詳細に関連し、以下の請求項によって定義されるように、本開示の範囲を逸脱することなく変更を行うことができる。
ここで例としていくつかの付記を記載する。
(付記1)
情報の配布と追跡を、ユーザデバイスにおいて、制御する方法であって、
前記ユーザデバイスにおいて、追跡する通知から要素の組を抽出すること(8030)であって、要素の前記組は、情報の種類の組を含む、抽出することと、
前記ユーザデバイスにおいて、情報の種類の前記組の中からユーザ選択の組を受信すること(8050)と、
前記ユーザデバイスから、前記追跡する通知に対するレスポンスを送信すること(8060)であって、前記レスポンスは、ユーザ選択の前記組を含む、送信することと、
を含む、方法。
(付記2)
ユーザ選択の前記組を受信することが、
前記ユーザデバイスにおいて、前記情報の種類の組における情報の種類に対する表示を含むユーザインタフェース(UI)を提供することと、
前記ユーザデバイスにおいて、追跡コントローラの組を提供することであって、前記追跡コントローラは、前記情報の種類の組から特定の情報の種類に関連する、提供することと、
前記ユーザデバイスにおいて、各追跡コントローラの状態を決定することと、
を含む、付記1に記載の方法。
(付記3)
前記表示は、グラフィカルアイコンを含み、前記追跡コントローラは、スライドスイッチを含む、付記2に記載の方法。
(付記4)
前記追跡する通知は、発生地デバイス及びサーバのうちの1つから受信され、前記レスポンスは、前記発生地デバイス及び前記サーバのうちの1つに送信される、付記1に記載の方法。
(付記5)
情報の種類の前記組は、場所、視覚認識、及び取引情報のうちの少なくとも1つを含む、付記1に記載の方法。
(付記6)
情報の配布と追跡を制御するユーザデバイスであって、前記ユーザデバイスは、命令の組を実行するプロセッサと、命令の前記組を記憶する非一時的記憶媒体とを含み、
命令の前記組は、
前記ユーザデバイスにおいて、追跡する通知を受信すること(810)と、
前記ユーザデバイスにおいて、前記追跡する通知から要素の組を抽出することであって、要素の前記組は、情報の種類の組を含む、抽出することと、
前記ユーザデバイスにおいて、情報の種類の前記組からユーザ選択の組を受信すること(8050)と、
前記ユーザデバイスから、前記追跡する通知に対するレスポンスを送信すること(8060)であって、前記レスポンスは、ユーザ選択の前記組を含む、送信することと、
を含む、ユーザデバイス。
(付記7)
ユーザ選択の前記組を受信する命令の前記組は、さらに、
前記ユーザデバイスにおいて、情報の種類の前記組において、各情報の種類の表示を含むユーザインタフェース(UI)を提供することと、
前記ユーザデバイスにおいて、追跡コントローラの組を提供することであって、各追跡コントローラは、情報の種類の前記組からの特定の情報の種類に関連する、提供することと、
前記ユーザデバイスにおいて、各追跡コントローラの状態を判定することと、
を含む、付記6に記載のユーザデバイス。
(付記8)
前記表示は、グラフィカルアイコンを含み、前記追跡コントローラは、スライドスイッチを備える、付記7に記載のユーザデバイス。
(付記9)
前記追跡する通知は、発生地デバイス及びサーバのうちの1つから受信され、前記レスポンスは、前記発生地デバイス及び前記サーバのうちの1つに対して送信される、付記6に記載のユーザデバイス。
(付記10)
情報の種類の前記組は、場所、視覚認識、及び取引情報のうちの少なくとも1つを含む、付記6に記載のユーザデバイス。
(付記11)
サーバにおいて、情報の配布と追跡を制御する方法であって、
前記方法は、
前記サーバにおいて、定義された領域内の消費者デバイスを検出すること(8110)と、
前記サーバにおいて、前記定義された領域に関連する追跡する要素の組を読み出すこと(8120)と、
前記消費者デバイスに対して、追跡する要素の前記組を含む通知を送信すること(8130)と、
前記消費者デバイスから、前記追跡する通知に対するレスポンスを受信すること(8160)であって、前記レスポンスは、情報の種類の前記組の中からユーザ選択の組を含む、方法。
(付記12)
ユーザ選択の前記組に基づいて情報を収集することと、前記収集された情報を記憶することと、をさらに含む付記11に記載の方法。
(付記13)
前記消費者デバイスを検出することが、前記定義された領域に関連する発生地デバイスから通知を受信することを含む、付記11に記載の方法。
(付記14)
前記定義された領域に関連する発生地デバイスに、ユーザ選択の前記組を示すメッセージを送信することをさらに含む、付記11に記載の方法。
(付記15)
情報の種類の前記組は、場所、視覚認識、及び取引情報のうちの少なくとも1つを含む、付記11に記載の方法。
(付記16)
情報の配布と追跡を制御するサーバであって、前記サーバは、
命令の組を実行するためのプロセッサと、
命令の前記組を記憶する非一時的記憶媒体であって、命令の前記組は、
前記サーバにおいて、定義された領域内の消費者デバイスを検出すること(8110)と、
前記サーバにおいて、前記定義された領域に関連する追跡する要素の組を読み出すこと(8120)であって、追跡する要素の前記組は、情報の種類の組を含む、読み出すことと、
前記消費者デバイスに対して、追跡する要素の前記組を含む通知を送信すること(8130)と、
前記消費者デバイスから、前記追跡する通知に対するレスポンスを受信すること(8160)であって、前記レスポンスは、情報の種類の前記組の中からユーザ選択の組を含む、受信することと、
を含む、サーバ。
(付記17)
命令の前記組は、さらに、
ユーザ選択の前記組に基づいて情報を収集することと、
前記収集された情報を記憶することと、
を含む、付記16に記載のサーバ。
(付記18)
前記消費者デバイスを検出する命令の前記組は、前記定義された領域に関連する発生地デバイスから通知を受信することを含む、付記16に記載のサーバ。
(付記19)
命令の前記組が、前記定義された領域に関連する発生地デバイスに、ユーザ選択の前記組を示すメッセージをさらに送信する、付記16に記載のサーバ。
(付記20)
情報の種類の前記組が、場所、視覚認識、及び取引情報のうちの少なくとも1つを含む、付記16に記載のサーバ。

Claims (9)

  1. コンピュータにより実行される方法であって、
    追跡する通知が受信されたか否かを判定し、前記追跡する通知が受信されなかったと判定したときに、デフォルトの情報を提供することと、
    前記追跡する通知が受信されたと判定したときに、前記コンピュータにおいて、前記追跡する通知から要素の組を抽出することであって、要素の前記組は、情報の種類の組を含む、抽出することと、
    情報の種類に関連する表示を含むユーザインタフェース(UI)を提供することと、
    複数の情報の種類の中からユーザ選択の組を受信することと、
    追跡コントローラのそれぞれの状態を決定することと、
    前記追跡コントローラに基づいてユーザが選択した情報の種類を有する、前記追跡する通知に対する、レスポンスを送信することと、
    を含む、方法。
  2. 前記表示は、グラフィカルアイコンを含み、前記追跡コントローラは、スライドスイッチを含む、請求項1に記載の方法。
  3. 前記追跡する通知は、発生地デバイス及びサーバのうちの1つから受信され、前記レスポンスは、前記発生地デバイス及び前記サーバのうちの1つに送信される、請求項1に記載の方法。
  4. 情報の種類の前記組は、場所、視覚認識、及び取引情報のうちの少なくとも1つを含む、請求項1に記載の方法。
  5. ユーザデバイスであって、命令の組を実行するプロセッサと、命令の前記組を記憶する非一時的記憶媒体とを備え、
    命令の前記組は、
    追跡する通知が受信されたか否かを判定し、前記追跡する通知が受信されなかったと判定したときに、デフォルトの情報を提供することと、
    前記追跡する通知が受信されたと判定したときに、情報の種類の組を有する前記追跡する通知から要素の組を抽出することと、
    情報の種類の前記組の中からユーザ選択の組を受信することと、
    前記ユーザデバイスから、前記追跡する通知に対するレスポンスを送信することであって、前記レスポンスは、ユーザ選択の前記組を含む、送信することと、
    を含む、ユーザデバイス。
  6. ユーザ選択の前記組を受信する命令の前記組は、さらに、
    情報の種類の前記組において、各情報の種類の表示を提供することと、
    追跡コントローラの組を提供することであって、各追跡コントローラは、特定の情報の種類に関連する、提供することと、
    各追跡コントローラの状態を判定することと、
    を含む、請求項5に記載のユーザデバイス。
  7. 前記表示は、グラフィカルアイコンを含み、前記追跡コントローラは、スライドスイッチを備える、請求項6に記載のユーザデバイス。
  8. 前記追跡する通知は、発生地デバイス及びサーバのうちの1つから受信され、前記レスポンスは、前記発生地デバイス及び前記サーバのうちの1つに対して送信される、請求項5に記載のユーザデバイス。
  9. 情報の種類の前記組は、場所、視覚認識、及び取引情報のうちの少なくとも1つを含む、請求項5に記載のユーザデバイス。
JP2017565049A 2015-06-18 2016-06-16 追跡されるデータのユーザ制御された配布及び収集 Active JP6991069B2 (ja)

Applications Claiming Priority (3)

Application Number Priority Date Filing Date Title
US201562181473P 2015-06-18 2015-06-18
US62/181,473 2015-06-18
PCT/US2016/037741 WO2016205442A1 (en) 2015-06-18 2016-06-16 User-controlled distribution and collection of tracked data

Publications (2)

Publication Number Publication Date
JP2018520432A JP2018520432A (ja) 2018-07-26
JP6991069B2 true JP6991069B2 (ja) 2022-01-12

Family

ID=56345209

Family Applications (1)

Application Number Title Priority Date Filing Date
JP2017565049A Active JP6991069B2 (ja) 2015-06-18 2016-06-16 追跡されるデータのユーザ制御された配布及び収集

Country Status (6)

Country Link
US (1) US20180367982A1 (ja)
EP (1) EP3311352A1 (ja)
JP (1) JP6991069B2 (ja)
KR (2) KR20180019559A (ja)
CN (1) CN107771339A (ja)
WO (1) WO2016205442A1 (ja)

Families Citing this family (1)

* Cited by examiner, † Cited by third party
Publication number Priority date Publication date Assignee Title
EP3726344A1 (en) 2019-04-16 2020-10-21 InterDigital CE Patent Holdings Method and apparatus for user control of an application and corresponding device

Citations (7)

* Cited by examiner, † Cited by third party
Publication number Priority date Publication date Assignee Title
JP2009157738A (ja) 2007-12-27 2009-07-16 Felica Networks Inc 情報処理装置および方法、プログラム、並びに情報処理システム
JP2011014048A (ja) 2009-07-03 2011-01-20 Ntt Docomo Inc 情報処理装置、情報処理方法およびプログラム
US20110106613A1 (en) 2009-11-03 2011-05-05 Verizon Patent And Licensing, Inc. Electronic coupon distribution, collection, and utilization systems and methods
JP2013084063A (ja) 2011-10-06 2013-05-09 Dentsu Inc 端末装置、サーバ装置、ネットワークシステム、通信方法及び通信プログラム
JP5648201B1 (ja) 2014-03-31 2015-01-07 山本 治信 電子クーポン広告仲介システム
US20150058121A1 (en) 2013-08-21 2015-02-26 Ghostery, Inc. System and method for controlling targeted advertising
JP2015509241A (ja) 2012-01-05 2015-03-26 ヴィザ インターナショナル サーヴィス アソシエイション 取引映像キャプチャ装置、方法およびシステム

Family Cites Families (10)

* Cited by examiner, † Cited by third party
Publication number Priority date Publication date Assignee Title
JP4016787B2 (ja) * 2002-07-31 2007-12-05 日本電気株式会社 移動通信ネットワークにおける測位システム
CN100551116C (zh) * 2003-02-14 2009-10-14 高通股份有限公司 用于具有移动台的定位服务隐私管理的系统、方法和装置
KR100545351B1 (ko) * 2003-03-21 2006-01-24 에스케이 텔레콤주식회사 듀얼 스택 이동통신망에서의 가입자 위치 추적 방법
US20110093340A1 (en) * 2006-01-30 2011-04-21 Hoozware, Inc. System for providing a service to venues where people perform transactions
US8260312B2 (en) * 2009-02-19 2012-09-04 Research In Motion Limited Method and apparatus for location request tracking
CN102982455A (zh) * 2011-09-06 2013-03-20 上海博路信息技术有限公司 一种动态团购交易撮合系统
US20140136312A1 (en) * 2012-11-09 2014-05-15 Cox Communications, Inc. Location-based content delivery
US9298898B2 (en) * 2013-07-18 2016-03-29 At&T Intellectual Property I, L.P. Event-based security challenges
AU2014324893B2 (en) * 2013-09-26 2020-05-14 William Knight Foster Providing targeted content based on a user's values
US9965141B2 (en) * 2014-06-06 2018-05-08 Apple Inc. Movable selection indicators for region or point selection on a user interface

Patent Citations (7)

* Cited by examiner, † Cited by third party
Publication number Priority date Publication date Assignee Title
JP2009157738A (ja) 2007-12-27 2009-07-16 Felica Networks Inc 情報処理装置および方法、プログラム、並びに情報処理システム
JP2011014048A (ja) 2009-07-03 2011-01-20 Ntt Docomo Inc 情報処理装置、情報処理方法およびプログラム
US20110106613A1 (en) 2009-11-03 2011-05-05 Verizon Patent And Licensing, Inc. Electronic coupon distribution, collection, and utilization systems and methods
JP2013084063A (ja) 2011-10-06 2013-05-09 Dentsu Inc 端末装置、サーバ装置、ネットワークシステム、通信方法及び通信プログラム
JP2015509241A (ja) 2012-01-05 2015-03-26 ヴィザ インターナショナル サーヴィス アソシエイション 取引映像キャプチャ装置、方法およびシステム
US20150058121A1 (en) 2013-08-21 2015-02-26 Ghostery, Inc. System and method for controlling targeted advertising
JP5648201B1 (ja) 2014-03-31 2015-01-07 山本 治信 電子クーポン広告仲介システム

Also Published As

Publication number Publication date
KR20180019559A (ko) 2018-02-26
WO2016205442A1 (en) 2016-12-22
KR20240136368A (ko) 2024-09-13
CN107771339A (zh) 2018-03-06
US20180367982A1 (en) 2018-12-20
EP3311352A1 (en) 2018-04-25
JP2018520432A (ja) 2018-07-26

Similar Documents

Publication Publication Date Title
US11700134B2 (en) Bot permissions
US10798028B2 (en) Bot interaction
US20140337751A1 (en) Automatic creation of calendar items
US20240103889A1 (en) Systems and methods for rendering and retaining application data associated with a plurality of applications within a group-based communication system
JP2018067328A (ja) 所定の位置内での通信のための方法及びシステム
JP6411011B2 (ja) ユーザ端末装置、サーバ及びその制御方法
TW201805801A (zh) 終端、應用資訊的顯示方法及裝置
KR20200120288A (ko) 하나의 대화방에서 다수의 그룹통화를 제공하는 방법, 시스템, 및 비-일시적인 컴퓨터 판독가능한 기록 매체
JP6681146B2 (ja) 情報処理装置、情報処理方法、及びプログラム
JP6588033B2 (ja) パーソナルインテリジェンスプラットフォーム
US20170318110A1 (en) Providing push notifications to a device based on nearby devices
JP2019021342A (ja) 判定装置、通知管理サーバ、制御プログラム、判定方法、判定プログラム、通知管理方法及び通知管理プログラム
JP6991069B2 (ja) 追跡されるデータのユーザ制御された配布及び収集
US20150277683A1 (en) Adaptive user experience
US10271188B2 (en) Systems and methods for communicating with a unique identifier
US20140379803A1 (en) Methods and systems for a mobile social application
US10374988B2 (en) Activity beacon
JP2019021192A (ja) 判定装置、通知管理サーバ、制御プログラム、判定方法、判定プログラム、通知管理方法及び通知管理プログラム
US11425192B2 (en) Systems and methods for communicating with a unique identifier
KR101379031B1 (ko) 접속 중인 고객의 관리를 위한 관리 서비스 제공 방법
US20150134738A1 (en) Method and system for viewing multiple physical locations customer wait times at one instance from a portable electronic application via a communications network
WO2016160337A1 (en) Consumer-aware retail environment

Legal Events

Date Code Title Description
A521 Request for written amendment filed

Free format text: JAPANESE INTERMEDIATE CODE: A523

Effective date: 20180220

RD03 Notification of appointment of power of attorney

Free format text: JAPANESE INTERMEDIATE CODE: A7423

Effective date: 20181220

RD04 Notification of resignation of power of attorney

Free format text: JAPANESE INTERMEDIATE CODE: A7424

Effective date: 20181227

A621 Written request for application examination

Free format text: JAPANESE INTERMEDIATE CODE: A621

Effective date: 20190520

A711 Notification of change in applicant

Free format text: JAPANESE INTERMEDIATE CODE: A711

Effective date: 20191111

A977 Report on retrieval

Free format text: JAPANESE INTERMEDIATE CODE: A971007

Effective date: 20191113

A131 Notification of reasons for refusal

Free format text: JAPANESE INTERMEDIATE CODE: A131

Effective date: 20191206

A521 Request for written amendment filed

Free format text: JAPANESE INTERMEDIATE CODE: A523

Effective date: 20200304

A131 Notification of reasons for refusal

Free format text: JAPANESE INTERMEDIATE CODE: A131

Effective date: 20200828

A601 Written request for extension of time

Free format text: JAPANESE INTERMEDIATE CODE: A601

Effective date: 20201125

A711 Notification of change in applicant

Free format text: JAPANESE INTERMEDIATE CODE: A711

Effective date: 20201217

A521 Request for written amendment filed

Free format text: JAPANESE INTERMEDIATE CODE: A523

Effective date: 20210209

A521 Request for written amendment filed

Free format text: JAPANESE INTERMEDIATE CODE: A523

Effective date: 20210318

A521 Request for written amendment filed

Free format text: JAPANESE INTERMEDIATE CODE: A523

Effective date: 20210715

TRDD Decision of grant or rejection written
A01 Written decision to grant a patent or to grant a registration (utility model)

Free format text: JAPANESE INTERMEDIATE CODE: A01

Effective date: 20211116

A61 First payment of annual fees (during grant procedure)

Free format text: JAPANESE INTERMEDIATE CODE: A61

Effective date: 20211207

R150 Certificate of patent or registration of utility model

Ref document number: 6991069

Country of ref document: JP

Free format text: JAPANESE INTERMEDIATE CODE: R150

R250 Receipt of annual fees

Free format text: JAPANESE INTERMEDIATE CODE: R250

R250 Receipt of annual fees

Free format text: JAPANESE INTERMEDIATE CODE: R250