JP6880452B2 - 密閉型電池 - Google Patents

密閉型電池 Download PDF

Info

Publication number
JP6880452B2
JP6880452B2 JP2017155499A JP2017155499A JP6880452B2 JP 6880452 B2 JP6880452 B2 JP 6880452B2 JP 2017155499 A JP2017155499 A JP 2017155499A JP 2017155499 A JP2017155499 A JP 2017155499A JP 6880452 B2 JP6880452 B2 JP 6880452B2
Authority
JP
Japan
Prior art keywords
spacer
terminal
convex portion
fixing convex
plate
Prior art date
Legal status (The legal status is an assumption and is not a legal conclusion. Google has not performed a legal analysis and makes no representation as to the accuracy of the status listed.)
Expired - Fee Related
Application number
JP2017155499A
Other languages
English (en)
Other versions
JP2019036409A (ja
Inventor
雄太 根本
雄太 根本
海人 松原
海人 松原
Current Assignee (The listed assignees may be inaccurate. Google has not performed a legal analysis and makes no representation or warranty as to the accuracy of the list.)
Toyota Motor Corp
Original Assignee
Toyota Motor Corp
Priority date (The priority date is an assumption and is not a legal conclusion. Google has not performed a legal analysis and makes no representation as to the accuracy of the date listed.)
Filing date
Publication date
Application filed by Toyota Motor Corp filed Critical Toyota Motor Corp
Priority to JP2017155499A priority Critical patent/JP6880452B2/ja
Publication of JP2019036409A publication Critical patent/JP2019036409A/ja
Application granted granted Critical
Publication of JP6880452B2 publication Critical patent/JP6880452B2/ja
Expired - Fee Related legal-status Critical Current
Anticipated expiration legal-status Critical

Links

Images

Classifications

    • YGENERAL TAGGING OF NEW TECHNOLOGICAL DEVELOPMENTS; GENERAL TAGGING OF CROSS-SECTIONAL TECHNOLOGIES SPANNING OVER SEVERAL SECTIONS OF THE IPC; TECHNICAL SUBJECTS COVERED BY FORMER USPC CROSS-REFERENCE ART COLLECTIONS [XRACs] AND DIGESTS
    • Y02TECHNOLOGIES OR APPLICATIONS FOR MITIGATION OR ADAPTATION AGAINST CLIMATE CHANGE
    • Y02EREDUCTION OF GREENHOUSE GAS [GHG] EMISSIONS, RELATED TO ENERGY GENERATION, TRANSMISSION OR DISTRIBUTION
    • Y02E60/00Enabling technologies; Technologies with a potential or indirect contribution to GHG emissions mitigation
    • Y02E60/10Energy storage using batteries

Landscapes

  • Connection Of Batteries Or Terminals (AREA)

Description

本発明は、密閉型電池に関する。詳しくは、内圧上昇によって作動する電流遮断機構を備えた密閉型電池に関する。
リチウムイオン二次電池やニッケル水素電池などの二次電池は、車両搭載用電源あるいはパソコンや携帯端末等の電源として重要性が高まっている。これらの二次電池は、例えば、密閉された電池ケース内に電極体と電解質とが収容された、いわゆる密閉型電池として構築される。かかる密閉型電池では、電池ケース内に収容されている電極体と、他の二次電池やモーター等の外部機器とを電気的に接続する電極端子が電池ケースに設けられている。
この種の密閉型電池では、充電装置の故障等によって充電中に過剰な電流が電極体に流れ込む、いわゆる過充電が生じることがある。このような過充電が生じると、電池反応が急速に進行して電池ケース内で多量のガスが発生し、内圧上昇によって電池ケースが損傷するおそれがある。このような過充電の進行を未然に防止するため、密閉型電池には、電池ケースの内圧が上昇した際に電極体から電極端子に至る導電経路を遮断する機構(電流遮断機構)が設けられている。
上記電流遮断機構を備えた密閉型電池の一例として、図8および図9に示すような密閉型電池100が挙げられる。かかる密閉型電池100は、電池ケース150内の電極体(図示省略)と電気的に接続される集電端子110と、該集電端子110と電気的に接続されると共に一部が電池ケース150の外部に露出する外部露出端子120とを備えている。そして、この密閉型電池100では、集電端子110と外部露出端子120との間に電流遮断機構Sが配置されている。
この電流遮断機構Sは、集電端子110の上端に形成された接続板112と、接続板112の上に配置される板状の絶縁部材であるスペーサ130と、スペーサ130の上に配置される板状の遮断弁140とを備えている。遮断弁140には、下方に向かってドーム状に湾曲した反転部142が形成されている。この反転部142は、スペーサ130の開口部136を通って接続板112の通気孔114の周縁部と接続されている。そして、遮断弁140は周縁部の上面において外部露出端子120と接触している。
かかる構成の密閉型電池100において過充電が生じると、電池ケース150の内圧上昇によって、遮断弁140の反転部142が上方に反転し、破断溝118が形成されている箇所で接続板112が破断する。これによって、集電端子110と外部露出端子120との電気的な接続が切断され、過充電の進行が未然に防止される。
ところで、上記した電流遮断機構Sでは、スペーサ130の配置位置がずれて、電流遮断機構Sの作動後に接続板112と遮断弁140とが導通することがないように、スペーサ130が接続板112の上面に固定されている。
具体的には、図8に示す密閉型電池100では、接続板112に挿通孔119が形成され、スペーサ130の下面に突起134が形成されている。そして、接続板112の挿通孔119にスペーサ130の突起134を挿入し、当該突起134の下端134aを加熱しながら押圧する熱カシメ工程を実施することによって、突起134の下端134aを変形させて、接続板112とスペーサ130とを固定している。かかる熱カシメ工程によって絶縁部材(スペーサ)と集電端子とを固定する技術の一例が特許文献1に開示されている。
特開2013−164923号公報
しかしながら、上記した従来技術では、熱カシメ工程によって電流遮断機構Sの作動圧力が不安定になることがあった。具体的には、熱カシメ工程では、スペーサ130が300℃程度まで加熱されるが、このときの熱が接続板112や遮断弁140などに伝達される。ここで、接続板112の破断溝118が形成されている箇所や、遮断弁140の反転部142は、他の部分よりも厚みが薄いため、伝達された熱によって軟化して変形することがある。このような場合、所定のケース内圧に達する前に反転部142が反転する恐れがある。
本発明は、上記した課題を解決するべく創出されたものであり、熱カシメ工程を実施せずに接続板とスペーサとを好適に固定することができる構造を有し、所望の圧力で安定して作動させることができる電流遮断機構を備えた密閉型電池を提供することを目的とする。
上記目的を実現するべく、本発明によって以下の構成の密閉型電池が提供される。
ここで開示される密閉型電池は、電極体を収容する電池ケースと、外部機器と接続される電極端子と、電池ケースの内部で電極体と電気的に接続される集電端子と、電池ケースの内部で集電端子と電気的に接続されると共に、一部が電池ケースの外部に露出する外部露出端子と、電池ケースの内圧が所定の圧力を超えた際に、集電端子と外部露出端子との電気的な接続を切断し、電極体から電極端子への導電経路を遮断する電流遮断機構とを備えている。
かかる密閉型電池の電流遮断機構は、集電端子の上端に形成された板状の導電性部材であって、中央部に円形の通気孔が形成され、該通気孔を囲むように破断溝が形成されている接続板と、接続板の上面に固定された板状の絶縁部材であって、通気孔よりも大きな径の開口部が中央部に形成されているスペーサと、スペーサ上に配置された板状の導電性部材であって、周縁部が外部露出端子と接触していると共に、中央部に下方に向かってドーム状に湾曲した反転部が形成され、該反転部がスペーサの開口部を通って接続板の通気孔の周縁部と接続されている遮断弁とを備えている。
そして、ここで開示される密閉型電池では、接続板の外周縁に該接続板の平板方向に向かって突出する固定用凸部が少なくとも1個形成され、スペーサの下面に接続板の固定用凸部と嵌合する嵌合部が形成されており、固定用凸部と嵌合部とが嵌合することによってスペーサが接続板の上面に固定される。
ここで開示される密閉型電池は、接続板の外周縁に形成された固定用凸部と、スペーサの下面に形成された嵌合部とを嵌合させるという固定構造を備えている。これによって、熱カシメ工程を実施せずに、機械的な構造で接続板とスペーサとを固定することができるため、熱カシメ工程によって接続板や遮断弁が変形することを確実に防止し、所望の圧力で安定して作動する電流遮断機構を構築することができる。
本発明の一実施形態に係る密閉型電池の電流遮断機構の近傍を模式的に示す断面図である。 本発明の一実施形態に係る密閉型電池の集電端子とスペーサを模式的に示す底面図であって、(a)は集電端子とスペーサとを固定する際の図であり、(b)は固定後の図である。 本発明の一実施形態に係る密閉型電池の集電端子とスペーサを模式的に示す断面図であって、(a)は集電端子とスペーサとを固定する際の図であり、(b)は固定後の図である。 本発明の他の実施形態に係る密閉型電池の集電端子とスペーサを模式的に示す底面図であって、(a)は集電端子とスペーサとを固定する際の図であり、(b)は固定後の図である。 本発明の他の実施形態に係る密閉型電池の集電端子とスペーサを模式的に示す底面図であって、(a)は集電端子とスペーサとを固定する際の図であり、(b)は固定後の図である。 本発明の他の実施形態に係る密閉型電池の集電端子とスペーサを模式的に示す底面図であって、(a)は集電端子とスペーサとを固定する際の図であり、(b)は固定後の図である。 本発明の他の実施形態に係る密閉型電池の集電端子とスペーサを模式的に示す断面図であって、(a)は集電端子とスペーサとを固定する際の図であり、(b)は固定後の図である。 従来の密閉型電池の電流遮断機構の近傍を模式的に示す断面図である。 従来の密閉型電池の遮断弁の反転部近傍を模式的に示す拡大断面図である。
以下、本発明の一実施形態に係る密閉型電池を説明する。以下の説明に用いる図面では、同じ作用を奏する部材・部位に同じ符号を付している。なお、各図における寸法関係(長さ、幅、厚み等)は実際の寸法関係を反映するものではない。また、本明細書において特に言及している事項以外の事柄であって本発明の実施に必要な事柄(例えば、電極体や電解質の構成および製法等)は、当該分野における従来技術に基づく当業者の設計事項として把握され得る。
1.密閉型電池の全体構成
図1は本実施形態に係る密閉型電池を模式的に示す断面図である。図1に示すように、密閉型電池1は、電極体(図示省略)を収容する扁平な角型の電池ケース50を備えている。なお、図1〜図7の各図における符号Xは扁平な密閉型電池の長さ方向を示し、符号Yは厚み方向を示し、符号Zは高さ方向を示している。
この電池ケース50は、上面が開放された角型のケース本体54と、当該ケース本体54上面の開口部を塞ぐ蓋体52とから構成されている。また、電池ケース50は、例えば、アルミニウム等の金属によって構成される。
図示は省略するが、電池ケース50の内部には、電極体と電解質とが収容されている。なお、電極体の構造や使用される材料は、従来の一般的な密閉型電池と同様のものを制限なく採用することができ、本発明を特徴づけるものではないため詳細な説明を省略する。また、電解質についても同様に、従来の一般的な密閉型電池の電解質に用いられる材料を制限なく使用することができる。
また、電池ケース50上面をなす蓋体52には、電極端子が設けられている。図示は省略するが、電極端子は、柱状の導電部材であり、他の二次電池、車両のモーター、充電装置などの外部機器と接続できるように構成されている。この電極端子は、後述する導電経路を介して、電池ケース50内の電極体と電気的に接続されている。
2.導電経路
次に、本実施形態に係る密閉型電池1おける電極体から電極端子への導電経路について説明する。図1に示すように、本実施形態に係る密閉型電池1では、電極体から電極端子への導電経路を構築するために、集電端子10と、遮断弁40と、外部露出端子20と、外部接続端子70とが用いられている。また、本実施形態に係る密閉型電池1では、導電経路を構築する際に、所望の箇所が適切に絶縁されるようにスペーサ30と絶縁部材60とが用いられている。以下、上記した各々の部材について説明する。
(1)集電端子
集電端子10は、電池ケース50の内部で電極体と電気的に接続される導電性部材である。図1では下端部側を省略しているが、集電端子10は、高さ方向Zに延びる長尺な板状の導電性部材であり、下端部において電極体と接続されている。
また、集電端子10の上端には、板状の導電性部材である接続板12が形成されている。この接続板12は、例えば、板状の集電端子10の上端部を長さ方向Xに折り曲げることによって形成される。かかる接続板12の中央部には、円形の通気孔14が形成されており、当該通気孔14を囲むように破断溝18が形成されている。なお、破断溝は、必ずしも連続して形成されている必要はなく、通気孔を囲むように複数の破断溝が所定の間隔を空けて形成されていてもよい。
(2)スペーサ
スペーサ30は、集電端子10の接続板12の上面に配置された板状の絶縁部材である。かかるスペーサ30は、例えば、ポリアミド樹脂等の絶縁性樹脂によって構成される。また、スペーサ30の中央部には、接続板12の通気孔14よりも大きな径の開口部36が形成されている。また、詳細な構造は後述するが、本実施形態におけるスペーサ30には、嵌合部32が形成されており、かかる嵌合部32によってスペーサ30が接続板12の上面に固定されている。
(3)遮断弁
遮断弁40は、スペーサ30の上に配置される板状の導電性部材である。本実施形態に係る密閉型電池1では、この遮断弁40を介して、集電端子10(接続板12)と外部露出端子20とが電気的に接続されている。具体的には、遮断弁40の中央部には、下方に向かってドーム状に湾曲した反転部42が形成されており、当該ドーム状の反転部42がスペーサ30の開口部36を通って接続板12の通気孔14の周縁部と接続されている。なお、反転部42と接続板12の通気孔14の周縁部とは、例えば、レーザー等によって溶接されている。一方、この遮断弁40の周縁部は、上面において外部露出端子20の導電板20aと接触している。本実施形態では、かかる構造の遮断弁40を介して集電端子10と外部露出端子20とが電気的に接続されている。
(4)外部露出端子
外部露出端子20は、下端部に円板状の導電板20aが取り付けられた筒状の導電部材である。外部露出端子20の導電板20aは、上述したように、遮断弁40の周縁部の上面と接触している。一方、外部露出端子20の筒状部分は蓋体52を貫通しており、筒状部分の上端部20bが電池ケース50の外部に露出している。そして、この上端部20bは、カシメ加工によって径方向外方に折り曲げられており、後述の絶縁部材60と外部接続端子70とを蓋体52に固定している。
(5)外部接続端子
外部接続端子70は、密閉型電池1の長さ方向Xに沿って延びる板状の導電性部材である。外部接続端子70の一方の端部には、上述の外部露出端子20が挿通されている。また、図示は省略するが、外部接続端子70の他方の端部には、柱状の電極端子が挿通される。これによって、外部接続端子70を介して外部露出端子20と電極端子(図示省略)とが電気的に接続される。
以上のように、本実施形態に係る密閉型電池1では、集電端子10と遮断弁40と外部露出端子20と外部接続端子70とによって、電極体から電極端子への導電経路が形成されている。
(6)絶縁部材
また、本実施形態では、外部露出端子20や外部接続端子70が蓋体52と導通することを防止するために、シール部材62と絶縁ホルダ64とを備えた絶縁部材60が設けられている。シール部材62と絶縁ホルダ64の各々は、ポリアミド樹脂等の絶縁性樹脂によって構成されている。そして、シール部材62は、蓋体52の下側に配置され、外部露出端子20と蓋体52とが導通することを防止している。一方、絶縁ホルダ64は、蓋体52の上面に載置され、外部接続端子70が蓋体52と導通することを防止している。
3.電流遮断機構
本実施形態に係る密閉型電池1は、過充電が生じて電池ケース50の内圧が所定の圧力を超えた際に、上述した導電経路を遮断する電流遮断機構Sを備えている。
かかる電流遮断機構Sは、集電端子10の接続板12と、スペーサ30と、遮断弁40とを備えており、過充電が生じた際に集電端子10と外部露出端子20との電気的な接続を切断する。
具体的には、本実施形態に係る密閉型電池1では、接続板12と遮断弁40との間にスペーサ30が配置されており、当該スペーサ30の開口部36を通る反転部42と、接続板12の通気孔14の周縁部とが接続(溶接)されることによって、遮断弁40と集電端子10とが電気的に接続されている。
この密閉型電池1で過充電が生じると、電池ケース50の内圧上昇によって遮断弁40の反転部42が高さ方向Zの上方に向かって反転する。これによって、破断溝18が形成されている箇所で接続板12が破断し、遮断弁40と接続板12とが離間する。この結果、遮断弁40を介した集電端子10と外部露出端子20との電気的な接続が切断されるため、過充電の進行を未然に防止することができる。
4.接続板とスペーサとの固定構造
上述したように、かかる構造の電流遮断機構を備えた密閉型電池では、電流遮断機構の作動後に接続板と遮断弁とが導通することを防止するために、接続板の上面にスペーサが好適に固定されている必要がある。以下、本実施形態における接続板12とスペーサ30との固定構造について説明する。
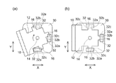
図2は本実施形態に係る密閉型電池の集電端子とスペーサを模式的に示す底面図であって、(a)は集電端子とスペーサとを固定する際の図であり、(b)は固定後の図である。また、図3は密閉型電池の集電端子とスペーサを模式的に示す断面図であって、(a)は集電端子とスペーサとを固定する際の図であり、(b)は固定後の図である。
図2に示すように、本実施形態に係る密閉型電池1は、接続板12とスペーサ30とを固定するための構造として、接続板12に形成された固定用凸部16と、スペーサ30に形成された嵌合部32とを備えている。
固定用凸部16は、集電端子10の接続板12の外周縁から平板方向に突出するように形成されている。本実施形態に係る密閉型電池1では、接続板12の中心(図2では通気孔14)から放射状に、3個の平板状の固定用凸部16が形成されている。より具体的には、接続板12の外周縁には、密閉型電池1の長さ方向Xに突出する固定用凸部16が1個形成されていると共に、厚み方向Yに突出する固定用凸部16が2個形成されている。
嵌合部32は、上記した固定用凸部16の各々と対応するように形成されている。すなわち、本実施形態においては、上記した3個の固定用凸部16の各々と嵌合するように、3個の嵌合部32がスペーサ30の底面に形成されている。
図3に示すように、各々の嵌合部32は、スペーサ30の下面30aから高さ方向に立設する側壁32aを備えている。図2に示すように、かかる側壁32aは、平面視においてL字状に形成されており、当該平面L字状の側壁32aの上端部に矩形の天板32b(図2および図3参照)が取り付けられている。これによって、各々の嵌合部32の内部に、側壁32aと天板32bによって囲まれた収納部32dが形成される。また、本実施形態における嵌合部32では、平面視においてL字状の側壁32aの短辺と対向する位置に、天板32bからスペーサ30の下面30aに向かって突出する係止部32cが形成されている。
次に、本実施形態に係る密閉型電池1において、集電端子10の接続板12とスペーサ30とを固定する手順について説明する。
本実施形態では、先ず、図2(a)に示すように、各部材の中心が揃うように接続板12とスペーサ30とを重ね合わせる。
次に、接続板12の固定用凸部16が、側壁32aの短辺と対向する方向から嵌合部32の内部に入り込むように接続板12とスペーサ30の何れかを回転させる(図2(a)では、時計回りに接続板12を回転させる)。
このとき、スペーサ30の側壁32aの短辺と対向する位置には、図3(a)に示すように下面30aに向かって突出した係止部32cが設けられているため、固定用凸部16と係止部32cとが干渉し、固定用凸部16が天板32bを押し上げながら嵌合部32の収納部32d内に入り込む。そして、固定用凸部16が収納部32d内に完全に収納されると、図3(b)に示すように、固定用凸部16に押し上げられていた天板32bが応力によって下降する。これによって、収納部32dに収容された固定用凸部16が係止部32cに係止され、固定用凸部16と嵌合部32とが嵌合する。
本実施形態では、図2(b)に示すように3個の固定用凸部16の各々が嵌合部32と嵌合することによって、集電端子10とスペーサ30とが固定される。
以上のように、本実施形態に係る密閉型電池1では、接続板12の固定用凸部16と、スペーサ30の嵌合部32とを嵌合させるという固定構造を備えている。これによって、熱カシメ工程を実施せずに、機械的な構造で集電端子10の接続板12とスペーサ30とを固定することができるため、接続板12や遮断弁40などが熱で変形して、電流遮断機構Sの作動圧力が不安定になることを確実に防止することができる。
また、本実施形態に係る密閉型電池1によれば、熱カシメ工程の廃止を実現することができるため、製造コストの低減や製造効率の向上に貢献することもできる。特に、熱カシメ工程を実施していた従来の技術では、30分程度の冷却期間を設ける必要があったが、本実施形態に係る密閉型電池1によれば、上記の冷却期間と熱カシメ工程に要する時間の両方を短縮することができるため、製造効率の大幅な向上に貢献することができる。
さらに、本実施形態では、3対の固定構造(固定用凸部16と嵌合部32)によって、接続板12とスペーサ30とを固定しているため、電流遮断機構Sを構成する各部材の位置ずれを好適に抑制することができる。これによって、遮断弁40の反転部42と接続板12とを好適に接触させた状態で接合することができる。
なお、本実施形態のように、側壁32aと天板32bとからなる嵌合部32を設ける場合には、嵌合部32の側壁32aの高さt1(図3(a)参照)を固定用凸部16の高さt2よりも低くすると好ましい。これによって、固定用凸部16を収納部32d内に収納した際に天板32bと固定用凸部16とが干渉するため、固定用凸部16に高さ方向Zに沿った押圧力を加えて、集電端子10とスペーサ30とをより強固に固定できる。
5.他の実施形態
以上、本発明の一実施形態に係る密閉型電池を説明したが、ここで開示される密閉型電池は、上述の実施形態に限定されず、種々の変形や変更を行うことができる。
例えば、上述した実施形態に係る密閉型電池1では、図2に示すように、3個の固定用凸部16が形成されており、各々の固定用凸部16を嵌合部32に嵌合させることによって接続板12とスペーサ30とを固定している。しかし、固定用凸部は、少なくとも1個形成されていればよく、上述の実施形態の3個に限定されない。
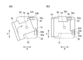
具体的には、本発明の他の実施形態に係る密閉型電池として、図4に示すような固定構造を有した密閉型電池が挙げられる。かかる密閉型電池では、接続板12に2個の固定用凸部16が形成されており、当該2個の固定用凸部16の各々をスペーサ30の嵌合部32に嵌合させることによって集電端子10とスペーサ30とを固定している。具体的には、図4に示す固定構造では、厚み方向Yの上側に形成された嵌合部32によって長さ方向Xの接続板12の移動が規制され、厚み方向Yの下側に形成された嵌合部32によって厚み方向Yの接続板12の移動が規制される。このため、固定用凸部16の数が2個の場合であっても、接続板12とスペーサ30とを適切に固定することができるため、密閉型電池の製造工程から熱カシメ工程を廃止することができる。
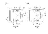
また、接続板の一部を保持するような構造が別途設けられていれば、固定用凸部が1個のみの場合であっても集電端子とスペーサとを十分に固定することができる。具体的には、図5に示すように、接続板12に固定用凸部16が1個のみ形成されている集電端子10を用いる場合には、嵌合部32の係止部32cと対応した形状の凹部12aを接続板12に形成する。そして、当該接続板12の凹部12aに嵌合部32の係止部32cを嵌合させるとともに、固定用凸部16を嵌合部32に嵌合させることによって、集電端子10とスペーサ30とを十分に固定することができる。
また、図2〜図5に示す各々の実施形態に係る密閉型電池では、接続板12とスペーサ30とを重ね合わせた後に、接続板12(またはスペーサ30)を回転させることによって嵌合部32に固定用凸部16を嵌合させている。しかし、嵌合部と固定用凸部とを嵌合させる手段は、上述の各実施形態には限定されない。
例えば、図6および図7に示す実施形態に係る密閉型電池では、高さ方向Zに沿って接続板12をスペーサ30に押し付けることによって、嵌合部32に固定用凸部16を嵌合させる固定構造を備えている。具体的には、図7に示すように、この実施形態における嵌合部32は、スペーサ30の下面30aから立設した一対の柱状部32eを備えている。そして、各々の柱状部32eの先端に、各々が対向するように係止部32cが形成されている。
そして、この実施形態に係る密閉型電池では、図6(a)および図7(a)に示すように、嵌合部32の上方に固定用凸部16が配置されるように、接続板12とスペーサ30の位置を調整した後、接続板12をスペーサ30に押し付ける。これによって、図6(b)および図7(b)に示すように、固定用凸部16が収納部32d内に収容されて嵌合部32と嵌合するため、集電端子10とスペーサ30とを適切に固定できる。
なお、図6および図7に示すような嵌合部32を設ける場合には、収納部32dの下端の幅w1を固定用凸部16の幅w2よりも短くすると好ましい。これによって、固定用凸部16を嵌合部32の収納部32dに収納した際に、各々の柱状部32eと固定用凸部16とを干渉させて、挟み込むように固定用凸部16を押圧することができるため、集電端子10とスペーサ30とをより強固に固定することができる。
以上、実施形態に基づいて本発明の具体例を詳細に説明したが、これらは例示にすぎず、請求の範囲を限定するものではない。請求の範囲に記載の技術には、以上に例示した具体例を様々に変形、変更したものが含まれる。
1、100 密閉型電池
10、110 集電端子
12、112 接続板
14、114 通気孔
16 固定用凸部
18、118 破断溝
20、120 外部露出端子
20a 導電板
20b 外部露出端子の上端部
30、130 スペーサ
30a スペーサの下面
32 嵌合部
32a 側壁
32b 天板
32c 係止部
32d 収納部
34 保持部材
36、136 開口部
40、140 遮断弁
42、142 反転部
50、150 電池ケース
52 蓋体
54 ケース本体
60 絶縁部材
62 シール部材
64 絶縁ホルダ
70 外部接続端子
119 挿通孔
134 突起
134a 突起の下端
S 電流遮断機構
t1 側壁の高さ
t2 固定用凸部の高さ
w1 収納部の幅
w2 固定用凸部の幅
X 長さ方向
Y 厚み方向
Z 高さ方向

Claims (1)

  1. 電極体を収容する電池ケースと、
    外部機器と接続される電極端子と、
    前記電池ケースの内部で前記電極体と電気的に接続される集電端子と、
    前記電池ケースの内部で前記集電端子と電気的に接続されると共に、一部が前記電池ケースの外部に露出する外部露出端子と、
    前記電池ケースの内圧が所定の圧力を超えた際に、前記集電端子と前記外部露出端子との電気的な接続を切断し、前記電極体から前記電極端子への導電経路を遮断する電流遮断機構と
    を備えた密閉型電池であって、
    前記電流遮断機構は、
    前記集電端子の上端に形成された板状の導電性部材であって、中央部に円形の通気孔が形成され、該通気孔を囲むように破断溝が形成されている接続板と、
    前記接続板の上面に固定された板状の絶縁部材であって、前記通気孔よりも大きな径の開口部が中央部に形成されているスペーサと、
    前記スペーサ上に配置された板状の導電性部材であって、周縁部が前記外部露出端子と接触していると共に、中央部に下方に向かってドーム状に湾曲した反転部が形成され、該反転部が前記スペーサの前記開口部を通って前記接続板の前記通気孔の周縁部と接続されている遮断弁と
    を備えており、
    前記接続板の外周縁に該接続板の平板方向に向かって突出する固定用凸部が少なくとも1個形成され、
    前記スペーサの下面に前記接続板の固定用凸部と嵌合する嵌合部が形成されており、前記固定用凸部と前記嵌合部とが嵌合することによって前記スペーサが前記接続板の上面に固定されており、
    前記嵌合部は、前記固定用凸部を収納する収納部と、該収納部に収納された前記固定用凸部を係止する係止部とを備えており、
    ここで、前記収納部には、その内部に前記固定用凸部が入り込んで収納されており、前記係止部が、前記収納部の内部に入り込んだ前記固定用凸部が該収納部から外れることを防止するように、該固定用凸部の一部と干渉する位置に設けられることによって、該固定用凸部の前記嵌合部への固定が実現されている、密閉型電池。
JP2017155499A 2017-08-10 2017-08-10 密閉型電池 Expired - Fee Related JP6880452B2 (ja)

Priority Applications (1)

Application Number Priority Date Filing Date Title
JP2017155499A JP6880452B2 (ja) 2017-08-10 2017-08-10 密閉型電池

Applications Claiming Priority (1)

Application Number Priority Date Filing Date Title
JP2017155499A JP6880452B2 (ja) 2017-08-10 2017-08-10 密閉型電池

Publications (2)

Publication Number Publication Date
JP2019036409A JP2019036409A (ja) 2019-03-07
JP6880452B2 true JP6880452B2 (ja) 2021-06-02

Family

ID=65637633

Family Applications (1)

Application Number Title Priority Date Filing Date
JP2017155499A Expired - Fee Related JP6880452B2 (ja) 2017-08-10 2017-08-10 密閉型電池

Country Status (1)

Country Link
JP (1) JP6880452B2 (ja)

Families Citing this family (1)

* Cited by examiner, † Cited by third party
Publication number Priority date Publication date Assignee Title
JP7373287B2 (ja) 2019-02-28 2023-11-02 キヤノン株式会社 通信装置、通信方法、及び、プログラム

Family Cites Families (1)

* Cited by examiner, † Cited by third party
Publication number Priority date Publication date Assignee Title
WO2015156270A1 (ja) * 2014-04-09 2015-10-15 日立オートモティブシステムズ株式会社 二次電池

Also Published As

Publication number Publication date
JP2019036409A (ja) 2019-03-07

Similar Documents

Publication Publication Date Title
CN106663773B (zh) 电极构件及集电板、电池组
US8980469B2 (en) Prismatic secondary battery
CN108428821B (zh) 二次电池以及电池模组
KR101514827B1 (ko) 이차 전지 및 그 제조 방법
JP5149924B2 (ja) 円筒形二次電池及びその製造方法
JP7476792B2 (ja) 蓄電装置
US20100015508A1 (en) Cylindrical secondary battery and method of manufacturing the same
JP4974734B2 (ja) 二次電池及び二次電池モジュール
CN113875084B (zh) 二次电池
CN106356490B (zh) 可再充电电池和包括可再充电电池的电池模块
EP2385566A1 (en) Rechargeable battery assembly
KR102283783B1 (ko) 이차 전지
KR102489229B1 (ko) 비딩부가 생략된 원통형 전지 및 이의 제조방법
CN104112836A (zh) 可再充电电池
KR20150137841A (ko) 단위전지모듈, 전지모듈과 전지팩 및 이들의 제조방법
CN105932193B (zh) 可再充电电池
KR101523064B1 (ko) 캡 조립체 및 이를 포함하는 이차 전지
EP2204871A1 (en) Rechargeable battery
JP2011222520A (ja) 二次電池
CN107887563A (zh) 二次电池
US20080038632A1 (en) Sealed Battery And Method Of Manufacturing The Sealed Battery
JP6880452B2 (ja) 密閉型電池
CN107170947B (zh) 二次电池以及二次电池集合体
KR101446153B1 (ko) 이차 전지용 캡 조립체와 이를 이용하는 이차 전지, 및 이러한 이차 전지를 제조하는 방법
KR100696784B1 (ko) 원통형 리튬 이차 전지 및 이의 제조 방법

Legal Events

Date Code Title Description
A621 Written request for application examination

Free format text: JAPANESE INTERMEDIATE CODE: A621

Effective date: 20191220

A977 Report on retrieval

Free format text: JAPANESE INTERMEDIATE CODE: A971007

Effective date: 20200805

A131 Notification of reasons for refusal

Free format text: JAPANESE INTERMEDIATE CODE: A131

Effective date: 20200813

A521 Request for written amendment filed

Free format text: JAPANESE INTERMEDIATE CODE: A523

Effective date: 20201005

TRDD Decision of grant or rejection written
A01 Written decision to grant a patent or to grant a registration (utility model)

Free format text: JAPANESE INTERMEDIATE CODE: A01

Effective date: 20210401

A61 First payment of annual fees (during grant procedure)

Free format text: JAPANESE INTERMEDIATE CODE: A61

Effective date: 20210414

R151 Written notification of patent or utility model registration

Ref document number: 6880452

Country of ref document: JP

Free format text: JAPANESE INTERMEDIATE CODE: R151

LAPS Cancellation because of no payment of annual fees