JP6871908B2 - 付加製造プレートをクリーニングするユニット - Google Patents

付加製造プレートをクリーニングするユニット Download PDF

Info

Publication number
JP6871908B2
JP6871908B2 JP2018503787A JP2018503787A JP6871908B2 JP 6871908 B2 JP6871908 B2 JP 6871908B2 JP 2018503787 A JP2018503787 A JP 2018503787A JP 2018503787 A JP2018503787 A JP 2018503787A JP 6871908 B2 JP6871908 B2 JP 6871908B2
Authority
JP
Japan
Prior art keywords
plate
enclosure
cleaning
equipment
cleaning device
Prior art date
Legal status (The legal status is an assumption and is not a legal conclusion. Google has not performed a legal analysis and makes no representation as to the accuracy of the status listed.)
Active
Application number
JP2018503787A
Other languages
English (en)
Other versions
JP2018529547A (ja
Inventor
ブノワ プルシェ
ブノワ プルシェ
ギレス ヴァルラント
ギレス ヴァルラント
フレデリク ピアロ
フレデリク ピアロ
アルビン エッフェルネッリ
アルビン エッフェルネッリ
ミゲル トルレス−カステジャノ
ミゲル トルレス−カステジャノ
Current Assignee (The listed assignees may be inaccurate. Google has not performed a legal analysis and makes no representation or warranty as to the accuracy of the list.)
Compagnie Generale des Etablissements Michelin SCA
Original Assignee
Compagnie Generale des Etablissements Michelin SCA
Priority date (The priority date is an assumption and is not a legal conclusion. Google has not performed a legal analysis and makes no representation as to the accuracy of the date listed.)
Filing date
Publication date
Application filed by Compagnie Generale des Etablissements Michelin SCA filed Critical Compagnie Generale des Etablissements Michelin SCA
Publication of JP2018529547A publication Critical patent/JP2018529547A/ja
Application granted granted Critical
Publication of JP6871908B2 publication Critical patent/JP6871908B2/ja
Active legal-status Critical Current
Anticipated expiration legal-status Critical

Links

Images

Classifications

    • BPERFORMING OPERATIONS; TRANSPORTING
    • B29WORKING OF PLASTICS; WORKING OF SUBSTANCES IN A PLASTIC STATE IN GENERAL
    • B29CSHAPING OR JOINING OF PLASTICS; SHAPING OF MATERIAL IN A PLASTIC STATE, NOT OTHERWISE PROVIDED FOR; AFTER-TREATMENT OF THE SHAPED PRODUCTS, e.g. REPAIRING
    • B29C64/00Additive manufacturing, i.e. manufacturing of three-dimensional [3D] objects by additive deposition, additive agglomeration or additive layering, e.g. by 3D printing, stereolithography or selective laser sintering
    • B29C64/30Auxiliary operations or equipment
    • B29C64/35Cleaning
    • BPERFORMING OPERATIONS; TRANSPORTING
    • B08CLEANING
    • B08BCLEANING IN GENERAL; PREVENTION OF FOULING IN GENERAL
    • B08B3/00Cleaning by methods involving the use or presence of liquid or steam
    • B08B3/04Cleaning involving contact with liquid
    • BPERFORMING OPERATIONS; TRANSPORTING
    • B08CLEANING
    • B08BCLEANING IN GENERAL; PREVENTION OF FOULING IN GENERAL
    • B08B3/00Cleaning by methods involving the use or presence of liquid or steam
    • B08B3/04Cleaning involving contact with liquid
    • B08B3/10Cleaning involving contact with liquid with additional treatment of the liquid or of the object being cleaned, e.g. by heat, by electricity or by vibration
    • B08B3/12Cleaning involving contact with liquid with additional treatment of the liquid or of the object being cleaned, e.g. by heat, by electricity or by vibration by sonic or ultrasonic vibrations
    • BPERFORMING OPERATIONS; TRANSPORTING
    • B08CLEANING
    • B08BCLEANING IN GENERAL; PREVENTION OF FOULING IN GENERAL
    • B08B3/00Cleaning by methods involving the use or presence of liquid or steam
    • B08B3/04Cleaning involving contact with liquid
    • B08B3/10Cleaning involving contact with liquid with additional treatment of the liquid or of the object being cleaned, e.g. by heat, by electricity or by vibration
    • B08B3/12Cleaning involving contact with liquid with additional treatment of the liquid or of the object being cleaned, e.g. by heat, by electricity or by vibration by sonic or ultrasonic vibrations
    • B08B3/123Cleaning travelling work, e.g. webs, articles on a conveyor
    • BPERFORMING OPERATIONS; TRANSPORTING
    • B08CLEANING
    • B08BCLEANING IN GENERAL; PREVENTION OF FOULING IN GENERAL
    • B08B5/00Cleaning by methods involving the use of air flow or gas flow
    • B08B5/04Cleaning by suction, with or without auxiliary action
    • B08B5/043Cleaning travelling work
    • B08B5/046Cleaning moving webs
    • BPERFORMING OPERATIONS; TRANSPORTING
    • B08CLEANING
    • B08BCLEANING IN GENERAL; PREVENTION OF FOULING IN GENERAL
    • B08B7/00Cleaning by methods not provided for in a single other subclass or a single group in this subclass
    • B08B7/02Cleaning by methods not provided for in a single other subclass or a single group in this subclass by distortion, beating, or vibration of the surface to be cleaned
    • BPERFORMING OPERATIONS; TRANSPORTING
    • B08CLEANING
    • B08BCLEANING IN GENERAL; PREVENTION OF FOULING IN GENERAL
    • B08B7/00Cleaning by methods not provided for in a single other subclass or a single group in this subclass
    • B08B7/02Cleaning by methods not provided for in a single other subclass or a single group in this subclass by distortion, beating, or vibration of the surface to be cleaned
    • B08B7/026Using sound waves
    • B08B7/028Using ultrasounds
    • BPERFORMING OPERATIONS; TRANSPORTING
    • B08CLEANING
    • B08BCLEANING IN GENERAL; PREVENTION OF FOULING IN GENERAL
    • B08B7/00Cleaning by methods not provided for in a single other subclass or a single group in this subclass
    • B08B7/04Cleaning by methods not provided for in a single other subclass or a single group in this subclass by a combination of operations
    • BPERFORMING OPERATIONS; TRANSPORTING
    • B22CASTING; POWDER METALLURGY
    • B22FWORKING METALLIC POWDER; MANUFACTURE OF ARTICLES FROM METALLIC POWDER; MAKING METALLIC POWDER; APPARATUS OR DEVICES SPECIALLY ADAPTED FOR METALLIC POWDER
    • B22F10/00Additive manufacturing of workpieces or articles from metallic powder
    • B22F10/60Treatment of workpieces or articles after build-up
    • B22F10/68Cleaning or washing
    • BPERFORMING OPERATIONS; TRANSPORTING
    • B29WORKING OF PLASTICS; WORKING OF SUBSTANCES IN A PLASTIC STATE IN GENERAL
    • B29CSHAPING OR JOINING OF PLASTICS; SHAPING OF MATERIAL IN A PLASTIC STATE, NOT OTHERWISE PROVIDED FOR; AFTER-TREATMENT OF THE SHAPED PRODUCTS, e.g. REPAIRING
    • B29C64/00Additive manufacturing, i.e. manufacturing of three-dimensional [3D] objects by additive deposition, additive agglomeration or additive layering, e.g. by 3D printing, stereolithography or selective laser sintering
    • B29C64/10Processes of additive manufacturing
    • B29C64/141Processes of additive manufacturing using only solid materials
    • B29C64/153Processes of additive manufacturing using only solid materials using layers of powder being selectively joined, e.g. by selective laser sintering or melting
    • BPERFORMING OPERATIONS; TRANSPORTING
    • B29WORKING OF PLASTICS; WORKING OF SUBSTANCES IN A PLASTIC STATE IN GENERAL
    • B29CSHAPING OR JOINING OF PLASTICS; SHAPING OF MATERIAL IN A PLASTIC STATE, NOT OTHERWISE PROVIDED FOR; AFTER-TREATMENT OF THE SHAPED PRODUCTS, e.g. REPAIRING
    • B29C64/00Additive manufacturing, i.e. manufacturing of three-dimensional [3D] objects by additive deposition, additive agglomeration or additive layering, e.g. by 3D printing, stereolithography or selective laser sintering
    • B29C64/20Apparatus for additive manufacturing; Details thereof or accessories therefor
    • B29C64/245Platforms or substrates
    • BPERFORMING OPERATIONS; TRANSPORTING
    • B29WORKING OF PLASTICS; WORKING OF SUBSTANCES IN A PLASTIC STATE IN GENERAL
    • B29CSHAPING OR JOINING OF PLASTICS; SHAPING OF MATERIAL IN A PLASTIC STATE, NOT OTHERWISE PROVIDED FOR; AFTER-TREATMENT OF THE SHAPED PRODUCTS, e.g. REPAIRING
    • B29C64/00Additive manufacturing, i.e. manufacturing of three-dimensional [3D] objects by additive deposition, additive agglomeration or additive layering, e.g. by 3D printing, stereolithography or selective laser sintering
    • B29C64/20Apparatus for additive manufacturing; Details thereof or accessories therefor
    • B29C64/264Arrangements for irradiation
    • B29C64/268Arrangements for irradiation using laser beams; using electron beams [EB]
    • BPERFORMING OPERATIONS; TRANSPORTING
    • B29WORKING OF PLASTICS; WORKING OF SUBSTANCES IN A PLASTIC STATE IN GENERAL
    • B29CSHAPING OR JOINING OF PLASTICS; SHAPING OF MATERIAL IN A PLASTIC STATE, NOT OTHERWISE PROVIDED FOR; AFTER-TREATMENT OF THE SHAPED PRODUCTS, e.g. REPAIRING
    • B29C64/00Additive manufacturing, i.e. manufacturing of three-dimensional [3D] objects by additive deposition, additive agglomeration or additive layering, e.g. by 3D printing, stereolithography or selective laser sintering
    • B29C64/30Auxiliary operations or equipment
    • B29C64/357Recycling
    • BPERFORMING OPERATIONS; TRANSPORTING
    • B29WORKING OF PLASTICS; WORKING OF SUBSTANCES IN A PLASTIC STATE IN GENERAL
    • B29CSHAPING OR JOINING OF PLASTICS; SHAPING OF MATERIAL IN A PLASTIC STATE, NOT OTHERWISE PROVIDED FOR; AFTER-TREATMENT OF THE SHAPED PRODUCTS, e.g. REPAIRING
    • B29C64/00Additive manufacturing, i.e. manufacturing of three-dimensional [3D] objects by additive deposition, additive agglomeration or additive layering, e.g. by 3D printing, stereolithography or selective laser sintering
    • B29C64/30Auxiliary operations or equipment
    • B29C64/386Data acquisition or data processing for additive manufacturing
    • B29C64/393Data acquisition or data processing for additive manufacturing for controlling or regulating additive manufacturing processes
    • BPERFORMING OPERATIONS; TRANSPORTING
    • B29WORKING OF PLASTICS; WORKING OF SUBSTANCES IN A PLASTIC STATE IN GENERAL
    • B29CSHAPING OR JOINING OF PLASTICS; SHAPING OF MATERIAL IN A PLASTIC STATE, NOT OTHERWISE PROVIDED FOR; AFTER-TREATMENT OF THE SHAPED PRODUCTS, e.g. REPAIRING
    • B29C67/00Shaping techniques not covered by groups B29C39/00 - B29C65/00, B29C70/00 or B29C73/00
    • B29C67/0033Shaping techniques not covered by groups B29C39/00 - B29C65/00, B29C70/00 or B29C73/00 by shock-waves
    • BPERFORMING OPERATIONS; TRANSPORTING
    • B33ADDITIVE MANUFACTURING TECHNOLOGY
    • B33YADDITIVE MANUFACTURING, i.e. MANUFACTURING OF THREE-DIMENSIONAL [3-D] OBJECTS BY ADDITIVE DEPOSITION, ADDITIVE AGGLOMERATION OR ADDITIVE LAYERING, e.g. BY 3-D PRINTING, STEREOLITHOGRAPHY OR SELECTIVE LASER SINTERING
    • B33Y40/00Auxiliary operations or equipment, e.g. for material handling
    • BPERFORMING OPERATIONS; TRANSPORTING
    • B33ADDITIVE MANUFACTURING TECHNOLOGY
    • B33YADDITIVE MANUFACTURING, i.e. MANUFACTURING OF THREE-DIMENSIONAL [3-D] OBJECTS BY ADDITIVE DEPOSITION, ADDITIVE AGGLOMERATION OR ADDITIVE LAYERING, e.g. BY 3-D PRINTING, STEREOLITHOGRAPHY OR SELECTIVE LASER SINTERING
    • B33Y40/00Auxiliary operations or equipment, e.g. for material handling
    • B33Y40/20Post-treatment, e.g. curing, coating or polishing
    • BPERFORMING OPERATIONS; TRANSPORTING
    • B33ADDITIVE MANUFACTURING TECHNOLOGY
    • B33YADDITIVE MANUFACTURING, i.e. MANUFACTURING OF THREE-DIMENSIONAL [3-D] OBJECTS BY ADDITIVE DEPOSITION, ADDITIVE AGGLOMERATION OR ADDITIVE LAYERING, e.g. BY 3-D PRINTING, STEREOLITHOGRAPHY OR SELECTIVE LASER SINTERING
    • B33Y50/00Data acquisition or data processing for additive manufacturing
    • B33Y50/02Data acquisition or data processing for additive manufacturing for controlling or regulating additive manufacturing processes
    • BPERFORMING OPERATIONS; TRANSPORTING
    • B29WORKING OF PLASTICS; WORKING OF SUBSTANCES IN A PLASTIC STATE IN GENERAL
    • B29CSHAPING OR JOINING OF PLASTICS; SHAPING OF MATERIAL IN A PLASTIC STATE, NOT OTHERWISE PROVIDED FOR; AFTER-TREATMENT OF THE SHAPED PRODUCTS, e.g. REPAIRING
    • B29C35/00Heating, cooling or curing, e.g. crosslinking or vulcanising; Apparatus therefor
    • B29C35/02Heating or curing, e.g. crosslinking or vulcanizing during moulding, e.g. in a mould
    • B29C35/08Heating or curing, e.g. crosslinking or vulcanizing during moulding, e.g. in a mould by wave energy or particle radiation
    • B29C35/0805Heating or curing, e.g. crosslinking or vulcanizing during moulding, e.g. in a mould by wave energy or particle radiation using electromagnetic radiation
    • B29C2035/0838Heating or curing, e.g. crosslinking or vulcanizing during moulding, e.g. in a mould by wave energy or particle radiation using electromagnetic radiation using laser
    • BPERFORMING OPERATIONS; TRANSPORTING
    • B29WORKING OF PLASTICS; WORKING OF SUBSTANCES IN A PLASTIC STATE IN GENERAL
    • B29KINDEXING SCHEME ASSOCIATED WITH SUBCLASSES B29B, B29C OR B29D, RELATING TO MOULDING MATERIALS OR TO MATERIALS FOR MOULDS, REINFORCEMENTS, FILLERS OR PREFORMED PARTS, e.g. INSERTS
    • B29K2105/00Condition, form or state of moulded material or of the material to be shaped
    • B29K2105/25Solid
    • B29K2105/251Particles, powder or granules
    • YGENERAL TAGGING OF NEW TECHNOLOGICAL DEVELOPMENTS; GENERAL TAGGING OF CROSS-SECTIONAL TECHNOLOGIES SPANNING OVER SEVERAL SECTIONS OF THE IPC; TECHNICAL SUBJECTS COVERED BY FORMER USPC CROSS-REFERENCE ART COLLECTIONS [XRACs] AND DIGESTS
    • Y02TECHNOLOGIES OR APPLICATIONS FOR MITIGATION OR ADAPTATION AGAINST CLIMATE CHANGE
    • Y02PCLIMATE CHANGE MITIGATION TECHNOLOGIES IN THE PRODUCTION OR PROCESSING OF GOODS
    • Y02P10/00Technologies related to metal processing
    • Y02P10/25Process efficiency

Landscapes

  • Engineering & Computer Science (AREA)
  • Materials Engineering (AREA)
  • Chemical & Material Sciences (AREA)
  • Manufacturing & Machinery (AREA)
  • Optics & Photonics (AREA)
  • Physics & Mathematics (AREA)
  • Mechanical Engineering (AREA)
  • Life Sciences & Earth Sciences (AREA)
  • Sustainable Development (AREA)
  • Plasma & Fusion (AREA)
  • Health & Medical Sciences (AREA)
  • Toxicology (AREA)
  • Cleaning By Liquid Or Steam (AREA)
  • Cleaning In General (AREA)
  • Powder Metallurgy (AREA)
  • Battery Electrode And Active Subsutance (AREA)
  • Cleaning And De-Greasing Of Metallic Materials By Chemical Methods (AREA)
  • Lubricants (AREA)
  • Detergent Compositions (AREA)

Description

本発明は、例えばレーザビームなどの電磁放射、及び/又は例えば電子ビームなどの粒子ビームを含むエネルギービームを用いて粉体の粒子を焼結又は溶融させることによる粉体ベースの付加製造の分野に属する。
具体的には、本発明は、付加製造プレート及びこれらのプレート上で製造される部品のクリーニングに関する。
付加製造機内で付加製造工程を実施する際には、周囲を取り囲むエンクロージャ内で摺動する能力を備えた付加製造プレート上に第1の粉体層を堆積させる。次に、上述したエネルギービームのうちの1つを用いて、この第1の粉体層を所定の設計に従って固化させる。その後、エンクロージャ内で製造プレートを降下させて、第2の粉体層の堆積及び固化を可能にする。最終的に、生産すべき部品の製造に必要な最後の粉体層が堆積して固化されるまで、プレートを降下させ、粉体層を堆積させて固化させるステップを継続する。
この付加製造工程の最後に直面する1つの不利点は、製造された1又は複数の部品が、除去する必要がある有意量の未固化の粉体にいつの間にか埋もれてしまう点である。
1つの方法によれば、製造プレートを、場合によってはそのエンクロージャと共に機械から取り出し、作業者が、ブラシ及び圧縮空気ブロア又は抽出ファンなどの道具を用いて手動で粉体の粒子を取り払う。
実のところ、この第1のクリーニング方法は、その手動を基本とする性質に起因して工業用途との相性がよくない。
また、付加製造で使用される粉体は、一般に有毒な化合物を含み、作業者は、保護具を着用しているにも関わらずこれを吸い込む恐れがあるので、この手動クリーニングは作業者にとって危険な場合もある。
最後に、別の不利点によれば、未固化の粉体は、クリーニング中に保護雰囲気下に置かれていない場合、再利用が可能になるまでに様々な処理作業を受ける必要がある。
このため、一部の付加製造機メーカーは、作業者の健康を守るとともに、製造済みの部品のクリーニングから得られる粉体を直ちに再利用できるように自社の機械を修正してきた。
例えば、欧州特許第1793979号に記載される付加製造機は、機械の製造エンクロージャ内の製造部品を作業者が操作してクリーニングできるようにする手段を備える。
具体的に言えば、これらの手段は、製造エンクロージャの壁部に形成された開口部と、製造エンクロージャ内に取り付けられたロボットアームと、この製造エンクロージャ内で操作できる吸引パイプとを含む。また、開口部には、作業者が吸引パイプを用いて製造済みの部品をクリーニングするために自分の手を製造エンクロージャ内に挿入できるようにする保護手袋が取り付けられ、作業者は、重い部品を動かし易くするために機械の外部からロボットアームを制御することができる。
欧州特許第1793979号に記載される手段の結果、作業者は保護され、未固化の粉体は保護雰囲気下に置かれるようになる。
しかしながら、このクリーニングは、依然として作業者の労力を必要とする手動作業であり、この手動クリーニングは、機械の製造エンクロージャ内で行われるので、クリーニング時間全体を通じてこの機械をさらなる部品の製造に使用することができない。
そこで、欧州特許第1192040号では、付加製造機の製造エンクロージャから取り外してこの機械から独立したクリーニング装置に搬送できる取り外し可能なコンテナ内で部品を製造するように企図している。
このクリーニング装置の第1の実施形態では、互いに向き合った2つの開口部を備えた蓋がコンテナの頂部に配置され、第1の開口部には圧縮空気源が連結され、第2の開口部にはリザーバが連結される。この結果、製造プレート及び製造済みの部品をコンテナの頂部に向けて徐々に上昇させることにより、圧縮空気の流れが未固化の粉体を第2の開口部に、従ってリザーバ内に向かわせる。
この第1の実施形態の1つの不利点によれば、粉体をリザーバに向かわせるために使用する圧縮空気の流れによって粉体が汚染されるリスクがある。
第2の実施形態では、コンテナの頂部に末広がりのネック部が取り付けられ、このネック部に、好適な手段によってコンテナを傾斜させて製造プレートを徐々に上昇させた時に未固化の粉体の除去を可能にする吐出口が備わる。
この第2の実施形態では、未固化の粉体が重力下でリザーバに除去されるという利点がある。次に、リザーバにふるいを備え付けて製造済みの部品を捕獲した状態で、振動を用いて製造済みの部品からの粉体粒子の分離を締めくくる。
このクリーニング装置の第2の実施形態では、未固化の粉体を汚染する傾向にある圧縮空気の流れは使用していないものの、製造済みの部品を完全にクリーニングすることもできない。
具体的には、粉体の最も微細な粒子が振動の影響下で雲の形で空気中に浮かび上がり、振動が停止すると再び製造済みの部品上に沈殿する傾向にある。
また、製造済みの部品が、粉体の蓄積物が入り込みやすい空洞を伴う複雑な形状を有する場合、付加製造中にこれらの空洞内に生じる可能性のある粉体の塊を破壊するのに振動のみでは不十分である。
最終的に、単純な振動の利用では、製造済みの部品に固着した全ての粉体粒子を例えば手動ブラッシングで行うのと同様に除去することはできない。
欧州特許第1793979号明細書 欧州特許第1192040号明細書
従って、本発明の目的は、先行技術の文献に記載されている装置の不利点のうちの少なくとも1つを防ぐと同時に、製造プレートを単独で、或いはこのプレート上で製造されて付加製造サイクルの終了時にプレート上に付着できる部品と共にクリーニングできるようにすることである。
この目的のために、本発明の主題は、粉体を用いて行われる付加製造のためのプレートをクリーニングする設備であって、クリーニングすべきプレートを受け入れることができる入口ロックと、クリーニング済みのプレートを設備から抽出できるようにする出口ロックとを含む設備である。
本発明によれば、この設備は、第1の閉じ込めエンクロージャ内で振動及び衝撃を用いてプレートのクリーニングを可能にするドライクリーニング装置と、第2の閉じ込めエンクロージャ内で少なくとも1種類の液体を用いてプレートのクリーニングを可能にするウェットクリーニング装置と、ドライクリーニングエンクロージャ(E32)、ウェットクリーニングエンクロージャ(E34)、及び設備の出口ロック(26)間におけるプレート(10)の移送を可能にする少なくとも1つの搬送装置(36、44、46)とを含む。
ドライクリーニング装置は、衝撃及び振動を用いて、製造済みの部品及びそれらの製造に使用するプレートから未固化の粉体の粒子を剥離して分離させることにより、粉体の粒子を汚染することなく回収できるようにする。
また、衝撃を使用することにより、いくつかの空洞内に形成されることがある、振動のみの影響下では崩壊しない粉体の塊を崩壊させることができる。
最終的に、本発明は、衝撃の付与後にも製造済みの部品上及び製造プレート上に依然として存在する未固化の粉体の粒子を素早く除去できるという理由で、ドライクリーニング中における振動の使用も想定する。
具体的に言えば、ウェットクリーニング装置は、そのエンクロージャ内に、プレートをクリーニング液でクリーニングする少なくとも1つのクリーニングステーションと、プレートをリンス液ですすぐ少なくとも1つのリンスステーションとを含む。
クリーニングステーションは、クリーニング液で満たされて、このクリーニング液内に超高周波の超音波を放出する手段を備えたタンクの形を取ることが好ましい。
ウェットクリーニング装置は、そのエンクロージャ内に乾燥ステーションを含むことが有利である。
コンベヤは、設備を用いて付加製造場の外部から付加製造機に清潔な及び/又は新たなプレートを供給するために、設備の出口ロックからドライクリーニングエンクロージャに向けたプレートの移送も可能にする。
第1の実施形態では、設備が、ドライクリーニング装置のエンクロージャからウェットクリーニング装置のエンクロージャに向けた、及びこれとは逆にウェットクリーニング装置のエンクロージャからドライクリーニング装置のエンクロージャに向けたプレートの移送を可能にする第1のコンベヤと、ウェットクリーニング装置のエンクロージャから出口ロックに向けた、及びこれとは逆に出口ロックからウェットクリーニング装置のエンクロージャに向けたプレートの移送を可能にする第2のコンベヤとを含む。
第2の実施形態では、設備が、ドライクリーニング装置のエンクロージャから出口ロックに向けた、及びこれとは逆に出口ロックからドライクリーニング装置のエンクロージャに向けたプレートの移送を可能にするコンベヤと、プレートの一時的保管のための少なくとも1つの保管区域と、ドライクリーニング装置、ウェットクリーニング装置、コンベヤ及び各一時的保管区域間におけるプレートの移動を可能にするマニピュレータアームとを含む。
最後に、本発明によるクリーニング設備は完全に自動化されるので、本発明は、複数の付加製造機を含む付加製造場のエンクロージャなどの保護エンクロージャ内に設備全体が閉じ込められるように構想する。
以下の説明からは、本発明のさらなる特徴及び利点が明らかになるであろう。この説明は、以下の添付図面を参照しながら非限定的な例として行うものである。
支持体とスリーブとを備えたクリーニングすべき付加製造プレートの概略図である。 プレートクリーニングサイクルを矢印で示す、本発明によるクリーニング設備の第1の実施形態の上方からの概略図である。 本発明による設備を用いて付加製造場(additive manufacturing shop)に清潔な及び/又は新たなプレートを供給する様子を矢印で示す、本発明によるクリーニング設備の第1の実施形態の上方からの概略図である。 プレートクリーニングサイクルと、本発明による設備を用いて清潔な及び/又は新たなプレートを付加製造場に供給する様子とを矢印で示す、本発明によるクリーニング設備の第2の実施形態の上方からの概略図である。 本発明によるドライクリーニング装置の上方からの概略図である。 クリーニングすべき付加製造プレートがドライクリーニング装置によって受け取られる様子を示す、本発明によるドライクリーニング装置の概略的正面図である。 クリーニングすべきプレートがドライクリーニング装置のクリーニングエンクロージャに到達する様子を示す図6の詳細図である。 本発明が企図するクリーニングすべきプレートの反転を示す、本発明によるドライクリーニング装置のクリーニングエンクロージャの概略的側面図である。 本発明によるドライクリーニング装置によってクリーニングすべきプレートのクリーニングを具体的に示す、本発明によるドライクリーニング装置のクリーニングエンクロージャの概略的側面図である。
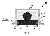
本発明は、付加製造プレート10のクリーニングに関する。
付加製造プレート10は、高さが数センチであって平面P10における長さ及び幅が数十センチである概ね金属製の平行六面体の支持体の形を取る。
周知のように、このようなプレート10は、付加製造機の製造チャンバ内で製造される部品を製造する際の支持体として使用される。具体的に言えば、このプレートは、この製造チャンバ内のプレートを取り囲む製造エンクロージャの内部に取り付けられ、未固化の粉体層の毎回のさらなる堆積前に降下できるように、この製造エンクロージャ内で垂直移動する能力を備える。
図1に示すように、本発明の文脈では、プレート10が、付加製造機内で製造エンクロージャの役割を果たすスリーブ12によって取り囲まれることが好ましい。
プレート10とスリーブ12は、組み合わせることによってコンテナ15を形成する。このコンテナ15は、製造済みの部品14及びそれを取り巻く未固化の粉体16と共に付加製造機の製造チャンバから取り出せるように、付加製造機の内部に取り外し可能に取り付けられる。
このコンテナ15には、製造済みの部品14及び未固化の粉体16を付加製造機から付加製造場内に存在する別の装置に、又は本発明が提案するようなクリーニング設備に容易に移送できるようにするという利点がある。
プレート10には、案内及び自動移送を目的として支持体13が取り付けられる。この支持体13は、製造プレートが嵌合するフレームの形を取る。この支持体13は、スタッド又は他のタイプの引き込み式ピンによって適所に保持されるようにボア17を含む。最後に、この支持体13は、プレート10及びその支持体13がスリーブ12内に並進運動した時に粉体が漏れるのを防ぐ周辺密封ガスケット19を備える。
本発明の主要目的は、コンテナ15内で部品14を取り巻く有意量の未固化の粉体16に悪影響を与えずにこれを回収し、製造済みの部品14及び付加製造プレート10から未固化の粉体の粒子をできるだけ多く取り除くことである。
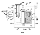
この目的のために、本発明は、図2に示すような付加製造プレートクリーニング設備20を提供する。
この設備20は、付加製造機からクリーニングすべきプレート10を受け取ることができる入口ロック(inlet lock)22を含み、コンテナ15と、製造済みの部品14と、未固化の粉体16とを付加製造機から設備の入口ロック22に考えられる最良の状態で移送する好適な移送手段24が設けられる。
設備20は、クリーニングされたプレート10をクリーニング設備から取り出すために出口ロック(outlet lock)26も含む。設備20は、その全体が図2〜図4に部分的に示す保護エンクロージャ28内に閉じ込められることが好ましいので、出口ロック26はこのエンクロージャ28の壁部30を貫いて形成される。
図3の様々な矢印によって示すように、出口ロック26は、クリーニング設備の外部Eから新たな及び/又は清潔なプレート10を設備20に供給するために使用することもでき、入口ロック22は、クリーニング設備20から清潔なプレート10を取り出して移送手段24によって付加製造機に送るために使用することもできる。
設備20は、プレート10の最適なクリーニングを確実にするために、第1の閉じ込めエンクロージャE32内における振動及び衝撃を用いたプレート10のクリーニングを可能にするドライクリーニング装置32と、第2の閉じ込めエンクロージャE34内における少なくとも1種類の液体を用いたプレート10のクリーニングを可能にするウェットクリーニング装置34と、ドライクリーニングエンクロージャE32、ウェットクリーニングエンクロージャE34、及びクリーニング設備の出口ロック26間におけるプレート10の移送を可能にする少なくとも1つの搬送装置と、を備えている。
具体的に言えば、ドライクリーニング装置32は、最大量の未固化の粉体をできるだけ早く再利用できるように、事前の乾燥処理を使用せずに、このようにリサイクルされる粉体の粒子サイズ分布の制御の維持を目的としたスクリーニングのみを用いて、この粉体に悪影響を与えずにこれを回収しようと努める。その後に、ウェットクリーニング装置34が、ドライクリーニング後に製造済みの部品14及び製造プレート10に固着したままの全ての未固化の粉体の粒子を除去することによって部品及びプレートを完全にクリーニングしようと努める。
ウェットクリーニング装置34は、製造済みの部品14及び製造プレート10を完全にクリーニングするために、そのエンクロージャE34内に、プレート10をクリーニング液でクリーニングする少なくとも1つのクリーニングステーション38と、プレート10をリンス液ですすぐ少なくとも1つのリンスステーション40とを備えている。
クリーニングステーション38は、クリーニング液で満たされて、このクリーニング液内に好ましくは20kHzの、場合によっては45kHzの超高周波の超音波を放出できるようにするトランスデューサなどの手段を備えたタンクの形を取ることが好ましい。従って、クリーニングすべきプレート10及び部品14がクリーニング液に漬けられると、超音波によって、これらの同じ波の影響下で内破する微細気泡が空洞化現象を通じて発生し、これらの内破によってクリーニング液内に乱流が生じて、製造済みの部品14及び製造プレート10に依然として固着している粉体の最後の粒子まで引き剥がすことができる。これらの気泡は、その微小サイズに起因して、製造済みの部品14の最も小さな空洞内に有利に入り込むことができる。
クリーニング液は水溶液であり、リンス液も水溶液であることが理想的である。
ウェットクリーニング装置34は、クリーニングステップを容易にして行われるクリーニングの質を向上させるために、そのエンクロージャE34内に、明らかにクリーニングステーション38の上流に存在する予備クリーニングステーション42を備えることができる。
この予備クリーニングステーション42は、予備クリーニング液で満たされたタンクの形を取ることができ、予備クリーニング液は、水溶液であることが好ましい。
リンスステーション40は、乾燥ステーションとしての役割も果たして、クリーニング済みのプレート及び製造済みの部品を乾燥させる手段を含むことができ、これらの乾燥手段は、例えば熱風ブロワが取り付けられたタンクの形を取る。
設備を完全に自動化するために、ウェットクリーニング装置34は、そのエンクロージャE34内に、クリーニングすべきプレート10とこれらのプレート10に付着した製造済みの部品14とを予備クリーニングステーション42とクリーニングステーション38とリンスステーション40との間で自動的に搬送できるようにする搬送手段(図示せず)を備えている。
図示していない別の形の実施形態では、ウェットクリーニング装置34が、プレート10の予備クリーニングと、クリーニングと、場合によっては乾燥とを行うことができる単一の作動チャンバと、これらの様々なステップの前、最中及び/又は後にプレート10を保管するための様々な保管チャンバとを備えることができる。
図3に示すように、ウェットクリーニング装置34の搬送手段は、新たな及び/又は清潔なプレート10を、ウェットクリーニング装置34のエンクロージャE34を通じて様々なクリーニング及びリンスステーションを通過せずに搬送することもできる。
図2及び図3に示すクリーニング設備の第1の実施形態では、クリーニング設備が、クリーニング中のプレート10をドライクリーニング装置32のエンクロージャE32からウェットクリーニング装置34のエンクロージャE34に向けて移送できるようにする第1のコンベヤ44と、クリーニング済みのプレート10をウェットクリーニング装置34のエンクロージャE34から設備20の出口ロックに向けて移送できるようにする第2のコンベヤ46とを備えている。
クリーニング設備の出口ロック26を使用してクリーニング設備20を介して新たな及び/又は清潔なプレート10を付加製造場に導入するために、第2のコンベヤ46は、設備20の出口ロック26からウェットクリーニング装置34のエンクロージャE34に向けたプレート10の移送も可能にし、第1のコンベヤ44は、ウェットクリーニング装置34のエンクロージャE34からドライクリーニング装置32のエンクロージャE32に向けたプレート10の移送も可能にする。
このように設備20を使用して付加製造場に新たな及び/又は清潔なプレート10を供給している時には、これらのプレート10がウェットクリーニング装置34内でウェットクリーニングを受けるように企図することができる。これらのプレート10は、設備20のエンクロージャ28の外部Eにおける無防備な保管中又は手動操作中に汚染される可能性があるので、これによってこれらのプレート10が付加製造機で使用される前に完全にクリーニングされ除染されることが確実になる。
この設備20の第1の実施形態では、2つのコンベヤ44、46をベルトコンベヤとすることができる。
図4に示す設備20の第2の実施形態では、設備が、ドライクリーニング装置32のエンクロージャE32から出口ロック26に向けた、及びこれとは逆の出口ロック26からドライクリーニング装置32のエンクロージャE32に向けたプレート10の移送を可能にするコンベヤ36と、プレート10の一時的保管のための少なくとも1つの保管区域48、50と、ドライクリーニング装置32、ウェットクリーニング装置34、コンベヤ36及び各一時的保管区域48、50間におけるプレート10の移動を可能にするマニピュレータアーム52とを備えている。
具体的に言えば、コンベヤ36は、ベルトコンベヤとすることができ、各保管区域48、50は、ラックなどの開放的保管装置の形を取ることができ、マニピュレータアーム52は、例えばグリッパなどのプレート10を把持するための装置54が端部に取り付けられた多関節アームである。
マニピュレータアーム52は、少なくとも1つの保管区域48、50の存在により、例えばコンベヤ36を用いて清潔なプレート10を出口ロック26からドライクリーニング装置32に移動させている間に様々なプレート10のドライクリーニングステップ及びウェットクリーニングステップを管理することができる。
清潔なプレート10とクリーニング処理中のプレート10とを同じ1つの区域に保管しなくて済むように、2つの一時的保管区域48及び50が存在することが好ましい。
また、マニピュレータアーム52は、各プレート10を1つの地点から別の地点にできるだけ素早く移動させるように、様々な水平軸及び/又は垂直軸の周囲で回転運動できることが好ましい。
この第2の実施形態の図示していない経済的な代替形態によれば、マニピュレータアーム52を省略して、コンベヤ36を、ドライクリーニングエンクロージャE32、ウェットクリーニングエンクロージャE34及び設備の出口ロック26間におけるプレート10の移送を単独で実行するように構成することができる。
本発明は、衝撃及び振動を用いてプレート10のドライクリーニングを実行するために、プレート10をドライクリーニングする装置32を提案する。
上述したように、このドライクリーニング装置32は、閉じ込めエンクロージャE32を含む。この閉じ込めエンクロージャE32は、クリーニングすべきプレートを受け取るために少なくとも1つの入口ロック56を含むとともに、クリーニング済みのプレート10を排出するために出口ロック58も含む。ドライクリーニング装置32のエンクロージャE32の入口ロック56は、設備20の入口ロック22も兼ねることが有利である。
ドライクリーニングエンクロージャE32は、前壁60F、後壁60R、左側壁62G、右側壁62D及び天井Pによって地面S上に形成されるので、入口ロック56は、ドライクリーニングエンクロージャE32の後壁60Rを貫いて形成され、出口ロック58は、ドライクリーニングエンクロージャE32の右側壁62Dを貫いて形成される。
図5に示すように、ドライクリーニング装置32は、この閉じ込めエンクロージャE32の内部に、クリーニングすべきプレート10を受け取るための受け取り手段64と、このプレートをドライクリーニングするためのドライクリーニングステーション66とを備えている。
具体的に言えば、受け取り手段64は、クリーニングすべきプレート10と、その支持体13と、そのスリーブ12とで形成されるコンテナ15を受け取って移送することができる。
これらの受け取り手段64は、例えばチェーンコンベヤ72の形を取る。このチェーンコンベヤ72は、ドライクリーニングエンクロージャE32内で、エンクロージャE32の側壁62G、62Dの平面に平行であって、このエンクロージャの前壁60F及び後壁60Rに垂直な長手方向DLに水平に延びる。従って、このチェーンコンベヤ72は、コンテナ15、従ってクリーニングすべきプレート10をエンクロージャE32の入口ロック56からドライクリーニングステーション66に移送することができる。
ドライクリーニング装置32は、コンテナ15に含まれる未固化の粉体16の回収を容易にするために、第1の閉じ込めエンクロージャE32の内部に第2のクリーニングエンクロージャ68を備えている。
この第2のクリーニングエンクロージャ68は、ベース74に取り付けられた釣鐘部70の形を取り、このベース74は、クリーニングすべきプレート10を受け取るための開口部76を備えている。
具体的に言えば、ベース74は、実質的に平面的な矩形であり、釣鐘部70は、ベース74の平面P74に垂直な中心軸A70を中心に広がるピラミッドS70の形状を有する。同時に、開口部76は、クリーニングすべきプレート10の形状及びサイズに合うように適合された又は適合できる形状及びサイズを有する。
中心軸A70を中心とする釣鐘部70のピラミッド形状は、クリーニングすべきプレート10と共にこの釣鐘部70が反転した時に未固化の粉体16が流れて回収されるのを容易にすることができる。
図6〜図9に示す実施形態の好ましい代替形態では、釣鐘部70が、中心軸を中心とする平行六面体である底部70Bと、中心軸を中心とするピラミッド形状である頂部70Hとを含み、平行六面体の底部70Bはベース74から延び、ピラミッド形状の頂部70Hは、この底部70Bと釣鐘部70の頂点78との間に延びる。
他の代替形態では、釣鐘部が、完全なピラミッド形状、部分的な又は完全な円錐形状、部分的な又は完全な円錐台形状、或いは釣鐘部70が反転した時に漏斗を形成できる他のいずれかの形状をとることができる。
図8及び図9に示すように、釣鐘部70の頂点78は、釣鐘部70を反転してそのベース74が頂点78の上方に位置するようになった時の未固化の粉体16の流れを制御するために、弁82又は他のいずれかの流量調整装置が取り付けられたパイプ80の形を取る。
上記で指摘したように、本発明は、釣鐘部70及びプレート10を反転させて、製造済みの1又は複数の部品14を取り囲む未固化の粉体16をコンテナ15内に回収できるようにすることを企図する。
しかしながら、まずは、クリーニングすべきプレート10と回収すべき未固化の粉体16とを含むコンテナ15をクリーニングエンクロージャ68のベース74の開口部76の方に導くことが必要である。
これを達成するために、釣鐘部70及びその頂点78がベース74の上方に存在する非反転位置に対応する初期位置にクリーニングエンクロージャ68を置くように企図する。図6及び図7に示すように、このクリーニングエンクロージャ68の初期位置では、ベース74の平面P74が実質的に水平である。
次に、クリーニングエンクロージャ68がその初期位置にある時に、受け取り手段64が、コンテナ15、従ってプレート10を、閉じ込めエンクロージャE32の入口ロック56からクリーニングエンクロージャ68のベース74の開口部76の対向側に移送できるようにする。
ドライクリーニング装置32は、受け取り手段64を補完するために、クリーニングすべきプレート10を受け取り手段64から開口部76まで搬送できるリフト84を含む。
この目的のために、図6及び図7に示すように、このリフト84は、クリーニングすべきプレート10及びその支持体13をコンテナ15のスリーブ12内で垂直方向に並進運動T1させることができる。具体的には、スリーブ12が中心軸A12の周囲で高さ方向に垂直に延びた状態で、スリーブ12の中心軸12と平行にスリーブ12の上縁部86に向けてプレート10及びその支持体13の垂直並進運動T1が行われる。
リフト84は、プレート10及びその支持体13に適用される垂直並進運動T1と同時に、スリーブ12をその中心軸A12と平行な垂直並進運動T2の形でクリーニングエンクロージャ68のベース74に向けて動かすことができる。従って、スリーブ12の上縁部86がベース74の開口部76の下縁部88に対して強く押し付けられることにより、プレート10がスリーブ12内で上昇して未固化の粉体16がコンテナ15からクリーニングエンクロージャ68の内部容積V68に向かって徐々に移送される際に、この粉体の漏れを防ぐことができる。
リフト84は、プレート10及びその支持体13の垂直並進運動T1を達成するために、例えば本体92内を並進運動の形で案内され、モータ94及びエンドレススクリュー96によって並進運動するように駆動されるピストン90を含む。
リフト84は、スリーブ12の並進運動T2を達成するために、例えばピストン90のロッド89の周囲を並進運動の形で案内され、本体92に固定された別のプレート102に押し付けられた圧縮ばね100によって並進運動するように駆動されるプレート98を含む。
プレート98、102及びばね100は、モータ94がピストン90を並進運動させると、ばね100の作用によってプレート98の並進運動も引き起こされるように本体92及びピストン90に対して寸法及び位置を定められることが有利である。
プレート10がベース74の平面P74に到達すると、プレートの並進運動が停止し、スタッド104などの係止要素が、支持体13に設けられたボア17に入り込んで支持体13をベース74の開口部内で静止させる。
このベース74に対するプレート10の位置では、支持体13の周辺密封ガスケット19が、支持体13とベース74との間、従ってプレート10とベース74との間の密封も行うことが有利である。
プレート10がベース74に固定された時には、製造済みの1又は複数の部品14及び未固化の粉体16がクリーニングエンクロージャ68の内部容積V68内に存在し、すなわちこのクリーニングエンクロージャ68を反転させると未固化の粉体16が重力下で回収されて、プレート10及び製造済みの1又は複数の部品14をドライクリーニングできるように想定することができる。
この反転を可能にするために、クリーニングエンクロージャ68は、好ましくは水平方向の軸A68の周囲で枢動する能力を備える。
図8に示すように、クリーニングエンクロージャ68がその反転位置にある時には、ベース74の平面P74は実質的に水平である。このため、クリーニングエンクロージャ68は、ドライクリーニング装置32の閉じ込めエンクロージャE32内で少なくとも180°にわたって枢動する能力を備える。
クリーニング設備の完全自動化を可能にするために、エンクロージャ68は、電気モータ106などのアクチュエータによって軸A68の周囲で回転駆動することができる。
このアクチュエータ106は、クリーニングエンクロージャ68の軸A68を中心とする回転角を制御して、例えばドライクリーニングサイクル中にベース74の、従ってプレート10の傾斜を修正できることが有利である。
クリーニングエンクロージャ68が反転すると、未固化の粉体16が重力下で釣鐘部70の頂点78に向けて落下し、これによってパイプ80を介したこの粉体の回収が容易になる。
図5に示すように、釣鐘部70の頂点のパイプ80には、吸引によって粉体を回収する粉体回収手段108が弁82を介して連結され、この吸引がパイプ80内の粉体の流れを促し、これによってパイプの目詰まりを防止できることが好ましい。
クリーニングエンクロージャ68を反転させた時にエンクロージャの内部容積V68に形成される雲状の未固化の粉体16から粉体の粒子を吸い上げるために、釣鐘部70は、そのベース74と頂点78との間に、吸引によって雲状の粉体を回収する手段109に連結された吸引オリフィス110を含む。
このオリフィス110は、釣鐘部70の高さの中程に設けられることが好ましい。図6〜図9に示す好ましい代替形態では、このオリフィス110が、平行六面体の底部70Bの近くではなく、釣鐘部70のピラミッド形状の頂部70Hに設けられる。
吸引によって雲状の粉体を回収する手段109は、コンテナ15が閉じ込めエンクロージャE32の入口ロック56とクリーニングエンクロージャ68との間で移送されている間にコンテナ15から漏れる可能性がある、或いはコンテナ15を反転させた時などにエンクロージャ68から漏れる可能性がある粉体の粒子を収集するために、ドライクリーニング装置32の閉じ込めエンクロージャE32の内部容積V32にも連結される。
吸引によって雲状の粉体を回収する手段109は、吸引によって粉体を回収する手段108に比べて高い吸引流量を示す。
このクリーニングエンクロージャ68は、クリーニングすべきプレート10と共に反転した後にクリーニングエンクロージャ68を密封するために、ベース74の開口部76の閉鎖を可能にするドア112を含む。このドア112は、ベース74に対して枢動する能力を備え、プレート10及びその支持体13のすぐ後ろでエンクロージャ68を閉鎖する。クリーニング設備を完全自動化するために、このドア112の動きも完全に自動化される。
クリーニングエンクロージャ68及びクリーニングすべきプレート10の反転、並びにこのエンクロージャ68のピラミッド形状部分70Hにより、釣鐘部70の頂点を介して未固化の粉体16の大部分を重力下で、好ましくは吸引を用いて容易に回収することができる。
しかしながら、特に製造済みの1又は複数の部品14が空洞及び/又は中空形状を有している時には、この反転及び吸引にも関わらず、未固化の粉体16の粒子の一部がプレート10及びこれらの部品14に依然として固着していることもある。
このため、ドライクリーニング装置32のドライクリーニングステーション66は、プレート10に依然として固着している、或いは製造済みの部品14の隙間又は空洞内に含まれる粉体の粒子を落下させるために、クリーニングすべきプレート10に振動を与えることができる手段114と、このプレート10を衝撃に曝すことができる手段116とを含む。図8及び図9に示すように、これらの振動を与えることができる手段114及び衝撃を与えることができる手段116は、クリーニングエンクロージャ68のベース74によって支持され、クリーニングすべきプレート10を受け取る開口部76の隣に設けられる。
具体的に言えば、振動を与えることができる手段114は、例えば電気モータバイブレータ118の形を取り、衝撃を加えることができる手段116は、例えば空気圧ストライカ120の形を取る。
このバイブレータ118及びストライカ120は、ベース74及びクリーニングエンクロージャ68全体に振動及び衝撃が広がるのを防ぐために、ベース74に形成された開口部124に面するサスペンションゴムに取り付けられたプレート122に取り付けられる。ベース74とプレート122との間には、脚絆などの密封手段126を設けることが有利である。
図9に示すように、バイブレータ118及びストライカ120はプレート10と直接接触して、クリーニングの有効性の改善と、振動及び衝撃の使用の最適化とを可能にする。
ドライクリーニングステーション66は、クリーニングすべきプレート10を受け取る開口部76から少し離れて位置するので、クリーニングエンクロージャ68は、開口部76とドライクリーニングステーション66の手段114、116との間でプレート10を搬送する内部手段128を含む。
図8及び図9に示す好ましい代替形態では、これらのプレートを搬送する内部手段128が、並進運動が可能な第1の案内支持体130と、ドライクリーニングステーション66の手段114、116を支持するプレート122に連結された第2の案内支持体132と、第1の支持体130から第2の支持体132にプレート10を移送する移送手段136とを少なくとも含む。
具体的に言えば、第1の支持体130は、クリーニングエンクロージャ68内でベース74の開口部76に向かって並進運動する能力を備え、この並進運動T3は、例えば作動シリンダ134の影響下でベースの平面P74に対して垂直な方向に行われる。
第1の支持体130は、図8に示すその上昇位置において、クリーニングすべきプレートを受け取ることができる。エンクロージャ68及びプレート10が反転すると、第1の支持体130は、反転したプレート10を受け取ることができ、すなわち製造済みの1又は複数の部品14がプレート10の下方に来る。この目的のために、第1の支持体130は、長さが数センチの互いに離間した複数のフィンガ138の形を取る。フィンガ138は、粉体粒子を保持しないように丸みを帯びていることが有利である。
プレート10が第1の支持体130によって受け取られると、第1の支持体は、その上昇位置から図9に示す下降位置に並進運動の形で移動して、クリーニングすべきプレート10を第2の案内支持体132に移送することができる。
第2の支持体132も、長さが数センチの互いに離間した、好ましくは丸みを帯びた形状の複数のフィンガ140の形を取るので、プレート10を移送する手段136は、第1の支持体130と第2の支持体132の間を並進運動の形で案内されるフォーク142の形を取る。このフォーク142の並進運動T4は、例えば作動シリンダ144の影響下でベース74の平面P74と平行な方向に行われる。このフォーク142は、クリーニングすべきプレートを把持して第1の支持体130のフィンガ138から第2の支持体132のフィンガ140に摺動させることができる。
第1の支持体130と第2の支持体132の間には、やはり丸みを帯びた形状を有するフィンガ148で形成されることが好ましい中間案内支持体146を設けることもできる。
プレート10が第2の支持体132上に来ると、本発明によって意図される衝撃及び振動によるドライクリーニングを行うことができる。しかしながら、振動及び衝撃を加える前に、ドライクリーニングステーション66のプレート122によって支持された作動シリンダ152のロッド150が、プレート10を第2の支持体132に固定する。
本発明によれば、プレート10への振動の付与は、プレート10の振動の振幅が5ミリを超えない40〜150Hzの振動数でプレート10を振動させることを伴う。
図8及び図9に示す好ましい代替形態では、振動がバイブレータ118によって生成され、プレート122及び第2の支持体132を介してプレート10及び製造済みの1又は複数の部品14に伝えられる。
また、本発明によれば、衝撃は、プレート10との接触時に20〜25ジュールの運動エネルギーを有する運動体によってプレート10に、従って製造済みの1又は複数の部品14に効果的に付与される。また、プレート10は、ドライクリーニングサイクル中に15〜25Hzの周波数で複数回の、すなわち概算値を挙げれば120〜600回の衝撃を受ける。
図8及び図9に示す好ましい代替形態では、衝撃がストライカ120のロッド154によってプレート10に効果的に与えられる。
プレート10に衝撃を与えることにより、製造済みの部品14の隙間又は空洞形状内に形成されやすい未固化の粉体粒子16の塊が崩壊し、振動を与えることにより、これらの粉体粒子が製造済みの部品14の隙間又は空洞形状から抽出され、重力下で釣鐘部70の頂点78に向けて落下する。
振動の誘発及び衝撃の付与のサイクルが終了すると、プレート10は、ドライクリーニング装置32の出口ロック58に向かって搬送され、ここで例えば把持装置54によって拾い上げて、図5に示すようにエンクロージャE32から取り出すことができる。
クリーニング済みのプレート10は、ドライクリーニングステーション66から出口ロック58に、具体的には受け取り手段64に戻るには、来た時と同じ経路を逆方向に辿る。
具体的には、ロッド154の締め付けが解除されると、フォーク142がプレート10を第2の支持体132から第1の支持体130に戻し、その後に第1の支持体130が上昇位置に戻って、プレート10をベース74の開口部76に戻す。次に、クリーニングエンクロージャ68が、ドア112を開くように取り計らった後にその反転前の初期位置に戻ることにより、プレート10がリフト84及びそのピストン90によって回収されるようになり、これによって受け取り手段64のチェーンコンベヤ72へのクリーニング済みのプレート10の搬送が終了する。
クリーニング設備20は、その完全自動化によって、複数の付加製造機を含む付加製造場における設置に特に適している。
設備20、具体的にはドライクリーニング装置32は、プレート10を単独で、すなわちこのプレート10と共にコンテナ15を形成するスリーブ12がない状態でクリーニングするように設計できることが有利である。
また、設備20及びプレート10は、プレート10のための支持体13を使用しないように設計することもできる。
ドライクリーニング装置32の2つのエンクロージャである閉じ込めエンクロージャE32及びクリーニングエンクロージャ68は、二重閉じ込めを提供して特定の付加製造粉体の毒性から個人を最良に保護することが有利である。
一般に、本発明は、例えばたった今説明したドライクリーニング装置を用いて実施できる付加製造プレート10のドライクリーニング方法にも関する。
本発明によれば、この方法は、プレート10から未固化の粉体16を分離し、このプレートに振動を与えてプレートを衝撃に曝すことによって未固化の粉体16を回収するものである。
上述したように、プレートに付与される振動は、好ましくは40〜150Hzの振動数を有し、プレート10の振動振幅は、振動の影響下で5ミリを超えない。
また、プレート10には、プレート10との接触時に20〜25ジュールの運動エネルギーを有する運動体を用いて複数の衝撃が効果的に付与される。
衝撃は、プレート10の平面P10と直交する方向に、例えばストライカ120のロッド154を用いて付与されることが好ましい。具体的に言えば、プレート10は、その幅及び長さが特に厳密に設計されるので、これらの衝撃は、プレート10に対して垂直に、従ってその高さ方向に付与することがさらに効果的である。
プレート10は、ドライクリーニングサイクル中に15〜25Hzの周波数で120〜600回の衝撃を受けることが好ましい。
振動は、製造済みの1又は複数の部品14の隙間又は空洞形状から未固化の粉体16が重力下で落下するのを促すために、プレート10の平面P10と実質的に平行な方向に、例えばバイブレータ118を用いてプレート10に与えられることが好ましい。
さらに、プレート10への振動は、プレート10及び製造済みの部品のクリーニングを促すために、プレート10の平面P10と実質的に平行ではあるが互いに異なる方向に与えることができる。プレート10への振動は、プレート10の平面P10と実質的に平行ではあるが互いに垂直な方向に、例えばプレート10の長さに沿って延びる方向と幅に沿って延びる方向とに対応する2つの方向に与えられることが好ましい。この異なる方向における振動の組み合わせは、製造済みの部品及びその空洞がプレートの平面P10と平行に延びる方向に関わらずにこれらの部品及びその空洞から未固化の粉体の粒子を最良に取り除くことができるので有利である。
振動ステップ及び衝撃ステップは、最適なドライクリーニングを目的として交互に複数回行われる。
振動ステップと衝撃ステップとを同時に実行してクリーニング時間を短縮することもできる。
例えば、クリーニングエンクロージャ68と、このクリーニングエンクロージャ68に備わる水平軸A68を中心に回転する能力とによって、本方法は、プレート10を反転させることを含む事前ステップを含み、この反転によって未固化の粉体16の大部分を重力下で回収することが可能になる。
さらに、本ドライクリーニング方法は、最適なドライクリーニング、及び製造済みの1又は複数の部品14の隙間又は空洞形状から未固化の粉体16の粒子を重力下で落下させるように促すことを目的として、プレート10に振動を誘発するステップ及び/又はプレート10に衝撃を付与するステップ中にプレート10の傾斜を変化させることも企図する。
例えば、本ドライクリーニング方法は、クリーニングエンクロージャ68に起因して、閉じ込め容積V68内で、好ましくはドライクリーニング装置32の閉じ込めエンクロージャE32によって二重に閉じ込められた容積内で行われる。
本クリーニング方法は、振動の誘発及び衝撃の付与を行った後に、重力下で、又は吸引による粉体回収手段108を用いて、プレート10のドライクリーニングによって生成された未固化の粉体16の粒子をこの閉じ込め容積V68から除去し、例えばこれらを保存して再利用できるようにするステップを含む。
釣鐘部70の頂点78に落下する未固化の粉体16を回収するための吸引は、ほんの数秒間だけ実施されることが有利である。
例えば、本方法は、ドライクリーニングエンクロージャ68に雲状の粉体を回収する手段108が連結されていることにより、クリーニング中に閉じ込め容積V68が、ドライクリーニングサイクル中にドライクリーニングエンクロージャ68内に形成される可能性がある雲状の粉体を排除するという意図的な目的を有するさらなる吸引に曝されるように企図する。
このさらなる吸引は、少なくともプレート10の振動中及びプレート10への衝撃の付与中にドライクリーニングエンクロージャ68内で維持されることが好ましい。
最後に、本方法は、例えば雲状の粉体を回収する手段109がドライクリーニング装置32の閉じ込めエンクロージャE32に連結されていることにより、ドライクリーニング装置32の閉じ込め容積V32もさらなる吸引に曝されるように企図する。
なお、ドライクリーニング装置32は、プレート10と、このプレート10に付着した製造済みの部品とを反転させてこれらのみをクリーニングする。具体的に言えば、スリーブ12の内壁から未固化の粉体の粒子を除去するには、プレート10をその支持体13及び密封ガスケット19と共に並進運動させれば十分であるため、スリーブ12を反転させてクリーニングすることに利点はない。また、スリーブ12をプレート10と共に反転させることは、追加の、従って不必要な電力消費を意味する。
1つの利点によれば、ドライクリーニング装置32は、プレート10と製造済みの部品とをスリーブ12から分離して、プレート10及び製造済みの部品のみをウェットクリーニング装置34に移送することができる。この理由は、スリーブ12のウェットクリーニングが不要なためである。

Claims (8)

  1. 粉体を用いて行われる付加製造のためのプレート(10)をクリーニングする設備(20)であって、
    クリーニングすべきプレート(10)を受け入れることができる入口ロック(22)と、クリーニング済みのプレート(10)を前記設備から抽出できるようにする出口ロック(26)とを備え、前記設備(20)は、前記プレート(10)が第1の閉じ込めエンクロージャ(E32)内で反転させられ次いで振動及び衝撃を用いてクリーニングされることを可能にするドライクリーニング装置(32)と、第2の閉じ込めエンクロージャ(E34)内で少なくとも1種類の液体を用いてプレート(10)のクリーニングを可能にするウェットクリーニング装置(34)と、前記第1の閉じ込めエンクロージャ(E32)、前記第2の閉じ込めエンクロージャ(E34)、及び前記設備の前記出口ロック(26)間におけるプレート(10)の移送を可能にする少なくとも1つの搬送装置(36、44、46)と、を備えている、
    ことを特徴とする設備(20)。
  2. 前記ウェットクリーニング装置(34)は、そのエンクロージャ(E34)内に、プレート(10)をクリーニング液でクリーニングする少なくとも1つのクリーニングステーション(38)と、プレート(10)をリンス液ですすぐ少なくとも1つのリンスステーション(40)とを備えている、
    請求項1に記載の設備(20)。
  3. 前記クリーニングステーション(38)は、クリーニング液で満たされて、該クリーニング液内に超高周波の超音波を放出する手段を備えたタンクの形を取る、
    請求項2に記載の設備(20)。
  4. 前記ウェットクリーニング装置(34)は、そのエンクロージャ(E34)内に乾燥ステーション(40)を備えている、
    請求項2又は3に記載の設備(20)。
  5. 搬送装置(36、44、46)は、前記設備の前記出口ロック(26)から前記第1の閉じ込めエンクロージャ(E32)に向けたプレート(10)の移送も可能にする、
    請求項1ないし4のいずれか1項に記載の設備(20)。
  6. 前記設備は、前記ドライクリーニング装置(32)の前記エンクロージャ(E32)から前記ウェットクリーニング装置(34)の前記エンクロージャ(E34)に向けた、及びこれとは逆に前記ウェットクリーニング装置(34)の前記エンクロージャ(E34)から前記ドライクリーニング装置(32)の前記エンクロージャ(E32)に向けたプレート(10)の移送を可能にする第1のコンベヤ(44)と、前記ウェットクリーニング装置(34)の前記エンクロージャ(E34)から前記出口ロック(26)に向けた、及びこれとは逆に前記出口ロック(26)から前記ウェットクリーニング装置(34)の前記エンクロージャ(E34)に向けたプレート(10)の移送を可能にする第2のコンベヤと、を備えている、
    請求項1ないし5のいずれか1項に記載の設備(20)。
  7. 前記設備は、前記ドライクリーニング装置(32)の前記エンクロージャ(E32)から前記出口ロック(26)に向けた、及びこれとは逆に前記出口ロック(26)から前記ドライクリーニング装置(32)の前記エンクロージャ(E32)に向けたプレート(10)の移送を可能にするコンベヤ(36)と、プレート(10)の一時的保管のための少なくとも1つの保管区域(48、50)と、前記ドライクリーニング装置(32)、前記ウェットクリーニング装置(34)、前記コンベヤ(36)及び各一時的保管区域(48、50)間におけるプレート(10)の移動を可能にするマニピュレータアーム(52)と、を備えている、
    請求項1ないし5のいずれか1項に記載の設備(20)。
  8. 前記設備(20)は、その全体が保護エンクロージャ(28)内に閉じ込められる、
    請求項1ないし7のいずれか1項に記載の設備(20)。
JP2018503787A 2015-07-30 2016-07-29 付加製造プレートをクリーニングするユニット Active JP6871908B2 (ja)

Applications Claiming Priority (3)

Application Number Priority Date Filing Date Title
FR1557317A FR3039438B1 (fr) 2015-07-30 2015-07-30 Installation de nettoyage de plateaux de fabrication additive
FR1557317 2015-07-30
PCT/EP2016/068238 WO2017017272A1 (fr) 2015-07-30 2016-07-29 Installation de nettoyage de plateaux de fabrication additive

Publications (2)

Publication Number Publication Date
JP2018529547A JP2018529547A (ja) 2018-10-11
JP6871908B2 true JP6871908B2 (ja) 2021-05-19

Family

ID=54356527

Family Applications (1)

Application Number Title Priority Date Filing Date
JP2018503787A Active JP6871908B2 (ja) 2015-07-30 2016-07-29 付加製造プレートをクリーニングするユニット

Country Status (7)

Country Link
US (1) US10675814B2 (ja)
EP (1) EP3328559B1 (ja)
JP (1) JP6871908B2 (ja)
KR (1) KR102441802B1 (ja)
CN (1) CN107847986B (ja)
FR (1) FR3039438B1 (ja)
WO (1) WO2017017272A1 (ja)

Families Citing this family (27)

* Cited by examiner, † Cited by third party
Publication number Priority date Publication date Assignee Title
FR3039436B1 (fr) 2015-07-30 2021-09-24 Michelin & Cie Dispositif de nettoyage a sec d’un plateau de fabrication additive
FR3039437B1 (fr) 2015-07-30 2021-12-24 Michelin & Cie Procede de nettoyage a sec de plateaux de fabrication additive
DE102015011790A1 (de) * 2015-09-16 2017-03-16 Voxeljet Ag Vorrichtung und Verfahren zum Herstellen dreidimensionaler Formteile
FR3046093B1 (fr) 2015-12-23 2018-01-26 Compagnie Generale Des Etablissements Michelin Atelier de fabrication additive
FR3046147B1 (fr) 2015-12-23 2019-07-26 Compagnie Generale Des Etablissements Michelin Dispositif de convoyage d’ensembles container/plateau de fabrication additive
FR3052375B1 (fr) 2016-06-09 2019-08-23 Compagnie Generale Des Etablissements Michelin Plateau de fabrication additive equipe d'un raidisseur
FR3054108B1 (fr) * 2016-07-19 2020-10-02 Chanel Parfums Beaute Applicateur de produit cosmetique.
FR3058657B1 (fr) 2016-11-14 2025-11-28 Michelin & Cie Installation de fabrication additive a base de poudre a dispositif de nettoyage par soufflage
CN110325305B (zh) 2017-02-21 2022-08-19 瑞尼斯豪公司 粉末床熔融设备和分离装置
EP3720618B1 (en) * 2017-12-08 2024-01-24 3M Innovative Properties Company System and method for washing a 3d-printed object
CN112165995B (zh) * 2018-04-23 2022-09-23 卡本有限公司 增材制造用树脂提取器
JP7027259B2 (ja) * 2018-06-12 2022-03-01 株式会社ミマキエンジニアリング 造形装置及び造形方法
CN108527859A (zh) * 2018-06-29 2018-09-14 芜湖启迪打印机科技有限公司 一种带清洁刷的3d打印机
DE102018119993A1 (de) * 2018-08-16 2020-02-20 Eos Gmbh Electro Optical Systems Auspackvorrichtung für additiv gefertigte Fertigungsprodukte
FR3089436B1 (fr) * 2018-12-11 2020-11-13 Addup Procédé de nettoyage d’une pièce fabriquée par un procédé de fabrication additive par immersion, solidification et vibrations
FR3096284B1 (fr) 2019-05-24 2023-03-24 Addup Machine de fabrication additive à distribution de poudre par tamisage.
US20200376786A1 (en) * 2019-05-31 2020-12-03 Hamilton Sundstrand Corporation Treatment processes and systems for additively formed components
EP4028252B1 (en) 2019-09-12 2025-06-04 Solventum Intellectual Properties Company Apparatus, system and method of post-curing an article
CN111113899B (zh) * 2019-12-25 2021-05-04 清华大学 3d打印工件的腔体的清理方法
CN111604472A (zh) * 2020-05-26 2020-09-01 共享智能铸造产业创新中心有限公司 铺砂器清洁装置及清洁方法
JP7549126B2 (ja) 2020-08-14 2024-09-10 スリーディー システムズ インコーポレーテッド 効率的なバルク未溶融粉末除去システムおよび方法
CN112024246B (zh) * 2020-09-07 2022-04-05 广州海鑫无纺布实业有限公司 一种增材制造用喷粉设备
EP4232267A1 (en) 2020-10-21 2023-08-30 General Electric Company Material supply system and method for using the same
CN112692307B (zh) * 2020-12-02 2021-10-08 深圳市金石三维打印科技有限公司 一种钛及钛合金3d打印产品清洗装置
US20220219381A1 (en) * 2021-01-08 2022-07-14 Xerox Corporation Building an object with a three-dimensional printer using vibrational energy
CN113172890A (zh) * 2021-03-10 2021-07-27 浙江意动科技股份有限公司 一种slm专用清粉设备
JP2023167583A (ja) * 2022-05-12 2023-11-24 三菱重工業株式会社 洗浄装置及び洗浄方法

Family Cites Families (13)

* Cited by examiner, † Cited by third party
Publication number Priority date Publication date Assignee Title
AU4504089A (en) * 1988-10-05 1990-05-01 Michael Feygin An improved apparatus and method for forming an integral object from laminations
US5490882A (en) * 1992-11-30 1996-02-13 Massachusetts Institute Of Technology Process for removing loose powder particles from interior passages of a body
US5814161A (en) * 1992-11-30 1998-09-29 Massachusetts Institute Of Technology Ceramic mold finishing techniques for removing powder
DE19937260B4 (de) 1999-08-06 2006-07-27 Eos Gmbh Electro Optical Systems Verfahren und Vorrichtung zum Herstellen eines dreidimensionalen Objekts
JP2001334583A (ja) * 2000-05-25 2001-12-04 Minolta Co Ltd 三次元造形装置
DE102004041633A1 (de) 2004-08-27 2006-03-02 Fockele, Matthias, Dr. Vorrichtung zur Herstellung von Formkörpern
FR2984191B1 (fr) 2011-12-20 2014-01-10 Michelin Soc Tech Machine et procede pour la fabrication additive a base de poudre
EP3360663B1 (en) * 2012-09-05 2021-02-24 Aprecia Pharmaceuticals LLC Three-dimensional printing system, equipment assembly and method
US8888480B2 (en) * 2012-09-05 2014-11-18 Aprecia Pharmaceuticals Company Three-dimensional printing system and equipment assembly
DE102013223407A1 (de) 2013-11-15 2015-05-21 Eos Gmbh Electro Optical Systems Vorrichtung und Verfahren zum schichtweisen Herstellen eines dreidimensionalen Objekts sowie zum Auspacken des fertiggestellten Objekts
FR3027841B1 (fr) 2014-11-04 2017-05-19 Michelin & Cie Machine et procede pour la fabrication additive a base de poudre
FR3039437B1 (fr) 2015-07-30 2021-12-24 Michelin & Cie Procede de nettoyage a sec de plateaux de fabrication additive
FR3039436B1 (fr) 2015-07-30 2021-09-24 Michelin & Cie Dispositif de nettoyage a sec d’un plateau de fabrication additive

Also Published As

Publication number Publication date
US20180215097A1 (en) 2018-08-02
CN107847986B (zh) 2020-10-30
WO2017017272A1 (fr) 2017-02-02
EP3328559B1 (fr) 2025-03-19
JP2018529547A (ja) 2018-10-11
EP3328559C0 (fr) 2025-03-19
KR20180034432A (ko) 2018-04-04
CN107847986A (zh) 2018-03-27
KR102441802B1 (ko) 2022-09-08
FR3039438B1 (fr) 2017-08-18
FR3039438A1 (fr) 2017-02-03
EP3328559A1 (fr) 2018-06-06
US10675814B2 (en) 2020-06-09

Similar Documents

Publication Publication Date Title
JP6871908B2 (ja) 付加製造プレートをクリーニングするユニット
JP6827463B2 (ja) 付加製造プレートのドライクリーニング装置
JP6871911B2 (ja) 付加製造プレートのドライクリーニング方法
JP6050154B2 (ja) 吹付け施工方法
WO2022018447A1 (en) Additive manufacturing
US12275063B2 (en) Device for cleaning three-dimensional components made of adhesive powder particles, said components being printed in a powder bed
CN108407302B (zh) 用于3d打印尼龙清粉自动化装置的冷却装置
WO2019020865A1 (en) ELIMINATION AND RECYCLING OF POWDER
CN108422668B (zh) 3d打印尼龙清粉自动化装置
JPH03287377A (ja) ブラスト装置
JPH01214405A (ja) コンクリート型枠上面の清掃方法とその装置

Legal Events

Date Code Title Description
A621 Written request for application examination

Free format text: JAPANESE INTERMEDIATE CODE: A621

Effective date: 20190704

A977 Report on retrieval

Free format text: JAPANESE INTERMEDIATE CODE: A971007

Effective date: 20200717

A131 Notification of reasons for refusal

Free format text: JAPANESE INTERMEDIATE CODE: A131

Effective date: 20200727

A521 Request for written amendment filed

Free format text: JAPANESE INTERMEDIATE CODE: A523

Effective date: 20201026

TRDD Decision of grant or rejection written
A01 Written decision to grant a patent or to grant a registration (utility model)

Free format text: JAPANESE INTERMEDIATE CODE: A01

Effective date: 20210318

A61 First payment of annual fees (during grant procedure)

Free format text: JAPANESE INTERMEDIATE CODE: A61

Effective date: 20210416

R150 Certificate of patent or registration of utility model

Ref document number: 6871908

Country of ref document: JP

Free format text: JAPANESE INTERMEDIATE CODE: R150

R250 Receipt of annual fees

Free format text: JAPANESE INTERMEDIATE CODE: R250

R250 Receipt of annual fees

Free format text: JAPANESE INTERMEDIATE CODE: R250