JP6830787B2 - 照明装置及び表示装置 - Google Patents

照明装置及び表示装置 Download PDF

Info

Publication number
JP6830787B2
JP6830787B2 JP2016203325A JP2016203325A JP6830787B2 JP 6830787 B2 JP6830787 B2 JP 6830787B2 JP 2016203325 A JP2016203325 A JP 2016203325A JP 2016203325 A JP2016203325 A JP 2016203325A JP 6830787 B2 JP6830787 B2 JP 6830787B2
Authority
JP
Japan
Prior art keywords
light
region
light source
prisms
prism
Prior art date
Legal status (The legal status is an assumption and is not a legal conclusion. Google has not performed a legal analysis and makes no representation as to the accuracy of the status listed.)
Active
Application number
JP2016203325A
Other languages
English (en)
Other versions
JP2018067376A (ja
Inventor
俊彦 福間
俊彦 福間
小村 真一
真一 小村
陽一 浅川
陽一 浅川
憲 小野田
憲 小野田
Current Assignee (The listed assignees may be inaccurate. Google has not performed a legal analysis and makes no representation or warranty as to the accuracy of the list.)
Japan Display Inc
Original Assignee
Japan Display Inc
Priority date (The priority date is an assumption and is not a legal conclusion. Google has not performed a legal analysis and makes no representation as to the accuracy of the date listed.)
Filing date
Publication date
Application filed by Japan Display Inc filed Critical Japan Display Inc
Priority to JP2016203325A priority Critical patent/JP6830787B2/ja
Publication of JP2018067376A publication Critical patent/JP2018067376A/ja
Application granted granted Critical
Publication of JP6830787B2 publication Critical patent/JP6830787B2/ja
Active legal-status Critical Current
Anticipated expiration legal-status Critical

Links

Images

Landscapes

  • Liquid Crystal (AREA)
  • Planar Illumination Modules (AREA)

Description

本発明の実施形態は、照明装置及び表示装置に関する。
例えば、液晶表示装置などの表示装置は、画素を有する表示パネルと、表示パネルを照明するバックライトなどの照明装置とを備えている。照明装置は、光を放つ光源と、この光源からの光が照射される導光板とを備えている。
光源からの光は、側面から導光板に入射し、導光板内を伝播し、導光板の一方の主面に相当する出射面から出射する。導光板の端面に複数の光源を並設することで所望の輝度の出射光を得ることもできる。
光源が放つ光の指向性が高い場合、導光板の出射面において光源に近い領域では、所望の輝度を得られない可能性がある。
特開2004−38108号公報 特開2011−238484号公報
本開示の一態様における目的は、導光板の出射面から良好な輝度分布の光を照射する照明装置及び表示装置を提供することである。
一実施形態に係る照明装置は、第1面、第1面に対向する第2面、第1面及び第2面を接続する第1側面、及び第1面及び第2面を接続し第1側面に対向する第2側面を有する導光板と、第1側面に対向する第1光源と、第2側面に対向する第2光源と、を備える。導光板は、第1方向に延在するとともに第1面又は第2面に複数の第1プリズムが配置された第1領域と、第1方向に延在するとともに第1面又は第2面に複数の第2プリズムが配置された第2領域と、を有し、第1領域及び第2領域は、第1方向と交差する第2方向に並ぶ。第1光源は、第1側面から第1領域に光を照射し、第2光源は、第2側面から第2領域に光を照射する。複数の第1プリズム及び複数の第2プリズムの形成パターンは、互いに異なる。
また、一実施形態に係る表示装置は、光を選択的に透過して画像を表示する表示パネルと、上記照明装置とを備え、上記照明装置が上記表示パネルに光を照射する。
図1は、第1実施形態に係る表示装置の概略的な構成を示す斜視図である。 図2は、同実施形態に係る表示装置の概略的な構成を示す断面図である。 図3は、同実施形態に係る照明装置の概略的な正面図である。 図4は、図3におけるF4−F4線に沿う断面図ある。 図5は、図3におけるF5−F5線に沿う断面図である。 図6は、比較例に係る照明装置の出射面における輝度分布を示す図である。 図7は、第1実施形態に係る照明装置の出射面における輝度分布を示す図である。 図8は、第2実施形態に係る照明装置の概略的な正面図である。 図9は、図8におけるF9−F9線に沿う断面図ある。 図10は、図8におけるF10−F10線に沿う断面図である。 図11は、第3実施形態に係る照明装置の概略的な正面図である。 図12は、図11におけるF12−F12線に沿う断面図ある。 図13は、図11におけるF13−F13線に沿う断面図である。 図14は、図11における断面図を比較する図である。 図15は、第4実施形態に係る照明装置の概略的な正面図である。 図16は、図15における断面図を比較する図である。 図17は、第5実施形態に係る照明装置の概略的な正面図である。 図18は、図17におけるF18−F18線に沿う断面図ある。 図19は、図17におけるF19−F19に沿う断面図である。 図20は、第6実施形態に係る照明装置の概略的な正面図である。 図21は、第7実施形態に係る照明装置の概略的な正面図である。 図22は、図21におけるF22−F22線に沿う断面図ある。 図23は、第8実施形態に係る照明装置の備える凹状の光屈折構造を示す平面図である。 図24は、第8実施形態に係る照明装置の備える凸状の光屈折構造を示す平面図である。
いくつかの実施形態につき、図面を参照しながら説明する。
なお、開示はあくまで一例に過ぎず、当業者において、発明の主旨を保っての適宜変更について容易に想到し得るものについては、当然に本発明の範囲に含有される。また、図面は、説明をより明確にするため、実際の態様に比べて模式的に表される場合があるが、あくまで一例であって、本発明の解釈を限定するものではない。各図において、連続して配置される同一又は類似の要素については符号を省略することがある。また、本明細書と各図において、既出の図に関して前述したものと同一又は類似した機能を発揮する構成要素には同一の参照符号を付し、重複する詳細な説明を省略することがある。
各実施形態及び比較例においては、表示装置の一例として、透過型の液晶表示装置を開示する。また、照明装置の一例として、液晶表示装置のバックライトを開示する。ただし、各実施形態は、他種の表示装置や照明装置に対する、各実施形態にて開示される個々の技術的思想の適用を妨げるものではない。他種の表示装置としては、例えば、透過型の機能に加えて外光を反射してこの反射光を表示に利用する反射型の機能を備えた液晶表示装置や、MEMS(Micro Electro Mechanical System)シャッターが光学素子として機能する機械式表示パネルを有する表示装置などが想定される。他種の照明装置としては、例えば、表示装置の前面に配置されるフロントライトなどが想定される。また、照明装置は、表示装置の照明とは異なる用途で使用されるものであってもよい。
(第1実施形態)
まず、第1実施形態に係る照明装置及び表示装置を図1〜図7を参照して説明する。
図1は、各実施形態及び比較例に係る表示装置1の概略的な構成を示す斜視図である。表示装置1は、例えば、スマートフォン、タブレット端末、携帯電話端末、パーソナルコンピュータ、テレビ受像装置、車載装置、ゲーム機器、ウェアラブル端末等の種々の装置に用いることができる。
表示装置1は、表示パネル2と、バックライトである照明装置3と、表示パネル2を駆動する駆動ICチップ4と、表示パネル2及び照明装置3の動作を制御する制御モジュール5と、表示パネル2及び照明装置3へ制御信号を伝達するフレキシブル回路基板FPC1,FPC2とを備えている。
表示パネル2は、第1基板SUB1と、第1基板SUB1に対向する第2基板SUB2と、各基板SUB1,SUB2の間にある液晶層LCと、を備えている。表示パネル2は、画像を表示する表示領域DAを有している。表示パネル2は、例えば、表示領域DAにおいてマトリクス状に配列された複数の画素PXを備えている。
照明装置3は、第1基板SUB1と対向している。駆動ICチップ4は、例えば第1基板SUB1に実装されている。但し、駆動ICチップ4は、制御モジュール5などに実装されてもよい。フレキシブル回路基板FPC1は、第1基板SUB1と制御モジュール5とを接続している。フレキシブル回路基板FPC2は、照明装置3と制御モジュール5とを接続している。
図2は、第1実施形態に係る表示装置1の概略的な断面図であり、図3は、照明装置3の概略的な構成を示す正面図である。図4は図3のF4−F4線での断面図を示し、図5は図3のF5−F5線での断面図を示す。
まず、第1実施形態に係る照明装置3に関して説明する。図2〜図5に示すように、照明装置3は、平板状の導光板10と、5個の第1光源LS1−1〜LS1−5と、4個の第2光源LS2−1〜LS2−4と、を備えている。
以下の説明においては、図2及び図3に示すように第1方向X、第2方向Y、及び第3方向Zを定義する。第1方向Xは、導光板10の長さ方向と平行である。第2方向Yは、導光板10の幅方向と平行である。第3方向Zは、導光板10の厚み方向と平行である。各方向X,Y,Zは、例えば互いに垂直に交わる。なお、本実施形態において、第1光源LS1からの光が照射される照射方向は、第1方向Xの一方向側である第1A方向X1である。第2光源LS2からの光が照射される照射方向は、第1方向Xの他方向側である第1B方向X2である。上記照射方向は、例えば第1光源LS1及び第2光源LS2が放つ光において、放射強度が最も高い光軸(後述の光軸AX1及びAX2)に沿う方向である。
図2において、導光板10は、第3方向Zにおいて、第1面11と、第1面11に対向する第2面12とを有する。導光板10は、第1方向Xにおいて、第1面11及び第2面12を接続する第1側面13と、第1面11及び第2面12を接続する第2側面14とを有し、第1側面13と第2側面14とは対向している。図3において、導光板10は、第2方向Yにおいて、第3側面15と、第3側面15に対向する第4側面16とを有する。第1面11及び第2面12は、例えばXY平面と平行である。各側面13,14は、例えばYZ平面と平行である。各側面15,16は、例えばXZ平面と平行である。
図3において、導光板10は、第1側面13から第2側面14まで第1方向Xに帯状に延在し、第3側面15から第4側面16まで第2方向Yにおいて等間隔に配置された5箇所の第1領域R1を有する。導光板10は、第1側面13から第2側面14まで第1方向Xに帯状に延在し、各第1領域R1の間に配置された4箇所の第2領域R2を有する。すなわち、第1領域R1及び第2領域R2は、第2方向Yにおいて交互に並んでいる。第1領域R1には、後述する複数の第1プリズム17が配置されている。第2領域R2には、後述する複数の第2プリズム18が配置されている。
5個の第1光源LS1−1〜LS1−5は、各第1領域R1の第1側面13にそれぞれ対向し、第2方向Yにおいて配列している。4個の第2光源LS2−1〜LS2−4は、各第2領域R2の第2側面14にそれぞれ対向し、第2方向Yにおいて配列している。すなわち、第1領域R1及び第1光源LS1の組と、第2領域R2及び第2光源LS2の組とは、第2方向Yにおいて交互に並んでいる。
各第1光源LS1及び各第2光源LS2は、例えば、赤色レーザ光源、青色レーザ光源、及び緑色レーザ光源から出射される光を混合して白色レーザ光を出射するレーザ光源である。各色のレーザ光源としては、例えば、半導体レーザを用いることができる。各第1光源LS1及び各第2光源LS2は、好ましくは偏光した光を出射する。本実施形態では、各第1光源LS1及び各第2光源LS2からの光が、進行に伴って広がる拡散光である場合を想定する。
次に、図3〜図5により、第1領域R1に配置された複数の第1プリズム17及び第2領域R2に配置された複数の第2プリズム18に関して説明する。
図4において、複数の第1プリズム17は、それぞれ第1領域R1の第1面11に凸部として配置されている。複数の第1プリズム17は、例えば、XZ平面に沿う断面が互いに相似の三角形状であり、それぞれ第2方向Yに延びている。複数の第1プリズム17は、例えば第1方向Xにおいて間隔を置いて配列している。複数の第1プリズム17は、第1領域R1において第1A方向X1に形成密度が高くなっている。複数の第1プリズム17は、第1A方向X1に向けてXZ平面に沿う断面積が大きくなっている。
第1プリズム17は、第1側面13の側を向いた第1斜面17aと、第2側面14の側を向いた第2斜面17bとを有している。第1斜面17aは、XY平面に対して傾斜角θ1で傾斜する面である。第2斜面17bは、XY平面に対して傾斜角θ2で傾斜する面である。例えば、傾斜角θ1は傾斜角θ2よりも大きく、第2斜面17aは第1斜面17bよりもXY平面に対して緩やかに傾斜している。第1斜面17aと第2斜面17bとが交差する線は、第1プリズム17の頂線17cである。頂線17cは、例えば、第2方向Yに延びている。
図5において、複数の第2プリズム18は、それぞれ第2領域R2の第1面11に凸部として配置されている。複数の第2プリズム18は、複数の第1プリズム17と形成パターンが異なっている。複数の第2プリズム18は、例えば、第1プリズム17をYZ平面で反転させた形状を有している。複数の第1プリズム18は、第2領域R2において第1B方向X2に形成密度が高くなっている。複数の第2プリズム18は、第1B方向X2に向けてXZ平面に沿う断面積が大きくなっている。
第2プリズム18は、第2側面14の側を向いた第3斜面18aと、第1側面13の側を向いた第4斜面18bとを有している。第3斜面18aは、XY平面に対して傾斜角θ1で傾斜する面である。第4斜面18bは、XY平面に対して傾斜角θ2で傾斜する面である。例えば、傾斜角θ1は傾斜角θ2よりも大きく、第4斜面18aは第3斜面18bよりもXY平面に対して緩やかに傾斜している。第3斜面18aと第2斜面18bとが交差する線は、第2プリズム18の頂線18cである。頂線18cは、例えば、第2方向Yに延びている。
図3〜図5においては、複数の第1プリズム17と複数の第2プリズム18とがYZ平面で反転させた形状である例を示した。しかしながら、複数の第1プリズム17と複数の第2プリズム18とは、各斜面17a,17bと各斜面18a,18bの傾斜角が異なるなど、他の態様にて形成パターンが異なっていてもよい。
ここで、プリズムの形成密度が高いとは、出射面の単位面積において占める光の出射に寄与する面の割合が多いことを意味する。例えば、大きな第1プリズム17が配置されている位置では、出射面での単位面積において占める光の出射に主に寄与する面である第1プリズム17の第2斜面17bの割合が増加する。そのため、大きい第1プリズム17が形成されている位置では、第1プリズム17の形成密度が高いといえる。第2プリズム18の形成密度についても同様である。なお、第2プリズム18において出射面での光の出射に主に寄与する面とは、第2プリズム18の第4斜面18bである。また、複数の第1プリズム17が第1領域R1において第1A方向X1に向けて形成密度が高くなっているとは、第1領域の全域において第1A方向X1に向けて第1プリズム17の形成密度が高くなっている必要はなく、少なくともその一部が第1方向に向けて形成密度が高くなっていればよい。複数の第2プリズム18についても同様である。
なお、第1プリズム17の頂線17cは、第1光源LS1側に曲率中心を有する形状に曲がっていてもよい。第2プリズム18の頂線18cは、第2光源LS2側に曲率中心を有する形状に曲がっていてもよい。
導光板10は、例えば、光透過性を有する樹脂で形成されている。第1光源LS1及び第2光源LS2が偏光する光を放つ場合、導光板10は、その内部を通過する光の偏光方向を維持する観点から、低複屈折性を有することが望ましい。このような導光板10は、例えば正の複屈折物質と負の複屈折物質との混合体または共重合体で形成されており、例えば固有複屈折率が絶対値で3×10−3以下の樹脂で形成されている。
図3において、各第1光源LS1−1〜LS1−5の光は、第1領域R1の第1側面13に照射され、第1側面13を介して第1領域R1に入射する。すなわち、第1側面13は導光板10の1つ目の入射面に相当する。各第2光源LS2−1〜LS2−4の光は、第2領域R2の第2側面14に照射され、第2側面14を介して第2領域R2に入射する。すなわち、第2側面14は導光板10の2つ目の入射面に相当する。導光板10の第1領域R1を伝播する光は、主に複数の第1プリズム17を透過するか、又は複数の第1プリズム17により屈曲されて第1面11から出射する。同様に、導光板10の第1領域R2を伝播する光は、主に複数の第2プリズム18を透過するか、又は複数の第2プリズム18により屈曲されて第1面11から出射する。すなわち、第1面11は、導光板10の出射面に相当する。図2に示すように、照明装置3の第1面11を表示パネル2に対向させることで画像表示に用いられる光を表示パネル2に照射することができる。
図2に示すように、第1実施形態に係る表示装置1は、表示パネル2及び照明装置3に加え、第1偏光板PL1と、第2偏光板PL2と、反射部材6と、プリズムシート(光指向部材)7と、拡散シート(光拡散層)8とを備えている。
表示パネルの第1基板SUB1及び第2基板SUB2は、光透過性を有するガラス基板で形成されている。第1基板SUB1及び第2基板SUB2は、シール材SEによって貼り合わされている。シール材SEは、表示領域DAを囲む環状に形成されている。第1基板SUB1及び第2基板SUB2及びシール材SEによって囲まれた空間に液晶層LCが封入されている。第1偏光板PL1は、第1基板SUB1の導光板10と対向する面に設けられている。第2偏光板PL2は、第2基板SUB2の第1基板SUB1と対向する面の反対面に設けられている。
反射部材6は、導光板10の第2面12に対向して配置されている。反射部材6は、例えば、導光板10と対向する面が鏡面になっており、導光板10の第2面12から漏出した光を反射して導光板10内に戻す。反射部材6は、例えば金属薄膜、又はESR(Enhanced Specular Reflector)反射シートで形成されている。
プリズムシート7は、導光板10の第1面11に対向して配置されている。プリズムシート7は、導光板10の第1面11から出射した光を表示パネル2に対して垂直に入射する光に指向させる。プリズムシート7は、複数の第3プリズム71を有している。複数の第3プリズム71は、例えば、XZ平面に沿う断面が三角形状であり、第2方向Yに延在し、第1方向Xに配列している。プリズムシート7は、例えば、光透過性を有する樹脂で形成されている。第1光源LS1及び第2光源LS2が偏光する光を放つ場合、導光板10はその内部を通過する光の偏光方向を維持する観点から、低複屈折性を有することが望ましい。各光源LS1,LS2からの光の偏光を維持する観点から、プリズムシート7の下面(導光板10と対向する面)に第3プリズム71が形成されていることが好ましい。
拡散シート8は、例えば、プリズムシート7及び第1偏光板PL1の間に配置されている。拡散シート8は、プリズムシート7を透過した光を拡散し、XY平面における輝度の均一性を向上し、表示パネル2を透過する光の視野角を向上させる。拡散シート8は、例えば、散乱粒子を含む樹脂層である。
以下、図2を用いて、XZ平面において、第1光源LS1から出射され導光板10の第1領域R1内を伝搬し、表示パネル2に入射する光の光路の一例を先端矢印の破線にて示し説明する。
第1光源LS1が放つ光は、例えば、第1方向Xと平行である光軸AX1において最も放射強度が強い直線偏光である。第1光源LS1が放つ光は、例えば、白色レーザ光である。第1光源LS1からの光は、第1側面13を透過して第1領域R1に照射される。第1領域R1に照射された光は、第2面12及び第1面11の第1プリズム17の配置された部分を除く領域において全反射条件を満たす場合、全反射され第1A方向X1に伝搬する。第1領域R1を伝搬する光が第1プリズム17に到達すると、この光の少なくとも一部は、第1プリズム17の第2斜面17bにおいて全反射条件を満たさず、第1面11から出射する。第1領域R1を伝搬する光は、第2面12からも出射し得るが、このような光は反射部材6で鏡面反射され、第1領域R1内に戻される。
導光板10の第1面11から出射する光は、偏光方向を維持したまま第1偏光板PL1に到達する。第1偏光板PL1は、この偏光方向の光を透過する透過軸を有する。したがって、第1偏光板PL1に到達した光は吸収されずに表示パネル2に照射される。このような構成においては、光源が放つ光の利用効率を向上することができる。
なお、各光源LS1,LS2からの光が十分に偏光された状態で表示パネル2に到達する場合には、第1偏光板PL1を省略してもよい。第1偏光板PL1を省略した場合には、例えば各基板SUB1,SUB2の光透過性を高めることで、表示装置1の背景が透けて見えるいわゆる透明液晶表示装置を得ることができる。
第2光源LS2からの光に関しても、第1光源LS1からの光と同様の光路を経て表示パネル2に照射される。
なお、第1光源LS1からの光は、第2側面14に近い第1プリズム17ほど到達し難い。第1実施形態に係る照明装置では、第1A方向X1に第1プリズム17の形成密度を高くすることで、第1領域R1の第1方向Xにおける輝度の均一性を向上させている。同様に、第1B方向X2に第2プリズムの形成密度を高くすることで、第2領域R2の第1方向Xにおける輝度の均一性を向上させている。
次に、導光板10内を伝搬する光のXY平面における光路の一例につき、図3を用いて説明する。
図3に示すように、第1光源LS1が放つ光は、例えば、第1方向Xと平行である光軸AX1において最も放射強度が強く、第2方向Yにおいて広がり角θy1で広がっている。同様に、XY平面において第2光源LS2が放つ光は、例えば、第1方向Xと平行である光軸AX2において最も放射強度が強く、第2方向Yにおいて広がり角θy2で広がっている。広がり角θy1及び広がり角θy2は、例えば同一の角度である。図3では、放射強度が半値となる光の光路をそれぞれ点線で示している。
図3において、第1光源LS1からの光は、主に第1領域R1内を第1A方向X1に伝搬し、第1プリズム17によって屈曲して第1面11から出射する。同時に、第1光源LS1が放つ光は、広がり角θy1を有するため、第1A方向X1に伝搬するに伴い隣接している第2領域R2にも伝搬する。第2領域R2に伝搬した光は、第2プリズム18によって屈曲し、第2領域R2の第1面11から出射する。
同様に、第2光源LS2が放つ光は、主に第2領域R2内を第1B方向X2に伝搬し、第2プリズム18によって屈曲して第1面11から出射する。同時に、第2光源LS2からの光は、広がり角θy2を有するため、第1B方向X2に伝搬するに伴い隣接している第1領域R1にも伝搬する。第1領域R1に伝搬する光は、第1プリズム17によって屈曲し、第1領域R1の第1面11から出射する。
図6は、比較例に係る照明装置の導光板の出射面における輝度分布を示す図であり、図7は、第1実施形態に係る照明装置の導光板の出射面における輝度分布を示す図である。図6及び図7では、XY平面における輝度を等高線とハッチングにより示している。
比較例に係る照明装置は、第1実施形態と同一の第1光源LS−1〜LS−5及び、複数のプリズムが第1A方向X1に形成密度が高くなるように配置された導光板を備えている。図6に示すように、第1光源LS1が放つ光の広がり角θy1が小さく指向性が高い場合、導光板の出射面において第1光源LS1に近い領域で、所望の輝度を得られない可能性がある。
第1実施形態に係る照明装置3は、図3に示すように、第1領域R1及び第1光源LS1の組と、第2領域R2及び第2光源LS2の組とは、第2方向Yにおいて交互に並んでいる。そのため、第1光源LS1からの光が出射しにくい第1光源LS1に近い領域から、第2光源LS2からの光が出射する。同様に、第2光源LS2からの光が出射しにくい第2光源LS2に近い領域から、第1光源LS1からの光が出射する。その結果、図7に示すように、第1実施形態に係る照明装置では、導光板の出射面の輝度の均一性を向上することができる。
なお、第1実施形態においては、5個の第1光源及び5箇所の第1領域と、4個の第2光源及び4箇所の第2領域とを備える例を説明したが、これに限定されない。これらは、より多数であってもよいし、より少数であってもよい。また、第1光源及び第2光源は、直線偏光を放つ例を説明したが、偏光していない光を放つのでもよい。
なお、第1実施形態においては、第1領域R1及び第2領域R2が第2方向Yにおいて交互に配列している例を示したが、第1領域R1及び第2領域R2は少なくとも1組が隣接していればよい。また、第1領域及び第2領域の平面形状が矩形帯状である例を示したが、この形状は単なる例示であり、適宜変更されてよい。
なお、第1実施形態においては、第1プリズム及び第2プリズムが共に第1面に形成された場合を示したが、第1面又は第2面に形成されていればよく、互いに別の面に形成されていてもよい。また、第1実施形態においては、第1プリズム及び第2プリズムが凸状のプリズムとして形成された例を示したが、凹状に形成されていても同様の効果が得られる。また、図に示す第1プリズム及び第2プリズムの個数や形状は単なる例示であり、適宜変更されてよい。例えば、第1プリズム及び第2プリズムは、第2方向Yに延びる柱状のプリズムではなく、ドット状のプリズムであってもよい。なお、第1プリズム及び第2プリズムにおける出射面での光の出射に主に寄与する面とは、そのプリズムの形状や光源との配置等に随伴して変化する。
また、第1実施形態において、導光板の長さ方向と、第1光源及び第2光源からの光が照射される照射方向と、第1領域及び第2領域の延在方向が平行である例を示して説明したが、これに限定されない。例えば、第1光源及び第2光源からの光の照射方向は、導光板の長さ方向に対して傾いており、第1領域及び第2領域の延在方向と平行である構成であってもよい。なお、平行とは、2直線が厳密にどこまで延長しても交わらないという関係に限定されず、1つの直線がもう一方の直線に対して僅かに傾いている、実質的な平行関係をも含む。
以下に、第2〜第9実施形態に係る表示装置に関して説明する。これらの表示装置は、第1実施形態に係る表示装置と同様の効果を得ることができる。
(第2実施形態)
第2実施形態について説明する。ここでは、第1実施形態との相違点に着目し、第1実施形態と同一の構成については説明を省略する。
図8は、第2実施形態に係る照明装置3の概略的な構成を示す正面図である。図9は図8のF9−F9線での断面図を示し、図10は図8のF10−F10線での断面図を示す。第2実施形態は、複数の第1プリズム27及び複数の第2プリズム28の形成パターンが図3〜図5に示した照明装置3と相違している。
本実施形態に係る照明装置3は、導光板20を備えている。導光板20は、第1領域R1に設けられた複数の第1プリズム27と、第2領域R2に設けられた複数の第2プリズム28とを備えている。複数の第1プリズム27は、例えば、それぞれXZ平面に沿う断面形状が互いに同一の三角形状であり、第2方向Yに延びている。複数の第1プリズム27は、例えば第1A方向X1に向けて形成間隔が狭くなるように配置されている。
第1プリズム27のXZ平面に沿う断面形状は、例えば、第1実施形態の第1プリズム17と相似である。第1プリズム27は、それぞれ第1側面13の側を向いた第1斜面27a、第2側面14の側を向いた第2斜面27b、頂線27cを有している。複数の第2プリズム28は、例えば、複数の第1プリズム27をYZ平面で反転させた形状を有する。複数の第2プリズム28は、例えば第1B方向X2に向けて形成間隔が狭くなるように配置されている。第2プリズム28は、第2側面14の側を向いた第3斜面28a、第1側面13の側を向いた第4斜面28b、頂線28cを有している。
第1プリズム27の形成間隔が狭い位置では、出射面の単位面積において占める光の出射に寄与する面(第2斜面27b)の割合が増加する。そのため、第1プリズム27の形成間隔が狭い位置では、第1プリズム27の形成密度が高いといえる。第2プリズム28の形成密度についても同様である。本実施形態のように第1プリズム27及び第2プリズム28の形成密度を調整した場合であっても、第1領域R1及び第2領域R2の第1方向Xにおける輝度の均一性を向上することができる。
図8に示す例では、複数の第1及び第2プリズムの形成密度が高くなる構成の例として、同一形状を有する第1及び第2プリズムの形成間隔が狭くなっている構成を説明したが、これに限定されない。例えば、第1実施形態と組み合せて、第1A方向X1において第1プリズムを大きくしつつ、第1プリズムの形成間隔を狭くしてもよい。同様に、第1B方向X2において第2プリズムを大きくしつつ、第2プリズムの形成間隔を狭くしてもよい。
(第3実施形態)
第3実施形態について説明する。ここでは、第1実施形態との相違点に着目し、第1実施形態と同一の構成については説明を省略する。
図11は、第3実施形態に係る照明装置3の概略的な構成を示す正面図である。図12は図11のF12−F12線での断面図を示し、図13は図11のF13−F13線での断面図を示す。第3実施形態は、複数の第1プリズム37及び複数の第2プリズム38の形成パターンが図3〜図5に示した照明装置3とは相違している。
本実施形態に係る照明装置3は、導光板30を備えている。導光板30は、第1領域R1に設けられた複数の第1プリズム37と、第2領域R2に設けられた複数の第2プリズム38とを備えている。複数の第1プリズム37は、それぞれ第1領域R1の第1面11に凹部として配置されている。例えば、複数の第1プリズム37は、それぞれXZ平面に沿う断面が互いに相似の底角がθ3である二等辺三角形であり、第2方向Yに延びている。複数の第1プリズム37は、例えば第1方向Xで間隔を置いて配列している。
複数の第1プリズム37は、第1A方向X1に向けてXZ平面に沿う断面積が大きくなっている。第1プリズム37は、第1側面13の側を向いた第1斜面37a、第2側面14の側を向いた第2斜面37b、頂線37cを有している。複数の第2プリズム38は、例えば、複数の第1プリズム37をXZ平面で反転させ第2領域R2の第1面11に凹部として配置した形状を有している。第2プリズム38は、第2側面14の側を向いた第3斜面38a、第1側面13の側を向いた第4斜面38b、頂線38cを有している。
各第1プリズム37と各第2プリズム38とは、第2方向Yにおいて互いに隣接している。複数の第1プリズム37の頂線37c及び複数の第2プリズム38の頂線38cは、例えば第1方向Xにおいて一致し、第2方向Yにおいて直線状に並んでいる。
図14は、図11におけるF14(1)−F14(1)線、F14(2)−F14(2)線、F14(3)−F14(3)線における断面形状を比較して示す図である。頂線37c及び頂線38cは、それぞれ第2方向Yにおいて交互に配置されている。頂線37c及び頂線38cは、第2方向Yにおいて互いに連続しておらず、第2プリズム38は、第1領域R1及び第2領域R2の境界線における壁面37d及び38dを有している。当該壁面37d及び38dは、第1光源LS1及び第2光源LS2から出射された光の進行方向と平行である第1方向Xに延在している。偏光した光が、その光の進行方向と平行の壁面である壁面37d及び38dにおいて反射する場合、光の偏光方向が崩れ伝搬する光の偏光度が低下する。第1プリズム37及び第2プリズム38が隣接している場合、壁面37d及び38dの面積を縮小することができる。第3実施形態に係る照明装置においては、第1光源LS1及び第2光源LS2からの光が導光板30を伝搬する際の偏光度の低下を抑制でき、光の利用効率を向上することができる。
なお、図11〜図13に示すように、第1プリズム37が凹部として形成される場合、第1光源LS1からの光の第1面11における出射には、主に第1側面13の側を向いている第1斜面37aが寄与する。同様に、第2プリズム38が凹部として形成される場合、第1光源LS1からの光の第1面11における出射には、主に第2側面14の側を向いている第3斜面38aが寄与する。
(第4実施形態)
第4実施形態について説明する。ここでは、第3実施形態との相違点に着目し、第3実施形態と同一の構成については説明を省略する。
図15は、第4実施形態に係る照明装置3の概略的な構成を示す正面図である。第4実施形態は、第1プリズム47及び第2プリズム48の形状が図11〜図13に示す照明装置3とは相違している。
本実施形態に係る照明装置3は、導光板40を備えている。導光板40は、第1領域R1に設けられた複数の第1プリズム47と、第2領域R2に設けられた複数の第2プリズム48とを備えている。複数の第1プリズム47及び複数の第2プリズム48は、第3実施形態の複数の第1プリズム37及び複数の第2プリズム38と同様に第1面11に凹部として配置されている。F12’−F12’の断面図は、図12に示す断面図と同一形状である。F13’−F13’の断面図は、図13に示す断面図と同一形状である。
図15に示す例では、各第1プリズム47と各第2プリズム48とは、第2方向Yにおいて互いに隣接している。複数の第1プリズムの頂線47cは、例えば複数の第2プリズムの頂線48cと第1方向Xで一致し、第2方向Yにおいて直線状に並んでいる。第1プリズム47の第1斜面47a及び第2プリズム48の第4斜面48bは、互いに第1領域R1及び第2領域R1の境界において連続する曲面として形成されている。第1プリズム47の第2斜面47b及び第2プリズム48の第3斜面48aは、互いに第1領域R1及び第2領域R2の境界において連続する曲面として形成されている。
図16は、図15におけるF16(1)−F16(1)線、F16(2)−F16(2)線、F16(3)−F16(3)線における断面図を比較して示す図である。頂線47c及び頂線48cは、それぞれ第2方向Yにおいて交互に配置されている。頂線47c及び頂線48cは、第1領域R1及び第2領域R2の境界において互いに連続する曲線として形成されている。すなわち、第1プリズム47と、第2プリズム48とは、第2方向Yにおいて、連続的に形成された凹部である。この構成においては、第1プリズム47及び第2プリズム48の第1領域R1及び第2領域R2の境界線おいて、光の進行方向と平行の第1方向Xに延在する壁面が存在しない。その結果、第4実施形態に係る照明装置においては、第1光源LS1及び第2光源LS2からの光が導光板40を伝搬する際の偏光度の低下を抑制でき、光の利用効率を向上することができる。
なお、図15に示すように、第1プリズム及び第2プリズムが、第2方向Yに連続的に形成される凹部である場合、導光板の第3側面から第4側面まで、交互に深く浅く切削することにより容易に第1プリズム及び第2プリズムを形成することができる。
同様に、第1プリズム47及び第2プリズム48が、第2方向Yに連続的に形成される凸部である場合、導光板を注型するための金型を同様に切削することにより、容易に第1プリズム及び第2プリズムに対応する金型を作製することができる。
(第5実施形態)
第5実施形態について説明する。ここでは、第1実施形態との相違点に着目し、第1実施形態と同一の構成については説明を省略する。
図17は、第5実施形態に係る照明装置3の概略的な構成を示す正面図である。図18は図17のF18−F18線での断面図を示し、図19は図17のF19−F19線での断面図を示す。本実施形態に係る照明装置3は、導光板50を備えている。導光板50は、第1領域R1に設けられた複数の第1プリズム57と、第2領域R2に設けられた複数の第2プリズム58とを備えている。本実施形態では、複数の第1プリズム57が第1領域R1の第1面11に配置され、複数の第2プリズム58が第2領域R2の第2面12に配置されている点で、図3〜図5に示す照明装置とは相違している。
複数の第1プリズム57は、例えば第1実施形態の複数の第1プリズム17と同様に形成されている。第1プリズム57は、それぞれ第1側面13の側を向いた第1斜面57a、第2側面14の側を向いた第2斜面57b、頂線57cを有している。複数の第2プリズム58は、例えば第2面12に形成されていることを除いて第1実施形態の複数の第2プリズム18と同様に形成されている。第2プリズム58は、第2側面14の側を向いた第3斜面58a、第1側面13の側を向いた第4斜面58b、頂線58cを有している。第1プリズム57は、第1領域R1及び第2領域R2の境界線において壁面57dを覆って形成されている凸部57eを有している。同様に、第2プリズム58は、第1領域R1及び第2領域R2の境界線において壁面58dを覆って形成されている凸部58eを有している。第1プリズム57の当該凸部57eは、それぞれの境界線において隣接する第2領域R2上に形成されている。第2プリズム58の当該凸部58eは、それぞれの境界線において隣接する第1領域R1上に形成されている。
この構成においては、複数の第1プリズム57及び複数の第2プリズム58は互いに別の面に形成されている。第1プリズム57及び第2プリズム58の第1領域R1及び第2領域R2の境界線おいて、光の進行方向と平行する第1方向Xに延在する面が存在していない。その結果、第5実施形態に係る照明装置においては、第1光源LS1及び第2光源LS2からの光が導光板50を伝搬する際の偏光度の低下をより抑制でき、光の利用効率を向上することができる。
なお、図示した例では、第1領域R1の第1面11に第1プリズム57が形成され、第2領域R2の第2面12に第2プリズム58が形成されているが、逆であってもよい。すなわち、複数の第1プリズム57が第1面11及び第2面12の一方の面に配置され、複数の第2プリズム58がその他方の面に配置されていれば同様の効果が得られる。
(第6実施形態)
第6実施形態について説明する。ここでは、第1実施形態との相違点に着目し、第1実施形態と同一の構成については説明を省略する。
図20は、第6実施形態に係る照明装置3の概略的な構成を示す正面図である。導光板60は、第1領域R1及び第2領域R2の平面形状が、図11〜図13に示す導光板10と相違している。
本実施形態に係る照明装置3は、導光板60を備えている。導光板60は、第1領域R1に設けられた複数の第1プリズム67と、第2領域R2に設けられた複数の第2プリズム68とを備えている。
第1領域R1は、平面視において、第1A方向X1に向けて第2方向Yにおける幅が大きくなる形状を有している。第2領域R2は、平面視において、第1B方向X2に向けて第2方向Yにおける幅が大きくなる形状を有している。図20に示す例では、第1領域R1は、平面視において、第1光源LS1が放つ光の広がり角θy1と対応する角度で第1B方向X2に向けて第2方向Yにおける幅が大きくなっている。また、第2領域R2は、平面視において、第2光源LS2が放つ光の広がり角θy2と対応する角度で第1A方向X1に向けて第2方向Yにおける幅が大きくなっている。
第1領域R1の第1面11には、複数の第1プリズム67が配置され、第2領域R2の第1面11には、複数の第2プリズム68が配置されている。F4’−F4’の断面図は、図4に示す断面図と同一形状である。F5’−F5’の断面図は、図5に示す断面図と同一形状である。
このような構成によれば、第1光源LS1からの光は主に第1領域R1で出射され、第2領域R2で出射されにくい。また、第2光源LS2からの光を主に第2領域R2で出射され、第1領域R1で出射されにくい。その結果、第6実施形態によれば、導光板60の出射面の輝度を一層好適に均一化できる。
なお、図示する例では、第1光源LS1が放つ光の広がり角θy1と一致する角度で第1領域R1が第1B方向X2に向けて第2方向Yにおける幅が大きくなる例を示したが、これに限定されない。第1領域R1及び第2領域R2が第1A方向X1及び第1B方向X2に向けて第2方向に広がる角度は、第1光源LS1及び第2光源LS2や導光板の出射面の輝度の均一性の向上のため適宜変更され得る。第1領域及び第2領域は、少なくとも一部が第1A方向X1及び第1B方向X2に向けて幅が大きくなる形状を有していればよい。
(第7実施形態)
第7実施形態について説明する。ここでは、第1実施形態との相違点に着目し、第1実施形態と同一の構成については説明を省略する。
図21は、第7実施形態に係る照明装置3の概略的な構成を示す正面図である。図22は、図21のF22−F22線における断面図を示す。本実施形態に係る照明装置3は、導光板70を備えている。導光板70は、第1領域R1及び第2領域R2がそれぞれ異なる導光部材71及び72に配置されている点で、図3〜図5に示す導光板10と相違している。
導光板70は、第2方向Yにおいて交互に配置された5個の第1導光部材72及び4個の第2導光部材73によって形成されている。第1導光部材72及び第2導光部材73は、境界79において互いに光学接着剤によって接着されている。第1導光部材72及び第2導光部材73は、第1実施形態における第1領域R1及び第2領域R2にそれぞれ対応している。第1導光部材72及び第2導光部材73は、例えば上述の導光板10と同一の材料で形成されている。光学接着剤は、例えば、第1導光部材72及び第2導光部材73と同一の屈折率及び光透過性を有する透明接着剤であり、第1導光部材72及び第2導光部材73を光学的に連続になるように接着する。
第1導光部材72の第1面11には、複数の第1プリズム77が配置され、第2導光部材72の第1面11には、複数の第2プリズム78が配置されている。複数の第1プリズム77及び複数の第2プリズム78は、例えば、第1実施形態の複数の第1プリズム17及び複数の第2プリズム18と同一の形状を有している。
このような構成によれば、第1領域R1及び第2領域R2の境界において、第1プリズム及び第2プリズムが第2方向Yにおいて連続ではない形状を有する導光板70であっても容易に形成することができる。第1導光部材72と第2導光部材73は、同じ金型で製造してもよい。第7実施形態に係る照明装置3においても、第1実施形態に係る照明装置3と同様の効果を得ることができる。
(第8実施形態)
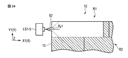
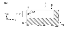
第8実施形態について説明する。第1実施形態にて開示した導光板10は、第1領域R1の第1側面13の第1光源LS1と対向する部分、及び、第2領域R2の第2側面14の第2光源LS2と対向する部分に凹状又は凸状の光拡散構造を有していてもよい。他の実施形態にて開示した導光板20,30,40,50,60,70についても同様の構成を適用できる。
図23は、凹状の光拡散構造の一例を示す。図23の例においては、導光板10の第1側面13に第1光源LS1に対して1つずつ孔81が設けられている。各第1光源LS1からの光は、それぞれ対応する孔81に入る。孔81に入った光は、孔81の表面で屈曲(屈折)するために、第2方向Yにおける広がり角θy1が広がる。これにより、第1光源LS1の周辺における輝度がより均一化できる。
図24は、凸状の光拡散構造の一例を示す。図24の例においては、導光板10の第1側面13に第1光源LS1に対して1つずつ突出した突起82が設けられている。各第1光源LS1からの光は、それぞれ対応する突起82に入る。突起82に入った光は、突起82の表面で屈曲(屈折)されるため、第2方向Yにおける広がり角θy1が広がる。これにより、第1光源LS1の周辺における輝度がより均一化できる。図24に示した孔81及び図24に示した突起82は、各第2光源LS2に対応して第2側面14に設けてもよい。これにより、第2光源LS2からの光の広がり角も広げることができる。
なお、第8実施形態における孔81の内部は、空洞でなくてもよい。すなわち、孔81の内部を樹脂などの充填材で満たしてもよい。このような充填材は、孔により光の視野角を広げる作用を確保するために、導光板10よりも屈折率が十分に低い材料で形成することが好ましい。また、光屈折構造は、求められる視野角や放射強度分布に応じて、適宜に形状を工夫することができる。
図23に示した孔81及び図24に示した突起82は、各第2光源LS2に対応して第2側面14に設けてもよい。これにより、第2光源LS2からの光の広がり角も広げることができる。
以上の第1乃至第8実施形態にて開示した構成は、適宜に組み合わせることができる。
また、各実施形態では、第1光源LS1及び第2光源LS2がレーザ光源である場合を例示した。しかしながら、第1光源LS1及び第2光源LS2は、レーザ光よりも波長域が広い光を放つ発光ダイオードなどであってもよい。このような場合でも、導光板の出射光の輝度を均一化することができる。
また、第1光源LS1及び第2光源LS2が放つ光は、蛍光体を励起する紫外光などの励起光であってもよい。この場合には、例えば表示パネル2に蛍光層を設け、この蛍光層が励起光により励起して可視光を放つ構成を採用できる。
本発明の実施形態として上述した表示装置及び照明装置を基にして、当業者が適宜設計変更して実施し得る全ての表示装置及び照明装置も、本発明の要旨を包含する限り、本発明の範囲に属する。
本発明の思想の範疇において、当業者であれば、各種の変形例に想到し得るものであり、それら変形例についても本発明の範囲に属するものと解される。例えば、上述の各実施形態に対して、当業者が適宜、構成要素の追加、削除、若しくは設計変更を行ったもの、又は、工程の追加、省略若しくは条件変更を行ったものも、本発明の要旨を備えている限り、本発明の範囲に含まれる。
また、各実施形態において述べた態様によりもたらされる他の作用効果について、本明細書の記載から明らかなもの、又は当業者において適宜想到し得るものについては、当然に本発明によりもたらされるものと解される。
以下に、本願出願の当初の特許請求の範囲に記載された発明を付記する。
[1] 第1面、前記第1面に対向する第2面、前記第1面及び前記第2面を接続する第1側面、及び前記第1面及び前記第2面を接続し前記第1側面に対向する第2側面を有する導光板と、
前記第1側面に対向する第1光源と、
前記第2側面に対向する第2光源と、
を備え、
前記導光板は、第1方向に延在するとともに前記第1面又は前記第2面に複数の第1プリズムが配置された第1領域と、前記第1方向に延在するとともに前記第1面又は前記第2面に複数の第2プリズムが配置された第2領域と、を有し、
前記第1領域及び前記第2領域は、前記第1方向と交差する第2方向に並び、
前記第1光源は、前記第1側面から前記第1領域に光を照射し、
前記第2光源は、前記第2側面から前記第2領域に光を照射し、
前記複数の第1プリズム及び前記複数の第2プリズムの形成パターンは、互いに異なる、
照明装置。
[2] 前記複数の第1プリズム及び前記複数の第2プリズムは、それぞれ前記第1方向に沿って配列し、前記第2方向に沿って延在する、
[1]に記載の照明装置。
[3] 前記第1プリズムは、前記第1側面の側を向く第1斜面と、前記第2側面の側を向く第2斜面とを備え、
前記第2プリズムは、前記第2側面の側を向く第3斜面と、前記第1側面の側を向く第4斜面とを備え、
前記第1プリズム及び前記第2プリズムは、前記第2方向に隣接しており、
前記第1斜面及び前記第4斜面は連続した曲面であり、前記第2斜面及び前記第3斜面は連続した曲面である、
[2]に記載の照明装置。
[4] 前記第1光源は、前記第1方向の一方側である第1A方向に光を照射し、
前記第1光源は、前記第1方向の他方側である第1B方向に光を照射し、
前記第1プリズムは、前記第1A方向に形成密度が高くなっており、
前記第2プリズムは、前記第1B方向に形成密度が高くなっている、
[1]から[3]のいずれか1つに記載の照明装置。
[5] 前記第1光源は、前記第1方向の一方側である第1A方向に光を照射し、
前記第1光源は、前記第1方向の他方側である第1B方向に光を照射し、
前記第1領域の少なくとも一部は、平面視において、前記第1A方向に向けて前記第2方向における幅が大きくなる形状であり、
前記第2領域の少なくとも一部は、平面視において、前記第1B方向に向けて前記第2方向における幅が大きくなる形状である、
[1]から[4]のいずれか1つに記載の照明装置。
[6] 前記第1領域の少なくとも一部は、平面視において、前記第1光源が放つ光の広がり角に対応する形状であり、
前記第2領域の少なくとも一部は、平面視において、前記第2光源が放つ光の広がり角に対応する形状である、
[5]に記載の照明装置。
[7] 前記導光板は、前記第1側面の前記第1光源と対向する部分、及び、前記第2側面の前記第2光源と対向する部分に、凹状又は凸状の光拡散構造を有する、
[1]から[6]のいずれか1つに記載の照明装置。
[8] 前記導光板は、第1導光部材と、第2導光部材と、前記第1導光部材及び前記第2導光部材を接着する接着剤と、を含み、
前記第1導光部材は、前記複数の第1プリズムを有する前記第1領域であり、前記第2導光部材は前記複数の第2プリズムを有する前記第2領域である、
[1]から[7]のいずれか1つに記載の照明装置。
[9] 前記複数の第1プリズムが前記第1面及び前記第2面の一方の面に配置され、前記複数の第2プリズムがその他方の面に配置される、
[1]から[8]のいずれか1つに記載の照明装置。
[10] 前記導光板は、複数の前記第1領域及び複数の前記第2領域を備え、
前記第1領域及び前記第2領域は、前記第2方向において交互に配置され、それぞれ前記第1光源又は前記第2光源と対向している、
[1]から[9]のいずれか1つに記載の照明装置。
[11] 前記第1光源及び前記第2光源は、偏光した光を出射するレーザ光源である、
[1]から[10]のいずれか1つに記載の照明装置。
[12] 光を選択的に透過して画像を表示する表示パネルと、前記表示パネルに光を照射する[1]から[11]のいずれか1つに記載の照明装置と、備える表示装置。
1…表示装置、2…表示パネル、3…照明装置、4…駆動ICチップ、5…制御モジュール、SUB1…第1基板、SUB2…第2基板、LC…液晶層、DA…表示領域、PX…画素、3…照明装置、LS1…第1光源、LS2…第2光源、10,20,30,40,50,60,70…導光板、11…第1面、12…第2面、13…第1側面、14…第2側面、15…第3側面、16…第4側面、R1…第1領域、R2…第2領域、6…反射部材、7…プリズムシート(光指向部材)、8…拡散シート(光拡散層)、17,27,37,47,57,67,77…第1プリズム、18,28,38,48,58,68,78…第2プリズム、71…第3プリズム、72…第1導光部材、73…第2導光部材、81,82…光拡散構造、X…第1方向(照射方向)、Y…第2方向(幅方向)、Z…第3方向(厚み方向)。

Claims (10)

  1. 第1面、前記第1面に対向する第2面、前記第1面及び前記第2面を接続する第1側面、及び前記第1面及び前記第2面を接続し前記第1側面に対向する第2側面を有する導光板と、
    前記第1側面に対向する第1光源と、
    前記第2側面に対向する第2光源と、
    を備え、
    前記導光板は、第1方向に延在するとともに前記第1面又は前記第2面に複数の第1プリズムが配置された第1領域と、前記第1方向に延在するとともに前記第1面又は前記第2面に複数の第2プリズムが配置された第2領域と、を有し、
    前記第1領域及び前記第2領域は、前記第1方向と交差する第2方向に並び、
    前記第1光源は、前記第1側面から前記第1領域に光を照射し、
    前記第2光源は、前記第2側面から前記第2領域に光を照射し、
    前記複数の第1プリズム及び前記複数の第2プリズムの形成パターンは、互いに異なり、
    前記複数の第1プリズムが前記第1面及び前記第2面の一方の面に配置され、前記複数の第2プリズムがその他方の面に配置され、
    前記第1光源から照射された光は、前記複数の第1プリズムによって屈曲されて前記第1面から出射し、
    前記第2光源から照射された光は、前記複数の第2プリズムによって屈曲されて前記第1面から出射する、
    照明装置。
  2. 前記複数の第1プリズム及び前記複数の第2プリズムは、それぞれ前記第1方向に沿って配列し、前記第2方向に沿って延在する、
    請求項1に記載の照明装置。
  3. 前記第1光源は、前記第1方向の一方側である第1A方向に光を照射し、
    前記第光源は、前記第1方向の他方側である第1B方向に光を照射し、
    前記第1プリズムは、前記第1A方向に形成密度が高くなっており、
    前記第2プリズムは、前記第1B方向に形成密度が高くなっている、
    請求項1又は2に記載の照明装置。
  4. 前記第1光源は、前記第1方向の一方側である第1A方向に光を照射し、
    前記第光源は、前記第1方向の他方側である第1B方向に光を照射し、
    前記第1領域の少なくとも一部は、平面視において、前記第1A方向に向けて前記第2方向における幅が大きくなる形状であり、
    前記第2領域の少なくとも一部は、平面視において、前記第1B方向に向けて前記第2方向における幅が大きくなる形状である、
    請求項1からのいずれか1項に記載の照明装置。
  5. 前記第1領域の少なくとも一部は、平面視において、前記第1光源が放つ光の広がり角に対応する形状であり、
    前記第2領域の少なくとも一部は、平面視において、前記第2光源が放つ光の広がり角に対応する形状である、
    請求項に記載の照明装置。
  6. 前記導光板は、前記第1側面の前記第1光源と対向する部分、及び、前記第2側面の前記第2光源と対向する部分に、凹状又は凸状の光拡散構造を有する、
    請求項1からのいずれか1項に記載の照明装置。
  7. 前記導光板は、第1導光部材と、第2導光部材と、前記第1導光部材及び前記第2導光部材を接着する接着剤と、を含み、
    前記第1導光部材は、前記複数の第1プリズムを有する前記第1領域であり、前記第2導光部材は前記複数の第2プリズムを有する前記第2領域である、
    請求項1からのいずれか1項に記載の照明装置。
  8. 前記導光板は、複数の前記第1領域及び複数の前記第2領域を備え、
    前記第1領域及び前記第2領域は、前記第2方向において交互に配置され、それぞれ前記第1光源又は前記第2光源と対向している、
    請求項1からのいずれか1項に記載の照明装置。
  9. 前記第1光源及び前記第2光源は、偏光した光を出射するレーザ光源である、
    請求項1からのいずれか1項に記載の照明装置。
  10. 光を選択的に透過して画像を表示する表示パネルと、前記表示パネルに光を照射する請求項1からのいずれか1項に記載の照明装置と、備える表示装置。
JP2016203325A 2016-10-17 2016-10-17 照明装置及び表示装置 Active JP6830787B2 (ja)

Priority Applications (1)

Application Number Priority Date Filing Date Title
JP2016203325A JP6830787B2 (ja) 2016-10-17 2016-10-17 照明装置及び表示装置

Applications Claiming Priority (1)

Application Number Priority Date Filing Date Title
JP2016203325A JP6830787B2 (ja) 2016-10-17 2016-10-17 照明装置及び表示装置

Publications (2)

Publication Number Publication Date
JP2018067376A JP2018067376A (ja) 2018-04-26
JP6830787B2 true JP6830787B2 (ja) 2021-02-17

Family

ID=62087212

Family Applications (1)

Application Number Title Priority Date Filing Date
JP2016203325A Active JP6830787B2 (ja) 2016-10-17 2016-10-17 照明装置及び表示装置

Country Status (1)

Country Link
JP (1) JP6830787B2 (ja)

Families Citing this family (3)

* Cited by examiner, † Cited by third party
Publication number Priority date Publication date Assignee Title
JP2022144629A (ja) * 2021-03-19 2022-10-03 株式会社ジャパンディスプレイ 照明装置
KR20250129372A (ko) * 2024-02-22 2025-08-29 엘지디스플레이 주식회사 표시 장치
KR20250129373A (ko) * 2024-02-22 2025-08-29 엘지디스플레이 주식회사 표시 장치

Family Cites Families (9)

* Cited by examiner, † Cited by third party
Publication number Priority date Publication date Assignee Title
JP2856276B2 (ja) * 1996-06-20 1999-02-10 日本電気株式会社 バックライト装置
JP2000171796A (ja) * 1998-12-02 2000-06-23 Howa Bussan Kk 面状光源
JP2003098356A (ja) * 2001-09-20 2003-04-03 Pioneer Electronic Corp 導光板
JP4440062B2 (ja) * 2004-10-08 2010-03-24 シャープ株式会社 照明装置
JP2006155994A (ja) * 2004-11-26 2006-06-15 Dainippon Printing Co Ltd 導光板及び面光源装置
JP5243439B2 (ja) * 2006-10-06 2013-07-24 スリーエム イノベイティブ プロパティズ カンパニー 自動立体3dディスプレイ装置用のバックライトモジュール及びlcdデバイス用の走査式バックライト
JP4760761B2 (ja) * 2007-04-06 2011-08-31 日本ビクター株式会社 照明装置及び表示装置
JP2008269866A (ja) * 2007-04-18 2008-11-06 Seiko Epson Corp 照明装置及び液晶表示装置並びに電子機器
JP5346053B2 (ja) * 2011-03-16 2013-11-20 レノボ・シンガポール・プライベート・リミテッド バックライト装置及び表示装置

Also Published As

Publication number Publication date
JP2018067376A (ja) 2018-04-26

Similar Documents

Publication Publication Date Title
JP4431952B2 (ja) 面光源装置及び当該装置を用いた機器
KR100898100B1 (ko) 프리즘 시트
JP5409901B2 (ja) 面状光源装置およびこれを用いた表示装置
JP5199830B2 (ja) 表示装置
KR100978078B1 (ko) 프리즘 시트와 이를 구비한 액정표시장치
JP2011014520A (ja) 照明装置及び表示装置
CN107315280B (zh) 背光模组及其制作方法、显示装置
CN102927524B (zh) 混光件、导光板、背光模组及显示装置
KR102266737B1 (ko) 렌즈, 렌즈를 포함하는 발광 장치, 및 발광 장치를 포함하는 백 라이트 유닛
KR102130517B1 (ko) 백라이트 유닛 및 이를 포함한 액정표시장치
CN104487887B (zh) 显示装置和发光装置
CN107003558A (zh) 复合光学片、使用其的液晶显示装置及其制造方法
JP2019091036A (ja) 異形液晶発光装置
KR102090457B1 (ko) 액정표시장치
JP6830787B2 (ja) 照明装置及び表示装置
US10488706B1 (en) Backlight module having a substrate, plurality of light sources, diffusion film and brightness enhancement film disposed on the substrate
WO2017159556A1 (ja) 照明装置及び表示装置
WO2017170017A1 (ja) 照明装置及び表示装置
JP5174685B2 (ja) 面状光源装置およびこれを用いた表示装置
KR20080017537A (ko) 백라이트 어셈블리 및 이를 갖는 표시 장치
JP2007304597A (ja) 光学板、光学板の製造方法、バックライトアセンブリーおよび液晶表示装置
JP7250549B2 (ja) 照明装置および表示装置
JP2018181729A (ja) 照明装置
CN104216041A (zh) 具有圆角多边形图案的导光板及具有其的液晶显示装置
JP2017091931A (ja) 面光源装置

Legal Events

Date Code Title Description
A621 Written request for application examination

Free format text: JAPANESE INTERMEDIATE CODE: A621

Effective date: 20190912

A977 Report on retrieval

Free format text: JAPANESE INTERMEDIATE CODE: A971007

Effective date: 20200619

A131 Notification of reasons for refusal

Free format text: JAPANESE INTERMEDIATE CODE: A131

Effective date: 20200707

A521 Request for written amendment filed

Free format text: JAPANESE INTERMEDIATE CODE: A523

Effective date: 20200819

TRDD Decision of grant or rejection written
A01 Written decision to grant a patent or to grant a registration (utility model)

Free format text: JAPANESE INTERMEDIATE CODE: A01

Effective date: 20210119

A61 First payment of annual fees (during grant procedure)

Free format text: JAPANESE INTERMEDIATE CODE: A61

Effective date: 20210127

R150 Certificate of patent or registration of utility model

Ref document number: 6830787

Country of ref document: JP

Free format text: JAPANESE INTERMEDIATE CODE: R150

R250 Receipt of annual fees

Free format text: JAPANESE INTERMEDIATE CODE: R250

R250 Receipt of annual fees

Free format text: JAPANESE INTERMEDIATE CODE: R250