JP6632003B2 - アイアン・タイプ・ゴルフ・クラブ・ヘッド - Google Patents

アイアン・タイプ・ゴルフ・クラブ・ヘッド Download PDF

Info

Publication number
JP6632003B2
JP6632003B2 JP2017561691A JP2017561691A JP6632003B2 JP 6632003 B2 JP6632003 B2 JP 6632003B2 JP 2017561691 A JP2017561691 A JP 2017561691A JP 2017561691 A JP2017561691 A JP 2017561691A JP 6632003 B2 JP6632003 B2 JP 6632003B2
Authority
JP
Japan
Prior art keywords
club head
golf club
iron
support structures
type golf
Prior art date
Legal status (The legal status is an assumption and is not a legal conclusion. Google has not performed a legal analysis and makes no representation as to the accuracy of the status listed.)
Active
Application number
JP2017561691A
Other languages
English (en)
Other versions
JP2018516127A (ja
JP2018516127A5 (ja
Inventor
ジェー. サンダー レイモンド
ジェー. サンダー レイモンド
Original Assignee
カーステン マニュファクチュアリング コーポレーション
カーステン マニュファクチュアリング コーポレーション
Priority date (The priority date is an assumption and is not a legal conclusion. Google has not performed a legal analysis and makes no representation as to the accuracy of the date listed.)
Filing date
Publication date
Application filed by カーステン マニュファクチュアリング コーポレーション, カーステン マニュファクチュアリング コーポレーション filed Critical カーステン マニュファクチュアリング コーポレーション
Publication of JP2018516127A publication Critical patent/JP2018516127A/ja
Publication of JP2018516127A5 publication Critical patent/JP2018516127A5/ja
Priority to JP2019219927A priority Critical patent/JP6947798B2/ja
Application granted granted Critical
Publication of JP6632003B2 publication Critical patent/JP6632003B2/ja
Active legal-status Critical Current
Anticipated expiration legal-status Critical

Links

Images

Classifications

    • AHUMAN NECESSITIES
    • A63SPORTS; GAMES; AMUSEMENTS
    • A63BAPPARATUS FOR PHYSICAL TRAINING, GYMNASTICS, SWIMMING, CLIMBING, OR FENCING; BALL GAMES; TRAINING EQUIPMENT
    • A63B53/00Golf clubs
    • A63B53/04Heads
    • A63B53/047Heads iron-type
    • AHUMAN NECESSITIES
    • A63SPORTS; GAMES; AMUSEMENTS
    • A63BAPPARATUS FOR PHYSICAL TRAINING, GYMNASTICS, SWIMMING, CLIMBING, OR FENCING; BALL GAMES; TRAINING EQUIPMENT
    • A63B53/00Golf clubs
    • A63B53/04Heads
    • A63B53/0416Heads having an impact surface provided by a face insert
    • AHUMAN NECESSITIES
    • A63SPORTS; GAMES; AMUSEMENTS
    • A63BAPPARATUS FOR PHYSICAL TRAINING, GYMNASTICS, SWIMMING, CLIMBING, OR FENCING; BALL GAMES; TRAINING EQUIPMENT
    • A63B53/00Golf clubs
    • A63B53/04Heads
    • A63B53/045Strengthening ribs
    • A63B53/0454Strengthening ribs on the rear surface of the impact face plate
    • AHUMAN NECESSITIES
    • A63SPORTS; GAMES; AMUSEMENTS
    • A63BAPPARATUS FOR PHYSICAL TRAINING, GYMNASTICS, SWIMMING, CLIMBING, OR FENCING; BALL GAMES; TRAINING EQUIPMENT
    • A63B53/00Golf clubs
    • A63B53/04Heads
    • A63B53/0458Heads with non-uniform thickness of the impact face plate
    • AHUMAN NECESSITIES
    • A63SPORTS; GAMES; AMUSEMENTS
    • A63BAPPARATUS FOR PHYSICAL TRAINING, GYMNASTICS, SWIMMING, CLIMBING, OR FENCING; BALL GAMES; TRAINING EQUIPMENT
    • A63B53/00Golf clubs
    • A63B53/04Heads
    • A63B53/047Heads iron-type
    • A63B53/0475Heads iron-type with one or more enclosed cavities
    • AHUMAN NECESSITIES
    • A63SPORTS; GAMES; AMUSEMENTS
    • A63BAPPARATUS FOR PHYSICAL TRAINING, GYMNASTICS, SWIMMING, CLIMBING, OR FENCING; BALL GAMES; TRAINING EQUIPMENT
    • A63B53/00Golf clubs
    • A63B53/08Golf clubs with special arrangements for obtaining a variable impact
    • AHUMAN NECESSITIES
    • A63SPORTS; GAMES; AMUSEMENTS
    • A63BAPPARATUS FOR PHYSICAL TRAINING, GYMNASTICS, SWIMMING, CLIMBING, OR FENCING; BALL GAMES; TRAINING EQUIPMENT
    • A63B60/00Details or accessories of golf clubs, bats, rackets or the like
    • A63B60/02Ballast means for adjusting the centre of mass
    • AHUMAN NECESSITIES
    • A63SPORTS; GAMES; AMUSEMENTS
    • A63BAPPARATUS FOR PHYSICAL TRAINING, GYMNASTICS, SWIMMING, CLIMBING, OR FENCING; BALL GAMES; TRAINING EQUIPMENT
    • A63B53/00Golf clubs
    • A63B53/04Heads
    • A63B2053/0491Heads with added weights, e.g. changeable, replaceable
    • AHUMAN NECESSITIES
    • A63SPORTS; GAMES; AMUSEMENTS
    • A63BAPPARATUS FOR PHYSICAL TRAINING, GYMNASTICS, SWIMMING, CLIMBING, OR FENCING; BALL GAMES; TRAINING EQUIPMENT
    • A63B2209/00Characteristics of used materials

Landscapes

  • Health & Medical Sciences (AREA)
  • General Health & Medical Sciences (AREA)
  • Physical Education & Sports Medicine (AREA)
  • Golf Clubs (AREA)

Description

関連出願の相互参照
本出願は、2015年5月28日に出願された「Iron−Type Golf Clubs and Golf Club Heads」という名称の米国特許出願第14/724,024号の優先権を主張するものである。米国特許出願第14/724,024号は、その全体が、参照により本明細書に組み込まれる。
本発明は、一般にゴルフ・クラブおよびゴルフ・クラブ・ヘッドに関し、より詳細には、アイアン・タイプ・ゴルフ・クラブおよびゴルフ・クラブ・ヘッドに関する。
ゴルフ・クラブは、ゴルフの試合において使用されるために、当技術分野でよく知られている。アイアン・タイプ・ゴルフ・クラブは一般に、キャビティ・バック構成、マッスル・バック構成、またはブレード・タイプ構成を有する。アマチュア・ゴルファーは一般に、ペリメーター・ウェイティング搭載キャビティ・バック・クラブを好むが、それは、フェースの中心近くを叩かないとき、より良いショットを生む傾向があるからである。ブレード・タイプのアイアンは一般に、プロ・ゴルファーおよび高いスキル・レベルのゴルファーによって好まれるが、それは、ゴルフ・ボールのフェース中心を叩いたときは、より良い感触を提供し、フェースの中心を叩かなかったときはより良いフィードバックを提供するからである。ブレード・タイプのアイアンは、ゴルファーが、さまざまなタイプのスピンをボールに加えることによって、ショットをより容易に作ることも可能にするが、キャビティ・バック・アイアンは、ショットを作る能力を低減または最小化する。
「ペリメーター・ウェイティング搭載」アイアンとしても知られる、キャビティ・バック・アイアン・タイプのクラブ・ヘッドは、クラブ・ヘッドの後面の周囲にマスの集中を有することが知られている。このマスの集中は一般的に、クラブ・フェース周辺部から後方に突出し、クラブ・ヘッドの後面の大部分を含む後方空洞を実質的に囲む、隆起した、リブのような、ペリメーター・ウェイティング要素の中にある。クラブ・ヘッドの中心から離れてクラブ・フェースの後ろにかなりの量のマスを配置することに加えて、リブのようなペリメーター・ウェイティング要素は、空洞領域におけるフェース厚さの減少を補償する構造補強材として作用する。
以下は、本発明の基本的な理解およびそのさまざまな特徴をもたらすために、本発明の態様の全体的な概要を示す。本概要は、決して本発明の範囲を制限することを意図するものではなく、以下に続くより詳細な説明の全体的な概要および文脈を提供するにすぎない。
本発明の態様によれば、アイアン・タイプ・ゴルフ・クラブ・ヘッドは、ボール・インパクト時にマスダンピング(mass−damping)効果をもたらす接続構造または係合構造と1つまたは複数の弾性部材を通して少なくとも部分的に係合される打球フェース部材と後方ウェイト部材とを備えてよい。
いくつかのより具体的な例として、本発明の態様は、(a)第1の硬度を有する第1の材料を含む打球フェース部材であって、後面を有するフェース部材と、(b)第2の硬度を有する第2の材料を含む後方ウェイト部材であって、前面を有し、ウェイト部材の前記前面と前記フェース部材の前記後面が互いに対抗し、それらの間に空間を画定する、ウェイト部材と、(c)第3の硬度を有する第3の材料を含む少なくとも1つの弾性部材と、(d)前記空間内に配置され、任意選択で前記前面および前記後面のうちの少なくとも1つと接触する少なくとも1つの係合部材とを含むアイアン・タイプ・ゴルフ・クラブ・ヘッドに関する。これらのゴルフ・クラブ・ヘッドは、任意の所望の数および/または組み合わせで、以下の性質および/または特徴、すなわち、(a)少なくとも1つの弾性部材がフェース部材および後方ウェイト部材よりも実質的に大きな圧縮率を示すように、第3の硬度は、第1の硬度および/または第2の硬度よりも小さくてよい、(b)少なくとも1つの係合部材は、フェース部材とウェイト部材との間で圧縮率を制限する少なくとも3つの分離された支持領域を空間内に画定してよく、この少なくとも3つの分離された支持領域は、低圧縮率の区域および高圧縮率の区域に空間を分割してよく、高圧縮率の区域は、前記低圧縮率の区域よりも大きい圧縮率を有している、(c)弾性部材は、ウェイト部材とフェース部材との間に配置され、少なくとも前記高圧縮率の区域内に(任意選択で、少なくとも1つの係合部材の四方に)位置してもよい、のうちの1つまたは複数を含んでよい。
いくつかのさらなる潜在的な特徴として、係合部材は、以下の性質または特徴、すなわち、少なくとも1つはフェース部材に固定的に接続されてよい、少なくとも1つはウェイト部材に固定的に接続されてよい、少なくとも1つはフェース部材と一体に、フェース部材と同じ材料から形成されてよい、および/または少なくとも1つはウェイト部材と、ウェイト部材と同じ材料から一体に形成されてよい、のうちの1つまたは複数を含んでよい。いくつかの例では、係合部材は、弾性部材と係合されてよい。
追加または代替として、必要に応じて、ウェイト部材は、弾性部材内に閉じ込められている1つまたは複数のウェイト構成要素を備えてよい。いくつかのより具体的な例として、必要に応じて、ウェイト構成要素は、弾性部材の第3の材料内に埋め込まれた、弾性部材内に形成された(および任意選択で、接着剤、機械的コネクタなどを用いてその中に固着された)チャンバまたは凹部に嵌入するなどの、1つまたは複数の部品(たとえば、タングステン、鉛、タングステン含有材料、または鉛含有材料などから作製される)を含んでよい。
弾性部材は、フェース部材のウェイト部材および/または後面の前面の一方または両方と接触してよいおよび/またはこれに取り付けられてよい。任意選択で、弾性部材は、2つ以上の分離された弾性部材構成要素を構成してよい。2つ以上の弾性部材構成要素が存在するとき、各弾性部材構成要素は、ウェイト部材の前面および/またはフェース部材の後面と接触してもよいおよび/またはこれに取り付けられてよい。
少なくとも1つの係合部材は、少なくとも3つ、4つ、またはさらに多くの接続ポイント支持部を構成してよく、各接続ポイント支持部は、少なくとも3つ、4つ、またはさらに多くの分離された支持領域のうちのそれぞれの支持領域を形成する。3つ以上の接続ポイント支持部は、直線状、三角形状、方形もしくは矩形状、別の多角形状、および/または、他の任意の所望の形状で配置されてよい。いくつかの例示的な構造では、ゴルフ・クラブ・ヘッド・フェース部材は、その前面上にスコアラインまたは溝を含んでよく、分離された支持領域のうちの少なくとも3つは、スコアライン/溝と実質的に平行な一直線上に実質的に配置されてよい。
本発明の少なくともいくつかの例によれば、弾性部材の第3の材料の弾性率は、(打球フェース部材の)第1の材料および(後方ウェイト部材の)第2の材料のうちの1つまたは複数の(および任意選択で、その各々の)弾性率よりも小さく、3つ以上の接続ポイント支持部を構成する材料の弾性率よりも小さい。いくつかの例では、3つ以上の接続ポイント支持部を構成する材料の弾性率は、第3の材料の弾性率の少なくとも500倍である。追加または代替として、第3の材料は、少なくとも3つの分離された支持領域よりも圧縮可能であってよい。
別の例として、本発明のいくつかの例によるアイアン・タイプ・ゴルフ・クラブ・ヘッドは、(a)第1の硬度を有する第1の材料を含む打球フェース部材であって、後面を有するフェース部材と、(b)第2の硬度を有する第2の材料を含む後方ウェイト部材であって、前面を有し、前面と後面は互いに概して対向し、それらの間に空間を有する、ウェイト部材と、(c)第3の硬度を有する第3の材料を含む少なくとも1つの弾性部材と、(d)空間内に配置され、任意選択で、前面および後面のうちの少なくとも1つと接触する少なくとも1つの係合部材とを含んでよい。これらのゴルフ・クラブ・ヘッドは、任意の所望の数および/または組み合わせで以下の性質および/または特徴、すなわち、(a)少なくとも1つの弾性部材がフェース部材および後方ウェイト部材よりも実質的に大きな圧縮率を示すように、第3の硬度は、第1の硬度および第2の硬度よりも小さくてよい、(b)少なくとも1つの係合部材は、フェース部材とウェイト部材との間で圧縮率を制限する少なくとも2つの分離された支持領域を空間内に画定してよく、この少なくとも2つの分離された支持領域は、低圧縮率の区域および高圧縮率の区域に空間を分割してよく、高圧縮率の区域は低圧縮率の区域よりも大きい圧縮率を有してよい、(c)弾性部材は、ウェイト部材とフェース部材との間に配置され、少なくとも高圧縮率の区域内に位置してもよい、のうちの1つまたは複数を含んでよい。
この例では、少なくとも1つの係合部材は、2つ(またはそれ以上)の接続ポイント支持部を構成してよく、各接続ポイント支持部は、少なくとも2つの分離された支持領域のそれぞれを形成する。弾性部材の第3の材料の弾性率は、(それぞれ、フェース部材および後方ウェイト部材の)第1の材料および第2の材料の各々の弾性率よりも小さくてよく、第3の材料の弾性率は、2つの接続ポイント支持部を構成する材料の弾性率よりも小さくてよく、および/または第3の材料は、少なくとも2つの分離された支持領域よりも圧縮可能であってよい。
本発明の本態様による構造は、フェース部材、後方ウェイト部材、係合部材、および/または弾性部材のための、上記で説明されたさまざまな特徴、選択肢、または変形形態のいずれかも含んでよい。1つのより具体的な例として、必要に応じて、この例示的なゴルフ・クラブ・ヘッドのフェース部材は、その上にスコアラインまたは溝を含んでよく、少なくとも2つの分離された支持領域が、スコアライン/溝と実質的に平行なラインに沿って配置されてよい。
添付の図面を考慮して以下の詳細な説明を参照することによって、本発明およびそのいくつかの利点をより完全に理解することができる。
本発明のいくつかの例による例示的なゴルフ・クラブ・ヘッドの背面斜視図である。
本発明のいくつかの例による例示的なゴルフ・クラブ・ヘッドの背面図である。
本発明のいくつかの例による例示的なゴルフ・クラブ・ヘッドのヒール側側面図である。
本発明のいくつかの例による例示的なゴルフ・クラブ・ヘッドのトウ側側面図である。
本発明のいくつかの例による例示的なゴルフ・クラブ・ヘッドの上面図である。
本発明のいくつかの例による例示的なゴルフ・クラブ・ヘッドの底面図である。
係合構造または接続構造の一部として設けられて隆起したリブの区域内の、本発明のいくつかの例による例示的なゴルフ・クラブ・ヘッドのトウまたはヒール側の拡大側面図である(この図は、隆起したリブ要素を通る断面図に相当することもできる)。
本発明のいくつかの例によるゴルフ・クラブ・ヘッドの背面図である。さまざまな選択肢または特徴が強調されている。 本発明のいくつかの例によるゴルフ・クラブ・ヘッドの背面図である。さまざまな選択肢または特徴が強調されている。
係合構造または接続構造の一部として設けられて隆起したリブの区域内の、本発明のいくつかの例による例示的なゴルフ・クラブ・ヘッドのトウまたはヒール側の拡大側面図である(この図は、隆起したリブ要素を通る断面図に相当することもできる)。
係合構造または接続構造の一部として設けられて隆起したリブの区域内の、本発明のいくつかの例による例示的なゴルフ・クラブ・ヘッドのトウまたはヒール側の拡大側面図である(この図は、隆起したリブ要素を通る断面図に相当することもできる)。
係合構造または接続構造の一部として設けられて隆起したリブの区域内の、本発明のいくつかの例による例示的なゴルフ・クラブ・ヘッドのトウまたはヒール側の拡大側面図である(この図は、隆起したリブ要素を通る断面図に相当することもできる)。
係合構造または接続構造の一部として設けられて隆起したリブの区域内の、本発明のいくつかの例による例示的なゴルフ・クラブ・ヘッドのトウまたはヒール側の拡大側面図である(この図は、隆起したリブ要素を通る断面図に相当することもできる)。
係合構造または接続構造の一部として設けられて隆起したリブの区域内の、本発明のいくつかの例による例示的なゴルフ・クラブ・ヘッドのトウまたはヒール側の拡大側面図である(この図は、隆起したリブ要素を通る断面図に相当することもできる)。
係合構造または接続構造の一部として設けられて隆起したリブの区域内の、本発明のいくつかの例による例示的なゴルフ・クラブ・ヘッドのトウまたはヒール側の拡大側面図である(この図は、隆起したリブ要素を通る断面図に相当することもできる)。
係合構造または接続構造の一部として設けられて隆起したリブの区域内の、本発明のいくつかの例による例示的なゴルフ・クラブ・ヘッドのトウまたはヒール側の拡大側面図である(この図は、隆起したリブ要素を通る断面図に相当することもできる)。
本発明のいくつかの例による別の例示的なゴルフ・クラブ・ヘッドの背面図である。
本発明のいくつかの例による別の例示的なゴルフ・クラブ・ヘッドの背面図である。
本発明のいくつかの例による別の例示的なゴルフ・クラブ・ヘッドの背面図である。
本発明のいくつかの例による例示的なゴルフ・クラブ・ヘッドのアセンブリおよび部品を示す図である。 本発明のいくつかの例による例示的なゴルフ・クラブ・ヘッドのアセンブリおよび部品を示す図である。
本発明のいくつかの例による例示的なゴルフ・クラブ・ヘッドのアセンブリおよび部品を示す図である。
接触点または接続ポイントの異なるセットおよび配置を有する、本発明のいくつかの例によるゴルフ・クラブ・ヘッドを示す図である。 接触点または接続ポイントの異なるセットおよび配置を有する、本発明のいくつかの例によるゴルフ・クラブ・ヘッドを示す図である。 接触点または接続ポイントの異なるセットおよび配置を有する、本発明のいくつかの例によるゴルフ・クラブ・ヘッドを示す図である。 接触点または接続ポイントの異なるセットおよび配置を有する、本発明のいくつかの例によるゴルフ・クラブ・ヘッドを示す図である。 接触点または接続ポイントの異なるセットおよび配置を有する、本発明のいくつかの例によるゴルフ・クラブ・ヘッドを示す図である。 接触点または接続ポイントの異なるセットおよび配置を有する、本発明のいくつかの例によるゴルフ・クラブ・ヘッドを示す図である。 接触点または接続ポイントの異なるセットおよび配置を有する、本発明のいくつかの例によるゴルフ・クラブ・ヘッドを示す図である。
添付の図面は必ずしも一定の縮尺で描かれているとは限らないことを読者にアドバイスする。
本発明によるさまざまな例示的な構造の以下の説明では、本発明の一部を形成し、本発明によるさまざまな例示的なゴルフ・クラブ・ヘッド、ゴルフ・クラブ・ヘッドの部品、およびゴルフ・クラブ構造を例として示す、添付の図面を参照する。さらに、本発明の範囲から逸脱することなく、部品および構造の他の具体的な配置が利用されてよく、構造および機能上の修正がなされてよいことを理解されたい。また、「上」、「下(底)」、「前面」、「背面」、「後方」、「側面」、「下側」、「オーバーヘッド」などの用語が、本発明のさまざまな例示的な特徴および要素について説明するために本明細書で使用されることがあるが、これらの用語は、本明細書では便宜上、たとえば、図に示される向きおよび/または一般的な使用法における向き(たとえば、アドレスの向き、「標準的な」向きの位置における向き(たとえば、USGAルールの遵守を決定するための測定がなされるクラブ・ヘッドの向き))の例に基づいて使用される。本明細書では、いずれも、本発明の範囲に含まれるために構造の特定の3次元的向きまたは空間的向きを必要とすると解釈されるべきではない。
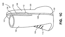
図1Aから図1Gは、第1の例示的なアイアン・タイプ・ゴルフ・クラブ・ヘッド100のさまざまな図を提供する。この例示的なクラブ・ヘッド100は、(たとえば、シャフトと係合するための)ホーゼル部材102と、打球フェース104と、後方周辺部ウェイト106(クラブ・ヘッド構造100内の後方空洞区域108(すなわち「キャビティ・バック」構造)を少なくとも部分的に画定する)とを含む。打球フェース104は、平坦プレート構造または他の所望の構造(たとえば、クラブ・ヘッド100のヒール側で延びてホーゼル102またはホーゼル102の一部分を形成する平坦な打球フェース・プレートなど)を有してよい打球フェース部材110の前面を構成する。打球フェース部材110は、スチール、ステンレス鋼、チタン、および/または従来から知られており、ゴルフ・クラブ・アイアン構造において使用される他の1つもしくは複数の金属材料もしくは金属合金材料を含む、任意の所望の1つまたは複数の材料から作製されてよい。また、打球フェース部材110は、1つの部品から作製されてもよいし、(たとえば、溶接または他の溶着技法によって、接着剤またはセメントによって、1つまたは複数の機械的コネクタ(たとえば、ねじ、ボルトなど)によって、など)互いに係合される2つ以上の構成要素からなる部品から作製されてもよい。打球フェース部材110は、鍛造、鋳造、スタンピング、および/またはゴルフ・クラブ技術において従来から知られており使用される方法を含む他の方法で、形成されてよい。
図1A〜図1Gに示すように、この図示の例では、隆起したリブ要素112は、打球フェース部材110の後面110rから後方に延びる(打球面104の反対側の主要面110rから後方に延びる)。この隆起したリブ要素112は、打球フェース部材110が(たとえば、鋳造、鍛造、スタンピングなどによって)形成されるとき、打球フェース部材110の一部として一体に形成されてもよいし、別個のステップにおいて(たとえば、溶接または他の溶着技法によって、接着剤またはセメントによって、1つまたは複数の機械的コネクタ(たとえば、ねじ、ボルトなど)によって、など)打球フェース部材110の後面110rと係合された分離された部品であってもよい。この図示の例では、隆起したリブ要素112は、半円筒形で、たとえば半円断面で、打球フェース部材110の後面110rから後方に突出する。以下でより詳細に説明するように、他の隆起したリブ要素112の形状が利用されてよい。
この例示的なクラブ・ヘッド構造100は、クラブ・ヘッド構造100の後部に設けられた別個の部品として後方ウェイト要素120をさらに含む。後方ウェイト要素120は、打球フェース部材110の後ろに後面を設け、周辺部ウェイト106を形成する大きなリング部材を含む。いくつかの例では、後方ウェイト要素120の周辺部ウェイト106構造の内部の面108aは、後方ウェイト要素120の一部(たとえば、空洞108が後方ウェイト要素120を通って完全に延びないように後方ウェイト要素120の前壁部を構成する薄いプレートの露出面)を構成してよい。しかしながら、他の例では、面108aは、(たとえば、後方ウェイト要素120が周辺部ウェイト106内部の空洞108に貫通穴を含むように)クラブ・ヘッド構造100の別の部品の露出面を構成してよい。別の選択肢として、必要に応じて、後方ウェイト要素120内の空洞108の一部分は貫通穴を形成してよく、空洞108の別の部分は後方ウェイト要素120の一部によって封鎖されてよい。後方ウェイト要素120は、スチール、ステンレス鋼、チタン、または他の金属材料もしくは金属合金材料、ポリマー材料、繊維強化高分子材料、および/または従来から知られておりゴルフ・クラブ・アイアン構造において使用される材料を含む、任意の所望の1つまたは複数の材料から作製されてよい。後方ウェイト要素120は、要素120のウェイトを増加させるために、鉛、タングステン、および/または他の高密度材料も含有してよい。また、後方ウェイト要素120は、1つの部品から作製されてもよいし、(たとえば、溶接または他の溶着技法によって、接着剤またはセメントによって、1つまたは複数の機械的コネクタ(たとえば、ねじ、ボルトなど)によって、など)互いに係合される2つ以上の構成要素からなる部品から作製されてもよい。
図1A〜図1Gは、打球フェース部材110と後方ウェイト要素120との間に設けられた1つまたは複数の弾性部材130をさらに示す。弾性部材130は、たとえば、天然ゴム材料もしくは合成ゴム材料、ポリウレタン系エラストマー、シリコーン材料、および/または1つもしくは複数の他のエラストマー材料からも作製されてよいが、部材130は、フォーム材料または他のゴム状材料などのさまざまなタイプの弾性ポリマーを含む、異なるタイプの弾性材料から作製されてもよい。いくつかのより具体的な例では、弾性部材130は熱可塑性(TPE)加硫物であってよい。さらに、弾性部材130は、弾性部材130が、加えられた力に応じて圧縮され、その力が取り除かれたまたは十分に弛緩されたとき、その前の(圧縮されていない)状態に戻るように、弾性を有してよい。弾性部材130は、何らかのエネルギー損失(およびしたがって、マスダンピング効果)が、圧縮されていない状態への復帰に関連付けられるように、粘弾性も有してよい。弾性部材130は、フェース部材110および/または後方ウェイト部材120の材料の強度/硬度よりも低い強度または硬度を有してよく、これらよりも十分に低くてよい。いくつかの例では、弾性部材130は、約70ショアAから約70ショアDの硬度を有してよい。硬度は、たとえば、ショアデュロメータを用いてASTM D−2240または別の適用可能な検査を使用することによって決定されてよい。
図1A〜図1Gの図示の例では、後方ウェイト部材120は、フェース部材110とゴルフ・ボールとの間の、たとえば打球フェース104に対する、インパクトから、伝達されたエネルギーおよび/または運動量を受け取るように、ならびに弾性部材130を選択的に圧縮するように構成される。後方ウェイト部材120は、少なくとも部分的に、フェース部材110の材料よりも重いおよび/またはより密度の高い材料から作製されてよく、後方ウェイト部材120は、ヘッド100の全重量の約30〜90%(およびいくつかの例では、ヘッド100の全重量の約40%から約75%)を占めてよい。後方ウェイト部材120は、後方ウェイト部材120とフェース部材110との間での弾性部材130のこの選択的圧縮を可能にするいくつかの異なる構成および/または向きにおいて、フェース部材110に接続されてよい。いくつかのそのような構成が以下で説明され、図に示されている。
より具体的には、この例示的な構造100における後方ウェイト部材120は、フェース部材110の隆起したリブ要素112が後方ウェイト部材120(たとえば、周辺部ウェイト106における前面)を(直接的または間接的に)支持または係合するように、フェース部材110と係合される。したがって、隆起したリブ要素112は、図1A〜図1Gに示すように、後方を向き、後方ウェイト部材120に面する。クラブ・ヘッド100のさまざまな部品は、隆起したリブ要素112がフェース部材110と後方ウェイト部材120の両方と固定的に係合して、これらの構成要素間の係合のポイントまたはラインを形成するように、互いに係合されてよい。この係合のポイントまたはラインにおいて、インパクト時に発生する圧縮は、弾性部材130の周囲または近くの弾性材料内よりも少なくなる。隆起したリブ112に沿ったフェース部材110と後方ウェイト部材120との間の接触は、少なくともフェース周辺部のまわりで、および/またはクラブ・ヘッド構造100全体内での、フェース部材110と後方ウェイト部材120との間の唯一の直接的な接触のポイントまたはラインであってよい。弾性部材130は、フェース部材110を後方ウェイト部材120から隔離してよい(および、フェース部材110の後面110rとウェイト部材120の前面120fとの間に全体的にあってよい)。
隆起したリブ112に沿った(たとえば、少なくとも周辺部ウェイト区域106における)フェース部材110と後方ウェイト部材120との間の係合は、ボールのライン沿いのその点を打ったときのフェース部材からウェイト部材へのより効率的な衝突エネルギー分布を可能にする、比較的低い圧縮のポイントまたはラインを形成するように構成および向けられてよい。たとえば、図1A〜図1Gに示される構造では、隆起したリブ112は、フェース部材110と後方ウェイト部材120との間に、1つまたは複数の固定的な係合のライン(たとえば、周辺部ウェイト区域106のヒール側およびトウ側の各々におけるライン・セグメント)を形成する。これらの固定的な係合のライン・セグメントは、クラブ・ヘッド100のヒール−トウ方向に延びる1つまたは複数のラインに沿って延び、弾性部材130は、少なくとも隆起したリブ112における接触の1つまたは複数のライン・セグメントより上および下で、フェース部材110を後方ウェイト部材120から分離する。本明細書でこの文脈において使用される「固定的な係合」という用語は、必ずしも固定または取り付けを暗示するとは限らず、その代わりに、互いと係合する面はより固定的であり、すなわち可撓性および/または圧縮可能性が低くなり、したがって、打球ならびに/またはエネルギーおよび/もしくは運動量の伝達中に固定的に挙動することを意味する。たとえば、図1A〜図1Gに示される隆起したリブ112は、非固定当接を通してフェース部材110を後方ウェイト部材120と固定的に係合させてよい(および、フェース部材110および/または後方ウェイト部材120の各々は、たとえば、セメントまたは接着剤、他の溶着技法、機械的コネクタなどを使用して、弾性部材130と固定式に係合されてよい)。このようにして、隆起したリブ112より上および下の区域において、フェース部材110は、弾性部材130を介したそれらのあまり固定的でない接続を介して後方ウェイト部材120に「圧縮可能に結合される」と考えられてよい。
他の位置および/または向きが可能であるが、隆起したリブ112は、クラブ・ヘッド100の打球フェース104上に形成された1つまたは複数の溝ライン114と略平行なラインに沿って延びるように位置決めおよび向けられてよい。溝ライン114は、ゴルフのUSGAルールおよび/またはR&Aルール要件に準拠した溝を含む、当技術分野で知られており使用されている従来の溝であってよい。また、クラブ・ヘッド100に対する隆起したリブ112の垂直方向の場所は変化してよいが、本発明のいくつかの例では、隆起したリブ112は、隆起したリブ112の後方ピーク112Pが、打球フェース104からクラブ・ヘッドの重心(たとえば、図1Bおよび図1GにおけるポイントG)を通って後方に垂直に延びるライン上に位置されるように、位置される。このタイプの隆起したリブ要素112と弾性部材130の係合をフェース部材110と後方ウェイト部材120との間に含むゴルフ・クラブのセットでは、隆起したリブ要素112の場所および/または向きは、アイアンのセットではクラブによって異なってよい(たとえば、いくつかのアイアン上では、他のアイアンと比べて垂直方向に高く位置される)。垂直方向における隆起したリブ112の場所および/または向きの潜在的な変形形態の例は、図1Hにおいて矢印によって示されており、角度方向における場所および/または向きの潜在的な変形形態の例は、図1Hにおいて破線ペア112aと点線/一点鎖線ペア112bを比較することによって示される。図1Iにおける破線ペア112cおよび点線/一点鎖線ペア112dによって示される曲線形の隆起したリブ向きなどの、他の場所、角度の変形形態、および湾曲した変形形態も可能である。曲線頂点の高さまたは深さ、曲線頂点のトウ−ヒール場所、曲線頂点の数、フェース場所に対する湾曲したリブ112c、112dの向きなどにおける変形形態を含む、湾曲した隆起したリブ112c、112dにおける多くの変形形態は、本発明から逸脱することなく利用され得る。リブまたは他の係合部材は、クラブ・ヘッド内に圧縮率の減少されたライン(まっすぐまたは湾曲した)を形成する(係合部材112のまわりの区域は、弾性部材130および/または係合部材112から離れた区域よりも圧縮可能でないので)。
図1A〜図1Gの図示の例では、2つの弾性部材130、すなわち隆起したリブ要素112のピーク112Pより上の弾性部材130およびピーク112Pより下の弾性部材130が設けられている。このようにして、ピーク112P(および任意選択で、むしろ隆起したリブ)は、クラブ・ヘッド100の後方空洞108の中に見えてもよい。図1Aおよび図1Bに注目されたい(リブ要素112の少なくともいくらかが弾性部材130によって覆われることがあるので、隆起したリブ112の全体的な場所は、図1Bでは破線で示されている)。以下でより詳細に説明するように、他の選択肢が可能である。
前述のように、弾性部材130が、ボールを打つ力に応じて圧縮され、圧縮に続いて、その前の(圧縮されていない)状態に戻ることができるように、弾性部材130は、少なくともある程度の弾性を有する材料から作製されてよい。弾性部材130が、フェース部材110と後方ウェイト部材120との間に、少なくとも隆起したリブ要素112より上および下で挿入されると、ボールのインパクト中、特にボールがフェース104の、リブ要素112よりも上または下の「中心を外れた」場所を叩いたとき、エネルギーおよび/または運動量が、後方ウェイト部材120とフェース部材110との間で伝達可能である。さらに、後方ウェイト部材120は、ボールの打撃フェース104のインパクト時にフェース部材110のたわみに抵抗するようにも構成されてよい。弾性部材130は、フェース部材110とボールとの接触後に何度も、圧縮され、その圧縮されていない状態に、またはその圧縮されていない状態を超えて、戻ってよい。各圧縮−復元サイクルは一般に、適用可能な場合、マスダンピング効果をもたらす弾性材料内でのヒステリシス損の結果として、前のサイクルよりも短くてよい。
より具体的には、ボールの中心を外れて叩いたとき(たとえば、ボールがフェース104の隆起したリブ要素112の垂直方向の場所より上または下を叩いたとき)、ボールとフェース部材110との接触によって、弾性部材130上の隆起したリブ要素112よりも下の接触の場所に圧縮力が加えられる。後方ウェイト部材120およびフェース部材110は、その垂直方向の場所で互いと直接的に係合されない(むしろ、弾性部材130はこれらの構成要素間にある)ので、弾性部材130の圧縮は、打球のエネルギーの一部を吸収するが、後方ウェイト部材120は、どちらかというと、スイングの力からの、その本来のエネルギーおよび運動量を維持する。これは、ボールのリブ要素112の真正面の場所を叩いたときにより「ダイレクトな」感触を提供しながら、中心を外れて打ったときのクラブの感触に良い効果をもたらす。
図1A〜図1Gの例では、隆起したリブ要素112は丸い部材の形をしており、後方本体部材120は、リブ部材112の丸い部分のピーク112Pと直接的に接触する。ボールが、フェースのピーク112Pと直接的に一致する場所(たとえば、図1Gに示すような、フェース104上のポイントP)を叩いたとき、プレーヤーは、ボールとの緊密な接触を「感じる」。
隆起したリブ要素112は、他の形状または構成も取ってよい。たとえば、図2Aに示すように、この例の隆起したリブ要素212は、図1A〜図1Gの丸い例と比較して、より尖ったピーク形状212P(たとえば、三角形断面形状)を有する。一方、図2Bの例では、隆起したリブ要素222は、やや平坦な面(たとえば、台形断面形状)を持つピーク222Pを有する。他の選択肢(図1Iに示す)として、必要に応じて、隆起したリブが、(図1A〜図1Gに示される直線状の長手方向経路ではなく)湾曲したまたは曲線形の長手方向の様式または経路で延びてよい。
図1G、図2A、および図2Bに示される例示的な構造では、隆起したリブ要素112、212、222の場所において、後方本体部材120とフェース部材110との直接的な接触(固定的な係合)がある。任意選択で、必要に応じて、これらの隆起したリブ要素112、212、222の各々は、最終ゴルフ・クラブ・ヘッド構造100の中で、たとえば空洞108内で、少なくとも部分的に露出されてよい(後方本体部材120が空洞108区域内に貫通穴を有し、弾性部材130がリブ要素112、212、222を完全には覆わない場合)。あるいは、必要に応じて、後方本体部材120によって画定された空洞108は、隆起したリブ要素112、212、222のピーク112P、212P、222Pが覆われ、後方本体部材120(たとえば、周辺部ウェイト部分106および/または後方本体部材120の前壁)を、隆起したリブ長のすべてまたは実質的にすべてに沿って直接的に係合するように、前壁を有してよい。
他の選択肢も可能である。たとえば、図3Aおよび図3Bに示すように、必要に応じて、弾性部材130は、隆起したリブ要素112、212のピーク112P、212Pを完全に覆う1つまたは複数の部分品として作製されてよい。必要に応じて、ピーク112P、212Pと後方本体部材120との間の弾性部材130の厚さは、たとえば、インパクト時の弾性部材130の圧縮の量を微調整するために、比較的薄い(たとえば、厚さが5mm未満、いくつかの例では3mm未満であるが、一般に、約1mmよりも厚い)。別の選択肢または代替形態として、必要に応じて、弾性部材130を形成するために使用される材料の硬度は、インパクト時の圧縮の量およびマスダンピングを、所与の厚さを求めて微調整するために変化されてよい。さらに、ピーク112P、212Pの場所に近接して、および/またはピーク112P、212Pの近くで、弾性部材の材料は、ピーク112P、212Pに近接したインパクトのための弾性部材130の圧縮の量を徐々に変化させるように、より高い硬度を備えてよい。別の例では、弾性部材130の材料は、リブ要素112、212および/またはピーク112P、212Pから離れる方向に硬度勾配を有してもよい。同じまたは類似の弾性部材130構造(ピーク222Pおよびリブ222を完全に覆う)も、図2Bに示される例示的な構造において使用されてよい。
他のクラブ・ヘッド構造では、空洞108内の面108aは、フェース部材110の後面110rを構成してよい。そのような構造では、弾性部材130は、開いた中央穴を有する材料のリングを構成または形成してよく、材料のリングは、後方ウェイト部材120の周辺部ウェイト部分106と打球フェース部材110の後面110rの周辺部との間にある。
また、上記で説明した例示的な構造では、隆起したリブ部材がフェース部材110の後面110r上に設けられる。これも要件ではない。たとえば、図4A〜図4Cに示すように、いくつかの例示的な構造では、隆起したリブ412が後方ウェイト部材420の前方面420f上に設けられる。これらの隆起したリブ412のピーク412Pは、次いで、上記で説明したのと同様に、フェース部材110の後面110rを係合することができる。図示されていないが、隆起したリブ412およびピーク412Pを有する420のような後方ウェイト部材も、図3Aおよび図3Bに示される構造のような構造において使用可能である(弾性部材130の薄い層は、ピーク412Pと打球フェース部材110の後面110rとの間に位置される)。
上記で説明した実施形態では、隆起したリブ要素(たとえば、112、212、222、412)は、フェース部材またはウェイト部材との一体部品として示されているが、これは要件ではない。むしろ、必要に応じて、上記で説明した例示的な構造(および/または以下でより詳細に説明する構造)のいずれにおいても、隆起したリブ要素(たとえば、鋭利な縁の付いたリブ、丸い縁の付いたリブ、円錐など)は、打球フェース部材110および/またはウェイト部材120、420とは別個の部品として形成されてよく、この別個の部品は、打球フェース部材110および/またはウェイト部材120、420と係合されてよい。別個の部品として形成されたとき、隆起したリブの別個の部品の材料は、少なくとも弾性部材130の材料よりも剛性であってよい。この別個の隆起したリブ要素112は、溶接または他の溶着技法によって、接着剤またはセメントによって、1つまたは複数の機械的コネクタ(たとえば、ねじ、ボルドなど)によって、など)、フェース部材110および/またはウェイト部材120、420と係合されてよい。さらに他の選択肢として、隆起したリブ要素112の部品は、(たとえば、接着剤またはセメントによって、1つまたは複数の機械的コネクタ(たとえば、ねじ、ボルトなど)によって、など)弾性部材130と係合されてよい。隆起したリブ要素112は、たとえばコモールディング(co−molding)などによって弾性部材130、フェース部材110、および/またはウェイト部材120、420と係合されたポリマー材料であってもよい。
図1A〜図1Gに示される例示的な構造100では、打球フェース部材110の後面110rを越えて、打球フェース部材110のヒール縁部からトウ縁部まで連続的に完全に延びるリブ部材112が示されている。他の選択肢も可能である。たとえば、図5に示される例示的なゴルフ・クラブ・ヘッド構造500では、後方ウェイト部材520は、2つの短いリブ部材と固定的に係合される。一方の短いリブ部材512hは、周辺部ウェイト部材106のヒール側106hに設けられ、他方の短いリブ部材512tは、周辺部ウェイト部材106のトウ側106tに設けられる。2つの短いリブ部材(たとえば、512h、512t)のこのタイプの配置は、(たとえば、図5の面108aが弾性部材130の後面および/または打球フェース110の後面110rを示す場合)後方ウェイト部材520が空洞区域108内に貫通穴を有するクラブ・ヘッド構造に好適であることがある。この構造500では、必要に応じて、弾性部材130は、後方ウェイト部材520の周辺部ウェイト区域106のみの下にあるリング(または2つの半分のリング)を形成してよい(たとえば、弾性部材130は、貫通穴を有するリングの形であってよく、2つの半分のリングの弾性部材が設けられてよい(1つは上に、1つは下部に)、など)。
2つの短いリブ部材512hおよび512tを有する図5の構成は、上記で説明したならびに/または図1A〜図1G、図2A、図2B、図3A、図3B、および/もしくは図4A〜図4Cに示される構造および/または変形形態においてを含む、上記で説明した構造および/または変形形態のいずれにおいても使用されてよい。
図6は、(たとえば、上記で図5の例示的な構造500に関して説明したように)後方ウェイト部材620の周辺部ウェイト部材106のヒール側106hおよびトウ側106tそれぞれに位置されたヒール・リブ部材612hとトウ・リブ部材612tとを含む複数の短いリブ部材を有する別の例示的なクラブ・ヘッド構造600を示す。しかしながら、この例示的な構造600は、クラブ・ヘッド構造600の中央区域に設けられた第3の短いリブ部材612cをさらに含む。この例示的な後方ウェイト部材620は、(たとえば、ヒール周辺部ウェイト区域106hにおいて、トウ周辺部ウェイト区域106tにおいて、および後方ウェイト部材620の前側フェース620fにおいて)これらの3つの短いリブ部材612h、612c、および612tに固定的に係合される。3つの短いリブ部材(たとえば、612h、612c、612t)のこのタイプの配置は、後方ウェイト部材620が、少なくとも中央の短いリブ部材612cを固定的に係合する場所に前方面620fを有するクラブ・ヘッド構造に好適であることがある。同じく、この構造600では、必要に応じて、弾性部材130は、後方ウェイト部材620の周辺部ウェイト区域106のみの下にあるリング(または2つの半分のリング)を形成してよい(たとえば、弾性部材130は、貫通穴を有するリング、2つの半分のリング(1つは上に、1つは下部に)などの形であってよい)。
他の向きおよび配置が可能であるが、この図示の例では、中央の短いリブ部材612cは一般的に、ヒール・リブ部材612hとトウ・リブ部材612tを接続するラインに沿ってある。あるいは、必要に応じて、中央の短いリブ部材612cは、図6に示される略直線配置から垂直方向に上または下にシフトされてよい。また、中央の短いリブ部材612cは、後方空洞区域108の任意の所望の部分または割合(たとえば、リブ612hと612tとの間の距離の0.5%から99.5%、いくつかの例では、その距離の10%から90%、その距離の15%から60%、さらにはその距離の20%から40%)にわたって延びてよい。別の選択肢として、必要に応じて、後方ウェイト部材620とフェース部材110は、3つの図示の短いリブ部材612h、612c、612tよりも多くにおいて固定的に係合されてよい(たとえば、第4の短いリブ部材、第5の短いリブ部材以上の短いリブ部材は、必要に応じて、任意選択で同じおおむね線状の配置に沿って、または何らかの他の所望の配置で、設けられてよい)。
3つ(以上)の短いリブ部材612h、612c、および612tを有する図6の構成は、上記で説明したならびに/または図1A〜図1G、図2A、図2B、図3A、図3B、および/もしくは図4A〜図4Cに示される構造および/または変形形態のいずれかにおいてを含む、上記で説明した構造および/または変形形態のいずれにおいても使用されてよい。
複数のリブ要素が設けられる図5および図6の例では、リブ要素は、おおむね線状に位置合わせされたように(たとえば、リブ512hおよび512tが実質的に直線上にあるように、ならびにリブ612h、612c、および612tが実質的に直線上にあるように)配置される。他の配置も可能である。たとえば、図7は、図5に示されるリブ部材512h、512tと同様にヒール周辺部ウェイト区域106hおよびトウ周辺部ウェイト区域106tにおいて2つの短いリブ要素712hおよび712t上に装着された後方ウェイト部材720を有するクラブ・ヘッド構造700を示すが、図7の構造700では、短いリブ要素712hと712tは、実質的に直線上に位置合わせされない。リブ要素712hおよび712tは、互いに対して任意の所望の角度、垂直方向の離隔距離、および/または向きで設けられてよく、所定の湾曲したライン上に(たとえば、円、楕円、放物線などの弧の上に)あってよく、ならびに/または比較的な位置決めおよび/もしくは向きの間に所定の幾何学的関係がなくてもよい。必要に応じて、(たとえば、図6の例示的な構造600内に示される1つまたは複数の中間リブまたは中央リブ612cのような)1つまたは複数のさらなるリブ要素が図7の構造700内に設けられてよい。1つまたは複数の中間リブまたは中央リブが存在するとき、それらは、ヒール・リブ712h、トウ・リブ712tのうちの1つまたは複数および/または互いに関して共通するライン、曲線、弧、または他の配置上にあってもなくてもよい。
2つ(以上)の短いリブ部材712hおよび712tを有する図7の構成は、上記で説明したならびに/または図1A〜図1G、図2A、図2B、図3A、図3B、および/もしくは図4A〜図4Cに示される構造および/または変形形態のいずれかにおいてを含む、上記で説明した構造および/または変形形態のいずれにおいても使用されてよい。
図8Aおよび図8Bは、本発明の少なくともいくつかの態様による1つの例示的なゴルフ・クラブ・ヘッド構造800およびそれを作製する方法を示す。図8Aは、完成したゴルフ・クラブ・ヘッド製品800のトウの図を示し、図8Bは、その例示的な部品およびそれを構築する方法を(たとえば、分解組立図として)示す。これらの図に示すように、ゴルフ・クラブ・ヘッド800は後方ウェイト部材820を含み、後方ウェイト部材820は、この図示の例では、ゴルフ・クラブ・シャフト(図示せず)を係合するためのホーゼル部材802と一体に形成される、またはこれに取り付けられる。後方ウェイト部材820は、キャビティ・バック/ペリメーター・ウェイティング搭載構造806またはたとえば上記で図1Aから図7に関連して説明したさまざまなタイプの他の所望のウェイト部材構造を構成してよい。
この例では、ホーゼル区域802は、クラブ・ヘッド800が組み立てられたとき弾性部材830および/またはフェース部材810のヒール側が装着され得る、クラブ・ヘッド構造800のヒール壁802aを画定する。さらに、後方ウェイト部材820の周辺部ウェイト部分806の前面820f(および任意選択で、後方ウェイト部材820の前面820f全体)は、少なくとも弾性部材830が装着される面も形成する。単にヒール側壁802aの代替として、必要に応じて、ホーゼル部材802および/または後方ウェイト部材820は、2つ以上の周辺部壁、または任意選択で周辺部チャンバ全体を画定し、その中で、弾性部材830および/またはフェース部材810が装着可能である。別の選択肢として、必要に応じて、ホーゼル区域802におけるさらなるヒール壁802aは省略可能である(ならびに、弾性部材830およびフェース部材810は、後方ウェイト部材820の前方フェース820f上にのみ装着されてよい)。
図8Aおよび図8Bに示すように、打球フェース部材810の後面810rは、少なくとも1つの隆起したリブ要素812を含む。この図示の例では、隆起したリブ要素812は、弾性部材830の前面830f内に形成された溝830g内に嵌合する。あるいは、弾性部材830は、別個の部品から作製されてよく、ならびに/または隆起したリブ812が(たとえば、少なくとも、周辺部ウェイト806のヒール部分およびトウ部分に関連付けられた場所において)後方ウェイト部材820の前面820fの少なくとも何らかの部分を固定的におよび/もしくは直接的に係合することができるように、間隙を含んでよい。打球フェース810、後方ウェイト部材820、隆起したリブ812、および/または弾性部材830は、上記で図1Aから図7に関して説明した形、選択肢、および/または代替形態のいずれを取ってもよい。
クラブ・ヘッド800を製作するために、(a)打球フェース部分810は弾性部材830と係合されてよい(たとえば、面810rは、もしあれば、たとえば、接着剤またはセメント、他の溶着技法、機械的コネクタなどのうちの1つまたは複数を使用して、溝830gへと延びるリブ812を有する面830fと係合されてよい)、および(b)弾性部材830は後方本体部材820と係合されてよい(たとえば、後面830rは、たとえば、接着剤またはセメント、他の溶着技法、機械的コネクタなどのうちの1つまたは複数を使用して、面820fと係合されてよい)。これらの係合ステップは、任意の所望の順序で行われてよい(たとえば、最初に、弾性部材830がフェース部材810と係合されてよく、次いで、このユニットが後方本体部材820と係合されてよい、または最初に、弾性部材830が後方本体部材820と係合されてよく、次いで、このユニットがフェース部材810と係合されてよい)、または係合ステップは同時に行われてもよい。フェース部材810および/または弾性部材830は、必要に応じて、ヒール壁802aが存在する場合、(たとえば、接着剤またはセメント、他の溶着技法、機械的コネクタなどのうちの1つまたは複数を使用して)後方本体部材820/ホーゼル部材802のヒール側壁802aとも係合されてよい。
図8Aおよび図8Bに示される例示的な構造800および方法では、ホーゼル部材802は、後方ウェイト部材820と係合される、これと一体に形成される、および/またはこれに別の方法で接続される。他の選択肢も可能である。たとえば、図9は、本発明の少なくともいくつかの態様による別の例示的なゴルフ・クラブ・ヘッド構造900およびそれを作製する方法を示す。この図に示すように、ゴルフ・クラブ・ヘッド900は後方ウェイト部材920を含み、後方ウェイト部材920は、この図示の例では、ゴルフ・クラブ・シャフト(図示せず)を係合するためのホーゼル部材902と別個に形成される。むしろ、この図示の例のホーゼル部材902は、フェース部材910と係合される、これと一体に形成される、またはこれに別の方法で接続される。後方ウェイト部材920は、キャビティ・バック/ペリメーター・ウェイティング搭載構造906またはたとえば上記で図1Aから図7に関連して説明したさまざまなタイプの他の所望のタイプのウェイト部材を構成してよい。
この例には示されていないが、ホーゼル区域902は、クラブ・ヘッド900が組み立てられるとき弾性部材830および/または後方ウェイト部材920のヒール側が装着され得るクラブ・ヘッド構造900のヒール壁(たとえば、上記で説明したヒール壁802aに類似している)を画定してよい。追加または代替として、後方ウェイト部材920の周辺部ウェイト部分906の前面920f(および任意選択で、後方ウェイト部材920の前面920f全体)は、少なくとも弾性部材930が装着される面を形成する。単にヒール側壁の代替として、必要に応じて、ホーゼル部材902および/または前面部材910は、2つ以上の周辺部壁、または任意選択で周辺部チャンバ全体を画定し、その中で、弾性部材930および/または後方ウェイト部材920が装着可能である。しかしながら、この図示の例では、ホーゼル区域902におけるさらなるヒール壁は省略され、弾性部材930および後方ウェイト部材920がフェース部材910の後面910rに装着される。
図9に示すように、打球フェース部材910の後面910rは、少なくとも1つの隆起したリブ要素912を含む。この図示の例では、隆起したリブ要素912は、弾性部材930の前面930f内に形成された溝930g内に嵌合する。あるいは、弾性部材930は、別個の部品から作製されてよく、ならびに/または隆起したリブ912が(たとえば、少なくとも、周辺部ウェイト906のヒール部分およびトウ部分に関連付けられた場所において)後方ウェイト部材920の前面920fの少なくとも何らかの部分を固定的におよび/もしくは直接的に係合することができるように、間隙を含んでよい。打球フェース部材910、後方ウェイト部材920、隆起したリブ912、および/または弾性部材930は、上記で図1Aから図7に関して説明した形、選択肢、および/または代替形態のいずれを取ってもよい。
クラブ・ヘッド900を製作するために、(a)打球フェース部分910は弾性部材930と係合されてよい(たとえば、面910rは、もしあれば、たとえば、接着剤またはセメント、他の溶着技法、機械的コネクタなどのうちの1つまたは複数を使用して、溝930gへと延びるリブ912を有する面930fと係合されてよい)、および(b)弾性部材930は後方本体部材920と係合されてよい(たとえば、後面930rは、たとえば、接着剤またはセメント、他の溶着技法、機械的コネクタなどのうちの1つまたは複数を使用して、面920fと係合されてよい)。これらの係合ステップは、任意の所望の順序で行われてよい(たとえば、最初に、弾性部材930がフェース部材910と係合されてよく、次いで、このユニットが後方本体部材920と係合されてよい、または最初に、弾性部材930が後方本体部材920と係合されてよく、次いで、このユニットがフェース部材910と係合されてよい)、またはこれらの係合ステップは同時に行われてもよい。後方本体部材920および/または弾性部材930は、ヒール側壁が存在する場合、(たとえば、接着剤またはセメント、他の溶着技法、機械的コネクタなどのうちの1つまたは複数を使用して)前面部材910/ホーゼル部材902のヒール側壁とも係合されてよい。
図1Aから図9の例示的な構造は、1つまたは複数の弾性部材の外側周辺部縁部または側面が少なくともクラブ・ヘッド構造の上部縁部、トウ縁部、およびソール縁部のまわりで見え、連続的に延びる(および任意選択で、クラブ・ヘッド周辺部構造のまわりで見え、360°連続的に延びる)ゴルフ・クラブ・ヘッド構造を示す。少なくともいくつかの例では、後方ウェイト部材は、弾性要素によって、すべての場所において打球フェース部材に間接的に(隆起したリブ・ピーク場所において潜在的に、を除いて)取り付けられる。隆起したリブ場所においてすら、後方ウェイト部材およびフェース部材は単に互いに当接してよく、必ずしも互いに永久的に固定されるとは限らない(たとえば、必ずしも溶接、溶着技法、接着剤またはセメント、機械的コネクタなどによって固定されるとは限らない)。他の特徴も可能であるが、本発明の少なくともいくつかの態様による少なくともいくつかの例示的な構造は、上記で説明した特徴を有してよい。
また、これらの図示の例示的な構造では、隆起したリブ要素は、たとえば、少なくともボールが隆起したリブ要素よりも上および/または下で打球フェースを叩くと上記で説明したマスダンピングがアクティブ化されるように、おおむねヒール−トウ方向に延びる。他の選択肢も可能である。
たとえば、リブ・タイプ構造ではなく、後方ウェイト部材は、1つまたは複数の「ポイント」場所においてフェース部材と接触してよく、および/またはこれに固定されてよく、1つまたは複数の弾性部材は、1つまたは複数の「ポイント」係合場所のまわりに位置される。いくつかのより具体的な例では、隆起したリブ構造ではなく、後方ウェイト部材の前面および/またはフェース部材の後面が、他の構成要素の面に近い場所と接触するおよび/または別の方法でこれまで延びる1つまたは複数の隆起した接続ポイント(たとえば、ドーム、ピラミッド、上部の平たいピラミッド、または類似の特徴)を含んでよい。隆起した接続ポイントは、(たとえば、図示され上記で図1A〜図1G、図2A、図2B、および図4A〜図4Cに関連して説明した直接的な接続のように)後方本体部材とフェース部材との間に直接的な接触をもたらしてよく、または弾性部材の層が、(たとえば、図示された上記で図3Aおよび図3Bに関連して説明した間接的な接続のように)隆起した接続ポイントにおいて後方本体部材とフェース部材との間にあってよい。
図10A〜図13はそれぞれ、これらの「ポイント」タイプ係合場所1002のうちの1つ、2つ、3つ、3つ、および4つを有するクラブ・ヘッド構造1000、1100、1150、1200、1300の例を示す。他の接続構造も可能であるが、場所1002におけるポイント・タイプ係合は、たとえば、米国特許出願公報第2013/0137533A1号の図26〜図33に示されるタイプの隆起した接続ポイント構造(たとえば、その中の段落[0152]〜[0160]に記載する構造を含む)を有してよい。米国特許出願公報第2013/0137533A1号は、参照によりその全体が本明細書に組み込まれる。接続ポイント構造は、ドーム構造、湾曲した構造、または丸い構造の形をした(たとえば、図1Gの要素112のような形をした断面の)断面形状、鋭利なピークまたはより尖ったピラミッド構造(たとえば、図2Aの要素212のような形をした断面の)、図2Aに似ているが(鋭利なポイントの代わりに)より丸いピークを有する形状、平坦なピークもしくはピラミッド形の(たとえば、図2Bの要素222のような形をした断面の)構造などを有してよい。
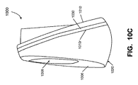
図10A〜図13の例示的なクラブ・ヘッド構造は、たとえば、1つまたは複数の弾性部材の外側周辺部縁部または側面が少なくともクラブ・ヘッド構造の上部縁部、トウ縁部、およびソール縁部のまわりで見え、連続的に延びる(および任意選択で、クラブ・ヘッド周辺部構造のまわりで見え、360°連続的に延びる)、上記で図1A〜図4、図8A、図8B、および図9に関連して説明したタイプの後方ウェイト部材、弾性部材、フェース部材、および/またはホーゼル部材を有してよい。したがって、少なくともいくつかの例では、必要に応じて、隆起したリブを含めて、上記でこれらの構造に関して説明した任意の変形形態を含む、図10Aおよび図11A〜図13のクラブ・ヘッド構造1000、1100、1150、1200、1300は、図1C〜図1G、図2A、図2B、図3A、図3B、図4A〜図4C、図8A、図8B、および図9に示される構造に類似した上部、ソール、トウ、およびヒールの構造および図を有してよい。あるいは、図10Bおよび図10Cに示すように、図10Aおよび図11A〜図13の構造では、前に説明した隆起したリブが省略されてよく、接続ポイント1002は、フェース部材1010および後方本体部材1020のための固定的な係合/圧縮不可能な接続構造として働いてよい(弾性材料1030は、これらの部品間にあり、および/または任意選択で接続ポイント1002のまわりに位置される)。接続ポイント1002は、クラブ・ヘッド1000、1100、1150、1200、1300内で接続ポイント1002付近のまわりに1つまたは複数の低圧縮率の区域を画定するように、(少なくとも、弾性部材の材料と比較して)硬く、耐久性がある、および/または実質的に圧縮不可能な材料から作製されてよい(圧縮率のより高い区域は、弾性材料の存在により接続ポイント1002から離れる)。
場所1002における接続ポイント構造は、フェース部材またはウェイト部材との一体部品として形成されてよいが、これは要件ではない。むしろ、必要に応じて、上記で説明した例示的な構造(および/または以下でより詳細に説明する構造)のいずれにおいても、場所1002における接続ポイント構造は、打球フェース部材および/またはウェイト部材とは別個の部品として形成されてよく、これらの別個の部品は、打球フェース部材および/またはウェイト部材と係合されてよい。別個の部品として形成されるとき、場所1002における接続ポイント構造の材料は、少なくとも弾性部材の材料よりも剛性であってよい。場所1002における接続ポイント構造は、溶接または他の溶着技法によって、接着剤またはセメントによって、1つまたは複数の機械的コネクタ(たとえば、ねじ、ボルドなど)によって、など)、フェース部材および/またはウェイト部材と係合されてよい。さらに他の選択肢として、場所1002における接続ポイント構造は、(たとえば、接着剤またはセメントによって、1つまたは複数の機械的コネクタ(たとえば、ねじ、ボルトなど)によって、など)弾性部材と係合される部品であってよい。場所1002における接続ポイント構造は、たとえばコモールディングなどによって弾性部材、フェース部材、および/またはウェイト部材と係合されたポリマー材料から構成されてもよい。
図10〜図13の例示的な構造1000、1100、1150、1200、1300のうちの少なくともいくつかでは、後方ウェイト部材1020は、後方ウェイト部材1020が(たとえば、上記で説明したさまざまな接続構造のうちの1つまたは複数を使用して)接続ポイント1002においてフェース部材と係合される前方壁1020fを含む。前方壁1020fは、周辺部ウェイト部材1006内部の区域内で空洞1008を完全に閉鎖してよいが、これは要件ではない。
図10A〜図10Cの例では、単一の接続ポイント1002が設けられる(が、上記で図8A〜図9に関して説明したように、後方本体部材1020は、たとえば、接着剤またはセメントによって、溶着技法などによって、弾性部材1030を通して打球フェース部材1010と間接的に係合されてよい)。他の場所も可能であるが、必要に応じて、接続ポイント場所1002は、接続ポイント1002のピークが、クラブ・ヘッド1000の重心G(たとえば、図1Gを参照されたい)を通過する打球フェースに垂直なライン上にあるような場所に、設けられてよい。このようにして、ボールをクラブ・ヘッドの重心に一致して叩くことによって生成された力は、接続ポイント1002によって最大の支持を受ける。ボールが、クラブ・ヘッド・フェースの中心を外して叩くと、弾性部材1030(接続ポイント1002を囲んでよい)は、上記で説明したように圧縮され、マスダンピングをアクティブ化する。
図10A〜図10Cの例示的な構造1000では、クラブ・ヘッド1000は、単一の接続ポイント1002を含み、弾性部材1030は、この接続ポイント1002のまわりに(たとえば、周辺部ウェイト1006区域のまわりの少なくともフェース部材1010と後方ウェイト部材1020の間に)ある。したがって、接続ポイント1002から任意の方向で中心を外したショットは、後方ウェイト部材1020の運動量によって開始された弾性部材1030のたわみの周期的な圧縮−圧縮解除から生じるマスダンピングの結果として、感触の向上を経験する。接続ポイント場所1002はまた、アイアンのセットのコースにわたって変化してもよく、たとえば、任意選択で異なる接続ポイント場所1002は、クラブ・ヘッドのロフトに応じてよい。接続ポイント1002は、その比較的圧縮不可能な性質(少なくとも、弾性材料のより高い圧縮率と比較して)のために、それ自体のまわりに低圧縮率の区域または領域1002cを画定する。
図11Aのクラブ・ヘッド構造1100(図10Bおよび図10Cの図のようなトウおよびヒールの図を有することがある)では、2つの接続ポイント1002が、周辺部ウェイト1006の空洞1008の中に設けられる。2つの接続ポイント1002は、特に2つの接続ポイント1002間のライン1102の部分1102aにおいて、フェース支持の増加したライン1102を画定してよく、このようにして、2つの接続ポイント1002は、上記で説明したおおむね線状の隆起したリブ構造と同様に機能してよい。より具体的には、2つの接続ポイント1002は、上記で説明した隆起したリブおよび/または低圧縮率の領域のように働く打球フェース部材1010の後ろに、支持領域(または低圧縮率1102cの領域)の両端を画定してよい。接続ポイント1002のペアは、比較的圧縮不可能な性質(少なくとも、弾性材料のより高い圧縮率と比較して)のために、それらのまわりに低圧縮率の細長い区域または領域1102cを画定する。ライン1102とおおむね位置合わせされた打撃時に、弾性部材1030の最小圧縮率が経験され、または弾性部材1030の圧縮率が経験されず、直接的な確かなフィーリングの打撃をもたらす。しかしながら、ライン1102よりも上および下での中心を外した打撃時には、後方ウェイト部材1020の運動量によって、上記で説明したように弾性部材1030が圧縮され、それによって、おおむね上記で線状リブに関して説明したようにマスダンピングがもたらされる。任意選択で、必要に応じて、図11Aの構造1100は、たとえば、上記で図5〜図7に関連して説明した構造のような、いくつかの隆起したリブ構造と組み合わせて使用されてよい。
図11Aに示される構造1100の少なくともいくつかの例では、ライン1102は、クラブ・ヘッド1100の打球フェース上の溝ラインと平行に延びるように向けられる。追加または代替として、必要に応じて、ライン1102は、ライン1102(および任意選択で、接続ポイント1002間のライン・セグメント1102a)および/またはそのライン・セグメント1102aの中間点)が、クラブ・ヘッド1100の重心Gを通って延びる、またはクラブ・ヘッド1100の重心Gを通過する打球フェースに垂直なラインと交差するように、向けられてよい。このようにして、クラブ・ヘッド1100の重心に一致してボールを叩くと、弾性部材1030の著しく少ない圧縮がもたらされ、より直接的な確かな感触が得られ、中心を外した打撃は、上記で説明したようにマスダンピングから生じる感触の向上をもたらす。クラブ・ヘッド1100上での接続ポイント場所1002および/または互いに対するそれらの相対的な向きは、アイアンのセットのコースにわたって変化してもよく、たとえば、任意選択で異なる接続ポイント場所1002および/または相対的な向きは、クラブ・ヘッド1100のロフトに応じてよい。
次に図11Bのクラブ・ヘッド構造1150を参照すると、別の選択肢として、必要に応じて、第3の(または、より多くの)接続ポイント1002が、ライン1102に沿って設けられてよい。もう1つの具体的な例として、必要に応じて、1つのさらなる接続ポイント1002が、クラブ・ヘッド1100の重心Gにおいてまたはそれと一致する場所において、ライン・セグメント1152a上に設けられてよい(たとえば、さらなる接続ポイント1002は、図11BにおいてGとマークされた場所において、ライン・セグメント1152a上に設けられる)。
図11Bのクラブ・ヘッド構造1150(図10Bおよび図10Cの図のようなトウおよびヒールの図を有することがある)では、3つの接続ポイント1002が、周辺部ウェイト1006の空洞1008の中に設けられる。この例の3つの接続ポイント1002は、特にクラブ・ヘッド1150のヒール端およびトウ端に最も近い接続ポイント1002間のライン1152の部分1152aにおいて、フェース支持の増加したライン1152を画定してよい。この例示的な構造1150では、3つの接続ポイント1002は、上記で説明したおおむね線状の隆起したリブ構造と同様に機能してよい。より具体的には、3つの接続ポイント1002は、上記で説明した隆起したリブおよび/または低圧縮率の領域のように働く打球フェース部材1010の後ろに、支持領域(または低圧縮率1152cの領域)を画定してよい。3つの接続ポイント1002は、比較的圧縮不可能な性質(少なくとも、弾性材料のより高い圧縮率と比較して)のために、それらのまわりに、およびそれらの間に、低圧縮率の細長い区域または領域1152cを画定する。ライン1152とおおむね位置合わせされた打撃時に、弾性部材1030の最小圧縮率が経験され、または弾性部材1030の圧縮率が経験されず、直接的な確かなフィーリングの打撃をもたらす。しかしながら、ライン1152よりも上および下での中心を外した打撃時には、後方ウェイト部材1020の運動量によって、上記で説明したように弾性部材1030が圧縮され、それによって、おおむね上記で線状リブに関して説明したようにマスダンピングがもたらされる。任意選択で、必要に応じて、図11Bの構造1150は、たとえば、上記で図5〜図7に関連して説明した構造のような、いくつかの隆起したリブ構造と組み合わせて使用されてよい。
図11Bに示される構造1150の少なくともいくつかの例では、ライン1152は、クラブ・ヘッド1100の打球フェース上の溝ラインと平行に延びるように向けられる。追加または代替として、必要に応じて、ライン1152は、ライン1152(および任意選択で、接続ポイント1002間のライン・セグメント1152a)および/またはそのライン・セグメント1152aの中間点)が、クラブ・ヘッド1150の重心Gを通って延びる、またはクラブ・ヘッド1150の重心Gを通過する打球フェースに垂直なラインと交差するように、向けられてよい。このようにして、クラブ・ヘッド1150の重心に一致してボールを叩くと、弾性部材1030の著しく少ない圧縮がもたらされ、より直接的な確かな感触が得られ、中心を外した打撃は、上記で説明したようにマスダンピングから生じる感触の向上をもたらす。クラブ・ヘッド1100上での接続ポイント場所1002および/または互いに対するそれらの相対的な向きは、アイアンのセットのコースにわたって変化してもよく、たとえば、任意選択で異なる接続ポイント場所1002および/または相対的な向きは、クラブ・ヘッド1150のロフトに応じてよい。
図12のクラブ・ヘッド構造1200(図10Bおよび図10Cに示される図のようなトウおよびヒールの図を有することがある)は、周辺部ウェイト1006の空洞1008の内部に3つの接続ポイント1002を含む。しかしながら、この図示の例では、3つの接続ポイント1002は三角形パターンで配置され、特に接続ポイント1002によって画定された周辺部1202a内の区域1202において、フェース支持の増加した(および圧縮率のより低い)区域1202cを画定してよい。しかしながら、図12に示すように、より低い圧縮率の区域1202cは、周辺部1202aのやや外部に延びてよい。必要に応じて、図12に示すように、接続ポイント1002は、クラブ・ヘッド1200の重心が、支持の増加した区域1202a内および/もしくは内側区域1202内に位置され、ならびに/または、後方におよび打球フェース部材1010に垂直に延び、クラブ・ヘッド1200の重心Gを通過するラインが、支持の増加した区域1202aおよび/もしくは内側区域1202を通過するように、互いに対して配置されてよい。任意選択で、いくつかの例示的な構造1200では、クラブ・ヘッド1200の重心Gは、周辺部1202a内の支持の増加した区域1202の地理的中心に位置されてよく、ならびに/または、後方におよび打球フェース部材1010に垂直に延び、クラブ・ヘッド1200の重心Gを通過するラインは、周辺部1202a内の支持の増加した区域1202の地理的中心を通過する。
この例示的なクラブ・ヘッド構造1200では、ボールを、支持の増加した区域1202a(および/または周辺部1202a内の区域1202)に一致して叩くと、ボールの、支持の増加した区域1202aおよび/または周辺部1202a内の区域1202の外を叩くよりも、著しく少ない弾性部材1030の圧縮が得られる。ボールの、支持の増加した区域1202aおよび/または周辺部1202a内の1202を叩いた場合、後方ウェイト部材1020の運動量によって、弾性部材1030が圧縮され、ユーザは、それによって、弾性部材1030のたわみの周期的な圧縮−圧縮解除から生じるマスダンピングの結果として、感触の向上を経験する。任意選択で、必要に応じて、図12の構造1200(ならびに、以下で説明する図13の構造1300)は、たとえば、図5〜図7の構造のような、いくつかの隆起したリブ構造と組み合わせて使用されてよい。
接続ポイント1002の場所および/または向き(ならびに、したがって、支持の増加した区域1202のサイズ、形状、および向き)は、そのような構造1200において大きく変化してよい。いくつかの例では、図12に示すように、接続ポイント1002のうちの2つが、三角形支持領域1202の下部ベース1202aおよび支持の増加した下部ラインを形成するように向けられてよい。この下部ベース1202aは、クラブ・ヘッド1200の打球フェース部材1010上の溝ラインと平行に延びるように向けられてよい。このようにして、ボールの、支持のこの下部ベース1202aの下を叩くと、上記で説明したように、マスダンピングから利益が得られる。クラブ・ヘッド1200上での接続ポイント場所1002および/または互いに対するそれらの相対的な向きは、アイアンのセットのコースにわたって変化してもよく、たとえば、任意選択で異なる接続ポイント場所1002および/または相対的な向きは、クラブ・ヘッドのロフトに応じてよい。
支持の増加した、他のタイプの区域を生じるために、他の形状および数の接続ポイント1002が設けられてよい。図13は、4つの接続ポイント1002が、支持の増加した/低圧縮率の4面の多角形区域1302cを形成する例を示す。他の例示的なクラブ・ヘッド構造では、支持の増加した、任意の所望の4面の(または、より多くの面の)多角形区域が設けられてよい。要件ではないが、必要に応じて、隣接する接続ポイント1002を接続し、内側の支持区域1302の周辺部1302aを形成するライン・セグメントのうちの少なくともいくつかは、クラブ・ヘッド1300の打球フェース上の溝ラインと平行に延びるように向けられてよい。また、必要に応じて、支持の増加した区域1302aおよび/または周辺部1302a内の内側区域1302は、クラブ・ヘッド1300の重心Gが支持の増加した区域1302内に位置されるように、ならびに/または後方におよび打球フェースに垂直に延び、クラブ・ヘッド1300の重心Gを通過するラインが、支持の増加した区域1302および/もしくは周辺部1302a内の内側区域1302を通過するように、位置されてよい。クラブ・ヘッド1300上での接続ポイント場所1002および/または互いに対するそれらの相対的な向きは、アイアンのセットのコースにわたって変化してもよく、たとえば、任意選択で異なる接続ポイント場所1002、異なる数の接続ポイント1002、および/または接続ポイント1002の相対的な向きは、クラブ・ヘッドのロフトに応じてよい。
上記で図10A〜図13において説明したさまざまな例では、接続ポイント1002は、フェース部材と後方ウェイト部材との間に低圧縮率区域を形成する別個の要素(または係合部材)である。これらの図示の例では、各接続ポイント構造1002は、フェース部材、後方ウェイト部材、および/または弾性部材のうちの少なくとも1つと一体に形成されたまたはこれに接続された別個の要素として示される。しかしながら、本発明から逸脱することなく、他の選択肢も可能である。たとえば、必要に応じて、接続ポイント1002のための2つ以上の構造は、たとえば材料のストリップまたはウェブによって接続された、単一の部品から形成されてよく、このマルチ接続ポイント・部品は、次いで、フェース部材、後方ウェイト部材、および/または弾性部材のうちの少なくとも1つと係合されてよい。単一のクラブ・ヘッドは、(a)1つまたは複数の個々にまたは一体に形成された接続ポイント1002と、(b)1つまたは複数のマルチ接続ポイント・部品の両方を含んでよい。
上述のように、少なくともいくつかの例によれば、弾性部材(たとえば、130、830、930、1030)の材料(たとえば、ポリウレタン(熱可塑性ポリウレタンおよび熱硬化性ポリウレタンを含む)またはエラストマー)の弾性率および/または硬度は、打球フェース部材(たとえば、110、810、910、1010)の材料、後方ウェイト部材(たとえば、120、420、520、620、720、820、920、1020)の材料、および/または係合部材(たとえば、112、212、222、412、512、612、712、812、912、1002)の材料のうちの1つまたは複数の(および任意選択で、それらの各々の)弾性率および/または硬度よりも著しく低い。いくつかの例では、係合部材(たとえば、112、212、222、412、512、612、712、812、912、1002)の材料の弾性率は、弾性部材(たとえば、130、830、930、1030)の材料の弾性率の少なくとも500倍である。上記で説明した打球フェース部材、後方ウェイト部材、および/または係合部材は、上記で説明したような(従来からゴルフ・クラブ・ヘッド構造において使用される材料を含む)、金属材料、金属合金材料、および/またはポリマー材料(たとえば、繊維強化プラスチック)から作製されてよい。
これらの弾性率(またはヤング率)に関して、打球フェース部材(たとえば、110、810、910、1010)の材料、後方ウェイト部材(たとえば、120、420、520、620、720、820、920、1020)の材料、および/または係合部材(たとえば、112、212、222、412、512、612、712、812、912、1002)の材料は、約15Gpaから約300GPaの範囲内の、いくつかの例では、約60Gpaから約225GPa、さらには約70Gpaから約200Gpaの範囲内の、ヤング率を有してよい。いくつかのより具体的な例として、6−4チタンは約110GPaのヤング率を有し、17−4ステンレス鋼は約195GPaのヤング率を有し、繊維強化プラスチック(FRP)または他の複合材料は、少なくとも50GPaのヤング率を有してよい。一方、弾性部材(たとえば、部材130、830、930、1030)材料(たとえば、ポリウレタン(熱可塑性ポリウレタンおよび熱硬化性ポリウレタンを含む)またはエラストマー)は、5000Mpa以下の、いくつかの例では、約500Mpaから約5000Mpa、さらには約1000Mpaから約4000MPaの範囲内の、ヤング率を有してよい。少なくともいくつかの例では、打球フェース部材の材料、後方ウェイト部材の材料、および/または係合部材の材料は、弾性部材材料のヤング率よりも少なくとも20倍高い、少なくとも50倍高い、少なくとも100倍高い、さらには少なくとも500x倍高いヤング率を有してよい。他の率および/または他の硬度を有する他の材料も使用されてよい。
結論
本発明について、本発明を実行する現在好まれているモードを含む具体的な例に関して詳細に説明してきたが、当業者ならば、上記で説明されたシステムおよび方法の数多くの変形形態および置き換えがあることを諒解するであろう。したがって、本発明の趣旨および範囲は、添付の特許請求の範囲に記載されている通り幅広く解釈されるべきである。
以下の項目は、国際出願時の特許請求の範囲に記載の要素である。
[項目1]
第1の硬度を有する第1の材料を含む打球フェース部材と、
第2の硬度を有する第2の材料を含む後方ウェイト部材と、
第3の硬度を有する第3の材料を含む少なくとも1つの弾性部材と、を備え、
前記ウェイト部材は前面を有し、前記フェース部材は後面を有し、
前記前面および前記後面は、互いに概して対向し、それらの間に空間を有し、
前記空間内に配置され、前記前面および前記後面のうちの少なくとも1つと接触する少なくとも1つの係合部材をさらに備え、
前記少なくとも1つの弾性部材が前記フェース部材および前記後方ウェイト部材よりも実質的に大きな圧縮率を示すように、前記第3の硬度は、前記第1の硬度および前記第2の硬度よりも小さく、
前記少なくとも1つの係合部材は、前記フェース部材と前記ウェイト部材との間で圧縮率を制限する少なくとも3つの分離された支持領域を前記空間内に画定し、
前記少なくとも3つの分離された支持領域は、低圧縮率の区域と、前記低圧縮率の区域よりも大きい圧縮率を有する高圧縮率の区域と、に前記空間を分割し、
前記弾性部材は、前記ウェイト部材と前記フェース部材との間に配置され、少なくとも前記高圧縮率の区域内に位置する、
アイアン・タイプ・ゴルフ・クラブ・ヘッド。
[項目2]
前記少なくとも1つの係合部材のうちの少なくとも1つは、前記フェース部材に固定的に接続される、請求項1に記載のアイアン・タイプ・ゴルフ・クラブ・ヘッド。
[項目3]
前記少なくとも1つの係合部材のうちの少なくとも1つは、前記ウェイト部材に固定的に接続される、請求項1に記載のアイアン・タイプ・ゴルフ・クラブ・ヘッド。
[項目4]
前記少なくとも1つの係合部材のうちの少なくとも1つは、前記フェース部材と一体に、前記フェース部材と同じ材料から形成される、請求項1に記載のアイアン・タイプ・ゴルフ・クラブ・ヘッド。
[項目5]
前記少なくとも1つの係合部材のうちの少なくとも1つは、前記ウェイト部材と一体に、前記ウェイト部材と同じ材料から形成される、請求項1に記載のアイアン・タイプ・ゴルフ・クラブ・ヘッド。
[項目6]
前記ウェイト部材は、前記弾性部材内に閉じ込められている、請求項1に記載のアイアン・タイプ・ゴルフ・クラブ・ヘッド。
[項目7]
前記弾性部材は、前記前面と前記後面の両方と接触する、請求項1に記載のアイアン・タイプ・ゴルフ・クラブ・ヘッド。
[項目8]
前記弾性部材は、前記前面と前記後面の両方に取り付けられる、請求項7に記載のアイアン・タイプ・ゴルフ・クラブ・ヘッド。
[項目9]
前記少なくとも1つの係合部材は、3つの接続ポイント支持部を構成し、
各接続ポイント支持部は、前記少なくとも3つの分離された支持領域のそれぞれを形成する、請求項1に記載のアイアン・タイプ・ゴルフ・クラブ・ヘッド。
[項目10]
前記3つの接続ポイント支持部は、直線状に配置される、請求項9に記載のアイアン・タイプ・ゴルフ・クラブ・ヘッド。
[項目11]
前記3つの接続ポイント支持部は、三角形状に配置される、請求項9に記載のアイアン・タイプ・ゴルフ・クラブ・ヘッド。
[項目12]
前記第3の材料の弾性率は、前記第1の材料および前記第2の材料の各々の弾性率よりも小さく、
前記第3の材料の前記弾性率は、前記3つの接続ポイント支持部を構成する材料の弾性率よりも小さい、請求項9に記載のアイアン・タイプ・ゴルフ・クラブ・ヘッド。
[項目13]
前記少なくとも1つの係合部材は、4つの接続ポイント支持部を構成し、
前記少なくとも3つの分離された支持領域は、4つの分離された支持領域を構成し、
各接続ポイント支持部は、前記4つの分離された支持領域のそれぞれを形成する、請求項1に記載のアイアン・タイプ・ゴルフ・クラブ・ヘッド。
[項目14]
前記4つの接続ポイント支持部は、多角形状に配置される、請求項13に記載のアイアン・タイプ・ゴルフ・クラブ・ヘッド。
[項目15]
前記第3の材料の弾性率は、前記第1の材料および前記第2の材料の各々の弾性率よりも小さく、
前記第3の材料の前記弾性率は、前記4つの接続ポイント支持部を構成する材料の弾性率よりも小さい、請求項13に記載のアイアン・タイプ・ゴルフ・クラブ・ヘッド。
[項目16]
前記フェース部材上にスコアラインを備え、
前記少なくとも3つの分離された支持領域は、前記スコアラインと実質的に平行な一直線上に実質的に配置される、請求項1に記載のアイアン・タイプ・ゴルフ・クラブ・ヘッド。
[項目17]
前記第3の材料の弾性率は、前記第1の材料および前記第2の材料の各々の弾性率よりも小さく、
前記第3の材料は、前記少なくとも3つの分離された支持領域よりも圧縮可能である、請求項1に記載のアイアン・タイプ・ゴルフ・クラブ・ヘッド。
[項目18]
第1の硬度を有する第1の材料を含む打球フェース部材と、
第2の硬度を有する第2の材料を含む後方ウェイト部材と、
第3の硬度を有する第3の材料を含む少なくとも1つの弾性部材と、を備え、
前記ウェイト部材は前面を有し、前記フェース部材は後面を有し、
前記前面および前記後面は、互いに概して対向し、それらの間に空間を有し、
前記空間内に配置され、前記前面および前記後面のうちの少なくとも1つと接触する少なくとも1つの係合部材をさらに備え、
前記少なくとも1つの弾性部材が前記フェース部材および前記後方ウェイト部材よりも実質的に大きな圧縮率を示すように、前記第3の硬度は、前記第1の硬度および前記第2の硬度よりも小さく、
前記少なくとも1つの係合部材は、前記フェース部材と前記ウェイト部材との間で圧縮率を制限する少なくとも2つの分離された支持領域を前記空間内に画定し、
前記少なくとも2つの分離された支持領域は、低圧縮率の区域と、前記低圧縮率の区域よりも大きい圧縮率を有する高圧縮率の区域と、に前記空間を分割し、
前記弾性部材は、前記ウェイト部材と前記フェース部材との間に配置され、少なくとも前記高圧縮率の区域内に位置する、
アイアン・タイプ・ゴルフ・クラブ・ヘッド。
[項目19]
前記少なくとも1つの係合部材は、2つの接続ポイント支持部を構成し、
各接続ポイント支持部は、前記少なくとも2つの分離された支持領域のそれぞれの支持領域を形成する、請求項18に記載のアイアン・タイプ・ゴルフ・クラブ・ヘッド。
[項目20]
前記第3の材料の弾性率は、前記第1の材料および前記第2の材料の各々の弾性率よりも小さく、
前記第3の材料の前記弾性率は、前記2つの接続ポイント支持部を構成する材料の弾性率よりも小さい、請求項19に記載のアイアン・タイプ・ゴルフ・クラブ・ヘッド。
[項目21]
前記フェース部材上にスコアラインを備え、
前記少なくとも2つの分離された支持領域は、前記スコアラインと実質的に平行な線に沿って配置される、請求項18に記載のアイアン・タイプ・ゴルフ・クラブ・ヘッド。
[項目22]
前記第3の材料の弾性率は、前記第1の材料および前記第2の材料の各々の弾性率よりも小さく、
前記第3の材料は、前記少なくとも2つの分離された支持領域よりも圧縮可能である、請求項18に記載のアイアン・タイプ・ゴルフ・クラブ・ヘッド。

Claims (20)

  1. アイアン・タイプ・ゴルフ・クラブ・ヘッドであって、
    第1の硬度を有する第1の材料を含む打フェース部材であって、後面を含む前記打撃フェース部材と、
    第2の硬度を有する第2の材料を含む後方ウェイト部材であって、前面を含む前記後方ウェイト部材と、を備え、
    前記後方ウェイト部材の前記前面および前記打撃フェース部材の前記後面は、互いにき合っており、それらの間に空間を画定しており、
    前記アイアン・タイプ・ゴルフ・クラブ・ヘッドは、
    第3の硬度を有する第3の材料を含む少なくとも1つの弾性部材であって、前記空間に位置している前記少なくとも1つの弾性部材と、
    前記空間内に配置され、前記前面および前記後面のうちの少なくとも1つと接触する少なくとも1つの係合部材と、をさらに備え、
    前記第3の硬度は、前記第1の硬度および前記第2の硬度よりも小さく、
    前記少なくとも1つの係合部材は、前記空間内で前記後面と前記前面との間の方向に延びて前記打撃フェース部材と前記後方ウェイト部材との間で前記空間の圧縮率を制限する少なくとも3つの分離された支持構造を画定し、
    前記少なくとも3つの分離された支持構造は、(a)前記少なくとも3つの分離された支持構造の付近にある低圧縮率の区域と、(b)前記少なくとも3つの分離された支持構造から離れて位置する高圧縮率の区域と、に前記空間を分割し、
    前記高圧縮率の区域は、前記低圧縮率の区域よりも高い圧縮率を有し、
    前記少なくとも3つの分離された支持構造は、前記ゴルフ・クラブ・ヘッドの重心が前記少なくとも3つの分離された支持構造によって画定される周辺部内に位置するように前記重心に対して配置されており、
    前記少なくとも1つの弾性部材は、前記後方ウェイト部材の前記前面と前記打撃フェース部材の前記後面との間の前記空間内に配置され、少なくとも前記高圧縮率の区域内に位置し、
    前記少なくとも1つの弾性部材は、前記高圧縮率の区域が前記打撃フェース部材に接触するゴルフ・ボールから力を受けるとき、前記高圧縮率の区域内で前記後面と前記前面との間の前記空間の圧縮率を許容するように圧縮可能である、
    アイアン・タイプ・ゴルフ・クラブ・ヘッド。
  2. 前記少なくとも1つの係合部材のうちの少なくとも1つは、前記フェース部材に固定的に接続される、請求項1に記載のアイアン・タイプ・ゴルフ・クラブ・ヘッド。
  3. 前記少なくとも1つの係合部材のうちの少なくとも1つは、前記ウェイト部材に固定的に接続される、請求項1または2に記載のアイアン・タイプ・ゴルフ・クラブ・ヘッド。
  4. 前記少なくとも1つの係合部材のうちの少なくとも1つは、前記フェース部材と一体に、前記フェース部材と同じ材料から形成される、請求項1から3のいずれか一項に記載のアイアン・タイプ・ゴルフ・クラブ・ヘッド。
  5. 前記少なくとも1つの係合部材のうちの少なくとも1つは、前記ウェイト部材と一体に、前記ウェイト部材と同じ材料から形成される、請求項1から4のいずれか一項に記載のアイアン・タイプ・ゴルフ・クラブ・ヘッド。
  6. 前記少なくとも1つの弾性部材の外側周辺部側面は、(a)目に見え、前記後面と前記前面との間に位置しており、(b)少なくとも前記アイアン・タイプ・ゴルフ・クラブ・ヘッドの上部縁部、トウ縁部、およびソール縁部の周りを連続的に延びる、請求項1から5のいずれか一項に記載のアイアン・タイプ・ゴルフ・クラブ・ヘッド。
  7. 前記少なくとも1つの弾性部材は、前記前面と前記後面の両方と接触する、請求項1から6のいずれか一項に記載のアイアン・タイプ・ゴルフ・クラブ・ヘッド。
  8. 前記少なくとも1つの弾性部材は、前記前面と前記後面の両方に取り付けられる、請求項7に記載のアイアン・タイプ・ゴルフ・クラブ・ヘッド。
  9. 前記少なくとも3つの分離された支持構造は、3つの分離された支持構造を構成し、
    前記3つの分離された支持構造は、前記打撃フェースの前記後面と前記後方ウェイト部材の前記前面との間で延びて前記後面と前記前面とを直接接続する、請求項1から8のいずれか一項に記載のアイアン・タイプ・ゴルフ・クラブ・ヘッド。
  10. 前記少なくとも3つの分離された支持構造は、3つの分離された支持構造を構成する、請求項1から8のいずれか一項に記載のアイアン・タイプ・ゴルフ・クラブ・ヘッド。
  11. 前記少なくとも3つの分離された支持構造は、少なくとも3つの分離された支持構造を構成し、
    前記少なくとも3つの分離された支持構造は、前記打撃フェースの前記後面と前記後方ウェイト部材の前記前面の間で延びて前記後面と前記前面とを直接接続する、請求項1から8のいずれか一項に記載のアイアン・タイプ・ゴルフ・クラブ・ヘッド。
  12. 前記第3の材料の弾性率は、前記第1の材料および前記第2の材料の各々の弾性率よりも小さく、
    前記第3の材料の前記弾性率は、前記3つの分離された支持構造を構成する材料の弾性率よりも小さい、請求項10に記載のアイアン・タイプ・ゴルフ・クラブ・ヘッド。
  13. 前記少なくとも3つの分離された支持構造は、4つの分離された支持構造を構成する、請求項1から8のいずれか一項に記載のアイアン・タイプ・ゴルフ・クラブ・ヘッド。
  14. 前記4つの分離された支持構造は、前記打撃フェースの前記後面と前記後方ウェイト部材の前記前面との間で延びて前記後面と前記前面とを直接接続する4つの分離された支持構造を構成する、請求項13に記載のアイアン・タイプ・ゴルフ・クラブ・ヘッド。
  15. 前記少なくとも1つの弾性部材は、前記少なくとも3つの分離された支持構造および前記低圧縮率の区域を囲むように配置されている、請求項1から14のいずれか一項に記載のアイアン・タイプ・ゴルフ・クラブ・ヘッド。
  16. アイアン・タイプ・ゴルフ・クラブ・ヘッドであって、
    第1の硬度を有する第1の材料を含む打撃フェース部材であって、後面を含む前記打撃フェース部材と、
    第2の硬度を有する第2の材料を含む後方ウェイト部材であって、前面を含む前記後方ウェイト部材と、を備え、
    前記後方ウェイト部材の前記前面および前記打撃フェース部材の前記後面は、互いにき合っており、それらの間に空間を画定しており、
    前記アイアン・タイプ・ゴルフ・クラブ・ヘッドは、
    第3の硬度を有する第3の材料を含む少なくとも1つの弾性部材であって、前記空間に位置している前記少なくとも1つの弾性部材と、
    前記空間内に配置され、前記前面および前記後面のうちの少なくとも1つと接触する少なくとも1つの係合部材と、をさらに備え、
    前記第3の硬度は、前記第1の硬度および前記第2の硬度よりも小さく、
    前記少なくとも1つの係合部材は、前記空間内で前記後面と前記前面との間の方向に延びて前記打撃フェース部材と前記後方ウェイト部材との間で前記空間の圧縮率を制限する少なくとも2つの分離された支持構造を画定し、
    前記少なくとも2つの分離された支持構造は、(a)前記少なくとも2つの分離された支持構造の間に位置する低圧縮率の区域と、(b)前記少なくとも2つの分離された支持構造から離れて位置する高圧縮率の区域と、に前記空間を分割し、
    前記高圧縮率の区域は、前記低圧縮率の区域よりも高い圧縮率を有し、
    前記少なくとも2つの分離された支持構造は、前記ゴルフ・クラブ・ヘッドの重心が前記少なくとも2つの分離された支持構造の間に位置する前記低圧縮率の領域内に位置するように前記重心に対して配置されており、
    前記少なくとも1つの弾性部材は、前記後方ウェイト部材の前記前面と前記打撃フェース部材の前記後面との間の前記空間に配置され、少なくとも前記高圧縮率の区域内に位置し、
    前記少なくとも1つの弾性部材は、前記高圧縮率の区域が前記打撃フェース部材に接触するゴルフ・ボールから力を受けるとき、前記高圧縮率の区域内で前記後面と前記前面との間の前記空間の圧縮率を許容するように圧縮可能である、
    アイアン・タイプ・ゴルフ・クラブ・ヘッド。
  17. 前記少なくとも2つの分離された支持構造は、2つの分離された支持構造を構成する、請求項16に記載のアイアン・タイプ・ゴルフ・クラブ・ヘッド。
  18. 前記少なくとも1つの弾性部材の外側周辺部側面は、(a)目に見え、前記後面と前記前面との間に位置しており、(b)少なくとも前記アイアン・タイプ・ゴルフ・クラブ・ヘッドの上部縁部、トウ縁部、およびソール縁部の周りを連続的に延びる、請求項16または17に記載のアイアン・タイプ・ゴルフ・クラブ・ヘッド。
  19. 前記打撃フェース部材上にスコアラインをさらに備え、
    前記少なくとも2つの分離された支持構造は、前記スコアラインと行な線に沿って配置される、請求項16から18のいずれか一項に記載のアイアン・タイプ・ゴルフ・クラブ・ヘッド。
  20. 前記少なくとも2つの分離された支持構造は、直線的に配置される3つの分離された支持構造を構成する、請求項16に記載のアイアン・タイプ・ゴルフ・クラブ・ヘッド。
JP2017561691A 2015-05-28 2016-05-18 アイアン・タイプ・ゴルフ・クラブ・ヘッド Active JP6632003B2 (ja)

Priority Applications (1)

Application Number Priority Date Filing Date Title
JP2019219927A JP6947798B2 (ja) 2015-05-28 2019-12-04 アイアン・タイプ・ゴルフ・クラブ・ヘッド

Applications Claiming Priority (3)

Application Number Priority Date Filing Date Title
US14/724,024 2015-05-28
US14/724,024 US9630074B2 (en) 2015-05-28 2015-05-28 Iron-type golf clubs and golf club heads
PCT/US2016/033025 WO2016191168A1 (en) 2015-05-28 2016-05-18 Iron-type golf clubs and golf club heads

Related Child Applications (1)

Application Number Title Priority Date Filing Date
JP2019219927A Division JP6947798B2 (ja) 2015-05-28 2019-12-04 アイアン・タイプ・ゴルフ・クラブ・ヘッド

Publications (3)

Publication Number Publication Date
JP2018516127A JP2018516127A (ja) 2018-06-21
JP2018516127A5 JP2018516127A5 (ja) 2019-06-20
JP6632003B2 true JP6632003B2 (ja) 2020-01-15

Family

ID=56369176

Family Applications (5)

Application Number Title Priority Date Filing Date
JP2017561691A Active JP6632003B2 (ja) 2015-05-28 2016-05-18 アイアン・タイプ・ゴルフ・クラブ・ヘッド
JP2019219927A Active JP6947798B2 (ja) 2015-05-28 2019-12-04 アイアン・タイプ・ゴルフ・クラブ・ヘッド
JP2021151403A Active JP7247291B2 (ja) 2015-05-28 2021-09-16 アイアン・タイプ・ゴルフ・クラブおよびゴルフ・クラブ・ヘッド
JP2023041278A Active JP7529838B2 (ja) 2015-05-28 2023-03-15 アイアン・タイプ・ゴルフ・クラブおよびゴルフ・クラブ・ヘッド
JP2024119564A Pending JP2024156747A (ja) 2015-05-28 2024-07-25 アイアン・タイプ・ゴルフ・クラブおよびゴルフ・クラブ・ヘッド

Family Applications After (4)

Application Number Title Priority Date Filing Date
JP2019219927A Active JP6947798B2 (ja) 2015-05-28 2019-12-04 アイアン・タイプ・ゴルフ・クラブ・ヘッド
JP2021151403A Active JP7247291B2 (ja) 2015-05-28 2021-09-16 アイアン・タイプ・ゴルフ・クラブおよびゴルフ・クラブ・ヘッド
JP2023041278A Active JP7529838B2 (ja) 2015-05-28 2023-03-15 アイアン・タイプ・ゴルフ・クラブおよびゴルフ・クラブ・ヘッド
JP2024119564A Pending JP2024156747A (ja) 2015-05-28 2024-07-25 アイアン・タイプ・ゴルフ・クラブおよびゴルフ・クラブ・ヘッド

Country Status (5)

Country Link
US (6) US9630074B2 (ja)
JP (5) JP6632003B2 (ja)
KR (5) KR102714809B1 (ja)
GB (3) GB2590562B (ja)
WO (1) WO2016191168A1 (ja)

Families Citing this family (6)

* Cited by examiner, † Cited by third party
Publication number Priority date Publication date Assignee Title
US10391370B2 (en) * 2011-11-28 2019-08-27 Acushnet Company Co-forged golf club head and method of manufacture
US11918867B2 (en) * 2011-11-28 2024-03-05 Acushnet Company Co-forged golf club head and method of manufacture
US9630074B2 (en) 2015-05-28 2017-04-25 Karsten Manufacturing Corporation Iron-type golf clubs and golf club heads
WO2023239753A1 (en) 2022-06-06 2023-12-14 Karsten Manufacturing Corporation Iron with mass pad
KR102856762B1 (ko) * 2023-01-25 2025-09-05 김남균 소프트 골프용 골프용구
WO2025216906A1 (en) * 2024-04-08 2025-10-16 Pop Stoppers Llc Sound reducing pickleball paddles and pads

Family Cites Families (41)

* Cited by examiner, † Cited by third party
Publication number Priority date Publication date Assignee Title
US1485685A (en) 1922-03-11 1924-03-04 Mcmahon James Alexander Golf club
US5354059A (en) * 1990-02-02 1994-10-11 Stuff Alfred O Golf club heads with means for imparting corrective action
JP2521220Y2 (ja) * 1992-01-23 1996-12-25 ダイワゴルフ株式会社 ゴルフクラブヘッド
FR2700702A1 (fr) * 1993-01-26 1994-07-29 Taylor Made Golf Co Tête de club à face de frappe rapportée.
US5405136A (en) 1993-09-20 1995-04-11 Wilson Sporting Goods Co. Golf club with face insert of variable hardness
US5492327A (en) * 1994-11-21 1996-02-20 Focus Golf Systems, Inc. Shock Absorbing iron head
US5681227A (en) 1996-09-09 1997-10-28 Sayrizi; Donald Golf club head having air-accommodation passages
US6042486A (en) * 1997-11-04 2000-03-28 Gallagher; Kenny A. Golf club head with damping slot and opening to a central cavity behind a floating club face
US6007435A (en) 1998-01-16 1999-12-28 Chern; Hong-Line Structure of golf club head
US6811496B2 (en) * 2000-12-01 2004-11-02 Taylor Made Golf Company, Inc. Golf club head
US20050020378A1 (en) * 2003-07-11 2005-01-27 Krumme John F. Faceplate backings and monolithic inserts for golf clubs
US7281990B2 (en) * 2004-12-22 2007-10-16 Head Technology Gmbh, Ltd. Method and apparatus for elastic tailoring of golf club impact
JP4411990B2 (ja) * 2004-02-03 2010-02-10 ブリヂストンスポーツ株式会社 ゴルフクラブヘッド
US20050233827A1 (en) * 2004-04-20 2005-10-20 Best Christopher B Putter with vibration isolation
US7588503B2 (en) * 2004-05-12 2009-09-15 Acushnet Company Multi-piece golf club head with improved inertia
US20060172816A1 (en) * 2005-02-03 2006-08-03 Johnson Lanny L Modular putter
JP4837983B2 (ja) * 2005-12-05 2011-12-14 ブリヂストンスポーツ株式会社 ゴルフクラブヘッド
US7384348B2 (en) * 2006-06-28 2008-06-10 O-Ta Precision Industry Co., Inc. Golf club head
US7922604B2 (en) 2006-07-21 2011-04-12 Cobra Golf Incorporated Multi-material golf club head
US9352198B2 (en) * 2006-07-21 2016-05-31 Cobra Golf Incorporated Multi-material golf club head
JP4965385B2 (ja) * 2006-07-21 2012-07-04 コブラ ゴルフ インコーポレイテッド 多材ゴルフクラブヘッド
JP4291836B2 (ja) * 2006-08-03 2009-07-08 Sriスポーツ株式会社 ゴルフクラブヘッド
US20080085781A1 (en) 2006-10-04 2008-04-10 Motofusa Iwahori Golf club head structure
US20080234066A1 (en) * 2007-03-23 2008-09-25 Karsten Manufacturing Corporation Golf Club Head Having a Face Insert and Method of Making Same
JP5074885B2 (ja) * 2007-10-30 2012-11-14 ダンロップスポーツ株式会社 ゴルフクラブヘッド
JP2009226062A (ja) * 2008-03-24 2009-10-08 Sri Sports Ltd アイアン型ゴルフクラブヘッド及びその製造方法
US8449406B1 (en) * 2008-12-11 2013-05-28 Taylor Made Golf Company, Inc. Golf club head
US8057322B2 (en) * 2008-12-24 2011-11-15 Sri Sports Limited Golf club head
US8216088B2 (en) * 2009-07-21 2012-07-10 Nike, Inc. Golf clubs and golf club heads
US8033931B2 (en) * 2009-08-07 2011-10-11 Taylor Made Golf Company, Inc. Golf club head
US8092318B2 (en) 2009-10-12 2012-01-10 Nike, Inc. Golf club assembly and golf club with suspended face plate
US8632416B2 (en) * 2010-08-20 2014-01-21 Nike, Inc. Golf clubs and golf club heads
JP5508227B2 (ja) * 2010-11-02 2014-05-28 ダンロップスポーツ株式会社 パター型ゴルフクラブヘッド及びパター型ゴルフクラブ
US9956463B2 (en) * 2011-11-30 2018-05-01 Nike, Inc. Golf clubs and golf club heads
US10357693B2 (en) * 2011-11-30 2019-07-23 Nike, Inc. Golf clubs and golf club heads
US9072948B2 (en) * 2011-11-30 2015-07-07 Nike, Inc. Golf club head or other ball striking device utilizing energy transfer
US9901792B2 (en) * 2011-11-30 2018-02-27 Nike, Inc. Golf clubs and golf club heads
US9033817B2 (en) * 2013-03-15 2015-05-19 Nike, Inc. Golf club irons including backing material behind ball striking face
US9474948B2 (en) * 2014-11-10 2016-10-25 Dunlop Sports Co. Ltd. Golf club head
US9630073B2 (en) * 2015-05-28 2017-04-25 Karsten Manufacturing Corporation Iron-type golf clubs and golf club heads
US9630074B2 (en) * 2015-05-28 2017-04-25 Karsten Manufacturing Corporation Iron-type golf clubs and golf club heads

Also Published As

Publication number Publication date
US10765920B2 (en) 2020-09-08
JP2024156747A (ja) 2024-11-06
KR20230141916A (ko) 2023-10-10
JP2023085335A (ja) 2023-06-20
JP2018516127A (ja) 2018-06-21
US20200398123A1 (en) 2020-12-24
US20170173412A1 (en) 2017-06-22
GB201720388D0 (en) 2018-01-24
KR20240151264A (ko) 2024-10-17
KR102820053B1 (ko) 2025-06-11
US20160346637A1 (en) 2016-12-01
KR102714809B1 (ko) 2024-10-07
GB2590562A (en) 2021-06-30
KR102714582B1 (ko) 2024-10-07
GB2590554A (en) 2021-06-30
JP2022000186A (ja) 2022-01-04
JP6947798B2 (ja) 2021-10-13
JP2020039924A (ja) 2020-03-19
GB2555322B (en) 2021-01-13
GB2555322A (en) 2018-04-25
US20240382810A1 (en) 2024-11-21
KR20180062987A (ko) 2018-06-11
GB202101275D0 (en) 2021-03-17
US20230118095A1 (en) 2023-04-20
KR102582727B1 (ko) 2023-09-22
JP7529838B2 (ja) 2024-08-06
US11547910B2 (en) 2023-01-10
WO2016191168A1 (en) 2016-12-01
KR20230136713A (ko) 2023-09-26
US9630074B2 (en) 2017-04-25
JP7247291B2 (ja) 2023-03-28
GB202018839D0 (en) 2021-01-13
US20180318663A1 (en) 2018-11-08
US12053678B2 (en) 2024-08-06
GB2590562B (en) 2022-07-06
KR20250088664A (ko) 2025-06-17
GB2590554B (en) 2022-04-06

Similar Documents

Publication Publication Date Title
JP6947798B2 (ja) アイアン・タイプ・ゴルフ・クラブ・ヘッド
US9630073B2 (en) Iron-type golf clubs and golf club heads
US8147353B2 (en) Iron-type golf club
US10046211B2 (en) Golf clubs and golf club heads
EP2785423B1 (en) Golf club head or other ball striking device utilizing energy transfer
US20150031474A1 (en) Golf clubs and golf club heads
US20070049402A1 (en) Golf putter head
WO2015184058A1 (en) Golf club head
JP2006129936A (ja) ゴルフクラブヘッド
WO2015184060A2 (en) Golf clubs and golf club heads

Legal Events

Date Code Title Description
A521 Request for written amendment filed

Free format text: JAPANESE INTERMEDIATE CODE: A523

Effective date: 20180129

A521 Request for written amendment filed

Free format text: JAPANESE INTERMEDIATE CODE: A523

Effective date: 20190514

A621 Written request for application examination

Free format text: JAPANESE INTERMEDIATE CODE: A621

Effective date: 20190514

A871 Explanation of circumstances concerning accelerated examination

Free format text: JAPANESE INTERMEDIATE CODE: A871

Effective date: 20190514

A975 Report on accelerated examination

Free format text: JAPANESE INTERMEDIATE CODE: A971005

Effective date: 20190523

A131 Notification of reasons for refusal

Free format text: JAPANESE INTERMEDIATE CODE: A131

Effective date: 20190730

A521 Request for written amendment filed

Free format text: JAPANESE INTERMEDIATE CODE: A523

Effective date: 20191021

TRDD Decision of grant or rejection written
A01 Written decision to grant a patent or to grant a registration (utility model)

Free format text: JAPANESE INTERMEDIATE CODE: A01

Effective date: 20191105

A711 Notification of change in applicant

Free format text: JAPANESE INTERMEDIATE CODE: A711

Effective date: 20191114

A521 Request for written amendment filed

Free format text: JAPANESE INTERMEDIATE CODE: A821

Effective date: 20191114

A61 First payment of annual fees (during grant procedure)

Free format text: JAPANESE INTERMEDIATE CODE: A61

Effective date: 20191204

R150 Certificate of patent or registration of utility model

Ref document number: 6632003

Country of ref document: JP

Free format text: JAPANESE INTERMEDIATE CODE: R150

R250 Receipt of annual fees

Free format text: JAPANESE INTERMEDIATE CODE: R250

R250 Receipt of annual fees

Free format text: JAPANESE INTERMEDIATE CODE: R250

R250 Receipt of annual fees

Free format text: JAPANESE INTERMEDIATE CODE: R250