JP6559749B2 - 医療・介護用容器の処理装置 - Google Patents
医療・介護用容器の処理装置 Download PDFInfo
- Publication number
- JP6559749B2 JP6559749B2 JP2017183985A JP2017183985A JP6559749B2 JP 6559749 B2 JP6559749 B2 JP 6559749B2 JP 2017183985 A JP2017183985 A JP 2017183985A JP 2017183985 A JP2017183985 A JP 2017183985A JP 6559749 B2 JP6559749 B2 JP 6559749B2
- Authority
- JP
- Japan
- Prior art keywords
- sink
- container
- cleaning liquid
- tank
- partition member
- Prior art date
- Legal status (The legal status is an assumption and is not a legal conclusion. Google has not performed a legal analysis and makes no representation as to the accuracy of the status listed.)
- Expired - Fee Related
Links
- 230000000474 nursing effect Effects 0.000 title claims description 22
- 239000007788 liquid Substances 0.000 claims description 171
- 238000004140 cleaning Methods 0.000 claims description 157
- 238000005192 partition Methods 0.000 claims description 99
- XLYOFNOQVPJJNP-UHFFFAOYSA-N water Substances O XLYOFNOQVPJJNP-UHFFFAOYSA-N 0.000 claims description 36
- 238000004891 communication Methods 0.000 claims description 31
- 238000005406 washing Methods 0.000 claims description 9
- 238000000638 solvent extraction Methods 0.000 claims description 2
- 238000000034 method Methods 0.000 description 19
- 230000008569 process Effects 0.000 description 17
- 230000002378 acidificating effect Effects 0.000 description 16
- 238000001035 drying Methods 0.000 description 13
- 230000007246 mechanism Effects 0.000 description 7
- 239000011148 porous material Substances 0.000 description 5
- 238000004659 sterilization and disinfection Methods 0.000 description 5
- VEXZGXHMUGYJMC-UHFFFAOYSA-N Hydrochloric acid Chemical compound Cl VEXZGXHMUGYJMC-UHFFFAOYSA-N 0.000 description 4
- 208000015181 infectious disease Diseases 0.000 description 4
- 230000002093 peripheral effect Effects 0.000 description 4
- 239000010865 sewage Substances 0.000 description 4
- 230000001954 sterilising effect Effects 0.000 description 4
- 238000003756 stirring Methods 0.000 description 4
- 238000009434 installation Methods 0.000 description 3
- 239000005060 rubber Substances 0.000 description 3
- 238000011144 upstream manufacturing Methods 0.000 description 3
- ZAMOUSCENKQFHK-UHFFFAOYSA-N Chlorine atom Chemical compound [Cl] ZAMOUSCENKQFHK-UHFFFAOYSA-N 0.000 description 2
- 230000005540 biological transmission Effects 0.000 description 2
- 229910052801 chlorine Inorganic materials 0.000 description 2
- 239000000460 chlorine Substances 0.000 description 2
- 230000003247 decreasing effect Effects 0.000 description 2
- 230000001877 deodorizing effect Effects 0.000 description 2
- 239000011521 glass Substances 0.000 description 2
- 238000010438 heat treatment Methods 0.000 description 2
- QWPPOHNGKGFGJK-UHFFFAOYSA-N hypochlorous acid Chemical compound ClO QWPPOHNGKGFGJK-UHFFFAOYSA-N 0.000 description 2
- 239000000463 material Substances 0.000 description 2
- 238000002156 mixing Methods 0.000 description 2
- 239000000203 mixture Substances 0.000 description 2
- 239000004033 plastic Substances 0.000 description 2
- 230000002940 repellent Effects 0.000 description 2
- 239000005871 repellent Substances 0.000 description 2
- 238000005549 size reduction Methods 0.000 description 2
- 239000000126 substance Substances 0.000 description 2
- 206010037660 Pyrexia Diseases 0.000 description 1
- 230000000844 anti-bacterial effect Effects 0.000 description 1
- 239000007864 aqueous solution Substances 0.000 description 1
- 230000008859 change Effects 0.000 description 1
- 230000006835 compression Effects 0.000 description 1
- 238000007906 compression Methods 0.000 description 1
- 230000008602 contraction Effects 0.000 description 1
- 238000000354 decomposition reaction Methods 0.000 description 1
- 238000007599 discharging Methods 0.000 description 1
- 239000002778 food additive Substances 0.000 description 1
- 235000013373 food additive Nutrition 0.000 description 1
- 239000012634 fragment Substances 0.000 description 1
- 230000036541 health Effects 0.000 description 1
- 238000003780 insertion Methods 0.000 description 1
- 230000037431 insertion Effects 0.000 description 1
- 230000009467 reduction Effects 0.000 description 1
- 239000007921 spray Substances 0.000 description 1
- 239000004094 surface-active agent Substances 0.000 description 1
- 239000008399 tap water Substances 0.000 description 1
- 235000020679 tap water Nutrition 0.000 description 1
- 239000010409 thin film Substances 0.000 description 1
- 210000002700 urine Anatomy 0.000 description 1
Images
Landscapes
- Sanitary Device For Flush Toilet (AREA)
- Cleaning By Liquid Or Steam (AREA)
- Accommodation For Nursing Or Treatment Tables (AREA)
- Toilet Supplies (AREA)
- Bidet-Like Cleaning Device And Other Flush Toilet Accessories (AREA)
Description
本発明は、医療分野や介護分野で用いられている汚物処理のための容器を処理するための処理装置に関する。
医療分野や介護分野で用いられている容器として、患者の排泄物などの汚物を処理するための便器や尿器等の容器がある。これら容器を洗浄して再利用するための洗浄装置として、例えば特許文献1又は特許文献2に開示のものがある。
特許文献1に開示の装置(ベッドパン洗浄機)は、その前面から下方に開口する前蓋にベッドパンを取り付けられるようになっており、ベッドパンを取り付けて前蓋を閉じると、ベッドパンが180°回転させられ、洗浄液噴射ノズルから洗浄液を噴射してヘッドパンの汚物の放出と洗浄を行うことができるようになっている。
特許文献1に開示の装置(ベッドパン洗浄機)は、その前面から下方に開口する前蓋にベッドパンを取り付けられるようになっており、ベッドパンを取り付けて前蓋を閉じると、ベッドパンが180°回転させられ、洗浄液噴射ノズルから洗浄液を噴射してヘッドパンの汚物の放出と洗浄を行うことができるようになっている。
一方、特許文献2に開示の装置は、洗浄装置内に、容器を支持するための支持具が設けられており、その支持具が複数本の支柱を組み合わせた構成とされ、種々な寸法、形状の容器を支持することができるようになっている。
この種の洗浄装置においては、容器の再利用のため、洗浄とともに消毒して再利用時の感染を防止する必要がある。また、病院等の施設においては、ある程度、容器をストックしておく必要があるが、尿器等の筒状の容器では重ねることができずに嵩張るために、狭い汚物処理室などでは保管場所を確保するのが困難になっている。
この種の洗浄装置においては、容器の再利用のため、洗浄とともに消毒して再利用時の感染を防止する必要がある。また、病院等の施設においては、ある程度、容器をストックしておく必要があるが、尿器等の筒状の容器では重ねることができずに嵩張るために、狭い汚物処理室などでは保管場所を確保するのが困難になっている。
このような再利用可能な容器に対して、水等により分解可能なパルプなどにより形成された容器も開発されており、そのような容器は、特許文献3や特許文献4に示すように、シンク(攪拌タンク、攪拌槽)内に汚物とともに投入して、水と一緒に撹拌しながら破砕した後に廃棄処理している。この種の使い捨てタイプの容器は再利用せず、容器ごと廃棄しているので、感染のリスクは非常に少なくなる。また、消毒の工程が不要であるため作業時間が短く、また、容器をシンク等に設置する作業も不要で、単にシンク内に容器を投入すればよいので、看護師等の作業の手間を大幅に軽減することができる。
ところで、看護病棟で比較的多く使用される容器に陰洗ボトルがあるが、このようなボトルは分解可能なパルプで作製することができず、別途、洗浄、消毒する必要がある。また、すべての容器を使用の都度、廃棄処理するにはランニングコストが増大する。
本発明は、このような事情に鑑みてなされたもので、使用後の医療・介護用容器に対して再利用と廃棄処理とを使い分けることができるとともに、いずれも処理することができる処理装置を提供することを目的とする。
本発明の医療・介護用容器の処理装置は、筐体内に、ノズルから噴射される洗浄液で再利用可能な容器を洗浄可能な第1処理槽と、該第1処理槽の下方に配置され、液を貯留可能であって使い捨て容器が投入されるシンク、及び該シンク内の液に前記使い捨て容器を浸して分解可能な第2処理槽と、前記第1処理槽と前記第2処理槽との間を仕切る仕切り部材と、を備え、前記仕切り部材の一部に、前記第1処理槽から流下する洗浄液を前記第2処理槽の前記シンクに流下可能な連通口部が形成されており、前記液の全部又は一部に前記第1処理槽から流下する洗浄液を含むことが可能である。
この医療・介護用容器の処理装置では、第1処理槽において再利用可能な容器の洗浄処理を行い、第2処理槽において使い捨て容器の分解処理を行うことができ、容器に応じて処理槽を使い分け、適切な処理を行わせることができる。
また、医療・介護用容器の処理装置では、第1処理槽と第2処理槽との間に仕切り部材を配置したので、第1処理槽に再利用可能な容器を設置する際に誤って再利用可能な容器を落下させることがあっても、仕切り部材上に落下させることができる。したがって、再利用可能な容器が第2処理槽まで到達することを回避できる。また、第2処理槽で使い捨て容器を攪拌する際に、その衝撃により使い捨て容器の破片や液が上方に飛散するおそれがあるが、第1処理槽と第2処理槽との間に仕切り部材を配置したので、第2処理槽内の飛散物が第1処理槽まで到達することを防止できる。
また、医療・介護用容器の処理装置では、第1処理槽と第2処理槽との間に仕切り部材を配置したので、第1処理槽に再利用可能な容器を設置する際に誤って再利用可能な容器を落下させることがあっても、仕切り部材上に落下させることができる。したがって、再利用可能な容器が第2処理槽まで到達することを回避できる。また、第2処理槽で使い捨て容器を攪拌する際に、その衝撃により使い捨て容器の破片や液が上方に飛散するおそれがあるが、第1処理槽と第2処理槽との間に仕切り部材を配置したので、第2処理槽内の飛散物が第1処理槽まで到達することを防止できる。
また、この処理装置では、第1処理槽の下方に第2処理槽を配置し、仕切り部材の一部に形成された連通口部を介して第1処理槽から流下する洗浄液を自然に第1処理槽から第2処理槽へ流下させるようにしたので、ポンプ等の付帯設備が少なくでき、省力化とともに、小型化を図ることができる。また、第1処理槽から流下する洗浄液により、第1処理槽において洗浄処理を行う度に、併せて第2処理槽内の洗浄も行うことができ、処理装置の衛生状態を良好に保つことができる。また、第2処理槽の液の全部又は一部に第1処理槽で使用した洗浄液を使用することで、洗浄液の有効利用を図ることができる。
本発明の医療・介護用容器の処理装置の好ましい実施形態において、前記仕切り部材は、前記シンクの上部を閉鎖可能な蓋部を有しており、前記蓋部は、前記連通口部が接続される上部から前記シンクが接続される下部に向けて漸次拡径するテーパ状の天井部と、該天井部の上部内側に、前記連通口部から流下する洗浄液を受けて前記天井部の下面に向けて前記洗浄液の流れを案内する流水受け部と、を有する。
仕切り部材の連通口部から供給される洗浄液を、流水受け部によって蓋部の天井部の下面に向けて流すことができ、洗浄液を天井部の下面に伝わせてシンク内に流すことができる。したがって、洗浄液により天井部の下面を洗浄しながら、その洗浄液をシンク内に流下させることができ、蓋部とシンクの衛生状態を良好に保つことができる。
本発明の医療・介護用容器の処理装置の好ましい実施形態において、前記第1処理槽及び前記第2処理槽の前方を開閉可能な扉が設けられ、前記仕切り部材は、前記扉の開閉と連動して前記シンクの上部の前記蓋部を開閉可能に設けられており、前記扉を開けたときに、前記シンクの上部を開放して前記第2処理槽の前方から前記使い捨て容器を前記シンク内に投入可能とし、前記扉を閉じたときに、前記シンクの上部を前記蓋部により閉じて、前記第1処理槽から流下する洗浄液を前記連通口部を介して前記シンク内に流入可能とする。
第2処理槽のシンクの上部を開閉する蓋部を、第1処理槽及び第2処理槽の開閉と連動して開閉できるので、扉と蓋部とを個別に操作することなく、作業性を向上できる。
また、扉を閉じているときには、第2処理槽のシンクの上部を蓋部により確実に閉じておくことができるので、使い捨て容器の処理中に洗浄液や液がシンクの周囲に飛散することを回避でき、処理装置の衛生状態を良好に保つことができる。
また、扉を閉じているときには、第2処理槽のシンクの上部を蓋部により確実に閉じておくことができるので、使い捨て容器の処理中に洗浄液や液がシンクの周囲に飛散することを回避でき、処理装置の衛生状態を良好に保つことができる。
本発明の医療・介護用容器の処理装置の好ましい実施形態において、前記扉は、前記第1処理槽及び前記第2処理槽の前面に沿って上下移動することにより各処理槽の前方を開閉するものであり、前記仕切り部材は、後方側を支点とし、前方側が上下に回動可能に設けられているとよい。
扉を第1処理槽及び第2処理槽の前面に沿って上下に移動させる構造とすることにより、扉の開閉のためのスペースを処理装置の前方に大きく確保する必要がなく、処理装置の設置スペースを小さくできる。この場合、扉は、各処理槽に個別に設けてもよいし、両処理槽を開閉する単一の扉としてもよい。単一の扉とする場合も、両処理槽を一度に開閉してもよいし、二つの処理槽を順次開放し、かつ順次閉鎖する構造としてもよい。
また、仕切り部材の前方側を上下に回動可能に設けることで、仕切り部材の可動範囲を比較的小さくできるので、処理装置の小型化を図ることができる。
また、仕切り部材の前方側を上下に回動可能に設けることで、仕切り部材の可動範囲を比較的小さくできるので、処理装置の小型化を図ることができる。
本発明の医療・介護用容器の処理装置の好ましい実施形態において、前記仕切り部材は、前記筐体の後方側から前方側にかけて漸次上方に向けて傾斜して設けられ、前記仕切り部材の後端部に前記連通口部が設けられており、前記第2処理槽に、前記仕切り部材の下面に向けて前記液を噴射し、前記シンク内に前記液を供給するシンク用ノズルが設けられているとよい。
仕切り部材を筐体の後方側から前方側にかけて漸次上方に向けて傾斜して設けることで、第1処理槽から流下する洗浄液を後端部の連通口部に向けて自然に集めることができる。したがって、連通口部を通じて円滑に第2処理槽のシンク内に洗浄液を流下させることができ、洗浄液を有効利用できる。また、第2処理槽内においてシンク用ノズルから噴射された液も、仕切り部材の下面を伝わせて仕切り部材の後端部側に自然に集めることができ、円滑にシンク内に流下させることができる。したがって、液により仕切り部材の下面を洗浄しながら、その液をシンク内に流下させることができ、仕切り部材の衛生状態を良好に保つことができる。
本発明によれば、使用後の医療・介護用容器に対して再利用と廃棄処理とを使い分けながらいずれも処理することができる。
以下、本発明の医療・介護用容器の処理装置の実施形態について、図面を参照して説明する。
[医療・介護用容器の処理装置の全体構成]
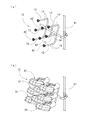
第1実施形態の医療・介護用容器の処理装置101は、図1に示されるように、縦長直方体状の筐体1内に、再利用可能な容器31を洗浄可能な第1処理槽10と、使い捨て容器32を廃棄可能な第2処理槽20とを備えており、再利用可能な容器31であるか、使い捨て容器32であるかに応じて、第1処理槽10と第2処理槽20とを使い分け、適切な処理を行わせることができる。また、この処理装置101では、一つの筐体1内に第1処理槽10と第2処理槽20とを集約して配置しているので、これらを一体として設置、移動できる。さらに、この処理装置101では、図1〜図7に示されるように、第1処理槽10の下方に第2処理槽20が配置されており、二つの処理槽10,20を上下に配置しているので、病棟内の狭いスペースにも設置することができる。
[医療・介護用容器の処理装置の全体構成]
第1実施形態の医療・介護用容器の処理装置101は、図1に示されるように、縦長直方体状の筐体1内に、再利用可能な容器31を洗浄可能な第1処理槽10と、使い捨て容器32を廃棄可能な第2処理槽20とを備えており、再利用可能な容器31であるか、使い捨て容器32であるかに応じて、第1処理槽10と第2処理槽20とを使い分け、適切な処理を行わせることができる。また、この処理装置101では、一つの筐体1内に第1処理槽10と第2処理槽20とを集約して配置しているので、これらを一体として設置、移動できる。さらに、この処理装置101では、図1〜図7に示されるように、第1処理槽10の下方に第2処理槽20が配置されており、二つの処理槽10,20を上下に配置しているので、病棟内の狭いスペースにも設置することができる。
なお、再利用可能な容器31としては、例えば尿器、陰洗ボトル、貯尿器、計量カップやメスシリンダー等がある。これらの再利用可能な容器31はプラスチックやゴム等で成形されたもの、又はガラス製とされ、使用の都度、第1処理槽10において洗浄することで再使用される。一方、使い捨て容器32は、例えば便器、差込便器、ポータブルトイレ用バケツ受け等があり、主に感染リスクの高い汚物(大便)を処理するための容器である。また、これ以外にも、ガーグルベースン、膿盆、バット、ユーリパン等の使い捨て容器32がある。そして、これらの使い捨て容器32は、例えば、水等により分解可能なパルプ等により形成され、第2処理槽20において、洗浄液と一緒に撹拌しながら一部を分解(溶解)した後で、廃棄処理される。
また、処理装置101の筐体1には、図2〜図7に示すように、第1処理槽10と第2処理槽20との前方を開閉可能な扉2と、この扉2の開閉を行う開閉駆動部3とが設けられている。そして、図1に示すように、この扉2を開いて第1処理槽10及び第2処理槽20の前方を開放することにより、第1処理槽10内に再利用可能な容器31を配置し、第2処理槽20内に使い捨て容器32を投入可能となっている。また、処理装置101では、第1処理槽10と第2処理槽20とが、その前方を単一の扉2で開閉可能に設けられており、開閉駆動部3により扉2を第1処理槽10及び第2処理槽20の前面に沿って上下移動(上下方向にスライド)することにより、第1処理槽10と第2処理槽20との両方の前方が閉鎖された状態と、第1処理槽10と第2処理槽20の前方を開口して両処理槽10,20の前方を開放した状態とを選択して、扉2の開閉ができるようになっている。なお、第2処理槽20の前方のみを開口して第1処理槽10の前方を閉鎖した状態を選択して開閉させることもできる。
このように、処理装置101では、扉2を上下移動させる構造としているので、扉2の開閉のためのスペースを処理装置101の前方に大きく確保する必要がなく、処理装置101の設置スペースを小さくすることができる。
[第1処理槽の構成]
処理装置101の第1処理槽10は、図4及び図5等に示すように、洗浄液が供給されるチャンバ11と、チャンバ11内に配置され再利用可能な容器31を被洗浄位置に支持するための支持具12と、チャンバ11内に洗浄液又は乾燥気体を供給可能なノズル41,42とを備えている。
処理装置101の第1処理槽10は、図4及び図5等に示すように、洗浄液が供給されるチャンバ11と、チャンバ11内に配置され再利用可能な容器31を被洗浄位置に支持するための支持具12と、チャンバ11内に洗浄液又は乾燥気体を供給可能なノズル41,42とを備えている。
チャンバ11には、二種類のノズル41,42が備えられており、いずれも供給配管91に接続され、この供給配管91からノズル41,42を通じてチャンバ11内に洗浄液又は乾燥気体が選択して供給されるようになっている。このうち第1ノズル41は、チャンバ11の上部に配置されており、チャンバ11の上部から下方に向けてチャンバ11内に洗浄液又は乾燥気体を供給可能となっている。また、もう一つの第2ノズル42は、支持具12に取り付けられている。
支持具12は、図8(a)に示すように、分岐された複数の支柱13(図8(a)では8本)を有しており、各支柱13は、互いに並行して配置されている。また、各支柱13は基端部において、それぞれ供給配管91に接続されている。また、支持具12は、図4〜図8に示すように、その基端部が処理装置101の後方側に配置され、先端部が処理装置101の前方側に配置されており、処理装置101の後方側から前方側にかけて上方に向けて傾斜して取り付けられている。
第1処理槽10では、図8(b)に示すように、この支持具12の各支柱13に再利用可能な容器31を被せて配置することで、つまり、各支柱13を容器31の開口部から内部に差し込み、各支柱13の先端を容器31の内部に当接させることにより、容器31の開口部が斜め下方を向くようにして容器31を被洗浄位置に支持できるようになっている。また、各支柱13の先端部のそれぞれには、前述した第2ノズル42が取り付けられており、供給配管91から供給された洗浄液又は乾燥気体が、各支柱13の内部を通じて第2ノズル42の先端から放出されることにより、容器31の内部を洗浄又は乾燥できるようになっている。なお、各支柱13の基端部には、細孔14が複数設けられており、これらの細孔14を通じても洗浄液又は乾燥気体が放出されるようになっているので、容器31の開口部の細部も確実に洗浄又は乾燥できる。
また、支持具12に支持された容器31の外周面は、チャンバ11の上部に配置された第1ノズル41から洗浄液又は乾燥気体が容器31の外周面に向けて噴射されることにより洗浄される。なお、各支柱13の傾斜角度は、第2ノズル42から容器31の内部に供給された洗浄液が、自重で容器31の外部へ流出する角度に設定されており、これに対応して、第2ノズル42も斜め上方を向くようにして配置される。なお、各支柱13の傾斜角度は、例えば水平面に対して30°〜90°程度とされる。
なお、第1処理槽10においては、第1ノズル41及び第2ノズル42から供給される洗浄液又は乾燥気体によりチャンバ11内の洗浄又は乾燥を行うこともでき、チャンバ11内の衛生状態を良好に維持できる。
[第2処理槽の構成]
第2処理槽20は、液を貯留可能であって使い捨て容器32が投入されるシンク21と、そのシンク21内の液に使い捨て容器32を浸して攪拌しながらその使い捨て容器32の一部を分解(溶解)可能な撹拌器22と、シンク21内に洗浄液を供給可能な第3ノズル43とを有する。撹拌機22には、シンク21内に貯留された液に水流を生じさせることが可能なもの、使い捨て容器32を破砕可能なもの等、を好適に用いることができる。なお、第3ノズル43は供給配管91に接続されており、この供給配管91から第3ノズル43を通じてシンク21内に洗浄液が供給されるようになっている。
また、第2処理槽20は第1処理槽10の下方に配置されており、処理装置101の筐体1には、これら第1処理槽10と第2処理槽20との間を仕切る仕切り部材7が備えられている。
第2処理槽20は、液を貯留可能であって使い捨て容器32が投入されるシンク21と、そのシンク21内の液に使い捨て容器32を浸して攪拌しながらその使い捨て容器32の一部を分解(溶解)可能な撹拌器22と、シンク21内に洗浄液を供給可能な第3ノズル43とを有する。撹拌機22には、シンク21内に貯留された液に水流を生じさせることが可能なもの、使い捨て容器32を破砕可能なもの等、を好適に用いることができる。なお、第3ノズル43は供給配管91に接続されており、この供給配管91から第3ノズル43を通じてシンク21内に洗浄液が供給されるようになっている。
また、第2処理槽20は第1処理槽10の下方に配置されており、処理装置101の筐体1には、これら第1処理槽10と第2処理槽20との間を仕切る仕切り部材7が備えられている。
また、シンク21の下部には、シンク21内で分解された容器及び洗浄液を排出可能な排液系8が接続されており、第1処理槽10で使用された洗浄液は、連通口部712を通じて第2処理槽20のシンク21内に流下され、シンク21を経由して排液系8から排出されるようになっている。また、第1処理槽10で使用された洗浄液と、第2処理槽20で使用された洗浄液及び処理された容器とが併せて1つの排液系8から外部(下水)に排出されるようになっている。
[仕切り部材の構成]
仕切り部材7は、図9(a)及び(b)に示すように、第1処理槽10から流下する洗浄液を貯留可能な集液部71と、第2処理槽20のシンク21の上部を閉鎖可能な蓋部72と、を有している。
仕切り部材7は、図9(a)及び(b)に示すように、第1処理槽10から流下する洗浄液を貯留可能な集液部71と、第2処理槽20のシンク21の上部を閉鎖可能な蓋部72と、を有している。
集液部71は、上方を開口させた箱状に形成されている。そして、集液部71の各側面部の下部側は、図9(b)の断面図に示すように、下方に向かうにつれて漸次中央に向かって傾斜するテーパ面により形成されており、第1処理槽10から流下した洗浄液が底面部に向けて案内されるようになっている。一方、集液部71の各側面部の上部側は、図9(b)の断面図に示すように、上下方向に沿ったストレート面により形成されており、チャンバ11(筐体1)の内面に嵌合可能に設けられている。また、集液部71の上端部の前方部(前方側の側面部の上端)には、押し込みタブ711が設けられており、扉2が閉じられる際に、押し込みタブ711が扉2の下面(引き下げタブ211、図6及び図7参照)によって押し下げられることにより、集液部71の上部縁の扉2側を除く三方がチャンバ11の内面と嵌合され、第1処理槽10と第2処理槽20との間が閉鎖されるようになっている。
また、集液部71の底面部の中央部分には、第1処理槽10から流下する洗浄液を下方に配置された第2処理槽20のシンク21に流下可能な連通口部712が形成されている。この場合、連通口部712は複数(図9(a)では4個)の細孔713を組み合わせて構成されている。
また、蓋部72は、図9(b)に示すように、上部から下部に向けて漸次拡径するテーパ状の天井部721と、この天井部721の上部内側に設けられた円板状の流水受け部722と、を有している。そして、天井部721の上部に、連通口部712が接続されている。一方、天井部721の下部は、シンク21の上部と接続されることにより、シンク21を閉鎖可能に設けられている。流水受け部722は、連通口部712と対向して配置されており、図9(b)に矢印Aで示すように、連通口部712から流下する洗浄液を受けて天井部721の下面に向けて洗浄液の流れを案内するようになっている。この場合、流水受け部722は、軸部723を介して集液部71の底面部に接続されており、集液部71と一体に設けられている。
なお、図9(a)及び(b)において符号73で表される部材は、カムプレートである。また、図9(a)及び(b)において符号74で表される部材は、ばね部材である。これらのカムプレート73とばね部材74についての詳細は、後述する。
このように、処理装置101では、第1処理槽10と第2処理槽20との間が仕切り部材7により仕切られているので、第1処理槽10で洗浄を行う再利用可能な容器31を誤って落下させることがあっても、仕切り部材7上に落下し、第2処理槽20まで容器31が到達することを回避できる。また、第1処理槽10のノズル41,42からチャンバ11内に供給された洗浄液は、連通口部712を通じて第2処理槽20に流下されるようになっており、その洗浄液を第2処理槽20のシンク21で貯留することで(溜めることで)、第2処理槽20の液として使用可能となっている。
[洗浄液の構成]
また、処理装置101においては、第1処理槽10と第2処理槽20の洗浄液として、微酸性電解水と乾燥促進剤とを混合した液体を用いる。
処理装置101には、微酸性電解水を生成する微酸性電解水生成器911が備えられている。この微酸性電解水生成器911では、希塩酸を電気分解して生成した次亜塩素酸を、水道水と一定の割合で混ぜることにより希釈し、微酸性電解水を生成する。処理装置101では、微酸性電解水生成器911により生成される微酸性電解水を処理装置101の上部のタンク912にいったん貯留し、このタンク912内に混合器913から乾燥促進剤を供給することで、タンク912内において微酸性電解水と乾燥促進剤とを混合して洗浄液を生成する。そして、ポンプ914により、タンク912から供給配管91、ノズル41〜43を通じて、第1処理槽10及び第2処理槽20に供給されるようになっている。
また、処理装置101においては、第1処理槽10と第2処理槽20の洗浄液として、微酸性電解水と乾燥促進剤とを混合した液体を用いる。
処理装置101には、微酸性電解水を生成する微酸性電解水生成器911が備えられている。この微酸性電解水生成器911では、希塩酸を電気分解して生成した次亜塩素酸を、水道水と一定の割合で混ぜることにより希釈し、微酸性電解水を生成する。処理装置101では、微酸性電解水生成器911により生成される微酸性電解水を処理装置101の上部のタンク912にいったん貯留し、このタンク912内に混合器913から乾燥促進剤を供給することで、タンク912内において微酸性電解水と乾燥促進剤とを混合して洗浄液を生成する。そして、ポンプ914により、タンク912から供給配管91、ノズル41〜43を通じて、第1処理槽10及び第2処理槽20に供給されるようになっている。
微酸性電解水は、陽極と陰極が隔膜で仕切られていない一室型電解装置で、2〜6%塩酸水(希塩酸)を電解することにより生成されるpHが5.0〜6.5で、有効塩素が10〜80ppmとされる次亜塩素酸水溶液である。そして、微酸性電解水は、高い殺菌、抗菌、消臭効果を有する一方で、人の健康を損なうおそれがなく、食品添加物に指定されるものである。また、微酸性電解水は塩素臭等もないので、再利用可能な容器31を洗浄した後の使用も安全である。また、乾燥促進剤は、いわゆる界面活性剤であり、これが付着した物質の濡れ性を高める機能を有している。
このように、処理装置101では、殺菌・除菌・消臭効果の強い微酸性電解水を洗浄液として使用することで、容器31の洗浄、すすぎを行いながら、容器31の除菌と、各処理槽10,20内、配管等も同時に除菌が行える。また、微酸性電解水を用いることで、熱消毒工程を必要としないため、容器31の洗浄処理時間を短縮できる。
また、上述したように、処理装置101では、洗浄液を常温で使用でき、熱消毒工程を必要としないため、熱消毒のための高温の加熱手段(ヒーター)等の設備を必要としない。このため、処理装置101を構成する部品は、熱に弱い部品も使用できることから部品を多様化、コストダウンを図ることができ、部品の耐久性にも有利である。また、容器31の材料として、プラスチックやゴム、又はガラス等の熱に弱い材料も使用可能になる。
[洗浄液及び乾燥気体の供給構造]
なお、処理装置101には送風器915が備えられており、送風器915は、送風配管92を介して供給配管91に接続されている。これにより、前述したように、供給配管91から第1ノズル41及び第2ノズル42を通じてチャンバ11内に乾燥気体を供給可能となっている。
なお、処理装置101には送風器915が備えられており、送風器915は、送風配管92を介して供給配管91に接続されている。これにより、前述したように、供給配管91から第1ノズル41及び第2ノズル42を通じてチャンバ11内に乾燥気体を供給可能となっている。
具体的には、供給配管91は、ポンプ914と各ノズル41〜43との間に設けられており、タンク912からポンプ914を介して供給配管91に洗浄液が供給され、供給配管91から各ノズル41〜43を通じて、第1処理槽10及び第2処理槽20に洗浄液が供給されるようになっている。また、送風配管92は、第2ノズル42と第3ノズル43との間において供給配管91に接続されており、送風器915により乾燥気体を第1処理槽10内に供給されるようになっている。この場合、送風器915は、乾燥気体を加熱する加熱器(図示略)を備えており、加熱された乾燥気体が送風配管92を介して供給配管91に供給され、供給配管91から第1ノズル41及び第2ノズル42を通じて、第1処理槽10に乾燥気体が供給されるようになっている。なお、送風器915の加熱器は必須ではなく、加熱器を有しないものを用いてもよい。ただし、加熱器を有する送風器915を用いることで、加熱器を有しない場合と比べて洗浄後の容器31の乾燥を促進することができる。
また、前述したように、処理装置101においては、洗浄液又は乾燥気体のいずれかを選択して、第1ノズル41及び第2ノズル42から第1処理槽10内に供給可能とされる。つまり、洗浄液をノズル41〜43に供給する際には、乾燥気体のノズル41,42への供給を停止する。一方、乾燥気体をノズル41,42に供給する際には、洗浄液のノズル41〜43への供給を停止する。これにより、共通のノズル41,42を用いて洗浄液又は乾燥気体のいずれかを第1処理槽10(チャンバ11)内に供給できる。
処理装置101では、これらの洗浄液又は乾燥気体の選択の制御は、3つの電磁弁811〜813で構成される供給選択部81により行われる。供給配管91は、ポンプの吐出口に接続された接続管901と、接続管901の先端から2つに分岐された第1分岐管902及び第2分岐管903と、を備えている。第1分岐管902は、第1処理槽10の第1ノズル41と第2ノズル42とに接続されている。また、第2分岐管903は、第2処理槽20の第3ノズル43に接続されている。そして、第1電磁弁811が、第1分岐管902の上流側において第2分岐管903との分岐部の直後に配置されており、第1分岐管902の管路を開閉するようになっている。また、第2電磁弁812は、第2分岐管903の上流側において第1分岐管902との分岐部の直後に配置されており、第2分岐管903の管路を開閉するようになっている。一方、第3電磁弁813は、送風配管92の上流側に配置されており、送風配管92の管路を開閉するようになっている。
第1処理槽10において再利用可能な容器31を洗浄する際には、第3電磁弁813を閉塞し、乾燥気体の送風配管92を介する第1分岐管902への流通を停止させる。そして、第1電磁弁811を開放し、第1分岐管902を介して洗浄液を第1ノズル41及び第2ノズル42に流通させる。なお、第1処理槽10において実行される洗浄処理と同時に第2処理槽20において分解処理が行われる場合には、第2電磁弁812も併せて開放し、洗浄液を第2分岐管903を介して第3ノズル43に流通させる。
一方、第1処理槽10において再利用可能な容器31を乾燥する際には、第1電磁弁811及び第2電磁弁812を閉塞し、第1分岐管902を介する第1ノズル41及び第2ノズル42への洗浄液の流通と、第2分岐管903を介する第3ノズル43への洗浄液の流通と、と停止させる。そして、第3電磁弁813を開放し、送風配管92から第1分岐管902を介して乾燥気体を第1ノズル41及び第2ノズル42に流通させる。このように、処理装置101では、第1電磁弁811及び第3電磁弁813のいずれかを開放し、他方を閉塞することで、第1処理槽10(チャンバ11)内に洗浄液又は乾燥気体のいずれかを供給できる。なお、第2電磁弁812は、第2処理槽20における処理に応じて開閉される。
[扉及び仕切り部材の開閉機構]
また、本実施形態の処理装置101においては、仕切り部材7が、筐体1の扉2の開閉と連動して、シンク21の上部を蓋部72により開閉可能に設けられている。この場合、仕切り部材7は、図10に示すように、筐体1の後方側を支点とし、前方側を大きく回動可能に設けられている。そして、図2及び図6に示すように、扉2を開けて第2処理槽20の前方を開放したときに、蓋部72によりシンク21の上部を開放して、第2処理槽20の前方から使い捨て容器32をシンク21内に投入可能となっている。また、図5及び図7に示すように、扉2を閉じて第2処理槽20の前方を閉鎖したときには、シンク21の上部を蓋部72により閉じて、第1処理槽10から流下する洗浄液を連通口部712を介してシンク21内に流入可能となっている。
また、本実施形態の処理装置101においては、仕切り部材7が、筐体1の扉2の開閉と連動して、シンク21の上部を蓋部72により開閉可能に設けられている。この場合、仕切り部材7は、図10に示すように、筐体1の後方側を支点とし、前方側を大きく回動可能に設けられている。そして、図2及び図6に示すように、扉2を開けて第2処理槽20の前方を開放したときに、蓋部72によりシンク21の上部を開放して、第2処理槽20の前方から使い捨て容器32をシンク21内に投入可能となっている。また、図5及び図7に示すように、扉2を閉じて第2処理槽20の前方を閉鎖したときには、シンク21の上部を蓋部72により閉じて、第1処理槽10から流下する洗浄液を連通口部712を介してシンク21内に流入可能となっている。
処理装置101では、扉2と蓋部72とを開閉する開閉駆動部3が、図2及び図10等に示すように、扉2に駆動力を付与するためのアクチュエータ4と、扉2を上下方向に案内するとともに、仕切り部材7の蓋部72を開閉方向に案内するためのガイド機構5とを有する構成とされる。
本実施形態においては、図10に示すように、アクチュエータ4が電動のアクチュエータにより構成されており、図10において実線と二点鎖線で示したように伸縮駆動可能とされる。また、ガイド機構5は、扉2を上下方向に案内するガイドレール部51と、扉2に駆動力を伝達する2つの第1アーム部材521及び第2アーム部材522からなる第1リンク部52とを備えている。さらに、ガイド機構5は、仕切り部材7に駆動力を伝達する第2リンク部53を備えており、第2リンク部53は第1リンク部52に接続され、第1リンク部52に連動して仕切り部材7に駆動力を伝達するようになっている。この場合、仕切り部材7自体が第2リンク部53の一部を構成しており、第2リンク部53は、第3アーム部材523と、仕切り部材7と、第4アーム部材524とにより構成されている。
このうち、扉2の移動を案内するガイドレール部51には、上下方向に延びる溝部511が形成されており、扉2の側面部には、この溝部511に係合する軸部291〜293が設けられている。このため、扉2は、溝部511の延伸方向(上下方向)に沿って、移動が案内されるようになっている。また、第1リンク部52を構成するアーム部材521,522のうち第1アーム部材521は、その一端部がアクチュエータ4の先端部に接続され、支軸551によりアクチュエータ4の先端部と第1アーム部材521の一端部とが互いに回動可能に軸支されている。また、第1アーム部材521の他端部は、支軸531により第2アーム部材522の他端部と互いに回動可能に軸支されている。また、第1アーム部材521は、一端部と他端部との間(この場合、一端部側に近い位置)で筐体1に固定された支軸532に軸支されており、アクチュエータ4の伸縮駆動に応じて支軸532回りに回動可能に設けられている。
また、第2アーム部材522の他端部は、扉2に設けられた三つある軸部291〜293のうちの一つの軸部292に軸支されている。なお、軸部292は、上側の軸部291と下側の軸部291との間に配置されている。これにより、アクチュエータ4が伸縮駆動すると、ガイド機構5を介して扉2に駆動力が伝達され、扉2が上下移動されるようになっている。また、第1リンク部52の第2アーム部材522の他端部(軸部292)には定荷重ばね(定トルクばね)54が取り付けられており、定荷重ばね54により扉2の上下移動を補助することで、扉2を円滑に上下移動できるようになっている。
なお、扉2の開閉位置は、センサ(受信部)35により検知することとしており、第2アーム部材522に発信部(発光素子やマグネット等)36が取り付けられ、発信部36からの光や磁力等を検知して扉2の移動が制御される。
次に、図10に示すように、第2リンク部53を構成する第3アーム部材523の一端部は、第1アーム部材521の一端部と他端部との間に接続され、第3アーム部材523と第1アーム部材521とは互いに回動することがないように一体に固定されている。このため、第3アーム部材523は、第1アーム部材521とともに、支軸532回りに回動可能に設けられている。一方、第3アーム部材523の他端部には軸部533が設けられており、軸部533が仕切り部材7の前方側に固定されたカムプレート73のスロット部731に係合して設けられている。また、スロット部731は略円弧状に形成されており、第3アーム部材523の他端部の軸部533は、スロット部731内に摺動可能に設けられている。つまり、第3アーム部材523の軸部533は、スロット部731の延伸方向に沿って移動しながら、仕切り部材7に駆動力を伝達するようになっている。
また、仕切り部材7の側面部の後方側には軸部534が設けられており、この軸部534が第4アーム部材524の一端部に接続されている。そして、第4アーム部材524と仕切り部材7とが、互いに軸部534回りに回動可能に設けられている。また、第4アーム部材524の他端部は、筐体1に固定された軸部535に接続されており、第4アーム部材524は軸部535回りに回動可能に設けられている。これにより、仕切り部材7は、扉2が上下移動されると、第4アーム部材524を介して軸部535回りに回動し、全体がシンク21の上下に僅かに移動可能に設けられている。
また、仕切り部材7の後端部には、仕切り部材7を上方に移動させる際に、その移動を補助するばね部材74が設けられている。この場合、ばね部材74は、ばね蝶番で構成されており、チャンバ11(筐体1)の後壁部と仕切り部材7の後壁部との間に、2個取り付けられている。そして、各ばね部材74は、チャンバ11と仕切り部材7との間で挟持(圧縮)されることで、仕切り部材7を前方側に向けて付勢するようになっている。これにより、仕切り部材7を上方に移動させる際には、仕切り部材7を前方側に押し出し、上方への移動を補助するようになっている。なお、ばね部材74は、ばね蝶番に限定されるものではなく、板ばね、トーションばね、圧縮コイルばね及びゴム部材等を用いることもできる。
[扉の開閉動作及び仕切り部材の開閉動作]
次に、このように構成される処理装置101における扉2の開閉駆動と、仕切り部材7(蓋部72)の開閉駆動について、図面を用いて詳しく説明する。
図5、図7及び図10(図10の実線)に示すように、扉2を閉じた状態では、アクチュエータ4が伸長した状態となっており、第1リンク部52の第1アーム部材521と第2アーム部材522とが折り畳まれた状態とされている。この状態から、図4、図6及び図10(図10の二点鎖線)に示すようにアクチュエータ4を短くすると(縮ませると)、第1アーム部材521が支軸532回りに(図5、図7及び図10では、時計回りに)回動する。これにより、第1アーム部材521の一端部が下方向に移動し、他端部が上方向に移動する。この際、第1アーム部材521の他端部に接続された第2アーム部材522の一端部が、第1アーム部材521の他端部とともに上方向に持ち上げられることで、第1アーム部材521と第2アーム部材522との間が開かれる。そして、軸部292に接続されている第2アーム部材522の他端部(軸部292)がガイドレール部51の溝部511に沿って上方向に移動することで、扉2が上方向に持ち上げられ、扉2が開かれる。
次に、このように構成される処理装置101における扉2の開閉駆動と、仕切り部材7(蓋部72)の開閉駆動について、図面を用いて詳しく説明する。
図5、図7及び図10(図10の実線)に示すように、扉2を閉じた状態では、アクチュエータ4が伸長した状態となっており、第1リンク部52の第1アーム部材521と第2アーム部材522とが折り畳まれた状態とされている。この状態から、図4、図6及び図10(図10の二点鎖線)に示すようにアクチュエータ4を短くすると(縮ませると)、第1アーム部材521が支軸532回りに(図5、図7及び図10では、時計回りに)回動する。これにより、第1アーム部材521の一端部が下方向に移動し、他端部が上方向に移動する。この際、第1アーム部材521の他端部に接続された第2アーム部材522の一端部が、第1アーム部材521の他端部とともに上方向に持ち上げられることで、第1アーム部材521と第2アーム部材522との間が開かれる。そして、軸部292に接続されている第2アーム部材522の他端部(軸部292)がガイドレール部51の溝部511に沿って上方向に移動することで、扉2が上方向に持ち上げられ、扉2が開かれる。
この際、第2リンク部53は、第1アーム部材521と一体に固定された第3アーム部材523が支軸532回りに回動することで、図4、図6及び図10(図10の二点鎖線)に示すように、第3アーム部材523の他端部が上方向に移動する。そして、第3アーム部材523の他端部にカムプレート73を介して接続された仕切り部材7の前方側が、第3アーム部材523の他端部とともに上方向に持ち上げられ、仕切り部材7の後方側を支点として回動する。この際、仕切り部材7の後端部にばね部材74が設けられているので、仕切り部材7がばね部材74により前方側に押し出され、上方への移動が補助される。そして、仕切り部材7は、後方側を支点として回動するとともに、全体がシンク21の上方に僅かに移動して持ち上げられ、シンク21の上部が開放される。このように、仕切り部材7は、筐体1の扉2を開けて第2処理槽20の前方を開放したときに、扉2と連動して、シンク21の上部を開放するようになっている。
また、このように扉2が開いた状態から扉2を閉じるには、図4、図6及び図10(図10の二点鎖線)に示すように縮んだ状態のアクチュエータ4を、図5、図7及び図10(図10の実線)に示すように伸長させる。アクチュエータ4を伸長させると、第1リンク部52の第1アーム部材521が支軸532回りに(図4、図6及び図10では、反時計回りに)回動する。これにより、第1アーム部材521の一端部が上方向に移動し、他端部が下方向に移動する。この際、第1アーム部材521の他端部に接続された第2アーム部材522の一端部が、第1アーム部材521の他端部とともに下方向に下げられることで、図5、図7及び図10(図10の実線)に示すように、第1アーム部材521と第2アーム部材522との間が閉じて、第1アーム部材521と第2アーム部材522とが折り畳まれる。そして、軸部292に接続されている第2アーム部材522の他端部がガイドレール部51の溝部511に沿って下方向に移動することで、扉2が下方向に下げられ、扉2が閉じられる。
この際、第2リンク部53は、第1アーム部材521と一体に固定された第3アーム部材523が支軸532回りに回動することで、図5、図7及び図10(図10の実線)に示すように、第3アーム部材523の他端部が下方向に移動する。そして、第3アーム部材523の他端部にカムプレート73を介して接続された仕切り部材7の前方側が、第3アーム部材523の他端部とともに下方向に引き下げられ、仕切り部材7の後方側を支点として回動する。また、仕切り部材7は、後方側を支点として回動するとともに、全体がシンク21に向けて下方に僅かに移動して引き下げられる。そして、シンク21の上部に蓋部72が接続され、シンク21の上部が蓋部72により閉じられる。このように、仕切り部材7は、筐体1の扉2を閉じて第2処理槽20の前方を閉鎖したときに、扉2と連動して、シンク21の上部を閉じるようになっている。
また、前述したように、仕切り部材7の前方側には押し込みタブ711が設けられているので、扉2が閉じられる際に、扉2の下端の引き下げタブ211が仕切り部材7の押し込みタブ711に当接して、扉2の移動とともに、押し込みタブ711を下方に押し込むことができる(図6及び図7参照)。これにより、仕切り部材7の下方への移動を補助することができ、仕切り部材7をチャンバ11の下部に嵌め込み、第1処理槽10と第2処理槽20との間を閉鎖することができる。
なお、処理装置101には、扉2の開閉操作や、両処理槽10,20の運転等の操作を行うフットスイッチ6が備えられており、作業者は、足元に置かれたフットスイッチ6を操作することにより、手を触れることなく処理装置101の操作を行えるため、感染のリスクを少なくできる。
なお、本実施形態の処理装置101には3つのフットスイッチ61〜63が備えられており、図1及び図2において手前に配置される一番目のフットスイッチが扉の開閉用スイッチ61、中央に配置される二番目のフットスイッチが第1処理槽10の第1運転プログラム開始スイッチ62、最も奥側に配置される三番目のフットスイッチが第2処理槽20の第2運転プログラム開始スイッチ63とされる。
なお、本実施形態の処理装置101には3つのフットスイッチ61〜63が備えられており、図1及び図2において手前に配置される一番目のフットスイッチが扉の開閉用スイッチ61、中央に配置される二番目のフットスイッチが第1処理槽10の第1運転プログラム開始スイッチ62、最も奥側に配置される三番目のフットスイッチが第2処理槽20の第2運転プログラム開始スイッチ63とされる。
[再利用可能な容器の洗浄および乾燥方法]
このように構成される処理装置101において、再利用可能な容器31を洗浄する場合には、まず、開閉用スイッチ61を操作して扉2を開き、第1処理槽10の前方の開口部から、チャンバ11内の支持具12の支柱13に容器31の開口部を外挿し、被洗浄位置に支持する。そして、第1処理槽10の運転プログラムをスタートさせる。本実施形態の処理装置101では、第1運転プログラム開始スイッチ62の操作により、第1処理槽10の運転プログラムをスタートさせることができる。第1処理槽10の運転プログラムをスタートさせると、扉2が閉まり、第1処理槽10と第2処理槽20が閉鎖される。そして、第1処理槽10と第2処理槽20とが閉鎖された後、第2電磁弁812及び第3電磁弁813が閉鎖され、第1電磁弁811が開放される。これにより、接続管901を介して第1分岐管902に洗浄液が供給され、第1ノズル41及び第2ノズル42から洗浄液が放出されることで、容器31が洗浄される。
このように構成される処理装置101において、再利用可能な容器31を洗浄する場合には、まず、開閉用スイッチ61を操作して扉2を開き、第1処理槽10の前方の開口部から、チャンバ11内の支持具12の支柱13に容器31の開口部を外挿し、被洗浄位置に支持する。そして、第1処理槽10の運転プログラムをスタートさせる。本実施形態の処理装置101では、第1運転プログラム開始スイッチ62の操作により、第1処理槽10の運転プログラムをスタートさせることができる。第1処理槽10の運転プログラムをスタートさせると、扉2が閉まり、第1処理槽10と第2処理槽20が閉鎖される。そして、第1処理槽10と第2処理槽20とが閉鎖された後、第2電磁弁812及び第3電磁弁813が閉鎖され、第1電磁弁811が開放される。これにより、接続管901を介して第1分岐管902に洗浄液が供給され、第1ノズル41及び第2ノズル42から洗浄液が放出されることで、容器31が洗浄される。
この容器31の洗浄中は、上部の第1ノズル41から洗浄液が容器31の外周面に噴射されるだけではなく、容器31の内部に挿入された支柱13の先端の第2ノズル42や細孔14により、容器31の内周面(内部)にも洗浄液が噴射される。そして、容器31の内部に噴射され、容器31内を洗浄し終わった洗浄液等は、容器31の開口部が斜め下方を向くようになっていることから、自重で容器31内から流出される。また、第1処理槽10で使用した使用後の洗浄液は、第2処理槽20に流下して、排液系8から下水に排出される。
そして、容器31の洗浄終了後には、第1電磁弁811が閉鎖され、第3電磁弁813が開放される。これにより、送風器915から加熱された乾燥気体が接続管901を介して第1分岐管902に供給される。この際、洗浄液には乾燥促進剤が混合されているので、容器31の表面の濡れ性が高められ、容器31の表面には洗浄液が薄い膜のように付着した状態となる。この状態の容器31に対して第1ノズル41及び第2ノズル42から乾燥気体が放出されることで、容器31の表面に付着した洗浄液が円滑に蒸発させられ、容器31が乾燥する。
また、容器31の乾燥終了後には扉2が開かれ、第1運転プログラムが終了したことを作業者に知らせる。これにより、作業者は、洗浄済の容器31を第1処理槽10から取り出すことができる。また、開いた状態の扉2は、開閉用スイッチ61を操作することにより、閉じることができる。
[使い捨て容器の分解方法]
また、処理装置101において、使い捨て容器32を廃棄処理する場合には、開閉用スイッチ61を操作して扉2及び蓋部72を開く。そして、第2処理槽20の前方の開口部から、シンク21内に容器32を投入した後、第2処理槽20の運転プログラムをスタートさせる。本実施形態の処理装置101では、第2運転プログラム開始スイッチ63の操作により、第2処理槽20の運転プログラムをスタートさせることができる。第2処理槽20の運転プログラムをスタートさせると、扉2が閉まり、第1処理槽10と第2処理槽20とが閉鎖される。また、扉2が閉まるとともに、蓋部72によりシンク21の上部が閉鎖される。そして、第3電磁弁813が閉鎖され、第1電磁弁811及び第2電磁弁812が開放される。これにより、ノズル41〜43から洗浄液が放出され、第1処理槽10のチャンバ11内の洗浄が行われる。この際、第1処理槽10で使用された洗浄液が仕切り部材7の連通口部712を介して第2処理槽20に流下されることで、シンク21内に洗浄液が貯留される。これにより、シンク21内の容器32が洗浄液に浸される。そして、第1処理槽10の洗浄終了後に、撹拌器22によりシンク21内の洗浄液と容器32とが攪拌され、容器32が分解される。また、容器32は、分解されることで洗浄液と合わさり、液状となる。
また、処理装置101において、使い捨て容器32を廃棄処理する場合には、開閉用スイッチ61を操作して扉2及び蓋部72を開く。そして、第2処理槽20の前方の開口部から、シンク21内に容器32を投入した後、第2処理槽20の運転プログラムをスタートさせる。本実施形態の処理装置101では、第2運転プログラム開始スイッチ63の操作により、第2処理槽20の運転プログラムをスタートさせることができる。第2処理槽20の運転プログラムをスタートさせると、扉2が閉まり、第1処理槽10と第2処理槽20とが閉鎖される。また、扉2が閉まるとともに、蓋部72によりシンク21の上部が閉鎖される。そして、第3電磁弁813が閉鎖され、第1電磁弁811及び第2電磁弁812が開放される。これにより、ノズル41〜43から洗浄液が放出され、第1処理槽10のチャンバ11内の洗浄が行われる。この際、第1処理槽10で使用された洗浄液が仕切り部材7の連通口部712を介して第2処理槽20に流下されることで、シンク21内に洗浄液が貯留される。これにより、シンク21内の容器32が洗浄液に浸される。そして、第1処理槽10の洗浄終了後に、撹拌器22によりシンク21内の洗浄液と容器32とが攪拌され、容器32が分解される。また、容器32は、分解されることで洗浄液と合わさり、液状となる。
容器32の分解後、シンク21内の洗浄液と容器32とは、シンク21の下部に接続された排液系8から下水に排出される。容器32の廃棄処理後は、再度、ノズル41〜43から洗浄液が噴射され、シンク21の洗浄が行われる。この際、第2処理槽20では、仕切り部材7の連通口部712から供給される洗浄液を、流水受け部722によって蓋部72の天井部721の下面に向けて流すことができるので、洗浄液を天井部721の下面に伝わせてシンク21内に流すことができる。したがって、洗浄液により天井部721の下面を洗浄しながら、その洗浄液をシンク21内に流下させることができ、蓋部72とシンク21の衛生状態を良好に保つことができる。
シンク21の洗浄終了後には扉2が開かれ、第2運転プログラムが終了したことを作業者に知らせる。なお、開いた状態の扉2は、開閉用スイッチ61を操作することにより、閉じることができる。
[再利用可能な容器及び使い捨て容器の同時処理]
また、処理装置101では、再利用可能な容器31の洗浄処理と、使い捨て容器32の廃棄処理とを同時に行うこともできる。この場合も、まず、開閉用スイッチ61を操作して扉2を開く。そして、第1処理槽10の前方の開口部から、チャンバ11内の支持具12の支柱13に再利用可能な容器31の開口部を外挿し、被洗浄位置に支持する。また、第2処理槽20の前方の開口部から、シンク21内に使い捨て容器32を投入する。次に、第2運転プログラム開始スイッチ63を操作することで、第2処理槽20の運転プログラムとともに、第1処理槽10の運転プログラムをスタートさせる。各運転プログラムをスタートさせると、扉2が閉まり、第1処理槽10と第2処理槽20とが閉鎖される。また、第3電磁弁813が閉鎖され、第1電磁弁811及び第2電磁弁812が開放される。これにより、ノズル41〜43から洗浄液が放出され、チャンバ11内の再利用可能な容器31が洗浄される。
また、処理装置101では、再利用可能な容器31の洗浄処理と、使い捨て容器32の廃棄処理とを同時に行うこともできる。この場合も、まず、開閉用スイッチ61を操作して扉2を開く。そして、第1処理槽10の前方の開口部から、チャンバ11内の支持具12の支柱13に再利用可能な容器31の開口部を外挿し、被洗浄位置に支持する。また、第2処理槽20の前方の開口部から、シンク21内に使い捨て容器32を投入する。次に、第2運転プログラム開始スイッチ63を操作することで、第2処理槽20の運転プログラムとともに、第1処理槽10の運転プログラムをスタートさせる。各運転プログラムをスタートさせると、扉2が閉まり、第1処理槽10と第2処理槽20とが閉鎖される。また、第3電磁弁813が閉鎖され、第1電磁弁811及び第2電磁弁812が開放される。これにより、ノズル41〜43から洗浄液が放出され、チャンバ11内の再利用可能な容器31が洗浄される。
この際、再利用可能な容器31の洗浄に使用された洗浄液は、仕切り部材7の連通口部712を介して第2処理槽20に流下される。また、第2処理槽20では、第1処理槽10から流下された洗浄液がシンク21内に溜められるとともに、第3ノズル43から噴射された洗浄液がシンク21内に溜められ、シンク21内の使い捨て容器32が洗浄液に浸される。このように、処理装置101では、第1処理槽10で使用された洗浄液が、第2処理槽20における使い捨て容器32の処理にも使用され、洗浄液の有効利用を図ることができる。
シンク21内の洗浄液と使い捨て容器32とは、再利用可能な容器31の洗浄処理後に撹拌器22により攪拌され、使い捨て容器32が分解される。使い捨て容器32は、分解されることで洗浄液と合わさり、液状となる。使い捨て容器32の分解後、シンク21内の洗浄液と容器32とは、シンク21の下部に接続された排液系8から下水に排出される。
なお、使い捨て容器32の廃棄処理後は、再度、ノズル41〜43から洗浄液が噴射され、チャンバ11とともにシンク21の洗浄が行われる。この際、第2処理槽20では、仕切り部材7の連通口部712から供給される洗浄液を、流水受け部722によって蓋部72の天井部721の下面に向けて流すことができ、洗浄液を天井部721の下面に伝わせてシンク21内に流すことができる。したがって、洗浄液により天井部721の下面を洗浄しながら、その洗浄液をシンク21内に流下させることができ、蓋部72とシンク21の衛生状態を良好に保つことができる。
そして、シンク21の洗浄処理後に、第1電磁弁811及び第2電磁弁812が閉鎖され、第3電磁弁813が開放される。これにより、送風器915から加熱された乾燥気体が接続管901を介して第1分岐管902に供給され、第1ノズル41及び第2ノズル42から乾燥気体が放出されることで、再利用可能な容器31が乾燥させられる。
そして、再利用可能な容器31の乾燥処理終了後に扉2が開かれ、第2運転プログラムが終了したことを作業者に知らせる。これにより、作業者は、洗浄済の再利用可能な容器31を第1処理槽10から取り出すことができる。なお、開いた状態の扉2は、開閉用スイッチ61を操作することにより、閉じることができる。
このように、処理装置101では、第1処理槽10において再利用可能な容器31の洗浄を行い、第2処理槽20において使い捨て容器32の分解処理を行うことができ、容器に応じて処理槽10,20を使い分け、適切な処理を行わせることができる。
また、処理装置101では、第1処理槽10と第2処理槽20との間に仕切り部材7を配置したので、第1処理槽10に再利用可能な容器31を設置する際に誤って再利用可能な容器31を落下させることがあっても、仕切り部材7上に落下させることができる。したがって、再利用可能な容器31が第2処理槽20まで到達することを回避できる。また、第2処理槽20で使い捨て容器32を攪拌する際に、その衝撃により使い捨て容器32の破片や液が上方に飛散するおそれがあるが、第1処理槽10と第2処理槽20との間に仕切り部材7を配置したので、第2処理槽20内の飛散物が第1処理槽10まで到達することを防止できる。
また、この処理装置101では、第1処理槽10の下方に第2処理槽20を配置し、仕切り部材7の一部に形成された連通口部712を介して第1処理槽10から流下する洗浄液を自然に第1処理槽10から第2処理槽20へ流下させるようにしたので、ポンプ等の付帯設備が少なくでき、省力化とともに、小型化を図ることができる。また、第1処理槽10から流下する洗浄液により、第1処理槽10において洗浄処理を行う度に、併せて第2処理槽20内の洗浄も行うことができ、処理装置101の衛生状態を良好に保つことができる。また、第2処理槽20の液の全部又は一部に第1処理槽10で使用した洗浄液を使用することで、洗浄液の有効利用を図ることができる。
また、処理装置101では、扉2を第1処理槽10及び第2処理槽20の前面に沿って上下に移動させる構造としたので、扉2の開閉のためのスペースを処理装置101の前方に大きく確保する必要がなく、処理装置101の設置スペースを小さくできる。また、仕切り部材7の前方側を上下に回動可能に設けたので、仕切り部材7の可動範囲を比較的小さくでき、処理装置101の小型化を図ることができる。
また、処理装置101では、第2処理槽20のシンク21の上部を開閉する蓋部72を、第1処理槽10及び第2処理槽20の開閉と連動して開閉できるようにしたので、扉2と蓋部72とを個別に操作することなく、作業性を向上できる。
また、扉2を閉じているときには、第2処理槽20のシンク21の上部を蓋部72により確実に閉じておくことができるので、使い捨て容器32の処理中に洗浄液や液がシンク21の周囲に飛散することを回避でき、処理装置101の衛生状態を良好に保つことができる。
また、扉2を閉じているときには、第2処理槽20のシンク21の上部を蓋部72により確実に閉じておくことができるので、使い捨て容器32の処理中に洗浄液や液がシンク21の周囲に飛散することを回避でき、処理装置101の衛生状態を良好に保つことができる。
なお、仕切り部材7は、第1実施形態の処理装置101のように、開閉動作可能に構成される場合に限定されるものではない。
例えば、図11に示す第2実施形態の医療・介護用容器の処理装置102のように、仕切り部材7を第1処理槽10と第2処理槽20との間に固定して構成することもできる。
なお、第2実施形態の処理装置102において、第1処理槽10や第2処理槽20の構成は、第1実施形態の処理装置101と同じものであり、図11において、第1実施形態と共通する要素には同一符号を付して説明を省略する。
例えば、図11に示す第2実施形態の医療・介護用容器の処理装置102のように、仕切り部材7を第1処理槽10と第2処理槽20との間に固定して構成することもできる。
なお、第2実施形態の処理装置102において、第1処理槽10や第2処理槽20の構成は、第1実施形態の処理装置101と同じものであり、図11において、第1実施形態と共通する要素には同一符号を付して説明を省略する。
第2実施形態の処理装置102では、図11に示すように、第1処理槽10と第2処理槽20との間を仕切る仕切り部材7が平板状に形成されており、筐体1の後方側から前方側にかけて漸次上方に向けて傾斜して設けられている。また、仕切り部材7の後端部に連通口部712が設けられ、第1処理槽10から流下する洗浄液を下方に配置された第2処理槽20のシンク21に流下可能としている。
また、第2処理槽20には、仕切り部材7の下面に向けて液を噴射し、シンク21に液を供給するシンク用ノズル44が設けられている。シンク用ノズル44は供給配管91の接続管901に接続されている。したがって、第2処理槽20には、第3ノズル43とシンク用ノズル44との二つのノズルが設けられている。そして、供給配管91から第3ノズル43とシンク用ノズル44とを通じてシンク21内に洗浄液が供給されるようになっている。
第2実施形態の処理装置102においても、第1処理槽10と第2処理槽20との間が仕切り部材7により仕切られているので、第1処理槽10で洗浄を行う再利用可能な容器31を誤って落下させることがあっても、仕切り部材7上に落下し、第2処理槽20まで容器31が到達することを回避できる。また、第1処理槽10のノズル41,42からチャンバ11内に供給された洗浄液は、連通口部712を通じて第2処理槽20に流下されるようになっており、その洗浄液を第2処理槽20のシンク21で貯留することで(溜めることで)、第2処理槽20の液として使用可能となっている。
また、処理装置102では、仕切り部材7を筐体1の後方側から前方側にかけて漸次上方に向けて傾斜して設けることで、第1処理槽10から流下する洗浄液を後端部の連通口部712に向けて自然に集めることができる。したがって、連通口部712を通じて円滑に第2処理槽20のシンク21内に洗浄液を流下させることができ、洗浄液を有効利用できる。また、第2処理槽20内においてシンク用ノズル44から噴射された液も、仕切り部材7の下面を伝わせて仕切り部材7の後端部側に自然に集めることができ、円滑にシンク21内に流下させることができる。したがって、シンク用ノズル44から噴射される洗浄液により仕切り部材7の下面を洗浄しながら、その洗浄液をシンク21内に流下させることができ、仕切り部材7及びシンク21の衛生状態を良好に保つことができる。
なお、本発明は上記各実施形態に限定されるものではなく、本発明の趣旨を逸脱しない範囲において種々の変更を加えることが可能である。
例えば、上記各実施形態では、微酸性電解水に乾燥促進剤が混合された液体を洗浄液として用いることとしたが、これに限らず、例えば、洗浄液として水を用いてもよいし、該水に乾燥促進剤を混合しなくてもよい。この場合、上記各実施形態では、微酸性電解水生成器911、及び混合器913はなくてもよく、タンク912内に水を貯留しておけばよい。また、洗浄液には、撥水剤を含んでもよい。撥水剤は、これが付着した物質の表面張力を高める(濡れ性を低下させる)機能を有しているため、この洗浄液により洗浄された再利用可能な容器31の表面の表面張力が高まり、該表面には、洗浄液が複数の水滴が付着した状態となる。このため、ノズル41,42から乾燥気体が供給されると、該乾燥気体により複数の水滴が吹き飛ばされ、上記水滴を除去できる。
例えば、上記各実施形態では、微酸性電解水に乾燥促進剤が混合された液体を洗浄液として用いることとしたが、これに限らず、例えば、洗浄液として水を用いてもよいし、該水に乾燥促進剤を混合しなくてもよい。この場合、上記各実施形態では、微酸性電解水生成器911、及び混合器913はなくてもよく、タンク912内に水を貯留しておけばよい。また、洗浄液には、撥水剤を含んでもよい。撥水剤は、これが付着した物質の表面張力を高める(濡れ性を低下させる)機能を有しているため、この洗浄液により洗浄された再利用可能な容器31の表面の表面張力が高まり、該表面には、洗浄液が複数の水滴が付着した状態となる。このため、ノズル41,42から乾燥気体が供給されると、該乾燥気体により複数の水滴が吹き飛ばされ、上記水滴を除去できる。
また、上述した第1実施形態及び第2実施形態の処理装置101,102では、一つの扉2により、第1処理槽10と第2処理槽20との両方を開閉する構成としたが、扉は、各処理槽10,20に個別に設けてもよい。また、扉2の移動は上下方向のスライドに限定されるものではなく、扉を左右方向にスライドする構成としてもよい。この場合においても、扉を第1処理槽10及び第2処理槽20の前面に沿って移動させる構成とすることで、処理装置の設置スペースを小さくできる。また、扉は、本実施形態のようにスライド方式による開閉動作に限定されるものではないし、扉と仕切り部材との連動機構も、本実施形態の構成に限定されるものではない。
また、上記の処理装置101,102では、第2処理槽20に洗浄液を供給可能な第3ノズル43を設けて、第2処理槽20の液として、第1処理槽10から流下する洗浄液と第3ノズル43から供給される洗浄液とを使用し、第2処理槽20の液の一部に第1処理槽10から流下する洗浄液を含むことを可能としていたが、第2処理槽20の液の全部を第1処理槽10から流下する洗浄液として使用することも可能である。
また、第2処理槽20のみを使用する場合は、第1処理槽10から流下する洗浄液を使用せず、第3ノズル43から供給される洗浄液のみを使用することも可能である。
また、第2処理槽20のみを使用する場合は、第1処理槽10から流下する洗浄液を使用せず、第3ノズル43から供給される洗浄液のみを使用することも可能である。
1 筐体
2 扉
3 開閉駆動部
4 アクチュエータ
5 ガイド機構
6 フットスイッチ
7 仕切り部材
8 排液系
10 第1処理槽
11 チャンバ
12 支持具
13 支柱
14 細孔
20 第2処理槽
21 シンク
22 撹拌器
31 再利用可能な容器
32 使い捨て容器
35 センサ
36 発信部
41 第1ノズル
42 第2ノズル
43 第3ノズル
44 シンク用ノズル
51 ガイドレール部
52 第1リンク部
53 第2リンク部
54 定荷重ばね
61 開閉用スイッチ
62 第1運転プログラム開始スイッチ
63 第2運転プログラム開始スイッチ
71 集液部
72 蓋部
73 カムプレート
74 ばね部材
81 供給選択部
91 供給配管
92 送風配管
101,102 医療・介護用容器の処理装置(処理装置)
211 引き下げタブ
291,292,293 軸部
511 溝部
521 第1アーム部材
522 第2アーム部材
523 第3アーム部材
524 第4アーム部材
531,532,551 支軸
533,534,535 軸部
711 押し込みタブ
712 連通口部
713 細孔
721 天井部
722 流水受け部
723 軸部
731 スロット部
811 第1電磁弁
812 第2電磁弁
813 第3電磁弁
901 接続管
902 第1分岐管
903 第2分岐管
911 微酸性電解水生成器
912 タンク
913 混合器
914 ポンプ
915 送風器
2 扉
3 開閉駆動部
4 アクチュエータ
5 ガイド機構
6 フットスイッチ
7 仕切り部材
8 排液系
10 第1処理槽
11 チャンバ
12 支持具
13 支柱
14 細孔
20 第2処理槽
21 シンク
22 撹拌器
31 再利用可能な容器
32 使い捨て容器
35 センサ
36 発信部
41 第1ノズル
42 第2ノズル
43 第3ノズル
44 シンク用ノズル
51 ガイドレール部
52 第1リンク部
53 第2リンク部
54 定荷重ばね
61 開閉用スイッチ
62 第1運転プログラム開始スイッチ
63 第2運転プログラム開始スイッチ
71 集液部
72 蓋部
73 カムプレート
74 ばね部材
81 供給選択部
91 供給配管
92 送風配管
101,102 医療・介護用容器の処理装置(処理装置)
211 引き下げタブ
291,292,293 軸部
511 溝部
521 第1アーム部材
522 第2アーム部材
523 第3アーム部材
524 第4アーム部材
531,532,551 支軸
533,534,535 軸部
711 押し込みタブ
712 連通口部
713 細孔
721 天井部
722 流水受け部
723 軸部
731 スロット部
811 第1電磁弁
812 第2電磁弁
813 第3電磁弁
901 接続管
902 第1分岐管
903 第2分岐管
911 微酸性電解水生成器
912 タンク
913 混合器
914 ポンプ
915 送風器
Claims (5)
- 筐体内に、
ノズルから噴射される洗浄液で再利用可能な容器を洗浄可能な第1処理槽と、
該第1処理槽の下方に配置され、液を貯留可能であって使い捨て容器が投入されるシンク、及び該シンク内の液に前記使い捨て容器を浸して分解可能な第2処理槽と、
前記第1処理槽と前記第2処理槽との間を仕切る仕切り部材と、を備え、
前記仕切り部材の一部に、前記第1処理槽から流下する洗浄液を前記第2処理槽の前記シンクに流下可能な連通口部が形成されており、
前記液の全部又は一部に前記第1処理槽から流下する洗浄液を含むことが可能であることを特徴とする医療・介護用容器の処理装置。 - 前記仕切り部材は、前記シンクの上部を閉鎖可能な蓋部を有しており、
前記蓋部は、
前記連通口部が接続される上部から前記シンクが接続される下部に向けて漸次拡径するテーパ状の天井部と、
該天井部の上部内側に、前記連通口部から流下する洗浄液を受けて前記天井部の下面に向けて前記洗浄液の流れを案内する流水受け部と、を有することを特徴とする請求項1に記載の医療・介護用容器の処理装置。 - 前記第1処理槽及び前記第2処理槽の前方を開閉可能な扉が設けられ、
前記仕切り部材は、前記扉の開閉と連動して前記シンクの上部の前記蓋部を開閉可能に設けられており、
前記扉を開けたときに、前記シンクの上部を開放して前記第2処理槽の前方から前記使い捨て容器を前記シンク内に投入可能とし、
前記扉を閉じたときに、前記シンクの上部を前記蓋部により閉じて、前記第1処理槽から流下する洗浄液を前記連通口部を介して前記シンク内に流入可能とすることを特徴とする請求項2に記載の医療・介護用容器の処理装置。 - 前記扉は、前記第1処理槽及び前記第2処理槽の前面に沿って上下移動することにより各処理槽の前方を開閉するものであり、
前記仕切り部材は、後方側を支点とし、前方側が上下に回動可能に設けられていることを特徴とする請求項3に記載の医療・介護用容器の処理装置。 - 前記仕切り部材は、前記筐体の後方側から前方側にかけて漸次上方に向けて傾斜して設けられ、前記仕切り部材の後端部に前記連通口部が設けられており、
前記第2処理槽に、前記仕切り部材の下面に向けて前記液を噴射し、前記シンク内に前記液を供給するシンク用ノズルが設けられていることを特徴とする請求項1に記載の医療・介護用容器の処理装置。
Priority Applications (1)
| Application Number | Priority Date | Filing Date | Title |
|---|---|---|---|
| JP2017183985A JP6559749B2 (ja) | 2017-09-25 | 2017-09-25 | 医療・介護用容器の処理装置 |
Applications Claiming Priority (1)
| Application Number | Priority Date | Filing Date | Title |
|---|---|---|---|
| JP2017183985A JP6559749B2 (ja) | 2017-09-25 | 2017-09-25 | 医療・介護用容器の処理装置 |
Publications (2)
| Publication Number | Publication Date |
|---|---|
| JP2019058273A JP2019058273A (ja) | 2019-04-18 |
| JP6559749B2 true JP6559749B2 (ja) | 2019-08-14 |
Family
ID=66175676
Family Applications (1)
| Application Number | Title | Priority Date | Filing Date |
|---|---|---|---|
| JP2017183985A Expired - Fee Related JP6559749B2 (ja) | 2017-09-25 | 2017-09-25 | 医療・介護用容器の処理装置 |
Country Status (1)
| Country | Link |
|---|---|
| JP (1) | JP6559749B2 (ja) |
Families Citing this family (2)
| Publication number | Priority date | Publication date | Assignee | Title |
|---|---|---|---|---|
| JP7623552B2 (ja) * | 2020-12-09 | 2025-01-29 | 株式会社三鷹ホールディングス | 感染防止及び消臭洗浄剤、並びに、それを用いた衛生及び生活用品 |
| CN116809476B (zh) * | 2023-08-24 | 2023-11-14 | 山西东鑫衡隆机械制造股份有限公司 | 一种铁型覆砂铸造用铁型清理装置 |
-
2017
- 2017-09-25 JP JP2017183985A patent/JP6559749B2/ja not_active Expired - Fee Related
Also Published As
| Publication number | Publication date |
|---|---|
| JP2019058273A (ja) | 2019-04-18 |
Similar Documents
| Publication | Publication Date | Title |
|---|---|---|
| JP4307570B2 (ja) | 医療用具を滅菌する装置および方法 | |
| CN103189581B (zh) | 厕所装置 | |
| CN106065650A (zh) | 卫生设备 | |
| JP6653690B2 (ja) | 医療・介護用容器の洗浄装置及び処理装置 | |
| JP6559749B2 (ja) | 医療・介護用容器の処理装置 | |
| KR20080039819A (ko) | 위생 용기 내에서 위생 거품을 형성하는 방법 | |
| CN210450274U (zh) | 一种感染性疾病病灶样品处理装置 | |
| JP2020062533A (ja) | 医療・介護用容器の洗浄装置及び処理装置 | |
| KR100716698B1 (ko) | 세정 장치 | |
| US20020096193A1 (en) | Waste treatment system for suction canisters | |
| KR101902357B1 (ko) | 탈취기능을 구비한 음식물 쓰레기 처리장치 | |
| JP6481001B2 (ja) | 医療・介護用容器の処理装置 | |
| CN212715203U (zh) | 排泄物消毒杀菌装置 | |
| JP4010534B2 (ja) | 内視鏡洗浄消毒方法、その内視鏡洗浄消毒装置及び内視鏡洗浄消毒に用いる消毒液 | |
| KR20100125569A (ko) | 냉온수기 세척 장치 및 그 방법 | |
| JP2016106801A (ja) | 体液を含む廃液の処理方法およびその処理装置並びに体液を含む廃液の貯留容器 | |
| KR102310090B1 (ko) | 실내 악취 제거 및 살균 처리 장치 | |
| JP3115992B2 (ja) | 内視鏡洗滌消毒装置 | |
| KR102626643B1 (ko) | 도기세정장치 | |
| JP3220167U (ja) | 小型内視鏡全体の形状材質汚染度合に対応した形状の洗浄槽と洗浄消毒液希釈機能を備えた自動洗浄消毒器 | |
| KR101343515B1 (ko) | 애완동물 용변 처리장치 | |
| KR200458181Y1 (ko) | 제균기를 갖는 비데 | |
| JP2007313429A (ja) | 生ごみの乾燥処理装置 | |
| TW202402416A (zh) | 廢液袋處理設備及其方法 | |
| WO2012057034A1 (ja) | トイレ装置 |
Legal Events
| Date | Code | Title | Description |
|---|---|---|---|
| A977 | Report on retrieval |
Free format text: JAPANESE INTERMEDIATE CODE: A971007 Effective date: 20190620 |
|
| TRDD | Decision of grant or rejection written | ||
| A01 | Written decision to grant a patent or to grant a registration (utility model) |
Free format text: JAPANESE INTERMEDIATE CODE: A01 Effective date: 20190625 |
|
| A61 | First payment of annual fees (during grant procedure) |
Free format text: JAPANESE INTERMEDIATE CODE: A61 Effective date: 20190717 |
|
| R150 | Certificate of patent or registration of utility model |
Ref document number: 6559749 Country of ref document: JP Free format text: JAPANESE INTERMEDIATE CODE: R150 |
|
| LAPS | Cancellation because of no payment of annual fees |