JP6358652B2 - テープ巻付装置及びテープ巻付方法 - Google Patents

テープ巻付装置及びテープ巻付方法 Download PDF

Info

Publication number
JP6358652B2
JP6358652B2 JP2014111512A JP2014111512A JP6358652B2 JP 6358652 B2 JP6358652 B2 JP 6358652B2 JP 2014111512 A JP2014111512 A JP 2014111512A JP 2014111512 A JP2014111512 A JP 2014111512A JP 6358652 B2 JP6358652 B2 JP 6358652B2
Authority
JP
Japan
Prior art keywords
tape
winding
electric wire
linear member
cutting
Prior art date
Legal status (The legal status is an assumption and is not a legal conclusion. Google has not performed a legal analysis and makes no representation as to the accuracy of the status listed.)
Active
Application number
JP2014111512A
Other languages
English (en)
Other versions
JP2015224123A (ja
Inventor
大雅 中島
大雅 中島
井上 亮
亮 井上
Current Assignee (The listed assignees may be inaccurate. Google has not performed a legal analysis and makes no representation or warranty as to the accuracy of the list.)
Yazaki Corp
Original Assignee
Yazaki Corp
Priority date (The priority date is an assumption and is not a legal conclusion. Google has not performed a legal analysis and makes no representation as to the accuracy of the date listed.)
Filing date
Publication date
Application filed by Yazaki Corp filed Critical Yazaki Corp
Priority to JP2014111512A priority Critical patent/JP6358652B2/ja
Priority to CN201580022910.2A priority patent/CN106463213B/zh
Priority to PCT/JP2015/064297 priority patent/WO2015182437A1/ja
Publication of JP2015224123A publication Critical patent/JP2015224123A/ja
Application granted granted Critical
Publication of JP6358652B2 publication Critical patent/JP6358652B2/ja
Active legal-status Critical Current
Anticipated expiration legal-status Critical

Links

Images

Landscapes

  • Manufacturing Of Electric Cables (AREA)

Description

本発明は、テープ巻付装置及びテープ巻付方法に関するものであって、電線やその外側を覆う外装部材等の線状部材の長手方向に沿って螺旋状にテープを巻き付けるテープ巻付装置及びテープ巻付方法に関する。
従来、ワイヤハーネスの製造工程の一部において、電線の外周にテープを巻き付けるテープ巻付装置が用いられている(例えば、特許文献1参照)。このテープ巻付装置は、テーブル上に伸張状態の電線を保持するとともに、この電線の長手方向に沿ってテーピングヘッドを移動させることで、電線の外周に螺旋状にテープを巻き付けるものであって、テーピングヘッドにおける回転スリーブ及びテープリールの旋回速度や、テーピングヘッドの移動速度などが制御可能に構成されている。
一方、外周にテープを巻いた電線の外側には、電線を保護するためのコルゲートチューブ等の外装部材が取り付けられ、この外装部材を取り付けるとともに、外装部材の外周にテープを巻き付けるための補助治具が提案されている(例えば、特許文献2参照)。この補助治具は、外装部材の端部におけるテープ巻不可領域を把持して覆うことで、テープの巻き付け可能範囲を規制するように構成されている。
特開2002−29665号公報 特開2004−296336号公報
ところで、外装部材であるコルゲートチューブは、その長手方向に沿って形成されたスリットを有しており、このスリットを開いて内部に電線を挿入することで、電線の外側に取り付けられ、その後、スリットを閉じるためにコルゲートチューブの外周にテープを巻き付けるテープ巻き作業が行われる。しかしながら、ワイヤハーネスの種類等によってテープ巻不可領域の位置や範囲が個々に異なることから、それらを作業者が判別しつつテープ巻き作業が人手によって行われている。このようにテープ巻き作業が人手によって行われるために作業効率の向上には限界があり、ワイヤハーネスの製造工程における生産性向上のためには、テープ巻き作業の効率化が求められている。
本発明は、上記した点に鑑み、線状部材に対するテープ巻き作業を効率化することによってワイヤハーネス製造現場における生産性を向上させることができるテープ巻付装置及びテープ巻付方法を提供することを目的とする。
前記課題を解決するために、請求項1に記載された本発明のテープ巻付装置は、線状部材の長手方向に沿って螺旋状にテープを巻き付けるテープ巻付装置であって、前記線状部材を直線状に支持する保持手段と、前記線状部材の周囲に前記テープを旋回させる旋回手段と、前記テープを前記線状部材の表面に貼付する貼付手段と、前記テープを切断する切断手段と、前記保持手段と前記旋回手段、前記貼付手段及び前記切断手段とを前記線状部材の長手方向に沿って相対移動させる移動手段と、前記旋回手段、前記貼付手段、前記切断手段及び前記移動手段を駆動制御する制御手段と、を備え、前記制御手段は、前記旋回手段により前記テープを旋回させつつ、前記移動手段により該旋回手段と前記保持手段とを相対移動させることで、前記線状部材の周囲に前記テープを巻き付けてテープ巻付部を形成する巻付動作と、前記巻付動作を停止してから前記切断手段により前記テープを切断し、前記移動手段により前記旋回手段と前記保持手段とを所定距離だけ相対移動させ、前記貼付手段により前記テープを前記線状部材の表面に貼付することで、所定長さの非巻付部を形成する非巻付動作と、を交互に実行させることを特徴とする。
請求項2に記載されたテープ巻付装置は、請求項1に記載のテープ巻付装置において、前記旋回手段は、ロール状の前記テープを回転自在に支持するテープ支持部と、前記テープの繰り出し側端部近傍を把持するテープ把持部と、前記テープ支持部を保持して前記線状部材の周囲で回転可能な回転体と、前記回転体を回転駆動する駆動手段と、を有して構成され、前記制御手段は、前記テープ把持部に前記テープを把持させ、この把持状態において前記切断手段により前記テープを切断する切断動作を実行させることを特徴とする。
請求項3に記載された本発明のテープ巻付方法は、線状部材の長手方向に沿って螺旋状にテープを巻き付けるテープ巻付方法であって、前記いずれかのテープ巻付装置を用い、前記線状部材を直線状に支持しておき、前記線状部材の表面に前記テープを貼付してから、前記線状部材の周囲に前記テープを旋回させつつ、該テープを前記線状部材の長手方向に沿って一端側から他端側に向かって相対移動させることで、前記線状部材の周囲に前記テープを巻き付けるテープ巻付工程と、前記巻付工程の後に前記テープを切断してから、前記テープを前記線状部材の他端側に向かって所定距離だけ相対移動させた位置で前記線状部材の表面に該テープを再貼付することで、所定長さの非巻付部を形成する非巻付工程と、を交互に実行することを特徴とする。
請求項1記載の発明によれば、旋回手段及び移動手段を連動させて線状部材の周囲にテープを巻き付ける巻付動作と、切断手段でテープを切断し、テープを移動させ、貼付手段で線状部材の表面にテープを再び貼付する非巻付動作と、を交互に実行することで、線状部材の長手方向に沿ってテープ巻付部と非巻付部とが交互に形成される。このように、従来は作業者の手作業により行われていた作業を機械化することで、電線や外装部材等の線状部材に対するテープ巻き付け作業の作業効率を向上させることができ、ワイヤハーネス製造現場における生産性を向上させることができる。さらに、非巻付部の位置や範囲がワイヤハーネスの種類等によって個々に異なる場合であっても、制御手段に入力するパラメータを変更するだけで容易に対応することができ、異なる非巻付部ごとに従来のような補助治具を準備する必要がなくなることから、生産性をより一層向上させることができる。
請求項2記載の発明によれば、旋回手段がテープ把持部を有し、テープ把持部でテープの繰り出し側端部近傍を把持した把持状態においてテープを切断することで、巻付動作の際に作用する張力によって繰り出されたテープが伸びたとしても、繰り出された部分が切断によりロール側に収縮して戻ってしまうのを防止することができる。
請求項3記載の発明によれば、前記テープ巻付装置と同様の作用、効果を奏することができ、電線や外装部材等の線状部材に対するテープ巻き付け作業の作業効率を向上させることができ、ワイヤハーネス製造現場における生産性を向上させることができる。
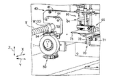
本発明の実施形態に係るテープ巻付装置を示す全体斜視図である。 前記テープ巻付装置を示す正面図である。 前記テープ巻付装置におけるヘッド部を示す斜視図である。 前記ヘッド部の一部を省略して示す斜視図である。 前記ヘッド部の一部を省略して示す正面図である。 前記ヘッド部の一部を省略して示す上流側の側面図である。 前記ヘッド部の一部を省略して示す下流側の側面図である。 前記テープ巻付装置における旋回手段を示す上流側の斜視図である。 前記旋回手段を示す下流側の斜視図である。 前記テープ巻付装置における貼付手段及び切断手段を示す斜視図である。 前記テープ巻付装置における供給手段を示す斜視図である。 前記貼付手段の動作を示す斜視図である。 図12に続く前記貼付手段の動作を示す斜視図である。 図13に続く前記貼付手段の動作を示す斜視図である。 図14に続く前記貼付手段の動作を示す斜視図である。 図15に続く前記貼付手段の動作を示す斜視図である。 図16と異なる方向から見た前記貼付手段の動作を示す斜視図である。 図16に続く前記貼付手段の動作を示す斜視図である。 図18と異なる方向から見た前記貼付手段の動作を示す斜視図である。 図18に続く前記貼付手段の動作を示す斜視図である。 前記旋回手段の動作を示す側面図である。 図21に続く前記旋回手段の動作を示す斜視図である。 図22と異なる方向から見た前記旋回手段の動作を示す斜視図である。 前記切断手段の動作を示す斜視図である。 図24に続く前記切断手段の動作を示す斜視図である。 前記テープ巻付装置の他の動作を示す正面図である。 前記供給手段の動作を示す斜視図である。 図27に続く前記供給手段の動作を示す斜視図である。 図28と異なる方向から見た前記供給手段の動作を示す斜視図である。 図29に続く前記供給手段の動作を示す正面図である。 図29と異なる方向から見た前記供給手段の動作を示す平面図である。 図30に続く前記供給手段の動作を示す平面図である。 図30の各部を断面して示す断面図である。 前記テープ巻付装置の他の動作を示す斜視図である。 図34に続く前記テープ巻付装置の動作を示す斜視図である。
以下、本発明の一実施形態に係るテープ巻付装置を、図1〜図35を参照して説明する。本実施形態のテープ巻付装置1は、ワイヤハーネスWの製造過程において、該ワイヤハーネスWの電線部分W1にテープTを巻き付けるとともに、電線部分W1を覆う外装部材であるコルゲートチューブCを取り付け、さらにコルゲートチューブCの外周にテープTを巻き付けるための装置である。即ち、このテープ巻付装置1は、電線に外装部材を取り付ける外装部材取付装置としても機能する。
なお、以下では、説明を簡略するために、ワイヤハーネスWの長手方向を単にX方向とし、X方向と直交する水平方向を単にY方向とし、鉛直方向を単にZ方向として記すことがある。さらに、X方向一方側(図1、2の右側)を単に上流側とし、X方向他方側(図1、2の左側)を単に下流側として記す場合がある。また、Y方向の一方側(図1、2の紙面手前側)を単に手前側とし、Y方向の他方側(図1、2の紙面奥側)を単に奥側として記す場合がある。
ワイヤハーネスWは、長尺線状の電線部分W1と、電線部分W1の端末に固定されるコネクタW2と、を備えたものであり、例えば、電気自動車等における電源からの高圧電流を伝送するために利用される。電線部分W1は、複数の素線を撚り合せた撚り線等からなる導体と、導体を覆う被覆部と、被覆部を覆う編組等からなるシールド部と、を有したシールド電線である。なお、本実施形態におけるワイヤハーネスWの電線部分W1は、その途中に分岐を有さない1本の電線で構成されたものを例示するが、電線部分W1は、複数の電線が束ねられたものでもよいし、複数の電線から分岐する分岐電線を有したものであってもよい。
コルゲートチューブCは、合成樹脂製等から長尺筒状に形成されるとともに、その長手方向に沿って切り込まれたスリットC1(図33参照)を有したものである。即ち、コルゲートチューブCの断面形状としては、円環の一部がスリットC1により分離され、このスリットC1を開くことによって断面C字状に弾性変形し、開いたスリットC1を介して内外が連通される。従って、開いたスリットC1部分からコルゲートチューブCの内部にワイヤハーネスWの電線部分W1を挿入することができ、これによりコルゲートチューブCは、電線部分W1の外側を覆ってワイヤハーネスWに取り付けられるようになっている。
テープTは、例えば、ポリ塩化ビニル(PVC)基材に粘着剤を塗布した粘着テープであって、紙筒等からなる巻芯の周囲に巻き重ねられたロール状の形態で準備される。このテープTは、ワイヤハーネスWの電線部分W1に巻き付けられるとともに、電線部分W1に取り付けられたコルゲートチューブCの外周に巻きつけられる。電線部分W1に対しテープTは、互いに重ならない荒い螺旋状に巻き付けられ、このテープTの荒巻きによりシールド部(編組)がコルゲートチューブCのスリットC1に挟まれないように電線部分W1を保護するものである。さらに、コルゲートチューブCに対しテープTは、互いに半幅程度ずつ重なるように巻き付けられ、これによりスリットC1を閉じることで、コルゲートチューブCの保護性能を確保するようになっている。
〔テープ巻付装置の構成〕
以下、テープ巻付装置1の構成を説明する。
テープ巻付装置1は、支持台1Aの上に設置されてワイヤハーネスWを保持する保持手段としての布線装置2と、布線装置2の上方に位置してワイヤハーネスWの長手方向(図1の左右方向であり、X方向)に沿って移動自在に設けられる装置本体であるヘッド部3と、ヘッド部3をX方向に往復駆動する移動手段としての本体駆動部4と、布線装置2及びヘッド部3の後述する各部と本体駆動部4とを駆動制御する制御手段としての装置制御部5と、を備えて構成されている。
布線装置2は、図1、図2に示すように、X方向に長尺な板状に形成されるとともに支持台1Aの上に水平状態で設置される布線板10と、布線板10のX方向上流側の端部に設けられてワイヤハーネスWのコネクタW2と嵌合するコネクタ保持部11と、布線板10の中間部分にX方向下流側に向かって適宜な間隔で設けられてワイヤハーネスWの電線部分W1を支持する複数の布線治具12と、を備えて構成されている。布線治具12は、先端が上方に開口して電線部分W1を挿通可能なフォーク状の係止爪部13と、この係止爪部13の基端側(下側)に設けられた治具駆動部14と、を有するとともに、布線板10に形成された孔部15を介して布線板10の上面から突没駆動されるようになっている。
ヘッド部3は、図3〜図7にも示すように、本体駆動部4に支持されるベース20と、このベース20に支持されるケース30と、ベース20に支持されるとともにケース30の内部に設けられてテープTを旋回させる旋回手段40と、テープTを電線部分W1又はコルゲートチューブCの表面に貼付する貼付手段60と、電線部分W1又はコルゲートチューブCに巻き付けたテープTを切断する切断手段70と、ベース20に支持されるとともにケース30の外部に設けられてコルゲートチューブCを供給する供給手段80と、を備えて構成されている。
本体駆動部4は、ヘッド部3のベース20を支持して案内するガイドレール4Aと、このガイドレール4Aに沿ってヘッド部3をスライド移動させる図示しないリニアモータと、装置制御部5からヘッド部3に接続される電力線や信号線などの電線をガイドする電線ガイド4Bと、を有して構成されている。ガイドレール4Aは、X方向に延びて設けられ、リニアモータの駆動によりヘッド部3をスライド案内するようになっている。電線ガイド4Bは、装置制御部5からヘッド部3に配索される電線を保護しつつ、ヘッド部3のスライドに伴って引っ張りや弛みが生じないように電線を案内して屈曲伸張可能に構成されている。
装置制御部5は、布線装置2の下方に設けられる制御部本体5Aと、布線装置2の端部に設けられる制御操作部5Bと、制御操作部5Bよりも手前側に設けられる副操作部5Cと、を有して構成されている。制御部本体5Aは、図示しない電源装置やコンピュータ等を有し、制御操作部5Bや副操作部5Cのスイッチから入力される操作信号に応じて適宜な制御信号を出力するとともに、制御操作部5Bに設けられたモニタに各種情報を表示させる。
制御操作部5Bは、布線装置2全体の動作をON/OFFするスイッチや、動作モードを切り替えるスイッチなどとともに、動作モードや各種パラメータを表示するモニタを有して構成されている。副操作部5Cは、布線板10のX方向上流側に設けられ、Y方向手前側から容易に操作可能に設けられ、布線装置2の駆動中に待機状態(後述)となった場合に再駆動させるためのスイッチを有するとともに、この副操作部5Cにコネクタ保持部11が設けられている。
ベース20は、金属平板状のベースプレート21と、ベースプレート21上に設けられるスライドガイド22と、スライドガイド22によりスライド自在に支持されるとともに鉛直上方に立設される金属平板状のスライドプレート23と、ベースプレート21に固定されてスライドプレート23をスライド駆動するエアシリンダ24と、電線ガイド4Bの端部が接続されるブラケット25と、電線ガイド4Bからの電線が接続される電気接続部26と、を備えて構成されている。
ベースプレート21は、その下面に設けられた図示しないスライダがガイドレール4Aに案内されることで、布線板21の長手方向に沿って往復移動可能に支持されている。スライドプレート23の下端縁には、フランジが固定され、このフランジには、スライドガイド22に案内されるスライダ27が固定され、これによりスライドプレート23は、Y方向に沿ってスライド移動可能に支持されている。エアシリンダ24は、Y方向奥側に向かって突没自在な出力軸24Aを有するとともに、この出力軸24Aがブラケット23Bを介してスライドプレート23のフランジに固定されており、このエアシリンダ24によってスライドプレート23がY方向に沿って進退駆動されるようになっている。
ケース30は、アクリル板等で構成された全体箱状のものであり、ベースプレート21にブラケットを介して固定されるケース本体31と、このケース本体31のY方向手前側に開閉自在に設けられるケース蓋部32と、ケース蓋部32を開閉駆動するエアシリンダ33と、エアシリンダ33の駆動力をケース蓋部32に伝達するワイヤ34と、ケース本体31とケース蓋部32との当接位置に設けられる一対の電線挿通部35と、を備えて構成されている。
ケース蓋部32は、ケース本体31に設けられたレールに沿って上下移動可能に支持されており、エアシリンダ33によりワイヤ34を引っ張ることで上方に開放されるように構成されている。電線挿通部35は、ケース30のX方向上流側及び下流側に設けられ、それぞれ、ケース本体31とケース蓋部32とに固定された一対の挿通部材35A,35Bで構成されている。挿通部材35A,35Bは、それぞれ半円形状の切欠きを有し、ケース蓋部32を閉じて切欠き同士を合わせることで、ワイヤハーネスWの電線部分W1及びコルゲートチューブCを挿通可能な挿通孔が形成される。
旋回手段40は、図8、9にも示すように、ベース20のスライドプレート23に基端部が固定されてY方向手前側に片持ち状に延びる支持プレート41と、この支持プレート41の先端部に所定間隔だけ離れて固定される対向プレート42と、支持プレート41の上下端縁に沿って設けられて支持プレート41と対向プレート42との間隔を維持する一対のスペーサ43と、支持プレート41の上流側にシム板44Bを介して設けられる回転体である回転板44と、回転板44を回転駆動する駆動手段としての回転駆動手段45と、回転板44に連結されてテープTを支持するテープ支持部50と、を備えて構成されている。
回転駆動手段45は、支持プレート41の下流側の側面にブラケット46Aを介して固定される回転モータ46と、支持プレート41に軸支されて回転モータ46の出力ギアに噛合する駆動ギア47と、支持プレート41に軸支されて駆動ギア47に噛合する上下一対の中間ギア48と、支持プレート41と対向プレート42との間に回転自在に支持されて一対の中間ギア48に噛合する従動ギア49と、を有して構成されている。回転板44は、従動ギア49に連結されて従動ギア49とともに回転し、この回転板44の回転によって、テープ支持部50に支持されたテープTが電線部分W1やコルゲートチューブCの周囲を旋回するようになっている。
支持プレート41及び対向プレート42は、その先端側(Y方向の手前側)端縁にU字状の切欠き41A,42Aを有して形成され、この切欠き41A,42AにワイヤハーネスWの電線部分W1及びコルゲートチューブCが挿通できるようになっている。また、回転板44及び従動ギア49においても、その周縁の一部から中心を含む部位までに亘ってU字状の切欠き44A,49Aが形成され、この切欠き44A,49Aに電線部分W1及びコルゲートチューブCが挿通でき、回転板44及び従動ギア49が電線部分W1及びコルゲートチューブCを中心として、その周囲で回転できるようになっている。また、従動ギア49は、一対の中間ギア48に噛合して回転駆動されることから、切欠き49Aが一方の中間ギア48を通過する際にも他方の中間ギア48との噛合が確保され、従動ギア49の回転駆動が阻害されないようになっている。
テープ支持部50は、回転板44に連結されるブラケット51と、このブラケット51に一端側が回動自在に連結されるテープホルダ52と、このテープホルダ52に設けられてテープTの巻芯に挿通されるテープ支持軸53と、テープホルダ52の他端側に設けられてテープTの繰り出し側端部を保持可能なテープ把持部としてのテープチャック54と、テープホルダ52とブラケット51とを連結して設けられるコイルばね55と、ブラケット51から支持プレート41側に向かって突出して設けられる被検知部56と、を備えて構成されている。
また、支持プレート41の先端部には、その下側に垂下するとともにテープ支持部50側に向けたセンサー57が設けられ、このセンサー57が被検知部56を検知することで、テープ支持部50の回転位置が判定され、この判定に基づき、回転モータ44の停止位置が制御される。即ち、電線部分W1及びコルゲートチューブCの下方にテープTが位置し、回転板44及び従動ギア49の切欠き44A,49Aが、支持プレート41及び対向プレート42の切欠き41A,42Aと同一方向(Y方向手前側)を向く位置で回転モータ46の回転が停止されるようになっている。
ブラケット51は、その基端部が回転板44にねじ止め固定されるとともに、先端部が回転板44等の回転中心から離れる方向に延びて設けられ、この先端部にテープホルダ52を回動自在に連結するリンク51Aが設けられている。リンク51Aは、ブラケット51の先端部からX方向上流側に延びて設けられ、このリンク51Aの先端にテープホルダ52が軸支されている。また、リンク51Aには、図示しない回動規制部材が設けられ、テープホルダ52の回動角度を所定角度以下に規制できるように構成されている。さらに、テープホルダ52は、コイルばね55によってブラケット51に近づく方向に付勢されており、回動した状態から図8等に示す回動前の状態に復帰するようになっている。
テープチャック54は、テープホルダ52に固定されるとともにX方向上流側に延びる第一保持部材54Aと、第一保持部材54Aの先端部に固定されてY方向手前側に延びる連結部材54Bと、連結部材54B及びテープホルダ52に回動自在に支持されて第一保持部材54Aの手前側に対向して設けられる第二保持部材54Cと、を有して構成されている。
第一保持部材54Aと第二保持部材54Cとの間には、テープTを挿通可能な隙間が形成されるとともに、第二保持部材54Cが回動することで隙間が閉じるように構成されている。即ち、第一保持部材54Aと第二保持部材54Cとの間にテープTの繰り出し側端部T1が挿通される挿通方向に向かっては、隙間が開く方向に第二保持部材54Cが回動し、テープTの繰り出し側端部T1が張力によって巻芯側に戻ろうとする逆方向に向かっては、隙間が閉じる方向に第二保持部材54Cが回動することで、第一保持部材54Aと第二保持部材54CとでテープTを挟持して保持できるようになっている。
以上の旋回手段40は、支持プレート41がベース20のスライドプレート23に固定されていることから、エアシリンダ24の駆動によってスライドプレート23とともにY方向に沿って進退駆動されるようになっている。具体的には、図10に示すように、支持プレート41、対向プレート42、回転板44及び従動ギア49の切欠き41A,42A,44A,49Aに電線部分W1やコルゲートチューブCが挿通されず、テープ支持部50のテープTが電線部分W1やコルゲートチューブCよりもY方向奥側に位置した退避位置に、旋回手段40は後退される。そして、エアシリンダ24によってY方向手前側に駆動されることで、図8、9に示すように、切欠き41A,42A,44A,49Aに電線部分W1やコルゲートチューブCが挿通され、テープTが電線部分W1やコルゲートチューブCの下方に位置する巻付位置まで前進されるようになっている。
貼付手段60は、図3〜7、及び図10にも示すように、スライドプレート23及び支持プレート41にブラケット61Aを介して固定されるガイドレール61と、このガイドレール61にスライダ62A及びブラケット62Bを介してスライド自在に支持される貼付支持プレート62と、スライドプレート23にブラケットを介して固定されて出力軸63Aが貼付支持プレート62のブラケット62Bに連結されるエアシリンダ63と、テープTの繰り出し側端部T1を把持してテープTを引き出すテープ引出部64と、引き出したテープを電線部分W1やコルゲートチューブCに押圧するテープ押圧部65と、を備えて構成されている。
貼付支持プレート62は、ガイドレール61に案内されるとともに、エアシリンダ63の駆動によってY方向に沿って進退自在に設けられている。即ち、図10に示す後退位置からエアシリンダ63によって押し出されることで、貼付支持プレート62は、図12に示すように、Y方向手前側に前進されて把持ヘッド66(後述)がテープTの上方に位置する貼付位置まで移動可能に設けられている。
テープ引出部64は、貼付支持プレート62にブラケット62Cを介して固定されるエアシリンダ64Aと、貼付支持プレート62から下方に延びて設けられる2本の昇降ガイド64Bと、エアシリンダ64Aの出力軸64Cに固定されるとともに昇降ガイド64Bに案内される昇降プレート64Dと、この昇降プレート64Dに支持される把持ヘッド66と、を有して構成されている。
昇降プレート64Dは、昇降ガイド64Bに案内されるとともに、エアシリンダ64Aの駆動によって上下方向に沿って昇降自在に設けられている。即ち、図10、12に示す上昇位置(引出位置)からエアシリンダ64Aによって押し下げられることで、昇降プレート64D及び把持ヘッド66は、図13、14に示すように、下方に下降されて把持ヘッド66がテープ支持部50のテープチャック54に当接又は近接する把持位置まで移動可能に設けられている。
把持ヘッド66は、昇降プレート64Dに固定される把持ヘッド本体66Aと、この把持ヘッド本体66Aの下端部に固定されるチャックガイド66Bと、このチャックガイド66Bの下側にてY方向に離間接近自在に支持された一対の把持部材66Cと、把持ヘッド本体66Aの内部に設けられて一対の把持部材66Cを離間接近させるエアシリンダ(不図示)と、を有して構成されている。
この把持ヘッド66は、図13に示す把持位置まで下降されてテープチャック54に当接又は近接した状態において、一対の把持部材66Cが互いに接近する方向に駆動されることで、図14に示すように、テープTの繰り出し側端部T1を把持し、この把持状態から図15に示すように、昇降プレート64D及び把持ヘッド66が引出位置まで上昇されることで、テープTを引き出すことができるようになっている。
テープ押圧部65は、貼付支持プレート62の奥側から垂下されたブラケット62Dに支持されるエアシリンダ65Aと、このエアシリンダ65Aの出力軸65Bに固定される中間部材65Cと、この中間部材65Cに回動自在に支持される先端部材65Dと、中間部材65Cに対して先端部材65Dを付勢するばね65Eと、先端部材65Dの先端部に固定される押圧ヘッド65Fと、を有して構成されている。
先端部材65Dは、Y方向手前側に延びる略水平な状態から先端側が上方に向かって回動自在に中間部材65Cに支持されるとともに、回動した状態から水平状態に復帰する方向にばね65Eで付勢されている。押圧ヘッド65Fは、回転可能なローラー65Gを有するとともに、中間部材65Cに対して先端部材65Dが回動することで、電線部分W1やコルゲートチューブCの周面に沿ってローラー65Gを転動させつつ、ばね65Eの付勢力によってテープTを押圧するように構成されている。
中間部材65C、先端部材65D及び押圧ヘッド65Fは、エアシリンダ65Aの駆動によってY方向に沿って進退自在に設けられている。即ち、図12、13、16,17などに示す後退位置からエアシリンダ65Aによって押し出されることで、中間部材65C、先端部材65D及び押圧ヘッド65Fは、図18、19に示すように、Y方向手前側に前進されて押圧ヘッド65Fのローラー65GがテープTを電線部分W1やコルゲートチューブCに押圧する押圧位置まで移動可能に設けられている。
切断手段70は、図3〜6、及び図10にも示すように、スライドプレート23にブラケット71Bを介して固定される切断駆動部としてのエアシリンダ71と、このエアシリンダ71の出力軸71Aに固定される切断ヘッド72と、この切断ヘッド72の先端部に固定される切断刃73と、切断ヘッド72の先端部にて切断刃73よりも下流側に固定される規制部材74と、エアシリンダ71の上面に固定されて切断ヘッド72の上方に位置して設けられる仕切り板75と、を備えて構成されている。
切断刃73は、鋭利な先端部を有し、この先端部をテープTに食い込ませることによってテープTを切断するものである。切断ヘッド72は、エアシリンダ71の駆動によってY方向に沿って進退自在に設けられている。即ち、図10、13、16,17などに示す後退位置からエアシリンダ71によって押し出されることで、切断刃73は、図24に示すように、Y方向手前側に前進されてテープTを切断する切断位置まで移動可能に設けられている。
規制部材74は、その上面が切断刃73と略同一の高さに設けられるとともに、先端部が切断刃73よりもY方向手前側に位置して設けられている。この規制部材74の先端部には、手前側が下がった傾斜面74Aが形成されている。この規制部材74は、切断刃73がテープTに食い込むよりも以前に、その傾斜面74Aを電線部分W1やコルゲートチューブCの下側に摺接させて潜り込み、これにより、電線部分W1やコルゲートチューブCを下方から支持して高さ位置が下がるのを規制し、切断位置において、切断刃73の接触による電線部分W1やコルゲートチューブCの破損が防止されるようになっている。
供給手段80は、図3〜6、及び図11にも示すように、ベースプレート21に固定されてケース30の外側に延びて立ち上がるブラケット81と、このブラケット81に固定されてY方向手前側に延びるガイド板82と、このガイド板82に沿って延び一端がブラケット81に固定されて他端がガイド板82の先端板82Aに固定される上下一対のガイド軸83と、ガイド軸83に案内されてY方向にスライド自在に支持されるスライド部材84と、ブラケット81に固定されるとともに出力軸85Aがスライド部材84に連結されるエアシリンダ85と、スライド部材84の上面から立設されて鉛直軸回りに回転可能に支持される2つの回転ローラー86と、スライド部材84の上面から立設されるブラケット87Aを介して設けられるクランブ部材87と、このクランブ部材87のアーム87B先端に取り付けられる挿入子88と、を備えて構成されている。
スライド部材84は、ガイド軸83に案内されるとともに、エアシリンダ85の駆動によってクランブ部材87及び挿入子88とともにY方向に沿って進退駆動されるようになっている。即ち、図11に示す退避位置からエアシリンダ85によって押し出されることで、スライド部材84は、図27に示すように、Y方向手前側に前進されて回転ローラー86が電線部分W1に当接する位置まで移動可能に設けられている。回転ローラー86は、電線部分W1に対してY方向奥側から当接するとともに転動することで、電線部分W1の移動を規制し、後述する電線部分W1へのコルゲートチューブCの取り付けを補助するものである。
クランブ部材87は、手動で回動操作されるものであって、図27に示すように、挿入子88を上方に退避させた状態から、図28に示すように、挿入子88を電線部分W1に沿って位置させるガイド状態まで回動可能になっている。ガイド状態において、クランブ部材87は、ブラケット87Aに固定された係止部材87Cに係止され、ガイド状態が維持されるようになっている。
挿入子88は、図30〜33にも示すように、スリットC1を通してコルゲートチューブCの内部に挿入されるものであって、断面L字形のブラケット88Aを介してクランブ部材87のアーム87Bに固定され、ガイド状態において、電線部分W1の長手方向(X方向)と所定の傾斜角度だけ傾斜してセットされるようになっている。この傾斜角度としては、コルゲートチューブCのスリットC1を通して電線部分W1を内部に挿入しやすい角度であり、電線部分W1の長手方向となす角度が例えば15°〜35°の範囲に設定されている。
この挿入子88は、金属板材からなる第一部材88Bと、樹脂部材からなる第二部材88Cと、これらの間に挟まれる薄板状の第三部材88Dと、を有して構成されている。第一部材88Bは、X方向下流側の端部から突出した突起部881と、この突起部881に連続して幅寸法が徐々に大きくなる傾斜部882と、傾斜部882に連続して一定の幅寸法を有した平行部883と、上流側(先端側)に向かって二股状に分岐した分岐部884と、この分岐部884間に電線部分W1を受け入れる凹部885と、を有して形成されている。
また、第二部材88C及び第三部材88Dは、第一部材88Bのような突起部881を有さないものの、第一部材88Bと同様に先端側に向かって二股状に分岐した分岐部及び凹部(不図示)を有して形成されている。ここで、ガイド状態において、挿入子88は、樹脂製の第二部材88Cが電線部分W1の側に位置し、第二部材88Cの凹部に摺動させて電線部分W1を案内するとともに、この凹部と回転ローラー86とで電線部分W1を挟むことで、電線部分W1の移動を規制可能に構成されている。また、第三部材88Dは、第一部材88B及び第二部材88Cよりも幅寸法が大きく形成され、第一部材88B及び第二部材88Cから突出した突条88Eを形成し、この突条88EによってコルゲートチューブCの脱落が防止されるようになっている。
さらに、供給手段80は、図29〜32にも示すように、ケース30のケース蓋部32に設けられてコルゲートチューブCを挿通可能なガイド部89と、布線板10に設けられてコルゲートチューブCの端部を保持する保持部90と、を備えている。ガイド部89は、ケース蓋部32の角部に固定される角筒状の部材で構成され、X方向下流側に向かってY方向手前側に傾斜した姿勢で取り付けられている。即ち、ガイド部89は、X方向下流側から挿入されたコルゲートチューブCを挿通させ、上流側の挿入子88及び電線部分W1に向かって所定の傾斜角度をもって円滑に案内できるように構成されている。
保持部90は、布線板10における副操作部5C(コネクタ保持部11)の下流側近傍に設けられ、布線板10に設けられる本体部91と、本体部91の上部に設けられるチャック部92と、を有して構成されている。この保持部90は、図示しない昇降機構によって布線板10の上面から突没駆動されるようになっており、電線部分W1にコルゲートチューブCを取り付ける際には、布線板10の上面から突出した保持位置に移動され、この保持位置においてチャック部92によりコルゲートチューブCを把持できるようになっている。一方、コルゲートチューブCの外周にテープTを巻き付ける際には、保持部90が布線板10の上面から下方に没入した退避位置に移動され、テープ巻きの際にヘッド部3の移動を阻害しないようになっている。
〔テープ巻付装置の動作〕
以下、テープ巻付装置1の動作を説明する。テープ巻付装置1の動作としては、ワイヤハーネスWの電線部分W1に螺旋状にテープTを巻き付ける第一巻付動作と、コルゲートチューブCの外側に螺旋状にテープTを巻き付ける第二巻付動作と、電線部分W1の外側にコルゲートチューブCを取り付ける外装部材取付動作と、があり、各動作がテープ巻付装置1によって順次又は同時に実行される。なお、各動作において、特に説明しない場合には、装置各部は装置制御部5によって制御されて自動運転又は半自動運転されるものとする。
第一巻付動作及び第二巻付動作に共通する動作工程としては、テープ支持部50に支持されたロール状のテープTから繰り出し側端部T1を引き出す引出工程(引出動作)と、引き出したテープTの繰り出し側端部T1を電線部分W1又はコルゲートチューブCに貼付する貼付工程(貼付動作)と、テープTを電線部分W1又はコルゲートチューブCの周囲に旋回させて巻き付ける巻付工程(テープ巻付工程、巻付動作)と、電線部分W1又はコルゲートチューブCの周囲に巻き付けたテープTを切断する切断工程(切断動作)と、がある。
引出工程は、図10に示すように、旋回手段40、貼付手段60及び切断手段70が退避位置にある状態、即ち、テープ支持部50のテープTが電線部分W1やコルゲートチューブCよりもY方向奥側に位置した状態において実行される。先ず、貼付手段60は、図12に示すように、エアシリンダ63によって貼付支持プレート62をY方向手前側に向かって押し出し、貼付ヘッド66をテープT上方の貼付位置まで移動させる。
次に、図13に示すように、エアシリンダ64Aによって昇降プレート64Dを押し下げ、テープチャック54に当接又は近接する把持位置まで把持ヘッド66を下降させてから、図14に示すように、把持ヘッド本体66A内のエアシリンダによって一対の把持部材66Cを接近させてテープTの繰り出し側端部T1を把持する。その後、一対の把持部材66Cで繰り出し側端部T1を把持したまま、図15に示すように、エアシリンダ64Aによって昇降プレート64Dを引き上げ、把持ヘッド66を引出位置まで上昇させてテープTの繰り出し側端部T1を引き出す。
貼付工程は、引出工程に続いて実行され、貼付手段60の把持ヘッド66がテープTの繰り出し側端部T1を引き出した状態から、図16に示すように、ベース20のエアシリンダ24がスライドプレート23をY方向手前側に向かって押し出すことで、旋回手段40を巻付位置まで移動させるとともに、貼付手段60及び切断手段70も前進させ、貼付ヘッド66を電線部分W1又はコルゲートチューブCの上方位置まで移動させる。この移動によって、図17に示すように、引き出されたテープTの接着面が電線部分W1又はコルゲートチューブCの側面に押し付けられて、テープTの一部が貼付される。この後、把持ヘッド本体66Aは、一対の把持部材66Cを離隔させてテープTの把持を解除する。
次に、テープ押圧部65は、図18、19に示すように、エアシリンダ65Aによって押圧ヘッド65Fを押し出して押圧位置まで移動させる。この押圧ヘッド65Fの移動によって、ローラー65GがテープTに当接するとともに、電線部分W1又はコルゲートチューブCの側面から上面側に転動し、このローラー65Gの転動によってテープTを電線部分W1又はコルゲートチューブCに押圧し、テープTの繰り出し側端部T1が貼付される。この後、貼付手段60は、図20に示すように、エアシリンダ63によって貼付支持プレート62をY方向奥側に向かって引き戻し、貼付手段60及び切断手段70を旋回手段40から退避させる。
巻付工程は、貼付工程に続いて実行され、テープTの繰り出し側端部T1が電線部分W1又はコルゲートチューブCに貼付された状態から、図21に示すように、旋回手段40は、回転駆動手段45の回転モータ46を駆動して従動ギア49及び回転板44を回転させる。この回転板44の回転によって、テープ支持部50に支持されたテープTが電線部分W1又はコルゲートチューブCの周囲を上流側から見て時計回りに旋回する。
このように旋回手段40によってテープTを旋回させると同時又は所定時間後に、本体駆動部4は、リニアモータによってヘッド部3のベース10をX方向下流側に移動させる。このヘッド部3の移動によって、テープTは、旋回手段40によって旋回されつつ、電線部分W1又はコルゲートチューブCの長手方向下流側に向かって相対移動され、電線部分W1又はコルゲートチューブCに螺旋状に巻付けられることとなる。所定の長さだけテープTの巻付けが完了したら、本体駆動部4は、リニアモータを駆動停止してヘッド部3の移動を停止させ、旋回手段40は、回転モータ46を駆動停止して回転板44の回転を停止させる。
回転モータ46の停止位置は、図8に示すセンサー57が被検知部56を検知することで制御され、図22、23に示すように、電線部分W1及びコルゲートチューブCの下方にテープTが位置するとともに、回転板44及び従動ギア49の切欠き44A,49Aが、支持プレート41及び対向プレート42の切欠き41A,42Aと同一方向となるように回転モータ46が駆動停止される。従って、テープTが回転停止した状態において、図23に示すように、電線部分W1又はコルゲートチューブCのY方向奥側側面から下方のテープチャック54に向かってテープTの巻付け余長部T2が延びた状態となる。
切断工程は、巻付工程における回転モータ46の停止に続いて実行され、切断手段70は、図24に示すように、エアシリンダ71によって切断ヘッド72を押し出して切断位置まで移動させる。この切断ヘッド72の移動によって、規制部材74が電線部分W1又はコルゲートチューブCの下側に潜り込み、電線部分W1やコルゲートチューブCを下方から支持するとともに、切断刃73がテープTの巻付け余長部T2に食い込んで切断する。さらに、切断ヘッド72の先端部が電線部分W1又はコルゲートチューブCの下側に潜り込み、切断したテープTの巻付け余長部T2を電線部分W1又はコルゲートチューブCの側面から下面側に押圧して貼付する。
このように切断刃73でテープTの巻付け余長部T2を切断すると、切断された部分よりも下側にテープTの繰り出し側端部T1が形成される。この繰り出し側端部T1は、テープの張力や重力によって下方のロール部分に引き戻されようとするが、この引き戻される動きによってテープチャック54の第二保持部材54Cが回動し、第一保持部材54Aと第二保持部材54Cとの隙間を閉じることでテープTを挟持する。これによりテープTの繰り出し側端部T1は、図25(B)に示すように、テープチャック54から上方に突出した状態で保持される。この後、切断手段70は、エアシリンダ71によって切断ヘッド72をY方向奥側に向かって引き戻し、仕切り板75下側の後退位置まで移動させる。
〔第一巻付動作及び外装部材取付動作〕
本実施形態のテープ巻付装置1では、ワイヤハーネスWの電線部分W1に螺旋状にテープTを巻き付ける第一巻付動作と、電線部分W1の外側にコルゲートチューブCを取り付ける外装部材取付動作と、が同時に実行される。
第一巻付動作に先立ち、準備工程を実行する。この準備工程は、テープ巻付装置1の各部を初期位置に復帰させた状態で、作業者によって実施される。ヘッド部3の初期位置は、図1、2に示すように布線板10の上流側における副操作部5C近傍位置であり、ヘッド部3の初期位置において、ケース30のケース蓋部32は開放され、旋回手段40、貼付手段60、切断手段70及び供給手段80は、退避位置に後退されている。また、布線装置2において、複数の布線治具12は、布線板10の上面から突出した状態とされ、供給手段80の保持部90は、布線板10の上面から下方に没入した状態とされている。
準備工程では、先ず、ヘッド部3のテープ支持部50にテープTをセットし、その繰り出し側端部T1をテープチャック54に保持させ上方に突出させておく。また、布線板10にワイヤハーネスWを載置し、コネクタW2をコネクタ保持部11に嵌合させるとともに、電線部分W1を複数の布線治具12の係止爪部13に係止させる。さらに、ケース30の電線挿通部35のうちケース本体31の挿通部材35Aの切欠きに電線部分W1を挿通させておく。また、布線板10の手前側にコルゲートチューブCを準備しておく。
以上の準備工程が完了したら、作業者が制御操作部5Bのスイッチを操作して第一巻付動作を開始する。スイッチからの信号を受信した制御部本体5Aは、ケース30のエアシリンダ33によってケース蓋部32を閉じてから、ワイヤハーネスWの一端側(上流側)におけるコネクタW2近傍の電線部分W1に対し、引出工程と貼付工程を実行してから、電線部分W1の下流側に向かって巻付工程を実行する。この巻付工程では、旋回手段40によるテープTの旋回速度と比較して、本体駆動部4のリニアモータによるヘッド部3の移動速度が相対的に高速に設定され、これにより電線部分W1に対してテープTは、図26に示すように、互いに重ならない程度の荒い螺旋状に巻き付けられる。
制御部本体5Aは、所定長さだけ電線部分W1にテープTを巻き付けたら、本体駆動部4のリニアモータ及び旋回手段40の回転モータ46を同時に停止させ、巻付工程を中断する。この中断した状態において、制御部本体5Aは、図27に示すように、供給手段80のエアシリンダ85によりスライド部材84、クランブ部材87及び挿入子88を前進させ、回転ローラー86が電線部分W1に当接する位置まで移動させるとともに、供給手段80の保持部90を布線板10の上面から突出させてから、各部を停止させて待機状態(入力信号待ちの状態)となる。
待機状態において、作業者は、コルゲートチューブCを供給手段80にセットする外装部材セット工程を実施する。先ず、図28に示すように、クランブ部材87を回動させ、挿入子88を電線部分W1に沿って位置させてガイド状態とし、第一部材88Bの凹部885と第二部材88C及び第三部材88Dの凹部に電線部分W1を挿入する。次に、図29に示すように、準備しておいたコルゲートチューブCをガイド部89に挿通するとともに、その先端に挿入子88の突起部881を挿入し、図30〜33に示すように、スリットC1を開かせつつコルゲートチューブCを挿入子88に被せていく。さらに、コルゲートチューブCを上流側に押し込み、スリットC1を通してコルゲートチューブCの内部に電線部分W1を挿入して、挿入子88よりも上流部分において、電線部分W1の外側にコルゲートチューブCを取り付け、その端部を保持部90のチャック部92に載置する。
このようにコルゲートチューブCのセットが完了したら、作業者は、副操作部5Cのスイッチを操作して外装部材セット工程完了信号を制御部本体5Aに送信する。外装部材セット工程完了信号を受信した制御部本体5Aは、図34に示すように、保持部90のチャック部92にコルゲートチューブCを把持させてから、巻付工程を再開させ、電線部分W1にテープTを螺旋状に巻き付けるとともに、電線部分W1にコルゲートチューブCを取り付ける。即ち、巻付工程と外装部材取付工程とを同時に実行する。
具体的には、旋回手段40によって電線部分W1の周囲にテープTを旋回させつつ、本体駆動部4のリニアモータによってヘッド部3を電線部分W1の下流側に相対移動させることで、電線部分W1にテープTを螺旋状に巻き付けるとともに、ヘッド部3の移動に伴って供給手段80の挿入子88及びガイド部89を電線部分W1の下流側に相対移動させることで、コルゲートチューブCを案内しつつ電線部分W1に向かって供給し、挿入子88で開いたスリットC1を通してコルゲートチューブCの内部に電線部分W1を挿入し、電線部分W1の下流側に向かって順次コルゲートチューブCを取り付ける。
このような第一巻付動作及び外装部材取付動作における巻付工程及び外装部材取付工程において、制御部本体5Aは、ヘッド部3の移動を妨げないように、布線装置2の治具駆動部14により布線治具12を布線板10の上面から下方に没入させるとともに、ヘッド部3の通過後に、布線治具12を布線板10の上面から突出させて再び電線部分W1及びコルゲートチューブCを支持させる。このようにヘッド部3が通過する際に布線治具12による電線部分W1の支持が一時的に解除されることとなるが、ケース30の電線挿通部35に電線部分W1及びコルゲートチューブCが挿通されて支持されることから、その垂れ下がりを防止して、貼付工程や巻付工程、切断工程が適切に実行される。
以上のようにして、所定の長さに亘って電線部分W1へのテープTの巻き付けが完了したら、制御部本体5Aは、本体駆動部4のリニアモータ及び旋回手段40の回転モータ46を停止させ、巻付工程及び外装部材取付工程を終了する。次に、制御部本体5Aは、切断手段70によりテープTを切断させる切断工程を実行してから、ケース30のエアシリンダ33によりケース蓋部32を開放させるとともに、ベース20のエアシリンダ24によりスライドプレート23とともに旋回手段40、貼付手段60、切断手段70を退避位置に後退させてから、各部を停止させて待機状態となる。
待機状態において、作業者は、電線部分W1及びコルゲートチューブCから供給手段80の挿入子88を取り外すとともに、コルゲートチューブCの他端側を手作業により電線部分W1に取り付ける外装部材仕上工程を実施する。先ず、コルゲートチューブCを挿入子88から外すとともに、クランブ部材87を回動させて挿入子88を電線部分W1から離隔させてガイド状態を解除する。さらに、コルゲートチューブCのスリットC1を通してその他端側を電線部分W1に被せていき、コルゲートチューブCをその全長に亘って電線部分W1に取り付ける。
このようにコルゲートチューブCの取り付けが完了したら、作業者は、副操作部5Cのスイッチを操作して外装部材仕上工程完了信号を制御部本体5Aに送信する。外装部材仕上工程完了信号を受信した制御部本体5Aは、供給手段80のエアシリンダ85によりスライド部材84、クランブ部材87及び挿入子88を退避位置まで後退させるとともに、保持部90のチャック部92によるコルゲートチューブCの保持を解除し、保持部90を布線板10の上面から下方に没入させる。さらに、制御部本体5Aは、本体駆動部4のリニアモータによりヘッド部3を初期位置に復帰させてから、各部を停止させて待機状態となる。
以上によりテープ巻付装置1による第一巻付動作と外装部材取付動作とが完了する。これに引き続き、第二巻付動作が実行される。
〔第二巻付動作〕
本実施形態のテープ巻付装置1による第二巻付動作は、コルゲートチューブCに対してテープTを互いに半幅程度ずつ重なるように巻き付ける動作であり、これによりコルゲートチューブCのスリットC1を閉じて保護性能を確保し、コルゲートチューブC付きのワイヤハーネスWを完成させるものである。ここで、コルゲートチューブCには、後工程において車両固定用のクランプが適宜な間隔で複数個所に取り付けられ、このクランプ取付位置に対してはテープTを巻き付けないように設定されている。即ち、第二巻付動作においては、コルゲートチューブCの長手方向に沿った所定範囲にテープTを巻き付けてテープ巻付部を形成する巻付動作(巻付工程)と、隣り合うテープ巻付部の間にテープTを巻き付けない非巻付部を形成する非巻付動作と、が交互に実行される。
初期位置に復帰して待機状態となっているテープ巻付装置1に対し、作業者が制御操作部5Bのスイッチを操作して第二巻付動作を開始する。スイッチからの信号を受信した制御部本体5Aは、ケース30のエアシリンダ33によってケース蓋部32を閉じてから、コルゲートチューブCの上流側端部に対し、引出工程と貼付工程を実行してから、下流側に向かって巻付工程を実行する。この巻付工程では、第一巻付動作の巻付工程と比較して、テープTの旋回速度に対するヘッド部3の移動速度が相対的に低速に設定され、これによりコルゲートチューブCに対してテープTは、互いに半幅程度ずつ重なった螺旋状に巻き付けられる。
制御部本体5Aは、所定長さだけ電線部分W1にテープTを巻き付けてテープ巻付部を形成したら、本体駆動部4のリニアモータ及び旋回手段40の回転モータ46を同時に停止させ、巻付動作(巻付工程)を終了する。
巻付動作に引き続き、制御部本体5Aは、非巻付動作を実行する。この非巻付動作としては、切断工程、移動工程、引出工程及び貼付工程の順で実行される。具体的には、切断手段70によりテープTを切断する切断工程を実行してから、非巻付部の長さに対応した距離だけ下流側にテープTを移動させる移動工程を実行する。この移動工程では、ベース20のエアシリンダ24により旋回手段40、貼付手段60、切断手段70を退避位置に後退させるとともに、本体駆動部4のリニアモータによりヘッド部3をX方向下流側に移動させる。このような移動工程によって、非巻付部の長さに対応した距離だけ下流側にテープTを移動させてから、制御部本体5Aは、引出工程と貼付工程を実行して非巻付部を形成したら、非巻付動作を終了する。
その後、制御部本体5Aは、巻付動作(巻付工程)と非巻付動作とを繰り返し実行することで、コルゲートチューブCの長手方向に沿ってテープ巻付部と非巻付部とを交互に形成する。コルゲートチューブCの下流側端部まで巻付動作によりテープ巻付部を形成したら、制御部本体5Aは、本体駆動部4のリニアモータ及び旋回手段40の回転モータ46を停止させ、切断手段70によりテープTを切断させる切断工程を実行する。さらに、ケース30のエアシリンダ33によりケース蓋部32を開放させるとともに、ベース20のエアシリンダ24により旋回手段40、貼付手段60、切断手段70を退避位置に後退させてから、各部を停止させて待機状態となる。
待機状態において、作業者は、ヘッド部3から電線部分W1及びコルゲートチューブCを取り外すとともに、コネクタ保持部11からコネクタW2を取り外してワイヤハーネスWを取り出す。その後、作業者が副操作部5Cのスイッチを操作して第二巻付動作完了信号を制御部本体5Aに送信することで、この信号を受信した制御部本体5Aは、本体駆動部4のリニアモータによりヘッド部3を初期位置に復帰させてから、各部を停止させて処理を終了しスタンバイ状態となる。以上によりテープ巻付装置1による第二巻付動作が完了する。
以上のテープ巻付装置1によれば、第二巻付動作において、コルゲートチューブCの周囲にテープTを巻き付ける巻付動作と、テープTを切断してからテープTを移動させ、コルゲートチューブCの表面にテープTを再び貼付する非巻付動作と、を交互に実行することで、コルゲートチューブCの長手方向に沿ってテープ巻付部と非巻付部とが交互に形成される。このように、従来は作業者の手作業により行われていた作業を機械化することで、テープ巻き付け作業の作業効率を向上させることができ、ワイヤハーネス製造現場における生産性を向上させることができる。
さらに、ワイヤハーネスWやコルゲートチューブCによって非巻付部の位置や範囲が異なる場合であっても、制御部本体5Aに入力するパラメータを変更するだけで容易に対応することができ、生産性をより一層向上させることができる。
また、第一巻付動作及び外装部材取付動作によって、ワイヤハーネスWの電線部分W1にテープTを巻き付けるとともに、電線部分W1の外側にコルゲートチューブCを取り付け、第二巻付動作によって、コルゲートチューブCの外側にテープTを巻き付けることで、半自動的にテープTの巻き付けとコルゲートチューブCの取り付けを実行することができ、ワイヤハーネスWの生産性を向上させることができる。
また、第一巻付動作と外装部材取付動作とが同時に実行されることで、電線部分W1にテープTを巻き付けてから、その後に電線部分W1の外側にコルゲートチューブCを取り付ける場合と比較して、要する作業時間を大幅に短縮することができ、作業効率を飛躍的に向上させることができる。
また、切断工程において、切断刃73でテープTの巻付け余長部T2を切断する際に、テープTの繰り出し側端部T1がテープチャック54から上方に突出した状態で保持されるので、引出工程において、貼付手段60の把持ヘッド66で繰り出し側端部T1を容易に把持して引き出すことができ、切断工程、引出工程及び貼付工程を連続的にかつ円滑に実行することができる。
また、貼付工程において、貼付手段60で引き出したテープTの接着面を電線部分W1又はコルゲートチューブCの側面に押し付けてテープTの一部を貼付した後に、テープ押圧部65のローラー65Gの転動によってテープTの繰り出し側端部T1を電線部分W1又はコルゲートチューブCに押圧して貼付することで、テープTを確実に貼付することができる。
また、切断工程において、切断ヘッド72を押し出して切断位置に移動させ、この切断ヘッド72の先端に設けた切断刃73がテープTの巻付け余長部T2に食い込んで切断することで、テープTを円滑かつ確実に切断することができ、テープTの切断部分に皺が寄ったり折れ曲がったりするのを防止することができる。さらに、規制部材74が電線部分W1又はコルゲートチューブCを下方から支持した状態でテープTを切断することで、切断刃73が電線部分W1又はコルゲートチューブCを傷付けることが防止できる。
また、外装部材取付工程において、供給手段80の挿入子88が電線部分W1の長手方向に傾斜するとともに、挿入子88の先端部が電線部分W1に重なってセットされ、この挿入子88によりコルゲートチューブCのスリットC1を開き、その内部に電線部分W1を挿通させることで、電線部分W1に対するコルゲートチューブCの取り付けを連続的にかつ円滑に行い、その取付速度を高めて作業の効率化を促進させることができる。さらに、挿入子88が、金属製の第一部材88Bと樹脂製の第二部材88Cとを有し、第二部材88Cが電線部分W1に摺接するように構成されているので、第一部材88Bにより強度を確保しつつ、第二部材88Cによって電線部分W1への傷付きを防止することができる。
また、供給手段80のガイド部89にコルゲートチューブCを挿通し、このコルゲートチューブCを挿入子88及び電線部分W1に向かってガイドすることで、長尺なコルゲートチューブCの暴れを抑制することができ、コルゲートチューブCを安定して供給することができる。さらに、コルゲートチューブCの一端部を保持部90のチャック部92で保持することで、外装部材取付工程において挿入子88によってコルゲートチューブCが引っ張られても、その移動を防止することができ、コルゲートチューブCの取り付けを確実に実施することができる。
なお、本発明は、前記実施形態に限定されるものではなく、本発明の目的が達成できる他の構成等を含み、以下に示すような変形等も本発明に含まれる。
例えば、前記実施形態では、コルゲートチューブCの周囲にテープTを巻き付ける第二巻付動作において、巻付動作と非巻付動作とを交互に実行したが、本発明のテープ巻付装置の動作としては、コルゲートチューブCにテープ巻付部と非巻付部とを交互に形成するものに限られない。即ち、本発明において、線状部材としてはコルゲートチューブCに限らず、電線部分W1であってもよいし、その他の任意の線状部材であってもよい。従って、電線部分W1にテープTを巻き付ける付第一巻付動作において、巻付動作と非巻付動作とを交互に実行し、電線部分W1にテープ巻付部と非巻付部とを交互に形成してもよい。このように電線部分W1にテープ巻付部と非巻付部とを交互に形成するのは、例えば、電線部分W1が幹線部分と分岐部分とを有したワイヤハーネスWに対して有効であり、分岐部分を非巻付部とすることで、幹線部分に対するテープTの巻き付けを効率的に実行することができる。
また、コルゲートチューブCに対してテープTを巻き付けてテープ巻付部と非巻付部とを交互に形成する場合であっても、非巻付部は、クランプ取付位置に限られるものではない。即ち、ワイヤハーネスWに取り付けられる外装部材としては、コルゲートチューブCの他にプロテクタやグロメット等、様々な部品があり、これら各種部品との関係によってテープの巻き付け位置や範囲が異なることから、そのような条件に応じてテープ巻付部及び非巻付部を形成するようにテープ巻付装置を動作させればよい。
また、前記実施形態では、第一巻付動作と外装部材取付動作とを同時に実行し、電線部分W1にテープTを巻き付けるとともに、その上流側においてコルゲートチューブCを取り付けるものとしたが、本発明のテープ巻付装置の動作としては、第一巻付動作と外装部材取付動作とを同時に実行するものに限られない。即ち、先ず、第一巻付動作を実行して電線部分W1の下流側までテープTを巻き付けてから、その後、外装部材取付動作を実行して電線部分W1の外側にコルゲートチューブCを取り付けてもよい。この場合、供給手段80は、ヘッド部3と一体に移動するものに限らず、本体駆動部4とは別の駆動手段によって保持手段と相対移動可能に設けられていてもよい。
また、前記実施形態では、布線装置2の布線板10にワイヤハーネスWが移動不能に保持され、布線板10に沿ってヘッド部3が本体駆動部4によって往復移動されるようになっていたが、これに限らず、移動不能に設けられたヘッド部3に対してワイヤハーネスWを移動させてもよいし、ワイヤハーネスWとヘッド部3とをそれぞれ移動させることで互いに相対移動させてもよい。このようにワイヤハーネスWを移動させる構成であれば、布線板10の大きさに制約を受けることがなくなり、電線部分W1の長さに関わらずテープTを巻き付けることができるので、長さが異なる様々な用途のワイヤハーネスWに対して本発明のテープ巻付装置を適用することができる。
また、前記実施形態では、貼付手段60、テープ押圧部65及び切断手段70の各々がエアシリンダからなる駆動部を有して構成されていたが、貼付手段や切断手段における駆動部の構成は前記実施形態に限定されない。例えば、貼付手段や切断手段が多関節ロボットによって構成されていてもよく、この場合には、多関節ロボットの先端にテープチャックや切断刃、押圧ローラーなどの機能ツールが着脱可能に設けられ、引出工程や貼付工程、切断工程において機能ツールを付け替えて用いるようにすればよい。さらに、貼付手段や切断手段は、ヘッド部3と一体に移動するものに限らず、本体駆動部4とは別の駆動手段によって保持手段と相対移動可能に設けられていてもよい。
その他、本発明を実施するための最良の構成、方法などは、以上の記載で開示されているが、本発明は、これに限定されるものではない。すなわち、本発明は、主に特定の実施形態に関して特に図示され、且つ、説明されているが、本発明の技術的思想および目的の範囲から逸脱することなく、以上述べた実施形態に対し、形状、材質、数量、その他の詳細な構成において、当業者が様々な変形を加えることができるものである。従って、上記に開示した形状、材質などを限定した記載は、本発明の理解を容易にするために例示的に記載したものであり、本発明を限定するものではないから、それらの形状、材質などの限定の一部、もしくは全部の限定を外した部材の名称での記載は、本発明に含まれるものである。
1 テープ巻付装置
2 布線装置(保持手段)
3 ヘッド部
4 本体駆動部(移動手段)
5 装置制御部(制御手段)
40 旋回手段
44 回転板(回転体)
45 回転駆動手段(駆動手段)
50 テープ支持部
54 テープチャック(テープ把持部)
60 貼付手段
64 テープ引出部
65 テープ押圧部
70 切断手段
71 エアシリンダ(切断駆動部)
73 切断刃
80 供給手段
88 挿入子
89 ガイド部
C コルゲートチューブ(外装部材)
C1 スリット
T テープ
T1 繰り出し側端部
W ワイヤハーネス
W1 電線部分(電線)

Claims (3)

  1. 線状部材の長手方向に沿って螺旋状にテープを巻き付けるテープ巻付装置であって、
    前記線状部材を直線状に支持する保持手段と、
    前記線状部材の周囲に前記テープを旋回させる旋回手段と、
    前記テープを前記線状部材の表面に貼付する貼付手段と、
    前記テープを切断する切断手段と、
    前記保持手段と前記旋回手段、前記貼付手段及び前記切断手段とを前記線状部材の長手方向に沿って相対移動させる移動手段と、
    前記旋回手段、前記貼付手段、前記切断手段及び前記移動手段を駆動制御する制御手段と、を備え、
    前記制御手段は、
    前記旋回手段により前記テープを旋回させつつ、前記移動手段により該旋回手段と前記保持手段とを相対移動させることで、前記線状部材の周囲に前記テープを巻き付けてテープ巻付部を形成する巻付動作と、
    前記巻付動作を停止してから前記切断手段により前記テープを切断し、前記移動手段により前記旋回手段と前記保持手段とを所定距離だけ相対移動させ、前記貼付手段により前記テープを前記線状部材の表面に貼付することで、所定長さの非巻付部を形成する非巻付動作と、
    を交互に実行させることを特徴とするテープ巻付装置。
  2. 前記旋回手段は、
    ロール状の前記テープを回転自在に支持するテープ支持部と、
    前記テープの繰り出し側端部近傍を把持するテープ把持部と、
    前記テープ支持部を保持して前記線状部材の周囲で回転可能な回転体と、
    前記回転体を回転駆動する駆動手段と、を有して構成され、
    前記制御手段は、前記テープ把持部に前記テープを把持させ、この把持状態において前記切断手段により前記テープを切断する切断動作を実行させることを特徴とする請求項1に記載のテープ巻付装置。
  3. 線状部材の長手方向に沿って螺旋状にテープを巻き付けるテープ巻付方法であって、
    請求項1又は2に記載のテープ巻付装置を用い、
    前記線状部材を直線状に支持しておき、
    前記線状部材の表面に前記テープを貼付してから、前記線状部材の周囲に前記テープを旋回させつつ、該テープを前記線状部材の長手方向に沿って一端側から他端側に向かって相対移動させることで、前記線状部材の周囲に前記テープを巻き付けるテープ巻付工程と、
    前記巻付工程の後に前記テープを切断してから、前記テープを前記線状部材の他端側に向かって所定距離だけ相対移動させた位置で前記線状部材の表面に該テープを再貼付することで、所定長さの非巻付部を形成する非巻付工程と、
    を交互に実行することを特徴とするテープ巻付方法。
JP2014111512A 2014-05-29 2014-05-29 テープ巻付装置及びテープ巻付方法 Active JP6358652B2 (ja)

Priority Applications (3)

Application Number Priority Date Filing Date Title
JP2014111512A JP6358652B2 (ja) 2014-05-29 2014-05-29 テープ巻付装置及びテープ巻付方法
CN201580022910.2A CN106463213B (zh) 2014-05-29 2015-05-19 外装部件安装装置和外装部件安装方法
PCT/JP2015/064297 WO2015182437A1 (ja) 2014-05-29 2015-05-19 外装部材取付装置及び外装部材取付方法

Applications Claiming Priority (1)

Application Number Priority Date Filing Date Title
JP2014111512A JP6358652B2 (ja) 2014-05-29 2014-05-29 テープ巻付装置及びテープ巻付方法

Publications (2)

Publication Number Publication Date
JP2015224123A JP2015224123A (ja) 2015-12-14
JP6358652B2 true JP6358652B2 (ja) 2018-07-18

Family

ID=54841177

Family Applications (1)

Application Number Title Priority Date Filing Date
JP2014111512A Active JP6358652B2 (ja) 2014-05-29 2014-05-29 テープ巻付装置及びテープ巻付方法

Country Status (1)

Country Link
JP (1) JP6358652B2 (ja)

Cited By (1)

* Cited by examiner, † Cited by third party
Publication number Priority date Publication date Assignee Title
US12083578B2 (en) 2019-10-02 2024-09-10 Jfe Steel Corporation Method for press forming and apparatus for press forming automotive outer panel

Families Citing this family (6)

* Cited by examiner, † Cited by third party
Publication number Priority date Publication date Assignee Title
JP6626864B2 (ja) * 2017-07-31 2019-12-25 矢崎総業株式会社 テープ巻付装置
CN109911722B (zh) * 2019-03-18 2024-12-27 江西东方豹紧固件有限公司 一种波纹管密封缠绕装置
CN114007970B (zh) * 2019-06-28 2024-03-22 萩原康史 胶带缠绕机
JP6996605B1 (ja) 2020-10-26 2022-02-04 Jfeスチール株式会社 自動車用外板パネルのプレス成形方法及びプレス成形装置
DE102023201175A1 (de) * 2022-09-22 2024-03-28 Leoni Bordnetz-Systeme Gmbh Montagekopf sowie Verfahren zur automatisierten Umwicklung eines Leitungsstrangs
CN119518377B (zh) * 2024-11-25 2025-09-12 东莞海弘智能科技有限公司 一种线束插壳机的套管缠胶带机构

Family Cites Families (4)

* Cited by examiner, † Cited by third party
Publication number Priority date Publication date Assignee Title
JPS5574963A (en) * 1978-11-25 1980-06-05 Matsushita Electric Ind Co Ltd Wire taping device
JPS604050B2 (ja) * 1981-12-15 1985-02-01 株式会社浅羽製作所 自動巻取結束装置
JP3324485B2 (ja) * 1998-01-23 2002-09-17 住友電装株式会社 テーピング装置
JP3780829B2 (ja) * 2000-07-11 2006-05-31 住友電装株式会社 テープ巻き付け装置およびテープ巻き付け方法

Cited By (1)

* Cited by examiner, † Cited by third party
Publication number Priority date Publication date Assignee Title
US12083578B2 (en) 2019-10-02 2024-09-10 Jfe Steel Corporation Method for press forming and apparatus for press forming automotive outer panel

Also Published As

Publication number Publication date
JP2015224123A (ja) 2015-12-14

Similar Documents

Publication Publication Date Title
JP6358652B2 (ja) テープ巻付装置及びテープ巻付方法
CN109950003A (zh) 用于以粘性带全自动缠绕导线束的缠绕设备和方法
JP6282938B2 (ja) 外装部材取付装置及び外装部材取付方法
JP5670973B2 (ja) 捲回装置
JP6282937B2 (ja) テープ巻付装置及びテープ巻付方法
US9484722B2 (en) Pulling head assembly workstation
CN109742641B (zh) 一种自动贴铜箔机构
CN213921632U (zh) 一种包膜机
CN114899682B (zh) 一种多芯线材自动组装设备
US11054236B2 (en) Tape winding device
CA2774428C (en) Pulling head assembly workstation
JP4204962B2 (ja) ケーブル巻線を機械により行う方法及びそのための装置
JP2017001844A (ja) テープ巻付装置及びチューブ状外装部材取付装置
WO2015182437A1 (ja) 外装部材取付装置及び外装部材取付方法
CN105293169A (zh) 自动下线机
CN118025871B (zh) 一种飞达机构、电路板生产设备及换卷方法
CN219361409U (zh) 包膜装置
US5829705A (en) Apparatus for automatic winding of cables, wires, cords and the like
CN112420376A (zh) 一种具有包胶功能的套管绕线机
CN112077236A (zh) 一种螺旋线半自动绕制设备及方法
CN213277793U (zh) 一种具有包胶功能的套管绕线机
CN210710077U (zh) 一种应用于裁缆扎线设备上的裁线机构
CN213195418U (zh) 一种螺旋线半自动绕制设备
CN117292934A (zh) 一种变压器绕线方法及绕线机
CN210029399U (zh) 一种胶带分卷装置

Legal Events

Date Code Title Description
A621 Written request for application examination

Free format text: JAPANESE INTERMEDIATE CODE: A621

Effective date: 20170419

RD04 Notification of resignation of power of attorney

Free format text: JAPANESE INTERMEDIATE CODE: A7424

Effective date: 20180129

TRDD Decision of grant or rejection written
A01 Written decision to grant a patent or to grant a registration (utility model)

Free format text: JAPANESE INTERMEDIATE CODE: A01

Effective date: 20180522

A61 First payment of annual fees (during grant procedure)

Free format text: JAPANESE INTERMEDIATE CODE: A61

Effective date: 20180614

R150 Certificate of patent or registration of utility model

Ref document number: 6358652

Country of ref document: JP

Free format text: JAPANESE INTERMEDIATE CODE: R150

R250 Receipt of annual fees

Free format text: JAPANESE INTERMEDIATE CODE: R250

R250 Receipt of annual fees

Free format text: JAPANESE INTERMEDIATE CODE: R250

S531 Written request for registration of change of domicile

Free format text: JAPANESE INTERMEDIATE CODE: R313531

R350 Written notification of registration of transfer

Free format text: JAPANESE INTERMEDIATE CODE: R350

R250 Receipt of annual fees

Free format text: JAPANESE INTERMEDIATE CODE: R250

R250 Receipt of annual fees

Free format text: JAPANESE INTERMEDIATE CODE: R250

R250 Receipt of annual fees

Free format text: JAPANESE INTERMEDIATE CODE: R250