JP6327770B2 - Battery pack - Google Patents

Battery pack Download PDF

Info

Publication number
JP6327770B2
JP6327770B2 JP2017126380A JP2017126380A JP6327770B2 JP 6327770 B2 JP6327770 B2 JP 6327770B2 JP 2017126380 A JP2017126380 A JP 2017126380A JP 2017126380 A JP2017126380 A JP 2017126380A JP 6327770 B2 JP6327770 B2 JP 6327770B2
Authority
JP
Japan
Prior art keywords
power
battery
battery pack
board
wiring
Prior art date
Legal status (The legal status is an assumption and is not a legal conclusion. Google has not performed a legal analysis and makes no representation as to the accuracy of the status listed.)
Active
Application number
JP2017126380A
Other languages
Japanese (ja)
Other versions
JP2017168464A (en
Inventor
龍也 鎌田
龍也 鎌田
直晃 荻野
直晃 荻野
Current Assignee (The listed assignees may be inaccurate. Google has not performed a legal analysis and makes no representation or warranty as to the accuracy of the list.)
Maxell Ltd
Original Assignee
Maxell Holdings Ltd
Priority date (The priority date is an assumption and is not a legal conclusion. Google has not performed a legal analysis and makes no representation as to the accuracy of the date listed.)
Filing date
Publication date
Application filed by Maxell Holdings Ltd filed Critical Maxell Holdings Ltd
Priority to JP2017126380A priority Critical patent/JP6327770B2/en
Publication of JP2017168464A publication Critical patent/JP2017168464A/en
Application granted granted Critical
Publication of JP6327770B2 publication Critical patent/JP6327770B2/en
Active legal-status Critical Current
Anticipated expiration legal-status Critical

Links

Images

Classifications

    • YGENERAL TAGGING OF NEW TECHNOLOGICAL DEVELOPMENTS; GENERAL TAGGING OF CROSS-SECTIONAL TECHNOLOGIES SPANNING OVER SEVERAL SECTIONS OF THE IPC; TECHNICAL SUBJECTS COVERED BY FORMER USPC CROSS-REFERENCE ART COLLECTIONS [XRACs] AND DIGESTS
    • Y02TECHNOLOGIES OR APPLICATIONS FOR MITIGATION OR ADAPTATION AGAINST CLIMATE CHANGE
    • Y02EREDUCTION OF GREENHOUSE GAS [GHG] EMISSIONS, RELATED TO ENERGY GENERATION, TRANSMISSION OR DISTRIBUTION
    • Y02E60/00Enabling technologies; Technologies with a potential or indirect contribution to GHG emissions mitigation
    • Y02E60/10Energy storage using batteries

Landscapes

  • Battery Mounting, Suspending (AREA)
  • Connection Of Batteries Or Terminals (AREA)

Description

本発明は、複数の薄板状の電池セルが積み重ねられた電気積層体を備えた電池パックに関する。   The present invention relates to a battery pack including an electrical laminate in which a plurality of thin plate-like battery cells are stacked.

リチウムイオン二次電池に代表される非水電解質電池は、エネルギー密度が高いという特徴から、自動車やバイク等の各種移動機器、携帯情報端末、無停電電源装置(UPS(Uninterruptible Power Supply))、蓄電装置等の電源として利用されている。このような用途において、エネルギー密度を更に向上させるため、可撓性を有するラミネートシートで発電要素を外装した薄板状のラミネート形リチウムイオン二次電池が多く使用されている。更に、所望する電池容量を得るために、複数の薄板状の二次電池(電池セル)を積み重ねてこれらを直列に接続した電池積層体も実用されている(例えば特許文献1参照)。   Non-aqueous electrolyte batteries typified by lithium-ion secondary batteries are characterized by high energy density. Therefore, various mobile devices such as cars and motorcycles, personal digital assistants, uninterruptible power supplies (UPSs), and electricity storage It is used as a power source for devices. In such applications, in order to further improve the energy density, a thin plate-like laminated lithium ion secondary battery in which a power generation element is packaged with a flexible laminate sheet is often used. Furthermore, in order to obtain a desired battery capacity, a battery stack in which a plurality of thin plate-like secondary batteries (battery cells) are stacked and these are connected in series is also in practical use (see, for example, Patent Document 1).

複数の電池セルを積層した電池積層体は回路基板とともに筐体内に収納されて電池パックとなる。回路基板には、電池積層体と外部接続端子とをつなぐパワー配線と保護回路とが設けられている。保護回路は、パワー配線の電流を監視する電流監視部、電池積層体を構成する各電池セルの電圧を監視する電圧監視部、上記電流監視部及び上記電圧監視部からの出力により異常を検知するとパワー配線を遮断する信号を出力する制御部を備えている。従来の電池パックでは、パワー配線と保護回路を構成する各種機能部品とが、共通する1枚の基板上に設けられる(特許文献2参照)。   A battery stack in which a plurality of battery cells are stacked is housed in a housing together with a circuit board to form a battery pack. The circuit board is provided with a power wiring and a protection circuit for connecting the battery stack and the external connection terminal. When the protection circuit detects an abnormality by an output from the current monitoring unit that monitors the current of the power wiring, the voltage monitoring unit that monitors the voltage of each battery cell constituting the battery stack, the current monitoring unit, and the voltage monitoring unit. A control unit that outputs a signal for shutting off the power wiring is provided. In a conventional battery pack, power wiring and various functional parts constituting a protection circuit are provided on a common substrate (see Patent Document 2).

特特許第4499977号明細書Japanese Patent No. 4499977 特開2012−89470号公報(段落[0059]〜[0070]、図10、図11)JP 2012-89470 A (paragraphs [0059] to [0070], FIGS. 10 and 11)

電池パックに対して小型化且つ大容量化の要望が日増しに高まっている。この要望に応えるためには、基板を小型化する一方で、パワー配線に流れる電流を増大させる必要がある。   The demand for smaller and larger capacity battery packs is increasing day by day. In order to meet this demand, it is necessary to increase the current flowing through the power wiring while reducing the size of the substrate.

ところが、パワー配線の電流を増大させるために、基板上に形成されたパワー配線の幅を増大させると、基板を小型化することが困難になる。また、パワー配線の電流を増大させると、パワー配線から発生するノイズが、電圧監視部や制御部を構成するデジタル回路に及ぼす悪影響を無視できなくなる。   However, if the width of the power wiring formed on the substrate is increased in order to increase the current of the power wiring, it becomes difficult to reduce the size of the substrate. Further, if the current of the power wiring is increased, the adverse effect of noise generated from the power wiring on the digital circuits constituting the voltage monitoring unit and the control unit cannot be ignored.

本発明は、従来の電池パックの上記の課題を解決し、小型化且つ大容量化が実現された電池パックを提供することを目的とする。   An object of the present invention is to solve the above-described problems of conventional battery packs and to provide a battery pack that is reduced in size and increased in capacity.

本発明の電池パックは、複数の薄板状の電池セルが積み重ねられ且つ前記複数の電池セルが直列に接続された電池積層体と、前記複数の電池セルのそれぞれの電圧を監視する電圧監視部と、前記電池積層体と外部接続端子とをつなぐパワー配線、前記パワー配線の電流を監視する電流監視部、及び、前記パワー配線を断続するスイッチを有するパワー部と、前記電圧監視部及び前記電流監視部からの信号が入力され、前記パワー配線を遮断する信号を前記スイッチに出力する制御部とを備える。前記パワー部は、前記電圧監視部及び前記制御部が設けられた基板とは別のパワー基板に設けられている。前記パワー基板に形成された配線は、前記電圧監視部及び前記制御部が設けられた基板に形成された配線より厚い。   The battery pack of the present invention includes a battery stack in which a plurality of thin plate-like battery cells are stacked and the plurality of battery cells are connected in series, and a voltage monitoring unit that monitors each voltage of the plurality of battery cells; A power wiring that connects the battery stack and the external connection terminal, a current monitoring unit that monitors a current of the power wiring, a power unit that includes a switch that interrupts the power wiring, the voltage monitoring unit, and the current monitoring A control unit that receives a signal from the unit and outputs a signal for shutting off the power wiring to the switch. The power unit is provided on a power board different from the board on which the voltage monitoring unit and the control unit are provided. The wiring formed on the power substrate is thicker than the wiring formed on the substrate on which the voltage monitoring unit and the control unit are provided.

本発明によれば、パワー部は、電圧監視部及び制御部が設けられた基板とは別のパワー基板に設けられているので、パワー配線から発生するノイズが電圧監視部や制御部を構成するデジタル回路に及ぼす悪影響を低減することができる。また、パワー基板に形成された配線は、電圧監視部及び制御部が設けられた基板に形成された配線より厚いので、パワー配線を広幅にすることなく、パワー配線に大電流を流すことができる。しかも、電圧監視部及び制御部が設けられた基板の配線を必要以上に厚くする必要がないので、当該基板を薄くすることができる。これらの結果、小型化且つ大容量化が実現された電池パックを提供することができる。   According to the present invention, since the power unit is provided on a power board different from the board on which the voltage monitoring unit and the control unit are provided, noise generated from the power wiring configures the voltage monitoring unit and the control unit. The adverse effect on the digital circuit can be reduced. Moreover, since the wiring formed on the power board is thicker than the wiring formed on the board on which the voltage monitoring unit and the control unit are provided, a large current can flow through the power wiring without making the power wiring wide. . In addition, since it is not necessary to make the wiring of the substrate provided with the voltage monitoring unit and the control unit thicker than necessary, the substrate can be made thinner. As a result, it is possible to provide a battery pack that is reduced in size and increased in capacity.

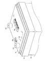
図1Aは、本発明の一実施形態にかかる電池パックを構成する電池セルの正面側から見た斜視図、図1Bは、その背面側から見た斜視図である。FIG. 1A is a perspective view seen from the front side of a battery cell constituting a battery pack according to an embodiment of the present invention, and FIG. 1B is a perspective view seen from the back side thereof. 図2は、本発明の一実施形態にかかる電池パックを構成する電池積層体の分解斜視図である。FIG. 2 is an exploded perspective view of the battery stack constituting the battery pack according to the embodiment of the present invention. 図3は、本発明の一実施形態にかかる電池パックの概略構成を示したブロック図である。FIG. 3 is a block diagram showing a schematic configuration of the battery pack according to the embodiment of the present invention. 図4は、本発明の一実施形態にかかる電池パックの斜視図である。FIG. 4 is a perspective view of a battery pack according to an embodiment of the present invention. 図5は、カバー及び中間枠の内部の構造を透視した、本発明の一実施形態にかかる電池パックの主要部の透視斜視図である。FIG. 5 is a see-through perspective view of the main part of the battery pack according to the embodiment of the present invention, with the structure inside the cover and the intermediate frame seen through. 図6は、本発明の一実施形態にかかる電池パックの組み立てにおいて、中間枠にパワー基板を固定した状態を示した斜視図である。FIG. 6 is a perspective view showing a state in which the power board is fixed to the intermediate frame in the assembly of the battery pack according to the embodiment of the present invention. 図7は、本発明の一実施形態にかかる電池パックの組み立てにおいて、電池−パワー基板接続工程を行う直前の状態を示した、図6の7−7線を含む上下方向面に相当する断面に沿った矢視断面図である。7 is a cross-sectional view corresponding to the vertical plane including line 7-7 in FIG. 6 showing a state immediately before the battery-power board connection step in the assembly of the battery pack according to the embodiment of the present invention. FIG. 図8は、図7において、電池−パワー基板接続工程を行った後の状態を示した断面図である。FIG. 8 is a cross-sectional view showing a state after the battery-power board connecting step in FIG.

上記の本発明の電池パックにおいて、前記パワー基板と、前記電圧監視部及び前記制御部が設けられた前記基板とが積層されていることが好ましい。かかる好ましい構成は、基板全体の更なる小型化に有利である。   In the battery pack of the present invention, it is preferable that the power board and the board provided with the voltage monitoring unit and the control unit are stacked. Such a preferable configuration is advantageous for further downsizing of the entire substrate.

前記電圧監視部と前記制御部とが互いに別の基板に設けられていてもよい。これにより、電圧監視部及び制御部のそれぞれに適した基板(例えば多層基板)を選択することができる。また、配線回路や部品配置に関する設計の自由度が向上する。従って、かかる好ましい構成は、基板全体の更なる小型化に有利である。   The voltage monitoring unit and the control unit may be provided on different substrates. Thereby, the board | substrate (for example, multilayer board | substrate) suitable for each of a voltage monitoring part and a control part can be selected. In addition, the degree of freedom in designing with respect to the wiring circuit and component placement is improved. Therefore, such a preferable configuration is advantageous for further downsizing of the entire substrate.

前記電池積層体の入出力タブと電気的に接続されたリードが前記パワー基板に対向していてもよい。この場合、ネジが、前記パワー基板及び前記リードをこの順に貫通し、前記リードに対して前記パワー基板とは反対側に配置されたナットと螺合しており、これにより、前記リードが前記パワー基板に形成された前記パワー配線に電気的に接続されていることが好ましい。かかる好ましい構成によれば、ネジとナットとを螺合するまでは、リードとパワー配線とは電気的に接続されない。従って、電池パックの組み立て作業において、ネジとナットとを螺合する工程を後回しにすることにより、電池パックの組み立て時に感電や短絡などの事故が生じる可能性を低減することができる。   Leads electrically connected to the input / output tabs of the battery stack may face the power substrate. In this case, a screw penetrates the power board and the lead in this order, and is screwed with a nut disposed on the opposite side of the power board with respect to the lead. It is preferable to be electrically connected to the power wiring formed on the substrate. According to such a preferable configuration, the lead and the power wiring are not electrically connected until the screw and the nut are screwed together. Therefore, in the battery pack assembling operation, the process of screwing the screw and the nut is postponed, thereby reducing the possibility of an accident such as an electric shock or a short circuit when assembling the battery pack.

上記において、前記リードに対して前記パワー基板とは反対側に配置された保持機構に設けられたキャビティ内に、前記ナットが収納されていることが好ましい。これにより、ネジとナットとを螺合させる作業を容易且つ効率よく行うことができる。   In the above, it is preferable that the nut is housed in a cavity provided in a holding mechanism disposed on the side opposite to the power substrate with respect to the lead. Thereby, the operation | work which screws a screw and a nut can be performed easily and efficiently.

前記ネジが前記ナットと螺合していない状態において、前記リードは前記パワー配線から離間することが好ましい。これにより、電池パックの組み立て時に感電や短絡などの事故が生じる可能性を更に低減することができる。   In a state where the screw is not screwed with the nut, the lead is preferably separated from the power wiring. This can further reduce the possibility of accidents such as electric shocks and short circuits when assembling the battery pack.

前記ネジが前記ナットと螺合していない状態において、前記ナットは、前記パワー基板に接離する方向に移動可能であることが好ましい。これにより、ネジとナットとが螺合することによってリードとパワー配線とが電気的に接続される構成を容易に実現することができる。   In a state where the screw is not screwed with the nut, the nut is preferably movable in a direction in which the nut comes in contact with and separates from the power board. Thereby, the structure in which the lead and the power wiring are electrically connected by screwing the screw and the nut can be easily realized.

前記電池パックが、前記パワー基板を覆う上蓋を更に備えていてもよい。この場合、前記上蓋に、前記ネジを挿入するための貫通孔が形成されていることが好ましい。これにより、ネジとナットとを螺合する工程を、電池パックの組み立て作業において、パワー基板を上蓋で覆った後の最終工程として行うことができる。その結果、電池パックの組み立て時に感電や短絡などの事故が生じる可能性を更に低減することができる。   The battery pack may further include an upper lid that covers the power board. In this case, it is preferable that a through hole for inserting the screw is formed in the upper lid. Thereby, the process of screwing the screw and the nut can be performed as the final process after the power board is covered with the upper lid in the assembly operation of the battery pack. As a result, it is possible to further reduce the possibility of an accident such as an electric shock or a short circuit when assembling the battery pack.

以下に、本発明を好適な実施形態を示しながら詳細に説明する。但し、本発明は以下の実施形態に限定されないことはいうまでもない。以下の説明において参照する各図は、説明の便宜上、本発明の実施形態の構成部材のうち、本発明を説明するために必要な主要部材のみを簡略化して示したものである。従って、本発明は以下の各図に示されていない任意の部材を備え得る。以下の各図では、実際の部材の寸法および各部材の寸法比率等が忠実に表されていない。各部材に付した符号の添え字「p」及び「n」は、特に断りがない限り、それぞれ「正極」及び「負極」を意味する。   Below, this invention is demonstrated in detail, showing suitable embodiment. However, it goes without saying that the present invention is not limited to the following embodiments. For convenience of explanation, the drawings referred to in the following description show only the main members necessary for explaining the present invention in a simplified manner among the constituent members of the embodiment of the present invention. Therefore, the present invention can include any member not shown in the following drawings. In the following drawings, the actual dimensions of members and the dimensional ratios of the members are not faithfully represented. The suffixes “p” and “n” attached to each member mean “positive electrode” and “negative electrode”, respectively, unless otherwise specified.

<電池セル>
本発明の一実施形態にかかる電池パックを構成する電池セルについて説明する。
<Battery cell>
The battery cell which comprises the battery pack concerning one Embodiment of this invention is demonstrated.

図1Aは、電池セル10の正面側から見た斜視図、図1Bは、その背面側から見た斜視図である。電池セル10は、平面視形状が略矩形であり、当該略矩形の縦横寸法に比べて厚みが薄い薄板形状を有する。この電池セル10では、ラミネートシート13からなる外装内に、略矩形の平面視形状を有する薄板状の発電要素(図示せず)が電解液とともに封入されている。発電要素は、正極集電体の所定領域の両面に正極活物質を含む正極合剤層が塗布形成された正極と、負極集電体の所定領域の両面に負極活物質を含む負極合剤層が塗布形成された負極とが、セパレータを介して交互に積層されてなる電極積層体である。電池の種類は特に制限はないが、二次電池、中でもリチウムイオン二次電池が好ましい。   1A is a perspective view seen from the front side of the battery cell 10, and FIG. 1B is a perspective view seen from the back side. The battery cell 10 has a substantially rectangular shape in plan view, and has a thin plate shape that is thinner than the vertical and horizontal dimensions of the substantially rectangular shape. In the battery cell 10, a thin plate-shaped power generation element (not shown) having a substantially rectangular plan view shape is enclosed in an exterior made of a laminate sheet 13 together with an electrolytic solution. The power generation element includes a positive electrode in which a positive electrode mixture layer including a positive electrode active material is applied and formed on both surfaces of a predetermined region of the positive electrode current collector, and a negative electrode mixture layer including a negative electrode active material on both surfaces of the predetermined region of the negative electrode current collector Is an electrode laminate in which negative electrodes formed by coating are alternately laminated via separators. The type of the battery is not particularly limited, but a secondary battery, particularly a lithium ion secondary battery is preferable.

ラミネートシート13は、発電要素に比べて薄く、且つ、可撓性を有している。ラミネートシート13は、例えば、アルミニウム等からなる基層の、発電要素に対向する側の面に熱融着性樹脂層(例えば変性ポリオレフィン層)が積層された可撓性を有する多層シートであってもよい。1枚の矩形のラミネートシート13が、発電要素を挟むように下辺(一方の短辺)14bで二つ折りにされ、下辺14b以外の三辺に沿って重ね合わされてヒートシール法などによりシールされている。   The laminate sheet 13 is thinner than the power generation element and has flexibility. The laminate sheet 13 may be a flexible multilayer sheet in which a heat-fusible resin layer (for example, a modified polyolefin layer) is laminated on the surface of the base layer made of aluminum or the like on the side facing the power generation element. Good. One rectangular laminate sheet 13 is folded in two at the lower side (one short side) 14b so as to sandwich the power generation element, is overlapped along three sides other than the lower side 14b, and is sealed by a heat sealing method or the like. Yes.

下辺14bに対向する上辺(他方の短辺)14aから、正極タブ11p及び負極タブ11nが導出されている。正極タブ11p及び負極タブ11nは、短冊形状を有し、上辺14aに対して直交する方向(即ち、上辺14aに隣接する一対の側辺(長辺)14sと平行な方向)に沿って延びている。正極タブ11pは、例えばアルミニウムの薄板からなり、発電要素を構成する複数の正極集電体(図示せず)と電気的に接続されている。また、負極タブ11nは、例えば銅の薄板、ニッケルメッキされた銅の薄板、または銅/ニッケルのクラッド材等からなり、発電要素を構成する複数の負極集電体(図示せず)と電気的に接続されている。   A positive electrode tab 11p and a negative electrode tab 11n are led out from an upper side (the other short side) 14a facing the lower side 14b. The positive electrode tab 11p and the negative electrode tab 11n have a strip shape and extend along a direction orthogonal to the upper side 14a (that is, a direction parallel to a pair of side sides (long sides) 14s adjacent to the upper side 14a). Yes. The positive electrode tab 11p is made of, for example, an aluminum thin plate, and is electrically connected to a plurality of positive electrode current collectors (not shown) constituting the power generation element. The negative electrode tab 11n is made of, for example, a copper thin plate, a nickel-plated copper thin plate, or a copper / nickel clad material, and is electrically connected to a plurality of negative electrode current collectors (not shown) constituting the power generation element. It is connected to the.

図1Aに示されているように、発電要素に対応する長方形の領域16が電池セル10の三辺14a,14s,14sに沿ったラミネートシート13のシール領域に対して突出している。領域16が突出した面を、電池セル10の「正面」と呼ぶ。一方、図1Bに示されているように、略一平面をなす、正面とは反対側の面を、電池セル10の「裏面」と呼ぶ。   As shown in FIG. 1A, a rectangular region 16 corresponding to the power generation element protrudes from the sealing region of the laminate sheet 13 along the three sides 14 a, 14 s and 14 s of the battery cell 10. The surface from which the region 16 protrudes is referred to as the “front surface” of the battery cell 10. On the other hand, as shown in FIG. 1B, the surface on the opposite side from the front surface that forms a substantially flat surface is referred to as the “back surface” of the battery cell 10.

本発明において、電池セルの構成は上記に限定されない。例えば、発電要素を2枚の矩形状のラミネートシートで挟み、4辺に沿って2枚のラミネートシートをシールした四方シールタイプの電池セルであってもよい。   In the present invention, the configuration of the battery cell is not limited to the above. For example, a battery cell of a four-side seal type in which a power generation element is sandwiched between two rectangular laminate sheets and two laminate sheets are sealed along four sides may be used.

<電池積層体>
図2は、本発明の一実施形態にかかる電池パックを構成する電池積層体20の分解斜視図である。電池積層体20は、複数の電池セル10が積層されて構成される。電池セル10が積層される方向(図2において横方向)を「積層方向」と呼ぶ。
<Battery laminate>
FIG. 2 is an exploded perspective view of the battery stack 20 constituting the battery pack according to the embodiment of the present invention. The battery stack 20 is configured by stacking a plurality of battery cells 10. A direction in which the battery cells 10 are stacked (lateral direction in FIG. 2) is referred to as a “stacking direction”.

図2に示されているように、複数の電池セル10は、隣り合う2つの電池セル10間において異極のタブ(即ち正極タブ11pと負極タブ11n)同士が積層方向に互いに対向するように、1つおきの電池セル10は裏返されている。二点鎖線23で示すように、積層方向に対向する正極タブ11pと負極タブ11nとが電気的に接続される。その結果、複数の電池セル10が直列に接続される。互いに接続された正極タブ11pと負極タブ11nに電圧監視用の配線22が接続される。異極タブと接続されない両端の正極タブ11p’及び負極タブ11n’は、電池積層体20に対して電力の入出力を行う入出力タブとなる。   As shown in FIG. 2, the plurality of battery cells 10 are arranged so that tabs of different polarities (that is, positive electrode tab 11p and negative electrode tab 11n) face each other in the stacking direction between two adjacent battery cells 10. Every other battery cell 10 is turned over. As indicated by a two-dot chain line 23, the positive electrode tab 11p and the negative electrode tab 11n facing each other in the stacking direction are electrically connected. As a result, the plurality of battery cells 10 are connected in series. A voltage monitoring wiring 22 is connected to the positive electrode tab 11p and the negative electrode tab 11n connected to each other. The positive electrode tab 11 p ′ and the negative electrode tab 11 n ′ at both ends that are not connected to the different polarity tab serve as input / output tabs for inputting / outputting power to / from the battery stack 20.

積層方向に隣り合う電池セル10は、例えば両面粘着テープを用いて一体化される。隣り合う電池セル10間に、薄い板材(図示せず)を介在させてもよい。電池積層体20を構成する電池セル10の数は任意である。   The battery cells 10 adjacent in the stacking direction are integrated using, for example, a double-sided adhesive tape. A thin plate material (not shown) may be interposed between adjacent battery cells 10. The number of battery cells 10 constituting the battery stack 20 is arbitrary.

<電池パック>
図3は、本発明の一実施形態にかかる電池パック1の概略構成を示したブロック図である。
<Battery pack>
FIG. 3 is a block diagram showing a schematic configuration of the battery pack 1 according to the embodiment of the present invention.

電池積層体20に接続された電圧監視用の複数の配線22(図2参照)は、電圧監視部3に接続されている。   A plurality of voltage monitoring wires 22 (see FIG. 2) connected to the battery stack 20 are connected to the voltage monitoring unit 3.

電池積層体20の入出力タブ11p’,11n’は、パワー配線41p,41nを介して、電池パック1に対して電力の入出力を行う外部接続端子42p,42nに接続されている。正極パワー配線41p上には、正極パワー配線41pを断続するスイッチ43が設けられている。一方、負極パワー配線41n上には、負極パワー配線41nを流れる電流を監視する電流監視部44が設けられている。スイッチ43は、正極パワー配線41pの電気的接続を切り替える開閉器と、当該開閉器を駆動するドライバ回路を含む。本実施形態とは異なり、正極パワー配線41p上に電流監視部44が設けられ、負極パワー配線41n上にスイッチ43が設けられていてもよい。正極パワー配線41p及び負極パワー配線41nのいずれか一方に、スイッチ43及び電流監視部44が設けられていてもよい。パワー配線41p,41n、外部接続端子42p,42n、スイッチ43、電流監視部44は、パワー部4を構成する。   The input / output tabs 11p 'and 11n' of the battery stack 20 are connected to external connection terminals 42p and 42n for inputting / outputting power to / from the battery pack 1 via power wirings 41p and 41n. On the positive power line 41p, a switch 43 for connecting and disconnecting the positive power line 41p is provided. On the other hand, a current monitoring unit 44 that monitors the current flowing through the negative power line 41n is provided on the negative power line 41n. The switch 43 includes a switch that switches electrical connection of the positive power line 41p and a driver circuit that drives the switch. Unlike the present embodiment, the current monitoring unit 44 may be provided on the positive power line 41p, and the switch 43 may be provided on the negative power line 41n. The switch 43 and the current monitoring unit 44 may be provided on one of the positive power line 41p and the negative power line 41n. The power wirings 41 p and 41 n, the external connection terminals 42 p and 42 n, the switch 43, and the current monitoring unit 44 constitute the power unit 4.

電圧監視部3は、制御部5に接続されている。制御部5は、電圧監視部3からの信号により電池セル10の電圧が異常であることを検知すると、パワー配線41pを遮断する信号をスイッチ43に出力し、電池積層体20と電池パック1に接続された機器との電気的接続を遮断する。   The voltage monitoring unit 3 is connected to the control unit 5. When the control unit 5 detects that the voltage of the battery cell 10 is abnormal based on a signal from the voltage monitoring unit 3, the control unit 5 outputs a signal for cutting off the power wiring 41 p to the switch 43, and sends the signal to the battery stack 20 and the battery pack 1. Cut off the electrical connection with the connected equipment.

電流監視部44も制御部5に接続されている。制御部5は、電流監視部44からの信号によりパワー配線を流れる電流が異常であることを検知すると、パワー配線41pを遮断する信号をスイッチ43に出力し、電池積層体20と電池パック1の外部との電気的接続を遮断する。   The current monitoring unit 44 is also connected to the control unit 5. When the control unit 5 detects that the current flowing through the power wiring is abnormal based on the signal from the current monitoring unit 44, the control unit 5 outputs a signal for cutting off the power wiring 41 p to the switch 43, and the battery stack 20 and the battery pack 1. Cut off the electrical connection with the outside.

図示を省略しているが、電圧監視部3、スイッチ43、電流監視部44、制御部5は、それぞれの機能を発揮するために、電池積層体20から電力供給を受ける。   Although not shown, the voltage monitoring unit 3, the switch 43, the current monitoring unit 44, and the control unit 5 are supplied with power from the battery stack 20 in order to perform their functions.

図3に示した構成が、実際の電池パック1でどのように具現化されているかを以下に説明する。   How the configuration shown in FIG. 3 is embodied in the actual battery pack 1 will be described below.

図4は電池パック1の斜視図である。電池パック1は、ケース本体61と、中間枠62と、上蓋63とをこの順に備えたケース60を有している。上蓋63の上面には、電池パック1に対して電力の入出力を行う正極外部接続端子42p及び負極外部接続端子42nが設けられている。   FIG. 4 is a perspective view of the battery pack 1. The battery pack 1 has a case 60 provided with a case main body 61, an intermediate frame 62, and an upper lid 63 in this order. On the upper surface of the upper lid 63, a positive external connection terminal 42p and a negative external connection terminal 42n for inputting / outputting electric power to / from the battery pack 1 are provided.

図5は、上蓋63及び中間枠62の内部の構造を透視した電池パック1の主要部の透視斜視図である。ケース本体61は、略直方体形状を有し、上方が開口した有底箱体である。ケース本体61内に電池積層体20(図2参照)が収納されている。ケース本体61の開口を塞ぐように、電圧監視基板73がケース本体61に固定されている。電圧監視基板73の上方に、パワー基板74及び制御基板75が配置されている。図3で説明した電圧監視部3、パワー部4、制御部5は、順に、電圧監視基板73、パワー基板74、制御基板75に設けられている。   FIG. 5 is a perspective view of the main part of the battery pack 1 as seen through the internal structure of the upper lid 63 and the intermediate frame 62. The case main body 61 is a bottomed box body having a substantially rectangular parallelepiped shape and opened upward. The battery stack 20 (see FIG. 2) is accommodated in the case main body 61. A voltage monitoring board 73 is fixed to the case body 61 so as to close the opening of the case body 61. A power board 74 and a control board 75 are arranged above the voltage monitoring board 73. The voltage monitoring unit 3, the power unit 4, and the control unit 5 described in FIG. 3 are sequentially provided on the voltage monitoring board 73, the power board 74, and the control board 75.

電圧監視基板73は、略矩形の平面視形状を有する。電圧監視基板73の周囲の4辺のうち、対向する一方の2辺には第1切り欠き31p,31nが形成され、対向する他方の2辺のそれぞれには、複数の第2切り欠き32が形成されている。   The voltage monitoring board 73 has a substantially rectangular plan view shape. Of the four sides around the voltage monitoring board 73, first notches 31p and 31n are formed on one opposite two sides, and a plurality of second notches 32 are formed on each of the other two opposite sides. Is formed.

一対の第1切り欠き31p,31nを通って、電池積層体20の入出力タブ11p’,11n’(図2参照)に接続された短冊状の電極リード21p,21nが、電圧監視基板73の下側(電池積層体20側)から上側に案内されている。電極リード21p,21nは、電圧監視基板73上に搭載された端子台33p,33nに固定されている。短冊状の接続リード45p,45n(図5では正極接続リード45pは見えない)の一端が端子台33p,33nに接続されている。これにより、接続リード45p,45nは、端子台33p,33nを介して電極リード21p,21nと電気的に接続されている。接続リード45p,45nの他端は、パワー基板74に電気的に接続されている(後述する図8を参照)。   The strip-shaped electrode leads 21p and 21n connected to the input / output tabs 11p ′ and 11n ′ (see FIG. 2) of the battery stack 20 through the pair of first cutouts 31p and 31n are connected to the voltage monitoring board 73. It is guided from the lower side (battery laminate 20 side) to the upper side. The electrode leads 21p and 21n are fixed to terminal blocks 33p and 33n mounted on the voltage monitoring board 73. One end of strip-like connection leads 45p and 45n (the positive electrode connection lead 45p is not visible in FIG. 5) is connected to the terminal blocks 33p and 33n. Thereby, the connection leads 45p and 45n are electrically connected to the electrode leads 21p and 21n via the terminal blocks 33p and 33n. The other ends of the connection leads 45p and 45n are electrically connected to the power board 74 (see FIG. 8 described later).

第2切り欠き32は、電極監視基板73の辺に沿って略一定ピッチで形成されている。端子35が、電極監視基板73上の第2切り欠き32の近傍の位置に搭載されている。端子35は、第2切り欠き32に一対一に対応して複数個設けられている。各第2切り欠き32を通って、電池積層体20に接続された1本の電圧監視用の配線22(図2参照)が、電圧監視基板73の下側(電池積層体20側)から上側に案内されている。配線22は、当該配線22を案内する第2切り欠き32に対応する端子35に接続されている。   The second notches 32 are formed at a substantially constant pitch along the side of the electrode monitoring substrate 73. The terminal 35 is mounted at a position in the vicinity of the second notch 32 on the electrode monitoring board 73. A plurality of terminals 35 are provided in one-to-one correspondence with the second notches 32. One voltage monitoring wiring 22 (see FIG. 2) connected to the battery stack 20 through each second notch 32 is above the lower side of the voltage monitoring board 73 (battery stack 20 side). It is guided to. The wiring 22 is connected to a terminal 35 corresponding to the second notch 32 that guides the wiring 22.

電圧監視基板73には、電池積層体20を構成する各電池セル10の電圧を監視するための電圧監視回路(例えばIC)36が実装されている。電圧監視回路36は、電圧監視用基板73に形成された配線(図示せず)を介して複数の端子35に接続されている。電圧監視回路36は、各電池セル10の電圧を監視する電圧監視部3(図3参照)を構成する。   On the voltage monitoring board 73, a voltage monitoring circuit (for example, IC) 36 for monitoring the voltage of each battery cell 10 constituting the battery stack 20 is mounted. The voltage monitoring circuit 36 is connected to a plurality of terminals 35 via wiring (not shown) formed on the voltage monitoring substrate 73. The voltage monitoring circuit 36 constitutes a voltage monitoring unit 3 (see FIG. 3) that monitors the voltage of each battery cell 10.

パワー基板74は、電圧監視用基板73の上方に、これから離間して配置されている。パワー基板74には、電池パック1に対して電力の入出力を行う外部接続端子42p,42n(図3参照)が搭載されている。接続リード45p,45nと外部接続端子42p,42nとをつなぐパワー配線41p,41n(図3参照、図5では図示を省略)がパワー基板74の表面又はその内部に形成されている。更に、パワー基板74には、スイッチ43(図3参照)を構成するスイッチ回路(例えばIC)43a、及び、電流監視部44(図3参照)を構成する電流監視回路(例えばIC)44aが搭載されている。   The power board 74 is disposed above the voltage monitoring board 73 so as to be separated therefrom. External connection terminals 42p and 42n (see FIG. 3) for inputting / outputting electric power to / from the battery pack 1 are mounted on the power board 74. Power wirings 41p and 41n (see FIG. 3, not shown in FIG. 5) for connecting the connection leads 45p and 45n and the external connection terminals 42p and 42n are formed on the surface of the power substrate 74 or inside thereof. Further, the power board 74 is equipped with a switch circuit (for example, IC) 43a constituting the switch 43 (see FIG. 3) and a current monitoring circuit (for example, IC) 44a constituting the current monitoring unit 44 (see FIG. 3). Has been.

制御基板75は、パワー基板74の上方に、これから離間して配置されている。制御基板75には、制御部5(図3参照)を構成する制御回路(例えばIC)51が搭載されている。   The control board 75 is disposed above the power board 74 and spaced from the power board 74. On the control board 75, a control circuit (for example, IC) 51 constituting the control unit 5 (see FIG. 3) is mounted.

電圧監視基板73、パワー基板74、制御基板75は、柔軟性を有するケーブル(図示せず)で相互に電気的に接続されている。   The voltage monitoring board 73, the power board 74, and the control board 75 are electrically connected to each other with a flexible cable (not shown).

<作用>
本実施形態の電池パック1の作用を、従来の電池パックと比較しながら説明する。
<Action>
The operation of the battery pack 1 of the present embodiment will be described in comparison with a conventional battery pack.

上述したように、近年では、電池パックに対する小型化且つ大容量化の要望が増大している。電池パックの大容量化を実現するためには、電池積層体と外部接続端子とをつなぐパワー配線の電流を増大させる必要がある。これは、パワー配線から発生するノイズを増大させる。従来の電池パックでは、パワー配線と、電圧監視部及び制御部を含む保護回路とが同一の基板上に設けられていたので、パワー配線からのノイズによって電圧監視部及び制御部を構成するデジタル回路に悪影響を及ぼす可能性があった。ノイズの悪影響を回避するためには、パワー配線と電圧監視部及び制御部とを離間する必要があり、これは基板面積の増大を招き、電池パックの小型化を困難にしていた。   As described above, in recent years, there has been an increasing demand for smaller and larger capacity battery packs. In order to increase the capacity of the battery pack, it is necessary to increase the current of the power wiring that connects the battery stack and the external connection terminal. This increases the noise generated from the power wiring. In the conventional battery pack, since the power wiring and the protection circuit including the voltage monitoring unit and the control unit are provided on the same substrate, the digital circuit constituting the voltage monitoring unit and the control unit by noise from the power wiring Could have an adverse effect on In order to avoid the adverse effects of noise, it is necessary to separate the power wiring from the voltage monitoring unit and the control unit, which increases the substrate area and makes it difficult to reduce the size of the battery pack.

これに対して、本実施形態の電池パック1では、パワー配線41p,41nを含むパワー部4が、電圧監視部3が設けられた電圧監視基板73及び制御部5が設けられた制御基板75とは別のパワー基板74に設けられている。従って、パワー部4と電圧監視部3及び制御部5との距離を容易に拡大することができる。また、必要に応じて、パワー部4と電圧監視部3及び制御部5との間にシールドを施すことができる。その結果、パワー部4からのノイズによって電圧監視部3及び制御部5を構成するデジタル回路に悪影響を及ぼす可能性を低減することができる。   On the other hand, in the battery pack 1 of this embodiment, the power unit 4 including the power wirings 41p and 41n includes the voltage monitoring board 73 provided with the voltage monitoring unit 3 and the control board 75 provided with the control unit 5. Are provided on another power board 74. Therefore, the distance between the power unit 4 and the voltage monitoring unit 3 and the control unit 5 can be easily increased. Moreover, a shield can be provided between the power unit 4 and the voltage monitoring unit 3 and the control unit 5 as necessary. As a result, it is possible to reduce the possibility that the digital circuits constituting the voltage monitoring unit 3 and the control unit 5 will be adversely affected by noise from the power unit 4.

基板を分割することにより、各基板に形成する配線や基板に搭載する部品の配置に関する設計の自由度が向上する。これは、単一の基板を用いる従来の構成に比べて、基板全体の小型化に有利である。   By dividing the substrate, the degree of freedom of design related to the arrangement of the wiring formed on each substrate and the components mounted on the substrate is improved. This is advantageous for downsizing the entire substrate as compared to the conventional configuration using a single substrate.

電池パックの基板としては、その表面及び内部に複数層の配線(配線パターン)が所定パターンで形成された、いわゆる多層基板が一般的に用いられる。多層基板では、通常、各層の配線の厚さ(基板の表面に垂直な方向に沿った寸法)は同一である。従来の電池パックでは、パワー配線と、電圧監視部及び制御部を含む保護回路とが同一の基板上に設けられていた。パワー配線の大電流化のために配線が厚い多層基板を用いた場合には、そのような厚い配線は電圧監視部及び制御部には無駄になり、また、多層基板が厚肉化する。一方、パワー配線の大電流化のために配線が広幅の多層基板を用いた場合には、基板面積の増大を招く。   As the substrate of the battery pack, a so-called multilayer substrate in which a plurality of layers of wiring (wiring patterns) are formed in a predetermined pattern on the surface and inside is generally used. In a multilayer substrate, the thickness of wiring in each layer (the dimension along the direction perpendicular to the surface of the substrate) is usually the same. In the conventional battery pack, the power wiring and the protection circuit including the voltage monitoring unit and the control unit are provided on the same substrate. When a multilayer substrate with thick wiring is used to increase the current of the power wiring, such a thick wiring is wasted in the voltage monitoring unit and the control unit, and the multilayer substrate becomes thick. On the other hand, when a multilayer substrate with a wide wiring is used to increase the current of the power wiring, the substrate area increases.

これに対して、本実施形態の電池パック1では、パワー配線41p,41nを含むパワー部4が、電圧監視部3が設けられた電圧監視基板73及び制御部5が設けられた制御基板75とは別のパワー基板74に設けられている。従って、各基板73,74,75として、最適な多層基板を用いることができる。例えば、パワー配線41p,41nの大電流化のために、パワー基板74として、配線の厚さが厚い多層基板を用いることができる。これにより、配線の幅(基板の表面に平行な方向に沿った寸法)の増大を抑えることができるので、基板面積の増大を回避できる。一方、大電流が必要とされない電圧監視基板73及び制御基板75としては、配線の厚さ及び幅が相対的に小さな多層基板を用いることができる。これにより、基板73,75を薄く且つ小面積化することができる。一実施例では、パワー基板74として、厚さが300μmの配線が形成された、全体厚さが2.3mmの多層基板を用いることができ、電圧監視用基板73として、厚さが35μmの配線が形成された、全体厚さが1.5mmの2層基板を用いることができ、制御基板75として、厚さが35μmの配線が形成された、全体厚さが1.5mmの6層基板を用いることができる。   On the other hand, in the battery pack 1 of this embodiment, the power unit 4 including the power wirings 41p and 41n includes the voltage monitoring board 73 provided with the voltage monitoring unit 3 and the control board 75 provided with the control unit 5. Are provided on another power board 74. Accordingly, an optimum multilayer substrate can be used as each of the substrates 73, 74, and 75. For example, a multilayer substrate having a thick wiring can be used as the power substrate 74 in order to increase the current of the power wirings 41p and 41n. As a result, an increase in the width of the wiring (a dimension along a direction parallel to the surface of the substrate) can be suppressed, so that an increase in the substrate area can be avoided. On the other hand, as the voltage monitoring board 73 and the control board 75 that do not require a large current, a multilayer board having a relatively small wiring thickness and width can be used. As a result, the substrates 73 and 75 can be made thinner and smaller in area. In one embodiment, a multilayer substrate having a total thickness of 2.3 mm on which a wiring having a thickness of 300 μm is formed can be used as the power substrate 74, and a wiring having a thickness of 35 μm can be used as the voltage monitoring substrate 73. A two-layer substrate having a total thickness of 1.5 mm can be used, and a six-layer substrate having a total thickness of 1.5 mm and a wiring having a thickness of 35 μm formed as the control substrate 75. Can be used.

以上のように、本実施形態によれば、パワー部4が電圧監視部3及び制御部5が設けられた基板73,75とは別のパワー基板74に設けられており、且つ、パワー基板74に形成された配線は、電圧監視部3及び制御部5が設けられた基板73,75に形成された配線より厚い。これにより、電池パック1の小型化且つ大容量化を実現することができる。   As described above, according to the present embodiment, the power unit 4 is provided on the power board 74 different from the boards 73 and 75 on which the voltage monitoring unit 3 and the control unit 5 are provided, and the power board 74 is provided. The wiring formed on the substrate is thicker than the wiring formed on the substrates 73 and 75 on which the voltage monitoring unit 3 and the control unit 5 are provided. Thereby, size reduction and capacity increase of the battery pack 1 can be realized.

更に、3つの基板73,74,75を積層することにより、上述したノイズの問題を回避しながら、基板73,74,75を全体として小型化することができる。なお、基板73,74,75の積層順序は上記の実施形態に限定されず、任意に変更することができる。   Further, by stacking the three substrates 73, 74, 75, the substrates 73, 74, 75 can be downsized as a whole while avoiding the above-mentioned noise problem. Note that the order of stacking the substrates 73, 74, and 75 is not limited to the above embodiment, and can be arbitrarily changed.

また、保護回路を機能に着目して複数部分に分割してそれぞれを別個の基板に搭載したことにより、保護回路の各部分をモジュール化することができる。これにより、保護回路を構成する複数の基板のうちの一部のみを設計変更したり入れ替えたりすることが容易になるので、電池パックの多品種化に容易に対応できる。また、保護回路の修理も、一部の基板のみを交換することで行うことができる。   Further, the protection circuit is divided into a plurality of parts with attention paid to the function, and each part is mounted on a separate substrate, whereby each part of the protection circuit can be modularized. As a result, it becomes easy to change the design or replace only a part of the plurality of substrates constituting the protection circuit, so that it is possible to easily cope with a wide variety of battery packs. Further, the protection circuit can be repaired by exchanging only a part of the substrates.

<電池積層体とパワー配線との接続>
電池パック1を組み立てる際には、いずれかの段階で、電池積層体20の入出力タブ11p’,11n’(図2参照)とパワー配線41p,41n(図3参照)とを電気的に接続する工程(以下「電池−パワー基板接続工程」という)を行う必要がある。電池−パワー基板接続工程を早い段階で行うと、その後の組み立て工程で感電や短絡などの事故が生じる可能性が高くなる。電池積層体20の容量(電圧)が高い場合には、そのような事故による損害は甚大となり得る。更に、本実施形態のように、複数の基板を用いる場合には、電池パック1の組み立て工程が複雑になるので、そのような事故が発生する可能性は高い。
<Connection between battery stack and power wiring>
When the battery pack 1 is assembled, the input / output tabs 11p ′ and 11n ′ (see FIG. 2) of the battery stack 20 and the power wirings 41p and 41n (see FIG. 3) are electrically connected at any stage. It is necessary to perform a process (hereinafter referred to as “battery-power board connection process”). If the battery-power board connection process is performed at an early stage, there is a high possibility that an accident such as an electric shock or a short circuit will occur in the subsequent assembly process. When the capacity (voltage) of the battery stack 20 is high, damage due to such an accident can be significant. Furthermore, when using a plurality of substrates as in the present embodiment, the assembly process of the battery pack 1 becomes complicated, and thus there is a high possibility that such an accident will occur.

本実施形態の電池パック1では、このような事故が生じる可能性を低減する構造が採用されている。これを以下に説明する。   In the battery pack 1 of the present embodiment, a structure that reduces the possibility of such an accident is employed. This will be described below.

本実施形態の電池パック1は、概略、以下の工程を順に経て組み立てられる。即ち、(1)ケース本体61に電池積層体20を収納する。(2)ケース本体61に電圧監視基板73を固定し、電池積層体20と電圧監視基板73とを結線する。(3)ケース本体61に中間枠62を固定する。(4)中間枠62にパワー基板74を固定する。(5)制御基板75を装着した上蓋63を中間枠62に固定する。   The battery pack 1 of the present embodiment is generally assembled through the following steps in order. (1) The battery stack 20 is stored in the case body 61. (2) The voltage monitoring board 73 is fixed to the case body 61, and the battery stack 20 and the voltage monitoring board 73 are connected. (3) The intermediate frame 62 is fixed to the case body 61. (4) The power board 74 is fixed to the intermediate frame 62. (5) The upper lid 63 on which the control board 75 is mounted is fixed to the intermediate frame 62.

図6は、上記の組み立てにおいて、中間枠62にパワー基板74を固定した状態(上記工程(4))を示した斜視図である。この後、パワー基板74を覆うように、上蓋63を中間枠62に固定する(上記工程(5))。図7は、上蓋63を固定した状態を示した、図6の7−7線を含む上下方向面に相当する断面に沿った矢視断面図である。図7では、図面を簡単化するために、断面より後ろに見える部材を省略している。   FIG. 6 is a perspective view showing a state in which the power board 74 is fixed to the intermediate frame 62 (the step (4)) in the above assembly. Thereafter, the upper lid 63 is fixed to the intermediate frame 62 so as to cover the power substrate 74 (step (5) above). FIG. 7 is a cross-sectional view taken along the cross-section corresponding to the vertical plane including the line 7-7 in FIG. 6, showing a state in which the upper lid 63 is fixed. In FIG. 7, in order to simplify the drawing, members that are visible behind the cross section are omitted.

図7に示されているように、電圧監視基板73に導電性を有する端子台33nが搭載されている。電池積層体20の入出力タブ11n’(図2参照)に接続された電極リード21nが、端子台33nにネジ47aで密着固定されている。略Z字上に折り曲げられた接続リード45nの下端が、端子台33nにネジ47bで密着固定されている。従って、端子台33nを介して、電極リード21nと接続リード45nとが電気的に接続されている。なお、端子台33nが絶縁性を有していてもよく、その場合には、端子台33nの上面に導電層を形成して、当該導電層を介して電極リード21nと接続リード45nとを電気的に接続することができる。   As shown in FIG. 7, a terminal block 33 n having conductivity is mounted on the voltage monitoring board 73. The electrode lead 21n connected to the input / output tab 11n '(see FIG. 2) of the battery stack 20 is fixed to the terminal block 33n with a screw 47a. The lower end of the connection lead 45n bent in a substantially Z shape is tightly fixed to the terminal block 33n with a screw 47b. Therefore, the electrode lead 21n and the connection lead 45n are electrically connected via the terminal block 33n. The terminal block 33n may have an insulating property. In that case, a conductive layer is formed on the upper surface of the terminal block 33n, and the electrode lead 21n and the connection lead 45n are electrically connected via the conductive layer. Can be connected.

中間枠62は、端子台33nの近傍に、保持部65を有している。保持部65は、上方が開口した有底箱形状を有し、その内部のキャビティ66内にナット48を保持している。キャビティ66内において、ナット48は上下方向(パワー基板74に接離する方向)に移動可能である。接続リード45nの上端は、保持部65の開口を塞ぐように、水平方向に延びている。接続リード45nの上端には、ナット48と略同軸となる位置に、接続リード45nを貫通する貫通孔46が形成されている。更に、パワー基板74にも、ナット48と略同軸となる位置に、パワー基板74を貫通する貫通孔77が形成されている。パワー基板74の下面であって、接続リード45nの上端に対向する領域には、導電性金属からなる配線端子41tが形成されている。配線端子41tは、貫通孔77の開口を取り囲んでいる。配線端子41tは、パワー配線41n(図3参照)の一部をなす。接続リード45nと配線端子41tとは離間している。上蓋63がパワー基板74を覆っている。上蓋63の、ナット48と略同軸となる位置に、上蓋63を貫通する貫通孔68が形成されている。   The intermediate frame 62 has a holding portion 65 in the vicinity of the terminal block 33n. The holding part 65 has a bottomed box shape with the upper part opened, and holds the nut 48 in the cavity 66 therein. Within the cavity 66, the nut 48 can move in the vertical direction (the direction in which it is in contact with and away from the power board 74). The upper end of the connection lead 45n extends in the horizontal direction so as to close the opening of the holding portion 65. At the upper end of the connection lead 45n, a through hole 46 that penetrates the connection lead 45n is formed at a position substantially coaxial with the nut 48. Further, the power board 74 is also formed with a through-hole 77 that penetrates the power board 74 at a position substantially coaxial with the nut 48. A wiring terminal 41t made of a conductive metal is formed on the lower surface of the power substrate 74 and in a region facing the upper end of the connection lead 45n. The wiring terminal 41 t surrounds the opening of the through hole 77. The wiring terminal 41t forms part of the power wiring 41n (see FIG. 3). The connection lead 45n and the wiring terminal 41t are separated from each other. An upper lid 63 covers the power board 74. A through hole 68 penetrating the upper lid 63 is formed in the upper lid 63 at a position substantially coaxial with the nut 48.

電池積層体20の入出力タブ11n’とパワー配線41nとを接続する電池−パワー基板接続工程を行う際には、上蓋63に形成された貫通孔68に、上方からネジ49を挿入する(図8参照)。ネジ49を、上蓋63の貫通孔68、パワー基板74の貫通孔77、接続リード45nの貫通孔46を順に貫通させて、保持部65に保持されたナット48と螺合させる。ナット48の外周の正六角柱面が、保持部65のキャビティ66の内周面に当接するので、ナット48の回転が阻止される。ネジ49とナット48との螺合が進むにしたがってナット48が上方に持ち上げられ、これにともない接続リード45nも持ち上げられる。そして、遂に、図8に示すように、ネジ49とナット48とがしっかりと締結される。これにより、接続リード45nとパワー配線41nの配線端子41tとが密着して電気的に接続され、電池−パワー基板接続工程が完了する。   When performing the battery-power board connecting step of connecting the input / output tab 11n ′ of the battery stack 20 and the power wiring 41n, the screw 49 is inserted into the through hole 68 formed in the upper lid 63 from above (FIG. 8). The screw 49 is passed through the through hole 68 of the upper lid 63, the through hole 77 of the power board 74, and the through hole 46 of the connection lead 45n in this order, and is screwed into the nut 48 held by the holding portion 65. Since the regular hexagonal cylinder surface on the outer periphery of the nut 48 contacts the inner peripheral surface of the cavity 66 of the holding portion 65, the rotation of the nut 48 is prevented. As the screw 49 and the nut 48 are screwed together, the nut 48 is lifted upward, and the connection lead 45n is lifted accordingly. Finally, as shown in FIG. 8, the screw 49 and the nut 48 are firmly fastened. As a result, the connection lead 45n and the wiring terminal 41t of the power wiring 41n are brought into close contact with each other and electrically connected, and the battery-power board connecting step is completed.

上記の説明は、電池積層体20の入出力タブとパワー配線との負極側の電気的接続に関するものであるが、正極側の電気的接続も上記と同様である。   The above description relates to the electrical connection on the negative electrode side between the input / output tab of the battery stack 20 and the power wiring, but the electrical connection on the positive electrode side is the same as described above.

このように、本実施形態では、上蓋63を中間枠62に取り付けただけでは、電池積層体20の入出力タブ11p’,11n’と導通した接続リード45p,45nとパワー配線41p,41nとは、電気的に接続されない。上蓋63の上方から、貫通孔68にネジ49を挿入して、パワー基板74の下側に保持されたナット48に螺合することによって、電池−パワー基板接続工程が完了する。本実施形態によれば、基板73,74,75を、電池積層体20の入出力タブ11p’,11n’に電気的に接続されていない状態で組み付けることができる。電池−パワー基板接続工程は、上蓋63を固定した後、即ち、電池パック1の組み立て作業の最終工程として行う。その結果、基板73,74,75の組み付け作業において感電や短絡などの事故が生じる可能性を低減することができる。上蓋63の貫通孔68は、電池−パワー基板接続工程を行った後、必要に応じて、上蓋63にラベルを貼付したり、貫通孔68に栓を挿入したりして塞いでもよい。   Thus, in the present embodiment, the connection leads 45p and 45n and the power wirings 41p and 41n that are electrically connected to the input / output tabs 11p ′ and 11n ′ of the battery stack 20 can be obtained only by attaching the upper lid 63 to the intermediate frame 62. Not electrically connected. By inserting a screw 49 into the through hole 68 from above the upper lid 63 and screwing it into the nut 48 held on the lower side of the power board 74, the battery-power board connecting step is completed. According to the present embodiment, the substrates 73, 74 and 75 can be assembled in a state where they are not electrically connected to the input / output tabs 11 p ′ and 11 n ′ of the battery stack 20. The battery-power board connecting step is performed after the upper lid 63 is fixed, that is, as the final step of the assembling operation of the battery pack 1. As a result, it is possible to reduce the possibility of an accident such as an electric shock or a short circuit in the assembling work of the substrates 73, 74, and 75. The through hole 68 of the upper lid 63 may be closed by attaching a label to the upper lid 63 or inserting a plug into the through hole 68 as necessary after performing the battery-power board connection step.

本実施形態では、ナット48は、ネジ49と螺合する前に、保持部65のキャビティ66内に上下方向に移動可能に保持されている。この構成では、中間枠62にパワー基板74を取り付ける前に、ナット48を保持部65のキャビティ66内に収納しておけばよい。ナット48が保持部65に保持されているので、ネジ49をパワー基板74の貫通孔77に挿入して回転させれば、ネジ49とナット48とを簡単に螺合させることができる。これにより、電池−パワー基板接続工程を効率よく行うことができる。   In this embodiment, the nut 48 is held so as to be movable in the vertical direction in the cavity 66 of the holding portion 65 before being screwed with the screw 49. In this configuration, the nut 48 may be stored in the cavity 66 of the holding portion 65 before the power board 74 is attached to the intermediate frame 62. Since the nut 48 is held by the holding portion 65, if the screw 49 is inserted into the through hole 77 of the power board 74 and rotated, the screw 49 and the nut 48 can be easily screwed together. Thereby, a battery-power board connection process can be performed efficiently.

上記の実施形態は、例示にすぎない。本発明は、上記の実施形態に限定されず種々に変更することができる。   The above embodiments are merely examples. The present invention is not limited to the above embodiment and can be variously modified.

例えば、上記の実施形態では、電圧監視部3と制御部5とが上下方向に積層されていたが、これらが同一水平面に沿って配置されていてもよい。電圧監視部3及び制御部5を、別個の基板に設けるのではなく、共通する基板に設けてもよい。また、電圧監視部3、パワー部4、制御部5のうちの少なくとも一つが、2以上に分割されてそれぞれ別個の基板に設けられていてもよい。   For example, in the above-described embodiment, the voltage monitoring unit 3 and the control unit 5 are stacked in the vertical direction, but these may be arranged along the same horizontal plane. The voltage monitoring unit 3 and the control unit 5 may be provided on a common substrate instead of being provided on separate substrates. Further, at least one of the voltage monitoring unit 3, the power unit 4, and the control unit 5 may be divided into two or more and provided on separate substrates.

上記の実施形態では、電池積層体20の入出力タブ11p’,11n’は、電極リード21p,21n及び接続リード45p,45nを介してパワー配線41p,41nに接続されていたが、電極リード21p,21n及び接続リード45p,45nのうちの一方又は両方を省略してもよい。あるいは、入出力タブ11p’,11n’とパワー配線41p,41nとの間に、これら以外の部材を更に介在させてもよい。   In the above embodiment, the input / output tabs 11p ′ and 11n ′ of the battery stack 20 are connected to the power wirings 41p and 41n via the electrode leads 21p and 21n and the connection leads 45p and 45n. , 21n and one or both of the connection leads 45p, 45n may be omitted. Alternatively, other members may be further interposed between the input / output tabs 11p 'and 11n' and the power wirings 41p and 41n.

上記の実施形態では、入出力タブ11p’,11n’とパワー配線41p,41nとの間に、電圧監視基板73に設けた端子台33p,33nが介在していたが、端子台33p,33nを省略し、電極リード21p,21n(または入出力タブ11p’,11n’と導通した任意のリード)をパワー基板74のパワー配線41p,41nに接続してもよい。   In the above embodiment, the terminal blocks 33p and 33n provided on the voltage monitoring board 73 are interposed between the input / output tabs 11p ′ and 11n ′ and the power wirings 41p and 41n. Omitted, the electrode leads 21p and 21n (or any leads connected to the input / output tabs 11p ′ and 11n ′) may be connected to the power wirings 41p and 41n of the power board 74.

ナット48を保持する保持部65は、中間枠62に設けられている必要はない。例えば、電圧監視基板73又はパワー基板74に、保持部65を設けてもよい。保持部65を省略し、作業者がナット48を保持しながらナット48とネジ49とを螺合させてもよい。   The holding portion 65 that holds the nut 48 need not be provided in the intermediate frame 62. For example, the holding unit 65 may be provided on the voltage monitoring board 73 or the power board 74. The holding portion 65 may be omitted, and the operator may screw the nut 48 and the screw 49 while holding the nut 48.

電池パックの保護回路が、電池セルの温度を監視する温度監視部を更に備えていてもよい。この場合、制御部5は、温度監視部からの信号により電池セルの温度が異常であることを検知すると、パワー配線を遮断する信号をスイッチ43に出力し、電池積層体20と電池パック1の外部との電気的接続を遮断するように構成することができる。このような温度監視部は、パワー基板74以外の基板に設けることが好ましい。   The protection circuit of the battery pack may further include a temperature monitoring unit that monitors the temperature of the battery cell. In this case, when the control unit 5 detects that the temperature of the battery cell is abnormal based on a signal from the temperature monitoring unit, the control unit 5 outputs a signal for cutting off the power wiring to the switch 43, so that the battery stack 20 and the battery pack 1 The electrical connection with the outside can be cut off. Such a temperature monitoring unit is preferably provided on a substrate other than the power substrate 74.

ケースの構成は、上記の実施形態に限定されず、任意である。例えば中間枠62を省略してもよい。   The configuration of the case is not limited to the above embodiment, and is arbitrary. For example, the intermediate frame 62 may be omitted.

上蓋63が、ネジ49を挿入するための貫通孔68を有していなくてもよい。この場合、電池−パワー基板接続工程は、上蓋63を中間枠62に固定する工程(上記の工程(5))の直前に行うことができる。この場合も、接続リード45p,45nとパワー配線41p,41nとの接続を除いて、電池パック1の組み立てにおいて必要な全ての電気的接続を終了した後に、電池−パワー基板接続工程を行うことができる。これにより、電池−パワー基板接続工程の直前まで、基板73,74,75を、電池積層体20の入出力タブ11p’,11n’に電気的に接続されていない状態で組み付けることができる。その結果、基板73,74,75の組み付け作業において感電や短絡などの事故が生じる可能性を低減することができる。   The upper lid 63 may not have the through hole 68 for inserting the screw 49. In this case, the battery-power board connecting step can be performed immediately before the step of fixing the upper lid 63 to the intermediate frame 62 (the above step (5)). Also in this case, the battery-power board connection step can be performed after all the electrical connections necessary for assembling the battery pack 1 are completed except for the connection between the connection leads 45p, 45n and the power wirings 41p, 41n. it can. Thereby, until just before the battery-power board connection step, the boards 73, 74, and 75 can be assembled without being electrically connected to the input / output tabs 11 p ′ and 11 n ′ of the battery stack 20. As a result, it is possible to reduce the possibility of an accident such as an electric shock or a short circuit in the assembling work of the substrates 73, 74, and 75.

上記の実施形態では、制御基板75は、上蓋63に装着される。但し、本発明はこれに限定されず、制御基板75がパワー基板74に固定されるように構成されていてもよい。この場合、制御基板75をパワー基板74に固定した後、上蓋63を、制御基板75及びパワー基板74を覆うように固定枠62に固定する。   In the above embodiment, the control board 75 is attached to the upper lid 63. However, the present invention is not limited to this, and the control board 75 may be configured to be fixed to the power board 74. In this case, after fixing the control board 75 to the power board 74, the upper lid 63 is fixed to the fixed frame 62 so as to cover the control board 75 and the power board 74.

上記の説明では、上蓋63側を電池パック1の上側、ケース本体61側を電池パック1の下側として、電池パック1の上下方向及び水平方向を記載したが、これは説明の便宜にすぎない。電池パックの実際の使用時の向きはこれに限定されない。   In the above description, the upper and lower directions and the horizontal direction of the battery pack 1 are described with the upper lid 63 side as the upper side of the battery pack 1 and the case body 61 side as the lower side of the battery pack 1, but this is only for convenience of description. . The direction of actual use of the battery pack is not limited to this.

本発明の利用分野は特に制限はなく、自動車、バイク、電動アシスト自転車等の各種移動機器、携帯情報端末、無停電電源装置(UPS)、蓄電装置等の電源に使用される電池パックとして広範囲に利用することができる。   The field of application of the present invention is not particularly limited, and is widely used as a battery pack used as a power source for various mobile devices such as automobiles, motorcycles, and electrically assisted bicycles, personal digital assistants, uninterruptible power supplies (UPS), and power storage devices. Can be used.

1 電池パック
3 電圧監視部
4 パワー部
5 制御部
10 電池セル
11p’,11n’ 入出力タブ
20 電池積層体
22 電圧監視用の配線
41p,41n パワー配線
42p,42n 外部接続端子
43 スイッチ
44 電流監視部
45p,45n 接続リード(リード)
48 ナット
49 ネジ
63 上蓋
65 保持部(保持機構)
66 キャビティ
68 貫通孔
73 電圧監視基板
74 パワー基板
75 制御基板
DESCRIPTION OF SYMBOLS 1 Battery pack 3 Voltage monitoring part 4 Power part 5 Control part 10 Battery cell 11p ', 11n' Input / output tab 20 Battery laminated body 22 Voltage monitoring wiring 41p, 41n Power wiring 42p, 42n External connection terminal 43 Switch 44 Current monitoring 45p, 45n Connection lead (lead)
48 Nut 49 Screw 63 Upper lid 65 Holding part (holding mechanism)
66 Cavity 68 Through-hole 73 Voltage monitoring board 74 Power board 75 Control board

Claims (5)

複数の薄板状の電池セルが積み重ねられ且つ前記複数の電池セルが直列に接続された電池積層体と、
前記電池積層体と外部接続端子とをつなぐパワー配線が設けられたパワー基板とを備え、
前記電池積層体の入出力タブと電気的に接続されたリードが前記パワー基板に対向し、
ネジが、前記パワー基板及び前記リードをこの順に貫通し、前記リードに対して前記パワー基板とは反対側に配置されたナットと螺合しており、これにより、前記リードが前記パワー基板に形成された前記パワー配線に電気的に接続されていることを特徴とする電池パック。
A battery stack in which a plurality of thin battery cells are stacked and the plurality of battery cells are connected in series;
A power board provided with a power wiring connecting the battery laminate and the external connection terminal,
The lead electrically connected to the input / output tab of the battery stack is opposed to the power board,
A screw penetrates the power board and the lead in this order and is screwed with a nut disposed on the opposite side of the power board to the lead, whereby the lead is formed on the power board. A battery pack, wherein the battery pack is electrically connected to the power wiring.
前記リードに対して前記パワー基板とは反対側に配置された保持機構に設けられたキャビティ内に、前記ナットが収納されている請求項1に記載の電池パック。   The battery pack according to claim 1, wherein the nut is housed in a cavity provided in a holding mechanism disposed on the opposite side of the power substrate from the lead. 前記ネジが前記ナットと螺合していない状態において、前記リードは前記パワー配線から離間する請求項1又は2に記載の電池パック。   The battery pack according to claim 1, wherein the lead is separated from the power wiring in a state where the screw is not screwed with the nut. 前記ネジが前記ナットと螺合していない状態において、前記ナットは、前記パワー基板に接離する方向に移動可能である請求項1〜3のいずれかに記載の電池パック。   The battery pack according to any one of claims 1 to 3, wherein the nut is movable in a direction in which the screw is in contact with or separated from the power board in a state where the screw is not screwed into the nut. 前記パワー基板を覆う上蓋を更に備え、
前記上蓋に、前記ネジを挿入するための貫通孔が形成されている請求項1〜4のいずれかに記載の電池パック。
Further comprising an upper lid covering the power substrate,
The battery pack according to claim 1, wherein a through hole for inserting the screw is formed in the upper lid.
JP2017126380A 2017-06-28 2017-06-28 Battery pack Active JP6327770B2 (en)

Priority Applications (1)

Application Number Priority Date Filing Date Title
JP2017126380A JP6327770B2 (en) 2017-06-28 2017-06-28 Battery pack

Applications Claiming Priority (1)

Application Number Priority Date Filing Date Title
JP2017126380A JP6327770B2 (en) 2017-06-28 2017-06-28 Battery pack

Related Parent Applications (1)

Application Number Title Priority Date Filing Date
JP2013176961A Division JP6190213B2 (en) 2013-08-28 2013-08-28 Battery pack

Publications (2)

Publication Number Publication Date
JP2017168464A JP2017168464A (en) 2017-09-21
JP6327770B2 true JP6327770B2 (en) 2018-05-23

Family

ID=59910004

Family Applications (1)

Application Number Title Priority Date Filing Date
JP2017126380A Active JP6327770B2 (en) 2017-06-28 2017-06-28 Battery pack

Country Status (1)

Country Link
JP (1) JP6327770B2 (en)

Families Citing this family (1)

* Cited by examiner, † Cited by third party
Publication number Priority date Publication date Assignee Title
JP7771823B2 (en) * 2022-03-14 2025-11-18 トヨタ自動車株式会社 Battery case

Family Cites Families (6)

* Cited by examiner, † Cited by third party
Publication number Priority date Publication date Assignee Title
JP4632353B2 (en) * 2005-03-08 2011-02-16 エルナー株式会社 Storage element connection structure and storage element module
JP4539763B2 (en) * 2008-06-13 2010-09-08 トヨタ自動車株式会社 electrode
JP5340676B2 (en) * 2008-08-29 2013-11-13 三洋電機株式会社 Battery system
JP5646046B2 (en) * 2011-04-04 2014-12-24 日立オートモティブシステムズ株式会社 Power storage module
JP2013084368A (en) * 2011-10-06 2013-05-09 Auto Network Gijutsu Kenkyusho:Kk Battery module
JP2013114782A (en) * 2011-11-25 2013-06-10 Sanyo Electric Co Ltd Battery pack

Also Published As

Publication number Publication date
JP2017168464A (en) 2017-09-21

Similar Documents

Publication Publication Date Title
JP6190213B2 (en) Battery pack
JP6141732B2 (en) Battery stack and battery pack
JP6233891B2 (en) Power storage device
JP4457812B2 (en) Battery pack and module battery
EP4191780B1 (en) Battery module including multiple parallel battery cells
JP6222713B2 (en) Bus bar structure and power conversion device using bus bar structure
JP5374979B2 (en) Batteries and batteries
US20140141309A1 (en) Battery module
US11942647B2 (en) Harness isolation plate assembly, battery module, battery pack and device
WO2013011748A1 (en) Battery module
CN116097516A (en) Battery module, battery pack including the same, and method of manufacturing the same
WO2018062226A1 (en) Battery module, and battery pack
CN112787043B (en) Battery module and electrical device
KR20220089648A (en) Power storage module
JP6327770B2 (en) Battery pack
WO2013011750A1 (en) Battery module
JP6101158B2 (en) Battery pack
US20140141321A1 (en) Battery module
US20150207178A1 (en) Battery module
JP4977356B2 (en) Electrical device assembly
JP2005340016A (en) Film-clad electrical device module and assembled battery system
KR102954205B1 (en) Battery module and battery pack including the same
KR20190000047U (en) A connection structure of pouch type battery
JP6081866B2 (en) Battery pack
WO2022230435A1 (en) Power storage device

Legal Events

Date Code Title Description
A621 Written request for application examination

Free format text: JAPANESE INTERMEDIATE CODE: A621

Effective date: 20170718

A977 Report on retrieval

Free format text: JAPANESE INTERMEDIATE CODE: A971007

Effective date: 20180406

TRDD Decision of grant or rejection written
A01 Written decision to grant a patent or to grant a registration (utility model)

Free format text: JAPANESE INTERMEDIATE CODE: A01

Effective date: 20180412

A61 First payment of annual fees (during grant procedure)

Free format text: JAPANESE INTERMEDIATE CODE: A61

Effective date: 20180416

R150 Certificate of patent or registration of utility model

Ref document number: 6327770

Country of ref document: JP

Free format text: JAPANESE INTERMEDIATE CODE: R150

R250 Receipt of annual fees

Free format text: JAPANESE INTERMEDIATE CODE: R250

S533 Written request for registration of change of name

Free format text: JAPANESE INTERMEDIATE CODE: R313533

R350 Written notification of registration of transfer

Free format text: JAPANESE INTERMEDIATE CODE: R350

R250 Receipt of annual fees

Free format text: JAPANESE INTERMEDIATE CODE: R250

R250 Receipt of annual fees

Free format text: JAPANESE INTERMEDIATE CODE: R250

R250 Receipt of annual fees

Free format text: JAPANESE INTERMEDIATE CODE: R250

R250 Receipt of annual fees

Free format text: JAPANESE INTERMEDIATE CODE: R250