JP6232035B2 - スロットマシン - Google Patents

スロットマシン Download PDF

Info

Publication number
JP6232035B2
JP6232035B2 JP2015235091A JP2015235091A JP6232035B2 JP 6232035 B2 JP6232035 B2 JP 6232035B2 JP 2015235091 A JP2015235091 A JP 2015235091A JP 2015235091 A JP2015235091 A JP 2015235091A JP 6232035 B2 JP6232035 B2 JP 6232035B2
Authority
JP
Japan
Prior art keywords
stop
big bonus
winning
combination
reel
Prior art date
Legal status (The legal status is an assumption and is not a legal conclusion. Google has not performed a legal analysis and makes no representation as to the accuracy of the status listed.)
Active
Application number
JP2015235091A
Other languages
English (en)
Other versions
JP2016047321A (ja
Inventor
中島 和俊
和俊 中島
Current Assignee (The listed assignees may be inaccurate. Google has not performed a legal analysis and makes no representation or warranty as to the accuracy of the list.)
Sankyo Co Ltd
Original Assignee
Sankyo Co Ltd
Priority date (The priority date is an assumption and is not a legal conclusion. Google has not performed a legal analysis and makes no representation as to the accuracy of the date listed.)
Filing date
Publication date
Application filed by Sankyo Co Ltd filed Critical Sankyo Co Ltd
Priority to JP2015235091A priority Critical patent/JP6232035B2/ja
Publication of JP2016047321A publication Critical patent/JP2016047321A/ja
Application granted granted Critical
Publication of JP6232035B2 publication Critical patent/JP6232035B2/ja
Active legal-status Critical Current
Anticipated expiration legal-status Critical

Links

Images

Landscapes

  • Slot Machines And Peripheral Devices (AREA)

Description

本発明は、各々が識別可能な複数種類の図柄を変動表示可能な可変表示装置の表示結果に応じて所定の入賞が発生可能なスロットマシンに関する。
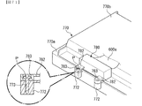
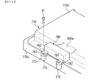
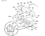
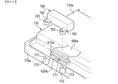
この種のスロットマシンとしては、下記特許文献1、2に記載のものが提案されている。
特開2003−117076号公報 特開2006−198196号公報
本発明は、遊技者から設定変更されたことが見抜かれてしまうことを防止できるスロットマシンを提供することを目的とする。
上記課題を解決するために、本発明の請求項1に記載のスロットマシンは、
各々が識別可能な複数種類の識別情報を周期的に変動表示可能な可変表示部を備え、
前記可変表示部を変動表示した後、前記可変表示部の変動表示を停止することで表示結果を導出し、該表示結果に応じて入賞が発生可能なスロットマシンにおいて、
永久磁石が組み込まれたロータを囲むように配置された複数の励磁相に対して予め定められた順番で励磁することにより前記可変表示部を変動表示させるステッピングモータと、
前記ステッピングモータの前記複数の励磁相に対して予め定められた順番で励磁することにより前記可変表示部を変動表示させる変動制御を行う変動制御手段と、
前記励磁相に関するデータであって、複数の励磁相に対する励磁の有無を特定可能な励磁相データを含む遊技の制御を行うためのデータを読み出し及び書き込み可能に記憶する記憶領域を有するデータ記憶手段と、
設定操作手段の操作に基づいて、遊技者にとっての有利度が異なる複数種類の設定値のうちから、いずれかの設定値を選択して設定する設定値設定手段と、
前記設定操作手段の操作に基づいて、前記設定値設定手段により新たな設定値が設定されるときに前記データ記憶手段に記憶されているデータを初期化する設定時初期化手段と、
を備え、
前記変動制御手段は、前記データ記憶手段に記憶されている前記励磁相データに基づいて前記変動制御を行い、
前記設定時初期化手段が初期化するデータには、前記励磁相データは含まれず、
前記設定値設定手段により新たな設定値が設定されて前記データ記憶手段の初期化が行われた場合にも前記励磁相データは維持され、前記設定値設定手段により新たな設定値が設定される前と同じ前記励磁相データに基づいて前記変動制御が行われる
ことを特徴としている。
本発明の手段1に記載のスロットマシンは、
各々が識別可能な複数種類の図柄を変動表示可能な3つ可変表示領域(左リール、中リール、右リール)のそれぞれに表示結果を導出表示させることが可能な可変表示装置(リール2L、2C、2R)を備え、
遊技用価値(メダル)を用いて1ゲームに対して所定数の賭数を設定することによりゲームが開始可能となるとともに、前記複数の可変表示領域の全てに表示結果が導出表示されたことにより1ゲームが終了し、前記複数の可変表示領域に導出表示された表示結果の組み合わせに応じて入賞が発生可能とされたスロットマシン(スロットマシン1)であって、
少なくともいずれか1つの可変表示領域の表示結果が導出される前に、前記遊技用価値を用いることなくゲームを行うことが可能な再遊技(リプレイゲーム)の付与を伴う再遊技入賞(リプレイ)及び前記遊技用価値の付与を伴う付与入賞(小役)を含む複数種類の入賞について発生を許容するか否かを決定する事前決定手段(内部抽選)と、
前記複数の可変表示領域(左リール、中リール、右リール)の表示結果を導出させる際に操作されるそれぞれの導出操作手段(ストップスイッチ8L、8C、8Rの操作)と、
前記導出操作手段(ストップスイッチ8L、8C、8Rの操作)が操作されたときに、該導出操作手段(ストップスイッチ8L、8C、8Rの操作)に対応する可変表示領域(ストップスイッチ8L、8C、8Rの操作)の表示結果を導出させる制御を行う導出制御手段と、
前記事前決定手段が前記再遊技入賞(リプレイ)の発生を許容する旨の決定を通常遊技状態よりも高い確率で行う再遊技高確率状態(RT(2))に制御する再遊技高確率状態制御手段と、
前記再遊技高確率状態(RT(2))が開始した後、所定の終了条件が成立したときに該再遊技高確率状態(RT(2))を終了させる再遊技高確率状態終了手段と、
を備え、
前記再遊技高確率状態終了手段は、前記再遊技高確率状態(RT(2))が開始した後、消化したゲーム数が規定ゲーム数に到達する前に前記付与入賞(小役)のうちの特定付与入賞(転落役)が発生したとき、または前記特定付与入賞(RT(2))が発生せずに前記規定ゲーム数に到達したときに当該再遊技高確率状態(RT(2))を終了させ、
前記導出制御手段は、
予め定められた複数の操作タイミング(停止操作位置)のそれぞれに対して、各操作タイミングで前記導出操作手段(ストップスイッチ8L、8C、8R)が操作された場合に前記可変表示領域に導出される表示結果が特定可能となるように予め定められた導出制御テーブル(停止制御テーブル)を複数記憶する導出制御テーブル記憶手段(ROM41bに格納されたテーブル作成用データ)と、
前記事前決定手段の決定結果に応じて、前記導出制御テーブル記憶手段に記憶されている複数の導出制御テーブルのうち1つを選択する(内部抽選の結果、停止済みのリールの停止位置に対応する停止制御テーブルを選択する)導出制御テーブル選択手段と、
前記導出操作手段が操作された時点において該導出操作手段に対応する可変表示領域に、前記事前決定手段の決定結果に応じて導出可能な表示結果(0〜4の滑りコマ数別に当選役が入賞ラインに揃う停止位置)を検索する表示結果検索手段と、
前記導出操作手段が操作されたときに、前記導出制御テーブル選択手段により選択された導出制御テーブル(停止制御テーブル)に基づいて表示結果を該導出操作手段に対応する可変表示領域に導出させる制御を行う第1の導出制御手段(テーブル方式、テーブル+コントロール方式による停止制御)と、
前記導出操作手段が操作されたときに、前記表示結果検索手段により検索された表示結果を該導出操作手段に対応する可変表示領域に導出させる制御を行う第2の導出制御手段(コントロール方式による停止制御)と、
を含み、
前記導出操作手段が操作されたときに、前記第1の導出制御手段(テーブル方式、テーブル+コントロール方式による停止制御)または前記第2の導出制御手段(コントロール方式による停止制御)のいずれか一方により前記可変表示領域に表示結果を導出させる制御を行うとともに、
さらに前記導出制御手段は、
前記事前決定手段の決定結果が前記特定付与入賞(転落役)の発生を許容する旨の決定を含む第1の決定結果(ハズレ及び取りこぼしのある役)である場合に、最初に操作された導出操作手段に対応する第1可変表示領域(第1停止リール)、最後に操作された導出操作手段に対応する第3可変表示領域(第3停止リール)及び前記第1可変表示領域(第1停止リール)に対応する導出操作手段が操作されてから前記第3可変表示領域(第3停止リール)に対応する導出操作手段が操作されるまでの間に操作された導出操作手段に対応する第2可変表示領域(第2停止リール)のうち、少なくともいずれか1つの可変表示領域について前記第1の導出制御手段(テーブル方式、テーブル+コントロール方式による停止制御)により表示結果を導出させる制御を行う第1結果時導出制御手段と、
前記事前決定手段の決定結果が第2の決定結果(取りこぼしのない役)である場合に、前記第1可変表示領域(第1停止リール)、前記第2可変表示領域(第2停止リール)及び前記第3可変表示領域(第3停止リール)のうち、前記事前決定手段の決定結果が前記第1の決定結果(ハズレ及び取りこぼしのある役)である場合よりも多くの可変表示領域について前記第2の導出制御手段(コントロール方式による停止制御)により表示結果を導出させる制御を行う第2結果時導出制御手段と、
を含み、
前記第1結果時導出制御手段は、前記事前決定手段により前記特定付与入賞(転落役)の発生を許容する旨が決定され、特定入賞操作手順(当選した色のチェリーの引込範囲のタイミングで左リールの停止操作を行う手順)で前記導出操作手段の操作がなされたときに、該特定付与入賞(転落役)に対応する表示結果の組合せとなるように前記複数の可変表示領域に表示結果を導出させる制御を行い、前記特定入賞操作手順とは異なる非特定入賞操作手順(当選した色のチェリーの引込範囲外のタイミングで左リールの停止操作を行う手順)で前記導出操作手段の操作がなされたときに、該特定付与入賞(転落役)に対応する表示結果の組合せとならないように前記複数の可変表示領域に表示結果を導出させる制御を行う特定導出制御手段を含む
ことを特徴としている。
この特徴によれば、再遊技高確率状態の開始後、再遊技高確率状態が終了することとなる特定付与入賞の発生を許容する旨が決定されても、第2の特定入賞操作手順、すなわち特定付与入賞の発生を回避可能な操作手順にて遊技者が操作を行うこと、すなわち遊技者の技術介入によって再遊技高確率状態を規定ゲーム数まで継続させることができるので、再遊技高確率状態が単調となってしまうことがなく、興趣を高めることができる。
また、事前決定手段による決定結果、可変表示領域の停止時期に応じて導出制御テーブルを用いて表示結果を可変表示領域に導出させる制御と、表示結果検索手段により検索された表示結果を可変表示領域に導出させる制御と、が併用されるので、事前決定手段による全ての決定結果、可変表示領域の全ての停止時期について導出制御テーブルを予め用意する必要がないため、導出制御テーブルの格納容量が少なくて済む。
また、事前決定手段の決定結果が第1の決定結果である場合には、少なくとも1つの停止時期(可変表示領域)について導出制御テーブルを用いて表示結果を可変表示領域に導出させる制御(第1の導出制御手段により表示結果を導出させる制御)を行うのに対して、事前決定手段の決定結果が第2の決定結果である場合には、事前決定手段の決定結果が第1の決定結果である場合よりも多くの停止時期(可変表示領域)について表示結果検索手段により検索された表示結果を可変表示領域に導出させる制御(第2の導出制御手段により表示結果を導出させる制御)を行っており、第1の決定結果である場合には、第2の決定結果よりも相対的に多い停止時期について第1の導出制御手段により表示結果を導出させる制御が行われるため、表示結果を多様に設計できる一方、第2の決定結果である場合には、第1の決定結果よりも相対的に多い停止時期について第2の導出制御手段により表示結果を導出させる制御が行われるため、第2の決定結果である場合に必要となる導出制御テーブルの格納容量を大幅に削減することができる。すなわち事前決定手段の決定結果の種類に合わせて表示結果を多様に設計することも導出制御テーブルの格納容量を削減することも可能となる。
また、事前決定手段により特定付与入賞、すなわち導出操作手段の操作手順によっては取りこぼす可能性のある入賞の発生を許容する旨が決定された場合には、相対的に多い停止時期について第1の導出制御手段により表示結果を導出させる制御が行われるため、特定付与入賞の発生を許容する旨が決定され、かつ該特定付与入賞を発生させることができなかった場合の表示結果に多様性をもたせることができる。
尚、所定数の賭数とは、少なくとも1以上の賭数であって、2以上の賭数が設定されることや最大賭数が設定されることでゲームが開始可能となるようにしても良い。また、複数の遊技状態に応じて定められた賭数が設定されることでゲームが開始可能となるようにしても良い。
また、前記再遊技高確率状態は、例えば、予め定められた入賞が発生することや可変表示装置の表示結果が予め定められた表示結果となること、遊技者にとって有利な遊技状態の終了時などを契機に開始するものであれば良い。
また、前記再遊技高確率状態終了手段は、特定付与入賞が発生したときに直ちに再遊技高確率状態を終了させるものであっても良いし、特定付与入賞が発生したことを契機に一定期間おいて再遊技高確率状態を終了させるものであっても良い。
また、予め定められた複数の操作タイミングのそれぞれに対して、各操作タイミングで前記導出操作手段が操作された場合に前記可変表示領域に導出される表示結果が特定可能となるように予め定められた導出制御テーブルとは、導出操作手段が操作されてから表示結果が導出されるまでの図柄の移動量(いわゆる滑りコマ数)や、導出される表示結果を特定可能な識別番号などが各操作タイミング毎に登録されたデータ、予め定められた複数の導出位置のうち導出可能な導出位置を定めることによって、各操作タイミング毎に可変表示領域に導出される表示結果が特定可能となるようにしたデータなどである。また、これらのデータが所定のアルゴリズムにて展開できるように圧縮された状態のデータであっても良い。
また、表示結果検索手段が、前記事前決定手段の決定結果に応じて導出可能な表示結果を検索するタイミングは、導出操作手段が操作される前であっても後であっても良い。
また、導出制御手段は、前記事前決定手段の決定結果が第1の決定結果である場合に、第1可変表示領域、第2可変表示領域及び第3可変表示領域に表示結果を導出させる時期のうち少なくともいずれか1つの時期について前記第1の導出制御手段により表示結果を導出させる制御を行うものであれば良く、残りの時期については前記第2の導出制御手段により表示結果を導出させる制御を行えば良い。また、前記事前決定手段の決定結果が第1の決定結果である場合に、全ての時期について前記第1の導出制御手段により表示結果を導出させる制御を行うものであっても良い。
また、導出制御手段は、前記事前決定手段の決定結果が第2の決定結果である場合に、第1可変表示領域、第2の可変表示領域及び第3可変表示領域に表示結果を導出させる時期のうち、前記事前決定手段の決定結果が前記第1の決定結果である場合よりも多くの時期について前記第2の導出制御手段により表示結果を導出させる制御を行うものであれば良く、残りの時期については前記第1の導出制御手段により表示結果を導出させる制御を行えば良い。また、前記第1の決定結果である場合に全ての時期について前記第1の導出制御手段により表示結果を導出させる制御を行うものであれば、前記第2の決定結果である場合に少なくとも1つの時期について第2の導出制御手段により表示結果を導出させる制御を行うものであれば良い。また、前記事前決定手段の決定結果が第2の決定結果である場合に、全ての時期について前記第2の導出制御手段により表示結果を導出させる制御を行うものであっても良い。
また、前記第1可変表示領域(最初に操作された導出操作手段に対応する最先可変表示領域)に対応する導出操作手段が操作されてから前記第3可変表示領域(最後に操作された導出操作手段に対応する最終可変表示領域)に対応する導出操作手段が操作されるまでの間に操作された導出操作手段に対応する第2可変表示領域(中間可変表示領域)は、1つの可変表示領域であっても良いし、複数の可変表示領域であっても良い。また、第2の可変表示領域(中間可変表示領域)が複数であれば、それぞれに対応して導出操作手段が設けられていれば良い。
本発明の手段2に記載のスロットマシンは、手段1に記載のスロットマシンであって、
前記導出制御手段は、
前記可変表示領域に導出される表示結果を特定するための導出情報(滑りコマ数)を、前記予め定められた複数の操作タイミング(停止操作位置)のそれぞれに対応して格納することが可能な導出情報格納領域(RAM41cに割り当てられた仮想滑りコマテーブル)と、
前記導出制御テーブル選択手段により選択された導出制御テーブル(停止制御テーブル)を読み出し、該導出制御テーブル(停止制御テーブル)に基づく前記導出情報(滑りコマ数)を、前記予め定められた複数の操作タイミング(停止操作位置)のそれぞれに対応付けて前記導出情報格納領域(仮想滑りコマテーブル)に格納する導出情報格納手段と、
を含み、
前記導出情報格納手段は、変動中の可変表示領域に対応する前記導出操作手段が操作される前(回転中のリールの停止操作が有効となる前)に、前記導出制御テーブル(停止制御テーブル)に基づく前記導出情報(滑りコマ数)を、該変動中の可変表示領域の前記予め定められた複数の操作タイミング(停止操作位置)のそれぞれに対応付けて前記導出情報格納領域(仮想滑りコマテーブル)に格納し、
前記第1の導出制御手段(テーブル方式、テーブル+コントロール方式による停止制御)は、前記導出操作手段が操作されたときに、前記導出情報格納領域(仮想滑りコマテーブル)において該導出操作手段の操作タイミング(停止操作位置)に対応して格納されている前記導出情報(滑りコマ数)により特定される表示結果を該導出操作手段に対応する可変表示領域に導出させる制御を行う
ことを特徴としている。
この特徴によれば、導出操作手段が操作される前に導出制御テーブルに登録されている導出情報に基づく導出情報が導出情報格納領域に格納されるので、導出操作手段が操作された後に導出制御テーブルを読み出すために事前決定手段の決定結果や既に導出された表示結果などに応じた導出制御テーブルを特定するための処理を行う必要がなく、導出操作手段が操作された後、表示結果を導出させる制御を速やかに行うことができる。
また、前記導出制御テーブルは、圧縮された状態で記憶されていることが好ましく、このようにすることで導出制御テーブルの格納容量を削減することができる。更に、前記導出制御テーブルが圧縮された状態で記憶されている場合には、前記導出情報格納手段が、変動中の可変表示領域に対応する前記導出操作手段が操作される前に、前記導出制御テーブル選択手段により選択された導出制御テーブル(停止制御テーブル)を展開し、展開した導出制御テーブルに基づく導出情報(滑りコマ数)を前記導出情報格納領域(仮想滑りコマテーブル)に格納することが好ましく、このような場合には、導出操作手段が操作された後に導出制御テーブルを展開する必要がなく、導出操作手段が操作された後、表示結果を導出させる制御を一層速やかに行うことができる。
本発明の手段3に記載のスロットマシンは、手段2に記載のスロットマシンであって、
前記導出制御手段は、前記可変表示領域に導出される表示結果を特定するための導出情報(滑りコマ数)を、前記予め定められた複数の操作タイミング(停止操作位置)のそれぞれに対応して格納することが可能な導出情報格納領域(RAM41cに割り当てられた仮想滑りコマテーブル)を含み、
前記表示結果検索手段は、変動中の可変表示領域に対応する前記導出操作手段が操作される前(回転中のリールの停止操作が有効となる前)に、前記予め定められた複数の操作タイミング(停止操作位置)毎に前記事前決定手段の決定結果に応じて導出可能な表示結果(0〜4の滑りコマ数別に当選役が入賞ラインに揃う停止位置)を検索し、該検索した表示結果を特定するための前記導出情報(滑りコマ数)を、該変動中の可変表示領域の前記予め定められた複数の操作タイミング(停止操作位置)のそれぞれに対応付けて前記導出情報格納領域(仮想滑りコマテーブル)に格納し、
前記第2の導出制御手段(コントロール方式による停止制御)は、前記導出操作手段が操作されたときに、前記導出情報格納領域(仮想滑りコマテーブル)において該導出操作手段の操作タイミング(停止操作位置)に対応して格納されている前記導出情報(滑りコマ数)により特定される表示結果を該導出操作手段に対応する可変表示領域に導出させる制御を行う
ことを特徴としている。
この特徴によれば、導出操作手段が操作された後に事前決定手段の決定結果に応じて導出可能な表示結果を検索する必要がないので、導出操作手段が操作された後、表示結果を導出させる制御を速やかに行うことができる。
本発明の手段4に記載のスロットマシンは、手段1〜3のいずれかに記載のスロットマシンであって、
前記表示結果検索手段は、前記予め定められた複数の操作タイミング(停止操作位置)毎に前記事前決定手段の決定結果に応じて導出可能な表示結果(0〜4の滑りコマ数別に当選役が入賞ラインに揃う停止位置)を検索し、
前記導出制御手段は、
前記可変表示領域に導出される表示結果を特定するための導出情報(滑りコマ数)を、前記予め定められた複数の操作タイミング(停止操作位置)のそれぞれに対応して格納することが可能な導出情報格納領域(RAM41cに割り当てられた仮想滑りコマテーブル)と、
前記導出制御テーブル選択手段により選択された導出制御テーブル(停止制御テーブル)を読み出し、該導出制御テーブル(停止制御テーブル)に基づく前記導出情報(滑りコマ数)を、前記予め定められた複数の操作タイミング(停止操作位置)のそれぞれに対応付けて前記導出情報格納領域(仮想滑りコマテーブル)に格納する導出情報格納手段と、
前記導出情報格納領域(仮想滑りコマテーブル)に格納されている前記導出情報(滑りコマ数)から特定される表示結果の優先度と、前記表示結果検索手段により検索された表示結果(滑りコマ数別に検索した停止位置)の優先度と、を各操作タイミング(停止操作位置)毎に比較する優先度比較判定手段と、
前記優先順位比較判定手段による比較の結果、前記表示結果検索手段により検索された表示結果(滑りコマ数別に検索した停止位置)の方が優先度が高い操作タイミング(停止操作位置)に対応して前記導出情報格納領域(仮想滑りコマテーブル)に格納されている前記導出情報(滑りコマ数)を、前記表示結果検索手段により検索された表示結果(滑りコマ数別に検索した停止位置)を特定するための前記導出情報(滑りコマ数)に更新する導出情報更新手段と、
を含み、
前記導出情報更新手段は、変動中の可変表示領域に対応する前記導出操作手段が操作される前(回転中のリールの停止操作が有効となる前)に、前記表示結果検索手段により検索された表示結果(滑りコマ数別に検索した停止位置)の方が優先度が高い操作タイミング(停止操作位置)に対応して前記導出情報格納領域(仮想滑りコマテーブル)に格納されている前記導出情報(滑りコマ数)を、前記表示結果検索手段により検索された表示結果(滑りコマ数別に検索した停止位置)を特定するための前記導出情報に更新し、
前記第1の導出制御手段(テーブル+コントロール方式による停止制御)は、前記導出操作手段が操作されたときに、前記導出情報格納領域(仮想滑りコマテーブル)において該導出操作手段の操作タイミング(停止操作位置)に対応して格納されている前記導出情報(滑りコマ数)により特定される表示結果を該導出操作手段に対応する可変表示領域に導出させる制御を行う
ことを特徴としている。
この特徴によれば、導出制御テーブルを用いて可変表示領域に表示結果を導出させる制御を行う場合でも、導出制御テーブルから特定される表示結果以外の表示結果を導出させることができる。また、例えば、導出制御テーブルに誤った情報が定められている場合でも、導出される表示結果を事前決定手段の決定結果に応じて補正することが可能となる。
尚、手段2〜4において前記可変表示領域に導出される表示結果を特定するための導出情報とは、例えば、導出操作手段が操作されてから表示結果が導出されるまでの図柄の移動量(いわゆる滑りコマ数)や、導出される表示結果を特定可能な識別番号などが該当するものである。
本発明の手段5に記載のスロットマシンは、手段4に記載のスロットマシンであって、
前記導出制御テーブル選択手段は、前記事前決定手段により第1の入賞(ビッグボーナス(1)〜(3))または第2の入賞(赤チェリー、青チェリー、白チェリー)の発生を許容する旨が決定されているときに、前記複数の操作タイミングのうち重複しないタイミング(停止操作位置)に対して、前記第1の入賞に対応する表示結果と、前記第2の入賞に対応する表示結果と、がそれぞれ特定可能となるように定められた共通導出制御テーブルを選択し、
前記表示結果検索手段は、
前記事前決定手段により前記第1の入賞(ビッグボーナス(1)〜(3))の発生を許容する旨が決定されているときに、前記導出操作手段が操作された操作タイミング(停止操作位置)において該導出操作手段に対応する可変表示領域に導出可能な表示結果(0〜4の滑りコマ数別の停止位置)から前記第2の入賞(赤チェリー、青チェリー、白チェリー)の成立を回避する第2の非入賞表示結果を検索して該第2の非入賞表示結果を特定し、
前記事前決定手段により前記第2の入賞(赤チェリー、青チェリー、白チェリー)の発生を許容する旨が決定されているときに、前記導出操作手段が操作された操作タイミング(停止操作位置)において該導出操作手段に対応する可変表示領域に導出可能な表示結果(0〜4の滑りコマ数別の停止位置)から前記第1の入賞(ビッグボーナス(1)〜(3))の成立を回避する第1の非入賞表示結果を検索して該第1の非入賞表示結果を特定し、
前記優先度比較判定手段は、前記事前決定手段により前記第1の入賞(ビッグボーナス(1)〜(3))または第2の入賞(赤チェリー、青チェリー、白チェリー)の発生を許容する旨が決定されているときに、前記共通導出制御テーブルから特定される表示結果が前記事前決定手段により許容する旨が決定されていない入賞が不可避となる不可避表示結果であるか否かを各操作タイミング(停止操作位置)毎に判定する表示結果判定手段を含み、
前記導出情報更新手段は、前記事前決定手段により前記第1の入賞(ビッグボーナス(1)〜(3))または第2の入賞(赤チェリー、青チェリー、白チェリー)の発生を許容する旨が決定されているときに、前記表示結果判定手段により前記不可避表示結果であると判定された操作タイミング(停止操作位置)に対応して前記導出情報格納領域に格納されている前記導出情報(滑りコマ数)を、前記表示結果検索手段により検索された表示結果を特定するための前記導出情報(滑りコマ数)に更新する
ことを特徴としている。
この特徴によれば、共通導出制御テーブルを用いることによって、第1の入賞、及び第2の入賞の発生を許容する旨が決定された場合の表示結果を容易に設計できるとともに、第1の入賞のみの発生を許容する旨が決定された場合と、第2の入賞のみの発生を許容する旨が決定された場合と、で個別に導出制御テーブルを用意せずに双方の決定結果に応じて表示結果を導出させる制御を行うことが可能となるので、可変表示装置の表示結果を多様化しつつ、導出制御テーブルの格納容量を削減することができる。
尚、前記第1の入賞(第2の入賞)の成立を回避する第1の非入賞表示結果(第2の非入賞表示結果)とは、複数の可変表示領域の全てに表示結果が導出された時点で第1の入賞(第2の入賞)の組み合わせを構成しない表示結果である。
また、前記事前決定手段により許容する旨が決定されていない入賞が不可避となる不可避表示結果とは、複数の可変表示領域の全てに表示結果が導出された時点で事前決定手段により許容する旨が決定されていない入賞の組み合わせとなることを回避できない表示結果であり、例えば、他の可変表示領域に既に導出された表示結果との組み合わせによって事前決定手段により許容する旨が決定されていない入賞の組み合わせが成立することとなる表示結果や、未だ2つ以上の可変表示領域が変動中であっても、いずれか一方の可変表示領域に表示結果が導出された時点で、他方の可変表示領域の表示結果の導出を待たず、事前決定手段により許容する旨が決定されていない入賞の組み合わせの成立を回避することができない表示結果(いわゆる禁止目)などである。
また、前記第1の入賞の発生を許容する旨と前記第2の入賞の発生を許容する旨の双方が同時に決定された場合においては、前記第1の入賞に対応する表示結果及び前記第2の入賞に対応する表示結果のうちいずれか一方の入賞に対応する表示結果を他方の表示結果よりも高い優先度として定めれば良い。
また、前記第1の入賞または前記第2の入賞は、前記特定付与入賞であっても良いし、前記特定付与入賞以外の入賞であっても良い。
本発明の手段6に記載のスロットマシンは、手段5に記載のスロットマシンであって、
前記第1の入賞は、遊技者にとって有利な特別遊技状態(ボーナス)への移行を伴う入賞(ビッグボーナス(1)〜(3))であり、
前記スロットマシンは、前記事前決定手段により前記第1の入賞(ビッグボーナス(1)〜(3))の発生を許容する旨が決定され、該第1の入賞が発生しなかったときに、当該第1の入賞の発生を許容する旨の決定(ビッグボーナス(1)〜(3)の当選フラグ)を次ゲーム以降に持ち越す持越手段を備え、
前記事前決定手段は、前記第1の入賞(ビッグボーナス(1)〜(3))の発生を許容する旨の決定が持ち越されていない状態において前記第1の入賞(ビッグボーナス(1)〜(3))の発生を許容する旨及び前記第2の入賞(赤チェリー、青チェリー、白チェリー)の発生を許容する旨を同時に決定することが可能である
ことを特徴としている。
この特徴によれば、第1の入賞または第2の入賞のみの発生を許容する旨が決定された場合と、第1の入賞の発生を許容する旨及び第2の入賞の発生を許容する旨の双方が決定されている場合とで、個別に導出制御テーブルを用意せずに双方の決定結果に応じて表示結果を導出させる制御を行うことが可能となるので、導出制御テーブルの格納容量を大幅に削減することができる。
本発明の手段7に記載のスロットマシンは、手段1〜6のいずれかに記載のスロットマシンであって、
前記特定付与入賞(転落役)は、1ゲームに対して設定可能な最大賭数(3)を設定するために必要な数以下の遊技用価値(3枚)の付与を伴う付与入賞(小役)である
ことを特徴としている。
この特徴によれば、特定付与入賞は、1ゲームに対して設定可能な最大賭数を設定するために必要な数以下の遊技用価値の付与を伴う入賞であるため、再遊技高確率状態において特定付与入賞の発生が許容され、再遊技高確率状態の終了を回避するために特定付与入賞を取りこぼした場合でも遊技者が大きな不利益を被ることがない。
本発明の手段8に記載のスロットマシンは、手段1〜7のいずれかに記載のスロットマシンであって、
特別入賞(特別役)が発生したときに、遊技者にとって有利な特別遊技状態(ビッグボーナス)に制御する特別遊技状態制御手段を備え、
前記事前決定手段は、前記特別遊技状態(ビッグボーナス)に制御されている状態で、該特別遊技状態(ビッグボーナス)において前記付与入賞(小役)の発生時に付与されうる最大付与数(15枚)未満の遊技用価値の付与を伴う非最大付与入賞(ベル以外の小役)の発生を許容する旨を決定するときに、前記最大付与数(15枚)の遊技用価値の付与を伴う最大付与入賞(ベル)の発生を許容する旨を同時に決定し、
前記導出制御手段は、前記事前決定手段により前記非最大付与入賞(ベル以外の小役)の発生を許容する旨及び前記最大付与入賞(ベル)の発生を許容する旨が同時に決定されており、いずれかの可変表示領域に対応する導出操作手段が操作されたときに、前記最大付与入賞(ベル)を構成する表示結果を前記非最大付与入賞(ベル以外の小役)を構成する表示結果よりも優先して該操作された導出操作手段に対応する可変表示領域に導出させる制御を行う優先導出制御手段を含む
ことを特徴としている。
この特徴によれば、特別遊技状態に制御されているときに最大付与入賞よりも付与される遊技用価値の数が少ない非最大付与入賞の発生を許容する旨が決定されるときには、同時に最大付与入賞の発生を許容する旨も決定されるうえに、最大付与入賞を構成する表示結果が非最大付与入賞を構成する表示結果よりも優先して可変表示領域に導出されるので、最大付与数の遊技用価値を得ることができ、付与される遊技用価値の数が最大付与数よりも少ない数となってしまうことを極力なくすことができるため、特別遊技状態において遊技者が獲得できる遊技用価値が減少してしまうことを防止できる。
尚、特別遊技状態において前記遊技用価値の付与を伴う付与入賞の発生時に付与されうる最大付与数とは、特別遊技状態で付与入賞が発生した際に付与される可能性のある遊技用価値の中で最も多い数の遊技用価値であり、例えば、特別遊技状態以外でそれよりも多くの遊技用価値が付与され得る場合に、その遊技用価値の数より少ない数の遊技用価値であっても良い。
また、前記最大付与数の遊技用価値の付与を伴う最大付与入賞とは、最大付与入賞が単独で発生することで最大付与数の遊技用価値が付与されるものに限らず、最大付与入賞が同時に複数発生すること(例えば、複数の入賞ラインに付与入賞の図柄が揃うことなど)で最大付与数の遊技用価値が付与されるものも含む。
また、前記特定付与入賞は最大付与入賞であっても良いし、非最大付与入賞であっても良い。
本発明が適用された実施例のスロットマシンの正面図である。 スロットマシンの内部構造図である。 リールの図柄配列を示す図である。 スロットマシンの構成を示すブロック図である。 遊技制御基板と該遊技制御基板に接続される遊技用電子部品との配線接続状態を示す概略図である。 遊技制御基板における断線監視ICの周辺の構成を示す回路図である。 (a)は、外部出力基板の構成を示すブロック図であり、(b)は、セキュリティ信号のデータフォーマットの構成を示す図である。 (a)は、セキュリティ信号の一例を示す図であり、(b)(c)は、セキュリティ信号の送信状況を示す図である。 当選役テーブルを示す図である。 各遊技状態における内部抽選用の乱数の値及び各役の判定値数と、当選役との関係の例をそれぞれ示す図である。 各遊技状態における内部抽選用の乱数の値及び各役の判定値数と、当選役との関係の例をそれぞれ示す図である。 レギュラーボーナスにおける内部抽選用の乱数の値及び各役の判定値数と、当選役との関係の例を示す図である。 リールモータの構成を示す図である。 (a)は、リールモータの始動時の制御方法を示すタイミングチャートであり、(b)は、リールモータの回転中及び停止時の制御方法を示すタイミングチャートである。 内部抽選の結果、停止時期により適用される停止制御を示す図である。 テーブル方式による停止制御の手順を示す図である。 コントロール方式による停止制御の手順を示す図である。 テーブル+コントロール方式による停止制御の手順を示す図である。 (a)は、滑りコマ数別の停止位置の優先度の比較順序を示す図であり、(b)は停止位置の優先度の関係を示す図である。 仮想滑りコマテーブルの構成を示す図である。 共通停止制御テーブルの一例、並びに、テーブル+コントロール方式による停止制御を行った際の仮想滑りコマテーブルの更新状況の一例を示す図である。 (a)は、満タンエラーの制御状況を示すタイミングチャートであり、(b)は、満タンセンサの検出状況を示すタイミングチャートである。 満タンエラーの制御状況を示すタイミングチャートである。 満タンエラーの制御状況の変形例を示すタイミングチャートである。 満タンエラーの制御状況の変形例を示すタイミングチャートである。 満タンエラーの制御状況の変形例を示すタイミングチャートである。 (a)は、転落役報知回数の選択率を示す図であり、(b)は、BB演出モード別の特徴を示す図である。 RT(2)演出における背景選択率を示す図である。 ビッグボーナス(4)またはビッグボーナス(5)が入賞した際に実行するボーナス演出の概要を示す図である。 音量調整とゲームの進行状況との関係を示すタイミングチャートである。 音量調整とゲームの進行状況との関係を示すタイミングチャートである。 メイン制御部のCPUが起動時に実行する起動処理の制御内容を示すフローチャートである。 メイン制御部のCPUがエラー発生時に実行するエラー処理の制御内容を示すフローチャートである。 メイン制御部のCPUが起動処理において実行する設定変更処理の制御内容を示すフローチャートである。 メイン制御部のCPUが起動処理後に実行するゲーム処理の制御内容を示すフローチャートである。 メイン制御部のCPUが起動処理後に実行するBET処理の制御内容を示すフローチャートである。 メイン制御部のCPUが起動処理後に実行するBET処理の制御内容を示すフローチャートである。 メイン制御部のCPUがゲーム処理において実行する内部抽選処理の制御内容を示すフローチャートである。 メイン制御部のCPUがゲーム処理において実行するリール回転処理の制御内容を示すフローチャートである。 メイン制御部のCPUがリール回転処理において実行する滑りコマ数設定処理の制御内容を示すフローチャートである。 メイン制御部のCPUが滑りコマ数設定処理において実行する滑りコマ数更新処理の制御内容を示すフローチャートである。 メイン制御部のCPUが滑りコマ数設定処理において実行する停止位置検索処理の制御内容を示すフローチャートである。 メイン制御部のCPUがゲーム終了時処理において実行するRT処理の制御内容を示すフローチャートである。 メイン制御部のCPUが定期的に実行するタイマ割込処理(メイン)の制御内容を示すフローチャートである。 メイン制御部のCPUが定期的に実行するタイマ割込処理(メイン)の制御内容を示すフローチャートである。 メイン制御部のCPUがタイマ割込処理(メイン)において実行する停止スイッチ処理の制御内容を示すフローチャートである。 メイン制御部のCPUが、電断検出回路から電圧低下信号の入力されることによって実行する電断割込処理(メイン)の制御内容を示すフローチャートである。 サブ制御部のCPUが起動時に実行する起動処理(サブ)の制御内容を示すフローチャートである。 基板ケース及び基板ケースをスロットマシンの本体をなす筐体に取り付けるための取付ベース、コネクタ規制部材を示す分解斜視図である。 基板ケース及び基板ケースをスロットマシンの本体をなす筐体に取り付けるための取付ベース、コネクタ規制部材を示す分解斜視図である。 基板ケースを取付ベースに組み付けた状態を示す斜視図である。 コネクタ規制部材を構成する取付側部材及びコネクタキャップの要部拡大斜視図である。 (a)は、図52のA−A断面図であり、(b)(c)は、図52のB−B断面図である。 基板ケースを取付ベースに組み付け、更に取付側部材に対してコネクタキャップを装着した状態を示す斜視図である。 (a)は、図54のC−C断面図であり、(b)は、図54のD−D断面図である。 コネクタ規制部材を構成する載置台及びカバー部材を示す分解斜視図である。 載置台に対してカバー部材を組み付けた状態を示す斜視図である。 (a)は、図57のE−E断面図であり、(b)は、図57のF−F断面図である。 変形例1における基板ケース、コネクタカバーの構造を示す斜視図である。 変形例1におけるコネクタカバーの取付状況を示す斜視図である。 変形例1におけるコネクタカバーの解除状況を示す斜視図である。 変形例1におけるコネクタカバーの解除状況を示す斜視図である。 変形例2における基板ケース、コネクタカバーの構造を示す斜視図である。 変形例2におけるコネクタカバーの解除状況を示す斜視図である。 変形例2におけるコネクタカバーの解除状況を示す斜視図である。 変形例2におけるコネクタカバーの解除状況を示す斜視図である。 変形例3における基板ケース、コネクタカバーの構造を示す斜視図である。 (a)(b)は、変形例3におけるコネクタカバーの取付状況を示す斜視図である。 変形例4における基板ケース、コネクタカバーの構造を示す斜視図である。 変形例4におけるコネクタカバーの取付状況を示す斜視図である。 変形例4におけるコネクタカバーの取付状況を示す斜視図である。 変形例4におけるコネクタカバーの解除状況を示す斜視図である。 遊技制御基板におけるメイン制御部の電源まわりの構成の変形例を示す回路図である。
本発明の実施例を以下に説明する。
本発明が適用されたスロットマシンの実施例1を図面を用いて説明すると、本実施例のスロットマシン1は、前面が開口する筐体2aと、この筐体2aの側端に回動自在に枢支された前面扉2bと、から構成されている。
本実施例のスロットマシン1の筐体2aの内部には、図2に示すように、外周に複数種の図柄が配列されたリール2L、2C、2R(以下、左リール、中リール、右リールともいう)が水平方向に並設されており、図1に示すように、これらリール2L、2C、2Rに配列された図柄のうち連続する3つの図柄が前面扉2bに設けられた透視窓3から見えるように配置されている。
リール2L、2C、2Rの外周部には、図3に示すように、それぞれ「赤7(図中黒7)」、「青7(図中網掛け7)」、「白7」、「リプレイ」、「スイカ」、「赤チェリー(図中黒チェリー)」、「青チェリー(図中網掛けチェリー)」、「ベル」、「オレンジ」といった互いに識別可能な複数種類の図柄が所定の順序で、それぞれ21個ずつ描かれている。リール2L、2C、2Rの外周部に描かれた図柄は、透視窓3において各々上中下三段に表示される。
各リール2L、2C、2Rは、各々対応して設けられリールモータ32L、32C、32R(図4参照)によって回転させることで、各リール2L、2C、2Rの図柄が透視窓3に連続的に変化しつつ表示されるとともに、各リール2L、2C、2Rの回転を停止させることで、透視窓3に3つの連続する図柄が表示結果として導出表示されるようになっている。
前面扉2bの各リール2L、2C、2Rの手前側(遊技者側)の位置には、液晶表示器51(図1参照)の表示領域51aが配置されている。液晶表示器51は、液晶素子に対して電圧が印加されていない状態で、透過性を有するノーマリーホワイトタイプの液晶パネルを有しており、表示領域51aの透視窓3に対応する透過領域51b及び透視窓3を介して遊技者側から各リール2L、2C、2Rが視認できるようになっている。また、表示領域51aの透過領域51bを除く領域の裏面には、背後から表示領域51aを照射するバックライト(図示略)が設けられているとともに、さらにその裏面には、内部を隠蔽する隠蔽部材(図示略)が設けられている。
前面扉2bには、メダルを投入可能なメダル投入部4、メダルが払い出されるメダル払出口9、クレジット(遊技者所有の遊技用価値として記憶されているメダル数)を用いてメダル1枚分の賭数を設定する際に操作される1枚BETスイッチ5、クレジットを用いて、その範囲内において遊技状態に応じて定められた規定数の賭数のうち最大の賭数(本実施例では遊技状態に関わらず3)を設定する際に操作されるMAXBETスイッチ6、クレジットとして記憶されているメダル及び賭数の設定に用いたメダルを精算する(クレジット及び賭数の設定に用いた分のメダルを返却させる)際に操作される精算スイッチ10、ゲームを開始する際に操作されるスタートスイッチ7、リール2L、2C、2Rの回転を各々停止する際に操作されるストップスイッチ8L、8C、8R、既に行われた遊技の結果に関する遊技履歴データの閲覧や初期化、演出モードを選択する際に操作される選択スイッチ56及び決定スイッチ57、が遊技者により操作可能にそれぞれ設けられている。
また、前面扉2bには、クレジットとして記憶されているメダル枚数が表示されるクレジット表示器11、後述するビッグボーナス中のメダルの獲得枚数やエラー発生時にその内容を示すエラーコード等が表示される遊技補助表示器12、入賞の発生により払い出されたメダル枚数が表示されるペイアウト表示器13が設けられている。
また、前面扉2bには、賭数が1設定されている旨を点灯により報知する1BETLED14、賭数が2設定されている旨を点灯により報知する2BETLED15、賭数が3設定されている旨を点灯により報知する3BETLED16、メダルの投入が可能な状態を点灯により報知する投入要求LED17、スタートスイッチ7の操作によるゲームのスタート操作が有効である旨を点灯により報知するスタート有効LED18、ウェイト(前回のゲーム開始から一定期間経過していないためにリールの回転開始を待機している状態)中である旨を点灯により報知するウェイト中LED19、後述するリプレイゲーム中である旨を点灯により報知するリプレイ中LED20が設けられている。
MAXBETスイッチ6の内部には、1枚BETスイッチ5、2枚BETスイッチ5b及びMAXBETスイッチ6の操作による賭数の設定操作が有効である旨を点灯により報知するBETスイッチ有効LED21(図4参照)が設けられており、ストップスイッチ8L、8C、8Rの内部には、該当するストップスイッチ8L、8C、8Rによるリールの停止操作が有効である旨を点灯により報知する左、中、右停止有効LED22L、22C、22R(図4参照)がそれぞれ設けられている。
前面扉2bの内側には、所定のキー操作により後述するエラー状態及び後述する打止状態を解除するためのリセット操作を検出するリセットスイッチ23、後述する設定値の変更中や設定値の確認中にその時点の設定値が表示される設定値表示器24、メダル投入部4から投入されたメダルの流路を、筐体2a内部に設けられた後述のホッパータンク34a(図2参照)側またはメダル払出口9側のいずれか一方に選択的に切り替えるための流路切替ソレノイド30、メダル投入部4から投入され、ホッパータンク34a側に流下したメダルを検出する投入メダルセンサ31を有するメダルセレクタ(図示略)が設けられている。
筐体2a内部には、図2に示すように、前述したリール2L、2C、2R、リールモータ32L、32C、32R、各リール2L、2C、2Rのリール基準位置をそれぞれ検出可能なリールセンサ33L、33C、33R(図4参照)からなるリールユニット2、外部出力信号を出力するための外部出力基板1000、メダル投入部4から投入されたメダルを貯留するホッパータンク34a、ホッパータンク34aに貯留されたメダルをメダル払出口9より払い出すためのホッパーモータ34b、ホッパーモータ34bの駆動により払い出されたメダルを検出する払出センサ34cからなるホッパーユニット34、電源ボックス100が設けられている。
ホッパーユニット34の側部には、ホッパータンク34aから溢れたメダルが貯留されるオーバーフロータンク35が設けられている。オーバーフロータンク35の内部には、貯留された所定量のメダルを検出可能な高さに設けられた左右に離間する一対の導電部材からなる満タンセンサ35aが設けられており、導電部材がオーバーフロータンク35内に貯留されたメダルを介して接触することにより導電したときに内部に貯留されたメダル貯留量が所定量以上となったこと、すなわちオーバーフロータンクが満タン状態となったことを検出できるようになっている。
電源ボックス100の前面には、後述のビッグボーナス終了時に打止状態(リセット操作がなされるまでゲームの進行が規制される状態)に制御する打止機能の有効/無効を選択するための打止スイッチ36a、後述のビッグボーナス終了時に自動精算処理(クレジットとして記憶されているメダルを遊技者の操作によらず精算(返却)する処理)に制御する自動精算機能の有効/無効を選択するための自動精算スイッチ36b、起動時に設定変更モードに切り替えるための設定キースイッチ37、通常時においてはエラー状態や打止状態を解除するためのリセットスイッチとして機能し、設定変更モードにおいては後述する内部抽選の当選確率(出玉率)の設定値を変更するための設定スイッチとして機能するリセット/設定スイッチ38、電源をON/OFFする際に操作される電源スイッチ39が設けられている。
本実施例のスロットマシン1においてゲームを行う場合には、まず、メダルをメダル投入部4から投入するか、あるいはクレジットを使用して賭数を設定する。クレジットを使用するには1枚BETスイッチ5またはMAXBETスイッチ6を操作すれば良い。遊技状態に応じて定められた規定数の賭数が設定されると、入賞ラインL1〜L6(図1参照)が有効となり、スタートスイッチ7の操作が有効な状態、すなわち、ゲームが開始可能な状態となる。本実施例では、規定数の賭数として遊技状態に関わらず3枚が定められている。尚、遊技状態に対応する規定数のうち最大数を超えてメダルが投入された場合には、その分はクレジットに加算される。
入賞ラインとは、各リール2L、2C、2Rの透視窓3に表示された図柄の組合せが入賞図柄の組合せであるかを判定するために設定されるラインある。本実施例では、図1に示すように、各リール2L、2C、2Rの上段に並んだ図柄に跨って設定された入賞ラインL1、各リール2L、2C、2Rの下段に並んだ図柄に跨って設定された入賞ラインL2、リール2Lの下段、リール2Cの中段、リール2Rの上段、すなわち右上がりに並んだ図柄に跨って設定された入賞ラインL3、リール2Lの上段、リール2Cの中段、リール2Rの下段、すなわち右下がりに並んだ図柄に跨って設定された入賞ラインL4、リール2Lの下段、リール2Cの上段、リール2Rの中段に並んだ図柄に跨って設定された入賞ラインL5、リール2Lの上段、リール2Cの下段、リール2Rの中段に並んだ図柄に跨って設定された入賞ラインL6の6種類が入賞ラインとして定められている。
このように本実施例ではリール2L、2C、2Rの一直線上に位置する図柄に跨って設定される入賞ラインL1〜L4と、全てのリールにおいて上段・中段・下段のうち停止する位置が異なり、かつ一直線上に位置しない図柄に跨って入賞ラインL5、L6が設定されている。
尚、本実施例では、入賞ラインとして上述したL1〜L6を適用しているが、各リール2L、2C、2Rの中段に並んだ図柄に跨って設定される入賞ラインを加えて適用しても良い。また、上述したL5、L6のように一直線上に位置しない図柄に跨って設定される入賞ラインを適用しているが、一直線上に位置する図柄に跨って設定される入賞ラインのみを適用するようにしても良い。
ゲームが開始可能な状態でスタートスイッチ7を操作すると、各リール2L、2C、2Rが回転し、各リール2L、2C、2Rの図柄が連続的に変動する。この状態でいずれかのストップスイッチ8L、8C、8Rを操作すると、対応するリール2L、2C、2Rの回転が停止し、透視窓3に表示結果が導出表示される。
そして全てのリール2L、2C、2Rが停止されることで1ゲームが終了し、有効化されたいずれかの入賞ラインL1〜L6上に予め定められた図柄の組合せ(以下、役とも呼ぶ)が各リール2L、2C、2Rの表示結果として停止した場合には入賞が発生し、その入賞に応じて定められた枚数のメダルが遊技者に対して付与され、クレジットに加算される。また、クレジットが上限数(本実施例では50)に達した場合には、メダルが直接メダル払出口9(図1参照)から払い出されるようになっている。尚、有効化された複数の入賞ライン上にメダルの払出を伴う図柄の組合せが揃った場合には、有効化された入賞ラインに揃った図柄の組合せそれぞれに対して定められた払出枚数を合計し、合計した枚数のメダルが遊技者に対して付与されることとなる。ただし、1ゲームで付与されるメダルの払出枚数には、上限(本実施例では15枚)が定められており、合計した払出枚数が上限を超える場合には、上限枚数のメダルが付与されることとなる。また、有効化されたいずれかの入賞ラインL1〜L6上に、遊技状態の移行を伴う図柄の組合せが各リール2L、2C、2Rの表示結果として停止した場合には図柄の組合せに応じた遊技状態に移行するようになっている。
図4は、スロットマシン1の構成を示すブロック図である。スロットマシン1には、図4に示すように、遊技制御基板40、演出制御基板90、電源基板101が設けられており、遊技制御基板40によって遊技状態が制御され、演出制御基板90によって遊技状態に応じた演出が制御され、電源基板101によってスロットマシン1を構成する電気部品の駆動電源が生成され、各部に供給される。
電源基板101には、外部からAC100Vの電源が供給されるとともに、このAC100Vの電源からスロットマシン1を構成する電気部品の駆動に必要な直流電圧が生成され、遊技制御基板40及び遊技制御基板40を介して接続された演出制御基板90に供給されるようになっている。
また、電源基板101には、前述したホッパーモータ34b、払出センサ34c、満タンセンサ35a、打止スイッチ36a、自動精算スイッチ36b、設定キースイッチ37、リセット/設定スイッチ38、電源スイッチ39に加え、前面扉1bの開放状態を検出するドア開放検出スイッチ25が接続されている。
遊技制御基板40には、前述した1枚BETスイッチ5、MAXBETスイッチ6、スタートスイッチ7、ストップスイッチ8L、8C、8R、精算スイッチ10、リセットスイッチ23、投入メダルセンサ31、リールセンサ33L、33C、33Rが接続されているとともに、電源基板101を介して前述した払出センサ34c、満タンセンサ35a、打止スイッチ36a、自動精算スイッチ36b、設定キースイッチ37、リセット/設定スイッチ38、ドア開放検出スイッチ25が接続されており、これら接続されたスイッチ類の検出信号が入力されるようになっている。
また、遊技制御基板40には、前述したクレジット表示器11、遊技補助表示器12、ペイアウト表示器13、1〜3BETLED14〜16、投入要求LED17、スタート有効LED18、ウェイト中LED19、リプレイ中LED20、BETスイッチ有効LED21、左、中、右停止有効LED22L、22C、22R、設定値表示器24、流路切替ソレノイド30、リールモータ32L、32C、32Rが接続されているとともに、電源基板101を介して前述したホッパーモータ34bが接続されており、これら電気部品は、遊技制御基板40に搭載された後述のメイン制御部41の制御に基づいて駆動されるようになっている。
遊技制御基板40には、CPU41a、ROM41b、RAM41c、I/Oポート41dを備えたマイクロコンピュータからなり、遊技の制御を行うメイン制御部41、所定範囲(本実施例では0〜16383)の乱数を発生させる乱数発生回路42、乱数発生回路から乱数を取得するサンプリング回路43、遊技制御基板40に直接または電源基板101を介して接続されたスイッチ類から入力された検出信号を検出するスイッチ検出回路44、リールモータ32L、32C、32Rの駆動制御を行うモータ駆動回路45、流路切替ソレノイド30の駆動制御を行うソレノイド駆動回路46、遊技制御基板40に接続された各種表示器やLEDの駆動制御を行うLED駆動回路47、スロットマシン1に供給される電源電圧を監視し、電圧低下を検出したときに、その旨を示す電圧低下信号をメイン制御部41に対して出力する電断検出回路48、電源投入時またはCPU41aからの初期化命令が入力されないときにCPU41aにリセット信号を与えるリセット回路49、遊技制御基板40と投入メダルセンサ31との間の電気的な接続状態及び遊技制御基板40と演出制御基板90との間の電気的な接続状態を監視する断線監視IC50、その他各種デバイス、回路が搭載されている。
CPU41aには、処理を実行するのに必要なデータの読み出し及び書き込みが行われる複数のレジスタ(記憶領域)が設けられている。詳しくは、主に演算用データが格納されるA、Fレジスタ(フラグレジスタ)、汎用データが格納されるB、C、D、E、H、Lレジスタ、実行中のプログラムの位置を示すデータが格納されるPCレジスタ、スタックポインタ(後述するスタック領域の現在の位置を示すアドレス)が格納されるSPレジスタ、後述するリフレッシュ動作を行うRAM41cのメモリブロックを示すデータが格納されるRレジスタ、RAM41cの格納領域を参照する際の基準となる位置を示すデータが格納されるIX、IYレジスタ、割込発生時に参照する割込テーブルの位置を示すデータが格納されるIレジスタが設けられている。
CPU41aは、計時機能、タイマ割込などの割込機能(割込禁止機能を含む)を備え、ROM41bに記憶されたプログラム(後述)を実行して、遊技の進行に関する処理を行うととともに、遊技制御基板40に搭載された制御回路の各部を直接的または間接的に制御する。ROM41bは、CPU41aが実行するプログラムや各種テーブル等の固定的なデータを記憶する。RAM41cは、CPU41aがプログラムを実行する際のワーク領域等として使用される。I/Oポート41dは、メイン制御部41が備える信号入出力端子を介して接続された各回路との間で制御信号を入出力する。
メイン制御部41は、信号入力端子DATAを備えており、遊技制御基板40に接続された各種スイッチ類の検出状態がこれら信号入力端子DATAを介して入力ポートに入力される。これら信号入力端子DATAの入力状態は、CPU41aにより監視されており、CPU41aは、信号入力端子DATAの入力状態、すなわち各種スイッチ類の検出状態に応じて段階的に移行する基本処理を実行する。
また、CPU41aは、前述のように割込機能を備えており、割込の発生により基本処理に割り込んで割込処理を実行できるようになっている。本実施例では、割込1〜4の4種類の割込を実行可能であり、各割込毎にカウンタモード(信号入力端子DATAとは別個に設けられたトリガー端子CLK/TRGからの信号入力に応じて外部割込を発生させる割込モード)とタイマモード(CPU41aのクロック入力数に応じて内部割込を発生させる割込モード)のいずれかを選択して設定できるようになっている。
本実施例では、割込1〜4のうち、割込2がカウンタモードに設定され、割込3がタイマモードに設定され、割込1、4は未使用とされている。トリガー端子CLK/TRGは、前述した電断検出回路48と接続されており、CPU41aは電断検出回路48から出力された電圧低下信号の入力に応じて割込2を発生させて後述する電断割込処理(メイン)を実行する。また、CPU41aは、クロック入力数が一定数に到達する毎、すなわち一定時間間隔(本実施例では、約0.56ms)毎に割込3を発生させて後述するタイマ割込処理(メイン)を実行する。また、割込1、4は、未使用に設定されているが、ノイズ等によって割込1、4が発生することがあり得る。このため、CPU41aは、割込1、4が発生した場合に、もとの処理に即時復帰させる未使用割込処理を実行するようになっている。
また、CPU41aは、割込1〜4のいずれかの割込の発生に基づく割込処理の実行中に他の割込を禁止するように設定されているとともに、複数の割込が同時に発生した場合には、割込2、3、1、4の順番で優先して実行する割込が設定されている。すなわち割込2とその他の割込が同時に発生した場合には、割込2を優先して実行し、割込3と割込1または4が同時に発生した場合には、割込3を優先して実行するようになっている。
また、CPU41aは、割込1〜4のいずれかの割込の発生に基づく割込処理の開始時に、レジスタに格納されている使用中のデータをRAM41cに設けられた後述のスタック領域に一時的に退避させるとともに、当該割込処理の終了時にスタック領域に退避させたデータをレジスタに復帰させるようになっている。
RAM41cには、DRAM(Dynamic RAM)が使用されており、記憶しているデータ内容を維持するためのリフレッシュ動作が必要となる。CPU41aには、このリフレッシュ動作を行うための前述したR(リフレッシュ)レジスタが設けられている。Rレジスタは、8ビットからなり、そのうちの下位7ビットが、CPU41aがROM41bから命令をフェッチする度に自動的にインクリメントされるもので、その値の更新は、1命令の実行時間毎に行われる。
また、メイン制御部41には、停電時においてもバックアップ電源が供給されており、バックアップ電源が供給されている間は、CPU41aによりリフレッシュ動作が行われてRAM41cに記憶されているデータが保持されるようになっている。
また、CPU41aは、起動時において、打止スイッチ36a、自動精算スイッチ36bの状態を取得し、CPU41aの特定のレジスタに打止機能の有効/無効、自動精算機能の有効/無効を設定するようになっている。打止スイッチ36a及び自動精算スイッチ36bの状態は起動時においてのみ取得し、取得した状態に基づいて打止及び自動精算機能の有効/無効が設定されるため、その後に打止スイッチ36aや自動精算スイッチ36bが操作されても、新たに打止及び自動精算機能の有効/無効が設定されることはない。
乱数発生回路42は、後述するように所定数のパルスを発生する度にカウントアップして値を更新するカウンタによって構成され、サンプリング回路43は、乱数発生回路42がカウントしている数値を取得する。乱数発生回路42は、乱数の種類毎にカウントする数値の範囲が定められており、本実施例では、その範囲として0〜16383が定められている。CPU41aは、その処理に応じてサンプリング回路43に指示を送ることで、乱数発生回路42が示している数値を乱数として取得する(以下、この機能をハードウェア乱数機能という)。後述する内部抽選用の乱数は、ハードウェア乱数機能により抽出した乱数をそのまま使用するのではなく、ソフトウェアにより加工して使用するが、その詳細については詳しく説明する。また、CPU41aは、前述のタイマ割込処理(メイン)により、特定のレジスタの数値を更新し、こうして更新された数値を乱数として取得する機能も有する(以下、この機能をソフトウェア乱数機能という)。
断線監視IC50は、遊技制御基板40と投入メダルセンサ31との間の電気的な接続状態及び遊技制御基板40と演出制御基板90との間の電気的な接続状態を監視し、これらの接続状態の一方でも解除された場合には、これらの接続状態が解除された旨を示す断線フラグを断線監視IC50の内部に設けられたEEPROM(図示略)等の記憶部に記憶するようになっている。断線監視IC50は、CPU41aからの断線フラグの確認要求に応じて断線フラグが記憶されているか否かを返信し、この時点で断線フラグが記憶部に記憶されていればクリアする。
また、断線監視IC50にも停電時においてバックアップ電源が供給されるようになっており、例えば2〜3日間停電状態が継続しない限り、遊技制御基板40と投入メダルセンサ31との間の電気的な接続状態及び遊技制御基板40と演出制御基板90との間の電気的な接続状態の監視を継続できるようになっている。
CPU41aは、I/Oポート41dを介して演出制御基板90に、各種のコマンドを送信する。遊技制御基板40から演出制御基板90へ送信されるコマンドは一方向のみで送られ、演出制御基板90から遊技制御基板40へ向けてコマンドが送られることはない。遊技制御基板40から演出制御基板90へ送信されるコマンドの伝送ラインは、ストローブ(INT)信号ライン、データ伝送ライン、グラウンドラインから構成されているとともに、演出中継基板80を介して接続されており、遊技制御基板40と演出制御基板90とが直接接続されない構成とされている。
演出制御基板90には、前述した選択スイッチ56、決定スイッチ57が接続されており、これら接続されたスイッチ類の検出信号が入力されるようになっている。
演出制御基板90には、スロットマシン1の前面扉2bに配置された液晶表示器51(図1参照)、演出効果LED52、スピーカ53、54、リールLED55等の電気部品が接続されており、これら電気部品は、演出制御基板90に搭載された後述のサブ制御部91による制御に基づいて駆動されるようになっている。
演出制御基板90には、メイン制御部41と同様にCPU91a、ROM91b、RAM91c、I/Oポート91dを備えたマイクロコンピュータにて構成され、演出の制御を行うサブ制御部91、演出制御基板90に接続された液晶表示器51の表示制御を行う表示制御回路92、演出効果LED52、リールLED55の駆動制御を行うLED駆動回路93、スピーカ53、54からの音声出力制御を行う音声出力回路94、電源投入時またはCPU91aからの初期化命令が一定時間入力されないときにCPU91aにリセット信号を与えるリセット回路95、演出制御基板90に接続されたスイッチ類から入力された検出信号を検出するスイッチ検出回路96、日付情報及び時刻情報を含む時間情報を出力する時計装置97、スロットマシン1に供給される電源電圧を監視し、電圧低下を検出したときに、その旨を示す電圧低下信号をサブ制御部91に対して出力する電断検出回路98、その他の回路等、が搭載されており、CPU91aは、遊技制御基板40から送信されるコマンド、演出制御基板90に接続されたスイッチ類の検出を受けて、演出を行うための各種の制御を行うとともに、演出制御基板90に搭載された制御回路の各部を直接的または間接的に制御する。
CPU91aは、メイン制御部41のCPU41aと同様に、割込機能(割込禁止機能を含む)を備える。サブ制御部91の割込端子(図示略)は、コマンド伝送ラインのうち、メイン制御部41がコマンドを送信する際に出力するストローブ(INT)信号線に接続されており、CPU91aは、ストローブ信号の入力に基づいて割込を発生させて、メイン制御部41からのコマンドを取得し、バッファに格納するコマンド受信割込処理を実行する。また、CPU91aは、クロック入力数が一定数に到達する毎、すなわち一定間隔毎に割込を発生させて後述するタイマ割込処理(サブ)を実行する。
また、CPU91aの割込端子(図示略)は、前述した電断検出回路98と接続されており、CPU91aは電断検出回路98から出力された電圧低下信号の入力に応じて割込を発生させて後述する電断割込処理(サブ)を実行する。また、CPU91aにおいても未使用の割込が発生した場合には、もとの処理に即時復帰させる未使用割込処理を実行するようになっている。
また、CPU91aは、CPU41aとは異なり、ストローブ信号(INT)の入力に基づいて割込が発生した場合には、電断割込処理(サブ)を除く他の割込に基づく割込処理の実行中であっても、当該処理に割り込んでコマンド受信割込処理を実行し、電断割込処理(サブ)を除く他の割込が同時に発生してもコマンド受信割込処理を最優先で実行するようになっている。尚、電断割込処理(サブ)を除く割込処理の実行中は、ストローブ信号(INT)の入力に基づく割込以外の割込が禁止されるようになっている。これに対して電断割込処理(サブ)においては、コマンド受信割込処理を含む他の割込処理が一切禁止されており、さらに他の割込が同時に発生しても電断割込処理(サブ)を最優先で実行するようになっている。
また、サブ制御部91にも、停電時においてバックアップ電源が供給されており、バックアップ電源が供給されている間は、CPU91aによりリフレッシュ動作が行われてRAM91cに記憶されているデータが保持されるようになっている。
次に、遊技制御基板40と該遊技制御基板40に接続される各種遊技用電子部品との配線接続状態の詳細について、図5に基づいて説明する。尚、図5は、遊技制御基板40と該遊技制御基板40に接続される遊技用電子部品との配線接続状態を示す概略図である。
遊技制御基板40には、前述したように、1枚BETスイッチ5、MAXBETスイッチ6、スタートスイッチ7、ストップスイッチ8L、8C、8R、投入メダルセンサ31、リールモータ32L、32C、32R、リールセンサ33L、33C、33R、ホッパーモータ34b、払出センサ34c、演出制御基板90が接続されている。
図5に示すように、これらのうち、1枚BETスイッチ5、MAXBETスイッチ6、スタートスイッチ7、ストップスイッチ8L、8C、8R、投入メダルセンサ31、リールモータ32L、32C、32R、リールセンサ33L、33C、33R、ホッパーモータ34b、払出センサ34cは、ゲームの進行に関わる信号を遊技制御基板40に入出力する電子部品である。ゲームの進行に関わる信号とは、例えば、ゲームを開始可能な状態とするための賭数の設定操作、ゲームを開始させるための操作、リール2L、2C、2Rの表示結果を導出させるための操作等、ゲームの進行操作に応じて遊技制御基板40に出力される信号や、投入メダルの検出、リールの基準位置の検出、払出メダルの検出等、ゲームの進行に応じて遊技用電子部品から出力されて遊技制御基板40に入力される信号と、スタート操作の検出に応じてリール2L、2C、2Rを駆動させるための駆動信号や、入賞の発生に伴いメダルを払い出すホッパーを駆動するための駆動信号等、ゲームの進行に応じて遊技制御基板40から出力されて遊技用電子部品に入力される信号と、を含む。
そして、これら遊技用電子部品は、ゲームの進行に応じて遊技制御基板40に信号を出力する第1の電子部品と、ゲームの進行に応じて遊技制御基板40からの信号が入力される第2の電子部品と、からなる。
具体的には、賭数を設定する際に操作される1枚BETスイッチ5、MAXBETスイッチ6及び賭数を設定するために投入されたメダルを検出する投入メダルセンサ31は、該操作またはメダルの検出に基づいて遊技制御基板40にBET信号を出力する第1の電子部品である。メイン制御部41は、該BET信号の受信に基づいて賭数の設定処理を行うため、これら電子部品がないと賭数を設定することができない。すなわち、賭数を設定しないとゲームが開始可能な状態とならないため、1枚BETスイッチ5、MAXBETスイッチ6及び投入メダルセンサ31はゲームの進行に必要な遊技用電子部品である。
ゲームを開始させるための操作を検出するスタートスイッチ7は、該操作の検出に基づいて遊技制御基板40にスタート信号を出力する第1の電子部品である。メイン制御部41は、該スタート信号の受信に基づいてゲームを開始する処理(リール回転処理等)を行うため、この電子部品がないとゲームを開始することができない。すなわち、スタートスイッチ7はゲームの進行に必要な遊技用電子部品である。
リール2L、2C、2Rの表示結果を導出させるための操作を検出するストップスイッチ8L、8C、8Rは、該操作の検出に基づいて遊技制御基板40にストップ信号を出力する第1の電子部品である。メイン制御部41は、該ストップ信号の受信に基づいて該当するリール2L、2C、2Rの回転を停止して表示結果を導出する処理を行うため、この電子部品がないとリール2L、2C、2Rの表示結果を導出することができない。すなわち、ストップスイッチ8L、8C、8Rはゲームの進行に必要な遊技用電子部品である。
リール2L、2C、2Rの回転を検出するリールセンサ33L、33C、33Rは、リールの基準位置の検出信号を遊技制御基板40に出力する第1の電子部品である。メイン制御部41は、該リールの基準位置の検出信号の受信に基づいて該当するリール2L、2C、2Rの図柄の位置を把握して回転を停止する処理等を行うため、この電子部品がないと各リール2L、2C、2Rの表示結果の導出や入賞の判定等を行うことができない。すなわち、リールセンサ33L、33C、33Rはゲームの進行に必要な遊技用電子部品である。
入賞の発生に伴い払い出されるメダルを検出する払出センサ34cは、該メダルの検出に基づいて遊技制御基板40にメダル払出信号を出力する第1の電子部品である。メイン制御部41は、該払出メダル検出信号の受信に基づいて、発生した入賞に応じた枚数のメダルを払い出す払出処理を行うため、この電子部品がないと発生した入賞に応じた枚数のメダルを払い出すことができない。すなわち、払出センサ34cはゲームの進行に必要な遊技用電子部品である。
また、リール2L、2C、2Rを回転させるリールモータ32L、32C、32Rは、遊技制御基板40から出力される駆動信号が入力される第2の電子部品である。このリールモータ32L、32C、32Rは、遊技制御基板40から出力される駆動信号の入力に基づいてリール2L、2C、2Rを回転させて図柄の変動表示を開始するものであるが、該信号入力に基づいて実際にリール2L、2C、2Rを回転しなかったとしても、メイン制御部41は、リールの駆動信号を出力した後に上記リールセンサ33L、33C、33Rからの信号が入力されることで、リールが回転したとしてゲームを進行する制御を行うことができる。しかし、このリールセンサ33L、33C、33Rから信号が遊技制御基板40に入力されるタイミングは、リールの駆動信号の出力後でないとエラーとなるため、前述した打ち込み器具によりゲームを進行させる場合において、リールの回転の検出に基づく信号の出力タイミングを計るためにはリールの駆動信号が必要となる。すなわち、リールモータ32L、32C、32Rは、ゲームの進行に必要な遊技用電子部品である。
また、メダルの払い出しを行うホッパータンクを駆動するホッパーモータ34bは、入賞の発生に応じて遊技制御基板40から出力される駆動信号が入力される第2の電子部品である。このホッパーモータ34bは、遊技制御基板40から出力される駆動信号の入力に基づいてメダルの払出動作を行うものであるが、該信号入力に基づいて実際にメダルの払出動作を行わなかったとしても、メイン制御部41は、ホッパーモータ34bの駆動信号を出力した後に上記払出センサ34cからの信号が入力されることで、メダルが払い出されているとしてゲームを進行する制御を行うことができる。しかし、この払出センサ34cから信号が遊技制御基板40に入力されるタイミングは、ホッパーモータ34bの駆動信号の出力後でないとエラーとなるため、前述した打ち込み器具によりゲームを進行させる場合において、払出メダルの検出に基づく信号の出力タイミングを計るためには該ホッパーモータ34bの駆動信号が必要となる。すなわち、ホッパーモータ34bは、ゲームの進行に必要な遊技用電子部品である。
また、これら遊技用電子部品は、基本的には複数の機種に共通して継続使用される電子部品であり、故障等が発生しない限り本体から取り外して交換する機会は少ないので、スロットマシンの本体所定箇所に固設されている。これに対して遊技制御基板40や演出制御基板90等は、機種変更の際には交換が必要となるため、その際には本体から取り外される。つまり、遊技制御基板40を取り外す際には遊技用電子部品との接続を解除する必要があるため、遊技用電子部品と遊技制御基板40とは中継基板を経由して接続されているとともに、これら基板同士及び基板と遊技用電子部品とはケーブルを介して接続されている。またケーブルと基板とは、ケーブルの端部に設けられたケーブル側コネクタと基板の配線パターンと電気的に接続された基板側コネクタとの接続により電気的に接続されている。
具体的に説明すると、1枚BETスイッチ5、MAXBETスイッチ6、スタートスイッチ7、ストップスイッチ8L、8C、8R、投入メダルセンサ31は、操作部中継基板110を経由して遊技制御基板40と配線接続され、リールモータ32L、32C、32R及びリールセンサ33L、33C、33Rは、リール中継基板120を経由して遊技制御基板40と配線接続され、ホッパーモータ34b及び払出センサ34cは、電源基板101を経由して遊技制御基板40と配線接続され、演出制御基板90は、演出中継基板80を経由して遊技制御基板40と配線接続されている。
操作部中継基板110、リール中継基板120、電源基板101、演出制御基板90には、遊技制御基板40と各電子部品とを接続するための配線パターン(図示略)が設けられており、各電子部品から遊技制御基板40に対して出力される検出信号または遊技制御基板40から供給(入力)される電力や信号等を中継可能とされている。
また、このように各種電子部品と遊技制御基板40とを、スロットマシン1の本体(本実施例では、筐体2a)所定箇所に取り付けた各基板110、120、100、80を経由して配線接続することで、遊技制御基板40からスロットマシン1の本体所定箇所に個々に配設される複数の電子部品との配線の取りまとめが容易になるとともに、コネクタ接続部が常に中継基板または遊技制御基板40に設けられることになり、これにより各電子部品それぞれのコネクタ接続部が固定されるため、配線接続作業時においてコネクタ接続部を探したり、接続する配線の種類を間違うこと等が防止される。
遊技制御基板40と操作部中継基板110とは、ケーブル600aを介して接続され、遊技制御基板40とリール中継基板120とは、ケーブル600bを介して接続され、遊技制御基板40と電源基板101とは、ケーブル600cを介して接続されており、また、演出制御基板90と演出中継基板80とは、ケーブル600dを介して接続されている。
操作部中継基板110と1枚BETスイッチ5とはケーブル601aを介して接続され、操作部中継基板110とMAXBETスイッチ6とはケーブル601bを介して接続され、操作部中継基板110とスタートスイッチ7とはケーブル601cを介して接続され、操作部中継基板110とストップスイッチ8Lとはケーブル601dを介して接続され、操作部中継基板110とストップスイッチ8Cとはケーブル601eを介して接続され、操作部中継基板110とストップスイッチ8Rとはケーブル601fを介して接続され、操作部中継基板110と投入メダルセンサ31とはケーブル601gを介して接続されている。
また、リール中継基板120とリールモータ32Lとはケーブル601hを介して接続され、リール中継基板120とリールモータ32Cとはケーブル601jを介して接続され、リール中継基板120とリールモータ32Rとはケーブル601lを介して接続されている。また、リール中継基板120とリールセンサ33Lとはケーブル601iを介して接続され、リール中継基板120とリールセンサ33Cとはケーブル601kを介して接続され、リール中継基板120とリールセンサ33Lとはケーブル601mを介して接続されている。また、電源基板101とホッパーモータ34とはケーブル601nを介して接続され、電源基板101と払出センサ34cとはケーブル601oを介して接続され、演出中継基板80と演出制御基板90とはケーブル601pを介して接続されている。
これら各ケーブル600a〜600c、601a〜601oは、各基板に対してコネクタ接続されており、基板との配線接続を解除可能となっている。具体的には、ケーブル600aの両端には、ケーブル側コネクタ610a、611aが設けられており、一方のケーブル側コネクタ610aは、遊技制御基板40に固設された基板側コネクタ620aに接続可能なコネクタであり、他方のケーブル側コネクタ611aは、操作部中継基板110に固設された基板側コネクタ621aに接続可能なコネクタである。ケーブル600bの両端には、ケーブル側コネクタ610b、611bが設けられており、一方のケーブル側コネクタ610bは、遊技制御基板40に固設された基板側コネクタ620bに接続可能なコネクタであり、他方のケーブル側コネクタ611bは、リール中継基板120に固設された基板側コネクタ621bに接続可能なコネクタである。ケーブル600cの両端には、ケーブル側コネクタ610c、611cが設けられており、一方のケーブル側コネクタ610cは、遊技制御基板40に固設された基板側コネクタ620cに接続可能なコネクタであり、他方のケーブル側コネクタ611cは、電源基板101に固設された基板側コネクタ621cに接続可能なコネクタである。ケーブル600dの両端には、ケーブル側コネクタ610d、611dが設けられており、一方のケーブル側コネクタ610dは、遊技制御基板40に固設された基板側コネクタ620dに接続可能なコネクタであり、他方のケーブル側コネクタ611dは、演出中継基板80に固設された基板側コネクタ621dに接続可能なコネクタである。
また、一端が1枚BETスイッチ5に接続されたケーブル601aの他端には、操作部中継基板110に固設された基板側コネクタ622aに接続可能なケーブル側コネクタ612aが設けられている。一端がMAXBETスイッチ6に接続されたケーブル601bの他端には、操作部中継基板110に固設された基板側コネクタ622bに接続可能なケーブル側コネクタ612bが設けられている。一端がスタートスイッチ7に接続されたケーブル601cの他端には、操作部中継基板110に固設された基板側コネクタ622cに接続可能なケーブル側コネクタ612cが設けられている。一端がストップスイッチ8Lに接続されたケーブル601dの他端には、操作部中継基板110に固設された基板側コネクタ622dに接続可能なケーブル側コネクタ612dが設けられている。一端がストップスイッチ8Cに接続されたケーブル601eの他端には、操作部中継基板110に固設された基板側コネクタ622eに接続可能なケーブル側コネクタ612eが設けられている。一端がストップスイッチ8Rに接続されたケーブル601fの他端には、操作部中継基板110に固設された基板側コネクタ622fに接続可能なケーブル側コネクタ612fが設けられている。一端が投入メダルセンサ31に接続されたケーブル601gの他端には、操作部中継基板110に固設された基板側コネクタ622gに接続可能なケーブル側コネクタ612gが設けられている。
また、一端がリールモータ32Lに接続されたケーブル601hの他端及び一端がリールセンサ33Lに接続されたケーブル601iの他端には、リール中継基板120に固設された基板側コネクタ622hに接続可能なケーブル側コネクタ612hが設けられている。一端がリールモータ32Cに接続されたケーブル601jの他端及び一端がリールセンサ33Cに接続されたケーブル601kの他端には、リール中継基板120に固設された基板側コネクタ622iに接続可能なケーブル側コネクタ612iが設けられている。一端がリールモータ32Rに接続されたケーブル601lの他端及び一端がリールセンサ33Rに接続されたケーブル601mの他端には、リール中継基板120に固設された基板側コネクタ622jに接続可能なケーブル側コネクタ612jが設けられている。
また、一端がホッパーモータ34bに接続されたケーブル601nの他端及び一端が払出センサ34cに接続されたケーブル601oの他端には、電源基板101に固設された基板側コネクタ622kに接続可能なケーブル側コネクタ612kが設けられている。
また、ケーブル601pの両端には、ケーブル側コネクタ612p、613pが設けられており、一方のケーブル側コネクタ612pは、遊技制御基板40に固設された基板側コネクタ622pに接続可能なコネクタであり、他方のケーブル側コネクタ613pは、演出制御基板90に固設された基板側コネクタ623pに接続可能なコネクタである。
尚、本実施例では、各電子部品からはコネクタを介すことなく配線が延出されているが、コネクタを介して配線と接続されていても良い。
上述のように、各基板と各ケーブルとは、基板側に設けられる基板側コネクタ620a〜620d、621a〜621d、622a〜622k、622p、623pと、ケーブル側に設けられるケーブル側コネクタ610a〜610d、611a〜611d、612a〜612k、612p、613pとからなる一対のコネクタ(雄コネクタと雌コネクタ)を介して配線接続されており、基板側コネクタからケーブル側コネクタを抜脱することにより配線接続を解除することができるようになっている。特に、遊技制御基板40、操作部中継基板110、リール中継基板120、電源基板101、演出制御基板90は、スロットマシン1の筐体または前面扉の所定箇所に取り付けられていることで、基板側コネクタからケーブル側コネクタを抜脱しやすいので、遊技制御基板40や演出制御基板90の交換が容易に行うことができる。
まず第1の電子部品に関して具体的に説明すると、1枚BETスイッチ5、MAXBETスイッチ6または投入メダルセンサ31と遊技制御基板40との間に設けられるケーブルのコネクタのうちいずれかのコネクタに打ち込み器具のコネクタが接続され、該打ち込み器具から遊技制御基板40にBET信号が不正に出力されると、賭数の設定操作が行われていないのに賭数が設定される虞がある。スタートスイッチ7と遊技制御基板40との間に設けられるケーブルのコネクタのうちいずれかのコネクタに打ち込み器具のコネクタが接続され、該打ち込み器具から遊技制御基板40にスタート信号が不正に出力されると、ゲームの開始操作を行うことなくゲームが開始される虞がある。ストップスイッチ8L、8C、8Rと遊技制御基板40との間に設けられるケーブルのコネクタのうちいずれかのコネクタに打ち込み器具のコネクタが接続され、該打ち込み器具から遊技制御基板40にストップ信号が不正に出力されると、停止操作を行うことなくリールの回転が停止される虞がある。リールセンサ33L、33C、33Rと遊技制御基板40との間に設けられるケーブルのコネクタのうちいずれかのコネクタに打ち込み器具のコネクタが接続され、該打ち込み器具から遊技制御基板40にリール回転信号が不正に出力されると、リールを回転させることなく各リール2L、2C、2Rの表示結果の導出や入賞の判定等が行われる虞がある。払出センサ34cと遊技制御基板40との間に設けられるケーブルのコネクタのうちいずれかのコネクタに打ち込み器具のコネクタが接続され、該打ち込み器具から遊技制御基板40にメダル払出信号が不正に出力されると、メダルを払い出すことなくメダルの計数が行われる虞がある。
第2の電子部品に関して具体的に説明すると、リールモータ32L、32C、32Rと遊技制御基板40との間に設けられるケーブルのコネクタのうちいずれかのコネクタでの接続が解除されて遊技制御基板40から出力される駆動信号を打ち込み器具等で取得できることになると、リールの駆動信号が遊技制御基板40から出力されたタイミングを打ち込み器具側で特定できるので、本来リールセンサ33L、33C、33Rから遊技制御基板40に入力されるリール回転検出信号を、打ち込み器具からリール回転後の適正なタイミングで出力されてしまう虞がある。また、ホッパーモータ34bと遊技制御基板40との間に設けられるケーブルのコネクタのうちいずれかのコネクタでの接続が解除されて遊技制御基板40から出力される駆動信号を打ち込み器具等で取得できることになると、ホッパータンクの駆動信号が遊技制御基板40から出力されたタイミングを打ち込み器具側で特定できるので、本来払出センサ34cから遊技制御基板40に入力される払出メダル検出信号を、打ち込み器具からホッパータンクの駆動後の適正なタイミングで出力されてしまう虞がある。
このように、ゲームの進行に応じて第1の電子部品から出力され、本来であれば遊技制御基板40に入力される信号が打ち込み器具から出力された場合、メイン制御部41は該信号の受信に基づいてゲームを進行する制御を行うことができるとともに、ゲームの進行に応じて遊技制御基板40から出力され、本来であれば第2の電子部品に入力される信号が打ち込み器具に入力された場合、打ち込み器具側では、メイン制御部41がリールモータやホッパーモータの駆動後に出力する信号の出力タイミング等を特定可能となり、これに基づいて新たな信号が遊技制御基板40に入力された場合には、メイン制御部41は該信号の受信に基づいてゲームを進行する制御を行うことができるので、ゲームを自動的に進行させるといった不正行為が実施される虞がある。よって、本実施例では、打ち込み器具の接続による不正行為を防止する種々の対策が施されている。尚、これらの対策については後に詳述する。
次に、遊技制御基板40における断線監視IC50の周辺の構成を説明する。
遊技制御基板40には、電源基板101の電圧生成回路により生成された+5Vの直流電圧が供給される。電源基板101から供給された+5Vの直流電圧は、断線監視IC50の駆動電源として電源端子(VDD)に供給されるとともに、図6に示すように、遊技制御基板40上で分岐して遊技制御基板40と操作部中継基板110を配線接続するケーブル600a、操作部中継基板110、操作部中継基板110と投入メダルセンサ31を配線接続するケーブル601gを経由し、更に、投入メダルセンサ31で折り返して、ケーブル601g、操作部中継基板110、ケーブル600aを経由して遊技制御基板40に戻り、更に、遊技制御基板40と演出中継基板80を配線接続するケーブル600d、演出中継基板80、演出中継基板80と演出制御基板90を配線接続するケーブル601p、を経由し、更に、演出制御基板90で折り返して、ケーブル601p、演出中継基板80、ケーブル600dを経由して再度遊技制御基板40に戻り、断線監視IC50の入力端子(IN)に接続信号として入力されるようになっている。
このため、本実施例では、遊技制御基板40の基板側コネクタ620aとケーブル600aのケーブル側コネクタ610aとの接続、ケーブル600aのケーブル側コネクタ611aと操作部中継基板110の基板側コネクタ621aとの接続、操作部中継基板110の基板側コネクタ622gとケーブル601gのケーブル側コネクタ612gとの接続、遊技制御基板40の基板側コネクタ620dとケーブル600dのケーブル側コネクタ610dとの接続、ケーブル600dのケーブル側コネクタ611dと演出中継基板80の基板側コネクタ621dとの接続、演出中継基板80の基板側コネクタ622pとケーブル601pのケーブル側コネクタ612pとの接続、ケーブル601pのケーブル側コネクタ613pと演出制御基板90の基板側コネクタ623pとの接続、のいずれかの接続を解除することで、断線監視IC50の入力端子(IN)へ入力されている接続信号が遮断され、これにより断線監視IC50が遊技制御基板40と投入メダルセンサ31間及び遊技制御基板40と演出制御基板90間の断線を検出するようになっている。すなわち遊技制御基板40と投入メダルセンサ31の間のコネクタ同士の接続及び遊技制御基板40と演出制御基板90の間のコネクタ同士の接続が1カ所でも解除されると、断線監視IC50により断線が検出されるようになっている。
また、図6に示すように、電源基板101から供給された+5Vの直流電圧は、遊技制御基板40上で分岐して電源基板101側でグラウンドレベルに接続されるとともに、その間には大容量のコンデンサC1が設けられている。D1は逆流防止用のダイオードである。これにより+5Vの直流電圧をコンデンサC1に蓄積可能とされ、スロットマシン1に対する電力供給が遮断されたときに、コンデンサC1に蓄積された電圧を、断線監視IC50を駆動するためのバックアップ電源として供給できるようになっており、通電時であるか停電時であるかに関わらず断線監視IC50が遊技制御基板40と投入メダルセンサ31間及び遊技制御基板40と演出制御基板90間の断線を検出できるようになっている。
本実施例のスロットマシン1は、遊技状態やエラーの発生状況などを示す外部出力信号を出力する。
これら外部出力信号は、図7(a)に示すように、CPU41aの制御により遊技制御基板40より出力され、外部出力基板1000、スロットマシン1が設置される遊技店(ホール)の情報提供端子板1010を介してホールコンピュータなどのホール機器に出力されるようになっている。
遊技制御基板40から外部出力基板1000に対しては、賭数の設定に用いられたメダル数を示すメダルIN信号、入賞の発生により遊技者に付与されたメダル数を示すメダルOUT信号、遊技状態が後述するレギュラーボーナス中の旨を示すRB中信号、遊技状態が後述するビッグボーナス中の旨を示すBB中信号、前面扉1bが開放中の旨を示すドア開放信号、後述する設定変更モードに移行している旨を示す設定変更信号、メダルセレクタの異常を示す投入エラー信号、ホッパーユニット34の異常を示す払出エラー信号がそれぞれ出力される。
尚、本実施例では、チャレンジタイム(リールの滑りコマ数が制限されるものの、全ての小役について入賞が許容される遊技状態)や、チャレンジタイムが高確率となるチャレンジボーナスを搭載していないが、これらの遊技状態を搭載したスロットマシンとの共通化を図るため、遊技制御基板40と外部出力基板1000との間には、上記の信号を出力する信号線に加えて、遊技状態がチャレンジタイム中の旨を示すCT中信号、遊技状態がチャレンジボーナス中の旨を示すCB中信号を出力する信号線が接続されており、さらに将来拡張する可能性のあるエラー出力用の信号線が接続されている。
外部出力基板1000には、リレー回路1001、パラレル・シリアル変換回路1002、出力信号毎の端子が設けられ、情報提供端子板1010の回路と電気的に接続するための接続されるコネクタ1003が設けられている。
遊技制御基板40から出力された信号のうち、メダルIN信号、メダルOUT信号、RB中信号、BB中信号、(CT中信号、CB中信号)は、リレー回路1001を介して、そのままパルス信号として情報提供端子板1010に出力される。
これに対してドア開放信号、設定変更信号、投入エラー信号、払出エラー信号、(予備信号)は、パラレル・シリアル変換回路1002にて、これらの信号を個別に識別可能なシリアル信号であるセキュリティ信号に変換して情報提供端子板1010に出力される。
これら外部出力基板1000から出力されたメダルIN信号、メダルOUT信号、RB中信号、BB中信号、(CT中信号、CB中信号)は、情報提供端子板1010を介してホール機器へ出力される。一方、外部出力基板1000から出力されたセキュリティ信号は、情報提供端子板1010にて再度、ドア開放信号、設定変更信号、投入エラー信号、払出エラー信号、予備信号に再変換されてホール機器へ出力されることとなる。
パラレル・シリアル変換回路1002は、ドア開放信号、設定変更信号、投入エラー信号、払出エラー信号、(予備信号)を、図7(b)に示すデータフォーマットにてシリアル信号に変換し、セキュリティ信号として出力する。基本フォーマットは、パルス幅20ms、フレーム長7ビットにて構成され、最初のビットがデータの開始を示すスタートビット、最後のビットがデータの終了を示すストップビット、その間のD1〜D5が送信データとなる。スタートビットは、1(on)、ストップビットは、0(off)となる。D1は、ドア開放信号の出力状態を示すビットであり、1(on)であればドア開放中信号on(前面扉1bの開放中)を示し、0(off)であればドア開放中信号offを示す。D2は、設定変更信号の出力状態を示すビットであり、1(on)であれば設定変更信号on(設定変更モードへ移行中)を示し、0(off)であれば設定変更信号offを示す。D3は、投入エラー信号の出力状態を示すビットであり、1(on)であれば投入エラー信号on(メダルセレクタに不正行為が行われた可能性が高い)を示し、0(off)であれば投入エラー信号offを示す。D4は、払出エラー信号の出力状態を示すビットであり、1(on)であれば払出エラー信号on(ホッパーユニット34に不正行為が行われた可能性が高い)を示し、0(off)であれば払出エラー信号offを示す。D5は、予備信号の出力状態を示すビットであり、本実施例では常に0となる。例えば、ドア開放信号がonでかつ設定変更信号がonであれば、図8(a)に示すように、スタートビット:1、D1:1、D2:1、D3:0、D4:0、D5:0、ストップビット:0となる。尚、この状態の後、設定変更信号がoffに変化した場合には、スタートビット:1、D1:1、D2:0、D3:0、D4:0、D5:0、ストップビット:0となる。
パラレル・シリアル変換回路1002は、ドア開放信号、設定変更信号、投入エラー信号、払出エラー信号、(予備信号)の出力状態に変化があった場合、すなわちいずれかの事象が発生した場合またはその事象が復旧した場合に、変化後の状態を示すフレームを3回繰り返して送信する。
図8(b)に示すように、スタートビットとスタートビットの間は、受信側で誤ラッチが生じないように、240msの間隔を空けるようになっている。すなわちストップビット後は、100msのブランクを空けて、次のフレームのスタートビットを送信するようになっている。
また、3回の反復送信を完了せずに、ドア開放信号、設定変更信号、投入エラー信号、払出エラー信号、(予備信号)の出力状態に変化があった場合には、図8(c)に示すように、変化後の出力状態を示すフレームを次回フレームより新たに3回反復送信する。この際、フレームの出力途中で、新たなフレームを送信したり、ストップビットの後、100msのブランクが経過していない状態で新たなフレームを送信したりすることがなく、出力中のフレーム送信後、100msのブランクを空けてから、新たなフレームを送信するようになっており、受信側でフレームの先頭を確実にラッチできるようになっている。
また、ドア開放信号、設定変更信号、投入エラー信号、払出エラー信号、(予備信号)のうち何らかの信号がonの状態から全ての信号がoffの状態に変化した場合には、スタートビットのみ1のフレームを3回送信するようになっている。
本実施例のスロットマシン1は、設定値に応じてメダルの払出率が変わるものであり、後述する内部抽選の当選確率は、設定値に応じて定まるものとなる。以下、設定値の変更操作について説明する。
設定値を変更するためには、設定キースイッチ37をON状態としてからスロットマシン1の電源をONする必要がある。設定キースイッチ37をON状態として電源をONすると、設定値表示器24に設定値の初期値として1が表示され、リセット/設定スイッチ38の操作による設定値の変更操作が可能な設定変更モードに移行する。設定変更モードにおいて、リセット/設定スイッチ38が操作されると、設定値表示器24に表示された設定値が1ずつ更新されていく(設定6からさらに操作されたときは、設定1に戻る)。そして、スタートスイッチ7が操作されると設定値が確定し、確定した設定値がメイン制御部41のRAM41cに格納される。そして、設定キースイッチ37がOFFされると、遊技の進行が可能な状態に移行する。
本実施例のスロットマシン1においては、メイン制御部41のCPU41aが電圧低下信号を検出した際に、電断割込処理(メイン)を実行する。電断割込処理(メイン)では、レジスタを後述するRAM41cのスタックに退避し、メイン制御部41のRAM41cにいずれかのビットが1となる破壊診断用データ(本実施例では、5AH)、すなわち0以外の特定のデータを格納するとともに、RAM41cの全ての領域に格納されたデータに基づくRAMパリティが0となるようにRAMパリティ調整用データを計算し、RAM41cに格納する処理を行うようになっている。尚、RAMパリティとはRAM41cの該当する領域(本実施例では、全ての領域)の各ビットに格納されている値の排他的論理和として算出される値である。このため、RAM41cの全ての領域に格納されたデータに基づくRAMパリティが0であれば、RAMパリティ調整用データは0となり、RAM41cの全ての領域に格納されたデータに基づくRAMパリティが1であれば、RAMパリティ調整用データは1となる。
そして、CPU41aは、その起動時においてRAM41cの全ての領域に格納されたデータに基づいてRAMパリティを計算するとともに、破壊診断用データの値を確認し、RAMパリティが0であり、かつ破壊診断用データの値も正しいことを条件に、RAM41cに記憶されているデータに基づいてCPU41aの処理状態を電断前の状態に復帰させるが、RAMパリティが0でない場合(1の場合)や破壊診断用データの値が正しくない場合には、RAM異常と判定し、RAM異常エラーコードをレジスタにセットしてRAM異常エラー状態に制御し、遊技の進行を不能化させるようになっている。尚、RAM異常エラー状態は、他のエラー状態と異なり、リセットスイッチ23やリセット/設定スイッチ38を操作しても解除されないようになっており、前述した設定変更モードにおいて新たな設定値が設定されるまで解除されることがない。
また、CPU41aは、後述する内部抽選処理において設定された賭数が遊技状態に応じた賭数であるか否かを判定するとともに、内部抽選に用いる設定値が適正な値であるか否かを判定する。
そして、設定された賭数が遊技状態に応じた賭数ではない場合、または内部抽選に用いる設定値が適正な値でない場合にも、RAM異常と判定し、RAM異常エラーコードをセットしてRAM異常エラー状態に制御し、遊技の進行を不能化させるようになっている。尚、前述のようにRAM異常エラー状態は、他のエラー状態と異なり、リセットスイッチ23やリセット/設定スイッチ38を操作しても解除されないようになっており、前述した設定変更モードにおいて新たな設定値が設定されるまで解除されることがない。
本実施例のスロットマシン1は、前述のように遊技状態に応じて設定可能な賭数の規定数が定められており、遊技状態に応じて定められた規定数の賭数が設定されたことを条件にゲームを開始させることが可能となる。本実施例では、後に説明するが、遊技状態として、レギュラーボーナス、通常遊技状態、RT(1)(リプレイタイム(1))、RT(2)(リプレイタイム(2))があるが、どの遊技状態においても賭数の規定数として3が定められている。このため、遊技状態がレギュラーボーナスであるか、通常遊技状態であるか、RT(1)であるか、RT(2)であるか、に関わらず、賭数として3が設定されるとゲームを開始させることが可能となる。尚、本実施例では、遊技状態に応じた規定数の賭数が設定された時点で、全ての入賞ラインL1〜L6が有効化されるようになっており、遊技状態に関わらず、賭数として3が設定された時点で全ての入賞ラインL1〜L6が有効化されることとなる。
本実施例のスロットマシン1は、全てのリール2L、2C、2Rが停止した際に、有効化された入賞ライン(本実施例の場合、常に全ての入賞ラインが有効化されるため、以下では、有効化された入賞ラインを単に入賞ラインと呼ぶ)上に役と呼ばれる図柄の組合せが揃うと入賞となる。入賞となる役の種類は、遊技状態に応じて定められているが、大きく分けて、メダルの払い出しを伴う小役と、賭数の設定を必要とせずに次のゲームを開始可能となる再遊技役と、遊技状態の移行を伴う特別役と、がある。以下では、小役と再遊技役をまとめて一般役とも呼ぶ。遊技状態に応じて定められた各役の入賞が発生するためには、後述する内部抽選に当選して、当該役の当選フラグがRAM41cに設定されている必要がある。
尚、これら各役の当選フラグのうち、小役及び再遊技役の当選フラグは、当該フラグが設定されたゲームにおいてのみ有効とされ、次のゲームでは無効となるが、特別役の当選フラグは、当該フラグにより許容された役の組合せが揃うまで有効とされ、許容された役の組合せが揃ったゲームにおいて無効となる。すなわち特別役の当選フラグが一度当選すると、例え、当該フラグにより許容された役の組合せを揃えることができなかった場合にも、その当選フラグは無効とされずに、次のゲームへ持ち越されることとなる。尚、特別役のうち後述するビッグボーナス(4)、ビッグボーナス(5)は当選したゲームにおいて必ず入賞することとなるため、次ゲーム以降に持ち越されることはない。
図9は、当選役テーブルを示す図である。当選役テーブルは、メイン制御部41のROM41bに予め格納されており、内部抽選において抽選対象となる役及び役の組合せに対応して、抽選が行われる順番に割り当てられた役番号(0〜22)が登録されている。
このスロットマシン1における役としては、特別役としてビッグボーナス(1)、ビッグボーナス(2)、ビッグボーナス(3)、ビッグボーナス(4)、ビッグボーナス(5)が、小役として赤チェリー、青チェリー、白チェリー、ベルが、再遊技役としてリプレイ(1)、リプレイ(2)が定められている。また、スロットマシン1における役の組合せとしては、ビッグボーナス(1)+赤チェリー、ビッグボーナス(2)+赤チェリー、ビッグボーナス(3)+赤チェリー、ビッグボーナス(1)+青チェリー、ビッグボーナス(2)+青チェリー、ビッグボーナス(3)+青チェリー、ビッグボーナス(1)+白チェリー、ビッグボーナス(2)+白チェリー、ビッグボーナス(3)+白チェリー、ベル+赤チェリー、ベル+青チェリー、ベル+白チェリーが定められている。すなわち、役及び役の組合せの合計は23となっている。
本実施例のスロットマシン1においては、図9に示すように、遊技状態が、通常遊技状態、RT(1)またはRT(2)であるか、レギュラーボーナスであるかによって抽選の対象となる役及び役の組合せが異なる。特に遊技状態が通常遊技状態、RT(1)またはRT(2)である場合には、いずれかの特別役の持ち越し中か否か(特別役の当選フラグにいずれかの特別役が当選した旨が既に設定されているか否か)によっても抽選の対象となる役及び役の組合せが異なる。
本実施例では、遊技状態に応じた状態番号が割り当てられており、内部抽選を行う際に、現在の遊技状態に応じた状態番号を設定し、この状態番号と賭数に応じて抽選対象となる役を特定することが可能となる。具体的には、通常遊技状態においていずれの特別役も持ち越されていない場合においては状態番号として「0」が設定され、RT(1)においていずれの特別役も持ち越されていない場合には、状態番号として「1」が設定され、RT(2)においていずれの特別役も持ち越されていない場合においては、状態番号として「2」が設定され、通常遊技状態においていずれかの特別役が持ち越されている場合においては、状態番号として「3」が設定され、RT(2)においていずれかの特別役が持ち越されている場合には、状態番号として「4」が設定され、レギュラーボーナスである場合には、状態番号として「5」が設定されるようになっている。尚、後述するが、RT(1)は特別役の当選で終了することとなるため、RT(1)において特別役が持ち越されることはない。
図9に示すように、遊技状態が通常遊技状態、RT(1)またはRT(2)であり、いずれの特別役も持ち越されていない状態、すなわち状態番号として「0」、「1」または「2」が設定されている場合には、ビッグボーナス(1)、ビッグボーナス(2)、ビッグボーナス(3)、ビッグボーナス(4)、ビッグボーナス(5)、ビッグボーナス(1)+赤チェリー、ビッグボーナス(2)+赤チェリー、ビッグボーナス(3)+赤チェリー、ビッグボーナス(1)+青チェリー、ビッグボーナス(2)+青チェリー、ビッグボーナス(3)+青チェリー、ビッグボーナス(1)+白チェリー、ビッグボーナス(2)+白チェリー、ビッグボーナス(3)+白チェリー、リプレイ(1)、リプレイ(2)、赤チェリー、青チェリー、白チェリー、ベル、すなわち役番号0〜19の役及び役の組合せが内部抽選の対象となる。
また、遊技状態が通常遊技状態またはRT(2)であり、いずれかの特別役が持ち越されている状態、すなわち状態番号として「3」または「4」が設定されている場合には、リプレイ(1)、リプレイ(2)、赤チェリー、青チェリー、白チェリー、ベル、すなわち役番号14〜19の役が内部抽選の対象となる。また、遊技状態がレギュラーボーナス、すなわち状態番号として「5」が設定されている場合には、ベル、ベル+赤チェリー、ベル+青チェリー、ベル+白チェリー、すなわち役番号19以降の役及び役の組合せが内部抽選の対象となる。
赤チェリーは、いずれの遊技状態においても左リールについて入賞ラインのいずれかに「赤チェリー」の図柄が導出されたときに入賞となり、1枚のメダルが払い出される。青チェリーは、いずれの遊技状態においても左リールについて入賞ラインのいずれかに「青チェリー」の図柄が導出されたときに入賞となり、1枚のメダルが払い出される。白チェリーは、いずれの遊技状態においても左リールについて入賞ラインのいずれかに「白チェリー」の図柄が導出されたときに入賞となり、1枚のメダルが払い出される。尚、「赤チェリー」、「青チェリー」または「白チェリー」の図柄が左リールの上段または下段に停止した場合には、入賞ラインL1、L3、L5または入賞ラインL2、L4、Lの3本の入賞ラインに赤チェリー、青チェリーまたは白チェリーの組合せが揃うこととなり、3本の入賞ライン上で赤チェリー、青チェリーまたは白チェリーに入賞したこととなるので、3枚のメダルが払い出されることとなる。
ベルは、いずれの遊技状態においても入賞ラインのいずれかに「ベル−ベル−ベル」の組合せが揃ったときに入賞となり、15枚のメダルが払い出される。
リプレイ(1)は、通常遊技状態、RT(1)及びRT(2)において入賞ラインのいずれかに「リプレイ−リプレイ−リプレイ」の組合せが揃ったときに入賞となる。リプレイ(2)は、通常遊技状態、RT(1)及びRT(2)において入賞ラインのいずれかに「ベル−リプレイ−リプレイ」の組合せが揃ったときに入賞となる。リプレイ(1)またはリプレイ(2)が入賞したときには、メダルの払い出しはないが次のゲームを改めて賭数を設定することなく開始できるので、次のゲームで設定不要となった賭数に対応した3枚のメダルが払い出されるのと実質的には同じこととなる。
ビッグボーナスは、通常遊技状態、RT(1)及びRT(2)において入賞ラインのいずれかに「赤7−赤7−赤7」の組合せ、「青7−青7−青7」、「白7−白7−白7」の組合せ、「ベル−リプレイ−ベル」の組合せ、「リプレイ−リプレイ−ベル」の組合せが揃ったときに入賞となる。本実施例において「赤7−赤7−赤7」の組合せが揃ったときに入賞となるビッグボーナスをビッグボーナス(1)とし、「青7−青7−青7」の組合せが揃ったときに入賞となるビッグボーナスをビッグボーナス(2)とし、「白7−白7−白7」の組合せが揃ったときに入賞となるビッグボーナスをビッグボーナス(3)とし、「ベル−リプレイ−ベル」の組合せが揃ったときに入賞となるビッグボーナスをビッグボーナス(4)とし、「リプレイ−リプレイ−ベル」の組合せが揃ったときに入賞となるビッグボーナスをビッグボーナス(5)とする。
ビッグボーナス(1)が入賞すると、遊技状態がビッグボーナス(1)に移行し、ビッグボーナス(2)が入賞すると、遊技状態がビッグボーナス(2)に移行し、ビッグボーナス(3)が入賞すると、遊技状態がビッグボーナス(3)に移行し、ビッグボーナス(4)が入賞すると、遊技状態がビッグボーナス(4)に移行し、ビッグボーナス(5)が入賞すると、遊技状態がビッグボーナス(5)に移行する。ビッグボーナス(1)〜(5)に移行すると、ビッグボーナス(1)〜(5)への移行と同時にレギュラーボーナスに移行する。レギュラーボーナスは、12ゲームを消化したとき、または8ゲーム入賞(役の種類は、いずれでも可)したとき、のいずれか早いほうで終了する。遊技状態がレギュラーボーナスにある間は、レギュラーボーナス中フラグがRAM41cに設定される。レギュラーボーナスが終了した際に、ビッグボーナス(1)〜(5)が終了していなければ、再度レギュラーボーナスに移行し、ビッグボーナス(1)〜(5)が終了するまで繰り返しレギュラーボーナスに制御される。すなわちビッグボーナス(1)〜(5)中は、常にレギュラーボーナスに制御されることとなる。
そして、ビッグボーナス(1)〜(3)は、当該ビッグボーナス(1)〜(3)中において遊技者に払い出したメダルの総数が400枚を超えたときに終了する。この際、レギュラーボーナスの終了条件が成立しているか否かに関わらずレギュラーボーナスも終了する。また、ビッグボーナス(4)は、当該ビッグボーナス(4)中において遊技者に払い出したメダルの総数が300枚を超えたときに終了し、ビッグボーナス(5)は、当該ビッグボーナス(5)中において遊技者に払い出したメダルの総数が100枚を超えたときに終了する。この際、レギュラーボーナスの終了条件が成立しているか否かに関わらずレギュラーボーナスも終了する。
遊技状態がビッグボーナス(1)、ビッグボーナス(2)、ビッグボーナス(3)、ビッグボーナス(4)、ビッグボーナス(5)にある間は、それぞれビッグボーナス(1)中フラグ、ビッグボーナス(2)中フラグ、ビッグボーナス(3)中フラグ、ビッグボーナス(4)中フラグ、ビッグボーナス(5)中フラグがRAM41cに設定される。
以下、本実施例の内部抽選について説明する。内部抽選は、上記した各役への入賞を許容するか否かを、全てのリール2L、2C、2Rの表示結果が導出表示される以前に(実際には、スタートスイッチ7の検出時)決定するものである。内部抽選では、まず、後述するように内部抽選用の乱数(0〜16383の整数)が取得される。そして、遊技状態及び賭数に応じて定められた各役及び役の組合せについて、取得した内部抽選用の乱数と、遊技状態、賭数及び設定値に応じて定められた各役及び役の組合せの判定値数に応じて行われる。本実施例においては、各役及び役の組合せの判定値数から、一般役、特別役がそれぞれ単独で当選する判定値の範囲と、一般役及び特別役が重複して当選する判定値の範囲と、が特定されるようになっており、内部抽選における当選は、排他的なものではなく、1ゲームにおいて一般役と特別役とが同時に当選することがあり得る。ただし、種類の異なる特別役については、重複して当選する判定値の範囲が特定されることがなく、種類の異なる特別役については、排他的に抽選を行うものである。
遊技状態、賭数に応じて定められた各役及び役の組合せの参照は、図9に示した当選役テーブルに登録された役番号の順番で行われる。
遊技状態が通常遊技状態、RT(1)またはRT(2)であり、いずれの特別役も持ち越されていない状態、すなわち状態番号として「0」、「1」または「2」が設定されている場合には、当選役テーブルを参照し、役番号0〜19の役及び役の組合せ、すなわちビッグボーナス(1)[役番号0]、ビッグボーナス(2)[役番号1]、ビッグボーナス(3)[役番号2]、ビッグボーナス(4)[役番号3]、ビッグボーナス(5)[役番号4]、ビッグボーナス(1)+赤チェリー[役番号5]、ビッグボーナス(2)+赤チェリー[役番号6]、ビッグボーナス(3)赤チェリー[役番号7]、ビッグボーナス(1)+青チェリー[役番号8]、ビッグボーナス(2)+青チェリー[役番号9]、ビッグボーナス(3)+青チェリー[役番号10]、ビッグボーナス(1)+白チェリー[役番号11]、ビッグボーナス(2)+白チェリー[役番号12]、ビッグボーナス(3)+白チェリー[役番号13]、リプレイ(1)[役番号14]、リプレイ(2)[役番号15]、赤チェリー[役番号16]、青チェリー[役番号17]、白チェリー[役番号18]、ベル[役番号19]が内部抽選の対象役として順に読み出される。
遊技状態が通常遊技状態またはRT(2)であり、いずれかの特別役が持ち越されている状態、すなわち状態番号として「3」または「4」が設定されている場合には、当選役テーブルを参照し、役番号14〜19の役、すなわちリプレイ(1)[役番号14]、リプレイ(2)[役番号15]、赤チェリー[役番号16]、青チェリー[役番号17]、白チェリー[役番号18]、ベル[役番号19]が内部抽選の対象役として順に読み出される。
遊技状態がレギュラーボーナス、すなわち状態番号として「5」が設定されている場合には、当選役テーブルを参照し、役番号19〜22の役、すなわちベル[役番号19]、ベル+赤チェリー[役番号20]、ベル+青チェリー[役番号21]、ベル[役番号22]が内部抽選の対象役として順に読み出される。
内部抽選では、内部抽選の対象となる役または役の組合せ及び現在の遊技状態を示す状態番号について定められた判定値数を、内部抽選用の乱数に順次加算し、加算の結果がオーバーフローしたときに、当該役または役の組合せに当選したものと判定される。
そして、いずれかの役または役の組合せの当選が判定された場合には、当選が判定された役または役の組合せに対応する当選フラグをRAM41cに割り当てられた内部当選フラグ格納ワーク(iwin_flag)に設定する。内部当選フラグ格納ワーク(iwin_flag)は、2バイトの格納領域にて構成されており、そのうちの上位バイトが、特別役の当選フラグが設定される特別役格納ワークとして割り当てられ、下位バイトが、一般役の当選フラグが設定される一般役格納ワークとして割り当てられている。詳しくは、役番号0〜4のいずれかの役(特別役)が当選した場合には、当該特別役が当選した旨を示す特別役の当選フラグを特別役格納ワークに設定し、一般役格納ワークに設定されている当選フラグをクリアする。また、役番号5〜13のいずれかの役(特別役+一般役)が当選した場合には、当該特別役が当選した旨を示す特別役の当選フラグを特別役格納ワークに設定し、当該一般役が当選した旨を示す一般役の当選フラグを一般役格納ワークに設定する。また、役番号14〜22のいずれかの役(一般役)が当選した場合には、当該一般役が当選した旨を示す一般役の当選フラグを一般役格納ワークに設定する。尚、いずれの役及び役の組合せにも当選しなかった場合には、一般役格納ワークのみクリアする。
各役及び役の組合せの判定値数は、メイン制御部41のROM41bに予め格納された役別テーブル(図示略)に登録されている判定値数の格納アドレスに従って読み出されるものとなる。
判定値数は、その値が256以上のものとなるものもあり、1バイト分では記憶できないので、判定値数毎に2バイト分の記憶領域を用いて登録されるものとなる。また、判定値数は、前述した遊技状態を特定可能な状態番号及び賭数に対応して登録されている。同一の役または同一の役の組合せであっても、遊技状態に応じて当選確率が異なっている場合があり、遊技状態が同一であっても賭数に応じて当選確率が異なっている場合があるからである。また、それぞれの判定値数は、設定値に関わらずに共通になっているものと、設定値に応じて異なっているものとがある。判定値数が設定値に関わらずに共通である場合には、共通フラグが設定される(値が「1」とされる)。
また、役別テーブルには、各役に入賞したときに払い出されるメダルの払出枚数も登録されている。もっとも、入賞したときにメダルの払い出し対象となる役は、赤チェリー、青チェリー、白チェリー、ベルだけである。ビッグボーナス(1)、ビッグボーナス(2)、ビッグボーナス(3)、ビッグボーナス(4)、ビッグボーナス(5)の入賞は、遊技状態の移行を伴うものであり、メダルの払い出し対象とはならない。リプレイでは、メダルの払い出しを伴わないが、次のゲーム(必ず通常遊技状態かRT(1)〜(3))で賭数の設定に用いるメダルの投入が不要となるので実質的には2枚または3枚の払い出しと変わらない。
図10〜図12は、内部抽選用の乱数の値と各役及び役の組合せの判定値数と、当選との関係の一例を示す図である。図10では通常遊技状態、RT(1)、RT(2)においていずれの特別役も持ち越されていないときの、図11では通常遊技状態、RT(2)においていずれかの特別役が持ち越されているときの、図12ではレギュラーボーナスにあるときの例をそれぞれ示している。図10〜図12のいずれも、設定値が6の場合の例を示している。
例えば、図10に示すように、通常遊技状態においていずれの特別役も持ち越されていない場合には、ビッグボーナス(1)、ビッグボーナス(2)、ビッグボーナス(3)、ビッグボーナス(4)、ビッグボーナス(5)、ビッグボーナス(1)+赤チェリー、ビッグボーナス(2)+赤チェリー、ビッグボーナス(3)+赤チェリー、ビッグボーナス(1)+青チェリー、ビッグボーナス(2)+青チェリー、ビッグボーナス(3)+青チェリー、ビッグボーナス(1)+白チェリー、ビッグボーナス(2)+白チェリー、ビッグボーナス(3)+白チェリー、リプレイ(1)、リプレイ(2)、赤チェリー、青チェリー、白チェリー、ベルが内部抽選の対象となる。また、本実施例では、設定値6において、通常遊技状態においていずれの特別役も持ち越されていない場合の各役の判定値数として、8、8、8、8、8、8、8、8、8、8、8、8、8、8、2236、1、300、300、300、1392がそれぞれ登録されており、最初に内部抽選の対象となるビッグボーナス(1)は、判定値数の8を加算することで加算結果がオーバーフローすることとなる16376〜16383が内部抽選用の乱数として取得されたときに当選となる。
次に内部抽選の対象役となるビッグボーナス(2)は、ビッグボーナス(1)の判定値数8とビッグボーナス(2)の判定値数8とを合計した16を加算することで加算結果がオーバーフローすることとなる16368〜16375が内部抽選用の乱数として取得されたときに当選となる。同様に、ビッグボーナス(3)は、16360〜16367が内部抽選用の乱数として取得されたときに、ビッグボーナス(4)は、16352〜16359が内部抽選用の乱数として取得されたときに、ビッグボーナス(5)は、16344〜16351が内部抽選用の乱数として取得されたときに、ビッグボーナス(1)+赤チェリーは、16336〜16343が内部抽選用の乱数として取得されたときに、ビッグボーナス(2)+赤チェリーは、16328〜16335が内部抽選用の乱数として取得されたときに、ビッグボーナス(3)+赤チェリーは、16320〜16327が内部抽選用の乱数として取得されたときに、ビッグボーナス(1)+青チェリーは、16312〜16319が内部抽選用の乱数として取得されたときに、ビッグボーナス(2)+青チェリーは、16304〜16311が内部抽選用の乱数として取得されたときに、ビッグボーナス(3)+青チェリーは、16296〜16303が内部抽選用の乱数として取得されたときに、ビッグボーナス(1)+白チェリーは、16288〜16295が内部抽選用の乱数として取得されたときに、ビッグボーナス(2)+白チェリーは、16280〜16287が内部抽選用の乱数として取得されたときに、ビッグボーナス(3)+青チェリーは、16272〜16279が内部抽選用の乱数として取得されたときに、リプレイ(1)は、14036〜16271が内部抽選用の乱数として取得されたときに、リプレイ(2)は、14035が内部抽選用の乱数として取得されたときに、赤チェリーは、13735〜14034が内部抽選用の乱数として取得されたときに、青チェリーは、13435〜13734が内部抽選用の乱数として取得されたときに、白チェリーは、13135〜13434が内部抽選用の乱数として取得されたときに、ベルは、11743〜13134が内部抽選用の乱数として取得されたときに、それぞれ当選と判定される。尚、0〜11742が内部抽選用の乱数として取得されたときには、全ての役にハズレとなる。
これらの判定値数に基づいて算出される各役及び役の組合せのおおよその当選確率は、ビッグボーナス(1)、ビッグボーナス(2)、ビッグボーナス(3)、ビッグボーナス(4)、ビッグボーナス(5)、ビッグボーナス(1)+赤チェリー、ビッグボーナス(2)+赤チェリー、ビッグボーナス(3)+赤チェリー、ビッグボーナス(1)+青チェリー、ビッグボーナス(2)+青チェリー、ビッグボーナス(3)青チェリー、ビッグボーナス(1)+白チェリー、ビッグボーナス(2)+白チェリー、ビッグボーナス(3)+白チェリー、リプレイ(1)、リプレイ(2)、赤チェリー、青チェリー、白チェリー、ベルのそれぞれについて、1/2048、1/2048、1/2048、1/2048、1/2048、1/2048、1/2048、1/2048、1/2048、1/2048、1/2048、1/2048、1/2048、1/2048、1/7.33、1/16384、1/54.6、1/54.6、1/54.6、1/11.77となる。
また、RT(1)においていずれの特別役も持ち越されていない場合には、ビッグボーナス(1)、ビッグボーナス(2)、ビッグボーナス(3)、ビッグボーナス(4)、ビッグボーナス(5)、ビッグボーナス(1)+赤チェリー、ビッグボーナス(2)+赤チェリー、ビッグボーナス(3)+赤チェリー、ビッグボーナス(1)+青チェリー、ビッグボーナス(2)+青チェリー、ビッグボーナス(3)+青チェリー、ビッグボーナス(1)+白チェリー、ビッグボーナス(2)+白チェリー、ビッグボーナス(3)+白チェリー、リプレイ(1)、リプレイ(2)、赤チェリー、青チェリー、白チェリー、ベルが内部抽選の対象となり、本実施例では、設定値6において、RT(1)においていずれの特別役も持ち越されていない場合の各役の判定値数として、8、8、8、8、8、8、8、8、8、8、8、8、8、8、12000、280、300、300、300、1392がそれぞれ登録されており、それぞれの役のおおよその当選確率は、1/2048、1/2048、1/2048、1/2048、1/2048、1/2048、1/2048、1/2048、1/2048、1/2048、1/2048、1/2048、1/2048、1/2048、1/1.37、1/280、1/300、1/300、1/300、1/11.77となり、通常遊技状態においていずれの特別役も持ち越されていない場合と比較してリプレイ(1)、リプレイ(2)の当選確率がともに高くなる。
また、RT(2)においていずれの特別役も持ち越されていない場合には、ビッグボーナス(1)、ビッグボーナス(2)、ビッグボーナス(3)、ビッグボーナス(4)、ビッグボーナス(5)、ビッグボーナス(1)+赤チェリー、ビッグボーナス(2)+赤チェリー、ビッグボーナス(3)+赤チェリー、ビッグボーナス(1)+青チェリー、ビッグボーナス(2)+青チェリー、ビッグボーナス(3)+青チェリー、ビッグボーナス(1)+白チェリー、ビッグボーナス(2)+白チェリー、ビッグボーナス(3)+白チェリー、リプレイ(1)、リプレイ(2)、赤チェリー、青チェリー、白チェリー、ベルが内部抽選の対象となり、本実施例では、設定値6において、RT(2)においていずれの特別役も持ち越されていない場合の各役の判定値数として、8、8、8、8、8、8、8、8、8、8、8、8、8、8、13880、20、300、300、300、1392がそれぞれ登録されており、それぞれの役のおおよその当選確率は、1/2048、1/2048、1/2048、1/2048、1/2048、1/2048、1/2048、1/2048、1/2048、1/2048、1/2048、1/2048、1/2048、1/2048、1/1.18、1/819.2、1/300、1/300、1/300、1/11.77となり、RT(1)においていずれの特別役も持ち越されていない場合と比較してさらにリプレイ(1)の当選確率が高くなるが、リプレイ(2)の当選確率は低くなる。尚、それでも通常遊技状態においていずれの特別役も持ち越されていない場合と比較すると、リプレイ(2)の当選確率は高い。
図11に示すように、通常遊技状態においていずれかの特別役が持ち越されている場合には、リプレイ(1)、リプレイ(2)、赤チェリー、青チェリー、白チェリー、ベルが内部抽選の対象となり、本実施例では、設定値6において、通常遊技状態においていずれかの特別役が持ち越されている場合の各役の判定値数として、2236、1、324、324、324、1392がそれぞれ登録されており、それぞれの役のおおよその当選確率は、1/7.33、1/16384、1/50.6、1/50.6、1/50.6、1/11.77となり、通常遊技状態においていずれの特別役も持ち越されていない場合においては内部抽選の対象となった、特別役及び特別役を含む役の組合せが内部抽選の対象外となり、特別役+赤チェリー、特別役+青チェリー、特別役+白チェリーの当選確率が減少した分、赤チェリー、青チェリー、白チェリーの単独での当選確率が通常遊技状態においていずれの特別役も持ち越されていない場合に比較して高くなり、それ以外の当選確率は、通常遊技状態においていずれの特別役も持ち越されていない場合と同じである。
また、RT(2)においていずれかの特別役が持ち越されている場合には、リプレイ(1)、リプレイ(2)、赤チェリー、青チェリー、白チェリー、ベルが内部抽選の対象となり、本実施例では、設定値6において、RT(2)においていずれかの特別役が持ち越されている場合の各役の判定値数として、13600、280、324、324、324、1392がそれぞれ登録されており、それぞれの役のおおよその当選確率は、1/1.20、1/58.51、1/50.6、1/50.6、1/50.6、1/11.77となり、RT(2)においていずれの特別役も持ち越されていない場合においては内部抽選の対象となった、特別役及び特別役を含む役の組合せが内部抽選の対象外となり、特別役+赤チェリー、特別役+青チェリー、特別役+白チェリーの当選確率が減少した分、赤チェリー、青チェリー、白チェリーの単独での当選確率がRT(2)においていずれの特別役も持ち越されていない場合に比較して高くなり、それ以外の当選確率は、RT(2)においていずれの特別役も持ち越されていない場合と同じである。
図12に示すように、レギュラーボーナスでは、ベル、赤チェリー+ベル、青チェリー+ベル、白チェリー+ベル、内部抽選の対象となり、本実施例では、設定値6において、レギュラーボーナスでの各役の判定値数として、14750、324、324、324がそれぞれ登録されており、それぞれの役のおおよその当選確率は、1/1.11、1/50.6、1/50.6、1/50.6となり、レギュラーボーナスにおいては、通常遊技状態やRT(1)、RT(2)においては内部抽選の対象とならないベル、赤チェリー+ベル、青チェリー+ベル、白チェリー+ベルが内部抽選の対象となる。
図13は、リールモータ32L、32C、32Rの構成を示す図である。リールモータ32L、32C、32Rは、例えば、ハイブリッド型ステッピングモータであり、ステータ32bと、これに対向するロータ32aとで構成されている。尚、ロータ32aは、図示しない多数の歯車状突極を有し、これに回転軸と同方向に磁化された永久磁石が組み込まれている。これらリールモータ32L、32C、32Rは、CPU41aの制御に基づきモータ駆動回路45から出力されるパルス信号を受け、ステータ32bの各励磁相φ1〜φ4が所定の手順に従って励磁されることにより、1パルスを受信する度に所定の角度(1ステップ)ずつロータ32aを回転させる。
図14(a)は、リールモータ32L、32C、32Rの始動時の制御方法を示すタイミングチャートである。図において、φ1〜φ4は、各励磁相を示し、「ON」は励磁状態を、「OFF」は消磁状態を、各々示す。CPU41aは、リールモータ32L、32C、32Rの始動時において、停止相のみが励磁された状態から停止相を始点として後述する1−2相励磁方式にて回転方向に励磁を開始する。詳しくは、例えば停止相が(φ3)の場合には、(φ3)のみが励磁された状態から、(φ3、φ4)、(φ4)、(φ4、φ1)…の順で、φ1〜φ4を2相、1相、2相と交互に励磁する。
仮に停止相とは異なる相を始点として励磁を開始した場合には、急激に励磁相がロータ32aの永久磁石に吸引されることなり、回転の開始時にリールが振動してしまうこととなるが、本実施例では、停止相を始点として励磁を開始するので、ロータ32aと一体的に結合されているリールが滑らかに始動するようになる。
図14(b)は、リールモータ32L、32C、32Rの回転中及び停止時の制御方法を示すタイミングチャートである。
まず、回転中、すなわちリールを停止させる条件が成立するまでの間は、1−2相励磁方式でリールモータを駆動して各リール2L、2C、2Rを回転させる。例えば、φ1〜φ4を励磁する旨を示すパルス信号を図14(b)に示すタイミングでON/OFFし、ロータ32aの回転方向に沿って、(φ4、φ1)、(φ1)、(φ1、φ2)、(φ2)、(φ2、φ3)、(φ3)、(φ3、φ4)、(φ4)、(φ4、φ1)…の順で、2相、1相、2相、1相、2相と1ステップごとに交互にφ1〜φ4を励磁して、ロータ32aを回転させることにより、リール2L、2C、2Rを回転させる。
次に、回転中のリールを停止させる条件が成立した場合、すなわち、ロータ32aが後述するオーバーシュート量だけ脱調することにより、停止操作により選択された図柄(目標図柄)を導出表示可能な角度位置(目標停止角度位置)に到達する角度位置となった場合には、2相が励磁された状態からリールの停止制御に移行する。例えば、リールを停止させる条件が、停止条件成立ステップとして図14(b)に示す期間に成立した場合には、2相が励磁される状態に移行する時点Taまで待って、停止制御に移行する。
リールの停止制御は、図14(b)のT1、T2に示されるように、2段階で行われる。T1で行われる制御を2相励磁停止制御と呼び、T2で行われる制御を3相励磁停止制御と呼ぶ。
2相励磁停止制御は、1−2相励磁方式でリールモータが駆動されている場合において、1相を励磁した状態から2相を励磁する状態に移行する時点Taから開始され、その2相を励磁する状態を所定のホールド時間T1だけ保持する制御である。例えば、図14(b)に示すように、(φ1)を励磁した状態から(φ1、φ2)を励磁する状態に移行する時点から、(φ1、φ2)を励磁した状態をホールド時間T1だけ保持する。これにより、高速回転していた各リールモータのロータ32aは急制動がかけられる。
尚、ホールド時間T1は脱調を引起すことになるオーバーシュート量に応じて定められ、リールモータのホールディングトルクの大きさやロータ32aのイナーシャ、バネ常数等によって異なる。本実施例では、オーバーシュート量がステッピングモータの4ステップ分であるものとし、ホールド時間T1は、リールモータが3ステップ分駆動するのに必要な時間として設定する。そして、ロータ32aの目標停止角度位置を、ホールド時間T1に合わせて、2相励磁停止制御が開始された段階から3ステップ先に設定する。
このため、ホールド時間T1が経過した時点Tbでは、ロータ32aが目標停止角度位置の直前の位置にあり、かつ、その回転速度が制動された状態にある。そこで、Tbの時点で励磁パターンを切替えて3相励磁停止制御を開始する。すなわち、φ1を消磁し、目標停止角度位置に対応する停止相φ3と、当該停止相を挟んで相反する位置にある2つのブレーキ相φ2、φ4とを所定の時間T2だけ励磁する。これにより、ブレーキ相φ2、φ4によるブレーキを得ながら停止相φ3のホールディングトルク安定点、すなわち目標停止角度位置でロータ32aが停止する。その結果、ロータ32aと一体的に結合されているリールは、目標図柄を導出表示可能な目標停止位置に、正確かつ振動することなく停止する。
3相励磁停止制御がT2の間実行された後、ブレーキ相φ2、φ4を消磁し、停止相φ3の励磁状態を維持したまま、モータ電圧をHからLにする。ロータ32aの停止後も、停止相φ3の励磁状態を維持するのは、ホールディングトルクとディテントトルクとの位相差や摩擦の影響によるずれによって、ロータ32aが停止相φ3のホールディングトルク安定点から外れることを防止するためである。これにより、リールが一旦停止した後に微動すること、及び、次回リールモータを始動させる時のロータ32aの角度位置が、停止時の角度位置とずれてしまうことを防止できる。
また、リールモータを停止させるための制御方法としては、全相励磁停止制御、すなわち全ての励磁相を同時に励磁することによってロータ32aを停止させる制御や、2相励磁停止制御、すなわち隣り合う2つの励磁相を同時に励磁することによってロータ32aを停止させる制御が従来から公知である(例えば、特開昭61−240846号公報、実開昭62−36787号公報参照)。
本実施例のスロットマシン1では、前述したようにリールを滑らかに回転開始させるために、リールモータの回転開始時にはロータ32aの正確な停止位置を特定しておく必要がある。
しかしながら、前述した全相励磁停止制御を用いてリールモータの停止制御を行った場合には、急制動に起因するオーバーシュート量だけロータ32aが回転した後に停止する。このオーバーシュート量はメカニカルな要素に基づいて決まることからロータ32aの停止位置を正確に判別することが困難であるため、前述した滑らかなリールの始動を正確に制御することができないという問題がある。
また、前述した2相励磁停止制御を用いてリールモータの停止制御を行った場合には、最終的に励磁された2つの励磁相の均衡点にロータ32aの停止位置が収束することとなり、停止位置を正確に特定することが可能となるが、ロータ32aが励磁に対して過度に応答することに伴う振動を抑えることができないため、リールの停止態様が見苦しくなってしまうという問題がある。
これに対して、本実施例のように2相励磁停止制御と3相励磁停止制御とを併用してリールモータの停止制御を行うことで、2相励磁停止制御によってロータ32aの回転が急速に制動されつつ目標停止角度位置に誘導され、その後、3相励磁停止制御によって、目標停止角度位置の停止相を挟んで相反する位置にある2つのブレーキ相の励磁によりブレーキを得ながら、停止相の励磁により目標停止角度位置にロータ32aが停止することとなるため、回転中のロータ32aを振動させることなく目標停止角度位置に停止させることができる。更に、ロータ32aは目標停止角度位置に停止することから、ロータ32aの正確な停止位置が特定されるため、回転開始時にリールを滑らかに回転させることができる。
次に、リール2L、2C、2Rの停止制御について説明する。
本実施例では、リールの停止制御の方法として、予めROM41bに登録されているテーブル作成用データから作成される停止制御テーブルの停止制御テーブルによる停止制御(以下テーブル方式とも呼ぶ)、停止操作のタイミング毎に引込可能位置を検索し、その検索結果に基づく停止制御(以下コントロール方式とも呼ぶ)、テーブル方式とコントロール方式の双方による停止制御(以下テーブル+コントロール方式とも呼ぶ)の3つの方法を採用しており、内部抽選の結果、リールの停止状況に応じていずれかの方法によって停止制御を行う。
これら3つの方法のうちどの方法で停止制御を行うかは予め定められている。詳しくは、図15に示すように、内部抽選の結果がハズレの場合には、ゲーム開始後、全てのリールが未だ回転中の状態で最初に行われる停止操作(以下、第1停止とも呼ぶ)、いずれか1つのリールが既に停止し、2つのリールが回転中の状態、すなわち2番目に行われる停止操作(以下、第2停止とも呼ぶ)、いずれか2つのリールが停止し、1つのリールが回転中の状態、すなわち3番目に行われる停止操作(以下、第3停止とも呼ぶ)のいずれの停止操作においてもテーブル方式によって停止制御を行う。
内部抽選の結果がリプレイ(1)、リプレイ(2)、ベル、ビッグボーナス(1)+リプレイ(1)、ビッグボーナス(1)+リプレイ(2)、ビッグボーナス(2)+リプレイ(1)、ビッグボーナス(2)+リプレイ(2)、ビッグボーナス(3)+リプレイ(1)、ビッグボーナス(3)+リプレイ(2)、ビッグボーナス(4)、ビッグボーナス(5)の場合には、第1停止においてはテーブル方式によって停止制御を行い、第2停止、第3停止においてはコントロール方式によって停止制御を行う。
内部抽選の結果が赤チェリー、青チェリー、白チェリー、ベル+赤チェリー、ベル+青チェリー、ベル+白チェリー、ビッグボーナス(1)、ビッグボーナス(1)+赤チェリー、ビッグボーナス(1)+青チェリー、ビッグボーナス(1)+白チェリー、ビッグボーナス(1)+ベル、ビッグボーナス(2)、ビッグボーナス(2)+赤チェリー、ビッグボーナス(2)+青チェリー、ビッグボーナス(2)+白チェリー、ビッグボーナス(2)+ベル、ビッグボーナス(3)、ビッグボーナス(3)+赤チェリー、ビッグボーナス(3)+青チェリー、ビッグボーナス(3)+白チェリー、ビッグボーナス(3)+ベルの場合には、第1停止、第2停止、第3停止のいずれの停止操作においてもテーブル+コントロール方式によって停止制御を行う。
テーブル方式及びテーブル+コントロール方式によって停止制御を行う際に用いる停止制御テーブルを作成するためのテーブル作成用データは、ROM41bに予め登録されており、ROM41bに格納されているテーブルインデックスを参照して選択される。
テーブルインデックスには、内部抽選による当選フラグの設定状態(以下、内部当選状態と呼ぶ)別に、テーブルインデックスを参照する際の基準アドレス(table_index)から、テーブル作成用データが格納された領域の先頭アドレスを示すインデックスデータが格納されているアドレスまでの差分が登録されている。これにより当選役に応じた差分を取得し、基準アドレス(table_index)に対してその差分を加算することで該当するインデックスデータを取得することが可能となる。
本実施例では、内部抽選の結果の全てについて個別のテーブル作成用データから作成される停止制御テーブルを用いるものではない。詳しくは、ハズレ、ベル、ビッグボーナス(4)、ビッグボーナス(5)については、個別のテーブル作成用データが予め用意されているが、それ以外の役及び役の組合せについては、複数の役または役の組合せについて共通に用いられる5種類の共通テーブル作成用データが予め用意されており、テーブルインデックスには、ハズレ、ベル、ビッグボーナス(4)、ビッグボーナス(5)のそれぞれについて、個別のテーブル作成用データが格納された領域の先頭アドレスを示すインデックスデータが格納されているとともに、5種類の共通テーブル作成用データ(1)〜(5)が格納された領域の先頭アドレスを示すインデックスデータがそれぞれ格納されている。
共通テーブル作成用データは、赤チェリー、ベル+赤チェリー、ビッグボーナス(1)、ビッグボーナス(1)+赤チェリー、ビッグボーナス(1)+青チェリー、ビッグボーナス(1)+白チェリー、ビッグボーナス(1)+ベルについて共通に用いられる共通テーブル作成用データ(1)、青チェリー、ベル+青チェリー、ビッグボーナス(2)、ビッグボーナス(2)+赤チェリー、ビッグボーナス(2)+青チェリー、ビッグボーナス(2)+白チェリー、ビッグボーナス(2)+ベルについて共通に用いられる共通テーブル作成用データ(2)、白チェリー、ベル+白チェリー、ビッグボーナス(3)、ビッグボーナス(3)+赤チェリー、ビッグボーナス(3)+青チェリー、ビッグボーナス(3)+白チェリー、ビッグボーナス(3)+ベルについて共通に用いられる共通テーブル作成用データ(3)、リプレイ(1)、ビッグボーナス(1)+リプレイ(1)、ビッグボーナス(2)+リプレイ(1)、ビッグボーナス(3)+リプレイ(1)について共通に用いられる共通テーブル作成用データ(4)、リプレイ(2)、ビッグボーナス(1)+リプレイ(2)、ビッグボーナス(2)+リプレイ(2)、ビッグボーナス(3)+リプレイ(2)について共通に用いられる共通テーブル作成用データ(5)からなる。
テーブル作成用データは、停止操作位置に応じた滑りコマ数を示す停止制御テーブルと、リールの停止状況に応じて参照すべき停止制御テーブルのアドレスと、からなる。
リールの停止状況に応じて参照される停止制御テーブルは、第1停止か、第2停止において左リールのみ停止しているか、中リールのみ停止しているか、右リールのみ停止しているか、第3停止において左、中リールが停止しているか、左、右リールが停止しているか、中、右リールが停止しているか、によって異なる場合があり、さらに、いずれかのリールが停止している状況においては、停止済みのリールの停止位置によっても異なる場合があるので、それぞれの状況について、参照すべき停止制御テーブルのアドレスが回転中のリール別に登録されており、テーブル作成用データの先頭アドレスに基づいて、それぞれの状況に応じて参照すべき停止制御テーブルのアドレスが特定可能とされ、この特定されたアドレスから、それぞれの状況に応じて必要な停止制御テーブルを特定できるようになっている。尚、リールの停止状況や停止済みのリールの停止位置が異なる場合でも、同一の停止制御テーブルが適用される場合においては、停止制御テーブルのアドレスとして同一のアドレスが登録されているものもあり、このような場合には、同一の停止制御テーブルが参照されることとなる。
停止制御テーブルは、停止操作が行われたタイミング別の滑りコマ数を特定可能なデータである。本実施例では、前述のようにリールモータ32L、32C、32Rに、168ステップ(0〜167)の周期で1周するステッピングモータを用いている。すなわちリールモータ32L、32C、32Rを168ステップ駆動させることでリール2L、2C、2Rが1周することとなる。そして、リール1周に対して16ステップ(1図柄が移動するステップ数)毎に分割した21の領域(コマ)が定められており、これらの領域には、リール基準位置から0〜20の領域番号が割り当てられている。一方、1リールに配列された図柄数も21であり、各リールの図柄に対して、リール基準位置から0〜20の図柄番号が割り当てられているので、0番図柄から20番図柄に対して、それぞれ0〜20の領域番号が順に割り当てられていることとなる。そして、停止制御テーブルには、領域番号別の滑りコマ数が所定のルールで圧縮して格納されており、停止制御テーブルを展開することによって領域番号別の滑りコマ数を取得できるようになっている。
前述のようにテーブルインデックス及びテーブル作成用データを参照して作成される停止制御テーブルは、領域番号に対応して、各領域番号に対応する領域が停止基準位置(本実施例では、透視窓3の下段図柄の領域)に位置するタイミング(リール基準位置からのステップ数が各領域番号のステップ数の範囲に含まれるタイミング)でストップスイッチ8L、8C、8Rの操作が検出された場合の滑りコマ数がそれぞれ設定されたテーブルである。
ハズレに対応するテーブル作成用データには、いずれの役の組合せも入賞ライン上に揃わない停止位置を最大4コマの引込範囲で停止させるとともに、チャンス目(ハズレ時に適用されるテーブル作成用データから特定される停止制御テーブルでは停止することのない停止位置の組合せ)を構成する停止位置が停止しないように定められた停止制御テーブルが格納されている。
ベルに対応するテーブル作成用データには、ベルの組合せが入賞ラインL1〜L4のいずれかに揃う停止位置を最大4コマの引込範囲で引き込んで停止させるように定められた停止制御テーブルが格納されている。
ビッグボーナス(4)に対応するテーブル作成用データには、ビッグボーナス(4)の組合せが入賞ラインL5、L6のいずれかに揃う停止位置を最大4コマの引込範囲で引き込んで停止させるように定められた停止制御テーブルが格納されている。
ビッグボーナス(5)に対応するテーブル作成用データには、ビッグボーナス(5)の組合せが入賞ラインL5、L6のいずれかに揃う停止位置を最大4コマの引込範囲で引き込んで停止させるように定められた停止制御テーブルが格納されている。
共通テーブル作成用データ(1)には、赤チェリーの組合せ及びビッグボーナス(1)の組合せが入賞ラインL1〜L4のいずれかに揃う停止位置を最大4コマの引込範囲で引き込んで停止させるとともに、チャンス目を構成する停止位置が停止可能に定められた停止制御テーブルが格納されている。
特に、共通テーブル作成用データ(1)から特定される停止制御テーブルのうち、全てのリールが回転中の状態で、左リールに適用される停止制御テーブルにおいては、図21に示すように、最大4コマの引込範囲で「赤チェリー」を入賞ラインL1〜L4に引込可能な領域番号1〜7に対して、「赤チェリー」を入賞ラインL1〜L4に引き込む滑りコマ数が定められている。また、最大4コマの引込範囲で「赤7」を入賞ラインL1〜L4に引込可能な領域番号12〜18に対して、「赤7」を入賞ラインL1〜L4に引き込む滑りコマ数が定められている。尚、本実施例では、左リールにおいて「赤チェリー」を最大4コマの引込範囲で入賞ラインL1〜L4に引込可能な範囲と、「赤7」を最大4コマの引込範囲で入賞ラインL1〜L4に引込可能な範囲と、が重複しないため、双方の図柄を共通して引込可能な範囲は存在しないようになっている。また、最大4コマの引込範囲で「赤7」及び「赤チェリー」のいずれも入賞ラインL1〜L4に引き込めない範囲については、最大4コマの引込範囲でチャンス目が割り当てられており、これらの停止位置を引込可能な領域番号に対して、チャンス目を構成する停止位置を引き込む滑りコマ数が定められている。
共通テーブル作成用データ(2)には、青チェリーの組合せ及びビッグボーナス(2)の組合せが入賞ラインL1〜L4のいずれかに揃う停止位置を最大4コマの引込範囲で引き込んで停止させるとともに、チャンス目を構成する停止位置が停止可能に定められた停止制御テーブルが格納されている。
特に、共通テーブル作成用データ(2)から特定される停止制御テーブルのうち、全てのリールが回転中の状態で、左リールに適用される停止制御テーブル停止制御テーブルにおいては、最大4コマの引込範囲で「青チェリー」を入賞ラインL1〜L4に引込可能な領域番号0、15〜20に対して、「青チェリー」を入賞ラインL1〜L4に引き込む滑りコマ数が定められている。また、最大4コマの引込範囲で「青7」を入賞ラインL1〜L4に引込可能な領域番号5〜11に対して、「青7」を入賞ラインL1〜L4に引き込む滑りコマ数が定められている。尚、本実施例では、左リールにおいて「青チェリー」を最大4コマの引込範囲で入賞ラインL1〜L4に引込可能な範囲と、「青7」を最大4コマの引込範囲で入賞ラインL1〜L4に引込可能な範囲と、が重複しないため、双方の図柄を共通して引込可能な範囲は存在しないようになっている。また、最大4コマの引込範囲で「青7」及び「青チェリー」のいずれも入賞ラインL1〜L4に引き込めない範囲については、最大4コマの引込範囲でチャンス目が割り当てられており、これらの停止位置を引込可能な領域番号に対して、チャンス目を構成する停止位置を引き込む滑りコマ数が定められている。
共通テーブル作成用データ(3)には、白チェリーの組合せ及びビッグボーナス(3)の組合せが入賞ラインL1〜L4のいずれかに揃う停止位置を最大4コマの引込範囲で引き込んで停止させるとともに、チャンス目を構成する停止位置が停止可能に定められた停止制御テーブルが格納されている。
特に、共通テーブル作成用データ(3)から特定される停止制御テーブルのうち、全てのリールが回転中の状態で、左リールに適用される停止制御テーブル停止制御テーブルにおいては、最大4コマの引込範囲で「白チェリー」を入賞ラインL1〜L4に引込可能な領域番号8〜14に対して、「白チェリー」を入賞ラインL1〜L4に引き込む滑りコマ数が定められている。また、最大4コマの引込範囲で「白7」を入賞ラインL1〜L4に引込可能な領域番号0〜4、19、20に対して、「白7」を入賞ラインL1〜L4に引き込む滑りコマ数が定められている。尚、本実施例では、左リールにおいて「白チェリー」を最大4コマの引込範囲で入賞ラインL1〜L4に引込可能な範囲と、「白7」を最大4コマの引込範囲で入賞ラインL1〜L4に引込可能な範囲と、が重複しないため、双方の図柄を共通して引込可能な範囲は存在しないようになっている。また、最大4コマの引込範囲で「白7」及び「白チェリー」のいずれも入賞ラインL1〜L4に引き込めない範囲については、最大4コマの引込範囲でチャンス目が割り当てられており、これらの停止位置を引込可能な領域番号に対して、チャンス目を構成する停止位置を引き込む滑りコマ数が定められている。
共通テーブル作成用データ(4)には、リプレイ(1)の組合せが入賞ラインL1〜L4のいずれかに揃う停止位置を最大4コマの引込範囲で引き込んで停止させるように定められた停止制御テーブルが格納されている。
共通テーブル作成用データ(5)には、リプレイ(2)の組合せが入賞ラインL1〜L4のいずれかに揃う停止位置を最大4コマの引込範囲で引き込んで停止させるように定められた停止制御テーブルが格納されている。
尚、ベルの当選時には、第1停止のみ停止制御テーブルが用いられるので、ベルに対応するテーブル作成用データには、第1停止用の停止制御テーブルのみが格納されており、第2停止以降に参照すべき停止制御テーブルのアドレスや第2停止以降に用いられる停止制御テーブルは格納されていない。同様にリプレイ(1)、ビッグボーナス(1)+リプレイ(1)、ビッグボーナス(2)+リプレイ(1)、ビッグボーナス(3)+リプレイ(1)の当選時、リプレイ(2)、ビッグボーナス(1)+リプレイ(2)、ビッグボーナス(2)+リプレイ(2)、ビッグボーナス(3)+リプレイ(2)の当選時、ビッグボーナス(4)の当選時、ビッグボーナス(5)の当選時においても、第1停止のみ停止制御テーブルが用いられるので、これらに対応する共通テーブル作成用データ(4)、共通テーブル作成用データ(5)、ビッグボーナス(4)に対応するテーブル作成用データ、ビッグボーナス(5)に対応するテーブル作成用データには、第1停止用の停止制御テーブルのみが格納されており、第2停止以降に参照すべき停止制御テーブルのアドレスや第2停止以降に用いられる停止制御テーブルは格納されていない。
ここで停止制御の方法別の停止制御の内容について説明する。
まず、CPU41aが、テーブル方式によって停止制御を行う場合には、図16に示すように、リールの回転が開始したとき、またはリールが停止し、かつ未だ回転中のリールが残っているときに、リールの停止操作が有効になる前の段階においてテーブルインデックスを参照し、未停止のリールについて内部抽選の結果、停止済みのリールがある場合には、そのリールの停止位置に対応するテーブル作成用データの停止制御テーブルを選択する。
そして、選択した停止制御テーブルを展開してリール別にRAM41cに割り当てられた仮想滑りコマテーブル(図20参照)に格納する。
仮想滑りコマテーブルは、図20に示すように、各リール毎に、領域番号に対応して、各領域番号に対応する領域が停止基準位置(本実施例では、透視窓3の下段図柄の領域)に位置するタイミング(リール基準位置からのステップ数が各領域番号のステップ数の範囲に含まれるタイミング)でストップスイッチ8L、8C、8Rの操作が検出された場合の滑りコマ数がそれぞれ格納されるテーブルであり、停止制御テーブルから展開した滑りコマ数が、該当するリールの該当する領域番号に対応して格納されることとなる。
次に、CPU41aが、コントロール方式によって停止制御を行う場合には、図17に示すように、リールが停止し、かつ未だ回転中のリールが残っているときに、リールの停止操作が有効になる前の段階において未停止のリールについて内部抽選の結果、停止済みのリールの停止位置に基づいて、停止位置毎に異常入賞(内部抽選で当選していない役)の判定及び停止禁止位置(停止した場合に、未停止のリールにおいて異常入賞(当選役以外の入賞)や重複入賞を回避できなくなる停止位置)の判定を行い、異常入賞や停止禁止位置である場合には、停止禁止位置フラグを設定する。
次いで、停止操作位置毎に内部抽選の結果に対応する停止位置(当選役が入賞ライン上に揃う停止位置)を検索する。
詳しくは、停止操作位置毎に、0〜4の滑りコマ数別の停止位置を、役に応じた順番(ベル、ビッグボーナス(4)、ビッグボーナス(5)の場合には、滑りコマ数が4、0、3、1、2の順番、リプレイ(1)、リプレイ(2)の場合には、滑りコマ数が0、1、2、3、4の順番)で特定し、特定した停止位置において当選役が入賞ライン上に揃う停止位置か否かの判定をし、当選役が入賞ライン上に揃う停止位置と判定された場合には、更に、その停止位置に対して停止禁止位置フラグが設定されているか否かの判定をし、停止禁止位置フラグが設定されていなければ、その停止位置を取得し、取得した停止位置となる滑りコマ数を仮想滑りコマテーブルにおける該当するリールの該当する停止操作位置の領域番号に格納する。
また、当選役が入賞ライン上に揃う停止位置と判定された場合でも、その停止位置に対して停止禁止位置フラグが設定されていれば、次の停止位置についての判定を行う。また、全ての滑りコマ数の停止位置の判定を行っても当選役が入賞ライン上に揃う停止位置がない場合、または当選役が入賞ライン上に揃う停止位置があっても停止禁止位置フラグが設定されている場合には、最後に判定した停止位置となる滑りコマ数を仮想滑りコマテーブルの該当するリール、該当する停止操作位置の領域番号に格納する。すなわちベル、ビッグボーナス(4)、ビッグボーナス(5)の場合には、滑りコマ数4、リプレイ(1)、リプレイ(2)の場合には0がそれぞれ格納されることとなる。また、最後に判定した停止位置に対して停止禁止位置フラグが設定されている場合には、停止禁止位置フラグが設定されていない停止位置まで遡って取得し、取得した停止位置となる滑りコマ数を仮想滑りコマテーブルにおける該当するリールの該当する停止操作位置の領域番号に格納する。尚、本実施例では、後述するように「ベル」、「リプレイ」の図柄が全てのリールにおいて4コマ以内の間隔で配置されており、0〜5コマの範囲でリールを引き込んで停止させることにより必ずベル、ビッグボーナス(4)、ビッグボーナス(5)、リプレイ(1)またはリプレイ(2)の組合せを入賞ライン上に揃えることが可能であるため、必ず当選役が入賞ライン上に揃う停止位置となる滑りコマ数が格納されることとなる。
仮想滑りコマテーブルにおける回転中のリールの全ての領域番号に対して滑りコマ数が格納された後、停止操作を有効とし、この状態でストップスイッチ8L、8C、8Rのうち、回転中のリールに対応するいずれかの操作が有効に検出されたときに、停止操作を検出した時点のリール基準位置からのステップ数に基づいて停止操作位置の領域番号を特定し、停止操作が検出されたリールの仮想滑りコマテーブルを参照し、特定した停止操作位置の領域番号に対応する滑りコマ数を取得する。そして取得した滑りコマ数に基づいて、操作されたストップスイッチ8L、8C、8Rに対応するリール2L、2C、2Rの回転を停止させる制御を行う。
次に、CPU41aが、テーブル+コントロール方式によって停止制御を行う場合には、図18に示すように、リールの回転が開始したとき、またはリールが停止し、かつ未だ回転中のリールが残っているときに、リールの停止操作が有効になる前の段階においてテーブルインデックスを参照し、未停止のリールについて内部抽選の結果に対応するテーブル作成用データから、停止済みのリールの停止位置に対応する停止制御テーブルを選択する。
そして、選択した停止制御テーブルを展開して停止操作位置毎の滑りコマ数を取得し、取得した滑りコマ数を仮想滑りコマテーブルにおける該当するリールの該当する領域番号に格納する。
次いで、未停止のリールについて内部抽選の結果、停止済みのリールの停止位置に基づいて、停止位置毎に異常入賞(内部抽選で当選していない役)の判定及び停止禁止位置(停止した場合に、未停止のリールにおいて異常入賞(当選役以外の入賞)や重複入賞を回避できなくなる停止位置)の判定を行い、異常入賞や停止禁止位置である場合には、停止禁止位置フラグを設定する。
特に、本実施例では、共通テーブル作成用データから特定される停止制御テーブルにおいて、複数の役を入賞ラインに揃えることが可能とされている。
このため、最終停止リールについて、他の停止済みのリールの結果として当選していない役の一部が入賞ラインに揃っている場合には、その入賞ラインに当選していない役が揃ってしまう停止位置に対して停止禁止位置フラグが設定される。また、第1停止または第2停止であっても、未停止のリールにおいて異常入賞や重複入賞を回避できなくなる停止位置(例えば、一方の役は回避できるものの、他の役が揃ってしまう等)について停止禁止位置フラグが設定される。
次いで、停止操作位置毎に、内部抽選の結果、停止済みのリールの停止位置に基づいて、停止操作位置毎に停止位置を検索する。
詳しくは、停止操作位置毎に、0〜4の滑りコマ数別の停止位置を、仮想滑りコマテーブルに格納されている滑りコマ数に応じて定められた順番(本実施例では、図19(a)に示す順番が定められている。例えば、仮想滑りコマテーブルに格納されている滑りコマ数が0であれば、滑りコマ数0、滑りコマ数3、滑りコマ数1、滑りコマ数2、滑りコマ数4の順番)で特定し、特定した停止位置の優先度と、仮想滑りコマテーブルに格納されている停止制御テーブルから展開された滑りコマ数による停止位置の優先度と、を比較する。
そして、比較の結果、仮想滑りコマテーブルに格納されている滑りコマ数による停止位置の優先度よりも滑りコマ数別に特定した停止位置の優先度の方が高いか否かを判定する。停止位置の優先度は、図19(b)に示すように、停止禁止位置フラグが設定されている停止位置よりも停止禁止位置フラグが設定されていない停止位置の方が優先度が高く、当選役が入賞ラインL1〜L4のいずれにも揃わない停止位置よりも当選役が入賞ラインL1〜L4のいずれかに揃う停止位置の方が優先度が高く、当選役が特別役+小役である場合には、小役が入賞ラインL1〜L4のいずれかに揃う停止位置よりも特別役が入賞ラインL1〜L4のいずれかに揃う停止位置の方が優先度が高いものとして判定する。また、第1停止及び第2停止においては、当選役が特別役+小役である場合に、当選した特別役と小役の双方が入賞ラインL1〜L4のいずれかに揃う停止位置があれば、停止禁止位置フラグが設定されている場合を除いて、その停止位置を単独で特別役や小役が入賞ラインL1〜L4のいずれかに揃う停止位置よりも優先度が高いものとして判定する。また、当選役が払出の異なる複数の小役である場合に、相対的に払出の少ない小役が入賞ラインL1〜L4のいずれかに揃う停止位置よりも相対的に払出の多い小役が入賞ラインL1〜L4のいずれかに揃う停止位置の方が優先度が高いものとして判定する。また、当選役が入賞ラインL1〜L6のいずれにも揃う停止位置であれば、当選役が入賞ラインL5、L6のいずれかに揃う停止位置よりも当選役が入賞ラインL1〜L4のいずれかに揃う停止位置の方が優先度が高いものとして判定する。尚、停止位置の優先度を判定する際には、図19(b)に示すように停止位置の種類同士の優先度を設定した優先度テーブルを設け、優先度テーブルを参照してどちらの停止位置の優先度が高いか否かを判定するようにしても良いし、予め定められた優先度(図19(b)に示す優先度)に従って、優先度の高い停止位置が優先度の低い停止位置よりも優先度が高いと判定されるようにしたプログラム(例えば、双方の停止位置が当選役が揃う停止位置か否かを判定し、一方は当選役が揃わない停止位置であり、他方は当選役が揃う停止位置であれば、当選役が揃う停止位置の方が優先度が高いと判定するプログラムなど)とすることで、どちらの停止位置の優先度が高いか否かを判定するようにしても良い。
そして、仮想滑りコマテーブルに格納されている滑りコマ数による停止位置の優先度よりも滑りコマ数別に特定した停止位置の優先度の方が高いと判定された場合には、仮想滑りコマテーブルにおける該当するリールの該当する停止操作位置の領域番号に格納されている滑りコマ数を、滑りコマ数別に検索した停止位置となる滑りコマ数に更新する。
また、全ての滑りコマ数の停止位置と比較しても、仮想滑りコマテーブルに格納されている滑りコマ数による停止位置の優先度よりも滑りコマ数別に検索した停止位置の優先度の方が高いと判定されなかった場合には、仮想滑りコマテーブルに格納されている滑りコマ数を更新せず、停止制御テーブルから展開した滑りコマ数を維持する。
例えば、ビッグボーナス(1)のみが当選しており、全てのリールが未だ回転中の状態を例に説明すると、図21に示すように、左リールの領域番号0、8〜20の停止操作位置については、停止制御テーブルから展開された滑りコマ数による停止位置に対して停止禁止フラグも設定されておらず、かつこれら停止位置の優先度よりも高い停止位置が、滑りコマ数別に特定した停止位置には存在しないことから、停止制御テーブルから展開されて仮想滑りコマテーブルに格納されている滑りコマ数が維持される。また、領域番号1〜7の停止操作位置については、停止制御テーブルから展開された滑りコマ数による停止位置(領域番号5、7)に対して停止禁止位置フラグが設定されている。すなわちこれらの停止操作位置から特定される停止位置の優先度よりも高い停止位置が存在するので、そのうち図19(a)に示す順番で、最も早い段階で優先度が高いと判定される滑りコマ数(領域番号5、7の停止操作位置については滑りコマ数3、領域番号1〜4、6の停止操作位置については滑りコマ数0)に仮想滑りコマテーブルの滑りコマ数を更新する。
そして、仮想滑りコマテーブルにおける回転中のリールの全ての領域番号に対して滑りコマ数の優先度の比較が終了した後、停止操作を有効とし、この状態でストップスイッチ8L、8C、8Rのうち、回転中のリールに対応するいずれかの操作が有効に検出されたときに、停止操作を検出した時点のリール基準位置からのステップ数に基づいて停止操作位置の領域番号を特定し、停止操作が検出されたリールの仮想滑りコマテーブルを参照し、特定した停止操作位置の領域番号に対応する滑りコマ数を取得する。そして取得した滑りコマ数に基づいて、操作されたストップスイッチ8L、8C、8Rに対応するリール2L、2C、2Rの回転を停止させる制御を行う。
本実施例では、一の遊技状態における一の内部抽選結果、及びリールの停止状況(及び停止済みのリールの停止位置)に対応する停止制御の方法、テーブル方式及びテーブル+コントロール方式で停止制御を行う際に参照する停止制御テーブル、コントロール方式で停止制御を行う際の停止位置の検索順、テーブル+コントロール方式で停止制御を行う際の停止位置の優先度の判定順、が一意的に定められており、仮想滑りコマテーブルに格納される滑りコマ数も、一の遊技状態における一の内部抽選結果、及びリールの停止状況(及び停止済みのリールの停止位置)に対して一意となる。このため、遊技状態、内部抽選結果、リールの停止状況(及び停止済みのリールの停止位置)の全てが同一条件となった際に、同一の制御パターンに基づいてリールの停止制御が行われることとなる。
本実施例では、いずれの停止制御を適用した場合にも、滑りコマ数が必ず0〜4の範囲となるため、停止操作を検出してから最大4図柄を引き込んでリールを停止させることが可能である。すなわち停止操作を検出した停止操作位置を含め、最大5コマの範囲から図柄の停止位置を指定できるようになっている。また、1図柄分リールを移動させるのに1コマの移動が必要であるので、停止操作を検出してから最大4図柄を引き込んでリールを停止させることが可能であり、停止操作を検出した停止操作位置を含め、最大5図柄の範囲から図柄の停止位置を指定できることとなる。
このため、いずれかの役に当選している場合には、停止制御の方法に関わらず、当選役を4コマの範囲で最大限引き込み、当選していない役が揃わないように引き込む滑りコマ数が仮想滑りコマテーブルに格納され、リールの停止制御が行われる一方、いずれの役にも当選していない場合には、いずれの役も揃わない滑りコマ数が仮想滑りコマテーブルに格納され、リールの停止制御が行われる。これにより、停止操作が行われた際に、入賞ライン上に最大4コマの引込範囲で当選している役の図柄を揃えて停止させることができれば、これを揃えて停止させる制御が行われ、当選していない役の図柄は、最大4コマの引込範囲でハズシて停止させる制御が行われることとなる。
いずれの役も当選していない場合、すなわちハズレの場合には、第1〜3停止時においては、ハズレに対応するテーブル作成用データを用いていずれの役も入賞ラインに揃うことがなく、チャンス目も停止することのない滑りコマ数が仮想滑りコマテーブルに格納される。これにより、停止操作が行われた際に、いずれの役も入賞ラインに揃うことがなく、かつチャンス目も停止しないように停止制御が行われることとなる。
リプレイ(1)、ビッグボーナス(1)+リプレイ(1)、ビッグボーナス(2)+リプレイ(1)、ビッグボーナス(3)+リプレイ(1)のいずれかが当選している場合には、第1停止時においては、共通データ作成用テーブル(4)を用いてリプレイ(1)の組合せを構成する図柄を4コマの引込範囲で入賞ラインL1〜L4のいずれかに最大限引き込む滑りコマ数が仮想滑りコマテーブルに格納され、リールの停止制御が行われる。また、第2、第3停止時においては、停止済みのリールの停止位置から入賞ラインL1〜L4に最大4コマの引込範囲でリプレイ(1)を揃えて停止させる停止位置が停止操作位置毎に検索され、リプレイ(1)を揃えて停止させる停止位置となる滑りコマ数が停止操作位置毎に仮想滑りコマテーブルに格納される。これにより、停止操作が行われた際に、入賞ラインL1〜L4に最大4コマの引込範囲でリプレイ(1)の組合せを揃えて停止させることができれば、これを揃えて停止させる制御が行われることとなる。
リプレイ(2)、ビッグボーナス(1)+リプレイ(2)、ビッグボーナス(2)+リプレイ(2)、ビッグボーナス(3)+リプレイ(2)のいずれかが当選している場合には、第1停止時においては、共通データ作成用テーブル(5)を用いてリプレイ(2)の組合せを構成する図柄を4コマの引込範囲で入賞ラインL1〜L4のいずれかに最大限引き込む滑りコマ数が仮想滑りコマテーブルに格納される。また、第2、第3停止時においては、停止済みのリールの停止位置から入賞ラインL1〜L4に最大4コマの引込範囲でリプレイ(2)を揃えて停止させる停止位置が停止操作位置毎に検索され、リプレイ(2)を揃えて停止させる停止位置となる滑りコマ数が停止操作位置毎に仮想滑りコマテーブルに格納される。これにより、停止操作が行われた際に、入賞ラインL1〜L4に最大4コマの引込範囲でリプレイ(2)の組合せを揃えて停止させることができれば、これを揃えて停止させる制御が行われることとなる。
赤チェリーが当選している場合には、第1〜3停止時においては、共通データ作成用テーブル(1)を用いて赤チェリーの組合せを構成する図柄及びビッグボーナス(1)の組合せを構成する図柄を4コマの引込範囲で入賞ラインL1〜L4のいずれかに最大限引き込む滑りコマ数及びチャンス目を引き込む滑りコマ数が仮想滑りコマテーブルに格納された後、赤チェリー以外の役の入賞(ビッグボーナス(1))や重複入賞を回避できない停止禁止位置となる滑りコマ数が格納された停止操作位置については、停止禁止位置以外の停止位置となる滑りコマ数に更新される。詳しくは、第1停止及び第2停止時においては、第3停止リールの停止操作位置によっては赤チェリー以外の入賞や重複入賞を回避不可能となる停止位置となる滑りコマ数が格納された停止操作位置の滑りコマ数が、赤チェリー以外の入賞や重複入賞を回避可能となる停止位置となる滑りコマ数に更新され、それ以外の停止操作位置の滑りコマ数は維持される。また、第3停止時においては、赤チェリー以外の入賞や重複入賞を回避不可能となる停止位置となる滑りコマ数が格納された停止操作位置の滑りコマ数が、赤チェリー以外の入賞や重複入賞を回避可能となる停止位置となる滑りコマ数に更新され、それ以外の停止操作位置の滑りコマ数は維持される。これにより、停止操作が行われた際に、入賞ラインL1〜L4に最大4コマの引込範囲で赤チェリーの組合せを揃えて停止させることができれば、これを揃えて停止させる制御が行われ、当選していないビッグボーナス(1)の組合せは、最大4コマの引込範囲でハズシて停止させる制御が行われることとなる。
青チェリーが当選している場合には、第1〜3停止時においては、共通データ作成用テーブル(2)を用いて青チェリーの組合せを構成する図柄及びビッグボーナス(2)の組合せを構成する図柄を4コマの引込範囲で入賞ラインL1〜L4のいずれかに最大限引き込む滑りコマ数及びチャンス目を引き込む滑りコマ数が仮想滑りコマテーブルに格納された後、青チェリー以外の役の入賞(ビッグボーナス(2))や重複入賞を回避できない停止禁止位置となる滑りコマ数が格納された停止操作位置については、停止禁止位置以外の停止位置となる滑りコマ数に更新される。これにより、停止操作が行われた際に、入賞ラインL1〜L4に最大4コマの引込範囲で青チェリーの組合せを揃えて停止させることができれば、これを揃えて停止させる制御が行われ、当選していないビッグボーナス(2)の組合せは、最大4コマの引込範囲でハズシて停止させる制御が行われることとなる。
白チェリーが当選している場合には、第1〜3停止時においては、共通データ作成用テーブル(3)を用いて白チェリーの組合せを構成する図柄及びビッグボーナス(3)の組合せを構成する図柄を4コマの引込範囲で入賞ラインL1〜L4のいずれかに最大限引き込む滑りコマ数及びチャンス目を引き込む滑りコマ数が仮想滑りコマテーブルに格納された後、白チェリー以外の役の入賞(ビッグボーナス(3))や重複入賞を回避できない停止禁止位置となる滑りコマ数が格納された停止操作位置については、停止禁止位置以外の停止位置となる滑りコマ数に更新される。これにより、停止操作が行われた際に、入賞ラインL1〜L4に最大4コマの引込範囲で白チェリーの組合せを揃えて停止させることができれば、これを揃えて停止させる制御が行われ、当選していないビッグボーナス(3)の組合せは、最大4コマの引込範囲でハズシて停止させる制御が行われることとなる。
ベルが当選している場合には、第1停止時においては、ベルに対応するデータ作成用テーブルを用いてベルの組合せを構成する図柄を4コマの引込範囲で入賞ラインL1〜L4のいずれかに最大限引き込む滑りコマ数が仮想滑りコマテーブルに格納される。また、第2、第3停止時においては、停止済みのリールの停止位置から入賞ラインL1〜L4に最大4コマの引込範囲でベルを揃えて停止させる停止位置が停止操作位置毎に検索され、ベルを揃えて停止させる停止位置となる滑りコマ数が停止操作位置毎に仮想滑りコマテーブルに格納される。これにより、停止操作が行われた際に、入賞ラインL1〜L4に最大4コマの引込範囲でベルの組合せを揃えて停止させることができれば、これを揃えて停止させる制御が行われることとなる。
ベル+赤チェリーが当選している場合には、第1〜3停止時においては、共通データ作成用テーブル(1)を用いて赤チェリーの組合せを構成する図柄及びビッグボーナス(1)の組合せ及びチャンス目を引き込む滑りコマ数を構成する図柄を4コマの引込範囲で入賞ラインL1〜L4のいずれかに最大限引き込む滑りコマ数が仮想滑りコマテーブルに格納された後、赤チェリーを構成する図柄を入賞ラインL1〜L4に引き込む停止操作位置のうち、赤チェリーよりも払出枚数の多いベルを入賞ラインL1〜L4に引き込める停止操作位置の滑りコマ数、赤チェリーを構成する図柄を入賞ラインL1〜L4に引き込まない停止操作位置の滑りコマ数が、ベルを入賞ラインL1〜L4に引き込む滑りコマ数に更新され、赤チェリー及びベル以外の役の入賞(ビッグボーナス(1))や重複入賞を回避できない停止禁止位置となる滑りコマ数が格納された停止操作位置については、停止禁止位置以外の停止位置となる滑りコマ数に更新される。尚、これら以外の停止操作位置の滑りコマ数は維持される。これにより、停止操作が行われた際に、入賞ラインL1〜L4に最大4コマの引込範囲でベルの組合せを揃えて停止させることができれば、これを揃えて停止させる制御が行われ、入賞ラインL1〜L4に最大4コマの引込範囲でベルの組合せを引き込めない場合には、入賞ラインL1〜L4に最大4コマの引込範囲で赤チェリーの組合せを揃えて停止させることができれば、これを揃えて停止させる制御が行われることとなる。すなわちこのような場合には、赤チェリーよりも払出枚数の多いベルを入賞ラインL1〜L4に揃える制御が優先され、ベルを引き込めない場合にのみ、赤チェリーを入賞させることが可能となる。尚、本実施例では、後述のようにベルを構成する図柄が全てのリールについて引込範囲内となるように配置されているため、ベル+赤チェリーが当選した場合には、必ずベルの組合せが入賞ラインL1〜L4のいずれかに揃うようになっている。
ベル+青チェリーが当選している場合には、第1〜3停止時においては、共通データ作成用テーブル(2)を用いて青チェリーの組合せを構成する図柄及びビッグボーナス(2)の組合せ及びチャンス目を引き込む滑りコマ数を構成する図柄を4コマの引込範囲で入賞ラインL1〜L4のいずれかに最大限引き込む滑りコマ数が仮想滑りコマテーブルに格納された後、青チェリーを構成する図柄を入賞ラインL1〜L4に引き込む停止操作位置のうち、青チェリーよりも払出枚数の多いベルを入賞ラインL1〜L4に引き込める停止操作位置の滑りコマ数、青チェリーを構成する図柄を入賞ラインL1〜L4に引き込まない停止操作位置の滑りコマ数が、ベルを入賞ラインL1〜L4に引き込む滑りコマ数に更新され、青チェリー及びベル以外の役の入賞(ビッグボーナス(2))や重複入賞を回避できない停止禁止位置となる滑りコマ数が格納された停止操作位置については、停止禁止位置以外の停止位置となる滑りコマ数に更新される。尚、これら以外の停止操作位置の滑りコマ数は維持される。これにより、停止操作が行われた際に、入賞ラインL1〜L4に最大4コマの引込範囲でベルの組合せを揃えて停止させることができれば、これを揃えて停止させる制御が行われ、入賞ラインL1〜L4に最大4コマの引込範囲でベルの組合せを引き込めない場合には、入賞ラインL1〜L4に最大4コマの引込範囲で青チェリーの組合せを揃えて停止させることができれば、これを揃えて停止させる制御が行われることとなる。すなわちこのような場合には、青チェリーよりも払出枚数の多いベルを入賞ラインL1〜L4に揃える制御が優先され、ベルを引き込めない場合にのみ、青チェリーを入賞させることが可能となる。尚、本実施例では、後述のようにベルを構成する図柄が全てのリールについて引込範囲内となるように配置されているため、ベル+青チェリーが当選した場合には、必ずベルの組合せが入賞ラインL1〜L4のいずれかに揃うようになっている。
ベル+白チェリーが当選している場合には、第1〜3停止時においては、共通データ作成用テーブル(3)を用いて白チェリーの組合せを構成する図柄及びビッグボーナス(3)の組合せ及びチャンス目を引き込む滑りコマ数を構成する図柄を4コマの引込範囲で入賞ラインL1〜L4のいずれかに最大限引き込む滑りコマ数が仮想滑りコマテーブルに格納された後、白チェリーを構成する図柄を入賞ラインL1〜L4に引き込む停止操作位置のうち、白チェリーよりも払出枚数の多いベルを入賞ラインL1〜L4に引き込める停止操作位置の滑りコマ数、白チェリーを構成する図柄を入賞ラインL1〜L4に引き込まない停止操作位置の滑りコマ数が、ベルを入賞ラインL1〜L4に引き込む滑りコマ数に更新され、白チェリー及びベル以外の役の入賞(ビッグボーナス(3))や重複入賞を回避できない停止禁止位置となる滑りコマ数が格納された停止操作位置については、停止禁止位置以外の停止位置となる滑りコマ数に更新される。尚、これら以外の停止操作位置の滑りコマ数は維持される。これにより、停止操作が行われた際に、入賞ラインL1〜L4に最大4コマの引込範囲でベルの組合せを揃えて停止させることができれば、これを揃えて停止させる制御が行われ、入賞ラインL1〜L4に最大4コマの引込範囲でベルの組合せを引き込めない場合には、入賞ラインL1〜L4に最大4コマの引込範囲で白チェリーの組合せを揃えて停止させることができれば、これを揃えて停止させる制御が行われることとなる。すなわちこのような場合には、白チェリーよりも払出枚数の多いベルを入賞ラインL1〜L4に揃える制御が優先され、ベルを引き込めない場合にのみ、白チェリーを入賞させることが可能となる。尚、本実施例では、後述のようにベルを構成する図柄が全てのリールについて引込範囲内となるように配置されているため、ベル+白チェリーが当選した場合には、必ずベルの組合せが入賞ラインL1〜L4のいずれかに揃うようになっている。
ビッグボーナス(1)が当選している場合には、第1〜3停止時においては、共通データ作成用テーブル(1)を用いて赤チェリーの組合せを構成する図柄及びビッグボーナス(1)の組合せを構成する図柄を4コマの引込範囲で入賞ラインL1〜L4のいずれかに最大限引き込む滑りコマ数及びチャンス目を引き込む滑りコマ数が仮想滑りコマテーブルに格納された後、ビッグボーナス(1)以外の役の入賞(赤チェリー)や重複入賞を回避できない停止禁止位置となる滑りコマ数が格納された停止操作位置については、停止禁止位置以外の停止位置となる滑りコマ数に更新される。詳しくは、第1停止及び第2停止時においては、第3停止リールの停止操作位置によってはビッグボーナス(1)以外の入賞や重複入賞を回避不可能となる停止位置となる滑りコマ数が格納された停止操作位置の滑りコマ数が、ビッグボーナス(1)以外の入賞や重複入賞を回避可能となる停止位置となる滑りコマ数に更新され、それ以外の停止操作位置の滑りコマ数は維持される。また、第3停止時においては、ビッグボーナス(1)以外の入賞や重複入賞を回避不可能となる停止位置となる滑りコマ数が格納された停止操作位置の滑りコマ数が、ビッグボーナス(1)以外の入賞や重複入賞を回避可能となる停止位置となる滑りコマ数に更新され、それ以外の停止操作位置の滑りコマ数は維持される。これにより、停止操作が行われた際に、入賞ラインL1〜L4に最大4コマの引込範囲でビッグボーナス(1)の組合せを揃えて停止させることができれば、これを揃えて停止させる制御が行われ、当選していない赤チェリーの組合せは、最大4コマの引込範囲でハズシて停止させる制御が行われることとなる。
ビッグボーナス(1)+赤チェリーが当選している場合には、第1〜3停止時においては、共通データ作成用テーブル(1)を用いて赤チェリーの組合せを構成する図柄及びビッグボーナス(1)の組合せを構成する図柄を4コマの引込範囲で入賞ラインL1〜L4のいずれかに最大限引き込む滑りコマ数及びチャンス目を引き込む滑りコマ数が仮想滑りコマテーブルに格納された後、ビッグボーナス(1)及び赤チェリー以外の役の入賞(異常入賞)や重複入賞を回避できない停止禁止位置となる滑りコマ数が格納された停止操作位置については、停止禁止位置以外の停止位置となる滑りコマ数に更新される。詳しくは、第1停止及び第2停止時においては、第3停止リールの停止操作位置によってはビッグボーナス(1)及び赤チェリー以外の入賞や重複入賞を回避不可能となる停止位置となる滑りコマ数が格納された停止操作位置の滑りコマ数が、ビッグボーナス(1)及び赤チェリー以外の入賞や重複入賞を回避可能となる停止位置となる滑りコマ数に更新され、それ以外の停止操作位置の滑りコマ数は維持される。また、第3停止時においては、ビッグボーナス(1)及び赤チェリー以外の入賞や重複入賞を回避不可能となる停止位置となる滑りコマ数が格納された停止操作位置の滑りコマ数が、ビッグボーナス(1)及び赤チェリー以外の入賞や重複入賞を回避可能となる停止位置となる滑りコマ数に更新され、それ以外の停止操作位置の滑りコマ数は維持される。これにより、停止操作が行われた際に、入賞ラインL1〜L4に最大4コマの引込範囲でビッグボーナス(1)の組合せを揃えて停止させることができれば、これを揃えて停止させる制御が行われ、入賞ラインL1〜L4に最大4コマの引込範囲で赤チェリーの組合せを揃えて停止させることができれば、これを揃えて停止させる制御が行われることとなる。
ビッグボーナス(1)+青チェリーが当選している場合には、第1〜3停止時においては、共通データ作成用テーブル(1)を用いて赤チェリーの組合せを構成する図柄及びビッグボーナス(1)の組合せを構成する図柄を4コマの引込範囲で入賞ラインL1〜L4のいずれかに最大限引き込む滑りコマ数及びチャンス目を引き込む滑りコマ数が仮想滑りコマテーブルに格納された後、ビッグボーナス(1)を構成する図柄を入賞ラインL1〜L4に引き込めない停止操作位置のうち、青チェリーが入賞ラインL1〜L4に揃う停止位置とならない停止操作位置の滑りコマ数が、青チェリーが入賞ラインL1〜L4に揃う停止位置となる滑りコマ数に更新され、ビッグボーナス(1)及び青チェリー以外の役の入賞(赤チェリー)や重複入賞を回避できない停止禁止位置となる滑りコマ数が格納された停止操作位置については、停止禁止位置以外の停止位置となる滑りコマ数に更新され、これら以外の停止操作位置の滑りコマ数は維持される。これにより、停止操作が行われた際に、入賞ラインL1〜L4に最大4コマの引込範囲でビッグボーナス(1)の組合せを揃えて停止させることができれば、これを揃えて停止させる制御が行われ、入賞ラインL1〜L4に最大4コマの引込範囲でビッグボーナス(1)の組合せを引き込めない場合には、入賞ラインL1〜L4に最大4コマの引込範囲で青チェリーの組合せを揃えて停止させることができれば、これを揃えて停止させる制御が行われ、当選していない赤チェリーの組合せは、最大4コマの引込範囲でハズシて停止させる制御が行われることとなる。すなわちこのような場合には、青チェリーよりもビッグボーナス(1)を入賞ラインL1〜L4に揃える制御が優先され、ビッグボーナス(1)を引き込めない場合にのみ、青チェリーを入賞させることが可能となる。
ビッグボーナス(1)+白チェリーが当選している場合には、第1〜3停止時においては、共通データ作成用テーブル(1)を用いて赤チェリーの組合せを構成する図柄及びビッグボーナス(1)の組合せを構成する図柄を4コマの引込範囲で入賞ラインL1〜L4のいずれかに最大限引き込む滑りコマ数及びチャンス目を引き込む滑りコマ数が仮想滑りコマテーブルに格納された後、ビッグボーナス(1)を構成する図柄を入賞ラインL1〜L4に引き込めない停止操作位置のうち、白チェリーが入賞ラインL1〜L4に揃う停止位置とならない停止操作位置の滑りコマ数が、白チェリーが入賞ラインL1〜L4に揃う停止位置となる滑りコマ数に更新され、ビッグボーナス(1)及び白チェリー以外の役の入賞(赤チェリー)や重複入賞を回避できない停止禁止位置となる滑りコマ数が格納された停止操作位置については、停止禁止位置以外の停止位置となる滑りコマ数に更新され、これら以外の停止操作位置の滑りコマ数は維持される。これにより、停止操作が行われた際に、入賞ラインL1〜L4に最大4コマの引込範囲でビッグボーナス(1)の組合せを揃えて停止させることができれば、これを揃えて停止させる制御が行われ、入賞ラインL1〜L4に最大4コマの引込範囲でビッグボーナス(1)の組合せを引き込めない場合には、入賞ラインL1〜L4に最大4コマの引込範囲で白チェリーの組合せを揃えて停止させることができれば、これを揃えて停止させる制御が行われ、当選していない赤チェリーの組合せは、最大4コマの引込範囲でハズシて停止させる制御が行われることとなる。すなわちこのような場合には、白チェリーよりもビッグボーナス(1)を入賞ラインL1〜L4に揃える制御が優先され、ビッグボーナス(1)を引き込めない場合にのみ、白チェリーを入賞させることが可能となる。
ビッグボーナス(1)+ベルが当選している場合には、第1〜3停止時においては、共通データ作成用テーブル(1)を用いて赤チェリーの組合せを構成する図柄及びビッグボーナス(1)の組合せを構成する図柄を4コマの引込範囲で入賞ラインL1〜L4のいずれかに最大限引き込む滑りコマ数及びチャンス目を引き込む滑りコマ数が仮想滑りコマテーブルに格納された後、第1停止及び第2停止時においては、ビッグボーナス(1)を構成する図柄を入賞ラインL1〜L4に引き込めない停止操作位置のうち、ベルが入賞ラインL1〜L4に揃う停止位置とならない停止操作位置の滑りコマ数が、ベルが入賞ラインL1〜L4に揃う停止位置となる滑りコマ数に更新され、ビッグボーナス(1)を構成する図柄を入賞ラインL1〜L4に引き込むがベルが入賞ラインL1〜L4に揃う停止位置とならない停止操作位置のうち、ビッグボーナス(1)を構成する図柄及びベルの双方が入賞ラインL1〜L4に揃う停止位置を最大4コマの範囲で引き込める停止操作位置であれば、ビッグボーナス(1)を構成する図柄及びベルの双方が入賞ラインL1〜L4に揃う停止位置となる滑りコマ数に更新される。また、第3停止時においては、第1停止及び第2停止リールのいずれかの入賞ラインL1〜L4にベルが揃っている場合には、当該入賞ライン上にベル以外の図柄を引き込む停止操作位置の滑りコマ数が、当該入賞ライン上にベルを引き込む滑りコマ数に更新される。また、ビッグボーナス(1)及びベル以外の役の入賞(赤チェリー)や重複入賞を回避できない停止禁止位置となる滑りコマ数が格納された停止操作位置については、停止禁止位置以外の停止位置となる滑りコマ数に更新される。尚、これら以外の停止操作位置の滑りコマ数は維持される。これにより、停止操作が行われた際に、入賞ラインL1〜L4に最大4コマの引込範囲でビッグボーナス(1)の組合せを揃えて停止させることができれば、これを揃えて停止させる制御が行われ、入賞ラインL1〜L4に最大4コマの引込範囲でビッグボーナス(1)の組合せを引き込めない場合には、入賞ラインL1〜L4に最大4コマの引込範囲でベルの組合せを揃えて停止させることができれば、これを揃えて停止させる制御が行われ、当選していない赤チェリーの組合せは、最大4コマの引込範囲でハズシて停止させる制御が行われることとなる。すなわちこのような場合には、ベルよりもビッグボーナス(1)を入賞ラインL1〜L4に揃える制御が優先され、ビッグボーナス(1)を引き込めない場合にのみ、ベルを入賞させることが可能となる。尚、第1停止及び第2停止において更新前の滑りコマ数がビッグボーナス(1)の組合せのみが揃う停止位置であり、引込範囲内にビッグボーナス(1)の組合せとベルの組合せの双方が揃いうる停止位置(禁止位置を除く)があれば、その停止位置に更新され、停止制御が行われるようになっている。
ビッグボーナス(2)が当選している場合には、第1〜3停止時においては、共通データ作成用テーブル(2)を用いて青チェリーの組合せを構成する図柄及びビッグボーナス(2)の組合せを構成する図柄を4コマの引込範囲で入賞ラインL1〜L4のいずれかに最大限引き込む滑りコマ数及びチャンス目を引き込む滑りコマ数が仮想滑りコマテーブルに格納された後、ビッグボーナス(2)以外の役の入賞(青チェリー)や重複入賞を回避できない停止禁止位置となる滑りコマ数が格納された停止操作位置については、停止禁止位置以外の停止位置となる滑りコマ数に更新され、それ以外の停止操作位置の滑りコマ数は維持される。これにより、停止操作が行われた際に、入賞ラインL1〜L4に最大4コマの引込範囲でビッグボーナス(1)の組合せを揃えて停止させることができれば、これを揃えて停止させる制御が行われ、当選していない赤チェリーの組合せは、最大4コマの引込範囲でハズシて停止させる制御が行われることとなる。
ビッグボーナス(2)+赤チェリーが当選している場合には、第1〜3停止時においては、共通データ作成用テーブル(2)を用いて青チェリーの組合せを構成する図柄及びビッグボーナス(2)の組合せを構成する図柄を4コマの引込範囲で入賞ラインL1〜L4のいずれかに最大限引き込む滑りコマ数及びチャンス目を引き込む滑りコマ数が仮想滑りコマテーブルに格納された後、ビッグボーナス(2)を構成する図柄を入賞ラインL1〜L4に引き込めない停止操作位置のうち、赤チェリーが入賞ラインL1〜L4に揃う停止位置とならない停止操作位置の滑りコマ数が、赤チェリーが入賞ラインL1〜L4に揃う停止位置となる滑りコマ数に更新され、ビッグボーナス(2)及び赤チェリー以外の役の入賞(青チェリー)や重複入賞を回避できない停止禁止位置となる滑りコマ数が格納された停止操作位置については、停止禁止位置以外の停止位置となる滑りコマ数に更新され、これら以外の停止操作位置の滑りコマ数は維持される。これにより、停止操作が行われた際に、入賞ラインL1〜L4に最大4コマの引込範囲でビッグボーナス(2)の組合せを揃えて停止させることができれば、これを揃えて停止させる制御が行われ、入賞ラインL1〜L4に最大4コマの引込範囲でビッグボーナス(2)の組合せを引き込めない場合には、入賞ラインL1〜L4に最大4コマの引込範囲で赤チェリーの組合せを揃えて停止させることができれば、これを揃えて停止させる制御が行われ、当選していない青チェリーの組合せは、最大4コマの引込範囲でハズシて停止させる制御が行われることとなる。すなわちこのような場合には、赤チェリーよりもビッグボーナス(2)を入賞ラインL1〜L4に揃える制御が優先され、ビッグボーナス(2)を引き込めない場合にのみ、赤チェリーを入賞させることが可能となる。
ビッグボーナス(2)+青チェリーが当選している場合には、第1〜3停止時においては、共通データ作成用テーブル(2)を用いて青チェリーの組合せを構成する図柄及びビッグボーナス(2)の組合せを構成する図柄を4コマの引込範囲で入賞ラインL1〜L4のいずれかに最大限引き込む滑りコマ数及びチャンス目を引き込む滑りコマ数が仮想滑りコマテーブルに格納された後、ビッグボーナス(2)及び青チェリー以外の役の入賞(異常入賞)や重複入賞を回避できない停止禁止位置となる滑りコマ数が格納された停止操作位置については、停止禁止位置以外の停止位置となる滑りコマ数に更新され、それ以外の停止操作位置の滑りコマ数は維持される。リールの停止制御が行われる。これにより、停止操作が行われた際に、入賞ラインL1〜L4に最大4コマの引込範囲でビッグボーナス(2)の組合せを揃えて停止させることができれば、これを揃えて停止させる制御が行われ、入賞ラインL1〜L4に最大4コマの引込範囲で青チェリーの組合せを揃えて停止させることができれば、これを揃えて停止させる制御が行われることとなる。
ビッグボーナス(2)+白チェリーが当選している場合には、第1〜3停止時においては、共通データ作成用テーブル(2)を用いて青チェリーの組合せを構成する図柄及びビッグボーナス(2)の組合せを構成する図柄を4コマの引込範囲で入賞ラインL1〜L4のいずれかに最大限引き込む滑りコマ数及びチャンス目を引き込む滑りコマ数が仮想滑りコマテーブルに格納された後、ビッグボーナス(2)を構成する図柄を入賞ラインL1〜L4に引き込めない停止操作位置のうち、白チェリーが入賞ラインL1〜L4に揃う停止位置とならない停止操作位置の滑りコマ数が、白チェリーが入賞ラインL1〜L4に揃う停止位置となる滑りコマ数に更新され、ビッグボーナス(2)及び白チェリー以外の役の入賞(赤チェリー)や重複入賞を回避できない停止禁止位置となる滑りコマ数が格納された停止操作位置については、停止禁止位置以外の停止位置となる滑りコマ数に更新され、これら以外の停止操作位置の滑りコマ数は維持される。これにより、停止操作が行われた際に、入賞ラインL1〜L4に最大4コマの引込範囲でビッグボーナス(2)の組合せを揃えて停止させることができれば、これを揃えて停止させる制御が行われ、入賞ラインL1〜L4に最大4コマの引込範囲でビッグボーナス(2)の組合せを引き込めない場合には、入賞ラインL1〜L4に最大4コマの引込範囲で白チェリーの組合せを揃えて停止させることができれば、これを揃えて停止させる制御が行われ、当選していない青チェリーの組合せは、最大4コマの引込範囲でハズシて停止させる制御が行われることとなる。すなわちこのような場合には、白チェリーよりもビッグボーナス(2)を入賞ラインL1〜L4に揃える制御が優先され、ビッグボーナス(2)を引き込めない場合にのみ、白チェリーを入賞させることが可能となる。
ビッグボーナス(2)+ベルが当選している場合には、第1〜3停止時においては、共通データ作成用テーブル(2)を用いて青チェリーの組合せを構成する図柄及びビッグボーナス(2)の組合せを構成する図柄を4コマの引込範囲で入賞ラインL1〜L4のいずれかに最大限引き込む滑りコマ数及びチャンス目を引き込む滑りコマ数が仮想滑りコマテーブルに格納された後、第1停止及び第2停止時においては、ビッグボーナス(2)を構成する図柄を入賞ラインL1〜L4に引き込めない停止操作位置のうち、ベルが入賞ラインL1〜L4に揃う停止位置とならない停止操作位置の滑りコマ数が、ベルが入賞ラインL1〜L4に揃う停止位置となる滑りコマ数に更新され、ビッグボーナス(2)を構成する図柄を入賞ラインL1〜L4に引き込むがベルが入賞ラインL1〜L4に揃う停止位置とならない停止操作位置のうち、ビッグボーナス(2)を構成する図柄及びベルの双方が入賞ラインL1〜L4に揃う停止位置を最大4コマの範囲で引き込める停止操作位置であれば、ビッグボーナス(2)を構成する図柄及びベルの双方が入賞ラインL1〜L4に揃う停止位置となる滑りコマ数に更新される。また、第3停止時においては、第1停止及び第2停止リールのいずれかの入賞ラインL1〜L4にベルが揃っている場合には、当該入賞ライン上にベル以外の図柄を引き込む停止操作位置の滑りコマ数が、当該入賞ライン上にベルを引き込む滑りコマ数に更新される。また、ビッグボーナス(2)及びベル以外の役の入賞(青チェリー)や重複入賞を回避できない停止禁止位置となる滑りコマ数が格納された停止操作位置については、停止禁止位置以外の停止位置となる滑りコマ数に更新される。尚、これら以外の停止操作位置の滑りコマ数は維持される。これにより、停止操作が行われた際に、入賞ラインL1〜L4に最大4コマの引込範囲でビッグボーナス(2)の組合せを揃えて停止させることができれば、これを揃えて停止させる制御が行われ、入賞ラインL1〜L4に最大4コマの引込範囲でビッグボーナス(2)の組合せを引き込めない場合には、入賞ラインL1〜L4に最大4コマの引込範囲でベルの組合せを揃えて停止させることができれば、これを揃えて停止させる制御が行われ、当選していない青チェリーの組合せは、最大4コマの引込範囲でハズシて停止させる制御が行われることとなる。すなわちこのような場合には、ベルよりもビッグボーナス(2)を入賞ラインL1〜L4に揃える制御が優先され、ビッグボーナス(2)を引き込めない場合にのみ、ベルを入賞させることが可能となる。尚、第1停止及び第2停止において更新前の滑りコマ数がビッグボーナス(2)の組合せのみが揃う停止位置であり、引込範囲内にビッグボーナス(2)の組合せとベルの組合せの双方が揃いうる停止位置(禁止位置を除く)があれば、その停止位置に更新され、停止制御が行われるようになっている。
ビッグボーナス(3)が当選している場合には、第1〜3停止時においては、共通データ作成用テーブル(3)を用いて白チェリーの組合せを構成する図柄及びビッグボーナス(3)の組合せを構成する図柄を4コマの引込範囲で入賞ラインL1〜L4のいずれかに最大限引き込む滑りコマ数及びチャンス目を引き込む滑りコマ数が仮想滑りコマテーブルに格納された後、ビッグボーナス(3)以外の役の入賞(白チェリー)や重複入賞を回避できない停止禁止位置となる滑りコマ数が格納された停止操作位置については、停止禁止位置以外の停止位置となる滑りコマ数に更新され、それ以外の停止操作位置の滑りコマ数は維持される。これにより、停止操作が行われた際に、入賞ラインL1〜L4に最大4コマの引込範囲でビッグボーナス(3)の組合せを揃えて停止させることができれば、これを揃えて停止させる制御が行われ、当選していない白チェリーの組合せは、最大4コマの引込範囲でハズシて停止させる制御が行われることとなる。
ビッグボーナス(3)+赤チェリーが当選している場合には、第1〜3停止時においては、共通データ作成用テーブル(3)を用いて白チェリーの組合せを構成する図柄及びビッグボーナス(3)の組合せを構成する図柄を4コマの引込範囲で入賞ラインL1〜L4のいずれかに最大限引き込む滑りコマ数及びチャンス目を引き込む滑りコマ数が仮想滑りコマテーブルに格納された後、ビッグボーナス(3)を構成する図柄を入賞ラインL1〜L4に引き込めない停止操作位置のうち、赤チェリーが入賞ラインL1〜L4に揃う停止位置とならない停止操作位置の滑りコマ数が、赤チェリーが入賞ラインL1〜L4に揃う停止位置となる滑りコマ数に更新され、ビッグボーナス(3)及び赤チェリー以外の役の入賞(白チェリー)や重複入賞を回避できない停止禁止位置となる滑りコマ数が格納された停止操作位置については、停止禁止位置以外の停止位置となる滑りコマ数に更新され、これら以外の停止操作位置の滑りコマ数は維持される。これにより、停止操作が行われた際に、入賞ラインL1〜L4に最大4コマの引込範囲でビッグボーナス(3)の組合せを揃えて停止させることができれば、これを揃えて停止させる制御が行われ、入賞ラインL1〜L4に最大4コマの引込範囲でビッグボーナス(3)の組合せを引き込めない場合には、入賞ラインL1〜L4に最大4コマの引込範囲で赤チェリーの組合せを揃えて停止させることができれば、これを揃えて停止させる制御が行われ、当選していない白チェリーの組合せは、最大4コマの引込範囲でハズシて停止させる制御が行われることとなる。すなわちこのような場合には、赤チェリーよりもビッグボーナス(3)を入賞ラインL1〜L4に揃える制御が優先され、ビッグボーナス(3)を引き込めない場合にのみ、赤チェリーを入賞させることが可能となる。
ビッグボーナス(3)+青チェリーが当選している場合には、第1〜3停止時においては、共通データ作成用テーブル(3)を用いて白チェリーの組合せを構成する図柄及びビッグボーナス(3)の組合せを構成する図柄を4コマの引込範囲で入賞ラインL1〜L4のいずれかに最大限引き込む滑りコマ数及びチャンス目を引き込む滑りコマ数が仮想滑りコマテーブルに格納された後、ビッグボーナス(3)を構成する図柄を入賞ラインL1〜L4に引き込めない停止操作位置のうち、青チェリーが入賞ラインL1〜L4に揃う停止位置とならない停止操作位置の滑りコマ数が、青チェリーが入賞ラインL1〜L4に揃う停止位置となる滑りコマ数に更新され、ビッグボーナス(3)及び青チェリー以外の役の入賞(白チェリー)や重複入賞を回避できない停止禁止位置となる滑りコマ数が格納された停止操作位置については、停止禁止位置以外の停止位置となる滑りコマ数に更新され、これら以外の停止操作位置の滑りコマ数は維持される。これにより、停止操作が行われた際に、入賞ラインL1〜L4に最大4コマの引込範囲でビッグボーナス(3)の組合せを揃えて停止させることができれば、これを揃えて停止させる制御が行われ、入賞ラインL1〜L4に最大4コマの引込範囲でビッグボーナス(3)の組合せを引き込めない場合には、入賞ラインL1〜L4に最大4コマの引込範囲で青チェリーの組合せを揃えて停止させることができれば、これを揃えて停止させる制御が行われ、当選していない白チェリーの組合せは、最大4コマの引込範囲でハズシて停止させる制御が行われることとなる。すなわちこのような場合には、青チェリーよりもビッグボーナス(3)を入賞ラインL1〜L4に揃える制御が優先され、ビッグボーナス(3)を引き込めない場合にのみ、青チェリーを入賞させることが可能となる。
ビッグボーナス(3)+白チェリーが当選している場合には、第1〜3停止時においては、共通データ作成用テーブル(3)を用いて白チェリーの組合せを構成する図柄及びビッグボーナス(3)の組合せを構成する図柄を4コマの引込範囲で入賞ラインL1〜L4のいずれかに最大限引き込む滑りコマ数及びチャンス目を引き込む滑りコマ数が仮想滑りコマテーブルに格納された後、ビッグボーナス(3)及び白チェリー以外の役の入賞(異常入賞)や重複入賞を回避できない停止禁止位置となる滑りコマ数が格納された停止操作位置については、停止禁止位置以外の停止位置となる滑りコマ数に更新され、それ以外の停止操作位置の滑りコマ数は維持される。リールの停止制御が行われる。これにより、停止操作が行われた際に、入賞ラインL1〜L4に最大4コマの引込範囲でビッグボーナス(3)の組合せを揃えて停止させることができれば、これを揃えて停止させる制御が行われ、入賞ラインL1〜L4に最大4コマの引込範囲で白チェリーの組合せを揃えて停止させることができれば、これを揃えて停止させる制御が行われることとなる。
ビッグボーナス(3)+ベルが当選している場合には、第1〜3停止時においては、共通データ作成用テーブル(3)を用いて白チェリーの組合せを構成する図柄及びビッグボーナス(3)の組合せを構成する図柄を4コマの引込範囲で入賞ラインL1〜L4のいずれかに最大限引き込む滑りコマ数及びチャンス目を引き込む滑りコマ数が仮想滑りコマテーブルに格納された後、第1停止及び第2停止時においては、ビッグボーナス(3)を構成する図柄を入賞ラインL1〜L4に引き込めない停止操作位置のうち、ベルが入賞ラインL1〜L4に揃う停止位置とならない停止操作位置の滑りコマ数が、ベルが入賞ラインL1〜L4に揃う停止位置となる滑りコマ数に更新され、ビッグボーナス(3)を構成する図柄を入賞ラインL1〜L4に引き込むがベルが入賞ラインL1〜L4に揃う停止位置とならない停止操作位置のうち、ビッグボーナス(3)を構成する図柄及びベルの双方が入賞ラインL1〜L4に揃う停止位置を最大4コマの範囲で引き込める停止操作位置であれば、ビッグボーナス(3)を構成する図柄及びベルの双方が入賞ラインL1〜L4に揃う停止位置となる滑りコマ数に更新される。また、第3停止時においては、第1停止及び第2停止リールのいずれかの入賞ラインL1〜L4にベルが揃っている場合には、当該入賞ライン上にベル以外の図柄を引き込む停止操作位置の滑りコマ数が、当該入賞ライン上にベルを引き込む滑りコマ数に更新される。また、ビッグボーナス(3)及びベル以外の役の入賞(白チェリー)や重複入賞を回避できない停止禁止位置となる滑りコマ数が格納された停止操作位置については、停止禁止位置以外の停止位置となる滑りコマ数に更新される。尚、これら以外の停止操作位置の滑りコマ数は維持される。これにより、停止操作が行われた際に、入賞ラインL1〜L4に最大4コマの引込範囲でビッグボーナス(3)の組合せを揃えて停止させることができれば、これを揃えて停止させる制御が行われ、入賞ラインL1〜L4に最大4コマの引込範囲でビッグボーナス(3)の組合せを引き込めない場合には、入賞ラインL1〜L4に最大4コマの引込範囲でベルの組合せを揃えて停止させることができれば、これを揃えて停止させる制御が行われ、当選していない白チェリーの組合せは、最大4コマの引込範囲でハズシて停止させる制御が行われることとなる。すなわちこのような場合には、ベルよりもビッグボーナス(3)を入賞ラインL1〜L4に揃える制御が優先され、ビッグボーナス(3)を引き込めない場合にのみ、ベルを入賞させることが可能となる。尚、第1停止及び第2停止において更新前の滑りコマ数がビッグボーナス(3)の組合せのみが揃う停止位置であり、引込範囲内にビッグボーナス(3)の組合せとベルの組合せの双方が揃いうる停止位置(禁止位置を除く)があれば、その停止位置に更新され、停止制御が行われるようになっている。
ビッグボーナス(4)が当選している場合には、第1停止時においては、ビッグボーナス(4)に対応するデータ作成用テーブルを用いてビッグボーナス(4)の組合せを構成する図柄を4コマの引込範囲で入賞ラインL5、L6のいずれかに最大限引き込む滑りコマ数が仮想滑りコマテーブルに格納される。また、第2、第3停止時においては、停止済みのリールの停止位置から入賞ラインL5、L6に最大4コマの引込範囲でビッグボーナス(4)を揃えて停止させる停止位置が停止操作位置毎に検索され、ビッグボーナス(4)を揃えて停止させる停止位置となる滑りコマ数が停止操作位置毎に仮想滑りコマテーブルに格納される。これにより、停止操作が行われた際に、入賞ラインL5、L6に最大4コマの引込範囲でビッグボーナス(4)の組合せを揃えて停止させることができれば、これを揃えて停止させる制御が行われることとなる。
ビッグボーナス(5)が当選している場合には、第1停止時においては、ビッグボーナス(5)に対応するデータ作成用テーブルを用いてビッグボーナス(5)の組合せを構成する図柄を4コマの引込範囲で入賞ラインL5、L6のいずれかに最大限引き込む滑りコマ数が仮想滑りコマテーブルに格納される。また、第2、第3停止時においては、停止済みのリールの停止位置から入賞ラインL5、L6に最大4コマの引込範囲でビッグボーナス(5)を揃えて停止させる停止位置が停止操作位置毎に検索され、ビッグボーナス(5)を揃えて停止させる停止位置となる滑りコマ数が停止操作位置毎に仮想滑りコマテーブルに格納される。これにより、停止操作が行われた際に、入賞ラインL5、L6に最大4コマの引込範囲でビッグボーナス(5)の組合せを揃えて停止させることができれば、これを揃えて停止させる制御が行われることとなる。
このように本実施例では、ビッグボーナス(4)及びビッグボーナス(5)以外の役については、リール2L、2C、2Rの一直線上に位置する図柄に跨って設定される入賞ラインL1〜L4に揃うように制御されるのに対して、ビッグボーナス(4)及びビッグボーナス(5)については、全てのリールにおいて上段・中段・下段のうち停止する位置が異なり、かつ一直線上に位置しない図柄に跨って入賞ラインL5、L6に揃うようになっている。
また、本実施例では、内部抽選の結果がビッグボーナス(1)または赤チェリーの場合、ビッグボーナス(2)または青チェリーの場合、ビッグボーナス(3)+白チェリーの場合において、それぞれの構成図柄を最大4コマの引込範囲で入賞ラインL1〜L4に引き込むとともに、当選役を引き込めない停止操作位置については、チャンス目を最大4コマの範囲で引き込む滑りコマ数が停止操作位置毎に仮想滑りコマテーブルに格納された後、当選役以外の役の入賞(異常入賞)や重複入賞を回避できない停止禁止位置となる滑りコマ数が格納された停止操作位置については、停止禁止位置以外の停止位置となる滑りコマ数に更新され、それ以外の停止操作位置の滑りコマ数が維持されるようになっているので、内部抽選の結果に応じて停止禁止位置以外の停止位置となる停止操作位置で停止操作がなされた場合には、表示結果が同一となる。特に、本実施例では、共通テーブル作成用データの滑りコマ数として、いずれかのビッグボーナスと対応するチェリーの組合せの双方を引き込めない停止操作位置については、チャンス目を引き込む滑りコマ数が定められているので、前述のような制御を行うことにより、共通のチャンス目を導出させることが可能となる。
また、赤チェリー、青チェリー、白チェリーについては、左リールの上段または下段に対応する色のチェリーが停止するのみで、入賞となるので、赤チェリー、青チェリー、白チェリーの当選時において左リールの入賞ライン上にいずれかの色の「7」または対応する色の「チェリーが」が停止しなかった場合には、中、右リールの滑りコマ数として、ビッグボーナス(1)〜(3)のうち対応するビッグボーナスが当選している場合と同一の滑りコマ数が適用される。また、いずれかのチェリー当選時において左リールの入賞ラインL1〜L4に当選したチェリーの色に対応しない「7」が停止した場合にも、中リール及び左リールの滑りコマ数として、ビッグボーナス(1)〜(3)のうち当選したチェリーに対応するビッグボーナスが当選している場合と同一の滑りコマ数が適用される。このため、いずれかのチェリーに当選し、かつ取りこぼした場合には、当選したチェリーに対応するビッグボーナスを取りこぼした場合と同一の停止位置が高い割合で停止することとなる。
ここで、図2に示すように、「ベル」、「リプレイ」については、リール2L、2C、2Rのいずれについても5図柄以内、すなわち4コマ以内の間隔で配置されており、4コマの引込範囲で必ず任意の位置に停止させることができる。つまり、ベル、リプレイ(1)、リプレイ(2)、ビッグボーナス(4)、ビッグボーナス(5)の当選フラグがそれぞれ設定されているときには、遊技者によるストップスイッチ8L、8C、8Rの操作タイミングに関わらずに、必ず当該役を入賞させることができる。
また、「赤チェリー」、「青チェリー」及び「白チェリー」についてはそれぞれ左リールに1個ずつしか配置されていないため、「赤チェリー」、「青チェリー」及び「白チェリー」が入賞ラインに対して4コマの引込範囲に位置するタイミングで左リールの停止操作を行わなければ、赤チェリー、青チェリー、白チェリーの組合せを揃えることができない。このため、赤チェリーの当選時には、領域番号1〜7のタイミングで左リールの停止操作がなされた場合にのみ赤チェリーの組合せがいずれかの入賞ラインに揃って入賞させることが可能であり、それ以外のタイミング、すなわち領域番号0、8〜20のタイミングで左リールの停止操作がなされた場合に赤チェリーの組合せはいずれの入賞ラインにも揃うことがなく、取りこぼすこととなる。また、青チェリーの当選時には、領域番号0、15〜20のタイミングで左リールの停止操作がなされた場合にのみ青チェリーの組合せがいずれかの入賞ラインに揃って入賞させることが可能であり、それ以外のタイミング、すなわち領域番号1〜14のタイミングで左リールの停止操作がなされた場合に青チェリーの組合せはいずれの入賞ラインにも揃うことがなく、取りこぼすこととなる。また、白チェリーの当選時には、領域番号8〜14のタイミングで左リールの停止操作がなされた場合にのみ白チェリーの組合せがいずれかの入賞ラインに揃って入賞させることが可能であり、それ以外のタイミング、すなわち領域番号0〜7、15〜20のタイミングで左リールの停止操作がなされた場合に白チェリーの組合せはいずれの入賞ラインにも揃うことがなく、取りこぼすこととなる。
また、本実施例では、「赤チェリー」図柄が左リールのいずれかの入賞ライン上に停止する表示態様(領域番号5・6・7、7・8・9)と、「青チェリー」図柄が左リールのいずれかの入賞ライン上に停止する表示態様(領域番号19・20・0、0・1・2)と、「白チェリー」図柄が左リールのいずれかの入賞ライン上に停止する表示態様(領域番号12・13・14、14・15・16)と、がそれぞれ最大引込範囲である4コマを超えて配置されている。
このため、「赤チェリー」図柄を最大4コマ引き込んでいずれかの入賞ライン上に停止させることが可能な停止操作位置(領域番号1〜7)で停止操作が行われた場合に、「青チェリー」図柄及び「白チェリー」図柄を最大4コマ引き込んでいずれかの入賞ライン上に停止させることも、「青チェリー」図柄を最大4コマ引き込んでいずれかの入賞ライン上に停止させることが可能な停止操作位置(領域番号0、15〜20)で停止操作が行われた場合に、「赤チェリー」図柄及び「白チェリー」図柄を最大4コマ引き込んでいずれかの入賞ライン上に停止させることも、「白チェリー」図柄を最大4コマ引き込んでいずれかの入賞ライン上に停止させることが可能な停止操作位置(領域番号8〜14)で停止操作が行われた場合に、「赤チェリー」図柄及び「青チェリー」図柄を最大4コマ引き込んでいずれかの入賞ライン上に停止させることも、できないようになっている。すなわち「赤チェリー」図柄を入賞ライン上に引込可能な範囲のうちどのタイミングで停止操作を行っても「青チェリー」図柄及び「白チェリー」図柄が入賞ライン上に停止することがなく、「青チェリー」図柄を入賞ライン上に引込可能な範囲のうちどのタイミングで停止操作を行っても「赤チェリー」図柄及び「白チェリー」図柄が入賞ライン上に停止することがなく、「白チェリー」図柄を入賞ライン上に引込可能な範囲のうちどのタイミングで停止操作を行っても「赤チェリー」図柄及び「青チェリー」図柄が入賞ライン上に停止することのない位置に「赤チェリー」図柄と「青チェリー」図柄と「白チェリー」図柄とがそれぞれ配列されているので、「赤チェリー」図柄と「青チェリー」図柄と「白チェリー」図柄を同時に狙える停止操作位置が存在しないこととなる。
また、左リールの領域のうちどの領域についても「赤チェリー」図柄、「青チェリー」図柄または「白チェリー」図柄をいずれかの入賞ライン上に引き込む領域が存在しており、「赤チェリー」図柄、「青チェリー」図柄または「白チェリー」図柄を入賞ライン上に引き込むことを回避可能な領域が存在しないようになっている。すなわち「赤チェリー」図柄、「青チェリー」図柄または「白チェリー」図柄のいずれの図柄も入賞ライン上に停止させない停止操作位置が存在しないこととなり、意図的に「赤チェリー」図柄、「青チェリー」及び「白チェリー」図柄を入賞ライン上に停止させないことができないようになっている。
また、「赤7」、「青7」及び「白7」については、リール2L、2C、2Rのいずれについても1個ずつしか配置されていないため、ビッグボーナス(1)、ビッグボーナス(2)、ビッグボーナス(3)の組合せが揃いうる入賞ラインに対して4コマの引込範囲で停止操作を行わなければビッグボーナス(1)、ビッグボーナス(2)、ビッグボーナス(3)の組合せを揃えることができない。このため、ビッグボーナス(1)、ビッグボーナス(2)、ビッグボーナス(3)当選時には、4コマの引込範囲以外のタイミングで左リールの停止操作がなされた場合にビッグボーナス(1)、ビッグボーナス(2)、ビッグボーナス(3)の組合せはいずれの入賞ラインにも揃うことがなく、取りこぼすこととなる。
また、本実施例では、「赤7」図柄が左リールのいずれかの入賞ライン上に停止する表示態様(領域番号16・17・18、18・19・20)と、「青7」図柄が左リールのいずれかの入賞ライン上に停止する表示態様(領域番号9・10・11、11・12・13)と、「白7」図柄が左リールのいずれかの入賞ライン上に停止する表示態様(領域番号2・3・4、4・5・6)と、がそれぞれ最大引込範囲である4コマを超えて配置されている。
このため、「赤7」図柄を最大4コマ引き込んでいずれかの入賞ライン上に停止させることが可能な停止操作位置(領域番号12〜18)で停止操作が行われた場合に、「青7」図柄及び「白7」図柄を最大4コマ引き込んでいずれかの入賞ライン上に停止させることも、「青7」図柄を最大4コマ引き込んでいずれかの入賞ライン上に停止させることが可能な停止操作位置(領域番号5〜11)で停止操作が行われた場合に、「赤7」図柄及び「白7」図柄を最大4コマ引き込んでいずれかの入賞ライン上に停止させることも、「白7」図柄を最大4コマ引き込んでいずれかの入賞ライン上に停止させることが可能な停止操作位置(領域番号0〜4、19〜20)で停止操作が行われた場合に、「赤7」図柄及び「青7」図柄を最大4コマ引き込んでいずれかの入賞ライン上に停止させることも、できないようになっている。すなわち「赤7」図柄を入賞ライン上に引込可能な範囲のうちどのタイミングで停止操作を行っても「青7」図柄及び「白7」図柄が入賞ライン上に停止することがなく、「青7」図柄を入賞ライン上に引込可能な範囲のうちどのタイミングで停止操作を行っても「赤7」図柄及び「白7」図柄が入賞ライン上に停止することがなく、「白7」図柄を入賞ライン上に引込可能な範囲のうちどのタイミングで停止操作を行っても「赤7」図柄及び「青7」図柄が入賞ライン上に停止することのない位置に「赤7」図柄と「青7」図柄と「白7」図柄とがそれぞれ配列されているので、「赤7」図柄と「青7」図柄と「白7」図柄を同時に狙える停止操作位置が存在しないこととなる。
また、本実施例では、「赤チェリー」図柄が左リールのいずれかの入賞ライン上に停止する表示態様(領域番号5・6・7、7・8・9)と「赤7」図柄が左リールのいずれかの入賞ライン上に停止する表示態様(領域番号16・17・18、18・19・20)、「青チェリー」図柄が左リールのいずれかの入賞ライン上に停止する表示態様(領域番号19・20・0、0・1・2)と「青7」図柄が左リールのいずれかの入賞ライン上に停止する表示態様(領域番号9・10・11、11・12・13)、「白チェリー」図柄が左リールのいずれかの入賞ライン上に停止する表示態様(領域番号12・13・14、14・15・16)と「白7」図柄が左リールのいずれかの入賞ライン上に停止する表示態様(領域番号2・3・4、4・5・6)、すなわちいずれかの色の「チェリー」図柄が左リールのいずれかの入賞ライン上に停止する表示態様と同系色の「7」図柄が左リールのいずれかの入賞ライン上に停止する表示態様がそれぞれ最大引込範囲である4コマを超えて配置されている。
このため、「赤チェリー」図柄を最大4コマ引き込んでいずれかの入賞ライン上に停止させることが可能な停止操作位置(領域番号1〜7)で停止操作が行われた場合に、「赤7」図柄を最大4コマ引き込んでいずれかの入賞ライン上に停止させることができず、「赤7」図柄を最大4コマ引き込んでいずれかの入賞ライン上に停止させることが可能な停止操作位置(領域番号12〜18)で停止操作が行われた場合に、「赤チェリー」図柄を最大4コマ引き込んでいずれかの入賞ライン上に停止させることができないようになっており、「青チェリー」図柄を最大4コマ引き込んでいずれかの入賞ライン上に停止させることが可能な停止操作位置(領域番号0、15〜20)で停止操作が行われた場合に、「青7」図柄を最大4コマ引き込んでいずれかの入賞ライン上に停止させることができず、「青7」図柄を最大4コマ引き込んでいずれかの入賞ライン上に停止させることが可能な停止操作位置(領域番号5〜11)で停止操作が行われた場合に、「青チェリー」図柄を最大4コマ引き込んでいずれかの入賞ライン上に停止させることができないようになっており、「白チェリー」図柄を最大4コマ引き込んでいずれかの入賞ライン上に停止させることが可能な停止操作位置(領域番号8〜14)で停止操作が行われた場合に、「白7」図柄を最大4コマ引き込んでいずれかの入賞ライン上に停止させることができず、「白7」図柄を最大4コマ引き込んでいずれかの入賞ライン上に停止させることが可能な停止操作位置(領域番号0〜4、19〜20)で停止操作が行われた場合に、「白チェリー」図柄を最大4コマ引き込んでいずれかの入賞ライン上に停止させることができないようになっている。
すなわちいずれかの色の「チェリー」図柄を入賞ライン上に引込可能な範囲のうちどのタイミングで停止操作を行っても同系色の「7」図柄が入賞ライン上に停止することがなく、いずれかの色の「7」図柄を入賞ライン上に引込可能な範囲のうちどのタイミングで停止操作を行っても同系色の「チェリー」図柄が入賞ライン上に停止することのない位置に「赤7」図柄、「青7」図柄、「白7」図柄、「赤チェリー」図柄、「青チェリー」図柄、「白チェリー」図柄がそれぞれ配列されているので、同系色の「チェリー」図柄と「7」図柄を同時に狙える停止操作位置が存在しないこととなる。
本実施例においてCPU41aは、リール2L、2C、2Rの回転が開始した後、ストップスイッチ8L、8C、8Rの操作が検出されるまで、停止操作が未だ検出されていないリールの回転を継続し、ストップスイッチ8L、8C、8Rの操作が検出されたことを条件に、対応するリールに表示結果を停止させる制御を行うようになっている。尚、リール回転エラーの発生により、一時的にリールの回転が停止した場合でも、その後リール回転が再開した後、ストップスイッチ8L、8C、8Rの操作が検出されるまで、停止操作が未だ検出されていないリールの回転を継続し、ストップスイッチ8L、8C、8Rの操作が検出されたことを条件に、対応するリールに表示結果を停止させる制御を行うようになっている。
尚、本実施例では、ストップスイッチ8L、8C、8Rの操作が検出されたことを条件に、対応するリールに表示結果を停止させる制御を行うようになっているが、リールの回転が開始してから、予め定められた自動停止時間が経過した場合に、リールの停止操作がなされない場合でも、停止操作がなされたものとみなして自動的に各リールを停止させる自動停止制御を行うようにしても良い。この場合には、遊技者の操作を介さずにリールが停止することとなるため、例え、いずれかの役が当選している場合でもいずれの役も構成しない表示結果を導出させることが好ましい。
本実施例においてCPU41aは、ビッグボーナス(1)及びビッグボーナス(2)の終了後、特別役及び小役の抽選確率は通常遊技状態と同一であるが、リプレイ(1)及びリプレイ(2)の当選確率がともに通常遊技状態よりも高確率となり、かつ1ゲームあたりのメダルの払出率(対象となる役の当選確率×払出枚数の合計値/1ゲームに必要な賭数)が1を超えるリプレイタイム(1)(RT(1))に制御する。遊技状態がRT(1)にある間は、RT(1)中フラグがRAM41cに設定される。そして、RT(1)は、いずれの特別役も当選せず、リプレイ(2)も入賞せずに規定ゲーム数(本実施例では、ビッグボーナス(1)の終了後であれば50ゲーム、ビッグボーナス(2)の終了後であれば20ゲーム)に到達するか、規定ゲーム数に到達する前にいずれかの特別役に当選するか、リプレイ(2)が入賞し、後述するRT(2)に移行することで終了するようになっている。
また、通常遊技状態またはRT(1)においていずれの特別役も当選していない状態においてリプレイ(2)が入賞したときに、特別役(いずれの特別役も持ち越されていない場合)及び小役の抽選確率は通常遊技状態と同一であるが、リプレイ(1)の当選確率が通常遊技状態及びRT(1)よりも高確率となり、リプレイ(2)の当選確率が通常遊技状態よりも高確率となり、かつ1ゲームあたりのメダルの払出率がRT(1)よりもさらに高いリプレイタイム(2)(RT(2))に制御する。遊技状態がRT(2)にある間は、RT(2)中フラグがRAM41cに設定される。そして、RT(2)は、いずれの特別役も入賞せず、いずれのチェリーも入賞せずに規定ゲーム数(本実施例では200ゲーム)に到達するか、規定ゲーム数に到達する前にいずれかの特別役に入賞するか、いずれかのチェリーが入賞することで終了するようになっている。また、RT(2)中にいずれかの特別役が当選した場合には、以後、いずれかのチェリーが入賞してもRT(2)が終了することはなく、規定ゲーム数に到達するか、当選した特別役が入賞するまでは、当該RT(2)が終了することがない。また、RT(2)中にいずれかのチェリーと特別役が同時に当選し、かつ当選したチェリーが入賞してもRT(2)が終了することはなく、規定ゲーム数に到達するか、当選した特別役が入賞するまでは、当該RT(2)が終了することがない。
通常遊技状態における1ゲームあたりのメダルの払出率は、図10の抽選確率によれば0.62であり、1ゲームあたり約1.14枚ずつメダルが減少することとなるが、赤チェリー、青チェリー、白チェリーは、これらの役を構成する図柄を同時に狙うことができず、実質的な出現率は1/3となるので、通常遊技状態における実質的な1ゲーム当たりのメダルの払出率は、0.58であり、1ゲームあたり約1.26枚ずつメダルが減少することとなる。
RT(1)における実質的な1ゲーム当たりのメダルの払出率は、1.19であり、1ゲームあたり約0.58枚ずつメダルが増加することとなる。RT(2)における実質的な1ゲーム当たりのメダルの払出率は、1.29であり、1ゲームあたり約0.88枚ずつメダルが増加することとなるが、RT(2)においていずれかのチェリーを入賞させるとRT(2)が終了してしまうこととなるため、RT(2)を継続させるためにチェリーの入賞を回避した場合の実質的な1ゲーム当たりのメダルの払出率は、1.27であり、1ゲームあたり約0.82枚ずつメダルが増加することとなる。
このように実質的な1ゲーム当たりのメダルの払出率は、RT(2)>RT(1)>通常遊技状態という大小関係が成立するようになっている。
本実施例では、RT(2)中にいずれかのチェリーが入賞すると、いずれの特別役も当選していなければ、当該RT(1)の開始から規定ゲーム数に到達する前であってもRT(2)が終了することとなるが、赤チェリー、青チェリー、白チェリーを構成する左リールの「赤チェリー」図柄、「青チェリー」図柄及び「白チェリー」図柄についてはそれぞれ左リールに1個ずつしか配置されていないため、赤チェリー、青チェリー、白チェリーの組合せが揃いうる入賞ラインに対して4コマの引込範囲で停止操作を行わなければ赤チェリー、青チェリー、白チェリーの組合せが揃うことを回避できるうえに、例え左リールに特別役の組合せを構成する図柄がいずれかの入賞ライン上に停止した場合でも、中リール、右リールにおいて特別役の組合せを構成する図柄が4つ以上の間隔を空けて配置されており、当該構成図柄を引き込めない停止操作位置が存在するため、特別役の組合せが揃うことも回避できる。この結果、赤チェリー、青チェリー、白チェリーまたは特別役の組合せが揃うことを回避する操作手順で停止操作を行うことにより、いずれかのチェリーや特別役が当選している場合でもこれらいずれかのチェリーや特別役が入賞してRT(2)が終了してしまうことを回避することができる。
しかしながら、赤チェリー、青チェリー、白チェリーを構成する左リールの「赤チェリー」図柄、「青チェリー」図柄及び「白チェリー」図柄を意図的に入賞ライン上に停止させないことができないので、RT(2)中にいずれかのチェリーが当選した場合に、その種類が分からなければ意図的にチェリーを外すことは不可能であり、2/3の確率で当選したチェリーを取りこぼすこととなるが、1/3の確率で当選したチェリーが入賞し、いずれの特別役も当選していない場合には、RT(2)が終了することとなる。
CPU41aは、満タンセンサ35aの検出状態に基づいてオーバーフロータンク35が満タン状態か否かを判定し、満タン状態と判定された場合に、リセット操作(リセットスイッチ23、またはリセット/設定スイッチ38の操作)がなされるまでゲームの進行を不能動化する満タンエラー状態に制御する。
図22、23は、CPU41aによる満タンエラー状態の制御に係るタイミングチャートである。
図において、リール回転は、リール2L、2C、2Rが回転をしている状態を示し、メダル払出は、小役の入賞に伴いホッパーモータ34bの駆動によりメダルの払出動作がなされている状態を示し、リプレイゲーム中フラグは、リプレイが入賞してから、次のゲームにおいてリール2L、2C、2Rの全ての停止するまでの間RAM41cに設定されるリプレイゲーム中フラグの設定状況を示し、満タンセンサは、満タンセンサ35aの検出状態を示し、投入メダルセンサ信号は、投入メダルセンサ31による投入メダルの検出状態を示し、満タンフラグは、満タンセンサ35aの検出状況(満タンセンサ35aの検出状態を示す検出フラグの有無)に基づいてオーバーフロータンクの満タン状態が判定された際にRAM41cに設定される満タンフラグの設定状況を示し、エラーは、満タン状態が判定されたことに伴う満タンエラーの発生状況を示している。また、図においてゲーム開始とは、スタートスイッチ7が操作され、ゲームが開始されたタイミングであり、ゲーム制御終了とは、メダルの払出を伴う場合にはメダルの払出が終了したタイミングであり、メダル払出を伴わない場合には、リール2L、2C、2Rの全てのリールが停止したタイミングである。
CPU41aは、満タンセンサ35aから出力される検出信号の出力状況をタイマ割込処理において2.24ms毎に行うスイッチ入力判定処理において監視している。スイッチ入力判定処理においては、他のスイッチ類(スタートスイッチ7やストップスイッチ8L、8C、8Rなど)の入力判定を行う場合には、offの状態からonの状態に切り替わり、連続して一定期間(スイッチの種類毎に割り当てられた回数)スイッチのonが判定されたことを条件に、該スイッチのon状態を判定し、当該スイッチの検出フラグをRAM41cに設定するようになっているが、満タンセンサ35aについては、図22(b)に示すように、offの状態からonの状態に切り替わるのみで、満タンセンサ35aのon状態を判定し、当該センサの検出フラグをRAM41cに設定するようになっている。これは、満タンセンサ35aが他のスイッチ類よりも高い電圧で駆動されており、ノイズなどが発生しても電圧のブレが少なく、誤検出が発生しにくいからである。このようにスイッチ入力判定処理において、満タンセンサ35aの検出信号がoffからonに変化するのみで満タンセンサ35aのon状態を判定するようになっており、offからonに変化してからの継続時間などを計時する必要がなく、満タンセンサ35aの検出状態の判定に係る制御を簡素化することができる。
CPU41aは、ゲーム制御の終了後、最初にメダルの投入が検出されたタイミングにおいて1ゲームにつき1回のみ、満タンセンサ35aの検出状態(検出フラグの有無)に基づいて満タン状態か否かを判定し、満タンセンサ35aがonの状態であれば満タン状態と判定し、満タン状態を示す満タンフラグをRAM41cに設定する。尚、再遊技役が入賞した次のゲームにおいては、そのゲームが終了するまでメダルの投入が許可されることがないので、メダルの投入が有効に検出されることはなく、再遊技役が入賞した次のゲームにおいては、満タン状態か否かの判定は行われず、満タンセンサ35aが検出されていても満タン状態と判定されることはなく、満タンフラグが設定されることもない。また、本実施例では、メダルの投入が許可されていない状態であっても投入メダルセンサ31の検出自体は行っているが、仮にリプレイゲーム中にメダルの投入が検出されたとしても、有効なメダルの投入とは判定せず、この場合にも満タン状態か否かの判定は行われない。また、本実施例では、ゲーム制御終了後、メダルの投入が可能な状態であっても、クレジットを用いて賭数が設定され、メダルが投入されずにゲームが開始した場合にも、メダルの投入が検出されないので、このような場合にも、満タン状態か否かの判定は行われず、満タンセンサ35aが検出されていても満タン状態と判定されることはなく、満タンフラグが設定されることもない。
また、CPU41aは、ゲーム制御終了後、次のゲームのメダルが投入可能となる前のタイミングで満タンフラグが設定されているか否か、すなわち満タン状態と判定されたか否かを判定し、満タンフラグが設定されている場合には、ゲームの進行を不能動化し、リセット操作がなされるまで満タンエラー状態に制御する。尚、CPU41aは、ゲーム制御終了後、満タンフラグが設定されているか否かの判定を行う前に、リプレイゲーム中フラグがRAM41cに設定されているか否か、すなわち当該ゲームがリプレイゲームであるか否かを判定し、リプレイゲームであれば満タンフラグが設定されているか否かの判定を行わないようになっており、このような場合には、満タンフラグが設定されていても満タンエラー状態には制御せず、そのリプレイゲームが終了し、リプレイゲームでなければ、次のゲームのメダルが投入可能となる前のタイミングで満タンフラグが判定され、満タンエラー状態に制御されることとなる。
例えば、図22(a)に示すように、ゲーム制御の終了後、最初にメダルの投入が検出された時点で、満タンセンサ35aの検出状態に基づいて満タン状態か否かを判定し、満タンセンサ35aがonであれば、満タン状態と判定し、満タンフラグをRAM41cに設定する。その後当該ゲームにおいて再遊技役が入賞していなければ、当該ゲームの制御終了後、次のゲームのメダルが投入可能となる前のタイミングで満タンエラー状態に制御する。一方、当該ゲームで再遊技役が入賞し、リプレイゲーム中フラグが設定された場合(図示略)には、当該ゲームの終了後に満タンエラー状態に制御することはなく、次のゲーム(リプレイゲーム)の終了後、さらにその次のゲーム(その次のゲームもリプレイゲームであれば、さらにその次のゲーム)のメダルが投入可能となる前のタイミングで満タンエラー状態に制御する。すなわち再遊技役が入賞したゲームの次のゲームでは、満タンエラー状態に制御されることはない。
また、図23に示すように、再遊技役が入賞したゲームの次のゲームにおいては、メダルの投入が許可されることがなく、メダルの投入も有効に検出されることはなく、このような状態で満タンセンサ35aが検出されていても満タン状態と判定されることはなく、満タンフラグが設定されることもない。そして、当該ゲームの制御終了後、当該ゲームで再遊技役が入賞せず、メダルが投入可能な状態となって、最初にメダルの投入が検出された時点で、満タン状態と判定し、満タンフラグをRAM41cに設定し、そのゲームにおいて再遊技役が入賞していなければ、当該ゲームの制御終了後、次のゲームのメダルが投入可能となる前のタイミングで満タンエラー状態に制御する。
また、特に図示しないが、ゲーム制御終了後、メダルの投入が可能な状態であっても、クレジットを用いて賭数が設定され、メダルが投入されずにゲームが開始した場合には、メダルの投入が検出されることはなく、このような状態で満タンセンサ35aが検出されていても満タン状態と判定されることはなく、満タンフラグが設定されることもない。そして、当該ゲームの制御終了後、メダルが投入可能な状態となって、最初にメダルの投入が検出された時点で、満タン状態と判定し、満タンフラグをRAM41cに設定することとなる。すなわちクレジットを用いて賭数が設定されることによりゲームが行われ、その間メダルの投入がなければ、次回メダルが投入されるゲームまで、満タン状態の判定が行われることがなく、満タンエラー状態に制御されることもない。
次に、満タンエラー状態の制御の変形例について図24〜26に示すタイミングチャートに基づいて説明する。
図において、メダル投入フラグは、ゲーム制御終了後、メダルの投入が検出されてから、次のゲーム以降にメダルの投入が許可されるまでのRAM41cに設定されるメダル投入フラグの設定状況を示す。
CPU41aは、ゲーム制御の終了後、次のゲームのメダルの投入が許可される前のタイミングにおいて1ゲームにつき1回のみ、満タンセンサ35aの検出状態に基づいて満タン状態か否かを判定する。尚、CPU41aは、満タン状態か否かの判定を行う前に、リプレイゲーム中フラグに基づいて次のゲームがリプレイゲームか否かを判定し、リプレイゲームであると判定した場合には、さらにメダル投入フラグが設定されているか否か、すなわち前のゲームにおいてメダルが投入されたか否かを判定し、メダル投入フラグが設定されていると判定した場合においてのみ、満タン状態か否かの判定を行うようになっている。このため、前のゲームにおいて再遊技役が入賞し、当該ゲームにおいてメダルの投入が必要ない場合(当該ゲームがリプレイゲームの場合)や、前のゲームにおいてクレジットを用いて賭数が設定され、メダルが投入されずにゲームが開始した場合には、満タンセンサ35aが検出されていても満タン状態と判定されることはない。
また、CPU41aは、満タン状態であると判定した場合に、次のゲームのメダルが投入可能となる前のタイミングでゲームの進行を不能動化し、リセット操作がなされるまで満タンエラー状態に制御する。尚、CPU41aは、ゲーム制御終了後、満タン状態か否かの判定を行う前に、次のゲームがリプレイゲームであるか否かを判定し、リプレイゲームであれば満タン状態か否かの判定を行わないようになっており、このような場合には、満タンセンサ35aが検出されていても満タンエラー状態には制御しない。一方、リプレイゲームでなければ、前のゲームにおいてメダルが投入されたか否かを判定し、前のゲームにおいてメダルが投入されていなければ満タン状態か否かの判定を行わないようになっており、このような場合には、満タンセンサ35aが検出されていても満タンエラー状態には制御せず、前のゲームにおいてメダルが投入されていれば次のゲーム以降のゲーム制御終了後、さらにその次のゲームのメダルが投入可能となる前のタイミングで満タン状態か否かが判定され、満タンエラー状態に制御されることとなる。
例えば、図24に示すように、ゲームの制御終了後、次のゲームのメダルが投入可能となる前のタイミングで、次のゲームがリプレイゲームか否かを判定し、次のゲームがリプレイゲームでなければ、さらに前のゲームにおいてメダルが投入されたか否かを判定し、前のゲームにおいてメダルが投入されていれば、満タンセンサ35aの検出状態に基づいて満タン状態か否かを判定する。そして、満タン状態と判定した場合には、次のゲームのメダルが投入可能となる前のタイミングで満タンエラー状態に制御する。
また、図25に示すように、ゲーム制御終了後、メダル投入フラグが設定されていない場合、すなわち前のゲームにおいてクレジットを用いて賭数が設定され、メダルが投入されずにゲームが開始した場合には、満タン状態か否かが判定されることはなく、このような状態で満タンセンサ35aにより満タン状態が検出されていても当該ゲームのゲーム制御終了後、満タンエラー状態に制御されることはない。そして、次のゲーム以降メダルが投入されたゲーム(リプレイゲームは除く)の制御終了後、満タン状態と判定され、メダルが投入可能となる前のタイミングで満タンエラー状態に制御される。
また、図26に示すように、ゲーム制御終了後、次のゲームがリプレイゲームである場合、すなわち前のゲームにおいて再遊技役が入賞し、当該ゲームにおいてメダルの投入が必要ない場合には、満タン状態か否かが判定されることはなく、このような状態で満タンセンサ35aにより満タン状態が検出されていても当該ゲームのゲーム制御終了後、満タンエラー状態に制御されることはない。そして、次のゲーム以降メダルが投入されたゲーム(リプレイゲームは除く)の制御終了後、満タン状態と判定され、メダルが投入可能となる前のタイミングで満タンエラー状態に制御される。
次に、メイン制御部41のRAM41cの初期化について説明する。メイン制御部41のRAM41cの格納領域は、重要ワーク、一般ワーク、特別ワーク、設定値ワーク、停止相ワーク、非保存ワーク、未使用領域、スタック領域に区分されている。
重要ワークは、各種表示器やLEDの表示用データ、I/Oポート41dの入出力データ、遊技時間の計時カウンタ等、ビッグボーナス終了時に初期化すると不都合があるデータが格納されるワークである。一般ワークは、停止制御テーブル、停止図柄、メダルの払出枚数、ビッグボーナス中のメダル払出総数等、ビッグボーナス終了時に初期化可能なデータが格納されるワークである。特別ワークは、演出制御基板90へコマンドを送信するためのデータ、各種ソフトウェア乱数等、設定開始前にのみ初期化されるデータが格納されるワークである。設定値ワークは、内部抽選処理で抽選を行う際に用いる設定値が格納されるワークであり、設定開始前(設定変更モードへの移行前)の初期化において0が格納された後、1に補正され、設定終了時(設定変更モードへの終了時)に新たに設定された設定値が格納されることとなる。停止相ワークは、リールモータ32L、32C、32Rの停止相を示すデータが格納されるワークであり、リールモータ32L、32C、32Rが停止状態となった際にその停止相を示すデータが格納されることとなる。非保存ワークは、各種スイッチ類の状態を保持するワークであり、起動時にRAM41cのデータが破壊されているか否かに関わらず必ず値が設定されることとなる。未使用領域は、RAM41cの格納領域のうち使用していない領域であり、後述する複数の初期化条件のいずれか1つでも成立すれば初期化されることとなる。スタック領域は、CPU41aのレジスタから退避したデータが格納される領域であり、このうちの未使用スタック領域は、未使用領域と同様に、後述する複数の初期化条件のいずれか1つでも成立すれば初期化されることとなるが、使用中スタック領域は、プログラムの続行のため、初期化されることはない。
本実施例においてメイン制御部41のCPU41aは、設定キースイッチ37、リセット/設定スイッチ38の双方がONの状態での起動時、RAM異常エラー発生時、設定キースイッチ37のみがONの状態での起動時、ビッグボーナス終了時、設定キースイッチ37、リセット/設定スイッチ38の双方がOFFの状態での起動時においてRAM41cのデータが破壊されていないとき、1ゲーム終了時の6つからなる初期化条件が成立した際に、各初期化条件に応じて初期化される領域の異なる5種類の初期化を行う。
初期化0は、起動時において設定キースイッチ37、リセット/設定スイッチ38の双方がONの状態であり、設定変更モードへ移行する場合において、その前に行う初期化、またはRAM異常エラー発生時に行う初期化であり、初期化0では、RAM41cの格納領域のうち、使用中スタック領域を除く全ての領域(未使用領域及び未使用スタック領域を含む)が初期化される。初期化1は、起動時において設定キースイッチ37のみがONの状態であり、設定変更モードへ移行する場合において、その前に行う初期化であり、初期化1では、RAM41cの格納領域のうち、使用中スタック領域及び停止相ワークを除く全ての領域(未使用領域及び未使用スタック領域を含む)が初期化される。初期化2は、ビッグボーナス終了時に行う初期化であり、初期化2では、RAM41cの格納領域のうち、一般ワーク、未使用領域及び未使用スタック領域が初期化される。初期化3は、起動時において設定キースイッチ37、リセット/設定スイッチ38の双方がOFFの状態であり、かつRAM41cのデータが破壊されていない場合において行う初期化であり、初期化3では、非保存ワーク、未使用領域及び未使用スタック領域が初期化される。初期化4は、1ゲーム終了時に行う初期化であり、初期化4では、RAM41cの格納領域のうち、未使用領域及び未使用スタック領域が初期化される。
前述のようにリールを滑らかに回転開始させるためには、リールモータの回転開始時にロータ32aの正確な停止位置を特定しておく必要があるが、従来のように設定変更に伴ってリールモータの停止相を示すデータを含むRAM41cのデータを初期化してしまうと、設定変更後、リールモータの停止相を特定することが不可能であり、最初にリールモータを回転させる場合には、急激に励磁相がロータ32aの永久磁石に吸引されてしまい、回転の開始時にリールが振動してしまうこととなる。
これに対して本実施例では、起動時において設定キースイッチ37のみがONの状態であり、設定変更モードへ移行する場合においては、RAM41cが初期化されるが、停止相ワークは初期化されないようになっており、設定変更後の遊技状態においても停止相ワークに格納されたリールモータ32L、32C、32Rの停止相を示すデータが維持されるようになっている。このため、設定変更後、最初にリールモータ32L、32C、32Rを回転させる場合にも、これらの停止相を特定することが可能となり、このような状況であってもリールを滑らかに回転開始させることが可能となる。
また、起動時において設定キースイッチ37、リセット/設定スイッチ38の双方がONの状態であり、設定変更モードへ移行する場合においては、停止相ワークも含めてRAM41cを初期化することが可能となるため、起動時において設定変更モードへ移行させる際の操作方法によって、停止相ワークを初期化させるか否かを選択できるようになっている。
次に、CPU41aが演出制御基板90に対して送信するコマンドについて説明する。
本実施例では、メイン制御部41のCPU41aが演出制御基板90に対して、BETコマンド、内部当選コマンド、リール回転開始コマンド、リール停止コマンド、入賞判定コマンド、払出開始コマンド、払出終了コマンド、遊技状態コマンド、待機コマンド、打止コマンド、エラーコマンド、初期化コマンド、設定終了コマンド、電源投入コマンドを含む複数種類のコマンドを送信する。
BETコマンドは、メダルの投入枚数、すなわち賭数の設定に使用されたメダル枚数を特定可能なコマンドであり、メダル投入時、1枚BETスイッチ5またはMAXBETスイッチ6が操作されて賭数が設定されたときに送信される。
内部当選コマンドは、内部当選フラグの当選状況、並びに成立した内部当選フラグの種類を特定可能なコマンドであり、スタートスイッチ7が操作されてゲームが開始したときに送信される。
リール回転開始コマンドは、リールの回転の開始を通知するコマンドであり、リール2L、2C、2Rの回転が開始されたときに送信される。
リール停止コマンドは、停止するリールが左リール、中リール、右リールのいずれかであるか、該当するリールの停止操作位置の領域番号、該当するリールの停止位置の領域番号、を特定可能なコマンドであり、各リールの停止制御が行われる毎に送信される。
入賞判定コマンドは、入賞の有無、並びに入賞の種類、入賞時のメダルの払出枚数を特定可能なコマンドであり、全リールが停止して入賞判定が行われた後に送信される。
払出開始コマンドは、メダルの払出開始を通知するコマンドであり、入賞やクレジット(賭数の設定に用いられたメダルを含む)の精算によるメダルの払出が開始されたときに送信される。また、払出終了コマンドは、メダルの払出終了を通知するコマンドであり、入賞及びクレジットの精算によるメダルの払出が終了したときに送信される。
遊技状態コマンドは、次ゲームの遊技状態(通常遊技状態であるか、RT(1)中であるか、RT(2)中であるか、ビッグボーナス中であるか、レギュラーボーナス中であるか、等)及びRT(1)(2)の残りゲーム数を特定可能なコマンドであり、ゲームの終了時に送信される。
待機コマンドは、待機状態へ移行する旨を示すコマンドであり、1ゲーム終了後、賭数が設定されずに一定時間経過して待機状態に移行するとき、クレジット(賭数の設定に用いられたメダルを含む)の精算によるメダルの払出が終了し、払出終了コマンドが送信された後に送信される。
打止コマンドは、打止状態の発生または解除を示すコマンドであり、BB終了後、エンディング演出待ち時間が経過した時点で打止状態の発生を示す打止コマンドが送信され、リセット操作がなされて打止状態が解除された時点で、打止状態の解除を示す打止コマンドが送信される。
エラーコマンドは、エラー状態の発生または解除を示すコマンドであり、エラーが判定され、エラー状態に制御された時点でエラー状態の発生を示すエラーコマンドが送信され、リセット操作がなされてエラー状態が解除された時点で、エラー状態の解除を示すエラーコマンドが送信される。
初期化コマンドは、遊技状態が初期化された旨及び設定変更モードの開始を示すコマンドであり、RAM41cが初期化され、設定変更モードに移行した時点で送信される。
設定終了コマンドは、設定変更モードの終了を示すコマンドであり、設定終了時、すなわち設定変更モードの終了時に送信される。
電源投入コマンドは、電源投入時にいずれかの特別役に当選しているか否かを示すコマンドであり、起動時に電断前の状態に復帰することが可能な場合に、電断前の状態に復帰する前の時点で送信される。
これら各コマンドは、後述する起動処理及びゲーム処理において生成され、RAM41cの特別ワークに設けられたコマンドキューに一時格納され、前述したタイマ割込処理(メイン)において送信される。
次に、CPU41aが演出制御基板90に対して送信するコマンドに基づいてサブ制御部91が実行する演出の制御について説明する。
サブ制御部91のCPU91aは、CPU41aが送信したコマンドを受信した際に、ROM91bに格納された制御パターンテーブルを参照し、制御パターンテーブルに登録された制御内容に基づいて液晶表示器51、演出効果LED52、スピーカ53、54、リールLED55等の各種演出装置の制御を行う。
制御パターンテーブルには、複数種類の演出パターン毎に、コマンドの種類に対応する液晶表示器51の表示パターン、演出効果LED52の点灯態様、スピーカ53、54の出力態様、リールLEDの点灯態様等、これら演出装置の制御パターンが登録されており、CPU91aは、コマンドを受信した際に、制御パターンテーブルの当該ゲームにおいてRAM91cに設定されている演出パターンに対応して登録された制御パターンのうち、受信したコマンドの種類に対応する制御パターンを参照し、当該制御パターンに基づいて演出装置の制御を行う。これにより演出パターン及び遊技の進行状況に応じた演出が実行されることとなる。
尚、CPU91aは、あるコマンドの受信を契機とする演出の実行中に、新たにコマンドを受信した場合には、実行中の制御パターンに基づく演出を中止し、新たに受信したコマンドに対応する制御パターンに基づく演出を実行するようになっている。すなわち演出が最後まで終了していない状態でも、新たにコマンドを受信すると、実行していた演出はキャンセルされて新たなコマンドに基づく演出が実行されることとなる。
演出パターンは、内部当選コマンドを受信した際に、内部当選コマンドが示す内部抽選の結果に応じた選択率にて選択され、RAM91cに設定される。演出パターンの選択率は、ROM91bに格納された演出テーブルに登録されており、CPU91aは、内部当選コマンドを受信した際に、内部当選コマンドが示す内部抽選の結果に応じて演出テーブルに登録されている選択率を参照し、その選択率に応じて複数種類の演出パターンからいずれかの演出パターンを選択し、選択した演出パターンを当該ゲームの演出パターンとしてRAM91cに設定するようになっている。
制御パターンテーブルには、特定のコマンド(待機コマンド、打止コマンド、エラーコマンド、初期化コマンド、設定終了コマンド、特別役の当選を示す電源投入コマンド等)を受信した際に参照される特定の制御パターンが格納されており、CPU91aは、これら特定のコマンドを受信した場合には、当該ゲームにおいて設定されている演出パターンに関わらず、当該コマンドに対応する特定の制御パターンを参照し、当該制御パターンに基づいて演出装置の制御を行う。
待機コマンドを受信した場合には、デモ演出(デモンストレーション演出)を実行するためのデモパターンが制御パターンとして参照される。尚、後述する連続演出及び追加演出が実行されている場合、これらの演出の結果がボーナスの当選を示す結果であり、次ゲームの賭数の設定操作で後述する確定演出が実行される場合、確定演出が実行されている場合、ビッグボーナスに伴うボーナス中演出が実行されている場合には、デモ演出の実行が禁止されるようになっており、このような状態で待機コマンドを受信してもデモパターンが制御パターンとして参照されることはなく、デモ演出が実行されることもない。
打止状態の発生を示す打止コマンド受信した場合には、打止状態である旨を報知するための打止報知パターンが制御パターンとして参照される。また、打止状態の解除を示す打止コマンドを受信した場合には、前述したデモパターンが制御パターンとして参照される。すなわち打止状態が解除されるとデモ演出が実行されることとなる。
エラー状態の発生を示すエラーコマンドを受信した場合には、エラー状態である旨及びその種類を報知するためのエラー報知パターンが制御パターンとして参照される。また、エラー状態の解除を示すエラーコマンドを受信した場合には、エラー発生時に実行していた制御パターンが参照される。すなわちエラー発生時の演出が最初から実行されることとなる。
初期化コマンドを受信した場合には、設定変更中である旨を報知するための設定中報知パターンが参照される。また、設定終了コマンドを受信した場合には、前述したデモパターンが制御パターンとして参照される。すなわち初期化コマンドを受信すると設定変更中報知が実行され、その後、設定終了コマンドを受信するとデモ演出が実行されることとなる。
特別役の当選を示す電源投入コマンドを受信した場合には、特別役の当選を報知するための特別役告知パターンが参照される。すなわち、特別役の当選を示す電源投入コマンドを受信すると特別役の当選を報知する告知演出が実行されることとなる。尚、特別役の当選を報知する告知演出は、一度実行されると、当該特別役が入賞した旨を示す入賞判定コマンドを受信するまで継続するようになっている。
サブ制御部91のCPU91aは、電断検出回路98から出力された電圧低下信号を検出したとき、及び表示制御回路92からのVブランク割込信号が一定期間入力されなかった場合、表示制御回路92に対して命令したにも関わらず、命令に対応する完了割込信号が一定期間入力されなかった場合に、電断割込処理(メイン)と同様の電断割込処理(サブ)を実行する。電断割込処理(サブ)では、レジスタを後述するRAM41cのスタックに退避し、サブ制御部91のRAM91cにいずれかのビットが1となる破壊診断用データ(本実施例では、5AH)、すなわち0以外の特定のデータを格納するとともに、RAM91cの全ての領域に格納されたデータに基づくRAMパリティが0となるようにRAMパリティ調整用データを計算し、RAM91cに格納する処理を行うようになっている。その後、CPU91aは何らの処理も行わないループ処理に移行するが、表示制御回路92からのVブランク割込信号が一定期間入力されなかった場合や、表示制御回路92に対して命令したにも関わらず、命令に対応する完了割込信号が一定期間入力されなかった場合に行われた電断割込処理である場合には、駆動電圧が低下しているわけではないので、その後、リセット回路95からリセット信号が出力されることでCPU91aが再起動するようになっている。
そして、CPU91aは、起動時(再起動時)においてRAM91cの全ての領域に格納されたデータに基づいてRAMパリティを計算するとともに、破壊診断用データの値を確認し、RAMパリティが0であり、かつ破壊診断用データの値も正しいことを条件に、RAM91cに記憶されているデータに基づいて電断前の演出状態(詳しくは電断前に最後にコマンドを受信した時点の状態)に復帰させるようになっている。具体的には、最後に実行していた制御パターンを参照し、当該制御パターンに基づく制御を実行する。これにより電断前に実行していた制御パターンに基づく演出が最初から実行されることとなる。また、起動時においてRAM91cの全ての領域に格納されたデータに基づいて計算したRAMパリティが0でない場合(1の場合)や破壊診断用データの値が正しくない場合には、RAM異常と判定し、RAM91cの全ての領域を初期化するようになっている。
このように本実施例では、CPU91aが電圧低下信号を検出したときのみならず、後述する表示制御回路92からのVブランク割込信号が一定期間入力されなかった場合、表示制御回路92に対して命令したにも関わらず、命令に対応する完了割込信号が一定期間入力されなかった場合、すなわち何らかの原因で表示制御回路92がハングアップした場合にも、電断割込処理(サブ)が実行され、その後CPU91aの再起動が行われるようになっている。そして、CPU91aの再起動に伴って、表示制御回路92を初期化することにより表示制御回路92がハングアップする前の状態からCPU91aの制御が再開されるようになっている。
また、CPU91aは、起動時にRAM91cに記憶されているデータに基づいて電断前の演出状態に復帰可能な否かに関わらず、実際に演出を開始する前に、初期化コマンドまたは電源投入コマンドのいずれかを受信するまで待機する。そしてこの状態で初期化コマンドを受信した場合には、RAM91cのデータをクリアする。また、この状態で特別役の当選を示す電源投入コマンドを受信した場合には、特別役の当選を示す告知演出を実行し、特別役の非当選を示す電源投入コマンドを受信した場合には、電断前の演出状態に復帰可能であれば復帰し、復帰不能であればデモ演出を実行する。また、初期化コマンドまたは電源投入コマンドの受信待ちの状態では、コマンドの受信に基づき演出を実行するタイマ割込処理の実行は許可されないようになっており、他のコマンドを受信した場合でも、受信したコマンドに基づく演出が行われることはなく、起動後、初期化コマンドまたは電源投入コマンドを受信して、タイマ割込処理の実行が許可されるまでは、何らの演出も行われることはない。
一方、CPU91aは、後述する表示制御回路92からのVブランク割込信号が一定期間入力されなかった場合、表示制御回路92に対して命令したにも関わらず、命令に対応する完了割込信号が一定期間入力されなかった場合、すなわち何らかの原因で表示制御回路92がハングアップした場合において、電断割込処理(サブ)を実行する前にRAM91cに再起動フラグを設定し、その後起動したCPU91aが、再起動フラグの有無を判定することにより、電源投入による起動であるか、表示制御回路92のハングアップによる再起動であるか、を区別できるようになっている。
そして、CPU91aは、表示制御回路92のハングアップによる再起動であると判定した場合において、再起動前の演出状態に復帰可能であれば、初期化コマンドまたは電源投入コマンドの受信を待たず、再起動前の演出状態に復帰させるようになっている。このため、CPU91aが、電源投入による起動ではなく、表示制御回路92のハングアップによって再起動する場合であるにも関わらず、初期化コマンドも電源投入コマンドも受信できずに、演出が行われなくなってしまうことを防止できる。
CPU91aは、内部当選コマンドを受信したときに、内部当選コマンドから特定される内部当選フラグの当選状況、並びに成立した内部当選フラグの種類をRAM91cに保存し、次に内部当選コマンドを受信して更新されるまで保持する。リール停止コマンドを受信したときには、リール停止コマンドから特定される停止リール、該当するリールの停止操作位置の領域番号、該当するリールの停止位置の領域番号をRAM91cに保存し、次にリール回転開始コマンドを受信したとき、すなわち次のゲームにおけるリールの回転開始まで保持し、回転開始に伴い消去する。入賞判定コマンドを受信したときには、入賞判定コマンドから特定される入賞の有無、並びに入賞の種類、入賞時のメダルの払出枚数をRAM91cに保存し、次に入賞判定コマンドを受信して更新されるまで保持する。遊技状態コマンドを受信したときには、遊技状態コマンドから特定される次ゲームの遊技状態(通常遊技状態であるか、RT(1)中であるか、RT(2)中であるか、ビッグボーナス中であるか、レギュラーボーナス中であるか、等)及びRT(1)の残りゲーム数をRAM91cに保存し、次に遊技状態コマンドを受信して更新されるまで保持する。
CPU91aは、メイン制御部41から待機コマンドを受信したとき、すなわち1ゲームの終了後、一定時間以上に亘って継続して遊技の進行のための操作が行われていないとき、及びクレジットまたは賭数の精算操作がなされたときに、液晶表示器51に所定のデモンストレーション画像を表示して前述したデモ演出を行うようになっている。尚、後述する連続演出または追加演出等が実行されている場合、賭数の設定により確定演出が実行される場合、既に確定演出が実行されている場合、ビッグボーナス演出が実行されている場合には、一定時間以上に亘って継続して遊技の進行のための操作が行われずメイン制御部41から待機コマンドを受信した場合やクレジットまたは賭数の精算操作がなされてメイン制御部41から待機コマンドを受信した場合でもデモ演出を行わないようになっている。尚、後述する連続演出または追加演出、ビッグボーナス演出が行われている状態では、演出が継続している間は、ゲーム終了後も遊技効果音(BGM)が出力されるようになっており、このような状態で待機コマンドを受信した場合には、デモ演出は行わないが、音量を最小(消音)とする制御を行い、その後、ゲームの進行に伴って賭数の設定操作がなされ、BETコマンドを受信すると消音中の音量を元のレベルまで戻すようになっている。
CPU91aは、メイン制御部41からエラーの発生を示すエラーコマンドを受信したとき、すなわちメイン制御部41側で何らかのエラーが発生したときに、液晶表示器51にエラーの発生を示すエラー報知画面を表示して外部にエラーの発生を報知するようになっている。エラー報知演出は、メイン制御部41からエラーの解消を示すエラーコマンドを受信するまで継続して実行され、エラーの解消を示すエラーコマンドを受信することでエラー報知を終了し、エラー発生時に実行していた演出状態に復帰するようになっている。
CPU91aは、リールの回転が開始した後、所定時間(本実施例では60秒)が経過したとき、つまりリール回転開始コマンドを取得した後、全てのリールについてリール停止コマンドを取得しないまま所定時間(本実施例では60秒)が経過したときに、リールの停止操作を促す促進報知を行うようになっている。また、特に連続演出または追加演出、ビッグボーナス演出が行われている状態においては、リールの回転が開始した後、所定時間(本実施例では60秒)が経過したときに促進報知に加えて、遊技効果音の音量を最小(消音)とする制御を行い、その後、全てのリールについてのリール停止コマンドを受信すると消音中の音量を元のレベルまで戻すようになっている。
本実施例のCPU91aが実行する演出として、特に液晶表示器51において行われる演出としては、遊技状態がRT(1)、RT(2)、ビッグボーナスにあるときにそれぞれ実行されるRT(1)演出、RT(2)演出またはビッグボーナス演出、複数ゲームにわたり継続して実行するとともに、最終的にボーナスに当選しているか否かを示す演出結果を導く連続演出及び追加演出、更に、通常遊技状態またはRT(1)、RT(2)において一般役または特別役のいずれか一方が当選している場合に、一般役が当選している旨を示す演出(小役告知演出、リプレイ告知演出)を含む単発演出もある。
また、CPU91aは、前述のRT(2)演出中を除き、いずれかのボーナスの当選を示す演出を行った場合、またはRT(2)演出中にいずれかのボーナスの当選を示す演出を行った後、当該RT(2)演出が終了した場合に、次のゲームの賭数が最初に設定された時点(メダルが投入されるか、1枚BETスイッチ5またはMAXBETスイッチ6が操作された時点、すなわち最初にBETコマンドを受信した時点)で、ボーナスの確定を示す確定画面を液晶表示器51に表示させてボーナスの当選が確定した旨を遊技者に対して告知する確定演出を実行する。確定演出は、当選したボーナスが入賞するまで(当選したボーナスの入賞を示す入賞コマンドを受信するまで)継続して行われるようになっており、当選したボーナスが入賞すること(当選したボーナスの入賞を示す入賞コマンドを受信すること)で終了する。
次に、RT(2)演出について説明すると、RT(2)演出は、RT(2)中において転落役(赤チェリー、青チェリー、白チェリー)が当選した場合(転落役の当選を示す内部当選フラグを受信した場合)に、転落役が当選した旨を報知する転落役当選報知、当選した転落役の種類(内部当選フラグから特定される転落役の種類)を報知する転落役種類報知を含む。
転落役種類報知は、赤チェリーが当選した旨、青チェリーが当選した旨、白チェリーが当選した旨を、その当選を示唆する色(赤チェリーが当選した旨を示す場合には赤、青チェリーが当選した旨を示す場合には青、白チェリーが当選した旨を示す場合には白)を報知することにより、転落役の種類を報知する。
尚、転落役種類報知は、当選した転落役の種類を遊技者が認識可能なものであれば良く、当選した転落役の種類そのもの、或いは図柄組合せ、転落役の種類によって異なる図柄、これら転落役の種類を示唆する画像などを液晶表示器51に表示することで報知するものや、対応するLEDの点灯、対応する音声の出力などによって報知するものであっても良い。更には、転落役の種類に応じて異なる図柄の指標となる図柄(転落役の構成図柄の近くに位置し、転落役の構成図柄よりも目立つ図柄など)、当該指標図柄を示唆する画像などを報知するようにしても良い。
CPU91aは、RT(2)において入賞することで当該RT(2)が終了することとなる転落役が当選した際に転落役種類報知を実行するか否かを決定する転落役報知抽選を、ビッグボーナス(1)(2)中、RT(1)(2)中に実行し、この転落役報知抽選に当選した場合には、転落役報知回数を決定し、決定した転落役報知回数をRAM91cに設定する。また、RAM91cに転落役報知回数が残っている状態で転落役報知抽選に当選した場合には、RAM91cに残っている転落役報知回数に対して新たに決定した転落役報知回数を加算する。そして、RT(2)においていずれの特別役も当選していない状態において、いずれかのチェリーが当選した際(いずれかのチェリーの当選を示す内部当選コマンドを受信したとき)に、転落役報知回数が残っているか否かを判定し、転落役報知回数が残っている場合には、当選したチェリーに対応する転落役種類報知を実行する。すなわち赤チェリーが当選したときに、赤チェリーの当選を示唆する赤を報知する転落役種類報知を実行し、青チェリーが当選したときに、青チェリーの当選を示唆する青を報知する転落役種類報知を実行し、白チェリーが当選したときに、白チェリーの当選を示唆する白を報知する転落役種類報知を実行する。また、RT(2)においていずれの特別役も当選していない状態において、いずれかのチェリーが当選した際に、転落役種類報知が1回実行される毎に転落役報知回数が1減算されるので、転落役報知回数が残っている範囲内でいずれかのチェリーが当選した際に、転落役種類報知が実行されることとなる。尚、RT(2)においていずれの特別役も当選していない状態において、いずれかのチェリーが当選した際に、転落役報知回数が残っていない場合には、いずれかの転落役が当選した旨を報知する転落役報知を実行する。
本実施例では、RT(2)においていずれの特別役も当選していない状態においていずれかのチェリーが入賞すると、当該RT(2)の開始から規定ゲーム数に到達する前であってもRT(2)が終了することとなるが、前述のように赤チェリー、青チェリー、白チェリーを構成する左リールの「赤チェリー」図柄、「青チェリー」図柄及び「白チェリー」図柄を意図的に入賞ライン上に停止させないことができないので、RT(2)においていずれの特別役も当選していない状態においていずれかのチェリーが当選した場合に、その種類が分からなければ意図的にチェリーを外すことは不可能であり、2/3の確率で当選したチェリーを取りこぼすこととなるが、1/3の確率で当選したチェリーが入賞し、RT(2)が終了することとなってしまう。
これに対してRT(2)においていずれの特別役も当選していない状態において、いずれかのチェリーが当選した際に、転落役種類報知が実行されると、遊技者は報知された色によって示唆された色によって、赤チェリー、青チェリー、白チェリーの組合せのうち、どの組合せが当選したかを認識することが可能となり、赤チェリー、青チェリー、白チェリーを構成する左リールの「赤チェリー」図柄、「青チェリー」図柄及び「白チェリー」図柄を意図的に入賞ラインに停止させない停止操作位置を特定することが可能となる。
このため、RT(2)においていずれの特別役も当選していない状態において、いずれかのチェリーが当選した場合には、転落役種類報知が実行されることによって、遊技者は意図的に当選したチェリーを取りこぼすことによって、チェリーの入賞に伴うRT(2)の終了を回避することが可能となる。
また、前述のように左リールにおいて同系色のチェリーと「7」図柄は同時に狙える停止操作位置は存在しないので、遊技者は転落役種類報知によって示唆された色の「7」図柄を狙って左リールの停止操作を行うことによって、当選した色のチェリーが入賞することはなく、RT(2)の終了を回避できるようになっている。すなわち転落役種類報知では、示唆された色によって当選した転落役の種類が報知されることに加えて、当該転落役の入賞を回避する際の指標となる位置も報知されるようになっている。
CPU91aは、ビッグボーナス(1)(2)中の転落役報知抽選に当選した場合に、転落役報知回数を1回〜4回の範囲で選択する報知回数抽選を実行し、当選した転落役報知回数をRAM91cに設定するか、RAM91cに既に設定されている場合にはその回数に加算する。
ビッグボーナス(1)(2)中の報知回数抽選では、図27(a)に示すように、1回〜4回が選択される割合が、当該報知回数抽選が実行されるビッグボーナスがビッグボーナス(1)(「赤7−赤7−赤7」の組合せで移行したビッグボーナス)であるか、ビッグボーナス(2)(「青7−青7−青7」の組合せで移行したビッグボーナス)であるか、によって異なり、ビッグボーナス(1)において転落役報知抽選に当選した際に実行される報知回数抽選では、転落役報知回数が1回:20%、2回:20%、3回:40%、4回:20%の割合で選択されるようになっており、その平均回数は2.6回となり、ビッグボーナス(2)において転落役報知抽選に当選した際に実行される報知回数抽選では、転落役報知回数が1回:50%、2回:30%、3回:15%、4回:5%の割合で選択されるようになっており、その平均回数は1.75回となる。すなわちビッグボーナス(1)において転落役報知抽選に当選した際に実行される報知回数抽選では、報知回数が相対的に多い回数が、ビッグボーナス(2)において転落役報知抽選に当選した際に実行される報知回数抽選よりも高い割合で選択され、ビッグボーナス(2)において転落役報知抽選に当選した際に実行される報知回数抽選では、報知回数が相対的に少ない回数が、ビッグボーナス(1)において転落役報知抽選に当選した際に実行される報知回数抽選よりも高い割合で選択されるようになっている。このため、ビッグボーナス(1)で転落役報知抽選に当選した方が、ビッグボーナス(2)で転落役報知抽選に当選した場合よりも多くの転落役報知回数の獲得を期待できるようになっている。
CPU91aは、ビッグボーナス(1)(2)に対応するビッグボーナス演出として、BB演出モードA〜Cのいずれかの演出モードのうちビッグボーナス(1)またはビッグボーナス(2)の入賞時(ビッグボーナス(1)またはビッグボーナス(2)の入賞を示す入賞判定コマンドを受信したとき)に遊技者が選択した演出モードのビッグボーナス演出を実行する。詳しくは、ビッグボーナス(1)またはビッグボーナス(2)の入賞時に液晶表示器51にBB演出モードA〜Cを定期的に順番に表示し、所望のBB演出モードが表示されているタイミングで賭数設定操作を行うこと(BETコマンドを受信すること)によってその時点で表示されているBB演出モードが設定されるようになっている。尚、BB演出モードはこれに限らず、選択スイッチ56や決定スイッチ57の操作でBB演出モードを遊技者が選択できるようにしても良い。
また、CPU91aは、図27(b)に示すように、BB演出モードに応じて異なる契機で転落役報知抽選を実行するとともに、その際の当選確率もBB演出モードに応じて異なる確率を適用し、さらに転落役報知抽選に当選した旨の告知もBB演出モードに応じて異なる契機で行うようになっている。
詳しくは、BB演出モードAが選択されている場合には、ビッグボーナス(1)またはビッグボーナス(2)中にベルが入賞したとき(ベル入賞を示す入賞判定コマンドを受信したとき)に転落役報知抽選を実行し、その際の当選確率は約4.4%となる。また転落役報知抽選に当選した場合には、当選したゲーム以降、ベル入賞時(ベル入賞を示す入賞判定コマンドを受信したとき)の1/2の確率で転落役報知抽選に当選した旨を告知し、ビッグボーナスの終了までに告知されなければ当該ビッグボーナスの終了時(ビッグボーナスの終了を示す遊技状態コマンドを受信したとき)に転落役報知抽選に当選した旨を告知する。
BB演出モードBが選択されている場合には、ビッグボーナス(1)またはビッグボーナス(2)中においてハズレのとき(ハズレを示す内部当選コマンドを受信したとき)に転落役報知抽選を実行し、その際の当選確率は100%となる。また、転落役報知抽選に当選した場合には、その時点ですぐに転落役報知抽選に当選した旨を告知する。
BB演出モードCが選択されている場合には、ビッグボーナス(1)またはビッグボーナス(2)中にいずれかのチェリーが当選したとき(いずれかのチェリーの当選を示す内部当選コマンドを受信したとき)に転落役報知抽選を実行し、その際の当選確率は約68%となる。また、転落役報知抽選に当選した場合には、当該ビッグボーナスの終了時(ビッグボーナスの終了を示す遊技状態コマンドを受信したとき)に転落役報知抽選に当選した旨を告知する。
尚、BB演出モードA〜Cに関わらず、ビッグボーナス(1)またはビッグボーナス(2)中の各ゲームにおいて転落役報知抽選に当選する実質的な確率(BB演出モードA:ベルの入賞確率(当選確率)×転落役報知抽選の当選確率、BB演出モードB:ハズレ確率、BB演出モードC:(赤チェリーの当選確率+青チェリーの当選確率+白チェリーの当選確率)/3)はほぼ同じ確率(約4%)となる。
また、CPU91aは、RT(1)(2)においていずれの特別役も当選していない状態においても転落役報知抽選を実行するようになっている。図27(b)に示すように、RT(1)(2)中においていずれの特別役も当選していない状態においては、ハズレのとき(ハズレを示す内部当選コマンドを受信したとき)に転落役報知抽選を実行し、その際の当選確率は、RT(1)において5%、RT(2)において20%となる。またこの場合に転落役報知抽選に当選した場合には、その時点で転落役報知抽選に当選した旨を告知する。そして、RT(1)(2)において転落役報知抽選に当選した場合にも転落役報知回数を1回〜4回の範囲で選択する報知回数抽選を実行し、当選した転落役報知回数をRAM91cに設定するか、RAM91cに既に設定されている場合にはその回数に加算する。
RT(1)(2)において実行される報知回数抽選では、図27(a)に示すように、1回〜4回がそれぞれ25%の割合で選択されるようになっている。
CPU91aは、RT(2)中においていずれの特別役も持ち越されていない状態でいずれかの特別役といずれかのチェリーとが同時に当選したときに、転落役報知回数が残存していれば、転落役種類報知を実行する。この際、転落役報知回数は減算せず、その時点の転落役報知回数を仮報知回数として新たに記憶し、仮報知回数を1回減算する。尚、転落役報知回数が残存していなければ、転落役当選報知を実行する。この際、転落役が入賞した場合には、次のゲームの賭数設定操作がなされた時点で、特別役に当選した旨を報知するとともに、RT(2)の継続を報知する。
また、CPU91aは、いずれかの特別役が持ち越されている状態でかつ特別役の当選が報知されていない状態においていずれかのチェリーが当選したときに、転落役報知回数または仮報知回数が残存していれば、転落役種類報知を実行する。この際、転落役報知回数は減算せず、仮報知回数が既に記憶されていれば仮報知回数を1回減算し、仮報知回数が記憶されていなければ、その時点の転落役報知回数を仮報知回数として新たに記憶し、仮報知回数を1回減算する。尚、転落役報知回数も仮報知回数も残存していなければ、転落役当選報知を実行する。この際、転落役が入賞した場合には、次のゲームの賭数設定操作がなされた時点で、特別役に当選した旨を報知するとともに、RT(2)の継続を報知する。
CPU91aは、いずれかの特別役が持ち越されている状態でかつ特別役の当選が報知されている状態においていずれかのチェリーが当選したときに、転落役報知回数または仮報知回数が残存しているか否かに関わらず、転落役種類報知を実行する。
本実施例では、RT(2)においていずれかの特別役が当選している状態においていずれかのチェリーが入賞してもRT(2)が終了することはないので、RT(2)においていずれかの特別役が当選した後は、赤チェリー、青チェリー、白チェリーを入賞させた方がより多くのメダルを獲得できるが、前述のように赤チェリー、青チェリー、白チェリーを構成する左リールの「赤チェリー」図柄、「青チェリー」図柄及び「白チェリー」図柄を意図的に入賞ライン上に停止させることができないので、赤チェリー、青チェリー、白チェリーが当選しても、これら赤チェリー、青チェリー、白チェリーを意図的に入賞させることは不可能であり、これらの役に当選した場合には、1/3の確率で入賞させることができるが、2/3の確率で取りこぼしてしまう。
これに対してRT(2)においていずれかの特別役が当選している状態において、かつ特別役の当選が報知されている場合には、赤チェリー、青チェリー、白チェリーのいずれかが当選した際に、転落役種類報知が実行されると、当選役を認識することが可能となり、当選した赤チェリー、青チェリー、白チェリーを全て入賞させることが可能となる。
このように本実施例では、RT(2)においていずれの特別役も当選していない状態であれば、いずれかのチェリーが当選した際に、当選したチェリーが入賞することでRT(2)が終了してしまうこととなるが、RT(2)においていずれかの特別役が当選すると、以後、いずれかのチェリーが入賞してもRT(2)が終了することがなく、当選したチェリーを入賞させることが可能となるため、RT(2)において特別役が当選することにより、以後、特別役が当選する前に比較してより多くのメダルを獲得することが可能となる。
また、RT(2)においていずれかの特別役が当選しており、かつその旨が報知されている状態では、いずれかのチェリーが当選した際に、転落役種類報知が実行されるため、当選したチェリーを取りこぼすことなく入賞させることが可能となる。尚、特別役が当選していてもその旨が報知されていない状態においては、特別役が当選していない状態と同じ態様に制御される、すなわちいずれかのチェリーが当選した際に、転落役報知回数(仮報知回数)が残存していれば転落役種類報知が実行され、転落役報知回数(仮報知回数)が残存していなければ、転落役当選報知が実行されるので、RT(2)において特別役の当選が報知されていない状態であっても、常に特別役の当選に対する遊技者の期待感を持たせることができる。
また、RT(2)においていずれの特別役も持ち越されていない状態で特別役といずれかのチェリーが同時に当選したとき、またはいずれかの特別役が持ち越されている状態でかつ特別役の当選が報知されていない状態でいずれかのチェリーが当選したときに、当選したチェリーが入賞した場合には、次のゲームの賭数設定操作を契機に特別役の当選を報知するとともに、RT(2)の継続を報知するので、RT(2)が終了したと思っていた遊技者に対して意外性を与えることができる。
CPU91aは、RT(2)の残りゲーム数(規定ゲーム数に到達するまでのゲーム数であり、遊技状態コマンドが示すRT(2)の残りゲーム数)が3ゲームとなったときに、RT(2)の終了までの3ゲームにわたり連続演出を必ず実行するとともに、RT(2)の残りゲーム数(遊技状態コマンドが示すRT(2)の残りゲーム数)が6ゲームとなるまでの期間において、いずれの役も入賞しなかったとき(ハズレを示す入賞判定コマンドを受信したとき)に連続演出を実行するか否かを決定する連続演出抽選を実行し、連続演出抽選に当選した場合にも3ゲームにわたり連続演出を実行する。
連続演出には、最終的にボーナスの当選を報知する当たりパターンと、最終的に特別役に当選していない旨を報知するハズレパターンと、が定められており、CPU91aは、RT(2)の残りゲーム数が3ゲームとなったときには、その時点でいずれかの特別役に当選している場合には、必ず当たりパターンに基づく連続演出を実行し、いずれの特別役も当選していない場合には、必ずハズレパターンに基づく連続演出を実行する。
これに対して連続演出抽選では、図28に示すように、いずれかの特別役に当選している場合にも、ハズレパターンを決定する場合があり、いずれかの特別役に当選している場合に連続演出抽選でハズレパターンが決定された場合には、最終的にハズレを報知するハズレパターンに基づいて連続演出を実行するようになっている。
詳しくは、連続演出抽選において、ビッグボーナス(1)〜(3)が当選している場合には、5%の確率で当たりパターンを決定し、20%の確率でハズレパターンを決定する。また、いずれの特別役も当選していない場合には20%の確率でハズレパターンを決定し、当たりパターンを決定することはない。
そして、CPU91aは、ビッグボーナス(1)〜(3)のいずれかに当選している場合に連続演出抽選で当たりパターンが決定され、決定された当たりパターンに基づく連続演出が実行され、特別役の当選が報知されることで、RT(2)演出における表示画面の背景を選択する背景選択抽選を行うようになっており、RT(2)演出における表示画面の背景を背景選択抽選で選択された背景に変更するようになっている。
RT(2)演出における表示画面の背景は、昼、夕方、夜の3種類からなり、RT(2)演出の背景は常に昼から始まるようになっている。そして背景選択抽選では、ビッグボーナス(1)が当選している場合には、昼:50%、夕方:30%、夜:20%の割合で背景を選択し、ビッグボーナス(2)が当選している場合には、昼:70%、夕方:20%、夜:10%の割合で背景を選択し、ビッグボーナス(3)が当選している場合には、昼:85%、夕方:10%、夜:5%の割合で背景を選択する。
このように背景選択抽選では、ビッグボーナス(3)に当選しているときよりもビッグボーナス(2)に当選しているときの方が夕方、夜が高い割合で選択され、ビッグボーナス(1)に当選しているときの方が更に夕方、夜が高い割合で選択されるようになっている。このため、背景が夕方や夜に変更されることで、より遊技者にとって有利度の高いビッグボーナス(1)の当選が期待できるようになっている。一方、ビッグボーナス(1)が当選している場合でも、50%は昼が選択され、背景が変更されないことがあるため、背景が変更しない場合でもビッグボーナス(1)の当選に期待が持てるようになっている。
次に、連続演出について説明する。
連続演出は、いずれも液晶表示器51に所定の画像を表示することにより行われる。また、連続演出における個々のゲーム毎の演出は、いずれもスタートスイッチ7の操作時(内部当選コマンドを受信したとき)に開始し、リール2L、2C、2Rの全ての回転が停止したとき(全てのリールについてリール停止コマンドを受信したとき)に終了するものである。最終ゲーム以外の個々のゲーム毎の演出の結果は、遊技者側の攻撃、遊技者側のダメージの2通りであり、最終ゲームの演出の結果は、遊技者の勝ち、負けの2通りであるが、演出の過程としてはこれよりも多くの種類のものがある。
連続演出は、前述のようにRT(2)の残りゲーム数(遊技状態コマンドが示すRT(2)の残りゲーム数)が3ゲームとなったとき、または連続演出抽選に当選したときに開始される。そして当たりパターンの連続演出では、連続演出が終了することとなるゲーム(最終ゲーム)においてリール2L、2C、2Rの全ての回転が停止したとき(全てのリールについてリール停止コマンドを受信したとき)に、ボーナスに当選している旨(遊技者の勝ち)が確定的に報知される。
また、ハズレパターンの連続演出では、連続演出の結果としてハズレの結果(遊技者の負け)、すなわちいずれの特別役にも当選していない旨が報知される。また、連続演出抽選で、いずれかの特別役に当選しているにも関わらず、ハズレパターンが当選した場合には、意図的にハズレが報知されることとなるが、RT(2)の残り3ゲームで、いずれのボーナスも当選していない場合に、ハズレパターンに基づく連続演出を開始した場合には、連続演出が開始してから終了するまでにいずれかのボーナスに当選し、連続演出の終了までに当選したボーナスが入賞しなかったときに、そのまま連続演出を終了してハズレの結果を報知したままでは、RT(2)の終了時点における状況とは異なった内容を遊技者に報知してしまうこととなる。
このため、RT(2)の残り3ゲームで開始したハズレパターンの連続演出では、最終ゲームの開始時点において、演出が開始した後にいずれかの特別役に当選したかどうかを判断し、連続演出が開始した後にいずれの特別役にも当選していない場合には、当該ゲームの終了時にハズレの結果が報知され、連続演出が開始した後にいずれかの特別役に当選した場合には、最終ゲームの演出の結果を差し替えて特別役に当選している旨が確定的に報知されるか、差し替えずに次のゲームで追加演出を実行し、この追加演出で特別役に当選している旨が確定的に報知される。
また、CPU91aは、通常遊技状態やRT(1)中においても、特別役と同時当選する可能性のある赤チェリー、青チェリー、白チェリーが当選したとき(いずれかのチェリーの当選を示す内部当選コマンドを受信したとき)に連続演出を実行するか否かを決定する連続演出抽選を実行し、連続演出抽選に当選した場合にも3ゲームにわたり連続演出を実行する。尚、通常遊技状態において実行する連続演出抽選においては、RT(1)中において実行する連続演出抽選に比較して高い確率で連続演出の実行が決定されるようになっており、通常遊技状態においてはRT(1)中よりも高い頻度で連続演出が実行されるようになっている。
CPU91aは、通常遊技状態、RT(1)中及びRT(2)中における前述した単発演出として、特別役が当選しているか否かに関わらず実行されるが、特別役に当選しているときに特別役に当選していないときよりも高い確率で実行されることで特別役に当選している可能性を示すチャンス演出を実行する。チャンス演出は、内部当選コマンドを受信した際に実行する演出パターン選択処理において、チャンス演出用の演出パターンが選択されることにより実行される。演出パターン選択処理では、通常遊技状態において、RT(1)中及びRT(2)中に比較して高い確率でチャンス演出用の演出パターンを選択するようになっており、通常遊技状態においてはRT(1)中及びRT(2)中よりも高い頻度でチャンス演出が実行されるようになっている。
また、CPU91aは、通常遊技状態、RT(1)中及びRT(2)中における単発演出としてリプレイ(1)または特別役が当選しているときに、リプレイ(1)または特別役のいずれかが当選している旨を示すリプレイ告知演出を実行するようになっている。リプレイ告知演出は、基本的にリプレイ(1)当選時に実行されるものであり、当該リプレイ告知演出が実行されるとリプレイ(1)が入賞することとなるが、特別役の当選時に実行されるとリプレイ(1)が入賞しないこととなるため、リプレイ告知演出が実行され、かつリプレイ(1)が入賞しないことにより特別役の当選が示唆されることとなる。リプレイ告知演出は、内部当選コマンドを受信した際に実行する演出パターン選択処理において、リプレイ告知演出用の演出パターンが選択されることにより実行される。演出パターン選択処理では、RT(1)中及びRT(2)中においてリプレイ(1)が当選した際に、通常遊技状態においてリプレイ(1)が当選した場合に比較して低い確率でリプレイ告知演出用の演出パターンを選択するようになっている。
また、CPU91aは、通常遊技状態、RT(1)中、RT(2)中及び後述するビッグボーナス(4)またはビッグボーナス(5)の告知期間における単発演出として小役または特別役が当選しているときに、小役または特別役のいずれかが当選している旨を示す小役告知演出を実行するようになっている。小役告知演出は、基本的に小役当選時に実行されるものであり、当該小役告知演出が実行されると、告知された小役を取りこぼさなければその小役が入賞することとなるが、特別役の当選時に実行されると小役が入賞しないこととなるため、小役告知演出が実行され、かつ小役が入賞しないことにより特別役の当選が示唆されることとなる。小役告知演出は、内部当選コマンドを受信した際に実行する演出パターン選択処理において、小役告知演出用の演出パターンが選択されることにより実行される。小役告知演出には、第1の小役告知演出と第2の小役告知演出があり、演出パターン選択処理では、通常遊技状態、RT(1)中、RT(2)において特別役が当選していない状態で小役が単独で当選したときには、第1の小役告知演出用の演出パターンを、第2の小役告知演出用の演出パターンよりも高い割合で選択し、通常遊技状態、RT(1)中、RT(2)において特別役が当選したとき、特別役が当選している状態で小役が当選したとき、特別役と小役が同時に当選したとき、ビッグボーナス(4)またはビッグボーナス(5)の後述する告知期間において小役が当選したときには、第2の小役告知演出用の演出パターンを、第1の小役告知用の演出パターンよりも高い割合で選択するようになっている。
また、本実施例においてCPU91aは、転落役報知抽選、報知回数抽選、連続演出抽選、背景選択抽選、演出パターン選択処理を行う際に、同一の乱数カウンタから取得した乱数を用いるようになっている。すなわち複数種類の抽選に対して同一の乱数カウンタから取得した乱数を用いて抽選を行うようになっており、これら複数種類の抽選のそれぞれに対して乱数カウンタを設ける必要がない。尚、本実施例では、これら全ての抽選に対して同一の乱数カウンタから取得した乱数を用いて抽選を行うようになっているが、全ての抽選に対して同一の乱数カウンタから取得した乱数を用いる場合でなくとも、少なくとも複数種類の抽選に対して同一の乱数カウンタから取得した乱数を用いるものであれば上記の効果は得られる。
次に、ビッグボーナス(4)またはビッグボーナス(5)が入賞した際に実行するボーナス演出について説明する。
CPU91aは、ビッグボーナス(4)またはビッグボーナス(5)が入賞したときに、ビッグボーナス(1)〜(3)が入賞したときのようにビッグボーナスの入賞を示す演出を行わず、それまでの遊技状態の演出を継続する。
さらに、ビッグボーナス(4)及びビッグボーナス(5)の組合せは、「7」などの目立つ図柄よりもそのサイズが小さく、各リールに配置されている数も多い「ベル」及び「リプレイ」にて構成され、かつ2種類以上の図柄にて構成されており、入賞ラインに揃ったことが分かりづらいようになっている。さらにビッグボーナス(4)及びビッグボーナス(5)以外の役については、リール2L、2C、2Rを跨って一直線上に並ぶ入賞ラインL1〜L4に揃うように制御されるのに対して、ビッグボーナス(4)及びビッグボーナス(5)については、全てのリールにおいて上段・中段・下段のうち停止する位置が異なり、かつ一直線上に位置しない図柄に跨って設定される入賞ラインL5、L6に揃うようになっており、ビッグボーナス(4)及びビッグボーナス(5)の組合せが入賞ラインに揃ったことが一層分かりづらいようになっている。
そして図29に示すように、ビッグボーナス(4)またはビッグボーナス(5)が入賞し、遊技状態がビッグボーナス(4)またはビッグボーナス(5)に移行すると、最大3ゲームの告知期間において入賞告知抽選を行い、入賞告知抽選に当選することで、ビッグボーナス(4)またはビッグボーナス(5)に移行した旨を告知するボーナス告知演出を行う。尚、告知期間において入賞告知抽選に当選しなければ3ゲームの終了とともに強制的にボーナス告知演出を行う。
また、前述のように告知期間以外で、かつ特別役が当選していない状態で小役が単独で当選したときには、第1の小役告知演出が第2の小役告知演出よりも高い割合で実行されるのに対して、告知期間において小役が当選したときには、第2の小役告知演出が第1の小役告知演出よりも高い割合で実行されるようになっており、告知期間においては、告知期間以外で、かつ特別役が当選していない状態において実行される頻度の低い第2の小役告知演出が高い頻度で実行されるようになっている。
ボーナス告知演出の後、ビッグボーナス中の総払出枚数がビッグボーナス(5)の終了条件となる100枚を超えるまで、第1のボーナス演出を実行し、ビッグボーナス中の総払出枚数が100枚を超えたゲームで第1のボーナス演出を終了する。そして、ビッグボーナス(5)であれば、そのままビッグボーナス(5)の終了とともにボーナス演出も終了するのに対して、ビッグボーナス(4)であれば、次のゲームの終了までの間のいずれかのタイミング(賭数の設定操作、スタート操作、停止操作のいずれかのタイミングを抽選で決定する)で継続告知を行い、ビッグボーナス中の総払出枚数がビッグボーナス(4)の終了条件となる300枚を超えるまで、第2のボーナス演出を実行し、ビッグボーナス中の総払出枚数が300枚を超えたゲームで第2のボーナス演出を終了し、ビッグボーナス(4)の終了とともにボーナス演出も終了する。
本実施例においてメイン制御部41は、ゲーム終了後から賭数の設定操作がなされずに一定時間(30秒)経過したとき、クレジットの精算操作がなされたとき、賭数の精算操作がなされたときに待機コマンドを送信するようになっている。
一方、サブ制御部91のCPU91aは、連続演出やボーナス演出により遊技効果音を継続して出力している状態において、待機コマンドを受信したときに、通常音量(MAX)にて出力中の遊技効果音を下げる制御(消音制御)を行うようになっている。
このため、図30(a)に示すように、連続演出やボーナス演出により遊技効果音を継続して出力している状態において、ゲーム終了後から遊技の進行操作がなされずに一定時間(30秒)が経過したときに、通常音量(MAX)にて出力中の遊技効果音を下げる制御(消音制御)が行われることとなる。
また、図30(b)に示すように、連続演出やボーナス演出により遊技効果音を継続して出力している状態において、ゲーム終了後から一定時間(30秒)が経過する前であっても、クレジットの精算操作がなされたときには、一定時間の経過を待たず、通常音量(MAX)にて出力中の遊技効果音を下げる制御(消音制御)が行われることとなる。
また、メイン制御部41は、賭数が設定されている状態においては、ゲーム終了後から経過した時間に関わらず待機コマンドを送信しないようになっている。
このため、図31(a)に示すように、連続演出やボーナス演出により遊技効果音を継続して出力している状態において、ゲーム終了後から一定時間(30秒)が経過する前に賭数が設定されたときには、ゲーム終了後から一定時間が経過しても遊技効果音の消音制御は行われず、その後、賭数の精算操作がなされ、待機コマンドが送信されたときに、遊技効果音の消音制御が行われるうようになっている。
また、図31(b)に示すように、連続演出やボーナス演出により遊技効果音を継続して出力している状態において、ゲーム終了後から一定時間(30秒)が経過する前に賭数が設定され、かつゲーム終了後から一定時間が経過する前であっても、賭数の精算操作がなされ、待機コマンドが送信されたときには、一定時間の経過を待たず、通常音量(MAX)にて出力中の遊技効果音を下げる制御(消音制御)が行われることとなる。
尚、CPU91aは、消音制御を行った後、賭数が設定されたとき、すなわち待機コマンドを受信した後、BETコマンドを受信したときに遊技効果音を通常音量(MAX)に戻すようになっている。
また、賭数が既に設定されている状態において、ゲーム終了後から一定時間(30秒)が経過した場合でも、メイン制御部41が待機コマンドを送信しないようになっている。このため、CPU91aは、ゲーム終了後から一定時間が経過した場合でも、賭数が既に設定されており、遊技者がゲームを開始する意志がある状態であれば、デモ演出を行わないようになっている。
また、賭数が既に設定されている状態において、ゲーム終了後から一定時間(30秒)が経過した場合でも、メイン制御部41が待機コマンドを送信しないようになっているので、この状態で遊技効果音が継続して出力されている場合でも、CPU91aは、遊技者がゲームを開始する意志がある状態であるため、遊技効果音を消音する制御は行わないようになっている。
次に、本実施例におけるメイン制御部41のCPU41aが実行する各種制御内容を、図32〜図47に基づいて以下に説明する。
CPU41aは、リセット回路49からリセット信号が入力されると、図32のフローチャートに示す起動処理を行う。尚、リセット信号は、電源投入時及びメイン制御部41の動作が停滞した場合に出力される信号であるので、起動処理は、電源投入に伴うCPU41aの起動時及びCPU41aの不具合に伴う再起動時に行われる処理である。
起動処理では、まず、内蔵デバイスや周辺IC(断線監視IC50を除く)、割込モード、スタックポインタ等を初期化した後(Sa1)、入力ポートから電圧低下信号の検出データを取得し、電圧低下信号が入力されているか否か、すなわち電圧が安定しているか否かを判定し(Sa2)、電圧低下信号が入力されている場合には、電圧低下信号が入力されているか否かの判定以外は、いずれの処理も行わないループ処理に移行する。
Sa2のステップにおいて電圧低下信号が入力されていないと判定した場合には、Iレジスタ及びIYレジスタの値を初期化する(Sa3)とともに、打止スイッチ36、自動精算スイッチ36bの状態を取得し、CPU41aの特定のレジスタに打止機能、自動精算機能の有効/無効を設定する(Sa4)。Iレジスタ及びIYレジスタの初期化により、Iレジスタには、割込発生時に参照する割込テーブルのアドレスが設定され、IYレジスタには、RAM41cの格納領域を参照する際の基準アドレスが設定される。これらの値は、固定値であり、起動時には常に初期化されることとなる。
次いで、RAM41cへのアクセスを許可し(Sa5)、設定キースイッチ37がONの状態か否かを判定する(Sa6)。Sa6のステップにおいて設定キースイッチ37がONの状態でなければ、断線監視IC50から断線フラグの記憶状態を取得し(Sa7)、断線フラグが記憶されているか否かを判定する(Sa8)。停電中に遊技制御基板40と投入メダルセンサ31との間の電気的な接続状態及び遊技制御基板40と演出制御基板90との間の電気的な接続状態が解除されていなければ、断線フラグは記憶されていないはずであり、断線フラグが記憶されている場合には、停電中に遊技制御基板40と投入メダルセンサ31との間の電気的な接続状態または遊技制御基板40と演出制御基板90との間の電気的な接続状態が解除されたこととなるため、断線異常を示すエラーコードをレジスタに設定し(Sa9)、図33に示すエラー処理に移行する。
Sa8のステップにおいて断線フラグが記憶されていない場合には、RAM41cの全ての格納領域(未使用領域及び未使用スタック領域を含む)のRAMパリティを計算し(Sa10)、RAMパリティが0か否かを判定する(Sa11)。正常に電断割込処理(メイン)が行われていれば、RAMパリティが0になるはずであり、Sa11のステップにおいてRAMパリティが0でなければ、RAM41cに格納されているデータが正常ではないので、RAM異常を示すエラーコードをレジスタに設定し(Sa13)、図33に示すエラー処理に移行する。
また、Sa11のステップにおいてRAMパリティが0であれば、更に破壊診断用データが正常か否かを判定する(Sa12)。正常に電断割込処理(メイン)が行われていれば、破壊診断用データが設定されているはずであり、Sa12のステップにおいて破壊診断用データが正常でない場合(破壊診断用データが電断時に格納される5A(H)以外の場合)にも、RAM41cのデータが正常ではないので、RAM異常を示すエラーコードをレジスタに設定し(Sa13)、図33に示すエラー処理に移行する。
エラー処理では、図33に示すように、現在の遊技補助表示器12の表示状態をスタックに退避し(Sb1)、レジスタに格納されているエラーコードを遊技補助表示器12に表示する(Sb2)。
次いで、レジスタに格納されているエラーコードを確認し、当該エラーコードが断線異常エラー、RAM異常エラーまたは異常入賞エラーを示すエラーコードであるか否かを判定し(Sb3)、断線異常エラー、RAM異常エラーまたは異常入賞エラーを示すエラーコードである場合には、RAM41cの格納領域のうち、使用中スタック領域を除く全ての格納領域を初期化する初期化0を行った後(Sb4)、いずれの処理も行わないループ処理に移行する。
また、Sb3のステップにおいて、断線異常エラー、RAM異常エラー及び異常入賞エラー以外を示すエラーコードではないと判定された場合には、リセット/設定スイッチ38の操作が検出されているか否かを判定し(Sb5)、リセット/設定スイッチ38の操作が検出されていなければ、更にリセットスイッチ23の操作が検出されているか否かを判定し(Sb6)、リセットスイッチ23の操作も検出されていなければ、Sb5のステップに戻る。すなわちリセット/設定スイッチ38またはリセットスイッチ23の操作が検出されるまで、遊技の進行が不能な状態で待機する。
そして、Sb5のステップにおいてリセット/設定スイッチ38の操作が検出された場合、またはSb6のステップにおいてリセットスイッチ23の操作が検出された場合には、レジスタに格納されているエラーコードをクリアし(Sb7)、遊技補助表示器12の表示状態をSb1のステップにおいてスタックに退避した表示状態に復帰させて(Sb8)、もとの処理に戻る。
このようにエラー処理においては、断線異常エラー、RAM異常エラー及び異常入賞エラー以外によるエラー処理であれば、リセット/設定スイッチ38またはリセットスイッチ23が操作されることで、エラー状態を解除してもとの処理に復帰するが、断線異常エラー、RAM異常エラーまたは異常入賞エラーによるエラー処理であれば、RAM41cの格納領域のうち、使用中スタック領域を除く全ての格納領域を初期化する初期化0を行うとともに、リセット/設定スイッチ38またはリセットスイッチ23が操作されてもエラー状態が解除され、元の状態に復帰することはない。
図32に戻り、Sa12のステップにおいて破壊診断用データが正常であると判定した場合には、RAM41cのデータは正常であるので、RAM41cの非保存ワーク、未使用領域及び未使用スタック領域を初期化する初期化3を行った後(Sa14)、破壊診断用データをクリアする(Sa15)。次いで、電断前の状態でいずれかの特別役が当選しているか否かを判定し(Sa16)、電断前の状態でいずれかの特別役が当選している場合には、特別役の当選を示す電源投入コマンドを設定し(Sa17)、Sa19のステップに進み、電断前の状態でいずれの特別役も当選していない場合には、特別役の非当選を示す電源投入コマンドを設定し(Sa18)、Sa19のステップに進む。
Sa19のステップでは、各レジスタを電断前の状態、すなわちスタックに保存されている状態に復帰し、割込を許可して(Sa20)、電断前の最後に実行していた処理に戻る。また、Sa20のステップにおいて割込が許可されると、タイマ割込処理が定期的に実行されることとなり、これに伴いSa17またはSa18のステップにおいて設定された電源投入コマンドがサブ制御部91に対して送信される。
また、Sa6のステップにおいて設定キースイッチ37がONの状態であれば、リセット/設定スイッチ38がONの状態か否かを判定する(Sa21)。Sa21のステップにおいてリセット/設定スイッチ38がONの状態であれば、RAM41cの格納領域のうち、使用中スタック領域を除く全ての格納領域を初期化する初期化0を実行した後(Sa22)、Sa24のステップに進む。一方Sa21のステップにおいてリセット/設定スイッチ38がOFFの状態であれば、RAM41cの格納領域のうち、停止相ワーク及び使用中スタック領域を除く全ての格納領域を初期化する初期化1を実行した後(Sa23)、Sa24のステップに進む。
Sa24のステップでは、設定値ワークに格納されている値(この時点では0)を1に補正する。次いで、初期化コマンドをセットした後(Sa25)、割込を許可して(Sa26)、図34に示す設定変更処理、すなわち設定変更モードに移行する(Sa27)。Sa26のステップにおいて割込が許可されると、タイマ割込処理が定期的に実行されることとなり、これに伴いSa25のステップにおいて設定された初期化コマンドがサブ制御部91に対して送信される。Sa27のステップにおける設定変更処理の終了後、設定終了コマンドを設定し(Sa28)、ゲーム処理に移行する。Sa28のステップにおいて設定された初期化コマンドは、その後のタイマ割込処理においてサブ制御部91に対して送信される。
設定変更処理では、図34に示すように、RAM41cの設定値ワークに格納されている設定値(設定変更処理に移行する前に設定値ワークの値は1に補正されているので、ここでは1である)を読み出す(Sc1)。
その後、リセット/設定スイッチ38とスタートスイッチ7の操作の検出待ちの状態となり(Sc2、Sc3)、Sc2のステップにおいてリセット/設定スイッチ38の操作が検出されると、Sc1のステップにおいて読み出した設定値に1を加算し(Sc4)、加算後の設定値が7であるか否か、すなわち設定可能な範囲を超えたか否かを判定し(Sc5)、加算後の設定値が7でなければ、再びSc2、Sc3のステップにおけるリセット/設定スイッチ38とスタートスイッチ7の操作の検出待ちの状態に戻り、Sc5のステップにおいて加算後の設定値が7であれば設定値を1に補正した後(Sc6)、再びSc2、Sc3のステップにおけるリセット/設定スイッチ38とスタートスイッチ7の操作の検出待ちの状態に戻る。
また、Sc3のステップにおいてスタートスイッチ7の操作が検出されると、その時点で選択されている変更後の設定値をRAM41cの設定値ワークに格納して、設定値を確定した後(Sc7)、設定キースイッチ37がOFFの状態となるまで待機する(Sc8)。そして、Sc8のステップにおいて設定キースイッチ37のOFFが判定されると、図32のフローチャートに復帰し、ゲーム処理に移行することとなる。
このように起動処理においては、設定キースイッチ37がONの状態ではない場合に、断線フラグが記憶されているか否かを判定し、断線フラグが記憶されていればエラー処理に移行する。また、RAMパリティが0であるか否か、破壊診断用データが正常であるか否かを判定することでRAM41cに記憶されているデータが正常か否かを判定し、RAM41cのデータが正常でなければ、エラー処理に移行する。断線異常エラー、RAM異常エラーによるエラー処理では、断線異常エラー、RAM異常エラーを示すエラーコードを遊技補助表示器12に表示させた後、電断前の状態に復帰不能となるように初期化1を行ってRAM41cを初期化し、いずれの処理も行わないループ処理に移行するので、ゲームの進行が不能化される。そして、RAM41cのデータが正常でなければ、割込が許可されることがないので、一度断線異常エラーまたはRAM異常エラーによるエラー処理に移行すると、設定キースイッチ37がONの状態で起動し、割込が許可されるまでは、電断しても電断割込処理(メイン)は行われない。すなわち電断割込処理(メイン)において新たにRAMパリティが0となるようにRAM調整用データが計算されて格納されることはなく、破壊診断用データが新たに設定されることもないので、CPU41aが再起動しても設定キースイッチ37がONの状態で起動した場合を除き、CPU41aを再起動させてもゲームを再開させることができないようになっている。
そして、断線異常エラーまたはRAM異常エラーによるエラー処理に一度移行すると、設定キースイッチ37がONの状態で起動し、RAM41cの使用中スタック領域を除く全ての領域が初期化された後、設定変更処理が行われ、リセット/設定スイッチ38の操作により新たに設定値が選択・設定されるまで、ゲームの進行が不能な状態となる。すなわちRAM異常エラーによるエラー処理に移行した状態では、リセット/設定スイッチ38の操作により新たに設定値が選択・設定されたことを条件に、ゲームの進行が不能な状態が解除され、ゲームを再開させることが可能となる。
また、設定キースイッチ37のみがONの状態で起動した場合には、RAM41cの格納領域のうち、停止相ワーク及び使用中スタック領域を除く全ての格納領域を初期化する初期化1が実行された後、設定変更モードへ移行するのに対して、設定キースイッチ37及びリセット/設定スイッチ38の双方がONの状態で起動した場合には、RAM41cの格納領域のうち、使用中スタック領域を除く全ての格納領域を初期化する初期化0が実行された後、設定変更モードへ移行するようになっており、設定キースイッチ37のみがONの状態で起動するか、設定キースイッチ37及びリセット/設定スイッチ38の双方がONの状態で起動するか、によってリールモータ32L、32C、32Rの停止相を示すデータを残して初期化するか、含めて初期化するか、を選択できるようになっている。
図35は、CPU41aが実行するゲーム処理の制御内容を示すフローチャートである。
ゲーム処理では、BET処理(Sd1)、内部抽選処理(Sd2)、リール回転処理(Sd3)、入賞判定処理(Sd4)、払出処理(Sd5)、ゲーム終了時処理(Sd6)を順に実行し、ゲーム終了時処理が終了すると、再びBET処理に戻る。
Sd1のステップにおけるBET処理では、賭数を設定可能な状態で待機し、遊技状態に応じた規定数の賭数が設定され、スタートスイッチ7が操作された時点で賭数を確定する処理を実行する。
Sd2のステップにおける内部抽選処理では、Sd1のステップにおけるスタートスイッチ7の検出によるゲームスタートと同時に内部抽選用の乱数を抽出し、抽出した乱数の値に基づいて上記した各役への入賞を許容するかどうかを決定する処理を行う。この内部抽選処理では、それぞれの抽選結果に基づいて、RAM41cに当選フラグが設定される。
Sd3のステップにおけるリール回転処理では、各リール2L、2C、2Rを回転させる処理、遊技者によるストップスイッチ8L、8C、8Rの操作が検出されたことに応じて対応するリール2L、2C、2Rの回転を停止させる処理を実行する。
Sd4のステップにおける入賞判定処理では、Sd3のステップにおいて全てのリール2L、2C、2Rの回転が停止したと判定した時点で、各リール2L、2C、2Rに導出された表示結果に応じて入賞が発生したか否かを判定する処理を実行する。
Sd5のステップにおける払出処理では、Sd4のステップにおいて入賞の発生が判定された場合に、その入賞に応じた払出枚数に基づきクレジットの加算並びにメダルの払出等の処理を行う。
Sd6のステップにおけるゲーム終了時処理では、次のゲームに備えて遊技状態を設定する処理を実行する。また、ゲーム終了時処理では、RTに関連する制御を行うRT処理についても行われる。
図36及び図37は、CPU41aがSd1のステップにおいて実行するBET処理の制御内容を示すフローチャートである。
BET処理では、まず、RAM41cにおいて賭数の値が格納されるBETカウンタの値をクリアし(Se1)、遊技状態に応じた規定数(本実施例では遊技状態に関わらず3)をRAM41cに設定し(Se2)、RAM41cにリプレイゲームである旨を示すリプレイゲームフラグが設定されているか否かに基づいて当該ゲームがリプレイゲームであるか否かを判定する(Se3)。
Se3のステップにおいて当該ゲームがリプレイゲームであると判定された場合には、BETカウンタの値を1加算し(Se4)、RAM41cに設定された賭数の規定数を参照し、BETカウンタの値が規定数であるか否を判定し(Se5)、BETカウンタの値が規定数でなければSe4のステップに戻り、BETカウンタの値が規定数であれば、メダルの投入不可を示す投入不可フラグをRAM41cに設定し(Se6)、Se10のステップに進む。
Se3のステップにおいて当該ゲームがリプレイゲームでないと判定されれば、満タンフラグがRAM41cに設定されているか否か、すなわち前のゲーム以前にオーバーフロータンク35の満タン状態が判定されているか否かを判定し(Se7)、満タンフラグが設定されていれば、満タン異常を示すエラーコードをレジスタに設定し(Se8)、図33に示すエラー処理に移行する。
Se7のステップにおいて満タンフラグが設定されていなければ、投入待ち前の設定を行い(Se9)、Se10のステップに進む。投入待ち前の設定では、RAM41cに設定されている投入不可フラグをクリアし、1枚BETスイッチ5、MAXBETスイッチ6、スタートスイッチ7、精算スイッチ10の検出を有効化するとともに、メダルの投入が検出された際に、そのメダルが前のゲーム制御終了後、最初に投入されたメダルである旨を示す第1投入フラグをRAM41cに設定する。
Se10のステップにおいては、RAM41cに投入不可フラグが設定されているか否かに基づいてメダルの投入が可能な状態か否かを判定する。Se10のステップにおいてメダルの投入が可能な状態であると判定された場合には、流路切替ソレノイド30をonの状態とし、メダルの流路をホッパータンク側の経路としてメダルの投入が可能な状態とし(Se11)、Se13のステップに進み、メダルの投入が可能な状態でないと判定された場合には、流路切替ソレノイド30をoffの状態とし、メダルの流路をメダル払出口9側の経路として新たなメダルの投入を禁止し(Se12)、Se13のステップに進む。
Se13のステップにおいては、投入メダルセンサ31により投入メダルの通過が検出されたか否かを判定する。Se13のステップにおいて投入メダルの通過が検出されていなければ、Se24のステップに進み、投入メダルの通過が検出されていれば、RAM41cに投入不可フラグが設定されているか否かに基づいてメダルの投入が可能な状態か否かを判定し(Se14)、メダルの投入が可能な状態でなければSe24のステップに進む。
Se14のステップにおいてメダルの投入が可能な状態であれば、第1投入フラグがRAM41cに設定されているか否かに基づいてゲーム制御終了後最初の投入であるか否かを判定し(Se15)、ゲーム制御終了後最初の投入でなければSe19のステップに進み、ゲーム制御終了後、最初の投入であれば、第1投入フラグをクリアし(Se16)、満タンセンサ35aが検出されているか否かを判定する(Se17)。Se17のステップにおいて満タンセンサ35aが検出されていなければSe19のステップに進み、満タンセンサ35aが検出されている場合には、オーバーフロータンク35の満タン状態を示す満タンフラグをRAM41cに設定し(Se18)、Se19のステップに進む。
Se19のステップでは、RAM41cに設定された賭数の規定数を参照し、BETカウンタの値が規定数であるか否を判定し、BETカウンタの値が規定数でなければ、BETカウンタの値を1加算し(Se20)、Se10のステップに戻る。
Se19のステップにおいてBETカウンタの値が規定数であれば、RAM41cにおいてクレジットの値が格納されるクレジットカウンタの値を1加算し(Se21)、クレジットカウンタの値が上限値である50であるか否かを判定し(Se22)、クレジットカウンタの値が50でなければ、Se10のステップに戻り、クレジットカウンタの値が50であれば投入不可フラグをRAM41cに設定し(Se23)、Se10のステップに戻る。
Se24のステップでは、スタートスイッチ7の操作が検出されているか否かを判定する。Se24のステップにおいてスタートスイッチ7の操作が検出されていなければSe28のステップに進み、スタートスイッチ7の操作が検出されていれば、RAM41cに設定された賭数の規定数を参照し、BETカウンタの値が規定数であるか否かを判定する(Se25)。
Se25のステップにおいてBETカウンタの値が規定数でなければ、Se10のステップに戻り、BETカウンタの値が規定数であれば、投入不可フラグをRAM41cに設定するとともに、流路切替ソレノイド30をoffの状態とし、メダルの流路をメダル払出口9側の経路として新たなメダルの投入を禁止し(Se26)、ゲーム開始時の設定を行う(Se27)。ゲーム開始時の設定では、1枚BETスイッチ5、MAXBETスイッチ6、スタートスイッチ7、精算スイッチ10の操作の検出を無効化する。そして、Se27のステップの後、BET処理を終了して図35のフローチャートに復帰する。これに伴い、メダルの投入、1枚BETスイッチ5及びMAXBETスイッチ6の操作の検出に基づく賭数の設定が禁止されるとともに、精算スイッチ10の操作の検出に基づくクレジットの精算が禁止されることとなる。
Se28のステップにおいては、1枚BETスイッチ5の操作が検出されているか否かを判定する。Se28のステップにおいて1枚BETスイッチ5の操作が検出されていなければ、Se33のステップに進み、1枚BETスイッチ5の操作が検出されていれば、RAM41cに設定された賭数の規定数を参照し、BETカウンタの値が規定数であるか否かを判定する(Se29)。Se29のステップにおいてBETカウンタの値が規定数であればSe10のステップに戻り、BETカウンタの値が規定数でなければ、クレジットカウンタの値が0であるか否かを判定し(Se30)、クレジットカウンタの値が0であればSe10のステップに戻る。Se30のステップにおいてクレジットカウンタの値が0でなければ、クレジットカウンタの値を1減算し(Se31)、BETカウンタの値を1加算して(Se32)、Se10のステップに戻る。
Se33のステップにおいては、MAXBETスイッチ6の操作が検出されているか否かを判定する。Se33のステップにおいてMAXBETスイッチ6の操作が検出されていなければ、Se38のステップに進み、MAXBETスイッチ6の操作が検出されていれば、RAM41cに設定された賭数の規定数を参照し、BETカウンタの値が規定数であるか否かを判定する(Se34)。Se34のステップにおいてBETカウンタの値が規定数であればSe10のステップに戻り、BETカウンタの値が規定数でなければ、クレジットカウンタの値が0であるか否かを判定し(Se35)、クレジットカウンタの値が0であればSe10のステップに戻る。Se35のステップにおいてクレジットカウンタの値が0でなければ、クレジットカウンタの値を1減算し(Se36)、BETカウンタの値を1加算して(Se37)、Se34のステップに戻る。
Se38のステップにおいては、精算スイッチ10の操作が検出されているか否かを判定する。Se38のステップにおいて精算スイッチ10の操作が検出されていなければ、Se10のステップに戻り、精算スイッチ10の操作が検出されていれば、RAM41cにリプレイゲームフラグが設定されているか否かに基づいて当該ゲームがリプレイゲームであるか否かを判定し(Se39)、当該ゲームがリプレイゲームであればSe10のステップに戻る。Se39のステップにおいて当該ゲームがリプレイゲームでなければ、BETカウンタの値が0か否かを判定し(Se40)、BETカウンタの値が0であればSe36のステップに進み、BETカウンタの値が0でなければ、既に設定済み賭数の精算を行う旨を示す賭数精算フラグをRAM41cに設定し(Se41)、Se42のステップに進む。Se42のステップにおいては、ホッパーモータ34bを駆動してクレジットカウンタまたはBETカウンタに格納された値分のメダルを払い出す制御、すなわちクレジットとして記憶されているメダルまたは賭数の設定に用いられたメダルを返却する制御が行われる精算処理を行う。そして、Se42のステップにおける精算処理の後、RAM41cに設定されている投入不可フラグをクリアして(Se43)、Se10のステップに戻る。
図38は、CPU41aがSd2のステップにおいて実行する内部抽選処理の制御内容を示すフローチャートである。
本実施例の内部抽選処理では、まず、当該ゲームの遊技状態に応じて予め定められたメダルの投入枚数である規定数を読み出し(Sg1)、Sg2のステップに進む。規定数は、いずれの遊技状態においても3枚とされている。
Sg2のステップでは、メダルの投入枚数、すなわちBETカウンタの値が、Sg1のステップにて読み出した規定数と一致するか否かを判定し、メダルの投入枚数が規定数と一致すればSg3のステップに進み、メダルの投入枚数が規定数と一致しなければSg4のステップに進む。
Sg3のステップでは、RAM41cの設定値ワークに格納されている設定値が1〜6の範囲であるか否か、すなわち設定値ワークに格納されている設定値が適正な値か否かを判定し、設定値が1〜6の範囲であればSg5のステップに進み、1〜6の範囲でなければSg4のステップに進む。
Sg4のステップでは、RAM41cに格納されているデータが正常ではないと判定されたため、RAM異常を示すエラーコードをレジスタに格納し、図33に示すエラー処理に移行する。
Sg5のステップでは、当該ゲームに用いる乱数を取得する乱数取得処理を行い、Sg6のステップに進む。乱数取得処理では、サンプリング回路43にサンプリング指令を出力し、乱数発生回路42が発生している乱数をラッチさせ、ラッチさせた乱数の値をI/Oポート41dから入力して、これを抽出し、抽出した乱数に対して所定の論理演算を行い、その結果を乱数として取得する。
Sg6のステップでは、当該ゲームの遊技状態に応じて状態番号(0〜5のいずれか)をRAM41cに格納し、Sg7のステップに進む。Sg7のステップでは、状態番号が示す遊技状態、及びメダル投入枚数(BETカウンタの値)に応じて最初に抽選対象とする役番号をRAM41cに格納し、Sg8のステップに進む。Sg7のステップでは、状態番号が0〜2の場合、すなわち通常遊技状態、RT(1)、RT(2)においていずれの特別役も持ち越されていない場合には、最初に抽選対象とする役番号として0(ビッグボーナス(1))を設定し、状態番号が3、4のいずれかの場合、すなわち通常遊技状態、RT(2)においていずれかの特別役が持ち越されている場合には、最初に抽選対象とする役番号として14(リプレイ(1))を設定し、状態番号が5の場合、すなわちレギュラーボーナスの場合には、最初に抽選対象とする役番号として16(赤チェリー)を設定する。
Sg8のステップでは、状態番号が5であるか否か、すなわちレギュラーボーナス中であるか否かを確認し、状態番号が5である場合、すなわちレギュラーボーナス中である場合にはSg10のステップに進む。状態番号が5でない場合にはSg9のステップに進む。
Sg9のステップでは、抽選対象とする役番号が20であるか否か、すなわちレギュラーボーナス以外の遊技状態において抽選対象となる全ての役の抽選が終了したか否かを確認し、役番号が20である場合にはSg11のステップに進む。20でない場合にはSg10のステップに進む。
Sg10のステップでは、抽選対象とする役番号が23であるか否か、すなわちレギュラーボーナスにおいて抽選対象となる全ての役の抽選が終了したか否かを確認し、役番号が23である場合にはSg11のステップに進む。23でない場合にはSg12のステップに進む。
Sg11のステップでは、RAM41cにおいて一般役の当選フラグが格納される一般役格納ワークをクリアして、内部抽選処理を終了し、図35に示すフローチャートに復帰する。
Sg12のステップでは、処理対象の役番号に対応付けて、役別テーブルに登録されている共通フラグが1か否かを確認し、1である場合にはSg13のステップに進み、1でない場合にはSg14のステップに進む。
Sg13のステップでは、処理対象の役番号に対応付けて役別テーブルに登録されているROM41bの判定値数の格納領域のアドレスを読み出す。そして、このアドレスに格納されている判定値数を取得して、Sg15のステップに進む。
Sg14のステップでは、まず、RAM41cに格納されている設定値を読み出し、さらに、処理対象の役番号及び読み出した設定値に対応付けて、役別テーブルに登録されているROM41bの判定値数の格納領域のアドレスを読み出す。そして、このアドレスに格納されている判定値数を取得して、Sg15のステップに進む。
Sg15のステップでは、内部抽選用の乱数値に、Sg13またはSg14のステップにおいて取得した判定値数を加算し、加算の結果を新たな乱数値とし、Sg16のステップに進み、判定値数を内部抽選用の乱数値に加算したときにオーバーフローが生じたかを判定する。尚、オーバーフローの発生は、処理対象の役番号に該当する役が当選した旨を示している。そしてオーバーフローが生じた場合にはSg18のステップに進み、オーバーフローが生じなかった場合にはSg17のステップに進む。
Sg17のステップでは、処理対象の役番号に1を加算し、Sg8のステップに戻る。
Sg18のステップでは、役番号が0〜13であるか、すなわち特別役または特別役を含む役の組合せを示す役番号か否かを確認し、役番号が0〜13の場合にはSg19のステップに進み、役番号が0〜13でない場合にはSg20のステップに進む。
Sg19のステップでは、RAM41cにおいて特別役の当選フラグが格納される特別役格納ワークに、処理対象の役番号に対応する特別役の当選フラグを設定し、Sg20のステップでは、RAM41cの一般役格納ワークに、処理対象の役番号に対応する一般役の当選フラグを設定して、内部抽選処理を終了し、図35に示すフローチャートに復帰する。尚、Sg20のステップでは、役番号が0〜4の場合、一般役は当選していないため、この場合には、RAM41cの一般役格納ワークをクリアする。
図39は、CPU41aがSd3のステップにおいて実行するリール回転処理の制御内容を示すフローチャートである。
リール回転処理では、まず、前のゲームのリール回転開始時点からウェイトタイム(本実施例では、約4.1秒)が経過したか否かを判定し(Si1)、ウェイトタイムが経過していなければ、ウェイトタイムが経過するまで待機する。
そして、Si1のステップにおいてウェイトタイムが経過していれば、ウェイトタイムを新たに設定する(Si2)。
次いで、リールモータの回転開始時の設定を行い、リールの回転を開始させる(Si3)。そして、回転中のリール別に仮想滑りコマテーブルの滑りコマ数を設定する滑りコマ数設定処理を行い(Si4)、停止準備完了時の設定を行う(Si5)。これにより、停止操作を有効化させることが可能な状態となり、その後、後述するタイマ割込処理の原点通過時処理において、リールの定速回転が検出された時点で、停止操作が有効となる。
次いで、ストップスイッチ8L、8C、8Rのいずれかのストップスイッチの操作が検出されたか否かを判定し(Si6)、いずれのストップスイッチの操作も検出されていなければ、リール回転エラー(一定期間以上、リールセンサ33によりリール基準位置が検出されない場合に判定されるエラー)が発生したか否かを判定し(Si7)、リール回転エラーが発生していなければ、更に、投入エラー(メダルの投入が許可されている期間以外で、メダルの投入を検出した場合に判定されるエラー)が発生したか否か、及び払出エラー(メダルの払出が許可されている期間以外で、メダルの払出を検出した場合に判定されるエラー)が発生したか否かを判定し(Si8、Si9)、Si7〜Si9のステップにおいていずれのエラーの発生も判定されなければ、Si6のステップに戻る。
また、Si8のステップにおいて投入エラーの発生が判定された場合、またはSi9のステップにおいて払出エラーが判定された場合には、リール回転中の投入・払出エラーを示すエラーコードをレジスタに設定し(Si10)、図33に示すエラー処理に移行する(Si11)。そして、エラーが解除された場合には、再びSi6のステップに戻る。
また、Si7のステップにおいてリール回転エラーの発生が判定された場合には、リール回転エラーを示すエラーコードをレジスタに設定し(Si12)、図33に示すエラー処理に移行する(Si13)。これに伴い、リールの回転も一時的に停止する。そして、エラーが解除された場合には、再びSi3のステップに戻り、リールの回転が再開する。
また、Si6のステップにおいていずれかのストップスイッチの操作が検出された場合には、ストップスイッチに対応するリールモータにおける、その時点のリール基準位置からのステップ数(停止操作位置となるステップ数)を取得し、停止リールに対応するワークに設定した後(Si14)、停止操作に対応するリールの回転が停止するまで待機する(Si15)。
そして、停止操作に対応するリールの回転が停止すると、全てのリールが停止したか否かを判定し(Si16)、全てのリールが停止していなければ、Si4のステップに戻り、全てのリールが停止していれば、リール回転処理を終了して、図35のフローチャートに復帰する。
以上のようにリール回転処理では、リール2L、2C、2Rの回転が開始した後、ストップスイッチ8L、8C、8Rの操作が検出されるまで、停止操作が未だ検出されていないリールの回転を継続し、ストップスイッチ8L、8C、8Rの操作が検出されたことを条件に、対応するリールに表示結果を停止させる制御を行うようになっている。尚、リール回転エラーの発生により、一時的にリールの回転が停止した場合でも、その後リール回転が再開した後、ストップスイッチ8L、8C、8Rの操作が検出されるまで、停止操作が未だ検出されていないリールの回転を継続し、ストップスイッチ8L、8C、8Rの操作が検出されたことを条件に、対応するリールに表示結果を停止させる制御を行うようになっている。
図40は、CPU41aがSi4のステップにおいて実行する滑りコマ数設定処理の制御内容を示すフローチャートである。
まず、滑りコマ数設定処理では、Si101のステップにおいて第1停止か否か、すなわち全てのリールが回転中か否かを判定し、第1停止であればSi103のステップに進み、第1停止でなければSi102のステップに進む。
Si102のステップでは、内部抽選の結果に基づいてコントロール制御によって停止制御を行うか否か、すなわち内部抽選の結果が、リプレイ(1)、リプレイ(2)、ベル、ビッグボーナス(1)〜(3)のいずれか+リプレイ(1)、ビッグボーナス(1)〜(3)のいずれか+リプレイ(2)、ビッグボーナス(4)、ビッグボーナス(5)であるか否かを判定し、コントロール制御によって停止制御を行わない場合には、Si103のステップに進み、コントロール制御によって停止制御を行う場合には、Si106のステップに進む。
Si103のステップでは、テーブルインデックスを参照し、内部抽選の結果及び停止済みのリールの停止位置に対応する停止制御テーブルを選択し、選択した停止制御テーブルを展開して仮想滑りコマテーブルに滑りコマ数を格納する停止制御テーブル展開処理を行った後、Si104のステップに進む。
Si104のステップでは、内部抽選の結果に基づいてテーブル+コントロール制御によって停止制御を行うか否か、すなわち内部抽選の結果がいずれかのチェリー、ベル+いずれかのチェリー、ビッグボーナス(1)、ビッグボーナス(1)+いずれかのチェリー、ビッグボーナス(2)、ビッグボーナス(2)+いずれかのチェリー、ビッグボーナス(3)、ビッグボーナス(3)+いずれかのチェリー、ビッグボーナス(1)〜(3)のいずれか+ベルか否かを判定し、テーブル+コントロール制御によって停止制御を行わない場合には、そのまま滑りコマ数設定処理を終了し、図39のフローチャートに復帰し、テーブル+コントロール制御によって停止制御を行う場合には、Si105のステップに進む。
Si105のステップでは、停止操作位置毎に、滑りコマ数別の停止位置を検索するとともに、検索した停止位置の優先度と仮想滑りコマテーブルに格納されている滑りコマ数による停止位置の優先度とを比較し、検索した停止位置の優先度の方が高い場合には、仮想滑りコマテーブルの滑りコマ数を更新する滑りコマ数更新処理を行った後、滑りコマ数設定処理を終了し、図39のフローチャートに復帰する。
Si106のステップでは、停止操作位置毎に、0〜4の滑りコマ数による停止位置から当選役が入賞ライン上に揃う停止位置を検索し、検索によって取得した停止位置となる滑りコマ数を仮想滑りコマテーブルに格納する停止位置検索処理を行った後、滑りコマ数設定処理を終了し、図39のフローチャートに復帰する。
図41は、CPU41aがSi105のステップにおいて実行する滑りコマ数更新処理の制御内容を示すフローチャートである。
まず、滑りコマ数更新処理では、Si201のステップにおいて処理の対象とするリールを設定する。すなわち回転中のリールのうち未だ処理が済んでいないリールを対象リールとして設定し、Si202のステップに進む。
Si202のステップでは、処理の対象とする停止位置を示す停止位置ポインタを0に設定し、Si203のステップに進んで処理の対象とする停止位置となった場合に、異常入賞が発生するか否かを判定する仮想入賞判定を行って、Si204のステップに進み、仮想入賞判定の結果、異常入賞となるか否かを判定する。
Si204のステップにおいて異常入賞でなければ、Si205のステップに進み、更に停止禁止位置となるか否かを判定する禁止位置判定を行って、Si206のステップに進み、禁止位置判定の結果、停止禁止位置となるか否かを判定する。
Si206のステップにおいて停止禁止位置ではなければ、Si208のステップに進み、Si204のステップにおいて異常入賞となると判定された場合、またはSi206のステップにおいて停止禁止位置となると判定された場合には、Si207のステップに進み、停止位置ポインタが示す停止位置に対応して停止禁止位置を示す停止禁止位置フラグを設定した後、Si208のステップに進む。
Si208のステップでは、停止位置ポインタを1進めて、Si209のステップに進み、停止位置ポインタが21であるか否かを判定し、停止位置ポインタが22でなければ、Si203のステップに戻り、停止位置ポインタが21、すなわち全ての領域番号についての判定が終了したと判定された場合には、Si210のステップに進む。
Si210のステップでは、処理の対象とする停止操作位置を示す停止操作位置ポインタを0に設定し、Si211のステップに進んで、仮想滑りコマ数テーブルにおいて該当するリール(対象リールとして設定されているリール)の該当する停止操作位置(停止操作位置ポインタが示す領域番号)に対応して格納されている滑りコマ数に応じた順番(図19(a)参照)で滑りコマ数を1つ取得してSi212のステップに進む。
Si212のステップでは、Si211で取得した滑りコマ数による停止位置を取得し、Si213のステップに進んで、取得した停止位置が停止禁止位置か、すなわち停止禁止位置フラグが設定されているか否かを判定する。
Si213のステップにおいて停止禁止位置であると判定された場合には、Si211のステップに戻り、停止禁止位置ではないと判定された場合には、Si214のステップに進む。
Si214のステップでは、仮想滑りコマ数テーブルにおいて該当するリール(対象リールとして設定されているリール)の該当する停止操作位置(停止操作位置ポインタが示す領域番号)に対応して格納されている滑りコマ数による停止位置の優先度と、Si212のステップで取得した停止位置の優先度と、を図19(b)に示す関係に基づいて比較し、Si215のステップに進む。
Si215のステップでは、Si214のステップにおける比較結果としてSi212のステップで取得した停止位置の優先度の方が、仮想滑りコマ数テーブルに格納されている滑りコマ数による停止位置の優先度よりも高いか否かを判定し、仮想滑りコマ数テーブルに格納されている滑りコマ数による停止位置の優先度よりも高くなければ(優先度が同じ場合も含む)Si217のステップに進み、仮想滑りコマ数テーブルに格納されている滑りコマ数による停止位置の優先度よりも高ければ、Si216のステップに進む。
Si216のステップでは、仮想滑りコマ数テーブルにおいて該当するリール(対象リールとして設定されているリール)の該当する停止操作位置(停止操作位置ポインタが示す領域番号)に対応して格納されている滑りコマ数を、それよりも優先度の高いと判定された停止位置となる滑りコマ数に更新し、Si218のステップに進む。
Si217のステップでは、0〜4の全ての滑りコマ数について停止位置の比較をしたか否かを判定し、0〜4の全ての滑りコマ数について停止位置の比較が終了していればSi218のステップに進み、0〜4の全ての滑りコマ数について停止位置の比較が終了していなければSi211のステップに戻る。
Si218のステップでは、停止操作位置ポインタを1進めて、Si219のステップに進み、停止操作位置ポインタが22であるか否かを判定し、停止操作位置ポインタが21でなければ、Si211のステップに戻り、停止操作位置ポインタが21であれば、すなわち0〜20の領域番号全てについての判定が終了したと判定された場合には、Si220のステップに進む。
Si220のステップでは、未処理の回転中リールがあるか否かを判定し、未処理の回転中リールがあればSi201のステップに戻り、未処理の回転中リールがなければ、滑りコマ数更新処理を終了して、図40に示すフローチャートに復帰する。
図42は、CPU41aがSi106のステップにおいて実行する停止位置検索処理の制御内容を示すフローチャートである。
まず、停止位置検索処理では、Si301のステップにおいて処理の対象とするリールを設定する。すなわち回転中のリールのうち未だ処理が済んでいないリールを対象リールとして設定し、Si302のステップに進む。
Si302のステップでは、処理の対象とする停止位置を示す停止位置ポインタを0に設定し、Si303のステップに進んで処理の対象とする停止位置となった場合に、異常入賞が発生するか否かを判定する仮想入賞判定を行って、Si304のステップに進み、仮想入賞判定の結果、異常入賞となるか否かを判定する。
Si304のステップにおいて異常入賞でなければ、Si305のステップに進み、更に停止禁止位置となるか否かを判定する禁止位置判定を行って、Si306のステップに進み、禁止位置判定の結果、停止禁止位置となるか否かを判定する。
Si306のステップにおいて停止禁止位置ではなければ、Si308のステップに進み、Si304のステップにおいて異常入賞となると判定された場合、またはSi306のステップにおいて停止禁止位置となると判定された場合には、Si307のステップに進み、停止位置ポインタが示す停止位置に対応して停止禁止位置を示す停止禁止位置フラグを設定した後、Si308のステップに進む。
Si308のステップでは、停止位置ポインタを1進めて、Si309のステップに進み、停止位置ポインタが21であるか否かを判定し、停止位置ポインタが21でなければ、Si303のステップに戻り、停止位置ポインタが21、すなわち全ての領域番号についての判定が終了したと判定された場合には、Si310のステップに進む。
Si310のステップでは、処理の対象とする停止操作位置を示す停止操作位置ポインタを0に設定し、Si311のステップに進んで、当選役に応じた順番(ベル、ビッグボーナス(4)、ビッグボーナス(5)の場合には、滑りコマ数が4、0、3、1、2の順番、リプレイ(1)、リプレイ(2)の場合には、滑りコマ数が0、1、2、3、4の順番)で滑りコマ数を取得してSi312のステップに進む。
Si312のステップでは、Si311で取得した滑りコマ数による停止位置を取得し、Si313のステップに進んで、取得した停止位置が停止禁止位置か、すなわち停止禁止位置フラグが設定されているか否かを判定する。
Si313のステップにおいて停止禁止位置であると判定された場合には、Si311のステップに戻り、停止禁止位置ではないと判定された場合には、Si314のステップに進む。
Si314のステップでは、取得した停止位置となった場合に入賞ライン上に当選役が揃うか否かを判定し、入賞ライン上に当選役が揃わなければSi315のステップに進み、入賞ライン上に当選役が揃うと判定された場合には、Si316のステップに進む。
Si315のステップでは、0〜4の全ての滑りコマ数について停止位置の比較をしたか否かを判定し、0〜4の全ての滑りコマ数について停止位置の比較が終了していればSi316のステップに進み、0〜4の全ての滑りコマ数について停止位置の比較が終了していなければSi311のステップに戻る。
Si316のステップでは、仮想滑りコマ数テーブルにおいて該当するリール(対象リールとして設定されているリール)の該当する停止操作位置(停止操作位置ポインタが示す領域番号)に対応してSi312のステップにおいて最後に取得した停止位置となる滑りコマ数を格納し、Si317のステップに進む。尚、最後に取得した停止位置となる滑りコマ数が停止禁止位置である場合には、それよりも前に取得した停止位置となる滑りコマ数のうち停止禁止位置ではない滑りコマ数を格納する。
Si317のステップでは、停止操作位置ポインタを1進めて、Si318のステップに進み、停止操作位置ポインタが21であるか否かを判定し、停止操作位置ポインタが21でなければ、Si311のステップに戻り、停止操作位置ポインタが21であれば、すなわち0〜20の領域番号全てについての判定が終了したと判定された場合には、Si319のステップに進む。
Si319のステップでは、未処理の回転中リールがあるか否かを判定し、未処理の回転中リールがあればSi301のステップに戻り、未処理の回転中リールがなければ、滑りコマ数更新処理を終了して、図40に示すフローチャートに復帰する。
図43は、CPU41aがSd6のゲーム終了時処理において実行するRT処理の制御内容を示すフローチャートである。
RT処理では、まず、RAM41cにRT(1)中フラグが設定されているか否かに基づいてRT(1)中か否かを判定し(Sj1)、RT(1)中でなければ、Sj7のステップに進む。Sj1のステップにおいてRT(1)中であれば、RTの残りゲーム数を格納するためにRAM41cに割り当てられたRTゲーム数カウンタの値を1減算し(Sj2)、残りRTゲーム数が0か、すなわちRTゲーム数カウンタの値が0か否かを判定する(Sj3)。Sj3のステップにおいて残りRTゲーム数が0でなければ、Sj4のステップに進み、いずれかの特別役が当選したか否かを判定し、いずれの特別役も当選していなければSj7のステップに進む。Sj3のステップにおいて残りRTゲーム数が0の場合、及びSj4のステップにおいていずれかの特別役が当選している場合には、RAM41cに設定されているRT(1)中フラグをクリアし(Sj5)、残りRTゲーム数をクリアし(Sj6)、RT(1)を終了させてSj7のステップに進む。
Sj7のステップでは、RAM41cにRT(2)中フラグが設定されているか否かに基づいてRT(2)中か否かを判定し、RT(2)中でなければ、Sj15のステップに進む。Sj7のステップにおいてRT(2)中であれば、RTゲーム数カウンタの値を1減算し(Sj8)、残りRTゲーム数が0か、すなわちRTゲーム数カウンタの値が0か否かを判定する(Sj9)。Sj9のステップにおいて残りRTゲーム数が0でなければ、Sj10のステップに進み、いずれかの特別役が入賞したか否かを判定し、いずれの特別役も入賞していなければSj11のステップに進む。Sj11のステップでは、いずれかの転落役が入賞したか否かを判定し、いずれかの転落役が入賞していればSj12のステップに進み、いずれの転落役も入賞していなければSj15のステップに進む。Sj12のステップでは、いずれかの特別役が当選しているか否かを判定し、いずれかの特別役当選していればSj15のステップに進む。Sj9のステップにおいて残りRTゲーム数が0の場合、Sj10のステップにおいていずれかの特別役が入賞している場合、Sj11のステップにおいていずれかの転落役が入賞しており、かつSj12のステップにおいていずれの特別役も当選していない場合には、RAM41cに設定されているRT(2)中フラグをクリアし(Sj13)、残りRTゲーム数をクリアし(Sj14)、RT(2)を終了させてSj15のステップに進む。
Sj15のステップでは、リプレイ(2)が入賞したか否かを判定し、リプレイ(2)が入賞していなければSj21のステップに進み、リプレイ(2)が入賞していれば、いずれかの特別役が当選しているか否かを判定する(Sj16)。Sj16のステップにおいていずれかの特別役が当選していればSj21のステップに進み、いずれの特別役も当選していなければSj17のステップに進む。Sj17のステップでは、RAM41cにRT(1)中フラグが設定されているか否かに基づいてRT(1)中か否かを判定し、RT(1)中でなければSj19のステップに進み、RT(1)中であればRT(1)中フラグをクリアし(Sj18)、Sj19のステップに進む。Sj19のステップでは、RTゲーム数カウンタに200を設定し、RAM41cにRT(2)中フラグを設定し(Sj20)、遊技状態をRT(2)に移行させた後、Sj21のステップに進む。
Sj21のステップでは、ビッグボーナス(1)の終了ゲームか否かを判定し、ビッグボーナス(1)の終了ゲームでなければ、Sj24のステップに進み、ビッグボーナス(1)の終了ゲームであれば、RTゲーム数カウンタに50を設定し(Sj22)、RAM41cにRT(1)中フラグを設定し(Sj23)、遊技状態をRT(1)に移行させた後、Sj24のステップに進む。
Sj24のステップでは、ビッグボーナス(2)の終了ゲームか否かを判定し、ビッグボーナス(2)の終了ゲームでなければ、RT処理を終了して元の処理に復帰し、ビッグボーナス(2)の終了ゲームであれば、RTゲーム数カウンタに20を設定し(Sj25)、RAM41cにRT(1)中フラグを設定し(Sj26)、遊技状態をRT(1)に移行させた後、RT処理を終了して元の処理に復帰する。
図44及び図45は、CPU41aが割込3の発生に応じて、すなわち0.56msの間隔で起動処理やゲーム処理に割り込んで実行するタイマ割込処理(メイン)の制御内容を示すフローチャートである。
タイマ割込処理においては、まず、割込を禁止する(Sk1)。すなわち、タイマ割込処理の実行中に他の割込処理が実行されることを禁止する。そして、使用中のレジスタをスタック領域に退避する(Sk2)。
次いで、4種類のタイマ割込1〜4から当該タイマ割込処理において実行すべきタイマ割込を識別するための分岐用カウンタを1進める(Sk3)。Sk3のステップでは、分岐用カウンタ値が0〜2の場合に1が加算され、カウンタ値が3の場合に0に更新される。すなわち分岐用カウンタ値は、タイマ割込処理が実行される毎に、0→1→2→3→0・・・の順番でループする。
次いで、分岐用カウンタ値を参照して2または3か、すなわちタイマ割込3またはタイマ割込4かを判定し(Sk4)、タイマ割込3またはタイマ割込4ではない場合、すなわちタイマ割込1またはタイマ割込2の場合には、リールモータ32L、32C、32Rの始動時または定速回転中か否かを確認し、リールモータ32L、32C、32Rの始動時または定速回転中であれば、後述するSk8のモータステップ処理において変更した位相信号データや後述するSk24の最終停止処理において変更した位相信号データを出力するモータ位相信号出力処理を実行する(Sk5)。
次いで、分岐用カウンタ値を参照して1か否か、すなわちタイマ割込2か否かを判定し(Sk6)、タイマ割込2ではない場合、すなわちタイマ割込1の場合には、リールモータ32L、32C、32Rの始動時のステップ時間間隔の制御を行うリール始動処理(Sk7)、リールモータ32L、32C、32Rの位相信号データの変更を行うモータステップ処理(Sk8)、リールモータ32L、32C、32Rの停止後、一定時間経過後に位相信号を1相励磁に変更するモータ位相信号スタンバイ処理(Sk9)を順次実行した後、Sk2においてスタック領域に退避したレジスタを復帰し(Sk20)、Sk1のステップにおいて禁止した割込を許可して(Sk21)、割込前の処理に戻る。
また、Sk6のステップにおいてタイマ割込2の場合には、各種表示器をダイナミック点灯させるLEDダイナミック表示処理(Sk10)、各種LED等の点灯信号等のデータを出力ポートへ出力する制御信号等出力処理(Sk11)、各種ソフトウェア乱数を更新する乱数更新処理(Sk12)、各種時間カウンタを更新する時間カウンタ更新処理(Sk13)、コマンドキューに格納されたコマンドを演出制御基板90に対して送信するコマンド送信処理(Sk14)、外部出力信号を更新する外部出力信号更新処理(Sk15)を順次実行した後、Sk2においてスタック領域に退避したレジスタを復帰し(Sk20)、Sk1のステップにおいて禁止した割込を許可して(Sk21)、割込前の処理に戻る。
また、Sk4のステップにおいてタイマ割込3またはタイマ割込4であれば、更に、分岐用カウンタ値を参照して3か否か、すなわちタイマ割込4か否かを判定し(Sk16)、タイマ割込4でなければ、すなわちタイマ割込3であれば、入力ポートから各種スイッチ類の検出データを入力するポート入力処理(Sk17)、回転中のリール2L、2C、2Rの原点通過(リール基準位置の通過)をチェックし、リール回転エラーの発生を検知するとともに、停止準備が完了しているか(停止準備完了コードが設定されているか)を確認し、停止準備が完了しており、かつ定速回転中であれば、回転中のリールに対応するストップスイッチの操作を有効化する原点通過時処理(Sk18)、各種スイッチ類の検出信号に基づいてこれら各種スイッチが検出条件を満たしているか否かを判定するスイッチ入力判定処理(Sk19)を順次実行した後、Sk2においてスタック領域に退避したレジスタを復帰し(Sk20)、Sk1のステップにおいて禁止した割込を許可して(Sk21)、割込前の処理に戻る。
また、Sk16のステップにおいてタイマ割込4であれば、ストップスイッチ8L、8C、8Rの検出、または自動停止制御に伴って停止リールのワークに停止操作位置が格納されたときに、停止リールのワークに格納された停止操作位置から停止位置を決定し、何ステップ後に停止すれば良いかを算出する停止スイッチ処理(Sk22)、停止スイッチ処理で算出された停止までのステップ数をカウントして、停止する時期になったら2相励磁によるブレーキを開始する停止処理(Sk23)、停止処理においてブレーキを開始してから一定時間後に3相励磁とする最終停止処理(Sk24)を順次実行した後、Sk2においてスタック領域に退避したレジスタを復帰し(Sk20)、Sk1のステップにおいて禁止した割込を許可して(Sk21)、割込前の処理に戻る。
図46は、CPU41aが前述したタイマ割込処理のタイマ割込4内において実行する停止スイッチ処理の制御内容を示すフローチャートである。
停止スイッチ処理では、まず、左、中、右の順番で全てのリールについて、該当するリールのワークに停止操作位置が設定されているか否か、すなわち停止操作が検出されたか、或いは自動停止により停止が指示されたかを判定し(Sk101、Sk102)、全てのリールについて停止操作が検出されていないか、停止が指示されていなければ、停止スイッチ処理を終了し、図45のフローチャートに復帰する。
また、Sk101のステップにおいて、いずれかのリールの停止操作が検出されている場合もしくはリールの停止が指示されている場合には、Sk103のステップに進む。
Sk103のステップでは、当該リールに対応する仮想滑りコマテーブルを参照し、停止リールに対応するワークに設定されている停止操作位置のステップ数を含む領域番号から、停止位置となる領域番号を特定し、Sk104のステップに進み、現在のリール基準位置からのステップ数から、Sk103のステップにおいて特定した停止位置までに要するステップ数を算出し、算出したステップ数を設定した後、停止スイッチ処理を終了し、図45のフローチャートに復帰する。
図47は、CPU41aが割込2の発生に応じて、すなわち電断検出回路48からの電圧低下信号が入力されたときに起動処理やゲーム処理に割り込んで実行する電断割込処理(メイン)の制御内容を示すフローチャートである。
電断割込処理(メイン)においては、まず、割込を禁止する(Sm1)。すなわち電断割込処理(メイン)の開始にともなってその他の割込処理が実行されることを禁止する。次いで、使用している可能性がある全てのレジスタをスタック領域に退避する(Sm2)。尚、前述したIレジスタ及びIYレジスタの値は使用されているが、起動時の初期化に伴って常に同一の固定値が設定されるため、ここでは保存されない。
次いで、入力ポートから電圧低下信号の検出データを取得し、電圧低下信号が入力されているか否かを判定する(Sm3)。この際、電圧低下信号が入力されていなければ、Sm2においてスタック領域に退避したレジスタを復帰し(Sm4)、Sm1のステップにおいて禁止した割込を許可して(Sm5)、割込前の処理に戻る。
また、Sm3のステップにおいて電圧低下信号が入力されていれば、破壊診断用データ(本実施例では、5A(H))をセットして(Sm6)、全ての出力ポートを初期化する(Sm7)。次いでRAM41cの全ての格納領域(未使用領域及び未使用スタック領域を含む)の排他的論理和が0になるようにRAMパリティ調整用データを計算してセットし(Sm8)、RAM41cへのアクセスを禁止する(Sm9)。
そして、電圧低下信号が入力されているか否かの判定(Sm10、尚、Sm10は、Sm3と同様の処理である)を除いて、何らの処理も行わないループ処理に入る。すなわち、そのまま電圧が低下すると内部的に動作停止状態になる。よって、電断時に確実にCPU41aは動作停止する。また、このループ処理において、電圧が回復し、電圧低下信号が入力されない状態となると、前述した起動処理が実行され、RAMパリティが0となり、かつ破壊診断用データが正常であれば、元の処理に復帰することとなる。
尚、本実施例では、RAM41cへのアクセスを禁止した後、電圧低下信号の出力状況を監視して、電圧低下信号が入力されなくなった場合に電圧の回復を判定し、起動処理へ移行するようになっているが、ループ処理において何らの処理も行わず、ループ処理が行われている間に、電圧が回復し、リセット回路49からリセット信号が入力されたことに基づいて、起動処理へ移行するようにしても良い。
次に、演出制御基板90に搭載されたサブ制御部91のCPU91aが実行する起動処理(サブ)を、図48のフローチャートに基づいて以下に説明する。
CPU91aは、サブ制御部91にリセット回路95からリセット信号が入力されると、図48に示す起動処理(サブ)を行う。尚、リセット信号は、電源投入時及びサブ制御部91の動作が停滞した場合に出力される信号であるので、起動処理(サブ)は、電源投入に伴うCPU91aの起動時及びCPU91aの不具合または表示制御回路92の不具合に伴う再起動時に行われる処理である。
起動処理(サブ)では、内蔵デバイスや周辺IC、割込モード、スタックポインタ等を初期化し(Sr1)、表示制御回路92を初期化した後(Sr2)、RAM91cへのアクセスを許可する(Sr3)。そして、RAM91cの全ての格納領域のRAMパリティを計算し(Sr4)、RAMパリティが0か否かを判定する(Sr5)。
RAM91cのデータが正常であれば、RAMパリティが0になるはずであり、Sr5のステップにおいてRAMパリティが0であれば、RAM91cに格納されているデータが正常であるので、Sr6のステップに進み、電断前の演出状態を復帰させる。Sr6のステップでは、電断前に最後に実行していた制御パターンを設定した後、Sr7のステップに進む。
また、Sr5のステップにおいてRAMパリティが0でなければ、RAM91cに格納されているデータが正常ではないので、RAM91cを初期化し(Sr15)、待機パターンを制御パターンとして設定した後(Sr16)、Sr7のステップに進む。
Sr7のステップでは、RAM91cに再起動フラグが設定されているか否か、すなわち表示制御回路92の不具合に伴う再起動であるか否かを判定し、再起動フラグが設定されていればSrのステップに進み、再起動フラグが設定されていない場合、すなわち電源投入に伴う起動であればSr8のステップに進み、コマンド受信割込処理のみを許可し、Sr9のステップに進む。
Sr9のステップでは、初期化コマンドを受信したか否かを判定し、初期化コマンドを受信していない場合には、Sr10のステップに進み、電源投入コマンドを受信した否かを判定する。また、初期化コマンドを受信した場合には、RAM91cを初期化した後(Sr17)、設定中報知パターンを制御パターンとして設定し(Sr18)、Sr13のステップに進む。
Sr10のステップにおいて、電源投入コマンドを受信しなかった場合には、再びSr9のステップに戻り、電源投入コマンドを受信した場合には、Sr11のステップに進む。
Sr11のステップでは、Sr10のステップにおいて受信した電源投入コマンドに基づいて電断前の状態で特別役が当選しているか否かを判定し(Sr15)、電断前の状態で特別役が当選している場合には、特別役の当選を報知する特別役告知パターンを制御パターンとして設定した後(Sr12)、設定された制御パターンに従って、液晶表示器51、演出効果LED52、スピーカ53、54、リールLED55等の各種演出装置の制御を行う演出制御処理を実行し(Sr13)、全ての割込を許可して(Sr14)、ループ処理に移行する。
また、Sr11のステップにおいて、電断前の状態で特別役が当選していない場合には、Sr6のステップにおいて設定された制御パターン、すなわち電断前に設定されていた制御パターンに従って、液晶表示器51、演出効果LED52、スピーカ53、54、リールLED55等の各種演出装置の制御を行う演出制御処理を実行し(Sr13)、全ての割込を許可して(Sr14)、ループ処理に移行する。すなわちこの時点でタイマ割込処理が許可されることに伴い、コマンドの受信に基づく各種の演出が実行可能な状態となる。
本実施例では、遊技制御基板40と遊技用電子部品との間のコネクタ接続の解除を規制することで、打ち込み器具の接続を困難としている。具体的には、遊技制御基板40と投入メダルセンサ31との間のコネクタ接続、すなわち遊技制御基板40の基板側コネクタ620aとケーブル600aのケーブル側コネクタ610aとの接続、ケーブル600aのケーブル側コネクタ611aと操作部中継基板110の基板側コネクタ621aとの接続、操作部中継基板110の基板側コネクタ622gとケーブル601gのケーブル側コネクタ612gとの接続についてこれらコネクタ同士の接続の解除を規制している。基板側コネクタ620aとケーブル側コネクタ610aとの接続は、コネクタ規制部材500aによってその解除が規制され、ケーブル側コネクタ611aと基板側コネクタ621aとの接続、及び基板側コネクタ622gとケーブル側コネクタ612gとの接続は、コネクタ規制部材650によってその解除が規制されるようになっている。
また、遊技制御基板40と演出制御基板90の間のコネクタ接続の解除を規制することで、遊技制御基板40と演出制御基板90との接続の解除を困難としている。具体的には、遊技制御基板40と演出制御基板90との間のコネクタ接続、すなわち遊技制御基板40の基板側コネクタ620dとケーブル600dのケーブル側コネクタ610dとの接続、ケーブル600dのケーブル側コネクタ611dと演出中継基板80の基板側コネクタ621dとの接続、演出中継基板80の基板側コネクタ622pとケーブル601pのケーブル側コネクタ612pとの接続、ケーブル601pのケーブル側コネクタ613pと演出制御基板90の基板側コネクタ623pとの接続についてこれらコネクタ同士の接続の解除を規制している。基板側コネクタ620dとケーブル側コネクタ610dとの接続は、コネクタ規制部材500bによってその解除が規制され、ケーブル側コネクタ611dと基板側コネクタ621dとの接続、及び基板側コネクタ622dとケーブル側コネクタ612dとの接続、ケーブル側コネクタ613pと基板側コネクタ623pとの接続は、それぞれ図示しないコネクタ規制部材によってその解除が規制されるようになっている。
これらコネクタ規制部材は、互いに接続された基板側コネクタからのケーブル側コネクタの抜脱を規制可能に構成され、コネクタでの接続に関わる解除規制部位を破壊しない限り、解除不能とする接続解除規制状態を形成するもの、つまりは接続解除規制状態を解除した場合にその痕跡が残るように構成されていれば、その形態は任意であり、種々に変更可能である。
具体的には、例えば基板側コネクタ及びケーブル側コネクタとは別個に形成され、両コネクタを接続した状態で装着することでコネクタの抜脱を規制することが可能なカバー体であっても良いし、あるいは、基板側コネクタまたはケーブル側コネクタのうち少なくとも一方に設けられ、コネクタ同士を互いに接続したときに互いに離脱不能に係止する係止部等であっても良いし、あるいは基板側コネクタが搭載される基板を収納可能な基板収納ケース等に設けられ、基板収納ケースにて基板を収納して封止状態としたときにコネクタの抜脱を規制する接続解除規制状態を形成する規制部等であっても良いし、あるいは互いに接続されたコネクタ同士を接着する接着剤等であっても良い。
次に、遊技制御基板40を収納する基板ケース200及びコネクタ規制部材500a、500bの詳細な構造について説明する。
図49及び図50は、基板ケース200及び基板ケース200をスロットマシン1の本体をなす筐体2aに取り付けるための取付ベース250、コネクタ規制部材500a、500bを示す分解斜視図であり、図51は、基板ケース200を取付ベース250に組み付けた状態を示す斜視図であり、図52は、コネクタ規制部材500a、500bを構成する取付側部材510及びコネクタカバー520の要部拡大斜視図であり、図53(a)は、図52のA−A断面図であり、図53(b)(c)は、図52のB−B断面図であり、図54は、基板ケース200を取付ベース250に組み付け、更に取付側部材510に対してコネクタカバーを装着した状態を示す斜視図であり、図55(a)は、図54のC−C断面図であり、図55(b)は、図54のD−D断面図である。
基板ケース200は、図49及び図50に示すように、遊技制御基板40の裏面側を覆うケース本体としての下部ケース201と、遊技制御基板40の実装面側を覆う上部ケース203と、から構成され、遊技制御基板40を挟持するように組み付けられるものである。尚、遊技制御基板40の実装面には、特に詳細な図示はしないが、CPU41a、ROM41b、RAM41c等の電子素子や、他の基板からのケーブルの一端に設けられたケーブル側コネクタ等が接続される基板側コネクタ620a〜620d等が多数実装されている。
下部ケース201は、透明な合成樹脂からなり、略長方形状に形成される底板201aと、該底板の周囲を囲むように形成された側壁と、により上面が開放する直方体状に成形されている。
下部ケース201の一方の短辺の側壁201cには、2つの封止片211、211が外方に突出して設けられているとともに、他方の短辺の側壁201dには、2対の係止部210が外方に突出して設けられている。また、下部ケース201の底板201aの裏面における側壁201cよりの両長辺側端及び側壁201dよりの両長辺側端には、後述する取付側部材510、510の係止片511が係合する係合溝212がそれぞれ形成されている。
上部ケース203は、透明な合成樹脂からなり、図49及び図50に示すように、下面が開放するとともに、上面中央が膨出し、両短辺側に段部203a、203bが形成された凸型の箱状に成形されている。上部ケース203の下面は、下部ケース201と同型であり、下部ケース201と上部ケース203とを組み付けることで、内部に遊技制御基板40を収容する空間が形成されるようになっている。
上部ケース203の一方の短辺の側壁203cには、下部ケース201の一方の短辺の側壁201cに設けられた封止片211、211と対応する箇所にそれぞれ封止片231、231が外方に突出して設けられており、封止片231、231の間には、等間隔に4つの封止片232が外方に突出して設けられている。上部ケース203の他方の短辺の側壁203dには、下部ケース201の他方の短辺の側壁に設けられた2対の係止部210と対応する箇所にそれぞれ1対の係止部210と係合する係合部230がそれぞれ設けられている。また、上部ケース203の他方の短辺の側壁203dには、係合部230よりも外方よりの位置に、後述する取付ベース250の係止孔251a、251aに係合する係止片235、235がそれぞれ設けられている。
また、上部ケース203の両短辺側の段部203a、203bには、それぞれ凹部203e、203fが形成されているとともに、段部203aの凹部203eの底面には、基板ケース200内に収容した遊技制御基板40の基板側コネクタ620dに対応する箇所に基板側コネクタ620dを挿通可能な挿通孔234bが形成されており、段部203bの凹部203fの底面には、基板ケース200内に収容した遊技制御基板40の基板側コネクタ620aに対応する箇所に基板側コネクタ620aを挿通可能な挿通孔234aが形成されている。
取付ベース250は、基板ケース200をスロットマシン1の本体をなす筐体2aに対して固定するための部材である。取付ベース250は、合成樹脂からなり、図49及び図50に示すように、下部ケース201の底板201aよりも大きい略長方形状に形成される底板250aと、該上板の周縁辺のうち2つの長縁辺に形成された側壁250b、250cとにより上面が開放する直方体状に形成されている。取付ベース250の底板250aには、複数箇所にビス孔252が形成されているとともに、一方の短辺側の縁辺には、中央部に切り欠き250eを有する側壁250dが形成されており、底板250aには、側壁250dの切り欠き250eから中央に向かって1対のガイド254、254が設けられている。ガイド254、254の対向する面には、後述する固着部材255の両端部に形成された係止部257、257が嵌入されるガイド溝254a、254aが形成されている。
固着部材255は、合成樹脂からなり、上面に4カ所の固着孔256が形成された固着片255aの両端から下方(図中後方)に伸びる垂下片255b、255bが延設され、更に垂下片255b、255bの両端部から左右方向(図中上下方向)を向く係止部257、257が形成された略コ字状に成形されている。固着部材255は、その係止部257、257を取付ベース250のガイド254、254に形成されたガイド溝254a、254aに対してそれぞれ嵌入することで、取付ベース250に取り付けられる。
取付ベース250における側壁250dが形成された短辺側には、先端に内方向きの係止爪253aを有する係止柱253が底板250aから立設されているとともに、反対側の短辺側の両端部には、上部ケース203の係合部230が挿入される係止孔251a、251aが底板250aから連設された係止孔部251、251が立設されている。
コネクタ規制部材500aは、図49及び図50に示すように、基板ケース200に対して取り付けられる取付側部材510と、取付側部材510に対して装着され、基板側コネクタ620aに接続されたケーブル側コネクタ610aの一部を被覆するコネクタカバー520と、から構成され、取付側部材510を基板ケース200に対して取り付け、コネクタカバー520を装着することで、基板側コネクタ620aからのケーブル側コネクタ610aの抜脱が規制される。コネクタ規制部材500bも、コネクタ規制部材500aとほぼ同一の構成であり、基板ケース200に対して取り付けられる取付側部材510と、取付側部材510に対して装着され、基板側コネクタ620dに接続されたケーブル側コネクタ610dの一部を被覆するコネクタカバー520と、から構成され、取付側部材510を基板ケース200に対して取り付け、コネクタカバー520を装着することで、基板側コネクタ620dからのケーブル側コネクタ610dの抜脱が規制される。
取付側部材510は、透明な合成樹脂からなり、図49及び図50に示すように、基板ケース200を構成する下部ケース201及び上部ケース203の表面形状に沿った形状に成形されている。詳しくは、取付側部材510は、上部ケース203の係合部230が設けられた短辺側に装着されるものであり、その形状は、基板ケース200への取付時に上部ケース203における段部203bの凹部203f(段部203aの凹部203e)の底面に当接するとともに、ケーブル側コネクタ610a(ケーブル側コネクタ610d)を逃がす切り欠き512及び内側に係止孔513aを有する筒状の係止孔部513が形成された基片510aの両端から起立する起立片510b、510bを介して上部ケース203における段部203b(段部203a)の両端部上面に当接する上片510c、510cが延設され、更に上片510c、510cの両端から垂下する側片510d、510dを介して係止部257、257が内向きに延設された形状であり、基板ケース200への取付時に、取付側部材510の基片510a、上片510c、510cの基板ケース200に対する対向面が上部ケース203における段部203b(段部203a)の上面及び凹部203f(凹部203e)の底面にそれぞれ当接するようになっている。
係止孔部513における係止孔513aの内面には、図52に示すように、中心を挟んで対向する位置に係止溝514が、係止孔513aの下端から上方に向かって設けられている。係止溝514は、係止孔513aの下端からの深さの浅い浅溝部514aとそれよりも深い深溝部514bとからなる略L字状で、対向する係止溝514、514の浅溝部514a、514a同士、深溝部514b、514b同士が、それぞれ中心を挟んで対向する位置に形成されている。すなわち係止溝514、514は、中心を挟んで点対称に形成されている。
コネクタカバー520は、透明な合成樹脂からなり、図49及び図50に示すように、基板ケース200に取り付けられた取付側部材510に対して取り付けた際に、基板側コネクタ620a(基板側コネクタ620d)に接続されたケーブル側コネクタ610a(ケーブル側コネクタ610d)の一部を被覆する断面視略コ字状の被覆部521が成形されているとともに、被覆部521の長手方向側面の一方の側面521aに取付側部材510における係止孔部513の係止孔513aの内周とほぼ同径の係止筒522が接続片522aを介して設けられている。
被覆部521の一方の側面521aの下端は、取付側部材510に取り付けた際にその基片510aの上面に当接するとともに、側面521aの背面には、リブ521b、521bが設けられ、そのリブ521b、521bの下面も基片510aの上面に当接するようになっている。
係止筒522は、図52に示すように、中心を挟んで対向する位置に、先端に外向きの係止爪523aが形成され、内方に弾性変形可能な係合部523、523が設けられている。係合部523、523は、その係止爪523a、523aが、コネクタカバー520を基板側コネクタ620a(基板側コネクタ620d)にケーブル側コネクタ610a(ケーブル側コネクタ610d)が接続されている状態で取付側部材510に取り付けた際に、係止孔513aに形成された係止溝514、514の浅溝部514a、514aに対して係合する位置に設けられている。
次に、コネクタ規制部材500a、500bの基板ケース200への取付状況及び基板ケース200の筐体への取付状況について説明する。
まず、基板ケース200を構成する下部ケース201及び上部ケース203の内部に遊技制御基板40を収容して封止状態とする。下部ケース201及び上部ケース203を封止状態とするには、下部ケース201の2対の係止部210に対して、それぞれ対応する上部ケース203の係合部230を係合させた後、下部ケース201のいずれかの封止片211と上部ケース203の対応する封止片231とをワンウェイネジにて固着する。
ワンウェイネジは、周知のように、一方向の回転によってネジを螺着することができるが、他方向に回転させようとしても回転させることができない、すなわち、そのネジを緩めることができない機能を有するネジである。このため、下部ケース201のいずれかの封止片211と上部ケース203の対応する封止片231とをワンウェイネジにて固着すると、封止片211及び封止片231のいずれか一方を破断させなければ、これらの固着を解除できないようになっている。
そして、封止片211及び封止片231を固着することにより、下部ケース201に対する上部ケース203の長手方向の移動が規制され、その結果、下部ケース201の係止部210に対する上部ケース203の係合部230の係合の解除も規制されることとなり、上部ケース203と下部ケース201は、内部に遊技制御基板40を収容した状態で一体化され、封止片211及び封止片231を破断しなければ、開放することができない状態となる。
次に、遊技制御基板40を封止状態とした基板ケース200に対して、コネクタ規制部材500a、500bをそれぞれ構成する取付側部材510、510を取り付ける。取付側部材510は、その両側片510d、510dを外方に向かって弾性変形させ、上部ケース203の段部203b(段部203a)に装着する。そして弾性変形を解除することで、係止片511、511を下部ケース201の裏面における係合溝212、212に係合させることで取り付けられる。この際、取付側部材510の基片510a、上片510c、510cは、それぞれ上部ケース203の段部203b(段部203a)上面、凹部203f(凹部203e)の底面に当接するとともに、基片510aに設けられた切り欠き512が、上部ケース203の凹部203fに設けられた挿通孔234a(凹部203eに設けられた挿通孔234b)と一致し、これら切り欠き512及び挿通孔234a(挿通孔234b)を介して、基板ケース200に収容された遊技制御基板40の基板側コネクタ620a(基板側コネクタ620d)が基板ケース200内から外部に露出するようになっている。
次に、取付ベース250のビス孔252を介して取付ネジ259を筐体側の壁に螺入し、取付ベース250を筐体に対して固定するとともに、固着部材255の係止部257、257を取付ベース250のガイド溝254a、254aにそれぞれ嵌入し、固着部材255を取付ベース250に対して装着する。
次に、取付側部材510が取り付けられた基板ケース200を取付ベース250に対して組み付ける。詳しくは、基板ケース200の一端側に突出する係止片235、235をそれぞれ取付ベース250の係止孔部251、251の係止孔251a、251aに挿入した後、図51に示すように、基板ケース200を取付ベース250の側壁250b、250cの間に収容させるとともに、係止柱253の係止爪253aによって基板ケース200の他端側段部203aの上面を係止して基板ケース200を取付ベース250に仮止めする。この状態で上部ケース203の一端に設けられた4つの封止片232と取付ベース250に装着された固着部材255の固着孔256がそれぞれ対応する位置となり、この状態で、いずれかの封止片232の上方から対応する固着孔256に対して前述のワンウェイネジを螺入することで、封止片232と固着部材255とを固着する。
そして、封止片232及び固着部材255を固着することにより、基板ケース200の封止片232側の端部における取付ベース250からの取り外し方向への移動が規制されるとともに、係止柱253によって基板ケース200の封止片232側への水平移動も規制されるので、基板ケース200の一端側に突出する係止片235、235を取付ベース250の係止孔251a、251aから外すことも不可能となる。更に、この状態では、取付ベース250の底板250aのビス孔252は全て基板ケース200に被覆され、取付ネジへの259へのアクセスも不能となり、取付ベース250を筐体から取り外すことも不可能となる。このようにして、取付側部材510が取り付けられた基板ケース200は、取付ベース250を介して筐体に固定され、封止片232または固着部材255を破断しなければ、基板ケース200を筐体から取り外すことができない状態となる。
また、取付側部材510が取り付けられた基板ケース200が取付ベース250(筐体)に対して取り外し不能に固定されると、図55(a)に示すように、取付側部材510の側片510d、510dが取付ベース250の側壁250b、250cの内面に当接し、狭持されて取付側部材510の両側片510d、510dの外方への変形が規制されるため、取付側部材510を基板ケース200から取り外すことが不可能となる。
次に、図51に示すように、基板ケース200の挿通孔234a、234b及び取付側部材510における基片510aの切り欠き512を介して露呈する遊技制御基板40の基板側コネクタ620a、620bに対してケーブル600aのケーブル側コネクタ610a、ケーブル600dのケーブル側コネクタ610dをそれぞれ接続した後、これら基板側コネクタ620aとケーブル側コネクタ610a、基板側コネクタ620dとケーブル側コネクタ610dを接続した状態で、図54に示すように、コネクタカバー520の被覆部521でケーブル側コネクタ610a、ケーブル側コネクタ610dの上方を被覆するとともに、コネクタカバー520の係止筒522を取付側部材510における係止孔部513の係止孔513aに嵌入させる。これにより係止筒522の係合部523、523は、係止孔513aの内周に当接して内方に弾性変形する。この際、係合部523、523は、被覆部521でケーブル側コネクタ610a、ケーブル側コネクタ610dを被覆する位置とすると、自ずと係止孔513aの内面に形成された係止溝514、514のうち浅溝部514a、514aに位置決めされることとなり、係止筒522を更に嵌入し、係合部523、523の先端の係止爪523a、523aが係止溝514、514の浅溝部514a、514aに到達することで、図53(a)に示すように、係合部523、523の内方への弾性変形が開放され、係止爪523a、523aがそれぞれ浅溝部514a、514aに係合し、係止筒522の上方への移動が規制されるとともに、被覆部521の側面521aと基板側コネクタ620a及びケーブル側コネクタ610aの側面、基板側コネクタ620d及びケーブル側コネクタ610dの側面とが当接して、係止筒522の係止孔部513に対する回転が規制されることにより、取付側部材510とコネクタカバー520とが連結し、一体化されたコネクタ規制部材500aが形成された状態となる。この状態では、係合部523、523が係止孔部513によって被覆されるため、外部から係合部523、523を内方に弾性変形させることが不可能となり、コネクタカバー520または取付側部材510を破断しなければ、コネクタカバー520を取付側部材510から取り外すことが不可能となる。
また、コネクタカバー520を取付側部材510に対して取り外し不能に取り付けると、図55(a)(b)に示すように、被覆部521によってケーブル側コネクタ610a、ケーブル側コネクタ610dの上面の一部が被覆され、ケーブル側コネクタ610a、ケーブル側コネクタ610dの基板側コネクタ620a、基板側コネクタ620dからの抜き方向への移動が規制され、ケーブル側コネクタ610a、ケーブル側コネクタ610dの基板側コネクタ620a、基板側コネクタ620dからの抜脱が規制されるようになっている。
このように、取付側部材510を基板ケース200に取り付けた状態で、基板ケース200を筐体に対して固着した後、ケーブル側コネクタ610a、ケーブル側コネクタ610dを基板側コネクタ620a、基板側コネクタ620dに接続し、その状態で基板側コネクタ620a、基板側コネクタ620dの一部を上方から被覆するようにして取付側部材510に取り付けることによって、ケーブル側コネクタ610a、ケーブル側コネクタ610dの基板側コネクタ620a、基板側コネクタ620dからの抜脱が不能化されるようになっている。
次に、ケーブル側コネクタ610aと基板側コネクタ620aとの接続、ケーブル側コネクタ610dと基板側コネクタ620dとの接続を解除する際の状況について説明する。
ケーブル側コネクタ610aと基板側コネクタ620aとの接続、ケーブル側コネクタ610dと基板側コネクタ620dとの接続を解除するには、取付側部材510またはコネクタカバー520を破断してコネクタカバー520を取付側部材510から取り外すか、基板ケース200の封止片232または固着部材255を破断して、基板ケース200を取付ベース250から取り外し、コネクタカバー520が取り付けられた状態のままの取付側部材510を基板ケース200から取り外す必要がある。
例えば、ケーブル600a、600dの故障などによりケーブル側コネクタ610aまたはケーブル側コネクタ610dを基板側コネクタ620aまたは基板側コネクタ620dから外す必要がある場合には、前者の方法で取り外し、基板の故障などにより基板ケース200ごと交換する場合には、後者の方法で取り外せば良い。
まず、ケーブル600a(ケーブル600d)を交換するにあたり、ケーブル側コネクタ610a(ケーブル側コネクタ610d)を基板側コネクタ620aから外す必要がある場合に、コネクタ規制部材500a(コネクタ規制部材500b)を構成するコネクタカバー520を取付側部材510から取り外す方法について説明すると、最初に、ニッパーなどの工具でコネクタカバー520の被覆部521と係止筒522とを繋ぐ接続片522aを破断する。これにより被覆部521が分離するとともに、係止筒522の係止孔部513に対する回転が可能な状態となる。この状態で、係止筒522を、上面視反時計回りに回転させることで、係合部523、523が係止溝514、514の浅溝部514a、514aから深溝部514b、514bの位置に移動し、図53(a)に示すように、係止爪523a、523aが浅溝部514a、514aに係合している状態から、図53(b)に示すように、係止爪523a、523aと浅溝部514a、514aの係合が解除された状態となる。これにより、係止筒522の上方への移動が可能となり、図53(c)に示すように、係止筒522を上方に引き抜くと、係止爪523a、523aが深溝部514b、514bに係合するが、この状態では、係合部523、523が露呈するため、内方に弾性変形させることが可能となり、係合部523、523を内方に弾性変形させることにより、係止爪523a、523aと深溝部514b、514bとの係合が解除され、係止筒522を取付側部材510から取り外すことができ、これによりコネクタカバー520が取付側部材510から完全に分離し、コネクタカバー520によるケーブル側コネクタ610a(ケーブル側コネクタ610d)の抜き方向の移動の規制も解除されるので、ケーブル側コネクタ610a(ケーブル側コネクタ610d)と基板側コネクタ620a(基板側コネクタ620d)との接続を解除することができるようになる。
尚、コネクタカバー520を取付側部材510から取り外すと、被覆部521と係止筒522とが破断し、一度破断すると元の状態とはならないため、ケーブル側コネクタ610a(ケーブル側コネクタ610d)と基板側コネクタ620a(基板側コネクタ620d)との接続を解除した痕跡が残ることとなる。
次に、基板ケース200ごと交換するにあたり、ケーブル側コネクタ610a、ケーブル側コネクタ610dを基板側コネクタ620a、基板側コネクタ620dから外す必要がある場合に、取付側部材510をコネクタカバー520ごと基板ケース200から取り外す方法について説明すると、最初に、ニッパーなどの工具で固着部材255と固着されている基板ケース200の封止片232を破断する。これにより、基板ケース200の封止片232側の端部における取付ベース250からの取り外し方向への移動が可能となるので、係止柱253の係止爪253aと基板ケース200の段部203aとの係合を解除する。これに伴って封止片232側への水平方向への移動も可能となるので、基板ケース200の係止片235、235を取付ベース250の係止孔251a、251aから取り外す。これにより、基板ケース200が取付ベース250から取り外され、取付側部材510の側片510d、510dを外方に変形することが可能な状態となり、取付側部材510からコネクタカバー520を取り外すことなく、取付側部材510を基板ケース200から取り外すことが可能となり、これによりコネクタカバー520と一体化された状態で取付側部材510を基板ケース200から取り外すことにより、コネクタカバー520によるケーブル側コネクタ610a、ケーブル側コネクタ610dの抜き方向の移動の規制も解除されるので、ケーブル側コネクタ610a、ケーブル側コネクタ610dと基板側コネクタ620a、基板側コネクタ620dとの接続を解除することができるようになる。
尚、この方法によっても取付側部材510を基板ケース200から取り外すためには、固着部材255と固着されている基板ケース200の封止片232を破断する必要があり、一度破断すると元の状態とはならないため、ケーブル側コネクタ610aと基板側コネクタ620aとの接続、ケーブル側コネクタ610dと基板側コネクタ620dとの接続を解除した痕跡が残ることとなる。
また、この方法によれば、基板ケース200の封止片232が破断され、固着部材255に残るが、取付側部材510からコネクタカバー520を取り外すことなく、取付側部材510を基板ケース200から取り外せるため、交換用に遊技制御基板40が収容された新たな基板ケース200にコネクタカバー520が組み付けられた状態の取付側部材510を取り付けることで、新たな基板ケース200においてケーブル側コネクタ610aと基板側コネクタ620aとの接続、ケーブル側コネクタ610dと基板側コネクタ620dとの接続の解除が不能化されるとともに、新しい固着部材255を取付ベース250に装着し、コネクタカバー520が組み付けられた状態の取付側部材510を取り付けた新たな基板ケース200を取付ベース250に取り付けて固着部材255と封止片232とを固着することで、再び取付側部材510の取り外しが不可能な状態となり、ケーブル側コネクタ610aと基板側コネクタ620aとの接続、ケーブル側コネクタ610dと基板側コネクタ620dとの接続を解除した場合には、その痕跡を残せる状態となる。すなわちこのような場合には、取付側部材510とコネクタカバー520とを再利用することが可能となる。
尚、本実施例では、取付側部材510の係止片511、511を外方に弾性変形させた状態で、基板ケース200の裏面に形成された係止溝514、514に係合させることで、取付側部材510が基板ケース200に取り付けられるとともに、取付側部材510が取り付けられた基板ケース200が取付ベース250(筐体)に対して取り外し不能に固定されると、取付側部材510の側片510d、510dが取付ベース250の側壁250b、250cの内面に当接し、狭持されて取付側部材510の両側片510d、510dの外方への変形が規制されるため、取付側部材510を基板ケース200から取り外すことが不可能となる構成であるが、例えば、取付側部材の一部を基板ケース200の裏面でネジや取り外し可能な係止ピンで固定するとともに、基板ケース200を筐体(取付ベース)に取り外し不能に取り付けた際に、これらネジや係止ピンが隠蔽される構造とし、基板ケース200を筐体に対して取り付けることで、取付側部材の基板ケース200からの取り外しが規制される構成としても良く、取付側部材を基板ケース200に取り付けた状態で、基板ケース200を筐体に対して固着した後、取付側部材が基板ケース200から取り外せなくなる構成であれば、どのような構成を採っても良い。
次に、コネクタ規制部材650の詳細な構造について説明する。
図56は、コネクタ規制部材650を構成する載置台660及びカバー部材680を示す分解斜視図であり、図57は、載置台660に対してカバー部材680を組み付けた状態を示す斜視図であり、図58(a)は、図57のE−E断面図であり、図58(b)は、図57のF−F断面図である。
コネクタ規制部材650は、図56及び図57に示すように、操作部中継基板110を載置する載置台660と、載置台660を上方から被覆するカバー部材680と、から構成され、載置台660に操作部中継基板110を収容した後、操作部中継基板110の基板側コネクタ621a、622gに、それぞれに対応するケーブル600a、601gのケーブル側コネクタ611a、612gを接続した後、カバー部材680をケース体610に取り付けることで、基板側コネクタ621a、622gからのケーブル側コネクタ611a、612gの抜脱が規制される。
載置台660は、透明な合成樹脂からなり、操作部中継基板110よりも大径の略長方形状に成形されている。操作部中継基板110には、図56に示すように、基板側コネクタ621a、622a、622b、622c、622d〜622f、622gが実装されており、載置台660の長辺側の両側面、及び短辺側の一方の側面には、操作部中継基板110を載置した際に、操作部中継基板110において差し込み口が実装面と水平方向に開口する基板側コネクタ622a、622b、622c、622d〜622f、622gが位置する部位を避けて、外方に突出するように、係止孔661bを有する係止孔部661がそれぞれ1つずつ接続片661aを介して設けられている。係止孔661bの内周面には、中心を挟んで対向する位置に中心向きの係止爪661c、661cが1対形成されている。
カバー部材680は、透明な合成樹脂からなり、載置台660とほぼ同形状に成形されており、一方の長辺側には、操作部中継基板110の基板側コネクタ621aに対応する位置に手前に向かって膨出する被覆部681が、他方の長辺側には、操作部中継基板110の基板側コネクタ622a、622bに対応する位置に手前側に向かって膨出するカバー部688、基板側コネクタ622c、622g、622d〜622fに対応する位置に手前に向かって膨出するカバー部689がそれぞれ形成されている。
被覆部681の上面681aには、ケーブル600aのケーブル側コネクタ611aの長辺の長さよりも狭い、基板側コネクタ621aに接続されたケーブル600aを逃がすための切り欠き681bが外側の側面にかけて形成され、これにより、上面681aの両側端には、それぞれ被覆面681c、681cが形作られる。
カバー部688には、基板側コネクタ622a、622bに接続されたケーブル601a、601bを逃がすための切り欠き682aが形成されているとともに、カバー部689には、基板側コネクタ622cに接続されたケーブル601cを逃がすための切り欠き682b、基板側コネクタ622gに接続されたケーブル601gを逃がすための切り欠き632c、基板側コネクタ622d〜fに接続されたケーブル601d〜fを逃がすための切り欠き682dがそれぞれ形成されている。特に、基板側コネクタ622gに接続されたケーブル601gを逃がすための切り欠き682cは、ケーブル601gの長辺の長さよりも狭幅に形成されており、その両端には、カバー部689から垂下する被覆片683、683がそれぞれ設けられている。
また、カバー部材680の長辺側の両側面、及び短辺側の一方の側面には、載置台660の係止孔部661と対応する位置に、外方に突出するように、係止孔661bの内周面とほぼ同径の係止筒684が接続片684aを介して設けられている。係止筒684の外周面には、係止孔661bの内周に設けられた1対の係止爪661cと対応する箇所にそれぞれ係止孔684bが形成されており、係止爪661cが係合できるようになっている。
次に、載置台660とカバー部材680の取付状況について説明すると、まず、図56に示すように、載置台660に操作部中継基板110を載置し、基板側コネクタ621a、622a、622b、622c、622d〜622f、622gにそれぞれ対応するケーブル側コネクタ611a、612a、612b、612c、612d〜612f、612gを接続する。これらケーブル側コネクタを基板側コネクタに接続した後、カバー部材680を載置台660に対して取り付ける。
詳しくは、カバー部材680の係止筒634を載置台660の対応する係止孔部661の係止孔661bに嵌入する。そして係止筒634を係止孔661bに押し込むことにより、係止孔661b内の係止爪661cが係止筒684の係止孔684bに係合する。これにより、外方から係止爪661cと係止孔684bとの係合を解除することが不可能な状態となり、図57に示すように、載置台660とカバー部材680とが、係止孔部661または係止筒634を破断しなければ取り外し不能に組み付けられた状態となる。
そして、載置台660とカバー部材680とが組み付けられると、図58(a)に示すように、操作部中継基板110の基板側コネクタ621aに接続されたケーブル側コネクタ611aの両端部上面がカバー部材680の被覆面681c、681cに被覆され、ケーブル側コネクタ611aの基板側コネクタ621aからの抜き方向への移動が規制され、ケーブル側コネクタ611aの基板側コネクタ621aからの抜脱が規制されるようになっている。
載置台660とカバー部材680とが組み付けられると、図58(b)に示すように、操作部中継基板110の基板側コネクタ622gに接続されたケーブル側コネクタ612gの両端部上面がカバー部材680の被覆片683、683に被覆され、ケーブル側コネクタ612gの基板側コネクタ622gからの抜き方向への移動が規制され、ケーブル側コネクタ612gの基板側コネクタ622gからの抜脱が規制されるようになっている。
次に、ケーブル側コネクタ611aと基板側コネクタ621aとの接続及びケーブル側コネクタ612gと基板側コネクタ622gとの接続を解除する際の状況について説明する。
ケーブル側コネクタ611aと基板側コネクタ621aとの接続及びケーブル側コネクタ612gと基板側コネクタ622gとの接続を解除するには、ニッパーなどの工具でカバー部材680の係止筒684を繋ぐ接続片684aを破断する。これにより、カバー部材680の本体と係止筒684とが分離して、カバー部材680を載置台660から取り外すことが可能となり、カバー部材680を載置台660から取り外すことにより、被覆面681c、681cによるケーブル側コネクタ611aの抜き方向の移動の規制が解除されるとともに、被覆片683、683によるケーブル側コネクタ612gの抜き方向の移動の規制も解除されるので、ケーブル側コネクタ611aと基板側コネクタ621aとの接続及びケーブル側コネクタ612gと基板側コネクタ622gとの接続を解除することができるようになる。
尚、カバー部材680を載置台660から取り外すと、カバー部材680の本体と係止筒684とが破断し、一度破断すると元の状態とはならないうえに、分離した係止筒684が載置台660の係止孔部661の係止孔661b内に残るため、ケーブル側コネクタ611aと基板側コネクタ621aとの接続及びケーブル側コネクタ612gと基板側コネクタ622gとの接続を解除した痕跡が残ることとなる。
以上説明したように、本実施例のスロットマシン1では、内部抽選の結果、リールの停止時期(第1停止か、第2停止か、第3停止か)に応じてテーブル方式の停止制御と、コントロール方式による停止制御と、が併用されるので、内部抽選による全ての結果、リールの全ての停止時期について停止制御テーブルを予め用意する必要がないため、停止制御テーブルの格納容量が少なくて済む。
また、内部抽選の結果がハズレ、赤チェリー、ビッグボーナス(1)、ビッグボーナス(1)+小役、青チェリー、ビッグボーナス(2)、ビッグボーナス(2)+小役、白チェリー、ビッグボーナス(3)、ビッグボーナス(3)+小役の場合には、第1停止、第2停止及び第3停止の全ての停止時期についてテーブル方式またはテーブル+コントロール方式による停止制御、すなわち予め用意した停止制御テーブルを用いた停止制御を行うのに対して、内部抽選の結果がベル、リプレイ(1)、リプレイ(2)、ビッグボーナス(4)、ビッグボーナス(5)の場合には、第1停止のみテーブル方式またはテーブル+コントロール方式による停止制御を行い、残りの第2停止及び第3停止についてはコントロール方式による停止制御、すなわち停止制御テーブルを必要としない停止制御を行っている。すなわちベル、リプレイ(1)、リプレイ(2)、ビッグボーナス(4)、ビッグボーナス(5)の当選時には、ハズレ、または赤チェリー、ビッグボーナス(1)、ビッグボーナス(1)+小役、青チェリー、ビッグボーナス(2)、ビッグボーナス(2)+小役、白チェリー、ビッグボーナス(3)、ビッグボーナス(3)+小役の当選時よりも多くの停止時期についてコントロール方式による停止制御を行っており、ハズレ、または赤チェリー、ビッグボーナス(1)、ビッグボーナス(1)+小役、青チェリー、ビッグボーナス(2)、ビッグボーナス(2)+小役、白チェリー、ビッグボーナス(3)、ビッグボーナス(3)+小役の当選時には、ベル、リプレイ(1)、リプレイ(2)、ビッグボーナス(4)、ビッグボーナス(5)の当選時よりも相対的に多い停止時期についてテーブル方式またはテーブル+コントロール方式による停止制御が行われるため、リールに導出される表示結果を多様にできる一方、ベル、リプレイ(1)、リプレイ(2)、ビッグボーナス(4)、ビッグボーナス(5)の当選時には、ハズレ、または赤チェリー、ビッグボーナス(1)、ビッグボーナス(1)+小役、青チェリー、ビッグボーナス(2)、ビッグボーナス(2)+小役、白チェリー、ビッグボーナス(3)、ビッグボーナス(3)+小役の当選時よりも相対的に多い停止時期についてコントロール方式による停止制御が行われるため、ベル、リプレイ(1)、リプレイ(2)、ビッグボーナス(4)、ビッグボーナス(5)の当選時に必要となる滑りコマ数データの格納容量を大幅に削減することができる。すなわち内部抽選の結果の性質に合わせて表示結果を多様にすることも滑りコマ数データの格納容量を削減することも可能となる。
また、本実施例では、内部抽選の結果に関わらず第1停止については必ずテーブル方式またはテーブル+コントロール方式による停止制御を行うようになっているので、内部抽選の結果に関わらず第1停止についての停止制御の方法を共通化できるとともに、ベル、リプレイ(1)、リプレイ(2)、ビッグボーナス(4)、ビッグボーナス(5)の当選時にも、表示結果が単調化することなく、かつ必要となる滑りコマ数データの格納容量を削減することができる。
また、本実施例では、停止操作のタイミングによっては取りこぼしの生じる赤チェリー、ビッグボーナス(1)、ビッグボーナス(1)+小役、青チェリー、ビッグボーナス(2)、ビッグボーナス(2)+小役、白チェリー、ビッグボーナス(3)、ビッグボーナス(3)+小役の当選時に、全ての停止時期、すなわち取りこぼしのある役の当選時よりも相対的に多くの停止時期について停止制御テーブルを用いたテーブル+コントロール方式による停止制御を行っているため、取りこぼしの生じる役が当選し、かつ当選した役を取りこぼした場合の表示結果を多様化できる。
特に、これら取りこぼしの生じる役のうち、多くのメダルの獲得が期待できるビッグボーナス(1)〜(3)の当選時に、停止制御テーブルを用いたテーブル+コントロール方式による停止制御を行っているため、これら当選したビッグボーナス(1)〜(3)を取りこぼした際の表示結果(いわゆるチャンス目やリーチ目)を多様化できる。また、本実施例では、ビッグボーナス(1)〜(3)の当選時に加えていずれの役も当選していないハズレの場合にも、停止制御テーブルを用いたテーブル方式による停止制御を行っているため、ハズレの場合の表示結果も多様化することが可能となり、結果としてビッグボーナス(1)〜(3)の当選時にも、非当選時にも出現し得る表示結果の設計の自由度が広がる。すなわちハズレの場合の停止位置を停止制御テーブルによって制限できるため、ビッグボーナス(1)〜(3)に当選している可能性の高い出目となる停止位置やその出現割合の調整が容易となる。
また、取りこぼしの生じないベル、リプレイ(1)、リプレイ(2)、ビッグボーナス(4)、ビッグボーナス(5)の当選時には、ビッグボーナス(1)〜(3)を取りこぼした際の表示結果(チャンス目)との関連が薄い。すなわちベル、リプレイ(1)、リプレイ(2)が出現した時点で特別役の当選があまり期待できず、ビッグボーナス(4)、ビッグボーナス(5)は出現した時点で特別役が入賞してしまっているため、リプレイ(1)、リプレイ(2)、ビッグボーナス(4)、ビッグボーナス(5)の当選時に、表示結果を多様化させる必要性が低い。このため、本実施例では、これらリプレイ(1)、リプレイ(2)、ビッグボーナス(4)、ビッグボーナス(5)といった取りこぼしの生じない役の当選時に、第2停止及び第3停止リールについて、すなわち取りこぼしの生じる役の当選時よりも相対的に多くの停止時期について停止制御テーブルを用いないコントロール方式による停止制御を行っているので、効果的に停止制御テーブルの格納容量を削減することが可能となる。すなわち内部抽選の結果の性質に合わせて表示結果を多様にすることも停止制御テーブルの格納容量を削減することも可能となる。
また、本実施例では、第1停止について必ずテーブル方式またはテーブル+コントロール方式で停止制御が行われる。すなわちこの場合には、必ず予め登録された停止制御テーブルを用いて停止制御が行われるので、特別役の当選時に、特別役の非当選時に選択される停止制御テーブルからは停止することのない停止位置となる滑りコマ数が登録された停止制御テーブルを選択して第1停止の停止制御を行うことで、第1停止のリールに表示結果が導出された時点で成立するリーチ目(いわゆる1確目)を導出させる制御を容易に設計することが可能となる。
また、内部抽選の結果が赤チェリー、ベル+赤チェリー、ビッグボーナス(1)、ビッグボーナス(1)+小役の場合に、赤チェリー、ビッグボーナス(1)の構成図柄をそれぞれ最大4コマの範囲で入賞ラインに引き込む停止制御テーブルが定められた共通テーブル作成用データ(1)を用いて停止制御を行うので、内部抽選の結果が赤チェリー、ベル+赤チェリー、ビッグボーナス(1)、ビッグボーナス(1)+小役である場合に導出される表示結果をコントロール方式でリールの停止制御を行う場合に比較して容易に設計できるとともに、赤チェリー、ベル+赤チェリー、ビッグボーナス(1)、ビッグボーナス(1)+小役が当選した場合のそれぞれについて個別にテーブル作成用データを用意せずに抽選結果に応じてリールを停止させる制御を行うことが可能となるので、リール2L、2C、2Rの表示結果を多様化しつつ、テーブル作成用データの格納容量を削減することができる。
尚、本実施例では、内部抽選の結果が青チェリー、ベル+青チェリー、ビッグボーナス(2)、ビッグボーナス(2)+小役である場合、白チェリー、ベル+白チェリー、ビッグボーナス(3)、ビッグボーナス(3)+小役である場合にも、共通テーブル作成用データ(1)と同様の共通テーブル作成用データ(2)、共通テーブル作成用データ(3)をそれぞれを用いて停止制御を行うようになっており、これらの場合でも上記と同様の効果を有する。また、以下については、内部抽選の結果が赤チェリー、ベル+赤チェリー、ビッグボーナス(1)、ビッグボーナス(1)+小役の場合についての停止制御に係る効果を説明し、青チェリー、ベル+青チェリー、ビッグボーナス(2)、ビッグボーナス(2)+小役である場合についての停止制御、白チェリー、ベル+白チェリー、ビッグボーナス(3)、ビッグボーナス(3)+小役である場合についての停止制御においても同様の構成をとっているため、青チェリー、ベル+青チェリー、ビッグボーナス(2)、ビッグボーナス(2)+小役である場合についての停止制御、白チェリー、ベル+白チェリー、ビッグボーナス(3)、ビッグボーナス(3)+小役である場合についての停止制御に係る効果については省略する。
また、内部抽選の結果が赤チェリー、ベル+赤チェリー、ビッグボーナス(1)、ビッグボーナス(1)+小役ある場合に、共通テーブル作成用データ(1)に基づく滑りコマ数が停止操作位置毎に仮想滑りコマテーブルに格納された後、当選役以外の役の入賞(異常入賞)や重複入賞を回避できない停止禁止位置となる滑りコマ数が格納された停止操作位置については、停止禁止位置以外の停止位置となる滑りコマ数に更新され、それ以外の停止操作位置の滑りコマ数が維持されるようになっているので、内部抽選の結果に応じて停止禁止位置以外の停止位置となる停止操作位置で停止操作がなされた場合には、表示結果が同一となるので、赤チェリーのみが当選し、かつ取りこぼした場合でも、ビッグボーナス(1)が当選し、かつ取りこぼした場合と同一の表示結果が導出される割合が高くなるため、ビッグボーナス(1)が当選していることに対する遊技者の期待感を効果的に高めることができる。
特に、本実施例では、共通テーブル作成用データ(1)の滑りコマ数として、赤チェリー、ビッグボーナス(1)の構成図柄を引き込めない停止操作位置については、通常の大半を占めるハズレの場合(いずれの役も当選していない場合)には出現することのないチャンス目を停止させる滑りコマ数が定められているので、前述のような制御を行い、チャンス目が導出されることにより、ビッグボーナス(1)が当選していることに対する遊技者の期待感を更に効果的に高めることができる。
また、本実施例では、左リールの入賞ライン上に「赤チェリー」が停止するのみで、入賞となる赤チェリーと、ビッグボーナス(1)など遊技者にとって有利な特別役と、で共通テーブル作成用データ(1)が適用されるようになっている。すなわち、赤チェリー当選時において左リールの入賞ライン上に「赤7」または「赤チェリーが」が停止しなかった場合には、中、右リールの滑りコマ数として、ビッグボーナス(1)が当選している場合と同一の滑りコマ数が適用されることとなる。また、赤チェリー当選時において左リールの入賞ライン上に「赤7」が停止した場合でも、ビッグボーナス(1)を取りこぼすこととなる停止操作位置については、中リール及び右リールの滑りコマ数としてビッグボーナス(1)が当選している場合と同一の滑りコマ数が適用されることとなる。このため、チェリーに当選し、かつ取りこぼした場合には、ビッグボーナス(1)を取りこぼした場合と同一の停止位置が一層高い割合で停止することとなるので、ビッグボーナス(1)が当選していることに対する遊技者の期待感を更に効果的に高めることができる。
尚、本実施例では、左リールの入賞ライン上に「赤チェリー」が停止するのみで、入賞となる赤チェリーと、ビッグボーナス(1)など遊技者にとって有利な特別役と、で共通テーブル作成用データ(1)が適用されるようになっているが、いずれか2つのリールまたは全てのリールの表示結果の組合せに応じて入賞となる役と、特別役と、で共通テーブル作成用データが適用されるようにしても良く、この場合には、取りこぼしの多い役(該当する図柄が引込可能範囲を超えて配置されている役)と、特別役と、で共通テーブル作成用データが適用されることが好ましく、この場合でも、取りこぼす割合が高まることによって特別役を取りこぼした場合と同一の停止位置が一層高い割合で停止することとなるので、特別役が当選していることに対する遊技者の期待感を更に効果的に高めることができる。
また、本実施例では、赤チェリーが特別役と同時に当選し得る役であるため、赤チェリーが当選し、赤チェリーが入賞して、チャンス目が導出されなかった場合であっても、特別役に当選している可能性が残るため、このような場合であっても特別役が当選していることに対する遊技者の期待感を高めることができる。
また、本実施例では、内部抽選の結果が赤チェリー、ビッグボーナス(1)、ビッグボーナス(1)+小役の場合である場合に、全てのリールについてその停止時(第1停止時、第2停止時、第3停止時)に、共通テーブル作成用データ(1)に基づく停止制御テーブルが適用されるので、内部抽選の結果が赤チェリー、ビッグボーナス(1)、ビッグボーナス(1)+小役の場合に導出される表示態様、特には、これらの役が当選している場合のみ導出されるチャンス目の表示態様を容易に設計することができる。
尚、本実施例では、内部抽選の結果が赤チェリー、ベル+赤チェリー、ビッグボーナス(1)、ビッグボーナス(1)+小役の場合である場合に、全てのリールについてその停止時(第1停止時、第2停止時、第3停止時)に、共通テーブル作成用データ(1)に基づく停止制御テーブルが適用されるようになっているが、少なくとも最初に停止するリール、すなわち第1停止リールについて、共通テーブル作成用データに基づく滑りコマ数が適用されるものであっても上記と同様の効果を得られる。すなわち最初に停止する出目、いわば最も遊技者が注目する出目の表示態様を容易に設計することができる。
また、本実施例では、ビッグボーナス(1)の当選時とハズレ時とでは、異なる停止制御テーブルを適用しているが、例えば、ビッグボーナス(1)の当選時にもハズレ時にも第1停止を共通の停止制御テーブル、すなわち第1停止時のみハズレの場合にも共通テーブル作成用データ(1)の停止制御テーブル(ただし、左リールでは、赤チェリーが入賞してしまうのでこのような場合は例外とする。)を用いて停止制御を行うようにしても良く、このようにすることで、第1停止のリールに表示結果が停止した時点では、その停止位置からビッグボーナス(1)が当選しているか否かを判別することができないので、それ以降に遊技者の期待感を持続させることができる。また、前述したように左リールでは、赤チェリーが入賞してしまうので、左リールが第1停止である場合には、ハズレであってもテーブル+コントロール方式で停止制御を行うことにより、左リールが第1停止となっても赤チェリーが入賞してしまうことを防止できる。
本実施例では、テーブル方式によって停止制御を行う場合に、停止操作が有効となる前、すなわち停止操作が検出される前に、停止制御テーブルに登録された滑りコマ数を展開し、仮想滑りコマテーブルに格納するとともに、停止操作が検出された際には、仮想滑りコマテーブルを参照し、該当する停止操作位置の滑りコマ数を取得して停止制御を行うようになっており、停止操作が検出された後に停止制御テーブルを展開して滑りコマ数を取得する必要がないので、停止操作が検出された後、リールを停止させる制御を速やかに行うことが可能となり、停止操作の検出後、リールが停止するまでのタイムラグを極力短くすることができる。
また、コントロール方式によって停止制御を行う場合にも、停止操作が有効となる前に、停止操作位置毎に、当選役に応じた停止位置を検索し、その検索結果に基づく滑りコマ数を仮想滑りコマテーブルに格納するとともに、停止操作が検出された際には、仮想滑りコマテーブルを参照し、該当する停止操作位置の滑りコマ数を取得して停止制御を行うようになっており、停止操作が検出された後に当選役に応じた停止位置を検索する必要がないので、停止操作が検出された後、リールを停止させる制御を速やかに行うことが可能となり、停止操作の検出後、リールが停止するまでのタイムラグを極力短くすることができる。
また、本実施例では、テーブル+コントロール方式によって停止制御を行う場合にも、停止操作が有効となる前に、停止制御テーブルに登録された滑りコマ数を展開し、仮想滑りコマテーブルに格納し、更に滑りコマ数別に停止位置を取得し、取得した停止位置との優先度に基づいて仮想滑りコマテーブルの滑りコマ数を更新する処理を行うとともに、停止操作が検出された際には、仮想滑りコマテーブルを参照し、該当する停止操作位置の滑りコマ数を取得して停止制御を行うようになっており、停止操作が検出された後に停止制御テーブルを展開して滑りコマ数を取得する必要や優先度の比較、滑りコマ数の更新などを行う必要がないので、停止操作が検出された後、リールを停止させる制御を速やかに行うことが可能となり、停止操作の検出後、リールが停止するまでのタイムラグを極力短くすることができる。
本実施例では、停止制御の方法、テーブル方式及びテーブル+コントロール方式で停止制御を行う際に参照する停止制御テーブル、コントロール方式で停止制御を行う際の停止位置の検索順、テーブル+コントロール方式で停止制御を行う際の停止位置の優先度の判定順といった、リールの停止制御を行うための制御パターンが、全てのリールが回転中においては、内部抽選の結果に対して一意的に定められ、これらの制御パターンが内部抽選の結果に応じて一意的に選択され、選択された制御パターンに従ってリールの停止制御が行われるとともに、いずれかのリールが既に停止している場合においては、内部抽選の結果、停止済みのリールの停止位置に対して一意的に定められた制御パターンが選択し、選択された制御パターンに従ってリールの停止制御が行われるようになっており、内部抽選の結果、リールの停止状況(及び停止済みのリールの停止位置(表示結果))の全てが同一条件となった際に、同一の制御パターンに基づいてリールの停止制御が行われることとなるので、従来のように一の内部抽選結果に対して複数の制御テーブルからいずれか1つの制御テーブルを内部抽選とは異なる抽選(例えばリール制御の振分抽選など)などにより更に選択する必要がなく、リールを停止させる際の制御が複雑化することがない。
尚、本実施例では、いずれかのリールが既に停止している場合において、内部抽選結果、リールの停止状況及び停止済みのリールの停止位置に対して一意的に定められた制御パターンに従ってリールの停止制御が行われるようになっているが、いずれかのリールが既に停止している場合において、内部抽選結果、リールの停止状況及び停止済みのリールの停止操作位置に対して一意的に定められた制御パターンに従ってリールの停止制御が行われるようにしても良く、このようにすることで内部抽選結果が同一であり、かつ停止済みのリールの停止位置(停止図柄)が同一の場合であっても、停止済みのリールの停止操作位置が異なる場合には、異なるテーブル作成用データが適用されることがあるため、リールの表示結果をより多彩なものにできる。
この場合には、1/2図柄が変動する範囲の領域、すなわち1図柄が変動する範囲未満の単位で停止済みのリールの停止操作位置を判定し、その停止操作位置に対して一意的に定められた制御パターンに従ってリールの停止制御を行うこと、すなわちある図柄が基準位置に位置するステップ数から1図柄が変動する範囲以内の異なるステップ数に対して異なる制御パターンを選択可能とすることが好ましく、このようにすれば、停止済みのリールの停止位置が同一であり、停止操作が行われたタイミングが1図柄が変動する範囲以内であっても、他のリールに適用される制御パターンを変化させることができるので、各リールの表示結果をより一層多様化することができる。
また、いずれかのリールが既に停止している場合において、内部抽選結果、リールの停止状況及び停止済みのリールの停止操作位置に対して一意的に定められた制御パターンに従ってリールの停止制御を行うものでは、例えば、いずれの役にも当選していない場合(ハズレ)において、ある特定のリールにおいて同一の停止位置が定められた領域番号の範囲で停止操作が行われた場合において同一の表示結果が導出されるが、同一の停止位置が定められた領域番号のうちの特定の領域番号の領域で停止操作が行われた場合のみ、他のリールの制御パターンとしてチャンス目を構成する表示結果を導出させることが可能なテーブル作成用データを選択し、同一の停止位置が定められた領域番号のうちの特定の領域番号以外の領域で停止操作が行われた場合に、他のリールの制御パターンとしてチャンス目を構成する表示結果を導出させることが可能な制御パターンを選択することが好ましい。これにより特定のリールを停止した時点での当該リールの停止位置が同一の場合であってもその停止操作位置が異なることによって最終的にチャンス目を導出可能に制御する場合と導出不可能に制御する場合とがあるので、いずれの役にも当選していない場合(ハズレ)のリールの表示結果が単調化してしまうことを防止できる。
また、いずれかのリールが既に停止している場合において、内部抽選結果、リールの停止状況及び停止済みのリールの停止操作位置に対して一意的に定められた制御パターンに従ってリールの停止制御を行うものにおいては、リールが停止する毎に、停止するリールが左リール、中リール、右リールのいずれかであるか、該当するリールの停止操作位置の領域番号、該当するリールの停止位置の領域番号、を特定可能なリール停止コマンドを、サブ制御部91に対して送信することが好ましく、このようにすることでサブ制御部91のCPU91aは、リールが停止した際に、そのリールの停止位置のみならず、停止操作位置に応じて異なる演出を行うことが可能となる。
特に、通常遊技状態においていずれの役にも当選していない場合(ハズレ)において、ある特定のリールにおいて同一の停止位置が定められた領域番号の範囲で停止操作が行われた場合において同一の表示結果が導出されるが、同一の停止位置が定められた領域番号のうちの特定の領域番号の領域で停止操作が行われた場合のみ、他のリールの制御パターンとしてチャンス目を構成する表示結果を導出させることが可能な制御パターンを選択し、同一の停止位置が定められた領域番号のうちの特定の領域番号以外の領域で停止操作が行われた場合に、他のリールの制御パターンとしてチャンス目を構成する表示結果を導出させることが可能な制御パターンを選択するとともに、通常遊技状態においていずれかの特別役に当選している場合に、同一の停止位置が定められた領域番号のうち、通常遊技状態においていずれの役も当選していない場合よりも多くの領域番号に対して、他のリールの制御パターンとしてチャンス目を構成する表示結果を導出させることが可能な制御パターンを選択する場合には、リール停止コマンドを受信した際に、停止操作位置がチャンス目の導出条件を満たす場合、すなわちチャンス目を構成する表示結果を導出可能な制御パターンが選択される停止操作位置である場合において、チャンス目の導出条件を満たさないが同一の停止位置となる他の停止操作位置である場合よりも高い割合で、いずれかの特別役に当選している可能性を報知する特殊演出(例えば、通常とは異なる停止音など)を行うようにしても良く、このようにすれば、特定のリールの停止時に特殊演出が行われることで、特定のリールの停止時に特殊演出が行われない場合よりも最終的にチャンス目が導出される可能性が高まることとなり、特殊演出が行われることに伴ってチャンス目の導出、更には特別役の当選に対する遊技者の期待感を効果的に高めることができる。
本実施例では、レギュラーボーナス中においては、ベル以外の小役が当選する場合、必ずベルも同時に当選するとともに、最も払出枚数の多いベルの組合せを入賞ラインに引き込む制御が優先されるため、レギュラーボーナス中においていずれかの小役が当選した場合には、遊技者によるストップスイッチ8L、8C、8Rの操作タイミングに関わらずに、必ずベルを入賞させることができるようになっている。すなわちレギュラーボーナスにおいて赤チェリー、青チェリー、白チェリーといった払出枚数がベルよりも少ない役が当選した場合でも、ベルが入賞して赤チェリー、青チェリー、白チェリーが入賞したときよりも多くのメダルを獲得できるようになっており、赤チェリー、青チェリー、白チェリーが当選したために、レギュラーボーナス中に獲得できるメダル数が減少してしまうことがない。
尚、本実施例では、レギュラーボーナス中において最も払出枚数の多いベルを、ベルの払出枚数よりも少ない小役が当選する際に同時に当選させるようにしているが、例えば、単独では、レギュラーボーナス中において最も払出の多い小役ではないが、複数の入賞ライン上に停止することで、レギュラーボーナス中に最も多くのメダルが付与される場合であれば、このような小役をそれよりも払出枚数の少ない小役と同時に当選させるようにしても良い。
また、本実施例では、全ての遊技状態を通して最も払出枚数の多い小役であるベルを、レギュラーボーナス中においてそれよりも払出枚数の少ない小役が当選する際に同時に当選させるようにしているが、少なくともレギュラーボーナス中において入賞の対象となる小役のうちで最も払出枚数の多い小役を、それよりも払出枚数の少ない小役が当選する際に同時に当選させるようにすれば、レギュラーボーナス中に獲得できるメダル数が減少してしまうことを防止できるものであり、例えば、レギュラーボーナス中において対象となる小役のうち最も払出枚数の多い小役の払出枚数が、他の遊技状態では、最も払出枚数の多い小役でなくとも良い。
本実施例のスロットマシン1では、ビッグボーナス(1)(2)の終了後、RT(2)への移行契機となるリプレイ(2)の当選確率が高まるRT(1)に制御されるようになっており、RT(1)に制御されることによってRT(2)に移行することへの遊技者の期待感を高めることができる。
また、RT(2)は、1ゲームあたりのメダルの払出率がRT(1)よりも高く、終了条件となる既定ゲーム数がRT(1)よりも多く、RT(1)よりも多くのメダルの獲得が期待できるため、RT(1)に制御されることで、RT(2)に移行することへの遊技者の期待感を一層高めることができる。
また、RT(1)、RT(2)はともに1ゲームあたりのメダルの期待増加率が1を超えており、RT(1)に制御されるだけでもメダルの増加が期待できるうえに、RT(2)へ移行することにより、さらにメダルの増加が期待できる。
また、RT(2)は、当該RT(2)が開始した後、規定ゲーム数に到達する前にいずれかの特別役が当選しても、その当選した特別役が入賞しなければ、特別役の当選をもってRT(2)が終了することがなく、当選した特別役を入賞させなければ、規定ゲーム数に到達するまでRT(2)に継続して制御することが可能となるため、RT(2)において特別役が当選してもその当選した特別役を入賞させなければ、規定ゲーム数に到達するまでRT(2)を消化することが可能となり、遊技者に対して損失感を与えてしまうことがない。
また、特別役の当選フラグは、該特別役が入賞するまで次ゲーム以降に持ち越されるため、RT(2)が規定ゲーム数に到達することによって終了した後に、その間に当選した特別役を入賞させることが可能となるので、RT(2)の終了時に特別役の当選に対する遊技者の期待感を高めることができる。
また、RT(2)は、当該RT(2)の開始後、規定ゲーム数に到達する前に、転落役(いずれかのチェリー)が入賞したときにも終了してしまうが、RT(2)の開始後、転落役が当選しても、転落役の入賞を回避する操作手順、すなわち転落役の組合せの引込範囲外のタイミングにて遊技者が停止操作を行うこと、すなわち遊技者の技術介入によってRT(2)を継続させることができるので、RT(2)に伴う興趣を高めることができる。この際、転落役の種類によって入賞を回避するための操作手順が変化するうえに、全ての種類の転落役に共通の回避手順が存在しないため、遊技者がどの種類の転落役が当選したのかを推察し、それが当たるか否かによってRT(2)が継続するか否かが決定されることとなり、RT(2)に伴う興趣を一層高めることができる。
また、転落役である赤チェリー、青チェリー、白チェリーは、1ゲームに対して設定可能な最大賭数(3)を設定するために必要なメダル数である3枚以下(3枚)のメダルの払出を伴う入賞であるため、転落役を回避しても、遊技者が大きな不利益を被ることがないばかりか、赤チェリー、青チェリー、白チェリーの入賞確率が、スロットマシン1の払い出し率に大きな影響が及ぶことがない。
また、本実施例では、1枚(1)〜(3)の入賞に伴い払い出されるメダル数が、1ゲームに対して最小単位の賭数を設定するのに必要な1枚とされているため、最もスロットマシン1の払い出し率に影響を与えにくくできる。
尚、本実施例では、赤チェリー、青チェリー、白チェリーの入賞に伴い、1ゲームに対して設定可能な最大賭数(3)を設定するために必要なメダル数である3枚のメダルが遊技者に払い出されるようになっているが、より少ない方が好ましく、2枚、または最小単位の賭数を設定するのに必要な1枚とすることで、よりスロットマシン1の払い出し率に影響を与えにくくできる。
また、RT(2)においていずれかの特別役が当選した場合には、以後、いずれかのチェリーが入賞しても、当選した特別役を入賞させなければ、例えいずれかのチェリーが入賞しても規定ゲーム数に到達するまでRT(2)が終了してしまうことがないので、この間は、いずれかのチェリーが当選した際に、当選したチェリーを入賞させることで、特別役が当選する前に比較してより多くのメダルを獲得できるようになるため、RT(2)中にいずれかの特別役に当選した場合には、当選しなかった場合に比較して、その後獲得可能なメダル数を増加させることができるようになっている。
また、転落役である赤チェリー、青チェリー、白チェリーは、特別役と同時に当選し得る役であるため、RT(2)の開始後、いずれかのチェリーを入賞させてしまった場合でも、同時に特別役が当選している可能性があるため、このような場合であっても特別役の当選に対する遊技者の期待感を効果的に高めることができる。さらに同時に特別役が当選していれば、いずれかのチェリーが入賞してもRT(2)が終了することがなく、その後も規定ゲーム数に到達するまでRT(2)が継続するので、いずれかのチェリーが入賞したにも関わらず、RT(2)が継続することによって特別役の当選を間接的に報知することができる。
本実施例では、RT(2)においていずれの特別役も当選していない状態においては、いずれかのチェリーが当選したときに、転落役報知回数が残っている場合には、当選したチェリーの種類を示す転落役種類報知が実行されるようになっているので、転落役種類報知が実行されると、遊技者は報知された色によって、当選したチェリーの種類を認識することが可能となり、その結果、当選した可能性のあるチェリーの入賞を回避する操作手順を知ることができ、RT(2)を継続させることが可能となり、転落役報知回数によってRT(2)が継続するゲーム数を大きく変動させることができるため、RT(2)に伴う興趣をさらに高めることができる。また、遊技者は、RT(2)において常に転落役の入賞を回避するための操作手順を実践する必要が無く、転落役種類報知が実行されたときのみ転落役の入賞を回避する操作手順を行えば良いので、RT(2)における遊技者の負担を軽減できる。
また、転落役報知回数を付与するか否か、すなわちRT(2)中においていずれの特別役も当選していない状態において複数種類のチェリーのうちいずれかの種類のチェリーが当選したときに転落役種類報知を実行するか否かを決定する転落役報知抽選を、ビッグボーナス(1)(2)中に行うとともに、その結果がビッグボーナス(1)(2)中に報知されるため、ビッグボーナス中の興趣を高めることができる。
また、遊技者が選択したBB演出モードに対応する契機で転落役報知抽選を実行するとともに、その際の当選確率もBB演出モードに対応する確率を適用するようになっており、遊技者が選択したBB演出モードに応じて転落役報知回数を付与するか否かを決定するタイミングや、そのタイミングでの期待感が変化するので、遊技者が遊技に積極的に参加しているという意識を高めることができる。さらに転落役報知抽選に当選した旨の告知もBB演出モードに対応する契機で行うようになっているので、転落役報知抽選のタイミングとその告知タイミングとを適格に関連させることができる。
また、転落役報知抽選に当選した場合に、複数の異なる回数からいずれかの回数を転落役報知回数として選択する報知回数抽選が実行されるようになっており、報知回数抽選で当選した転落役報知回数によって、RT(2)においていずれの特別役も当選していない状態において、いずれかのチェリーが当選した際に転落役種類報知が実行される回数が変化し、その結果、RT(2)の継続が期待できるゲーム数も変化するので、RT(2)に伴う興趣を一層高めることができる。
転落役報知抽選が行われるのは、ビッグボーナス(1)とビッグボーナス(2)であり、ビッグボーナス(1)の方がその後移行するRT(1)の規定ゲーム数が多いうえに、比較的多い転落役報知回数(3回、4回)が選択される割合が高いので、ビッグボーナス(1)の方がビッグボーナス(2)よりも更なるメダルの獲得が期待できるようになっている。
このように本実施例では、特別役の種類に応じて、その後のRT(1)の継続ゲーム数、やRT(2)において転落役種類報知が実行される回数が変動するので、特別役の種類に応じてメダルの増減にメリハリを持たせることができる。
また、本実施例では、ビッグボーナス(1)(2)中だけでなく、RT(1)、RT(2)においても、ハズレのときに転落役報知抽選を実行するようになっており、RT(1)(2)中においても転落役報知回数が付与され得るため、RT(2)中において転落役報知回数が無くなってしまった場合や、ビッグボーナス(1)(2)中に転落役報知回数を獲得できなかった場合であっても、RT(2)の継続に期待できる。
また、本実施例では、RT(2)の残りゲーム数が3ゲームとなったときに、その時点で特別役の当選が報知されていなければ、RT(2)の終了までの3ゲームにわたり連続演出を必ず実行し、RT(2)の最終ゲーム、または最終ゲームの次のゲームにおいて特別役に当選しているか否かを報知するようになっており、RT(2)の終了時、すなわち特別役の当選が最も期待できるタイミングにかけて連続演出が実行され、特別役に当選しているか否かの報知が行われるので、特別役の当選に対する遊技者の期待感を効果的に高めることができる。
また、RT(2)においていずれの役も入賞しなかったとき、すなわちRT(2)において出現頻度が低く、かつ特別役が当選している可能性の高いハズレを契機に連続演出を実行するか否かを決定する連続演出抽選を実行し、連続演出抽選に当選した場合に連続演出を実行し、最終的に特別役に当選しているか否かが報知されるとともに、いずれかの特別役に当選している場合に連続演出抽選で当たりパターンが決定され、決定された当たりパターンに基づく連続演出が実行され、特別役の当選が報知されることで、RT(2)演出における表示画面の背景を選択する背景選択抽選を行い、RT(2)演出における表示画面の背景を背景選択抽選で選択された背景に変更するようになっており、RT(2)においてRT(2)演出の背景が変化することによって特別役の当選に対する遊技者の期待感を高めることができるため、RT(2)演出に伴う興趣を効果的に高めることができる。
また、背景選択抽選では、ビッグボーナス(3)に当選しているときよりもビッグボーナス(2)に当選しているときの方が夕方、夜が高い割合で選択され、ビッグボーナス(1)に当選しているときの方が更に夕方、夜が高い割合で選択されるようになっている。このため、背景が夕方や夜に変更されることで、より遊技者にとって有利度の高いビッグボーナス(1)の当選が期待できるようになっている。一方、ビッグボーナス(1)が当選している場合でも、50%は昼が選択され、背景が変更されないことがあるため、背景が変更しない場合でもビッグボーナス(1)の当選に期待が持てるようになっている。
このように背景選択抽選では、当選した特別役の種類に応じた確率で背景を選択するようになっており、RT(2)演出の背景の変化の仕方に応じて当選した特別役の種類を示唆することが可能となるので、RT(2)演出に伴う興趣を一層効果的に高めることができる。
尚、本実施例では、特別役に当選している可能性のあるハズレを契機とする連続演出を境にRT(2)演出の演出態様(背景)が変更されるようになっているが、演出態様が変更する可能性を示す変更演出を境に演出態様を変更するようにしても良く、このようにした場合にも、RT(2)中において特別役と同時当選する可能性のある役が入賞したとき、特別役に当選している可能性の高いチャンス目が導出されたことを契機に変更演出を実行することが好ましく、このようにすることで、特別役の当選している可能性がある事象が発生した場合にのみ変更演出が実行されることとなるため、変更演出による特別役の当選に対する遊技者の期待感を効果的に高めることができる。尚、いずれの役も入賞しなかった場合に変更演出を実行しても上記と同様の効果が得られる。
また、RT(2)中に特別役に当選していることを条件に、特別役の当選した可能性の低い事象またはその事象のみでは特別役の当選した可能性を示すものではない事象を契機に連続演出や前述した変更演出を行ってRT(2)演出の演出態様を変更したり、これらの事象を契機に連続演出や変更演出を伴わずRT(2)演出の演出態様を変更するようにしても良く、このようにすることで特別役の当選報知に意外性を持たせることができる。
また、本実施例では、特別役に当選していることを条件にRT(2)演出の演出態様が変化するようになっているが、特別役に当選しているときの方が特別役に当選していないときよりも高い確率でRT(2)演出の演出態様が変化するようにしても良く、このようにすることで、演出態様が変化した場合でも特別役の当選が確定しないので、RT(2)が終了するまで興趣を持続させることができる。
本実施例では、通常遊技状態、RT(1)及びRT(2)中における前述した単発演出として、リプレイまたは特別役のいずれかが当選している旨を示すリプレイ告知演出を実行するとともに、RT(1)及びRT(2)中においてリプレイ(1)が当選した際に、通常遊技状態においてリプレイ(1)が当選した場合に比較して低い確率でリプレイ告知演出が実行されるようになっており、RT(1)、RT(2)に移行することによってリプレイ(1)の確率が高くなってもそれに伴ってリプレイ告知演出の頻度が極端に高くなってしまうことがなく、適度な演出のバランスを保つことができる。
尚、本実施例では、RT(1)、RT(2)においてもリプレイ告知演出を実行するようになっているが、少なくともRT(1)、RT(2)においてはリプレイ告知演出を実行しないようにしても良く、このようにした場合でも上記同様の効果を得られる。
本実施例では、ビッグボーナス(4)またはビッグボーナス(5)が入賞したときに、ビッグボーナス(1)〜(3)が入賞したときのようにビッグボーナスの入賞を示す演出を行わず、それまでの遊技状態の演出を継続するようになっており、ビッグボーナス(4)またはビッグボーナス(5)に移行した後、告知期間が終了するまでにボーナス告知演出によってビッグボーナス(4)またはビッグボーナス(5)に移行した旨が告知されるようになっており、実際にはビッグボーナス(4)またはビッグボーナス(5)が入賞し、既にビッグボーナス(4)またはビッグボーナス(5)に移行している場合であっても、入賞とは関連せずに突然ビッグボーナス(4)またはビッグボーナス(5)が始まったように認識させることができ、遊技者に意外性を与えることができるので、ビッグボーナス(4)またはビッグボーナス(5)への移行に伴う興趣を効果的に高めることができる。
また、ビッグボーナス(4)及びビッグボーナス(5)の組合せは、「7」などの目立つ図柄よりもそのサイズが小さく、各リールに配置されている数も多い「ベル」及び「リプレイ」にて構成され、かつ2種類以上の図柄にて構成されており、入賞ラインに揃ったことが分かりづらいうえに、ビッグボーナス(4)及びビッグボーナス(5)以外の役については、リール2L、2C、2Rの一直線上に位置する図柄に跨って設定される入賞ラインL1〜L4に揃うように制御されるのに対して、ビッグボーナス(4)及びビッグボーナス(5)については、全てのリールにおいて上段・中段・下段のうち停止する位置が異なり、かつ一直線上に位置しない図柄に跨って設定される入賞ラインL5、L6に揃うようになっており、ビッグボーナス(4)及びビッグボーナス(5)の組合せが入賞ラインに揃ったことが一層分かりづらくなるため、ビッグボーナス(4)またはビッグボーナス(5)が入賞したことの判別が困難となり、ボーナス告知演出によって突然ビッグボーナス(4)またはビッグボーナス(5)が始まったと印象づけることができる。
また、ビッグボーナス(4)またはビッグボーナス(5)に移行すると同時にレギュラーボーナスに移行することで、ベルの入賞確率が大幅に高まるため、ビッグボーナス(4)またはビッグボーナス(5)に移行した際には、ベルが頻繁に入賞する前兆状態(告知期間)を経てボーナス告知演出が実行されたように認識させることができるため、ベルが頻繁に入賞することに伴って、それが自力で入賞した場合であっても遊技者の期待感を高めることができる。
また、告知期間以外で、かつ特別役が当選していない状態で小役が単独で当選したときには、第1の小役告知演出が第2の小役告知演出よりも高い割合で実行されるのに対して、告知期間において小役が当選したときには、第2の小役告知演出が第1の小役告知演出よりも高い割合で実行されるようになっており、告知期間においては、告知期間以外で、かつ特別役が当選していない状態において実行される頻度の低い第2の小役告知演出が高い頻度で実行されるようになっており、第2の小役告知演出を伴うことによって告知期間における遊技者の期待感を効果的に高めることができる。
また、ビッグボーナス(4)とビッグボーナス(5)とでは、終了条件となる払出枚数、すなわちビッグボーナス中に獲得できるメダルの量が異なるとともに、前述のようにビッグボーナス(4)及びビッグボーナス(5)の組合せが入賞ラインに揃っても遊技者からは分かりづらく、ボーナス告知後、第1のボーナス演出期間においては、ビッグボーナス(4)においてもビッグボーナス(5)においても同一の第1のボーナス演出が実行されるので、第1のボーナス演出が終了した時点では、その後ビッグボーナスが継続するか否かを判別することが困難であり、次のゲームにおいてビッグボーナスが継続することに対する期待感を効果的に高めることができる。
また、ビッグボーナスが継続する場合には、次のゲームが終了するまでの期間において、複数のタイミングで継続告知がなされる可能性があり、いつ告知されるか分からないので、適度に緊張感を与えることが可能となり、興趣を効果的に高めることができるとともに、そのゲームが終了するまでの間、常に継続することに対する期待感を持続させることができる。
本実施例では、連続演出やボーナス演出により遊技効果音を継続して出力している状態において、ゲーム終了後から遊技の進行操作がなされずに一定時間(30秒)が経過したときに、通常音量(MAX)にて出力中の遊技効果音を下げる制御(消音制御)が行われるが、ゲーム終了後から一定時間(30秒)が経過する前であっても、クレジットの精算操作がなされたときには、一定時間の経過を待たず、通常音量(MAX)にて出力中の遊技効果音を下げる制御(消音制御)が行われるとともに、ゲーム終了後から一定時間(30秒)が経過する前に賭数が設定され、かつゲーム終了後から一定時間が経過する前であっても、賭数の精算操作がなされ、待機コマンドが送信されたときには、一定時間の経過を待たず、通常音量(MAX)にて出力中の遊技効果音を下げる制御(消音制御)が行われるようになっており、前回のゲームが終了してから一定時間(30秒)が経過する前であっても、遊技者の意思により連続遊技効果音の音量を下げることができるため、遊技を中断しても周囲の遊技者に迷惑をかけることがない。
また、連続演出やボーナス演出により遊技効果音を継続して出力している状態において、ゲーム終了後から所定時間が経過した場合でも、賭数が設定されている状態であれば、遊技効果音を消音する制御は行わないようになっており、遊技者がゲームを開始する意志がある状態であり、すぐに元の音量に戻さなければなないにも関わらず、遊技効果音を消音してしまうことがない。
本実施例のスロットマシン1では、2相励磁停止制御と3相励磁停止制御とを併用してリールモータの停止制御を行うことで、2相励磁停止制御によってロータ32aの回転が急速に制動されつつ目標停止角度位置に誘導され、その後、3相励磁停止制御によって、目標停止角度位置の停止相を挟んで相反する位置にある2つのブレーキ相の励磁によりブレーキを得ながら、停止相の励磁により目標停止角度位置にロータ32aが停止することとなるため、回転中のロータ32aを振動させることなく目標停止角度位置に停止させることができる。更に、ロータ32aは目標停止角度位置に停止することから、ロータ32aの正確な停止位置が特定されるため、回転開始時にリールを滑らかに回転させることができる。
また、本実施例では、設定キースイッチ37のみがONの状態で起動し、設定変更モードへ移行させる場合においては、RAM41cが初期化されるが、停止相ワークは初期化されないようになっており、設定変更後の遊技状態においても停止相ワークに格納されたリールモータ32L、32C、32Rの停止相を示すデータが維持されるようになっている。このため、設定変更後、最初にリールモータ32L、32C、32Rを回転させる場合にも、これらの停止相を特定することが可能となり、このような状況であってもリールを滑らかに回転開始させることが可能となり、設定変更後、最初にリールを回転させる際にリールが振動してしまうことがなく、遊技者から設定変更されたことが見抜かれてしまうことを防止できる。
また、設定キースイッチ37、リセット/設定スイッチ38の双方がONの状態で起動し、設定変更モードへ移行させることにより、停止相ワークも含めてRAM41cを初期化することが可能となるため、ステッピングモータの励磁相を記憶するために割り当てられた停止相ワークを利用して不正プログラムなどが常駐してしまうことを防止できる。
本実施例のスロットマシン1では、ゲーム制御終了後、最初にメダルの投入が検出されたタイミングにおいて1ゲームにつき1回のみ、満タンセンサ35aの検出状態に基づいて満タン状態か否かを判定し、満タン状態と判定された場合に、ゲームの進行を不能動化し、リセット操作がなされるまで満タンエラー状態に制御するようになっている。
また、再遊技役が入賞した次のリプレイゲームにおいては、そのゲームが終了するまでメダルの投入が許可されることがないので、メダルの投入が有効に検出されることはなく、満タン状態か否かの判定は行われないようになっており、満タンエラーか否かの判定が無駄に行われることがなく、満タン状態を効率よく監視でき、満タン状態の判定にかかる制御負荷を軽減できるとともに、満タンエラーの頻度を極力少なくすることができるので、遊技者に煩わしい思いをさせたり、店員が満タン状態を解消するための労力を軽減することが可能となる。
また、メダルの投入が検出されたことを契機に満タン状態の判定を行っているので、メダルの投入が禁止されるリプレイゲームにおいては、必然的に満タン状態か否かの判定が行われないようになっており、リプレイゲームにおいて満タン状態か否かの判定を行わない制御を行うにあたり、特にリプレイゲームか否かの判定などを行う必要がない。
また、ゲーム制御の終了後、次のゲームのメダルが投入可能な状態において最初にメダルの投入が検出されたタイミング、すなわちオーバーフロータンク35に貯留されたメダルが増加するタイミングで満タンエラーか否かの判定が行われるため、効率の良いタイミングで満タン状態を判定できる。
また、ゲーム制御の終了後、次のゲームのメダルが投入可能な状態において2枚目のメダルや3枚目のメダルの投入が検出されたタイミングとすると、クレジットを用いて賭数を設定した後、賭数の不足分をメダルの投入によって設定する場合もあるが、このような場合に、オーバーフロータンク35の貯留量が増加しているにもかかわらず、そのゲームにおいては、満タン状態の判定が行われないこととなってしまうが、本実施例では、ゲーム制御の終了後、次のゲームのメダルが投入可能な状態において最初にメダルの投入が検出されたタイミングで満タン状態の検出が行われるため、オーバーフロータンク35の貯留量が増加するゲームにおいては、確実に満タン状態の検出を行うことが可能となる。
また、本実施例では、ゲーム制御終了後、メダルの投入が可能な状態であっても、クレジットを用いて賭数が設定され、メダルが投入されずにゲームが開始した場合には、満タン状態か否かの判定は行われないようになっており、メダルが投入されることがなく、オーバーフロータンク35の貯留量が増えることがないゲームにおいては、満タンエラーか否かの判定が無駄に行われることがなく、満タン状態を効率よく監視でき、満タン状態の判定にかかる制御負荷を軽減できるとともに、満タンエラーの頻度を極力少なくすることができるので、遊技者に煩わしい思いをさせたり、店員が満タン状態を解消するための労力を軽減することが可能となる。
また、メダルの投入が検出されたことを契機に満タン状態の判定を行っているので、クレジットを用いて賭数が設定され、メダルが投入されずにゲームが開始した場合においては、必然的に満タン状態か否かの判定が行われないようになっており、クレジットを用いて賭数が設定され、メダルが投入されずにゲームが開始した場合において満タン状態か否かの判定を行わない制御を行うにあたり、特にクレジットを用いたか否かの判定などを行う必要がない。
また、本実施例では、ゲーム制御終了後、次のゲームのメダルが投入可能となる前のタイミングで満タンフラグが設定されているか否かを判定し、満タンフラグが設定されている場合には、次のゲームのメダルが投入可能となる前のタイミングで満タンエラー状態に制御するようになっている。このため、ゲーム開始から当該ゲームの制御が終了するまでの間に、満タンエラー状態に制御されることによって、例えばリール2L、2C、2Rが回転している状態で一度リール2L、2C、2Rの回転状態を停止させ、満タンエラー状態に制御し、その後満タンエラー状態が解除された際に、リール2L、2C、2Rの回転を再開させたり、ホッパーモータ34bの駆動によりメダルの払出動作がなされている状態でメダルの払出動作を一度停止させ、満タンエラー状態に制御し、その後満タンエラー状態が解除された際に、メダルの払出動作を再開させたりするといった複雑な制御を行う必要がない。すなわち、ゲームの制御を一度中断してその後ゲームの制御を再開する等の制御を行う必要がなく、ゲームの進行に係る制御が複雑化してしまうことを防止できる。
尚、本実施例では、ゲーム制御終了後、次のゲームのメダルが投入可能となる前のタイミングで満タンフラグが設定されているか否かを判定するようになっているが、ゲーム制御の最後に満タンフラグが設定されているか否かを判定し、満タンフラグが設定されている場合には、次のゲームのメダルが投入可能となる前のタイミングで満タンエラー状態に制御するようにしても良く、この場合でも上記と同様の効果が得られる。
また、ゲーム制御終了後、満タン状態が判定されており、満タンフラグが設定されている場合でも、前のゲームにおいて再遊技役が入賞しており、次のゲームがリプレイゲームであれば、満タンエラー状態に制御されないようになっており、満タンエラーの頻度をさらに少なくすることができるので、遊技者に煩わしい思いをさせたり、店員が満タン状態を解消するための労力を軽減することが可能となる。
また、本実施例では、タイマ割込処理において2.24ms毎に行うスイッチ入力判定処理において、満タンセンサ35aから出力される検出信号が前回offの状態からonの状態に変化するのみで満タンエラーとなった旨が検出されるため、offからonに変化してからの継続時間などを計時する必要がなく、満タンエラーの検出に係る制御を簡素化することができる。
また、本実施例では、満タン状態か否かの判定を、ゲーム制御終了後、最初にメダルの投入が検出されたタイミングで行っているが、少なくとも1ゲームに1回のみ満タン状態か否かの判定を行う構成であれば良く、例えば、変形例で示したように、ゲーム制御終了後、次のゲームのメダルが投入可能となる前のタイミングで満タン状態か否かの判定を行うようにしたり、ゲームの開始操作が検出された時点やゲーム制御の終了時点で満タン状態か否かの判定を行うようにしても良い。尚、ゲーム制御終了時に満タン状態か否かの判定を行う場合には、そのゲームにおいて再遊技役が入賞し、次のゲームがリプレイゲームである場合に、満タン状態か否かの判定を行わないようにすれば良い。
変形例では、ゲーム制御の終了後、次のゲームのメダルが投入可能となる前のタイミングにおいて1ゲームにつき1回のみ、満タンセンサ35aの検出状態に基づいて満タン状態か否かを判定し、満タン状態と判定された場合に、ゲームの進行を不能動化し、リセット操作がなされるまで満タンエラー状態に制御するようになっている。
また、満タン状態か否かの判定を行う前に、次のゲームがリプレイゲームか否かを判定し、リプレイゲームであれば満タン状態か否かの判定は行われないようになっており、満タンエラーか否かの判定が無駄に行われることがなく、満タン状態を効率よく監視でき、満タン状態の判定にかかる制御負荷を軽減できるとともに、満タンエラーの頻度を極力少なくすることができるので、遊技者に煩わしい思いをさせたり、店員が満タン状態を解消するための労力を軽減することが可能となる。
また、変形例では、クレジットを用いて賭数が設定され、メダルが投入されずにゲームが開始した場合には、そのゲーム制御終了後、満タン状態か否かの判定が行われないようになっており、メダルが投入されることがなく、オーバーフロータンク35の貯留量が増えることがない場合には、満タンエラーか否かの判定が無駄に行われることがなく、満タン状態を効率よく監視でき、満タン状態の判定にかかる制御負荷を軽減できるとともに、満タンエラーの頻度を極力少なくすることができるので、遊技者に煩わしい思いをさせたり、店員が満タン状態を解消するための労力を軽減することが可能となる。
また、変形例では、ゲーム制御の終了後、次のゲームのメダルが投入可能となる前のタイミングで満タン状態か否かが判定されるようになっており、ゲームの終了後、オーバーフロータンク35にメダルが増える前の段階で満タン状態を判定できる。また、満タン状態が判定されると、次のゲームのメダルが投入可能となる前に満タンエラー状態にされるため、オーバーフロータンク35にメダルが増える前の段階でゲームの進行を不能動化し、それ以上オーバーフロータンク35の貯留量が増加してしまうことがないうえに、ゲーム開始から当該ゲームの制御が終了するまでの間に、満タンエラー状態に制御されることによって、例えばリール2L、2C、2Rが回転している状態で一度リール2L、2C、2Rの回転状態を停止させ、満タンエラー状態に制御し、その後満タンエラー状態が解除された際に、リール2L、2C、2Rの回転を再開させたり、ホッパーモータ34bの駆動によりメダルの払出動作がなされている状態でメダルの払出動作を一度停止させ、満タンエラー状態に制御し、その後満タンエラー状態が解除された際に、メダルの払出動作を再開させたりするといった複雑な制御を行う必要がない。すなわち、ゲームの制御を一度中断してその後ゲームの制御を再開する等の制御を行う必要がなく、ゲームの進行に係る制御が複雑化してしまうことを防止できる。また、満タン状態の判定と、それに伴う満タンエラー状態の制御がほぼ同時に行われるため、満タン状態が判定された旨を示す情報を保持しておく必要もない。
尚、本実施例では、ゲーム制御終了後、次のゲームのメダルが投入可能となる前のタイミングで満タン状態か否かを判定するようになっているが、ゲーム制御の最後に満タン状態か否かを判定するようにしても、ゲームの終了後、オーバーフロータンク35にメダルが増える前の段階で満タン状態を判定できる。
また、この場合には、満タン状態が判定された場合に次のゲームに移行する前に満タンエラー状態に制御するようにしても良く、この場合でも、ゲームの制御を一度中断してその後ゲームの制御を再開する等の制御を行う必要がなく、ゲームの進行に係る制御が複雑化してしまうことを防止できる。また、満タン状態の判定と、それに伴う満タンエラー状態の制御がほぼ同時に行われるため、満タン状態が判定された旨を示す情報を保持しておく必要もない。
本実施例では、遊技制御基板40から出力された外部出力信号がホール機器に出力されるようになっている。これら外部出力信号は、ドア開放信号、設定変更信号、投入エラー信号、払出エラー信号を含むが、これらドア開放信号、設定変更信号、投入エラー信号、払出エラー信号は、頻繁に出力される信号ではないため、これらの信号に対して個々に外部出力用の端子を設ける必要性は低い。
このため、本実施例では、遊技制御基板40から出力された外部出力信号を、外部出力基板1000を介して、ホール機器に出力するとともに、これら外部出力信号のうちドア開放信号、設定変更信号、投入エラー信号、払出エラー信号を、外部出力基板1000に搭載されたパラレル・シリアル変換回路1002によって、これらの信号を個別に識別可能なシリアル信号であるセキュリティ信号に変換して外部に出力するようになっており、これらドア開放信号、設定変更信号、投入エラー信号、払出エラー信号を1本の端子から出力することが可能となり、必要以上に多くの端子を設ける必要がなくなる。
また、現時点では使用されていないが、将来的に使用する可能性のある予備信号線を備えた場合でも、予備信号線から出力される信号を含めて1本の端子にて個々の信号を識別可能に出力可能になるとともに、使用されていない予備信号線の端子が、空き端子となってしまうことがない。
本実施例のスロットマシン1においては、遊技制御基板40と投入メダルセンサ31との間のコネクタ接続、すなわち遊技制御基板40の基板側コネクタ620aとケーブル600aのケーブル側コネクタ610aとの接続、ケーブル600aのケーブル側コネクタ611aと操作部中継基板110の基板側コネクタ621aとの接続、操作部中継基板110の基板側コネクタ622gとケーブル601gのケーブル側コネクタ612gとの接続についてこれらコネクタ同士の接続の解除を、コネクタ規制部材500a及びコネクタ規制部材650によって規制するようになっている。これにより、遊技制御基板40と投入メダルセンサ31との間のいずれかのコネクタを不正な打ち込み器具等のコネクタに差し替えて接続し、遊技制御基板40のメイン制御部41にゲームの進行に関わる不正な信号を入出力させるといった不正行為を行うことが困難となるため、例えば、打ち込み器具などを接続して、ボーナスが当選した状態としたスロットマシンを開店時に提供するといった不正営業の実施等を効果的に防止できる。
また、遊技制御基板40と投入メダルセンサ31との間のコネクタ接続を解除するためには、基板ケース200の封止片232やコネクタカバー520の接続片522a、カバー部材680の接続片684aを破断しなければならず、これにより、遊技制御基板40と投入メダルセンサ31との間のコネクタ接続が1つでも解除されると、その痕跡が残るとともに、その痕跡を消すことはきわめて困難であるため、上記不正営業をより効果的に抑制することができる。
また、本実施例では、遊技制御基板40と投入メダルセンサ31との間に中継基板が1つのみであるが、複数の中継基板を経由する場合には、その間に存在するコネクタ接続全てについて抜脱を規制することが好ましく、このようにすることで遊技制御基板40と投入メダルセンサ31との間のいずれかのコネクタを不正な打ち込み器具等のコネクタに差し替えて接続し、遊技制御基板40のメイン制御部41にゲームの進行に関わる不正な信号を入出力させるといった不正行為を行うことが困難となるため、上記不正営業の実施等を効果的に防止できる。
また、本実施例では、ゲームの進行に応じて遊技制御基板40に対して信号を入力する第1の電子部品5、6、7、8L、8C、8R、31、33L、33C、33R、35及びゲームの進行に応じて遊技制御基板40から信号が出力される第2の電子部品32L、32C、32R、34bのうち、投入メダルセンサ31と遊技制御基板40との間のコネクタ接続のみコネクタ規制部材を設けてコネクタ同士の接続の解除を規制している。すなわちその信号がなければ遊技を進行させることができない投入メダルセンサ31(投入メダルセンサ31からの信号が入力されなければ賭数を設定できずゲームを開始することが不可能となる)と遊技制御基板40との間のコネクタ接続のみコネクタ規制部材を設けてコネクタ同士の接続の解除を規制しており、他の電子部品と遊技制御基板40との間でコネクタ同士の接続を解除して打ち込み器具のコネクタに差し替えた場合でも、実質的に遊技を自動的に進行させることができなくなるため、最小限の規制で不正行為を防止することが可能となり、これらコネクタ同士の接続を解除するための部品点数を減らすことができる。
尚、本実施例では、投入メダルセンサ31と遊技制御基板40との間のコネクタ接続のみコネクタ規制部材を設けてコネクタ同士の接続の解除を規制しているが、スタートスイッチ7と遊技制御基板40との間のコネクタ接続のみコネクタ規制部材を設けてコネクタ同士の接続の解除を規制するようにしても同様の効果が得られる。また、本実施例のようにリールの回転開始後、リールの停止操作がなされるまでリールが停止する構成でないものであれば、ストップスイッチ8L、8C、8Rのいずれかと遊技制御基板40との間のコネクタ接続のみコネクタ規制部材を設けてコネクタ同士の接続の解除を規制するようにしても同様の効果が得られる。
また、本実施例では、メイン制御部41とゲームの進行上必要な信号の入出力が行われる複数の電子部品とを接続する複数の信号線が、遊技制御基板40と操作部中継基板110との間では1本のケーブル600aで接続されているため、遊技制御基板40の基板側コネクタ620aとケーブル側コネクタ610aとのコネクタ接続、すなわち1カ所のコネクタ接続のみ接続の解除を規制することで、複数の信号線同士の接続の解除を規制することが可能となり、これらコネクタ接続の解除を規制するための部品を複数用意する必要がなく、これらの部品点数を削減できる。
尚、メイン制御部41とゲームの進行上必要な信号の入出力が行われる複数の電子部品とを接続する複数の信号線が、複数のケーブルを介して接続される場合でも、基板側コネクタを近接する位置に配置するとともに、1つの部品でこれら複数の基板側コネクタと複数のケーブル側コネクタとの接続の解除を規制することで、これらコネクタ接続の解除を規制するための部品を複数用意する必要がなく、これらの部品点数を削減できる。
また、本実施例では、遊技制御基板40と操作部中継基板110とを接続するケーブル600aのケーブル側コネクタ611aと操作部中継基板110の基板側コネクタ621aとの接続の解除、操作部中継基板110と投入メダルセンサ31とを接続するケーブル601gのケーブル側コネクタ612gと操作部中継基板110の基板側コネクタ622gとの接続の解除が、1つのコネクタ規制部材650によって、同時に規制されるので、これら複数のコネクタ接続の解除を規制するための部品を複数用意する必要がなく、これらの部品点数を削減できる。
また、本実施例では、取付側部材510とコネクタカバー520とからなるコネクタ規制部材500aを基板ケース200に取り付けることで、当該基板ケース200に収容された遊技制御基板の基板側コネクタ620aとケーブル側コネクタ610aとの抜脱が規制されるとともに、この状態で基板ケース200を取付ベース250に取り付けて固着部材255と封止片232とを固着することで、基板ケース200からのコネクタ規制部材500aの取り外しが規制されることになり、基板ケース200の封止片232を破断して基板ケース200と筐体(取付ベース250)との固着を解除するか、取付側部材510またはコネクタカバー520の取り付け状態を解除しなければ、基板側コネクタ620aからケーブル側コネクタ610aを抜脱できない状態となる。すなわち封止片232の破断、または接続片522aの破断という痕跡を残さなければケーブル側コネクタ610aを抜脱することができない状態となり、痕跡を残さずに打ち込み器具などの不正器具を接続することができなくなるため、不正が行われた可能性があることを確実に発見することができるようになる。
また、故障などにより遊技制御基板40を収容した基板ケース200ごと遊技制御基板40を交換する場合には、封止片232を破断して基板ケース200と筐体(取付ベース250)との固着を解除すれば、コネクタ規制部材500aを基板ケース200から取り外してケーブル側コネクタ610aを基板側コネクタ620aから抜脱可能となるため、無駄にコネクタ規制部材500aを破壊したり、基板ケース200を破壊して開封することなく基板側コネクタ620aからケーブル側コネクタ610aを分離させることができる。
また、コネクタ規制部材500aを取付側部材510とコネクタカバー520とから構成し、取付側部材510を基板ケース200に取り付けた後、ケーブル側コネクタ610aを基板側コネクタ620aに接続し、その状態で基板側コネクタ620aの一部を上方から被覆するようにして取付側部材510に取り付けることによって、ケーブル側コネクタ610aの基板側コネクタ620aからの抜脱が不能化されるようになっており、ケーブル側コネクタ610aを基板側コネクタ620aに接続した後、基板側コネクタ620aの周辺に位置する取付側部材510の係止孔部513の係止孔513aにコネクタカバー520の係止筒522を嵌入し、コネクタカバー520を取付側部材510に取り付けるのみで、コネクタカバー520によりケーブル側コネクタ610aの一部が被服され、ケーブル側コネクタ610aの抜き方向への移動が規制されるので、ケーブル側コネクタ610aの基板側コネクタ620aに対する抜脱を規制するにあたり、その組み付け作業を軽減できる。
また、遊技制御基板40が基板ケース200に収容された状態であっても、そのままの状態でケーブル側コネクタ610aを基板側コネクタ620aに接続し、その後コネクタカバー520を取り付けるのみで良く、このような場合には、ケーブル側コネクタ610aの基板側コネクタ620aに対する抜脱を規制するにあたり、その組み付け作業を一層効果的に軽減できる。
また、コネクタカバー520は、ケーブル側コネクタ610aと基板側コネクタ620aとの接続部分全体を被覆するのではなく、ケーブル側コネクタ610aの抜き方向側の一部のみを被覆する構成であるため、ケーブル側コネクタ610aの基板側コネクタ620aに対する抜脱を確実に規制できるばかりでなく、コネクタカバー520の製造に必要な材料が少なく済む。
また、コネクタカバー520は、取付側部材510に対して1カ所の係止筒522のみで取り付けられるので、コネクタカバー520及び取付側部材510の構造を簡素化できることから好ましいが、コネクタカバー520に係止筒522を複数箇所設けるとともに、取付側部材510にもそれぞれ対応する箇所に係止孔513aを設け、コネクタカバー520を複数箇所で取付側部材510に対して取り付けるようにしても良く、このようにすることで、ケーブル側コネクタ610aの基板側コネクタ620aに対する抜脱をより強固に規制することができる。更にこの場合には、ケーブル側コネクタ610aと基板側コネクタ620aとの接続部分を跨ぐ複数箇所でコネクタカバー520を複数箇所で取付側部材510に対して取り付けることが好ましく、このようにすれば、ケーブル側コネクタ610aの基板側コネクタ620aに対する抜脱を更に強固に規制することができる。
また、コネクタカバー520が取付側部材510に対して1カ所の係止筒522のみで取り付けられるが、コネクタカバー520の一方の側壁には、取付側部材510の基片510aの表面に当接するリブ521b、521bが形成されており、コネクタカバー520の移動が規制されるため、ケーブル側コネクタ610aの基板側コネクタ620aに対する抜脱を確実に規制することができる。
また、取付側部材510の基片510aから延設される両端部には、内向きの係止片511、511がそれぞれ形成されており、係止片511、511を外方に弾性変形させた状態で、基板ケース200に組み付けて基板ケース200の裏面に形成された係止溝514、514に係合させることで、取付側部材510が基板ケース200に取り付けられるようになっているため、コネクタ規制部材500aを基板ケース200に取り付けるにあたり、ネジやピンなどの他の部材を用いることなく取り付けることができるので、部品点数を削減できる。
また、コネクタ規制部材500aを構成する取付側部材510を基板ケース200に取り付けた際に、取付側部材510の基片510a、上片510c、510cの基板ケース200に対する対向面が上部ケース203における段部203bの上面及び凹部203fの底面にそれぞれ当接するようになっており、コネクタ規制部材500aと基板ケース200の表面との間に不正部品などが取り付けられることを効果的に防止することができる。
また、コネクタ規制部材500aを構成する取付側部材510及びコネクタカバー520は、ともに透明な合成樹脂材にて構成されているため、基板ケース200内の視認性がコネクタ規制部材500aにより損なわれることがないので、遊技制御基板40の監視に支障をきたすことがない。また、コネクタ規制部材500aと基板ケース200との隙間に不正部品が取り付けられた場合でも容易に発見することが可能となる。
本実施例では、メイン制御部41の起動時に電断前の状態に復帰し、かつ電断前から特別役が当選している場合には、CPU41aが特別役の当選を示す電源投入コマンドを送信し、特別役の当選を示す電源投入コマンドをサブ制御部91が受信すると、特別役の当選を示す告知演出を実行するとともに、この告知演出は特別役の入賞を示す入賞判定コマンドを受信するまで、すなわち当選した特別役が入賞するまで継続して実行されるようになっている。
また、サブ制御部91は、電源投入コマンドか、後述するようにメイン制御部41の制御状態が初期化された旨を示す初期化コマンドを受信するまでは、バックアップが正常であってもその演出状態に復帰することもなく、他のコマンドを受信してもそれに応じて演出の制御は行わないようになっている。このため、起動時にメイン制御部41とサブ制御部91のコマンド送信ラインを非接続とし、その後メイン制御部41とサブ制御部91とを接続しても、サブ制御部91は、電源投入コマンドや初期化コマンドを受信していないため、演出の制御が行われることはなく、起動時にメイン制御部41とサブ制御部91のコマンド送信ラインを非接続としても、サブ制御部91側で電源投入コマンドの受信を回避し、特別役の当選を示す告知演出の実行を回避することは不可能であり、このようにメイン制御部41の起動時に電断前の状態に復帰し、かつ電断前から特別役が当選している場合には、必ず特別役の当選が報知されることとなる。
一方、打ち込み器具などの不正器具を接続するには、一度電源を切る必要がある(電源を切らずにコネクタを外すと故障の原因となる)が、上記の構成により、無理矢理コネクタの接続を解除して打ち込み器具を使用し、不正に特別役の当選を設定しても、メイン制御部41を再起動させた際に、特別役に当選していることが外部から容易に判別できてしまうので、打ち込み器具を使用して特別役が当選した状態に設定したスロットマシンを、遊技店の営業開始時等において遊技客に提供するといった不正営業を効果的に抑止することができる。
また、告知演出は特別役の入賞を示す入賞判定コマンドを受信するまで、すなわち当選した特別役が入賞するまで継続して実行されるので、特別役が入賞すること、すなわち特別役の当選フラグがクリアされるまでは告知演出が停止することはなく、遊技店によって特別役の当選を維持したまま告知演出を解除することが不可能となるため、打ち込み器具を使用して特別役が当選した状態に設定したスロットマシン1を、遊技店の営業開始時等において遊技客に提供するといった不正営業をより一層効果的に抑止することができる。
また、本実施例では、メイン制御部41の起動時に電断前の状態に復帰し、かつ電断前から特別役が当選している場合には、CPU41aが特別役の当選を示す電源投入コマンドを送信し、特別役の当選を示す電源投入コマンドをサブ制御部91が受信することで、特別役の当選を示す告知演出を、サブ制御部91が制御する液晶表示器51、演出効果LED52、スピーカ53、54、リールLED55等の演出装置にて実行するようになっており、不正に特別役の当選を設定しても、メイン制御部41を再起動させた際に、特別役に当選していることが演出装置で報知され、一層判別しやすい状態となるので、打ち込み器具を使用して特別役が当選した状態に設定したスロットマシンを、遊技店の営業開始時等において遊技客に提供するといった不正営業を一層確実に防止することができる。
また、本実施例では、遊技制御基板40と演出制御基板90の間のコネクタ接続の解除がコネクタ規制部材により規制されるようになっており、メイン制御部41を起動させた後、演出制御基板90を接続することで特別役の報知をさせないといった細工をすることが困難となるため、遊技店による不正営業を一層確実に防止することができる。更に、コネクタ規制部材は、互いに接続された基板側コネクタからのケーブル側コネクタの抜脱を規制可能に構成され、コネクタでの接続に関わる解除規制部位を破壊しない限り、解除不能とする接続解除規制状態が形成され、接続解除規制状態を解除した場合にその痕跡が残るように構成されているので、コネクタ同士での接続を解除するためには解除規制部位を破壊しなければならず、これにより接続を解除した後に再度接続解除規制状態を形成することが極めて困難となり、かつ、手間がかかるため、上記不正行為をより効果的に防止することができる。
また、本実施例では、停電時において遊技制御基板40と演出制御基板90との間の電気的な接続状態を監視し、遊技制御基板40と演出制御基板90との間の電気的な接続状態が解除された場合には、その旨を示す断線フラグを記憶する断線監視IC50を遊技制御基板40に有し、CPU41aが、その起動時において断線監視IC50に断線フラグの確認要求を行い、これに伴う断線監視IC50からの返信に基づき断線フラグの記憶状態を取得し、断線フラグが記憶されている場合、すなわち遊技制御基板40と演出制御基板90との間の電気的な接続状態が解除された場合には、断線異常と判定し、断線異常エラーによるエラー状態に制御して、ゲームの進行を不能化するとともに、RAM41cの領域のうちCPU41aが使用中の領域を除く全ての領域を初期化し、元の状態に復帰不可能となるので、メイン制御部41を起動させた後、演出制御基板90を接続することで特別役の報知をさせないといった細工をした場合には、RAM41cが初期化されてしまい元の状態に復帰不可能となるため、遊技店による不正営業を一層確実に防止することができる。
尚、本実施例では、サブ制御部91が制御する演出装置にて特別役の当選が報知されるようになっているが、メイン制御部41の起動時に電断前の状態に復帰し、かつ電断前から特別役が当選している場合に、メイン制御部41が直接制御するクレジット表示器11、遊技補助表示器12、ペイアウト表示器13にて特別役の当選を報知するようにしても良い。また、メイン制御部41が直接制御する電子部品として特別役の当選を報知する告知LEDを設け、メイン制御部41の起動時に電断前の状態に復帰し、かつ電断前から特別役が当選している場合に、告知LEDを用いて特別役の当選を報知するようにしても良い。
また、本実施例では、ゲームの進行に応じて遊技制御基板40に対して信号を入力または出力する電子部品(投入メダルセンサ31)と遊技制御基板40との間のコネクタ接続のみコネクタ規制部材を設けてコネクタ同士の接続の解除を規制することによっても不正器具の使用を防止しているが、メイン制御部41の起動時に電断前の状態に復帰し、かつ電断前から特別役が当選している場合に、その旨を報知することで、コネクタ同士の抜き差しを規制する構造とするか否かに関わらず、打ち込み器具の使用を防止できるため、コネクタ同士の抜き差しを規制する構造にしないことも可能であり、このようにすることで、コネクタ同士の抜き差しを規制するために部品の大幅な構造変更を必要としないうえに、故障時などのメンテナンス性を向上させることもできる。
本実施例では、断線監視IC50が、停電時において遊技制御基板40と投入メダルセンサ31との間の電気的な接続状態についても監視し、遊技制御基板40と投入メダルセンサ31との間の電気的な接続状態が解除された場合には、その旨を示す断線フラグを記憶するとともに、CPU41aが、その起動時において断線監視IC50に断線フラグの確認要求を行い、これに伴う断線監視IC50からの返信に基づき断線フラグの記憶状態を取得し、断線フラグが記憶されている場合、すなわち遊技制御基板40と投入メダルセンサ31との間の電気的な接続状態が解除された場合には、断線異常と判定し、断線異常エラーによるエラー状態に制御して、ゲームの進行を不能化するとともに、RAM41cの領域のうちCPU41aが使用中の領域を除く全ての領域を初期化し、元の状態に復帰不可能となる。
一方、打ち込み器具などの不正器具を接続するには、コネクタの抜き差しが必要となるが、打ち込み器具を使用し、不正に特別役の当選を設定しても、正規のコネクタと交換するためにコネクタの接続を解除することで、断線監視IC50に断線フラグが記憶され、CPU41aを起動させた際に、RAM41cの領域のうちCPU41aが使用中の領域を除く全ての領域が初期化されてしまうので、打ち込み器具を使用して特別役が当選した状態に設定したスロットマシンを、遊技店の営業開始時等において遊技客に提供するといった不正営業を効果的に防止することができる。
また、断線監視IC50は、通電時においても遊技制御基板40と投入メダルセンサ31との間の電気的な接続状態を監視し、遊技制御基板40と投入メダルセンサ31との間の電気的な接続状態が解除された場合には、その旨を示す断線フラグを記憶するとともに、CPU41aは、起動後もタイマ割込処理において定期的に断線フラグの記憶状態を確認し、断線フラグが記憶されている場合には、断線異常と判定し、断線異常エラーによるエラー状態に制御して、ゲームの進行を不能化するとともに、RAM41cの領域のうちCPU41aが使用中の領域を除く全ての領域を初期化し、元の状態に復帰不可能となるため、電源を落とさないまま、正規のコネクタと交換するためにコネクタの接続を解除した場合でも、断線監視IC50に断線フラグが記憶され、これに伴い、断線異常によるエラー状態に制御され、RAM41cの領域のうちCPU41aが使用中の領域を除く全ての領域が初期化されてしまうので、打ち込み器具を使用して特別役が当選した状態に設定したスロットマシンを、遊技店の営業開始時等において遊技客に提供するといった不正営業をより確実に防止することができる。
また、本実施例では、一度断線異常エラーによるエラー状態に制御されると、設定変更モードに移行させて、設定変更操作に基づいて設定値を新たに選択・設定しなければ、ゲームの進行が不能化された状態が解除されない。すなわち、RAM41cの初期化に伴ってスロットマシンにより自動的に設定された設定値ではなく、設定変更操作に基づいて選択・設定された設定値(一般的に、設定変更操作は遊技店の従業員により行われるので、遊技店側が選択した設定値である)に基づいてゲームが行われることが担保されるので、ゲームの公平性を図ることができる。
尚、本実施例では、CPU41aが断線異常と判定し、断線異常エラーによるエラー状態に制御することに伴って、RAM41cの領域のうちCPU41aが使用中の領域を除く全ての領域が初期化され、元の状態に復帰不可能となる構成となっているが、断線異常エラーによるエラー状態においては、RAM41cの初期化はされないが、その後RAM41cの初期化操作(本実施例では、設定変更モードへの移行操作が該当するが、これとは別に、電源投入時に検出されることで、RAM41cの初期化が行われる初期化スイッチを設け、初期化スイッチによるRAM41cの初期化操作を適用しても良い。)が行われたことを条件に、エラー状態を解除し、ゲームが可能な状態となるようにしても良く、このようにした場合には、打ち込み器具を使用し、不正に特別役の当選を設定しても、正規のコネクタと交換するためにコネクタの接続を解除することで、断線監視IC50に断線フラグが記憶され、CPU41aを起動させた際に、RAM41cの初期化操作がなされて、RAM41cが初期化されるまでゲームの進行が不能化されるので、打ち込み器具を使用して特別役が当選した状態に設定したスロットマシンを、遊技店の営業開始時等において遊技客に提供するといった不正営業を効果的に防止することができる。
また、本実施例では、ゲームの進行に応じて遊技制御基板40に対して信号を入力または出力する電子部品(投入メダルセンサ31)と遊技制御基板40との間のコネクタ接続のみコネクタ規制部材を設けてコネクタ同士の接続の解除を規制することによっても不正器具の使用を防止しているが、遊技制御基板40と投入メダルセンサ31との間の電気的な接続状態を監視し、遊技制御基板40と投入メダルセンサ31との間の電気的な接続状態が解除された場合には、その旨を示す断線フラグを記憶するとともに、CPU41aが、起動時及び起動後において断線フラグの記憶状態を確認し、断線フラグが記憶されている場合には、断線異常と判定し、断線異常エラーによるエラー状態に制御して、ゲームの進行を不能化するとともに、RAM41cの領域のうちCPU41aが使用中の領域を除く全ての領域を初期化すること、または初期化操作がなされてRAM41cが初期化されるまでゲームの進行を不能化することで、コネクタ同士の抜き差しを規制する構造とするか否かに関わらず、打ち込み器具の使用を防止できるため、コネクタ同士の抜き差しを規制する構造にしないことも可能であり、このようにすることで、コネクタ同士の抜き差しを規制するために部品の大幅な構造変更を必要としないうえに、故障時などのメンテナンス性を向上させることもできる。
また、本実施例では、断線監視IC50が、遊技制御基板40と投入メダルセンサ31との間の電気的な接続状態を監視しているが、ゲームの進行上必ず必要な信号の入出力がなされる電子部品(例えば、スタートスイッチ7や、本実施例のようにリールの回転開始後、リールの停止操作がなされるまでリールが停止する構成でないものにおけるストップスイッチ8L、8C、8Rなど)を監視するものであっても、上記と同様の効果が得られる。
また、本実施例では、断線監視IC50が、ゲームの進行に応じて遊技制御基板40に対して信号を入力または出力する電子部品(投入メダルセンサ31)と遊技制御基板40との間の電気的な接続状態を監視するとともに、CPU41aが、起動時においてゲームの進行に応じて遊技制御基板40に対して信号を入力または出力する電子部品(投入メダルセンサ31)と遊技制御基板40との間の断線を判定した場合に、RAM41cを初期化することで、遊技店による不正営業を防止するようになっているが、図73に示すように、メイン制御部41のバックアップ電源が、遊技制御基板40から、遊技制御基板40と操作部中継基板110を配線接続するケーブル600a、操作部中継基板110、操作部中継基板110と投入メダルセンサ31を配線接続するケーブル601gを経由し、更に、投入メダルセンサ31で折り返して、ケーブル601g、操作部中継基板110、ケーブル600aを経由して再度遊技制御基板40に戻り、メイン制御部41に供給されるように構成しても良く、このような構成とすることで、スロットマシン1に対する電力供給が遮断されている状態で、遊技制御基板40と投入メダルセンサ31の間のコネクタ同士の接続が1ヶ所でも解除されることで、バックアップ電源の供給ラインが切断され、メイン制御部41のRAM41cのデータを保持できず、消失することとなる。すなわち遊技制御基板40と投入メダルセンサ31との間のコネクタ同士の接続が1カ所でも解除されると、メイン制御部41のRAM41cに保持されているバックアップデータが消失する。一方、打ち込み器具などの不正器具を接続するには、コネクタの抜き差しが必要となるが、打ち込み器具を使用し、不正に特別役の当選を設定しても、正規のコネクタと交換するためにコネクタの接続を解除することでRAM41cのデータが初期化されてしまうので、打ち込み器具を使用して特別役が当選した状態に設定したスロットマシンを、遊技店の営業開始時等において遊技客に提供するといった不正営業を防止することができる。
尚、バックアップ電源が、遊技制御基板40から投入メダルセンサ31を経由して再度遊技制御基板40に戻り、メイン制御部41に対して供給されることで、この間のコネクタ接続が解除された場合にRAM41cのデータが消失するようになっているが、ゲームの進行上必ず必要な信号の入出力がなされる電子部品(例えば、スタートスイッチ7や、本実施例のようにリールの回転開始後、リールの停止操作がなされるまでリールが停止する構成でないものにおけるストップスイッチ8L、8C、8Rなど)を経由するものであっても、上記と同様の効果が得られる。
また、バックアップ電源を蓄積するコンデンサや電池などを、ゲームの進行上必ず必要な信号の入出力がなされる電子部品の取付基板やこれら電子部品の中継基板(操作部中継基板110など)に搭載し、これら取付基板や中継基板に搭載されたコンデンサや電池などからのバックアップ電源の供給ラインが、電子部品の信号線とともにケーブルを介して遊技制御基板に接続され、メイン制御部41に対して供給されるようにしても良く、この場合でも、これら取付基板や中継基板と遊技制御基板40との間のコネクタ接続が解除された場合にRAM41cのデータが消失することとなるため、上記と同様の効果を得られるうえに、遊技制御基板40には取付基板や中継基板に搭載されたコンデンサや電池などからケーブルを介してバックアップ電源が供給されることとなるため、ケーブルを抜いた際にメイン制御部41に対してバックアップ電源を供給し続けるためには、基板間を跨いでバックアップ電源の供給ラインを短絡させる必要があり、バックアップ電源を供給し続けた状態でコネクタ接続を解除することが非常に困難となるため、打ち込み器具の接続を効果的に防止することができる。
本実施例では、サブ制御部91のCPU91aが、グラフィックコントローラ1200からのVブランク割込信号が一定期間入力されなかった場合、グラフィックコントローラ1200に対して命令したにも関わらず、命令に対応する完了割込信号が一定期間入力されなかった場合に、演出状態のバックアップを行う電断割込処理(サブ)を実行するとともに、再起動して電断割込処理においてバックアップした制御状態を復帰させる。そして、CPU91aの再起動に伴って、グラフィックコントローラ1200を初期化して、再起動前に実行していた制御パターンに基づく命令を再度グラフィックコントローラ1200に対して行うことにより、グラフィックコントローラ1200の動作を再開させるようになっている。これにより、グラフィックコントローラ1200がハングアップした場合でも、ハングアップする前の状態に復旧させることができる。また、ハングアップにより途中となっていた表示動作を復旧後に再開させることができ、異常な表示状態からのより適切な復旧が可能になる。
また、本実施例では、再起動の際に制御状態を復旧させるための処理として、電断時に実行される電断割込処理(サブ)を流用しており、グラフィックコントローラ1200がハングアップした際に実行する専用の処理を実行する必要がないので、プログラム容量の増大や処理の複雑化を防止しつつ、異常な表示状態から適切に復旧させることができる。
また、本実施例では、表示制御回路92がハングアップした場合において、電断割込処理(サブ)を実行する前にRAM91cに再起動フラグを設定し、その後起動したCPU91aが、再起動フラグの有無を判定することにより、電源投入による起動であるか、表示制御回路92のハングアップによる再起動であるか、を区別できるようになっており、CPU91aは、表示制御回路92のハングアップによる再起動であると判定した場合において、再起動前の演出状態に復帰可能であれば、初期化コマンドまたは電源投入コマンドの受信を待たず、再起動前の演出状態に復帰させるようになっている。このため、CPU91aが、電源投入による起動ではなく、表示制御回路92のハングアップによって再起動する場合であるにも関わらず、初期化コマンドも電源投入コマンドも受信できずに、演出が行われなくなってしまうことを防止できる。
また、本実施例では、CPU41aが演出制御基板90に対して遊技の進行に応じたコマンドを送信し、演出制御基板90に搭載されたサブ制御部91は、遊技制御基板40から送信されたコマンドに基づいて演出の制御を行うようになっており、CPU41aは、コマンドを送信するのみで演出の制御を行う必要がないので、CPU41aの処理負荷を軽減できるうえに、演出を多彩なものにできる。
また、遊技制御基板40から演出制御基板90にコマンドが送信されるコマンド伝送ラインが、遊技制御基板40と演出制御基板90との間で演出中継基板80を介して接続されており、遊技制御基板40に演出制御基板90が直接接続される構成ではないので、コマンド伝送ラインからCPU41aに対して外部から不正な信号が入力され、遊技の制御に影響を与えられてしまうことを防止できる。
以上、本発明の実施例を図面により説明してきたが、本発明はこの実施例に限定されるものではなく、本発明の主旨を逸脱しない範囲における変更や追加があっても本発明に含まれることは言うまでもない。
前記実施例では、テーブル+コントロール方式にて停止制御を行う場合に、停止制御テーブルから展開した滑りコマ数を仮想滑りコマテーブルに格納し、その滑りコマ数による停止位置の優先度と、滑りコマ数別に取得した停止位置の優先度とを比較し、滑りコマ数別に取得した停止位置の優先度の方が高い場合に、仮想滑りコマテーブルの滑りコマ数を更新するようになっているが、停止制御テーブルから展開した滑りコマ数による停止位置の優先度と、滑りコマ数別に取得した停止位置の優先度とを比較し、滑りコマ数別に取得した停止位置の優先度の方が高い場合に、その滑りコマ数を仮想滑りコマテーブルに格納し、それ以外の場合には、停止制御テーブルから展開した滑りコマ数を仮想滑りコマテーブルに格納するようにしても良い。
前記実施例では、停止位置の優先度を判定する際に、停止禁止位置か否かや入賞ライン上に揃う役の種類によって優先度を判定しているが、当選した役がどの入賞ラインに揃うかに応じて停止位置の優先度を判定するようにしても良く、例えば、停止制御テーブルでは、下段の入賞ラインL2に当選役が揃うように滑りコマ数を登録しておくとともに、当選役を揃えることが可能な場合には、右上がりの入賞ラインL4に当選役が揃う停止位置の優先度を高くすることで、当選役を揃えることが可能な場合には、下段の入賞ラインL2にも右上がりの入賞ラインL4にも当選役が揃い得るが、取りこぼした場合(すなわち滑りコマ数が優先度の判定によって更新されていない停止操作位置で停止操作がなされた場合)には、当選役を構成する図柄が入賞ラインL2上にのみ停止するようになり、当選役を構成する図柄の停止位置を制限することが可能となる。このため、特別役の当選時にのみ制限した停止位置を出現可能な停止制御テーブルを用いることにより、当選役の取りこぼしでは出現し得ないリーチ目を停止させることが可能となる。
前記実施例では、停止制御テーブルに登録された滑りコマ数を展開する処理や、滑りコマ数別の停止位置を取得する処理、停止位置の優先度を比較する処理などを、停止操作が有効となる前に行い、滑りコマ数を予め仮想滑りコマテーブルに格納しておくとともに、停止操作が検出された際には、仮想滑りコマテーブルを参照し、該当する停止操作位置の滑りコマ数を取得して停止制御を行うようになっているが、仮想滑りコマテーブルを設けず、停止操作が行われた時点で、上記の処理を行って停止操作のタイミングに対応する滑りコマ数を取得するようにしても良い。
また、前記実施例では、導出情報として滑りコマ数を適用しているが、少なくとも停止位置を特定できるものであれば良く、例えば、基準位置に停止する領域番号(図柄番号)などを導出情報として適用しても良い。
また、前記実施例では、内部抽選の結果に関わらず少なくとも第1停止については、テーブル方式またはテーブル+コントロール方式のいずれかで停止制御を行うようになっているが、内部抽選の結果によっては全ての停止時期についてコントロール方式により停止制御を行うようにしても良い。
また、前記実施例では、内部抽選の結果に応じて、第1停止、第2停止及び第3停止の全ての停止時期についてテーブル方式またはテーブル+コントロール方式による停止制御を行うか、第1停止のみテーブル方式またはテーブル+コントロール方式による停止制御を行い、残りの第2停止及び第3停止についてはコントロール方式による停止制御を行うか、のいずれかであるが、いずれか2つの停止時期についてテーブル方式またはテーブル+コントロール方式による停止制御を行い、残り1つの停止時期についてテーブル方式またはテーブル+コントロール方式による停止制御を行うようにしても良い。
前記実施例では、メダルの増加が期待できるRT(1)(2)を適用しているが、直接的にメダルの増加が期待できるものでなくても良く、直接的にメダルの増加は期待できないが、何らかの価値(例えば、メダルの増加が期待できる遊技状態(当選している役の種類が報知される報知遊技状態(いわゆるAT))などの抽選機会やその抽選機会の高確率状態など)が付与されることによって間接的にメダルの増加が期待できるものであっても良い。
前記実施例では、RT(1)においても1ゲームあたりのメダルの払出率が1を超えるようになっているが、RT(1)においては1ゲームあたりのメダルの期待増加率を1以下、または1未満としても良く、このようにすることでRT(2)の価値を相対的に高められるので、RT(1)に制御されることにより、RT(2)に移行することへの遊技者の期待感を一層高めることができる。
前記実施例では、RT(1)が開始した後、いずれかの特別役が当選したとき、リプレイ(2)が入賞し、RT(2)に移行するとき、いずれの特別役も当選せず、リプレイ(2)も入賞せずに規定ゲーム数に到達したときにRT(1)を終了させるようになっているが、いずれかの特別役が当選したとき、リプレイ(2)が入賞し、RT(2)に移行するとき、転落役が入賞したとき、いずれの特別役も当選せず、リプレイ(2)、いずれの転落役も入賞せずに規定ゲーム数に到達したときにRT(1)を終了させるようにしても良いし、RT(1)に規定ゲーム数を設けず、RT(1)が開始した後、いずれかの特別役が当選したとき、リプレイ(2)が入賞し、RT(2)に移行するときまたは転落役が入賞したときにRT(1)を終了させるようにしても良い。
前記実施例では、ビッグボーナス(1)、(2)の終了後にRT(1)に移行するようになっているが、その他の契機、例えば、ビッグボーナス(3)の終了後にRT(1)に移行するようにしても良いし、RT(2)の移行役とは異なるRT(1)の移行役の組合せが揃ったことを契機にRT(1)に移行するようにしても良い。
前記実施例では、RT(2)が開始した後、規定ゲーム数に到達する前にいずれかの特別役が当選した場合には、RT(2)を終了させず、いずれかの特別役が入賞したとき、いずれかのチェリー、すなわち転落役が入賞したとき、または特別役も転落役も入賞せずに規定ゲーム数に到達したときにRT(2)を終了させるようになっているが、RT(2)に規定ゲーム数を設けず、RT(2)が開始した後、いずれかの特別役が入賞したときまたは転落役が入賞したときにRT(2)を終了させるようにしても良い。また、転落役を設けず、RT(2)が開始した後、いずれかの特別役が入賞したときまたはいずれの特別役も入賞せずに規定ゲーム数に到達したときにRT(2)を終了させるようにしても良い。
前記実施例では、いずれかの特別役が当選している状態では、RT(2)中に転落役が入賞してもRT(2)が終了しないようになっているが、いずれかの特別役が当選しているか否かに関わらずRT(2)中に転落役が入賞した場合にはRT(2)を終了させるようにしても良い。
前記実施例では、RT(2)においていずれの特別役も当選していない状態で特別役と転落役とが同時に当選した場合に、当選した転落役が入賞してもRT(2)が終了しないようになっているが、RT(2)においていずれかの特別役が持ち越されている状態で転落役が入賞してもRT(2)が終了しない構成とし、RT(2)においていずれの特別役も持ち越されていない状態で、特別役と転落役とが同時に当選し、当選した転落役が入賞することでRT(2)が終了するようにしても良い。この場合には、RT(2)は終了することとなるが、転落役が入賞し、RT(2)が終了しても特別役が当選していることに対する遊技者の期待感を高めることができる。
前記実施例では、転落役として、3種類の役を適用しているが、1種類または2種類であっても良いし、4種類以上であっても良い。
前記実施例では、遊技者が操作し得る全ての操作手順に対して、必ずいずれかの種類の転落役の入賞手順が割り当てられているとともに、いずれかの種類の転落役の入賞を回避する操作手順には、必ず他の少なくとも1種類の転落役の入賞手順を含む構成とすることにより、全種類の転落役に共通の回避手順が存在しないようになっているが、異なる種類の転落役の入賞手順の一部または全部が共通する構成であっても良い。
さらに、遊技者が操作し得る全ての操作手順に対して、全ての転落役について入賞を回避する操作手順を設けるようにしても良く、このようにした場合には、遊技者の技術介入によって確実に規定ゲーム数までRT(2)を継続させることができる。また、この場合には、特別役及び転落役の双方を回避可能な操作手順を設けることが好ましく、このようにすることで、共通の操作手順で特別役及び転落役の双方を回避できる。
前記実施例では、RT(2)において転落役が入賞した時点で次のゲームから通常遊技状態に移行するようになっているが、例えば、RT(2)の規定ゲーム数よりも短いゲーム数(例えば1ゲーム)で終了する特殊RTの移行役を適用し、転落役が入賞した場合には、特殊RTを経て通常遊技状態に移行するようにしても良い。
前記実施例では、全種類の転落役の当選確率が同一確率であるが、転落役の種類に応じて異なる当選確率としても良く、このようにすることで、通常遊技状態においては最も当選確率の高い種類の転落役の入賞手順で停止操作を行うことで、通常遊技状態でのメダルの払出率を上げることができ、RT(2)中においては当選確率の高い種類の転落役の回避手順にて停止操作を行うことで、RT(2)の終了を回避する確率を高めることができる。すなわち遊技者が技術介入を行うか否かによって遊技者にとっての有利度に差が生まれるため、興趣を高めることができる。
前記実施例では、転落役を構成する図柄を、引込範囲を超えて配置することにより、引込範囲外のタイミングでリールの停止操作を行うことにより転落役の入賞を回避できるようになっているが、例えば、複数の転落役に対して入賞を回避するための異なるリールの停止順を定めておき、いずれかの転落役が当選した際に、その転落役の種類に対応して定められた入賞を回避するためのリールの停止順で停止操作がなされた場合に、転落役を取りこぼすように制御し、該入賞を回避するためのリールの停止順とは異なる順番で停止操作がなされた場合に、転落役を入賞させるようにしても良く、このようにすることで比較的簡単な技術介入で転落役を入賞させないようにすることができる。尚、この場合には、転落役と同時に他の小役が当選するようにし、転落役を取りこぼした場合に同時に当選している他の小役が入賞することが好ましく、このようにすることで転落役を取りこぼした場合でも小役が入賞し、メダルを獲得することができる。
前記実施例では、転落役報知抽選に当選した場合に、その後のRT(2)で転落役が当選した際にその転落役の種類を識別可能な転落役種類報知が実行される転落役報知回数を、複数の異なる回数から選択する報知回数抽選が実行されるようになっており、報知回数抽選で当選した転落役報知回数によって、その後移行するRT(2)で転落役が当選した際に転落役種類報知が実行される回数が変化することで、RT(1)の継続ゲーム数を変動させるようにしているが、例えば、転落役種類報知が実行される確率を複数の異なる確率から選択し、選択した確率に基づいて転落役種類報知を実行することによってRT(2)の継続が期待できるゲーム数を変化させるようにしても良く、このようにした場合にもRT(2)に伴う興趣を一層高めることができる。
前記実施例では、RT(2)においていずれかの特別役が当選しており、かつ特別役の当選が報知されている状態において、赤チェリー、青チェリー、白チェリーのいずれかが当選した際に、転落役種類報知が実行され、これらの当選役を入賞させることができるようになっているが、RT(2)においていずれかの特別役が当選しており、かつ特別役の当選が報知されている状態において、いずれかのチェリーが入賞したときに、転落役当選報知のみを行い、その後いずれかのチェリーが入賞したときから転落役種類報知を実行するようにしても良く、このようにすることで、特別役の告知以後、必ずチェリーの当転落役種類報知が実行される訳ではなく、遊技者が選択した種類のチェリーと実際に当選したチェリーの種類が一致して初めて転落役種類報知が実行されることとなり、転落役種類報知の開始契機、すなわちより有利な状態に移行する契機に変化を持たせることができる。
前記実施例では、RT(2)中にいずれかの特別役に当選している旨を報知する場合には、表示画面の背景を選択する背景選択抽選を行い、表示画面の背景を背景選択抽選で選択された背景に変更するようになっているが、少なくとも演出態様を変更するものであれば同様の効果を得られるものであり、例えば、BGMや演出効果音、LED、ランプなどの点灯態様を変更するものであっても良い。
前記実施例では、当選した特別役の種類に応じた確率で演出態様を変更するようになっているが、当選した特別役の種類に応じた確率で、演出態様を変更するタイミング(ゲーム開始時、第1停止時、第2停止時、第3停止時、役の入賞時など)を選択するようにしても良く、このようにした場合でも、演出態様の変化するタイミングに応じて当選した特別役の種類を示唆することが可能となるので、興趣を一層効果的に高めることができる。
前記実施例では、ゲーム終了後から一定時間(30秒)が経過する前であっても、クレジットの精算操作がなされたとき、ゲーム終了後から一定時間(30秒)が経過する前に賭数が設定され、かつゲーム終了後から一定時間が経過する前であっても、賭数の精算操作がなされ、待機コマンドが送信されたときには、一定時間の経過を待たず、通常音量(MAX)にて出力中の遊技効果音を下げる制御(消音制御)が行われるようになっているが、例えば、後述のように遊技球を用いて遊技を行う場合においては、内部に遊技球を取り込むための取込装置に対して供給される遊技球が待機する上皿から、取込装置などから返却された遊技球などが排出される下皿に対して遊技球を返却させる操作、取込装置の内部に残っている遊技球を下皿に返却させる操作などがなされた場合に、ゲーム終了後から一定時間(30秒)が経過する前であっても、一定時間の経過を待たず、通常音量(MAX)にて出力中の遊技効果音を下げる制御(消音制御)を行うようにしても良く、このような構成とした場合にも、前回のゲームが終了してから一定時間(30秒)が経過する前であっても、遊技者の意思により連続遊技効果音の音量を下げることができるため、遊技を中断しても周囲の遊技者に迷惑をかけることがない。
前記実施例では、コネクタ規制部材500a、500bを基板ケース200に取り付けることによるコネクタの抜脱を規制する方法を、遊技制御基板40と操作部中継基板110とを接続するケーブル600a及び遊技制御基板40と演出中継基板80とを接続するケーブル600dと、遊技制御基板40とのコネクタ接続に適用しているが、その他のコネクタ接続に適用しても良い。
前記実施例では、コネクタ同士の接続の解除を規制する方法について説明しているが、例えば、投入メダルセンサ31やスタートスイッチ7などのゲームの進行上必要な信号の入出力を行う電子部品と、これら電子部品とケーブルとの接続箇所に対して、外部からアクセス不能に被覆する被覆部材を取り付けることが好ましく、このようにすることで、ゲームの進行上必要な信号の入出力を行う電子部品とケーブルとの接続箇所に対して打ち込み器具などの不正器具が取り付けられてしまうことを防止できる。また、これら電子部品とケーブルとの接続箇所を被覆する被覆部材を取り外した際に、その痕跡が残る構造(被覆部材の一部を破壊しなければ取り外せない構造など)とすることが好ましく、このようにすることで、不正器具が取り付けられた痕跡を残すことが可能となり、事後に不正行為があった可能性を把握できる。
前記実施例では、コネクタ規制部材500a、500bを基板ケース200と別体に構成し、基板ケース200を取付ベース250から取り外すことで、基板ケース200からコネクタ規制部材500a、500bを取り外し、コネクタの抜脱の規制を解除できるようになっているが、例えば、コネクタ規制部材500a、500bを一度基板ケース200に取り付けた場合には、基板ケース200またはコネクタ規制部材500a、500bの一部を破壊しなければ、コネクタ規制部材500a、500bを基板ケース200から取り外してコネクタの抜脱の規制を解除できないようにしても良い。
前記実施例では、コネクタ規制部材500a、500bを取付側部材510とコネクタカバー520とから構成し、取付側部材510を基板ケース200に対して取り付けた後、基板側コネクタにケーブル側コネクタを接続した状態で、コネクタカバー520を取付側部材510に装着することで、コネクタの抜脱が規制されるようになっているが、基板側コネクタにケーブル側コネクタを接続した状態で、最初から一体化されたコネクタ規制部材500a、500bを基板ケース200に取り付けることでコネクタの抜脱が規制されるようにしても良い。
前記実施例では、基板ケースに収容された基板の基板側コネクタとケーブル側コネクタの接続の解除を規制する方法として、コネクタ規制部材500a、500bを用いた例を説明したが、他の方法であっても良い。
以下にケーブル側コネクタの基板側コネクタに対する抜脱の規制方法の変形例について説明する。
[変形例1]
図59は、変形例1における基板ケース700、コネクタカバー710の構造を示す斜視図である。
図59に示すように、変形例1における基板ケース700は、遊技制御基板40を収容する下部ケース700aと下部ケース700aの上部を被覆する上部ケース700bとから構成されている。これら下部ケース700aと上部ケース700bとは、前述した実施例の基板ケース200と同様に、それぞれ対応する封止片(図示略)が設けられており、対応する封止片同士をワンウェイネジなどの固着部材によって固着することによって封止片を切断しなければ、開封して収容されている遊技制御基板40を取り出すことができないようになっている。
上部ケース700bにおいて、収容された遊技制御基板40の基板側コネクタ620aに対応する箇所には、基板側コネクタ620aを挿通させるための挿通孔701が形成されている。また、上部ケース700bの挿通孔701の両側近傍には、係止孔703が形成された係止片702、702がそれぞれ立設されている。
コネクタカバー710は、図中の下面及び後面が開口する箱状に形成されており、基板側コネクタ620a及び係止片702、702を下面及び後面の開口で被覆可能な長さを有する。
コネクタカバー710の図中前面には、基板側コネクタ620a及び係止片702、702を被覆した際に、係止片702、702にそれぞれ形成された係止孔703、703と対応する位置に係止孔711、711がそれぞれ形成されており、その周辺には、係止孔711、711よりも大径の凹溝712、712がそれぞれ形成されている。
また、コネクタカバー710の図中前面及び上面における係止孔711、711の中央よりの位置には、切り欠き713及び長孔714を形成することにより肉薄部715がそれぞれ形成されている。
次に図60〜図62に基づいて変形例1におけるケーブル側コネクタの基板側コネクタに対する抜脱の規制方法及びその解除方法について説明する。
図60に示すように、基板側コネクタ620aに対してケーブル側コネクタ610aを接続した状態で、コネクタカバー710により基板側コネクタ620aに接続されたケーブル側コネクタ610a及び係止片702、702を被覆する。これによりコネクタカバー710の係止孔711、711と係止片702の係止孔703、703とが連通した状態となり、これら連通した係止孔711及び係止孔703に係止ピン720を装着する。
係止ピン720は、凹溝712と略同径の頭部に、先端が内方に弾性変形可能な係止爪721が形成された部材であり、図60の拡大断面図に示すように、係止ピン720の係止爪721側を係止孔711及び係止孔703に挿入することで、係止爪721は、内側に弾性変形し、係止ピン720の頭部が凹溝712に埋まるまで挿入されることで係止爪721の弾性変形が解放され、係止爪721が係止片702に係合し、係止ピン720がコネクタカバー710及び係止片702に対して取り外し不能に装着され、これに伴いコネクタカバー710が係止片702を介して上部ケース700bから取り外し不能に固定される。
図60に示すように、コネクタカバー710により基板側コネクタ620aに接続されたケーブル側コネクタ610a及び係止片702、702を被覆し、係止ピン720を係止孔711及び係止孔703に装着することで、コネクタカバー710と上部ケース700bの表面とにより基板側コネクタ620aに接続されたケーブル側コネクタ610aが被覆され、基板側コネクタ620aに対するケーブル側コネクタ610aの抜き方向への移動が規制されるので、基板側コネクタ620aに対するケーブル側コネクタ610aの抜脱が規制されることとなる。また、コネクタカバー710は、係止ピン720の装着により係止片702を介して上部ケース700bから取り外し不能に固定されるので、コネクタカバー710または上部ケース700bの係止片702を破壊しなければ基板側コネクタ620aとケーブル側コネクタ610aとの接続を解除できない状態となる。
また、図61に示すように、コネクタカバー710に形成された肉薄部715をニッパーNなどの工具で切断することで、図62に示すように、コネクタカバー710のうち基板側コネクタ620aに接続されたケーブル側コネクタ610aの被覆部分が、係止片702、702と繋がった部分710’、710’から分離され、その被覆が解除されて基板側コネクタ620aとケーブル側コネクタ610aとの接続を解除することが可能となる。尚、この場合でもコネクタカバー710のうち係止片702、702と繋がった部分710’、710’が上部ケース700bに固定された状態で残るので、基板側コネクタ620aとケーブル側コネクタ610aとの接続が解除された痕跡を残すことができる。
尚、変形例1の方法では、係止片702、702が上部ケース700bに立設されているが、前記実施例のように基板ケースに取り付けられる取付側部材を備え、取付側部材に形成された基板側コネクタ620aを挿通させるための挿通孔の両側近傍に係止片を立設し、取付側部材の係止片に対してコネクタカバー710を固定することで、コネクタ規制部材を構成するようにしても良く、このようにすることで、基板を基板ケースごと交換する場合でも、基板ケースを破壊して開封したり、取付側部材またはコネクタカバー710を破壊して分離せずとも、基板側コネクタ620aとケーブル側コネクタ610aの接続を解除することができる。
[変形例2]
図63は、変形例2における基板ケース730、コネクタカバー740の構造を示す斜視図である。
図63に示すように、変形例2における基板ケース730は、遊技制御基板40を収容する下部ケース730aと下部ケース730aの上部を被覆する上部ケース730bとから構成されている。これら下部ケース730aと上部ケース730bとは、前述した実施例の基板ケース200と同様に、それぞれ対応する封止片(図示略)が設けられており、対応する封止片同士をワンウェイネジなどの固着部材によって固着することによって封止片を切断しなければ、開封して収容されている遊技制御基板40を取り出すことができないようになっている。
上部ケース730bにおいて、収容された遊技制御基板40の基板側コネクタ620aに対応する箇所には、基板側コネクタ620aを挿通させるための挿通孔731が形成されている。また、上部ケース730bの挿通孔731の両側近傍には、先端が内方に弾性変形可能な係止爪736、736がそれぞれ形成された係止ピン735、735が立設されている。
またコネクタカバー740は、図中の下面及び後面が開口するように形成されており、基板側コネクタ620aを被覆可能で、かつ係止ピン735、735の離間幅より長い長さを有している。またコネクタカバー740の両端部の下面の一部には、取付面746、746が形成されており、この取付面746、746には基板側コネクタ620aを被覆した際に、係止ピン735、735と対応する位置に長孔747、747がそれぞれ形成されている。またそれぞれの長孔747は、係止ピン735の係止爪736、736に対して垂直方向に長径に形成されており、長孔747の短径部分の幅が、係止爪736、736の先端同士の距離よりも狭幅に形成されている。
またコネクタカバー740の図中前面及び上面における長孔747、747の中央よりの位置には、切欠743及び長孔744を形成することにより肉薄部745がそれぞれ形成されている。
次に図63〜図66に基づいて変形例2におけるケーブル側コネクタの基板側コネクタに対する抜脱の規制方法及びその解除方法について説明する。
図63の拡大断面図に示すように、基板側コネクタ620aに対してケーブル側コネクタ610aを接続した状態で、上部ケース730bの係止ピン735、735にコネクタカバー740の両取付面746、746に形成された長孔747、747を挿入させる。係止ピン735、735が長孔747、747に挿入されることで、係止爪736、736は内方に弾性変形し、コネクタカバー740の取付面746と上部ケース730bの上面が当接するまで係止ピン735、735が挿入されることで、係止爪736、736の弾性変形が解放され、係止爪736、736が取付面746に係合し、係止ピン735、735がコネクタカバー740に対して取り外し不能に装着され、これに伴いコネクタカバー740が係止ピン735、735を介して上部ケース730bから取外し不能に固定される。
図64に示すように、コネクタカバー740により基板側コネクタ620aに接続されたケーブル側コネクタ610aを被覆し、係止ピン735、735を長孔747に装着することで、コネクタカバー740と上部ケース730bの表面とにより基板側コネクタ620aに接続されたケーブル側コネクタ610aが被覆され、基板側コネクタ620aに対するケーブル側コネクタ610aの抜き方向への移動が規制されるので、基板側コネクタ620aに対するケーブル側コネクタ610aの抜脱が規制されることとなる。また、コネクタカバー740は、係止ピン735、735が長孔747、747に係止されることにより上部ケース730bから係止ピン735、735を介してコネクタカバー740が取り外し不能に固定されるので、コネクタカバー740または上部ケース730bの係止ピン735、735を破壊しなければ基板側コネクタ620aとケーブル側コネクタ610aとの接続を解除できない状態となる。
また、図64に示すように、コネクタカバー740に形成された肉薄部745をニッパーNなどの工具で切断することで、図65に示すように、コネクタカバー740のうち基板側コネクタ620aに接続されたケーブル側コネクタ610aの被覆部分が、係止ピン735、735と繋がった部分740’、740’から分離され、その被覆が解除されて基板側コネクタ620aとケーブル側コネクタ610aとの接続を解除することが可能となる。
コネクタカバー740の繋がったままの部分740’の取り外しは、図66に示すように、長孔747の長手方向(図66紙面上下方向)に揃うように、コネクタカバー740の繋がったままの部分740’を図中黒塗矢印方向aに回転させる。これにより係止ピン735とコネクタカバー740の繋がったままの部分740’の係合が解除される。そして、図中黒塗矢印方向bにコネクタカバー740の繋がったままの部分740’を引き抜くことで、コネクタカバー740の繋がったままの部分740’、740’を上部ケース730bから取り外すことができる。尚、この場合でもコネクタカバー740は破壊され、元に戻すことはできないので、基板側コネクタ620aとケーブル側コネクタ610aとの接続が解除されたことの痕跡が残ることとなる。
尚、変形例2の方法では、係止ピン735、735が上部ケース730bに立設されているが、前記実施例のように基板ケースに取り付けられる取付側部材を備え、取付側部材に形成された基板側コネクタ620aを挿通させるための挿通孔の両側近傍に係止ピン735、735を立設し、取付側部材の係止ピン735、735に対してコネクタカバー740を固定することで、コネクタ規制部材を構成するようにしても良く、このようにすることで、基板を基板ケースごと交換する場合でも、基板ケースを破壊して開封したり、取付側部材またはコネクタカバー740を破壊して分離せずとも、基板側コネクタ620aとケーブル側コネクタ610aの接続を解除することができる。
[変形例3]
図67は、変形例3における基板ケース750、コネクタカバー760の構造を示す斜視図である。
図67に示すように、変形例3における基板ケース750は、遊技制御基板40を収容する下部ケース750aと下部ケース750aの上部を被覆する上部ケース750bとから構成されている。これら下部ケース750aと上部ケース750bとは、前述した実施例の基板ケース200と同様に、それぞれ対応する封止片(図示略)が設けられており、対応する封止片同士をワンウェイネジなどの固着部材によって固着することによって封止片を切断しなければ、開封して収容されている遊技制御基板40を取り出すことができないようになっている。
上部ケース750bにおいて、収容された遊技制御基板40の基板側コネクタ620aに対応する箇所には、基板側コネクタ620aを挿通させるための挿通孔751が形成されている。また、上部ケース750bの挿通孔751の後方に位置する側面には、取付孔754、754が形成されている。また、下部ケース750aにおける上部ケース750bの挿通孔751近傍には、係止孔753が形成された係止片752が突設されている。
コネクタカバー760は、図中の下面から後面にかけて開口するように形成されており、基板側コネクタ620aを被覆可能な長さを有している。コネクタカバー760の図中後面には、基板側コネクタ620aを被覆した際に、取付孔754、754に対応する位置に、先端に係止爪を有する取付片764、764が後方に向かって突設されている。また、コネクタカバー760の図中前面には、基板側コネクタ620aを被覆した際に、係止片752に対応する位置に、係止孔763を有する係止片762が形成されている。
次に図68に基づいて変形例3におけるケーブル側コネクタの基板側コネクタに対する抜脱の規制方法及びその解除方法について説明する。
図68(a)に示すように、基板側コネクタ620aに対してケーブル側コネクタ610aを接続した状態で、コネクタカバー760により基板側コネクタ620aに接続されたケーブル側コネクタ610aを被覆する。そして上部ケース750bの取付孔754、754にコネクタカバー760の対応する取付片764、764を挿入すると、取付片764、764の係止爪が取付孔754、754に係合し、コネクタカバー760が上部ケース750bから取り外し不能な状態となる。このようにコネクタカバー760を上部ケース750bに取り付けると、コネクタカバー760の係止片762の係止孔763と下部ケース750aの係止片752の係止孔753とが連通した状態となり、これら連通した係止孔763及び係止孔753に結束バンド769を装着する。
結束バンド769は、図68に示すように、ID管理ができるID番号等が付与されたラベル部768と、係合孔766aが形成された係合部766と、一部に所定ピッチ毎に形成された係止突起767aを有するバンド部767と、から一体的に形成されており、係合孔766aには、係合孔766aにバンド部767が挿通された際に、係止突起767aを係止させるべく図示されない係合爪が形成されている。これにより、一度係合孔766aにバンド部767が挿通されると、係合孔766aに挿通する方向に対して逆方向に向かうバンド部767の抜脱が規制されるようになっている。
結束バンド769のバンド部767を係合孔766aに挿通させると、バンド部767の係止突起767aと係合孔766aの係合爪との係合により、バンド部767が係合孔766aからの抜脱が規制されるため、係止片762と係止片752とが固定される。そして、取付片764、764と取付孔754、754との係合、結束バンド769による係止片762と係止片752との結合により、コネクタカバー760の上下左右の移動が規制され、コネクタカバー760が基板ケースに750に対して取り外し不能に取り付けられた状態となる。
図68(b)に示すように、コネクタカバー760が基板ケース750に取り付けられた状態では、コネクタカバー760により基板側コネクタ620aに接続されたケーブル側コネクタ610aが被覆され、基板側コネクタ620aに対するケーブル側コネクタ610aの抜き方向への移動が規制されるので、基板側コネクタ620aに対するケーブル側コネクタ610aの抜脱が規制されることとなる。また、取付片764、764は取付孔754、754と係合し、係止片762と係止片752は結束バンド769により取り外し不能に固定されているため、結束バンド769を切断しなければ基板側コネクタ620aとケーブル側コネクタ610aとの接続を解除できない状態となる。
基板側コネクタ620aとケーブル側コネクタ610aとの接続の解除については、例えば、結束バンド769をニッパーなどの工具で切断することで、係止片762と係止片752との固定が解除され、コネクタカバー760を上に向かって開放可能となり、ケーブル側コネクタ610aの抜き方向への移動が可能となるため、基板側コネクタ620aとケーブル側コネクタ610aとの接続を解除することが可能となる。尚、結束バンド769を切断して、新しい結束バンドに交換しても、結束バンド769のラベル部768にID番号等が付与されているため、基板側コネクタ620aとケーブル側コネクタ610aとの接続が解除された痕跡を残すことができる。
尚、変形例3の方法では、係止片752が下部ケース730aに突設されているが、前記実施例のように基板ケースに取り付けられる取付側部材を備え、取付側部材に取付孔及び係止孔を有する係止片を設け、取付側部材の係止片に対してコネクタカバー760を固定することで、コネクタ規制部材を構成するようにしても良く、このようにすることで、基板を基板ケースごと交換する場合でも、基板ケースを破壊して開封したり、結束バンド769したりせずに、基板側コネクタ620aとケーブル側コネクタ610aの接続を解除することができる。
[変形例4]
図69は、変形例4における基板ケース770、コネクタカバー780の構造を示す斜視図である。
図69に示すように、変形例4における基板ケース770は、遊技制御基板40を収容する下部ケース770aと下部ケース770aの上部を被覆する上部ケース770bとから構成されている。これら下部ケース770aと上部ケース770bとは、前述した実施例の基板ケース200と同様に、それぞれ対応する封止片(図示略)が設けられており、対応する封止片同士をワンウェイネジなどの固着部材によって固着することによって封止片を切断しなければ、開封して収容されている遊技制御基板40を取り出すことができないようになっている。
上部ケース770bにおいて、収容された遊技制御基板40の基板側コネクタ620aに対応する箇所には、基板側コネクタ620aを挿通させるための挿通孔771が形成されている。また、挿通孔771近傍の下部ケース770aの前面には、係止孔773、773が形成された係止片772、772が突設されている。
コネクタカバー780は、図中の下面及び後面が開口するように形成されており、基板側コネクタ620aを被覆可能な長さを有している。
コネクタカバー780の図中前面には、基板側コネクタ620aを被覆した際に、係止片772、772に対応する位置に係止片782、782がそれぞれ突設されている。係止片782、782には、係止片772、772に形成された係止孔773、773と対応する位置に係止孔783、783が形成されている。係止孔783の上部には、ネジ頭を収容可能な段部が形成されている。
次に図70〜図72に基づいて変形例4におけるケーブル側コネクタの基板側コネクタに対する抜脱の規制方法及びその解除方法について説明する。
図70に示すように、基板側コネクタ620aに対してケーブル側コネクタ610aを接続した状態で、コネクタカバー780により基板側コネクタ620aに接続されたケーブル側コネクタ610aを被覆する。そして、コネクタカバー780の係止片782、782の係止孔783、783と係止片772、772の係止孔773、773とが連通した状態で、これら連通したいずれかの係止孔783及び対応する係止孔773、773にワンウェイネジPを、図71に示すように、その頭が段部に収容されるまで螺入する。
これにより、コネクタカバー780の係止片782と下部ケース770aの係止片772とが固着され、コネクタカバー780が基板ケース770に対して取り外し不能に固定されることとなる。この状態では、コネクタカバー780と上部ケース770bの表面とにより基板側コネクタ620aに接続されたケーブル側コネクタ610aが被覆され、基板側コネクタ620aに対するケーブル側コネクタ610aの抜き方向への移動が規制されるので、基板側コネクタ620aに対するケーブル側コネクタ610aの抜脱が規制されることとなる。また、コネクタカバー780は、ワンウェイネジPの螺着により基板ケース770から取り外し不能に固定されるので、コネクタカバー780または下部ケース770aの係止片772を破壊しなければ基板側コネクタ620aとケーブル側コネクタ610aとの接続を解除できない状態となる。
また、図72に示すように、コネクタカバー780に形成された係止片782、782のうち係止片772と固着された係止片782をニッパーNなどの工具で破断することで、コネクタカバー780を基板ケース770から取り外すことが可能となり、コネクタカバー780を基板ケース770から取り外すことで、ケーブル側コネクタ610aの抜き方向の移動が可能となり、基板側コネクタ620aとケーブル側コネクタ610aとの接続を解除することが可能となる。尚、この場合でもコネクタカバー780の本体から破断された係止片782が係止片772に固着された状態で残るので、基板側コネクタ620aとケーブル側コネクタ610aとの接続が解除された痕跡を残すことができる。
また、コネクタカバー780には、複数の係止片782が形成されているとともに、下部ケース770aにも対応して複数の係止片772が形成されており、複数の係止片782のいずれか1つと対応する係止片772を固着するのみで、コネクタカバー780を基板ケース770に対して取り外し不能に固定し、基板側コネクタ620aとケーブル側コネクタ610aとの接続の解除が規制されるので、係止片782を破断し、コネクタカバー780を取り外して、基板側コネクタ620aとケーブル側コネクタ610aとの接続を解除しても、未使用の係止片782が残っていれば、未使用の係止片782と対応する係止片772とを固着することにより、取り外したコネクタカバー780を再度基板ケース770に対して取り外し不能に固定し、基板側コネクタ620aとケーブル側コネクタ610aとの接続の解除を規制することができる。すなわち未使用の係止片782が残っているうちは、コネクタカバー780を繰り返し使用できるうえに、取り外した痕跡を残したまま再利用することが可能となる。
尚、変形例4の方法では、係止片772、772が下部ケース770aに突設されているが、前記実施例のように基板ケースに取り付けられる取付側部材を備え、取付側部材に係止孔を有する係止片を設け、取付側部材の係止片とコネクタカバー780の係止片782とを固着することで、コネクタ規制部材を構成するようにしても良く、このようにすることで、基板を基板ケースごと交換する場合でも、基板ケースを破壊して開封したり、取付側部材またはコネクタカバー780を破壊して分離せずとも、基板側コネクタ620aとケーブル側コネクタ610aの接続を解除することができる。
前記実施例では、基板ケース200を構成する下部ケース201及び上部ケース203の封止や、基板ケース200の取付ベース250に対する固着をワンウェイネジを用いて行っているが、一度取り付けると取り外し不可となる係止ピンを用いるなど、他の部材を用いて行っても良い。
前記実施例では、メダル並びにクレジットを用いて賭数を設定するスロットマシンを用いているが、本発明はこれに限定されるものではなく、遊技球を用いて賭数を設定するスロットマシンや、クレジットのみを使用して賭数を設定する完全クレジット式のスロットマシンであっても良い。
さらに、流路切替ソレノイド30や投入メダルセンサ31など、メダルの投入機構に加えて、遊技球の取込を行う球取込装置、球取込装置により取り込まれた遊技球を検出する取込球検出スイッチを設けるとともに、ホッパーモータ34bや払出センサ34cなど、メダルの払出機構に加えて、遊技球の払出を行う球払出装置、球払出装置により払い出された遊技球を検出する払出球検出スイッチを設け、メダル及び遊技球の双方を用いて賭数を設定してゲームを行うことが可能であり、かつ入賞の発生によってメダル及び遊技球が払い出されるスロットマシンに適用しても良い。
本発明が適用されたスロットマシンの実施例2について説明する。尚、本実施例のスロットマシンの構成は、前述した実施例1と同一の構成を含むため、ここでは異なる点について主に説明する。
前述した実施例1では、遊技状態が通常遊技状態、RT(1)、RT(2)、レギュラーボーナスであったのに対して本実施例では、遊技状態が初期遊技状態、RT(3)、RT(4)、RT(5)、レギュラーボーナスからなる。
初期遊技状態は、レギュラーボーナス中、後述するRT(3)、RT(4)及びRT(5)以外の遊技状態であり、いずれかのビッグボーナスの終了後、設定変更後、RT(3)の終了後、RT(4)の終了後、RT(5)の終了後に移行する。レギュラーボーナスは前述した実施例1と同じである。
本実施例では、初期遊技状態(いずれかの特別役が当選している状態を除く)においてリプレイ(1)またはベルが入賞したときに、特別役(特別役が持ち越されていない場合のみ)及び小役の抽選確率は初期遊技状態と同一であるが、リプレイ(2)の抽選確率が初期遊技状態よりも高確率となり、かつ1ゲームあたりのメダルの払出率が1未満となるリプレイタイム(3)(RT(3))に制御する。遊技状態がRT(3)にある間は、RT(3)中フラグがRAM41cに設定される。そして、RT(3)は、いずれの特別役も当選せずに規定ゲーム数(本実施例では、リプレイ(1)入賞によって移行したRT(3)であれば200ゲーム、ベル入賞によって移行したRT(3)であれば100ゲーム)に到達するか、規定ゲーム数に到達する前にいずれかの特別役に当選することで終了するようになっている。
また、初期遊技状態(いずれかの特別役が当選している状態を除く)において赤チェリー、青チェリー、白チェリーのいずれかが入賞したときに、特別役(特別役が持ち越されていない場合のみ)及び小役の抽選確率は初期遊技状態と同一であるが、リプレイ(1)の抽選確率が初期遊技状態よりも高確率となり、かつ1ゲームあたりのメダルの払出率が1を超えるリプレイタイム(4)(RT(4))に制御する。遊技状態がRT(4)にある間は、RT(4)中フラグがRAM41cに設定される。そして、RT(4)は、いずれの特別役も入賞せずに規定ゲーム数(本実施例では100ゲーム)に到達するか、規定ゲーム数に到達する前にいずれかの特別役に入賞することで終了するようになっている。
尚、RT(4)は、初期遊技状態からのみ移行させることが可能であり、RT(3)中において赤チェリー、青チェリー、白チェリーのいずれかが入賞してもRT(4)に移行することはなく、一度RT(3)に制御されると、RT(3)が終了し、その後初期遊技状態において赤チェリー、青チェリー、白チェリーのいずれかが入賞するまでは、RT(4)に移行することがない。
また、初期遊技状態(いずれかの特別役が当選している状態を除く)、RT(3)、RT(4)(いずれかの特別役が当選している状態を除く)においてリプレイ(2)が入賞したときに、特別役(特別役が持ち越されていない場合のみ)及び小役の抽選確率は初期遊技状態と同一であるが、リプレイ(1)の抽選確率が初期遊技状態よりも高確率となり、かつ1ゲームあたりのメダルの払出率が1を超えるリプレイタイム(5)(RT(5))に制御する。遊技状態がRT(5)にある間は、RT(5)中フラグがRAM41cに設定される。そして、RT(5)は、いずれかの特別役が当選するまで継続し、いずれかの特別役に当選することで終了するようになっている。
本実施例において初期遊技状態、RT(3)においては、メダルの払出率は1未満であるため、メダルは減少することとなり、RT(4)、RT(5)においては、メダルの払出率は1を超えるため、メダルは増加することとなる。また、これら各遊技状態におけるメダルの払出率の大小関係は、RT(4)>RT(5)>RT(3)>初期遊技状態となっている。
このように本実施例では、初期遊技状態(いずれかの特別役が当選している状態を除く)、すなわちビッグボーナス終了後、設定変更後、RT(3)の終了後またはRT(4)の終了後の遊技状態においては、メダルの増加が期待できないRT(3)、メダルの増加が期待できるRT(4)の双方に移行する可能性がある。このため、初期遊技状態からRT(4)へ一度移行すると、RT(4)が終了しても再びRT(4)へ移行する機会が提供されることとなり、RT(4)に周期的に制御することが可能となる。一方、初期遊技状態からRT(3)へ移行すると、当該RT(3)が終了するまでRT(4)へ移行することがないが、RT(3)が終了すると再び初期遊技状態となるため、このような場合でも周期的にRT(4)へ移行する機会が訪れることとなる。すなわち初期遊技状態は、メダルの増加が期待できるRT(4)へ移行する可能性のあるチャンスゾーンとして機能し、このようなチャンスゾーンがRT(3)へ移行した場合でもRT(4)へ移行した場合でも周期的に訪れることとなる。
また、初期遊技状態において赤チェリー、青チェリー、白チェリーのいずれかが入賞するとメダルの増加が期待できるRT(4)へ移行することとなるが、本実施例の赤チェリー、青チェリー、白チェリーを構成する左リールの「赤チェリー」図柄、「青チェリー」図柄及び「白チェリー」図柄を同時に狙って停止操作を行うことができないので、初期遊技状態において赤チェリー、青チェリー、白チェリーのいずれかが当選した場合に、その種類が分からなければ確実に当選したチェリーを入賞させることは不可能であり、1/3の確率で当選したチェリーを入賞させてRT(4)へ移行させることはできるが、2/3の確率で当選したチェリーを取りこぼすので、この場合にはRT(4)へ移行させることができない。
以上説明したように、本実施例のスロットマシン1では、メダルの増加が期待できるRT(4)が開始した後、規定ゲーム数に到達する前にいずれかの特別役が当選した場合には、RT(4)を終了させず、いずれかの特別役が入賞したとき、またはいずれの特別役も入賞せずに規定ゲーム数に到達したときにRT(4)を終了させるようになっており、RT(4)の開始後、規定ゲーム数に到達する前にいずれかの特別役が当選しても、その当選した特別役が入賞しなければ、特別役の当選をもってRT(4)が終了することがなく、当選した特別役を入賞させなければ、規定ゲーム数に到達するまでRT(4)に継続して制御することが可能となるため、RT(4)において特別役が当選してもその当選した特別役を入賞させなければ、規定ゲーム数に到達するまでRT(4)を消化することが可能となり、遊技者に対して損失感を与えてしまうことがない。
また、特別役の当選フラグは、該特別役が入賞するまで次ゲーム以降に持ち越されるため、RT(4)が規定ゲーム数に到達することによって終了した後に、その間に当選した特別役を入賞させることが可能となるので、RT(4)の終了時に特別役の当選に対する遊技者の期待感を高めることができる。
また、初期遊技状態においては、赤チェリー、青チェリー、白チェリーのいずれかが入賞することでメダルの増加が期待できる遊技者にとって有利なRT(4)へ移行する可能性がある一方、リプレイ(1)、ベルのいずれかが入賞することでメダルの増加が期待できないうえに、RT(4)へ移行することのない遊技者にとって不利なRT(3)へ移行する可能性がある。そして、初期遊技状態においてリプレイ(1)、ベルが入賞すると遊技者にとって不利なRT(3)へ移行するが、RT(3)が終了することで再度初期遊技状態に移行することとなる。このため、初期遊技状態においてRT(4)へ移行することなくRT(3)へ移行した場合でも、その後再び初期遊技状態に移行するので、周期的にRT(4)へ移行する可能性のある初期遊技状態が訪れることとなり、RT(4)への遊技者の期待感を持続させることができる。
また、初期遊技状態において、赤チェリー、青チェリー、白チェリーのいずれかが当選した際に、当選したチェリーの入賞条件と一致する操作手順、すなわち赤チェリー、青チェリー、白チェリーの組合せの引込範囲内のタイミングにて遊技者が停止操作を行うこと、すなわち遊技者の技術介入によってRT(4)に移行させることができるので、初期遊技状態での興趣を高めることができる。この際、チェリーの種類によって入賞条件となる操作手順が変化するうえに、全ての種類のチェリーに共通の入賞手順が存在しないため、遊技者がどの種類のチェリーが当選したのかを推察し、それが当たるか否かによってRT(4)に移行するか否かが決定されることとなり、初期遊技状態での興趣を一層高めることができる。
また、初期遊技状態においてリプレイ(1)またはベルが入賞し、メダルの増加が期待できないRT(3)へ移行した場合でも、RT(3)においては、メダルの増加が期待でき、かついずれかの特別役が当選するまで継続するRT(5)へ移行することとなるリプレイ(2)の当選確率が、初期遊技状態やRT(4)よりも高まるため、メダルの増加が期待できないRT(3)へ移行した場合でも、RT(5)へ移行することに対する遊技者の期待感を高めることができる。
以上、本発明の実施例2を説明してきたが、本発明はこの実施例2に限定されるものではなく、本発明の主旨を逸脱しない範囲における変更や追加があっても本発明に含まれることは言うまでもない。また、実施例1と同一もしくは類似する構成については、実施例1で説明したものと同様の効果を有するものである。また、実施例1について例示した変形例についても実施例2に適用可能である。
前記実施例2では、RT(3)においてリプレイ(2)の抽選確率が高まるようになっているが、少なくともリプレイ(1)とリプレイ(2)の合成確率が高まるものであれば良く、リプレイ(1)の抽選確率が高まるようにしたり、リプレイ(1)、リプレイ(2)の双方の抽選確率が高まるようにしても良い。さらには、一方の種類のリプレイは抽選確率が下がるが、他方の種類のリプレイの抽選確率が高まることによって、結果的にリプレイ(1)とリプレイ(2)の合成確率が高まるものであっても良い。
前記実施例2では、RT(4)においてリプレイ(1)の抽選確率が高まるようになっているが、少なくともリプレイ(1)とリプレイ(2)の合成確率が高まるものであれば良く、リプレイ(2)の抽選確率が高まるようにしたり、リプレイ(1)、リプレイ(2)の双方の抽選確率が高まるようにしても良い。さらには、一方の種類のリプレイは抽選確率が下がるが、他方の種類のリプレイの抽選確率が高まることによって、結果的にリプレイ(1)とリプレイ(2)の合成確率が高まるものであっても良い。
前記実施例2では、初期遊技状態(いずれかの特別役が当選している状態を除く)、RT(3)、RT(4)(いずれかの特別役が当選している状態を除く)においてリプレイ(2)が入賞したときに、RT(5)に制御するようになっているが、いずれか特定の遊技状態(例えば初期遊技状態)においてのみ、リプレイ(2)が入賞したときにRT(5)に制御するようにしても良く、このようにすることで特定の遊技状態に制御されることにより、RT(5)に移行することへの遊技者の期待感を効果的に高めることができる。
本発明が適用されたスロットマシンの実施例3について説明する。尚、本実施例のスロットマシンの構成は、前述した実施例1と同一の構成を含むため、ここでは異なる点について主に説明する。
前述した実施例1では、遊技状態が通常遊技状態、RT(1)、RT(2)、レギュラーボーナスであったのに対して本実施例では、遊技状態が通常遊技状態、RT、レギュラーボーナスからなる。
前述した実施例1では、赤チェリー、青チェリー、白チェリーの入賞時の払出枚数が1枚(3本の入賞ラインに揃うため3枚)であったのに対して本実施例では、赤チェリー、青チェリー、白チェリーの入賞時の払出枚数を15枚としている。
本実施例では、通常遊技状態においていずれかの特別役が当選したときに、小役の抽選確率は通常遊技状態と同一であるが、リプレイ(1)及びリプレイ(2)の合成確率が通常遊技状態よりも高確率となるリプレイタイム(RT)に制御する。遊技状態がRTにある間は、RT中フラグがRAM41cに設定される。そして、RTは、当選した特別役が入賞したときに終了する。
RTにおける1ゲームあたりのメダルの払出率は、抽選確率に基づけば1を超えるが、赤チェリー、青チェリー、白チェリーは、これらの役を構成する図柄を同時に狙うことができず、実質的な出現率は1/3となり、これを考慮するとRTにおける実質的な1ゲーム当たりのメダルの払出率は1未満となり、メダルは減少することとなる。
本実施例のサブ制御部91のCPU91aは、いずれかの特別役が当選した際に、チェリーの種類を報知するチェリー種類報知が実行されるアシストタイムに制御するか否かを決定するAT抽選を行う。
CPU91aは、AT抽選に当選すると、終了条件が成立するまで、アシストタイムに制御し、その間に赤チェリー、青チェリー、白チェリーのいずれかが当選した際に、その種類を報知するチェリー種類報知を実行する。そして、アシストタイムが終了した際に、当選した特別役の種類を報知する。
チェリー種類報知は、実施例1の転落役種類報知と同様に、赤チェリーが当選した旨、青チェリーが当選した旨、白チェリーが当選した旨を、その当選を示唆する色(赤チェリーが当選した旨を示す場合には赤、青チェリーが当選した旨を示す場合には青、白チェリーが当選した旨を示す場合には白)を報知することにより、当選したチェリーの種類を報知するものであるが、当選したチェリーの種類を遊技者が認識可能なものであれば良く、当選したチェリーの種類そのもの、或いは図柄組合せ、チェリーの種類によって異なる図柄、これらチェリーの種類を示唆する画像などを液晶表示器51に表示することで報知するものや、対応するLEDの点灯、対応する音声の出力などによって報知するものであっても良い。更には、チェリーの種類に応じて異なる図柄の指標となる図柄(チェリーの構成図柄の近くに位置し、チェリーの構成図柄よりも目立つ図柄など)、当該指標図柄を示唆する画像などを報知するようにしても良い。
アシストタイムの終了条件は、種々に選択可能であり、例えば、当選した特別役の入賞、ゲーム数やチェリー種類報知の実行回数、チェリーが入賞した回数が規定数に到達すること、特定の役の当選または入賞、特定の役の当選回数または入賞回数が規定数に到達すること、終了抽選に当選することなどが該当する。また、アシストタイム中に終了条件を変更するようにしても良い。
本実施例では、前述のように赤チェリー、青チェリー、白チェリーを構成する左リールの「赤チェリー」図柄、「青チェリー」図柄及び「白チェリー」図柄を意図的に入賞ライン上に停止させることができないので、赤チェリー、青チェリー、白チェリーが当選しても、これら赤チェリー、青チェリー、白チェリーを意図的に入賞させることは不可能であり、これらの役に当選した場合には、1/3の確率で入賞させることができるが、2/3の確率で取りこぼしてしまう。
これに対してアシストタイムにおいては、赤チェリー、青チェリー、白チェリーのいずれかが当選した際に、チェリー種類報知が実行されることで、遊技者は報知された色によって、赤チェリー、青チェリー、白チェリーのうち、どの種類のチェリーが当選したかを認識することが可能となり、赤チェリー、青チェリー、白チェリーを構成する左リールの「赤チェリー」図柄、「青チェリー」図柄及び「白チェリー」図柄が入賞ライン上に停止する停止操作位置を特定することが可能となり、当選したチェリーを全て入賞させることが可能となる。
本実施例では、前述のようにRTにおける実質的な1ゲーム当たりのメダルの払出率は1未満であり、メダルが減少することとなるが、アシストタイムに制御されることによって当選した赤チェリー、青チェリー、白チェリーを全て入賞させることが可能となるため、この場合の1ゲームあたりのメダルの払出率は1を超えることとなる。
このため、いずれかの特別役が当選し、RTに制御された際に、アシストタイムに制御されている間は、メダルが増加することとなるため、当選した特別役を入賞させずに、RTを継続させた方がより多くのメダルを獲得することが可能となる。一方、アシストタイムの終了後は、メダルが減少するうえに、特別役の抽選も行われることはないため、当選した特別役を入賞させてRTを終了させた方が遊技者にとっては有利となる。
以上説明したように、本実施例のスロットマシン1では、いずれかの特別役が当選したときに、再遊技役の当選確率が高まるRTに制御されるため、当選した特別役が入賞するまでの間において消費するメダルの量を抑えることができる。
また、本実施例では、RT中にアシストタイムに制御されることによって、いずれかのチェリーに当選した際に、その種類を報知するチェリー種類報知が実行され、当選したチェリーを入賞させることが可能となり、メダルを増加させることができるので、特別役の当選に対する期待感を一層高めることができる。また、アシストタイムが終了してもその後必ず特別役を入賞させることができるので、より多くのメダルの獲得を期待できる。
また、RT中にアシストタイムに制御されなければ、メダルは減少することとなるので、特別役の当選後、特別役を入賞させずにRTを長引かせても遊技者にとって有利とはならないので、アシストタイムの終了後は、速やかに特別役を入賞させることを遊技者に促すことができる。
以上、本発明の実施例3を説明してきたが、本発明はこの実施例3に限定されるものではなく、本発明の主旨を逸脱しない範囲における変更や追加があっても本発明に含まれることは言うまでもない。また、実施例1または実施例2と同一もしくは類似する構成については、実施例1または実施例2で説明したものと同様の効果を有するものである。また、実施例1または実施例2について例示した変形例についても実施例3に適用可能である。
1 スロットマシン
2L、2C、2R リール
32L、32C、32R リールモータ
34 ホッパーユニット
35 オーバーフロータンク
35a 満タンセンサ
41 メイン制御部
41a CPU
41b ROM
41c RAM
91 サブ制御部
91a CPU
91b ROM
91c RAM

Claims (1)

  1. 各々が識別可能な複数種類の識別情報を周期的に変動表示可能な可変表示部を備え、
    前記可変表示部を変動表示した後、前記可変表示部の変動表示を停止することで表示結果を導出し、該表示結果に応じて入賞が発生可能なスロットマシンにおいて、
    永久磁石が組み込まれたロータを囲むように配置された複数の励磁相に対して予め定められた順番で励磁することにより前記可変表示部を変動表示させるステッピングモータと、
    前記ステッピングモータの前記複数の励磁相に対して予め定められた順番で励磁することにより前記可変表示部を変動表示させる変動制御を行う変動制御手段と、
    前記励磁相に関するデータであって、複数の励磁相に対する励磁の有無を特定可能な励磁相データを含む遊技の制御を行うためのデータを読み出し及び書き込み可能に記憶する記憶領域を有するデータ記憶手段と、
    設定操作手段の操作に基づいて、遊技者にとっての有利度が異なる複数種類の設定値のうちから、いずれかの設定値を選択して設定する設定値設定手段と、
    前記設定操作手段の操作に基づいて、前記設定値設定手段により新たな設定値が設定されるときに前記データ記憶手段に記憶されているデータを初期化する設定時初期化手段と、
    を備え、
    前記変動制御手段は、前記データ記憶手段に記憶されている前記励磁相データに基づいて前記変動制御を行い、
    前記設定時初期化手段が初期化するデータには、前記励磁相データは含まれず、
    前記設定値設定手段により新たな設定値が設定されて前記データ記憶手段の初期化が行われた場合にも前記励磁相データは維持され、前記設定値設定手段により新たな設定値が設定される前と同じ前記励磁相データに基づいて前記変動制御が行われる、スロットマシン。
JP2015235091A 2015-12-01 2015-12-01 スロットマシン Active JP6232035B2 (ja)

Priority Applications (1)

Application Number Priority Date Filing Date Title
JP2015235091A JP6232035B2 (ja) 2015-12-01 2015-12-01 スロットマシン

Applications Claiming Priority (1)

Application Number Priority Date Filing Date Title
JP2015235091A JP6232035B2 (ja) 2015-12-01 2015-12-01 スロットマシン

Related Parent Applications (1)

Application Number Title Priority Date Filing Date
JP2013128047A Division JP5850883B2 (ja) 2013-06-19 2013-06-19 スロットマシン

Publications (2)

Publication Number Publication Date
JP2016047321A JP2016047321A (ja) 2016-04-07
JP6232035B2 true JP6232035B2 (ja) 2017-11-15

Family

ID=55648567

Family Applications (1)

Application Number Title Priority Date Filing Date
JP2015235091A Active JP6232035B2 (ja) 2015-12-01 2015-12-01 スロットマシン

Country Status (1)

Country Link
JP (1) JP6232035B2 (ja)

Families Citing this family (3)

* Cited by examiner, † Cited by third party
Publication number Priority date Publication date Assignee Title
JP6647699B1 (ja) * 2019-04-25 2020-02-14 山佐株式会社 遊技機
JP6647698B1 (ja) * 2019-04-25 2020-02-14 山佐株式会社 遊技機
JP6813210B2 (ja) * 2019-12-26 2021-01-13 山佐株式会社 遊技機

Family Cites Families (4)

* Cited by examiner, † Cited by third party
Publication number Priority date Publication date Assignee Title
JP2004194992A (ja) * 2002-12-19 2004-07-15 Sanyo Product Co Ltd 遊技機
JP4268513B2 (ja) * 2003-12-19 2009-05-27 株式会社オリンピア 遊技機
JP2006204626A (ja) * 2005-01-28 2006-08-10 Aruze Corp 遊技機
JP4264074B2 (ja) * 2005-06-27 2009-05-13 株式会社三共 スロットマシン

Also Published As

Publication number Publication date
JP2016047321A (ja) 2016-04-07

Similar Documents

Publication Publication Date Title
JP4669864B2 (ja) スロットマシン
JP5518287B2 (ja) スロットマシン
JP5273964B2 (ja) スロットマシン
JP5079107B2 (ja) スロットマシン
JP4953960B2 (ja) スロットマシン
JP4612665B2 (ja) スロットマシン
JP5014021B2 (ja) スロットマシン
JP5345304B2 (ja) スロットマシン
JP6232035B2 (ja) スロットマシン
JP5502795B2 (ja) スロットマシン
JP4953962B2 (ja) スロットマシン
JP5957052B2 (ja) スロットマシン
JP5142627B2 (ja) スロットマシン
JP5850883B2 (ja) スロットマシン
JP5972664B2 (ja) スロットマシン
JP5112774B2 (ja) スロットマシン
JP6061985B2 (ja) スロットマシン
JP5302426B2 (ja) スロットマシン
JP5460806B2 (ja) スロットマシン
JP4953961B2 (ja) スロットマシン
JP5394624B2 (ja) スロットマシン
JP2017051677A (ja) スロットマシン
JP5761726B2 (ja) スロットマシン
JP6200543B2 (ja) スロットマシン
JP5324072B2 (ja) スロットマシン

Legal Events

Date Code Title Description
A131 Notification of reasons for refusal

Free format text: JAPANESE INTERMEDIATE CODE: A131

Effective date: 20160927

A521 Request for written amendment filed

Free format text: JAPANESE INTERMEDIATE CODE: A523

Effective date: 20161124

A131 Notification of reasons for refusal

Free format text: JAPANESE INTERMEDIATE CODE: A131

Effective date: 20170328

A521 Request for written amendment filed

Free format text: JAPANESE INTERMEDIATE CODE: A523

Effective date: 20170523

TRDD Decision of grant or rejection written
A01 Written decision to grant a patent or to grant a registration (utility model)

Free format text: JAPANESE INTERMEDIATE CODE: A01

Effective date: 20171017

A61 First payment of annual fees (during grant procedure)

Free format text: JAPANESE INTERMEDIATE CODE: A61

Effective date: 20171020

R150 Certificate of patent or registration of utility model

Ref document number: 6232035

Country of ref document: JP

Free format text: JAPANESE INTERMEDIATE CODE: R150

R250 Receipt of annual fees

Free format text: JAPANESE INTERMEDIATE CODE: R250

R250 Receipt of annual fees

Free format text: JAPANESE INTERMEDIATE CODE: R250

R250 Receipt of annual fees

Free format text: JAPANESE INTERMEDIATE CODE: R250

R250 Receipt of annual fees

Free format text: JAPANESE INTERMEDIATE CODE: R250

R250 Receipt of annual fees

Free format text: JAPANESE INTERMEDIATE CODE: R250

R250 Receipt of annual fees

Free format text: JAPANESE INTERMEDIATE CODE: R250