JP6231603B2 - 半導体装置 - Google Patents

半導体装置 Download PDF

Info

Publication number
JP6231603B2
JP6231603B2 JP2016074881A JP2016074881A JP6231603B2 JP 6231603 B2 JP6231603 B2 JP 6231603B2 JP 2016074881 A JP2016074881 A JP 2016074881A JP 2016074881 A JP2016074881 A JP 2016074881A JP 6231603 B2 JP6231603 B2 JP 6231603B2
Authority
JP
Japan
Prior art keywords
transistor
semiconductor device
circuit
power supply
node
Prior art date
Legal status (The legal status is an assumption and is not a legal conclusion. Google has not performed a legal analysis and makes no representation as to the accuracy of the status listed.)
Expired - Fee Related
Application number
JP2016074881A
Other languages
English (en)
Other versions
JP2016187178A (ja
Inventor
貴浩 福留
貴浩 福留
Current Assignee (The listed assignees may be inaccurate. Google has not performed a legal analysis and makes no representation or warranty as to the accuracy of the list.)
Semiconductor Energy Laboratory Co Ltd
Original Assignee
Semiconductor Energy Laboratory Co Ltd
Priority date (The priority date is an assumption and is not a legal conclusion. Google has not performed a legal analysis and makes no representation as to the accuracy of the date listed.)
Filing date
Publication date
Application filed by Semiconductor Energy Laboratory Co Ltd filed Critical Semiconductor Energy Laboratory Co Ltd
Priority to JP2016074881A priority Critical patent/JP6231603B2/ja
Publication of JP2016187178A publication Critical patent/JP2016187178A/ja
Application granted granted Critical
Publication of JP6231603B2 publication Critical patent/JP6231603B2/ja
Expired - Fee Related legal-status Critical Current
Anticipated expiration legal-status Critical

Links

Images

Landscapes

  • Static Random-Access Memory (AREA)
  • Semiconductor Memories (AREA)
  • Thin Film Transistor (AREA)

Description

本発明は、半導体装置及びその駆動方法に関する。特に、パワーゲーティングが行われ
る半導体装置及びその駆動方法に関する。なお、本明細書において半導体装置とは、半導
体特性を利用することで機能しうる装置を指すこととする。
Central Processing Unit(CPU)等の消費電力を低減する
技術として、パワーゲーティングが注目されている。パワーゲーティングは、当該CPU
の一部又は全部が動作しない場合に、その一部又は全部に対する電源電圧の供給を停止す
る技術である。これにより、静的な消費電力(CPUの一部又は全部の状態を維持するた
めに消費される電力)の抑制を図ることが可能である。
ただし、パワーゲーティングを行った場合には、各種のノードにおける論理状態の消失
及び各種のメモリに保持されているデータ(以下、単に「データ」という)の消失などが
生じることになる。そのため、パワーゲーティングが終了(電源電圧の供給を再開)した
後、即座に動作を再開することはできない。この場合には、動作の再開に先だって、消失
されたデータを復元することが必要となるからである。よって、各種の半導体装置に対し
てパワーゲーティングを行う場合、当該半導体装置の動作遅延が生じることになる。
これに対して、パワーゲーティング前に各種のノードに保持されているデータを不揮発
性のメモリに退避させ、そして、当該パワーゲーティング後にそれらを復元することで動
作遅延の発生を抑制する技術が開発されている。例えば、特許文献1では、Static
Random Access Memory(SRAM)に保持されているデータを不
揮発性のメモリに退避する技術が開示されている。なお、特許文献1では、チャネルが酸
化物半導体層に形成されるトランジスタ(容量用スイッチング素子)と、当該トランジス
タがオフ状態となることによって一方の端子が電気的に接続するノードが浮遊状態となる
キャパシタ(容量素子)とによって当該メモリが構成されている。
特開2011−171723号公報
本発明の一態様は、パワーゲーティングを行う際の処理の簡便化を図ることを目的の一
とする。
本発明の一態様の半導体装置では、データを保持することが可能な揮発性の保持ノード
と、キャパシタと、当該保持ノードと当該キャパシタを電気的に接続させるか否かを選択
するチャネルが酸化物半導体層に形成されるトランジスタとを設ける。そして、当該トラ
ンジスタが、半導体装置に対するパワーゲーティングが行われる期間以外のほぼ全ての期
間においてオン状態を維持することを要旨とする。
例えば、本発明の一態様は、データを保持することが可能な揮発性の保持ノードと、パ
ワーゲーティング期間中にデータを保持するキャパシタと、保持ノードとキャパシタを電
気的に接続させるか否かを選択する、チャネルが酸化物半導体層に形成されるトランジス
タと、を有し、トランジスタが、パワーゲーティング期間以前にオフ状態となってからパ
ワーゲーティング期間中に渡ってオフ状態を維持する第1の行程と、パワーゲーティング
期間後にオン状態となってからパワーゲーティング期間前までに渡ってオン状態を維持す
る第2の行程と、を繰り返す半導体装置の駆動方法である。
本発明の一態様の半導体装置の駆動方法では、半導体装置が動作中のほぼ全ての期間に
おいて、保持ノードとキャパシタの間に設けられているトランジスタがオン状態を維持す
る。よって、キャパシタが常時保持ノードのデータと対応するデータを有することになる
とともに、当該トランジスタをオフ状態とすることのみによって当該保持ノードから当該
キャパシタへのデータの退避が完了する。すなわち、簡便な処理(当該トランジスタをオ
フ状態とすること)によってパワーゲーティングを行うための準備を完了させることが可
能となる。
半導体装置の(A)構成例を示す図、(B)、(C)動作例を示すタイミングチャート。 半導体装置の(A)構成例を示す図、(B)、(C)動作例を示すタイミングチャート。 (A)、(B)半導体装置の具体例を示す回路図。 (A)、(B)半導体装置の具体例を示す回路図。 (A)、(B)半導体装置の具体例を示す回路図。 (A)、(B)半導体装置の具体例を示す回路図。 半導体装置の構造例を示す図。 半導体装置の構造例を示す図。 半導体装置の構造例を示す図。 携帯用の電子機器のブロック図。 電子書籍のブロック図。
以下では、本発明の一態様について詳細に説明する。ただし、本発明は以下の説明に限
定されず、本発明の趣旨およびその範囲から逸脱することなくその形態を様々に変更し得
る。したがって、本発明は以下に示す記載内容に限定して解釈されるものではない。
<半導体装置>
図1、2を参照して半導体装置の構成例及び動作例について説明する。
<構成例1:図1(A)>
図1(A)は、本発明の一態様に係る半導体装置の構成例を示す図である。図1(A)
に示す半導体装置は、特定のノード(Node)においてデータを保持することが可能な
揮発性の回路1と、パワーゲーティング期間中に当該データを保持する不揮発性のメモリ
2とを有する。具体的には、図1(A)に示す半導体装置では、パワーゲーティング期間
以前に回路1がノード(Node)において保持するデータをメモリ2に退避させ、当該
パワーゲーティング期間後にメモリ2に退避されているデータを用いて回路1のノード(
Node)におけるデータを復元することが可能な半導体装置である。
なお、回路1には、電源電位V1を供給する配線及び電源電位V2を供給する配線が設
けられている。電源電位V1は、高電源電位(VDD)とパワーゲーティング電位のいず
れかの電位となる電圧であり、電源電位V2は、低電源電位(VSS)と当該パワーゲー
ティング電位のいずれかの電位となる電圧である。なお、本明細書において、パワーゲー
ティング電位とは、パワーゲーティング期間において電源電位V1及び電源電位V2がと
る電位である。例えば、パワーゲーティング電位として、接地電位、0(V)、任意の値
の固定電位を適用することが可能である。図1(A)に示す半導体装置においては、当該
パワーゲーティング電位として低電源電位(VSS)を適用することとする。また、回路
1には、データの復元が行われる際にノード(Node)を浮遊状態とする手段を設けら
れていることが好ましい。仮に、論理ゲートの出力がノード(Node)と電気的に接続
されている場合には、データの復元時にメモリ2に保持されているデータ(電荷)が消失
する可能性があるためである。
また、メモリ2には、パワーゲーティング期間中にデータを保持するキャパシタ20と
、ノード(Node)とキャパシタ20を電気的に接続させるか否かを選択するトランジ
スタ21とが設けられている。なお、トランジスタ21は、チャネルが酸化物半導体層に
形成されるトランジスタである。さらに、トランジスタ21のスイッチングは、ゲートに
入力されるパワーゲーティング制御信号(PCTRL)によって制御されている。なお、
パワーゲーティング制御信号(PCTRL)は、高電源電位(VDD)及び低電源電位(
VSS)並びにパワーゲーティング電位のいずれかの電位となる信号である。そして、こ
れらの電位の具体的な値は、トランジスタ21のゲートに高電源電位(VDD)が供給さ
れる際にトランジスタ21がオン状態となり、低電源電位(VSS)又はパワーゲーティ
ング電位が供給される際にトランジスタ21がオフ状態になるように設定されている。
<構成例1の動作例1:図1(B)>
図1(B)は、図1(A)に示す半導体装置の動作例を示すタイミングチャートである
。図1(B)に示すタイミングチャートでは、パワーゲーティング期間(PG1、PG2
、PG3)において電源電位V1及び電源電位V2並びにパワーゲーティング制御信号(
PCTRL)が共にパワーゲーティング電位(ここでは、低電源電位VSSとする)とな
る。また、パワーゲーティング期間(PG1、PG2、PG3)以外の期間において電源
電位V1が高電源電位(VDD)となり、電源電位V2が低電源電位(VSS)となり、
パワーゲーティング制御信号(PCTRL)が高電源電位(VDD)又は低電源電位(V
SS)となる。
以下、図1(B)に示すタイミングチャートにおけるパワーゲーティング制御信号(P
CTRL)について詳細に述べる。パワーゲーティング制御信号(PCTRL)は、パワ
ーゲーティングが開始される前に低電源電位(VSS)となる。そして、パワーゲーティ
ングが終了後も一定期間に渡って低電源電位(VSS)となる。なお、当該一定期間が経
過した後に高電源電位(VDD)となる。この状態は、再度パワーゲーティングが行われ
る前まで維持される。
これにより、トランジスタ21は、パワーゲーティング前にオフ状態となってからパワ
ーゲーティング終了後一定期間が経過するまでに渡ってオフ状態を維持することになる。
そして、トランジスタ21がオフ状態となる期間に渡って、キャパシタ20に蓄積されて
いる電荷(データ)も保持されることになる。チャネルが酸化物半導体層に形成されるト
ランジスタ21は、オフ電流値が極めて小さいからである。また、トランジスタ21は、
当該期間経過後にオン状態となってから再度パワーゲーティングが開始される前までに渡
ってオン状態を維持することになる。なお、図1(B)に示すタイミングチャートに従っ
て図1(A)に示す半導体装置が動作する場合、パワーゲーティング前にトランジスタ2
1がオフ状態となることによってデータの退避が行われ、パワーゲーティング後にトラン
ジスタ21がオン状態になることによってデータの復元が行われることになる。よって、
この場合には、簡便な処理によってパワーゲーティングを行う際におけるデータの退避を
行うことが可能である。
<構成例1の動作例2:図1(C)>
図1(C)は、図1(A)に示す半導体装置の動作例を示すタイミングチャートである
。図1(C)に示すタイミングチャートは、パワーゲーティング期間(PG1、PG2、
PG3)の間の期間において、パワーゲーティング制御信号(PCTRL)が高電源電位
(VDD)となった後に低電源電位(VSS)とならない(パワーゲーティング期間(P
G1、PG2、PG3)が開始する際に、高電源電位(VDD)から直接的にパワーゲー
ティング電位へと変化する)点を除き、図1(B)に示すタイミングチャートと同様のタ
イミングチャートである。
図1(C)に示すタイミングチャートに従って図1(A)に示す半導体装置が動作する
場合、パワーゲーティングを行うための準備を行うことなくパワーゲーティングが開始さ
れることになる。よって、図1(B)に示すタイミングチャートに従って図1(A)に示
す半導体装置が動作する場合よりも簡便な処理によってパワーゲーティングを行うことが
可能となる。他方、図1(B)に示すタイミングチャートに従って図1(A)に示す半導
体装置が動作する場合には、データの退避を確実に行うことが可能である。
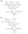
<構成例2:図2(A)>
図2(A)は、図1(A)とは異なる半導体装置の構成例を示す図である。図2(A)
に示す半導体装置は、2種のノード(Node1、Node2)において同一のデータを
保持することが可能な揮発性の回路3と、パワーゲーティング期間中に当該データを保持
する不揮発性のメモリ4とを有する。具体的には、図2(A)に示す半導体装置では、パ
ワーゲーティング期間以前に回路3が第1のノード(Node1)において保持するデー
タをメモリ2に退避させ、当該パワーゲーティング期間後にメモリ2に退避されているデ
ータを用いて回路3の第2のノード(Node2)におけるデータを復元することが可能
な半導体装置である。
なお、回路3には、図1(A)に示す半導体装置における回路1と同様に、電源電位V
1を供給する配線及び電源電位V2を供給する配線が設けられている。また、回路3には
、図1(A)に示す半導体装置における回路1と同様に、データの復元が行われる際に第
2のノード(Node2)を浮遊状態とする手段を設けられていることが好ましい。
また、メモリ4には、パワーゲーティング期間中にデータを保持するキャパシタ40と
、第1のノード(Node1)とキャパシタ40を電気的に接続させるか否かを選択する
トランジスタ41と、第2のノード(Node2)とキャパシタ40を電気的に接続させ
るか否かを選択するトランジスタ42とが設けられている。なお、トランジスタ41、4
2は、チャネルが酸化物半導体層に形成されるトランジスタである。さらに、トランジス
タ41のスイッチングは、ゲートに入力される第1のパワーゲーティング制御信号(PC
TRL_1)によって制御され、トランジスタ42のスイッチングは、ゲートに入力され
る第2のパワーゲーティング制御信号(PCTRL_2)によって制御されている。なお
、第1及び第2のパワーゲーティング制御信号(PCTRL_1、PCTRL_2)は、
高電源電位(VDD)及び低電源電位(VSS)並びにパワーゲーティング電位のいずれ
かの電位となる信号である。そして、これらの電位の具体的な値は、トランジスタ41、
42のゲートに高電源電位(VDD)が供給される際にトランジスタ41、42がオン状
態となり、低電源電位(VSS)又はパワーゲーティング電位が供給される際にトランジ
スタ41、42がオフ状態になるように設定されている。
<構成例2の動作例1:図2(B)>
図2(B)は、図2(A)に示す半導体装置の動作例を示すタイミングチャートである
。図2(B)に示すタイミングチャートでは、パワーゲーティング期間(PG1、PG2
、PG3)において電源電位V1及び電源電位V2並びに第1及び第2のパワーゲーティ
ング制御信号(PCTRL_1、PCTRL_2)が共にパワーゲーティング電位(ここ
では、低電源電位VSSとする)となる。また、パワーゲーティング期間(PG1、PG
2、PG3)以外の期間において電源電位V1が高電源電位(VDD)となり、電源電位
V2が低電源電位(VSS)となり、第1及び第2のパワーゲーティング制御信号(PC
TRL_1、PCTRL_2)が高電源電位(VDD)又は低電源電位(VSS)となる
以下、第1及び第2のパワーゲーティング制御信号(PCTRL_1、PCTRL_2
)について詳細に述べる。第1のパワーゲーティング制御信号(PCTRL_1)は、パ
ワーゲーティングが開始される前に低電源電位(VSS)となる。そして、パワーゲーテ
ィング終了後も一定期間に渡って低電源電位(VSS)となる。なお、当該一定期間が経
過した後に高電源電位(VDD)となる。この状態は、再度パワーゲーティングが行われ
る前まで維持される。また、第2のパワーゲーティング制御信号(PCTRL_2)は、
パワーゲーティング終了後の一定期間に渡って低電源電位(VSS)となる。そして、当
該一定期間が経過した後に高電源電位(VDD)となる。その後、第1のパワーゲーティ
ング制御信号(PCTRL_1)が高電源電位(VDD)となる際に第2のパワーゲーテ
ィング制御信号(PCTRL_2)は低電源電位(VSS)となる。この状態は、再度パ
ワーゲーティングが行われるまで維持される。
これにより、トランジスタ41、42は、パワーゲーティング前にトランジスタ41が
オフ状態となってからパワーゲーティング終了後一定期間が経過する(トランジスタ42
がオン状態となる)までに渡ってオフ状態を維持することになる。そして、トランジスタ
41、42がオフ状態となる期間に渡って、キャパシタ40に蓄積されている電荷(デー
タ)も保持されることになる。チャネルが酸化物半導体層に形成されるトランジスタ41
、42は、オフ電流値が極めて小さいからである。また、トランジスタ41は、当該期間
経過後にオン状態となってから再度パワーゲーティングが開始される前までに渡ってオン
状態を維持することになる。なお、図2(B)に示すタイミングチャートに従って図2(
A)に示す半導体装置が動作する場合、パワーゲーティング前にトランジスタ41がオフ
状態となることによって第1のノード(Node1)に保持されていたデータの退避が行
われ、パワーゲーティング後にトランジスタ42がオン状態になることによって第2のノ
ードに対してデータの復元が行われることになる。よって、この場合には、簡便な処理に
よってパワーゲーティングを行う際におけるデータの退避を行うことが可能である。
<構成例2の動作例2:図2(C)>
図2(C)は、図2(A)に示す半導体装置の動作例を示すタイミングチャートである
。図2(C)に示すタイミングチャートは、パワーゲーティング期間(PG1、PG2、
PG3)の間の期間において、第1のパワーゲーティング制御信号(PCTRL_1)が
高電源電位(VDD)となった後に低電源電位(VSS)とならない(パワーゲーティン
グ期間(PG1、PG2、PG3)が開始する際に、高電源電位(VDD)から直接的に
パワーゲーティング電位へと変化する)点、及び、第2のパワーゲーティング制御信号(
PCTRL_2)が高電源電位(VDD)となる前に低電源電位(VSS)とならない(
パワーゲーティング期間(PG1、PG2、PG3)が終了する際に、パワーゲーティン
グ電位から直接的に高電源電位(VDD)へと変化する)点を除き、図2(B)に示すタ
イミングチャートと同様のタイミングチャートである。
図2(C)に示すタイミングチャートに従って図2(A)に示す半導体装置が動作する
場合、パワーゲーティングを行うための準備を行うことなくパワーゲーティングが開始さ
れることになる。よって、図2(B)に示すタイミングチャートに従って図2(A)に示
す半導体装置が動作する場合よりも簡便な処理によってパワーゲーティングを行うことが
可能となる。他方、図2(B)に示すタイミングチャートに従って図2(A)に示す半導
体装置が動作する場合には、データの退避を確実に行うことが可能である。
また、図2(C)に示す第1のパワーゲーティング制御信号(PCTRL_1)は、第
2のパワーゲーティング制御信号(PCTRL_2)の反転信号となる。よって、図2(
B)に示すタイミングチャートに従って図2(A)に示す半導体装置が動作する場合、回
路動作に必要な信号の生成が容易である。
本実施例においては、図1を参照して説明した半導体装置の具体例について図3、4を
参照して説明する。なお、図3、4は、図1(A)に示す回路1としてStatic R
andaom Access Memory(SRAM)を適用した場合の半導体装置の
回路構成例を示す図である。
<具体例1:図3(A)>
図3(A)に示す半導体装置は、入力信号(IN)をノード(Node)に入力するか
否かを選択するトランジスタ11と、ノード(Node)の電位が入力されるインバータ
12と、インバータ12の出力信号を半導体装置の出力信号(OUT)として出力するか
否かを選択するトランジスタ13と、インバータ12の出力信号が入力されるインバータ
14と、インバータ14の出力信号をノード(Node)に出力するか否かを選択するト
ランジスタ15と、図1(A)に示すメモリ2とを有する。なお、図1(A)に示す電源
電位V1及び電源電位V2は、インバータ12、14に供給されている(図示しない)。
なお、トランジスタ11のスイッチングはゲートに入力される入力制御信号(IN_C
TRL)によって制御され、トランジスタ13のスイッチングはゲートに入力される出力
制御信号(OUT_CTRL)によって制御され、トランジスタ15のスイッチングはゲ
ートに入力される復元制御信号(Re_CTRL)によって制御されている。具体的には
、トランジスタ11は、入力信号(IN)をノード(Node)に入力する場合にオン状
態となり、それ以外の期間においてはオフ状態となる。また、トランジスタ13は、イン
バータ12の出力信号を半導体装置の出力信号(OUT)として出力する場合にオン状態
となり、それ以外の期間においてはオフ状態となる。また、トランジスタ15は、メモリ
2に退避されているデータを用いてノード(Node)におけるデータを復元する際にオ
フ状態となり、それ以外の期間(パワーゲーティング期間は除く)においてはオン状態と
なる。また、トランジスタ15をノード(Node)におけるデータを復元する際のみな
らず入力信号(IN)をノード(Node)に入力する際にもオフ状態としてもよい。
図3(A)に示す半導体装置においては、図1(A)、(B)に示すタイミングチャー
トに従って動作させることでパワーゲーティングによって消失するノード(Node)の
データを簡便に復元することが可能である。
なお、図3(A)では、トランジスタ11、13、15としてNチャネル型のトランジ
スタを適用する例について示したが、これらのトランジスタの一部又は全部をPチャネル
型のトランジスタとすることも可能である。また、図3(A)に示す構成からトランジス
タ15を削除した構成とすることも可能である。この場合には、回路面積の縮小を図るこ
とが可能である。他方、図3(A)に示すようにトランジスタ15を設けることによって
、データの復元時にノード(Node)を浮遊状態とすることが可能となる。これにより
、インバータ14の状態に依存することなくデータの復元を行うことが可能となる。すな
わち、データの復元時にメモリ2に保持されているデータ(電荷)が消失する蓋然性を低
減することが可能である。
<具体例2:図3(B)>
図3(B)に示す半導体装置は、入力信号(IN)及び出力信号(OUT)が供給され
る配線が共通化されている点を除き、図3(A)に示す半導体装置と同様の構成を有する
。具体的には、図3(B)に示す半導体装置は、図3(A)に示すトランジスタ11、1
3を、入力信号(IN)をノード(Node)に入力するか否か、及びインバータ14の
出力信号を半導体装置の出力信号(OUT)として出力するか否かを選択するトランジス
タ16に置換した構成を有する。
なお、トランジスタ16のスイッチングはゲートに入力される入出力制御信号(IN/
OUT_CTRL)によって制御されている。具体的には、トランジスタ16は、入力信
号(IN)をノード(Node)に入力する場合及びインバータ14の出力信号を半導体
装置の出力信号(OUT)として出力する場合にオン状態となり、それ以外の期間におい
てはオフ状態となる。
図3(B)に示す半導体装置においても図3(A)に示す半導体装置と同様にノード(
Node)のデータを簡便に復元することが可能である。
なお、図3(B)では、トランジスタ16としてNチャネル型のトランジスタを適用す
る例について示したが、トランジスタ16をPチャネル型のトランジスタとすることも可
能である。また、図3(B)に示す構成からトランジスタ15を削除した構成とすること
も可能である。
<具体例3:図4(A)>
図4(A)に示す半導体装置は、トランジスタ15及びメモリ2がインバータ14の出
力側ではなくインバータ12の出力側に電気的に接続されている点を除き、図3(A)に
示す半導体装置と同様の構成を有する。
図4(A)に示す半導体装置においても図3(A)、(B)に示す半導体装置と同様に
ノード(Node)のデータを簡便に復元することが可能である。また、図4(A)に示
す構成からトランジスタ15を削除した構成とすることも可能である。
<具体例4:図4(B)>
図4(B)に示す半導体装置は、トランジスタ15及びメモリ2がインバータ14の出
力側ではなくインバータ12の出力側のノード(Node)に電気的に接続されている点
を除き、図3(B)に示す半導体装置と同様の構成を有する。
図4(B)に示す半導体装置においても図3(A)、(B)、図4(A)に示す半導体
装置と同様にノード(Node)のデータを簡便に復元することが可能である。また、図
4(B)に示す構成からトランジスタ15を削除した構成とすることも可能である。
<付記>
なお、本実施例においては、図1(A)に示す回路1としてSRAMが適用された半導
体装置について示したが、回路1としてフリップフロップ又はレジスタなどを適用するこ
とも可能である。
本実施例においては、図2を参照して説明した半導体装置の具体例について図5、6を
参照して説明する。なお、図5、6は、図2(A)に示す回路3としてSRAMを適用し
た場合の半導体装置の回路構成例を示す図である。
<具体例5:図5(A)>
図5(A)に示す半導体装置は、入力信号(IN)を第2のノード(Node2)に入
力するか否かを選択するトランジスタ31と、第2のノード(Node2)の電位が入力
されるインバータ32と、インバータ32の出力信号を半導体装置の出力信号(OUT)
として出力するか否かを選択するトランジスタ33と、インバータ32の出力信号が入力
されるインバータ34と、第1のノード(Node1)と第2のノード(Node2)を
電気的に接続させるか否かを選択するトランジスタ35と、図2(A)に示すメモリ4と
を有する。なお、図1(A)に示す電源電位V1及び電源電位V2は、インバータ32、
34に供給されている。
なお、トランジスタ31のスイッチングはゲートに入力される入力制御信号(IN_C
TRL)によって制御され、トランジスタ33のスイッチングはゲートに入力される出力
制御信号(OUT_CTRL)によって制御され、トランジスタ35のスイッチングはゲ
ートに入力される復元制御信号(Re_CTRL)によって制御されている。具体的には
、トランジスタ31は、入力信号(IN)を第2のノード(Node2)に入力する場合
にオン状態となり、それ以外の期間においてはオフ状態となる。また、トランジスタ33
は、インバータ32の出力信号を半導体装置の出力信号(OUT)として出力する場合に
オン状態となり、それ以外の期間においてはオフ状態となる。また、トランジスタ35は
、メモリ2に退避されているデータを用いて第2のノード(Node2)におけるデータ
を復元する際にオフ状態となり、それ以外の期間(パワーゲーティング期間は除く)にお
いてはオン状態となる。また、トランジスタ35を第2のノード(Node2)における
データを復元する際のみならず入力信号(IN)を第2のノード(Node2)に入力す
る際にもオフ状態としてもよい。
また、復元制御信号(Re_CTRL)として、第1のパワーゲーティング制御信号(
PCTRL_1)を適用することも可能である。この場合、回路動作に必要な信号数を削
減することが可能である。
図5(A)に示す半導体装置においては、図2(A)、(B)に示すタイミングチャー
トに従って動作させることでパワーゲーティングによって消失する第2のノード(Nod
e2)のデータを簡便に復元することが可能である。
なお、図5(A)では、トランジスタ31、33、35としてNチャネル型のトランジ
スタを適用する例について示したが、これらのトランジスタの一部又は全部をPチャネル
型のトランジスタとすることも可能である。さらに、トランジスタ35としてPチャネル
型のトランジスタを適用する場合には、復元制御信号(Re_CTRL)として、第2の
パワーゲーティング制御信号(PCTRL_2)を適用することも可能である。
<具体例6:図5(B)>
図5(B)に示す半導体装置は、入力信号(IN)及び出力信号(OUT)が供給され
る配線が共通化されている点を除き、図5(A)に示す半導体装置と同様の構成を有する
。具体的には、図5(B)に示す半導体装置は、図5(A)に示すトランジスタ31、3
3を、入力信号(IN)を第2のノード(Node2)に入力するか否か、及びインバー
タ34の出力信号を半導体装置の出力信号(OUT)として出力するか否かを選択するト
ランジスタ36に置換した構成を有する。
なお、トランジスタ36のスイッチングはゲートに入力される入出力制御信号(IN/
OUT_CTRL)によって制御されている。具体的には、トランジスタ36は、入力信
号(IN)を第2のノード(Node2)に入力する場合及びインバータ34の出力信号
を半導体装置の出力信号(OUT)として出力する場合にオン状態となり、それ以外の期
間においてはオフ状態となる。
図5(B)に示す半導体装置においても図5(A)に示す半導体装置と同様に第2のノ
ード(Node2)のデータを簡便に復元することが可能である。
なお、図5(B)では、トランジスタ36としてNチャネル型のトランジスタを適用す
る例について示したが、トランジスタ36をPチャネル型のトランジスタとすることも可
能である。
<具体例7:図6(A)>
図6(A)に示す半導体装置は、トランジスタ35及びメモリ4がインバータ34の出
力側ではなくインバータ32の出力側に電気的に接続されている点を除き、図5(A)に
示す半導体装置と同様の構成を有する。
図6(A)に示す半導体装置においても図5(A)、(B)に示す半導体装置と同様に
第2のノード(Node2)のデータを簡便に復元することが可能である。
<具体例8:図6(B)>
図6(B)に示す半導体装置は、トランジスタ35及びメモリ4がインバータ34の出
力側ではなくインバータ32の出力側に電気的に接続されている点を除き、図5(B)に
示す半導体装置と同様の構成を有する。
図6(B)に示す半導体装置においても図5(A)、(B)、図6(A)に示す半導体
装置と同様に第2のノード(Node2)のデータを簡便に復元することが可能である。
<付記>
なお、本実施例においては、図2(A)に示す回路3としてSRAMが適用された半導
体装置について示したが、回路3としてフリップフロップ又はレジスタなどを適用するこ
とも可能である。
本実施例においては、上述した半導体装置の構造例について図7〜9を参照して説明す
る。具体的には、図7〜9は、図1(A)、図2(A)に示す回路1、3に含まれるイン
バータと、メモリ2、4に含まれるチャネルが酸化物半導体層に形成されるトランジスタ
及びキャパシタとが重畳して設けられる場合の構造例を示す図である。なお、図7に示す
インバータは回路1、3に含まれる論理ゲートの一例であり、回路1、3がインバータを
含む回路に限定される訳ではない。
図7に示す半導体装置は、下部に第1の半導体材料を用いたトランジスタ740、75
0を有し、上部に第2の半導体材料を用いたトランジスタ610を有する。
ここで、第1の半導体材料と第2の半導体材料は異なるバンドギャップを持つ材料とす
ることが望ましい。例えば、第1の半導体材料を酸化物半導体以外の半導体材料(シリコ
ンなど)とし、第2の半導体材料を酸化物半導体とすることができる。シリコンなどの材
料を用いたトランジスタは、高速動作が容易である。一方で、酸化物半導体を用いたトラ
ンジスタは、その特性により長時間の電荷保持を可能とする。
半導体装置に用いる基板は、シリコンや炭化シリコンなどの単結晶半導体基板、多結晶
半導体基板、シリコンゲルマニウムなどの化合物半導体基板、SOI(Silicon
on Insulator)基板などを用いることができ、トランジスタのチャネル形成
領域は、半導体基板中、又は半導体基板上に形成することができる。図7に示す半導体装
置は、半導体基板中にチャネル形成領域を形成して下部のトランジスタを作製する例であ
る。
図7に示す半導体装置においては、基板700に単結晶シリコン基板を用いて、該単結
晶シリコン基板にトランジスタ740、トランジスタ750を形成しており、第1の半導
体材料として単結晶シリコンを用いている。トランジスタ740はnチャネル型トランジ
スタ、トランジスタ750はpチャネル型トランジスタであり、トランジスタ740及び
トランジスタ750によってインバータ760が構成されている。
なお、ここでは、基板700としてp型の導電型を有する単結晶シリコン基板を用いて
いるため、pチャネル型トランジスタであるトランジスタ750の形成領域に、n型を付
与する不純物元素を添加し、nウェルを形成する。トランジスタ750のチャネル形成領
域753はnウェルに形成される。n型を付与する不純物元素としては、リン(P)やヒ
素(As)等を用いることができる。
よって、nチャネル型トランジスタであるトランジスタ740の形成領域に、p型の導
電型を付与する不純物元素の添加を行っていないが、p型を付与する不純物元素を添加す
ることによりpウェルを形成してもよい。p型を付与する不純物元素としては、ボロン(
B)やアルミニウム(Al)やガリウム(Ga)等を用いることができる。
一方、n型の導電型を有する単結晶シリコン基板を用いる場合には、p型を付与する不
純物元素を添加してpウェルを形成してもよい。
トランジスタ740は、チャネル形成領域743、LDD(Lightly Dope
d Drain)領域やエクステンション領域として機能するn型不純物領域744、ソ
ース領域又はドレイン領域として機能するn型不純物領域745、ゲート絶縁膜742、
ゲート電極層741を有している。なお、n型不純物領域745の不純物濃度は、n型不
純物領域744よりも高い。ゲート電極層741の側面には側壁絶縁層746が設けられ
ており、ゲート電極層741及び側壁絶縁層746をマスクとして用いて、不純物濃度が
異なるn型不純物領域744、n型不純物領域745を自己整合的に形成することができ
る。
トランジスタ750は、チャネル形成領域753、LDD領域やエクステンション領域
として機能するp型不純物領域754、ソース領域又はドレイン領域として機能するp型
不純物領域755、ゲート絶縁膜752、ゲート電極層751を有している。なお、p型
不純物領域755の不純物濃度は、p型不純物領域754よりも高い。ゲート電極層75
1の側面には側壁絶縁層756が設けられており、ゲート電極層751及び側壁絶縁層7
56をマスクとして用いて、不純物濃度が異なるp型不純物領域754、p型不純物領域
755を自己整合的に形成することができる。
基板700において、トランジスタ740及びトランジスタ750は素子分離領域78
9により分離されており、トランジスタ740及びトランジスタ750上に絶縁膜788
、及び絶縁膜687が積層されている。絶縁膜687上には、絶縁膜788及び絶縁膜6
87に形成された開口においてn型不純物領域745に接する配線層647と、絶縁膜7
88及び絶縁膜687に形成された開口においてp型不純物領域755に接する配線層6
57とを有する。また、絶縁膜687上には、トランジスタ740及びトランジスタ75
0を電気的に接続させる配線層748が形成されている。配線層748は、絶縁膜788
及び絶縁膜687に形成された一対の開口の一方においてn型不純物領域745に接し、
他方においてp型不純物領域755と接する。
また、絶縁膜687、配線層647、配線層748、配線層657上に絶縁膜686が
設けられている。また、絶縁膜686上に配線層658が形成されている。なお、配線層
658は、絶縁膜788、絶縁膜687、絶縁膜686に形成された開口においてゲート
配線と電気的に接続されている。そして、ゲート配線は、ゲート絶縁膜742上に形成さ
れており、ゲート配線がそれぞれ分岐してゲート電極層741及びゲート電極層751と
なっている。
なお、本発明の半導体装置の構造は図7に示す構成に限定されず、トランジスタ740
、750として、シリサイド(サリサイド)を有するトランジスタ、又は側壁絶縁層を有
さないトランジスタを適用してもよい。シリサイド(サリサイド)を有する構造であると
、ソース領域及びドレイン領域がより低抵抗化でき、半導体装置の動作の高速化を図るこ
とが可能である。また、低電圧で動作できるため、半導体装置の消費電力の低減を図るこ
とが可能である。
次に、図7の半導体装置における下部のトランジスタ上に設けられる上部の素子構成を
説明する。
絶縁膜686及び配線層658上に絶縁膜684が設けられている。また、絶縁膜68
4上に、導電層491及び配線層692が形成されている。なお、配線層692は、絶縁
膜684に形成された開口において配線層658と接する。さらに、導電層491及び配
線層692上に絶縁膜434が設けられ、その上に絶縁膜435が設けられている。
絶縁膜435上には、酸化物半導体層403が設けられている。そして、酸化物半導体
層403上に、ドレイン電極層405a、及びソース電極層405bが設けられている。
酸化物半導体層403のうち、ドレイン電極層405a及びソース電極層405bと重な
っていない領域(チャネル形成領域)上に接してゲート絶縁膜402が設けられ、その上
にゲート電極層401a、401bが設けられている。
また、キャパシタ690もトランジスタ610と同一の絶縁膜435上に工程を増やす
ことなく形成されており、キャパシタ690は、ドレイン電極層405aを一方の電極と
し、電極層693a、693bをもう一方の電極とし、それらの間に設けられたゲート絶
縁膜402と同じ工程で形成される絶縁膜682を誘電体とするキャパシタである。なお
、電極層693a、693bはゲート電極層401a、401bと同じ工程で形成される
また、トランジスタ610及びキャパシタ690上に絶縁膜407及び層間絶縁膜48
5が設けられている。さらに、層間絶縁膜485に埋め込み配線を形成し、埋め込み配線
上方に他の半導体素子や配線などを形成して多層構造を有する半導体装置を作製してもよ
い。
導電層491は、電位をGND(または固定電位)とすることでトランジスタ610の
電気的特性を制御するバッグゲートとして機能する。なお、導電層491は静電気に対す
る静電遮蔽機能も有する。ただし、導電層491を用いずともトランジスタ610をノー
マリーオフのトランジスタとできる場合、又は、トランジスタ610をノーマリーオフの
トランジスタとする必要がない場合には、導電層491を設けなくともよい。また、ある
特定の回路の一部にトランジスタ610を用いる場合に導電層491を設けると支障がで
る恐れがある場合には、その回路には設けなくともよい。
絶縁膜434は半導体装置において下部と上部の間に設けられており、上部のトランジ
スタ610の電気的特性の劣化や変動を招く水素等の不純物が、下部から上部へ侵入しな
いように、バリア膜として機能する。よって、不純物等の遮断機能の高い、緻密な無機絶
縁膜(例えば、酸化アルミニウム膜、窒化シリコン膜など)を用いることが好ましい。ま
た、同様の理由から、ゲート絶縁膜402及び絶縁膜407としてもこれらの膜を用いる
ことが好ましい。
また、上述した半導体装置の構造として図8、9に示す構造を適用することも可能であ
る。
図8に示す半導体装置の構造は、トランジスタ610が設けられている層上に配線層が
設けられている点で図7に示す構造と異なる。具体的には、図8に示す半導体装置は、ト
ランジスタ610が設けられている層上に設けられている配線層801と、層間絶縁膜4
85及び配線層801上に設けられている層間絶縁膜802と、層間絶縁膜802上に設
けられている配線層803と、層間絶縁膜802及び配線層803上に設けられている層
間絶縁膜804とを有する。なお、配線層801は、層間絶縁膜485及び絶縁膜407
に形成された開口においてトランジスタ610のソース電極層405bと接する。また、
配線層803は、層間絶縁膜802に形成された開口において配線層801と接する。そ
して、図8に示す半導体装置においては、トランジスタ610のソース電極層405bと
、インバータ760を構成するトランジスタ740のゲート電極層741及びトランジス
タ750のゲート電極層751とが配線層801及び配線層803並びに層間絶縁膜48
5、802などに形成される開口に設けられる配線層(図示しない)を介して電気的に接
続させることが可能である。なお、図8においては、トランジスタ610が設けられてい
る層上に2つの配線層が設けられている構造を示したが、当該配線層を1つ又は3つ以上
としてもよい。
図9に示す半導体装置の構造は、トランジスタ610が設けられている層と、インバー
タ760(トランジスタ740及びトランジスタ750)が設けられている層との間に配
線層が設けられている点で図7に示す構造と異なる。具体的には、図8に示す半導体装置
は、配線層658上に設けられている層間絶縁膜901と、層間絶縁膜901上に設けら
れている配線層902と、層間絶縁膜901及び配線層902上に設けられている層間絶
縁膜903と、層間絶縁膜903上に設けられている配線層904とを有する。なお、配
線層902は、層間絶縁膜901に形成された開口において配線層658と接する。また
、配線層904は、層間絶縁膜903に形成された開口において配線層902と接し、且
つ絶縁膜684に形成された開口において配線層692と接する。なお、図9においては
、トランジスタ610が設けられている層と、インバータ760(トランジスタ740及
びトランジスタ750)が設けられている層との間に2つの配線層が設けられている構造
を示したが、当該配線層を1つ又は3つ以上としてもよい。
本実施例においては、上述した半導体装置を、携帯電話、スマートフォン、電子書籍な
どの携帯用の電子機器に応用した場合について説明する。
図10は、携帯用の電子機器のブロック図である。図10に示す携帯用の電子機器はR
F回路1421、アナログベースバンド回路1422、デジタルベースバンド回路142
3、バッテリー1424、電源回路1425、アプリケーションプロセッサ1426、フ
ラッシュメモリ1430、ディスプレイコントローラ1431、メモリ回路1432、デ
ィスプレイ1433、タッチセンサ1439、音声回路1437、キーボード1438な
どより構成されている。ディスプレイ1433は表示部1434、ソースドライバ143
5、ゲートドライバ1436によって構成されている。アプリケーションプロセッサ14
26はCPU1427、DSP1428、インターフェース1429を有している。図1
0に示す電子機器においては、CPU1427が上述した半導体装置を有する構成とする
ことが可能である。
図11は電子書籍のブロック図である。電子書籍はバッテリー1451、電源回路14
52、マイクロプロセッサ1453、フラッシュメモリ1454、音声回路1455、キ
ーボード1456、メモリ回路1457、タッチパネル1458、ディスプレイ1459
、ディスプレイコントローラ1460によって構成される。図11に示す電子機器におい
ては、マイクロプロセッサ1453が上述した半導体装置を有する構成とすることが可能
である。
1 回路
2 メモリ
3 回路
4 メモリ
11 トランジスタ
12 インバータ
13 トランジスタ
14 インバータ
15 トランジスタ
16 トランジスタ
20 キャパシタ
21 トランジスタ
31 トランジスタ
32 インバータ
33 トランジスタ
34 インバータ
35 トランジスタ
36 トランジスタ
40 キャパシタ
41 トランジスタ
42 トランジスタ
401a ゲート電極層
401b ゲート電極層
402 ゲート絶縁膜
403 酸化物半導体層
405a ドレイン電極層
405b ソース電極層
407 絶縁膜
434 絶縁膜
435 絶縁膜
485 層間絶縁膜
491 導電層
610 トランジスタ
647 配線層
657 配線層
658 配線層
682 絶縁膜
684 絶縁膜
686 絶縁膜
687 絶縁膜
690 キャパシタ
692 配線層
693a 電極層
693b 電極層
700 基板
740 トランジスタ
741 ゲート電極層
742 ゲート絶縁膜
743 チャネル形成領域
744 n型不純物領域
745 n型不純物領域
746 側壁絶縁層
748 配線層
750 トランジスタ
751 ゲート電極層
752 ゲート絶縁膜
753 チャネル形成領域
754 p型不純物領域
755 p型不純物領域
756 側壁絶縁層
760 インバータ
788 絶縁膜
789 素子分離領域
801 配線層
802 層間絶縁膜
803 配線層
804 層間絶縁膜
901 層間絶縁膜
902 配線層
903 層間絶縁膜
904 配線層
1421 RF回路
1422 アナログベースバンド回路
1423 デジタルベースバンド回路
1424 バッテリー
1425 電源回路
1426 アプリケーションプロセッサ
1427 CPU
1428 DSP
1429 インターフェース
1430 フラッシュメモリ
1431 ディスプレイコントローラ
1432 メモリ回路
1433 ディスプレイ
1434 表示部
1435 ソースドライバ
1436 ゲートドライバ
1437 音声回路
1438 キーボード
1439 タッチセンサ
1451 バッテリー
1452 電源回路
1453 マイクロプロセッサ
1454 フラッシュメモリ
1455 音声回路
1456 キーボード
1457 メモリ回路
1458 タッチパネル
1459 ディスプレイ
1460 ディスプレイコントローラ

Claims (3)

  1. 回路と、キャパシタと、第1のトランジスタと、を有し、
    前記回路は、データを保持することが可能な揮発性の保持ノードと、前記保持ノードと電気的に接続された第2のトランジスタと、を有し、
    前記キャパシタは、前記回路への電源電圧の供給が停止される期間中に前記データを保持する機能を有し、
    前記第1のトランジスタは、前記保持ノードと前記キャパシタを電気的に接続させるか否かを選択する機能を有し、
    前記第1のトランジスタは、チャネルが酸化物半導体層に形成されており、
    前記第1のトランジスタは、
    前記回路への電源電圧の供給が停止される期間が開始される前にオフ状態となってから前記回路への電源電圧の供給が停止される期間中に渡ってオフ状態を維持し、
    前記回路への電源電圧の供給が停止される期間経過後にオン状態となってから再度前記回路への電源電圧の供給が停止される期間が開始される前までに渡ってオン状態を維持する、ことを繰り返し行う機能を有し、
    前記第2のトランジスタは、入力信号を前記保持ノードに入力するか否かを選択する機能と、出力信号を出力するか否かを選択する機能と、を有することを特徴とする半導体装置。
  2. 回路と、キャパシタと、第1のトランジスタと、を有し、
    前記回路は、データを保持することが可能な揮発性の保持ノードと、前記保持ノードと電気的に接続された第2のトランジスタと、を有し、
    前記キャパシタは、前記回路への電源電圧の供給が停止される期間中に前記データを保持する機能を有し、
    前記第1のトランジスタは、前記保持ノードと前記キャパシタを電気的に接続させるか否かを選択する機能を有し、
    前記第1のトランジスタは、チャネルが酸化物半導体層に形成されており、
    前記第1のトランジスタは、
    前記回路への電源電圧の供給が停止される際にオフ状態となってから前記回路への電源電圧の供給が停止される期間中に渡ってオフ状態を維持し、
    前記回路への電源電圧の供給が停止される期間経過後にオン状態となってから再度前記回路への電源電圧の供給が停止される期間が開始されるまでに渡ってオン状態を維持する、ことを繰り返し行う機能を有し、
    前記第2のトランジスタは、入力信号を前記保持ノードに入力するか否かを選択する機能と、出力信号を出力するか否かを選択する機能と、を有することを特徴とする半導体装置。
  3. 請求項1又は請求項2において、
    前記回路は、前記回路への電源電圧の供給が停止される期間経過後に前記第1のトランジスタがオン状態となる際に、前記保持ノードを浮遊状態とする機能を有することを特徴とする半導体装置。
JP2016074881A 2016-04-04 2016-04-04 半導体装置 Expired - Fee Related JP6231603B2 (ja)

Priority Applications (1)

Application Number Priority Date Filing Date Title
JP2016074881A JP6231603B2 (ja) 2016-04-04 2016-04-04 半導体装置

Applications Claiming Priority (1)

Application Number Priority Date Filing Date Title
JP2016074881A JP6231603B2 (ja) 2016-04-04 2016-04-04 半導体装置

Related Parent Applications (1)

Application Number Title Priority Date Filing Date
JP2012109004A Division JP5917285B2 (ja) 2012-05-11 2012-05-11 半導体装置の駆動方法

Publications (2)

Publication Number Publication Date
JP2016187178A JP2016187178A (ja) 2016-10-27
JP6231603B2 true JP6231603B2 (ja) 2017-11-15

Family

ID=57203443

Family Applications (1)

Application Number Title Priority Date Filing Date
JP2016074881A Expired - Fee Related JP6231603B2 (ja) 2016-04-04 2016-04-04 半導体装置

Country Status (1)

Country Link
JP (1) JP6231603B2 (ja)

Family Cites Families (4)

* Cited by examiner, † Cited by third party
Publication number Priority date Publication date Assignee Title
JPH05110392A (ja) * 1991-10-16 1993-04-30 Hitachi Ltd 状態保持回路を具備する集積回路
KR101720072B1 (ko) * 2009-12-11 2017-03-27 가부시키가이샤 한도오따이 에네루기 켄큐쇼 불휘발성 래치 회로와 논리 회로, 및 이를 사용한 반도체 장치
KR101874779B1 (ko) * 2009-12-25 2018-07-06 가부시키가이샤 한도오따이 에네루기 켄큐쇼 메모리 장치, 반도체 장치, 및 전자 장치
WO2011089847A1 (en) * 2010-01-20 2011-07-28 Semiconductor Energy Laboratory Co., Ltd. Signal processing circuit and method for driving the same

Also Published As

Publication number Publication date
JP2016187178A (ja) 2016-10-27

Similar Documents

Publication Publication Date Title
JP7504964B2 (ja) 半導体装置
US10511309B1 (en) Method and device to speed-up leakage based PUF generators under extreme operation conditions
US9397118B2 (en) Thin-film ambipolar logic
JP3606543B2 (ja) 強誘電体を用いた順序回路およびこれを用いた半導体装置
US7880239B2 (en) Body controlled double channel transistor and circuits comprising the same
JP2008521249A (ja) スケーラブル集積論理および不揮発性メモリ
US20200220024A1 (en) Charge trap layer in back-gated thin-film transistors
TWI608604B (zh) 有袋部的p穿隧場效電晶體裝置
US20130148243A1 (en) Esd protecting circuit and semiconductor device including the same
WO2020103510A1 (zh) 静电保护电路、阵列基板及显示装置
TWI643457B (zh) 半導體裝置
TW201519231A (zh) 半導體裝置
KR102420735B1 (ko) 반도체 장치의 전원 제어 방법
JP5917285B2 (ja) 半導体装置の駆動方法
JP2004288978A (ja) 半導体集積装置
US20250192075A1 (en) Active protection circuits for semiconductor devices
JPH1032259A (ja) 半導体装置
US9406673B2 (en) Semiconductor component with transistor
US9559178B2 (en) Non-volatile memory (NVM) cell and device structure integration
US20130214854A1 (en) Semiconductor device and method of driving the same
JP2001320269A (ja) Cmos半導体集積回路
JP6231603B2 (ja) 半導体装置
CN100470801C (zh) 半导体器件、液晶显示板、电子设备及制造器件的方法
US20070176246A1 (en) SRAM cells including self-stabilizing transistor structures
JP2003124330A (ja) 半導体集積回路装置

Legal Events

Date Code Title Description
A977 Report on retrieval

Free format text: JAPANESE INTERMEDIATE CODE: A971007

Effective date: 20170213

A131 Notification of reasons for refusal

Free format text: JAPANESE INTERMEDIATE CODE: A131

Effective date: 20170221

A521 Request for written amendment filed

Free format text: JAPANESE INTERMEDIATE CODE: A523

Effective date: 20170420

TRDD Decision of grant or rejection written
A01 Written decision to grant a patent or to grant a registration (utility model)

Free format text: JAPANESE INTERMEDIATE CODE: A01

Effective date: 20170926

A61 First payment of annual fees (during grant procedure)

Free format text: JAPANESE INTERMEDIATE CODE: A61

Effective date: 20171019

R150 Certificate of patent or registration of utility model

Ref document number: 6231603

Country of ref document: JP

Free format text: JAPANESE INTERMEDIATE CODE: R150

R250 Receipt of annual fees

Free format text: JAPANESE INTERMEDIATE CODE: R250

LAPS Cancellation because of no payment of annual fees