JP6229346B2 - ラックマウントキットの固定構造 - Google Patents

ラックマウントキットの固定構造 Download PDF

Info

Publication number
JP6229346B2
JP6229346B2 JP2013153705A JP2013153705A JP6229346B2 JP 6229346 B2 JP6229346 B2 JP 6229346B2 JP 2013153705 A JP2013153705 A JP 2013153705A JP 2013153705 A JP2013153705 A JP 2013153705A JP 6229346 B2 JP6229346 B2 JP 6229346B2
Authority
JP
Japan
Prior art keywords
rack
claws
pair
rack mount
kit
Prior art date
Legal status (The legal status is an assumption and is not a legal conclusion. Google has not performed a legal analysis and makes no representation as to the accuracy of the status listed.)
Active
Application number
JP2013153705A
Other languages
English (en)
Other versions
JP2015026641A (ja
Inventor
肇 村上
肇 村上
Current Assignee (The listed assignees may be inaccurate. Google has not performed a legal analysis and makes no representation or warranty as to the accuracy of the list.)
Fujitsu Ltd
Original Assignee
Fujitsu Ltd
Priority date (The priority date is an assumption and is not a legal conclusion. Google has not performed a legal analysis and makes no representation as to the accuracy of the date listed.)
Filing date
Publication date
Application filed by Fujitsu Ltd filed Critical Fujitsu Ltd
Priority to JP2013153705A priority Critical patent/JP6229346B2/ja
Priority to US14/314,206 priority patent/US20150027968A1/en
Publication of JP2015026641A publication Critical patent/JP2015026641A/ja
Application granted granted Critical
Publication of JP6229346B2 publication Critical patent/JP6229346B2/ja
Active legal-status Critical Current
Anticipated expiration legal-status Critical

Links

Images

Classifications

    • HELECTRICITY
    • H05ELECTRIC TECHNIQUES NOT OTHERWISE PROVIDED FOR
    • H05KPRINTED CIRCUITS; CASINGS OR CONSTRUCTIONAL DETAILS OF ELECTRIC APPARATUS; MANUFACTURE OF ASSEMBLAGES OF ELECTRICAL COMPONENTS
    • H05K7/00Constructional details common to different types of electric apparatus
    • H05K7/14Mounting supporting structure in casing or on frame or rack
    • H05K7/1485Servers; Data center rooms, e.g. 19-inch computer racks
    • H05K7/1488Cabinets therefor, e.g. chassis or racks or mechanical interfaces between blades and support structures
    • H05K7/1489Cabinets therefor, e.g. chassis or racks or mechanical interfaces between blades and support structures characterized by the mounting of blades therein, e.g. brackets, rails, trays

Landscapes

  • Engineering & Computer Science (AREA)
  • Computer Hardware Design (AREA)
  • General Engineering & Computer Science (AREA)
  • Microelectronics & Electronic Packaging (AREA)
  • Drawers Of Furniture (AREA)
  • Casings For Electric Apparatus (AREA)

Description

開示の技術は、ラックマウントサーバ(以下、サーバと呼ぶ)をラック(サーバを収納する棚)に搭載するためのラックマウントキットの固定構造に関する。
図1は、サーバをラックに搭載する方法について説明するための図である。
図1に示す様に、データセンター等に設置されるラック10内にサーバ80(重量約10〜60Kg)を設置する時には、まずラックマウントキット30をラック10内に取り付ける。
米国電子工業会(EIA)によって定められた規格に準拠したラックに、サーバ80(重量約10〜60Kg)を設置する時には、まず、ラックマウントキット30をラックの四隅にあるマウントアングル20の空いている穴22を使って固定する.サーバのサイズに合わせて、マウントアングル20に空いている穴22を複数個用いて固定する。例えば、1U(ユニット)サイズのサーバを設置する時には、マウントアングル20に空いている穴22の3個分を用いて固定する。その後、サーバ80をラックマウントキット30に載せ、ネジ等によりサーバ80をラック10に固定する。
ラックマウントキットをラックに取り付ける場合、ラックマウントキットをネジで固定するものがあるが、作業性を改善するためツールレスで固定できるラックマウントキットがある。ラックに取付け可能なブロックを板ばねに固定し、板ばねを変形させることでラックへの取付け/取外しが可能な固定構造となっている。ラックに取付ける場合は、ラックの柱を使って板ばねを変形させて固定し、ラックから取外す場合は、手で板ばねを変形させて取外すことでドライバー等の工具が必要無い。
特開2009−206129号公報
一旦取り付けたラックマウントキット30をラック10前側のマウントアングル20から取外す場合は、ラック前側から板バネを手で変形させることで取外すことが可能である、
図2は、ラック10に複数のサーバ80が搭載された状態を示す正面図である。図2に示す様に、ラック10にはサーバ80が複数台搭載されており、上下にサーバ80や冷却用塞ぎ板90が搭載された状態で、対象となるサーバ80の厚さが最小単位(1U)の厚さ場合、隙間(1U隙間)は約45mmしかない。またラック10前側から後側のマウントアングル20まで700mm以上離れている。このため、ラック前側から手を延ばして、ラックマウントキット30をラック10後側のマウントアングル20から取外すのは難しい。
そのため、ラック10の後側のマウントアングル20からラックマウントキット30を取外す場合は、ラック10の後側に移動して、板バネを手で変形させて取外さなければならない。
図3は、サーバルーム内に複数台のラック10が配置された状態を天井から見た図を示す。図3に示す様に、ラック10はサーバルーム内に複数台並べて配置されている。ラック10前側は、サーバを冷却するための空気の通路(コールドアイル)となっている。ラック10の後側は、サーバ内部から排出された熱い空気の通路(ホットアイル)となっている。ホットアイルには、ラック10の後側から電源配線、インターフェイス配線等、多数の配線が引き出されており、作業がしにくい環境にある。
サーバルームの規模にもよるが、データセンター等の比較的大規模なサーバルームでは、10m以上にも渡ってラックが並べられているため、ラックの後側に回り込むために、場合によっては10m以上、戻ってくるのにまた10m以上移動しなければならなく、作業効率が良くない。
開示のラックマウントキットの端に設けられる固定構造の一観点によれば、1対の爪と、前記1対の爪を開く方向へ付勢する第1の付勢手段と、前記1対の爪が挿入方向に移動したのを検知して、前記爪を閉じる方向へ付勢する第2の付勢手段を含む固定構造が提供される。
開示のラックマウントキットの固定構造によれば、ラックの後側に移動しなくても、ラックの前側からラックの後側のマウントアングルからラックマウントキットを取外すことが可能となり、作業性が向上する。
ラックにサーバを搭載する方法について説明するための図である ラックに複数のサーバが搭載された状態を示す正面図である。 サーバルーム内に複数台のラックが配置された状態を示す図である。 ラックマウントキットの固定構造の一実施形態を示す図である。 実施形態のラックマウントキットの爪及びボタンの外観図である。 実施形態の後側固定部の構造について説明する図である。 実施形態の後側固定部の構造について説明する図である。 実施形態の爪とボタンの動作について説明する図である。 ラックマウントキットをマウントアングルに固定する際の、後側固定部の動作の推移を説明する図である。 ラックマウントキットをマウントアングルに固定する際の後側固定部の動作の推移を説明する図である。 ラックマウントキットをマウントアングルから外す際の後側固定部の動作の推移を説明する図である。 ラックマウントキットをマウントアングルに取り付ける手順を説明する図である。 ラックマウントキットをマウントアングルから取り外す手順を説明する図である。 従来の方法と、本実施形態の方法の作業時間の試算を示す図である。
以下に図面を参照して、本開示の技術にかかる好適な実施の形態を詳細に説明する。
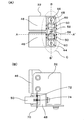
図4(A)は、ラックマウントキットの固定構造の一実施形態を示す図である。
本実施形態のラックマウントキット30は、ラックの後側にあるマウントアングル20に空いている穴22を使って固定可能な後側固定部32と、ラックの前側にあるマウントアングル20に空いている穴22を使って固定可能な後側固定部32と前側固定部34と、前記2つの固定部をつなぎ、伸縮可能でサーバを搭載できるスライド部36を有する。スライド部36は、ラックマウントキット30を短く縮めた時に、後側固定部32がラック後側のマウントアングル20に届いてラック前側から押すことが可能な長さに設定されている。
図4(B)に、本実施形態のラックマウントキット30をラックの後側にあるマウントアングル20に取り付けるための後側固定部32の拡大図を示す。
ベース48は、ガイドピン44、バネ材46、爪50及びボタン60を固定・収納するための部品で、爪50及びボタン60を固定する穴や溝等を有している。
ガイドピン44は、ラックマウントキット30を、ラックのマウントアングル20に固定する際の位置決めのためのものである。ガイドピン44は、ラックのマウントアングル20の穴22よりも小さい断面形状で、爪50の先端がマウントアングル20に接触する前に穴22にひっかかり、位置決めできる長さを有している。本実施形態でガイドピン44はベース48から突出して別部品としているが一体で形成しても良い。また断面形状は丸ではなく多角形(四角等)でも良い。
なおガイドピン44は装置の荷重を受けても変形しない材料(例えば鉄系素材等)及び断面積を確保している。
2つのバネ材46は、ラックマウントキット30をマウントアングル20から取り外す際に、後述するボタン60に加えられる力以下の力で、ボタン60が押し込まれない程度のバネ力を有している。本実施形態では板状バネを採用しているが、コイルバネで代用しても良い。
2つの爪50は、マウントアングル20の穴22に合して、ラックマウントキット30をラックのマウントアングル20に固定する働きを有する。
2つのボタン60は、ラックマウントキット30をラックのマウントアングル20から取り外す際に、後述するボタン60に加えられる力以下の力で動かないように、ボタン用バネ(コイルバネ等)76で、常にベース48から出っ張る状態にある。
図5(A)は、爪50の外観図を示す。2個の爪50は、共通化の観点で同じ部品を採用している。
爪50の先端52はラックのマウントアングル20の穴22に挿入可能でひっかけられる鉤形状を有している。また爪50には鉤状突起58を有している。
爪50は、後述する爪固定用軸70を中心に回転する方向と、爪固定用軸70の軸方向に動くことが可能な構造を有する。ラックマウントキット30をラックに取り付ける際に、爪50の先端52は閉じる方向に回転しながら穴22を通過する。この時、お互いの爪50の鉤状突起58はひっかからない。また、爪50は穴22を通過後、開く方向に回転する構造を有する。
爪50は爪用バネ74(トーションバネ等)により、常に開く方向に力が加わる構造を有する。
爪50の鉤状突起58はボタン60に押されて内側に回転した時にお互いがひっかかり、爪50が閉じた状態で保持する構造を有する。爪50はお互いの鉤状突起58をひっかけられるように、爪固定用軸70を中心に回転しながら爪固定用軸70の軸方向にも移動できる構造を有する。
爪50は軸方向に力を加える爪用バネ72(コイルバネ等)とベース48内側の壁により閉じた状態を保持する。2つの爪50が閉じる方向に回転した時に、2つの爪50の先端52が接触しないように鉤状突起58は傾斜している。
図5(B)は、ボタン60の外観図を示す。2つのボタン60は、共通化の観点で同じ部品を採用している。
ボタン60は必要時にしか動かないように、後述するボタン用バネ76(コイルバネ等)で、常にベースから出っ張る構造を有する。ボタン60は押されると内側に移動でき、移動することにより爪50を内側に回転させるための先端突起62を有する。
2つのボタン60は、ラックマウントキット30をラックのマウントアングル20から取り外す際に、2つの爪50を閉じる方向に移動させて、2つの爪50の向き合う側にある鉤状突起58をお互いに合させて、2つの爪50を閉じたままの状態に保持する働きを有する。
次いで、後側固定部32の構造について説明する。図6(A)は、後側固定部32の正面図である。図6(B)は、図6(A)の破線A−A’における断面図である。
図6(A)を参照して、2つの爪50は、ベース48内に納められ、2つの爪50の鉤状突起58がそれぞれ向き合う向きに配置されている。
図6(B)を参照して、爪50は、爪50とベース48を貫通する爪固定用軸70を介してベース48に取り付けられている。よって、爪50は、爪固定用軸70を中心に回転する方向に動くことが可能とされている。爪50とベース48の間の爪固定用軸70の一方には、爪用コイルバネ72が取り付けられており、爪50をベース48の他方の内側の壁に付勢する働きを有する。
図7(A)は、後側固定部32の側面図である。図7(B)は、図6(A)の破線B−B’における断面図である。図7(A)を参照して、2つのガイドピン44の間から、爪50の先端と、ボタン60の先端がベース48から突出している。
図7(B)を参照して、爪固定用軸70の中央には、爪用バネ74(トーションバネ等)が取り付けられており、爪50は常に開く方向に付勢されている。また、ボタン60は、ボタン用バネ76(コイルバネ等)で、常にベースから出っ張る方向に付勢されている。
次いで、図8を用いて、爪50とボタン60の動作について説明する。
図中、左側の図は、図7(B)の楕円D部の拡大図、右側の図は、図6(A)の楕円C部の拡大図である。
図8(A)は、後側固定部32が、ラックのマウントアングル20に固定された状態での爪50とボタン60との位置関係を示している。図8(A)の左図を参照して、爪50は、ラックのマウントアングル20の穴22に合していて、開いた状態となっている。この状態は、後側固定部32をマウントアングル20に取り付ける前のイニシャルの状態と同じである。
図8(A)の右側の図を参照して、この状態においては、2つの爪50のそれぞれ向き合う側の鉤状突起58は、互いに離間した状態にある。
図8(B)は、後側固定部32を、ラックのマウントアングル20から取り外す状態での爪50とボタン60との位置関係を示している。ボタン60がラックのマウントアングル20に押しつけられると、ボタン60は、マウントアングル20とは反対方向の斜め45度方向にスライドする。その結果、ボタン60の先端突起62によって、2つの爪50は爪固定用軸70を中心に閉じる方向に回転する。
図8(B)の右側の図を参照して、2つの爪50が閉じる方向に回転すると、2つの爪50のそれぞれ向き合う側の鉤状突起58は、互いに合した状態となる。2つの爪50は、爪用コイルバネ72で、互いの鉤状突起58がかみ合う方向に付勢されているので、鉤状突起58が互いに合した状態が維持される。
図9、図10は、ラックマウントキット30をラックのマウントアングル20に固定する際の、後側固定部32の爪50とボタン60との動作の推移を説明する図である。
図9(A)は、ラック前側からラックマウントキット30を挿入していき、後側固定部32先端のガイドピン44をラック後ろ側のマウントアングル20の穴22に差し込み位置決めした状態を示す。
図9(B)は、ラックマウントキット30がさらにマウントアングル20に押し込まれると、爪50の先端が、マウントアングル20の穴22の淵に当たった状態を示す。
図10(A)は、ラックマウントキット30がさらにマウントアングル20に押し込まれると、爪50の先端がマウントアングル20の穴22の淵で押されて、爪50が爪固定用軸70を中心に閉じる方向に回転する。
図10(B)は、ラックマウントキット30がさらにマウントアングル20に押し込まれると、爪50の先端が、マウントアングル20の穴22を通過する。爪50は、爪用バネ74により、常に開く方向に付勢されているので、爪固定用軸70を中心に開く方向に回転して、爪50の先端が穴22の淵に合する。このようにして、ラックマウントキット30は、マウントアングル20に固定される。
図11は、ラックマウントキット30をラックのマウントアングル20から外す際の、後側固定部32の爪50とボタン60との動作の推移を説明する図である。
図11(A)は、図10(B)の後側固定部32の爪50の先端が、マウントアングル20の穴22の淵に合した状態から、一旦、さらに、ラックマウントキット30をマウントアングル20側に押し込まれた状態を示す。図8(B)を用いて説明した様に、ボタン60がラックのマウントアングル20の壁に押しつけられて、斜め45度にスライドして、その結果、2つの爪50は、爪固定用軸70を中心に閉じる方向に回転する。そして、2つの爪50のそれぞれ向き合う側の鉤状突起58が互いに合したままとなり、2つの爪50は、閉じた状態が維持される。
図11(B)は、図11(A)の2つの爪50が閉じたままの状態のまま、ラックマウントキット30を引き抜く状態を示す。
図11(C)は、ラックマウントキット30をマウントアングル20から完全に引き抜いた状態を示す。2つの爪50は、閉じたままの状態のままとなっている。
再度ラックマウントキット30をラックに取り付ける場合は、爪50の鉤状突起58の引っ掛かりを手で外す方向に動かし、爪50を開いた状態にする。
図12は、ラックマウントキット30をラック前側のマウントアングル20A、ラック10後側のマウントアングル20Bに取り付ける手順を説明するための図である。本ラックマウントキット30を、ラック10のマウントアングル20に空いている3か所(1U分)の穴22を使って固定する。
図12(A)を参照して、ラックマウントキット30先端の後側固定部32が、ラック後側のマウントアングル20Bに当たるまで、ラック前側からラックマウントキット30挿入していく。
次いで、図12(B)を参照して、ラック後側のマウントアングル20Bに空いている穴22に、後側固定部32のガイドピン44を挿入し、位置決めする。さらに、ラックマウントキット30を押し込んで、後側固定部32の2つの爪50が、マウントアングル20の穴22に合して、ラック後側のマウントアングル20Bに後側固定部32が固定される。
次いで、図12(C)を参照して、スライド部36からラックマウントキット30をラック前側に引き戻して、前側固定部34をラック前側のマウントアングル20Aに取り付ける。
図13は、ラックマウントキット30をラック前側のマウントアングル20A、ラック後側のマウントアングル20Bから取り外す手順を説明するための図である。
図13(A)を参照して、最初にラック前側の前側固定部34のロックを解除して、前側固定部34をラック前側のマウントアングル20Aから取外す。
次いで、図13(B)を参照して、ラック前側からラックマウントキット30がラック後側に押しまれると、後側固定部32の2つの爪50は閉じる方向に移動して、マウントアングル20の穴22との合がはずれる。詳しい動作については、別図を用いて後述する。
次いで、図13(C)を参照して、後側固定部32の2つの爪50のマウントアングル20の穴22との合は外れているので、そのままラックマウントキット30をラック前側に引き抜けば、ラックマウントキット30を取り外すことができる。
ラックマウントキット30の後側固定部32はラック10に対し反対側から取り付けても良い。この場合、取付け/取外しの時に押す方向が反転する。
図14は、サーバ1台あたりのラックマウントキット(2本)を取り外すのに、従来の方法でかかる作業時間と、本実施形態のラックマウントキットを用いた場合の作業時間を試算したものである。従来の方法では、約12分かかるのに対して、本実施形態のラックマウントキットを用いた場合は約2分しかかからない。本実施形態のラックマウントキットを用いた場合、作業時間を約10分も短縮でき、作業効率が大幅に改善できる。
以上本発明の好ましい実施形態について詳述したが、本発明は係る特定の実施形態に限定されるものではなく、特許請求の範囲に記載された本発明の要旨の範囲内において、種々の変形・変更が可能である。
10 ラック
20、20A、20B マウントアングル
22 穴
30 ラックマウントキット
32 後側固定部
34 前側固定部
36 スライド部
44 ガイドピン
46 バネ材
48 ベース
50 爪
52 先端
58 鉤状突起
60 ボタン
62 先端突起
70 爪固定用軸
72、74 爪用バネ
76 ボタン用バネ
80 サーバ
90 冷却用塞ぎ板

Claims (7)

  1. ラックの柱の穴に固定されるラックマウントキットの端に設けられる固定構造であって、
    1対の第1の爪と、
    前記1対の第1の爪の互いに他方の爪に面する側に設けられた鉤状の1対の第2の爪と、
    前記ラックマウントキットを前記ラックの穴に挿入する際に、前記穴によって閉じる方向に付勢された前記1対の第1の爪を、前記1対の第1の爪が前記穴を通過したあとに開く方向へ付勢して、前記1対の第1の爪を前記穴に嵌合させる第1の付勢手段と、
    前記ラックマウントキットを前記ラックに対してさらに挿入方向に移動させる際に、前記穴の淵によって挿入方向とは反対側に押下され、前記1対の第1の爪を閉じる方向へ付勢する第2の付勢手段と
    を含み、
    前記第2の付勢手段によって前記1対の第1の爪が閉じた方向へ付勢された状態において、前記1対の第2の爪はお互いに嵌合して、前記1対の第1の爪は閉じた状態に保持される
    ことを特徴とするラックマウントキットの固定構造。
  2. 前記第2の付勢手段の付勢力は、前記第1の付勢手段の付勢力より強い
    ことを特徴とする請求項1に記載のラックマウントキットの固定構造。
  3. 前記1対の第1の爪は、軸を中心に回転し、
    前記第1の付勢手段は、前記軸に取り付けられ、前記1対の第1の爪を開く方向に付勢するバネである
    ことを特徴とする請求項1に記載のラックマウントキットの固定構造。
  4. 前記1対の第1の爪は挿入方向の先端に鉤状の先端部を有し、前記先端部の外径は、前記穴の直径よりも大きい
    ことを特徴とする請求項1に記載のラックマウントキットの固定構造。
  5. 前記1対の第1の爪が、閉じた状態に保持された状態で、前記1対の第1の爪の鉤状の先端部の外径が前記穴の直径よりも小さくなる
    ことを特徴とする請求項に記載のラックマウントキットの固定構造。
  6. 前記第2の付勢手段は、前記1対の第1の爪が前記穴に嵌合した状態よりも前記ラックマウントキットが挿入方向に移動されると、前記挿入方向とは反対方向の斜めにスライドし、前記1対の第1の爪を閉じる方向に付勢する
    ことを特徴とする請求項1に記載のラックマウントキットの固定構造。
  7. 前記第2の付勢手段には、第2のバネが設けられ、
    前記第2のバネは、前記斜めにスライドした前記第2の付勢手段を元の位置へ付勢することを特徴とする請求項6に記載のラックマウントキットの固定構造。
JP2013153705A 2013-07-24 2013-07-24 ラックマウントキットの固定構造 Active JP6229346B2 (ja)

Priority Applications (2)

Application Number Priority Date Filing Date Title
JP2013153705A JP6229346B2 (ja) 2013-07-24 2013-07-24 ラックマウントキットの固定構造
US14/314,206 US20150027968A1 (en) 2013-07-24 2014-06-25 Structure for fixing rack mount kit

Applications Claiming Priority (1)

Application Number Priority Date Filing Date Title
JP2013153705A JP6229346B2 (ja) 2013-07-24 2013-07-24 ラックマウントキットの固定構造

Publications (2)

Publication Number Publication Date
JP2015026641A JP2015026641A (ja) 2015-02-05
JP6229346B2 true JP6229346B2 (ja) 2017-11-15

Family

ID=52389590

Family Applications (1)

Application Number Title Priority Date Filing Date
JP2013153705A Active JP6229346B2 (ja) 2013-07-24 2013-07-24 ラックマウントキットの固定構造

Country Status (2)

Country Link
US (1) US20150027968A1 (ja)
JP (1) JP6229346B2 (ja)

Families Citing this family (4)

* Cited by examiner, † Cited by third party
Publication number Priority date Publication date Assignee Title
US20160369844A1 (en) * 2015-06-16 2016-12-22 Fujitsu Limited Slide rail and electronic apparatus
US12004641B2 (en) * 2019-06-06 2024-06-11 Pegasus Medical Ltd. Rack mount for load
WO2021075980A1 (en) * 2019-10-18 2021-04-22 Rack Studs Limited Improvements in, or relating to, fasteners
SE545033C2 (en) * 2020-11-02 2023-03-07 Nexans Sa An arrangement for storing network devices in a rack and fastening means therefor

Family Cites Families (11)

* Cited by examiner, † Cited by third party
Publication number Priority date Publication date Assignee Title
JPS5815771U (ja) * 1981-07-22 1983-01-31 小島プレス工業株式会社 収納箱のドアロツク装置
JPH1113331A (ja) * 1997-06-26 1999-01-19 Itoki Crebio Corp 扉のラッチ装置
TWM255624U (en) * 2003-12-30 2005-01-11 King Slide Works Co Ltd Positioning device for sliding track bracket
US6957878B2 (en) * 2004-02-26 2005-10-25 General Devices Co., Inc. Latch mover for quick-mount telescoping slide support system
US6935711B1 (en) * 2004-02-26 2005-08-30 General Devices Co., Inc. Latch mover for quick-mount support for telescoping slide
US6929339B1 (en) * 2004-02-26 2005-08-16 General Devices Co., Inc. Latch controller for quick-mount support for telescoping slide
US7641297B2 (en) * 2006-12-15 2010-01-05 Nan Juen International Co., Ltd. Rack mountable to a computer cabinet without using a tool
CN102197925A (zh) * 2010-03-24 2011-09-28 鸿富锦精密工业(深圳)有限公司 滑轨安装装置
TW201249310A (en) * 2011-05-18 2012-12-01 Hon Hai Prec Ind Co Ltd Fixing apparatus for slide rail
US8864190B2 (en) * 2011-05-19 2014-10-21 Nan Juen International Co., Ltd. Structure of slide rail latch for cabinet
US8727138B2 (en) * 2011-11-04 2014-05-20 International Business Machines Corporation Toolless rail enabling simplified installation and removal

Also Published As

Publication number Publication date
JP2015026641A (ja) 2015-02-05
US20150027968A1 (en) 2015-01-29

Similar Documents

Publication Publication Date Title
JP6229346B2 (ja) ラックマウントキットの固定構造
JP5363189B2 (ja) ガイドレール装置
US20110182006A1 (en) Removable assembly and communication device employing same
US20180157295A1 (en) Server
US20150351280A1 (en) Pivotable Fan Assembly and Associated Systems
EP3026354B1 (en) Outdoor unit for air-conditioning apparatus
US8130491B2 (en) Computer equipped with a fan rack to facilitate assembly and disassembly of hard disks
US20110090639A1 (en) Mounting apparatus for disk drive
US7854781B2 (en) Mount for air filter and bezel assembly
CN102404949A (zh) 服务器机柜
TW202029872A (zh) 握持釋放裝置
TW201817298A (zh) 把手鎖附裝置以及具有把手鎖附裝置的電子系統機箱
US9060426B2 (en) Securing mechanism
US9084374B2 (en) Electronic device and electronic instrument
CN103163969A (zh) 电子装置壳体
US10342336B2 (en) Bracket device
JP2017515315A (ja) ネジなしスリーピースの垂直な電子デバイス
US7934780B2 (en) Magnetic release latch mechanism for a device
US9733678B2 (en) Quick release component carrier
US9111584B2 (en) Mounting structure for data storage device and electronic device using the same
JP6289596B1 (ja) 遊技機
CN214427873U (zh) 电子装置及其固定支撑组件
CN105328470B (zh) 夹具
CN208271106U (zh) 具有可抽取结构的电子装置
US20170332512A1 (en) Latching system

Legal Events

Date Code Title Description
RD01 Notification of change of attorney

Free format text: JAPANESE INTERMEDIATE CODE: A7421

Effective date: 20160401

A621 Written request for application examination

Free format text: JAPANESE INTERMEDIATE CODE: A621

Effective date: 20160405

A977 Report on retrieval

Free format text: JAPANESE INTERMEDIATE CODE: A971007

Effective date: 20170130

A131 Notification of reasons for refusal

Free format text: JAPANESE INTERMEDIATE CODE: A131

Effective date: 20170307

A521 Written amendment

Free format text: JAPANESE INTERMEDIATE CODE: A523

Effective date: 20170426

TRDD Decision of grant or rejection written
A01 Written decision to grant a patent or to grant a registration (utility model)

Free format text: JAPANESE INTERMEDIATE CODE: A01

Effective date: 20170919

A61 First payment of annual fees (during grant procedure)

Free format text: JAPANESE INTERMEDIATE CODE: A61

Effective date: 20171002

R150 Certificate of patent or registration of utility model

Ref document number: 6229346

Country of ref document: JP

Free format text: JAPANESE INTERMEDIATE CODE: R150