JP6210801B2 - 露光光源及び画像形成装置 - Google Patents

露光光源及び画像形成装置 Download PDF

Info

Publication number
JP6210801B2
JP6210801B2 JP2013181015A JP2013181015A JP6210801B2 JP 6210801 B2 JP6210801 B2 JP 6210801B2 JP 2013181015 A JP2013181015 A JP 2013181015A JP 2013181015 A JP2013181015 A JP 2013181015A JP 6210801 B2 JP6210801 B2 JP 6210801B2
Authority
JP
Japan
Prior art keywords
light source
circuit
pixel circuits
exposure light
pixel
Prior art date
Legal status (The legal status is an assumption and is not a legal conclusion. Google has not performed a legal analysis and makes no representation as to the accuracy of the status listed.)
Active
Application number
JP2013181015A
Other languages
English (en)
Other versions
JP2015047780A (ja
Inventor
宏治 池田
宏治 池田
孝教 山下
孝教 山下
井関 正己
正己 井関
Current Assignee (The listed assignees may be inaccurate. Google has not performed a legal analysis and makes no representation or warranty as to the accuracy of the list.)
Canon Inc
Original Assignee
Canon Inc
Priority date (The priority date is an assumption and is not a legal conclusion. Google has not performed a legal analysis and makes no representation as to the accuracy of the date listed.)
Filing date
Publication date
Application filed by Canon Inc filed Critical Canon Inc
Priority to JP2013181015A priority Critical patent/JP6210801B2/ja
Priority to US14/473,943 priority patent/US9172837B2/en
Publication of JP2015047780A publication Critical patent/JP2015047780A/ja
Application granted granted Critical
Publication of JP6210801B2 publication Critical patent/JP6210801B2/ja
Active legal-status Critical Current
Anticipated expiration legal-status Critical

Links

Images

Classifications

    • HELECTRICITY
    • H04ELECTRIC COMMUNICATION TECHNIQUE
    • H04NPICTORIAL COMMUNICATION, e.g. TELEVISION
    • H04N1/00Scanning, transmission or reproduction of documents or the like, e.g. facsimile transmission; Details thereof
    • H04N1/024Details of scanning heads ; Means for illuminating the original
    • H04N1/028Details of scanning heads ; Means for illuminating the original for picture information pick-up
    • H04N1/02815Means for illuminating the original, not specific to a particular type of pick-up head
    • H04N1/02845Means for illuminating the original, not specific to a particular type of pick-up head using an elongated light source, e.g. tubular lamp, LED array
    • HELECTRICITY
    • H04ELECTRIC COMMUNICATION TECHNIQUE
    • H04NPICTORIAL COMMUNICATION, e.g. TELEVISION
    • H04N1/00Scanning, transmission or reproduction of documents or the like, e.g. facsimile transmission; Details thereof
    • H04N1/024Details of scanning heads ; Means for illuminating the original
    • H04N1/028Details of scanning heads ; Means for illuminating the original for picture information pick-up
    • H04N1/02815Means for illuminating the original, not specific to a particular type of pick-up head

Landscapes

  • Engineering & Computer Science (AREA)
  • Multimedia (AREA)
  • Signal Processing (AREA)
  • Electroluminescent Light Sources (AREA)
  • Printers Or Recording Devices Using Electromagnetic And Radiation Means (AREA)
  • Facsimile Heads (AREA)
  • Led Device Packages (AREA)
  • Exposure Or Original Feeding In Electrophotography (AREA)

Description

本発明は、露光光源及び画像形成装置に関するものである。
有機エレクトロルミネセンス(EL)素子等の発光素子を用い、例えばプリンタ等に搭載される露光光源は、発光素子を有する画素を基板上に複数個、直線状に配置して構成される。そのため、露光光源は、一般的に、画素の配列方向に長く、アスペクト比が高い形状となる。従って、データ線を露光光源の長手方向に沿って配線する場合、データ線が長くなり寄生容量が大きくなりやすいが、高速駆動を行うためにはこの寄生容量を小さくする必要がある。特許文献1には、データ線の寄生容量を小さくする露光光源の構成が開示されている。
特開2006−123493号公報
しかし、特許文献1の構成では、走査線とデータ線が交差し、この交差部で寄生容量が形成されるため、駆動の更なる高速化が難しいという問題がある。
本発明は、上記従来の問題点に鑑みてなされたもので、発光素子を駆動するための回路の寄生容量を低減した露光光源を提供することを目的とする。
上記課題を解決するために、本発明は、一列に配列された複数の画素回路と、走査信号を出力する走査回路と、前記走査信号を前記複数の画素回路に供給する走査線と、を含む回路部と、前記複数の画素回路に接続された複数の発光素子と、引き出し線を介して前記複数の画素回路にデータ信号を供給する複数のデータ線と、を有し、
前記複数のデータ線を含むデータ線群と、前記複数の発光素子を含む発光素子群と、前記回路部とが、前記複数の画素回路の配列方向と垂直な方向に沿って、この順で配置され
前記回路部は、前記画素回路および前記発光素子に電源電圧を供給する複数の電源配線を更に有し、前記複数の電源配線のうち第一の電圧が印加される第一電源配線は、前記画素回路の前記走査回路側に配置されていることを特徴とする露光光源を提供するものである。
本発明によれば、データ線の寄生容量を非常に小さくすることができる。従って、露光ヘッドを高速駆動させることができる。
本発明の露光光源の構成の一例を示す概略図である。 画素の回路を示す一例図である。 本発明の露光光源の構成の他の例を示す概略図である。 本発明の露光光源を有する画像形成装置の概略図である。
以下、図面を用いて本発明を詳細に説明する。
≪露光光源≫
〔第一実施形態〕
図1を用いて、感光ドラムに光照射して潜像を露光するための、本発明にかかる露光光源の例ついて説明する。図1は本実施形態にかかる露光光源の構成を示す概略図である。
本発明の露光光源は、基板1の上に、画素回路2が一方向に並ぶように複数形成されている。基板1として、例えば、ガラス基板やシリコン基板等を用いることができる。画素回路2のそれぞれには発光素子11が接続され、画素回路2と発光素子11で画素を構成している。発光素子11は、画素回路2の配列方向に一列に並ぶように配列されているが、発光素子11は必ずしも一列に配列されている必要はなく、例えば、千鳥配置等されていてもよい。発光素子11としては、例えば、発光ダイオード(LED)、無機EL素子、有機EL素子等を用いることができる。
画素回路2は、画素回路2の配列方向の長さよりも、画素回路10の配列方向と垂直な方向の長さが長い。図1で示す画素回路2は略長方形状となっている。画素回路2は、隣接する複数の画素回路からなる複数のブロックに分割されている。具体的には、画素回路2は、互いに隣接するm個(mは2以上の整数)の画素で1ブロックとしてまとめられており、全体でNブロック(Nは2以上の整数)配置されている。さらに、各ブロックは、画素回路2の配列方向と同じ方向に一列に配列されている。
本実施形態では1ブロックを構成する画素回路2の数に対応して、データ信号を伝送するデータ線3がm本並んでいる。データ線3と画素回路2は引き出し線12により接続されている。本実施形態では、一本のデータ線3にブロック数に対応したN本の引き出し線12が接続されており、データ信号が各ブロックの画素回路2に供給される。本実施形態では、データ線3は、画素回路2の配列方向に延伸し、引き出し線12は、画素回路2の配列方向と垂直な方向に延伸している。
クロック信号CK、CKBやゲート信号ST、P等の制御信号が走査回路4に入力され、ブロック毎に走査線8に走査信号を出力し、画素回路2に走査信号を供給する。走査回路4内にはシフトレジスタを含み、走査信号がブロック単位でタイミングをシフトして出力される。走査回路4内のシフトレジスタは、画素回路2の配列方向に信号が進むように配置されている。なお、図1では1本の走査線8により1種の走査信号を画素回路2に入力する構成となっているが、走査線8の数は、これに限るものではない。
ここで、露光光源は、面積が小さいほど量産時に多面取りでき、コストが下がるため好ましい。特に、短手方向の長さの変動は面積に及ぼす影響が大きく、この長さを少しでも短くした方が好ましい。同時に、露光光源には、プリント速度の高速化等、高速駆動も求められている。これらを実現するには、複数のデータ線で複数画素にまとめてデータを書き込むブロック駆動が好ましい。
全ての画素回路2と発光素子11へは、第一電源配線5と第二電源配線とを介して電源電圧が供給される。複数の第二電源配線は領域6Aに配置されており、領域6Aは、発光素子11や画素回路2と重なるように設けられている。第二電源配線は、この領域6Aの、データ線3、引き出し線12、画素回路2の配線と異なる層に形成されている。上記の信号や電源電圧は、各端子部7により基板1上に供給される。尚、第二電源配線は、端子部7の付近で、他の層に乗り換え、端子部7に接続している。
図1に示す様に、本発明の露光光源は、データ線3を複数含むデータ線群と、発光素子11を複数含む発光素子群と、画素回路2と走査回路4と走査線8を含む回路部が、画素回路2の配列方向と垂直な方向に沿って、この順で配置されている。回路部が画素回路2と走査回路4とを含み、かつ、データ線群が回路部と異なる領域に配置されているため、走査線8がデータ線3と交差することなく、画素回路2に接続されている。その結果、データ線3の寄生容量を低減することができる。また、本実施形態では、画素回路2と走査回路4が、発光素子11側から、画素回路2の配列方向と垂直な方向に沿って、この順で配置されている。更に、本実施形態では、回路部が第一の電圧が印加される第一電源配線5を含み、第一電源配線5は、画素回路2の走査回路4側に配置されている。そのため、引き出し線12が、第一電源配線5、走査線8、走査回路4と交差することなく、画素回路2に接続されている。その結果、引き出し線12の寄生容量を低減することができる。尚、引き出し線12は、領域6Aにおいて第二電源配線と交差しているが、例えば、その間に平坦化膜を設け、引き出し線12と第二電源配線との層間の間隔を離す等により、寄生容量を小さくすることができる。
また、本発明の露光光源は、データ線群と回路部の間に発光素子群を配置しているため、画素回路2の配列方向と垂直な方向の基板1の長さを短くすることができる。即ち、一般的に発光素子、特に有機EL素子は、水分や酸素と触れると劣化しやすくなるので、それらを遮断する為にキャップガラスや薄膜などの封止部材により封止を行う。その際、封止部材と基板1との接触領域として発光素子の周囲にある程度の封止スペースが必要となるが、本発明の露光光源では、発光素子群の両側のデータ線群や回路部の上に重ねて封止スペースを設けることができる。そのため、封止スペースを別途確保する必要がなく、画素回路2の配列方向と垂直な方向の基板1の長さを短くすることができる。
ここで、発光素子群の両側の領域を封止スペースとして利用するためには、発光素子11を、基板1の画素回路2の配列方向に垂直な方向の、なるべく中央に配置することが望ましい。この観点より、データ線群の、画素回路2の配列方向と垂直な方向の長さが、走査回路4、画素回路2、第一電源配線5それぞれの、画素回路2の配列方向と垂直な方向の長さよりも長いことが好ましい。即ち、画素回路2の配列方向と垂直な方向の長さがデータ線群より短い走査回路4等を、発光素子群の片側にまとめて配置することで、発光素子11をなるべく中央に配置することができる。
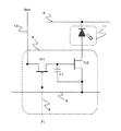
図2は画素回路2と発光素子11からなる画素の回路を示す一例図である。回路構成について説明する。画素回路2は2つのPMOSトランジスタと1つの保持容量C1から構成される。選択トランジスタであるスイッチトランジスタTr1のゲート電極に走査信号P1が入力され、ソースまたはドレインの一方にデータ線3が接続される。ソースまたはドレインの他方は、発光素子11に駆動電流を供給する駆動トランジスタTr2のゲートに接続され、Tr2のソースは第一電源配線5に、ドレインは発光素子11のアノード電極に接続される。Tr2のゲートとソース間に保持容量C1が配置され、画素回路2内に書き込まれたデータ電圧を保持する。さらに、発光素子11のカソードは全画素共通に設けられた共通電位である第二電源配線6に接続される。アノード電極、又はカソード電極のどちらか一方は、光取り出し面とするため、透明電極(例えば酸化インジウムスズ(ITO)やインジウム亜鉛酸化物(IZO)など)によって形成する。図2では、第一電源配線5に電源電圧を印加し、第二電源配線6をグランド(GND)としているが、第一電源配線5をGNDとし第二電源配線6に電源電圧に印加する回路構成であっても構わない。
回路動作について説明する。データ線3に該当画素に対応するデータを設定したタイミングで、スイッチングトランジスタTr1がONする。そしてデータが保持容量C1に書き込まれる。その後、Tr1がOFFすることで、データが画素回路2内に保持される。同時に、駆動トランジスタTr2のゲートソース間電圧に応じた電流がTr2から発光素子11に流れる。本実施形態では、画素回路2はPMOSで構成された例を示したが、このトランジスタ(Tr)極性に限定されない。具体的には、NMOSの単チャンネルで構成した回路や、NMOSおよびPMOSが混在した回路でも良い。
上記実施形態では、発光素子の種類について限定はしていないが、本発明は、有機EL素子の点灯を制御する露光光源に好適に用いられるものである。
〔第二の実施形態〕
図3を用いて、本発明の露光光源の他の例ついて説明する。図3は本実施形態にかかる露光光源の構成を示す概略図である。
本実施形態では、端子部7と走査回路4の間に、保護素子10としてESD(静電気放電)保護素子を有し、静電気により走査回路4が破壊されることを防いでいる。また、ショートリング9を有し、端子部7同士を低抵抗な配線で接続して同電位になるようにし、製造過程での静電気から基板1を保護している。尚、ショートリング9は、完成時には、基板1の端部である切断ラインで切断され、各端子部7間が分離される。
図3に示す様に、端子部7は、画素領域(画素回路2と発光素子11からなる画素が配置された領域)外であって、画素領域の、画素回路2の配列方向と垂直な方向の延長線上の領域外に、画素回路2の配列方向に沿って配置されている。また、端子部7は、データ線3に接続された第1の端子部群7aと、走査回路4に接続された第2の端子部群7bとを有し、第1の端子部群7aは、第2の端子部群7bの画素回路2側に配置されている。
データ線3は、第1の端子部群7aから、画素回路2の配列方向と垂直な方向に延伸し、垂直に折れ曲がって、画素領域の、画素回路2の配列方向と垂直な方向の延長線上の領域では、画素回路2の配列方向に延伸する。また、走査回路4と第2の端子部群7bとを保護素子10を介して接続する信号線13は、第2の端子部群7bから、画素回路2の配列方向と垂直な方向であって、第1の端子部群7aからデータ線3が延伸する方向と反対の方向に延伸している。その結果、第1の端子部群7aの、第1の端子部群7aからデータ線3が延伸する方向と反対側の領域(図3では、第1の端子部群7aの下側の領域)にスペースが生じる。ESD保護素子等の保護素子10は、一般的に画素回路2内のトランジスタ等と比べて非常に大きく、配置には大きな面積を必要とするが、本実施形態では、このスペースに保護素子10を配置することで、基板サイズの大型化を防止することができる。
更に、本実施形態では、ショートリング9を構成する配線が、第1の端子部群7a及び第2の端子部群7bから、画素回路2の配列方向と垂直な方向であって、第1の端子部群7aからデータ線3が延伸する方向に延伸している。一般的に、ショートリング9を構成する配線は低抵抗の配線層であるため、保護素子10を構成する配線層と同じ層に形成される。よって、ショートリング9と保護素子10を同じ場所に配置する事は、困難であるため、保護素子10を配置する領域には、ショートリング9を構成する配線を形成しない方が好ましい。但し、ショートリング9を保護素子10と全く干渉しない配線層で配線できる場合は、ショートリング9と保護素子10を重ねて配置することができるので、ショートリング9を構成する配線の延伸方向は、特に限定されない。
≪画像形成装置≫
本発明の露光光源を用いた露光ヘッドを備える画像形成装置の一実施形態を、図4を用いて説明する。画像形成装置100は、感光ドラム105と、帯電器106と、本発明の露光光源を備えた露光ヘッド107と、現像器108と、転写器109と、を備える記録ユニット104を有する。また、搬送ローラー103と、定着器110と、を有する。露光ヘッド107は、露光光源に、露光光源の発光素子が発する光を感光ドラム105に結像する結像ユニットを設けたものである。
記録ユニット104では、まず、円柱状の感光ドラム105の表面を帯電器106で均一に帯電させ、露光ヘッド107がデータに応じて発光して静電潜像を感光ドラム105に形成する。静電潜像は露光ヘッド107の感光量(照度、時間)によって制御することができる。次に、記録ユニット104では、現像器108によって静電潜像にトナーを付着させ、転写器109によって静電潜像に付着したトナーを用紙102に転写する。このようにして、記録ユニット104を介して画像データが転写された用紙102は、定着器110によってトナーが定着され、排出される。なお、用紙102が搬送ローラー103によって記録ユニット103に搬送されるタイミングは適宜設定できる。本実施形態においては、記録ユニット104が1つのモノクロ画像形成装置を例にして説明したが、それに限るものではなく、記録ユニット104を複数備えたカラー画像形成装置でもかまわない。
1:基板、2:画素回路、3:データ線、4:走査回路、5:第一電源配線、6:第二電源配線、7:端子部、8:走査線、9:ショートリング、10:保護素子、11:発光素子、12:引き出し線、13:信号線、100:画像形成装置、107:露光ヘッド

Claims (11)

  1. 一列に配列された複数の画素回路と、走査信号を出力する走査回路と、前記走査信号を前記複数の画素回路に供給する走査線と、を含む回路部と、前記複数の画素回路に接続された複数の発光素子と、引き出し線を介して前記複数の画素回路にデータ信号を供給する複数のデータ線と、を有し、
    前記複数のデータ線を含むデータ線群と、前記複数の発光素子を含む発光素子群と、前記回路部とが、前記複数の画素回路の配列方向と垂直な方向に沿って、この順で配置され
    前記回路部は、前記画素回路および前記発光素子に電源電圧を供給する複数の電源配線を更に有し、前記複数の電源配線のうち第一の電圧が印加される第一電源配線は、前記画素回路の前記走査回路側に配置されていることを特徴とする露光光源。
  2. 前記複数の画素回路と前記走査回路が、前記発光素子群側から、前記画素回路の配列方向と垂直な方向に沿って、この順で配置されていることを特徴とする請求項1に記載の露光光源。
  3. 前記複数のデータ線は、前記画素回路の配列方向に延伸し、前記引き出し線は、前記画素回路の配列方向と垂直な方向に延伸することを特徴とする請求項1または2に記載の露光光源。
  4. 前記データ線群の、前記画素回路の配列方向と垂直な方向の長さは、前記画素回路の前記長さ、前記走査回路の前記長さ、前記第一電源配線の前記長さよりも長いことを特徴とする請求項1乃至3のいずれか一項に記載の露光光源。
  5. 前記発光素子群は、千鳥配列されていることを特徴とする請求項1乃至4のいずれか一項に記載の露光光源。
  6. 前記画素回路は、前記発光素子に駆動電流を供給する駆動トランジスタと、前記データ信号を前記駆動トランジスタに供給する選択トランジスタを備え、前記駆動トランジスタは前記第一電源配線と接続し、前記選択トランジスタのゲート電極は前記走査線に接続することを特徴とする請求項1乃至5のいずれか一項に記載の露光光源。
  7. 前記複数の画素回路は、互いに隣接する複数の画素回路からなる複数のブロックに分割され、前記走査回路は、前記複数の画素回路を前記ブロック単位で走査することを特徴とする請求項1乃至6のいずれか一項に記載の露光光源。
  8. 前記走査回路に接続された保護素子と、前記画素回路の配列方向に沿って配置された複数の端子部を有し、
    前記複数の端子部は、前記複数のデータ線に接続された第1の端子部群と、前記走査回路に接続された第2の端子部群とを有し、前記第1の端子部群は、前記第2の端子部群の前記複数の画素回路側に配置されており、
    前記第2の端子部群から、前記走査回路と前記第2の端子部群とを前記保護素子を介して接続する信号線が、前記第1の端子部群から前記データ線が延伸する方向と反対の方向に延伸し、
    前記保護素子は、前記第1の端子部群の、前記第1の端子部群から前記データ線が延伸する方向と反対側の領域に配置されていることを特徴とする請求項1乃至7のいずれか一項に記載の露光光源。
  9. 前記第1の端子部群及び第2の端子部群から、ショートリングを構成する配線が、前記第1の端子部群から前記データ線が延伸する方向に延伸していることを特徴とする請求項8に記載の露光光源。
  10. 請求項1乃至9のいずれか一項に記載の露光光源を備えることを特徴とする露光ヘッド。
  11. 請求項10に記載の露光ヘッドを備えることを特徴とする画像形成装置。
JP2013181015A 2013-09-02 2013-09-02 露光光源及び画像形成装置 Active JP6210801B2 (ja)

Priority Applications (2)

Application Number Priority Date Filing Date Title
JP2013181015A JP6210801B2 (ja) 2013-09-02 2013-09-02 露光光源及び画像形成装置
US14/473,943 US9172837B2 (en) 2013-09-02 2014-08-29 Light source for exposure and image forming apparatus

Applications Claiming Priority (1)

Application Number Priority Date Filing Date Title
JP2013181015A JP6210801B2 (ja) 2013-09-02 2013-09-02 露光光源及び画像形成装置

Publications (2)

Publication Number Publication Date
JP2015047780A JP2015047780A (ja) 2015-03-16
JP6210801B2 true JP6210801B2 (ja) 2017-10-11

Family

ID=52582864

Family Applications (1)

Application Number Title Priority Date Filing Date
JP2013181015A Active JP6210801B2 (ja) 2013-09-02 2013-09-02 露光光源及び画像形成装置

Country Status (2)

Country Link
US (1) US9172837B2 (ja)
JP (1) JP6210801B2 (ja)

Family Cites Families (13)

* Cited by examiner, † Cited by third party
Publication number Priority date Publication date Assignee Title
KR960007914B1 (ko) * 1992-12-26 1996-06-15 엘지전자 주식회사 밀착 영상 센서
JPH11274569A (ja) * 1998-03-24 1999-10-08 Canon Inc Led装置、及びこれを用いた光源、画像形成装置、画像読み取り装置
JP4793414B2 (ja) * 2004-07-27 2011-10-12 セイコーエプソン株式会社 発光装置
JP2006123493A (ja) * 2004-09-30 2006-05-18 Seiko Epson Corp ラインヘッド及び画像形成装置
WO2007010816A1 (ja) * 2005-07-19 2007-01-25 Matsushita Electric Industrial Co., Ltd. 露光装置
JP4645580B2 (ja) * 2006-11-22 2011-03-09 カシオ計算機株式会社 露光装置およびそれを備える画像形成装置
JP2009109521A (ja) * 2007-10-26 2009-05-21 Sony Corp 表示装置、表示装置の駆動方法および電子機器
JP5217500B2 (ja) * 2008-02-28 2013-06-19 ソニー株式会社 El表示パネルモジュール、el表示パネル、集積回路装置、電子機器及び駆動制御方法
JP2010113229A (ja) * 2008-11-07 2010-05-20 Sony Corp 表示装置と電子機器
JP5493386B2 (ja) * 2009-02-25 2014-05-14 富士ゼロックス株式会社 露光装置、画像形成装置、露光制御プログラム
JP5126185B2 (ja) * 2009-08-26 2013-01-23 カシオ計算機株式会社 塗布装置
JP2011060483A (ja) * 2009-09-08 2011-03-24 Canon Inc 有機el表示装置
JP6159965B2 (ja) * 2012-07-31 2017-07-12 株式会社Joled 表示パネル、表示装置ならびに電子機器

Also Published As

Publication number Publication date
JP2015047780A (ja) 2015-03-16
US9172837B2 (en) 2015-10-27
US20150062669A1 (en) 2015-03-05

Similar Documents

Publication Publication Date Title
US7872264B2 (en) Light-emitting device and electronic apparatus
US8665191B2 (en) Organic light emitting display
CN113540172A (zh) 显示装置
US20090002287A1 (en) Light-emitting device and image forming apparatus
CN100470609C (zh) 发光装置、图象形成装置及电子机器
KR20200051093A (ko) 화소, 이를 포함한 표시 장치, 및 표시 장치의 제조 방법
US9250559B2 (en) Printing apparatus
KR100705427B1 (ko) 프린터 헤드 및 이를 구비한 화상 형성 장치
CN101011888B (zh) 光头及图像形成装置
JP6210801B2 (ja) 露光光源及び画像形成装置
JP2015041453A (ja) 発光素子の駆動回路、露光ヘッド及び画像形成装置
JP2006100071A (ja) 電気光学装置、画像形成装置および画像読み取り装置
CN103105758B (zh) 打印设备
JP6223126B2 (ja) 発光素子の駆動回路、露光ヘッド及び画像形成装置
JP4581692B2 (ja) 有機発光ダイオード装置、画像形成装置および画像読み取り装置
US7942547B2 (en) Light emitting device and electronic apparatus
US20120081499A1 (en) Print head and image-forming apparatus
JP4513493B2 (ja) プリンタヘッド、及びこれを備えた画像形成装置、並びにプリンタヘッド用駆動回路
JP4424142B2 (ja) 有機発光ダイオード装置、画像形成装置および画像読み取り装置
JP4752412B2 (ja) 光ヘッド、その駆動方法および画像形成装置
WO2025262791A1 (ja) 発光装置、プリントヘッド、プリンタ
JP2007212912A (ja) 発光装置および電子機器
JP2007210266A (ja) 電気光学装置および電子機器
JP2011011423A (ja) 発光装置とその製造方法と画像形成装置
JP2006107754A (ja) 電気光学装置、画像形成装置および画像読み取り装置

Legal Events

Date Code Title Description
A621 Written request for application examination

Free format text: JAPANESE INTERMEDIATE CODE: A621

Effective date: 20160704

A977 Report on retrieval

Free format text: JAPANESE INTERMEDIATE CODE: A971007

Effective date: 20170424

A131 Notification of reasons for refusal

Free format text: JAPANESE INTERMEDIATE CODE: A131

Effective date: 20170530

A521 Request for written amendment filed

Free format text: JAPANESE INTERMEDIATE CODE: A523

Effective date: 20170728

TRDD Decision of grant or rejection written
A01 Written decision to grant a patent or to grant a registration (utility model)

Free format text: JAPANESE INTERMEDIATE CODE: A01

Effective date: 20170815

A61 First payment of annual fees (during grant procedure)

Free format text: JAPANESE INTERMEDIATE CODE: A61

Effective date: 20170912

R151 Written notification of patent or utility model registration

Ref document number: 6210801

Country of ref document: JP

Free format text: JAPANESE INTERMEDIATE CODE: R151