JP6190332B2 - refrigerator - Google Patents

refrigerator Download PDF

Info

Publication number
JP6190332B2
JP6190332B2 JP2014145745A JP2014145745A JP6190332B2 JP 6190332 B2 JP6190332 B2 JP 6190332B2 JP 2014145745 A JP2014145745 A JP 2014145745A JP 2014145745 A JP2014145745 A JP 2014145745A JP 6190332 B2 JP6190332 B2 JP 6190332B2
Authority
JP
Japan
Prior art keywords
freshness
keeping
fat
volatile
component
Prior art date
Legal status (The legal status is an assumption and is not a legal conclusion. Google has not performed a legal analysis and makes no representation as to the accuracy of the status listed.)
Expired - Fee Related
Application number
JP2014145745A
Other languages
Japanese (ja)
Other versions
JP2016023810A (en
JP2016023810A5 (en
Inventor
真子 國分
真子 國分
船山 敦子
敦子 船山
Current Assignee (The listed assignees may be inaccurate. Google has not performed a legal analysis and makes no representation or warranty as to the accuracy of the list.)
Hitachi Global Life Solutions Inc
Original Assignee
Hitachi Appliances Inc
Priority date (The priority date is an assumption and is not a legal conclusion. Google has not performed a legal analysis and makes no representation as to the accuracy of the date listed.)
Filing date
Publication date
Application filed by Hitachi Appliances Inc filed Critical Hitachi Appliances Inc
Priority to JP2014145745A priority Critical patent/JP6190332B2/en
Priority to CN201510079780.8A priority patent/CN105318624B/en
Publication of JP2016023810A publication Critical patent/JP2016023810A/en
Publication of JP2016023810A5 publication Critical patent/JP2016023810A5/ja
Application granted granted Critical
Publication of JP6190332B2 publication Critical patent/JP6190332B2/en
Expired - Fee Related legal-status Critical Current
Anticipated expiration legal-status Critical

Links

Images

Landscapes

  • Cold Air Circulating Systems And Constructional Details In Refrigerators (AREA)

Description

本発明は食品や飲料水等を冷蔵或いは冷凍して貯留する冷蔵庫に係り、特に鮮度保持成分を放出する鮮度保持成分放出カセットを備えた冷蔵庫に関するものである。   The present invention relates to a refrigerator that stores food, drinking water, and the like by refrigeration or freezing, and particularly relates to a refrigerator that includes a freshness-keeping component discharge cassette that discharges freshness-keeping components.

冷蔵庫は断熱性の箱体内部の上部に冷蔵室、中間部に冷凍室、下部に野菜室を配置し、それぞれの貯蔵室同士を熱の移動が少ないように断熱仕切壁により区画されている。更に、最近の冷蔵庫では上述した貯蔵室とは別に生肉、生魚等の動物性食品やサラダ等の調理済みの野菜を貯蔵する減圧可能な減圧貯蔵室を設けたものが知られている。この減圧貯蔵室は真空ポンプによって減圧されることで、減圧貯蔵室の酸素濃度を減少して食品の酸化防止と鮮度保持を図るようにしている。そして、更に食品の貯蔵性能を向上するために、この減圧貯蔵室に抗酸化成分剤等の鮮度保持成分剤を封入したカセットを設けることが提案されている。   The refrigerator has a refrigerator compartment in the upper part of the heat insulating box, a freezer compartment in the middle, and a vegetable compartment in the lower part, and the storage compartments are partitioned by a heat insulating partition wall so that heat transfer is small. Furthermore, in recent refrigerators, in addition to the above-described storage rooms, there is known a vacuum storage room that can be decompressed to store animal foods such as raw meat and raw fish and cooked vegetables such as salads. The decompression storage chamber is decompressed by a vacuum pump, so that the oxygen concentration in the decompression storage chamber is reduced to prevent food from being oxidized and to maintain freshness. In order to further improve the storage performance of food, it has been proposed to provide a cassette in which a freshness-keeping component agent such as an antioxidant component agent is enclosed in the decompression storage chamber.

例えば、特開2009−222287号公報(特許文献1)には、冷蔵庫内に形成される減圧貯蔵室に抗酸化成分剤を充填、内包した抗酸化成分放出カセットを配置し、抗酸化成分剤として大気圧状態の基で抗酸化成分の放出がされず、大気圧より低い圧力状態の基で抗酸化成分が放出される抗酸化成分剤を用いることが提案されている。   For example, in JP 2009-222287 A (Patent Document 1), an anti-oxidant component release cassette filled with and encapsulated with an anti-oxidant component agent is disposed in a vacuum storage chamber formed in a refrigerator, and used as an anti-oxidant component agent. It has been proposed to use an antioxidant component agent that does not release an antioxidant component under an atmospheric pressure group but releases an antioxidant component under a pressure state lower than atmospheric pressure.

特開2009−222287号公報JP 2009-222287 A

ところで、この種の抗酸化成分は一般的には揮発性能が高い揮発性鮮度保持剤を使用している。この揮発性鮮度保持剤の充填量は、冷蔵庫の使用期間等を考慮して決定されており、冷蔵庫の使用期間が長くなると、これに伴って使用される揮発性鮮度保持剤の充填量が多くなる。加えて、この揮発性鮮度保持剤は揮発性が強いので余計に充填量が必要である。しかしながら、この揮発性鮮度保持剤は値段が高価であり、多くの量の揮発性鮮度保持剤を使用することは好ましくないという課題があった。このため、この揮発性鮮度保持剤の機能を維持しながら、その充填量を低減することが強く求められている。   By the way, this type of antioxidant component generally uses a volatile freshness-preserving agent having high volatility. The filling amount of the volatile freshness-keeping agent is determined in consideration of the usage period of the refrigerator, etc. When the usage period of the refrigerator becomes longer, the filling amount of the volatile freshness-keeping agent used is increased. Become. In addition, since this volatile freshness-keeping agent is highly volatile, an extra filling amount is required. However, the volatile freshness-keeping agent is expensive, and there is a problem that it is not preferable to use a large amount of the volatile freshness-keeping agent. For this reason, it is strongly required to reduce the filling amount while maintaining the function of the volatile freshness-keeping agent.

一方、減圧貯蔵室には調理済みの野菜や、鶏肉、牛肉等の切り身の生肉、或いは刺身等の生魚が貯蔵されるが、生魚、生肉等においては脂質成分が多く、この脂質成分の抗酸化作用を向上することも併せて求められている。このためには、脂質成分の抗酸化機能を有する脂溶性抗酸化成分剤を用いることが考えられる。しかしながら、この脂質成分の抗酸化機能を有する脂溶性抗酸化剤は一般的に揮発しづらく、低い温度に維持された減圧貯蔵室内で充分な脂質成分の抗酸化作用を発揮することができないという課題があった。また、揮発性鮮度保持剤を収納したカセットと、脂溶性抗酸化剤を収納したカセットの2つのカセットを減圧貯蔵室内に設置することは製品コストを上昇させる、減圧貯蔵室の収納量の減少を生じる等の問題も併せ生じることになる。   On the other hand, cooked vegetables, raw meat such as chicken and beef, or raw fish such as sashimi are stored in the vacuum storage room, but there are many lipid components in raw fish, raw meat, etc., and this lipid component is antioxidant. It is also required to improve the action. For this purpose, it is conceivable to use a fat-soluble antioxidant component agent having an antioxidant function of the lipid component. However, the fat-soluble antioxidant having the antioxidant function of this lipid component is generally difficult to volatilize and cannot exhibit sufficient antioxidant effect of the lipid component in a vacuum storage chamber maintained at a low temperature. was there. In addition, installing two cassettes, one containing a volatile freshness-keeping agent and the other containing a fat-soluble antioxidant, in the vacuum storage chamber increases product costs and reduces the storage capacity of the vacuum storage chamber. Problems such as this will also occur.

本発明の目的は、揮発性鮮度保持剤の揮発放出量を抑制することで揮発性鮮度保持剤の充填量を少なくすることができ、更に、脂溶性抗酸化剤の放出性能を向上して脂質成分の抗酸化作用を発揮することができる新規な鮮度保持成分放出カセットを備えた冷蔵庫を提供することにある。   An object of the present invention is to reduce the amount of volatile freshness-keeping agent filled by suppressing the amount of volatile freshness-keeping agent released by volatilization. An object of the present invention is to provide a refrigerator provided with a novel freshness-keeping component release cassette capable of exerting the antioxidant action of components.

本発明の特徴は、揮発性鮮度保持剤(抗酸化剤、或いは抗菌剤、或いはこれらを混合した混合剤)と、揮発性鮮度保持剤の鮮度保持成分の揮発を抑制する量の脂溶性抗酸化剤を混合した混合鮮度保持剤をガス透過性の第1の収納体に収納し、この第1の収納体をガス非透過性の第2の収納体に収納すると共に、第2の収納体の内部と外部とを連通する放出制御部によって混合鮮度保持剤から揮発性の鮮度保持成分と脂溶性抗酸化成分を放出する、ところにある。   The feature of the present invention is that a volatile freshness-keeping agent (antioxidant, antibacterial agent, or a mixture thereof) and a fat-soluble antioxidant in an amount that suppresses volatilization of the freshness-holding component of the volatile freshness-keeping agent. The mixed freshness maintaining agent mixed with the agent is stored in the gas permeable first storage body, the first storage body is stored in the gas non-permeable second storage body, and the second storage body The release control unit that communicates the inside and the outside releases the volatile freshness-keeping component and the fat-soluble antioxidant component from the mixed freshness-keeping agent.

本発明によれば、脂溶性抗酸化剤によって揮発性鮮度保持剤の鮮度保持成分の揮発性能を抑制することで、揮発性鮮度保持剤の充填量を低減することが可能となる。更に、脂溶性抗酸化剤の脂溶性抗酸化成分の放出性能を揮発性鮮度保持剤の鮮度保持成分によって改善することで、脂質成分の抗酸化作用を向上することができる。   According to the present invention, it is possible to reduce the filling amount of the volatile freshness-keeping agent by suppressing the volatility performance of the freshness-keeping component of the volatile freshness-keeping agent with the fat-soluble antioxidant. Furthermore, the antioxidant effect | action of a lipid component can be improved by improving the discharge | release performance of the fat-soluble antioxidant component of a fat-soluble antioxidant with the freshness-keeping component of a volatile freshness-keeping agent.

本発明が適用される冷蔵庫の正面図である。It is a front view of the refrigerator with which this invention is applied. 図1に示す冷蔵室の縦断面図である。It is a longitudinal cross-sectional view of the refrigerator compartment shown in FIG. 図1に示す冷蔵庫の扉を開けた状態の背面部を示す正面図である。It is a front view which shows the back part of the state which opened the door of the refrigerator shown in FIG. 減圧貯蔵室の構成を示す斜視図である。It is a perspective view which shows the structure of a decompression storage chamber. 図4に示す減圧貯蔵室の内部を示す斜視図である。It is a perspective view which shows the inside of the decompression storage chamber shown in FIG. 混合鮮度保持剤収納体の斜視図である。It is a perspective view of a mixed freshness-keeping agent container. 図6に示す混合鮮度保持剤収納体を長手方向に沿って断面した断面図である。FIG. 7 is a cross-sectional view of the mixed freshness-keeping agent container shown in FIG. 6 taken along the longitudinal direction. 図6に示す混合鮮度保持剤収納体の上面図である。FIG. 7 is a top view of the mixed freshness-keeping agent container shown in FIG. 6. 図8の混合鮮度保持剤収納体をX-X面で断面した断面図である。FIG. 9 is a cross-sectional view of the mixed freshness-keeping agent container of FIG. 8 taken along the XX plane. 図8の混合鮮度保持剤収納体をY-Y面で断面した断面図である。FIG. 9 is a cross-sectional view of the mixed freshness-keeping agent container of FIG. 8 taken along the YY plane. 鮮度保持成分放出カセットの斜視図である。It is a perspective view of a freshness-keeping component release cassette. 混合鮮度保持剤の量が異なる2つの混合鮮度保持剤収納体を、減圧貯蔵室に設置した状態及び大気圧下に設置した状態での鮮度保持成分の放出量を示したものである。The amount of freshness-keeping components released when two mixed freshness-keeping agent storage bodies having different mixed freshness-keeping agents are installed in a vacuum storage chamber and under atmospheric pressure is shown. 揮発性鮮度保持剤と混合鮮度保持剤の揮発性鮮度保持成分の放出量を示したものである。The amount of volatile freshness-keeping components released by the volatile freshness-keeping agent and the mixed freshness-keeping agent is shown. 減圧貯蔵室に揮発性鮮度保持剤と混合鮮度保持剤を設置した場合の減圧貯蔵室に保存された鶏肉のK値の変化を比較した図である。It is the figure which compared the change of K value of the chicken preserve | saved at the vacuum storage room at the time of installing a volatile freshness preservation agent and a mixed freshness preservation agent in a vacuum storage room. 減圧貯蔵室に揮発性鮮度保持剤と混合鮮度保持剤を設置した場合の減圧貯蔵室に保存されたアジのDHAの変化を比較した図である。It is the figure which compared the change of the DHA of the horse mackerel preserve | saved at the vacuum storage chamber at the time of installing a volatile freshness keeping agent and a mixed freshness keeping agent in a vacuum storage chamber.

以下、本発明の実施形態について図面を用いて詳細に説明するが、本発明は以下の実施形態に限定されることなく、本発明の技術的な概念の中で種々の変形例や応用例をもその範囲に含むものである。   Hereinafter, embodiments of the present invention will be described in detail with reference to the drawings. However, the present invention is not limited to the following embodiments, and various modifications and application examples are included in the technical concept of the present invention. Is also included in the range.

本発明の具体的な実施例を説明する前に、本発明が適用される冷蔵庫の構成を図1乃至図3に基づいて説明する。図1は冷蔵庫の正面外観図であり、図2は図1の縦断面を示す断面図である。尚、図2においては製氷室の断面は示されていない。   Before describing specific embodiments of the present invention, the configuration of a refrigerator to which the present invention is applied will be described with reference to FIGS. FIG. 1 is a front external view of the refrigerator, and FIG. 2 is a cross-sectional view showing a longitudinal cross section of FIG. In FIG. 2, the cross section of the ice making chamber is not shown.

図1、及び図2において、冷蔵庫1は、上方から冷蔵室2、製氷室3及び上部冷凍室4、下部冷凍室5、野菜室6を有する。ここで、製氷室3と上部冷凍室4は、冷蔵室2と下部冷凍室5との間に左右に並べて設けている。尚、上部冷凍室4は下部冷凍室5より容積が小さく形成されており、少量の食品が冷凍、貯蔵されるものである。   1 and 2, the refrigerator 1 includes a refrigerator room 2, an ice making room 3, an upper freezer room 4, a lower freezer room 5, and a vegetable room 6 from above. Here, the ice making chamber 3 and the upper freezer compartment 4 are provided side by side between the refrigerator compartment 2 and the lower freezer compartment 5. The upper freezer compartment 4 has a smaller volume than the lower freezer compartment 5, and a small amount of food is frozen and stored.

そして、各貯蔵室の温度は、一例として、冷蔵室2はおよそ+3℃、野菜室6はおよそ+3℃〜+7℃の冷蔵温度帯の貯蔵室である。また、製氷室3、上部冷凍室4及び下部冷凍室5は、およそ−18℃の冷凍温度帯の貯蔵室である。ここで、減圧貯蔵室は冷蔵室2の最下端に形成されている。   As an example, the temperature of each storage room is a storage room having a refrigeration temperature range of about + 3 ° C. for the refrigeration room 2 and about + 3 ° C. to + 7 ° C. for the vegetable room 6. Further, the ice making room 3, the upper freezing room 4, and the lower freezing room 5 are storage rooms in a freezing temperature zone of approximately −18 ° C. Here, the decompression storage chamber is formed at the lowest end of the refrigerator compartment 2.

冷蔵室2は前方側に、左右に分割された観音開き(いわゆるフレンチ型)の冷蔵室扉2a、2bを備えている。製氷室3、上部冷凍室4、下部冷凍室5、野菜室6は夫々引き出し式の製氷室扉3a、上部冷凍室扉4a、下部冷凍室扉5a、野菜室扉6aを備えている。   The refrigerating room 2 is provided with a folding door (so-called French type) refrigerating room doors 2a and 2b divided into left and right sides on the front side. The ice making room 3, the upper freezing room 4, the lower freezing room 5, and the vegetable room 6 are each provided with a drawer type ice making room door 3a, an upper freezing room door 4a, a lower freezing room door 5a, and a vegetable room door 6a.

また、各扉の貯蔵室側の面には、各扉の外縁に沿うように磁石が内蔵されたパッキン(図示せず)を設けており、各扉の閉鎖時、鉄板で形成された冷蔵庫外箱のフランジや後述の各仕切り鉄板に密着し貯蔵室内への外気の侵入、及び貯蔵室からの冷気の漏れを抑制する構成とされている。   In addition, a packing (not shown) with magnets built in along the outer edge of each door is provided on the surface of each door on the storage room side. When each door is closed, the outside of the refrigerator formed of an iron plate is provided. It is set as the structure which closely_contact | adheres to the flange of a box and each partition iron plate mentioned later, and the penetration | invasion of the external air into a storage chamber, and the leak of the cold air from a storage chamber.

ここで、図2に示すように冷蔵庫本体10の下部には機械室11が形成され、この中に圧縮機12が内蔵されている。冷却器収納室13と機械室11には水抜き通路14によって連通され、冷却器26の除霜水が排出できるようになっている。   Here, as shown in FIG. 2, the machine room 11 is formed in the lower part of the refrigerator main body 10, and the compressor 12 is incorporated in this. The cooler storage chamber 13 and the machine chamber 11 are communicated with each other by a drain passage 14 so that defrost water from the cooler 26 can be discharged.

図2に示すように、冷蔵庫本体10の庫外と庫内は、内箱と外箱との間に発泡断熱材(発泡ポリウレタン)を充填することにより形成される断熱箱体15により隔てられている。また冷蔵庫本体10の断熱箱体15は複数の真空断熱材16を実装している。冷蔵庫本体10は、上側断熱仕切壁17により冷蔵室2と上部冷凍室4及び製氷室3(図1参照、図2中で製氷室3は図示されていない)とが区画され、下側断熱仕切壁18により下部冷凍室5と野菜室6とが区画されている。   As shown in FIG. 2, the outside of the refrigerator body 10 and the inside of the refrigerator are separated by a heat insulating box 15 formed by filling a foam heat insulating material (foamed polyurethane) between the inner box and the outer box. Yes. Further, the heat insulating box 15 of the refrigerator body 10 has a plurality of vacuum heat insulating materials 16 mounted thereon. The refrigerator body 10 is divided into a refrigerator compartment 2, an upper freezer compartment 4, and an ice making chamber 3 (see FIG. 1, the ice making chamber 3 is not shown in FIG. 2) by an upper heat insulating partition wall 17. A lower freezer compartment 5 and a vegetable compartment 6 are partitioned by a wall 18.

冷蔵室2の最下端で上側断熱仕切壁17の上面には減圧貯蔵室82が配置されており、この減圧貯蔵室82内の食品を取り出すために減圧貯蔵室扉を引き出す時に大気圧に戻され、減圧貯蔵室扉を元に戻して冷蔵室扉2a、2bを閉じて所定時間経過すると真空ポンプが作動して減圧貯蔵室82を減圧するものである。この減圧貯蔵室82については後で説明する。   A vacuum storage chamber 82 is disposed at the lowermost end of the refrigerator compartment 2 and on the upper surface of the upper heat insulating partition wall 17. When the vacuum storage chamber door is pulled out to take out food in the vacuum storage chamber 82, the pressure is returned to atmospheric pressure. The decompression storage chamber door is returned to its original position, and the refrigeration chamber doors 2a and 2b are closed. When a predetermined time has elapsed, the vacuum pump is activated to decompress the decompression storage chamber 82. The decompression storage chamber 82 will be described later.

また、下部冷凍室5の上部には横仕切部を設けている。横仕切部は、製氷室3及び上部冷凍室4と下部冷凍室5とを上下方向に仕切っている。また、横仕切部の上部には、製氷室3と上部冷凍室4との間を左右方向に仕切る縦仕切部を設けている。   In addition, a horizontal partition is provided in the upper part of the lower freezer compartment 5. The horizontal partitioning part partitions the ice making room 3 and the upper freezing room 4 and the lower freezing room 5 in the vertical direction. Moreover, the vertical partition part which partitions off between the ice-making room 3 and the upper freezer compartment 4 in the left-right direction is provided in the upper part of the horizontal partition part.

横仕切部は、下側断熱仕切壁18の前面及び左右側壁前面と共に、下部冷凍室扉5aの貯蔵室側の面に設けたパッキン(図示せず)と接触する。製氷室扉3aと上部冷凍室扉4aの貯蔵室側の面に設けたパッキン(図示せず)は、横仕切部、縦仕切部、上側断熱仕切壁51及び冷蔵庫本体1の左右側壁前面と接することで、各貯蔵室と各扉との間での冷気の移動をそれぞれ抑制している。   A horizontal partition part contacts the packing (not shown) provided in the surface at the side of the storage room of the lower freezer compartment door 5a with the front surface of the lower heat insulation partition wall 18, and the front surface of the left and right side walls. Packings (not shown) provided on the storage room side surfaces of the ice making room door 3a and the upper freezing room door 4a are in contact with the horizontal partition, the vertical partition, the upper heat insulating partition wall 51, and the front surfaces of the left and right side walls of the refrigerator body 1. Thus, the movement of cold air between each storage room and each door is suppressed.

図2に示すように、上部冷凍室4、下部冷凍室5及び野菜室6は、それぞれの貯蔵室の前方に備えられた扉4a、5a、6aが取り付けられている。また、上部冷凍室4には上部冷凍貯蔵容器41が収納、配置され、下部冷凍室5には上段冷凍貯蔵容器61、下段冷凍貯蔵容器62が収納、配置されている。更に、野菜室6には上段野菜貯蔵容器71、下段野菜貯蔵容器72が収納、配置されている。   As shown in FIG. 2, the upper freezer compartment 4, the lower freezer compartment 5, and the vegetable compartment 6 are attached with doors 4a, 5a, 6a provided in front of the respective storage compartments. The upper freezer compartment 4 houses and arranges an upper frozen storage container 41, and the lower freezer compartment 5 houses and arranges an upper frozen storage container 61 and a lower frozen storage container 62. Further, an upper vegetable storage container 71 and a lower vegetable storage container 72 are stored and arranged in the vegetable compartment 6.

そして、製氷室扉3a、上部冷凍室扉4a、下部冷凍室扉5a及び野菜室扉6aは、それぞれ図示しない取手部に手を掛けて手前側に引き出すことにより、製氷貯蔵容器3b(図示せず)、上部冷凍貯蔵容器41、下段冷凍貯蔵容器62、下段野菜貯蔵容器72が引き出せるようになっている。   Then, the ice making room door 3a, the upper freezing room door 4a, the lower freezing room door 5a, and the vegetable room door 6a are each put on a handle portion (not shown) and pulled out to the front side, thereby making an ice making storage container 3b (not shown). ), The upper frozen storage container 41, the lower frozen storage container 62, and the lower vegetable storage container 72 can be pulled out.

詳しくは、下段冷凍貯蔵容器62は冷凍室扉内壁に取り付けられた支持アーム5dに下段冷凍貯蔵容器62の側面上部のフランジ部が懸架されており、冷凍室扉5aを引き出すと同時に下段冷凍貯蔵容器62のみが引き出される。上段冷凍貯蔵容器61は冷凍室5の側面壁に形成された凹凸部(図示しない)に載置されており前後方向にスライド可能になっている。   Specifically, the lower-stage frozen storage container 62 has a flange portion at the upper side of the lower-stage frozen storage container 62 suspended on a support arm 5d attached to the inner wall of the freezer compartment door. Only 62 is withdrawn. The upper frozen storage container 61 is placed on an uneven portion (not shown) formed on the side wall of the freezer compartment 5 and is slidable in the front-rear direction.

下段野菜貯蔵容器72も同様にフランジ部が野菜室扉6aの内壁に取り付けられた支持アーム6dに懸架され、上段野菜貯蔵容器71は野菜室側面壁の凹凸部に載置されている。また、この野菜室6には断熱箱体15に固定された電熱ヒーター6cが設けられており、この電熱ヒーター6cによって野菜室6の温度が冷やし過ぎにならないように、野菜の貯蔵に適した温度になるようにしている。尚、この電熱ヒーター6cは必要に応じて設けられれば良いものであるが、本実施例では野菜の貯蔵がより適した雰囲気で行えるように電熱ヒーター6cを設けるようにしている。   Similarly, the lower vegetable storage container 72 has a flange portion suspended on a support arm 6d attached to the inner wall of the vegetable compartment door 6a, and the upper vegetable storage container 71 is placed on the uneven portion of the side wall of the vegetable compartment. In addition, the vegetable room 6 is provided with an electric heater 6c fixed to the heat insulating box 15, and the temperature suitable for storing vegetables so that the temperature of the vegetable room 6 is not overcooled by the electric heater 6c. It is trying to become. The electric heater 6c may be provided as necessary, but in this embodiment, the electric heater 6c is provided so that vegetables can be stored in a more suitable atmosphere.

次に冷蔵庫の冷却方法について説明する。冷蔵庫本体1には冷却器収納室13が形成され、この中に冷却手段として冷却器19を備えている。冷却器19(一例として、フィンチューブ熱交換器)は、下部冷凍室5の背部に備えられた冷却器収納室13内に設けられている。また、冷却器収納室13内であって冷却器19の上方には送風手段として送風機20(一例として、プロペラファン)が設けられている。   Next, a method for cooling the refrigerator will be described. A refrigerator housing chamber 13 is formed in the refrigerator main body 1, and a cooler 19 is provided therein as a cooling means. The cooler 19 (for example, a fin tube heat exchanger) is provided in a cooler storage chamber 13 provided at the back of the lower freezer compartment 5. Further, a blower 20 (a propeller fan as an example) is provided as a blowing means in the cooler storage chamber 13 and above the cooler 19.

冷却器19で熱交換して冷やされた空気(以下、冷却器19で熱交換した低温の空気を「冷気」と称する)は、送風機20によって冷蔵室送風ダクト21、冷凍室送風ダクト22、及び図示しない製氷室送風ダクトを介して、冷蔵室2、製氷室3、上部冷凍室4、下部冷凍室5、野菜室6の各貯蔵室へそれぞれ送られる。   Air cooled by heat exchange in the cooler 19 (hereinafter, low-temperature air heat-exchanged by the cooler 19 is referred to as “cold air”) is sent by the blower 20 to the refrigerator compartment air duct 21, the freezer compartment air duct 22, and It is sent to each storage room of the refrigeration room 2, the ice making room 3, the upper freezing room 4, the lower freezing room 5, and the vegetable room 6 through an ice making room air duct (not shown).

各貯蔵室への送風は、冷蔵温度帯の冷蔵室2への送風量を制御する第一の送風制御手段(以下、冷蔵室ダンパ23という)と、冷凍温度帯の冷凍室4、5への送風量を制御する第二の送風量制御手段(以下、冷凍室ダンパ24という)とにより制御される。ちなみに、冷蔵室2、製氷室3、上部冷凍室4、下部冷凍室5、及び野菜室6への各送風ダクトは、図3に破線で示すように冷蔵庫本体1の各貯蔵室の背面側に設けられている。具体的には、冷蔵室ダンパ23が開状態、冷凍室ダンパ24が閉状態のときには、冷気は、冷蔵室送風ダクト21を経て多段に設けられた吹き出し口25から冷蔵室2に送られる。   The blast to each storage room is sent to the first blast control means (hereinafter referred to as the refrigeration room damper 23) for controlling the amount of air sent to the refrigeration room 2 in the refrigeration temperature zone, and to the freezing rooms 4 and 5 in the refrigeration temperature zone. It is controlled by second air flow control means (hereinafter referred to as freezer compartment damper 24) that controls the air flow. Incidentally, the air ducts to the refrigerator compartment 2, the ice making room 3, the upper freezer room 4, the lower freezer room 5, and the vegetable room 6 are arranged on the back side of each storage room of the refrigerator body 1 as shown by broken lines in FIG. Is provided. Specifically, when the refrigerator compartment damper 23 is in the open state and the freezer compartment damper 24 is in the closed state, the cold air is sent to the refrigerator compartment 2 from the outlets 25 provided in multiple stages via the refrigerator compartment air duct 21.

また、冷蔵室2を冷却した冷気は、冷蔵室2の下部に設けられた冷蔵室戻り口26から冷蔵室−野菜室連通ダクト27を経て、下側断熱仕切壁18の下部右奥側に設けた野菜室吹き出し口28から野菜室6へ送風される。野菜室6からの戻り冷気は、下側断熱仕切壁18の下部前方に設けられた野菜室戻りダクト入口29から野菜室戻りダクト30を経て、野菜室戻りダクト出口から冷却器収納室13の下部に戻る。尚、別の構成として冷蔵室−野菜室連通ダクト27を野菜室6へ連通せずに、図3において冷却器収納室13の上面から見て、右側下部に戻す構成としてもよい。この場合の一例として、冷蔵室−野菜室連通ダクト27の前方投影位置に野菜室送風ダクトを配置して、冷却器19で熱交換した冷気を、野菜室吹き出し口28から野菜室6へ直接送風するようになる。   The cold air that has cooled the refrigerator compartment 2 is provided on the lower right rear side of the lower heat insulating partition wall 18 from the refrigerator compartment return port 26 provided in the lower part of the refrigerator compartment 2 through the refrigerator compartment-vegetable compartment communication duct 27. The air is blown from the vegetable room outlet 28 to the vegetable room 6. The return cold air from the vegetable compartment 6 passes from the vegetable compartment return duct inlet 29 provided in front of the lower part of the lower heat insulating partition wall 18 through the vegetable compartment return duct 30 and from the vegetable compartment return duct outlet to the lower part of the cooler storage compartment 13. Return to. In addition, it is good also as a structure which returns to the lower right side seeing from the upper surface of the cooler storage chamber 13 in FIG. As an example in this case, a vegetable room air duct is arranged at the front projection position of the refrigerator compartment-vegetable room communication duct 27, and the cold air heat-exchanged by the cooler 19 is directly blown from the vegetable room outlet 28 to the vegetable room 6. To come.

図2、図3に示すように、冷却器収納室13の前方には、各貯蔵室と冷却器収納室13との間を仕切る仕切部材31が設けられている。仕切部材31には、図3にあるように上下に一対の吹き出し口32a、32b、33a、33bが形成されており、冷凍室ダンパ24が開状態のとき、冷却器19で熱交換された冷気が送風機20により図示を省略した製氷室送風ダクトや上段冷凍室送風ダクト34を経て吹き出し口32a、32bからそれぞれ製氷室3、上部冷凍室4へ送風される。また、下段冷凍室送風ダクト35を経て吹き出し口、33a、33bから下部冷凍室5へ送風される。尚、下部冷凍室5には必要に応じて吹き出し口を増設しても良いものである。   As shown in FIGS. 2 and 3, a partition member 31 is provided in front of the cooler storage chamber 13 to partition each storage chamber from the cooler storage chamber 13. As shown in FIG. 3, the partition member 31 has a pair of upper and lower outlets 32 a, 32 b, 33 a, and 33 b formed therein. When the freezer damper 24 is in an open state, Are blown by the blower 20 to the ice making chamber 3 and the upper freezing chamber 4 from the blowout ports 32a and 32b through the ice making chamber blowing duct and the upper freezing chamber blowing duct 34 (not shown). Further, the air is blown from the outlets 33 a and 33 b to the lower freezer compartment 5 through the lower freezer compartment air duct 35. It should be noted that the lower freezer compartment 5 may be provided with additional outlets as necessary.

また、冷蔵庫本体10の天井壁上面側にCPU、ROMやRAM等のメモリ、インターフェース回路等を搭載した制御装置が設けられており、外気温度センサ(図示せず)、冷却器温度センサ(図示せず)、冷蔵室温度センサ(図示せず)、野菜室温度センサ(図示せず)、冷凍室温度センサ(図示せず)、扉2a、2b、3a、4a、5a、6aの各扉の開閉状態をそれぞれ検知する扉センサ(図示せず)、冷蔵室2内壁に設けられた図示しない温度設定器等と接続し、ROMに予め搭載されたプログラムにより、圧縮機12のON、OFF等の制御、冷蔵室ダンパ23及び冷凍室ダンパ24を個別に駆動するそれぞれのアクチュエータの制御、送風機20のON/OFF制御や回転速度制御、扉開放状態を報知するアラームのON/OFF等の制御を行うようになっている。   In addition, a control device including a CPU, a memory such as a ROM and a RAM, an interface circuit, and the like is provided on the upper surface of the ceiling wall of the refrigerator body 10, and an outside air temperature sensor (not shown) and a cooler temperature sensor (not shown). ), Refrigerator compartment temperature sensor (not shown), vegetable compartment temperature sensor (not shown), freezer compartment temperature sensor (not shown), doors 2a, 2b, 3a, 4a, 5a, 6a open / close Connected to a door sensor (not shown) for detecting each state, a temperature setter (not shown) provided on the inner wall of the refrigerator compartment 2, etc., and control of turning on / off the compressor 12 by a program preinstalled in the ROM , Control of respective actuators for individually driving the refrigerator compartment damper 23 and the freezer compartment damper 24, ON / OFF control and rotation speed control of the blower 20, and ON / OF of an alarm for notifying the door open state It is adapted to perform control and the like.

図1に戻って、冷蔵室扉2aには入力制御部40が設けられており、この入力制御部40は上述した制御装置に接続されている。したがって、入力制御部40からの入力によって冷蔵庫1の各貯蔵室の温度を設定できるようになっている。例えば圧縮機12の回転数、送風機20の回転数、冷蔵室ダンパ23及び冷凍室ダンパ24の開閉や開閉量等を制御することで各貯蔵室の温度を制御するものである。本実施例では2つの温度設定ボタン41、42が新たに設けられており、温度設定ボタン41は減圧貯蔵室に供給される冷気の制御を行い、温度設定ボタン42は下部冷凍室4に設けられた下部貯蔵容器(図示せず)に供給される冷気の制御を行うものである。   Returning to FIG. 1, the refrigerator compartment door 2a is provided with an input control unit 40, and this input control unit 40 is connected to the control device described above. Therefore, the temperature of each storage room of the refrigerator 1 can be set by an input from the input control unit 40. For example, the temperature of each storage chamber is controlled by controlling the rotation speed of the compressor 12, the rotation speed of the blower 20, the opening / closing amount of the refrigerator compartment damper 23 and the freezer compartment damper 24, and the like. In this embodiment, two temperature setting buttons 41 and 42 are newly provided, the temperature setting button 41 controls the cold air supplied to the decompression storage chamber, and the temperature setting button 42 is provided in the lower freezer compartment 4. The cool air supplied to the lower storage container (not shown) is controlled.

図4に示したるように、冷蔵室2の最下段空間には、左から順に、製氷室3の製氷皿に製氷水を供給するための製氷水タンク80、デザートを一例とするチルド食品を収納するための収納ケース81、室内を減圧して食品の鮮度保持及び長期保存するための減圧貯蔵室82が設置されている。減圧貯蔵室82は、冷蔵室2の横幅より狭い横幅を有し、冷蔵室2の側面に隣接して配置されている。   As shown in FIG. 4, in the lowermost space of the refrigerator compartment 2, an ice making water tank 80 for supplying ice making water to the ice making tray of the ice making room 3 and chilled foods such as desserts are stored in order from the left. A storage case 81 is provided, and a reduced pressure storage chamber 82 is provided for maintaining the freshness of food and storing it for a long time by reducing the pressure in the room. The decompression storage chamber 82 has a width that is narrower than the width of the refrigerator compartment 2, and is disposed adjacent to the side surface of the refrigerator compartment 2.

製氷水タンク80及び収納ケース81は、左側の冷蔵室扉2aの後方に配置されている。これによって、使用者は左側の冷蔵室扉2aを開くのみで、製氷水タンク80及び収納ケース81を引き出すことができる。また、減圧貯蔵室82は、右側の冷蔵室扉2bの後方に配置されている。これによって、右側の冷蔵室扉2bを開くのみで、減圧貯蔵室82の扉83を引き出すことができる。また、減圧貯蔵室82の内部には、食品を載置する減圧貯蔵室容器84が設けられている。減圧貯蔵室容器84は、扉83と係合しており、扉83の引き出し動作に伴って前方に引き出される。すなわち、左側の冷蔵室扉2a、若しくは右側の冷蔵室扉2bを開くのみで、所望の食品を取り出したり、製氷水タンク80の水の補充や交換をしたりできるので、必要以上に冷蔵室2の冷気が庫外に漏れることを防止できる。   The ice making water tank 80 and the storage case 81 are arranged behind the left refrigerator compartment door 2a. Thereby, the user can pull out the ice making water tank 80 and the storage case 81 only by opening the left refrigerator door 2a. Moreover, the decompression storage chamber 82 is arrange | positioned at the back of the right refrigerator compartment door 2b. Thereby, the door 83 of the decompression storage chamber 82 can be pulled out only by opening the right refrigerator compartment door 2b. In addition, a decompression storage chamber container 84 for placing food is provided inside the decompression storage chamber 82. The decompression storage chamber container 84 is engaged with the door 83, and is pulled out forward as the door 83 is pulled out. That is, by simply opening the left refrigerator door 2a or the right refrigerator door 2b, a desired food can be taken out or the water in the ice making water tank 80 can be replenished or replaced. Can prevent the cold air from leaking out of the cabinet.

尚、製氷水タンク80及び収納ケース81は、左側の冷蔵室扉2aの最下段の扉ポケットの後方に位置することとなり、減圧貯蔵室82は右側の冷蔵室扉2bの最下段の扉ポケットの後方に位置することとなる。ここで、冷却器19によって冷却されて冷蔵室2へ送られた冷気は、減圧貯蔵室82の周囲を通って減圧貯蔵室82の内部を間接冷却するようになっている。なお、製氷水タンク80、収納ケース81、減圧貯蔵室82の配置はこれに限定されず、例えば、収納ケース81を省略して減圧貯蔵室82の幅を広げて大型化する構成や、製氷水タンク80を異なる場所に配置する構成であっても良い。   The ice making water tank 80 and the storage case 81 are located behind the lowermost door pocket of the left refrigeration room door 2a, and the decompression storage room 82 is located in the lowermost door pocket of the right refrigeration room door 2b. It will be located behind. Here, the cool air cooled by the cooler 19 and sent to the refrigerator compartment 2 passes through the periphery of the decompression storage chamber 82 and indirectly cools the inside of the decompression storage chamber 82. The arrangement of the ice-making water tank 80, the storage case 81, and the decompression storage chamber 82 is not limited to this. For example, a configuration in which the storage case 81 is omitted to increase the width of the decompression storage chamber 82 and the size of the ice-making water is increased. The structure which arrange | positions the tank 80 in a different place may be sufficient.

製氷水タンク80の後方には、製氷水ポンプ85が設置されている。収納ケース81の後方で且つ減圧貯蔵室82の後部側方の空間には、減圧貯蔵室82を減圧するための減圧手段の一例である負圧ポンプ86が配置されている。負圧ポンプ86は、減圧貯蔵室82の側面に設けられたポンプ接続部(図示せず)に導管を介して接続されている。   An ice making water pump 85 is installed behind the ice making water tank 80. A negative pressure pump 86, which is an example of a decompression unit for decompressing the decompression storage chamber 82, is disposed in the space behind the storage case 81 and on the rear side of the decompression storage chamber 82. The negative pressure pump 86 is connected to a pump connection portion (not shown) provided on the side surface of the decompression storage chamber 82 via a conduit.

尚、収納ケース81を省略して減圧貯蔵室82の幅を広げた場合、負圧ポンプ86は減圧貯蔵室82の背部に位置する構成となる。   If the storage case 81 is omitted and the width of the decompression storage chamber 82 is widened, the negative pressure pump 86 is configured to be located at the back of the decompression storage chamber 82.

図5にあるように、減圧貯蔵室82は、食品出し入れ用開口部を有する箱状の減圧貯蔵室本体87と、減圧貯蔵室本体87の食品出し入れ用開口部を開閉する扉83と、食品を収納して扉83に係合して出し入れする減圧貯蔵室容器84とを備えて構成されている。扉83の開閉ハンドル88を操作することで、減圧貯蔵室本体87と扉83とで囲まれた空間が減圧されて、低圧空間として形成される。減圧貯蔵室容器84は扉83の背面側に取り付けられ、扉83の移動に伴って前後に移動可能である。   As shown in FIG. 5, the decompression storage chamber 82 includes a box-shaped decompression storage chamber main body 87 having an opening for taking in and out food, a door 83 for opening and closing the opening for food in and out of the decompression storage chamber main body 87, and a food. A decompression storage chamber container 84 that is housed and engaged with and removed from the door 83 is configured. By operating the opening / closing handle 88 of the door 83, the space surrounded by the decompression storage chamber body 87 and the door 83 is decompressed to form a low pressure space. The decompression storage chamber container 84 is attached to the back side of the door 83 and can move back and forth with the movement of the door 83.

減圧貯蔵室82は負圧ポンプ86により内部の空気が吸引され、大気圧よりも低い気圧、一例として0.8気圧(80kPa)等に減圧される圧力調節室である。すなわち、減圧貯蔵室82は、食品の酸化防止,精肉や鮮魚、生野菜類の鮮度維持等に特別な空気雰囲気を醸成している。減圧貯蔵室本体87の両側方には開閉ハンドル88が回動自在に支持される。また、扉83には差圧抜き弁Vが構成されている。この開閉ハンドル88を使用者が把持して、扉83の開閉操作および扉83の閉塞時のロックが行われるとともに、差圧抜き弁Vの開閉が行われる。   The decompression storage chamber 82 is a pressure control chamber in which the internal air is sucked by the negative pressure pump 86 and is decompressed to an atmospheric pressure lower than the atmospheric pressure, for example, 0.8 atmospheric pressure (80 kPa). That is, the decompression storage chamber 82 creates a special air atmosphere for preventing the oxidation of food, maintaining the freshness of meat, fresh fish, and raw vegetables. Opening / closing handles 88 are rotatably supported on both sides of the decompression storage chamber main body 87. The door 83 is provided with a differential pressure relief valve V. The user grips the opening / closing handle 88 to open / close the door 83 and lock the door 83 when the door 83 is closed, and to open / close the differential pressure release valve V.

尚、減圧貯蔵室82が負圧ポンプ86によって減圧された場合、減圧貯蔵室82の外部の大気圧と、減圧貯蔵室82の内部の減圧された圧力との差圧によって扉83に加わる荷重が大きくなる。これにより、直接、扉83を開放するためには使用者は相当の力を要することになる。そこで、差圧抜き弁Vを開くことによって、扉83の内外空間を挿通させ、内外圧力差を無くして差圧による閉じ荷重を解消し、扉83を容易に開くことができるようにしている。   When the decompression storage chamber 82 is decompressed by the negative pressure pump 86, a load applied to the door 83 due to the differential pressure between the atmospheric pressure outside the decompression storage chamber 82 and the decompressed pressure inside the decompression storage chamber 82 is applied. growing. Thereby, in order to open the door 83 directly, a user requires considerable force. Therefore, by opening the differential pressure relief valve V, the inner and outer spaces of the door 83 are inserted, the inner and outer pressure difference is eliminated, the closing load due to the differential pressure is eliminated, and the door 83 can be opened easily.

そして、本実施例になる鮮度保持成分放出カセット(図示せず)は減圧貯蔵室本体87の内部に設けられるものであり、扉83の裏側に固定されるようになっている。これについては後で説明する。   The freshness-keeping component release cassette (not shown) according to this embodiment is provided inside the decompression storage chamber main body 87 and is fixed to the back side of the door 83. This will be described later.

以上のような構成の冷蔵庫において、次に本発明の実施形態について図面を用いて説明するが、まず鮮度保持成分放出カセットに収納される混合鮮度保持剤収納体について説明する。   In the refrigerator having the above-described configuration, the embodiment of the present invention will be described next with reference to the drawings. First, the mixed freshness-keeping agent container housed in the freshness-keeping component release cassette will be described.

本実施例の特徴は、脂溶性抗酸化剤の揮発性能がそれほど高くないことに着目したもので、脂溶性抗酸化剤によって揮発性鮮度保持剤の揮発性鮮度保持成分の揮発を抑制することで、長期にわたって揮発性鮮度保持剤の機能を維持し、結果的に揮発性鮮度保持剤の充填量を低減できる構成としたものである。また、これに付随して揮発性能がそれほど高くない脂溶性抗酸化剤の揮発性能を揮発性鮮度保持剤によって高める構成としたものである。   The feature of this example is that the volatility performance of the fat-soluble antioxidant is not so high, and the volatility of the volatile freshness-keeping component of the volatile freshness-keeping agent is suppressed by the fat-soluble antioxidant. In addition, the function of the volatile freshness-keeping agent can be maintained over a long period of time, and as a result, the filling amount of the volatile freshness-keeping agent can be reduced. Moreover, it is set as the structure which raises the volatilization performance of the fat-soluble antioxidant which is not so high concomitantly by this with a volatile freshness keeping agent.

図6に示す混合鮮度保持剤収納体90には、揮発性抗酸化剤、或いは揮発性抗菌剤、或いは揮発性抗酸化剤と揮発性抗菌剤の両方の混合剤と、脂溶性抗酸化剤が混合された混合鮮度保持剤が内包されている。尚、本実施例では揮発性抗酸化剤、或いは揮発性抗菌剤、或いは揮発性抗酸化剤と揮発性抗菌剤の混合剤を包括して揮発性鮮度保持剤と表記する。   The mixed freshness-keeping agent container 90 shown in FIG. 6 contains a volatile antioxidant, a volatile antibacterial agent, a mixture of both a volatile antioxidant and a volatile antibacterial agent, and a fat-soluble antioxidant. A mixed freshness maintaining agent is included. In this embodiment, a volatile antioxidant, a volatile antibacterial agent, or a mixture of a volatile antioxidant and a volatile antibacterial agent is collectively referred to as a volatile freshness keeping agent.

揮発性鮮度保持剤の揮発性鮮度保持成分は、生鮮食品を保存したときに生鮮食品の鮮度の劣化を抑制する機能を有しているが、更に、脂溶性抗酸化剤から脂溶性抗酸化成分を放出させることにより、生肉や生魚等の脂質が多い食品の酸化を抑制する効果の増大が期待できるものである。尚、上述したように、本実施例では揮発性鮮度保持剤には抗酸化機能以外に減圧貯蔵室82内の空気中に浮遊する雑菌の増殖を抑制する抗菌機能を合わせて備えるようにしている。   The volatile freshness-keeping component of the volatile freshness-keeping agent has a function of suppressing the deterioration of freshness of fresh food when preserved fresh food, but further, from fat-soluble antioxidant to fat-soluble antioxidant component It is expected that the effect of inhibiting the oxidation of foods rich in lipids such as raw meat and raw fish can be increased by releasing sucrose. As described above, in this embodiment, the volatile freshness-keeping agent is provided with an antibacterial function that suppresses the growth of germs floating in the air in the vacuum storage chamber 82 in addition to the antioxidant function. .

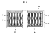
図6にあるように、本実施例になる混合鮮度保持剤収納体90は平袋(ピロータイプ)で製袋した混合鮮度保持剤収納体である。この混合鮮度保持剤収納体90は、一例として外袋である第2の収納体91の上面に長手方向に形成された放出制御部91Aと、外袋91の両側端に形成された放出制御部91Bとを備えている。この第2の収納体91の内部には、内袋である第1の収納体が収納されており、この第1の収納体には揮発性鮮度保持剤と脂溶性抗酸化剤が混合された混合鮮度保持剤が封入されている。第1の収納体は、一例として揮発性鮮度保持成分と脂溶性抗酸化成分とが通過できる気体透過性の収納袋より構成されている。したがって、揮発性鮮度保持成分と脂溶性抗酸化成分は第1の収納体より外部に流出することが可能である。   As shown in FIG. 6, the mixed freshness-keeping agent container 90 according to the present embodiment is a mixed freshness-keeping agent container made in a flat bag (pillow type). The mixed freshness-keeping agent container 90 includes, as an example, a discharge controller 91A formed in the longitudinal direction on the upper surface of the second container 91 that is an outer bag, and a discharge controller formed on both side ends of the outer bag 91. 91B. Inside the second storage body 91, a first storage body which is an inner bag is stored, and a volatile freshness maintaining agent and a fat-soluble antioxidant are mixed in the first storage body. A mixed freshness-keeping agent is enclosed. The 1st container is comprised from the gas-permeable storage bag which a volatile freshness maintenance component and a fat-soluble antioxidant component can pass as an example. Accordingly, the volatile freshness-keeping component and the fat-soluble antioxidant component can flow out from the first container.

図7に混合鮮度保持剤収納体90を長手方向に沿って平行に断面した横断面を示している。第2の収納体91は気体を透過しない気体非透過性フィルムであるアルミニウムフィルム92の内側に、気体透過性フィルムである紙フィルム93を貼着して形成されている。紙フィルム93はパルプ紙から作られており、パルプ紙には繊維の間に細かい通気孔が形成されている。紙フィルム93の内側には第1の収納体94が収納されており、この第1の収納体94も気体透過性部材であるパルプ紙から形成されている。第1の収納体94の内部には揮発性鮮度保持剤95と脂溶性抗酸化剤96が混合した混合鮮度保持剤が封入されている。   FIG. 7 shows a cross section in which the mixed freshness-keeping agent container 90 is cut in parallel along the longitudinal direction. The second container 91 is formed by sticking a paper film 93, which is a gas permeable film, inside an aluminum film 92, which is a gas non-permeable film that does not transmit gas. The paper film 93 is made of pulp paper, and fine ventilation holes are formed between the fibers in the pulp paper. A first storage body 94 is stored inside the paper film 93, and the first storage body 94 is also formed from pulp paper which is a gas permeable member. Inside the first storage body 94, a mixed freshness-keeping agent in which a volatile freshness-keeping agent 95 and a fat-soluble antioxidant 96 are mixed is enclosed.

気体化された揮発性鮮度保持成分と脂溶性抗酸化成分は第1の収納体94を透過できるが、第2の収納体91はアルミニウムフィルム92によって透過できない。しかしながら、後述するような混合鮮度保持剤収納体90に設けた紙フィルム93によって放出制御部91A、91Bが形成されるので、気体化された揮発性鮮度保持成分と脂溶性抗酸化成分は放出制御部91A、91Bを通って外部に放出されるようになる。   The vaporized volatile freshness-keeping component and the fat-soluble antioxidant component can pass through the first storage body 94, but the second storage body 91 cannot pass through the aluminum film 92. However, since the release control portions 91A and 91B are formed by the paper film 93 provided in the mixed freshness-keeping agent container 90 as will be described later, the gasified volatile freshness-keeping component and the fat-soluble antioxidant component are release-controlled. It is discharged to the outside through the portions 91A and 91B.

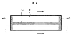
図8は混合鮮度保持剤収納体90を上面からみた図であり、破線で示す領域が第2の収納体91の接着部分であると共に放出制御部91A、91Bを形成するものである。第2の収納体91は、アルミニウムフィルム92が貼着された紙フィルム93よりなる矩形の複合シートの両端面の一部が重なるように折り畳み、この部分を接着して放出制御部91Aとするものである。   FIG. 8 is a view of the mixed freshness-keeping agent storage body 90 as viewed from above, and a region indicated by a broken line is an adhesive portion of the second storage body 91 and forms release control portions 91A and 91B. The second storage body 91 is folded so that part of both end faces of a rectangular composite sheet made of a paper film 93 to which an aluminum film 92 is attached overlaps, and this part is bonded to form a release control section 91A. It is.

更に、折り畳まれて筒状となった複合シートの一方の側方端の開口部分を重ね合わせて接着して放出制御部91Bとするものである。この状態で一方が開口した袋状の第2の収納体91が完成する。   Furthermore, the opening control part 91B is formed by superimposing and bonding the opening portions at one side end of the composite sheet that is folded into a cylindrical shape. In this state, a bag-like second storage body 91 having one opened is completed.

そして、揮発性鮮度保持剤95と脂溶性抗酸化剤96が混合された混合鮮度保持剤が封入された第1の収納体94を第2の収納体91に収納した後に、開口した側方端を接着してもう一方の放出制御部91Bを形成するものである。接着は接着剤を使用する方法やヒートシール法等を使用する方法によって行うことができる。   And after accommodating the 1st storage body 94 with which the mixed freshness maintenance agent with which the volatile freshness maintenance agent 95 and the fat-soluble antioxidant 96 were mixed was accommodated in the 2nd storage body 91, it opened the side end opened Is bonded to form the other release control portion 91B. Adhesion can be performed by a method using an adhesive or a method using a heat seal method or the like.

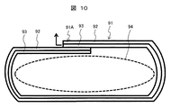
図8のX-X断面を図9に示し、Y−Y断面を図10に示している。図9にあるように、第1の収納体94は第2の収納体91の紙フィルム93内に収納されており、第2の収納体91の両側の側方端の一部は紙フィルム93の面が互いに向きあって接着されている。この紙フィルム93の面が接着されている部分が外部に露出して放出制御部91Bとなるものである。つまり、紙フィルム93は繊維の間に細かい連通孔があるので、この連通孔を介して第2の収納体91の内部と外部が接続されるものである。   The XX cross section of FIG. 8 is shown in FIG. 9, and the YY cross section is shown in FIG. As shown in FIG. 9, the first storage body 94 is stored in the paper film 93 of the second storage body 91, and a part of the side ends on both sides of the second storage body 91 is the paper film 93. The two sides are facing each other and bonded. The part to which the surface of the paper film 93 is bonded is exposed to the outside and becomes the release control unit 91B. That is, since the paper film 93 has fine communication holes between the fibers, the inside and the outside of the second storage body 91 are connected through the communication holes.

更に図10にあるように、複合シートの両端面の一部が重なるように折り畳まれた部分は、紙フィルム93とアルミニウムフィルム92の面が互いに重なって接着されている。この紙フィルム93とアルミニウムフィルム92の接着面の紙フィルム93の部分が外部に露出して放出制御部91Aとなるものである。これも同様に、紙フィルム93は繊維の間に細かい連通孔があるので、この連通孔を介して第2の収納体91の内部と外部が接続されるものである。   Further, as shown in FIG. 10, the paper film 93 and the aluminum film 92 are overlapped and bonded to each other at the part folded so that part of both end faces of the composite sheet overlap. The portion of the paper film 93 on the adhesive surface between the paper film 93 and the aluminum film 92 is exposed to the outside and becomes the release control section 91A. Similarly, since the paper film 93 has fine communication holes between the fibers, the inside and the outside of the second storage body 91 are connected through the communication holes.

したがって、第1の収納体94から流出した揮発性鮮度保持成分と脂溶性抗酸化成分は、第1の収納体94と紙フィルム93との間にたまり、その後、矢印で示すように、第2の収納体91の両側方端に形成された紙フィルム93からなる放出制御部91Bと、第2の収納体91の上面に形成された紙フィルム93からなる放出制御部91Aから外部に放出されるものである。   Therefore, the volatile freshness-keeping component and the fat-soluble antioxidant component that have flowed out of the first storage body 94 accumulate between the first storage body 94 and the paper film 93, and then, as indicated by the arrows, A discharge control unit 91B made of a paper film 93 formed on both ends of the storage body 91 and a discharge control unit 91A made of a paper film 93 formed on the upper surface of the second storage body 91 are discharged to the outside. Is.

このように、第2の収納体91に貼着した紙フィルム93の接着面を鮮度保持成分の放出量制御手段として機能させることによって、混合鮮度保持剤収納体90の形状を大きくしなくても鮮度保持成分の放出量を増大できるので、減圧貯蔵室82の貯蔵容積を減らすことがないものである。更に、紙フィルム93が鮮度保持成分の放出量制御手段として機能するので構成が簡単となり、更に長期間に亘って放出量を確保することが可能である。   In this way, by making the adhesive surface of the paper film 93 adhered to the second storage body 91 function as a freshness-maintaining component release amount control means, the mixed freshness-keeping agent storage body 90 does not have to be enlarged. Since the amount of freshness-retaining components can be increased, the storage volume of the decompression storage chamber 82 is not reduced. Further, since the paper film 93 functions as a freshness-maintaining component discharge amount control means, the configuration is simplified, and the discharge amount can be secured over a longer period.

ここで、揮発性鮮度保持剤95から揮発する揮発性鮮度保持成分は、揮発性能が劣る脂溶性抗酸化剤96の脂溶性抗酸化成分と共に、第2の収納体94から流出するものである。このように、第2の収納体に揮発性鮮度保持剤95と脂溶性抗酸化剤96を混合することで、脂溶性抗酸化剤96の作用によって、揮発性の高い揮発性鮮度保持剤の揮発性能を抑制して揮発性鮮度保持成分の放出量を少なくすることが可能となるものである。これによって、冷蔵庫の長期の使用期間にわたって揮発性鮮度保持成分を供給することが可能となり、結果として最初に充填する揮発性鮮度保持剤95の充填量を少なくできるものである。更に加えて、揮発性鮮度保持剤95によって揮発性に劣る脂溶性抗酸化剤96の脂溶性抗酸化成分の揮発性能を改善して、効率よく脂溶性抗酸化成分を放出することが可能となるものである。   Here, the volatile freshness-keeping component that volatilizes from the volatile freshness-keeping agent 95 flows out from the second container 94 together with the fat-soluble antioxidant component of the fat-soluble antioxidant 96 having poor volatilization performance. Thus, by mixing the volatile freshness-keeping agent 95 and the fat-soluble antioxidant 96 in the second container, the volatilization of the volatile freshness-keeping agent having high volatility is obtained by the action of the fat-soluble antioxidant 96. It is possible to suppress the performance and reduce the amount of the volatile freshness-keeping component released. As a result, the volatile freshness-keeping component can be supplied over a long period of use of the refrigerator, and as a result, the filling amount of the volatile freshness-keeping agent 95 to be filled first can be reduced. In addition, it is possible to improve the volatility performance of the fat-soluble antioxidant component 96 of the fat-soluble antioxidant 96 which is inferior in volatility by the volatile freshness-keeping agent 95 and to efficiently release the fat-soluble antioxidant component. Is.

また、脂溶性抗酸化剤96の充填量は、揮発性鮮度保持剤95の揮発性鮮度保持成分の揮発を抑制するだけの量が必要であり、そのための重量比は適切に決められている。本実施例では、揮発性鮮度保持剤95と脂溶性抗酸化剤96の重量比は、同等の重量か脂溶性抗酸化剤96が多い重量比に決められている。更に望ましくは、揮発性鮮度保持剤95と脂溶性抗酸化剤96の重量比(揮発性鮮度保持剤:脂溶性抗酸化剤)は、1:1.2〜1.5程度に決められている。このような比率にすることによって、脂溶性抗酸化剤96によって、揮発性鮮度保持剤95の揮発性鮮度保持成分の揮発を充分に抑制することができる。   The filling amount of the fat-soluble antioxidant 96 needs to be an amount sufficient to suppress the volatilization of the volatile freshness-keeping component of the volatile freshness-keeping agent 95, and the weight ratio for that is appropriately determined. In this embodiment, the weight ratio between the volatile freshness-keeping agent 95 and the fat-soluble antioxidant 96 is determined to be the same weight or a weight ratio with a large amount of the fat-soluble antioxidant 96. More preferably, the weight ratio of the volatile freshness-keeping agent 95 to the fat-soluble antioxidant 96 (volatile freshness-keeping agent: fat-soluble antioxidant) is determined to be about 1: 1.2 to 1.5. . By setting such a ratio, the fat-soluble antioxidant 96 can sufficiently suppress the volatilization of the volatile freshness-keeping component of the volatile freshness-keeping agent 95.

尚、本実施例では鮮度保持成分を放出する部材として紙フィルム93を使用したが、気体となった鮮度保持成分の透過が可能な材料であれば良く、例えば、天然繊維又は人口繊維からなるフィルタ、不織布、ハニカム構造体等が適宜採用できるものである。また、紙フィルム93は第2の収納袋91を形成するアルミニウムフィルム92の全面に貼着されているが、少なくとも図8に示す斜線領域の接着部だけに紙フィルム93を設けることでも良いものである。   In this embodiment, the paper film 93 is used as a member for releasing the freshness-keeping component. However, any material that can permeate the freshness-keeping component that has become a gas may be used. For example, a filter made of natural fiber or artificial fiber. Nonwoven fabrics, honeycomb structures and the like can be appropriately employed. The paper film 93 is attached to the entire surface of the aluminum film 92 that forms the second storage bag 91. However, the paper film 93 may be provided only at the bonding portion in the hatched area shown in FIG. is there.

揮発性鮮度保持剤95及び脂溶性抗酸化剤96から放出される鮮度保持成分は食品の栄養成分の減少抑制に働くと共に、揮発性鮮度保持剤95に抗菌剤を含ませているので減圧貯蔵室82内や食品表面に存在する雑菌の増殖を抑制する機能をもたせることができる。   The freshness-keeping component released from the volatile freshness-keeping agent 95 and the fat-soluble antioxidant 96 works to suppress the reduction of the nutritional components of the food, and the volatile freshness-keeping agent 95 contains an antibacterial agent. The function which suppresses the proliferation of the miscellaneous microbe which exists in 82 or the foodstuff surface can be given.

本実施例では、揮発性鮮度保持剤95及び脂溶性抗酸化剤96を混合しているため、揮発性鮮度保持成分が脂溶性抗酸化成分と結合することで、脂溶性抗酸化剤96の作用によって、揮発性の高い揮発性鮮度保持剤95の揮発性能を抑制して揮発性鮮度保持成分の放出量を少なくすることが可能となる。これによって、冷蔵庫の長期の使用期間にわたって揮発性鮮度保持成分を供給することが可能となり、結果として最初に充填する揮発性鮮度保持剤95の充填量を少なくできるものである。更に加えて、揮発性鮮度保持剤95によって揮発性に劣る脂溶性抗酸化剤96の脂溶性抗酸化成分の揮発性能を改善して、生魚、生肉等の脂質成分が多い食品の抗酸化作用を向上することできる。このように脂溶性抗酸化剤96の脂溶性抗酸化成分の揮発性を改善するために、揮発性鮮度保持剤95は揮発性が高く、非常に強い求電子剤(electrophile)として働く物質からなるものが望ましいものである。   In this embodiment, since the volatile freshness-keeping agent 95 and the fat-soluble antioxidant 96 are mixed, the action of the fat-soluble antioxidant 96 is obtained by combining the volatile freshness-keeping component with the fat-soluble antioxidant component. Accordingly, it is possible to suppress the volatilization performance of the volatile freshness-keeping agent 95 having high volatility and reduce the amount of the volatile freshness-keeping component released. As a result, the volatile freshness-keeping component can be supplied over a long period of use of the refrigerator, and as a result, the filling amount of the volatile freshness-keeping agent 95 to be filled first can be reduced. In addition, the volatile freshness-retaining agent 95 improves the volatility performance of the fat-soluble antioxidant component of the fat-soluble antioxidant 96, which is inferior in volatility, and improves the antioxidant effect of foods rich in lipid components such as raw fish and raw meat. Can be improved. Thus, in order to improve the volatility of the fat-soluble antioxidant component of the fat-soluble antioxidant 96, the volatile freshness-keeping agent 95 is made of a substance that is highly volatile and works as a very strong electrophile. Things are desirable.

また、揮発性鮮度保持剤95及び脂溶性抗酸化剤96から放出される鮮度保持成分は食品に触れるため、安全性に十分配慮する必要がある。このため、揮発性鮮度保持剤95にはアリルイソチオシアネート,イソチオシアン酸エステル、及びプロポリス等の栄養成分を含む自然食品に含有する抗菌剤、すなわち植物系成分を用いることができる。脂溶性抗酸化剤96は自然食品に含有する酸化防止成分であるビタミンEや、脂溶性ビタミンC誘導体を用いることができる。尚、これらの材料はこれに限ることなく、他の適切な材料を選択すれば良いものである。また、これらは単独で使用しても良いし、2種類以上を組み合わせて混合して使用しても良いものである。   Moreover, since the freshness-keeping component released from the volatile freshness-keeping agent 95 and the fat-soluble antioxidant 96 touches food, it is necessary to give sufficient consideration to safety. For this reason, the volatile freshness-keeping agent 95 can be an antibacterial agent contained in natural foods including nutrient components such as allyl isothiocyanate, isothiocyanate, and propolis, that is, a plant-based component. As the fat-soluble antioxidant 96, vitamin E, which is an antioxidant component contained in natural foods, or a fat-soluble vitamin C derivative can be used. These materials are not limited to this, and other appropriate materials may be selected. These may be used alone or in combination of two or more.

第1の収納体94は揮発性鮮度保持剤95及び脂溶性抗酸化剤96の混合物である混合鮮度保持剤を収納すれば良いので、包装する為の包装形態は製袋してその中に揮発性鮮度保持成分剤95及び脂溶性抗酸化成分剤96の混合物を封入する態様のものであれば特に限定されない。袋の形態としては、三方シール袋、四方シール袋、または平袋(ピロータイプ)等を使用することができる。   The first storage body 94 only needs to store a mixed freshness maintaining agent, which is a mixture of the volatile freshness maintaining agent 95 and the fat-soluble antioxidant 96, so that the packaging form for packaging is made into a bag and volatilized therein. If it is a thing of the aspect which encloses the mixture of the freshness keeping component agent 95 and the fat-soluble antioxidant component agent 96, it will not specifically limit. As the form of the bag, a three-side sealed bag, a four-side sealed bag, a flat bag (pillow type), or the like can be used.

更に、第1の収納体94に封入される揮発性鮮度保持剤95及び脂溶性抗酸化剤96の使用形態及びその充填量は、第1の収納体94の気体透過性、使用期間等から適切に選択されるものである。揮発性鮮度保持剤95及び脂溶性抗酸化剤96の使用形態は、液状、粉体や顆粒状、固形状等から選択されるが、取り扱いの容易性からゲル状が望ましい。揮発性鮮度保持剤95及び脂溶性抗酸化剤96をゲル状とすることで、表面積は粉体や顆粒状に比べて抑えられ、自然放出量が過多になることを抑制できる効果がある。   Furthermore, the usage form and the filling amount of the volatile freshness-keeping agent 95 and the fat-soluble antioxidant 96 enclosed in the first container 94 are appropriate from the gas permeability, the period of use, etc. of the first container 94. Is selected. The usage form of the volatile freshness-keeping agent 95 and the fat-soluble antioxidant 96 is selected from liquid, powder, granule, solid and the like, but a gel is desirable for ease of handling. By making the volatile freshness-keeping agent 95 and the fat-soluble antioxidant 96 into a gel, the surface area can be suppressed as compared with powders and granules, and the amount of spontaneous release can be suppressed from becoming excessive.

このように、紙フィルタ93等の放出量制御手段や、揮発性鮮度保持剤95及び脂溶性抗酸化剤96の使用形態を適切に管理することによって、鮮度保持成分の放出量の制御が可能となるものである。   As described above, by appropriately managing the discharge amount control means such as the paper filter 93 and the usage forms of the volatile freshness-keeping agent 95 and the fat-soluble antioxidant 96, it is possible to control the release amount of the freshness-holding component. It will be.

上述したような、揮発性鮮度保持剤95及び脂溶性抗酸化剤96が封入された第1の収納体94と、この第1の収納体94が収納される第2の収納体91よりなる混合鮮度保持剤収納体90は、図11に示されるような合成樹脂からなる鮮度保持成分放出カセット97に収容されて減圧貯蔵室82内に取り付けられるものである。   A mixture comprising the first storage body 94 enclosing the volatile freshness-keeping agent 95 and the fat-soluble antioxidant 96 and the second storage body 91 in which the first storage body 94 is stored as described above. The freshness-keeping agent container 90 is housed in a freshness-keeping component release cassette 97 made of a synthetic resin as shown in FIG.

鮮度保持成分放出カセット97は混合鮮度保持剤収納体90の収容部98を有し、この収容部98の内部に、図8に示すように直方体状に形成された混合鮮度保持剤収納体90が収容されるようになっている。収容部98には横長の通気孔99が複数個形成されており、混合鮮度保持剤収納体90から放出された鮮度保持成分が通気孔99から減圧貯蔵室82内に放出されるようになっている。鮮度保持成分放出カセット97の下端両側には、下方が開放して弾性変形する片状の取り付け部100が形成されており、この取り付け部100によって鮮度保持成分放出カセット97が減圧貯蔵室82の扉83の裏側に弾性力が作用して固定されるものである。   The freshness-keeping component release cassette 97 has a storage portion 98 for a mixed freshness-keeping agent storage body 90, and a mixed freshness-keeping agent storage body 90 formed in a rectangular parallelepiped shape as shown in FIG. It is to be accommodated. A plurality of horizontally long vent holes 99 are formed in the accommodating portion 98, and the freshness-keeping component released from the mixed freshness-keeping agent container 90 is discharged from the vent holes 99 into the vacuum storage chamber 82. Yes. On both sides of the lower end of the freshness-keeping component discharge cassette 97, a piece-like mounting portion 100 that is open downward and elastically deforms is formed, and the mounting portion 100 allows the freshness-keeping component discharge cassette 97 to be a door of the decompression storage chamber 82. The elastic force acts on the back side of 83 and is fixed.

このように、混合鮮度保持剤収納体90を合成樹脂製の鮮度保持成分放出カセット97に収納することで取り扱い性が容易となり、減圧貯蔵室82への着脱が容易となる効果を奏するようになる。   As described above, by storing the mixed freshness-keeping agent container 90 in the freshness-keeping component release cassette 97 made of synthetic resin, handling becomes easy, and the effect of facilitating attachment / detachment to the decompression storage chamber 82 is achieved. .

次に、鮮度保持成分放出カセット97を減圧貯蔵室82に装着した場合の混合鮮度保持剤収納体90から放出される鮮度保持成分の挙動と作用、効果について説明する。混合鮮度保持剤収納体90に封入された揮発性鮮度保持剤95及び脂溶性抗酸化剤96は大気圧より低い圧力状態でより多く鮮度保持成分を放出するものである。尚、鮮度保持成分の放出量は、減圧貯蔵室82の容積に依存せず、減圧貯蔵室82内の気圧と温度に依存する。   Next, the behavior, action, and effect of the freshness-keeping component released from the mixed freshness-keeping agent container 90 when the freshness-keeping component release cassette 97 is mounted in the reduced pressure storage chamber 82 will be described. The volatile freshness-keeping agent 95 and the fat-soluble antioxidant 96 enclosed in the mixed freshness-keeping agent container 90 release more freshness-keeping components in a pressure state lower than atmospheric pressure. Note that the amount of the freshness-keeping component released does not depend on the volume of the decompression storage chamber 82 but depends on the pressure and temperature in the decompression storage chamber 82.

図12は混合鮮度保持剤の充填量が異なる2つのタイプの混合鮮度保持剤収納体90の鮮度保持成分の放出量を示したものである。A1、B1は混合鮮度保持剤の充填量が多いタイプ、A2、B2は混合鮮度保持剤の充填量が少ないタイプを示している。そして、A1、A2は+1℃の減圧貯蔵室82に設置した場合を示し、B1、B2は+30℃の大気圧下に設置した場合を示している。尚、B1、B2を+1℃の大気圧下に設置した場合では放出量は減少するが、A1、A2よりは格段に多いものである。   FIG. 12 shows the release amounts of the freshness-keeping components of two types of mixed freshness-keeping agent containers 90 having different filling amounts of the mixed freshness-keeping agent. A1 and B1 are types with a large amount of mixed freshness-keeping agent, and A2 and B2 are types with a small amount of mixed freshness-keeping agent. A1 and A2 show the case where it is installed in the vacuum storage chamber 82 at + 1 ° C., and B1 and B2 show the case where it is installed under the atmospheric pressure of + 30 ° C. In addition, when B1 and B2 are installed under an atmospheric pressure of + 1 ° C., the release amount decreases, but it is much larger than A1 and A2.

これからわかるように、減圧貯蔵室82内では揮発性鮮度保持成分は混合鮮度保持剤の充填量によらず、圧力差により放出量が制御されていることがわかる。つまり、減圧貯蔵室82内を減圧することにより、混合鮮度保持剤収納体90内部の圧力と外部の圧力との圧力差に応じた量の鮮度保持成分が放出されるものである。よって、少ない量の揮発性鮮度保持成分であっても充分その機能を維持することができるものである。   As can be seen, in the reduced pressure storage chamber 82, the volatile freshness-keeping component is controlled to be released by the pressure difference, regardless of the filling amount of the mixed freshness-keeping agent. That is, by depressurizing the inside of the decompression storage chamber 82, an amount of the freshness-keeping component corresponding to the pressure difference between the pressure inside the mixed freshness-keeping agent container 90 and the external pressure is released. Therefore, even a small amount of the volatile freshness-keeping component can sufficiently maintain its function.

また、図13には揮発性鮮度保持剤を単体で使用した場合と、本実施例になる揮発性鮮度保持成分と脂溶性抗酸化成分を合わせた混合鮮度保持剤を使用した場合の揮発性鮮度保持成分の放出量を示したものである。これより、脂溶性抗酸化成分を一緒に放出させることにより、揮発性鮮度保持成分の放出量が減っていることがわかる。つまり、揮発性鮮度保持成分を脂溶性抗酸化成分と合わせて放出させることで、揮発性鮮度保持成分の放出量が抑制でき、揮発性鮮度保持成分の充填量の低減が可能となることがわかる。したがって、値段が高い揮発性鮮度保持剤の使用量を少なくすることができる。更に、揮発性鮮度保持剤によって揮発性に劣る脂溶性抗酸化剤の脂溶性抗酸化成分の揮発性能を改善して、生魚、生肉等の脂質成分が多い食品の抗酸化作用を向上することできる。揮発性鮮度保持剤を単体で使用した場合の揮発性鮮度保持成分は0.14g/日であるのに対し、本実施例になる混合鮮度保持剤の揮発性鮮度保持成分は0.058g/日であり、揮発性鮮度保持剤の揮発性鮮度保持成分の放出量が減少されたことがわかる。   Moreover, in FIG. 13, the volatile freshness when the volatile freshness-keeping agent is used alone and when the mixed freshness-keeping agent combining the volatile freshness-keeping component and the fat-soluble antioxidant component according to the present embodiment is used. The amount of the retained component released is shown. From this, it can be seen that the release amount of the volatile freshness-retaining component is reduced by releasing the fat-soluble antioxidant component together. In other words, it can be seen that by releasing the volatile freshness-keeping component together with the fat-soluble antioxidant component, the amount of volatile freshness-keeping component released can be suppressed, and the filling amount of the volatile freshness-keeping component can be reduced. . Therefore, it is possible to reduce the amount of volatile freshness-keeping agent that is expensive. Furthermore, the volatility performance of the fat-soluble antioxidant component of the fat-soluble antioxidant, which is inferior in volatility, can be improved by the volatile freshness-preserving agent, and the antioxidant effect of foods rich in lipid components such as raw fish and raw meat can be improved. . When the volatile freshness-keeping agent is used alone, the volatile freshness-keeping component is 0.14 g / day, whereas the volatile freshness-keeping component of the mixed freshness-keeping agent of this example is 0.058 g / day. It can be seen that the release amount of the volatile freshness-keeping component of the volatile freshness-keeping agent was reduced.

今、減圧貯蔵室容器84に食品を載せて扉83を閉じると、減圧貯蔵室82内への空気の移動が抑制される。そして、冷蔵室扉2aが閉じられてドアスイッチ(図示せず)がオンになると負圧ポンプ86が駆動され、減圧貯蔵室82が大気圧より低い状態に減圧される。減圧貯蔵室82が減圧された状態となってから、混合鮮度保持剤収納体90に封入された揮発性鮮度保持剤95及び脂溶性抗酸化剤96から鮮度保持成分の放出が開始される。そして、減圧貯蔵室82内で鮮度保持成分が充満して食品の鮮度劣化を抑制することができる。ここで、揮発性鮮度保持剤95の揮発性鮮度保持成分は、揮発性に劣る脂溶性抗酸化剤96の脂溶性抗酸化成分と結合される形で放出されるので、揮発性能が抑制されて放出量が減少するため少ない充填量で充分である。また、揮発性に劣る脂溶性抗酸化成分の揮発性を改善して効率よく放出することが可能となるものである。   Now, when food is placed on the decompression storage chamber container 84 and the door 83 is closed, the movement of air into the decompression storage chamber 82 is suppressed. When the refrigerator compartment door 2a is closed and a door switch (not shown) is turned on, the negative pressure pump 86 is driven, and the decompression storage chamber 82 is decompressed to a state lower than the atmospheric pressure. After the decompression storage chamber 82 is in a decompressed state, the release of the freshness-keeping component is started from the volatile freshness-keeping agent 95 and the fat-soluble antioxidant 96 enclosed in the mixed freshness-keeping agent container 90. And the freshness maintenance component can be filled in the decompression storage chamber 82, and the freshness deterioration of a foodstuff can be suppressed. Here, since the volatile freshness-keeping component of the volatile freshness-keeping agent 95 is released in a form combined with the fat-soluble antioxidant component of the fat-soluble antioxidant 96 having poor volatility, the volatilization performance is suppressed. Since the discharge amount is reduced, a small filling amount is sufficient. Moreover, it becomes possible to improve the volatility of the fat-soluble antioxidant component which is inferior in volatility and to release it efficiently.

このように、混合鮮度保持剤収納体90を減圧室82に配置すると鮮度保持成分の放出量の制御を簡単に行うことができる。減圧貯蔵室82が大気圧より低い圧力状態に遷移した場合、第1の収納袋94と第2の収納袋91が上述した圧力差で膨らみ、第1の収納袋94と第2の収納袋91の間に隙間が生じ、この隙間に鮮度保持成分が充満する。この鮮度保持成分は第2の収納袋94に形成した紙フィルム93からなる放出制御部91A,91Bから減圧貯蔵室82内に放出される。   As described above, when the mixed freshness-keeping agent container 90 is disposed in the decompression chamber 82, the amount of freshness-keeping component released can be easily controlled. When the decompression storage chamber 82 transitions to a pressure state lower than atmospheric pressure, the first storage bag 94 and the second storage bag 91 are inflated due to the pressure difference described above, and the first storage bag 94 and the second storage bag 91 are inflated. A gap is formed between the two, and the gap is filled with the freshness maintaining component. This freshness-keeping component is released into the decompression storage chamber 82 from the release control portions 91A and 91B made of the paper film 93 formed in the second storage bag 94.

このように、混合鮮度保持剤収納体90を袋状にすることにより、減圧貯蔵室82が大気圧より低い圧力状態になったとき、混合鮮度保持剤収納体90の全体が膨らみやすく、特許文献1にあるような樹脂容器を用いた従来のものよりも鮮度保持成分の放出を容易にすることができる。そして、放出制御部91A,91Bの通気孔を管理すれば放出量を適切に設定することが可能である。   Thus, by making the mixed freshness-keeping agent storage body 90 into a bag shape, when the decompression storage chamber 82 is in a pressure state lower than the atmospheric pressure, the entire mixed freshness-keeping agent storage body 90 is likely to swell. The freshness-keeping component can be released more easily than the conventional one using the resin container as in 1. And if the vent holes of the discharge control portions 91A and 91B are managed, the discharge amount can be set appropriately.

一方、減圧貯蔵室82の扉83を開くため差圧抜き弁Vによって扉83の内外空間を挿通させ、内外圧力差を無くすと減圧貯蔵室82内が減圧解除状態となって大気圧となる。したがって、混合鮮度保持剤収納体90の内部と外部の圧力差によって、第1の収納体94と第2の収納体91の内部に充満した鮮度保持成分が紙フィルム93からなる放出制御部91A、91Bから放出される。   On the other hand, if the internal / external space of the door 83 is inserted by the differential pressure release valve V to open the door 83 of the decompression storage chamber 82 and the internal / external pressure difference is eliminated, the interior of the decompression storage chamber 82 is released from the decompression and becomes atmospheric pressure. Therefore, the release control unit 91A, in which the freshness-keeping component filled in the first storage body 94 and the second storage body 91 due to the pressure difference between the inside and the outside of the mixed freshness-keeping agent storage body 90 is made of the paper film 93, Released from 91B.

減圧貯蔵室82には外部の空気が流入するため、放出された鮮度保持成分は流入する空気によって減圧貯蔵室82の奥側に押し流される。これにより、鮮度保持成分が減圧貯蔵室82の内部に留まり易くなり、扉83の開放時に減圧貯蔵室82の外部に鮮度保持成分が放出されることを抑制することができる。このとき、放出される脂溶性抗酸化成分は空気中の酸素と反応しにくいので、空気中に放出させても脂溶性抗酸化成分の抗酸化作用の効果が持続されやすくなる。   Since external air flows into the decompression storage chamber 82, the released freshness-keeping component is pushed away to the back side of the decompression storage chamber 82 by the inflowing air. Thereby, it becomes easy for the freshness-keeping component to stay inside the decompression storage chamber 82, and it is possible to suppress the freshness-keeping component from being released to the outside of the decompression storage chamber 82 when the door 83 is opened. At this time, since the released fat-soluble antioxidant component hardly reacts with oxygen in the air, the effect of the antioxidant action of the fat-soluble antioxidant component is easily maintained even when released into the air.

尚、扉83を開くことによる減圧解除によらず、減圧状態から大気圧未満の範囲で圧力が高くなる場合(例えば、時間経過とともに減圧貯蔵室82の隙間から空気が流入して、圧力が次第に上昇する状態)でも、混合鮮度保持剤収納体90から減圧貯蔵室82に向けて鮮度保持成分を放出することができる。もちろん、その放出作用は上述の通りである。   In addition, when the pressure increases in a range from the reduced pressure state to less than the atmospheric pressure regardless of the release of the decompression by opening the door 83 (for example, the air gradually flows in from the clearance of the decompression storage chamber 82 with the passage of time, and the pressure gradually increases. Even in the rising state), the freshness-keeping component can be released from the mixed freshness-keeping agent storage body 90 toward the decompression storage chamber 82. Of course, the releasing action is as described above.

次に、図14及び図15に基づき鮮度保持成分による保存食品の鮮度劣化を抑制する効果について説明する。   Next, the effect which suppresses the freshness deterioration of the preservation | save food by a freshness maintenance component is demonstrated based on FIG.14 and FIG.15.

図14は、揮発性鮮度保持剤を単独で使用した場合と、本実施例になる揮発性鮮度保持成分と脂溶性抗酸化成分を混合した混合鮮度保持剤を使用した場合の減圧貯蔵室82に保存された鶏肉のK値の変化を比較して示したグラフである。K値とは生鮮度を表わす指標であり、K値が低いほど鮮度が良いことを表わす目安となる。これからわかるように揮発性鮮度保持成分と脂溶性抗酸化成分を合わせて放出することにより、鶏肉のK値の上昇を抑制できることがわかる。   FIG. 14 shows the reduced-pressure storage chamber 82 when the volatile freshness-keeping agent is used alone and when the mixed freshness-keeping agent obtained by mixing the volatile freshness-keeping component and the fat-soluble antioxidant component according to this embodiment is used. It is the graph which showed and showed the change of K value of preserved chicken. The K value is an index representing the freshness, and the lower the K value, the better the freshness. As can be seen from this, it is understood that an increase in the K value of chicken can be suppressed by releasing the volatile freshness-keeping component and the fat-soluble antioxidant component together.

図15は、揮発性鮮度保持剤を単独で使用した場合と、本実施例になる揮発性鮮度保持成分と脂溶性抗酸化成分を混合した混合鮮度保持剤を使用した場合の減圧貯蔵室82に保存されたアジのDHAの変化を比較して示したグラフである。DHAとは多価不飽和脂肪酸の一種であり、ヒトの体に良いとされている。これからわかるように、揮発性鮮度保持成分と脂溶性抗酸化成分を合わせて放出することにより、アジのDHAの減少を抑制できることがわかる。   FIG. 15 shows the reduced-pressure storage chamber 82 when a volatile freshness-keeping agent is used alone and when a mixed freshness-keeping agent obtained by mixing a volatile freshness-keeping component and a fat-soluble antioxidant component according to this embodiment is used. It is the graph which showed the change of DHA of preserved horse mackerel. DHA is a kind of polyunsaturated fatty acid and is considered good for the human body. As can be seen, it can be seen that the reduction of DHA in horse mackerel can be suppressed by releasing the volatile freshness-keeping component and the fat-soluble antioxidant component together.

このように、本実施例によれば、揮発性鮮度保持剤と、揮発性鮮度保持剤の揮発性鮮度保持成分の揮発を抑制する量の脂溶性抗酸化剤を混合した混合鮮度保持剤をガス透過性の第1の収納体に収納し、この第1の収納体をガス非透過性の第2の収納体に収納すると共に、第2の収納体の内部と外部とを連通する放出制御部によって混合鮮度保持剤から揮発性の鮮度保持成分と脂溶性抗酸化成分を放出する構成とした。   Thus, according to this example, a mixed freshness-keeping agent in which a volatile freshness-keeping agent and an amount of a fat-soluble antioxidant that suppresses volatilization of the volatile freshness-keeping component of the volatile freshness-keeping agent are mixed is gasified. A discharge control unit that is housed in a permeable first housing body, the first housing body is housed in a gas non-permeable second housing body, and the inside and the outside of the second housing body communicate with each other. Thus, a volatile freshness-keeping component and a fat-soluble antioxidant component are released from the mixed freshness-keeping agent.

これによれば、揮発性鮮度保持剤の揮発性鮮度保持成分の揮発性能を脂溶性抗酸化成分によって抑制することで、揮発性鮮度保持剤の充填量を低減することが可能となる。更に、脂溶性抗酸化剤の脂溶性抗酸化成分の揮発性能を揮発性の鮮度保持剤の鮮度保持成分によって改善することで脂質成分の抗酸化作用を向上することができる。これによって、減圧貯蔵室の生肉のような食品に対して充分な脂質成分の抗酸化作用を発揮することができるようになる。   According to this, it becomes possible to reduce the filling amount of the volatile freshness-keeping agent by suppressing the volatilization performance of the volatile freshness-keeping component of the volatile freshness-keeping agent with the fat-soluble antioxidant component. Furthermore, the antioxidant effect | action of a lipid component can be improved by improving the volatilization performance of the fat-soluble antioxidant component of a fat-soluble antioxidant with the freshness-keeping component of a volatile freshness-keeping agent. As a result, a sufficient antioxidant effect of lipid components can be exerted on food such as raw meat in a vacuum storage room.

82…減圧貯蔵室、86…負圧ポンプ、83…扉、90…、混合鮮度保持剤収納体、91…第2の収納体、91A、91B…放出制御部、92…アルミニウムフィルム、93…紙フィルム、94…第1の収納袋、95…揮発性鮮度保持剤、96…脂溶性抗酸化剤、97…鮮度保持成分放出カセット、98…収容部、99…通気孔、100…取り付けフック。   82 ... Depressurized storage chamber, 86 ... Negative pressure pump, 83 ... Door, 90 ..., Mixed freshness retaining agent storage body, 91 ... Second storage body, 91A, 91B ... Release control part, 92 ... Aluminum film, 93 ... Paper 94, first storage bag, 95, volatile freshness-preserving agent, 96, fat-soluble antioxidant, 97, freshness-keeping component release cassette, 98, housing portion, 99, vent, 100, mounting hook.

Claims (5)

冷蔵室、冷凍室、及び野菜室を形成する断熱箱体と、大気圧よりも低圧の減圧貯蔵室とを備えた冷蔵庫において、
前記減圧貯蔵室に混合鮮度保持剤収納体が収納された鮮度保持成分放出カセットを配置すると共に、
前記混合鮮度保持剤収納体は、揮発性鮮度保持剤と、前記揮発性鮮度保持剤の揮発性鮮度保持成分の揮発を抑制する量の脂溶性抗酸化剤を混合した混合鮮度保持剤を収納した気体透過性の第1の収納体と、この第1の収納体を収納すると共に、前記混合鮮度保持剤から放出される揮発性の鮮度保持成分と脂溶性抗酸化成分を外部に放出する放出制御部を備える気体非透過性の第2の収納体を有すると共に、前記脂溶性抗酸化剤の重量は、前記揮発性鮮度保持剤の重量と同等或いは同等以上の重量であり、前記揮発性鮮度保持剤と前記脂溶性抗酸化剤を混合させることで前記揮発性鮮度保持剤の揮発性鮮度保持成分の放出量を抑え、前記脂溶性抗酸化剤の抗酸化成分の放出量を増加させることを特徴とする冷蔵庫。
In a refrigerator including a refrigerator compartment, a freezer compartment, and a heat insulating box forming a vegetable compartment, and a decompression storage compartment having a pressure lower than atmospheric pressure,
While arranging a freshness-keeping component release cassette in which a mixed freshness-keeping agent container is stored in the vacuum storage chamber,
The mixed freshness-keeping agent storage body contains a mixed freshness-keeping agent mixed with a volatile freshness-keeping agent and an amount of a fat-soluble antioxidant that suppresses volatilization of the volatile freshness-keeping component of the volatile freshness-keeping agent. A gas permeable first storage body and a release control for storing the first storage body and releasing a volatile freshness-keeping component and a fat-soluble antioxidant component released from the mixed freshness-keeping agent to the outside A gas impermeable second container having a portion , and the weight of the fat-soluble antioxidant is equal to or more than the weight of the volatile freshness-preserving agent, The release amount of the volatile freshness-keeping component of the volatile freshness-keeping agent is suppressed by mixing the agent and the fat-soluble antioxidant, and the release amount of the antioxidant component of the fat-soluble antioxidant is increased. Refrigerator.
請求項1に記載の冷蔵庫において、The refrigerator according to claim 1,
前記第2の収納体は、気体非透過性フィルムと気体透過性フィルムを含む複合シートから形成され、前記複合シートを折り畳んで前記気体透過性フィルムが内側になるように袋状にした状態で前記気体透過性フィルムの一部が外部に露出されて前記放出制御部を形成し、前記気体透過性フィルムを介して前記混合鮮度保持剤から放出される揮発性の鮮度保持成分と脂溶性抗酸化成分が前記第2の収納体の外部に放出されることを特徴とする冷蔵庫。The second storage body is formed of a composite sheet including a gas impermeable film and a gas permeable film, and is folded into a bag shape so that the gas permeable film is on the inside by folding the composite sheet. A part of a gas permeable film is exposed to the outside to form the release control unit, and a volatile freshness-keeping component and a fat-soluble antioxidant component that are released from the mixed freshness-keeping agent through the gas-permeable film. Is discharged to the outside of the second storage body.
請求項1或いは請求項2のいずれかに記載の冷蔵庫において、In the refrigerator in any one of Claim 1 or Claim 2,
前記揮発性鮮度保持剤と前記脂溶性抗酸化剤はゲル状であり、前記揮発性鮮度保持剤と前記脂溶性抗酸化剤が混合されて前記第1の収納体に収納されていることを特徴とする冷蔵庫。The volatile freshness-keeping agent and the fat-soluble antioxidant are in gel form, and the volatile freshness-keeping agent and the fat-soluble antioxidant are mixed and stored in the first container. Refrigerator.
請求項3に記載の冷蔵庫において、The refrigerator according to claim 3,
前記揮発性鮮度保持剤と前記脂溶性抗酸化剤の重量比は、1:1.2〜1.5程度であることを特徴とする冷蔵庫。The refrigerator characterized by the weight ratio of the said volatile freshness keeping agent and the said fat-soluble antioxidant being about 1: 1.2-1.5.
請求項1に記載の冷蔵庫において、The refrigerator according to claim 1,
前記揮発性鮮度保持剤はアリルイソチオシアネート、イソチオシアン酸エステル、又はプロポリスを単独で使用する鮮度保持剤、或いは2種類以上を混合して使用する鮮度保持剤であり、前記脂溶性抗酸化剤はビタミンE又は脂溶性ビタミンC誘導体を単独で使用する脂溶性抗酸化剤、或いは2種類を混合して使用する脂溶性抗酸化剤であることを特徴とする冷蔵庫。The volatile freshness-keeping agent is a freshness-keeping agent that uses allyl isothiocyanate, isothiocyanate, or propolis alone, or a freshness-keeping agent that is used by mixing two or more types, and the fat-soluble antioxidant is a vitamin A refrigerator characterized by being a fat-soluble antioxidant using E or a fat-soluble vitamin C derivative alone, or a fat-soluble antioxidant used by mixing two kinds.
JP2014145745A 2014-07-16 2014-07-16 refrigerator Expired - Fee Related JP6190332B2 (en)

Priority Applications (2)

Application Number Priority Date Filing Date Title
JP2014145745A JP6190332B2 (en) 2014-07-16 2014-07-16 refrigerator
CN201510079780.8A CN105318624B (en) 2014-07-16 2015-02-13 Refrigerator

Applications Claiming Priority (1)

Application Number Priority Date Filing Date Title
JP2014145745A JP6190332B2 (en) 2014-07-16 2014-07-16 refrigerator

Publications (3)

Publication Number Publication Date
JP2016023810A JP2016023810A (en) 2016-02-08
JP2016023810A5 JP2016023810A5 (en) 2016-10-20
JP6190332B2 true JP6190332B2 (en) 2017-08-30

Family

ID=55246556

Family Applications (1)

Application Number Title Priority Date Filing Date
JP2014145745A Expired - Fee Related JP6190332B2 (en) 2014-07-16 2014-07-16 refrigerator

Country Status (2)

Country Link
JP (1) JP6190332B2 (en)
CN (1) CN105318624B (en)

Families Citing this family (4)

* Cited by examiner, † Cited by third party
Publication number Priority date Publication date Assignee Title
JP6223865B2 (en) * 2014-03-05 2017-11-01 日立アプライアンス株式会社 refrigerator
KR102014506B1 (en) * 2017-04-10 2019-08-27 주식회사 대도 Low temperature storage of fruits and vegetable using waste heat application
KR102058199B1 (en) * 2017-09-13 2020-01-22 정선희 Low temperature storage of fruits and vegetable
CN109724358A (en) * 2019-02-26 2019-05-07 长虹美菱股份有限公司 A kind of fresh-keeping refrigerator and its preservation method

Family Cites Families (11)

* Cited by examiner, † Cited by third party
Publication number Priority date Publication date Assignee Title
JPS5519501Y2 (en) * 1977-05-18 1980-05-09
JP3044724B2 (en) * 1989-11-09 2000-05-22 吉富製薬株式会社 Method for keeping food in refrigerator at high freshness and refrigerator therefor
JPH10262629A (en) * 1997-03-21 1998-10-06 Sharp Corp refrigerator
JP4240821B2 (en) * 2001-01-11 2009-03-18 パナソニック株式会社 Freshness maintaining cassette and storage container for fruits and vegetables and refrigerator
JP4582059B2 (en) * 2006-06-28 2010-11-17 王子製紙株式会社 Anti-browning agent
JP2007064620A (en) * 2006-09-25 2007-03-15 Mitsubishi Electric Corp Antioxidant release device for food, storage box, and method of transporting storage box
JP2008101839A (en) * 2006-10-19 2008-05-01 Matsushita Electric Ind Co Ltd refrigerator
JP4607200B2 (en) * 2008-03-14 2011-01-05 日立アプライアンス株式会社 Antioxidant component release cassette and refrigerator equipped with the same
JP5011231B2 (en) * 2008-08-08 2012-08-29 日立アプライアンス株式会社 refrigerator
JP2011027294A (en) * 2009-07-23 2011-02-10 Hitachi Appliances Inc Refrigerator
JP6223865B2 (en) * 2014-03-05 2017-11-01 日立アプライアンス株式会社 refrigerator

Also Published As

Publication number Publication date
JP2016023810A (en) 2016-02-08
CN105318624A (en) 2016-02-10
CN105318624B (en) 2017-10-27

Similar Documents

Publication Publication Date Title
JP6190332B2 (en) refrigerator
JP6138708B2 (en) refrigerator
CN101644522B (en) Refrigerator
JP5384259B2 (en) refrigerator
JP5629648B2 (en) refrigerator
JP6223865B2 (en) refrigerator
JP5188363B2 (en) Oxidation suppression cassette and refrigerator equipped with the same
CN104422235A (en) refrigerator
CN102818413A (en) Refrigerator and storage box arranged in the refrigerator
JP6626681B2 (en) refrigerator
JP5677913B2 (en) refrigerator
JP6008477B2 (en) refrigerator
CN101532765B (en) Refrigerator
JP2010101566A (en) Refrigerator
JP5753743B2 (en) refrigerator
JP2011027294A (en) Refrigerator
JP2019074273A (en) refrigerator
JP2013050229A (en) Refrigerator and freezer
CN222459934U (en) Refrigeration equipment
JP2015114028A (en) Refrigerator with component release means and component release means
JP2013002798A (en) Refrigerator
JP4962199B2 (en) Food storage
JP2017223388A (en) refrigerator
JP2018096563A (en) Refrigerator
JP2019027651A (en) refrigerator

Legal Events

Date Code Title Description
A521 Request for written amendment filed

Free format text: JAPANESE INTERMEDIATE CODE: A523

Effective date: 20160831

A621 Written request for application examination

Free format text: JAPANESE INTERMEDIATE CODE: A621

Effective date: 20160831

A131 Notification of reasons for refusal

Free format text: JAPANESE INTERMEDIATE CODE: A131

Effective date: 20170418

A977 Report on retrieval

Free format text: JAPANESE INTERMEDIATE CODE: A971007

Effective date: 20170419

A521 Request for written amendment filed

Free format text: JAPANESE INTERMEDIATE CODE: A523

Effective date: 20170602

TRDD Decision of grant or rejection written
A01 Written decision to grant a patent or to grant a registration (utility model)

Free format text: JAPANESE INTERMEDIATE CODE: A01

Effective date: 20170801

A61 First payment of annual fees (during grant procedure)

Free format text: JAPANESE INTERMEDIATE CODE: A61

Effective date: 20170804

R150 Certificate of patent or registration of utility model

Ref document number: 6190332

Country of ref document: JP

Free format text: JAPANESE INTERMEDIATE CODE: R150

S533 Written request for registration of change of name

Free format text: JAPANESE INTERMEDIATE CODE: R313533

R350 Written notification of registration of transfer

Free format text: JAPANESE INTERMEDIATE CODE: R350

LAPS Cancellation because of no payment of annual fees